rexresearch
rexresearch1

Petrus [ Pieter ] HOFF
WaterBoxx


http://www.aquaproholland.com/

The AquaPro WaterBoxx

In the WaterBoxx the condensation and rain is collected. By means of adequate storage the evaporation of this water is prevented. The exactly right angle and the low frictional coefficient of the collecting piece guarantee that the water keeps falling into the reservoir. The WaterBoxx distributes exactly the right quantity to the roots of the young tree.

How can the roots penetrate the hard soil?

The young tree is placed in the middle of the AquaPro WaterBoxx – almost – on top of the hard soil. The minimum quantity of water moisturizes the soil under the reservoir without the danger of evaporation. The water restores the natural capillarity of the soil. In the minute canals which are created in this way the root finds its way without any problem, even around stones and rocks. Trees have been doing this for millions of years. This phenomenon of restored capillarity is also found when you turn a tile, even if it has been lying in the sun for quite some time. Under it you will find moist soil...

Using the WaterBoxx

The WaterBoxx can be used to plant trees (or for example corn). The instrument is an ‘aid’ at the beginning of this process. In many places on earth there is sufficient water in the ground and there even is sufficient water in rocks: many mountains are covered with forests. In most cases the problem a tree encounters has nothing to do with the lack of capillary water when it has roots, but with the lack of water during the post-planting period.

When you have a dry spot or dig a hole to plant a tree during a dry spell and afterwards no rain fails to fall, the ground turns into dust – because the capillary does not yet work, no water is transported upwards – and the recently planted tree dies because the root-hairs do not find any water. When the soil has turned into dust, there is a big chance it either blows or washes away.

With the aid of the WaterBoxx we plant the tree ON the soil and so we do not dig a planting hole. The WaterBoxx daily distributes a very small quantity of water to the roots of the tree that are ON the ground – so where the capillary has stayed intact – so that the tree does not die after planting. Now the tree has sufficient strength to look for water itself and the roots slowly penetrate the soil. As the capillary has not been destroyed because no planting hole has been dug, the young tree already finds sufficient water after 1 to 2 years to be able to survive independently.

When the tree is strong enough to survive, the WaterBoxx can simply be removed by lifting it in order to be used for the planting of the next tree. In this way you can plant trees with a WaterBoxx time and again. So it is also a very easy way to plant your garden if you live in a dry area or a good solution if you cannot water your garden during your holidays.


http://www.marketwatch.com/news/story/WaterBoxx-Grows-Forest-Desert/story.aspx?guid=%7B70CB05A1-0087-409C-A61F-438FF63E4A1C%7D
AMSTERDAM / PRNewswire via COMTEX / Nov. 17, 2008

WaterBoxx Grows Forest in the Desert

New Dutch Invention Wins Prestigious Innovation Technology Award

A new Dutch breakthrough invention makes it possible to reforest large desert and rocky areas on the planet in the coming years. Experiments in the Sahara desert have shown that the WaterBoxx allows trees to grow under harsh conditions and can provide them with sufficient water.

The invention of the Dutch businessman and inventor Pieter Hoff has won the prestigious Beta Dragons Award during the annual Flying Dutchman 2008, Science & Technology Summit in Amsterdam. A board of scientists and captains of industry proclaimed his design to be the most promising and innovative project. Philips CEO Gerard Kleisterlee handed him the corresponding amount of 10.000 euro.

The WaterBoxx looks like a plastic, rectangular bucket, with a hole in the centre, allowing the tree to be planted in the soil. The sophistically designed top catches water from condensation at night. Together with the rainwater from rare showers, it is distributed in small doses to the tree inside. Additionally the WaterBoxx prevents water in the top soil layers from evaporating and protects the roots against sun, wind, weeds or rodents. After a year the tree is strong enough to grow by itself and the WaterBoxx can be removed.

"Trees can grow in arid areas but are not able to germinate. The WaterBoxx gives them a head start", Hoff explains.

Recently, he successfully tested his invention in de Moroccan Sahara. 90 Percent of the trees planted with a WaterBoxx were alive and green after a few months in the extreme hot summer. 90 Percent of the trees planted without the WaterBoxx died however, although they had been watered every week.

Hoff is convinced that, if the right species are planted, large parts of the earth can be reforested, without sacrificing agricultural land. He is seeking investors to apply his invention in the Middle East, India, Africa and other arid territories. Hoff: "If we can reforest 2 billion hectares, the trees consume more CO2 than men produces and the whole CO2 problem will be solved." His WaterBoxx will be available from July 1, 2009.



US8752330 -- Plant Aid, Water Collection Sheet and Method

Abstract ---  The invention relates to a plant aid for surrounding a young plant. The plant aid comprises a tube at least partly sideways surrounding a young plant placeable in the plant aid. The plant aid further comprises a water collection sheet for collecting moisture present in the atmosphere. The water collection sheet comprises a water collection surface comprising a receiving surface, which receiving surface operatively makes a first angle with respect to the orientation of gravity. The water collection sheet further comprises a collecting surface adjoining a lower edge of the receiving surface, which collecting surface operatively makes a second angle with respect to the orientation of gravity. The first angle is smaller than the second angle..

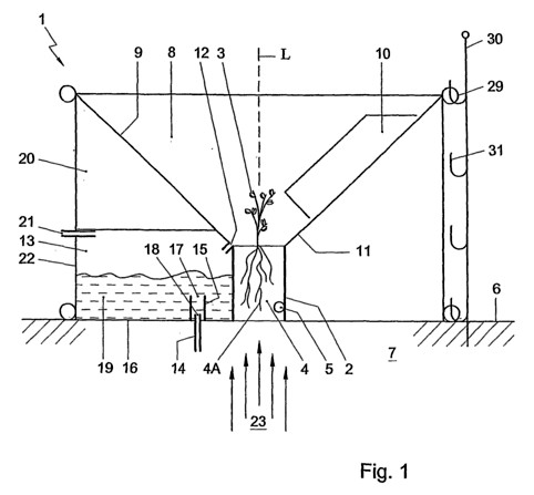
FIG. 1 shows a schematic view of a cross section of a first embodiment of a plant aid according to the invention;

FIG. 2 shows a schematic view of a cross section of a first embodiment of a water collection sheet of the plant aid of FIG. 1;

FIG. 3 shows a schematic view of a cross section of a second embodiment of a water collection sheet of the plant aid of FIG. 1;

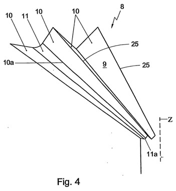
FIG. 4 shows a schematic perspective view of a third embodiment of a water collection sheet of the plant aid of FIG. 1;

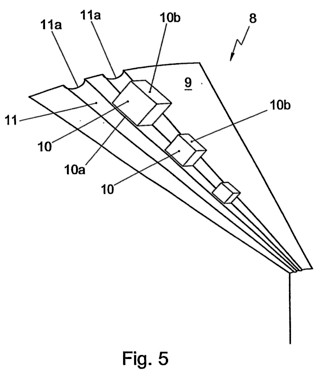
FIG. 5 shows a schematic perspective view of a fourth embodiment of a water collection sheet of the plant aid of FIG. 1;

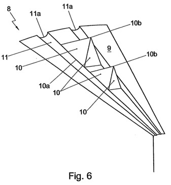
FIG. 6 shows a schematic perspective view of a fifth embodiment of a water collection sheet of the plant aid 6f FIG. 1;

FIG. 7 shows a schematic view of a cross section of regulating means according to the invention;

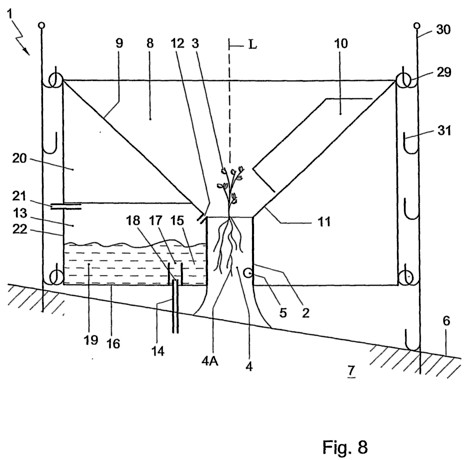
FIG. 8 shows a schematic view of a cross section of the plaint aid of FIG. 1 on an inclined slope;

FIG. 9 shows a schematic perspective view of a second embodiment of a plant aid according to the invention;

FIG. 10 shows a schematic perspective view of a flat supporting structure according to the invention;

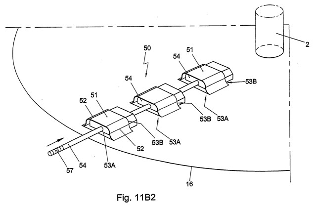
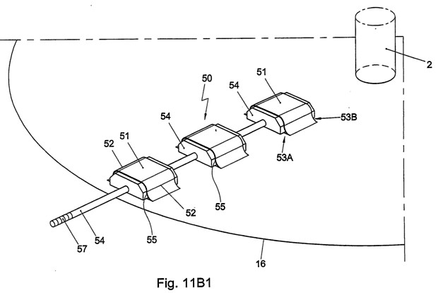
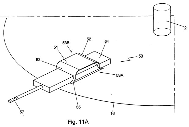
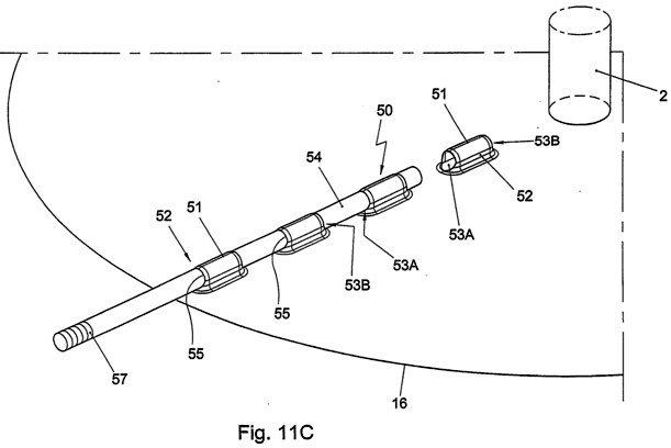
FIGS. 11A, 11B1, 11B2 and 11C show schematic perspective views of two alternative variant embodiments for a dosage system for supplying liquid from the reservoir; and

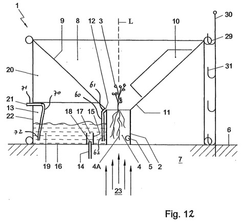
FIG. 12 shows a schematic view of a cross section of a further embodiment of a plant aid according to the invention.