
rexresearch
rexresearch1
David RICHARDS, et al.
AquaMagic Water Generator
http://www.keelynet.com/news/033115o.html
{ 3/31/15 )
http://tesla3.com/human/e_water_from_air.html
Need
water? With AquaMagic, you just add air
HENDERSON — Images of the suffering victims of Hurricane
Katrina surrounded by fouled water they couldn’t drink will
remain in America’s collective memory for some time. But a
company with Longmont ties is hoping its invention will
prevent such a scenario from happening in the future.
Utah-based AquaMagic is in the midst of its “Hurricane Zone”
tour, during which it is showing off its new HP120-DRU, a
portable water generator able to make pure drinking water out
of air. The tour started June 1 in Houston and is slated to
visit 183 Atlantic Coast cities by the time it wraps up in
Washington, D.C., at the end of the summer. The official U.S.
hurricane season is 183 days long. On hiatus from the tour,
representatives from AquaMagic brought the HP120 on Thursday
to Cummins Rocky Mountain, a company contracted to supply the
10-kilowatt diesel generators that power the HP120.
AquaMagic has been developing the technology for some time,
“but we focused on this (portable) size when we saw what was
happening to the victims of Hurricanes Katrina and Rita,” said
David Richards, in charge of marketing and innovation for
AquaMagic. The mobile unit is being pitched as more efficient
and cost-effective than traditional methods of supplying water
in the wake of a disaster, such as trucking in bottled water.
Using condensation techniques and its patent-pending AquaFlash
technology, the HP120 can get 10 gallons of water for every
gallon of diesel fuel it uses, according to John Tompkins, an
engineer who works with Richards in Longmont. “You can pull in
10 truckloads of water, or you can bring in one truckload of
fuel and get 10 truckloads worth of water,” Tompkins said.
AquaMagic was founded in Ogden, Utah, and Richards was a part
of the original core team. He came to Longmont to take a job
with Maxtor and continued to work with AquaMagic in his spare
time. Richards then met Tompkins, another Maxtor engineer who
began to work with AquaMagic in his spare time. The two have
since left their jobs at the hard-drive company to work full
time at AquaMagic.
The two will be back on the road soon, taking the machine to
New Orleans and along the Florida coast. “The intent is to
have this go in and support first responders and evacuees,”
Richards said. “If you need two gallons a day to stay hydrated
in a hot, humid environment, this can serve 60 personnel a
day.” Richards said the reactions of those to whom he has made
presentations has been “first, disbelief. They say, ‘What?
You’ve got to be kidding me.’ “That’s why we have to
physically take it there and show it to them and let them
taste (the water).”
Local biologist Brent Cannell, who works with Richards and
Tompkins as a consultant, has been key to making the water
that comes out of the HP120 more pure than bottled water,
Richards said. Longmont is “where the (research and
development) will be done and will continue to be done” for
AquaMagic’s products, Richards said. As big as the potential
market for the HP120 is in this country’s hurricane-prone
regions, Richards said he expects the international market
could be even bigger.
http://usatoday30.usatoday.com/tech/news/techinnovations/2006-09-29-air-water-machines_x.htm
9/29/2006
Air
alchemy: Can humidity solve post hurricane drinking water
problem?
David
Royse, The Associated Press
TALLAHASSEE, Fla. —
In a country like the United States, the human body's most
urgent need is taken for granted. It comes easily out of our
faucets, and gallon jugs of it cost less than a dollar.
Until something like a hurricane makes clean drinking water
hard to find.
But the Southeast's climate provides something besides
hurricanes in summer. Humidity.
As emergency officials ponder how to better help their
residents after disasters, some companies are pushing machines
that pull the humidity from the air and turn it into drinking
water. A few are also touting the machines as a potential
solution to the clean water shortages that plague the Third
World, pushing aside concerns that the machines are
inefficient and require fuel that also might be scarce.
The biggest machines can make up to 5,000 liters of water a
day, enough to provide about a gallon to 1,250 people. Small
units cost several hundred dollars, while the biggest, most
elaborate cost half a million.
Anyone who's ever looked at an air conditioner or put a cold
bottle of water in the sun and watched water bead up on it
knows air can be condensed into water when it's cooled. The
only questions are how efficient it is on a large scale, and
whether it's clean enough to drink.
A few companies are marketing portable condensers they say can
make clean, drinkable water out of nothing but the air
outside. At least one is marketing it as a tool for emergency
responders.
"Tap water systems get knocked out, bottled water often
disappears even before the storm shows up ... so this becomes
a way to get drinking water that you can count on no matter
what," said Jonathan Wright, president of Ogden, Utah-based
AquaMagic, one of the companies selling the machines.
The company recently towed a portable unit around the
Southeast, visiting fire departments, rescue workers and city
officials, trying to drum up interest.
AquaMagic's unit is too small to provide water for a whole
city, but could at least provide water for rescue and cleanup
workers so they wouldn't have to cart in truckloads of water,
Wright said.
One potential buyer is David Roberts, who as fire chief in
Biloxi, Miss., oversaw crews working in the aftermath of
Hurricane Katrina, which leveled much of his city.
"You don't realize how bad you need water until you don't have
it," Roberts said. "In August, the humidity's 95% and its 95
degrees, you can drink a quart of water and it goes right out
of you in about 30 minutes."
He called the AquaMagic machine "a great piece of equipment.
The water tasted good, too."
Most of the companies making the machines aren't focused on
the U.S. market. Some are selling machines where clean
drinking water is always hard to find — villages in the
developing world.
"Right now at any given time, there's about 1.2 billion people
that are drinking contaminated water," said Ron Colletta, vice
president of sales for the Island Sky in Hollywood, Fla.
Scientists who study water shortages say that while the
technology works simply and could be part of the solution,
there are cheaper and easier ways to provide large-scale water
purification if cleanliness is the issue.
The simplest is boiling it to remove microbes, or treating it
with chemicals like chlorine, said Dr. Mark Sobsey, a
professor of environmental sciences and engineering at the
University of North Carolina School of Public Health's
Drinking Water Research Center.
But boiling has a problem in some poor areas.
"You've got to have fuel and to be able to pay for it," Sobsey
notes.
But the biggest obstacle to the machines' wider use is making
them cost effective to fuel. Most are powered by diesel fuel.
Some run on solar energy, but the panels require a costly
initial investment.
Michael Zwebner, the president of Miami Beach-based Air Water
Corp., admits the power question is a big problem, but he says
the machines can be useful where there isn't enough water to
begin with — or where people can't afford to pump it from the
ground and treat it.
"In many parts of Africa, there is no water," Zwebner said.
Until recently, there's been little interest in the technology
because water is generally easy to get from streams or
underground wells and, even in poor countries, it's cheap.
"It's been really only in the last 10 years that water
scarcity has been appearing in a lot of places, mainly due to
the growth of the human population ... and pollution,"
explained Roland Wahlgren, a physical geographer who studies
water supply and is working to develop air-to-water systems
with a Canadian company called Wataire Industries.
"Groundwater and surface water supplies have decreased in
quality."
Aquamagic's envisioned niche notwithstanding, the systems
still aren't generally economically feasible on a large scale
in developed countries with plentiful clean water like the
United States.
And emergency managers ask: If you're going to truck diesel
fuel into a storm-hit area to run the machines, why not just
truck in water?
The answer, AquaMagic's Wright says, is that for one gallon of
diesel, you can make 10 gallons of water. So one small truck
of fuel would provide the amount of water you'd need 10 trucks
to bring in.
Air Water's machine was used after the 2004 Asian tsunami, and
the military in India has recently signed on to send it into
the field with troops.
"In some countries in Africa they actually see this machine as
an act of God," Zwebner said.
US7402241 -- Water
purification device and method
A water purification device including a water inlet that
receives water generated by a condenser. The water
purification device has a water heating apparatus that
receives water from the water inlet. The water heating device
has a thermal energy source that can pasteurize or flash
pasteurize the water by heating the water to a predetermined
temperature for a predetermined length of time. The water
heating device expels the water at the end of the
predetermined length of time.
BACKGROUND
[0001] Many municipal water systems struggle with the ever
increasing demand on available potable water supplies.
Additionally, natural inventories of water available for
treatment are diminishing and require more treatment than ever
before. Indeed, many areas of the world currently do not have
adequate water treatment systems, water utility systems, or
basic access to potable water.
[0002] For example, even though approximately 75% of the
earth's surface is water, ninety-seven percent of this water
is in saline oceans, and is therefore undrinkable and
unsuitable for most uses. Of the remaining three percent that
is considered fresh water, two-thirds is suspended in glaciers
and the polar ice caps, and one-sixth is trapped beneath the
earth's surface. Of the final one-half of one percent of the
earth's water, a substantial amount has been chemically or
biologically contaminated by industrialization and
development. This contamination has made significant inroads
into underground water sources in the latter half of the
twentieth century, and has made drinking water contamination
one of the highest ranking environmental risks. Clean and pure
drinking water is, consequently, in great demand throughout
the world, and has rapidly become one of the earth's most
prized resources. Yet, billions of people lack a reliable
water supply.
[0003] Nearly all fresh water on the earth is created and
sustained through the hydrologic cycle. In the hydrologic
cycle, heat from the sun evaporates ocean water, which falls
back to earth as precipitation. Because of the hydrologic
cycle, there is a continuous exchange of moisture between the
oceans, the atmosphere, and the land. In the atmospheric stage
of the cycle there are continually many billions of gallons of
water in the air available for harvesting.
SUMMARY
[0004] The present invention provides a water purification
device including a water inlet that receives water generated
by a condenser. The water purification device also has a water
heating apparatus that receives water from the water inlet.
The water heating device has a thermal energy source that can
flash pasteurize the water by heating the water to a
predetermined temperature for a predetermined length of time.
The water heating device expels the water at the end of the
predetermined length of time. A water outlet releases water
from the water heating apparatus after the water has been
elevated to the predetermined temperature for the
predetermined time.
BRIEF DESCRIPTION OF THE DRAWINGS
[0005] Additional features and advantages of the
invention will be apparent from the detailed description
which follows, taken in conjunction with the accompanying
drawings, which together illustrate, by way of example,
features of the invention; and, wherein:
[0006] FIG. 1 is a side view of a water purification
device in accordance with an embodiment of the present
invention;
[0007] FIG. 2 is a cross section view of a water
purification device in accordance with another embodiment of
the present invention;
[0008] FIG. 3 is a cross section view of a water
purification device in accordance with another embodiment of
the present invention;
[0009] FIG. 4 is a schematic view of a water
purification system in accordance with an embodiment of the
present invention with the water purification device of FIG.
1 coupled to a condenser;
[0010] FIG. 5 is a block diagram of a water flow path
in accordance with the water purification device of FIG. 1;
[0011] FIG. 6 is a block diagram of another water flow
path in accordance with an embodiment of the present
invention; and
[0012] FIG. 7 is a block diagram of another water flow
path in accordance with an embodiment of the present
invention.
[0013] Reference will now be made to the exemplary
embodiments illustrated, and specific language will be used
herein to describe the same. It will nevertheless be
understood that no limitation of the scope of the invention
is thereby intended.

DETAILED DESCRIPTION OF EXEMPLARY EMBODIMENT(S)
[0014] Reference will now be made to the exemplary embodiments
illustrated in the drawings, and specific language will be
used herein to describe the same. It will nevertheless be
understood that no limitation of the scope of the invention is
thereby intended. Alterations and further modifications of the
inventive features illustrated herein, and additional
applications of the principles of the inventions as
illustrated herein, which would occur to one skilled in the
relevant art and having possession of this disclosure, are to
be considered within the scope of the invention. The following
detailed description and exemplary embodiments of the
invention will be best understood by reference to the
accompanying drawings, wherein the elements and features of
the invention are designated by numerals throughout.
[0015] The present invention is generally directed to a water
purification system that purifies water generated by equipment
that uses a condenser such as dehumidifiers, air conditioners,
freezers, refrigerators, and the like. The water purification
device receives water that is generated and discharged by the
condenser containing equipment and may filter the water with a
pre-filter to remove large contamination, such as dust,
pollen, mold, spores, bacteria and the like, from the water.
The water purification device can heat, or pasteurize the
water in a flash pasteurization process to destroy living
contaminants not extracted by the sediment filter. The flash
pasteurization process may elevate the temperature of the
water to a predetermined temperature for a predetermined time
in order to kill, or render inactive, living contaminants. The
predetermined time of the flash pasteurization process may be
a relatively short time and varies depending on the
predetermined temperature. An ozonator may be used to generate
ozone that may be injected or vacuumed into the pasteurized
water to further purify the water. An activated carbon filter
may remove organic and inorganic contaminants and other
chemicals from the water before sending the water to a storage
tank. Ultraviolet light or ozone can then be used periodically
to maintain the purity of the water in the storage tank.
[0016] As illustrated in FIG. 1, a water purification device,
indicated generally at 10, in accordance with the present
embodiment is shown for use in purifying water generated by a
condenser. The water purification device 10 has a water inlet
20 to receive water generated by a condenser.
[0017] For purposes of the present embodiments, a condenser
can be any type of equipment that generates or condenses water
during its operation. It will be appreciated that a condenser
can be a part of a larger piece of equipment such as an air
conditioner, a dehumidifier, a refrigerator, or a freezer. For
example, dehumidifiers use condensers to extract water vapor
or moisture from the air, thereby reducing the humidity of the
air. Moreover, air conditioners, refrigerators and freezers
use condensers to control temperature in a closed environment
by extracting water vapor from the air in order to lower the
dew point of the closed environment. Other condenser using
equipment, as known in the art, can also generate water that
is receivable by the water inlet 20 of the water purification
device 10. In any case, condensers typically remove water
vapor from the surrounding air by condensation and discharge
the water in a liquid state.
[0018] It will also be appreciated that millions of industrial
sized air conditioners and dehumidifiers are in use throughout
the world every day for the purpose of creating more
comfortable environments in which to live, work, shop, and
play. As described above, these air conditioners and
dehumidifiers lower humidity levels indoors by drawing air
across a condensing apparatus that extracts water vapor from
the air and condenses the vapor into liquid water.
Unfortunately, the liquid water generated by these air
conditioners and dehumidifiers is not safe for human
consumption and is referred to as gray water. Typically, this
gray water is sent down drains contributing yet more water to
over-burdened water treatment facilities. Advantageously, the
water purification device 10 can receive and purify liquid
water discharged from a condenser or condenser containing
equipment, in order to make the water potable, or suitable for
human consumption.
[0019] While much research has been conducted in the areas of
dehumidification, gray water purification and water
filtration; little, if any research has been focused on
retrofitting dehumidifiers or aftermarket mechanisms designed
to purify the gray water discharge from dehumidifiers. While
some technologists have developed and patented equipment for
capturing water vapor, like a dehumidifier, and then purifying
the captured water into drinking water, these machines have
been custom built for the purpose, and hence often only the
financially elite who can afford the benefit of this
technology.
[0020] Additionally, the purification of gray water in such
systems is typically accomplished by means of a carbon
filtration apparatus, a UV light source, or a combination of
these processes to kill any germicidal organisms. However,
both activated carbon filtration and UV light purification
have limitations. For example, activated carbon filters become
burdened with time and need to be replaced in order to
maintain their effectiveness. UV lamps can become dull with
age, as well as from particulate buildup. With time both
devices may loose their effectiveness unbeknownst to their
operator. Consequently, water could pass by these systems
untreated. Furthermore, the effectiveness of UV light
purification is subject to the wavelength and intensity of the
UV light source, the clarity of the water, as well as the
distance of the light source to the microorganisms being
treated. Even under normal operating conditions, organisms
furthest from the UV source may receive minimal or no effects
from the irradiation.
[0021] Therefore, it is a particular advantage of the present
invention that the water purification device 10 can be
retrofitted or added after-market, to a piece of condenser
containing equipment. Thus the present invention can take
advantage of the millions of condensers already in the market
place and can be used to purify the water generated by already
existing condensers. Additionally, the water purification
device 10 can be manufactured with new condenser containing
equipment.
[0022] Regardless of whether the water purification device 10
is retrofit to a condenser or manufactured along with a
condenser, the water can be delivered from the condenser to
the water purification device by either a pump or gravity fed
plumbing.
[0023] The water purification device 10 can also have a water
heating apparatus 30. The water heating apparatus 30 can
receive water from the water inlet 20. The water heating
apparatus 30 can also have a thermal energy source 34 to
pasteurize or flash pasteurize the water by heating the water
to a predetermined temperature for a predetermined length of
time.
[0024] The water heating apparatus 30 can flash pasteurize
discharged liquid water from a condenser. Generally,
pasteurization is a purification process that uses heat to
kill microorganisms by destroying the cytoplasmic membranes,
or inner cell structures of the microorganisms. Pasteurization
also kills microorganisms by denaturing proteins essential to
microorganism survival. Flash pasteurization, or
high-temperature short-time pasteurization, rapidly elevates
the temperature of the water and maintains the temperature for
a predetermined relatively short duration in order to kill or
render undesirable microorganisms inactive. Thus, by heating
the condenser discharge water to a predetermined temperature
for a predetermined time, the water heating apparatus can
eliminate pathogens from the water.
[0025] The water heating apparatus 30 provides several
advantages over other types of purification devices and
processes. For example, the water heating apparatus 30 can
uniformly distribute heat throughout the condenser generated
water in order to destroy microorganisms regardless of where
the microorganism is positioned within the water mass.
Consequently, purification of water by other more traditional
filtering mechanisms.
[0026] The water heating apparatus 30 of the water
purification device 10 can flash pasteurize discharged liquid
water from a condenser. In one example, the predetermined
temperature can be at least 161 degrees F. (72 degrees C.) and
the predetermined length of time can be at least 15 seconds.
In another example, the predetermined temperature can be at
least 212 degrees F. and the predetermined time can be 0.01
seconds. The heated water can be expelled from the water
heating apparatus 30 through a water outlet 22. It will be
appreciated that other time and temperature combinations can
be used, but generally the higher the temperature, the less
time is needed to complete the pasteurization. Additionally,
it has been found that temperatures below 161 degrees F. are
not effective at neutralizing undesirable microorganisms.
[0027] The water heating apparatus 30 provides several
advantages over other types of purification devices and
processes. For example, the water heating apparatus 30 can
uniformly distribute heat throughout the condenser generated
water in order to destroy microorganisms regardless of where
the microorganism is positioned within the water mass.
Consequently, water purification of the present invention is
not dependent on penetration of light as in an ultraviolet
purifier.
[0028] Additionally, the water heating apparatus 30 of the
present invention uses readily available thermal energy to
purify the condenser discharge water, and so the water heating
apparatus 30 does not require any specialized non-renewable
equipment such as an ultraviolet light source or activated
carbon filters. Furthermore, the heat transfer process of the
water heating apparatus is not adversely affected by
particulate buildup as is ultraviolet purification and
activated carbon filter processes. Consequently, cleaning and
maintenance of the apparatus can be minimized.
[0029] It will be appreciated that the thermal energy source
34 can be a conductive heat source such as an electrical
heating element, a hot water jacket, a steam jacket, a fire,
or a combination of these various heat sources. Additionally,
the thermal energy source can be an emissive thermal heat
source such as an electrical heating element, a flame, a
chemical reaction, or a combination of these various heat
sources. Other thermal energy sources, as known in the art,
can also be used to heat the water in the water heating
apparatus 30.
[0030] The water heating apparatus 30 can also include a heat
exchanger 40 that can transfer thermal energy from the thermal
energy source 34 to the water received from the water inlet
20. As shown in FIG. 1, the heat exchanger 40 can include a
tube 42 heated by the thermal energy source 34. In use, water
can pass through the tube 42 and heat can be transferred from
the tube 42 to the water. In this way, the water can continue
to increase in temperature as the water travels through the
tube 42 until a point near the end of the tube 42 where the
water temperature is at the predetermined temperature. The
temperature can be maintained at the predetermined temperature
for the predetermined time, at which point the water can be
discharged from the tube 42 and to a water outlet 22.
[0031] Referring to FIG. 2, a water purification device,
indicated generally at 100, is shown that is similar in many
respects to the device described above. The water heating
apparatus 130 can have a heat exchanger 140 that can include a
plate 144, or a plurality of plates (not shown) that are
heated by the thermal energy source 134. In use, the water
surrounds the plate 144 and the temperature of the plate 144
is raised. The plate 144 can radiate or conduct the heat to
the water to elevate the temperature of the water to the
predetermined temperature for the predetermined time.
[0032] Referring to FIG. 3, a water purification device,
indicated generally at 200, is shown that is similar in many
respects to the devices described above. The water heating
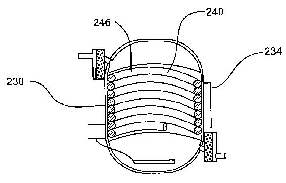
apparatus 230 can have a heat exchanger 240 with a coil 246
that is heated by the thermal energy source 234. The coil 246
can transfer heat to the water to elevate the temperature of
the water to the predetermined temperature for the
predetermined time. Other types of heat exchangers, as known
in the art, can also be used to transfer thermal energy in the
form of heat from the thermal energy source 34 to the water.
[0033] Illustrated in FIG. 4, a water purification system,
indicated generally at 300, in accordance with the present
invention is shown for use in purifying water generated by a
condenser 312. The water purification system 300 includes a
filtration chain, shown generally at 310. Water from a
condenser 312 can be directed through the filtration chain 310
in order to make the water potable. As noted above, the
condenser 312 can be a part of another piece of equipment such
as an air conditioner, a dehumidifier, a refrigerator, and a
freezer.
[0034] The filtration chain 310 can have a pre-filter 320 that
can receive water generated by a condenser 312. The pre-filter
320 can filter relatively larger contaminants from the water.
The pre-filter 320 can include a particulate screen 324 for
removing particles larger than a predetermined size from water
passing through the pre-filter 320. The pre-filter 320 can
also include an activated carbon filter 328 for reducing
environmental and biological contaminants in the condenser
discharge water.
[0035] The filtration chain 310 can also have a water heating
apparatus 330 that is similar in many respects to the water
heating apparatus described above. The water heating apparatus
330 can have a thermal energy source 334 to pasteurize, or
flash pasteurize, the water by heating the water to a
predetermined temperature for a predetermined length of time.
Thus, the water heating apparatus 330 can receive water from
the pre-filter 320, and can flash pasteurize the water by
heating the water to a predetermined temperature for a
predetermined length of time. In one embodiment, the
predetermined temperature can be at least 161 degrees F. (72
degrees C.) and the predetermined length of time can be at
least 15 seconds. In another aspect, the predetermined
temperature can be at least 212 degrees F. and the
predetermined time can be 0.01 seconds. The heated water can
be expelled from the water heating apparatus 30 through a
water outlet 22. It will be appreciated that other time and
temperature combinations can be used, but generally the higher
the temperature, the less time is needed to complete the
pasteurization. Additionally, it has been found that
temperatures below 161 degrees F. are not effective at
neutralizing undesirable microorganisms unless longer
treatment times are permitted.
[0036] The water heating apparatus 330 can receive water from
the pre-filter 320. The water heating apparatus 330 can
include a heat exchanger 340 that can transfer thermal energy
from the thermal energy source 334 to the water received from
the pre-filter 320. The heat exchanger 340 can transfer heat
from the heat exchanger 340 to the water. In this way, the
water can continue to increase in temperature as the water
travels through, or about the heat exchanger 340 until the
temperature throughout the water, or throughout a cross
section of the water mass, is at least at the predetermined
temperature. It will be appreciated that water nearer the heat
exchanger 340 can have a higher temperature than the
predetermined temperature when water farther from the heat
exchanger 340 is at the predetermined temperature. Thus, the
temperature throughout the water mass can be maintained at
least at the predetermined temperature for the predetermined
time.
[0037] The water heating apparatus 330 can expel the water at
the end of the predetermined length of time into a cooling
unit 350. The cooling unit 350 can reduce the temperature of
the water.
[0038] Biofilms (colonized layers of microorganisms) can form
when bacteria, and other microorganisms adhere to each other
and to the surfaces to which they come into contact with.
Biofouling (acid production, equipment corrosion, toxin
production, etc.) can result within the water purification
system 300 if these biofilms are allowed to grow. Under normal
equipment operation, it is anticipated that biofilms will
develop within the water collection system, water purification
train, and water storage container. Thus, from time to time,
as the water purification device operates, it will need to be
flushed and sanitized to eliminate these biofilms to safe
levels.
[0039] Ozone (O3) is lethal to microbes, viruses, parasites,
pesticides and the like. Ozone is also a very effective
disinfectant. Ozone is highly reactive and once it comes into
contact with organic or inorganic matter ozone reacts with the
matter and reduces the unstable triatomic oxygen (O3) back to
diatomic oxygen (O2). In the presence of bacteria, ozone
attaches to the cell wall of the organism causing the cell to
lyse (rupture). It has been shown that ozone can be more than
3000 times more effective at destroying undesirable water
contamination than chlorine sanitizers. Additionally, ozone
can also be produced readily in remote locations with the use
of ambient air and is very cost effective.
[0040] Thus, an ozonator 360 can be used to further purify the
water in the water purification system 300 by releasing ozone
into the water. It will be appreciated that the ozonator 360
can be placed in the cooling unit 350 as shown in FIG. 4, as
well as in a variety of other locations along the filtration
chain 310. Additionally, ozone can be injected into multiple
locations in the filtration chain. Ozone can also be used to
periodically re-purify stored water as well as periodic
sanitization of the water purification system 300.
[0041] The filtration chain 310 can also have a post cooling
purifier 370 that can receive water from the cooling unit 350
and reduce remaining contamination from the water. The post
cooling purifier 370 can include an activated carbon filter
374 that can further reduce environmental contaminants from
the water. The post cooling purifier 370 can also include an
Ultraviolet (UV) light source 378 for further purification of
the water. The UV light source purifier 378 can reduce
biological contaminants from water from the carbon filter.
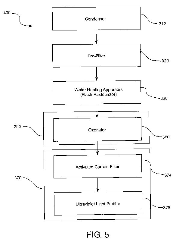
[0042] Referring to FIG. 5, a block diagram illustrates the
flow path, indicated generally at 400, of water from a
condenser through the water purification filtration chain 310
of the water purification system 300 discussed above. Water
can be discharged from the condenser 312 and received by the
pre-filter 320 which filters larger contaminants such as dust,
pollen, spores, and the like from the water. The water then
flows to the water heating apparatus 330 where the water is
heated to a predetermined temperature and maintained at the
predetermined temperature for a predetermined time so that the
water is pasteurized or flash pasteurized. The water then
flows to a cooling unit 350 or tank where an ozonator 360 can
inject ozone into the water to further purify the water. The
water then flows through post cooling purifier 370 that can
have an activated carbon filter 374 for further filtering
environmental contaminants and an ultraviolet light purifier
378 that can reduce biological contaminants. The water can
then be used in potable water applications or the water can be
stored for future use.
[0043] In the case where the water is stored for future use,
additional purifying processes can be used periodically to
maintain the purity of the stored water. For example, an
Ultraviolet light source 378 can be used to periodically
irradiate the stored water to reduce development of
contamination in the stored water.
[0044] It will be appreciated that some of the elements of the
flow path described above can be eliminated or duplicated as
circumstances may require. Additionally, the sequence of the
elements of the flow path can be rearranged in a variety of
orders to accommodate particular purification needs. For
example, referring to FIG. 6, a block diagram illustrating a
water flow path 500 in accordance with another embodiment of a
water purification system is shown that is similar in many
respects to the water purification system described above. In
this flow path, water flows into a prefilter 520 from the
condenser 512 and from the prefilter 520 to the water heating
apparatus 530. Water then flows from the water heating
apparatus 530 to a post filter 570 that has only an activated
carbon filter. As another example, the water could be sent
through the water heating apparatus 630 twice to ensure
thorough pasteurization, as shown in the water flow path 600
of FIG. 7. Thus, the filtration train can be tailored to meet
the needs of a particular filtration application.
[0045] The present invention also provides for a method for
purifying water, including obtaining water from a condenser
and filtering the water with a pre-filter to remove larger
contaminants from the water. The water can be heated with a
water heating apparatus to a predetermined temperature for a
predetermined length of time to reduce active biological
contaminants in the water. The water heating apparatus can
include a thermal energy source and a heat exchanger for
transferring heat from the thermal energy source to the water.
The water can be cooled in a cooling unit. The water can also
be filtered with an activated carbon filter to decrease
contaminants in the water.
[0046] The method of purifying water or sanitizing the unit
can also include ozonating the water by injecting ozone from
an ozone source into the water or unit.
[0047] The step of obtaining water from a water source can
also include extracting water from surrounding air with a
condenser in an air conditioner or dehumidifier. Additionally,
the step of filtering the water from the cooling unit can also
include passing the water through an activated carbon filter
to decrease contaminants in the water. Moreover, the step of
filtering the water from the cooling unit can also include
exposing the water from the activated carbon filter to an
ultraviolet light source to reduce active biological
contaminants in the water.