http://www.off-grid.net/people/magic-water-harvesting-machine
Magic Water-Harvesting Machine
Amazing. A gizmo which sucks the air in, then sucks the water
out of the air, and then spews out clean fresh water. 500
Gallons of it a day. Every off-grid home should have one.
Only problem is it’ll set you back a cool $500,000 . FEMA have
already bought two, and the US Army is said to be on the verge
of buying many, because getting our boys pure water is one of
the key logistics requirements of any operational planning.
The box o’ tricks is from Aqua Sciences Inc, and the company
says the high cost is justified because in the end it “only
costs you $0.25 per gallon. For those of us without an entire
battalion at our command, however the price is still a little
steep. The makers are working on a consumer model, but it won’t
be out any time soon.
Its precise workings aren’t public, but they use a chemical
process similar to the one that causes salt to absorb moisture
from the air (and clump up your saltshaker). The
water-harvesting technology was originally the brainchild of the
Pentagon’s Defense Advanced Research Projects Agency (DARPA),
which sought ways to ensure sustainable water supplies for U.S.
combat troops deployed in arid regions like Iraq.
Darpa gave millions to research companies like LexCarb and
Sciperio to create a contraption that could capture water in the
Mesopotamian desert. But it was Aqua Sciences, that was first to
put a product on the market that can operate in harsh climates.
“People have been trying to figure out how to do this for years,
and we just came out of left field in response to Darpa,” said
Abe Sher, chief executive officer of Aqua Sciences. “The
atmosphere is a river full of water, even in the desert. It
won’t work absolutely everywhere, but it works virtually
everywhere.”
Sher said he is “not at liberty” to disclose details of the
government contracts, except that Aqua Sciences won two highly
competitive bids with “some very sophisticated companies.”
He also declined to comment on how the technology actually
works.
“This is our secret sauce,” Sher said. “Like Kentucky Fried
Chicken, it tastes good, but we won’t tell you what’s in it.”
“We figured out how to tap it in a very unique and proprietary
way,” Sher said. “We figured out how to mimic nature, using
natural salt to extract water and act as a natural
decontamination.
“Think of the Dead Sea, where nothing grows around it because
the salt dehydrates everything. It’s kind of like that.”
The 20-foot machine can churn out 600 gallons of water a day
without using or producing toxic materials and byproducts.
Jason Rowe, chief of staff to Rep. Tom Feeney, Florida
Republican, called the technology “pretty impressive.”
“I was pretty blown away by the things it’s able to do,” Rowe
said. “The fact that this technology is not tied to humidity
like others are makes it an attractive alternative for military
bases in the Mideast where humidity is not really an option.
“It seems like it’s a cheaper alternative to trucking in bottled
water, which has a shelf life,” said Rowe, who described himself
as a fiscal hawk.
Once deployed, the machines could reduce the cost of logistical
support for supplying water to the troops in Iraq by billions of
dollars, said Stuart Roy, spokesman of the DCI Group, Aqua
Sciences’ public affairs firm.
The cost to transport water by C-17 cargo planes, then truck it
to the troops, runs $30 a gallon. The cost, including the
machines from Aqua Sciences, will be reduced to 30 cents a
gallon, Roy said.
Several systems on the market can create water through
condensation, but the process requires a high level of humidity.
Aqua Sciences’ machines only require 14 percent humidity, Roy
said. “That’s why this technology is superior and why they are
getting the contracts.”
Here’s the spec:
Fully-contained mobile freshwater generation system for
large-scale production, including power generator
Self-powered by diesel generator (7-day supply), or by grid
electricity
Easy to install, use and maintain
Container models can produce up to 1,200 gallons of water per
day for 7 days without outside electrical source or refueling.
The 40 foot container with the reverse osmosis module can
provide emergency water for up to 3,000 people per day.

20 FOOT EMERGENCY WATER STATION
Rated Water Production: Up to 500 gallons/day (depending on
conditions)
Dimensions: Modified 20' container: 20' long x 7.7' wide x 7.8'
high
Water Containers: Individual water containers for emergency
distribution included
40 FOOT EMERGENCY WATER STATION
Rated Water Production: Up to 1,200 gallons/day (depending on
conditions)
Integrated R.O. Module: Included reverse osmosis module can
provide up to an additional 8,000 gallons/day from an existing
source dependent upon conditions.
Dimensions: Modified 40' container: 40' long x 7.7' wide x 7.8'
high
Water Containers: Individual water containers for emergency
distribution included
Modular design enhances reliability
Quick standard connection for external storage tank
Can be powered by electricity or generator
Portable or can be affixed to structure
Easy to install, use, maintain and move
Deliverable by truck to isolated areas
http://aquasciences.com/
The
Aqua Sciences Solution
Our patented and patent pending technology makes it possible to
extract vast amounts of safe drinking water from the air in
almost any climate and under nearly every condition, even in the
desert.
Aqua Sciences’ systems collect and dispense hundreds to
thousands of gallons of water daily by capturing and processing
naturally occurring water molecules from the air.
This is done at relatively low costs and without producing
harmful or toxic by-products.
THE
AQUA SCIENCES SOLUTION: Self-Contained Mobile Plants that
Make Water from Air Virtually Anywhere
Mobile Water Production
Florida-based Aqua Sciences, Inc. was formed to bring a product
to market that literally extracts vast amounts of water from the
atmosphere and outputs drinking water. Our patented water
extraction technology was developed over 15 years and with more
than $25 million invested in research, development and
production.
Aqua Sciences’ flagship product is the Emergency Water Station
(EWS). The 40 foot model produces up to 2,600 gallons of water
per day (depending on local atmospheric conditions). Specially
designed for transport by air, sea or land in an International
Standards Organization (ISO) marine container, the Aqua Sciences
EWS is powered by self-contained electrical generators or
external power. It is a compelling first and ongoing response
solution for areas with damaged or no infrastructure throughout
the world.
KEY BENEFITS:
Excellent Water Quality: Meets and exceeds US EPA (Environmental
Protection Agency), World Health Organization and US Military
specifications.
Significant Water Quantity: Provides drinking water for up to
5,200 people per day. (Per FEMA (Federal Emergency Management
Agency), a normally active person needs 0.5 to 1 gallon per day
for drinking.)
Proven: Successfully deployed in the largest natural disaster in
the history of the Western Hemisphere in early 2010 by a US
Southern Command mission and saved lives at the University
Hospital in Port Au Prince. Consistently made water and met
customer needs during a 37-day desert test at a 100-person oil
rig in the Middle East in the summer of 2010. Aqua Sciences has
won highly competitive procurements issued by the US Army and
FEMA.
Cost-effective: Highly competitive in cost and more economical
than existing solutions in areas of need.
Fully “Off the Grid”: Does not require outside water or power to
generate drinking water. Since the machine extracts only water
molecules from the air, it eliminates the need for complex and
high-maintenance filtration systems such as Reverse Osmosis
Purification (ROWPU). It is ideal for areas with contaminated
groundwater.
Works in Virtually Any Environment, even in Desert Conditions:
Aqua Sciences systems are NOT conventional refrigerant
dehumidification (CRD) systems that condense water by cooling
ambient air to the dew point and that are not suitable for low
humidity conditions.
Scalable: Aqua Sciences systems can be built for daily water
needs of less than a hundred people to several thousand.


US2008135495
-- SYSTEM AND METHOD FOR PRODUCING WATER
A method for producing water includes removing water from a
first airflow using a first process which includes exposing at
least some of the first airflow to a desiccant. This increases
water content of at least some of the desiccant. At least some
of the desiccant having increased water content is introduced
into a second airflow. This facilitates evaporation of water
from the desiccant into the second airflow, and increases water
content of the second airflow. Water is then removed from the
second airflow.
BACKGROUND OF THE INVENTION
[0004] 2. Background Art
[0005] Conventionally, water is collected from air using
condensation systems. An exemplary condensation system provides
a surface cooled to a temperature that is at or below the dew
point of incoming air. As is well known in the art, the cooling
of air at or below its dew point causes the condensation of
water vapor from the air and a decrease in the absolute humidity
of the air. The humidity of a volume of air is substantially
determinative of the amount of water that can be introduced
into, or removed from, the volume of air.
[0006] Existing water generation systems collect water vapor
from incoming airflows using conventional condensation systems
that lower the temperature of incoming air to a temperature that
is at or below the dew point of the air. Therefore, the quantity
of water produced by such systems depends on the humidity of the
ambient air. The humidity and temperature of air varies,
however, from region to region, with hot and humid air in
tropical and semi-tropical regions, and cooler, less humid air
in other parts of the world. The temperature and water vapor
content of air also varies widely with seasonal weather changes
in regions throughout the year.
[0007] As a result it has been found that the water dispensing
capability of prior art air-to-water generating systems is
severely impaired in regions and seasons of low humidity.
Conventional machines only produce enough water when the
humidity is above a certain threshold percentage. This is too
high a humidity level for climate controlled buildings, thereby
rendering the machines less useful for most commercial and
residential purposes and in certain portions of the world where
the humidity level is low.
[0008] Therefore, there is a need for a system and method for
producing water even when the humidity and dew point of ambient
air are low.
SUMMARY OF THE INVENTION
[0009] The present invention provides a system and method for
producing water even when the humidity and dew point of ambient
air are low.
[0010] The invention also provides a method for producing water
that includes removing water from a first airflow using a first
process which includes exposing at least some of the first
airflow to a desiccant. This increases the water content of at
least some of the desiccant. At least some of the desiccant
having increased water content is introduced into a second
airflow, thereby facilitating evaporation of water from the
desiccant into the second airflow. This also increases water
content of the second airflow. Water is then removed from the
second airflow after its water content is increased.
[0011] The invention further provides a method for producing
water using a system including first and second chambers and a
heat exchanger. The method includes passing a first airflow
through the first chamber. At least some of the first airflow is
exposed to a desiccant in the first chamber. This removes water
from the first airflow and increases water content of the
desiccant. At least some of the desiccant having increased water
content is introduced into the second chamber. A second airflow
is passed through the second chamber to facilitate evaporation
of water from the desiccant into the second airflow. The second
airflow is passed through the heat exchanger after its water
content is increased. This facilitates cooling of second airflow
and condensation of the water therefrom.
[0012] The invention also provides a system for producing water
that includes a first chamber having an inlet and an outlet for
facilitating movement of a first airflow into and out of the
first chamber. The system also includes a desiccant capable of
being introduced into the first chamber for removing water from
the first airflow moving through the first chamber. A second
chamber is configured to receive at least a portion of the
desiccant after it removes water from the first airflow. The
second chamber includes an inlet and an outlet for facilitating
movement of a second airflow into and out of the second chamber.
This facilitates evaporation of water from the desiccant in the
second chamber into the second airflow. A system heat exchanger
is configured to receive the second airflow from the second
chamber and to facilitate cooling of the second airflow to
extract water therefrom.
[0013] The present invention further provides a system for
extracting water from air. This system includes a desiccant
collection chamber wherein a solid desiccant or desiccant
solution is exposed to physical contact with a first air stream,
and wherein diluted desiccant is produced. Also provided is a
desiccant regeneration chamber. The desiccant is warmed and
introduced into the second chamber. There, the desiccant is
exposed to physical contact with a second air stream, wherein
humid air is produced. The humid air stream is placed in
physical contact with a condenser so that water vapor is
condensed from the humid air stream.
[0014] The present invention also provides a system and method
for passing ambient air into a first chamber having a suitable
desiccant material therein. The desiccant absorbs or adsorbs
moisture from the air that comes in contact with the desiccant.
In one embodiment, the air contacts desiccant by pumping air
through a contact surface, such as a sponge, media, cooling
coil, or cooling tower, that has desiccant dispersed therein.
The desiccant and/or first chamber may be cooled to enable the
more efficient transfer of water from the air to the desiccant.
The desiccant absorbs or adsorbs water from the air, thereby
transferring latent heat from the air as the water undergoes a
phase change and condenses out of the air. Because the desiccant
and/or first chamber are cooled, sensible cooling-i.e., cooling
that is not based on a change of state-is also provided to the
air. The resulting dry, cooled air is drawn out from the first
chamber.
[0015] The now hydrous desiccant collects at the bottom of the
first chamber and gets transferred to a second chamber. The
second chamber transfer occurs either through active pumping or
diffusion via a valve opening provided in a partition between
the first and the second chambers. The valve opening enables
equalization of desiccant levels in the first and the second
chamber. The net flow of hydrous desiccant occurs from the first
chamber to the second chamber until the level of the desiccant
equalizes in the two chambers. The diffused or pumped hydrous
desiccant in the second chamber can be heated and then again
exposed to air. In one embodiment, the desiccant is sprayed into
the interior of the second chamber. A heat exchanger such as a
heating element warms the spray of hydrous desiccant falling
from the nozzles, thereby evaporating moisture absorbed or
adsorbed into the desiccant, generating hot humid air, and also
regenerating substantially anhydrous desiccant.
[0016] The desiccant can be introduced into the chambers by any
method effective to achieve the desired result. For example, the
first chamber may include spongy cellulose material through
which the hydrated desiccant percolates down to collect at the
bottom of the chamber. Alternatively, the desiccant is made to
simply drip in the form of drops from points within, such as the
top of, the first and second chambers.
[0017] The present invention can also utilize the temperature
differential between the dry air coming out of the first chamber
and the hotter and humid air manufactured in the second chamber,
to effect transference of thermal energy between the two air
streams without bringing them into physical contact with each
other. For example, a heat exchanger, such as a radiator-type
exchanger comprising a plurality of tubing or pipes, can be used
to bring two air streams into thermal contact. The hotter and
more humid air from the second chamber can be passed through the
radiator, while the relatively cool, dry air contacts the outer
surfaces of the radiator via a duct that draws in the dry air
from the first chamber. This results in condensation of water
vapor in the heat exchanger into liquid water that drips down to
collect in a condensate collector. Alternatively, the hot humid
air can be directed to contact the dew-forming surfaces of a
heat absorber, such as an evaporator, that are cooled using a
suitable cooling process such as classic boiling fluids
contained in tubes, thermoelectric elements, heat pipes,
refrigerant-expansion coils or any other system known to persons
of ordinary skill in the art.
[0018] At least one embodiment of the present invention can
sterilize and filter the condensed water to generate pure
drinking water. Accordingly, in one embodiment, condensed water
from the condensate collector is exposed to suitable
ultra-violet (UV) radiation in a UV unit to free the water from
harmful microscopic organisms. Additionally, the radiated water
is serially passed through a charcoal filter to remove
contaminants and Volatile Organic Compounds (VOC's) and a
plurality of mineral cartridges to mineralize and/or vitaminize
the water. The purified and mineralized water is collected in a
first storage tank. Additionally, the water is passed through an
oxygenator before being stored in the first storage tank. Water
from the first storage tank is recirculated through the UV unit
at predetermined intervals of time to maintain quality of water.
[0019] At least one embodiment of the present invention can also
dispense hot and cold water. Thus, in one embodiment, water from
the first storage tank is gravity fed into a second cold storage
tank from where it is further gravity fed into a third hot
storage tank. Water in the second storage tank is chilled using
a suitable cooling process such as Peltier-effect or
chemical/magnetic cooling, by the use of a typical
expansion-evaporation coils, or by any other method effective to
achieve the desired result. The cold water is then dispensed
through a first childproof spigot. Also, water in the third tank
is heated to a desired temperature by a heating element and
dispensed through a second spigot. Ambient temperature water is
dispensed from the second spigot when power is disallowed to the
heating element of the third tank. In another embodiment, water
from the first storage tank can be directly dispensed through a
third spigot to provide water at ambient temperature.
[0020] The present invention may also be configured to provide
for the introduction of water from external sources in the event
of low condensate formation. Accordingly, an external source
such as a municipal supply faucet is attached through
quick-disconnect fittings to supply supplemental water to the
first storage tank.
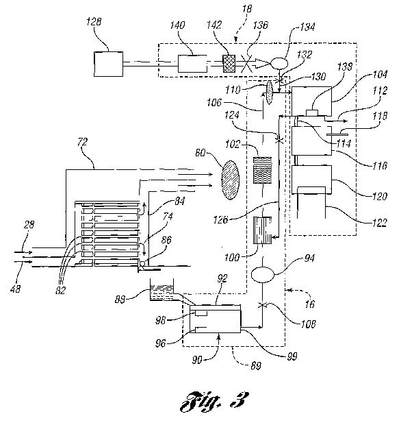
BRIEF DESCRIPTION OF THE DRAWINGS
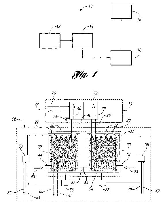
[0021] FIG. 1 is a simplified schematic representation of
a water producing system in accordance with the present
invention;
[0022] FIG. 2 is a schematic drawing showing a portion of
the system shown in FIG. 1; and
[0023] FIG. 3 is a schematic drawing showing another
portion of the system shown in FIG. 1.

DETAILED DESCRIPTION OF THE PREFERRED EMBODIMENT(S)
[0024] FIG. 1 shows a simplified schematic diagram of a water
producing system 10 in accordance with one embodiment of the
present invention. The system 10 includes a humid air
manufacturing stage 12, a water extraction stage 14, a water
purification and filtration stage 16, and a water dispensing
stage 18. As described in more detail below, the humid air
manufacturing stage 12 includes processes for removing moisture
from an ambient air mass, and transferring it into another air
mass by use of a desiccant material. The moisture collected in
the desiccant material is evaporated into the second air mass,
which results in the generation of warmer air with higher
humidity than the initial ambient air.
[0025] The water extraction stage 14 includes a heat exchanger
or absorber that cools the humid air stream manufactured in
stage 12. The air stream is cooled to its dew point, thereby
resulting in condensation of water vapor and production of
liquid water. The condensed liquid water may be filtered and/or
otherwise purified at stage 16 by any number of purification
and/or filtration devices. Such devices may include a
bacteriostat loop which serves to destroy adventitious living
organisms, and filters which filter out undesirable
contaminants. Filtration and/or purification systems used in
stage 16 can be configured to reduce contaminants and VOC's to a
level defined by National Science Foundation (NSF) Standard 53.
A recirculation loop may also be provided to recirculate stored
condensate during periods of inactivity.
[0026] The water dispensing stage 18 can include a plurality of
storage tank systems to dispense water through spigots. Various
components in the water dispensing stage can include
quick-disconnect fittings to facilitate easy assembly and
reconfiguration. Flexible tubing can also be used so that the
water can be remotely dispensed, and so that a secondary water
source, such as a municipal water supply, can be incorporated
into the system 10.
[0027] FIG. 2 shows the humid air manufacturing stage 12 and the
water extraction stage 14 in detail. In the embodiment shown in
FIG. 2, the humid air manufacturing stage 12 includes a first
chamber, or collection chamber 20, and a second chamber, or
regeneration chamber 22. The collection chamber 20 includes an
inlet 24 and an outlet 26 which allow a first airflow 28 to flow
through the collection chamber 20. As the air flows through the
collection chamber 20, it is subjected to a first process which
includes exposing it to a desiccant 30, which, in the embodiment
shown in FIG. 2, is a liquid. The liquid desiccant 30 is sprayed
into the first chamber 20 via a conduit 32.
[0028] As the first airflow 28 moves through the collection
chamber 20, vaporized water is condensed out, and collects with
the desiccant 30 in the bottom portion 34 of the chamber 20. The
desiccant 30 is diluted as it adsorbs or absorbs the water from
the first airflow 28. Although the desiccant 30 shown in FIG. 2
is liquid, the present invention contemplates the use of solid
desiccants, or dual phase desiccants-e.g., solid and liquid. Any
desiccant material effective to produce the desired result may
be used, including solids, liquids, solutions, aqueous
solutions, mixtures, and combinations thereof. Lithium chloride
(LiCl) and calcium chloride (CaCl2) are typical of liquid
desiccant solutions, but other liquid desiccants may be
employed.
[0029] Liquid desiccants such as polycols, alone or in mixture,
may be used. Typical polycols include liquid compounds such as
ethylene glycol, propylene glycol, butylene glycol, pentylene
glycol, glycerol, trimethyol propane, diethytlene glycol,
triethylene glycol, tetraethylene glycol, dipropylene glycol,
tripropylene glycol, tetrapropylene glycol, and mixtures
thereof. Polyol compounds which are normally solid, but which
are substantially soluble in anhydrous liquid polyols or liquid
hydroxyl amines, may also be used. Typical of these solid polyol
compounds are erythritol, sorbitol, pentaerythritol and low
molecular weight sugars. Typical hydroxyl amines include
alkanolamines, such as monoethanol amine, diethanol amine,
triethanol amine, isopropanol amine, including mono, di, and
tri, isopropanol amine or digylcolamine.
[0030] Still other types of desiccants such as montmorillonite
clay, silica gel, molecular sieves, CaO, CaSO4 can all be used.
As would be evident to persons of ordinary skill in the art, the
selection of a desirable desiccant depends, among other
parameters, upon the temperature and humidity ranges of ambient
air from which moisture is to be absorbed. Still other exemplary
desiccants comprise materials such as P2O5, BaO, Al2O3, NaOH
sticks, KOH fused, CaBr2, ZnCl2, Ba(ClO4)2, ZnBr2.
[0031] As noted above, the desiccant 30 is a liquid desiccant,
which may comprise an aqueous solution of 40% lithium chloride.
The desiccant 30 is pumped into the conduit 32 by a pump 36. The
pump 36 pumps the desiccant 30 through a first heat exchanger 38
prior to its introduction into the collection chamber 20. By
cooling the desiccant 30, its ability to remove water from the
first airflow 28 is increased. A fluid, such as a refrigerant,
is passed through the heat exchanger 38 via conduits 40, 42. The
desiccant 30 is cooled in the heat exchanger 38 to a temperature
below that of the first airflow 28. In this way, the airflow 28
is cooled as it passes through the collection chamber 20. As an
alternative to the heat exchanger 38, a heat exchanger may be
placed inside the collection chamber 20 to cool the first
airflow 28 directly, or to cool the desiccant 30 after it is
sprayed into the collection chamber 20.
[0032] The regeneration chamber 22 also includes an inlet 44 and
an outlet 46, which facilitate movement of a second airflow 48
into and out of the regeneration chamber 22. In the embodiment
shown in FIG. 1, the two chambers 20, 22 are conveniently
disposed adjacent each other inside a housing 50. Between the
two chambers 20, 22 is a partition 52, which allows the hydrous
desiccant from the collection chamber 20 to mix with desiccant
in the regeneration chamber 22, and vice versa. Instead of the
partition 52, a valve or other flow control device may be used
to control the flow of desiccant between the two chambers 20,
22. In the embodiment shown in FIG. 2, the partition 52 allows
for equalization in concentration of the desiccant 30 which is
achieved through osmotic flow. Thus, the desiccant 30 in the
collection chamber 20 is not rapidly diluted and rendered
ineffective. In addition, a float (not shown) may be employed to
operate in an opening 54 just below the partition 52. The float
can be used to help measure the temperature differential between
the two chambers 20, 22, and to control the degree of sensible
heat transfer. By modifying the size of the opening 54, via a
float or some other structure, it is possible to influence the
degree of sensible heat transfer and further optimize the system
10.
[0033] As with the collection chamber 20, the regeneration
chamber 22 also includes a pump 56 which is used to pump the
desiccant 30 into the regeneration chamber 22 through a conduit
58. The desiccant 30 is sprayed into the regeneration chamber 22
with an orientation that is generally perpendicular to at least
a portion of the second airflow 48. This is similar to the
arrangement in the collection chamber 20. By crossing the flow
directions between the desiccant 30 and the first and second
airflows 28, 48, contact between the air and the desiccant is
increased, without generating the high pressure that might be
associated with parallel flows.
[0034] As shown in FIG. 2, the desiccant 30 is pumped by the
pump 56 through a second heat exchanger 60. Heat can be added to
the heat exchanger 60 from any convenient source, via conduits
62, 64. By passing through the heat exchanger 60, the desiccant
30 is heated to a temperature above the temperature of the
second airflow 48, so that the second airflow 48 is heated as it
passes through the regeneration chamber 22. By heating the
second airflow 48, more water is evaporated from the desiccant
30 into the second airflow 48. As an alternative to the heat
exchanger 60, which is located outside the regeneration chamber
22, a heat exchanger 66, shown in phantom in FIG. 2, may be
located inside the regeneration chamber 22. The heat exchanger
66 can be supplied with heat from any convenient source via
conduits 68, 70.
[0035] In alternative embodiments, non-liquid desiccants can be
used in a variety of configurations. In one example, a solid
water absorbing material is used to absorb water from an
incoming air stream and then subjected to a dry air stream that
causes the transfer of water vapor from the solid water
absorbing material to the dry air stream. The transfer may occur
through a series of alternating cycling air streams, each of
which may be warmed or cooled depending on what would best cause
the transfer of water vapor. In another example, solid
desiccants can be dispersed into an air trap that contacts
incoming air streams. The desiccants absorb or adsorb water from
the air. The trap is then exposed to a heating element, thereby
causing the water to evaporate from the desiccant and
regenerating the desiccant. The air containing the evaporated
water is then exposed to a water extraction stage, as described
below.
[0036] The humid air manufacturing stage 12 results in two
separate airflows exiting the chambers 20, 22. The first airflow
28 of now dry air exits the collection chamber 20 through the
outlet 26, and the second airflow 48 of now humid air exits the
regeneration chamber 22 through the outlet 46. The water
extraction stage 14 includes a system heat exchanger 72. In the
embodiment shown in FIG. 2, the heat exchanger 72 is configured
to receive the cool dry airflow 28 and the warm humid airflow
48, such that heat is transferred between the two airflows 28,
48. In particular, heat will be transferred from the warmer
airflow 48 to the cooler airflow 28, resulting in extraction of
water 74 from the second airflow 48. As an alternative to using
the first airflow 28 to cool the second airflow 48, another
source of cooling, such as a refrigerant, may be passed through
the heat exchanger 72 via conduits 76, 78.
[0037] One of ordinary skill in the art would appreciate that
the extraction of water from the first airflow 28 increases the
latent heat of the desiccant 30, and results in latent cooling
of the first airflow 28. Additionally, because the desiccant 30
(or alternatively the chamber 20, or both) is cooled, the first
airflow 28 itself undergoes sensible cooling that lowers its
temperature level, thereby creating cooled, dry air. In one
embodiment, the present invention uses 10 liters of lithium
chloride solution to extract 2 liters per hour of moisture from
incoming air that is provided by an air blower rated at 250
m<3> /hour. The result is a sensible cooling capacity of
0.7 kW and a latent cooling capacity of 1.4 kW, thereby enabling
a temperature reduction in the air of 8.4[deg.] C.
[0038] As shown in FIG. 3, the first and second airflows 28, 48
are pulled through the heat exchanger 72 (and respectively
through the chambers 20, 22) by a fan 80. The heat exchanger 72
is a radiator-type heat exchanger which includes a plurality of
air tubes 82 through which the airflow 48 passes. As heat is
transferred from the airflow 48 to the airflow 28, water 74
condenses out of the airflow 48 and trickles down a header pipe
84. The water 74 actuates a float valve 86 which may be
configured to work by its own buoyant power or by a sensor. The
water 74 then drops into a condensate collector 88 after being
released by the float valve 86.
[0039] Once the water is extracted from the airflow 48 and
collected in the condensate collector 88, it can be subject to a
variety of filtration, purification, storage, and dispensing
steps. As shown in FIG. 3, the water leaving the heat exchanger
72 is then processed by a water treatment subsystem 89 at the
water purification and filtration stage 16 and dispensed the
water dispensing stage 18. The additional steps actually
employed in these last two stages 16, 18 are dependent upon the
type and nature of the application for which the water producing
system 10 is being used. For example, in one embodiment, the
water purification and filtration stage 16 uses ceramic filters
to remove water born pathogens. In addition, the ceramic filters
can be filled with a high-grade silver activated carbon.
[0040] Various grades of readily available activated carbons,
such as Columbia, Pittsburgh, Barnebey-Cheney, Continental, Bone
Char, Acticarbone, Cochranex, Carboraffin, by way of
illustration and not limitation, can be used as the medium. Such
carbons can be prepared from a variety of sources such as wood,
bones, blood, carbohydrates, coal, coconut shells, corncobs and
cornstalks, kelp, lignite, nutshells, oil shale, petroleum coke,
rubber waste and sawdust. The activated carbon employed may be
in various forms, for example it may be in granular, powdered or
pelleted form or combined in preformed materials such as fibers,
slurry, paper or other supporting media. Because of a high
adsorption rate, granular carbons may be particularly effective.
A mesh size of less than about 100 may be more effective than
larger sizes, but larger sizes may be suitable where higher flow
rates are desired.
[0041] In yet another alternative embodiment, a kinetic
degradation fluxion (KDF) and carbon combination filter is used.
This is similar to a granular activated carbon filter with
additional metal removal capabilities, including lead. Chlorine
is converted to chloride by the KDF portion, which is a
zinc/copper composite. This extends the life of the carbon media
bed. This type of filtration also helps to minimize biological
activity. Additionally and/or alternatively, the present
invention uses reverse osmosis, ion exchange demineralization,
and/or ultra fine membrane filters as stand alone or in
combinations.
[0042] Another embodiment of the present invention utilizes
fabric filters having enhanced capabilities for removing
contaminants from a fluid. The fabric filters utilized may be
treated with an inorganic hydrolyzing composition such as sodium
hydroxide. Such a filtration system, utilizing a cellulose
acetate fiber filter, effectively removes microbiological flora.
By utilizing such a system in conjunction with a virus
filtration unit and a reverse osmosis membrane, a liquid such as
water may be very highly purified. Media such as activated
carbon, which are used for adsorbing viruses, are treated with
inorganic sodium containing hydrolyzing composition.
[0043] It may be desirable, however, to use a filtration system
that is easily maintained, where the filters can be regenerated,
and where the filters can be used without requiring frequent
replacements. Additionally, numerous other filters can be used
at different stages in the process, including UV filters,
sediment filters, pre-carbon filters, post-carbon filters, and
ultrafiltration cartridges.
[0044] Referring back to FIG. 3, one embodiment of the present
invention includes an ultraviolet light unit 90. The UV light
unit 90 can be advantageously combined with a plurality of other
filters to improve the quality of water. The UV unit 90 is
designed so as to maximize the bacteria-killing effect of an
optimal frequency of ultraviolet radiation. Accordingly, the
interior surfaces of the unit 90 are coated with reflective
material, and the unit 90 is shaped around a high-intensity,
short wavelength ultraviolet lamp (not shown) so as to direct
the liquid condensate into the optimum zone of bacteria
destruction. The UV lamp may be changed by removal of the unit
cap 92.
[0045] A pump 94, preferably self-priming, is activated
according to the volume of water within the UV unit 90 by means
of a lower sensor 96 and an upper sensor 98. The lower sensor 96
and upper sensor 98 are both electrically connected to a pump
relay switch (not shown) that closes and allows power to the
pump 94 when both the lower sensor 96 and the upper sensor 98
are immersed in water. The pump 94 provides pressure sufficient
to pull water from the second end 99 of the UV unit 90, forcing
water through a solid-core charcoal filter 100 and a
mineralizing cartridge 102 into a storage tank system 104. The
pump 94, solid-core charcoal filter 100, mineralizing cartridge
102 for adding minerals to the purified water, and the storage
tank 104 fluidly communicate via a conduit 106. A check valve
108, placed serially with respect to the pump 94 and UV unit 90,
prevents reversal of water flow when the pump 94 is deactivated.
[0046] To regulate the level of water in the storage tank 104,
the cover of the storage tank 104 is provided with an overflow
float switch that regulates the speed of, or disallows power to,
the multi-speed fan 80, thereby stopping and/or reducing the
rate of condensation at the dew-forming surfaces of the heat
exchanger 72 when the water level reaches the cover of the tank
104. In an alternate embodiment, where a heat exchanger, such as
the heat exchanger 72, is cooled using typical
refrigerant-expansion coils, power may be switched off to the
refrigerant compressor (not shown) when the level of the water
in the storage tank 104 approaches the attached storage tank
cover, thereby stopping water condensation.
[0047] In the embodiment shown in FIG. 3, the liquid condensate
is additionally passed through an oxygenator 110 prior to
introduction into the storage tank 104, in order to healthfully
introduce oxygen into the water. This completes an initial, or
first treatment of the water, which, as explained below, may be
subject to a second and subsequent treatments by recirculation
through at least a portion of the water treatment subsystem 89.
A quick-disconnect tube 112 may additionally be attached to
direct water from the storage tank 104into external containers.
In one embodiment these external containers are large cisterns
to store water for industrial, agricultural or commercial
consumption. The water collected in the external containers can
be further treated through chemical disinfectants such as
chlorine, bromine, iodine, potassium permanganate, cooper and
silver ions, alkalis, acids and ozone or any other suitable
chemical agent known to persons of ordinary skill in the art.
[0048] To make the system 10 more desirable for office or home
use, the system 10 is optionally fitted with subsystems for
producing water at three temperatures-i.e., hot, cold and
ambient. In one embodiment, water from the storage tank 104 is
allowed to gravity feed through a self-sealing gasket and
through a tube 114 into a cold-water tank system 116. The water
may then be chilled within the cold-water tank system 116 by a
low-pressure evaporator refrigerant coil of a secondary heat
absorber (not shown). Other heat absorber methods may
alternatively be used to cool the water, such as Peltier-effect
or chemical/magnetic cooling or any other effective method. The
water may be further gravity dispensed outside by means of a
spigot (not shown). Energy dissipation from cold-water tank 116
is decreased by insulation. Additionally, a securable tube 118
may be sealing connected to the cold-water tank 116 to permit
direct introduction of medicines and/or vitamins into the
cold-water tank 116.
[0049] Water from the cold-water tank 116 further flows by
gravity into a hot water tank system 120. The water may then be
heated within the hot water tank system 120 by a heating element
122. The water is dispensed by means of another childproof
spigot (not shown). The temperature of both hot and cold water
is optionally displayed on a display panel. In one embodiment,
ambient temperature water is dispensed from the hot water tank
120 via a spigot (not shown) when the heating element 122 is not
provided with electrical power. In an alternate embodiment,
ambient temperature water is dispensed directly from the storage
tank 104 via a separate spigot (not shown).
[0050] To maintain its purity and freshness, water in the
storage tank 104 may be recirculated on a periodic basis through
at least some of the water treatment subsystem 89. For example,
water from the tank 104 may be recirculated through the UV unit
90; however, in the embodiment shown in FIG. 3, the water is
only recirculated through the filter 100, the mineralizer 102,
and the oxygenator 110. A solenoid valve 124, placed serially in
fluid communication via conduit 126 between the storage tank 104
and the UV unit 90, prevents flow of water from the storage tank
104 to the UV unit 90 unless electrical power is supplied to the
solenoid valve 124. This prevents water in the storage tank 104
from draining if electrical power to the apparatus fails.
Recirculation of the condensate is accomplished by activating a
recirculation pump (not shown) at predetermined time intervals.
By this repeated process, water is intermittently and
continually recirculated across portions of the water treatment
subsystem 89 whenever the water producing system 10 is in use.
The flow duration may be defined by the volume circulated or by
time. An indicator port (not shown) on the exterior of the UV
unit 90 may be used to confirm proper operation of the UV unit
90.
[0051] In one embodiment, water can be collected from any or all
of the tanks 104, 116 and/or 120 in an external container (not
shown) wherein cartridges of medicines and/or vitamins can be
advantageously inserted. This arrangement keeps the
medicated-vitamin-supplemented water mass from being
recirculated through the UV bacteriostat zone.
[0052] In the embodiment shown in FIG. 3, an external, secondary
source of water 128, such a municipal water supply, supplies
water to the storage tank 104 in the event of low water level in
the tank 104. Accordingly, conduit 106 is fitted with a tee 130
to permit fluid communication with the external water source
128. A solenoid valve 132 is provided to prevent water from
flowing through the external water source side of the tee 130
unless activated by an actuating electric power signal. At the
external water source side of the solenoid valve 132, a female
quick-disconnect fitting (not shown) is provided to permit easy
coupling and uncoupling of external water source 128. The
externally supplied water is passed through the tee 130 in the
direction of the storage tank 104. A check valve (not shown) can
be used to prevent water from flowing toward the UV unit 90.
[0053] The externally supplied water may be directed through a
reverse-osmosis membrane filter 134, which in turn,
simultaneously directs filtered water into storage tank 104 and
wastewater through drain outlet into a drain for disposal (not
shown). A solenoid valve 136 prevents external water from
entering the membrane filter 134, unless activated by electrical
signals from a low water sensor 138 provided at the inside
bottom of the storage tank 104. If there is low water in the
storage tank 104, an electrical signal is either sent to the
pump 94, or if the apparatus is connected to an external water
source such as the water source 128, the signal is sent to the
inlet water solenoid 136 to open it, thereby letting water
pressurize the system. Optionally, a booster pump 140 is
provided at the external water source end of the solenoid valve
136 to pump pressurized external water through a fluidly
communicating sand/sediment filter and pre-filter 142, serially
provided between the booster pump 140 and membrane filter 134,
to remove heavy metals and VOC's from the external water.