Frank THEILOW
Air Well
http://www.sciencedaily.com
Drinking Water From Air Humidity
ScienceDaily (June 8, 2009) Not a plant to be seen, the desert ground is too dry. But the air contains water, and research scientists have found a way of obtaining drinking water from air humidity. The system is based completely on renewable energy and is therefore autonomous.
Cracks permeate the dried-out desert ground, the landscape bears testimony to the lack of water. But even here, where there are no lakes, rivers or groundwater, considerable quantities of water are stored in the air. In the Negev desert in Israel, for example, annual average relative air humidity is 64 percent in every cubic meter of air there are 11.5 milliliters of water.
Research scientists at the Fraunhofer Institute for Interfacial Engineering and Biotechnology IGB in Stuttgart working in conjunction with their colleagues from the company Logos Innovationen have found a way of converting this air humidity autonomously and decentrally into drinkable water. The process we have developed is based exclusively on renewable energy sources such as thermal solar collectors and photovoltaic cells, which makes this method completely energy-autonomous. It will therefore function in regions where there is no electrical infrastructure, says Siegfried Egner, head of department at the IGB. The principle of the process is as follows: hygroscopic brine saline solution which absorbs moisture runs down a tower-shaped unit and absorbs water from the air. It is then sucked into a tank a few meters off the ground in which a vacuum prevails. Energy from solar collectors heats up the brine, which is diluted by the water it has absorbed.
Because of the vacuum, the boiling point of the liquid is lower than it would be under normal atmospheric pressure. This effect is known from the mountains: as the atmospheric pressure there is lower than in the valley, water boils at temperatures distinctly below 100 degrees Celsius. The evaporated, non-saline water is condensed and runs down through a completely filled tube in a controlled manner. The gravity of this water column continuously produces the vacuum and so a vacuum pump is not needed. The reconcentrated brine runs down the tower surface again to absorb moisture from the air.
The concept is suitable for various sizes of installation. Single-person units and plants supplying water to entire hotels are conceivable, says Egner. Prototypes have been built for both system components air moisture absorption and vacuum evaporation and the research scientists have already tested their interplay on a laboratory scale. In a further step the researchers intend to develop a demonstration facility.
US9945102 -- Device for extraction of water from atmospheric air
Abstract -- A device is provided for extracting water from atmospheric air (8) having a free-flowing adsorbent or absorbent (3, 13), in particular a saline solution (3), having a hygroscopic salt for the adsorption or absorption of water, the adsorption or absorption being provided at least along an adsorption or absorption section (7), which realizes a high yield of (potable) water per unit volume of the structure or of the absorbent/adsorbent (3), a decrease in the assembly effort and a stabilization of the process. This is achieved according to the invention in having a free-flowing adsorbent (3, 13) or absorbent (3, 13) disposed at least along the adsorption or absorption section (7) essentially on a guide element (1, 16, 19, 22, 24) for guiding the adsorbent (3) or absorbent (3), in particular on a presettable track.

Description
BACKGROUND
OF THE INVENTION
[0005] 1.
Field of the Invention
[0006] The invention relates to a device for extracting water
from atmospheric air having a free-flowing adsorbent (3, 13) or
an absorbent (3, 13) in particular a saline solution (3, 13),
having a hygroscopic salt for the adsorption or absorption of
water, the adsorption or absorption being provided at least
along an adsorption or absorption section (7). More particularly
the invention pertains to a guide element (1, 16, 19, 22, 24)
for guiding the adsorbent or absorbent and at least one metering
unit having at least one orifice (6) for adding the saline
solution (3) to the guide element and a metering unit for
pressurizing the saline solution (3).
[0007] 2.
Description of Related Art Including Information Disclosed
Under 37 CFR 1.97 and 1.98
[0008] At many places in the world, particularly in semi arid or
arid regions, such as, for example, in parts of Israel, Egypt,
the Sahel zone or numerous hot deserts, which are at a
significant distance from the sea, potable water supplies are
not available, at least nor all year round. In addition to the
transport of potable water, there is here only the possibility
of providing potable water from moist air.
[0009] Condensers are already known in many ways for extracting
condensable water from atmospheric air having a refrigeratorable
cold store, the relatively moist atmospheric air being cooled
below the dew point (see DE-C-28 10 241, DD 285 142 A5).
[0010] In addition, devices are also known which bind
atmospheric water in an absorption phase by means of an
adsorbent or absorbent material such as a salt, e.g. sodium
chloride or the like. In this case the salt or the corresponding
saline solution is generally stored in a liquid container, the
water level or the topside, viewed in a vertical direction, of
the salt or of the brine being considered as water-adsorbent or
absorbent surface. In a desorption phase, this salt-water
solution or brine is dehydrated for extracting the potable water
and the salt is made available again for absorption (see, e.g.,
DE-C 2 660 068, DE 198 50 557 A1).
[0011] However, disadvantages of these methods or devices are
the comparatively large construction size and the relatively low
yield of potable water per unit volume of brine.
BRIEF
SUMMARY OF THE INVENTION
[0012] In contrast to the prior art it is an object of the
invention to provide a device for extracting water from
atmospheric air having a free-flowing adsorbent or absorbent, in
particular a saline solution having a hygroscopic salt for the
adsorption or absorption of water, the adsorption or absorption
being provided at least along an adsorption or absorption
section, which device achieves a high yield of (potable) water
per unit volume of the construction or of the
absorbent/adsorbent, and possibly a stabilization of the
process.
[0013] An object of the invention is achieved starting with a
device having a free-flowing adsorbent (3, 13) or an absorbent
(3, 13) in particular a saline solution (3, 13) having a
hygroscopic salt for the adsorption or absorption of water, the
adsorption or absorption being provided at least along an
adsorption or absorption section (7). More particularly the
invention pertains to a guide element (1, 16, 19, 22, 24) for
guiding the adsorbent or absorbent and at least one metering
unit having at least one orifice (6) for adding the saline
solution (3) to the guide element and a metering unit for
pressurizing the saline solution (3).
[0014] Advantageous embodiments and developments of the
invention are also provided by constructing the guide element
(1, 16, 19, 22, 24) in a U shape or a V shape, disposing the
saline solution (3) as a liquid film on the guide element,
providing a distributor element (10, 24) on the guide element
(1, 16, 19, 22, 24) for the flat distribution of saline
solution, constructing the distribution element (10, 24) as a
spherical, cubic, conical, oval, egg-shaped, cuboidal and/or a
polygonal body (10, 24) forming the distribution element (10,
24) as a net of a non woven or woven fabric, a leather hide,
small hairs, fibers, pores, grooves, craters and/or hollows,
forming the guide element (1, 16, 19, 22, 24) in a plurality of
bodies like a string of pearls, forming the guide element (1,
16, 19, 22, 24) as a rod 16 having numerous furrows (17) slots
and/or grooves oriented along the rod axis, constructing the
guide element as a corrugated plate having numerous corrugations
(17) slots and/or grooves, providing for the transport of the
adsorbent or absorbent along the guide element (1, 16, 19, 22,
24) in a substantially vertical direction, providing numerous
guide elements (1, 16, 19, 22, 24) providing for brine drops
along the adsorption or absorption section (7) for transporting
the saline solution (3) having a least one metering unit with a
least one metering orifice (6) for adding saline solution (3) to
the guide element (1, 16, 19, 22, 24), having at least one
pressure-generation unit for pressurizing the saline solution
(3) disposed in a brine store (2) providing at least one
heat-exchange unit for use of heat energy for desorption,
providing for height and/or width adjustment of the device,
mounting the device so as to be at least in part rotatable
around an axis (27), providing an outer casing that is mounted
to be rotatable around an axis (27), providing at least one air
filter (15) for filtering atmospheric air (8) into the device,
providing through-flow orifices having a smaller cross sectional
area than the cross sectional area of the metering orifices and
employing an adsorbent (3, 13) or absorbent (3, 13) in the
device.
[0015] Accordingly, an inventive device is distinguished in that
the free-flowing adsorbent or absorbent is disposed at least
along the adsorption or absorption section essentially on a
guide element or a retention rail for guiding the adsorbent or
absorbent, in particular on a presettable track. Using an
inventive guide element, assembly and also retention or adhesion
to the guide element is effected in such a manner as to
substantially prevent disadvantageous blowing during flow
through of the adsorption or absorption section due to the
action of wind.
[0016] Generally, shifting or motion/flowing of the adsorbent or
absorbent along the adsorption or absorption section is
provided, so that the motion or flowing of the adsorbent or
absorbent is guided or conducted.
[0017] Guiding in the context of the invention is taken to mean
that the adsorbent or absorbent is guided or conducted at least
in two, advantageously in three, directions orientated
orthogonally to one another. This means that especially in the
case of a guide element orientated at least in one direction,
substantially vertically, owing to gravity, the adsorbent or
absorbent is guided in what is termed the Y direction. In
addition, by means of the guide element, the adsorbent or
absorbent is guided or directed at least in what is termed the X
direction and/or what is termed the Z direction. The Y, X or Z
directions are here in each case disposed orthogonally to one
another in a generally known manner. For example, the adsorbent
or absorbent, in the case of a virtually vertically orientated
and planar guide element, is guided or conducted, in addition to
the Y direction, in addition also in the X direction or the Z
direction in the meaning given above. In the case of a, e.g.,
virtually vertically orientated linear guide element, such as a
rod, rope, etc., the adsorbent or absorbent, in addition to the
Y direction, is also guided or conducted into the X direction
and the Z direction.
[0018] Advantageously, the adsorbent or absorbent is conducted
or constructed on an outer surface or externally and/or as
casing, of the guide element. This makes possible an
advantageous contact with the atmospheric air.
[0019] If appropriate, an adhesion element having an adhesion
surface for adhesion of the free-flowing adsorbent or absorbent
is provided at least along the adsorption or absorption section.
By this means the adsorbent or absorbent is retained on the
adhesion element in such a manner that it cannot be removed or
blown away from the adhesion element by the force of wind or the
like.
[0020] In general, the adhesion element or guide element can be
constructed so as to be substantially linear or else corrugated,
curved and/or bent, so that it can be adapted flexibly to the
most varied circumstances or spatial conditions.
[0021] By means of this measure, according to the invention a
substantially exactly defined track of the adsorbent or
absorbent during water uptake from the air is achieved, the
track of the adhesion element or guide element corresponding
essentially to this, or being preset by this. As a result,
without great expenditure, a disadvantageous change in the
adsorption or absorption section of the adsorbent or absorbent
is effectively prevented, so that as optimum as possible water
uptake is achieved.
[0022] The adhesion element, or the retention rail, or the guide
element, is advantageously constructed as string and/or rope
and/or wire and/or woven fabric and/or chain and/or tube and/or
rod and/or pole. By this means, an adhesion element or guide
element which is particularly simple to produce or assemble can
be achieved. The adsorbent or adsorbent can be disposed in the
form of a (partial) casing around the adhesion element or guide
element, so that a particularly high surface area actively
absorbing or absorbing water is achieved. This produces an
actively water-absorbing surface area of the saline solution
which is as large as possible.
[0023] In a particular variant of the invention, the adhesion
element or guide element or the retention rail can be
constructed as U- and/or V-shaped element or rail. By means of
this variant of the invention, a particularly exact direction of
the adsorbent or absorbent on the preset track during the
adsorption/adsorption can be achieved.
[0024] In an advantageous embodiment of the invention, the
adsorbent/absorbent or the saline solution is disposed at least
on the retention rail or on the adhesion element/guide element
as liquid film or liquid wetting. By this means, a relatively
extensive water-absorbing surface can be achieved. Furthermore,
an advantageous ratio of liquid volume to actively
water-absorbing liquid surface area is achieved. This leads to a
particularly effective water extraction by the device according
to the invention.
[0025] Generally, there is the connection that the greater the
water-absorbing surface area of the saline solution is, the more
advantageous or greater is the water absorption and/or the
efficiency of the inventive device. Generally, maximizing the
water-absorbing surface area of the saline solution, in
particular per unit volume, is to be aimed at.
[0026] Preferably, the adhesion element/guide element or the
retention rail has at least one distribution element for the
planar distribution or for the surface enlargement of the saline
solution. By this means, the planar development of the liquid
film or the wetting of the wall, can advantageously be
implemented. Corresponding designs of the adhesion element or
guide element achieve in a particularly simple manner a
correspondingly advantageous water-absorbing surface.
[0027] In a particular development of the invention, the
distribution element is constructed as spherical and/or cubic
and/or conical and/or oval and/or cuboidal and/or polygonal
body. The absorbent/adsorbent or the saline solution flows past
such an adhesion element or guide element or bodies disposed on
the retention rail, so that its or their surface area is
critically enlarged and thus the water uptake is improved.
[0028] Advantageously, the distribution element comprises a net
and/or a nonwoven and/or a woven fabric and/or a leather hide
and/or small hairs and/or fibers and/or pores and/or grooves
and/or craters and/or hollows. For example, in the case of a
nonwoven, woven fabric, leather or the like, the extensive
implementation of the surface according to the invention is
advantageously implemented, in particular, by means of capillary
forces and/or surface effects.
[0029] The distribution element can consist, e.g., of plastic,
clay and/or glass. For example, the distribution element or the
bodies can be glued, sprayed, pressed or comparatively simply
fixed to the adhesion element or guide element. Between two
distribution elements, spaces such as sleeves or the like may be
provided.
[0030] If appropriate, the distribution element is implemented
as porous, sponge-like or comparably permeably constructed body.
Possibly, the surface of the distribution element can be
roughened or made to be microporous. In general, it is
advantageous to adapt the adhesion element or guide element
and/or distribution element to the adsorbent/absorbent or the
saline solution, e.g. to the viscosity, surface tension, etc.
[0031] In an advantageous variant of the invention, the adhesion
element or guide element is constructed as what is called a
string of pearls having numerous bodies. An advantageously
simple surface enlargement can be achieved by appropriately
numerous bodies which are disposed along the guide element.
[0032] Possibly, the adhesion element or guide element or the
retention rail is constructed having advantageous guide
structures, in particular as a rod having numerous furrows
and/or slots and/or grooves orientated in the direction of the
rod axis. An appropriately furrowed rod, e.g., likewise has a
relatively high surface area and is also simple to produce, e.g.
as injection-molded or deep-drawn element. In addition, the
guide structures improve the guidance or retention of the
adsorbent/absorbent to the guide element according to the
invention.
[0033] Especially, alternatively to this, the adhesion element
or guide element or the retention rail can be constructed having
advantageous guide structures, in particular as a corrugated
plate having numerous corrugations and/or slots and/or grooves.
A corresponding plate can be produced at least just as simply,
and in addition also has a relatively large surface area.
[0034] Generally, the corrugations and/or furrows and/or slots
and/or grooves can have hollows and/or bulges and/or humps or
the like, so that the surface area of the corresponding guide
element is additionally increased, which leads to an even better
water uptake by the adsorbent/absorbent.
[0035] In addition, the inventive bodies, hollows, bulges or
humps of the adhesion element or guide element extend the
adsorption/absorption section and thus advantageously the
residence time of the adsorbent/absorbent, which results in an
improved water uptake of the apparatus. In principle, other
alternative and/or further advantageous surface-area-increasing
measures or elements can also be used according to the
invention.
[0036] In a preferred manner, the transport direction of the
adsorbent or absorbent is orientated along the adhesion element
or guide element or along the retention rail essentially in a
vertical direction. By this means, an advantageous transport of
the free-flowing adsorbent/absorbent or the saline solution can
be achieved along the adsorption section by means of gravity.
This measure makes possible a particularly simple operation of
the inventive device.
[0037] In a particular variant of the invention, numerous
adhesion elements or guide elements or retention rails are
provided. By this means the water-absorbing surface area
according to the invention can be advantageously enlarged to a
particularly great extent or in a simple manner.
[0038] If appropriate, a plurality of vertically or horizontally
orientated adhesion elements or guide elements are disposed in a
horizontal direction next to one another. Preferably, numerous
distribution elements are disposed in a vertical direction one
above the other. By this means, an advantageous cascade can be
achieved, the saline solution flowing or being transported by
means of gravity from a first distribution element to a second
distribution element disposed beneath, etc. For example, the
saline solution flows along the surface of the adhesion element
or guide element, the adsorbent/absorbent or the saline solution
flowing over one distribution element or inventive body after
the other.
[0039] In a particular development of the invention, brine drops
are provided at least along the adsorption or absorption section
for transporting the saline solution. This can mean, inter alia,
that the saline solution drips with as many drops as possible,
e.g., from at least one brine store, preferably disposed in the
upper region of the inventive device, onto the adhesion
element/guide element, or the numerous adhesion elements/guide
elements, which drops slide downward along the adhesion element
or guide element. The brine of the brine store is generally a
virtually saturated saline solution.
[0040] Advantageously, in the inventive variants, the
water-absorbing surface of the saline solution comprises at
least the drop surface. For example, in the case of several
million drops per cubic meter, this advantageous measure gives a
significant enlargement of the water-absorbing surface area
which further improves the yield or the efficiency of the
inventive device.
[0041] Preferably, at least one metering unit having at least
one metering orifice is present for adding the brine drops to a
guide element. In this case, in particular from the brine store,
the saline solution is added by means of the metering orifice of
the adhesion element or guide element. A metering unit enables,
especially together with an open-loop or closed-loop control
unit, a substantially automated mode of operation of the device
according to the invention. For this, advantageously, the most
varied sensors and actuators are to be provided which measure at
least relative atmospheric humidity, temperature, flow rate,
brine concentration, flow velocity, air pressure and/or brine
pressure.
[0042] In an advantageous embodiment of the invention, the
metering unit has at least one pressure-generation unit for
pressurizing the saline solution disposed in a brine store.
Using a corresponding pressure-generation unit, such as, e.g., a
pump, the saline solution in the brine store can be pressurized
for example in such a manner that the amount of saline solution
added can be adapted, in particular, to the relative atmospheric
humidity.
[0043] Preferably, the addition is performed in such a manner
that the saline solution, pulsed, gives off numerous drops
through numerous metering orifices at correspondingly numerous
adhesion elements or guide elements. For this, the
pressure-generation unit pressurizes the saline solution in a
pulsed manner, or alternately at a high pressure and a lower
pressure. This ensures that substantially individual drops slide
down the adhesion elements or guide elements one after the other
and thus form an advantageously large active surface area or
slide from distribution element to distribution element, in
particular from body to body, according to the invention.
[0044] For example, the number of brine drops per unit time is
adapted to the relative humidity of the atmospheric air, the
more brine drops are generated or are added to the adhesion
elements/guide elements, the higher is the relative atmospheric
humidity. Advantageously, this adaptation, in particular of the
control of the pressure generated by the pressure-generation
unit, can be combined with a wind energy-generation unit such as
a wind turbine or the like.
[0045] In a particular development of the invention, at least
one air filter is provided for filtering the atmospheric air
flowing into the device. This can at least partially prevent or
reduce contamination of the adsorbent/absorbent by dust,
windborne sand or the like, which makes possible a relatively
fault-free mode of operation of the device according to the
invention.
[0046] Preferably, the air filter has through-flow orifices, the
through-flow orifices having a smaller cross sectional area than
the cross sectional area of the metering orifices. By means of
this measure, impairment or blockage of the metering orifices by
particles introduced with the atmospheric air, such as windborne
sand or the like, can be very largely prevented. This decisively
increases the operational reliability of the inventive device,
without significant expenditure. This measure is also of
particular advantage in a device according to application 103 09
110.6 of the applicant.
[0047] In principle, the saline solution flowing down along the
adhesion element/guide element or the distribution element
generally automatically cleans it from contamination such as
dust deposits, windborne sand, etc., as a result of which a
self-cleaning system can be achieved. This additionally
increases the operation reliability of the plant.
[0048] Advantageously, a holding device of the adhesion elements
or guide elements has at least one support column. Preferably,
the adhesion elements or guide elements are disposed in at least
one through-flow element constructed as a vane, in particular
the vane being able to swing together with the holding device,
or about an axis of rotation. Preferably, two vane elements are
provided which are able to rotate about an intermediately
disposed axis of rotation and/or holding device or support
column.
[0049] For example, the support column is disposed in the
central region of the plant or in the region of an axis of
rotation. If appropriate, the support column is constructed as
an extrusion pressed element, as a result of which a relatively
economically expedient design of the holding device can be
effected.
[0050] In principle, the plant or the vane can be constructed so
as to be able to swing as a function of the wind direction. For
this, an advantageous control unit, in particular having a wind
direction-detection element, is present. For example in the case
of relatively high wind strengths, such as in a storm, etc., the
control unit can place the plant or the vane(s) with a
relatively small, in particular closed, cross sectional area
into the wind. At relatively low wind strengths, or in a
virtually still wind, the plant or the vane(s) is/are to be
placed with a relatively large through-flowable cross sectional
area into the wind.
[0051] Preferably, the saline solution is fed at a first, in
particular virtually saturated, salt concentration of the
adhesion element or guide element from the brine store. For
example, the holding device, in particular the support column,
comprises the brine store. In an advantageous embodiment of the
invention, at least one removal element for removing the saline
solution at a second salt concentration is provided, the second
salt concentration being substantially lower than the first salt
concentration.
[0052] If appropriate, the saline solution flows through or
impinges a plurality of adhesion elements or guide elements in
series, and is stored or collected in a collecting element or
second brine store at the second salt concentration. The
adhesion elements or guide elements connected in series form, at
least together with the brine feeder and the collecting element,
an advantageous module. Advantageously, a plurality of modules
are provided, if appropriate, viewed in the vertical direction,
disposed one above the other and/or adjacently. Advantageously,
the modules are connected, and the saline solution flows through
them, in parallel. In this case the modules or individual saline
solutions are generally combined, the saline solutions of the
individual modules mixing and if appropriate being
intermediately stored in a storage reservoir.
[0053] Preferably, at least one concentration unit is provided
for concentrating the saline solution from the second salt
concentration to the first salt concentration. For example, in
this case, the water is at least in part desorbed. By means of
this measure, advantageous water or potable water is separated
off from the saline solution and can be fed to a use or
utilization. Frequently, the water extracted by this means is
used as potable water and/or irrigation water.
[0054] Advantageously, the concentration unit comprises at least
one mechanical filter, sieve or the like, which effectively
removes or retains contaminants or particles, in particular
upstream of the concentration stage in the direction of flow.
[0055] If appropriate, the concentration unit has at least one
cyclone and/or a semipermeable membrane for producing the water
or potable water. Preferably, the concentration unit comprises
at least one evaporator for at least partial evaporation of the
saline solution. In this case, in particular, an if appropriate
refrigeratable condensation unit is provided for condensing the
water vapor and producing the water.
[0056] The use of an evaporator has in particular the advantage
that in arid or semiarid areas, heat energy or solar energy is
available particularly simply in a sufficient amount and using
extensively proven techniques. Frequently, in this case, use is
made of corresponding energy stores in the most differing
variants.
[0057] In general, e.g. a substantially continuous day and/or
night operation of the device according to the invention can be
effected.
[0058] In principle, using the invention, a marked enlargement
of the surface area actively absorbing the atmospheric water can
be achieved, which leads to a decisive improvement in the yield
per unit volume of the device. Possibly, a substantially greater
throughput or throughflow of atmospheric air per unit time can
be achieved, so that the yield per unit time can be
correspondingly increased. This leads to a substantial increase
in the efficiency or economics of the inventive device.
[0059] Preferably, a skin is formed for encasing or protecting
the device and/or the adhesion elements/guide elements or
modules, at least in part as a skin which can be orientated into
a wind direction. By this measure, an adaptation to unfavorable
atmospheric conditions such as storm etc, can be effected. For
example, at least a part of the skin can be implemented from
numerous lamellae which are mounted so as to be able to rotate.
These lamellae are generally directed into the wind direction,
so that an advantageous directing of the wind or of the air to
be dehydrated can be effected.
[0060] Alternatively, or in combination therewith, can also be
an outer skin mounted so as to be able to rotate having a
generally immobile adsorption/absorption region or
adsorption/absorption section. In this case, the outer skin, can
advantageously have flaps which can close or open the sorption
section and can be orientated to the wind flow.
[0061] In a preferred development of the invention, the device,
considered over the cross section, has a substantially equal
through-flow depth, so that the moist air, on flowing through,
generally flows over the entire cross section past relatively
equally many or equally wide retention rails. As a result, the
air within the inventive device is relatively uniformly
dehydrated.
[0062] Preferably, the skin has flaps or vane elements which, as
collecting elements, direct atmospheric air into the device
according to the invention. If appropriate, the adhesion
elements or vane elements are constructed in such a manner that
they close one side of the device in the event of
disadvantageous climatic conditions. For example, by this means,
in the event of sandstorm or the like, in particular together
with the skin, protection of the retention rails, air filters
etc. can be effected before impairment. As already described
above, they can, if appropriate, be orientated in the direction
of the wind flow.
[0063] Advantageously, at least one air control unit is provided
for controlled inflow of air to at least one guide element. By
this means, generally, based on the natural wind inflow, in
addition relatively moist air can be fed to the guide elements,
in particular in the event of wind calm or insufficient wind
velocities, so that the water extraction is further improved.
[0064] In an advantageous variant of the invention, the adhesion
element/guide element or the retention rail is constructed, in
particular, as two-dimensional woven fabric, net or the like.
Here, use can be made of preexisting elements, preferably
commercially available fabrics such as material webs, nets, etc.
For example, these woven fabrics or nets can consist of
synthetic fibers and/or if appropriate, also of natural fibers.
By this inventive variant, a particularly extensive adhesion
element or guide element having innumerable individual
longitudinal and transverse rails and nodal points can be
implemented, by which a particularly large active surface area
of the adsorbent/absorbent or saline solution can be achieved.
In this case, the individual filaments of the woven fabric or
nets can be constructed in such a manner that the saline
solution, by means of capillary forces or the like, ensures
wetting of the adhesion element or guide element as far as
possible over the whole surface.
[0065] The distribution element is preferably constructed as
woven fabric, net or the like, which in particular is disposed
on an inventive plate, e.g. on the rear and/or front of the
plate. By this means a layer-like adhesion element or guide
element can be implemented. For example, three layers are
provided, two outer fabric or net layers, and, disposed in
between, an inner, stabilizing, if appropriate shape-giving
layer, which consists, e.g., of metal, plastic etc. In an inner
layer a heat exchanger is preferably provided which makes
available the liberated reaction enthalpy, e.g. of desorption.
[0066] In principle, an adhesion element/guide element or a
retention rail can have at least one branching element or a
switch, so that in the direction of flow of the
adsorbent/absorbent or of the saline solution from a
single-track a two- or multitrack adhesion element or guide
element is formed. By this means an advantageous adaptation to
the saline solution volume increase existing along the
adsorption/absorption section due to the water uptake can be
achieved. Possibly, the cross section of the inventive device,
viewed in the vertical direction, exhibits a widening from top
to bottom, so that the cross sectional area of the region of the
adhesion/guide element or adhesion/guide elements is adapted to
the volume increase of the saline solution. For example, the
cross sectional area, at least in the region of the adhesion
element or guide element, has the form of a cone, truncated
cone, triangle, trapeze etc. It is conceivable that as branching
element, a substantially horizontally orientated disc is used.
[0067] In the variant of the invention in which, as adhesion
element or guide element, use is made of a woven fabric, net
etc., a branching element or switch can be implemented very
particularly simply. For example, two guide elements or fabric
webs or nets are fixed to one another or sewn to one another. If
appropriate, at different heights of the device, i.e. after
different sections in the direction of flow, guide elements or
nets or woven fabric webs are fixed or sewn to a substantially
continuous woven fabric web or net.
[0068] Advantageously, two-dimensional adhesion elements or
guide elements such as plates, woven fabrics or nets, can, at
least during the adsorption/absorption phase, be orientated in
the direction of, or somewhat at an angle to, the air flowing
through. As a result, the air flowing through can flow past both
the front and also the rear side of the plate, woven fabric web
or net, and give off water to the saline solution.
[0069] Generally, as hygroscopic salt of the saline solution,
selection may be made from very different substances, e.g.
sodium chloride, potassium acetate or lithium chloride. The
advantageous lithium chloride can absorb water from atmospheric
air in part still down to approximately 12% relative atmospheric
humidity. In addition, lithium chloride takes up water from the
atmospheric air even when there is a covering of the salt with
water or saline solution. The absorption of the atmospheric
water by the saline solution ends in this case at a ratio of
salt to water of about one to four weight units.
[0070] Advantageously, in a device for extracting water from
atmospheric air having a free flowing adsorbent (3, 13) or an
absorbent (3, 13) in particular a saline solution having a
hygroscopic salt for the adsorption or absorption of water
includes at least one heat exchange unit is provided for
utilizing heat energy for desorption. For example, the heat
energy of the atmospheric air and/or the reaction enthalpy of
the adsorption/absorption is utilized by means of the heat
exchanger for the concentration unit or the evaporator, energy
supply of the device or the like. By this means an advantageous
energy management system can be implemented, so that only a very
little external energy needs to be supplied to the device
according to the invention by means of wind, sun, a power
connection to the public power grid, block-type combined heat
and power stations etc.
[0071] For example, at least one heat exchanger can be disposed
between two adhesion element/guide element plates, within a
retention rail rod and/or around numerous adhesion
elements/guide elements or retention rails, in particular in the
region of the outer skin of the device.
[0072] In principle, in the device according to the invention,
as far as possible only one fluid or liquid i.e. free-flowing,
absorbent is used. A correspondingly free-flowing or liquid
absorbent or saline solutions having differing salt
concentrations are distinguished by a particularly simple
possible transport method. For example, for the active transport
of the saline solution, commercially conventional transport
devices such as pumps or the like can be used.
[0073] In an advantageous embodiment for achieving the object of
the invention, the device for extracting water from atmospheric
air having a free flowing adsorbent (3, 13) or an absorbent (3,
13) in particular a saline solution having a hygroscopic salt
for the adsorption or absorption of water includes a flexible
adhesion element or guide element, in particular a string, rope,
wire, woven fabric, etc., is provided and/or the device is
constructed to be height-adjustable and/or width-adjustable. By
this means the device according to the invention can, where
required, in particular for mobile applications during the
transport phase, be constructed so as to be foldable,
collapsible, or folded away. Also the device can be constructed
as a device capable of telescoping such as, e.g., currently
known tent attachments for cars etc.
[0074] Possibly, a liquid store is used for the adsorbent or
absorbent, in particular the saline solution, advantageously a
water-absorbing or -adsorbing surface of the saline solution
being disposed at least on two opposite sides of a wall of the
liquid store. By means of this measure, a significant
enlargement of the surface actively absorbing atmospheric water
is achieved, which leads to an improvement of the yield per unit
volume of the device. Possibly, a significantly greater
throughput or throughflow of atmospheric air per unit time can
be realized than in the prior art, so that the yield per unit
time can be correspondingly increased. This leads to a
substantial increase in the efficiency and economics of the
inventive device.
[0075] For example, the liquid or saline solution is stored or
disposed in a liquid store or on/above a wall of the liquid
store. In this case the saline liquid is also stored on the
outside or below the wall of the liquid store, so that the
water-absorbing surface is advantageously extensive.
[0076] If appropriate, the water-absorbing surface area
corresponds to approximately 30% or 50% or 80% of a side surface
or of the entire wall. Advantageously, the water-absorbing
surface of the saline solution or saline liquid extends at least
over virtually an entire side surface or the entire wall. This
produces as large an actively water-absorbing surface area of
the saline solution as possible. Generally, there is the
relationship that the greater the water-absorbing surface area
of the saline solution, the more advantageous or greater is the
water absorption and/or the efficiency of the inventive device.
Generally, maximization of the water-absorbing surface area of
the saline solution is to be aimed at, in particular per unit
volume.
[0077] In a particular development of the invention, the saline
solution is fashioned as liquid film or liquid wetting at least
at one, or preferably at both, of the side surfaces of the
liquid store. As a result a comparatively extensive
water-absorbing surface can be achieved. Furthermore, an
advantageous ratio of liquid volume to actively water-absorbing
liquid surface area is achieved. This leads to a particularly
effective water extraction by the device according to the
invention.
[0078] If appropriate, the inventive water-absorbing surface of
the saline solution, to be provided on opposite sides of the
wall of the liquid store, is achieved by an overflow, or saline
solution flowing over an edge and/or end of the wall and along
the outer wall. Alternatively, or in combination therewith, the
wall has numerous through-flow orifices for through-flow of the
saline solution from a first side to this opposite side of the
wall. By this measure, advantageously, an extensive
water-absorbing surface, in particular fashioned as liquid film,
is fashioned on the side opposite the first side.
[0079] In an advantageous embodiment of the invention, the wall
is fashioned as mesh, a perforated sheet, a net, a nonwoven, a
woven fabric, a membrane and/or a leather hide. Corresponding
embodiments of the wall effect in a particularly simple manner a
correspondingly advantageous water-absorbing surface. For
example in the case of a nonwoven, woven fabric, leather or the
like, the extensive implementation of the surface according to
the invention is advantageously effected especially by means of
capillary forces, surface effects etc.
[0080] Advantageously, at least on one side, e.g. on the outer
side and/or bottom side of the wall of the liquid store, a
distribution element for the two-dimensional distribution of the
saline solution is disposed. By this means, the planar
fashioning of the liquid film or of the wetting of the wall is
advantageously effected.
[0081] Alternatively, or in combination to the correspondingly
fashioned wall of the liquid store, the distribution element is
fashioned as a mesh, a perforated sheet, a net, a nonwoven, a
woven fabric, a membrane and/or a leather hide. If appropriate,
a layering of the respective layer-type wall having the
distribution element is effected. For example, the distribution
element is detachably or non-detachably, in particular in a
planar manner, fixed to the wall. Possibly, in each case at
least one distribution element is disposed on both opposite
sides of the wall according to the invention.
[0082] Frequently, the liquid store can be fashioned as a
vessel, container or the like enclosing at least in part the
saline solution. Advantageously, the liquid store is essentially
fashioned as planar, substantionally level or flat disc. In this
case the saline solution is stored, inter alia, by means of its
surface tension, capillary forces or the like. For example, the
storage is performed on the topside, viewed in the vertical
direction, predominantly by the surface tension or flowability
of the saline solution.
[0083] In the case of a liquid store fashioned as a disc, in a
particularly simple manner, a relatively extensive
water-absorbing surface is fashioned. In this case, the
inventive water-absorbing surface area can approximately
correspond to twice the area of a side of the wall or about to
the entire wall area, e.g. including end sides. In addition, a
liquid store fashioned as disc can minimize the required
construction volume or can maximize the water-absorbing surface
area per unit volume. In this case the saline solution can
preferably be fashioned as liquid film or wetting on all sides,
e.g. not only above, but also below the disc.
[0084] In principle, the wall of the store can consist at least
in part of porous, in particular sintered, material, so that the
volume enclosed or fashioned by the wall is effected as store.
[0085] In general, precisely for mobile applications, inventive
devices can be integrated in an, e.g., commercially conventional
container for trucks, ships etc. For example, at least a part of
the container can be fashioned so as to be able to be run out or
made (width- or height-) adjustable, so that the
adsorption/absorption section can be advantageously lengthened
during the sorption phase compared with the idle time of the
plant. For example, correspondingly mobile plants can be used
locally and very flexibly with respect to time for (potable)
water supply after natural disasters, accidents or other
impairments or destruction of the general water supply.
BRIEF
DESCRIPTION OF THE SEVERAL VIEWS OF THE DRAWINGS
An exemplary embodiment of the invention is shown in the drawing
and will be discussed in more detail hereinafter with respect to
the figures.
[0087] In detail, in the drawings: [ Drawings at bottom of this
page ]
FIG. 1
shows a diagrammatic illustration of a device according to the
invention having string-of-pearl-like retention rails,
FIG. 2
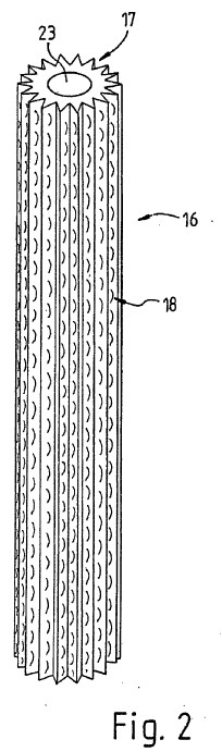
shows a diagrammatic perspective illustration of an inventive
retention rail fashioned as furrowed rod,
FIG. 3
shows a diagrammatic perspective illustration of an inventive
retention rail fashioned as corrugated disc,
FIGS. 4a
and 4b show a diagrammatic illustration of an inventive
retention rail fashioned as perforated plate with spheres,
FIGS. 5a,
5b and 5c show a diagrammatic plan view of three plant
variants of an inventive device,
FIG. 6
shows a diagrammatic perspective illustration of a further plant
variant according to the invention,
FIG. 7
shows a diagrammatic plan view of the plant variants according
to FIG. 6,
FIG. 8
shows a diagrammatic perspective illustration of an inventive
guide element fashioned as woven fabric provided with stretching
elements,
FIGS. 9a,
9b and 9c show diagrammatic views of a further inventive
device having string-of-pearl-like retention rails which has
fluted pearls,
FIGS. 10A,
10B, 10C and 10D show diagrammatic arrangements of
different string-of-pearl-like inventive retention rails,
FIGS. 11a,
11b and 11c show diagrammatic plan views of a further
inventive device at different wind strengths,
FIGS. 12a,
12b and 12c show diagrammatic plan views of an inventive
device which is alternative to FIG. 11 at different wind
strengths and
FIGS. 13a,
13b and 13c show diagrammatic plan views of an inventive
device which is alternative to FIG. 11 or 12 at different wind
strengths.
DETAILED
DESCRIPTION OF THE INVENTION INCLUDING BEST MODE
[0101] FIG. 1 shows a device according to the invention having a
plurality of adhesion elements/guide elements 1 or retention
rails 1 fashioned as a string of pearls 1. In this case, the
entire plant can be fashioned, for example, in a comparable
manner to, or combined with, the plant or the system according
to the device set forth in the prior art or application 103 09
110.6 of the applicant
[0102] In an upper brine store 2 is stored the virtually
saturated saline solution 3. Through a first inlet 4, the saline
solution 3, such as e.g. LiCl is charged into the store 2. By
means of a second inlet 5 a pressurized medium, e.g. compressed
air or the like, is connected to the saline solution 3. The
pressure-generation unit which is not shown in more detail
produces, in particular a pulsed overpressure in the store 2, so
that the saline solution 3 passes through metering orifices 6,
e.g. as drops, and flow along the adhesion elements 1 or guide
elements 1 downward to an adsorption/absorption region 7, or are
conducted downward by the adhesion elements 1 or guide elements
1. The adsorption/absorption region 7 forms the
adsorption/absorption section 7 along which the uptake of water
from atmospheric air 8 takes place. From the device, somewhat
dehumidified air 9 flows.
[0103] The retention rails 1 have distribution elements 10 or
bodies 10 which ensure an enlargement of the active surface
taking up water of the saline solution 3. The string of pearls 1
or guide elements 1 are fixed or tensioned, e.g. by means of
springs 11, so that the exact orientation or stabilization of
the guide elements 1 is ensured, even at very high flow
velocities of the air 8, 9. Without more detailed illustration,
a guide element 1 can also be stretched only at the top or
bottom by one spring 11.
[0104] The pearls 10 or bodies 10 can be fashioned as spheres,
ovals, etc. and, for better adhesion of the saline solution 3,
be provided with or without grooves, hollows, fibers, small
hairs, pores etc. Alternatively, or in combination therewith,
they can also be fashioned so as to be roughened or microporous.
The bodies 10 can be fashioned from plastic, clay, silica gel,
metal, ceramics and/or glass. The exact design of the bodies 10
can be modified to adapt the residence time of the saline
solution 1 to its surface.
[0105] In the lower region of the device, a second brine store
12 is provided for storing or collecting the saline solution 13
somewhat diluted by the water uptake. The store 12 thus collects
the saline solution 13 of the numerous retention rails 1 and
delivers this solution 13 by means of an outlet 14 e.g. to a
concentration unit which is not shown in more detail, such as an
evaporator, membrane unit, cyclone etc. If appropriate, for this
a pump can advantageously be used. Possibly, the saline solution
13, in particular upstream of the concentration unit, is at
least in part freed from dirt particles by means of a fine
filter or the like.
[0106] In addition, the device has air filters 15 which
substantially retain or filter out from the air 8 particles such
as dust, windborne sand etc. The pore width of the air filter 15
in this case is advantageously less than the width of the
throughway between the guide elements 1 and the orifice 6. This
measure very largely prevents blockage of the orifice 6.
[0107] FIG. 2 shows a retention rail fashioned as furrowed rod
16. The rod 16 has numerous furrows 17 in which downward-flowing
saline solution 3 is conducted. The furrows 17 in addition have
a plurality of bulges 18 which enlarge the active surface area
and also lead to an extension of the absorption section or
increase the residence time in the absorption region 7. Within
the rod 16 is provided a part of a heat exchanger 23 which
removes the liberated heat of reaction for the desorption.
[0108] FIG. 3 shows a corrugated plate 19 which has numerous
grooves 17 in which the saline solution 3 is conducted. The
grooves 17 again have bulges 18, so that the active surface area
is enlarged and also the residence time of the solution in the
absorption region is increased or the flow velocity is
advantageously reduced.
[0109] According to FIG. 3 it can be seen that the air 8 flows
substantially along the plate 19, so that the saline solution 3
preferably flowing down on both sides of the plate 19 can take
up water. Corresponding planar adhesion elements 19 or guide
elements 19 can generally be orientated or turned into the
respective wind direction. The brine or saline solution 3 is fed
to the adhesion elements/guide elements or retention rails 1,
16, 19, preferably as drops of saline solution 3, and flows
owing to gravity down the track preset by the retention rails
into the store 12. For reasons of clarity, no drops are drawn.
[0110] Air 8 at a certain atmospheric humidity flows on or past
the adhesion elements/guide elements 1, 16, 19, the hygroscopic
brine or saline solution 3 in part absorbing the water present
in the air 8 and thus being diluted by the dehumidification of
the air 8. This means that a salt concentration of the brine or
saline solution 3 decreases on the absorption section owing to
the water uptake. The salt concentration is the quotient of an
amount of salt per unit volume (unit: g/cm.sup.3) . As salt, use
is preferably made of lithium chloride which can remove water
from the air 8 as far as an atmospheric humidity of
approximately 12%. In addition, lithium chloride can absorb
water up to a ratio of one part by weight of salt to four parts
by weight of water.
[0111] The water vapor of the air 8 is absorbed at a surface of
the brine 3. Owing to the relatively large area of the adhesion
element/guide elements 1, 16, 19 and the comparatively small
store volume, an advantageous surface-volume ratio is effected,
so that the water is absorbed particularly efficiently. For
example, the brine 3 in this case is stored as a comparatively
thin liquid film or wetting on the surface of the adhesion
element/guide elements 1, 16, 19 or bodies 10. If appropriate,
the saline solution 3 is stored intermediately within a porous
or permeable adhesion element/guide element 1, 16, 19 or body
10. In addition, the surface F.sub.3 of the drops is fashioned
as active water-absorbing surface, so that the absorption is
further improved.
[0112] The rod 16 or the plate 19 or the bodies 10 each have, if
appropriate, a nonwoven, etc., which is not shown in more
detail. By this means a distribution of the saline solution 3 as
uniform as possible over the entire surface is achieved. This
ensures that the water-absorbing surface area is implemented as
extensively as possible.
[0113] In general, the device according to FIG. 1 or 6 can have
a roof, without more precise illustration. On the roof, already
commercially conventional elements can be provided for
extracting solar energy or supplying energy to the device, e.g.
photovoltaic elements and/or solar collectors. In addition, if
appropriate, rainwater arising can be advantageously collected
by means of the roof and fed to a water store which is not
illustrated in more detail. Possibly, the roof which is
fashioned, e.g., as a cockpit or the like, can comprise, inter
alia, a viewing platform, a restaurant, equipment room and/or
control room.
[0114] Preferably the saline solution 3 can have additives, e.g.
for the prevention of microbial infection, to influence surface
tension etc. The brine or saline solution 3, 13 is generally
circulated or recirculated and the water taken up is, on passage
along the adhesion elements/guide elements 1, 16, 19,
advantageously separated off from the brine 3, in particular by
means of an evaporator and/or cyclone.
[0115] In addition, in principle the air 8 can flow by means of
natural flow or movement through the device or along the
adhesion elements/guide elements 1, 16, 19 and/or by means of at
least one advantageous pressure- or flow-generation unit, such
as a fan, a turbine, a blower or the like. In the case of the
last-mentioned variant, preferably, at least one flow-directing
device is to be provided.
[0116] FIG. 4 shows a further variant, which is not true to
scale, of a guide element 22, FIG. 4a showing a plan view onto a
sphere plane and FIG. 4b showing a cut-away side view onto a
plurality of sphere planes. These adhesion elements 22 or guide
elements 22 is implemented as a sphere series 22 interrupted a
plurality of times, the spheres 24 being arranged in the space
by plates 25. The spheres 24 are disposed or fixed on a
substantially planar plate 25 orientated in a virtually
horizontal plane having numerous orifices 20 or stamped cut-outs
20. The orifices 20 have lands 21, by which the spheres 24 can
be fixed. For example, the spheres 24 are pressed and/or glued
into the orifices 20.
[0117] The air 8 in this variant can flow through the free
intermediate space between the sphere 24. In this case the
saline solution 3 is conducted along the adhesion elements 1 or
guide elements 1 by means of the spheres 24 and distributed over
the sphere surface, so that, in particular, a significant
enlargement of the active surface area is achieved. The
comparatively small vertical distances between two sphere planes
and the sphere shape ensures that the brine drops 3 dripping off
from a sphere 24 meet a sphere 24 disposed beneath, and thus the
vertical guidance according to the invention is implemented.
[0118] FIG. 5 shows three variants of the structure of a device
according to the invention in diagrammatic plan view. According
to variant 5a, the device has a rectangular cross section. The
outer skin in this case advantageously has rotatable flaps 26
which can be used, e.g., not only for closing the side walls in
the event of unfavorable climatic conditions such as sandstorms,
etc., but also for directing or collecting the air streams.
[0119] Corresponding constructions (see FIGS. 5a, 5b, 5c; in
part without more detailed illustration) are advantageously
mounted so as to be able to rotate about a vertical axis 27,
especially in the case of two-dimensional adhesion elements, or
guide elements, such as vertically disposed plates, fabric webs
etc.
[0120] According to FIGS. 5b and 5c, round cross sections of but
also square (see FIG. 5c) outer skins being able to be
implemented. The flaps 26 are adapted in their shape in
accordance with the design of the outer skin. Especially in the
case of these two variants, the outer skin can be fashioned so
as to be able to rotate together with the flaps 26 and the
absorption region if appropriate can be fashioned to be
immobile.
[0121] In the FIGS. 6 and 7, a further variant of an inventive
construction is diagrammatically illustrated. This essentially
comprises two vanes 28 and a support column 29. In the patterns
28 shown as vanes 28, numerous adhesion elements/guide elements
or retention rails according to the invention are present. For
example, the vanes 28 have a depth of some centimeters to some
meters and/or a width or a height of if appropriate a plurality
of meters. Possibly, the vanes have closing flaps or the like,
for example comparable to those from FIG. 5 and/or as
lamellae-like strips etc.
[0122] The construction or the vanes 28 are advantageously
mounted so as to be able to rotate together with or around the
column 29 or axis 27. In this case, preferably a pivoting range
of about 90.degree. C. is provided so that (inflowing) air 8 can
flow virtually perpendicularly to or parallel to the vanes 28,
relative to a cross sectional area 30 of the vanes 28.
[0123] The perpendicular influent direction is advantageously
provided in the operating case of dehumidifying the air 8 and in
the case of very high wind velocities, the parallel flow
direction of the vanes 28. Possibly, depending on the wind
velocity, an (acute) angled orientation of the vanes 28 to the
wind direction can be advantageous. The outer ends are
advantageously fashioned in a manner expedient to flow or have
corresponding wind directing or wind guidance elements.
[0124] A further particular variant of the adhesion element 31
or guide element 31 according to the invention is shown as
extract in FIG. 8. The adhesion elements 31 or guide element 31
is in this case fashioned as woven fabric 31 which is traversed
or fixed by stretching elements 32. The woven fabric 31
essentially consists of textile woven fabric 31, a net 31, fiber
composite 31 or the like. Possibly, in this case, commercially
conventional woven fabric 31 is used so that an economically
particularly expedient design can be effected.
[0125] The stretching elements 32 are fashioned, e.g., as
stretching rope or wire cable, rods or the like, which in part
penetrate the fabric 31 and/or lie against the woven fabric 31
or support/fix this laterally. Possibly, the woven fabric 31 is
disposed between two opposite elements 32. The stretching
elements 32 are advantageously fixed at the bottom and also at
the top, and stretched without more detailed illustration into
the directions Z.
[0126] In the case of tensioned stretching elements 32, it is
advantageous that if appropriate these can be fashioned at least
in part to be flexible or elastic. As a result they are
comparatively simple to mount and/or to be fashioned thinly,
these nevertheless, by means of the stretching, ensuring an
advantageous lateral stabilization of the woven fabric 31. Thus,
in particular, relatively elastic or flexible woven fabric 31
can be used.
[0127] FIG. 9 shows a further variant of the invention, the
bodies 10 being fashioned as spheres 10 having grooves 33. The
grooves 33 are preferably implemented in a spiral shape, which
is clear, especially in the plan view FIG. 9c. As a result a
spin or the like of the downward-flowing adsorbent or absorbent
can be generated, so that a relatively strong wind does not blow
the saline solution exclusively to one side of the body. By this
means, even in the event of a comparatively strong wind, a
relatively large active surface area of the saline solution is
generated which improves the extraction of potable water from
atmospheric air. FIG. 9a shows a "string of pearls" having
bodies 10 which have linear grooves 33. FIG. 9b a section
through a body 10 having grooves 33.
[0128] FIG. 10 shows guide elements 1 which are disposed by way
of example to form blocks A, B, C, D and have different bodies
10. In the abovementioned variants of the invention,
essentially, exemplary spherical bodies 10 are set forth. The
bodies 10 of the block A have an oval cross section. The bodies
10 of the block B are asymmetrically disposed on the guide
element 1. The bodies 10 of the block C are fashioned to be
different sizes. The bodies 10 and also the guide element 1 of
the block D are produced by a roller method and preferably have
cross sections having different widths. For example, in
particular in the case of the last-mentioned variant, spiral or
screw-shaped guide rails 1 can be generated.
[0129] Generally, guide elements 1 and bodies 10 of any desired
structures or shapes can be used and/or be fabricated by any
desired production methods. In the case of bodies 10 which have
a cross section of differing length and/or are disposed
asymmetrically on the guide element 1 and/or are fashioned to be
different sizes, it is particularly advantageous that the saline
solution advantageously mixes on flowing down. This further
improves the absorption/adsorption of the atmospheric water.
[0130] Advantageously, the guide element 1 comprises a mixing
structure for mixing the absorbent/adsorbent at least during the
absorption/adsorption phase or on the absorption/adsorption
section. If appropriate, the mixing structure is fashioned in
the abovementioned manner.
[0131] In principle, it can be advantageous that, in the
direction of the wind flow, different, or different numbers per
unit ground area of guide elements 1 and/or blocks A, B, C, D
are disposed and/or different brine streams or different numbers
of brine drops per unit time and/or different brine
concentrations are provided. By this means, an advantageous
adaptation e.g. to the changing wind strength and/or amounts of
water present in the air can be implemented. For example, in the
case of the guide element 1 facing the wind, comparatively many
brine drops per unit time can be provided, and in the case of
the guide element 1 facing away from the wind, relatively few
brine drops per unit time can be provided. This means, e.g., at
the front relatively much brine flows, and at the rear
relatively little brine flows down per unit time on the guide
elements 1 or bodies 10.
[0132] Preferably, on the wind-facing side of the inventive
device or the vanes 28, a lower density of the guide elements 1
is provided than on the side of the inventive device or the
vanes facing away from the wind. By this means, firstly
adaptation per se to air moistures changing due to the water
extraction can be implemented. Secondly, the relatively
closely-disposed guide elements 1 on the side facing away from
the wind can if appropriate collect brine drops which have
drifted off.
[0133] Advantageously, on the side of the inventive device or of
the vanes 28 facing away from the wind, a collecting device for
drifted-off brine is provided. This increases the efficiency of
the inventive device and also decreases an impairment of the
environment owing to brine which is blown off. Possibly, the
collecting device is implemented in the abovementioned manner.
[0134] In the FIGS. 11 to 13, different variants of adjustable
or changeable vanes 28 for the inventive device for different
wind strengths a, b, c, (storm or strong wind: a; medium wind:
b; weak wind or calm: c) are illustrated diagrammatically. In
this case the vanes are advantageously adaptable not only to the
wind direction but also to the wind strength. In the case of
strong wind, the cross sectional area of the vanes 28 through
which wind can flow is relatively small and in a weak wind
relatively large. On the other hand, the vanes 28 can be
orientated into the wind direction by rotating and/or rotating
the column 29. By means of these measures, the vanes 28 are
protected, in particular from damage by the wind.
[0135] The variant according to FIG. 11 has vanes 28 which are
fixed on the column 29 so as to be able to rotate by means of a
joint or hinge. The column 29 is preferably mounted so as to be
able to rotate.
[0136] In the case of the variant according to FIG. 12, the
vanes 28 are fixed to the column 29 so as to be able to rotate
by means of a joint or hinge and in addition have vane sections
which are fixed to one another so as to be able to rotate by
means of a joint or hinge. In this case, if appropriate, the
ability to rotate of the column 29 can be dispensed with.
[0137] According to the variant illustrated in FIG. 13, the
vanes 28 are formed from respectively moveable or adjustable
vane sections. For example, these are vanes 28 in the manner of
a sliding door or the like. The column 29 is in this variant
preferably mounted so as to be able to rotate. In general, in
certain applications, the vanes 28 can be conducted or supported
on the ground.
[0138] In principle, the entire inventive device and what is
termed the "alpha-spring system" can be substantially optimally
adapted to the local climatic and energy conditions by
computer-controlled measurement and process control. For this,
in particular sensors are provided at least for determining a
temperature and/or a pressure and/or humidity and/or flow rate
and/or the wind direction and/or wind strength and/or operation
readiness of individual elements of the device etc.
List of
Reference Numbers
[0139] 1 retention rail
[0140] 2 store
[0141] 3 saline solution
[0142] 4 inlet
[0143] 5 inlet
[0144] 6 orifice
[0145] 7 region
[0146] 8 air
[0147] 9 air
[0148] 10 body
[0149] 11 spring
[0150] 12 store
[0151] 13 saline solution
[0152] 14 outlet
[0153] 15 air filter
[0154] 16 rod
[0155] 17 furrow, groove
[0156] 18 bulge
[0157] 19 plate
[0158] 20 orifice
[0159] 21 land
[0160] 22 retention rail
[0161] 23 heat exchanger
[0162] 24 sphere
[0163] 25 plate
[0164] 26 flap
[0165] 27 axis
[0166] 28 vane
[0167] 29 column
[0168] 30 surface
[0169] 31 woven fabric
[0170] 32 tensioning rope
[0171] 33 groove
[0172] P pressure
[0173] Z direction of tension
















