rexresearch.com

 Corneliu BANEASA
 Super-Aspirating Air Filter


 
http://www.keelynet.com/indexoct1009.htm
http://www.financiarul.ro/2009/09/23/romanian-student-wins-bronze-at-arca-invention-fair/
23 septembrie 2009

Romanian student wins bronze at ARCA invention fair

Romanian university student Corneliu Birtok-Baneasa of the eastern town of Deva has won bronze in this year ARCA international invention fair of Zagreb for a filter the allows a 20-percent cut in fuel consumption by cars.

‘I won the bronze, which is quite good. There were 15 Romanian inventions in the show, seven of which won medals,’ Birtok-Baneasa , currently attending a specialist seminar in Croatia, told Agerpres on Tuesday.

The invention of the young man of Deva has also won silver in this year’s international invention shows of Moscow and Geneva and in 2008 it won gold in the Inventica Bucharest and Eureka Brussels shows.

The air filter invented by him allows for an up to 20 percent cut in fuel consumption in urban traffic. The invention has been experimentally tested on at least 40 vehicles, from the less to the most expensive, and the results were commended by the users.

The student does not intend to sell his invention and wants to create a production line in Romania that would manufacture the filters for affordable prices of between RON 80 and 100.
Corneliu Birtok-Baneasa is a senior student at the Hunedoara Faculty of Engineering, majoring in road motor vehicles.









http://www.corneliugroup.ro/

 
 



http://business-review.eu/featured/corneliu-birtok-baneasa-gold-medal-in-geneva-for-device-meant-to-cut-fuel-consumption-59554
April 05, 2014

Corneliu Birtok-Baneasa, gold medal in Geneva for device meant to cut fuel consumption
by Newsroom Auto

Romanian inventor Corneliu Birtok-Baneasa on Saturday received the gold medal from the Hong Kong delegation in the International Exhibition of Inventions of Geneva for a device allowing the reduction in the fuel consumption in trucks by up to 7 percent, writes Agerpress.

Corneliu Birtok-Baneasa invented the “dynamic device for air transfer” (DDAT), a complex piece that attached to the engine will reduce fuel consumption.

“The Jury in Geneva is very strict, as ever year. We had four members of the international jury who asked me questions about DDAT. The International Geneva Jury is made up of specialists with doctorates, in my case, auto-engineers”, Corneliu said for Adevarul Hunedoara.

“It is an invention for trucks. I perfected it and ran the first tests at the Engineering Faculty in Hunedoara. The prototype was tested on trucks belonging to a firm in Deva. Practical results showed an increase in engine power of 4 percent, and fuel savings were as high as 7 percent.(…) The device is now tested on buses for the local public transport system in Alba-Iulia, and the results are positive”, Corneliu explained.

According to the inventor, the device he designed caught the attention of the Romanian Association for International Transport (ARTRI) who is interested in using the device on its trucks. A simple calculation shows that transport companies with trucks that travel even a million kilometers per year could significantly cut their fuel expenses by applying this invention.

“Think of it this way: you can save two litres of gasoline for every 100 kilometers. Overall, that’s a substantial saving, not at all negligible given the current pricing policy for fuel”.



http://business-review.eu/featured/corneliu-birtok-baneasa-gold-medal-in-geneva-for-device-meant-to-cut-fuel-consumption-59554
November 5, 2011

Air Filter That Sensibly Increases Engine Power and MPG Patented by Romanian Engineer
by Ovidiu Sandru

Corneliu Birtok-Baneasa, a Romanian engineer, has invented a groundbreaking air filter that decreases the fuel consumption by 10 to 15 percent and  raises an engine’s power by up to 10 percent. He patented the device that had been already awarded at various international invention congresses.

“I am involved in a venture with multiple companies for producing a stock of about 200 supercharged filters, and then I’ll request the patent certificate for this product to the Romanian Auto Register,” he told press agency MediaFax. “I am hoping that by the end of the year we’ll have finalized all of the procedures needed by the Register, after which we’ll move on to mass production, for the free market. We may begin making it as soon as we’ll get the authorities’ approval, since the production lines have already been set up.”

The 33-year-old engineer from Deva explained that, besides its classic filtering function, his product raises the intake air speed, pre-cools it and raises the filter’s filling coefficient.

“Supercharged or multifunctional air filters give the incoming air a different type of dynamic and are adapted to the shape of the intake hoses, which makes them fit for 80 percent of the engines on the market,” Birtok said.

He also mentioned that once mounted, the filter would raise the engine’s power by 8 to 10 percent, while the fuel consumption would drop by 10 to 15 percent.

“For instance, a car’s engine using the supercharged filter will have the same amount of power at 2,600 rpm as one revving at 3,000 rpm, but using a conventional filter.”

The engineer won lots of prizes at invention fairs from Geneva, Moscow, Kuwait and Romania. Among the 20 national and international award-winning inventions there’s a device called “Dynamic Air Transfer Device,” that lowers the fuel consumption and gas emissions.

Prices of gas have gone up lately, and this is why I think this innovation will surely have an important impact on the worldwide car market. If Birtok-Baneasa’s device will get produced on a large scale worldwide, we’ll all breathe in a better, less-polluted air… at least until someone finds a solution to replace gas completely. I can hardly wait to put my hands on one – I already see people lining up at the factory gate like those iPhone lovers before each launch.



Videos

https://www.youtube.com/watch?v=x4tpfF342a4
Corneliu Birtok Baneasa vorbeste despre filtrul suprasapirant premiat la Geneva
https://www.youtube.com/watch?v=JwDkrwVcjcA
Filtre de aer Filtrarea AIR by CORNELIU.wmv
https://www.youtube.com/watch?v=WSccg-26p94
Filtru Supraaspirant Universal Montaj AIR by CORNELIU
https://www.youtube.com/watch?v=Cz4MZ1blhpY
Filtre supraaspirante experiment comparartiv AIR by CORNELIU.avi

 
RO126019
HIGH SUCTION AIR FILTER F1 WITH PERFORATED CASE AND INTERNAL CONE FOR INTERNAL COMBUSTION ENGINES   

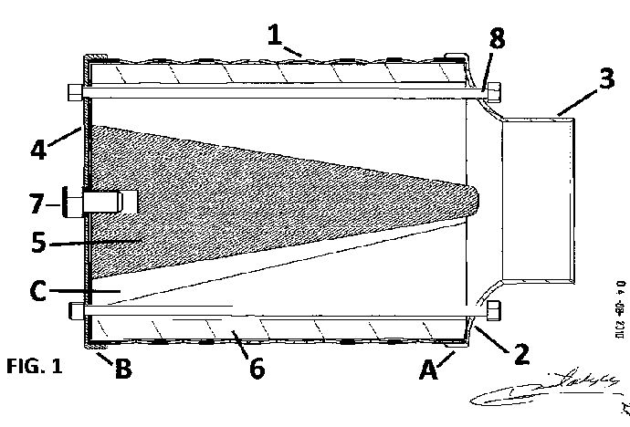
The invention relates to an air filter meant for evening, swirling and purifying the air to be used in the air-fuel mixture in internal combustion engines. According to the invention, the filter comprises a perforated case (1) having at one end an internal diffuser (2) to which there is fixed, at the part opposing to the case (1), a cylindrical coupling (3) making the connection with an intake manifold of an internal combustion engine, non-figured, where the case (1) has, at the part opposing to the diffuser (2), a closing cap (4) on which an internal cone (5) is fixed by means of a screw (7), on the external surface of the cone (5) there being a plurality of fins (c) for air leading and swirling, a cylindrical filtering element (6) being mounted under the perforated case (1) and the diffuser (2) being fixed on the case (1) and to the cap (4) thereof by means of two threaded rods (8).






INTEGRATED DEFLECTOR FOR THERMAL RADIATION COMING FROM THE COOLER OF INTERNAL COMBUSTION ENGINES
RO201000026

The invention relates to an air filter meant for evening, swirling and purifying the air to be used in the air-fuel mixture in internal combustion engines. According to the invention, the filter comprises a perforated case (1) having at one end an internal diffuser (2) to which there is fixed, at the part opposing to the case (1), a cylindrical coupling (3) making the connection with an intake manifold of an internal combustion engine, non-figured, where the case (1) has, at the part opposing to the diffuser (2), a closing cap (4) on which an internal cone (5) is fixed by means of a screw (7), on the external surface of the cone (5) there being a plurality of fins (c) for air leading and swirling, a cylindrical filtering element (6) being mounted under the perforated case (1) and the diffuser (2) being fixed on the case (1) and to the cap (4) thereof by means of two threaded rods (8).
 


REVERSE OVERSUCKING FILTER
RO125034