rexresearch.com
Home

Claude Corson & Andrew Zaderej

Electrogenics


Tom Valentine : National Exchange ( v. 1 # 4, 1976 ) ; " Electrogenic Crop Stimulation"

Tom Valentine: National Exchange; "Millionaire Aspires to Help World; Develops Electrogenic Agriculture"
C. Corson & A. Zaderej: "The Electrogenic Postulate of Plant Growth"
C. Corson & A. Zaderej: "Application of Electronic Technology to the Electrogenic Treatment of Seeds"
C. Corson & A. Zaderej: US Patent # 4,302,670 ~ "Electrogenic Seed Treater"


The National Exchange ( Vol. 1, # 4 ) 1976 ?

Electrogenic Crop Stimulation System Provides Answer to World Food Problems

by Tom Valentine

The world food crisis may well be averted because a handful of innovative men have dared challenge established agricultural dogma and have brought technology to the verge of a revolution.

Electrogenic crop stimulation is the name of the game, and though it sounds like man is messing with God's business, it isn't what you might think and the ramifications of this technical revolution are far more beneficial that today's chemical fertilizer, agribusiness methods.

Based on 5 years of intensive research and experimental plantings in all areas of the country, the ECSS (Electronic Crop Stimulation System ) accomplished the following:

1. An increase in the vigor and germination rates of seeds.

2. Acceleration of the germination and growth rates.

3. Vastly increased root structures

4. Increased resistance to adverse weather conditions such as drought, high winds and low temperatures.

5. Increased resistance to parasites and pests.

6. Reduced  water requirements with irrigated crops.

7. Improved quality of edible yield.

8. Vastly increased per acre.

Additionally, the experimentors now have produced and enzyme that literally reconsitutes soils, meaning that more land around the world can be made productive.

Claude Corson, president of Intertec Inc of Eckhart IN, one of the key men in the ECSS program, told the Exchange :

"If you are a farmer, you doubt what we have to say until you try it. If you are an agricultural professor, you doubt it so much you won't bother to try it. But if you try it, you'll like it".

Most Americans have heard vague references to the crisis in world food production and threats of terrible famine, but the populace is generally unaware of agricultural problems.

"The Universities have reacted negatively to our experiments, but we are going ahead without their endorsement because we get results at harvest time whether they agree or not", Corson added.

The idea of crop stimulation is not new. Experimenters have been trying to stimulate seeds with magnets and electromagnetic incluences for the past 200 years.

"The literature is full of experiments that didn't work  very well, so the professors don't give us much credence", Corson added. "However, technology has improved since those other experiments and we now know what we are doing".

The story of the development of ECSS is long and complicated. It began with two curious laymen many years ago and slowly evolved to the point where scientist Andrew Zaderej ( Exchange's first Profile in Excellence ) put it together with sound scientific support in both theory and practice.

The two laymen were the late Jimmy Scribner of Greenville SC, and Joe Smith of Levelland TX. Both men found that they could grow superior crops with electronic stimulation. Their methods were crude and their scientific theory totally confused, but their results were intriguing.

Corson, who has provided the finances to develop the program, came along and brought in the thinking of colorful pyramidologist Pat Flanagan of California.

"I was convinced then, and I'm more convinced now, that there is a mystery force or energy at work here and Flanagan has the courage to openly investigate such a prospect", Corson said.

Though Flanagan is considered a kook by many scientists, he did make improvements in the systems as conceived by Scribner and Smith.

The fledgling ECSS program produced remarkable yields in both cotton and maize for two years in the area around Lubbock TX.

"The yields were nearly doubled from the average and that was in a bad year", Smith reported. Exchange has visited the area and verified the crop yields at harvest time.

The crops, grown by veteran cotton and maize farmer Charles Macha of Levelland, doubled in yield although he used no chemical fertilizers that year and required less than half the normal amount of water. The implications were staggering.

Of course the stronger, healthier, stimulated plants were able to take more nutriments from the soil and it is yet to be determined what role fertilizers will play.

"Naturally, the soils must be periodically replenished, but not with the expensive, imbalanced chemical fertilizers used today", Corson pointed out.

"We have a black mineral deposit that is being mined for both fertilizer and animal feed supplement. Minerals are vital and it seems they must be available to plants in a particular balance", Corson stressed.

Today's petroleum-based chemical fertilizers do not provide a balance and the soils have suffered tremendously. The powerful fertilizer industry denies this, but the facts are speaking for themselves; something must be done to replenish our soils. ( Sea Energy Agriculture, a book by Dr Maynard Murray and Tom Valentine, clearly explains the solution and sea-solid fertilzers would fit well in the plans of ECSS backers. )

"As we continue to prove our system works, we expect to feel pressure from the fertilizer industry, but we are not looking for a fight, only facts and the future of world food production", Corson said.

Two years ago Corson added the energetic thinking and abilities of Zaderej and his cousin Charles "Doc" Corson, a veterinarian of 35 years experience to the team.

Zaderej, one of world's leading electronic engineers and a versatile scientist educated at the famed Kiev Polytechnic Institute in the Ukraine, combined known scientific principles with the methods of the earlier experimenters and by using superior solid state electronic technology he developed  a seed-treating machine that promises to revolutionize agriculture.

Doc Corson, with his knowledge of animals, plants and soils and his practical ingenuity, became the spokesman for the team and has managed to convert thousands of acres of farmland to the process for experimental purposes.

"The farmers who trusted me in the beginning are glad they did, we've increased their yield and their income considerably", Doc Corson explained.

The ECSS program recently added the fascinating enzyme developed by Dr Keith Richardson of Albuqueque NM. Dr Richardson's years of research have produced a stable enzyme that acts to help inorganic elements convert to organic forms and vice-versa. In crop tests it has proven to be extremely beneficial and experiments show that this enzyme, derived from cultured bacteria, can actually convert hardpan  (useless soil) to "living" soil.

Corson told Exchange that the work of Zaderej and other scientists prove the "enzyme is the key to all life. Life in plants and animals is elcetrogenic and we utilize two key factors in teh electrogenic process -- enzymes and ions".

The ECSS works in three stages. Step one is coating the seeds with multimineral coloidal formulation. This means the seeds are covered with a charged liquid substance before they move into the second stage.

Step two is processing the seeds through an ion field and an electrostatic field in the machine developed by Zaderej. Finally, the soil is treated with the enzyme ( one gallon per acre ) and perhaps balanced mineral fertilizer.

Zaderej designed the seed-treating machine to incorporate ion flow that implants particles of the selected minerals on the coating inside the seeds. The seeds also pass through an infrared wave spectrum and finally through a static energy generator where a negative charge of 100,000 volts provides "cathodic" protection for the seeds and gives them "shelf life".

Claude Corson told Exchange, "We have discovered that the combined use of the multimineral solution and the negative ion generaotrs has had a synergistic effect on all biochemcial processes within the seed, making the total effect greater than the sum of the effects taken independently".

The ECSS team is making inroads in the agriculture community, despite the failure of the academic agronomists to endorse their concept.

One day soon the world may have true abudance because of the foresight and determination of these men.











National Exchange (circa 1980… Date unknown) ~

"Millionaire Aspires to Help World; Develops Electrogenic Agriculture"

by Tom Valentine


“The world has been good to me, and it’s time I paid it back”.

Those are the words of Claude E. Corson, a self-made Indiana millionaire who founded Coachman Industries with his brothers back in the mid-1960’s. Corson remains a director with Coachmen, but is no longer active in management as he has chosen to go in another business direction.

“I want my money to benefit humanity. I’m not in business for profit alone. We want to improve the quality of life for our own profits”.

Those are noble aspirations indeed --- and nobler still when one realizes that Corson has put his money where his mouth is.

“I’ve spent a lot of money and eight long years building this program for international food production, and now we are ready for the seeds of our ideas to grow into a major economic force in this world”.

Corson developed a series of business entities that interrelate and build upon one another to help bring his dream of better quality and more quantity foods to a hungry world closer to reality.

The six-pronged program has emerged suddenly with world leadership in critical areas of food production and agriculture. The first stage of Corson’s program was to establish a world-wide trading company with a sound reputation and track record.

That company is Intertek, Inc., of Elkhart, Indiana. It is the core for distribution of the innovative products flowing from other Corson enterprises.

The development of these firms is not an ego trip for the determined businessman. He seeks quality people to include in his program and he’s always quick to make sure everyone gets the credit and compensation for their efforts.

A few years ago Corson was intrigued by the idea of plant growth stimulation demonstrated by the late Jimmy Scribner of South Carolina and by the curious phenomenon called the Pyramid Effect.

Corson helped Scribner with joint-venture capital and formed a research institute t learn about these phenomena that other scientists considered pseudo-science.

“There were a lot of problems; a lot of inconsistencies, but something was happening that could improve the quality of plant life and the size of crop yields”, Corson explained.

Doggedly he spent his own cash and worked to stabilize and utilize the effect that could be observed but hardly controlled. He met and joined forces with Joe Smith of Levelland, Texas --- another eager but amateur experimenter who was ionizing seeds to stimulate plant growth.

He met and financially aided G. Patrick Flanagan, the self-proclaimed boy wonder of the pyramid mystique. While Flanagan was being denounced by others as a pseudo-science nut, Corson was listening attentively and seeking the positive value while sublimating the negative factors in the association.

Then Corson met a South Bend, Indiana scientist who was more than brilliant in several fields of knowledge. The man is Andrew Zaderej and his firm Unitron, Inc., an electronics research and development company.

The merger was a natural. Corson plunged in with enthusiasm and capital --- ignoring the downward trends in American business at the time.

Zaderej, who was featured as the first profile in excellence with the maiden issue of National Exchange, s a scientist with few peers. His abilities in electronics, chemistry, biology and physics are renowned among technical insiders. Zaderej had know-how, and more importantly, credibility.

The Ukrainian-born engineer rejected some of the theories behind the claims of Flanagan, Scribner, and others --- but in the spirit of true science he did not reject that the phenomenon indeed occurred.

Corson and Zaderej co-authored a brief explanation of the patented process and Zaderej has authored a major scientific paper on the subject.

“This is not the work of one man”, Corson explained. “This is the combination of many years of science and the brilliant research of hundreds of scientists around the world”.

The purpose of the Unitron system is to improve plant life and help overcome the need for the heavy chemical fertilization that is threatening the world’s soil balances today.

“We are not organic gardeners or fanatics”, Corson stressed. “We know the value of fertilizers and also the value of organic farming methods --- we effect a balance between the two and while helping to reconstitute the soils we are capable of producing better quality produce and more of it”.

The Corson-Zaderej explanation of the Electrogenic postulate of plant life appears on these pages.

In addition to the electrogenics, Corson and Joe Smith chanced upon an enzymologist who had developed a unique enzyme for agricultural uses.

Enzymes make up the majority of life’s essence --- protein. All enzymes are protein molecules, but not all proteins are enzymes. Enzymes are life’s workers; while they are not themselves “alive”, they are catalysts for the biochemical changes that must take place wherever life is concerned.

Corson’s third firm is the Electrozyme Corp., a venture with Joe Smith that manufactures and markets a stabilized, multi-substrate enzyme for agriculture. The term multi-substrate is key in this instance --- it means that this particular enzyme reacts with numerous substances, not merely a few.

An enzyme effects chemical change without itself being changed. This enzyme effects numerous changes --- all beneficial to plant growth, such as nitrogen fixation, and literally helps “sweeten” harsh sols and balance where chemicals have caused an imbalance.

“A farmer may place 160 pounds of ammoniated nitrates on the soil, but his crops will only utilize about 16 of those pounds. One of the functions of our enzyme is to make the nitrogen more available to the plants, allowing the farmer to use less and get optimum results”, Corson explained.

While most Americans are ignorant of today’s farming technology, there are many who cheer such news. During the past three decades the rich soils have been made more and more imbalanced by the need for heavy amounts of chemical fertilizers. The Electrozyme product will help restore a natural sweetness to farmlands.

Bringing new ideas to the world is never easy --- and Corson is well aware of the difficulties. The final three prongs in his six-pointed program are designed to help to overcome the difficulties.

Intertec obtained the marketing rights for a mineral that is mined in Oregon. The bionutritional substance is a coal-like fossil seaweed bed that provides all the minerals and trace elements needed to grow healthy plants and animals.

Charles “Doc” Corson, a veteran veterinarian with nearly 40 years experience with farm animals and farming is Claude’s cousin, and also the head of marketing for the enzyme, mineral and seed treatment program.’

“That mineral is the best doggone animal and plant food you can imagine. Even I found it hard to believe at first when I saw the changes in pigs, chickens and cattle. And what it does for crops would make an organic gardener’s heart swell with pride”.

The Corsons are not taking sides in the ideological feud between organic farmers and chemical farmers --- they are proving that a happy medium exists.

“Our mineral, enzyme and treatment is organic all the way insofar as we don’t utilize any commercial chemicals”, Doc explained.

“On the other hand there is a need for fertilizer to maintain the necessary production. Our product utilize the fertilizer to maintain the necessary production. Our products utilize the fertilizers more adequately and help sweeten the soils after their use”.

It is apparent that Corson’s program is designed to accomplish his original goal --- benefit mankind. To effect a workable compromise between the organic and the inorganic theories and practices of farming can not only maintain needed food production, but can prevent further pollution, but can prevent further pollution, but can prevent further pollution of the soils.

“Food is more important to the world of tomorrow than oil”, Corson stressed. Even with the mineral, the enzyme and the treatment the innovations are difficult to market in a system that fights change with bureaucratic efficiency.

In order to bring his products to the world rapidly, Corson has added two final prongs to the program: comfrey and aquaculture! This curious pair makes more sense than you think

“I can’t take any credit for being a brilliant, far-seeing visionary and picking those two on purpose”, Corson explained. “It’s as if the powers that be are directing our operations --- we seemed to fall into the right patter”.

Comfrey is renowned as an herb. It should be a food, and it will be a major livestock feed soon --- rivaling alfalfa, corn and soybeans.

Phil Peters of Canby, Oregon is the world’s leading grower and marketer of comfrey. Next month’s Exchange will cover his firm and his visions in detail.

“Comfrey is the electrogenic crop”, Corson proclaims.

Comfrey roots respond well to electrogenic treatment and comfrey is like potato --- planted from portions of the root. The plant grows practically anywhere and it has more amino acids than any other plant. It is also loaded with a substance called allantoin, a cell-proliferant and this is the reason comfrey has been called knitbone for centuries.

In concert with Corson and an innovative Hawaiian farming firm, Lowe, Inc., comfrey has been introduced to the greatest agricultural land in the world --- Hawaii.

On these islands where nature grows abundant crops of all kinds year round, comfrey will flourish and provide feed for livestock, roots for planting around the world, and perhaps feed for marine animals.

That’s right, marine animals!

The final prong in the program is the glamour and capital prong. Aquaculture is the process for farming marine life and providing excellent, pollution-free seafood protein for fun and profit.

While Corson’s first love is electrogenics, his common sense told him he needed some international clout. Opportunity came while he was introducing electrogenics to Hawaii, and he made a bold move.

“We now have world leadership in Aquaculture, in Electrogenics and in Comfrey”, Corson proclaimed.

Art Lowe, like Phil Peters, Joe Smith and Doc Corson before him fits the model for this innovative team.

“If a person can’t have fun in business and can’t get the feel for what we are going to accomplish --- then all the money in the world won’t help him join in”, Corson said.

Lowe and his associates blended into the expanding picture as if someone had scripted the characters and events. This fair-haired boy of Hawaiian agriculture shares with Corson a disdain for bureaucratic and corporate bungling and a feel for getting things done with a minimum of paperwork.

Lowe, Inc., has a lease on some of the prime lands on the Island of Oahu. The Campbell Estate owns the property leased by Lowe that borders on the famous Pipeline surfing area at the northern tip of the island.

Lowe used that land to develop a hybrid corn which thrives in Hawaii, and he has a number of other vital agricultural innovations pending --- including a joint venture with Corson, Peters and Western Comfrey.

But even the most productive land in the world cannot rival bodies of water for food production. Man can grow hundreds times more protein in an acre of ponds than he can on an acre of soil.

The art of farming aquatic life is more than 5,000 years old in the Orient --- and today’s population crunch is causing the world to take a serious look at all the prospects.

Corson and Lowe joined forces in the nick of time to take the world leadership in the ability to produce prawns, oysters and other sea life profitably. Congress just passed a bill called the national Aquaculture Organic Act, in which more than $750 million in funding will be made available for the commercial development of aquatic farming.

Hawaii is the leading state in aquaculture, and Lowe, Inc., is well out in front even without government support.

The crux of the program is a prototype farm established with the help of government funds a few years ago --- the Aquatic Farms operated by outstanding marine biologists has proven the economics of aquaculture; they can provide food profitably and this is the key to all human endeavor.

The team of experts solved a myriad problems in cultivating prawns, the large, tasty shrimp enjoyed by gourmets and gourmands around the world. They have also vastly improved oyster farming and can obtain market size oysters in six months, whereas it takes nearly three years in nature.

There are no chemical additives, nor hormones involved in this program of aquatic farming --- in fact, the sea foods are pollution-free. The secret is to provide quality deed around the clock and to let nature do the providing.

For example, in nature oysters filter dying one-celled plant life called phytoplankton from the water as the microscopic critters die and slowly sink toward the bottom. Phytoplankton are the key to the food chain --- they are plants that convert sunlight to oxygen and they reside in the top two feet of surface water.

At Aquatic Farm, and soon at the new Lowe-Corson facility, oysters don’t have to wait for the dying plankton, they happily filter live bacteria around the clock.

Since nearly half the oyster beds on the coasts of the US have suffered from pollution to the point where many people are afraid to eat the tasty bivalves, this pollution-free method is vital.

The brilliant team of marine biologists, headed by Dr Ed Scura and Dr Kynn Burzell are under contract to Lowe and as additional incentive, their pay is based on performance.

Part of the prawn farming operation is to throw feed mash into the ponds to help with the biomass concentration upon which the prawns feed. It is anticipated that a comfrey mash will considerably improve the quality of the biomass. This remains to be tested.

“World leadership in aquaculture will lead to agricultural contracts with nations around the world and we will bring our integrated program to these countries expeditiously. This organization is becoming a major economic force in the world and it will be done with a minimum of waste and political interference”, Corson concluded.



The Electrogenic Postulate of Cell Growth

By Claude Corson and Andrew Zaderej


If we are to understand why a seed germinates, sprouts, develops roots and grows to become a mature fruit-bearing plant, it is first necessary to observe the anatomy of a seed, plus the anatomy of the typical plant cell.

A seed contains an embryo which is surrounded by an envelope of cells, which act as small energy storage units, similar to an electrical capacitor. The larger part of the seed contains carbohydrates or stored food which is surrounded by the shell of the seed.

A dry seed, like you purchase for planting, is alive but relatively inactive. The metabolic processes operate at a very slow rate. To become activated, the seed must come into contact with moisture. Let us think of the soil as the media for moisture in this explanation.

The cell is the basic unit of life, both in plants and in animals. They are a remarkable microscopic miniaturization of life function, they are born of another, move, grow, react, protect themselves, reproduce, perform purposeful functions and die. They are drum-shaped organisms made up of a nucleus, nucleoplasm, and cytoplasm within a cellular membrane that encloses a host of other subcellular components that are support systems for the cells’ production of amino acids, hormones, enzymes, and proteins for the purpose of sustaining physical life. In fact, the cell closely resembles our solar galaxy.

Moisture enters the cellular storage area of the seed which contains the plant embryo, which is made up of plant cells, sometimes called the eye of the seed. At the same time water molecules penetrate the pores of the seed coat, also called lipids, to soften the shell and to set up the conditions for the transport of stored food to the embryo.

Water flux is the media of exchange, by recombination, of interior ions and exterior ions that are separated by the cellular membranes. Differing polarities of ions initiate an oscillating (vibrating) action in the membranes to activate the electrogenic pumps that enable the cells to convey materials from its surface to the interior through pinocytosis vesicle --- portholes --- in the external membrane.

Combined cellular pumping (vibratory) action of many cells stimulate the membrane to excrete hormones for availability to surrounding cells to allow production of enzymes. The enzymes, large protein molecules, convert or digest the stored food in the remainder of the shell into simple compounds that the embryo can use as an energy source in the initial growth process of germinating and sprouting.

DNA molecules in the nucleus, containing nature’s hereditary code, deliver the collective growing pattern in relation to the ambient, to the control center, also within the nucleus. RNA messengers molecules pick up this code and with the assistance of hormones and enzymes deliver it through a plasmic energy media of ions to the ribosomes of the cell that transcribe the message into microfilament and microtube tuners that shape the membrane to control the rate of vibration. Also the many needed proteins are fashioned from the amino acids by the ribosomes.

The rate of oscillation of the cellular membranes coupled with the corresponding voltage potential, allow selectivity from a wide spectrum of nutrient elements, first selecting from the stored food in the shell for initial sprouting, then from the soil for growth and development. For example, if calcium is needed by the plant the DNA request is delivered to the control center to set up the correct oscillatory or vibratory rate to attract elemental calcium, whose identity is revealed through its own electromotive constant, or voltage potential level, for transport to the stomata of the plant for biological conversion to usable plant form.

If iron, or zinc or copper, or boron, or nitrogen, or phosphate, or potassium, etc., all of which respond to their own individual electromotive force series, are called for by the control center of the cell upon instruction from DNA heredity code, ionic attraction is set up in cellular membranes that will provide the ion transport system through the living tissues that will accumulate according to the code of genetic heredity. In other words, the plant grows.

Because rate of vibration is so deeply involved in the development of living systems, we can truly describe the harmonics involved as the “music of the spheres in miniature”.


Application of Electronic Technology to the Electrogenic Treatment of Seeds

By Andrew Zaderej and Claude E. Colson

The Electrogenic Seed-Treating Machine incorporates seven base functions that, separately or in combination, are known to benefit plant development and growth.

In this Technology Application Section, physical movement of the seeds through the machine is first described, then followed by an explanation of the physiological effect upon the seeds.

Forward ~

The natural electrophysical forces at work within the cells of seed before, during, and after electrogenic treatment are the subject of this section.

Seeds are alive, but relatively dormant until they are planted in the soil. Electrogenic treatment of seeds described herewith, condition and rejuvenates seeds for more rapid germination into a plant that will have increased vigor to develop to maturity with improved yield.

The numerous cells of dormant seeds can be likened to electrical capacitors or tiny storage batteries in ground state; but have enormous potential once they are properly charged. A heavy charge of negative ions increases the exchange potential of internal and external ions to activate and operate the “electrogenic pumps”, made up of cellular structures, once the seeds are brought into contact with their growth medium. The reactant electrogenic pumps bring about more ion transport of growth substances controlled by the DNA heredity code to form the best possible combination of genes for optimum plant growth.

If the reader can visualize the electronically stimulated “beehive of activity” within each one of the millions of cells of a seed after they have received a charge, he can then visualize and understand why electrogenic treatment of seeds will result in more rapid growth of a more vigorous plant with optimum yield under any growing condition.

The basic objective of the multiple-process seed-treating machine is to intensify the energy level of the many components that make up each cell. It is the basis for the Unitron/Intertec electrogenic principle of Agriculture.

Electrogenic Blender ---

The Physical Action: Seeds are fed into the electrogenic machine through blending chamber (A) tat atomizes electrically charged particles of air and water containing enzymes and trace elements for application to the seeds. By the time the seeds reach the conveyer belt they have been coated in preparation for their journey through a variety of electronically simulated atmospheric conditions that are known to be beneficial to plant development.

The Electrogenic Explanation: As spray or mists are generated within specially designed nozzles in the presence of electrode fields, they take on a negative charge by electrostatic induction and are propelled to the area of the seeds by a stream of compressed air/water.

As the negatively charged cloud enters the electrogenic chamber, two phenomena occur. First, the constraint to remain at ground level voltage induces into the seeds, a charge opposite to that of the cloud. Since opposites attract, the negative spray particles are drawn onto the seeds. At the same time a second electrical force becomes active, driving the droplets onto even the undersides of the seeds.

Of particular importance is the fact that not only is more liquid enzyme deposited on the seeds, but high energy ions are distributed onto seeds which produce nitrogen (Ref. 54) fixation from the ambient and deposits them through inorganic processes such as the formation of nitrates in electrostatic discharge.

The artificial precipitation (mist) causes the atmospheric fixation of nitrogen into nitrite for distribution onto the seeds (Ref. 63).

This is the mechanism for the formation of negative ions through the negatively charged fragments to the species that have a higher electron affinity than the parent molecule, will produce a field-induced negative ion formation, which will enhance acceleration of chlorosis by exposure of the seeds to negative ions charges to develop a large increase in content of cytochrome C (Ref. 60).

This stimulates the ferrous ion in chloroplasts, and helps chlorophyll biosynthesis and the ferrous ion is diverted to the enzyme systems concerned in germination.

The Fe-containing enzymes are stimulated by the negative charge in the seeds to provide metabolic equipment essential for the support of an increased rate of growth. In contrast, dry seeds do not have sufficient moisture to permit the aqueous-phase enzyme reaction to biological membranes associated with lipid peroxidation in mitochondria, microsomes, and lysosomes. Thus, damage induced by free radicals accumulated in dry seeds, whereas in hydrated tissue such damage will be repaired.

It is very important to have seeds moisturized before delivering onto the conveyer of the electrogenic chamber to improve the seeds’ ability to absorb the electrical charge.

Electrogenic Chamber/Ion Chambers 1 and 2 ---

The Physical Action: Seeds are dropped onto the conveyer belt, driven by a variable speed motor, in a moist condition coated with an enzyme solution that contains minerals and trace elements. They are carried into an induced negative ion field (B) to excite intracellular components and to implant enzymes and trace elements into the seeds (C) with accelerated ion bombardment, a process known as electrophoresis. The atmospheric effect can be likened to that of lightning discharge.

The Electrogenic Effect : Using the electrical deposition fields (field-induced) and atmospheric air to transport and implant negative charge particles onto incoming seeds.

Ion generators (Gun) No. 1 and No. 2 generate within the electrode needles an ion-flux field, (molecular ions, atom-ions, electrons and protons) that take on a negative charge by electrostatic induction and are carried outward to the seeds in a stream of field-induced negative ions (electrons).

As the charged atmospheric air enters the Generator Fields, No. 1 and 2, two phenomena occur. First, the small particles (atoms, electrons) will be induced into the seeds and larger particle molecules will be implanted into the seeds, which, at ground level voltage induces into the seeds a charge opposite to that of the negative charge. Since opposites attract, the negative air-particles are drawn onto the seeds, and at the same time a second electrical force becomes active, driving the negatively charged air-particles from the ambient onto even the undersides of the seeds.

The strong fields in the vicinity of needle-electrodes induces field emission so that the electron affinity of molecules in the area close to the needles induces electron transfer. This electron affinity, enhanced by the field, will repel electrons of the absorbed polarized molecules from the pointed electrodes. The electron transfer from the electrode to the polarized substrate is exoergic (positive electron affinity) with the highly excited primary species that will undergo dissociative electron attachment.

The negatively charged fragments (atmospheric air) are of a species that have a higher electron affinity than the parent molecule. The molecular nitrogen in the atmosphere converts (fixes) into nitrate and nitrite (Ref. 63)

The mechanisms of the bio-atmosphere manufacture lightning and precipitation, and fix atmospheric nitrogen into amines.

This mixture of water vapor and gases drifts continuously through the strong field in the vicinity of the needles (Ion Generators No. 1 and 2). Absorbed polarized molecules from the electrode attracted to the polarized substrate will produce an assortment of biochemicals which play important roles in the growth of living cells. Perhaps the most important is that the seeds, exposed to the highly accelerated air-ion field effects the onset of chlorosis and concurrently develop a large increase in the content of cytochrome C (Ref. 64). The strongly accelerated air-ion field affects the distribution of iron between active and residual pools. Active Fe which is located in the chloroplasts is not concerned with chlorophyll biosynthesis. The accelerated air-ion field decreases the active Fe content during the period when the chlorophyll declines; at the same time there occurs an increase in the residual Fe and cytochrome fractions. The Fe originally contained within the seed exists in a non-specific form and can be used as required for any purpose. The Fe is diverted to the enzyme systems involved in germination (Ref. 52).

Throughout many multiple functions of ion-inducing fields it is possible to produce electro-synthesized biochemical groups bonded one to the other. They synthesis by electricity produces the carbon-containing organic compounds, four different kinds of amino acids, the building blocks of enzymes and other proteins, even urea in the “soup”, which are essential components of the biochemical pathways of modern organisms (Ref. 52).

The mechanism for formation of field-induced negative ions through the negatively induced fragments to the species (cells), is applied to restore genetic structures of individual cells.

The field-induced negative ions, into the cells, gives evidence that various genes and segments of DNA move onto and off of chromosomes and move from place to place on a specific site of chromosomes, or move elsewhere or undergo recombination.

There are two different movements by two independent means. First, movements of short segments of DNA, about the size of genes, which turn off the expression of entire blocks of genes expressed subsequent to, and second, controlled along with the gene at the site to which they move.

For all practical purposes, the field-induced negative ions help restore genetic structures in individual cells, and develop the site of air-ion action in cells, the regulatory systems which control iron metabolism in seeds and young seedlings (Ref. 81).

The electrical deposition fields of induced ions, take on the negative charge by electrostatic induction into cells, to biomembrane and mitochondria. Steady charges carry velocities of component patterns of migration proteins, in high field strength forces of electrophoresis.

Utilizing the electrical deposition field-ions to organic (biochemical composition of carbonaceous shale), electro-physical techniques become possible to produce the nature of enzymatic catalysis (Refs. 8-13).

The interaction of metal ions with amino acids, peptides, and proteins, and enzymatic oxidation-reduction systems, produce metal enzymes and catalytic reactions with molecular oxygen, and finally produces fixed molecular nitrogen.

Metallo-proteins are involved in the storage and transfer of iron and copper on the activation of small molecules by means of coordination.

The inducing field for charging aerosol particles depends upon the diffusion of gaseous ions to the particles as a result of their random thermal motion. The ions impart their electrical charge to the surface of the particles and the charged aerosol comes to equilibrium with the ionic atmosphere. This situation is described in the following equation, where:

Nc = electrical charge of particle elementary unit.

Dp = diameter of particle, cm

k = Boltzmann constant

T = absolute temperature, Ko

E = elementary unit of charge = 4.803 x 1010 statcoulombs

c- = average speed of ion, cm/sec

n = ion concentration no/cm3

t = time, sec.

Nc = ( Dp Kt / 2 e2 ) n ( 1 = Dpc pi 22 nt / 2 Kt )

The Electrogenic Aeration Tank:

The Physical Action --- The bottom of the electrogenic chamber is a sealed tank through which the coating liquid (water containing enzymes) continuously recirculated between the storage area and the tank. The liquid used in the blender-sprayer for coating seeds comes from the electrogenic tank. Air currents are set up in the chamber to create moist air which simulates favorable atmospheric conditions for discharge from the ion generator guns for stimulation and implantations that occur.

The Electrogenic Effect --- The water with diluted enzymes in the electrogenic tank on the bottom of the Electrogenic Chamber serves as an electrode for Ion Generators 1 and 2 and provide a useful function as a decomposer of ozone into more reactive intermediates. The principle oxidizing intermediates formed in the decay of ozone are catalyzed b hydroxide (-OH) ions in water. OH radicals in water provide a useful background for the evaluation of reactions of OH radicals with inorganic, organic and biological substrates.

Inorganic ions in water act as catalysts, and will enhance certain useful reactions to serve as mechanisms for producing a rich assortment of polymers. This acts as catalyzation reactions to polarize electrons and bonds enzyme substrate intermediates (Ref. 4).

The field-induced ions (atmospheric air) will be absorbed by incoming seeds, and the remaining charges will be absorbed by water in the electrogenic tank. This will enhance the colloid-chemical effect and depolymerization of large molecules and will cause direct biochemical effects in living organisms, extending plant seed germination, and on subsequent plant growth. The increase in metabolism stimulates cell division and growth (Ref. 5).

The surface of the flowing water acted upon by aspirated air currents creates distribution of oxygen and moisture, in the ionized chamber to form air ions in a quasi-equilibrium atmospheric state, to seeds during treatment.

The essential requirements for germination of seeds are moisture, oxygen, and a favorable temperature in an ionized atmosphere.

In the earth’s atmosphere the air-to-earth current is approximately 2 x 10^-12 amperes per square meter. The exact value depends on the potential gradient number of ions per unit volume of air and the mobility of the ions. This current flow is due to lightning, ion movement, motion of charged rain droplets, dust particles and other particles in a state of motion in the air.

Thermo-Generator Fan:

The Physical Action --- As the seeds are emitted from the conveyer of the Electrogenic Chamber into the Cathodic Protection Chamber, they are exposed to a sequence of atmospheric and electronic influences designed to enhance their ability to become viable fruit-bearing plants.

The Electrogenic Effect --- An electric heater coupled with forced air (F) reduces moisture and hard seed content of the seeds. The heat produces the necessary thermal stress to break down the moisture permeability barrier in the seeds. Also, hard seed percentages are substantially reduced by this method of application.

Infrared Spectrum: The Physical Action --- Below the Thermo-Generator Fan is located a quartz-tube infrared lap (D). In less than a second the seeds absorb enough energy from the intense IR radiation field to allow the seed coat to become permeable.

The Electrogenic Effect --- Studies have shown that the quality of IR-treated seed held well in storage even 5 years after treatment. It appears that IR is the active agent in treatments of seeds to reduce and change the hard-seed content. (Ref. 32)

A few seconds exposure to IR radiation may double the germination of some seed lots.

The seed crops grown in some years contain as much as 50% hard seed. The farmers and seed growers could find that the few seconds of IR treatment mean better stands and better crops (Ref. 14).

Induced IR radiation effects a physiological activity of chloroplast in cells. Cellular chloroplasts shrink when stored in darkness and swell again when exposed to IR radiation. The rate of swelling is determined by the heat effect which involves expenditure of energy from ATP hydrolysis. The IR radiation increases the activities and stimulates ATP metabolism. Induced IR light increase the intercellular calcium concentration which is a controlling factor of light adaptation (Ref. 51).

The IR radiation controls the protoplasts which are isolated from guard cells and by enzymatic digestion. The protoplasts swell when illuminated with a preselected band of the IR spectrum.

The IR light-stimulated mechanism as an attraction of membrane-bound electron transport chains results in an influx of K+ into the cell.

The resulting decrease in water potential mediates in an influx of water, which leads to an increase in the protoplast volume.

Light induces opening of intact stomata, and drives ion movements in several cellular systems and directly stimulate a membrane transport phenomenon in guard cells.

Cathodic Protection Plates: The Physical Action --- Seeds from the conveyer belt are passed onto a vertical series of negatively-charged high voltage conductive plates (E) where a negative potential of 100,000 volts is applied.

Cathodic protection for seeds controls the free radical which initiate peroxidative degradation of unsaturated tissue lipids which creates damage to cellular membranes, Lipid peroxidation in monomolecular and biomolocular filns leads initially to an increase in membrane permeability and then to a decrease in membrane stability. Damage to biological membranes is associated with lipid peroxidation in mitochondria, microsomes, and lysomes of cells (Ref. 16).

Air-dried seeds do not have sufficient moisture to permit aqueous-phase enzyme reactions to occur, and repair mechanisms are unlikely to be operative in such a system. Thus damage induced by free radicals would accumulate in dry seeds whereas in hydrated tissue such damage will be repaired.

The cathodic-protection increases viability of seeds, and in addition, the conductivity of water decreases. The mortality rate of seeds will be considerably reduced. Cathodic protection will reduce free radical attack on biological macromolecules by providing a source of electrons to react with the free radicals.

In a system such as dry seeds, where repair mechanisms are probably inoperative, the damage could accumulate to such an extent that cell death and consequent loss of embryo viability occur. However, for all practical purposes this type of damage might be controlled with the repairing ability of cathodic protection.

In some cases, viability and germination was extended to twice that of control seeds.

RF Frequency Generator:

The Physical Action --- After the seeds tumble through the cathodic chamber they are discharged through a radio frequency coil (F) that is the final process of Electrogenic Seed Treatment.

The Electrogenic Explanation --- The RF treatment involves exposing seeds to the high frequency electric field, which affects intercellular orientation of subcellular particles, and affects chromosome activity.

The effects of RF seed treatment on germination and morphological and cytological changes in seedlings is most favorable for germination. They effectively lower hard seed content, and the quality of the treated seed holds up very well in storage (Ref 5).

The RF seed treatment increases the degree of the water absorption, leachate solution conductivity, and oxygen uptake of seeds increases.

Frequencies of the alternating fields used have ranged between 800 KHz and 1.5 MHz with electric field intensity of 3.2 watt/cm2.

The electrogenic field seems to control and regulate the development of every component part of a growing biological system. Scientific observations underscoring the validity and efficiency of the electrogenic principle of life are today well established.

References [ Not available ]


US Patent # 4,302,670
Electrogenic Seed Treater
Andrew Zaderej / Claude E. Corson
Nov 24, 1981
Abstract ~ Method and apparatus for treating seeds, such as corn, soy beans and rice, in which the seeds are first coated with a mixture of water and enzyme and then subjected to a series of electrical potentials that causes water, ion particles, and nitrogen components to be impregnated within the seed for the purpose of improving the embryonic and growth potential of the seeds.

USP # 3,358,289 ~ Dec., 1967 ~ Polec ~ 250/325
USP # 3,396,308 ~ Aug., 1968 ~ Whitmore ~ 250/324
USP # 3,471,695 ~ Oct., 1969 ~ Hudson, et al. ~ 250/325
USP # 3,643,128 ~ Feb., 1972 ~ Testone ~ 361/230
USP # 3,873,835 ~ Mar., 1975 ~ Ignatjeu ~ 250/324
USP # 4,096,544 ~ Jun., 1978 ~ Ignatjeu ~ 361/231
USP # 4,208,965 ~ Jun., 1980 ~ Eichler ~ 250/324

1. A generator for producing particle elements from air comprising a housing having oppositely open ends to admit said air, an electrode located within said housing between said open ends, a collector of charges located at one open end, means for providing said electrode with a high voltage potential directed toward said collector, said electrode including a generally spherical dielectric part and a plurality of spaced electrically conductive needles each anchored at one end in said dielectric part, said needles extending generally radially from said dielectric part over a sector thereof in the direction of said collector, each needle connected to said potential providing means by a current limiter means for suppressing ozone production about said needles in the presence of said air.

2. The generator of claim 1 wherein each current limiter means is a resistor connected in series with said potential producing means at said one needle end.

3. The generator of claim 1 and a biasing grid located between said electrode and collector.

4. The generator of claim 1 wherein said housing defines throat means for providing a venturi effect by which said air is drawn through said housing from the other end to said one end thereof upon electrode potential production, said spherical dielectric part of the electrode being located spacedly downstream relative to the direction of said air through said housing from said throat means.

BRIEF SUMMARY OF THE INVENTION

This invention relates to a method and apparatus for treating seeds by electronic stimulation to increase the embryonic potential of the seed and improve plant development and growth.

As early as 1746 plants were treated with electricity for the purpose of increasing growth and blossom production. Through the years and into the 20th century efforts have been directed to improving plant development and growth by the utilization of electrical energy. In the following described invention high energy electronics in conjunction with bio-chemical principles is utilized to provide an improved method and application of electrical energy for seed treatment.

The seeds are first coated with a mixture of water and enzyme and then subjected to an electrical potential which causes the water and enzyme coating about the seed to be driven into the embryo of the root cell and other internal parts of the seed. the moistened seeds are then subjected to a second electrical potential which causes the seeds to be bombarded with ions, electrons and protons as well as with elements of fixed nitrogen formed by the fixation of the composition of ambient air about the seeds. These particles enter the seed to serve as a stored energy source and material source for later plant growth and development upon seed planting.

Accordingly, it is an object of this invention to provide a process by which seeds are electronically stimulated to improve their embryonic potential.
Another object of this invention is to provide a process by which the root cell of a seed receives energy and food material through electronic stimulation prior to planting.

Another object of this invention is to provide a method to improve plant growth and development through electronic stimulation of the internal parts of the seed cell, such as methachondria, cytochrome, chloroplast, and cell membrane.

Another object of this invention is to provide apparatus for electronically bombarding a free falling object with electrons, ions and protons.

Still another object of this invention is to provide apparatus for subjecting an object to high energy particle bombardment in ambient air with low ozone production.

Still another object of this invention is to provide apparatus for subjecting an object to ion and fixed nitrogen particle bombardment from a high energy potential within the presence of air.

Still another object of this invention is to provide a single shot starter for a push-pull inverter.

And still another object of this invention is to improve working characteristics for switching transistors and power transformers.

Still another object of this invention is to provide means for modulating the pulse width of rectified AC voltage.

Other objects of this invention will become apparent upon a reading of the following description.

BRIEF DESCRIPTION OF THE DRAWINGS

A preferred embodiment of this invention has been illustrated for purposes of description wherein:

FIG. 1 is a perspective view of the seed treating apparatus.

FIG. 2 is an elevational side view of the seed treating apparatus having portions thereof sectionalized for purposes of illustration.

FIG. 3 is a detailed sectional view taken along line 3--3 of FIG. 2.

FIG. 4 is a detailed sectional view taken along line 4--4 of FIG. 2.

FIG. 5 is an enlarged detailed view of that portion of FIG. 4 enclosed within broken line circle 5.

FIG. 6 is a schematic view of the seed treating apparatus.

FIG. 7 is another schematic view of the seed treating apparatus having provisions for incorporating the electronic circuitry.

FIG. 7A is a circuit diagram represented within the indicated block in FIG. 7.

FIG. 7B is a circuit diagram represented within the indicated block in FIG. 7.

FIG. 7C is a circuit diagram represented within the indicated block in FIG. 7.

FIG. 7D is a circuit diagram represented within the indicated block in FIG. 7.

FIG. 7E is a circuit diagram represented within the indicated block in FIG. 7.

DESCRIPTION OF THE PREFERRED EMBODIMENT

The preferred embodiment illustrated is not intended to be exhaustive or to limit the invention to the precise form disclosed. It is chosen and described in order to best explain the principles of the invention, its application and practical use to thereby enable others skilled in the art to best utilize the invention.

APPARATUS

Referring to FIGS. 1 and 2, seed treater 10 of this invention includes a housing 12 supported upon a frame 14. Frame 14 includes legs 16 for contact with a suitable foundation or the ground. A control panel 18 is carried at the front of housing 12 and behind which, located within the housing, is the circuitry shown partly in FIGS. 7A-7E for controlling the operation of the treater. A tank 20, seen in FIGS. 2, 6 and 7 is carried within the upper portion of housing 12. A conveyor 22 is positioned above tank 20. Located above conveyor 22 are three work stations, namely, a seed blender station 24, a primary energy generator 26, and a secondary energy generator 28. The head of belt 30 of conveyor 22 is located with its upper run 32 positioned under blender station 24. The foot of conveyor belt 30 at its upper run 32 is located within a cathodic discharge station 34, which constitutes the fourth and final work station of the illustrated treater 10.

Belt 30 of conveyor 22 is supported upon rollers 36 with the belt being formed of a dielectric screen material to allow for the passage of liquid and ions through the belt. Housing 12 houses a motor 38 which is drive-connected by a chain and sprocket drive 40 to conveyor 22. Actuation of motor 38 causes the rotative movement of conveyor belt 30 with upper run 32 of the belt traveling in an inclined direction from blender station 24 to discharge station 34. The speed of motor 38 and thus the speed of conveyor belt 30 is variable to permit the travel time of upper run 32 of the belt to be selectively set for the particular seed and type treatment desired.

Blender station 24 of treater 10 includes a hopper part 42 with a lower opening 44 through which seed when transported by a conveyor or other means (not shown) can fall. The size of opening 44 in hopper 42, and thus the discharge rate of the seed through blender station 24, can be varied by adjusting the spacing between overlying side wall plates 46. A pair of electrical probes 48 forming a part of blender station 24 are mounted below the discharge opening 44 in hopper 42 at oppositely located positions. Probes 48 are of like construction and are shown in detail in FIG. 3. Each probe 48 includes a dielectric cone-shape nozzle 50 having an orifice part 52 mounted along the axis of the nozzle. Each orifice part 52 is connected by a plastic or similar dielectric tubing 54 to a pump 56 driven by a motor 58, both housed within housing 12. Preferably several feet of tubing 54 extends between orifice parts 52 and pump 56 so as to create an electrical resistance to minimize feed back of the high voltage potential created about nozzles 50. The axes of nozzle 50 are preferably inclined approximately 30.degree. from the horizontal with the orifice parts 52 of probes 48 being spaced approximately 14" apart within blender station 24. A plurality of conductive metal needles 60 are carried by each nozzle 50. Needles 60 are equally radially spaced from the axis of the nozzle and extend from the base of the nozzle adjacent orifice part 52 to the exterior edge 62 of the nozzle. Needles 60 which may be formed of stainless steel are also equal angularly spaced apart and number approximately 100 for each nozzle. The needles 60 of one probe 48 are connected to a negative high voltage potential of approximately 10,000 volts while the needles 60 of the remaining probe 48 are connected to a negative high voltage potential of approximately 60,000 volts.

Pump 56 has its outlet connected to tubing 54 which extends to probes 48. The inlet of pump 56 is connected to a tube 64 which extends into a reservoir tank 66 carried within seeder housing 12. Tank 20 which extends under the work stations of treater 10 includes an overflow drain pipe 68 which is connected by tubing 70 to reservoir tank 66. Liquid 72 is drawn from reservoir tank 66 by pump 56 and is expelled through orifice parts 52 of probes 48. The liquid thereafter drains into tank 20 which is maintained at a selected level by overflow pipe 68. Excess liquid delivered to tank 20 flows through tubing 70 and by gravity through a filter (not shown) for straining solid material particles into reservoir tank 66. Housing 12 and tanks 20 and 66 are almost entirely of a dielectric construction.

The work stations of treater 10 represented by primary energy generator 26 and secondary energy generator 28 are of similar construction. Each generator 26, 28 includes a spherical discharge part 74. Each spherical discharge part 74 is suspended spacedly above upper run 32 of conveyor belt 30 by a rod part 76. A connector 78 secures each rod part 76 in a spaced orientation from the pyramidal housing side walls 77 forming each energy generator work station. Each discharge part 74, rod part 76 and connector 78 are of a dielectric construction. A detailed view of the discharge part 74, rod part 76 and connector 78 of an energy generator 26, 28 is shown in FIG. 4. Each connector 78 is provided with a plurality of openings 80 which extend peripherially about its connected rod part 76 and which are located between the rod part and pyramidal side walls 77 of the treater housing 12. Housing 12 at the top of side walls 77 of each energy generator 26, 28 is open at 82 to allow ambient air flow downwardly through the housing and through openings 80 in connector 78 and about discharge part 74. A dielectric dome 84 is located spacedly over each upper opening 82 into housing 12 to prevent foreign matter and seeds from falling into the energy generators 26, 28 during operation of the seed treater.

A plurality of needles 86 extend radially outwardly from each discharge part 74. Needles 86 which cover the approximate lower 1/4 spherical quadrant of each discharge part 74 are of an electrically conductive metal, such as stainless steel, and number between 500 and 1,000. Each needle 86 is embedded within the outer surface of its connecting discharge part 74 and is connected by a conductive sleeve or coupler 88 to a resistor 90 of 10 G ohms. Each resistor 90 is commonly connected to a wire 92 extending longitudinally through rod part 76. Each wire 92 is connected to a ripple DC voltage source having a peak voltage of approximately 150 KV. A grid 94 is located under discharge part 74 of primary energy generator 26 and is adjacently spaced below upper run 32 of conveyor belt 30. Grid 94 is connected to a slightly negative voltage source and acts as a bias during the operation of energy generator 26.

Cathodic discharge station 34 of seed treater 10 includes a housing 96 which like main housing 12 of the treater is also of a dielectric construction. An air blower 98 and heating coils 100 are located above the discharge end of conveyor belt 30 which terminates within housing 96. Heating coils 100 are shown schematically in FIG. 7. Also located above the discharge end of conveyor belt 30 is a quartz-tube infrared lamp 102.

Located within housing 96 but positioned below the discharge end of conveyor belt 30 is a plurality of negatively charged high voltage conductive plates 104. The uppermost plate "a" of plates 104 is supplied with a voltage of approximately 60,000 volts, plate "b" of approximately 50,000 volts, plate "c" approximately 40,000 volts and plate "d" approximately 30,000 volts. Additionally, each of the plates 104 is pivotally mounted within housing 96 with the plates being interconnected by cables 106 and crank arm 108 for shaking movement to clean the plates. During treater operation plates 104 are in a fixed, inclined overlapping orientation as shown. The lower discharge end of housing 96 includes coils 110 through which all seed must exit when passing through treater 10. Coils 110 produce R.F. energy in the range between 800 K Hz and 1.5 M Hz with an electric field intensity of approximately 3.2 watt/cm2.

METHOD OF OPERATION

A mixture of tap or similar conductive water and enzyme 72 fills tank 20 to its operating level. This liquid is also present within supply tank 66. The type of enzyme in liquid 72 will vary but is preferably of the MFO type. Operation of pump 56 causes liquid 72 to be emitted under pressure from orifice parts 52 of probes 48, filling the blender station 24 below hopper 42 with a mist. Liquid 72 is provided to orifice parts 52 at about 100 pounds per square inch pressure which reduces the liquid particle size within the blender station to between 5 to 15 microns. At the same time liquid 72 is emitted from probes 48, needles 60 of each probe are subjected to the high energy negative potential, one probe having a potential of approximately 10,000 volts and the other probe having a potential of approximately 60,000 volts. The liquid 72 in its mist form is directed across needles 60 due to the relative position of the needles and orifice parts 52 and is subjected to potentials provided by needles 60. This transforms the liquid mist into a flux field consisting of positive and negative ions, protons and electrons.

Seed, such as corn, soy beans, rice or other types of grains, are introduced by a conveyor or similar means into hopper 42 of blender station 24. The seeds fall through opening 44 in hopper 42 and pass between probes 48 within the mist of liquid 72. When the seeds are subjected to the potential of probes 48, the polarity inside the root cell of the seed embryo is improved. Also the ions, protons, and electrons formed by the energy recombination caused within the liquid mist on potential contact are driven into the root cell and other parts of the seed. Further, the enzyme in the liquid combination allows the tiny flux of water and the particles thereof to be driven into the seed past its lipid layer. The liquid coated seeds then fall onto upper run 32 of conveyor belt 30 with the seeds being placed into a electrical conductive mode for the next treatment step.

During the operation of blender station 24, motor 38 is in operation serving to continuously rotate conveyor belt 30. The coated seeds passing through the blender station fall upon the upper run 32 of the conveyor belt and are transmitted to primary energy generator 26, passing between discharge part 74 and grid 94 of the generator. With needles 86 of generator 26 acting as negative electrodes, liquid 72 within tank 20 acting as a positive electrode and with grid 94 acting as a bias, the seeds are subjected to electron, proton and positive and negative ion bombardment caused by the ambient air break down when contacted by the potential at discharge part 74. This directed potential and particle movement toward liquid 72 in tank 20 causes additional air to be drawn through opening 82 in the generator under dome 84 and through openings 80 in connector 78, past needles 86, like an air pump, where additional particles are produced. These particles of ions, electrons and protrons are directed towards liquid 72 within tank 20 with grid 94 serving to control the density and acceleration of the particles, especially the ions. Many of these particles enter the seed, including the root cell of its embryo. Additionally, the break down of the ambient air forms nitrogen particles which are transformed into fixed nitrogen and amino acids. Such
nitrogen and amino acids are driven into the seed cells.

After passing through primary energy generator 26, the seeds are transported by conveyor belt 30 into secondary energy generator 28 which is similar in operation to the primary energy generator but which does not include a grid for the control of particle movement. As in energy generator 26, the operation of energy generator 28 causes ambient air to be drawn into the interior of the generator past needles 86 and into the flux field where the air is broken down into nitrogen particles with the formation of electrons, positive and negative ions and protons. These particles enter the underlying passing seeds in the same manner previously discussed for energy generator 26.

The internal structure of the seeds are enhanced in two ways by the energy imparted through generators 26, 28. The generators serve as an energy source for the seeds and as a material source depositing fixed nitrogen and amino acids within the root cell, chloroplast and metachondria of the seed. In this manner the imparted energy and material sources are used for genetic recombination in the DNA molecule with the embryonic potential of the seed being increased, thereby improving plant growth, vitality, yield, and germination.

The water and enzyme liquid coating about the seed acquired while passing through the blender station 24, serves to improve the electrical conductivity and receptiveness of the seed to the particle bombardment imparted in generator stations 26 and 28. The particles formed by generators 26 and 28 which do not contact or which are not absorbed by the seeds contact the liquid 72 in tank 20 which serves as a positive electrode. This creates more mobility of suspended colloidal particles and resistivity of pure water. The liquid viscosity is increased under these conditions and there is an increase in reactive water which improves the ability of the liquid to penetrate the seeds and to form amino acid and fixed nitrogen components as the liquid is recirculated from tank 20 to tank 66 and into blender station 24 by pump 56.

The seeds pass from secondary energy generator 28 to the discharge end of conveyor belt 30 where they fall by gravity through cathodic discharge station 24. Ambient air is forced by blower 98 across heating coils 100 which heats the air to approximately 130.degree. F. The heated air contacts the falling seeds to reduce the hard seed content of the seeds. Additionally, as most seeds are stored before planting, the heated air further serves to reduce the moisture content of the seeds. The seeds are also subjected to the I.R. radiation from lamp 102 which improves the germination rate of the seeds as well as to increase the physiological activity of the chloroplast in the seed cell.

As the seeds fall through discharge station 34, the seeds contact each of the plates 104 in alternating zig-zag sliding motion to improve cell membrane stability and permanentability and to improve the viability and germination probabilities of the seed. The potentials of plates 104 are in decreasing order as contacted by the seeds. Finally, the seeds are discharged through coils 110 where they are subjected to R.F. energy. This increases the degree of water absorption, leaching solution conductivity and oxygen uptake. After passing through discharge station 34, the seeds are collected in a suitable receptacle for storage and eventual planting.

It is to be understood that the treatment above described is continuous with the seeds being introduced into hopper 42 of blender station 24, passing downwardly through the blender station, and thereafter through the primary and secondary energy generators 26 and 28 and out discharge station 34 in even flow.

Experimental field testing of seeds treated in accordance with the above described method of operation has revealed a substantial increase in yield. Corn seeds not treated produced a yield of 100.0 bushels per acre while corn seeds treated in accordance with the above described method produced a yield of 125.7 bushels per acre or an increased yield of 25.7% over the untreated seeds. Soy bean seeds untreated produced a yield of 37.0 bushels per acre. Soy bean seeds treated in accordance with the above described method produced a yield of 46.2 bushels per acre or an increased yield of 24.8% over the untreated seeds.

POWER AND CONTROL CIRCUITS FOR BLENDER STATION, PRIMARY AND SECONDARY ENERGY GENERATORS, AND CATHODIC DISCHARGE STATION.

In FIG. 7A the preferred circuitry for providing electrical energy for the operation of primary energy generator 26 is shown. SCR'S 114, diodes 116 and power supressor diode 118 in conjunction with the noted resistors serve as a bridge circuit which rectifies the 120V, AC input to DC. Item 120 is a step-down transformer. A pulse width modulated control circuit is operationally connected to transformer 120 and the above described bridge circuit. Pulse width modulated control circuit includes transistors 122, an IC (LM 3900) identified as four individual operational amplifiers Z1, diodes 124, zener diode 126 and the resistors and capacitors shown. A detailed description of the pulse width modulated control circuit may be found in commonly owned U.S. application Ser. No. 898,514, filed Apr. 20, 1978.

Included within the figure of 7A is a push-pull inverter which is utilized to invert the DC from the bridge circuit to square wave AC at high frequency, in the range of approximately 10 to 20 KHz. The push-pull inverter includes secondary transformer windings 130, main transformer windings 132, return transformer windings 134, high voltage switching power transistors 136 working in a saturable mode, diodes 138 which are of the fast recovery type, such as having a trr of 100-150 nS, and a DC filtering capacitor 140. Capacitor 142, resistor 144 and transformer winding 146 constitute a feed-back circuit for each transistor 136.

Each paired main winding 132 and return winding 134 are wound together or bifilar with the return windings being in reverse polarity to the main windings as illustrated. During operation of the push-pull inverter with alternating transistor 136 cut-off, the back emf in windings 132 will be transferred to mutually coupled windings 134 and returned to the power source through connecting diodes 138. Such emf utilization improves the circuit efficiency for transistors 136 and the transformer.

The starter circuit for the push-pull inverter includes SCR 148, resistors 150 and 152, capacitor 154 and transformer winding 156. Winding 156 is mutually coupled to the main windings 132 and has but a few turns, two in the illustrated embodiment. Upon power turn-on, filtering capacitor 140 and capacitor 154 are charged at different rates. SCR 148, properly biased by resistors 150 and 152, then triggers capacitor 154 which causes winding 156 to receive a charge. Each mutually coupled main winding 132 is then also charged with the one mutually polarized transistor 136 receiving its starting voltage. This starts the push-pull inverter operation. The starter circuit after having delivered its single shot now remains dormant for the remainder of the inverter operation.

The output from secondary transformer windings 130 passes into a voltage multiplier identified by interconnected diodes 158, capacitors 160 and resistors 162. The multiplier rectifies and increases the secondary transformer winding voltage 12 times or up to its maximum operating peak voltage of approximately 150,000 volts of ripple DC. Line 164 connects the multiplier with wire 92 of primary energy generator 26. Line 166 is connected to a metal plate 168, preferably formed of stainless steel, submerged within the liquid 72 in tank 20. Plate 168 serves to provide a positive charge for energy generators 26, 28 and for blender station 24. A variable resistance or control 170 associated with resistors 162 is connected to grid 94 of primary energy generator 26. Control 170 regulates the density of the particle bombardment and energy production of the primary energy generator with grid 94 serving as a bias.

Variable resistor 128 in the pulse width modulated control circuit serves to control or modulate the duty cycle of the circuit of FIG. 7A and to vary the negative peak voltage of primary energy generator 26 between 75,000 and 150,000 volts. Thus the negative potential output of the primary energy generator 26 can be varied in intensity to accommodate different types of seeds.

The control and power supply circuit of FIG. 7B has its output, designated by line 172, connected to wire 92 in secondary energy generator 28. The operation of this circuit with its inter-related bridge circuit, pulse width modulated control circuit, push-pull inverter circuit, starter circuit, and voltage multiplier is like that previously described for FIG. 7A with the components thereof being correspondingly lettered and numbered. The circuit of FIG. 7B differs in one respect in that no control or variable resistor 170 is utilized. In all other respects the operation of the circuit of 7B is like that of FIG. 7A. Variable resistor 128 through pulse width modulation varies the intensity of secondary energy generator 28 between 75,000 and 150,000 peak negative volts.

The control and power circuit shown in FIG. 7C is like that of the circuit of FIG. 7B with the components thereof being correspondingly lettered and numbered and their functions being previously described for the circuit of FIG. 7A. Line 174 of this circuit is connected to one probe 48 of blender station 24, while line 176 from this circuit is connected to the remaining probe 48 of the blender station. Line 174 serves to provide its connected probe 48 with a 10,000 KV negative potential and line 176 serves to provide its connected probe 48 with a 60 KV negative potential. Line 178 connects the voltage multiplier of circuit 7C with plates 104 in cathodic discharge station 34. The difference between the circuit of FIG. 7C and that of 7B is in the size of the voltage multiplier. The blender station and cathodic plates of the cathodic discharge stations need less voltage than that of secondary energy generator 28. This circuit also includes a variable resistor 128 which serves as a control for varying the power output to accommodate different types of seeds.

The power and control circuit of FIG. 7D includes only the pulse width modulated control and bridge circuits shown and described in the circuit of FIG. 7A. The manner of operation of the circuit of 7D is like that described for the pulse width modulated control and bridge circuits of FIG. 7A with the components thereof being correspondingly numbered and lettered. Lines 180 in this circuit are connected to lamp 102 of the cathodic discharge station 34. A like circuit, consisting of the pulse width modulated control and bridge circuits of FIG. 7A is connected by lines 182 to the heating coils 100 within the cathodic discharge station. The power to lamp 102 is variable through the utilization of variable resistor or control 128 to vary the IR spectrum emitted from the lamp. A similar power control is utilized to vary the heat output from heating coils 100.

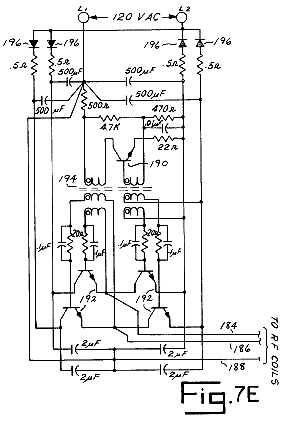
The power circuit of FIG. 7E is utilized with coils 110 in the cathodic discharge station 34. Line 184 of this circuit is connected to terminal "a", line 186 is connected to terminal "b" and line 188 is connected to terminal "c" of the interconnected coils shown schematically in FIG. 7. The circuit of FIG. 7E includes an oscillator transistor 190, power transistors 192, driving transformer 194, diodes 196 and associated resistors and capacitors. The circuit represents a dual push-pull power oscillator for a high power, high frequency output.

It is understood that the invention is not to be limited to the details above given but may be modified within the scope of the appended claims.