rexresearch.com

James Y. JOHNSON
Dipolar Resonance / Anomalous Dispersion Mutation

British Patent # 417,501
GB417501
[ PDF ]

Process for Altering the Energy Content of Dipolar Substances
James Y. JOHNSON

Applicant:  TERNION AG
1934-09-28

Abstract -- Changes in the energy content of dipolar substances are produced by exposure to a concentrated electromagnetic field having one or more frequencies corresponding to wavelengths between 3 mm. and 6 metres approximately and equal to characteristic periods of the substances treated. The process applies to naturally dipolar substances and to those in which dipoles can be induced by a field. The characteristic periods of the substances are of three kinds depending respectively on (1) the relaxation time of the dipoles when orientated by the field, (2) the natural oscillation-period of the dipoles, (3) the term-difference frequencies of the atoms. They are associated with anomalous variations in the optical and dielectric properties and can be found by examining those properties in a field of varying frequency. They can be varied within limits by changing the temperature, pressure, concentration, &c., and may thus be adjusted to correspond exactly with a field of approximately correct frequency. The fields may be standing ones produced between conductors such as concentric tubes or the plate resonators described in Specification 417,564, or radiated fields concentrated by reflectors. They may comprise several different frequencies and constant electrostatic fields may be superimposed on them. The exposure may be continuous or intermittent and different frequencies may be applied in succession. The invention is not concerned with the production of merely transitory effects and temperature changes, but with more permanent physical and chemical effects of which the following are examples:-- Colloidal dispersions and emulsions are stabilised or further dispersed by short exposure but prolonged treatment produces coagulation. An agar-agar gel exposed to a field of 116 cm. wavelength increases in mobility after 10 minutes and becomes more viscous after several hours. Crystallization is stimulated by the use of a varying field. Preservation of organic materials is effected preferably by intermittent exposure, e.g. veal after 3 minutes treatment with a field comprising four selected frequencies remains fresh for 2 weeks, or longer if further exposure to a weaker field is given for 5 minutes in each hour. Milk and apple juice may be similarly treated. Medical diagnosis and treatment. Cell-division may be stimulated and other beneficial effects produced in living bodies. The method of determining the characteristic frequencies of the constituents of a living body provides a means of diagnosis. Fermentation processes and other processes involving bacteria may be modified by influencing the bacteria or their nutrient medium. Germination of seeds may be accelerated. Bean seeds previously swollen and exposed for 30 sec. to suitable fields germinate twice as fast as untreated seeds. Electrets may be produced by subjecting a fluid dielectric to a field and then solidifying it by freezing, evaporation, or coagulation. Medicines for internal and external use may have electrets incorporated in them, the electrical energy being released upon their application. A plaster comprising euphorbium powder, fine resin, yellow wax, and turpentine may be exposed at 85 DEG C. to a field of 235 cm. wavelength and then cooled to 15 DEG C. Disinfecting pastilles comprising beeswax and gums and the usual drugs may be similarly treated. Photographic plates may be rendered more sensitive especially in the red and infra-red by exposure to the fields. Chemical reactions may be promoted and facilitated. Examples are: (1) the conversion of acetylene, steam, and ozone into acetic acid and acetaldehyde without a catalyst; (2) the drying of lacquers and varnishes; (3) the consolidation of styrol; (4) the hardening of Bakelite; (5) the polymerization of isoprene; (6) the vulcanization of rubber. Artificial silk may be stabilized by treatment as it leaves the spinning nozzle.ALSO:Chemical reactions are promoted or accelerated by exposure of dipolar substances to a concentrated electromagnetic field having one or more frequencies corresponding to wave lengths between 3 mm. and 6 metres approximately and equal to characteristic periods of the substances treated. The process applies to naturally dipolar substances and to those in which dipoles can be induced by a field. The characteristic periods of the substances are of three kinds depending respectively on (1) the relaxation time of the dipoles when orientated by the field; (2) the natural oscillation-period of the dipoles; (3) the term-difference frequencies of the atoms. They are associated with anomalous variations in the optical and dielectric properties and can be found by examining these properties in a field of varying frequency. The fields may be standing ones produced between conductors such as concentric tubes or the plate resonators described in Specification 417,564, [Group XL], or radiated fields concentrated by reflectors. Several different frequencies may be applied simultaneously or in succession and either constantly or intermittently, and constant electrostatic fields may be superimposed on them. The following examples of reactions are mentioned, viz.:-- Synthetic rubber is produced by polymerization of isoprene. Phenol-aldehyde condensation products, styrol, &c. are hardened. The drying of lacquers, varnishes &c. is accelerated. Acetaldehyde and acetic acid are obtained by the reaction of acetylene, steam, and ozone without a catalyst. Artificial silk is hardened by treatment of the material as it leaves the spinning nozzles. The product shows increased resistance to wear. ALSO: The germination of seeds is accelarated by exposure to a concentrated electromagnetic field having one or more frequencies corresponding to wave lengths between 3 mm. and 6 meters approximately and equal to characteristic periods of the substances treated. The characteristic periods of the substances are associated with anomalous variations in the optical and dielectric properties and can be found by examining these properties in a field of varying frequency. The fields may be standing one produced between conductors such as concentric tubes or the plate resonators described in Specification 417,564, [Group XL], or radiated fields concentrated by reflectors. Several different frequencies may be applied simultaneously or in succession and either constantly or intermittently and constant electrostatic fields may be superimposed on them. According to an example, bean seeds previously swollen are treated for 30 seconds at 35 DEG C. with a field comprising wave lengths of 28 cm. and 87 cm. In four weeks they grow twice as much as untreated seeds. ALSO: Changes in the energy content of dipolar substances are produced by exposure to a concentrated electromagnetic field having one or more frequencies corresponding to wavelengths between 3 mm. and 6 metres approximately and equal to characteristic periods of the substances treated. The process applies to naturally dipolar substances and to those in which dipoles can be induced by a field. The characteristic periods of the substances are of three kinds depending respectively on (1) the relaxation time of the dipoles when orientated by the field; (2) the natural oscillation-period of the dipoles; (3) the term-difference frequencies of the atoms. They are associated with anomalous variations in the optical and dielectric properties and can be found by examining these properties in a field of varying frequency. The fields may be standing ones produced between conductors such as concentric tubes or the plate resonators described in Specification 417,564, or radiated fields concentrated by reflectors. Several different frequencies may be applied simultaneously or in succession and either constantly or intermittently and constant electrostatic fields may be superimposed on them. Medical diagnosis and treatment. Cell-division may be stimulated and other beneficial effects produced in living bodies by exposure to the fields. The method of determining the characteristic periods of the constituents of a living body provides a means of diagnosis. Medicines for internal and external use may comprise electrets made by subjecting a fluid dielectric to a field and then solidifying it by freezing, evaporation, or coagulation. Their electrical energy is released upon their application. A plaster comprising euphorbium powder, pine resin, yellow wax, and turpentine may be exposed at 85 DEG C. to a field of 235 cm. wavelength and then cooled to 15 DEG C. Disinfecting pastilles comprising beeswax and gums and the usual drugs may be similarly treated. Fermentation processes and the like may be modified by influencing the bacteria or their nutrient medium.



I, James Yate Johnson... do hereby declare the nature of this invention ( which was communicated to me from abroad by Ternion Aktiengesellschaft, of Glarus, Switzerland ), to be as follows :--

Among the properties of substances there are several which are dependent on the frequency of the electromagnetic oscillations used for observation. Among such properties may be mentioned for example speed of transmission, absorption, rotation of plane of polarization and dielectric constant. The term used in these cases is dispersion of the properties concerned. In order to explain this phenomenon, Sellmeier (1871) and later Helmholtz, Ketteler and others developed the theory that with respect to the period of oscillation employed the substances can no longer be regarded as cpontinual, but rather they must be regarded as more or less rigidly coupled aggregates of oscillators. As oscillators according to modern conception of the construction of materials may be mentioned the combined electrons, the combined atoms and the dipolar molecules. Since these particles are carriers of electric charges, they are set in oscillation under the influence of external electrical alternating fields, as for example the electromagnetic radiation field. They absorb energy from the applied alternating field. The excitation is especially strong and the absorption of energy therefore especially great in the case of resonance. Simultaneously with this there takes place a sudden change in all those properties which are connected with the energetic alternating action between oscillator and external oscillation, for example the above-mentioned properties. A typical resonance curve is shown in Figure 1. The oscillation frequencies are given as abscissae and the ordinates are the corresponding strengths of the absorption of energy (dotted) and the values of any one of the dispersion properties, as for example the dielectric constant (full line). The region of the sudden change is termed the anomalous dispersion region, in constrast to the regions of normal dispersion on the branches of the curve lying further to the outside.

In many cases, for exampe when it is desired especially to emphasize the electrical nature of the alternating action the term polarization of the substance is also used, in order to express the polar structure of the oscillators.

In order to be able to state into which forms the absorbed energy is converted, it is necessary to bring the conception of polarization into a somewhat more precise form. It is preferably subdivided into:

1. an electron polarization, i.e., an influencing of the electron shells which build up and hold together the atoms;

2. an atomic polarization, i.e., a displacement of the position of the atoms which build up the molecule, and

3. an orientation polarization, i.e., a change in the relative positions of the molecules themselves.

The energies to be employed for the different polarizations are of quite different orders of size. The greatest energy for polarization is required by the electrons, the least by the molecules. Now according to the quantum theory the following equation holds good:

energy = h.v

in which h represents the Planck elementary quantum and v represents the frequecny of oscillation of the electromagnetic rays. Thus the greater the energy to be introduced into the particles of matter, the greater must be the frequency of oscillation of the rays, and the shorter therfore must be their wavelength. Accordingly the resonance positions of electron polarization lie in the region of the Roentgen, ultraviolet and light rays, the resonance positions of atomic polarization lie in the region of the infrared spectrum and the resonance positions of orientation polarization lie still further beyond in the region of the radio short and ultra-short waves. Those which have been best investigated are the absorption spectra in the region of visible light. It is known therefrom that the absorbed light causes no appreciable physical or chemical changes in the irradiated substance. it is to the greater part radiated again as such. A part is converted into heat, another part may serve, with a change in its wavelength, to excite atomic oscilaltions (Raman effect) and in comparatively rare cases the rays of light passing into the substance give rise to chemical changes (photochemical reaction). The rareness of photochemical reactions is especially prominent. The behavior in the IR region and in the UV region is very similar.

Only a little is known of the behavior of substances with respect to waves having a wavelength of from the IR to several meters. The anomalous dispersion bands, especially, have still scarcely been exactly investigated. The region of waves which has hitherto been well investigated lies above about 2 meters, which is, generally speaking, outside the anomalous dispersion bands. The dielectric polarization is only slightly noticeable therein. Energy is absorbed only slightly and since it is moreover almost completely converted into heat, is generally unsatisfactory, so that dielectric losses are spoken of. Only in a few special cases can this polarization be usefully employed  (diathermy, Kerr celss).

My foreign correspondents have now found that dipolar substances and substances containing the same behave in a thoroughly new and unforeseen manner when they are subjected to the action of an EM radiation field which oscillates mainly or wholly in one or more frequencies of the said substances in the region of waves of from the infred to several meters in wavelength. The term "natural frequency" is intended to mean the range of frequency of the anomalous dispersion. Especially profiound influences take place by the action of alternating fields which correspong to the natural frequencies of the substance which lie below 2 meters. By this action, an alteration in the energy content of the dipolar substance takes place which becomes strikingly noticeable in an increased reactivity and an orientation of the molecules. The orientation of the molecules renders the substances double refractive. This double refraction also effects a rotation of the plane of a ray of polarized light passed therethrough.

Before entering into details of this phenomeon, some observations may be made on the determination of the natural frequencies. From the previously described connection between resonance frequency and anomalous dispersion position it results that the latter is a suitable indicator for the resonance frequency. It is only necessary to follow the frequency dependence of a constant of a substance suitable for the range of waves concerned up to the anomalous position. The dielectric constants are especially suitable for this purpose. My foreign correspondents have found that there are two sharply separated kinds of anomalous dispersion which may be differentiated as friction dispersion and resonance dispersion. Friction dispersion appears in all non-conducting dielectrics. With water for example it is shown in Figure 2, wherein the curves shows the course of the dielectric constant when using varying wavelengths for observation, and exhibiting a band of anomalous dispersion at a wavelength of about 1.5 centimeters.

The course of such functions has already been theoretically explained by Debye and brought into mathematical form. In the description, the time lag appears as a substantial constituent of the conception, i.e., the time which the molecules require in order to come into equilibrium with an external field. The time lag is, inter alia, dependent on the internal friction constant and the temperature. In order to tune the irradiation alternating field  and the natural fequency of the substance to be treated to each other, the external frequency may be altered while keeping the time lag constant until resonance is attained, or the time lag may be altered while keeping the external frequency constant. The latter may be conveniently attained by altering the internal friction, i.e., by alteration of the concentration and/or temperature.

Resonance dispersion appears in all conducting dielectrics, i.e., in electrolytes. it is of special importance for the processes in living organisms. its curve differs very clearly from that of the friction dispersion, as may be seen from Figure 3 of the accompanying drawing. The band of anonmalous dispersion is very small and sharply pronounced, frequently scarcely wider than

delta lambda = 2 / 100 lambda.

It can consequently be very readily overlooked. This hitherto unknown dispersion anomaly is connected with the alternating action of the ions.

In order to determine the natural frequency of dipolar substances and to alter the energy content of these substances, thereby allowing the technical effects hereinafter described to be obtained, electromagnetic fields in part of relatively small field strength but also in part of great field strength are necessary...

In order to strengthen the action of the electromagnetic fields thus produced they may be directed and concentrated by known means. This is especially of importance in cases when it is desired to carry out the action only in certain zones. A direction of the field may be effected by reflectors and a concentration may be effected between Hertz parabolic mirrors. Extremely concentrated fields may be produced by a new apparatus which is the object of the copending application No. 11,628/34 ( Serial no. 417,564 ). This describes a plate oscillator which resembles a condenser in its external form, but not in its electric behavior. In one of the modes of execution which are adequate for use in practice, it consists of two plates oppositely arranged. By reason of the distributed self-induction and distributed capacity the plate oscillator has electric resonances which appear at very high frequencies.

In order to bring into action the electromagnetic alternating fields corresponding to one or more natural frequencies of the dipolar substance, the dipolar substance is brought, according to the desired intensity of the action, into the EM alternating field of corresponding frequency which may be undirected, or dirrected ( e.g. by reflectors ), or concentrated ( e.g. by Hertz mirrors), or, if a specially intense action is necessary, the dipolar substance is exposed to the stationary alternating field in thin layers between the electrodes of the plate oscillator.

In cases when a substance has several natural frequencies in teh range concerned, such as is the case mainly in electrolyte mixtures, a tuning may also beeffected with the aid of means known in high frequency technique...

The energy supplied by resonance excitation varies wither the intermolecular or intramolecular equilibrium of the substance depending on the radiated natural frequency or on the intensity thereof. In the case of colloids for example the influencing of the intermolecular fields of force results in a change in the size of particles ( conversion from the sol into the gel conditions or vice versa, floculation, change in the ciscosity or consuctivity and the like ) or in a change in the degree of hydration ( influencing of the ageing phenomena of colloids, as for example silica gel, albumens, pectins and similar colloids).

In order to illustrate the effects taking place in colloidal solutions by irradiation with electromagnetic alternating fields having a frequency which corresponds with a natural frequency of the orradiated solution, an experiment carried out with a colloidal solution of gold is given below. The solution showed a maximum resonance with a wavelength of 18.6 cm and at about 20* C. The solution was interposed in a layer 1 millimeter in thickness between the circular plates of a plate oscillator with a plate diameter of about 6.2 cm was at a wavelength of 18.6 cm... After acting on the solution for an hour, the original red color of the solution changed to orange, a change in color which as is well known indicated a diminution in the size of the colloid particles. By intensive irradiation for longer periods an opposite effect is observed, a floculation takign place.

For further illustration an experiment carried out with agar-agar solution the resonance position of which lay at a wavelength of 116 cm may be referred to. These longer waves require plates of considerably larger diameter for the purpose of tuning the plate oscillator. Wth the plates 1 cm apart, plates having a diameter of nearly 30 cm are necessary, as determined by calculation and confirmed by experiment in order that the fundamental wave of the oscillator has a wavelength of 116 cm. In order to avoid these somewhat troublesome dimensions, the experiment was carried out in a plate-oscillator in which the distance between the plates was reduced from 1 cm to about 0.5 cm, whereby it was possible to employ circular plates havin a diameter of 20 cm. The fine tuning of the oscillator system to the dipolar layer ( having a thickness of 1 mm and a natural frequency of 116 cm ) interposed between the plates was effected by regulating the distance between the plates... After a short time the solution became more mobile,nad after irradiation for several hours the opposite effect occurred and the solution became more viscous.

The effects in the case of colloids of living organisms are especially striking, where they are equivalent to a preservation. For example by suitable dosing of the intensity of radiation  the natural decomposition processes, which always commense with a decrease in the energy content and a change in the colloidal state, may be suspended. For example if fruit of all kinds be irradiated with the natural frequency of their expressed  juices ( on an average 40 cm with slight deviations ) or animal products with the natural frequency of their serums ( on the average from 85 to 95 cm ), a preservation for weeks at ordinary temperature is obtained, whereas the same products without irradiation are spoilt within a few days under otherwise identical conditions. It is remarkable that the natural aroma is completely retained in the case of radiation-preservation. If the intensity of radiation exceeds the degree necessary for preservation, profound chemical changes take place.

By the action of EM alternating fields of frequencies which correspond to one or more of the natural frequencies of the blood serum, profound effects may be produced in men and animals.

Serums are thoroughly complex liquids in which is present a large number of dipolar substances in more or less great dilution. The solvent is water. The position and strength of the anomalous dispersion bands varies according to the nature and concentration of the dipolar substances. Experiments have shown that differences in the position of the resonance positions occur not only in different serums but also in serums taken from different individuals. In fact even with one and the same individual, the strength and number of the absorption bands differ according to the prevailing condition of change-of-matter. Since the absorption bands, espcially in the case of dipolar substances which are only present in small concnetration, are in part extremely sharp (half value widths of less than 5 %) they readily escape observation when normal pure electrical methods are employed. The position of the resonance points herein described has been found for example by observing the alteration of the intensity of a beam of polarized light penetrating the influenced substances.

In the said manner the serum of a a test person was investigated. At a temperature of 37* C an especially strong pronounced resonance position was established at a wavelength of about 90 cm. Between this wavelength and the shortest dipolar resonance bands occurring in the serum, that of chemically pure water which lies at a wavelength of about 1.28 cm there are a large number of characteristic resonance positions the accurate knowledge of which might give a comprehensive conception of the state of health of the person concerned. Resonance positions above a wavelength of about 1 meter are according to observation made up to the present rather wide. The supply of oscillatory energy from these long ranges of waves leads chiefly to increases in temperature, but not to the quite specific einfluences which are characteristic for most of the resonance positions below a wavelength of 1 meter. By irradiation with frequencies corresponding to the sharply prodounced resonance positions, it is possible, as experiments have proved, to cause quite definitive reproduceable effects. The alterations of energy in the body lead to advantageous effects or also to marked injury.

If it is intended specifically to act on foreign bodies in the serum, as for example bacteria, there are two possibilities; either the irradiation is effected in the frequency which corresponds to a strongly pronounced absorption position owing to the presence of foreign bodies in the serum and thus the nutrient medium and therefore, for example, the living conditions of the bacteria are altered, or the irradiation is effected in frequencies which correspond to the natural frequencies of the dipolar substance from which the bacteria are built up.

Purely chemical reactions can also be enforced which otherwise only proceed under the influence of heat or of catalysts. For example isoprene is converted into a rubberlike polymerization product, rubber solutions are vulcanized in the presence of sulfur, Bakelite A adn B are converted into Bakelite C, varnishes and laquers dry more quickly, acetylene combines with water to form acetaldehyde which in the presence of oxidizing agents, as for example ozone, is immediately converted into acetic acid, and so forth.

A further effect to be observed by the action of resonant eledctromagnetic alternating fields is that the dipolar molecules are orientated. Such orientation of dipolar molecules  which ingeneral are in the disordered thermal equilibrium, could hitherto only be produced by the action of an external electrostatic field which due to the smallness of the dimensions of the molecules must be very strong, in order to exert an appreciable torque on the molecules and thereby orientate them. For the orientation of dipolar molecules by means of electrostatic fields voltages are necessary which nearly reach the disruptive strength of the dielectrics and thus are of the order of about between 100,000 and 200,000 volts. Consequently an oritentation of conductive dielectrics by means of electrostatic fields is not possible since in such dielectrics the fields break down.

In contradistinction thereto, conductive as well as non-conductive dipolar substances can easily be orientated by means of resonant electromagnetic alternating fields. At first glance this appears to be improbable since it is to be assumed that the molecules will change periodically their direction in phase with the alternating field or rotate in the same phase and not arrange in the preferred position. This assumption would be correct, if the molecules did not exert directed forces on each other. Such directed forces, however, are existent as results from the fact that without any external influences the single molecules orietnate themselves to some extent on their neighboring molecules while passing through the sphere of influence of the latter as can be observed in x-ray spectrograms. The same forces are also the cause of the formation of associates of molecules as can be observed in many cases, for example of pairs of molecules, as in the case of acetic acid, shoals of molecules as with azoxyanisole, or the accumulation of dipolar molecules around an ion as is the case with hydrated ions. Such associates are liable to form groups by interlocking.

The formation of such associates essentially depends on the frequency of collisions of two molecules, the greatness of the intermolecular forces and the probability of the collision of two molecules in a positin favorable for the formation of associates. By setting the molecules in uniform oscillation by means of a resonant eM alternatig field the probability of the molecules colliding with each other in a position favorable for the formation of associates and the permation os such associates and groups of interlocked associates is essentially increased. Such associates and groups are no longer capable of following the phase of the applied alternating field, but can only exert tilting oscillations about a position determined by the applied alternting field. This, howver, is equal to an orientation of the molecules throughout the whole mass. An electrostatic ( ES ) field acting simultaneously with the alternating field and in parallel therewith has no great influence on the orientation process for the reason already stated. It may, however, help to increase the percentage of orientated molecules and to keep a body of molecules which have once been oriented, in the ordered condition, even when the alternating field is withdrawn, since it is no longer necessary to orientate a body of disordered molecules requiring a high voltage, but prevent a body of orientated molecules substantially supporting itself to fall back into the disordered condition. For this purpose an ES field is sufficient, the voltage of which is from 10 to 20 times smaller than is necessary to produce such orientation by means of an ES field alone.

After withdrawing the applied resonant alternating field by which the orientation is produced, the disordered thermal equilibrium is produced again. The orientation may be maintained, however, if the dipolar substnace, while being orientated, be converted into a solid state the orientation being thus "frozen in", so to speak. This may be attained by solidifying an orientated gelatinizable dipolar substance or a gelatinizable liquid in which an orientated dipolar substance is dissolved, or by cooling an orientated dipolar substance below its melting point, or by evaporating the solvent in which an orientated solid dipolar substance has been dissolved. Such "freezing in" of an orientated substance in the said manner can only effected while maintaining the resonant EM alternating field alone, if the solidification takes place without change of temperature or concnetration, that is to say if during the solidification the alternating field and molecules do not come out of phase by change of the time lag. This is the case if the solidification be effected by gelatinization at constant temperature. When producing solidfication by cooling or evaporating of a solvent the orientation must be maintained by means of an electrostatic field since during the solidifying process the time lag of the molecules is changed. In the latter case the EM alternating field by which the orientation is produced may be withdrawn. The maintenance of an orientation proceeds especially well when particularly long-chained molecules (grerat time lag) are embedded in an amorphously solidifying melt. Mixtures of paraffin and wax or glycerine with wax or colophony were investigated in this way. The value of the mean surface density of the permanent orientation charge amounted for exmaple to 0.5 to 2.0 x 10^9 coulombs per square cm positive.

A substance have a frozen-in orientation of its molecules is more rich in energy than the same substance in natural thermal equilibrium. When "thawed" it gives up again this excess of energy, and, indeed, in the form of radiations of the same wavelength as those with which it was origianlly orientated. This behavior may be used in order to supply to animal bodies dosed amounts of energy of a natural frequency which is active in the organism, as for example by allowing an aqueous gelatin the natural frequency of the serum to solidify while orientated and then to incorporate it into the body in this form...

Complete Specification

This invention relates to a process for altering permanently as well as temporarily the energy content of dipolar substances by exposing them to rapidly oscillating EM fields.

By dipolar substances are meant, not only those that contain dipoles in the absence of an electric field, but also those in which dipoles are induced when the substance is exposed to a suitable electric field. Dipole is used in the sense familiar in connection with the well known work of Debye, as expounded (for example) in his book entitled "Polar Molecules" (1929).

It is known that the dielectric constant and certain associated properties of a dipolar substnace are changed when it is placed in an electric field. But such changes hitherto produced by electric fields have been transitory and have vanished with the field. This invention is not concerned with them except insofar as they are necessarily associated with permanent alterations; by a permanent alteration is meant one that endures for an appreciable period after the substance has ceased to be exposed to the electromagnetic field.

By an alteration in the energy content of a substance is meant one that does not consist solely in a change in the temperature of the substance or in a change enevitably consequent on change of temperature. On the other hand in the process known as diathermy the temperature of a substance which may be dipolar, is raised permanently (in the above sense) by exposure to a rapidly oscillating EM field. The object of the present invention, however, is not to produce a rise of temperature, although it may happen in certain isntances that the characteristic period or frequency of a dipolar substance may be such that a rise of temperature will inevitably occur in the course of the application of the process of the invention.

The process with which this invention is concerned depends on the fact that a dipoalr substance is characterized by one or more definite periods and frequencies, which will be termed its characteristic periods and frequencies. The chief of these characteristic periods and frequencies, as explained more fully below, are,

1. -- the relaxation time of the orientation of the dipoles when exposed to a varying electric field;

2. -- the period of natural oscilation relative to each other of the charges cosntituting a dipole;

3. differences of the terms ( in the spectroscopic sense ) characteristic of the atomic and molecular structure.

It has been found that permanent alteration of the energy content of a dipolar substance can be produced by exposing it to an EM field of sufficient intensity varying with a period or frequency substantially equal to one of these characteristic periods or frequencies.

The cahracteristic periods or frequencies  most important for the invention lie in the region of the spectrum corresponding ( in the conventional sense ) to wavelengths between 3 mm and 6 meters, but the use of periods of frequencies lying slightly outside these limits is not outside the invention. The region of the spectrum within which these periods or frequencies lie will be hereinafter termed quasi-optical. Special methods are necessary to obtain EM fields of sufficient intensity oscillating with these frequencies. They cannot be obtained by setting into osciilation combination of discrete condensers and self-inductances; for the dimensions of the condenser or coil required are so small, and consequently the volume in which a strong field is established is so small, that no sufficient amount of the substance can be instroduced into it. On the  other hand two methods have been found of obtaining the necessary fields over the necessary volume.

In one method conductors bounding  the space in which the substance is contained are set into natural oscillations in virtue of their distributed capacity and inductance, so that standing waves are set up within the race. Suitable conductors for the purpose are a pair of concentric tubes or a plate-resonator, as descried in the copending application consisting of opposed plated excited into their modes of natural vibration. A field produced in this method will be termed hereafter a "standing field".

In another method radiation of the appropriate frequency is concentrated into the space containing the substance by means of reflectors. A field produced by this method will be termed hereafter a "radiating field".

The term "concentrated field" will mean a field produced by either of these methods or by any other method which can produce fields of the same frequency and intensity.

According to the invention a process for altering permanently the energy content of dipolar substances comprises the step of exposing the substnace to a concentrated EM field oscillating with a quasi-optical period or frequency, such period or frequency being substantially equal to one of the characteristic periods of frequencies of the substance. It is to be understood that the oscillation of the field need not be sinusoidal, so that it has only a single period or frequency; it may be of any wave form so long as it contains at least one main component whose period or frequency is susbtantially equal to one of the said characteristic periods or frequencies.

The nature of the invention and the means for carrying it into effect will now be described in greater detail.

The Characteristic Peridods and Frequencies

The first step towards a better understanding of the nature and scope of the invention is a discussion of the characteristic periods and frequencies. Those denoted above by (1), (2), and (3) will be discussed in order.

(1) The orientation of dipoles expodes to a varying electric field is discussed at length in Chapters V and VI of Debye's book on "Polar Molecules" above-mentioned. The following statement is in principle a brief summary of his exposition.

The orientation of dipoles along the lines of force of an electrostatic field is opposed by irregular motion arising from random thermal agitation. If the field is steady, the perfection of the orientation finally attained, and therefore the value of the dielectric constant of the material, depends only on the temperature, the nature of the dipoles, and the intensity of the field. But if the field is varying rapidly, the dipoles will not follow its variations accurately, their motions being hindered by the mutual actions which give rise to the viscosity of the substance. The dielectric constant depends therefore on the relaxation time t, which measures roughly the time that completely orientated dipoles take to return to the completely unoriented state, under their thermal agitation, when the field is removed. The relaxation constant is given by

(1)     t = 4 pi a^3 n / KT



where a is the effective radius of the dipoles, n the viscosity. T the absolute temperature and K Boltzmann's constant.

The dependency of the relaxation time on the temperature T may already be pointed out now as, among others, it offers the possibility of transferring the place of anomalous dispersion into other ranges of wavelength.

The forces on which viscosity depends are dissipative and accordingly orientation under a rapidly varying field is accompanied by absorption of energy; the dielectric constant epsilon ( e ) for a  field of frequency v is therefore given by the formula:

(2)     e = n^2 ( i -- jk ) ^2


where n is the refractive index and k the absorption coefficient of the medium for EM waves of frequency v, and



In Figure A of the accompanying drawings, n2 and k are plotted against v, n2 being given by the full line and k by the dotted line ( k is here represented by ks ). As v increases, n2 decreases regularly and ke decreases as v increases, the decrease being particularly rapid in the neighborhood of the maximum of k between the limits v1v2.

This decrease of dielectric constant ( and of refraction index ) with increasing v is generally known as anomalous dispersion.

The shape of the curves in Figure A depend, of course, on the properties of the dipolar substance. In particular the scale along the axis of v depends on the relaxation time t. For, as Debye shows, both n2k, insofar as they vary with the frequency owing to the cause considered here, are functions of vt. Accordingly the value of v at which the maximum of k occurs is inversely proportional or reciprocal to tt is therefore a characeristic period, of the substance giving rise to a maximum of absorption for oscillations having a corresponding period.

(2) The periods of natural oscillation of the charges of a dipole give rise to a second kind of anomalous dispersion which is completely analogous to that familiar in optics. It arises of course from resonance. Figure B shows the course of n2 and k which arises from a natural oscillation of frequency vo ( k is here represented by kw ). Figure C shows the course when there are several natural frequencies v1, v2, v3. Figure D shows the course when a single natural frequency v0 falls in the range of anomalous dispersion of the kind shown in Figure A between the limits v1, v2.

The natural oscillations concerned here are of two main origins. (a) Oscillations in electronic polarization, that is to say, the displacement of electrons within the atom; (b) oscillations in atomic polarization, that is to say, the displacement of whole atoms within molecules or other permanent groups of atoms. As well-known, the frequencies of oscillation (a) are almost all in the optical region; they are important for the refractive index for visible and ultraviolet light, but have hardly any effect in determining the variation of the dielectric constant at the quasi-optical frequencies with which this invention is concerned. The charcteristic frequencies of the kind in the quasi-optical range are those of the atomic oscillation (b). These frequencies also determine maxima of absorption important for the present invention.

It will be observed that the region of anomalous dispersion is much narrower when a characteristic period of type (2) is involved than when a characteristic frequency of type (2) is involved. This may be one reason why type (2) has so far received less attention.

(3) The third kind of characteristic frequency cannot, like the two considered so far, be explained in terms of classical conception; it demands quantum conceptions. it is well known that the discrete energy states in which alone any system can exist are each associated with a "term"; that the transition from a state of higher energy to one of lower energy is accompanied by the emission of radiation whose frequency is the difference between these terms; and that, conversely, the system can be raised from a state of lower energy to one of higher energy by radiation having that frequency, the radiation being absorbed in the process. Accordingly a difference between terms is a frequency determining absorption and, if it lies in the quasi-optical region, is a characeristic frequency for the purpose of the invention.

Detection and Adjustment of Characeristic Periods or Frequencies

The process according to the invention consists in exposing a substance to a field of its characeristic period; and the efficiency of the process depends greatly on the exact adjustment of the period of the field to the characeristic period.

One useful means consists in examining the substance with polarized light (or other known means) and so determining the extent of its double-refraction when exposed to the field. Outside the range of anomalous dispersion associated with characteristic periods or frequencies of types (1) and 92), the double-refraction depends on the intensity of the field, but is almost independent of its frequency; but inside that range it varies with the frequency. Accordingly by varying the frequency of the field and observing where a variation of the double refraction occurs, the position of a characteristic period or frequency of the types (1) and 92) can be determined with great accuracy. The variations of the dielectric constant with the frequency can, of course, be used for the same purpose as indicated in Figures A and B.

When the characteristic periods or frequencies have been determined, the frequency of the field may be adjusted to them. In place of making an exact adjustment, the field may be roughly adjusted and then modulated with a lower frequency, so that the frequency of the field oscillates to and fro across the characteristic frequency.

Instead of adjusting the period or frequency of the field to the characteristic period or frequency of the substance, the latter may be adjusted to the former. Thus, according to (1) the relaxation time depends on the temperature; this characteristic period can therefore be adjusted to that of the field by varying the temperature. Changes in characeristic periods and frequencies can also be produced by altering the relative concentration of two components of a solution, or (particularly in the case of gases) by altering their pressure.

Subsidiary Processes

Many of the effects produced by a process according to the invention are probably due to the polarization of the dipoles, originally existing or induced, whereby they arrange themselves with their axis parallel to the field. Such polarization can also be produced by constant fields. But the constant fields required to produce those effects are often too large to be practicable. On the other hand, it has been found that there is often an advantage in superimposing a constant field on the field varying with the characteristic period or frequency. The presence of the varying field greatly reduces ( e.g. by a factor of 10 to 20 ) the constant field required to produce a given effect; and the constant field, if maintained after the varying field has been removed, will maintain the state of polarization set up by the combined field.

The state of polarization can be prserved in another way. If, after it has been set up, the viscosity of the medium is increased greatly, the dipoles will be unable to return to the disordered state by thermal agitation. Thus a liquid which has been polarized may be frozen, or a solvent containing the polarized substance may be gelatinized or removed by evaporation. This method of preserving a state of polarization will be termed generally "freezing". When a freezing operation is reversed, the state of polarization is destroyed and the energy characteristic of it liberated.

It must be understood that the process according to the invention includes exposing a substance to two or more fields each varying with a different characteristic period or frequency; the exposure to these fields may be simultaneous or successive. If it is successive, the time of exposure to the different fields may be controlled by time relays.

Again exposure to the varying field may be a continuous process, in whihc the substance is caused to flow, or otherwise to pass, through the field; in this way it may be exposed to fields of different strength at different points in its passage.

Application of the Process

A. Colloids

One of the most important applications of the process according to the invention is to the dispersion and coagulation of colloidal solutions. The effect of the polarization due to the field in promoting these changes is in most case connected with hydration of the dispersed particles and/or with changes of the hydrogen-ion concentration. The first effect of exposure to te field is usually an increase in dispersion; but a prolonged exposure may reverse this effect and produce coagulation.

Thus a certain colloidal solution of gold was found by the method described to have a characeristic period corresponding to a wavelength of 18.5 cm. A layer of 1 mm thick was exposed at a temperature of 20* C to a standing field fed by valves giving an output of 0.1 watt. After one hour the original red colour had changed to orange, indicating an increased dispersion; after 2 hours the effect had been reversed and further exposure produced coagulation.

Again an agar-agar gel with a characteristic period corresponding to a wavelength of 116 cm was exposed to a field supplied by a generator yielding 10 watts. After 10 minutes the mobility of the gel had increased; but after several hours the effect was reversed and the gel had become more viscous.

B. Preservation of Organic Materials

The first stage in the ageing of an organic material is usually a coagulation of a colloid. Accordingly by the process according to the invention ageing may be prevented or even reversed, so that the product is reversed. For the reason just explained, it is necessary to adjust the time of exposure suitably; it has been found that a discontinuous process, in which the substance is alternately exposed and not exposed, is generally more effective than continuous exposure to a field of lesser intensity.

Thus, 2 liters of cow's milk, 3 hours old, was exposed for 2 minutes to fields of each of five frequencies. The wave lengths lambda and the power N of these fields were: -- lambda1 = 455 cm, N1 = 230 watts ; lambda2 = 283, N2 = 160 ; lambda3 = 355, N3 = 160 ; lambda4 = 163, N4 = 23 ; V5 = 27.5 ; N = 0.6. The temperature was originally 20* C and rose to 23 * C. The milk so treated kept fresh for 28 days and could be preserved still longer by exposing it for 5 minutes in each hour to a field of the above wavelength with a total energy of 3.2 watts.

Again 2.5 kg of veal, 36 hours old, was treated for 3 minutes with a field given ( as above by: -- lambda1 = 468 cm, N1 = 250 watts, lambda2 = 362, N2 = 150, lambda3 = 184, N3 = 10, lambda4 = 92.5, N4 = 3. The temperature rose from 20* C to 24.5* C. The meat remained fresh for 2 weeks and could be kept still longer by exposing it for 5 minutes in each hour to these wavelengths with a total power of 3 watts.

Again, 2 liters of apple juice was exposed for 1-1/2 minutes to a fiield given by: -- lambda1 = 475 cm, N1 = 200 watts, lambda2 = 354, N2 = 150; lambda3 = 145, N3 = 15; lambda = 45, N4 = 1.2. The temperature rose from 22* C to 24.5* C. The juice showed no sign of fermentation ater beign kept 4 months in a covered jar.

C. Action on Living Organisms

The process according to the invention can also be applied to organic materials while they still form part of the living organism. Thus animal sera possess characteristic periods and frequencies, which vary with the nature and source of the sera. One of these corresponds approximately to a wavelength of 90 cm; between this frequency and the highest (which is characteristic of water and corresponds to 1.28 cm ) are a large number of characteristic frequencies which vary even in the same serum with the state of the animals. The determination of these characteristic freqencies may therefore have a high value in diagnosis or other examination of the state of the animal. In determining them too great an exposure to the field must be avoided, for grave injury may thereby be inflicted.

But if the exposure is suitably regulated, beneficial effects may result from the field, especially in the direction of increased vitality, such as stimulation of cell-division. Thus growth may be promoted. Bean seeds, previously swollen, were exposed for 30 seconds at a temperature of 35* C to fields with frequencies corresponding to 28 cm and 87 cm, the total output of the generator being 1.5 watts. After four weeks such seeds have grown twice as much as similar untreated seeds.

Fermentation and other process due to bacteria can also be promoted. The frequencies of the field used may be those characeristic either of the bacteria themselves or of substances in the medium containing the bacteria which effect their activity.

The growth of crystals, as well as of organisms, can be stimulated by the process according to the invention, if the mother liquor is exposed to a varying field of suitable frequency during crystalization. Of course it is not implied that the cause which promotes inorganic growth is preceisely the same as that which promotes the organic growth.

D. Storage of Energy

Electrets, that is to say, permanently polarized dielectrics ( the electrical analogues of permanent magnets ) can be made by subjecting a melted dielectric to the process according to the invention and then allowing it to solidify. Electrets produced by other process are, of course, already known. Thus a mixture of 100 gr glycerine, 50 gr beeswax, 550 gr montan wax and 400 gr pine resin was melted at 110* C and a layer 8 mm thick exposed for 10 minutes to a varying field fed by a generator giving 22.5 watts at a frequency correpsonding to a wavelength of from 145 to 185 cm on which was superimposed a constant field arising from a potential difference of 12,000 volts between plates 10-20 mm distant. The temperature was lowered to 20* C within 3 minutes. Permanent surface charges of the resulting plate up to 2 x 10^-9 coulomb/cm^2 were obtained.

Substances thus endowed with energy from polarization can be used to supply animals with energy in an effective form. For when the substances are melted or otherwise "unfrozen" in or on the body of the animal, the energy stored is liberated. Medicaments already known may thus be rendered more effective.

Thus a medical plaster was made by adding 6 gr of euphorbium powder to a melt containing 64 gr of turpentine, and spreading the mixture on a silk cloth. While the mixture was melted at 85* C it was exposed for 5 minutes to a field of frequency corresponding to a wavelength of 235 cm on which was superimposed a constant field arising from a potential difference of 8500 volts. it was then cooled within 2 minutes to 15* C. The resulting surface charge was 0.7 x 10^-9 coulomb/cm^2.

Medicaments for internal use can be prepared in the same way. Thus disinfecting pastileles consisting of beeswax and gums together with the usual drugs were exposed for 10 minnutes in layers 5 mm thick at a temperature of 55* C to a field given (as above) by lambda1 = 312 cm, N1 = 150 watts; lambda2 = 145, N2 = 25 watts, on which was superimposed a constant field arising from a potential difference of 12,000 volts. After cooling to 15* C within two minutes the resulting surface charge was about 10^-9 coulomb/cm^2.

Again photographic plates, endowed with permanent polarization by subjecting them to a process according to the invention during preparation, may have an increased sensitivity, especially in the red and infrared.

Dielectrics with permanent polarization charge have a greater dielectric strength in consequence of their anisotropic inner structure if stressed in the direction of the dipole axes subjected to orientation.

E. Chemical Reactions

The changes consdiered so far might be classed as physical rather than chemcial; but if sufficiently strong fields are employed, the process according to the invention can induce definite chemical reactions.

Thus the process can produce changes in the mutual relations of the atoms in a molecule of the kind known as tautomeric. It can promote reactions which are of the nature of polymerization. Thus the process will accelerate the drying of lacquers and varnishes, the consolidation of styrol, the change of Bakelite A and B into C, and of isoprene into rubber. Rubber can be vulcanized with no more than a trace of sulfur. In the manufacture of artificial silk the increase of viscosity that occurs as the material leaves the spinning nozzle can be stabilized so as to make the finished product highly resistant to wear.

The process can produce other reactions that usually require a catalyst; for instance acetylene and steam in the presence of ozone react to form acetic acid, with acetaldehyde as an intermediate product. For such reactions the most effective frequencies usually lie in the range corresponding to wavelengths of 2.5 - 3.5, 8.6 - 9.5, 26.5 - 30.5 cm. These characteristic frequencies are probably of type (3), being term differences.

If, while a reaction of the kind last mentioned is proceeding under the influence of a varying field having a characteristic frequency, a strong constant field is superimposed on the varying field, the energy set free in the reaction may appear in the form of radiation having a characeristic frequency of type (3). A chemical reaction can thereby be used to generate quasi-optical radiation, which can be detected and used in any suitbale manner. Reactions between substnaces having great natural affinity, e.g., hydrogen, chlorine, phosphorus, arsenic, are favorable to this phenomenon. The radiation emitted may be that associated with the term differences of hydrogen, which correpsond to wavelengths of 2.74, 9.25 and 27.75. If there are two or more adjacent term-differences characteristic of the substances, a band spectrum may be emitted. Also, in accordance with known principles, radiation of lower frequency that that corresponding to the term difference may appear.

In the examples given above the particular figures stated in respect of the various quantities such as wavelength are believed to be optimum values for the individual cases. Clearly the beneficial results obtained must at least to a certain extent vary with the initial conditions of the substances, particularly biological substances, which are treated.

Having now particularly described and ascertained the nature of my said invention and in what manner the same is to be performed, I declare that what I claim is: -- [ Claims not included here ]












GB417564

[ PDF ]

Improvements in devices for generating electromagnetic fields oscillating with quasi-optical frequencies
 
1934-09-29
Inventor(s): James Y. Johnson
Applicant(s):     TERNION AG
Classification:  - international:     H03L7/26; H03L7/26 - European: H03L7/26

Abstract
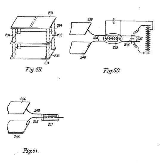
-- Electromagnetic fields of quasi-optical frequencies are generated in the space between two oppositely-placed electrodes which are excited at one or more of their natural frequencies by an external high-frequency source. The electrodes are the seat of electromagnetic waves, after the manner of Lecher wires, but in two dimensions instead of one. The apparatus is applied for various purposes, including the chemical, physical, and biological processes referred to in Specification 417,501. The distribution of electric stress in the dielectric may be made visible by a polarized-light projection system. Fig. 1 shows a resonator comprising parallel circular plates 1, 2 excited by high-frequency voltages applied by the conductors 3, 4. The plates may be of square or rectangular form, and may be inclined to each other. One or both may be concave or convex on its inner surface. Current and voltage waves are propagated along the plates in the same manner as along Lecher wires. With circular plates excited at their centres and with their rims free, the fundamental oscillation gives a voltage peak and a current node at the rim. If the rims are short-circuited by added capacity, as for instance by inserting the resonator in a metal cylinder 9, Fig. 24, the voltage peak and current node are at the centre. The plates also resonate at higher frequencies, with nodal diameters and nodal concentric circles. With rectangular plates, nodal lines parallel or oblique to the edges are created. The positions of the nodal lines may be predetermined by metal blocks 10, Fig. 24, fixed to the external cylinder 9, or to one of the plates 1, 2. The plates may be of good conducting metal, or of poorly-conductive metal with or without a coating of good conductivity;  or the plates may be in the form of containers filled with an electrolyte. The plates may be light-permeable, consisting of glass with a very thin coating of precious metal on their inner or outer faces. One or both plates may also be in the form of wire grids stretched across rings of insulating material and electro-plated with copper or silver to provide good conductivity where the wires cross. The resonator plates are excited by separate generators of damped or undamped waves. Fig. 25 shows a valve generator 54 with Lecher-wire output circuit 45, 46 tuned by a condenser bridge 53, and with the resonator 51, 52 loosely coupled thereto by two air gaps between small spheres 47--50. The coupling condensers may take the form of a ball and ring, or of small parallel plates at adjustable distance. The couplings may be slidable along the wires 45, 46, and along the resonator plates. The Lecher wires may be in the form of a wire and concentric tube, and they may be provided with knot extremities for coupling to the edge of the resonator plates. By inserting the Lecher wires between the resonator plates, an inductive coupling may be provided. In Fig. 32, the concentric-tube Lecher system 99 is adjusted in length by a trombone slide 108 and is tuned by reflection bridges 102, 103 placed in the divided branches 100, 100. The coupling conductors 104, 105 of the resonator 106, 107 project into the interior of the conduits. When liquid to be treated is contained in a glass envelope 128, Fig. 40, placed between the plates 120, 121 of the resonator, the dielectric is composed of layers of air glass and liquid. The Specification discusses the effect of the composite dielectric on the natural frequencies and the damping of the resonator. The distribution of electric stress in the liquid may be rendered visible by the apparatus of Fig. 40. The resonator plates are coupled by rods 122, 123 to Lecher wires 124, 125 fed by a valve generator 126. Temperature may be regulated by heating-coils 129 within the casing 130. Light from a source 137 which may be a mercury vapour lamp is projected through lens 131 , polarizing-prism 133, mica plates 135 and lens 132 , and after passage through the treated liquid 128 emerges through similar devices to the screen 138, giving thereon a picture of the field distribution within the resonator. If the exciting oscillation is modulated, a complex varying pattern is produced. Glass or liquid lenses 142, 143, Fig. 41, may be arranged between the container 144 for the liquid under treatment and the resonator plates 140, 141. If convex as shown the lenses tend to equalize the field over the whole area whilst concave lenses concentrate the field in the centre. The lenses may be attached to the container 144 or the plates 140, 141. The resonator may be housed in a double-walled cylindrical casing with external knobs and dials for screw adjustment of the plate gap. Heating coils and coils for spraying cooling liquids into the casing are provided. Lecher wires of the concentric type are led through the container walls to excite the resonator, and high tension may be applied through chokes. The resonator plates may take the form of shelves 231--233, Fig. 49, separated by insulating posts 234, the material to be treated, for example foodstuffs, being placed upon the shelves. Energy may be led to the shelves by Lecher wire systems terminating in knobs adjacent to the edges of the shelves.

[ Nomographs :--  Figure 9 ... Figure 10 ... Figure 37 ... Figure 39 ... ]