rexresearch.com

George SQUIER
T
ree Antenna

General George O. Squier

Scientific American ( July 14, 1919, p. 624 ) ~

"With Trees For Ears"

A Wireless Station Within the Reach of Everybody

With a pair of receives to his ears, an amazed visitor to a certain radio station heard a high-toned hum which changed to a low growl, then skied to the upper reaches of the musical scale in a

faint, very faint buzz, as if some microscopic mosquito had had his song made audible. The operator rapidly rapidly turning the knobs on his couplers and condensers, raised his hand: suddenly, through the changing radio signals which were clamoring for attention together in the receivers came his voice; "There --- the loud, easily heard one is New Brunswick; the fainter, lower one is Nauen, in Germany".

If all this had taken place in the great Arlington station one would not have wondered, save perhaps at the inability to tune out all radio but Nauen. But it was a little portable house erected in thick woods near the edge of the District of Columbia and the signals were received through an oak tree for an antenna.

It is not a joke nor a scientific curiosity, this strange discovery of Gen. George O. Squire, Chief Signal Officer, that trees --- all trees, of all kinds and all heights, growing anywhere --- are nature's own wireless towers and antenna combined. The matter first came to his attention in 1904, through the use of trees as grounds for Army buzzer and telegraph and telephone sets, which, in perfectly dry ground and in a dry season, functioned poorly or not at all with ordinary grounds. Right then he began experiments with a view to seeing what possibilities, if any, the tree had as an aerial. But in 1904 radiotelegraphy was far more undeveloped than at present, and vacuum amplifying tubes were not thought of.

During the war the Signal Corps established a chain of special receiving stations in different localities to copy and record enemy and allied radio messages. Some of those stations were instructed to test the efficiency of growing trees as receiving antennae.

With the remarkably sensitive amplifiers now available, it was not only possible to receive signals from all the principle European stations through a tree, but it has developed beyond a theory and to a fact that a tree is as good as any man-made aerial, regardless of the size or extent of the latter, and better in the respect that it brings to the operator's ears far less static interference.

This is a rather broad statement, yet there beyond the Capital of the nation stands a little portable house, the oak tree, a small receiving set and a couple of enlisted men and an officer on duty; and the curious may, with permission, hear for themselves that the signals so received are neither faint not interrupted, but strong, full-toned dots and sashes even when they come from far-off Nauen. Page after page is copied daily from the propaganda material which Nauen sends out by the ream. Lyons, Poldhu, ships at sea, even the NC-4 on her way, are heard plainly. As for New Brunswick or nearby Arlington --- they deafen the listener if he is unwise enough to try to "take" them otherwise than with the phones lying on the tables.

It will puzzle the amateur as it has puzzled the experts, how a tree, which is certainly well grounded, can also be an insulated aerial. The method of getting the disturbances in potential from treetop to instrument is so simple as to be almost laughable. One climbs a tree to two-thirds of its height, drives a nail a couple of inches into the tree, hangs a wire therefrom, and attaches the wire to the receiving apparatus as if it were a regular lead-in from a lofty copper or aluminum aerial. Apparently some of the etheric disturbances passing from treetop to ground through the tree are diverted through the wire --- and the thermionic tube most efficiently does the rest.

It is interesting to learn that the tree behaves very much like any other aerial; it receives better in dry clear weather than in muggy, damp weather. It plucks messages from the ether more clearly at night than in the day. It is affected very little by rain. It is affected not at all by the presence of other trees; so far as has yet been ascertained it makes little difference whether one drives his nail in a tree in the forest or a lone tree on the plain. Certainly it makes no difference that amounts to anything whether the tree be just an ordinary tree or a giant; it was a 60-foot oak over which the very awe-struck correspondent heard Nauen telling a waiting world what good people the Germans really are. And to prove that it made no particular difference what kind of tree was used the officer in charge switched to a pine tree, which received equally well.

A dead tree will not do, and a tree not in leaf is not so sensitive as one in full foliage. It makes much difference where the nail is driven. General Squier calls the proper place the optimum point, and experimentally it has been determined that two-thirds of the distance from ground to top is the best place -- in a 60-foot tree, 40 feet from the ground.

One nail is sufficient, and it may be any kind of nail; but copper is preferred as not rusting. In practice, if a tree station is to be at all permanent, several nails would be driven and connected to the same wire, each additional nail up to 6 or 8 making the diverted current a little stronger. But 40 nails apparently produce no clearer signals than half a dozen.

The tree may serve as a receiving station for several sets, either connected in series with the same material or from separate terminals.

Some skeptics have expressed the belief that it was not the tree, but the wire leading to the nail in the tree which was the real aerial. The absurdity of thinking a 40-foot wire could receive the widely differing wave lengths which come through the tree station is obvious, but to set any doubt at rest, the wire to the tree has been hung to the nail by means of an insulator, when the signals immediately cease, only to come in as strong as ever just as soon as the connection is again established.

Just what will the tree do as a transmitting station for radio telegraphic messages has not been determined in the Signal Corps Experimental Laboratory. As those in charge express it, "The fact has been demonstrated, but the matter is still in laboratory stage only. What remains to be done now is to develop the best methods of using the demonstrated fact".

But it has already been shown that the tree can be used in wireless telephony and for short distances it has been shown that two-way telephonic communications is easily established through trees with remarkably low values of transmitting antenna current.

If a tree may be used to send wireless telephonic waves it seems not unreasonable to suppose that it will do so as easily with the telegraphic waves. At present the Signal Corps is at work on apparatus to test the possibilities of the tree as a transmitting station.

Just what this development of the art of radio telegraphy may mean has not yet been worked out. It is the history of most discoveries that their potentialities are hardly dreamed of when they are first made --- for instance the telephone, the electromagnet, the vacuum tube amplifier. But it seems fairly obvious that in war, at least, the tree receiving station opens up great possibilities.

True enough there are few trees which remain intact under shell fire, and doubtless with this possibility in mind the armies of the future (if there be such) will in action consider all trees as dangerous enemy aerial stations. But there will always be trees behind the lines and not all actions will be fought on bare ground. What would it have meant to the "lost battalion" to have had a tree wireless set along by which it could have heard that every effort was being made to find and relieve it, or by which it might have sent back messages supplementing that carried by the pigeon?

The greatest development, however, of the tree as the foundation for a receiving and possibly a sending station will come in peace uses. General Squier has written:

"In view of what has been accomplished in space telegraphy, it is difficult to predict to what extent this means of communication may ultimately be developed. If, as indicated in these experiments, the earth's surface is already generously provided with efficient antennae, which we have but to utilize for such communication, even over short distances, it is a fascinating thought to dwell upon in connection with the future development of the transmission of intelligence.

"Since a transmitting station is a central point for electromagnetc waves sent out in all directions over the surface of the earth, a large class of information, such as meteorological reports, crop reports, and general news items of interest to all, may in time be sent from central points, to be received in many places within the radius of influence of the signal station, and this, too, by the simplest form of apparatus."

The amateur wireless world will unquestionably take an intense interest in the tree radio work. At present, while the government has lifted the ban upon amateur aerials, it has not removed the structures against sending.

The aerial is always the greatest problem for the amateur. Lack of both money and material prevents him from erecting anything very large or of very great capacity. If any lad with a receiving set and some thermionic tubes can hook to a tree and take in any wavelength he can tune to, will not tree radio vastly increase the devotees of this particular variety of indoor sport? The matter is one of some importance, inasmuch as many valuable recruits to the radio world have come from amateur ranks, and many a radio engineer had got his first taste for the fascinating art through a homemade tuning coil and detector, under the attic roof. The greater the amateur wireless world, the quicker the development of the art as a whole.

Explorers, discoverers, engineers in far places, the forest service, the woodsman, all have use for the new development. Moreover the tree as an antenna offers unusual possibilities for the investigation of atmospheric phenomena and for what may be called the physics of botany (or the botany of physics) and perhaps is the road by which the unsolved puzzle of growth may be studied.

Meanwhile, it is a thought not without great power to move the sensitive imagination that every tree, growing everywhere, is a wireless tower and antenna and that, as General Squier says, "It is significant that a tree, possessing utility and natural strength, architectural beauty of design and endurance far superior to artificial structures prepared by man, should be able yet further to minister to his needs".


Electrical Experimenter ( July 1919 ), p. 204

Talking Through The Trees

by

Major-General George O. Squier

(Chief Signal Officer, US Army)

How Transatlantic Radio messages Are Copied Via Tree Antenna

As long ago as 1904, the author conducted some experiments with a view to utilizing growing trees as antennae for radio-telegraphy and discovered the efficacy, in a general way, of using a direct metallic contact to certain trees (principally Eucalyptus) to increase the audibility of radio signals. My attention was first called to this phenomenon during the course of summer maneuvers of the Army at Camp Atascadero, CA, where, due to the prevalence of the dry season of the soil, it was found that the regular Army buzzer telephone and telegraph sets were inoperative with any ordinary ground or earth but became operative when connected to a metallic nail driven in the trunk or roots of a live tree. This incident led the author to pursue the subject experimentally in the autumn of 1904 continuing the experiments to the range of frequencies than employed in radio-telegraphy.

Tree Antennae

In connection with the organization and development of Transatlantic radio reception, which was carried out during the period of the war to provide against the possibility of the interruption of the submarine cable system, the Signal Corps established a chain of special receiving stations in different parts of the United States to copy and record enemy and Allied radio messages from European stations for the information of our Army General Staff.

In the prosecution of this work, directions were given to the Signal Corps Laboratory at Camp Alfred Vail, Little Silver, NJ, and also to the experimental staff in Washington to test the efficiency of growing trees as receiving antenna, in connection with this service, using the vastly superior technique and facilities now represented in the radio Art as compared with the crude apparatus with which the discovery was made in 1904. With a collection of apparatus representing the most advanced state of the radio Art, the problem, as a war measure, was attacked anew and has now reached a point where a very brief outline of some of the physical results obtained should be presented in the interests of the development of the Art in general. Since the phenomena involved embrace a variety of physical problems rather than strictly engineering ones, these data are presented in the hope that our scientists may see in the experiments some points of departure for further research.

It was immediately discovered that with the sensitive amplifiers now in use it was possible to receive signals from the principal European stations by simply laying a small wire netting on the ground beneath the tree and connecting an insulated wire to a nail driven in the tree well within the outline of the tree top. See Figure 1. Messages having been received from England, France, Germany and Italy.

This encouraging first result justified a more careful examination of the phenomena and the most suitable arrangement of circuits for the purpose.

And Now For the Floraphone

The messages carried over this tree telephone and telegram system have been named by the writer. They are to be ‘floragrams’. The tree telephone is to be a ‘floraphone’; the tree telegraph a ‘floragraph’.

The discovery is now announced after experiments covering 15 years, beginning in California and continuing intermittently until the outbreak of the war, when they went forward with vigor as an emergency means of communication. The system was utilized during the war in listening-in on the German radio communication.

The final development took place in a small portable laboratory, purchased from a mail order house, capable of being carried to any place in the woods. A group of soldiers, taking turns at copying messages, assisted the writer in the development of the apparatus.

Without entering into the details of these preliminary experiments here it may be said that one fo the best receiving arrangements is found to be an elevated tree earth-terminal in the upper part of the tree top, and an earth consisting practically of several short pieces of insulated wire, sealed at the outer end, radiating out from a common center, and buried a few inches beneath the surface of the ground in the neighborhood of the tree. See Figure 2.

It was soon found that a tree-antenna could be used efficiently as a multiple radio receiving set over widely different wavelengths, see Figure 3A, receiving either from separate terminals at the same (shown dotted in Figure 3A) or different heights of the tree, or in series from the same terminal. See Figure 3B.

This same type of circuit was employed in an inverse manner for radio-telephonic transmitting purposes, although the experiments thus far have been limited to short distances. It was found that 2-way radio-telephonic communication was easily established with remarkably low values of transmitting antenna current. See diagram of this test illustrated at Figure 4.

The flexibility of this arrangement is very striking. The linking up of wire and wireless methods was found to be both convenient and efficient. Radio-telephonic messages from airplanes were readily received by the tree-antenna arrangement and transferred thence to the wire system of the city of Washington and finally received at any point desired.

Furthermore, radio-telephonic transmission through the tree-antenna was received by another tree-antenna, and automatically returned to the sender on a wire system, thus making a complete circuit. Illustrated at Figure 6.

Long distance reception on any wave length from all the larger European stations and from our ships at sea was easily accomplished and traffic copied on a 24 hour schedule by the regular enlisted operators of the Signal Corps. A small portable house serving as a field laboratory was erected in the midst of the forest area on Grant Road, Washington DC, and here was assembled a collection of amplifiers from the Army, navy, the British and French, and American manufacturers. With these facilities it was a matter of a few days to test out, at least in a superficial manner, a large number of proposed arrangements using trees as antenna.

Figure 7 shows how a number of trees can be connected up to give the effect of one large antenna.

In France officers of the Signal Corps, by the simple device of driving a spike into a tree-trunk to which connect the audion set which wireless operators use to make up wireless messages, it was found possible to listen in on communications between German airplanes and the German lines. Messages were thus intercepted in spots into which it would have been impossible to transport a field wireless apparatus. See Figure 8.

The Physics of Tree Wireless

We may regard the metallic electrode rigidly driven into the living organism of a tree, as described above, as a potential earth-terminal for the study of the potential distribution on the surface of the earth itself. It has been shown in these experiments that this metallic terminal intimately connected to the earth itself and a part thereof is subject to changes of potential representing the innumerable frequencies required by modern radio-telephony and telegraphy, as well as any other electrical disturbances which may occur on the surface of the earth or the atmosphere above the earth.

It has also been shown, as expected, that we can select from this composite one or more of the different frequencies by tuned electrical loop circuits suitably connected to this electrode and study each in turn, at will, just as color screens can select a particular component of white light. We may, indeed, by means of a highly insulated conductor bring this terminal directly to the laboratory and connect it immediately to the modern thermionic tube and amplify almost at will the particular effects we are studying…

We can consider that trees have been pieces of electrical apparatus from their beginning and with their manifold chains of living cells are absorbers, conductors and radiators of the long electromagnetic waves as used in the radio Art.

For our present purpose we may consider, therefore, a growing tree as a higly organized piece of living earth, to be used in the same manner as we now use the earth as a universal conductor for telephony and telegraphy and other electrical purposes…



British Patent Specification # 149,917

Improvements in & Relating to Radio Communication Systems

George O. Squier

This invention relates to radio communication systems. More particularly, the invention relates to radio transmission and reception through the use of living vegetable organisms such as trees, plants, and the like.

As disclosed in the Specification of my prior Letters Patent No. 25,610 (1904), I have discovered heretofore that tall trees and like growing vegetation possessed electrical conductivity of a certain nature adapted for the reception of signaling electromagnetic waves and capable of forming a part of an antenna or serial with the use of a direct earth "ground" or equivalent point of connection with the tree, in the potential node region.

I have recently discovered that living vegetable organisms generally are adapted for transmission and reception of radio or high frequency oscillations, whether damped or undamped, with the use of a suitable counterpoise. I have further discovered that such living organisms are adapted for respectively transmitting or receiving a plurality of separate trains of radio or high frequency oscillations simultaneously, in the communication of either or both telephonic or telegraphic messages.

In such use of an antenna comprising living vegetable organism and a counterpoise, I have discovered that optimum results are obtained upon arranging the point of connection of the transmitting or the receiving set within a certain range of the tree, or other living vegetable organism; for trees indigenous in the temperate zones, I have discovered that such optimum point of connection is in a region approximately two-thirds of the height of the tree above the exposed surface of the earth.

In accordance with my invention for receiving radio trains of telephonic or telegraphic high frequency oscillations, a plurality of receiving sets attuned respectively to any desired frequency, may be connected by the same leading-in wire to the same tree, whereby such tree serves as the common receiving antenna for the respective individual receiving sets; and, similarly, for transmitting radio trains of telephonic or telegraphic high frequency oscillations, a plurality of transmitting sets respectively resonant to any desired frequency may be connected by a common lead-in wire to the same tree serving as the common antenna.

In the more preferred forms of my invention, I have devised suitable means for selective directional reception of radio oscillations of any desired definite frequency, by the use of a coil having the turns of its windings disposed in substantial parallelism and mounted to be rotated in a horizontal plane, whereby the received oscillations are restricted to the direction coincident with or parallel to a plane lying normal to any plane passing through any turn of the windings of the coil.

The counterpoise comprises preferably a suitable extent of conductor in the form of one or more lengths of wire disposed below the surface of the earth and suitable insulated therefrom; it is desirable to arrange a number of individual counterpoises, each extending rectilinearly in different directions to one another and to employ in directional selection the particular counterpoise extending substantially in the selected direction.

Further features and objects of the invention will be more fully understood from the following description and the accompanying drawings, in which:

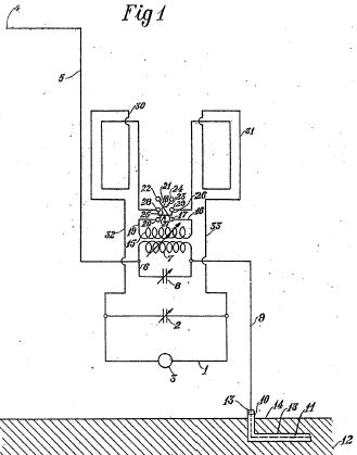
Figure 1 is a diagrammatic vertical elevation of a preferred form of the invention;

Figure 2 is a diagrammatic view of one preferred form of an arrangement of receiving sets, embodying my invention; and

Figure 3 is a diagrammatic view of a preferred form of an arrangement of transmission sets embodying my invention.

Referring to Figure 1, the circuit designated 1 represents any approved form of resonant receiving circuit comprising the variable condenser 2, and detector, rectifier or amplifier 3, arranged with a telephone or any suitable recording device in the usual manner. Such attuned receiving circuit 1 is suitably coupled through transformer windings or otherwise with proper regulatable reactance with the tree or other living vegetable organism and in Figure 1 I have indicated the location 4 as representing the location of a metallic nail, or equivalent, affixed to and extending within the body of such tree. I have discovered that optimum results for any particular tree are dependent upon the physical contour of the space occupied by the branches and leaves as well as the subterranean portions of the tree such as the roots and that generally the optimum results are attained by affixing the nail 4 within the region of the tree substantially two-thirds of the height of the tree above the surface of the earth.

To such nail 4 is connected one end of the lead-in wire 5, preferably enclosed in suitable insulation, and connected at its other end with the resonant circuit 6 comprising the adjustable inductance coil 7 and the adjustable condenser 8. The lead 9 connects the circuit 6 with the counterpoise 10, preferably comprising one or more metallic wires, 11, extending substantially rectilinearly and electrically insulated from the earth 12 by means of suitable insulation 13, as by enclosing such wire or wires 11 within a suitable insulating coating. Such coating 13 extends preferably an appreciable distance above the surface 14 of the earth 12. In the use of my invention with living antennae, I have arranged the counterpoise 10-13 extending in the rectilinear direction substantially parallel to the plane passing through the transmitting station, the receiving station and the center of the earth. It is advantageous to arrange a plurality of individual counterpoises 10 radiating in different rectilinear directions, with a suitable switching device for connecting the lead 9 with the particular counterpoise parallel to or most closely parallel to the selected direction.

Such coil 7 is preferably a primary coil suitably spacially coupled with an adjustable secondary coil 15 connected in the circuit comprising the variable condenser 2 and 3. In the specific form of the invention shown in Figure 1, such secondary coil 15 is provided with the lead wire 16 connected to the terminal 17 of the reversing switch 18 (shown diagrammatically) the other end of the secondary coil 15 being connected by the cross wire 20 of the reversing switch 18. Such terminal 17 is connected by the cross wire 21 with the terminal 24. The pivoted knife blades 25, 26, having the handle 27, are mounted in the usual manner on the central terminals 28, 29. The coil 30 represents diagrammatically a coil comprising a desired number of windings or successive turns of exposed or insulation covered wire, each turn lying substantially in a common vertical plane and the coil indicated at 31 represents a similar plurality of turns of windings mounted in substantially a common vertical plane. One terminal of the coil 30 is connected with one of the central terminals of the reversing switch 18, say terminal 28, and one terminal of the coil 31 is connected with the other central terminal 29, of the reversing switch 18. The other terminal of the coil 30 is connected by the wire 32 with the leads of the variable condenser 2 in shunt with the detector or amplifier 3, while the other terminal of the coil 31 is connected by the wire 33 to the opposite lead of the variable condenser 2 and the detector or amplifier 3.

Such set of coils 30, 31 are suitably mounted to be rotated horizontally, whereby all turns of the coils 30, 31, at any given position lie substantially in a common vertical plane. Such coils 30, 31 may be arranged on a common wooden or like insulating frame of cylindrical, rectangular or other desired contour on cross section.

By virtue of such an arrangement, the primary and secondary circuits are respectively directly exposed to and simultaneously electromagnetically acted upon by the incoming oscillations, and by means of the reversing switch 18 the oscillations generated in the coil 30 may be neutralized or accumulated relatively to the oscillation generated in the coil 31 to produce either the "barrage" or the "amplifying" effect.

By means of such "barrage" effect, the oscillations of any given wavelength directed in any absolute direction are cut out from the detector or amplifying circuit and enable oscillations of similar or the same wave length received in any definite direction to be conducted to the detector or amplifying circuit. By means of such accumulating effect of the coils 30, 31, and the switch 18, the waves of any definite wavelength received in any definite absolute direction are amplified and enable long distance reception at any wave length.

In practice, I have carried out the invention for reception by the use of either a single receiving set or a plurality of receiving sets. Such receiving set or sets may be arranged either to receive damped high frequency oscillations or undamped high frequency oscillations.

In Figure 2 I have illustrated diagrammatically one form of the application of the invention for the simultaneous reception of a plurality of different trains of high frequency oscillations.

The nail 4 is indicated as located in electrical connection with the tree 35 at an optimum point 36, the lead-in wire 37 being connected at its upper end with the nail 4 and at its lower end with the incoming connector bar 38. The connector 38 is provided with the individual switches 39-40-41, etc., corresponding to the number of individual receiving sets. The outgoing connector bar 42 is connected by the lead 43 with the counterpoise 10, preferably constructed and arranged as set forth hereinabove.

In suitable relation with the incoming connector bar 38 and outgoing connector bar 42 and the switches 39, 40, 41 are arranged the respective primary coils 44, 45, 46, etc., respectively coupled in any approved arrangement with the secondary coils 47, 48, 49.

The receiving set 50 is arranged for the reception of undamped waves and is shown of the vacuum tube valve type. The terminals of the secondary 47 are suitably connected in the input circuit including the filament cathode 51 of the vacuum valve 52 and the grid 53 and comprises the variable condenser 54 in shunt with the secondary 47, the condenser 55 and the grid leak resistance 56. The output circuit comprises the battery 58, the filament cathode 51, and the telephone receiver or other audible, or any visual indicator 57. The heating circuit of the filament cathode includes the battery 60 and the variable resistance 61.

The receiving set 62 is shown of a similar undamped oscillation receiving type and like elements are designated by like reference numbers.

The receiving set 63 is indicated of the damped oscillation receiving type and comprises the additional inductance turns 64 having one terminal connected to one terminal of the filament cathode 51 and its other terminal connected to the variable condenser 65 in shunt with the telephone receiver 57 and the storage battery 58. The remaining elements of the receiving set 63 correspond to like elements of the receiving set 50 and are designated by like reference numbers.

In Figure 2 I have shown the switch 39 in closed position with the primary inductance 44 of the receiving set 50, the switch 40 in closed position with the primary inductance 45 of the receiving set 63 and the switch 41 in open position with the primary inductance 46 of the receiving set 62, and accordingly enabling the reception and detection of undamped oscillations of the frequency to which the receiving set 50 is tuned and simultaneously the reception and detection of damped oscillations of the frequency to which the receiving set 53 is tuned.

Figure 3 shows one form of practical application of my invention for transmitting simultaneously radio oscillations, either telephonic or telegraphic, either damped or undamped, or both. The nail 4, lodged at an optimum point 36 in the tree 35, is connected by the lead 70 to the connector bar 71, and the counterpoise 10 is connected by the lead 72 to the connector bar 73.

The transmitting sets 74, 75, etc., of the desired number, are suitably arranged for single or multiple transmission, for which purpose the switches 76, 77, etc., are provided. The transmitting sets 74, 75 are shown of any approved type, such as the oscillating vacuum tube type comprising the filament cathode 78, the grid 79 and anode 80, arranged in the vacuum tube 81, suitably connected with the primary inductance 84, 85. The primary inductances 84, 85 are suitably connected to the connector bar 73 and the connector bar 71 through the respective switches 76, 77. The battery or other source of electric current is indicated at 86. The adjustable heating circuit of the cathode filament 79 is shown comprising the battery 87 and the variable resistance 88.

In Figure 3, the switch 77 is in closed position thus placing the transmitting set 75 in operative connection with the tree serving as the antenna. Upon closing the switch 76 the transmitting set 74 is similarly placed in operative connection with the tree antenna 35. Upon closure of both switches 76, 77 the tree serves as the antenna for the transmission of simultaneous trains of oscillations emitted by the respective transmitting sets 74, 75, modified by a key or telephone transmitter, or other suitable modulator, for the transmission of telegraphic or telephonic messages as desired.

In the use of trees or other living vegetable organisms serving as the antenna or a art thereof, I have discovered from tests that such tree possess impedance consisting of two components, resistance and reactance, the latter being usually condensive, for oscillation within the range of present day wavelengths. The tests also show that the apparent capacity of a tree serving as an antenna is substantially proportional to the height of contact of the lead wire connecting the transmission set with the tree.

The tests also show that the apparent resistance of a tree serving as an antenna is appreciably greater than the resistance of the ordinary metallic antenna, and it is accordingly desirable to modify the resistance or alter the design of the receivers, if it desired to increase the effectiveness of the energy of the electromagnetic radiation impinging on the tree; however, the ordinary receivers of present design may be used and are responsive to any wave length of radiation employed in present day practice.

Whereas I have described my invention by reference to specific forms thereof, it will be understood that many changes and modifications may be made without departing from the spirit of the invention as defined by the appended claims.

An alternative electric power generating system that draws energy from a seemingly unlikely yet abundant, eminently renewable and virtually free power source has been submitted for patenting by MagCap Engineering, LLC, Canton, Mass., in collaboration with Gordon W. Wadle, an inventor from Thomson, Ill. Wadle has invented a way to capture the energy generated by a living non- animal organism --- such as a tree.

Source: KeelyNet / Jerry Decker email (12/21/05)

"Unlimited Electric Energy from the Environment?"

Chris Lagadinos, president of MagCap, developed circuitry that converts this natural energy source into useable DC power capable of sustaining a continuous current to charge and maintain a battery at full charge.

"As unbelievable as it sounds, we've been able to demonstrate the feasibility of generating electricity in this manner," said Wadle.

"While the development is in its infancy, it has the potential to provide an unlimited supply of constant, clean energy without relying on fossil fuels, a power generating plant complex or an elaborate transmission network."

Wadle likened the invention to the discovery of electricity over 200 years ago when charged particles were harnessed to create an electric current. "Now we've learned that there is an immense, inexhaustible source of energy literally all around us that can be harnessed and converted into usable electric power," he said. Ultimately, it should prove to be more practical than solar energy or wind power, and certainly more affordable than fuel cells, he added.

Wadle said he got the original idea of harnessing a tree for electrical energy from studying lightening, more than 50 percent of which originates from the ground. This prompted him to develop the theories resulting in a method to access this power source.

Lagadinos then designed circuitry that filtered and amplified these energy emanations, creating a useable power source.

Basically, the existing system includes a metal rod embedded in the tree, a grounding rod driven into the ground, and the connecting circuitry, which filters and boosts the power output sufficient to charge a battery.

In its current experimental configuration, the demonstration system produces 2.1 volts, enough to continuously maintain a full charge in a nickel cadmium battery attached to an LED light. "Think of the environment as a battery, in this case," said Lagadinos, "with the tree as the positive pole and the grounding rod as the negative."

Lagadinos said the system could be enhanced enough to generate 12 volts and one amp of power, "a desirable power level that could be used to power just about anything," he said. It is enough power to charge batteries for any type of vehicle, including hybrids and electric cars, or to use with an AC converter to produce household power, he added. The LED industry is a prime example of a potential user of this power source.

While the basic concept of this invention -- using a tree to generate electric power -- seems too incredible to be true, Lagadinos said it can be demonstrated quite simply. "Simply drive an aluminum roofing nail through the bark and into the wood of a tree -- any tree -- approximately one half inch; drive a copper water pipe six or seven inches into the ground, then get a standard off-the-shelf digital volt meter and attach one probe to the pipe, the other to the nail and you'll get a reading of anywhere from 0.8 to 1.2 volts of DC power," he said.

"You can't do anything with it in that form because it is 'dirty' -- i.e. highly unstable and too weak to power anything," he added. In order to properly harness this potential energy source, MagCap devised two test circuits: one with three capacitors that were connected in parallel by means of a switch and charged to 0.7 volts each.

When fully charged they are switched to a series mode, multiplying the voltage to 2.1 volts and flashing an LED to show that sufficient power could be generated to produce a useable result. The second circuit included a filtering device to stabilize and "clean" the current so it could be used to charge and maintain a NiCad battery.

The battery then could be connected to the LED to keep the LED lit continuously. Wadle pointed out that there seems to be no limit to the amount of power that can be drawn from an individual tree, no matter how many "taps" are inserted -- each produces the same amount of energy, an average of 0.7 - 0.8 volts. Size of the tree also seems not to matter.

Interestingly, while conventional wisdom would seem to indicate that the tree draws much of its energy from photosynthesis via its leaves, the voltage output actually increases to 1.2-1.3 volts in the winter after the leaves have fallen.


Patents by George O. Squire:

Apparatus for using telephone-subscribers' loops for transmission and reception of broadcasting
SQUIER GEORGE O
EC:  H04H1/08  IPC: H04H1/08; H04H1/04
US1742422
1930-01-07

Apparatus for effecting electrical signaling
SQUIER GEORGE O; LOUIS COHEN
EC:  H04L27/06  IPC: H04L27/06; H04L27/06
US1608252
1926-11-23

Aerial attachment device for radiofrequency signal systems
SQUIER GEORGE
EC:  H01Q1/46  IPC: H01Q1/46; H01Q1/44
Publication info: US1584197
1926-05-11

Electrical signaling
SQUIER GEORGE O; MAUBORGNE JOSEPH O
EC:  H01F21/02  IPC: H01F21/02; H01F21/02
US1641608
1927-09-06

Apparatus for electrical signaling
SQUIER GEORGE
EC:  H04B1/034  IPC: H04B1/034; H04B1/02
US1531629
1925-03-31

Improvements in the Art of Telegraphy
SQUIER GEORGE OWEN; AUSTIN LOUIS WINSLOW
EC:  H04J1/00  IPC: H04J1/00; H04J1/00
GB108763
1917-08-23

Improvements in the Art of Electrical Signalling
SQUIER GEORGE; AUSTIN LOUIS WINSLOW
EC:  H04J1/00  IPC: H04J1/00; H04J1/00
GB108230
1917-08-02

Improvements in Duplex and Multiplex Telegraphy
SQUIER GEORGE; COHEN LOUIS
EC:  H04J1/00  IPC: H04J1/00; H04J1/00
GB103771
1917-02-08

Combined sound and light distributing apparatus
SQUIER GEORGE
EC:  F21V33/00; H05K11/00  IPC: F21V33/00; H05K11/00; F21V33/00 (+1)
US1999579
1935-04-30

Radio signaling apparatus
SQUIER GEORGE
EC:  H04B3/56  IPC: H04B3/56; H04B3/54
US1791541
1931-02-10

Improvements in or relating to Receiving Systems for Radio Telegraphy or Telephony
SQUIER GEORGE
EC:  H01Q1/46; H04H1/04  IPC: H01Q1/46; H04H1/04; H01Q1/44 (+1)
GB191417487
1914-11-19

Improvements in or relating to Radio-telegraphic and Radio-telephonic Receiving Systems
SQUIER GEORGE
EC:  H04M11/06  IPC: H04M11/06; H04M11/06
GB191403191
1915-02-08

Improvements in or connected with Multiplex Telephony and Telegraphy
SQUIER GEORGE
EC:  H04J1/00  IPC: H04J1/00; H04J1/00
GB191030003
1911-12-27

Improvements in or relating to Receiving Systems for Radio Telegraphy or Telephony
SQUIER GEORGE
EC:  H01Q1/46; H04H1/04  IPC: H01Q1/46; H04H1/04; H01Q1/44 (+1)
GB191417487
1914-11-19

Improvements in or relating to Radio-telegraphic and Radio-telephonic Receiving Systems
SQUIER GEORGE
EC:  H04M11/06  IPC: H04M11/06; H04M11/06
GB191403191
1915-02-08

Improvements in or connected with Multiplex Telephony and Telegraphy
SQUIER GEORGE
EC:  H04J1/00  IPC: H04J1/00; H04J1/00
GB191030003
1911-12-27

Improvements in or connected with Telegraphic Apparatus
CREHORE ALBERT CUSHING (US); SQUIER GEORGE
GB189919867
1900-10-03

Improvements in Telegraphic Apparatus
CREHORE ALBERT CUSHING (US); SQUIER GEORGE
GB189918980
1900-09-20

Improvements in Telegraphic Apparatus
CREHORE ALBERT CUSHING (US); SQUIER GEORGE
GB189917722
1900-09-01

Improvements in Submarine Cable Telegraphs
CREHORE ALBERT C (US); SQUIER GEORGE
GB189823556
1900-02-08

Method and apparatus for using telephone subscribers' loops for transmission and reception of broadcasting
SQUIER GEORGE
EC:  H04B3/56; H04H1/04  IPC: H04B3/56; H04H1/04; H04B3/54 (+1)
FR644877
1927-10-16

TELEPHONE AND BROADCASTING SYSTEM
SQUIER GEORGE
CA285479
1928-12-11

HIGH FREQUENCY CURRENT SIGNALLING
SQUIER GEORGE
CA244330
1924-11-11

ELECTRIC SIGNALLING SYSTEM
SQUIER GEORGE
CA233299
1923-08-07

TREE TELEPHONY AND TELEGRAPHY
SQUIER GEORGE
CA232487
1923-07-03