rexresearch
rexresearch1
Henri PUYUELO, et al.
Gravito-Diode
FR2661295
Transmitter/receiver
of gravitational waves
[ PDF ]
Abstract
The present invention relates to a transmitter/receiver of
gravitational waves capable of allowing man to produce telepathy
(thought transmission) or telecommunication at very long range.
This device is worn by means of spectacles (32) or of a small
helmet in the region of the temporal bone (30) in the vicinity
of the inner ear. (Fig. 6). It measures 2 to 3 cm in diameter
(35) and has an antenna (34) of about ten centimetres in height.
It consists of a box (35) containing a built-in receiver circuit
(37) and a built-in transmitter circuit (38) as well as a
transmitting gravito-diode (33) and a receiving gravito-diode
(44). This device is intended for thought transmission for human
beings, for telecommunication at very long range in space
vehicles, for psychoanalysis in the medical field (hypnosis,
study of the brain, etc.).
The present invention relates to a gravitational wave
transceiver capable of allowing man to carry out telepathy
(transmission of thoughts) or telecommunications at very long
distances.
This device is worn via glasses (32) or a small headset at the
level of the temporal bone (30) near the inner ear. (Fig.6) I1
measures 2 to 3 cm in diameter (35) and has an antenna (34)
about ten centimeters high.
This antenna is in fact an elongated gravito-diode (33) which
detects and transmits gravitational waves. (fig.4)
See the patent for the gravito-diode for further details.
This device! seen in section, (fig.5) comprises: - an earpiece
(36) - a receiver integrated circuit (37) - a transmitter
integrated circuit (38) - an orifice (39) to allow the device to
be worn at
of the temporal bone.
- a light diode (40) which signals the operation of the device -
a transmission-reception selector (41) - a 9 Volt battery (42) -
an on-off switch (43).
- an antenna (34) which is an elongated gravito-diode.
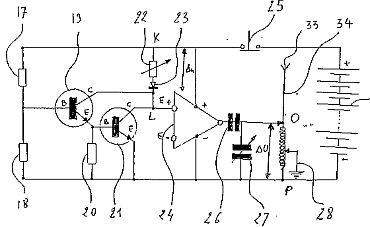
The receiver circuit is schematically shown in Fig. 1.
A gravitational wave receiving antenna (34) a low voltage signal
v selected via a coil (#) and a variable capacitance (8) in the
circuit portion I.J.
A Darlington assembly using two transistors Ti (4) and T2 (5) as
well as 3 resistors (1), (2), (3) amplifies the low current
detected by the gravito-diode-antenna.
The signal v is amplified by a low frequency operational amp and
is worth V in M.N.
See the characteristic of the gravito-diode fig.2
The transmitter circuit is schematized in fig.3.
Through the earpiece (36), a gravito-diode receives a weak
signal u through a varian resistor (22).
Thanks to a Darlington assembly and a high frequency operational
amp.
This voltage is amplified in O P and is worth U.
The variable capacitance (27) makes it possible to tune the
antenna (34) and the signal IJ is transmitted on a gravitational
frequency.
The device runs on a 9V battery.

Gravito-diode
FR2661279A1
[ PDF ]

1991-10-25
The present invention relates to an electronic component capable
of emitting an electrical current after detection of a
gravitational wave, or, conversely, of emitting a gravitational
wave after the passage of a sufficiently powerful electrical
current. This component behaves like a diode and can be called
"gravito-diode". The gravito-diode consists of the juxtaposition
of a pellet of a strongly electropositive P element (9) and of
an electronegative (N) crown (10). In the case in which the
electropositive P element is radioactive, the component is
protected by a reflecting envelope of parabolic shape (16) and
(17) which creates interference rings and which cancels the
harmful effect of the X-rays. This component is particularly
intended for scientific applications in telecommunications over
very long range or spatial, medical and astronomical detection.
1. Description
The present invention relates to an electronic component
capable of emitting an electric current after detection of a
gravitational wave or conversely of emitting a gravitational
wave after the passage of a sufficiently powerful electric
current. This component behaves like a diode and can be called a
"gravito-diode".
The gravito-diode is constituted by the juxtaposition of a
pellet of a strongly electropositive element P (9) and an
electronegative corona N (10).
The electropositive element is in the preferential order: 1)
Francium 87 Fr 222 radioactive alkali metal.
2) Cesium 55 Cs 133 rare metal.
3) Rubidium 37 Rb 85 rare metal.
or another element from column la of the periodic table of
chemical elements in the solid state.
The electronegative element is a semiconductor formed from a
silicon crystal doped with antimony or from a semiconductor
formed from a germanium crystal doped with antimony or any other
alloy presenting a strongly electronegative character.
The juxtaposition of two radioactive metals is strongly
discouraged as an explosive reaction could result.
The gravitational wave is polarized in one of the eight
directions shown schematically in Fig. 1.
The passage of the wave will slightly modify the orbit of the
free electron of the electropositive chemical element P. A weak
electric current will be established preferentially by one of
the eight conductive wires located at the periphery of the
gravitational diode.
(1,2,3,4,5,6,7,8) These are of different section.
The connection for transmission requires wires (E) with a larger
section than those intended for reception (R) (see fig. 1).
These wires are protected by an insulator (12) to avoid any loss
of electrical energy and join on a circular ring 13) connected
to a tab (14) denoted -.
All of the P,N elements rest on an insulating substrate of
ceramic or plastic type.
A conductive wire (15) of the same nature as the element P
passes through the insulating substrate and is conventionally nO
+,
In case a radioactive element of type Fr is chosen, protection
against harmful radiation must be taken.
(fig. 3)
87 Fr 222 is part of the family of 89 Actinium 227 natural
radioactive element and has the advantage of being strongly
electropositive.
It produces α poorly penetrating and degrades to
Astatine.
87222Frα#24He + 85218At +
harmful)
The half-life of trancium should allow the diode to operate for
several hundred years.
A parabolic envelope (16) made of zirconolite CaZrTi207 or
perovskite CaTiO3 protects the gravity diode from its harmful
radioactive emissions.
The parabolic tee (10) as well as the parabolic tees (17) are
calculated to produce interference rings inside the conduit of
the gravito-diode which is closed at its end (19). This
annihilates the harmful effect of X-rays.
A tab (18) makes it possible to distinguish the radioactive
electrode when connected. (Fig 3)
The characteristic of the diode is shown in fig 4.
V3 represents the voltage at the terminal of the qravito -diode
in open circuit. (I = V/R and infinite resistance)
The law is linear for low currents (α = 1/R)
In a closed circuit, the operating point is located at (20).
When a gravitational wave is detected, one is located at (20).
passes through the diode which then operates on point (21).
The potential difference V between these two operating points
must be -.multiplied and testifies to the passage of a
gravitational wave.
Fig. 1 represents the gravito-diode seen from above
Fig. 2 represents the gravito-diode seen in section.
Fig. 3 represents the protective envelope of the gravito-diode
Fig. 4 represents the operating characteristic of the
gravito-diode. (E transmission requires more energy than R
reception)