rexresearch.com

Charles RUSS
Eye Ray Detector


Related : Colin ROSS -- Eye Ray Detector

Lancet 201: 222-234 ( 30 July 1921 )
British Patent # 124,288 ( 24 March 1919 )
Popular Science  ( January 1922 )
New York Times ( 1921 )


Lancet 201: 222-234 (30 July 1921)

An Instrument which is Set in Motion by Vision or by Proximity of the Human body

By Charles Russ
(M.B. Lond., M.R.C.S. Eng., &c)

Although the force or ray I am about to describe emerges from the human eye, and is therefore physiological, the means I employ for its demonstration involve the use of electrical and magnetic instruments. The need for the scrutiny of experts in the science of physics was therefore obvious. I have had the great advantage of giving successful demonstrations of the work to experts in physics, including 5 Fellows of the Royal Society, besides Doctors and Bachelors of Science. None of these physicists found any mechanical or electrical fallacy which could account for the effects which I demonstrate as due to human vision. They do not so far identify the ray or force as being of a known or unknown type.

The fact that the direct gaze or vision of one person soon becomes intolerable to another person suggested to me that there might be a ray or radiation issuing from the human eye. If there is such a ray it may produce an uncomfortable effect on the other person’s retina or by collision with the other person’s ray; it is a fact that after a few seconds the vision of one or the other will have to be turned away at least for a short time. Numerous everyday observations and experiences seem to support the possibility of the existence of a ray or force emitted by the human eye, and in order to give my theory the support of some experimental evidence I decided to dry and find or create some instrument which should be set in motion by nothing more than the impact of human vision.

Description of Apparatus

Within a metal box (Fig 1) I suspended a delicate solenoid made of fine copper wire. This solenoid was wound on a cylinder of celluloid and suspended by a silk fiber (unspun silk) 14 inches long; the silk fiber was contained within a long glass tube mounted in the roof of the metal box. Its upper end was attached to a cork stopper and its lower end was furnished with a small metal stirrup into which the solenoid could be hooked. Attached to the stirrup was a small magnet consisting of a short length of steel wire magnetized by a steel magnet.

The box was 3 ft by 8-1/2 inches by 7 inches and lined with sheet aluminum. The far end of the box was closed by a sheet of window glass, and the near or observer’s end, was furnished with a thin glass r celluloid window which was also screened by a sheet of aluminum with a slot 3 in long and 1 in wide. A conducting wire connected the silk fiber with the aluminum of the box, which was earthed.

Method of Demonstration

The solenoid was held steady by the magnet which naturally came to rest in the magnetic meridian (Fig 1). If the human eye looks through the slot in the observing window and maintains a steady gaze at one end of the solenoid the latter will be seen to start into motion, which is usually away from the observing eye. If the gaze be now transferred to the true center of the solenoid the latte stops, and if the vision is now applied to the opposite end of the solenoid the latter moves in a reverse direction to the motion first induced. This maneuver may be repeated several times, each subsequent attempt being made only after the magnet has brought the solenoid to complete rest. Motion of the solenoid, though much reduced, was also obtained after interposing a column of water between the eye and the solenoid.

In view of later work it is possible that the solenoid is acting as one element of a condenser system --- the air in the box being the dielectric.

Early in 1918 I had been impressed by the rapid induction of motion of the solenoid immediately after its replacement in its box or case. This activity soon fades to a minimal value which can always be obtained. Thinking that such activity might be due to some electrically charged state, I constructed some light condensers and tested the effect of vision on them. The form of condenser used was a celluloid cylinder having strips of lead or aluminum foil adhesively fixed to its inner and outer surfaces in symmetrical arrangement.

A large condenser of this type was made, 5 in diameter, 5 in long, and weighing 10 gr. It was suspended within a glass bowl 10 in diameter by means of a silk fiber enclosed by a glass tube closed at the top end. The condenser was kept at rest by a small magnet fixed above it. The glass tube and its supporting platform formed an airtight cover to the bowl containing the condenser (Fig 2). The bowl was lined by aluminum foil except for small inspection areas at four diameter positions. For certain tests glass plates were also detachably mounted in a frame around the bowl with an air space between.

Although such a large condenser is only slowly set in motion by the human gaze, I decided to test the effect upon it of the body generally, and placed my hands on the glass case. I found the effect was much enhanced, for within about 20 seconds the condenser was set in rotation, and such motion might amount to 45 or even 90 degree. I noticed also that after producing this effect it only slowly returned to the zero position, in fact the return might require half an hour.

Time and Degree of Reaction

The latent period and the degree of rotation obtained depend on the presence or absence of the extra glass plates which latter are also covered with foil. While producing this effect the operator’s vision is assisting the rotation and also appears to determine the direction of the movement obtained --- i.e., whether clockwise or counterclockwise. To produce a rapidly acting model I suspended a sheet of celluloid 2-1/2 inch by 1 inch inside a glass beaker. The celluloid was covered with gold leaf over an area of 2 sq in on each surface, and was suspended by a silk fiber and furnished with a control magnet. The glass beaker was covered inside and outside by aluminum foil except for inspection windows. If two fingers are placed on the vessel for two or three seconds then removed the card is seen to rotate towards the side of the hand used to touch the vessel wall.

Possible Influence of Heat

At this point I will deal with the obvious possibility of heat being the cause of the motions described. Heat from the hands and body proximity is, of course, reaching the apparatus, and we know the delicacy of the heat-recording instruments at the command of the science of physics. I did not attempt to measure this heat, to measure this heat, but decided to apply heat to my apparatus. The results are shown in the following table, and I think the inference is that heat is inadequate to explain the effects observed. I found the effects much reduced, though not abolished, after surrounding the condenser by a jacket of water, paraffin, or methylated spirit.

Heating experiments of the cases containing the condensers were undertaken in two ways: (1) radiant heat from one or two candles 3 inches from the glass plates surrounding the large condenser (Fig 2) were almost entirely negative up to periods of six minutes; (2) Water heated to the temperatures shown in the table was placed in metal vessels against the glass plates, which were covered also with metal strips and areas of contact arranged were several times as large as the contact area of the human fingers.

After placing the hands on the metal area of the guard plates the condenser moves after 30 seconds and usually travels through from 10 to 15 degrees within two minutes. In the hot-water experiments there was no vision applied.

Hot Water in Metal Vessels on Sides of Case

Effects of Vision Alone

Glass Rod Method --- Remembering the activity referred to when replacing the coils and condensers in their cases, I decided to try the effects of charging them electrically by induction. If a glass rod rubbed with silk approaches the glass case (Fig 3) the condenser goes into rotary motion, and when this has ceased it comes to rest in the magnetic meridian.

It is now sensitive to vision, and may, therefore, not be looked at until it has come to rest. This moment may be ascertained by a glance at its reflected image in a mirror 10 feet away. When at rest its sensitiveness to vision only lasts about 30 seconds, depending on the force of the initial swing given by the rod’s approach. If the eye looks through the fluid and slot at the optimum period it will see the condenser go into active rotation which may amount to 30 or 45 degrees. The sensitiveness is brief and can only be renewed by recharging with glass rods.

This method is one I used at first, but it is difficult and not quite satisfactory when demonstration to others; I have therefore improved upon it.

Spot of Light Method --- A small mirror is fixed to the stirrup on the end of the silk fiber. This mirror moves with the stirrup and its attached condenser. Light from a lamp near by falls on the mirror and is reflected on to a scale (as in the reflecting galvanometer). This is a very good method of proving that the condenser (set in motion by the induced electric charge) has come to rest. The spot of light is seen to move off rapidly as the electric charge is induced and its to-and-fro movement can be continuously observed on the scale without the eyes being directed at the condenser. When the spot of light has been seen to come to rest it will be found that human vision now directed at the condenser sets it, together with the spot of light, into rapid motion, which may be so large as to take the latter quickly off the scale. Special; caution is, however, needed in connection with this method, for I failed repeatedly in trying to use until I had noticed that no light from the lamp must be allowed to fall on the condenser. This is easily managed by interposing a screen of black paper or the equivalent between the lamp and the condenser. The little mirror in the stirrup is above the level of the condenser, and the small beam needed to give the spot of light is easily provided and focused by means of a lens if desired.

Charge Plates Method ---

In Fig 3 the method is shown. Two metal plates are embedded in blocks of sulfur and mounted by the sides of the instrument. One is connected to the outer coating of a Leyden jar and is also connected to earth. The other plate embedded in the insulating sulfur is connected to the inner coating of the jar by a spring or chain and cap contact with the knob of the jar. The Leyden jar is charged by contact with an electrical friction machine giving several thousand volts. At the moment of applying this electrical pressure to the plates the condenser goes into active rotation. After a moderate charge from the Leyden jar this swing subsides and the condenser will be held for some minutes with its axis at right angles to the meridian. In this case the electric stress overpowers the magnetic pull. If the operator now looks into the open end of the condenser he will see its movement through 20-30 degrees; when the eyes are closed it returns to iis former position. Note must be made of the direction it takes. We know that left to itself the south end of the magnet will slowly turn towards the earth’s south pole as the electric stress fades. If vision of the operator causes the south end of the magnet to go towards the earth’s north pole. I call it an anti-magnetic effect. If, however, his vision causes the reverse motion it has the same value as an effect provided it is found on removing the force (closing his eyes) that the condenser (and of course its attached magnet) returns to the stressed position at right angles to the meridian.

An important point must be made of the primary swing. It is vital to the production of the sensitiveness to vision of the condenser. If for any reason there is no swing there will be no movement after vision is applied. In case the swing was operating by making in its passage through the air in the vessel a frictional charge on the condenser. I tested the matter another way. Taking a bar magnet and moving it round the glass case one makes the control magnet in the stirrup swing, and of course its attached condenser also swings. In this way no electric batteries or rods are used to set up the primary swing. The effect of sensitiveness to vision is still observable, though I think less actively than when using the Leyden jar method; but the experiment serves to emphasize the need of the swing and perhaps to throw light on the true nature of the vision effects. If repeated observations are made involving frequent charging of the plates the motion of the condenser becomes lazy under the static charge, but recovers after a little rest.

The electric charge will only hold for a few minutes on the jar and plates in damp weather. If dry conditions exist many vision effects may be obtained from only one charge. If, after charging, the condenser having come to rest, one discharges the jar by the insulated tongs, the condenser will show a rapid swing at the moment of electric discharge from the jar. By means of an accumulator and coil and spark gap I have tried to maintain the charge on the jar, so far with moderate success. As yet it is not easy to keep the condenser quite still, but when the apparatus is improved it will become independent of the humidity factor.

Controls and Precautions

This system of the stressed plates is an extremely sensitive indicator of an electrostatic change. The operator must be still and seated behind a glass or celluloid screen so that no water vapor from nose or mouth can reach the glass case. His eyes are closed and no movements of limbs or other objects must disturb the vicinity of the electric field. When told by the assistant (or seeing by the spot of light) that condenser is at rest, he will look at it and perceive that his vision has set it in motion, which can be measured on the scale. If the eyes are not opened or only the hand has been kept in the operating position there will be no effect. There must, of course, be no vibration of the room by traffic, or any mechanical disturbance of the supporting bench.

Darkness Tests

I did four tests which seemed to give a positive result, but many more such tests would be required before a decision could be made on this point.

Probable Nature of the Effect

There is an electrical change in the retina accompanying vision. There are also the electric changes in muscles when in action, and these will have associated electric fields. The eye muscles include the ciliary and iris and the oculomotor group. Whether the fields from these sources are adequate to account for the effect cannot be answered at present.

Heat --- Besides the evidence in the table the arrangements in Fig 3 probably exclude htis agency as a cause of the movement obtained.

Electrostatic Force --- A force of this type cannot pass a fine metallic grid, and may therefore be considered unlikely to produce the activity obtained

Electromagnetic Force --- This group of vibrations includes a large number of rays ranging from the x-ray to the wireless waves. The influence of light from the lamp seems suggestive of an influence of this type, but no critical tests have done on these lines.

Summary

Human vision can disturb the electrostatic state of an enclosed system. After the condenser has come to rest there must still exist a turbulence described. This turbulence appears to be reinforced or amplified by the applied vision, and is shown by (1) the activity shown by opening and closing the container; (2) the activity after rotating the condenser by the bar magnet; (3) the activity following the slight heating of the medium by the fingers on the guard plates; (4) the activity shown during the fading guard plates. Of course, at the time of operating these instruments by any use of the above methods the turbulence is not sufficient to cause motion --- i.e., the condenser has come to rest. Since the particles of any gas are always in motion it is probable that the effects of vision are only produceable when the turbulence of the medium is critical --- i.e., of a certain intensity. If the turbulence has fallen below this degree the activity to vision is lost. This latter point is shown by the fact that activity to vision is lost long before the sparking power has disappeared from the Leyden jar (Fig 4).

I do not propose to say more at present as to the probable nature of the force accompanying the act of human vision of which these experiments are the evidence. Instead I restrict the claim of my work to our possession of the instrument which affords the evidence of the force, and which is the limit of the title of this article. The only reference in the literature I have met was mentioned to me by a friend in 1919. It is a destructive criticism by Lord Kelvin of the word, by a French physicist on the Supposed New Force. After reading Lord Kelvin’s paper one must, I think endorse his view that the author failed to establish his views, as he would not even enclose his instruments to meet the objection of air or heat currents.

During the course of this work, which  has occupied spare time since December 1917, I have had the advantage of criticism and suggestions by my brother Prof Sydney Russ, Prof A. Porter, FRS, Prof Rankine, and others as to the physical aspects of my experimental arrangements.



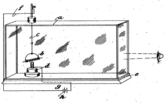
British Patent # 124,288

( 24 March 1919 )

An Instrument Set in Motion and whose Motion is Controlled by the Human Eye, i.e., by Vision

This invention consists in an instrument which is set in motion and whose motion is controlled by the human eye, i.e., by vision.

The instrument is the practical embodiment determined by the results of experiments which have made to ascertain whether there is a ray or radiation proceeding from the human eye.

To this end a delicate solenoid of metallic wire is lightly suspended in the vicinity of two charged insulated electrical conductors and such solenoid can be set in motion and its motion controlled by the vision of one or both eyes directed at one or the other extremity of the solenoid. In an alternative construction, the solenoid may also be arranged as one of the electrodes (a movable terminal). The same effect is produced by arranging the solenoid in the vicinity of a magnet or electromagnet.

In a further modification the solenoid is suspended within the field of another solenoid and the same effect is produced.

I have also been able to produce the motion of the solenoid by directing the vision at the solenoid through glass or celluloid.

The annexed drawing illustrates an example of construction of the instrument.

Within a metal or glass case a (or other draught proof device) I suspend a solenoid b of fine copper or thin iron wire by means of a silk thread or slender metallic cord or chain c. This solenoid hangs over but does not touch, a metallic disc d raised and electrically insulated from the floor e of the case.

An electrically insulated wire f is connected to the solenoid and another g to the disc, and by means of a battery h or other source of electric energy, each of them is electrically (statically charged. In this way, the air space between the solenoid b and disc d is in a state of electric stress, which is never great enough for a discharge (or spark) to take place. To this stressed zone the human eye will direct its vision and then the solenoid previously stationary will begin to move in a plane at right angles to its suspending fiber. This effect is best produced by directing the vision of one or both eyes at the one extreme end of the solenoid, and by steady gaze to follow in changing focus its steady motion. The reverse motion will be produced by transfer of the vision to the opposite end of the solenoid.

The foregoing is, however, only one method of producing the effect. The following are various modifications.

(A) The solenoid may be uncharged electrically if it is suspended by a non-conducting (i.e., an unsilvered) thread or fiber between two electrically charged discs, so as to hang within the zone of electric stress. It will move as described by vision directed upon it.

(B) The solenoid may be suspended within the field of a permanent or electromagnet.

(C) If the materials of the apparatus --- glass of the case --- solenoid and fiber are made sufficiently delicate, and draught, and forces such as heat from any lamps, extraneous to the apparatus are rigidly excluded, then there is no need for any electrical or magnetic force to be used. That is, the human eye is able to initiate and maintain --- up to fatigue point --- a small but definite motion upon a solenoid.

With all of the foregoing I use an enclosing case of metal or glass. If metal, the case is furnished with glass or celluloid windows which the vision traverses to produce the effect.


Popular Science ( January 1922 )



New York Times ( 1921 )

FINDS A NEW FORCE IN THE HUMAN EYE

English Scientist Demonstrates Invention Which Registers the Power in a Glance.

DISTINCT FROM OCCULTISM

Dr. Charles Russ Tells Oxford Congress Optical Influence Is Akin to Heat and Light.

Copyright, 1921, by The New York Times Company. Special Cable to THE NEW YORK TIMES.

LONDON. July 8.—A new physiological force has been discovered after three years of patient research by Dr. Charles Russ M.B., M.R.C.S., L.R.C.P., who has invented an instrument which shows that there lies in the human eye certain definite power which is quite distinct from the supposititious influences of will power or occultism. This was the announcement made today at a meeting of the Oxford, Ophthalmological Congress.

All literature regarding eyes in a fine frenzy, rolling or darting glances of compelling love, or quelling by a look the blood-thirsty villain or the savage beast, will now have to undergo scientific revision.

Poetry and romance have been full of the power of the eye. That there is a scientific basis for belief in that power has now been proved indisputably, according to the report made to the Ophthalmological Congress and supported by an actual demonstration.

Dr. Russ, who is an electrician as well as medical man, has given all his spare time during the last three years to experimenting on the theory that the human eye gave forth some ray or radiation which was a distinct influence, something different from anything hitherto observed by physiologists, a force that might possibly have some analogy to light or heat.

Powerful Eyes in History

Dr. Russ often wondered, to quote his own words, “if it were not true that some force or ray or invisible searchlight were not pouring out from the eye some force which might account for those delightful sensations of the Romeo and Juliet type of vision or, on the other hand, for the sinister power that the glances of Nero or Napoleon must have conveyed.”

His various experiments culminated in the idea of a brass cylinder in which he hung a delicate spiral of fine copper wire. This solenoid was wound upon a cylinder of celluloid and was suspended by a fiber of unspun silk contained within a long glass tube. A small magnet held the solenoid in position, and the apparatus was electrically earthed by a connective wire.

Dr. Russ observed that if he gazed steadily through the window slot at one end of the suspended body it would start into motion away from his observing eye. When he looked at the true centre it stopped, and if he gazed at the opposite end. it moved in the reverse direction.

Denies Any Occultism

Dr. Russ deprecates any suggestion that these results are connected with any so-called function of telepathy. No scientific instrument exists which can record telepathic influence, or, in other words, the passage of a thought ray, and even in regard, to hypnotism, which is a recognized medical fact, there is no instrument capable of indicating the hypnotic state either in the operator or in the subject.

By the instrument which he had invented Dr. Russ claims that the influence exerted by the human eye can be and is actually registered. To put it in another way. Dr. Russ asserts that when one person looks at another there is an actual transmission of power. This power, or force, or influence, is susceptible of measurement by his apparatus.

Various methods have been employed by Dr. Russ and other scientists to test the apparatus and eliminate the possibility of the movements in the solenoid being due to heat or the vibration of air currents, or any other accidental condition.

Dr. Russ’s discovery is still in its embryonic stage. Its application has as yet hardly been considered, but just as the telephone and the gramophone developed out of the knowledge that sound caused the vibration of matter, so it is contended it is possible that science may find the means of putting to practical usage this hitherto unknown force that resides in the eye.