
rexresearch.com
Nelson CAMUS, et al.
Urine-ATP Battery / Neltron
Give Pee a Chance ! Better to
Light an LED than to Curse the Darkness ! 5
gallons of #1 Tinkle can generate 5 kw for 24 hours...
http://push.pickensplan.com/video/2187034:Video:384769
THE URINE BATTERY
The human urine organic code was used to build the World's First
Lithium Battery at the 80s. Today, it provides the power to run an
Electric Vehicle.
http://www.youtube.com/watch?v=KfGp7aOrouA
NELTRON POWER Conditioner
http://www.youtube.com/watch?v=P-SBW4t5QBM
tratando de replicar el motor de Nelson
Camus - YouTube
http://community.seattletimes.nwsource.com/archive/?date=19930903&slug=1719141
September 3, 1993
Striking Gold In California: Inventors
Unveil Urine Battery
PASADENA, Calif. - Three men who said they invented an electric
battery that runs on urine are seeking investors with $5 million.
At least one doubting scientist said he wouldn't give 5 cents for
the thing.
And other scientists said they were highly skeptical of the
inventors' claims, in particular without knowing what other
materials were used and the chemical reactions purported to
produce the power.
That's a secret, said the inventors, Nelson Camus, Edgar Aguayo
and Ismael Valle, partners in a company they named Nel Nithium
Electronics and run out of a home in a Los Angeles suburb.
But "without more information, it would be impossible to determine
if there is anything here or not," said Robert Osteryoung, an
electrochemist at North Carolina State University in Raleigh, N.C.
He's the one who wouldn't part with a nickel for the device.
Camus, a 45-year-old electronics engineer from Chile, discovered
the compound that makes the battery work, Aguayo said. They call
it Nelson's lithium - or nithium for short.
They need investors to refine the device, which they say could run
anything from a watch to a home power plant. In the meantime, a
prototype will be displayed at the Invention Convention showcase
running through Labor Day at the Pasadena Convention Center.
Chemist Gary Henriksen, in charge of advanced battery development
at Argonne National Laboratory in Illinois, called the idea
"off-the-wall."
Said the promoters: "Everybody stops laughing when they see our
demonstration."
http://atomicremediationlabs.com
http://members.aol.com/overunity2/nelson/urbat.htm
http://www.exoticresearch.com
Exotic Research Reports ( April - June 1998 )
Lightning Key to Natural Cold Fusion
Nelson Camus’s study of lightning and it’s effects led to his
discovery of the Neltron - tiny negative particles of matter
smaller than electrons. The Van Allen Magnetic belts discharges
tiny negative particles into the part of the year where helium (
0.07 percent of the air ) resides, generating the first natural
cold fusion reaction in the air. Alpha particles ( helium )
transmute nitrogen ( 74.8 percent of the air ) into hydrogen plus
oxygen. ( a Rutherford discovery of 1919 )
This constant transmutation of the nitrogen goes to the clouds,
and a strong chain reaction generating the junction of H - O
forming water. The drops of water from clouds are charged at
positive polarization and the H - O from the transmutation of
nitrogen are negative. The collapse of positive and negative plans
to use the first spark generating water from H - O going with the
cloud dreops together in large mass of rain down.
When the Neltrons are in contact with the drops of water, they
bond with the electrons of the hydrogen and oxygen ( water )
creating different polarization in the clouds, thus generating a
storm with strong power in sound, plus light rays, discharge, and
rain. The lightning reflect electrons at 300,000 kilometers per
second. A ray of lighting comes from the earth in a discharge of
ions going to the clouds and the clouds reflect them down at
300,000 kilometers per second.
Neltron Turbo Battery
One of Nelson’s early projects delved into the conversion of the
human urine salts into lithium using as special transmutation
process. This research led to the discovery of Nithium and the
development of a cold fusion cell. Further research along these
lines to lead to the Neltron Theory. One of the applications
developed from Dr. Nelson Camus’s discovery and theory is the
Neltron Turbo Battery.
The Neltron Turbo Battery consists of multiple reverse ion fuel
cells, with positive and negative electrodes, separated by a solid
polymer membrane. Single fuel cells are bound together in the
Neltron cabinet to provide electric power like a battery. It is
initially more expensive than a battery because platinum is used
as a catalyst.
The catalyst promotes separation of electrons and protons. After
separation, electrons cannot pass through the membrane and are
conducted as electrical current. The protons migrate through the
membrane to the cathode.
The platinum catalyst prompts a reaction with oxygen from the air
and the electrons to form a hyperconductive air mass. This vapor
is charged with multiple ions, creating spark crowns on the
piston’s surfaces. It uses a platinum catalyst. The catalyst
promotes separation of electrons and protons.
Enhanced Combustion
It is an exact man-made duplication of the natural lightning
storm. By using platinum style catalyst and a Nithium style
driver, transmutation of some nitrogen from the air creates a
hyperconductive mass of hydrogen and oxygen mixed with gasoline in
the cylinder. When it is on, this incredible device causes the
hydrogen and oxygen to be converted to hydrogen peroxide gas.
Whereas in normal ignition there is a steady ignition pattern,
ignition using this mixture cause spark crowns to appear over the
surface of pistons causing a more complete combustion of the
carbon.
Internal combustion engines don’t burn gasoline and presence of
sparks, they only transform the gasoline into different types of
gases like CO, CO2, HC, NO2. The expansion energy comes directly
from this conversion. Heat is generated because the carbon atoms
of the gasoline have a slow motion, while the hydrogen and oxygen
atoms have high speed motion during the conversion. More hydrogen
and oxygen from the hydrogen peroxide produces ultrafast
conversion in gases, obtaining more expansion with less heat
during the combustion because more the carbon is converted in CO2
( carbon dioxide ) with less HC ( hydrocarbons).
Cold Fusion Reactions
When the four atoms of hydrogen isotope called deuterium gets
pushed together in just the right way, they and form an atom of
helium. That’s called a fusion reaction; the by product is to
release of energy. Because there are no radioactive waste products
like in conventional nuclear power ( fission - the splitting of
uranium atoms ), fusion has long been attractive to scientists.
The only problem is that conventional fusion reactors occur under
enormous temperatures and pressures, the kind of conditions found
in nature only in the center of the sun, other stars, and in
nuclear weapons.
In 1988, two electro-chemists, Pons and Fleischmann disclosed
evidence of nuclear reactions in solids at room temperature using
a process called electrolysis, a way of making chemical reactions
occur by passing electric current through a liquid. The nuclear
reaction occured with palladium and lithium metal in a foil form
surrounding the Pb electrode. The Pd cathode used in the
electrolysis with an electrolyte, the surface layers of lithium
metal and palladium lithium alloy have precipitated upon the
surface of the palladium electrode with positive neutron affinity.
During the reaction, large amounts of neutrons suffer the
conversion into tritons with the generation of 2.7 micro electron
volts fusing with hydrogen before losing its energy and stopping
in the range of 1>10um. The anode of the electrolytic cell
converts itself into another substance. Nelson calls this “Trapped
Neutron Catalytic Fusion”.
Cold Fusion Reasearch
Researchers and technical people with some knowledge in nuclear
physics and chemistry are working with different metals, in
combination with various electrolytes and different types of
accelerators ( cyclotron, plasma, magnetic fields, laser, etc. )
to fully explored this newly discovered phenomenon. Hal Fox from
the Cincinnati Group in Salt Lake City got artificial
transmutation from his sodium anode into gold, using his own
clusters ( electrons in command ). The amount of energy to produce
this fusion reaction on was the order of one watt.
Nelson Camus’s own research in this field has resulted in the
development of the urine battery, using human urine as the “fuel”.
About 5 gallons of human during per day can produce 5 kilowatt
hours of electricity for 24 hours. The urine battery was
demonstrated at the Exotic Research Conference in July of 1998.
The Neltron Way
If other researchers were to adopt the 'Neltron' way,
transmutation on the order of microwatts would be possible. The
Neltron weight is only 1/1,000,000 times the electron weight, as
faster than the speed of light, and is easy to trigger.
When in the hydrogen atom, the Neltron can be moved out from the
top of the electron so that the positron ( positive opponent
particle to the Neltron ) will shoot out from nucleus to maintain
the stabilization of the atom. If you excite the Neltron too fast,
the positron does not have enough time to get out of the nucleus.
The positron will be forced down and lose its position at the
center of the circular uniform notion of the atom.
The electron loses its neltron, and because of the reduced mass,
the electrons speeds up, collapsing the nucleus in forming a cold
fusion reaction. The hydrogen is converted into helium. This is a
natural phenomenon that occurs infrequently in natural lightning
storms.
Biotechnology.
The energy requirements are small... On the order of microwatts.
This puts it in the energy range of the human brain. This can
cause problems on rare occasions.
Sometimes our brain excites the Neltron in our body’s hydrogen
atoms, thus converting them into helium and some parts of the
human body disappear... spontaneous combustion of the human body.
Using the Neltron process, large amounts of hydrogen can be
produced from water with very little power. If similar process was
developed by Pacheco, a Bolivian man who used empirical methods to
produce hydrogen from sea water. He ran his experimental motor
boat fueled with sea water ( no gasoline ) for more than eight
hours in a demonstration on the US Eastern seaboard back in the
early 1970s.
Neltrons are truely the way of the future.
http://quanthomme.free.fr/energielibre/systemes/PageChercheurAEC1.htm
CAMUS Nelson
Né en 1948 à Valparaiso, au Chili, il a d’abord occupé dans les
années 1968 différents postes d’ingénieur en électronique
informatique à Buenos Aires. En 1975, il étudie la physique
nucléaire à l’Université de Princeton, puis au MIT à Boston. En 77
avec John Aristoles Philips, il présente dans une salle de
l’université le premier appareil artisanal de 50 Kilotonnes.
1977 : Première émission FM en stéréo à Iquique, Chili, avec
démonstration des possibilités d’antenne de l’ananas.
1978 : Démonstration à Miami, en Floride, du premier téléphone
cellulaire.
1979-81 : Directeur pour l’Amérique du Sud de Ruby Light
Electronics Co, filiale de Westinghouse
De 1981 à 1992, il mène ses recherches sur la batterie à Urine
dans sa propre société à Valparaiso.
1991-1992 : Au Salon Consommateur et Electronique de Las Vegas il
fait des démonstrations du premier processeur sonore bio-tech au
monde utilisant un supraconducteur à température ambiante
En 1993, il obtient un prix à la convention sur l’Invention à
Pasadena (CA ) et il est depuis lors P. D.G. de Nel Nithium USA,
Inc.
Depuis environ deux ans, Nelson vient en Suisse à l'Instituts für
Neue Energietechnologien . Le 20/01/99, Nelson Camus s’y est rendu
pour contrôler le fonctionnement de son Solar Neltron Trigger (qui
double l’efficacité d’une installation solaire) et de son réacteur
à Fusion Froide placés à l’INET.
Théorie de Nelson Camus : THE NELTRON
C’est l’exacte reproduction de l’éclair dans un orage. La lueur de
l’éclair provient de la terre dans une décharge d’ions allant
jusqu’aux nuages qui les réfléchissent vers le sol à la vitesse de
300.000 km/s. La ceinture magnétique de Van Hallen libère de
minuscules particules prises à la surface de la terre et allant
dans l’air. C'est ce qui produit le bombardement de l’élément de
plus faible poids - l’hélium - présent dans l’air à 0,07 % et la
première réaction de Fusion Froide naturelle dans l’air.
Les particules alpha (hélium) transmutent l’azote, présent à 74,8
% dans l’air, en hydrogène plus oxygène (comme Rutherford l’a
découvert en 1919). Cette transmutation constante de l’azote va
jusqu’aux nuages, dans une puissante réaction en chaîne qui
produit la jonction de H – O formant l’eau.
Les gouttes d’eau venant des nuages ont une polarisation positive
et les H-O venant de la transmutation de l’azote sont négatifs.
L’effondrement des ions + et – produit la première étincelle qui
donne de l’eau à partir de H et de O et qui vont, avec le nuage
tomber, sous forme de pluie.
Lorsque les minuscules particules sont en contact avec les gouttes
d’eau, elles se lient aux électrons de l’hydrogène et de l’oxygène
(de l’eau) en créant une polarisation différente dans les nuages
produisant l’orage, le tonnerre, les éclairs (qui réfléchissent
des électrons à 300.000 km/s) et la pluie.
Réacteur à fusion froide C.F.R.
C’est la deuxième machine au monde à transformer le fluide
électrostatique en fluide électrodynamique sans utiliser de
matières radioactives contrairement à Testatika qui, selon
certains chercheurs, utiliserait du chlorure de radium (?) Cette
machine à sur unité annoncée utilise directement l’azote de l’air
avec le Nithium et ne nécessite pas d’arrêts dus au nettoyage
périodique réclamé par la batterie à urine. Nikola Tesla était
prêt à la réaliser, mais il a seulement fait le générateur à
électricité statique.
Le Neltron CFR est sur le marché depuis fin 1998 pour utilisation
médicale.
La batterie à Urine de Nelson Camus
L'urine humaine fraîche ou concentrée fournit de l'ATP (Adénosine
Triphosphate). La batterie fonctionne comme une véritable réplique
du métabolisme humain avec un générateur d'ammoniaque, (vieux
procédé inventé par Geber) et des réactions chimiques. Le
carburant est le phosphocarbonate.
Le composé secret Nithium est un produit biochimique non nocif,
non polluant qui combine des sels organiques et inorganiques. Le
principe chimique de la batterie réside dans une forte oxydation
du zinc de l'anode par une importante qyuanttité d'oxygène qui
produit de l'électricité. Le courant vient du carburant par
conversion de l'ATP en ADP (Adénosine Diphosphate) qui transporte
les électrons.
Avec un peu moins d'un litre d'urine on produit de 720 watts à 1
kWh. 7,5 litres produisent de 5,6 à 7 kWh. En utilisant un
injecteur contrôlé, on obtient respectivement 100 watts / heure
pendant 8 à 10 heures et 1 kWh pendant 6 à 7 heures. Avec 23
litres de mélange, on peut produire 120 kWh pour la consommation
d'une famille pendant une semaine et il est possible de tripler le
rendement en consommant beaucoup d'ail et d'oignons !
D'autres applications du Nithium :
Batteries rechargeables et / ou tous usages au Nithium, Produits
de nutrition au Nithium, Chargeur de batterie au Nithium à charge
rapide, Sous haut-parleur de basses au Nithium pour le cinéma chez
soi, Processeur - Son au Nithium, Produits de beauté au Nithium,
Vidéotéléphone au Nithium à mouvement rapide 60 images / seconde,
Micro-Ondes Nithium avec contrôle laser, Supraconducteur au
Nithium pour les télécommunications, supérieur aux fibres
optiques, moins cher et possédant plus de caractéristiques,
Cellules solaires au Nithium ( Solar trigger 12)
La TurboBatterie / Superchargeur (commercialisée)
S'adresser à
Endotronic GmbH, Argenbühl-Siggen D 88260 Tél :
0049/7566/465 et aussi au NET-Journal Thalrichstr.808, Postfach
CH 4622 Egerkingen
Performances de la TurboBatterie dont le retour sur investissement
est inférieur à deux ans. Conçue sur la base de 22 g de Nithium,
elle peut produire 1 ampère avec une tension de 1,38 V, alors
qu'un élément de carbonate de lithium de même poids produit une
tension plus élevée de 3 volts mais génère seulement un courant de
50 mA. C'est donc une différence de 1,38 watts / 0,15 watts soit
un facteur de 9,2.
Economie de 42 % de carburant sur les véhicules à injection
d'essence dont l'arrivée est réduite de 50 % à l'injecteur.
Economie de 52 % sur des moteurs à carburateurs dont on
réduit de moitié le diamètre du gicleur.
Dans les deux cas, il est important que le moteur ne
fatigue pas. Tous les 960 km, il faut mettre 28,4 cm 3 de
liquide Neltron.
C'est l'exacte reproduction de l'éclair d'orage naturel.
En se servant du platine comme catalyseur et du nithium comme
conducteur, on produit une transmutation d'une certaine quantité
d'azote de l'air en obtenant une masse hyperconductrice
d'hydrogène et d'oxygène mélangées à l'essence en présence de
l'étincelle.
En position ON , l’hydrogène et l’oxygène se transforment en
peroxyde d’Hydrogène H 2 O 2…carburant de la fusée Discovery. Des
couronnes d’étincelles apparaissent à la surface des pistons.
C’est parce que les moteurs à combustion interne ne brûlent pas
l’essence en présence des étincelles que, seule l’essence est
transformée en diverses sortes de gaz tels CO, HC, NoX, l’énergie
en expansion provenant directement de cette conversion. Il y a
production de chaleur parce que les atomes de carbone de l'essence
ont un mouvement plus lent que n'ont pas l'hydrogène et l'oxygène
pendant la conversion .
Une plus grande quantité de H et de O provenant du peroxyde
d’hydrogène produit une conversion extrême dans les gaz, ce qui
donne plus d’expansion et moins de chaleur pendant la combustion,
car le carbone est transformé en une plus grande quantité de CO 2
(dioxyde de carbone) avec moins de HC.
US6216480
Independent and self-sustained ultra efficient hybrid power
generation and storage system method
BACKGROUND OF THE INVENTION
The present invention relates to an independent and self
sustainable power generation and storage system.
In addition, the present invention relates to a solar panel to be
used in the above power generator and storage system and method .
Such systems, composed of known solar panels, rechargeable
batteries and control circuitry, are known and have been around
for quite some time. However, even with large solar panels and
large rechargeable batteries, these known systems, considering the
modest amount of storageable energy, require too much time for
recharging, thus preventing their breakthrough for some
applications or even barring them from many intensive energy
applications such as powering vehicles or aircraft.
SUMMARY OF THE INVENTION
According, it is an object of the present invention to provide an
independent and self-sustainable highly efficient power generation
and storage system. One aspect of the present invention, this
object is achieved by a system for capturing, storing and
delivering energy, comprising: capture means for capturing energy;
storage means for storing captured energy; and charging means for
charging said captured energy into said storage means; said
capture means, charging means and storage means being
appropriately associated to each other; and wherein said storage
means may be connected to a load withdrawing energy from said
storage means, characterized in that said capture means provides
electrical energy and said storage means is an electrolyte-based
rechargeable battery in which the electrolyte comprises adenosine
triphosphate (ATP).
The addition of adenosine triphosphate (ATP) to the regular
rechargeable battery greatly reduces its internal resistance. ATP
is an important molecule in the energy metabolism of human cells.
The ATP molecule stores energy which can be released in its
transition to adenosine diphosphate (ADP). The ATP/ADP conversion
is reversible and thus lends itself to applications involving
redox processes in rechargeable batteries.
In a preferred embodiment, the electrolyte is based on sulphuric
acid, preferably a self-cohesive electrolyte, more preferably a
hard-gel electrolyte. This is a low cost, well established battery
system. The highly viscous hard-gel electrolyte prevents battery
problems if the battery is shaken or tilted.
In another preferred embodiment, the above electrolyte is based on
uric acid rather than sulphuric acid. This type of battery can be
easily prepared from urine.
Preferably, the electrolyte comprises only dry silica rather than
the gel. In this way, the battery can be activated by simply
adding water.
Advantageously, the electrolyte further comprises silver/tin alloy
salts further improving the battery characteristics.
In a further preferred embodiment, the rechargeable battery is a
multicell battery. With each rechargeable battery being composed
of a suitable number of cells connected in series, several battery
voltages may be achieved.
In another preferred embodiment, each battery cell comprises a
porous sheet in the top portion of its housing above the
electrolyte, said porous sheet preferably being a glass-type
material such as a fiber glass tissue. This sheet prevents water
from leaking out of the battery while being permeable to gases
such as hydrogen, oxygen or nitrogen which have to be absorbed or
released by the battery in some cases. The porous sheet may also
be a carbon-based material such as graphite or fullerenes.
Advantageously, said charging means is a battery charger located
in a nitrogen containing atmosphere together with said
rechargeable battery, said battery charger comprising in its
charging line a light emitting element emitting at least part of
the frequency spectrum of a black body radiator. This light
emitting element, which may be powered by the battery charger,
emits photons interacting with the nitrogen in the surrounding
atmosphere causing the nitrogen molecules to split into nitrogen
atoms which, under the influence of .alpha.-particle (helium
nuclei) bombardment from the sun and outer space, disintegrate to
form hydrogen and oxygen atoms as summarized by the following
equation:
N+He.fwdarw.O+H (1)
These two elements will then enter the inventive battery through
the above described porous sheets while chemically combining to
form water molecules. This process speeds up the battery charging
and thus contributes very favorably to the charging process. The
nitrogen acts as a "fuel".
More particularly, said light emitting element is an incandescent
bulb emitting a continuous emission spectrum which is very
effective in stimulating the above splitting of nitrogen.
Preferably, this type of bulb is located close to the porous sheet
of each battery cell. In this way, most of the hydrogen and oxygen
is formed close to the battery, thus improving the favorable
contribution to the charging process.
In some cases, it is appropriate that during the charging process
said rechargeable battery and said light emitting element are
placed in a pressurized chamber containing gaseous nitrogen. With
this higher density of nitrogen molecules/atoms available, the
above transmutation of nitrogen yields more hydrogen and oxygen
ultimately forming water and entering the battery to be charged.
In a further preferred embodiment, said battery charger comprises
a capacitor and a control circuit for controlling an intermediate
charging and discharging process of said capacitor, wherein,
during the battery charging process, said capacitor is controlled
such that it accumulates charge from a charging source during a
first period, which charge is then discharged from said capacitor
into the rechargeable battery in the form of at least one pulse
during a second period much shorter than said first period, this
process being repeated periodically until the rechargeable battery
is sufficiently charged.
This pulsating charging process causes "clusters" of electrons to
be pumped into the battery which again speeds up the charging
process and contributes to a fully charged battery.
Preferably, said capacitor is a carbon-aluminum capacitor with
aluminum electrodes and carbon material sandwiched therebetween in
intimate contact with said electrodes. Again, under the influence
of .alpha.-particle bombardement, the aluminum atoms of the
electrode material of this capacitor are prone to disintegrate
into carbon and nitrogen atoms according to the following
equation:
Al+He.fwdarw.C+N (2)
where the aluminum serves as a "fuel" just as the nitrogen does in
the previous equation.
Advantageously, said carbon material has a porous structure which
communicates with the surrounding atmosphere. In this way, after
the transmutation of one aluminum atom to one carbon atom and one
nitrogen atom, the carbon atom remains in the porous carbon
structure whereas the nitrogen atom may exit that porous structure
while probably recombining to nitrogen molecules and eventually
undergoing the transmutation according to equation (1). In this
manner, the aluminum "fuel" both directly and indirectly
contributes to the above battery charging.
In a further preferred embodiment, said battery charger comprises
a spongy battery having a first electrode of a first material, a
second electrode of a second material and spongy material moisted
with ATP wherein the electrodes are sandwiched therebetween and in
intimate contact with said spongy material. This spongy battery
also contributes favorably to the charging process.
Preferably, said first material is a metal under the 14th position
of the periodic table of the elements and the second material is a
metal over the 14th position of the periodic table of the
elements.
Also, said first material may be an alloy of metals with the main
metal under the 14th position of the periodic table of the
elements and the second material may be an alloy of metals with
the main metal over the 14th position of the periodic table of the
elements.
In a further preferred embodiment, said capture means comprises at
least one solar panel provided with solar cells. This provides an
independent energy source.
According to another aspect, the present invention provides a
solar panel, preferably for being used in a system as defined in
the previous paragraphs, characterized in that it comprises
reflectors directing reflected photons onto the panel.
These reflectors enhance the effective light capturing area
increasing the number of photons impinging on the solar cells and
thus increasing the power output of the panel through an increase
of the output current, the output voltage of the panel being
fairly constant and depending primarily only on the materials of
the pn-junction, the doping levels involved and the junction
temperature.
Preferably, said reflectors are a pair of reflector wings hinged
to opposite edges of the panel. In this way, the reflector wings
may be turned to an optimum angle with respect to the solar panel
in use and may also be folded down onto the panel if not in use,
thus providing protection against mechanical damage of the panel
and making it less bulky for transportation and handling.
Preferably, said reflectors consist of a transparent layer
covering a reflecting layer thereunder, such as glass layer with
its bottom surface covered with a silver-tin alloy coating.
In a preferred embodiment, said solar panel has a reduced
thickness and its back surface covered with a reflecting material
such as aluminum, having a low thermal resistance. Due to the
reflecting material, photons which did not interact with the
pn-junction during their first passage of the reduced thickness
solar cell medium may still interact during their second passage,
increasing the overall illumination intensity to electrical power
conversion efficiency of the solar panel.
In a further preferred embodiment, said back surface is equipped
with an electrically powered cooling device in intimate contact
with the aluminum layer. As mentioned above, the solar cell
junction output voltage decreases with an increase in temperature.
Also, and probably worse, the solar cell conversion efficiency
drops off with increasing cell temperature. Due to the uniform
cooling of the entire solar panel the output voltage on the one
hand and the conversion efficiency on the other hand are
maintained.
Advantageously, said cooling device is a thermocouple junction
operated as a Peltier cooler. This type of "miniature
refrigerator" is very compact in size, basically maintenance free
and, last but not least, does not involve any environmentally
harmful fluorohydrocarbons.
Preferably, said cooling device is powered by part of the
electrical output of the solar panel.
The solar panel according to the present invention may be
integrated in at least one wall of a refrigerator box with the
solar cell on the outside surface of the wall and the cooling
device on the inside surface of the wall.
According to yet another aspect, the present invention provides a
method for charging energy into a rechargeable battery of a system
described above, comprising: a capture means providing electrical
energy; a battery charger having a capacitor and a control circuit
for controlling an intermediate charging and discharging process
of said capacitor; said method comprising the steps of:
a) during a first period, charging said capacitor to a
predetermined level;
b) during a second period much shorter than said first period,
discharging said capacitor into said rechargeable battery in the
form of at least one pulse;
c) repeating steps a) and b) until the rechargeable battery is
sufficiently charged.
This pulsating charging method speeds up the charging process of
the battery.
Very good results in speeding up the battery charging are achieved
when using a high wattage light bulb or even several such bulbs
connected in series or in parallel in the charging line,
preferably close to the rechargeable battery having a porous cover
sheet. As explained above, atmospheric nitrogen under the
influence of the intensive photon radiation from the bulb(s) as
well as under the influence of cosmic .alpha.-particle bombardment
very favorably contributes to the accelerated battery charging.
Even better results are achieved if the capacitor of the battery
charger is a carbon-aluminum capacitor. Again, under the influence
of cosmic .alpha.-particle bombardment the aluminum serves as a
"fuel" providing additional energy for the battery charging.
In summary, the above system for capturing, storing and delivering
energy, with the above solar panel being used as the capture means
and using the above method for charging energy into the
rechargeable battery of the system constitutes a truly hybrid
system for capturing energy, since it captures "solar" energy in a
broader sense:
1) photon energy from solar (classically speaking) radiation;
2) nuclear energy from nitrogen and aluminum nuclei activated by
solar .alpha.-particles.
EXAMPLES OF SYSTEM COMPONENTS
ATP battery electrolyte:
<t
Version 1) - sulphuric acid (gravity 1.300): 70.5%
- silver/tin alloy salts: 2.5%
- adenosine triphosphate* (ATP): 12.0%
- dry silica (optional): 15.0%
Version 2) - concentrated urine
- bicarbonate
- sodium sulfate
- potassium hydroxide
- adenosine triphosphate* (ATP)
- dry silica (optional)
*in dynamic equilibrium with adenosine diphosphate (ADP), with
ATP/ADP
ratio depending on degree of battery charging
The added ATP/ADP minimizes the electrical resistance of the
electrolyte.
The hard-gel electrolyte due to the dry silica may be diluted, as
required, with distilled water to get a liquid of the required
viscosity that can be filled in each cell of the battery, each
cell yielding approximately 2 volts.
The thin sheet of fiber glass tissue in the top portion of each
battery cell, covering the total upper surface of the cell just in
direct contact with the positive and negative plates minimizes the
escape of hydrogen and oxygen gases with the reformation of water
inside each cell during the charging and discharging cycles.
Battery charger
The battery charger (Hyper Booster Controller) uses rectifier
silicon diodes in the electronic circuitry, improving the battery
charging efficiency during a time delay of 6 seconds followed by
the electron cluster discharge into the ATP battery and also
maintains the internal (supportive, auxiliary) batteries totally
activated all the time. The discharge of electron clusters to the
storage battery every 6 seconds with the help of samll
(supportive) batteries pushes down the current from the solar
panels.
Each rectifier silicon diode produces a voltage drop of 0.45
volts, maintaining the current in the electronic circuitry
constant. Preferably, several rectifier silicon diodes are
connected in series to maintain the RMS average power in the
electron flow in order to charge respective batteries.
The internal carbon-aluminum capacitor is connected in parallel
with the terminals of the internal small (auxiliary) batteries
and/or the external small batteries used in the control circuitry.
In addition, they are connected to the positive output of the
solar panel together with the anode terminal of the series of
rectifier silicon diodes whose final cathode terminal of the
series is directly connected to the positive terminal output of
the control circuitry. All the negative terminals of each
component are connected together.
The electronic circuitry is to detect the storage status of the
battery to be charged, adjusting by itself the time delay and
lapse of time in the discharge of the electron flow clusters
(pulses).
The spongy battery composed of the flat sandwich of the two
different alloys of metals separated with a thin spongy paper
moisted with ATP can be activated by any existing source of
electric power.
The battery charger using the light charging principle has one
rectifier diode of 600 V.p.e.p./ 3 amps connected in series with
one or more incandescent light bulbs having a power consumption of
more than 10 watts and a nominal voltage of 10 to 400 volts at 50
to 60 Hz AC, also in series with the battery to be formed or
charged, closing the circuit with the 110-220 V.A.C. supply from
the utility grid. This set-up of the light battery charger more
than doubles the efficiency of the battery during the discharging
cycle. Particularly, it reduces the heat dissipation and bubble
formation in the surface of the liquid lead acid battery during
the formation process in the factory, reducing production costs
and minimizing health hazards to factory workers.
Further advantages of the present invention are:
reducing the manufacture and shipment costs of the power
generation and storage system
maximizing existing solar electric conversion efficiencies
reducing the risks involved in transporting
hazardous materials such as liquid lead-acid batteries
reducing battery manufacture costs
preventing the deterioration of food
providing dependable computer back-up
providing efficient source for daily and/or emergency power
lights, television and radio receivers and transmitters,
compensating for extended interruptions of utility power
The present invention as set forth above and in the appended
claims as well as additional features, advantages and applications
thereof will be best understood from the following description of
preferred embodiments when read in connection with the
accompanying drawings.
BRIEF DESCRIPTION OF THE DRAWINGS
FIG. 1 is a perspective view of a reflector wing type solar
panel according to the present invention;
FIG. 1-A is a perspective view of another
wing-equipped solar panel;
FIG. 2 is a perspective view of a solar panel with a
thermo-couple Peltier cooler mounted thereon;
FIG. 3 shows a lateral cross section of a further
solar panel with a thermo-couple Peltier cooler;
FIG. 4 is a front perspective view of a solar refrigerator
comprising four thermo-couple Peltier coolers and one blower;
FIG. 5 is a front perspective view of one single cell of an
ATP (adenosine triphosphate) battery according to the present
invention, with its housing partly broken away, showing a thin
sheet of fiber glass tissue covering the upper surface of the
cell directly contacting the negative and positive plates;
FIG. 6 is a simplified schematic wiring diagram of a
battery charger including a continuous spectrum light emitting
element according to the present invention;
FIG. 7 is a simplified schematic wiring diagram of
another battery charger including an external energy source
(e.g. small battery), a capacitor for intermediate charging as
well as charging control circuitry;
FIG. 8 is an exploded view of a spongy battery with three
spongy papers moisted with adenosine triphosphate (ATP)
alternating with two metal sheets (positive and negative), each
of which consisting of a different metal or metal alloy; and
FIG. 9 is a lateral cross sectional view of the spongy
battery of FIG. 8.
DETAILED DESCRIPTION OF THE PREFERRED
EMBODIMENTS
Referring to FIG. 1, a solar panel 1 having a right reflector wing
2, a left reflector wing 3 and a frame 4 is shown. The right
reflector wing 2 forms a right aperture angle 5b and the left
reflector wing 3 forms a left aperture angle 5a with respect to
the plane defined by the solar panel 1. Both reflector wings 2, 3
concentrate more solar power/intensity (number of photons per unit
area) onto the solar panel 1, thus enhancing its electrical power
output.
Referring to FIG. 1-A, another solar panel 9 having a right
reflector wing 6 and a left reflector wing 7 is shown. In
addition, this solar panel 9 has a flat aluminum sheet 8 having a
thickness of 3.2 mm (1/8"). The reflector wings 6, 7 are hinged to
the solar panel 9 by metal hinges 10a, 10b, 10c and 10d, 10e, 10f,
respectively. Aluminum being a good thermal conductor, the
aluminum sheet 8 contributes to a uniform temperature distribution
over the solar panel 9, preventing internal voltage differences
which might cause damage to the solar panel due to internal
currents.
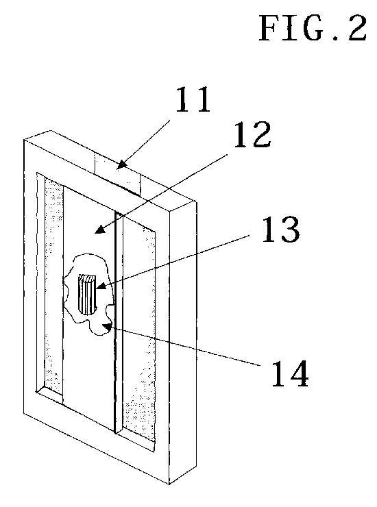
Referring to FIG. 2, yet another solar panel equipped with an
aluminum sheet having a first side 11 and a second side 12 is
shown. A thermo-couple junction 13 is attached to the second side
12 of the aluminum sheet 11, 12 by an adhesive contact 14. The
thermocouple junction 13 is operated as a Peltier cooler with its
cold side attached to the aluminum sheet. Thus, due to its good
thermal conductivity, the aluminum sheet 11, 12 acts as a heat
sink cooling the solar panel. Again, the thickness of the aluminum
sheet is 3.2 mm (1/8").
Referring to FIG. 3, a cross section of a further solar panel 15
is shown. A thick piece of aluminum 16 extends across the panel,
providing thermal contact between the Peltier cooler and the solar
panel 15. The aluminum sheet 17 is arranged on both sides of the
solar panel 15.
Referring to FIG. 4, a solar refrigerator having four walls each
with a Peltier cooler 18a, 18b, 18c and 18d is shown. In addition,
one of the four walls has a blower 19 mounted thereon. At least
one of the four walls is provided with a solar panel to power the
four Peltier coolers and the blower.
Referring to FIG. 5, a front perspective view of one single cell
of an ATP (adenosine triphosphate) battery according to the
present invention is shown, with its housing partly broken away,
showing a thin sheet of fiber glass tissue 19A covering the upper
surface of the cell, directly contacting the positive plate 19C
and the negative plate 19E of the cell. The negative electrode
terminal 19B extends through the fiber glass tissue cover 19A and
the positive electrode terminal 19D is connected to the housing of
the single cell ATP battery.
Referring to FIG. 6, a simplified schematic wiring diagram of a
battery charger including a rectifier diode 20 for half wave
rectification and a high wattage light bulb 21 emitting a
continuous spectrum of light is shown. The battery to be charged
22 is an ATP battery as shown in FIG. 5. The inventive ATP battery
which may have an electrolyte based on sulphuric acid, uric acid
or a similar acid, can be more rapidly charged with the inventive
light battery charger if the light bulb 21 is on. Of course, the
inventive battery charger could have a more sophisticated
rectifier unit permitting full wave rectification, smoothing, etc.
Referring to FIG. 7, a simplified schematic wiring diagram of
another battery charger (Hyper Booster Controller) including a
carbon-aluminum capacitor 23 for intermediate charging, a small
battery 24 as an internal and/or external supportive energy source
as well as charging control circuitry 25 is shown. In addition, a
rectifier silicon diode 26 is provided in the power input line to
the charging control circuit 25. A solar panel (not shown) as a
major energy source is connected with its output to the positive
input terminal 28. The ATP battery to be charged (not shown) is to
be connected to the positive and negative output terminals 27 of
the charging control circuit 25. The control circuit 25 causes
periodic charging of the ATP battery. Each period is composed of a
first period and a second period. During the first period, the
carbon-aluminum capacitor 23 is charged from the solar panel
through the control circuit 25. During the subsequent second
period, the carbon-aluminum capacitor 23 is discharged in one or
more pulses into the ATP battery again through the control circuit
25. All negative terminals of each component are connected
together.
Referring to FIG. 8, an exploded view of a flat sandwich-type
spongy battery (Electron Organizer) with three spongy papers 29a,
29b, 29c moisted with adenosine triphosphate (ATP) alternating
with two metal sheets 30, 31 (negative and positive), each of
which consisting of a different metal or metal alloy, is shown.
The metal sheet 30 is formed of a metal under the 14th position in
the periodic table and acts as a negative pole whereas the metal
sheet 31 is formed of a metal over the 14th position in the
periodic table and acts as a positive pole.
Referring to FIG. 9, a lateral cross sectional view of the spongy
battery of fig. 8 is shown with the negative plate 30, the
positive plate 31 and the ATP moisted spongy papers 29a, 29b, 29c
surrounding the plates 30, 31.