
rexresearch.com
Richard HAMILTON, et al. :
Chlorine Dioxide
Related : HUMBLE, Jim : MMS
Chlorine Dioxide
http://www.selectivemicro.com
http://www.selectivemicro.com/technology-overview/the-story-of-clo2
The Story of ClO2
Chlorine dioxide is a chemical compound with the formula ClO2.
Chlorine dioxide has been around for quite some time. As a
powerful oxidizer, it has been used for a wide range of purposes
and is effective as a gas or a liquid.
There is more than one type of chlorine dioxide. In most cases,
commercially available ClO₂ is referred to as “stabilized”
chlorine dioxide. These products typically require the user mixing
chemicals to create some chlorine dioxide. While these stabilized
products do produce some chlorine dioxide they also produce many
harmful by–products. Toxic and corrosive chlorates and chlorites
are part of the solution generated with stabilized products.
Stabilized products usually come in liquid, powder or tablet
forms.
Commercial generators are also available for the generation of
chlorine dioxide. Generators generally produce a cleaner version
of chlorine dioxide when compared to stabilized products.
Chlorates, chlorites and other corrosive and toxic oxychloro
species are still present. Generators are generally used for large
volume production of chlorine dioxide when purity is not
necessary. Chlorine dioxide generators can be expensive and
require trained personnel to be safe.
Today, through proprietary technology, you can have a 99.9% pure
chlorine dioxide solution from SMT. Unlike other forms of chlorine
dioxide, SMT offers a solution virtually free of the chlorate,
chlorites and other by-products found in other chlorine dioxide
processes. The purity of our product makes it ideal for food,
health care and general disinfection and deodorizing applications.
Why are SMT products so pure? It is because of our patented
technology. Simply put, the chemical reaction that generates
chlorine dioxide generates harmful by-products. SMT technology
traps the harmful by-products in a proprietary membrane so only
the chlorine dioxide molecule is released into the solution. Pure
chlorine dioxide means better results with lower toxicity and
corrosiveness.
ClO2 Cleaners, Deodorizers
& Surfactants
SMT carries products for a wide range of needs. Our fast
release products are widely used in laboratory and clinical
settings where there is a need for quick access to pure ClO2. SMT
fast release products are ideal for cleaning water lines and
removing organic matter from lab equipment and clinical analyzers.
The CLO2BBERIZER is an odor eliminator intended for
deodorization in areas > 6003 ft to 10003 ft per unit. This
product is designed to eliminate odors within confined spaces. The
deodorization treatment period is required no less than 4 hours.
Richard Hamilton,
et al. / Selective Micro Patents
US2004022676
Apparatus and method for controlled delivery of a gas
Disclosed are apparatus for delivery of a gas, e.g., carbon
dioxide and/or chlorine dioxide, and methods of its use and
manufacture. The apparatus includes a sachet constructed in part
with a hydrophobic material. The sachet contains one or more
reactants that generate a gas in the presence of an initiating
agent, e.g., water. The apparatus can also include a barrier layer
and/or a rigid frame. In another embodiment, the apparatus is
combined with a reservoir that can be used to deliver a gas to the
reservoir and, optionally, a conduit. In another embodiment, the
apparatus is incorporated into a fluid dispersion system that
includes a dispersion apparatus, e.g., a humidifier
FIELD OF THE INVENTION
[0002] The invention relates generally to apparatus and methods
for delivery of a gas and more specifically to apparatus and
methods for controlling the amount, rate and duration of gas
delivery.
BACKGROUND OF THE INVENTION
[0003] The use of gas for retarding, controlling, killing or
preventing microbiological contamination (e.g., bacteria, fungi,
viruses, mold spores, algae and protozoa); retarding, preventing,
or controlling biochemical decomposition; controlling respiration,
deodorizing and/or retarding and preventing chemotaxis to name a
few, is known. Such gases include, but are not limited to,
chlorine dioxide, sulfur dioxide, nitrogen dioxide, nitric oxide,
nitrous oxide, carbon dioxide, hydrogen sulfide, hydrocyanic acid,
and dichlorine monoxide. For example, the use and efficacy of
chlorine dioxide is documented and discussed in various
publications such as G. D. Simpson et al., A Focus on Chlorine
Dioxide, An Ideal Biocide (visited Feb. 5, 2000)
http://clo2.com/readings/waste/corrosion.html, and K. K. Krause,
DDS et al., The Effectiveness of Chlorine Dioxide in the Barrier
System (visited Feb. 5, 2000)
http://www.dentallogic.com/dentist/effects.htm.
[0004] In particular, chlorine dioxide has been found to be useful
as a disinfectant, antiseptic and sanitizer. It is used, e.g., to
disinfect drinking water and various water supplies. In addition,
chlorine dioxide finds use as a bleaching agent for flour, fats
and textiles. Chlorine dioxide also has shown great utility as an
antiseptic for treating metal and plastic surfaces, as well as
other substrates such as countertops, meat processing and
packaging equipment, and dental and medical instruments and
devices.
[0005] One disadvantage of the prior art methods for generating
chlorine dioxide gas generally is that unsatisfactory levels of
by-products or reactants remain as a residue. For example, in the
case of chlorine dioxide gas, the byproduct chlorite leaves
residues on food handling equipment and medical and dental
surfaces. Human contact with such residues should be avoided or
substantially minimized according to FDA and EPA regulations.
[0006] Another requirement in the food handling and related
industries is the need for raw materials or ingredients that are
safe to handle in the preparation of the disinfectant. The
requirement is for the inclusion of reagents that are safe to use
and, after generating chlorine dioxide, produce side products that
are non-toxic and/or biodegradable.
[0007] Also, although it has great beneficial characteristics,
chlorine dioxide can not be transported commercially as a
concentrated gas for its use and instead has been generated at the
site where it is used. Thus, an on-site gas generation plant
typically is required to generate the gas that is then delivered
to the fluid in which it will be used. Such apparatus takes up
space and represents a significant added expense. Moreover, even
when prior art apparatus do not require a separate gas generation
component e.g., those shown in European Patent Publication No. 0
571 228 for sulfur dioxide generation, such apparatus are still
undesirable because controlling the amount of gas generated, the
efficiency of the generation, and the duration of the gas
generation has proven difficult, if not unsuccessful.
[0008] There exists a need for the controlled, on-site generation
of gases, such as sulfur dioxide and chlorine dioxide, which can
be produced safely, efficiently and economically, without the
necessity for a separate generation plant or unwanted by-products.
The present invention addresses these needs.
SUMMARY OF THE INVENTION
[0009] A novel approach to the delivery of gas has now been
discovered. The present invention uses a unique delivery system
that controls the rate and efficiency of gas-producing reactions.
Moreover, by using discreet amounts of reactant contained within a
multi-layered apparatus, the skilled practitioner can now
fabricate a gas delivery apparatus that is compact, cost-effective
and safe. Furthermore, the present invention can be used for a
variety of applications, including delivery of gas to air or
water, for a variety of purposes including disinfection,
deodorization, bleaching and sanitization.
[0010] In one aspect, the present invention features an apparatus
for delivery of a gas. An exemplary embodiment of this apparatus
generally includes an envelope, a sachet disposed within the
envelope, and a reactant disposed within the sachet that generates
a gas in the presence of an initiating agent, wherein the envelope
allows release of the gas from the envelope.
[0011] One currently preferred embodiment of the invention
features an apparatus for delivery of a gas which includes a first
reactant disposed within a first sachet, a second reactant
disposed within a second sachet, a third sachet disposed about the
first sachet and the second sachet, an envelope disposed about the
third sachet, a frangible pouch disposed within the envelope
adjacent to the third sachet, and an initiating agent disposed
within the frangible pouch. In this embodiment, the first reactant
and the second reactant generate a gas in the presence of the
initiating agent, and the envelope allows release of the gas from
the apparatus.
[0012] In a third exemplary embodiment, the apparatus for delivery
of a gas includes an envelope, a partition disposed within the
envelope defining a first volume and a second volume, a first
reactant disposed in the first volume, and a second reactant
disposed within the second volume. In this preferred embodiment,
the first reactant and the second reactant generate a gas in the
presence of an initiating agent, and the envelope allows entry of
the initiating agent into the apparatus.
[0013] In another embodiment, the apparatus for delivery of a gas
includes a sachet and a reactant disposed within the sachet that
generates a gas in the presence of an initiating agent. In this
embodiment, the sachet allows contact of the initiating agent with
the reactant and release of the gas from the apparatus.
[0014] In another aspect, the present invention features a method
of forming an apparatus for delivery of a gas including the steps
of (a) providing a multi-layer structure comprising a reactant
layer centrally disposed between two sachet layers, and two
envelope layers disposed adjacent to the two sachet layers such
that the two sachet layers are centrally disposed between the two
envelope layers, and (b) stamping the multi-layer structure such
that the two envelope layers form an envelope defined about its
perimeter by the stamp, and the two sachet layers form a sachet
defined about its perimeter by the stamp.
[0015] In yet another aspect, the present invention features a
method of delivering gas including the steps of (a) providing an
apparatus for delivery of a gas comprising: an envelope, a sachet
disposed within the envelope, and a reactant disposed within the
sachet that generates a gas in the presence of an initiating
agent, wherein the envelope allows release of the gas from the
envelope; and (b) disposing the apparatus in an environment that
comprises an initiating agent. The environment can be liquid and
the initiating agent can be water. Alternatively, the environment
can be gaseous and the initiating agent can be water vapor.
[0016] In yet another embodiment, the apparatus for delivery of a
gas includes a barrier layer, a sachet layer disposed adjacent to
the barrier layer, a reactant disposed between the barrier layer
and the sachet layer that generates a gas in the presence of an
initiating agent, and an envelope layer disposed adjacent to the
sachet layer. In this embodiment, the envelope layer allows
release of the gas from the apparatus.
[0017] In yet another embodiment, the apparatus for delivery of a
gas includes a barrier layer, a sachet layer disposed adjacent to
the barrier layer, and a reactant disposed between the barrier
layer and the sachet layer that generates a gas in the presence of
an initiating agent. In this embodiment, the sachet layer allows
entry of the initiating agent into the apparatus.
[0018] In yet another aspect, the present invention features a
method of delivering gas including the steps of (a) providing a
multi-layer structure comprising a reactant layer centrally
disposed between a sachet layer and a barrier layer, and an
envelope layer disposed adjacent to the sachet layer, and (b)
sealing the perimeter of the barrier layer, sachet layer and
barrier layer such that the reactant is disposed in a volume
defined by the sachet layer and the barrier layer.
[0019] In yet another aspect, the present invention features a
method of delivering gas including the steps of (a) providing a
multi-layer structure comprising a reactant layer centrally
disposed between a sachet layer and a barrier layer, and (b)
sealing the multi-layer structure such that the such that the
reactant is disposed in a volume defined by the sachet layer and
the barrier layer.
[0020] In yet another aspect, the present invention features a
method of delivering gas including the steps of (a) providing an
apparatus for delivery of a gas comprising an envelope layer, a
sachet layer disposed adjacent to the envelope layer, a barrier
layer disposed adjacent to the sachet layer, and a reactant
disposed in a volume defined by the sachet layer and the barrier
layer; and (b) disposing the apparatus in an environment that
comprises an initiating agent.
[0021] In yet another aspect, the present invention features an
apparatus for delivery of a gas including a sachet comprising a
water vapor selective material, and reactant disposed within the
sachet that generates a gas in the presence of an initiating
agent.
[0022] In yet another aspect, the present invention features an
apparatus that includes a sachet including a water vapor selective
material, a partition disposed within the sachet defining a first
volume and a second volume, a first reactant disposed in the first
volume, and a second reactant disposed within the second volume,
wherein the first reactant and the second reactant generate a gas
in the presence of an initiating agent.
[0023] In yet another aspect, the present invention features an
apparatus for delivery of a gas that includes a barrier layer, a
sachet layer comprising water vapor selective material disposed
adjacent to the barrier layer, and a reactant disposed in a volume
defined by the barrier layer and the sachet layer that generates a
gas in the presence of an initiating agent.
[0024] In yet another aspect, the present invention features an
apparatus for delivery of a gas that includes a sachet comprising
a rigid frame defining an opening and a sachet layer disposed
about the opening, and a reactant disposed in the sachet, wherein
the reactant generates a gas in the presence of an initiating
agent.
[0025] In yet another aspect, the present invention features a
fluid dispersion system for dispersing a gas. The system includes
a fluid dispersion apparatus. and an apparatus for delivery of a
gas disposed within the fluid dispersion apparatus. The apparatus
includes a sachet, and a reactant disposed in the sachet that
generates gas in the presence of an initiating agent.
[0026] In yet another aspect, the present invention features
methods for deodorizing and/or inactivating pathogens, that
includes the steps of providing the fluid dispersion system, and
delivering the gas to one or more odor-causing compounds, wherein
the gas inactivates the one or more odor-causing compounds.
[0027] In yet another aspect, the present invention features an
apparatus for delivery of a gas to a reservoir including a sachet,
a reactant disposed within the sachet, and a reservoir in fluid
communication with the sachet, wherein the reactant generates a
gas in the presence of an initiating agent.
[0028] In yet another aspect, the present invention features a
method of delivering gas to a conduit. The method includes the
step of providing an apparatus for delivery of a gas comprising a
sachet, a reactant disposed within the sachet that generates a gas
in the presence of an initiating agent, and a reservoir in fluid
communication with the sachet. The method also includes the steps
of coupling the apparatus to a conduit, and delivering a gas to
the conduit by introducing an initiating agent to the reactant.
[0029] In short, the invention provides the art with a heretofore
unappreciated method and apparatus for the controlled generation
of a gas. Moreover, in accordance with the present teachings, the
invention can also readily be applied to the generation of a
liquid.
[0030] The invention will be understood further upon consideration
of the following drawings, description and claims.
DESCRIPTION OF THE DRAWINGS
[0031] The invention is pointed out with particularity in the
appended claims. The drawings are not necessarily to scale,
emphasis instead generally being placed upon illustrating the
principles of the invention. The advantages of the invention
described above, as well as further advantages of the invention,
can be better understood by reference to the description taken in
conjunction with the accompanying drawings, in which:
[0032] FIGS. 1A and 1B are a perspective view and a
cross-sectional side view, respectively, of an embodiment of an
apparatus constructed in accordance with the present invention;
[0033] FIGS. 2A and 2B are a perspective view and a
cross-sectional side view, respectively, of another embodiment
of an apparatus constructed in accordance with the present
invention;
[0034] FIGS. 3A and 3B are a perspective view and a
cross-sectional side view, respectively, of yet another
embodiment of an apparatus constructed in accordance with the
present invention;
[0035] FIGS. 4A and 4B are a perspective view and a
cross-sectional side view, respectively, of still yet another
embodiment of an apparatus constructed in accordance with the
present invention;
[0036] FIGS. 5A and 5B are a perspective view and a
cross-sectional side view, respectively, of still yet another
embodiment of an apparatus constructed in accordance with the
present invention
[0037] FIG. 6 is a graph depicting gas concentration
versus time comparing exemplary apparatus fabricated with and
without an envelope;
[0038] FIG. 7 is a graph depicting gas concentration
versus time comparing exemplary apparatus fabricated with
envelope materials having different vapor transmission rates;
[0039] FIG. 8 is a graph depicting gas concentration
versus time comparing exemplary apparatus fabricated with and
without a sachet;
[0040] FIG. 9 is a graph depicting gas concentration
versus time comparing exemplary apparatus fabricated with
extruded and woven sachets;
[0041] FIG. 10 is a graph depicting gas generation versus
time comparing exemplary apparatus fabricated with sachets made
of materials having hydrophobic and hydrophilic surfaces;
[0042] FIG. 11 is a graph depicting gas concentration
versus time comparing exemplary apparatus fabricated with
different reactant ratios;
[0043] FIGS. 12A, 12B and 12C are an exploded view, a
cross-sectional side view, and a perspective view, respectively,
of one exemplary embodiment of an apparatus constructed in
accordance with the present invention;
[0044] FIG. 13 is a cross-sectional side view of another
exemplary embodiment of an apparatus constructed in accordance
with the present invention;
[0045] FIG. 14 is a cross-sectional side view of yet
another exemplary embodiment of an apparatus constructed in
accordance with the present invention;
[0046] FIG. 15 is a perspective view of still yet another
exemplary embodiment of an apparatus constructed in accordance
with the present invention;
[0047] FIGS. 16A and 16B are a perspective view and an
enlarged cross-sectional side view of a portion, respectively,
of yet another exemplary embodiment of an apparatus constructed
in accordance with the present invention;
[0048] FIGS. 17A and 17B are a cross-sectional side view
and a perspective view, respectively, of still yet another
exemplary embodiment of an apparatus constructed in accordance
with the present invention;
[0049] FIG. 18 is a cross-sectional side view of still yet
another exemplary embodiment of an apparatus constructed in
accordance with the present invention;
[0050] FIG. 19 is a cross-sectional side view of still yet
another exemplary embodiment of an apparatus constructed in
accordance with the present invention;
[0051] FIG. 20 is a cross-sectional side view of still yet
another exemplary embodiment of an apparatus in accordance with
the present invention;
[0052] FIG. 21 is a perspective view of yet another
exemplary embodiment of an apparatus constructed in accordance
with the present invention;
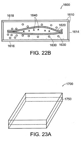
[0053] FIGS. 22A and 22B are a perspective and
cross-sectional side view, respectively, of an exemplary
embodiment of an apparatus including a sachet constructed in
part with a rigid frame;
[0054] FIGS. 23A and 23B are a perspective and
cross-sectional side view, respectively, of another exemplary
embodiment of an apparatus including a sachet constructed in
part with a rigid frame;
[0055] FIG. 24 is a perspective view of an exemplary
embodiment of a fluid dispersion system constructed in
accordance with the present invention;
[0056] FIG. 25 is a perspective view of a housing for use
with a fluid dispersion system in accordance with the present
invention;
[0057] FIG. 26 is a side view of another exemplary
embodiment of a fluid dispersion system constructed in
accordance with the present invention;
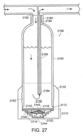
[0058] FIG. 27 is a cross-sectional side view of another
exemplary embodiment of an apparatus for delivery of a gas to a
reservoir;
[0059] FIG. 28 is a cross-sectional side view of yet
another exemplary embodiment of an apparatus for delivery of a
gas to a reservoir;
[0060] FIG. 29 is a graph depicting chlorine dioxide
concentration versus time comparing exemplary apparatus
fabricated with different hydrophobic sachet materials; and
[0061] FIG. 30 is a graph depicting chlorine dioxide
concentration versus time comparing exemplary apparatus
fabricated with different hydrophobic envelope materials.
DETAILED DESCRIPTION OF THE INVENTION
[0062] A novel approach to the delivery of gas has now been
discovered. By using discrete amounts of reactant contained within
a multi-layered apparatus, the skilled practitioner can now
fabricate a gas delivery apparatus that is compact,
cost-effective, and safe. The present invention can be used for a
variety of applications, including delivery of gas to air or
water, for a variety of purposes including disinfection,
deodorization, bleaching and sanitization.
[0063] One advantage to this approach is that gas can be generated
without the need for mechanical equipment, thus freeing up any
space such mechanical equipment would require. Another advantage
is that the reactants, which can be dangerous to handle directly,
are isolated from contact with the user by the layers, which
enclose the reactant.
[0064] Another advantage is that the apparatus of the present
invention does not allow for the dilution of the reactant. Because
the reactant remains concentrated within the sachet, less reactant
is necessary to drive the reaction to completion and the reaction
is more efficient than it would be if the reactants were diluted.
Furthermore, because the reaction is driven to completion,
unreacted reactant is minimized or eliminated. The reactant
concentration also minimizes unwanted by-products.
[0065] Yet another advantage is that the apparatus is small and
therefore can be easily and economically shipped and administered.
Yet another advantage is that the apparatus can be manipulated to
allow for either rapid or slow delivery of gas. Another advantage
is that the apparatus can be designed to deliver gas to either a
gas, e.g., air, or a liquid, e.g., water. Other advantages will be
evident to the practitioner having ordinary skill in the art.
[0066] In order to more clearly and concisely describe the subject
matter of the claims, the following definitions are intended to
provide guidance as to the meaning of specific terms used in the
following written description, examples and appended claims.
[0067] As used herein the term "sachet" means a closed receptacle
for reactant. The sachet is "closed" in the sense that the
reactants are substantially retained within the sachet and the
sachet volume is substantially sealed around its perimeter.
However, the material or materials used to construct the sachet
are chosen to allow entry of the initiating agent and exit of the
gas generated. The material or materials used to construct sachets
are referred to herein as "sachet layers." Sachet layers typically
are constructed from a planar material, such as, but not limited
to, a polymeric sheet or film. Preferred materials for sachet
layers are described in greater detail below. Relying upon the
teaching disclosed herein, and the general knowledge in the art,
the practitioner of ordinary skill will require only routine
experimentation to identify one or more sachet layers and/or
construct one or more sachets adapted for the purpose at hand.
[0068] The sachets of the present invention also can include
further materials, e.g., a sachet can comprise a barrier layer and
sachet layer sealed about the perimeters of the layers to define a
closed receptacle for reactant. Another example of a sachet is a
rigid frame defining one or more openings and one or more layers,
including at least one sachet layer, disposed about the one or
more openings to define a closed receptacle for reactant. Further
examples and embodiments are described in greater detail herein.
[0069] As used herein the term "envelope" means a closed
receptacle wherein the envelope volume is sealed substantially
about its perimeter, which contains at least one sachet and allows
release of the gas from the envelope. The material or materials
used to construct envelopes are referred to herein as "envelope
layers." Envelope layers typically comprise a planar material such
as a sheet or film, including, but not limited to perforated
films, non-perforated films and membranes. Preferred materials for
envelope layers are described in greater detail below. Relying
upon the teaching disclosed herein, and the general knowledge in
the art, the practitioner of ordinary skill will require only
routine experimentation to identify one or more envelope layers
and/or construct one or more envelopes adapted for the purpose at
hand.
[0070] "Permeable layer," as used herein, refers to a layer that
permits passage of gas generated by an apparatus of the present
invention. Permeable layers typically are constructed from
polymeric materials. Sachet layers and envelope layers are
permeable layers.
[0071] "Impermeable layer," as used herein, refers to a layer that
substantially prevents or hinders passage of initiating agent. As
contemplated herein, the impermeable layer does not participate in
the generation of gas in that it does not facilitate contact
between initiating agent and reactant. Impermeable layers can be
constructed from various materials, including polymeric material,
glass, metal, metallized polymeric material and/or coated papers.
Preferred materials for impermeable layers are described in
greater detail below. As used herein, barrier layers are
impermeable layers.
[0072] The skilled artisan will appreciate that what is considered
to be an "impermeable layer" and what is considered to be a
"permeable layer" is defined relative to the transmission rates of
the respective layers used to construct apparatus of the present
invention and the desired shelf life of the product. Relying upon
the teaching disclosed herein, and the general knowledge in the
art, the practitioner of ordinary skill will require only routine
experimentation to identify and/or construct one or more
impermeable layers and one or more permeable layers adapted for
the purpose at hand.
[0073] As used herein "reactant" means a reactant or a mixture of
reactants that generate gas in the presence of an initiating
agent. For purposes of the present invention, initiating agent
includes, but is not limited to, gaseous or liquid water. For
example, for dry biocidal applications of the present invention,
such as for the reduction of molds when shipping fruit, moisture
in the atmosphere can be used as an initiating agent. The term
"dry application" for the purposes of this application means at
least an application where the apparatus of the present invention
is not immersed in water or any other liquid. The term "wet
application" for the purposes of the present invention means at
least an application where the apparatus of the present invention
is immersed in water, or other liquid, which can optionally
include water. For wet biocidal applications, i.e., when the
apparatus of the present invention is immersed in water or any
other aqueous medium, such as that used for disinfecting dental or
food equipment, the water in which the apparatus is immersed can
be used as the initiating agent. Alternatively, the initiating
agent can be included within the apparatus, e.g., contained in a
frangible pouch disposed within the apparatus.
[0074] Generation of a gas, e.g., by acid activation, is well
known in the art. For example, chlorine dioxide (ClO2) is
generated from sodium chlorite and an acid, such as citric acid,
in the presence of moisture as follows.
5ClO2<->+4H<+><->4ClO2+2H2O+Cl<-> (I)
ClO2<->->ClO2+e<-> (II)
[0075] Specific examples of this reaction include the following.
2NaClO2+Na2S2O8->2ClO2+2Na2SO4 (III)
2NaClO2+NaOCl+HCl->2ClO2+2NaCl+NaOH (IV)
[0076] Alternatively, chlorine dioxide can be produced by the
reduction of a chlorate, e.g., sodium chlorate or potassium
chlorate, in the presence of an acid, e.g., oxalic acid. Generally
the reaction occurs as follows.
ClO3<->+2H<+>+e<->->ClO2+H2O (V)
[0077] For example, reduction of sodium chlorate by acidification
in the presence of oxalic acid to produce chlorine dioxide can
proceed as follows.
2 NaClO3+H2C2O4->2ClO2+2CO2+2H2O (VI)
[0078] Another example of generation of a gas by acid activation
is the activation of a sulfite, e.g., sodium bisulfite or
potassium bisulfite, with an acid, e.g., fumaric acid and/or
potassium bitartrate, in the presence of moisture to form sulfur
dioxide.
NaHSO3+4H<+><->SO2+2H2O+Na<+> (VII)
[0079] Yet another example is the acid activation of a carbonate,
e.g., calcium carbonate with an acid, e.g., citric acid, to form
carbon dioxide.
CaCO3+2H<+><->CO2+H2O+Ca<+> (VIII)
[0080] Other applications will be apparent to the skilled
practitioner. For example, the generation of nitrogen dioxide by
the acid activation of a nitrite, e.g., sodium nitrite or
potassium nitrite. Alternative routes for generation of a gas,
e.g., reduction of chlorates by sulfur dioxide (Mathieson
Process), are well known in the art and can be utilized in
accordance with the present invention.
[0081] The present invention can be used in a wide variety of
applications. For example, chlorine dioxide can be used for the
disinfection of water, e.g., municipal water treatment: as a
disinfectant for foods, beverages, fruits and vegetables; and for
the cleaning and disinfection of medical, dental and food
equipment. Chlorine dioxide has been shown to be an effective
disinfectant at concentrations as low as 0.2 mg/L. Chlorine
dioxide is a desirable replacement for chlorine, the traditional
water treatment chemical, because it has been found to inactivate
microbes at lower levels and over a wider pH range. For example,
chlorine dioxide can be used to reduce or eliminate biofilms
because it penetrates the cell wall of naturally occurring,
colony-building microorganisms and disrupts the proteins necessary
for reproduction. Moreover, chlorine dioxide does not produce
chlorinated by-products, e.g., trihalomethanes. Moreover, it has
been found to be active against pathogens that are resistant to
chlorine. It can be used as a slimicide in paper or pulp machines,
for wastewater treatment, and for industrial water treatment,
e.g., cooling or recycle streams. It can be used for odor control
or as an aerial biocide and virucide. It can be used for the
treatment of sulfides in the oil industry, for industrial
cleaning, e.g., circuit board cleansing, and for paper or tallow
bleaching. Sulfur dioxide also has a variety of uses, such as a
mold and fungus inhibitor for use in shipping and storing fruits
and vegetables. Based on the teachings disclosed herein the
practitioner of ordinary skill will appreciate the numerous other
applications for which the present invention can be used and
provides a heretofore unmet need.
[0082] The present invention relates to apparatus and methods for
delivering biocidal-effective amounts of a gas such as chlorine
dioxide. The apparatus and methods of the present invention
achieve delivery of a desired amount of gas, at a desired rate,
over a desired time period. This is accomplished by disposing
suitable reactants in a defined and confined volume such that upon
initiation, the reactants, initiating agent, products, and
by-products are held within a desired concentration range. The
amount, rate and duration of delivery can be manipulated by, e.g.,
choice of sachet layers, sachet volume, reactant amount, reactant
ratio, envelope layers, and envelope volume. Such manipulations
can be exercised by the artisan using only routine experimentation
in view of the teachings disclosed herein together with knowledge
in the art.
[0083] Generally, the present invention also relates to an
apparatus for delivery of a gas that includes reactant disposed in
a volume defined by at least one permeable layer and at least one
impermeable layer. The one or more permeable layers can include a
sachet layer and/or an envelope layer, and allows release of the
gas from the envelope. The one or more impermeable layers can
include one or more barrier layer.
[0084] FIGS. 1A and 1B are a perspective view and a
cross-sectional side view, respectively, of an embodiment of an
apparatus 10 constructed in accordance with the present invention.
In general overview, apparatus 10 includes an envelope 20, a
sachet 30 disposed within the envelope 10, and reactant 40
disposed within sachet 30 that generates a gas in the presence of
an initiating agent, e.g., water. Envelope 20 allows contact of
the initiating agent with sachet 30 and release of the gas from
envelope 20.
[0085] Apparatus 10 is particularly useful for the rapid release
of a gas for wet applications e.g., delivery of 5 to 50 mg
chlorine dioxide gas per liter of water in 5 to 15 minutes. The
function of the envelope is to control the influx of the
initiating agent, while limiting the diffusion of the reactants
from the sachet to the surrounding fluid, be it gaseous or liquid.
The envelope also allows the gas to diffuse to the surrounding
fluid, be it gaseous or liquid. By limiting transmission of the
initiating agent into the apparatus, and limiting and/or
preventing diffusion of the reactants out of the apparatus, the
reactant remains concentrated and the pH of the reactive system is
localized within the apparatus to optimize the conversion of
reactant to gas. Additionally, intermediates and/or by-products of
the reaction, e.g., water, also can contribute to the efficiency
and/or duration of the reaction by its affect on the equilibrium
of the reactions.
[0086] The envelope preferably is constructed of a material that
is durable and stable. Preferably, it also is capable of fusing to
a like material upon the application of heat for construction
purposes, e.g., so that two pieces of such material can be fused
about its perimeter to form the envelope. The envelope can be
constructed of various materials, including polymeric material,
such as perforated films, membranes and selective transmission
films.
[0087] Preferably, an envelope constructed of perforated film is
constructed of envelope layers having a water vapor transmission
rate (WVTR) between about 50 g/m<2>/24 hrs and about 1,000
g/m<2>/24 hrs, more preferably, between about 200
g/m<2>/24 hrs and about 800 g/m<2>/24 hrs, and most
preferably between about 400 g/m<2>/24 hrs and about 700
g/m<2>/24 hrs. The measurement of water vapor transmission
rate is routine and well known in the art. Also, the envelope
preferably is hydrophobic.
[0088] Perforated films suitable for the construction of the
envelope in accordance with the present invention include, but are
not limited to, polymeric material, e.g., Cryovac(R) perforated
films available from Sealed Air Corporation (Duncan, S.C.). One
such film is a hydrophobic polypropylene copolymer film sold under
the designation SM700 by Sealed Air Corporation and has 330 holes
per square inch having a diameter of 0.4 mm, a 6.4% perforated
area, a thickness of about 20 microns, and a water vapor
transmission rate of 700 g/m<2>/24 hrs. Another suitable
film is a hydrophobic polypropylene copolymer film sold under the
designation SM60 by Sealed Air Corporation and has 8 holes per
square inch having a diameter of 0.4 mm, a 0.2% perforated area
and a water vapor transmission rate of 65 g/m<2>/24 hrs. The
artisan can readily identify suitable equivalents of any of the
foregoing by exercising routine experimentation.
[0089] In another preferred embodiment, the envelope or envelopes
can be constructed from hydrophobic, liquid water permeable
material, such as polyethylene or polypropylene. These materials
preferably are between about 1 mil and about 10 mils thick with a
water intrusion pressure of about 30 millibars or 30 millibars or
less. Hydrophobic materials suitable for use as envelope layers in
accordance with the present invention include, but are not limited
to, non-woven polyethylene such as the TYVEK(R) non-woven
polyethylenes from DuPont Company (Wilmington, Del.), e.g., the
TYVEK(R) 1025D non-woven polyethylene which has an intrusion
pressure of less than 30 millibars.
[0090] Envelopes can be constructed, at least in part, from a
hydrophilic membrane having a pore size between about 0.01 microns
and about 50 microns. More preferably, the pore size is between
about 0.05 microns and 40 microns, and most preferably, the pore
size is between about 0.1 and about 30 microns. Preferred
membranes also include, but are not limited to, the microporous
ultra high density polyethylene membrane sold under the trade
designation MPLC from Millipore (Bedford, Mass.), and the
microporous Nylon 6,6 membrane sold under the designation 045ZY by
Cuno Incorporated (Meriden, Conn.).
[0091] Selective transmission films are films that are neither
perforated nor porous, but instead transfer gases through the
polymer structure of the film. Selective transmission films are
multilayered or mixed polymer materials, where the layers and the
polymers are chosen for controlled transmission of gases such as
carbon dioxide and oxygen. Selective transmission films are
preferred in dry applications because it allows the gas to diffuse
out of the envelope, while retaining the initiating agent once
released from a frangible pouch. Moreover, the selective
transmission film increases the stability of the apparatus prior
to its use because it does not easily allow ambient water to
diffuse into the apparatus, which could prematurely initiate the
reactants.
[0092] Generally, a film that has a high carbon dioxide
transmission rate is preferred. While not wishing to be bound to
any theory, it is thought that the carbon dioxide transmission
rate approximates the chlorine dioxide transmission rate because
chlorine dioxide and carbon dioxide are about the same size.
Preferably, the selective transmissive film has a selective gas
transmission rate of between about 500 cc/m<2>/24 hrs and
about 30,000 cc/m<2>/24 hrs for CO2 and between about 1,000
cc/m<2>/24 hrs and about 10,000 cc/m<2>/24 hrs for O2.
More preferably, the envelope is constructed of a material having
a selective gas transmission rate of between about 1,000
cc/m<2>/24 hrs and about 25,000 cc/m<2>/24 hrs for CO2
and between about 2,000 cc/m<2>/24 hrs and about 10,000
cc/m<2>/24 hrs for O2. Most preferably, the envelope is
constructed of a material having a selective gas transmission rate
of between about 5,000 cc/m<2>/24 hrs and about 25,000
cc/m<2>/24 hrs for CO2 and between about 3,000
cc/m<2>/24 hrs and about 10,000 cc/m<2>/24 hrs for O2.
Measurement of selective gas transmission rate is routine and well
known in the art. One suitable selective transmission film is a
multilayered polymer film having a carbon dioxide transmission
rate of 21,000 cc/m<2>/24 hrs and an oxygen transmission
rate of 7,000 cc/m<2>/24 hrs sold under the trade
designation PD-961 Cryovac(R) selective transmission film from
Sealed Air Corporation (Duncan, S.C.).
[0093] FIG. 6 is a graph depicting gas concentration versus time
comparing various apparatus fabricated with and without an
envelope. The square-shaped data points correspond to an apparatus
with an envelope constructed with perforated film sold under the
trade designation SM60 by Sealed Air Corporation (Duncan, S.C.).
As described above, this perforated film has 8 holes per square
inch having a diameter of 0.4 mm, a 0.2% perforated area and a
water vapor transmission rate of 65 g/m<2>/24 hrs. The
diamond-shaped data points correspond to an apparatus without an
envelope. Both apparatus contain 50 mg sodium chlorite and 200 mg
citric acid. Both include a sachet constructed from an extruded
polypropylene hydrophilic membrane having a 0.65 micron pore size,
sold under the trade designation JOTD obtained from Millipore
(Bedford, Mass.). For both apparatus, the sachet volume was about
5.5 times the volume of the reactants. Both apparatus were each
immersed in 1 liter of water and the chlorine dioxide
concentration measured every 5 minutes for an hour.,
[0094] FIG. 6 demonstrates that the inclusion of an envelope
increases the reaction efficiency, and consequently, the amount of
gas delivered for the same amount and ratio of reactant is greatly
increased. In FIG. 6, the apparatus delivers about 12.5 mg of
chlorine dioxide gas compared to the approximately 4 mg delivered
by the apparatus without an envelope. Thus, the apparatus with the
envelope delivered more than 3 times the chlorine dioxide
delivered by the apparatus without it, both apparatus having the
same amount and ratio of reactant and the same sachet layer.
Moreover, FIG. 6 demonstrates the envelope increased the length of
time in which gas was generated by about 25 minutes. Of course,
there may be instances where having only a sachet, i.e., no
envelope, may be advantageous. For example, where the performance
of the apparatus without an envelope is sufficient, having only a
sachet may be preferred because production is simplified, as the
step of constructing the envelope is eliminated, and also because
material costs may be decreased by eliminating the need to provide
envelope layers to construct the envelope.
[0095] FIG. 7 is a graph depicting gas concentration versus time
comparing exemplary apparatus fabricated with envelope materials
having different water vapor transmission rates. The
triangular-shaped data points correspond to an apparatus without
an envelope. The square-shaped data points correspond to an
apparatus with an envelope constructed from perforated film sold
under the trade designation SM700 by Sealed Air Corporation
(Duncan, S.C.) having 330 holes per square inch having a diameter
of 0.4 mm, a 6.4% perforated area and a water vapor transmission
rate (WVTR) of 700 g/m<2>/24 hrs. The diamond-shaped data
points correspond to an apparatus with an envelope constructed
with perforated film sold under the designation SM60 by Sealed Air
Corporation (Duncan, S.C.) having 8 holes per square inch having a
diameter of 0.4 mm, a 0.2% perforated area and a water vapor
transmission rate of 65 g/m<2>/24 hrs. All three apparatus
contain the same reactant and amount and ratio of reactant as used
for the apparatus in FIG. 6. For all three apparatus, the sachet
volume was about 5.5 times the volume of the reactants. The
reactants were enclosed sachets constructed from 0.65 micron pore
size, hydrophobic, non-woven polypropylene material sold under the
trade designation ANO6 by Millipore (Bedford, Mass.). These
apparatus also were each immersed in 1 liter of water and the
chlorine dioxide concentration measured every 5 minutes for an
hour.
[0096] FIG. 7 demonstrates the effect of the water vapor
transmission rate of the envelope on the rate and efficiency of
the reaction. In FIG. 7, the apparatus having no envelope has a
greater rate of reaction for about the first 15 minutes, but is
less efficient than the apparatus with envelopes, delivering only
about 12 mg of chlorine dioxide. The apparatus having envelopes
exhibit greater efficiency and a longer rate of gas generation,
which is proportional to the water vapor transmission rate (WVTR).
The envelope with a water vapor transmission rate of 65
g/m<2>/24 hrs has the greatest efficiency at about 55
minutes, generating about 22 mg of chlorine dioxide at a rate of
about 5.5 mg of chlorine dioxide every 15 minutes. The envelope
with a transmission rate of 700 g/m<2>/24 hrs generates
about 18 mg of chlorine dioxide in about 55 minutes at a rate of
about 4.5 mg of chlorine dioxide every 15 minutes. Thus, for
applications where it is desired to increase efficiency and to
generate gas over an increased period of time, an envelope with a
low vapor transmission rate is preferred. As mentioned above,
however, there may be may be applications where having a less
efficient apparatus may be advantageous, e.g., decreased material
and/or production costs.
[0097] By increasing or decreasing the water vapor transmission
rate, the practitioner can control the rate and efficiency of the
reaction to suit the application. For example, it has been found
that an apparatus having a hydrophobic polypropylene envelope with
a pore size of 0.1 micron, a 0.65 micron pore size hydrophilic
polypropylene sachet, and reactants that include 500 mg sodium
chlorite and 2000 mg citric acid, will generate 3.5 mg chlorine
dioxide gas per hour for at least 30 hours.
[0098] It has been discovered that the use of a sachet can be used
to limit the diffusion of the initiating agent into the sachet,
and limit the diffusion of reactant and reactant by-products out
of the sachet. As a consequence, the reactants are and remain
concentrated within the sachet and the pH remains localized
increasing the efficiency of the reaction. Various attributes of
the sachet, such as pore size, bubble point, and hydrophobic
and/or hydrophilic nature of the sachet membrane, can be
manipulated to control the affect of the sachet on the reaction as
is described below.
[0099] The sachet preferably is constructed of a material that is
durable and stable. Preferably, it also is capable of fusing to a
like material upon the application of heat or ultrasonics for
construction purposes, e.g., so that two pieces of such material
can be fused about its perimeter to form the sachet.
[0100] Envelopes and sachets of the present invention can be
sealed about their perimeter by any known method, such as heat
sealing, ultrasonic sealing, radio frequency sealing, and sealing
with adhesives. A preferred method of forming envelopes and
sachets is to use an impulse sealer, which delivers a rapid and
discreet thermal pulse to the layers. One impulse sealer suitable
for use in accordance with the present invention is the 16''
TISH400 Impulse Sealer available from TEW Electric Heating
Equipment Corporation (Taiwan).
[0101] The sachet layers used to construct the sachet can be
chosen to control the diffusion of the reactants out of the
sachet, control the rate of gas release from the sachet and
control the initiation of the reactants. For example, a
hydrophilic sachet will increase the rate at which water and/or
water vapor diffuses into the sachet, and the pore size and
thickness of the sachet layer also will effect the passage of
water, reactants and gas through the sachet layer.
[0102] The sachet can be constructed of various materials,
including polymeric material or coated papers. It can be
constructed from woven material, non-woven membrane, extruded
membrane, or any other material with a controlled pore
distribution having a mean pore size between about 0.01 [mu]m and
about 50 [mu]m.
[0103] A woven material is any material woven from cotton, metal,
polymer threads, metal threads or the like into a cloth or mesh.
Extruded membranes, which include cast membranes, are preferred,
and include 0.65 micron pore size, 230 to 260 micron thick,
hydrophilic polyethylene membrane sold under the trade designation
MPLC from Millipore (Bedford, Mass.), 0.65 micron pore size,
extruded hydrophobic polyethylene material sold under the trade
designation DOHP by Millipore (Bedford, Mass.). Also preferred is
the cast membrane 3 micron pore Nylon 6,6 material sold under the
trade designation BIODYNE A by Pall (Port Washington, N.Y.).
Non-woven membranes are membranes formed from materials such as
cellulose or polymers. Other cast membranes include 0.45 pore,
hydrophilic Nylon 6,6 membranes with a polypropylene backbone sold
under the designation BA05 by Cuno Incorporated (Meriden, Conn.);
0.45 pore, hydrophilic polypropylene membrane available from 3M
(City, State); and 0.45 pore size, 180 to 240 micron thick,
hydrophilic Nylon 6,6 membranes sold under the designations 045ZY
and 045ZN by Cuno Incorporated (Meriden, Conn.). Also suitable are
hydrophobic, liquid water permeable non-woven polyethylenes, such
as the TYVEK(R) 1025D polyethylene material from DuPont Company
(Wilmington, Del.).
[0104] Also suitable for use in constructing the sachet are
composite layers, including, but not limited to, starch/polymer
composite layers. One currently preferred composite layer is a
hydrophilic, 114 [mu]m thick, non-woven rice starch/polyethylene
composite sold under the designation 60MDP-P by Mishima Paper
Company, Limited (Japan). This layer is heat sealable and wets
easily. Furthermore, this layer does not merely keep the reactants
apart until initiation, but functions like other preferred sachet
layers of the present invention in that it controls the rate
diffusion of reactants out of the sachet, controls the rate of gas
release from the sachet, and controls the initiation of the
reactant so that the reactant remains concentrated within the
sachet and the reaction is driven to completion.
[0105] Non-woven membranes can be formed, e.g., by suspending the
membrane material, e.g., cellulose fibers, in a liquid over a
porous web and then draining the liquid to form a membrane.
Non-woven membranes typically have a relatively narrow and
consistent pore size distribution as compared to woven materials.
Consequently, the non-woven sachet generally allows less
initiating agent into the sachet than the woven sachet having the
same pore size because, generally the pore size distribution is
narrower. A non-woven membrane suitable for use in accordance with
the present invention is the 0.65 micron pore size, hydrophobic,
non-woven polypropylene material sold under the trade designation
ANO6 by Millipore (Bedford, Mass.).
[0106] In a preferred embodiment the sachet is constructed from a
membrane having a pore size between about 0.01 [mu]m and about 50
[mu]m. More preferably, the pore size is between about 0.05 [mu]m
and about 40 [mu]m, and most preferably, the pore size is between
about 0.10 [mu]m and 30 [mu]m. The pore size of the sachet is
measured by bubble point. Bubble point is a measurement well known
in the art which approximates pore size from a measurement of the
pressure necessary to drive a bubble of gas through the membrane.
Pore size affects the rate at which water and ions can diffuse
through the sachet in both directions. A pore size preferably is
chosen that allows entry of initiating agent into the sachet and,
at the same time, retains the reactants within the sachet at a
high concentration so that the reaction rate is increased and a
high efficiency maintained. The artisan can readily identify
suitable equivalents of any of the foregoing by exercising routine
experimentation.
[0107] Preferably, the sachet is constructed from a membrane
having a thickness between about 50 microns and 500 microns, more
preferably between about 100 microns and 400 microns, and most
preferably between about 150 microns and 300 microns.
[0108] In certain preferred embodiments, the material used to
construct the sachet preferably has a bubble point between about 3
psi and about 100 psi, more preferably between about 5 psi and
about 80 psi, and most preferably between about 10 psi and about
70 psi. As mentioned previously, the measurement of bubble point
is routine and well known in the art and typically is supplied by
suppliers of membranes, films, etc., however, the practitioner can
readily make measurement.
[0109] Additionally, the sachet can be constructed from material
that is hydrophobic and/or hydrophilic. It can also comprise a
material having one or more hydrophilic zones and one or more
hydrophobic zones. These zones can be created, e.g., by printing a
functional chemical group or polymer onto a surface of the sachet
that is hydrophilic or hydrophobic or charged to create one or
more hydrophilic or hydrophobic or charged zones. For example, a
sulfonic acid group can be disposed on the surface of the
polypropylene membrane, creating zones that are both hydrophilic
and negatively charged (R-SO2<->). The membrane can then
washed with a dilute acid such that the ion exchange groups
(R-SO2<->) bind the H<+> ions. These H<+> ions
can later be released to supply H<+> ions to acid activate
reactant, e.g., chlorite, as a replacement or supplement to acid
reactant.
[0110] When the sachet is constructed of hydrophobic material, the
hydrophobic material preferably has a flow time between about 10
sec/500 ml and about 3,500 sec/500 ml for 100% IPA at 14.2 psi.
More preferably, the material has a flow time between about 60
sec/500 ml and about 2,500 sec/500 ml for 100% IPA at 14.2 psi,
and most preferably, the material has a flow time between about
120 sec/500 ml and about 1,500 sec/500 ml for 100% IPA at 14.2
psi.
[0111] When the sachet is constructed of hydrophilic material as
described above the hydrophilic material preferably has a flow
time between about 5 sec/500 ml and about 800 sec/500 ml for 100%
IPA at 14.2 psi. More preferably, the material has a flow time
between about 20 sec/500 ml and about 400 sec/500 ml for 100% IPA
at 14.2 psi, and most preferably, the material has a flow time
between about 50 sec/500 ml and about 300 sec/500 ml for 100% IPA
at 14.2 psi. Measurement of flow time is routine and well known in
the art.
[0112] Yet another alternative embodiment uses a material to
construct the sachet that has a first surface that is hydrophilic
and a second surface that is hydrophobic. For example, a sachet
can be constructed from such a material such that the hydrophilic
surface is on the outside of the sachet and the hydrophobic
surface is on the inside of the sachet. The exterior, hydrophilic
surface aids the initiation of the reaction since water will
readily wet a hydrophilic surface and enter the sachet. However,
once inside the sachet, the hydrophobic, interior surface limits
water passage out of the sachet. This keeps the reactants
concentrated within the sachet while allowing the gas to escape
thus exploiting the advantages of the discoveries disclosed
herein. One such material suitable for use in the present
invention is a non-woven membrane 0.65 micron pore size diameter
formed from a hydrophobic material, such as polypropylene, that
has been chemically functionalized with amines and carboxyl groups
to produce a charge, hydrophilic surface.
[0113] The ratio of sachet volume to reactant volume also can be
manipulated to control the concentration of the reactants,
intermediates, by-products, etc. within the sachet. As discussed
previously, increasing the concentration of reactants generally
increases reaction efficiency. Preferably the sachet volume is
less than about 20 times the volume of reactant, more preferably
less than about 10 times the volume of the reactant. Most
preferably, it is less than 6 times the volume of the reactants.
Smaller volumes are preferred in certain applications because when
the ratio of sachet volume to reactant volume is small, water
produced in the reaction increases the pressure inside the sachet
reducing the rate at which water can diffuse into the sachet, the
water to reactant ratio remains constant and thus the rate of
reaction remains constant. Preferably the volume of the envelope
is from about 2 to about 6 times the volume of the sachet.
[0114] FIG. 8 is a graph depicting gas concentration versus time
comparing exemplary apparatus fabricated with and without a
sachet. Specifically, FIG. 8 depicts gas concentration versus time
comparing delivery of chlorine dioxide gas from reactant within a
sachet versus reactant added directly to water, i.e., with neither
sachet nor envelope. The triangular-shaped data points indicate
the rate of delivery of chlorine dioxide over time in 1 liter of
water from a sachet material constructed from a 0.65 micron pore
size, hydrophilic polypropylene membrane sold under the trade
designation MPLC by Millipore (Bedford, Conn.). The sachet
contained 200 mg citric acid and 50 mg of sodium chlorite. The
sachet volume was about 5.5 times the volume of the reactants. The
sachet was enclosed in an envelope constructed from perforated
film sold under the trade designation SM700 by Sealed Air
Corporation having 330 holes per square inch having a diameter of
0.4 mm, a 6.4% perforated area and a water vapor transmission rate
of 700 g/m<2>/24 hrs. The diamond-shaped data points
indicate the rate of delivery of chlorine dioxide over time when
the same reactants in the same amounts were added to 1 liter of
water directly, i.e., with neither sachet nor envelope. The
apparatus with the sachet delivered more than 10 times the
chlorine dioxide than when the reactants were added directly to
the water. As can be seen from FIG. 8, the sachet increases the
efficiency of the reaction.
[0115] FIG. 9 is a graph depicting gas concentration versus time
comparing an exemplary apparatus fabricated with extruded and
non-woven sachets. The diamond-shaped data points indicate
delivery of chorine dioxide over time for the apparatus with a
sachet constructed from 0.65 micron pore size, hydrophobic,
non-woven polypropylene material sold under the trade designation
ANO6 by Millipore (Bedford, Mass.). The square-shaped data points
indicate delivery of chorine dioxide over time for the apparatus
with a sachet constructed from 0.65 micron pore size, extruded
hydrophobic polypropylene material sold under the trade
designation DOHP by Millipore (Bedford, Mass.). Both sachets
contained 200 mg citric acid and 50 mg of sodium chlorite and the
sachet volume was about 5.5 times the volume of the reactants.
Neither apparatus included an envelope. The apparatus were each
immersed in 1 liter of water and the chlorine dioxide gas
concentration measured every five minutes for an hour.
[0116] As shown in FIG. 9, both apparatus deliver chlorine dioxide
at approximately the same rate for about the first 20 minutes.
However, as the reactants become increasingly dilute in the
extruded sachet relative to the non-woven sachet, the rate of the
chlorine dioxide release diminishes. The efficiency of the
reaction in the apparatus with the non-woven sachet is greater
than that with the extruded sachet. The apparatus with the
non-woven sachet also continue to generate chlorine dioxide gas at
a rate of about 2 mg every 5 minutes for about 15 minutes longer
than the apparatus with the extruded sachet. As mentioned above,
non-woven sachets generally have a relatively narrow pore size
distribution, and without wishing to be bound to any theory, it is
thought that this accounts for the greater efficiency and longer
period of gas generation. Thus, FIG. 9 provides a non-limiting
illustration of how sachet material choice, and thus reactant
concentration, can be exploited to sustain the rate of gas release
and increase the efficiency.
[0117] FIG. 10 is a graph depicting gas generation versus time
comparing exemplary apparatus fabricated with sachets made of
materials having hydrophobic and hydrophilic surfaces. The
triangular-shaped data points correspond to an apparatus with a
sachet constructed from 0.65 micron pore size, hydrophilic
polypropylene sachet sold under the trade designation MPLC from
Millipore (Bedford, Mass.). The diamond-shaped data points
correspond to an apparatus with a sachet constructed from 0.65
micron pore size, extruded hydrophobic polypropylene material sold
under the trade designation DOHP by Millipore (Bedford, Mass.).
The square-shaped data points correspond to adding the reactant
directly to the water. The reactant was 200 mg citric acid and 50
mg of sodium chlorite and the sachet volume was about 5.5 times
the volume of the reactants. Neither sachet was enclosed in an
envelope. The apparatus and the reactant were each immersed in 1
liter of water and the chlorine dioxide gas concentration was
measured every 5 minutes for an hour.
[0118] FIG. 10 demonstrates that apparatus having a hydrophobic
sachet results in a more efficient reaction that generates gas
over a longer period of time than a hydrophilic sachet. In FIG.
10, the apparatus with the hydrophobic sachet generated chlorine
dioxide for about 30 minutes at about 2 mg every 5 minutes. In
contrast, the apparatus with the hydrophilic sachet generated
chlorine dioxide only for about 10 minutes at about 2 mg every 5
minutes. As disclosed above in connection with FIG. 6, adding an
envelope to either sachet will have the effect of increasing the
efficiency of the reaction as well as increasing the length of
time in which gas is generated.
[0119] The reactant preferably comprises an aqueous soluble acid
and a reactant that upon acid activation generates a gas. For
example, for the generation of chlorine dioxide, preferably the
reactant comprises an aqueous soluble acid and an aqueous soluble
chlorite. For the generation of sulfur dioxide, preferably the
reactant comprises an aqueous soluble acid and an aqueous soluble
sulfite. Other examples of gas generating reactions are disclosed
above.
[0120] Any acid can be used as a reactant. However, weak acids are
preferred, as they typically are safer to handle, produce less
undesirable by-products, and are less reactive. Also,
multifunctional acids are preferred. Multifunctional acids are
acids that have more than one reactive site. For example, the
trifunctional acid, citric acid, is preferred. Preferably, the
aqueous soluble acid is selected from the group consisting of
phosphoric acid, fumaric acid, glycolic acid, acetic acid,
ascorbic acid, oxalic acid, maleic acid, lactic acid, tartaric
acid, citric acid and mixtures thereof. More preferably, the
aqueous soluble acid is selected from the group consisting of
ascorbic acid, phosphoric acid, oxalic acid, maleic acid, lactic
acid, tartaric acid, citric acid and mixtures thereof. Most
preferably, the aqueous soluble acid is ascorbic acid, oxalic
acid, citric acid and mixtures thereof.
[0121] For applications involving the generation of chlorine
dioxide, preferably the aqueous soluble chlorite is selected from
a group consisting of sodium chlorite and potassium chlorite and
mixtures thereof. Preferably sodium chlorite is used.
[0122] Preferably, the weight ratio of the aqueous soluble
chlorite to the aqueous soluble acid is between about 1:2 to about
1:6, preferably from about 1:2.5 to about 1:5, most preferably
from about 1:3 to about 1:4.5. Preferably, a pH between about 1.5
to 5.5, more preferably a pH of about 2, is maintained by using an
excess of acid. Because the reactants are concentrated within the
sachet, less acid is needed to drive the reaction to completion
and the pH remains low because the acid is concentrated.
Furthermore, chlorite is consumed by acid and therefore the
presence of chlorite is minimized.
[0123] FIG. 11 is a graph depicting gas concentration versus time
comparing apparatus fabricated with two different reactant ratios.
The square-shaped data points correspond to an apparatus with a
1:4 ratio of citric acid to sodium chlorite (50 mg sodium chlorite
and 200 mg of citric acid). The diamond-shaped data points
correspond to an apparatus with a 1:1 ratio of citric acid to
sodium chlorite (50 mg sodium chlorite and 50 mg citric acid).
Both apparatus included a sachet constructed from 0.65 micron pore
size, hydrophilic, polypropylene sachet sold under the trade
designation MPLC from Millipore (Bedford, Mass.). The sachet
volume was about 5.5 times the volume of the reactants. Both
sachets were enclosed in an envelope constructed from perforated
film sold under the trade designation SM700 by Sealed Air
Corporation having 330 holes per square inch having a diameter of
0.4 mm, a 6.4% perforated area and a water vapor transmission rate
of 700 g/m<2>/24 hrs. These apparatus were immersed in 1
liter of water and the chlorine dioxide gas concentration measured
every 5 minutes for an hour.
[0124] FIG. 11 demonstrates that increasing the amount of citric
acid relative to the amount of sodium chlorite increases the
efficiency of the reaction, in part because the excess of acid
drives the reaction to completion. The relationship of efficiency
to reactant ratio is fairly predictable when the ratio of sodium
chlorite to citric acid is between about 1:1 and about 1:6. Above
about 1:6, there is little change in the efficiency of the
reaction.
[0125] Ambient temperature also can affect the efficiency of the
reaction. Generally, the hotter the temperature of the ambient
fluid, e.g., water or air, the more efficient the generation of
gas. Generally, however between the ranges of 10[deg.] C. and
40[deg.] C., the efficiency improves as the temperature increases.
The data used to generate FIGS. 6 through 11 and the Examples are
from apparatus tested at from about 23[deg.] C. to about 25[deg.]
C. The sachet also can include various other ingredients that will
be obvious to one skilled in the art, such as drying agents,
stabilizers, and buffers to control the pH.
[0126] It also should be understood that the apparatus and methods
of the present invention also are readily applicable to the
delivery of more than one gas at one time. For example, the
reactant can include both a chlorite and at sulfite for the
delivery of both chlorine dioxide and sulfur dioxide.
[0127] FIGS. 2A and 2B are a perspective view and a
cross-sectional side view, respectively, of another embodiment of
an apparatus 110 constructed in accordance with the present
invention. In general overview, apparatus 110 includes envelope
120 and two sachets 132, 134 disposed within the envelope 120.
Sachets 132, 134 contain reactant 142, 144, respectively.
[0128] Apparatus 110 is particularly useful for the delivery of
gas in wet applications. In such applications, reactant 142, 144
can be, e.g., sodium chlorite and acid respectively, the sachet
can be constructed from a material with a pore size large enough
to allow diffusion of sodium chlorite and acid reactant out of the
sachets, and the envelope can be chosen that does not allow the
reactants to diffuse from the apparatus and regulates the release
of gas from the apparatus so that the reaction remains efficient.
[0129] The envelope and sachet can be constructed from any of the
material discussed in references to FIGS. 1A and 1B. Preferably,
the envelope is a hydrophobic perforated film, such as the
polypropylene copolymer film sold under the designation SM700 by
Sealed Air Corporation (Duncan, S.C.) having 330 holes per square
inch having a diameter of 0.4 mm, a 6.4% perforated area and a
water vapor transmission rate of 700 g/m<2>/24 hr. The
envelope can also be constructed from 0.65 micron pore hydrophobic
polypropylene membrane, such as that sold under the trade
designation DOHP by Millipore (Bedford, Mass.).
[0130] For wet applications, most preferably the envelope is
constructed from a cast membrane. Suitable cast membranes can be
chosen to regulate the entry of initiating agent into the
apparatus based on the thickness of the layer, the pore size and
the hydrophobic and/or hydrophilic nature of the membrane. The
thickness of the membrane is preferably between about 50 microns
and about 500 microns, more preferably between about 100 microns
and about 400 microns, and most preferably between about 150
microns to about 350 microns. The pore size preferably is between
about 0.05 microns to about 5 microns, more preferably between
about 0.2 microns and about 1.2 microns, most preferably between
about 0.48 microns and 0.85 microns. A non-woven membrane suitable
for use in accordance with the present invention is the 0.60 pore
size, hydrophobic, polypropylene membrane having a thickness
between about 250 microns and about 300 microns sold under the
designation 060P1 by Cuno Incorporated (Meriden, Conn.).
[0131] Sachets 132, 134 can be constructed from hydrophobic
membrane and/or hydrophilic membrane. Preferred materials for
sachets 132, 134 are described in connection with the embodiment
of FIGS. 1A and 1B. Preferably, the sachets 132, 134 are
constructed from a hydrophilic material, e.g., 0.65 micron pore
size hydrophilic polypropylene membrane, such as that sold under
the designation MPLC by Millipore (Bedford, Mass.), or extruded
polypropylene hydrophilic membrane having a 0.65 micron pore size,
sold under the trade designation JOTD obtained from Millipore
(Bedford, Mass.), or a 114 [mu]m thick, non-woven rice starch
polyethylene composite sold under the designation 60MDP-P by
Mishima Paper Company, Limited (Japan). Also preferred are the 1.2
micron and 2 micron pore, hydrophilic Nylon 6,6 membranes sold
under the designations 120ZY and 200ZY, respectively, by Cuno
Incorporated (Meriden, Conn.), and the 1.2 and 2.0 micron pore
size, hydrophilic polypropylene membranes sold under the
designation MPLC by Millipore (Bedford, Mass.).
[0132] For wet applications, the pore size of the sachet membrane
preferably is between about 0.01 microns to about 30 microns, more
preferably between about 0.05 microns and about 20 microns, even
more preferably between about 0.1 microns and about 10 microns,
most preferably between about 1.2 microns and 5 microns. A pore
size of between about 1.2 microns and 5 microns is preferred in
certain embodiments. Without wishing to be confined to any
particular theory, it is believed that sachet layers with pore
sized in the most preferred range allow rapid passage of the
initiating agent into the reactant and diffusion of the reactant
into the envelope. The envelope would then be chosen with a pore
size that does not allow significant diffusion of the reactant out
of the apparatus. The thickness of the sachet membrane preferably
is between about 50 microns and about 500 microns, more preferably
between about 100 microns and about 400 microns, and most
preferably between about 150 microns to about 350 microns.
[0133] Reactant 142, 144 preferably includes an aqueous soluble
acid and an aqueous chlorite that upon acid activation generates a
gas. Preferably, these components are not mixed, but instead are
separately contained in sachets 132, 134. It is preferred to
separately contain the chlorite and the acid because this
minimizes the likelihood of premature initiation, e.g., during
storage and shipment. Reactant 142, 144 can be liquid or solid,
but is preferably solid.
[0134] Preferably the citric acid has a particle size of between
about 15 microns and about 55 microns and is desiccated until
about 6-8% of the initial weight is removed as excess moisture
prior to incorporation into the apparatus of the present
invention. Preferably the sodium chlorite has a particle size of
between about 15 microns and about 55 microns and is desiccated to
remove excess moisture prior to incorporation into the apparatus
of the present invention.
[0135] In a preferred embodiment, the envelope 120 is hydrophobic
and the sachets 132, 134 are hydrophilic. This preferred
embodiment is particularly suitable for the delivery of gas in wet
applications and has a slower rate of gas delivery than apparatus
10 of FIGS. 1A and 1B. For example, this embodiment can be used to
deliver gas at low rates over long periods of time, e.g., 20 mg of
gas per hour over a 24 hour period. This embodiment also is
preferred for applications where a high efficiency and
concentration of gas is desired and it is possible to allow the
apparatus a period of time to complete delivery, e.g., 4 to 8
hours. This application also is preferred when working with
relatively large amount of reactants that otherwise might begin
reacting during construction and storage of the apparatus, e.g.,
when constructing an apparatus having more than about 1 gram of
sodium chlorite and 4 grams of citric acid. This embodiment is
particularly useful for controlling and preventing biofilm
contamination and as a disinfectant, antiseptic and sanitizer in
applications where water is stored or conducted through conduits,
e.g., in swimming pools, water tanks, humidifiers, boat lines,
beverage lines and the like.
[0136] Optionally, this embodiment could contain a second envelope
(not shown) enclosing the first envelope 120. This second envelope
might be useful, for example, in further regulating the
introduction of the initiating agent through the envelope walls.
[0137] Optionally, this embodiment could contain a third sachet as
depicted in FIG. 19, which is a cross sectional side view of
apparatus 1210 constructed in accordance with the present
invention. Apparatus 1210 generally includes envelope 1220, and
sachets 1232, 1234 and 1236, disposed within envelope 1220.
Sachets 1232, 1234 and 1236 contain reactant 1242, 1244, and 1246,
respectively. This embodiment is particularly useful, for example,
when it is desired to separate acid and chlorite into separate
sachets and the volume of one is significantly greater than the
other, e.g., the volume of acid is greater than the volume of
chlorite. In this instance, one can separate the acid 1242 and
1246, into two sachets 1232, 1236 that are disposed on each side
of the chlorite 1244 disposed within sachet 1234. This embodiment
is preferred when using larger amounts of reactant, e.g., one
could construct an apparatus similar to that depicted in FIG. 19,
with 2 grams of sodium chlorite in one sachet, disposed between
two sachets with 4-5 grams of citric acid in each. All other
variables being equal, this embodiment is more efficient than
embodiments having only two sachets when working with larger
amounts of reactant. This embodiment also is easier to
manufacture.
[0138] In a currently preferred embodiment, the reactant includes
citric acid disposed in sachets 1232, 1236 and sodium chlorite is
disposed in sachet 1234. The sachets 1232, 1234, 1236 are
constructed from 114 [mu]m thick, non-woven rice starch
polyethylene composite sold under the designation 60MDP-P by
Mishima Paper Company, Limited (Japan), and the envelopes are
constructed from 0.60 pore size, hydrophobic polypropylene
membrane having a thickness between about 250 microns and about
300 microns sold under the designation 060P1 by Cuno Incorporated
(Meriden, Conn.).
[0139] This embodiment is particularly useful for controlling and
preventing contamination and as a disinfectant, antiseptic and
sanitizer in applications where water is stored or conducted
through conduits, e.g., in swimming pools, water tanks,
humidifiers, boat lines, beverage lines and the like.
[0140] FIGS. 3A and 3B are a perspective view and a
cross-sectional side view, respectively, of an apparatus 210
constructed in accordance with the present invention. Apparatus
210 includes first sachet 232, first reactant 242 disposed within
first sachet 232, second sachet 234, second reactant 244 disposed
within second sachet 234, third sachet 250 disposed about first
sachet 232 and second sachet 234, and envelope 220 disposed about
third sachet 250. Disposed within the envelope 220 adjacent to the
third sachet 250 is frangible pouch 260, and initiating agent 264
disposed within frangible pouch 260.
[0141] Apparatus 210 is particularly useful for the delivery of
gas in a dry application because initiating agent 264 is contained
within the apparatus 210. In this embodiment, first reactant 242
and second reactant 244 generate a gas in the presence of
initiating agent 264. For this to occur, frangible pouch 260 is
ruptured, e.g., by exerting pressure on frangible pouch 260 so
that initiating agent 264 is delivered into first envelope 220.
Third sachet 250 allows contact of initiating agent 264 with first
sachet 232 and second sachet 242.
[0142] First sachet 232, second sachet 234, first reactant 242 and
second reactant 244 are described above in reference to the
embodiments shown in FIGS. 1A, 1B, 2A and 2B. In a currently
preferred embodiment, first sachet 232 and second sachet 234 are
constructed from a hydrophilic material having a pore size between
about 3 microns and 5 microns. A suitable material is a 3 micron
pore Nylon 6,6 material sold under the trade designation BIODYNE A
by Pall (Port Washington, N.Y.).
[0143] Third sachet 250 preferably is constructed using the
materials described above in reference to the sachet material for
the embodiments described for FIGS. 2A and 2B. The materials
described above in reference to the embodiment described for FIGS.
1A and 1B can also be used. A suitable sachet layers is 0.65
micron pore hydrophobic polypropylene membrane, such as that sold
under the trade designation DOHP by Millipore (Bedford, Mass.).
The third sachet limits the diffusion of reactant out of the third
sachet and thus, it keeps the reactant concentrated within the
third sachet and the pH localized. Preferably, the third sachet
volume is less than 4 times that of the first reactant and the
second reactant combined, and most preferably less than 2 times
that of the first reactant and the second reactant combined.
[0144] Preferably, envelope 220 is constructed from a selective
transmission film. Selective transmission films are described
above in connection with FIGS. 1A and 1B. As discussed above,
selective transmission films are preferred in dry applications
because it allows the gas to diffuse out of the envelope, while
retaining the initiating agent once released from the frangible
pouch. Moreover, the selective transmission film increases the
stability of the apparatus prior to its use because it does not
easily allow ambient water to diffuse into the apparatus, which
could prematurely initiate the reactants. Furthermore, keeping the
reactant, e.g., sodium chlorite and acid, separated into two
sachets also can increase the stability of the apparatus because
it retards initiation should initiating agent diffuse into the
apparatus prior to rupturing the frangible pouch.
[0145] One suitable selective transmission film is a multilayered
polymer film having a carbon dioxide transmission rate of 21,000
cc/m<2>/24 hrs and an oxygen transmission rate of 7,000
cc/m<2>/24 hrs sold under the trade designation PD-961
Cryovac(R) selective transmission film from Sealed Air Corporation
(Duncan, S.C.).
[0146] Frangible pouch 260 can be constructed of any material that
ruptures when pressure is applied to the envelope thus releasing
the initiating agent inside it. Preferably, the frangible pouch is
constructed from a multi-layer plastic, e.g., polyolefin, envelope
having a weak layer positioned near the sealing surface that will
fail under pressure. Initiating agent 264 can be any agent that
initiates a gas-generating reaction, e.g., water. Preferably the
initiating agent is water or an aqueous solution, but is not
limited thereto.
[0147] The skilled practitioner will appreciate that the first
reactant 242 and the second reactant 244 can be combined and
disposed in a single sachet, i.e., first sachet 232 and second
sachet 234 can be combined into a single sachet (not shown).
Moreover, the initiating agent 264 disposed in frangible pouch 260
can be disposed within the volume defined by the third sachet 250
(also not shown).
[0148] FIGS. 4A and 4B are a perspective view and a
cross-sectional side view, respectively, of still yet another
embodiment of an apparatus 310 constructed in accordance with the
present invention. In general overview, apparatus 310 includes
sachet 370 and partition 380 disposed within sachet 370 defining
first volume 382 and second volume 384 within sachet 370. Also
shown is first reactant 342 disposed within first volume 382 and
second reactant 344 disposed within second volume 384. In this
embodiment, first reactant 342 and second reactant 344 generate a
gas in the presence of an initiating agent, and sachet 370 allows
entry of an initiating agent into apparatus 310.
[0149] Preferably, sachet 370 is constructed using a hydrophobic
membrane to retard entry of the initiating agent into the
apparatus. Preferably, partition 380 is constructed using
hydrophilic membrane so that the initiating agent, once within the
apparatus, will migrate to partition 380. These hydrophobic and
hydrophilic membranes are described above for the embodiments
depicted in FIGS. 1A, 1B, 2A, and 2B. Similarly first reactant 342
and second reactant 344 are described above for the embodiments
depicted in FIGS. 1A, 1B, 2A, and 2B. If, for example, first
reactant 342 consists of sodium chlorite and second reactant 344
consists of citric acid, reaction begins when an initiating agent
reaches partition 380. In a preferred embodiment, sachet 370 is
constructed from 0.65 micron pore hydrophobic polypropylene
membrane, such as that sold under the trade designation DOHP by
Millipore (Bedford, Mass.), and partition 380 is constructed from
0.65 micron pore hydrophilic polypropylene membrane, such as that
sold under the designation MPLC by Millipore (Bedford, Mass.).
[0150] Optionally, the apparatus depicted in FIGS. 4A and 4B may
further comprise an envelope (not shown) enclosing the sachet.
This envelope can be constructed from any of the envelope
materials described above for the embodiments depicted in FIGS.
1A, 1B, 2A and 2B. Preferably, the envelope is a hydrophobic
perforated film, such as the polypropylene copolymer film sold
under the designation SM700 by Sealed Air Corporation (Duncan,
S.C.) having 330 holes per square inch having a diameter of 0.4
mm, a 6.4% perforated area and a water vapor transmission rate of
700 g/m<2>/24 hr. In a currently preferred embodiment, the
envelope is constructed from a selective transmission film, such
as the PD-961 Cryovac(R) selective transmission film from Sealed
Air Corporation (Duncan, S.C.) disclosed above in connection with
FIGS. 3A and 3B. Additionally, the apparatus can further comprise
a frangible pouch, and initiating agent disposed within frangible
pouch, disposed within the envelope.
[0151] FIGS. 5A and 5B are a perspective view and a
cross-sectional side view, respectively, of still yet another
embodiment of an apparatus 410 constructed in accordance with the
present invention. In general overview, apparatus 410 includes
sachet 430 and reactant 440 disposed within sachet 430 that
generates a gas in the presence of an initiating agent. Sachet 430
allows contact of the initiating agent with the reactant and
release of the gas from the apparatus.
[0152] There may be instances where having only a sachet, i.e., no
envelope, may be preferred over embodiments that further include
envelopes. For example, where the performance of the apparatus
without an envelope is sufficient, this embodiment is preferred,
because production is simplified as the step of constructing the
envelope is eliminated, and also because material costs may be
decreased by eliminating the need to provide envelope layers to
construct the envelope.
[0153] Sachet materials can be constructed from the materials
described above for the embodiments depicted in FIGS. 1A, 1B, 2A,
and 2B. Preferably, the sachet is constructed using hydrophobic
membrane so that the sachet limits the amount of water entering
the sachet. Similarly, reactant 440 is described above for the
embodiments depicted in FIGS. 1A, 1B, 2A, and 2B.
[0154] FIGS. 8, 9, and 10 depict concentration versus time for
various apparatus that include a sachet but do not include
envelopes. A currently preferred embodiment is an apparatus where
the sachet is constructed from a 0.65 micron pore size,
hydrophobic polypropylene membrane sold under the trade
designation DOHP by Millipore (Bedford, Mass.). The diamond-shaped
data points in FIGS. 9 and 10 depict the performance of an
apparatus with a sachet and without an envelope constructed from
this material.
[0155] In view of the collective teachings and guidance set forth
herein, the practitioner can design, fabricate, test and use any
number of embodiments of the present invention. All that is
required is an ordinary level of skill in the art and some routine
experimentation. For example, for a disinfection application, a
practitioner initially should determine the volume to be
disinfected using a gas-generating apparatus of the instant
invention. Next, appreciating that the current standard for cold
sterilization/disinfection is 5 mg/L chlorine dioxide, the
practitioner should determine the quantity of chlorine dioxide
that will be required to disinfect the desired volume.
[0156] From the volume of chlorine dioxide gas required, the
amount and ratio of reactant necessary to generate this amount of
chlorine dioxide can be calculated. Of course, if a practitioner
wishes to increase or decrease the disinfecting concentration,
then one can adjust the reactant quantities placed in a sachet.
Representative data generated with varying ratios of reactants are
depicted in FIG. 11, for example. Variations in amounts generally
are proportional, e.g., doubling the amount of sodium chlorite
will double the amount of chlorine dioxide gas generated, if all
other elements of the apparatus remain the same. Of course, the
amount of gas generated can also be increased by envelope choice
as described in connection with FIGS. 6 and 7.
[0157] Also, the practitioner should determine the time course of
release of the disinfecting gas and choose sachet layers and
envelope layers accordingly. For example, if a rapid release is
desired, then reactants can be contained within a sachet
fabricated from hydrophilic material; if a less rapid release is
desired, then reactants can be contained in a hydrophobic
material. Representative data generated with hydrophobic and
hydrophilic sachet material are depicted in FIG. 10.
Representative data generated with reactants housed in various
embodiments of sachets and envelopes as taught by the present
invention are depicted in FIGS. 6 through 11. The skilled artisan
will appreciate that intermediate rates of release can be
accomplished by mixing and matching different sachet layers and
different envelope layers. Only routine experimentation is
required.
[0158] Another aspect of the present invention features a method
of forming an apparatus for delivery of a gas. This method
includes the steps of: (a) providing a multi-layer structure
comprising a reactant layer centrally disposed between two sachet
layers, and two envelope layers disposed adjacent to the two
sachet layers such that the two sachet layers are centrally
disposed between the two envelope layers; and (b) stamping the
multi-layer structure such that the two envelope layers form an
envelope defined about its perimeter by the stamp, and the two
sachet layers form a sachet defined about its perimeter by the
stamp.
[0159] This method has many variations and embodiments. For
example, a second reactant layer disposed between an additional
two sachet layers can be included between the two envelope layers
prior to step (a), so that upon stamping, the apparatus includes
two sachets, each with its own reactant layer inside. Another
variant adds the following steps to the method described above:
(c) providing an initiating agent in a frangible pouch and a
second two envelope layers, (d) stamping the second two envelope
layers to form a second envelope defined about its perimeter by
the stamp, such that the frangible pouch and the envelope formed
in step (b) are disposed within the second envelope.
[0160] Stamping includes any method of forming an envelope from
the envelope layers and a sachet from the sachet layers, e.g.,
sealing the perimeter with a glue or other sealant, impulse
sealing and heat sealing.
[0161] This method is advantageous because it allows the apparatus
of the present invention to be manufactured quickly and
inexpensively relative to assembling and forming each individual
sachet and envelope separately.
[0162] In another aspect, the above method can be modified to
construct an apparatus without an envelope. For example, the
method can includes the steps of: (a) providing a multi-layer
structure comprising a reactant layer centrally disposed between
two sachet layers; and (b) stamping the multi-layer structure such
that the two sachet layers form a sachet defined about its
perimeter by the stamp.
[0163] Yet another aspect of the present invention features a
method of delivering gas. This method includes the steps of: (a)
providing an apparatus for delivery of a gas comprising an
envelope, a sachet disposed within the envelope, and a reactant
disposed within the sachet that generates a gas in the presence of
an initiating agent, wherein the envelope allows release of the
gas from the envelope; and (b) disposing the apparatus in an
environment that comprises an initiating agent.
[0164] This method has many variations and embodiments. For
example, the environment can be liquid and the initiating agent
can be water or the environment can be gaseous and the initiating
agent can be water vapor. Preferably, the water vapor is that
naturally diffused in the gaseous environment, e.g., atmospheric
water diffused in air at ambient temperature.
[0165] In another aspect, the above method can be modified to
includes the steps of: (a) providing an apparatus for delivery of
a gas comprising a sachet and a reactant disposed within the
sachet that generates a gas in the presence of an initiating
agent; and (b) disposing the apparatus in an environment that
comprises an initiating agent.
[0166] Optionally, to further increase stability of any of the
apparatus of the present invention during storage and shipment,
any desiccant, such as silica gel or molecular sieves, can be used
to scavenge initiating agent prior to use of the apparatus.
[0167] Layered Apparatus
[0168] FIGS. 12A, 12B and 12C are an exploded view, a
cross-sectional side view, and a perspective view, respectively,
of an exemplary embodiment of an apparatus 510 constructed in
accordance with the present invention. In general overview,
apparatus 510 includes an envelope layer 520, a sachet layer 530
disposed adjacent to the envelope layer 520, a barrier layer 550
disposed adjacent to the sachet layer 530, and reactant 540
disposed in the volume defined by the sachet layer 530 and the
barrier layer 550. The reactant 540 can generate a gas in the
presence of an initiating agent, e.g., water. Sachet layer 530 and
envelope layer 520, are permeable layers that allow passage of the
initiating agent to the reactant 540 and release of the gas from
the apparatus 510. Barrier layer 550 is formed to define a cavity
554 to receive reactant 540, and an edge 558 about its perimeter.
The envelope layer 520 and sachet layer 530 are fused about their
perimeter along the edge 558 of barrier layer 550. Apparatus 510
is particularly useful for the rapid release of a gas for wet
applications.
[0169] Envelope layers are chosen to control the influx of the
initiating agent, while limiting the diffusion of the reactants to
the surrounding fluid, be it gaseous or liquid. The envelope layer
also allows the gas generated by reactant to diffuse to the
surrounding fluid, be it gaseous or liquid. By limiting
transmission of the initiating agent into the apparatus, and
limiting and/or preventing diffusion of the reactants out of the
apparatus, the reactant remains concentrated and the pH of the
reactive system is localized within the apparatus to optimize the
conversion of reactant to gas. Additionally, intermediates and/or
by-products of the reaction, e.g., water, also can contribute to
the efficiency and/or duration of the reaction by its affect on
the equilibrium of the reactions.
[0170] Preferred envelope layers are described above for the
embodiments depicted in FIGS. 1A, 1B, 2A, 2B, 3A, 3B, 4A, 4B, 5A
and 5B. An envelope layer that is currently preferred for this
embodiment is a hydrophobic polypropylene copolymer film sold
under the designation SM700 by Sealed Air Corporation and has 330
holes per square inch having a diameter of 0.4 mm, a 6.4%
perforated area and a water vapor transmission rate of 700
g/m<2>/24 hrs at 50% relative humidity. Also suitable is a
hydrophobic polypropylene copolymer film sold under the trade
designation SM570 that has 162 holes per square inch having a
diameter of 0.4 mm mm, a 32% perforated area and a water vapor
transmission rate of 570 g/m<2>/24 hrs at 50% relative
humidity and also is available from Sealed Air Corporation. Also
suitable for use as an envelope layer is the polypropylene layer
sold under the designation 060P1 by Cuno Incorporated (Meriden,
Conn.).
[0171] The sachet layer can be used to limit the diffusion of the
initiating agent into the volume defined by the sachet layer and
the barrier layer, and limit the diffusion of reactant and any
reaction by-products out of the volume defined by the sachet layer
and the barrier layer. As a consequence, the reactant is and
remains concentrated within the volume defined by the sachet layer
and the barrier layer and the pH remains localized increasing the
efficiency of the reaction. Various attributes of the sachet
layer, such as pore size, bubble point, and hydrophobic and/or
hydrophilic nature of the sachet, can be manipulated to control
the affect of the sachet layer on the reaction as is described
above.
[0172] Preferred sachet layers are described above for the
embodiments depicted in FIGS. 1A, 1B, 2A, 2B, 3A, 3B, 4A, 4B, 5A
and 5B. Sachet layers that are currently preferred for this
embodiment include an extruded, 0.65 micron pore size, hydrophilic
polypropylene membrane sold under the trade designation MPLC from
Millipore (Bedford, Mass.). Also suitable for use as sachet layers
are the nylon 6,6 membrane layers sold under the designations
045ZN, 045ZY and 045ZL by Cuno Incorporated (Meriden, Conn.). The
nylon 6,6 membrane layer sold under the trade designation 045ZY by
Cuno Incorporated is currently preferred and has a thickness of
between about 180 to about 240 microns, a pore size of about 0.45
microns, and a bubble point of about 24.1 psi.
[0173] The barrier layer preferably is constructed of a material
that is durable and stable. Preferably, it is capable of being
affixed to sachet layers and envelope layers for fabrication
purposes, e.g., so that the layers can be fused about their
perimeters to form a defined volume. Preferably, the impermeable
layer has a water vapor transmission rate (WVTR) of less than
about 50 g/m<2>/24 hrs at 70% relative humidity. More
preferably, the impermeable layer has a water vapor transmission
rate (WVTR) of less than about 2 g/m<2>/24 hrs at 70%
relative humidity. Most preferably, the impermeable layer has a
water vapor transmission rate (WVTR) of less than about 0.5
g/m<2>/24 hrs at 70% relative humidity.
[0174] Barrier layers can be constructed of various materials,
including metals, polymeric material and/or coated papers. Other
suitable materials for forming barrier layers include, but are not
limited to, polymeric layers constructed from, e.g., polyethylene,
polypropylene, polyester, styrene, including polystyrene,
polyethylene terephthalate, polyethylene terephthalate glycol
(PETG), polyvinyl chloride, polyvinylidene chloride, ethylvinyl
alcohol, polyvinyl alcohol, including polyvinyl alcohol acetate,
acrylobutylstyrene and/or polytetrafluoroethylene, polyacrylate
and polyamide, including nylon. Also suitable are metallized
layers, e.g., any of the above polymeric layers that have been
metallized. Also suitable are metallic foils, such as aluminum
foils. Various other impermeable materials can be used to form the
barrier film as well, such as glass or ceramics. In addition
layers that are composites of the above layers and/or laminates of
the above layers, e.g., paper/film/foil composites are also
suitable for use as a barrier layer. One currently preferred
impermeable layer is a 5 mil thick impermeable layer comprising a
polyester exterior, a metallized biaxially oriented core, and a
polyethylene interior sealing layer available from Sealed Air
Corporation (Duncan, S.C.). This layer has a water vapor
transmission rate of 0.01 g/100 in<2>/24 hrs at 70% relative
humidity and 122[deg.] F. Another currently preferred impermeable
layer is constructed from polyvinyl chloride. Yet another
currently preferred impermeable layer is constructed from
polyethylene terephthalate glycol (PETG).
[0175] The geometry and size of the barrier layer can be adapted
to suit various parameters, including the amount and type of
reactant, the desired surface area of the sachet layer and/or
envelope layer, and attachments for the storage and use of the
apparatus. In one currently preferred embodiment, the barrier
layer forms a cavity to receive reactant. It is also preferable
that the barrier layer is formed such that it includes an edge
about its perimeter for forming a seal with the sachet layer
and/or envelope layer and/or second barrier layer. It is also
preferable that the barrier layer forms a cavity that, with the
one or more permeable layers, defines a volume that is the same or
only slightly larger than the volume of the reactants. That is, it
is preferable to minimize reactant headspace in the apparatus of
the present invention.
[0176] The barrier layer also can be formed into a shape such that
the apparatus is easily inserted into or removed from various
containers, such as a bottle or pouch. For example, it can be
formed so that it can be inserted into a cap, such as a bottle cap
or pouch cap, so that the cap can then be attached, e.g., by a
threaded seal, snap fit or pressure fit, to a receptacle for
delivery of an initiating agent and/or receiving the generated
gas. One such exemplary embodiment is described in greater detail
in connection with FIGS. 16A and 16B below. The barrier layer also
can be formed into various other geometries so that it can be
otherwise affixed to a container, such as to a bottle. Two such
exemplary embodiments are described in greater detail in
connection with FIGS. 15 and 18 below.
[0177] The barrier layer can be formed into various geometries by
various manufacturing methods known in the art, including but not
limited to, horizontal form film seal, vertical form fill seal,
blister pack, skin pack, injection molding, blow molding,
thermoforming, cold forming fill seal, or mechanical forming. Of
course, the barrier layer also may be flexible and not formed into
any particular geometry, but sealed about its perimeter to the
sachet about the reactant.
[0178] The envelope layer, sachet layer, and barrier layer of the
present invention can be sealed about their perimeters by any
known method, such as heat sealing, ultrasonic sealing, radio
frequency sealing, impulse sealing, and sealing with adhesives.
Preferably, the layers are fused with heat, by ultrasonic welding
or by impulse sealing.
[0179] Reactant in general, preferred reactants, reactant ratios,
and the like, are described above for the embodiments depicted in
FIGS. 1A, 1B, 2A, 2B, 3A, 3B, 4A, 4B, 5A and 5B. Preferably, the
reactant includes a stabilizer, such as activated hydrotalcite.
[0180] Optionally, in certain embodiments the reactant can further
include a drying agent, or desiccant, to prevent premature
initiation of the reactant. For example, desiccant can be added to
the reactant to scavenge water vapor introduced during
construction of the apparatus and/or shipping and storage of the
apparatus, but in amounts small enough such that it would not
prevent initiation when desired. Suitable desiccants include, for
example, molecular sieves. Alternatively or additionally,
desiccant can be separately contained in a permeable layer and
located adjacent to or within the apparatus of the present
invention to absorb or adsorb water vapor. One such exemplary
embodiment is described in greater detail in connection with FIG.
20 below.
[0181] The ratio of volume defined by the sachet layer and the
barrier layer to reactant volume also can be manipulated to
control the concentration of the reactants, intermediates,
byproducts, etc. within the volume defined by the sachet layer and
the barrier layer. This relationship is described in above.
[0182] FIG. 13 is a cross-sectional side view of another exemplary
embodiment of apparatus 600 constructed in accordance with the
present invention. In general overview, apparatus 600 includes an
envelope layer 620, a sachet layer 630 disposed adjacent to the
envelope layer 620, a barrier layer 650 disposed adjacent to the
sachet layer 630, reactant 640 disposed in the volume defined by
the sachet layer 630 and the barrier layer 650, and a second
barrier layer 660 disposed adjacent to the envelope layer 620.
[0183] Sachet layer 630 and envelope layer 620, are permeable
layers that allow passage of the initiating agent to the reactant
640 and release of the gas from the apparatus 600. Barrier layer
650 is an impermeable layer that defines a cuboid cavity 654 to
receive reactant 640, and an edge 658 about its perimeter where
the barrier layer 650 is attached to the sachet layer 630 and the
envelope layer 620.
[0184] The second barrier layer 660 is sealed about its perimeter
to the envelope layer 620. Preferably, second barrier layer 660 is
sealed to the envelope layer 620 by a peelable seal where the seal
strength is such that the barrier layer 660 can be removed from
the envelope layer 620 without disrupting either the seal between
envelope layer 620 and sachet layer 630, or the seal between
sachet layer 630 and barrier layer 650. Until the second barrier
layer 660 is removed, it prevents initiation of the reactant 640
because it prevents passage of the initiating agent to the
reactant 640. Second barrier film 660 can be used to prevent
passage of the initiating agent into the apparatus when it is not
in use, e.g., during storage and shipping.
[0185] Apparatus 600 is particularly useful for applications where
the apparatus 600 is likely to be stored and/or shipped in the
presence of initiating agent, e.g., water vapor in the surrounding
air. Apparatus 600 also is particularly useful for applications
where a relatively large amount of reactant is desired as cavity
654 is formed to accommodate a relatively large amount of
reactant. The two barrier layers 650, 660 prevent initiation of
the reactant 650 until the second barrier layer 660 is removed.
[0186] The envelope layer, sachet layer, and barrier layer can be
constructed from any of the materials described above in
connection with the embodiments depicted in FIGS. 1A, 1B, 2A, 2B,
3A, 3B, 4A, 4B, 5A, 5B, 12A, 12B and 12C. Reactant in general,
preferred reactant, reactant ratios, reactant volume and the like,
are described above in connection with the embodiments depicted in
1A, 1B, 2A, 2B, 3A, 3B, 4A, 4B, 5A, 5B, 12A, 12B and 12C.
[0187] Optional second barrier layer 660 can be constructed from
any of the materials described above in connection with the
barrier layer depicted in FIGS. 12A, 12B and 12C. Second barrier
layer 660 also can be constructed from the same or different
materials used to construct the barrier layer 650. Currently
preferred second barrier layers include metal foil, nylon layers,
polyvinylidene chloride layers, ethylvinyl alcohol layers and
composites or laminate of these layers, such as a metallic
foil/polyethylene layer laminate.
[0188] The second barrier layer can be sealed to the perimeter of
the envelope layer, or sachet layer if no envelope layer is used,
using any of the methods described above in connection with
sealing the barrier, sachet layer and envelope layer of FIGS. 12A,
12B and 12C. Preferably, the second barrier layer is attached to
the envelope layer by impulse sealing or heat sealing. Optionally,
the second barrier layer also can include a device, such as a tab
along its perimeter that facilitates its removal from the envelope
layer without disrupting the other layers.
[0189] FIG. 14 is a cross-sectional side view of another exemplary
embodiment of apparatus 700 constructed in accordance with the
present invention. In general overview, apparatus 700 includes an
envelope layer 720, a sachet layer 730 disposed adjacent to the
envelope layer 720, a barrier layer 750 disposed adjacent to the
sachet layer 730, reactant 740 disposed in the volume defined by
the sachet layer 730 and the barrier layer 750, and a second
barrier layer 760 disposed adjacent to the envelope layer 720.
[0190] Sachet layer 730 and envelope layer 720, are permeable
layers that allow passage of the initiating agent to the reactant
740 and release of the gas from the apparatus 700. Barrier layer
750 is an impermeable layer that forms a hemispheroid cavity 754
to receive reactant 740, and an edge 758 about its perimeter where
the barrier layer 750 is attached to the sachet layer 730 and the
envelope layer 720 by a heat or impulse seal.
[0191] The second barrier layer 760 also is sealed about its
perimeter to the envelope layer 720 by a heat or impulse seal.
Preferably, second barrier layer 760 is sealed to the envelope
layer 720 so that it can be removed from the envelope layer 720
without disrupting the attachment of the envelope layer 720 to the
sachet layer 730 and the sachet layer 730 to the barrier layer
750. Until the second barrier layer 760 is removed, it prevents
initiation of the reactant 740 because it prevents passage of the
initiating agent to the reactant 740. Second barrier film 760 can
be used to prevent passage of the initiating agent into the
apparatus when it is not in use, e.g., during storage and
shipping.
[0192] Apparatus 700 is particularly useful for applications where
the apparatus 700 is likely to be stored and/or shipped in an
environment that allows contact of the initiating agent with the
apparatus. Apparatus 700 also is particularly useful for
applications where it is desirable to utilize relatively small
amounts of reactant to deliver gas to limited volumes of liquid.
The two barrier layers 750, 760 prevent initiation of the reactant
740 until the second barrier layer 760 is removed.
[0193] The envelope layer, sachet layer, and barrier layer can be
constructed from any of the materials described above in
connection with FIGS. 1A, 1B, 2A, 2B, 3A, 3B, 4A, 4B, 5A, 5B, 12A,
12B, 12C and 13. Reactant in general, preferred reactants,
reactant ratios, and the like, are described above in connection
with FIGS. 1A, 1B, 2A, 2B, 3A, 3B, 4A, 4B, 5A, 5B, 12A, 12B, 12C
and 13.
[0194] The second barrier layer can be constructed from any of the
materials described above in connection with the barrier layers
depicted in FIGS. 12A, 12B, 12C and 13. The second barrier layer
can be sealed to the perimeter of the envelope layer, or sachet
layer if no envelope layer is used, using any of the methods
described above in connection with sealing the barrier, sachet
layer and envelope layer of FIGS. 12A, 12B and 12C and 13.
Preferably, it is heat or impulse sealed or sealed with an
adhesive. Optionally, the second barrier layer also can include a
device, such as a tab along its perimeter that facilitates its
removal from the envelope layer without disrupting the other
layers (not shown).
[0195] FIG. 15 is a perspective view of still yet another
exemplary embodiment of an apparatus 870 constructed in accordance
with the present invention. In general overview, apparatus 870
includes a pouch 875 having a spout 880 and a cap 885, and
apparatus 510 as described in connection with FIGS. 12A, 12B and
12C. The apparatus 510 can be affixed to a wall of pouch 875,
e.g., by adhesive or thermal bonding. Alternatively, it can be
located within pouch 875 without being affixed thereto so that,
e.g., it can be removed and replaced after use.
[0196] Apparatus 870 is particularly useful for the release of gas
into a desired amount of liquid, e.g., water or air, so that a
desired concentration of the gas in the liquid can be easily
achieved. The amount of liquid can be defined by the volume of the
pouch, pre-measured before addition of the pouch, or the pouch can
include indicia located on the wall of the pouch to indicate
various volumes that can be occupied by the liquid. The final
concentration of the gas in the liquid can be controlled by choice
of, e.g., of reactant amount, reactant ratio, sachet layer, and
envelope layer, as described in connection with FIGS. 1A, 1B, 2A,
2B, 3A, 3B, 4A, 4B, 5A, 5B, 12A, 12B, 12C, 13 and 14.
[0197] The pouch and cap can be constructed from any of the
impermeable or permeable materials disclosed above in connection
with FIGS. 12A, 12B, 12C and 13-14. Preferably, the pouch and cap
are constructed from polypropylene, polyethylene, polyethylene
terephthalate, metal foil, nylon and/or composites or laminates of
these layers such as a foil/polyethylene laminate. The pouch can
be constructed from impermeable materials to avoid introduction of
initiating agent into the pouch prior to the desired initiation of
the reactant, e.g., during shipping and storage. One such pouch
material suitable for use in accordance with the present invention
is constructed from a 5 mil thick impermeable layer comprising a
polyester exterior, a metallized biaxially oriented core, and a
polyethylene interior sealing layer. This layer has a water vapor
transmission rate of 0.01 g/100 in<2>/24 hours at 70%
relative humidity and 122[deg.] F. Alternatively or additionally,
the apparatus 510 can further include a second barrier film as
described in FIGS. 13 and 14.
[0198] The apparatus 870 can be used by filling the pouch 875 with
a liquid that includes initiating agent, attaching the cap 885 to
the spout 880, and awaiting the generation of the desired quantity
of gas by apparatus 510 into the liquid contained within the pouch
875. This embodiment can be useful for preparing solutions for
removing biofilm and/or sanitizing plastic waterlines in dental,
marine or aerospace applications. This embodiment can also be
useful for preparing solutions for surface sanitation, infection
control and the like. Alternatively, any other water reservoir,
such as a rigid bottle may be used instead of the pouch.
[0199] FIGS. 16A and 16B are a perspective view and an enlarged
cross-sectional side view of a portion, respectively, of yet
another exemplary embodiment of an apparatus 972 constructed in
accordance with the present invention. In general overview, the
apparatus 972 includes a pouch 975, a spout 980, and a cap 985.
The cap 985 includes a barrier layer 950, reactant 940, a sachet
layer 930 and an envelope layer 920. The barrier layer 950 is
formed to define a cavity to receive reactant 940 and also is
formed to fit into cap wall 990. The barrier layer 950 is attached
to the cap wall 990 by snap in pressure fit so that it stays in
position and can be removed and replaced after generation and
release of the gas. Cap wall 990 defines an interior thread 994
that matches exterior thread 996 defined by spout 980. Spout 980
further includes a second barrier film 995 that seals the opening
defined by the spout 980.
[0200] Apparatus 972 is particularly useful for preparing
solutions for removing biofilm and sanitizing plastic waterlines
in dental, marine, beverage and aerospace applications. This
embodiment also can be useful for preparing solutions for surface
sanitation, infection control and the like. One advantage of this
embodiment is that the barrier films 950, 995 prevent initiation
of the reactant when not in use, e.g., during shipping and
storage, by sealing the apparatus by threading the cap to the
spout in an environment substantially free from initiating agent
and not removing the cap until initiation is desired. When
generation of gas is desired, the cap can then be removed from the
spout, and the second barrier film removed from the spout. The
pouch can then be filled with liquid in part or entirely, the cap
replaced and the reaction initiated, such that gas is released and
enters the pouch.
[0201] Apparatus 972 also is advantageous because the pouch need
not be constructed from impermeable materials, because the second
barrier film prevents initiation of reaction when not in use,
e.g., during storage and shipment.
[0202] The envelope layer, sachet layer, barrier layers, pouch and
cap can be constructed from any of the materials are described in
connection with FIGS. 1A, 1B, 2A, 2B, 3A, 3B, 4A, 4B, 5A, 5B, 12A,
12B, 12C, 13, 14 and 15. Reactant in general, preferred reactants,
reactant ratios, and the like, also are described in connection
with FIGS. 1A, 1B, 2A, 2B, 3A, 3B, 4A, 4B, 5A, 5B, 12A, 12B, 12C,
13, 14 and 15. The cap can be sealed by other means known in the
art, e.g., by a pressure fitting.
[0203] Optionally, a barrier film can be placed on the opening
defined by the cap wall. Thus, the cap can be stored and shipped
separately from the pouch. This can be advantageous, e.g., in
applications where the pouches can be reused, and thus material
costs, storage space, storage costs, and shipping costs can be
reduced. Alternatively, any other water reservoir, such as a rigid
bottle may be used instead of the pouch depicted in FIGS. 16A and
16B.
[0204] FIGS. 17A and 17B are a cross-sectional side view and a
perspective view, respectively, of still yet another exemplary
embodiment of apparatus 1000 constructed in accordance with the
present invention. In general overview, apparatus 1000 includes a
sachet layer 1035, a barrier layer 1050 disposed adjacent to the
sachet layer 1035, and reactant 1040 disposed in the volume
defined by the sachet layer 1035 and the barrier layer 1050.
Sachet layer 1035 is a permeable layer. Barrier layer 1050 is an
impermeable layer and defines a cavity 1054 and an edge 1058 about
its perimeter.
[0205] Apparatus 1000 is particularly useful for applications
where the performance of the apparatus without an envelope layer
is sufficient because production is simplified as the step of
constructing the envelope layer is eliminated. In addition,
eliminating the need to provide an envelope layer to construct the
apparatus can decrease material costs.
[0206] The sachet layer and barrier layer can be constructed from
any of the materials described in connection with FIGS. 1A, 1B,
2A, 2B, 3A, 3B, 4A, 4B, 5A, 5B, 12A, 12B, 12C, 13, 14, 15, 16A and
16B. Preferably, the sachet layer is constructed using a
hydrophobic membrane so that the sachet layer limits the amount of
water entering the apparatus. A currently preferred embodiment is
an apparatus where the sachet layer is constructed from a 0.65
micron pore size, hydrophobic polypropylene membrane sold under
the trade designation DOHP by Millipore (Bedford, Mass.). Another
currently preferred embodiment is an apparatus where the sachet
layer is constructed from a polypropylene layer sold under the
trade designation 060P1 by Cuno Incorporated (Meriden, Conn.).
[0207] Reactant in general, preferred reactants, reactant ratios,
and the like, are described in connection with FIGS. 1A, 1B, 2A,
2B, 3A, 3B, 4A, 4B, 5A, 5B, 12A, 12B, 12C, 13, 14, 15, 16A and
16B.
[0208] FIG. 18 is a cross-sectional side view of still yet another
exemplary embodiment of an apparatus 1104 constructed in
accordance with the present invention. In general overview,
apparatus 1104 includes a tubular bottle 1106, a pump mechanism
1112 in threaded connection with the tubular bottle 1106 on a
first end, a detachable portion 1124 in threaded connection with
the tubular bottle 1106 on a second end, and insert 1132.
[0209] The bottle 1106 forms a spout 1108 that forms an exterior
thread 1109 on the first end that attaches to the pump mechanism
1112 fixed in screw cap 1114 that forms a matching interior thread
1111. The bottle 1106 also defines an opening 1118 on the second
end and exterior thread 1122 for attachment to the matching,
interior thread 1126 defined by detachable portion 1124.
Detachable portion 1124 also is formed to define a ridge 1128
about its interior perimeter that receives the insert 1132.
[0210] Insert 1132 includes a barrier layer 1150, reactant 1140, a
sachet layer 1130, and an envelope layer 1120. The barrier layer
1150 is formed to snap into ridge 1128 and form a pressure fit so
that it will remain in place during use and after use can be
removed and replaced with another similarly configured insert. The
barrier layer 1150 also is formed to define a cavity 1154 to
receive reactant 1140 and an edge 1158 about its perimeter for
attachment to the sachet layer 1130 and the envelope layer 1120.
Optionally, insert 1132 can further include a second barrier layer
adjacent to the envelope layer 1120 (not shown) as described in
connection with FIGS. 13 and 14.
[0211] Pump mechanism 1112 includes tubular plunger 1133 on which
pushbutton 1131 is mounted containing a spray nozzle 1134. Also
shown are basic components of a typical pump, such as piston 1135,
cylindrical chamber 1136, one-way valve 1137, collar 1138, and
intake tube 1139. Alternate pump mechanisms are known in the art,
such as the mechanisms described in U.S. Pat. No. 4,077,549.
[0212] Apparatus 1104 is particularly useful for use in generating
a desired concentration of gas in a liquid, e.g., water, that can
then be easily delivered to a desired location, e.g., a countertop
for disinfection, via a pump mechanism. The pump mechanism can be
removed from the spout so that the volume defined by the tubular
bottle and detachable portion can be filled, partially or
entirely, with a liquid, e.g., water. Detachable portion can be
removed to attach or replace the insert 1132, so that bottle 1106,
pump mechanism 1112, and detachable portion 1124 can be reused.
[0213] The envelope layer, sachet layer, and barrier layer can be
constructed from any of the materials are described in connection
with FIGS. 1A, 1B, 2A, 2B, 3A, 3B, 4A, 4B, 5A, 5B, 12A, 12B, 12C,
13, 14, 15, 16A, 16B, 17A and 17B. Reactant in general, preferred
reactants, reactant ratios, and the like, are described in
connection with FIGS. 1A, 1B, 2A, 2B, 3A, 3B, 4A, 4B, 5A, 5B, 12A,
12B, 12C, 13, 14, 15, 16A, 16B, 17A and 17B.
[0214] The tubular bottle and the detachable portion can be
constructed from any material described in connection with the
pouch and cap described in FIGS. 15, 16A and 16B. The tubular
bottle can be formed by any method known in the art, e.g., blow
molding or injection molding. Pump mechanism 1112 can be any pump
mechanism known in the art. A wide variety of pump mechanisms are
commercially available.
[0215] FIG. 20 is a cross-sectional side view of another exemplary
embodiment of apparatus 1310 constructed in accordance with the
present invention. In general overview, apparatus 1310 includes an
envelope layer 1320, a sachet layer 1330 disposed adjacent to the
envelope layer 1320, a barrier layer 1350 disposed adjacent to the
sachet layer 1330, reactant 1340 disposed in the volume 1354
defined by the sachet layer 1330 and the barrier layer 1350, and
desiccant 1341 disposed in the volume 1355 defined by the sachet
layer 1330 and the barrier layer 1350.
[0216] Sachet layer 1330 and envelope layer 1320, are permeable
layers that allow passage of the initiating agent to the reactant
1340 and release of the gas from the apparatus 1310. Barrier layer
1350 is an impermeable layer that forms cavities 1354, 1355 to
receive reactant 1340 and desiccant 1341, respectively. The
barrier layer 1350 is attached to the sachet layer 1330 and the
envelope layer 1320 by a heat or impulse seal about the perimeter
of the cavities 1354, 1355. Optionally a second barrier layer (not
shown) can be sealed about its perimeter adjacent to the envelope
layer 1320. Desiccant 1341 can be used to attract any ambient
water vapor and/or liquid water and thereby prevent or minimize
passage of water vapor and/or liquid water to the reactant 1340
disposed in cavity 1354 during storage and shipping.
[0217] This embodiment is particularly useful for wet applications
and is more resistant to premature initiation than, e.g., the
embodiment depicted in FIGS. 12A, 12B and 12C, due to the presence
of the desiccant.
[0218] The envelope layer, sachet layer, barrier layer, and
reactant can be any of those described in connection with the
above FIGS. 1A, 1B, 2A, 2B, 3A, 3B, 4A, 4B, 5A, 5B, 12A, 12B, 12C,
13, 14, 15, 16A, 16B, 17A, 17B, 18 and 19. In a currently
preferred embodiment, the envelope layer is a hydrophobic
polypropylene copolymer film sold under the designation SM700 by
Sealed Air Corporation and has 330 holes per square inch having a
diameter of 0.4 mm, a 6.4% perforated area, a thickness of about
20 microns, and a water vapor transmission rate of 700
g/m<2>/24 hrs, the sachet layer is extruded, 0.65 micron
pore size, hydrophilic polypropylene membrane sold under the trade
designation MPLC from Millipore (Bedford, Mass.) or Nylon 6,6
membrane layer sold under the trade designation 045ZY by Cuno
Incorporated having a thickness of between about 180 to about 240
microns, a pore size of about 0.45 microns, and a bubble point of
about 24.1 psi, the barrier layer is a polyethylene terephthalate
glycol (PETG) or polyvinyl chloride (PVC) layer, the reactant
includes sodium chlorite and citric acid, and the desiccant
comprises molecular sieves.
[0219] Apparatus 1310 can also be incorporated into a pouch like
that depicted in FIG. 15 to generate a desired concentration of
gas, e.g., chlorine dioxide, in water. This embodiment is
particularly useful in wet applications, e.g., for use in removing
biofilm from dental equipment. One such apparatus was constructed
and used to generate an aqueous solution containing 50 parts per
million chlorine dioxide. It was then emptied into a dental
equipment reservoir and allowed to run through the equipment,
which was contaminated with biolfilm, and stand overnight. In the
morning, the dental equipment was flushed with water. This
procedure was repeated the following two nights. The equipment was
then tested for the presence of biofilm and the biofilm was
diminished. Thereafter, rinsing the equipment once daily with a 5
parts per million solution was adequate to retard the growth of
biofilm in the equipment.
[0220] In view of the collective teachings and guidance set forth
herein, the practitioner can design, fabricate, test and use any
number of embodiments of the present invention. All that is
required is an ordinary level of skill in the art and some routine
experimentation.
[0221] Another aspect of the present invention features a method
of forming an apparatus for delivery of a gas. This method
includes the steps of: (a) providing a multi-layer structure
comprising a reactant layer centrally disposed between a sachet
layer and a barrier layer, and an envelope layer disposed adjacent
to the sachet layer; and (b) sealing the perimeter of the barrier
layer, sachet layer and barrier layer such that the reactant is
disposed in a volume defined by the sachet layer and the barrier
layer.
[0222] This method has many variations and embodiments. For
example, a second barrier layer can be disposed adjacent to the
envelope layer opposite the sachet layer prior to step (a).
Another example is that in step (b) the seal can be effected by
adhesive and/or by stamping the multi-layer structure with a hot
die to heat-seal the layers together.
[0223] Sealing includes any method of substantially sealing the
envelope layer, the sachet layer and the barrier layer about their
perimeters, e.g., sealing the perimeter with a glue or other
sealant, impulse sealing, ultrasonic sealing and heat sealing.
[0224] In a preferred embodiment, the apparatus is manufactured in
an array for ease of manufacturing. This method includes: (a)
providing a layer of impermeable material that has an array of
cavities formed therein; (b) disposing reactant in the array of
cavities; (c) disposing one or more permeable layer over the layer
of impermeable material; (d) sealing the one or more permeable
layers to the layer of impermeable material about the perimeter of
each cavity; and (e) cutting the impermeable material and the one
or more permeable materials about the perimeter of each cavity.
[0225] This method is advantageous because it allows the apparatus
of the present invention to be manufactured quickly and
inexpensively relative to assembling and forming each individual
sachet and envelope separately and/or manually.
[0226] The impermeable material provided in step (a) can have an
array of cavities formed therein, e.g., by using a thermoforming
process to form the array of cavities. Thermoform machines
suitable for use in accordance with the present invention include
those manufactured by Multivac (Kansas City, Mo.), Tiromat (Avon,
Mass.) Robert Reiser & Co. (Canton, Mass.), and Ulma Packaging
(Woodstock, Ga.). Other suitable methods for forming the array of
cavities include vacuum forming, cold forming, mechanical forming,
and blister or skin packing process. The reactant can be disposed
in the array of cavities on an assembly line and the one or more
permeable layers can be sequentially positioned over the
impermeable material, e.g., by unwinding sheets of the one or more
permeable layers over the impermeable layer on an assembly line.
The one or more permeable layers can then be sealed to the
impermeable material about the perimeter of each cavity using
methods known in the art, e.g., adhesives, heat sealing methods,
ultrasonic sealing methods, radio frequency sealing methods or
impulse sealing. The impermeable material and the one or more
permeable materials can then be cut about the perimeter of each
cavity using methods known in the art, e.g., by using a die, to
form an apparatus similar to those depicted in FIGS. 12A, 12B,
12C, 13-15, 16A, 16B, 17A, 17B, 18 and 20.
[0227] These apparatus can then be inserted into the spout of a
pouch that has been otherwise sealed about its periphery.
Alternatively, it can be inserted into a pouch that has not been
sealed about its periphery and the periphery then sealed, e.g., by
using adhesive, heat sealing methods, ultrasonic sealing methods,
radio frequency sealing methods or impulse sealing methods.
Optionally, the apparatus can be attached to a wall of the pouch,
e.g., by using adhesive, heat sealing methods, ultrasonic scaling
methods, radio frequency scaling methods or impulse sealing
methods.
[0228] In another aspect, the above method can be modified to
construct an apparatus without an envelope. For example, the
method can include the steps of: (a) providing a multi-layer
structure comprising a reactant layer centrally disposed between a
sachet layer and a barrier layer; and (b) sealing the multi-layer
structure such that the such that the reactant is disposed in a
volume defined by the sachet layer and the barrier layer
[0229] Yet another aspect of the present invention features a
method of delivering gas. This method includes the steps of: (a)
providing an apparatus for delivery of a gas comprising an
envelope layer, a sachet layer disposed adjacent to the envelope
layer, a barrier layer disposed adjacent to the sachet layer, and
a reactant disposed in a volume defined by the sachet layer and
the barrier layer; and (b) disposing the apparatus in an
environment that comprises an initiating agent.
[0230] This method has many variations and embodiments. For
example, the environment can be liquid and the initiating agent
can be water or the environment can be gaseous and the initiating
agent can be water vapor. The apparatus can further comprise a
pouch that can be filled with a desired liquid to receive the gas
generated.
[0231] Optionally, to further increase stability of any of the
apparatus of the present invention during storage and shipment,
any desiccant, such as silica gel or molecular sieves, can be
incorporated within the apparatus to scavenge initiating agent
prior to use of the apparatus.
[0232] The present invention is useful for fabrication of a gas
delivery apparatus that is compact, cost-effective and safe.
Furthermore, the present invention can be used for a variety of
applications, including delivery of gas to air or water, for a
variety of purposes including removal of biofilm, disinfection,
deodorization, bleaching and sanitation.
[0233] As a general rule and without wishing to be confined to any
theory, it is expected that the amount and rate of gas release
exhibited by apparatus of the present invention will be influenced
by the total surface area of the permeable layer adjacent to the
reactant, but not by the geometry of the apparatus. That is, the
various embodiments of the present invention are expected to
release the same volume of gas at the same rate provided that the
total surface area of the permeable layer adjacent to the reactant
is about equal, all other variables being held constant. It has
been discovered that hydrotalcite, and the metal hydroxides in the
hydrotalcite family, can be used to stabilize one or more
reactants of the present invention. For example, hydrotalcite,
including activated hydrotalcite, and metal hydroxides in the
hydrotalcite family can be used to stabilized the following
reactants and combination of these reactants: acids, aqueous
acids, citric acid, oxalic acid, fumaric acid, phosphoric acid,
potassium bitartate, chlorites, chlorates, sulfites, bisulfites,
sulfates, carbonate, nitrites. While not wishing to be bound to
any particular theory, it is believed that the basic nature and
ability to attract and bind water and water vapor of hydrotalcite
and its family members contribute to its ability to stabilize the
reactants of the present invention. Basic additives are less
likely to react with chlorites and other reactants that react with
acid than acidic additives. In addition, the ability of
hydrotalcite and its family members to attract, absorb, adsorb
and/or otherwise bind water and water vapor mitigates or prevents
premature initiation, e.g., during manufacture, shipping, and
storage. The ability of hydrotalcite to function as a flow agent
also is desirable because it renders the reactants more readily
metered and dispensed during manufacture. Activated hydrotalcite,
i.e., hydrotalcite that has been heated drive off water, has been
found to stabilize reactants in an apparatus such as those
described in Examples 12 and 13 for at least six months. The
apparatus are expected to have a shelf life of at least a year.
[0234] The mineral commonly known as hydrotalcite is the naturally
occurring form of hydrotalcite, which has the chemical formula:
Mg6Al2(OH)16CO3.4H2O. Hydrotalcite, suitable for use in the
apparatus of the present invention, is commercially available from
DIP Chemical Industries (Mumbai, India). When activated, this
hydrotalcite is hygroscopic, in that it absorbs water vapor up to
about 36% of its weight when exposed to about 97% relative
humidity, and has a surface pH between about 11 and about 12. The
hydrotalcite can be activated using known methods, e.g., by
exposing it to high temperatures for an extended period of time,
e.g., 500[deg.] C. for one hour, and thereafter sealing the
hydrotalcite in a low humidity environment so that it doesn't
deactivate prematurely.
[0235] There also are metal hydroxides in the hydrotalcite family
that can be used to stabilize reactants in accordance with the
present invention. The family can be described with the general
formula: AwBx(OH)yCz.nH2O, wherein A is a divalent metal cation, B
is a trivalent metal cation, and C is a monovalent, divalent,
trivalent, or tetravalent anion. The values for w, x, y, z, and n
have the following relationship: 0 ≤z≤x≤4≤w≤{fraction (1/2)}y, and
12≥n≥{fraction (3/2)}x. Metal cations represented by A include,
but are not limited to, Mg<2+>, Ni<2+>, Fe<2+>,
and Zn<2+>. Metal cations represented by B include, but are
not limited to, Al<3+>, Fe<3+>, and Cr<3+>.
Chemical species represented by C include, but are not limited to
CO3<2->, SO4<2->, OH<->, NO3<->, and
Cl<->. One such hydrotalcite is a hydrotalcite having the
formula: Mg4Al2(OH)12CO3.nH2O, and is commercially available from
Alcoa World Chemicals (Leetsdale, Pa.). Other suitable minerals in
the hydrotalcite family include pyroaurite having the formula
Mg6Fe<3+>2(OH)16CO3.4H2O, and takovite having the formula
Ni6Al2(OH)16[(CO3)0.75(OH)0.25].4H2O. Preferably, the hydrotalcite
is added to the reactant such that the resulting mixture is
between about 1% and about 25% hydrotalcite by weight. More
preferably, the resulting mixture is between about 5% and about
20% hydrotalcite by weight.
[0236] Another aspect of the present invention is an apparatus for
delivery of a gas including a sachet that includes a material that
is water vapor selective, and a reactant disposed in the sachet
that generates a gas in the presence of an initiating agent. The
term "water vapor selective" as used herein refers to a material
that selectively allows permeation of water vapor and
substantially impedes permeation of liquid water. More preferably,
the material excludes permeation of liquid water. Typically, the
water vapor selective material is hydrophobic. The skilled
practitioner typically refers to water vapor selective material as
water impermeable, although water vapor can permeate the layer,
and refers to materials that allow permeation of liquid water as
water permeable. Suitable water vapor selective materials can be
made from a variety of materials including, but not limited to,
polytetrafluoroethylene (PTFE), polypropylene (PP), polyethylene
(PE), and fluorinated ethylene propylene (FEP).
[0237] Water vapor selective material also is particularly
advantageous because it substantially impedes or excludes the
diffusion of water soluble species, such as water soluble
reactants, additives, and reaction by-products, out of the
apparatus. Membranes that allow liquid water permeation allow
soluble species such as soluble reactants to permeate the
apparatus and enter the environment. Prior attempts have been made
to ameliorate or avoid escape of soluble species by using
insoluble reactants or by binding or otherwise disposing the
soluble species on insoluble materials such as clays and molecular
sieves. This is not advantageous because it introduces additional
steps and/or expense to the preparation of the apparatus. Thus,
the water vapor selective materials of the present invention are
advantageous because they impede or preclude the permeation of the
soluble reactants, additives, and by-products, thus removing the
need to include or generate insoluble reactants, by-products
and/or additives.
[0238] Water vapor selective materials also are advantageous
because their use eliminates the need to use any further layers,
e.g., further sachet and/or envelope layers, to retain soluble
species in the apparatus, which also introduces additional steps
and expense in the construction of the apparatus.
[0239] Preferably, the water vapor selective material has a
thickness between about 5 microns and about 400 microns thick, a
pore size between about 0.05 microns and about 10 microns, and a
water intrusion pressure between about 30 millibars and about
4,000 millibars. Preferably, the water vapor selective material is
adhered to or otherwise supported by a support layer that allows
liquid water to permeate the support layer, and the overall
thickness of both the water vapor selective layer and the support
layer is between about 1 mil and 20 mils. More preferred, are
water vapor selective materials having a thickness between about
15 microns and about 200 microns thick, a pore size between about
0.25 microns and about 5 microns, and a water intrusion pressure
between about 100 millibars and about 1,500 millibars. Preferably
this layer has a water permeable support layer such that the total
thickness of both layers is between about 2 mils and about 10
mils. Most preferred, are water vapor selective materials having a
thickness between about 20 microns and about 100 microns thick, a
pore size between about 1 micron and about 3 microns, and a water
intrusion pressure between about 200 millibars and about 750
millibars. Preferably this layer has a water permeable support
layer such that the total thickness of both layers is between
about 3 mils and about 8 mils.
[0240] Generally, if rapid generation and release of gas is
desired, a thinner layer is preferred because the thinner the
layer, the more rapidly water vapor can diffuse into the apparatus
and initiate the reaction, and the more rapidly gas can diffuse
out of the apparatus. Conversely, if slower generation and release
of gas is desired a thicker material is preferred, such as between
about 5 mils and about 20 mils. Additionally or alternatively, if
slower generation and release of gas is desired, a relatively
smaller surface area of the material can be used. For example, a
sachet including a rigid frame can be used to construct the sachet
as described below and illustrated in Example 15, and one or both
sachet layers can be constructed from a water vapor selective
material.
[0241] Additionally or alternatively, pore size of the water vapor
selective layer can be selected to produce the desired release at
specific depths of water in which the apparatus will be used. A
smaller pore size will correspond to deeper operation by
increasing the amount of hydraulic water pressure that the
membrane will experience while remaining impermeable to liquid
water.
[0242] Water vapor selective layers suitable for use in
constructing the apparatus of the present invention preferably
have water vapor permeability of between about 2,000
g/m<2>/24 hrs and about 150,000 g/m<2>/24 hrs, as
determined by JIS L 1099-1985 (Method B), "Testing Methods for
Water Vapour Permeability of Clothes," from the Japanese Standards
Association. Water vapor selective layers preferably have a
resistance to liquid water permeation of at least about 30
millibars as determined by ISO 811-1981 "Textile
fabrics-Determination of resistance to water
penetration-Hydrostatic pressure test" published by the
International Organization for Standardization.
[0243] Optionally, the water vapor selective layer or layers of
the present invention can include a support layer to increase the
strength of the layer, and/or to increase its ability to bond to
the other materials used to construct the apparatus. The support
layer preferably allows diffusion or passage of initiating agent
to the surface of the water vapor selective layer. For example,
the support layer can be spun, perforated or have large pores that
allow passage of liquid water and vapor to the surface of the
water vapor selective layer. The support layer can be affixed to
the water vapor selective layer by any means, for example,
lamination, casting, co-extrusion, and/or adhesive layers.
Preferably, the sachet is constructed so that the water vapor
selective layer faces the interior of the sachet. The support
layer itself can be hydrophilic and/or hydrophobic. If
hydrophilic, the material can be used to attract and deliver
liquid water and/or vapor to the surface of the water vapor
selective material. Suitable support layers include, but are not
limited to, polyethylene, polypropylene, nylon, acrylic,
fiberglass, and polyester in the form of woven, non-woven, and
mesh layers. Preferably, the support layer thickness is between
about 1 mil and 20 mils.
[0244] Suitable water vapor selective materials previously
described herein include the 0.60 pore size, hydrophobic,
polypropylene (PP) membrane having a thickness between about 250
microns and about 300 microns sold under the designation 060P1 by
Cuno Incorporated (Meriden, Conn.). Also suitable is the 0.65
micron pore size, hydrophobic polyethylene material sold under the
trade designation DOHP by Millipore (Bedford, Mass.)
[0245] Another water vapor selective material, suitable for use in
a rapid release apparatus, includes a 1.75 mil thick, hydrophobic
polytetrafluoroethylene (PTFE) layer thermally bonded to a 5 mil
thick, hydrophobic polyethylene (PE) support layer sold under the
trade designation BHA-TEX(R) by BHA Technologies (Kansas City,
Mo.). Its resistance to liquid water permeation is at least about
500 millibar.
[0246] FIG. 21 is a perspective view of yet another exemplary
embodiment of an apparatus 1510 constructed in accordance with the
present invention. Apparatus 1510 includes a sachet layer 1535, an
intermediate layer 1570 disposed adjacent the sachet layer 1535,
and a barrier layer 1550 disposed adjacent the intermediate layer
1570. A first reactant 1540 is disposed in the volume defined by
the barrier layer 1550 and the intermediate layer 1570, and a
second reactant 1544 is disposed in the volume defined by the
intermediate layer 1570 and the sachet layer 1535.
[0247] The sachet layer can be constructed from any of the layers
described above. Preferably, the sachet layer includes a water
vapor selective layer and an adjacent support layer. The first
reactant and the second reactant can be any of the reactants
described above. The reactant or reactants can further include
additives, such as activated hydrotalcite. The intermediate layer
can be constructed of any of the layers described above.
Preferably, the intermediate layer comprises a cellulose layer
such as the Japanese paper "Tosa Tengujo" sold by Bookmakers
(Hagerstown, Md.). The barrier layer can include any of the
barrier layers describe above. In a preferred embodiment the
barrier layer is constructed from a composite of a metalized
bi-axially oriented polypropylene about 1 mil thick and a linear
low density polyethylene about 4 mils thick. This apparatus is
advantageous because it can be constructed by placing sheets of
the sachet, intermediate, and barrier layers adjacent each other
and sealing about the edges and cutting about the seal in one
step. Optionally, a portion of the apparatus can be left unsealed
until the volumes defined by the layers are filled with reactant
and then sealed. Alternatively, the reactant can be layered with
the layers and the entire periphery of the layers sealed at once.
[0248] Sachets Including a Rigid Frame
[0249] In another aspect of the invention, the apparatus includes
a sachet that includes a rigid frame defining at least one opening
and a sachet layer disposed about the opening such that a volume
is defined by the sachet. The rigid frame can be a rigid barrier
layer as described above. The rigid frame also can take the form
of a tubular member that can have any shape, such as a circular,
oval, rectangular, or square-shaped cross section along the tube.
If the rigid frame is tubular, at least one end preferably has a
sachet layer disposed about it. A second sachet layer may be
disposed about a second end of the rigid frame. Additionally or
alternatively, any other layer that will define a closed
receptacle for reactant, such as a barrier layer, can be disposed
about a second end. Yet another option is to have a detachable
member on the second end such as a threaded cap that can be
removed, e.g., to remove and/or replace reactant and any
additional sachets within the sachet. Sachets including rigid
frames are advantageous because they can be fit into various
devices, e.g., a humidifier, filter or cartridge. They also can be
dropped in a reservoir and, depending on the materials used to
construct the rigid frame, can sink to the bottom of a solution,
e.g., if made with PVC, or float on top, e.g., if constructed with
a foamed material. The apparatus can further include weighted
materials to increase its tendency to reside at a bottom of a
reservoir. The sachet includes one or more reactants that generate
a gas in the presence of the initiating agent. The reactants can
be mixed or separated by further structures, such as an additional
sachet or an intermediate layer within the sachet as described
herein.
[0250] FIGS. 22A and 22B are a perspective and cross-sectional
side view, respectively, of an exemplary embodiment of an
apparatus 1600 including a sachet constructed in part with a rigid
frame. The apparatus 1600, includes a first sachet 1610, a second
sachet 1620, a first reactant 1630, and a second reactant 1640.
The first sachet is constructed from a rigid frame 1614 that is
cylindrical in shape and two sachet layers 1616, 1618 disposed on
either side of the rigid frame 1614 such that the rigid frame 1614
and the sachet layers 1616, 1618 define a closed receptacle for
reactant. The first reactant 1630 is disposed in the first sachet
1610, but not within the second sachet 1620. The second reactant
1640 is disposed within the second sachet 1620. Thus, the first
reactant 1630 is separated from the second reactant 1640 by the
second sachet 1620.
[0251] The rigid frame can be constructed from any rigid materials
such as the barrier materials described above. For example, the
rigid materials can include polyvinylchloride, polyethylene,
polypropylene, polyester, styrene, polystyrene, polyethylene
terephthalate, polyethylene terephthalate glycol,
acrylobutylstyrene, polyacrylate, nylon, polyamide, and
combinations thereof. The reactants can be any of the reactants
described above. The reactants can be mixed or separated in
separate volumes, e.g., sodium chlorite can be disposed in the
first sachet and citric acid in the second sachet. Optionally the
reactants can include additives. Preferably, one or more of the
reactants is mixed with activated hydrotalcite.
[0252] The sachet layers can be constructed from any of the sachet
materials described herein. For example, the sachet layers can be
constructed from a water vapor selective material, e.g., a PTFE/PE
layer as described above. The sachet layers can also be
constructed from a layer that initially allows entry of water but
subsequently impedes the passage of water. Without wishing to be
bound to any particular theory, it is believed that the layer
swells upon introduction of water to the layer and that the layer
allows passage of water until the layer swells to such an extent
that water can no longer pass through the pores. In a currently
preferred embodiment, the first sachet layer is constructed from a
water vapor selective material, the second sachet layer is
constructed from a layer that initially allows entry of water but
subsequently impedes the passage of water, and the rigid layer is
injection molded PVC.
[0253] The apparatus can further include additional sachet layers
and/or envelope layers adjacent the first and second sachet layers
(not shown). The additional sachet layers and envelope layers can
be constructed of any of the materials described herein. The first
and second reactant can be any of the reactants described herein.
The apparatus can further include additional sachets, envelopes,
and/or reactant additives, such as desiccants, stabilizers and the
like as described above. While preferred, the second sachet is
optional and the reactants need not be separated in any manner.
[0254] FIGS. 23A and 23B are a perspective and cross-sectional
side view, respectively, of another exemplary embodiment of an
apparatus 1700 including a sachet constructed in part with a rigid
frame. The apparatus 1700, includes a sachet 1710, an intermediate
layer 1750, a first reactant 1730, and a second reactant 1740. The
sachet 1710 is constructed from a rigid frame 1714 having a square
cross-section and two sachet layers 1716, 1718 disposed on either
side of the rigid frame 1714 such that the rigid frame 1714 and
the sachet layers 1716, 1718 define a closed receptacle for
reactant. The rigid frame 1714 is bisected by the intermediate
layer 1750, which defines a first volume 1754, and a second volume
1758. The first reactant 1730 is disposed in the first volume
1754, and the second reactant 1740 is disposed in the second
volume 1758. Thus, first reactant 1730 is separated from second
reactant 1740 by the intermediate layer. The apparatus 1700
further includes a first envelope layer 1760 disposed adjacent the
first sachet layer 1716, and a second envelope layer 1764 adjacent
the second sachet layer 1718.
[0255] The rigid frame, sachet layers, and envelope layers can be
constructed from any of the materials described herein. For
example, the rigid frame can be constructed from PVC, and the
sachet layers can be constructed from a water vapor selective
material. Optionally, one or more of the sachet layers can be
constructed from a layer that initially allows entry of water but
then impedes the passage of water. The apparatus can further
include additional sachet layers and/or envelope layers adjacent
the first and second sachet layers (not shown). The additional
sachet layers and envelope layers can be constructed of any of the
materials described herein. The first and second reactant can be
any of the reactants described herein. The apparatus can further
include additional sachets, envelopes, and/or reactant additives,
such as desiccants, stabilizers and the like as described above.
While preferred, the second sachet is optional and the reactants
need not be separated in any manner.
[0256] Sachets including a rigid frame can be constructed by any
of the method described herein, e.g., by adhesives and/or heat
sealing the sachet layers, and optionally envelope layers, to the
rigid frame. Additional sachets and/or enveloped within or about
the sachet including the rigid frame can be constructed by any
method known in the art including those described herein. The
intermediate layer and the rigid frame portions also can be
attached by any of the methods described herein. Apparatus
including such sachets can be used in any applications described
herein, including, but not limited to, use in a conduit,
humidifier, and in both wet or dry applications.
[0257] Fluid Dispersion System for Dispersing a Gas
[0258] Yet another aspect of the present invention is a fluid
dispersion system for dispersing a gas. The system includes any of
the apparatus for delivery of a gas described herein, and a fluid
dispersion apparatus. The fluid dispersion apparatus can disperse
liquids and/or gasses. The apparatus for delivery of a gas can be
placed at any point of the fluid dispersion apparatus, e.g., in a
liquid reservoir or a fluid outlet of the fluid dispersion
apparatus, so that gas is generated and dispersed. The fluid
dispersion apparatus can be any fluid dispersion apparatus known
in the art, including vaporizers, humidifiers, sonicators that
disperse fluid, atomizers, and carpet cleaners.
[0259] FIG. 24 depicts an exemplary embodiment of a fluid
dispersion system 1800 constructed in accordance with the present
invention. The fluid dispersion system 1800 includes a fluid
dispersion apparatus 1810, and a gas delivery apparatus 1820. The
gas delivery apparatus 1820 includes a sachet 1830 and a reactant
1840 disposed in the volume defined by the sachet 1830 that
generates gas in the presence of an initiating agent. In this
embodiment the fluid dispersion apparatus 1810 is a humidifier and
the sachet is disposed in a fluid reservoir 1845. The reservoir
contains a fluid 1850 that includes an initiating agent.
Alternatively, the sachet can be disposed in a dispersion outlet
as shown in FIGS. 25 and 26.
[0260] The gas delivery apparatus 1820 can be any of the gas
delivery apparatus described herein. For example, the sachet 1830
can comprise two adjacent sachet layers, a barrier layer adjacent
a sachet layer, or a rigid frame defining an opening and a sachet
layer disposed about the opening. The sachet 1820 can also include
further sachets, one or more envelope and/or envelope layers,
further reactants, and additives, such as stabilizers and
desiccants (not shown). The sachet can be affixed within the fluid
dispersion apparatus by mechanical means, can float freely in the
fluid reservoir, or it can include a weight or be constructed from
material such that the sachet sinks to the bottom of the reservoir
as shown in FIG. 24.
[0261] The fluid dispersion apparatus 1810 includes a means of
atomizing the fluid 1858, and an opening 1854 through which the
atomized fluid containing the gas exits the fluid dispersion
apparatus 1810. Means for atomizing fluids are well known.
[0262] The fluid dispersion 1810 apparatus can be any fluid
dispersion apparatus known in the art. The fluid dispersion
apparatus can disperse fluid by any means, including mechanical
means, sonication, atomization, and/or vaporization. Many such
fluid dispersion apparatus suitable for use with the present
invention are readily available commercially as well as to
consumers, for example, DURACRAFT(TM) Cool Mist(TM) humidifiers
from Honeywell Consumer Products (Framingham, Mass.), which draws
liquid into a rapidly spinning wheel with small openings and
disperses atomized fluid into the environment. Also suitable are
apparatus that disperse fluid by passing air over a wick that is
in contact with a liquid such as the Cool MoistureTM Humidifier
made by Honeywell Consumer Products.
[0263] In another aspect of the present invention, the fluid
dispersion system can include a housing is provided that contains
a gas delivery apparatus. The housing can be placed or affixed to
a fluid dispersion apparatus outlet so that fluid exiting the
fluid dispersion apparatus passes through the gas delivery
apparatus so that gas and fluid exit the housing and enter the
environment.
[0264] FIG. 25 depicts a housing for use with a fluid dispersion
system in accordance with the present invention. The housing 1900
can be attached, e.g., to the fluid dispersion apparatus 1810
depicted in FIG. 24. The housing 1900 defines an opening 1910
defined by the housing for fluid dispersed by the fluid dispersion
apparatus, and openings 1914, for expelling gas and fluid.
Disposed in the housing 1900 is a sachet 1930 and a reactant 1940
disposed in the volume defined by the sachet that generates gas in
the presence of an initiating agent. The housing 1900 can be
attached to the fluid outlet of any fluid dispersion apparatus and
the sachet 1930 can be used instead of or in addition to a sachet
in the dispersion apparatus reservoir as depicted in FIG. 24.
[0265] FIG. 26 depicts another exemplary embodiment of a fluid
dispersion system 2000 constructed in accordance with the present
invention. The fluid dispersion system 2000 includes a fluid
dispersion apparatus 2010, a housing 2020, and a gas delivery
apparatus 2030. The gas delivery apparatus 2030 includes a sachet
2034 and a reactant 2038 disposed in the volume defined by the
sachet that generates gas in the presence of an initiating agent.
In this embodiment the fluid dispersion apparatus 2000 is a
humidifier and the sachet 2034 is disposed in the housing 2020.
The reservoir contains a fluid 2040 that includes an initiating
agent.
[0266] The fluid dispersion apparatus 2010 includes a means of
atomizing the fluid 2044, and an opening 2048 through which the
atomized fluid containing the gas exits the fluid dispersion
apparatus 2010 and enters the housing 2020. The housing 2020
defines openings 2050 that allow exit of the gas and the atomized
fluid from the housing 2020.
[0267] The gas delivery apparatus 2030 is disposed within the
housing and can be attached or affixed to the housing. The sachet
includes a rigid frame 2054 defining a first opening 2056 and a
second opening 2058. The sachet further includes a first sachet
layer 2060 and a second sachet layer 2064 disposed about the first
opening 2056 and the second opening 2058, respectively. The sachet
can be affixed or removably attached to the housing by any known
means (not shown), e.g., a snap fit.
[0268] Alternatively, the gas delivery apparatus 2030 can be any
of the gas delivery embodiments described herein. For example, the
gas delivery apparatus can further include additional sachets,
sachet layers, envelope layers, envelopes, additional reactant
and/or additives as described herein. The gas dispersion apparatus
can be any gas dispersion apparatus including those described
above.
[0269] The fluid dispersion system described herein can be used to
sanitize, deodorize and/or reduce or eliminate bacteria in a fluid
reservoir of the fluid dispersion apparatus, e.g., water in a
humidifier or vaporizer. Additionally or alternatively, the system
can be used to disperse chlorine dioxide and/or other gases into
the environment to destroy or mask odor-causing compounds. The
systems also could be used to disinfect the surrounding
environment and kill or inactivate pathogens, such as anthrax,
smallpox, tuberculosis, or legionella.
[0270] A preferred method of deodorizing includes the steps of
providing a fluid dispersion system as described above, and
delivering the gas to one or more odor-causing compounds, wherein
the gas inactivates the one or more odor-causing compounds. A
preferred method of inactivating pathogens includes the steps of
providing the fluid dispersion system described above and
delivering the gas to one or more pathogens, wherein the gas
inactivates the one or more pathogens, such as anthrax, smallpox,
tuberculosis, or legionella.
[0271] Apparatus for Delivery of a Gas to a Reservoir and/or
Conduit
[0272] Yet another aspect of the present invention is a method and
apparatus for delivery of a gas to a reservoir. The apparatus
generally includes any apparatus for delivery of a gas described
herein in fluid connection with a reservoir. One such apparatus is
depicted in FIG. 18, wherein the tubular bottle 1106 is the
reservoir, and insert 1132, disposed within tubular bottle 1106,
is the apparatus for delivery of a gas. The gas can further be
delivered from the reservoir to a dispersion apparatus such as the
pump mechanism 1112, or a humidifier as shown in FIGS. 24 and 26.
Another exemplary apparatus is depicted in FIG. 16B, wherein the
cap 985 and spout 880 define the reservoir, and the barrier layer
950 and sachet layer 930 define the sachet. The cap depicted in
FIG. 16B can be coupled to a pouch as described or to a conduit
(not shown). FIG. 27 depicts another exemplary embodiment of an
apparatus 2100 for delivery of a gas to a reservoir. The apparatus
2100 generally includes a sachet 2110, a reactant 2120 disposed
within the volume defined by the sachet 2110, and a reservoir
2130. The sachet 2110 includes a sachet layer 2112, a barrier
layer 2114. An envelope layer 2118 is disposed adjacent the sachet
layer 2112. Disposed in the volume defined by the sachet 2110 is a
second sachet 2140 constructed from two sachet layers 2142, 2144,
and a second reactant 2148 disposed in the second sachet 2140.
[0273] The reservoir 2130 has first end adapted to couple to a
second reservoir 2150, so that the reservoir 2130 can be detached
from the second reservoir 2150 for removal and replacement of the
sachet 2110, the reactant 2120, the second sachet 2140 and second
reactant 2148. The second reservoir 2150 comprises a first end
2152 adapted to couple to the reservoir 2130, and a second end
2154 adapted to couple to a conduit 2160. Conduit 2160 is formed
to define an inlet 2162 for fluid to enter reservoir 2130, and an
outlet 2164 with tubular member 2168 for fluid to exit reservoir
2130.
[0274] FIG. 28 depicts yet another exemplary embodiment of an
apparatus 2200 for delivery of a gas to a reservoir. The apparatus
2200 includes a reservoir 2240, a first sachet 2210, a first
reactant 2214 disposed in the volume defined by the first sachet
2210, a second sachet 2220, and a second reactant 2224 disposed in
the volume defined by the second sachet 2224. The first sachet
2210 and the second sachet 2220 each are constructed from two
adjacent sachet layers sealed about their perimeters to define a
closed receptacle for the first reactant 2214 and the second
reactant 2224, respectively.
[0275] The sachets may be constructed from any of the materials
described herein. The reactants can include any of the reactants
described herein and can further include additives such as flow
agents, desiccants and stabilizers. The apparatus can further
include additional envelopes or sachets (not shown).
[0276] The apparatus further includes a frangible pouch 2230
disposed within the reservoir 2240, an initiating agent 2232
disposed within the frangible pouch 2230, and a sock 2234 disposed
about the frangible pouch 2230. The sock 2234 can be constructed
from any material that does not impede the passage of initiating
agent out of it and that substantially retains the frangible pouch
2230 after it is disrupted. The sock 2234 is optional, but
desirable when the frangible pouch is constructed of brittle
materials, e.g., brittle plastic or glass, so that the frangible
pouch pieces are substantially retained within the sock. Examples
of sock materials suitable for use in accordance with the present
invention are meshes made from polymers or natural fibers such as
cotton or cellulose, or non-wovens such as TYVEK(R) non-woven
materials made by DuPont Company (Wilmington, Del.) or the
non-woven materials sold by Marubeni Corporation (Tokyo, Japan).
[0277] The apparatus further includes a piston 2250 mounted to the
reservoir 2240 that upon actuation disrupts the frangible pouch
2230. Reservoir 2140 includes a first end 2244 adapted to couple
to a conduit 2260, and a retaining layer 2248 that retains the
sachets 2210, 2220 and the frangible pouch 2230 in the reservoir
2140. Upon disruption of the frangible pouch 2230, the initiating
agent 2232 is released and reaction is initiated. The sock 2234
retains the pieces of the frangible pouch 2230.
[0278] Many variations and alternative designs can readily be made
without departing from the spirit and scope of the invention. For
example, the sachets can be replaced by any of the gas delivery
apparatus described herein and/or they can be further contained in
additional sachets or envelopes. For example, the sachets,
frangible pouch, and sock can be enclosed within a sachet or
envelope attached to the reservoir and the retaining layer not
included such that the outer sachet or envelope retains the
sachets, frangible pouch and sock in the reservoir. Any of the
reactants described herein can be used. Reactants can be mixed or
separated, e.g., by a sachet or an intermediate layer. Additives
can also be included in the apparatus, such as activated
hydrotalcite. The conduit can be any conduit, such as a beverage
line.
[0279] Yet another aspect of the present invention is a method of
delivering a gas to a conduit. The method include the steps of
providing an apparatus for delivery of a gas including a sachet
and a reactant disposed within the volume defined by the sachet
that generates a gas in the presence of an initiating agent, and a
reservoir in fluid communication with the sachet. The method
further includes the steps of coupling the apparatus to a conduit,
and delivering a gas to the conduit by introducing an initiating
agent to the reactant.
[0280] The conduit can be any conduit where introduction of a gas
is desired. Introduction of a gas, e.g., chlorine dioxide, is
particularly useful when it is desired to sanitize, disinfect,
remove biofilms, and/or kill, inhibit or inactivate pathogens in
an aqueous fluid, gas or liquid. The apparatus can be used to
flush and clean out conduits between regular usage or to introduce
chlorine dioxide gas during regular usage. The conduit can be a
food or beverage conduit, such as a beverage line in a beverage
dispensing machine, a conduit in equipment used to make food or
beverages, or a water line in a water dispenser such as a fountain
or bubbler. The conduit can be part of a dental apparatus such as
a water line. The conduit can be part of a medical apparatus, such
as an analyzer. The conduit can be a conduit in a commercial or
household appliance such as a dishwasher or coffeemaker.
EXAMPLE 1
An Apparatus in Accordance with the Present Invention
[0281] A membrane sachet was constructed by impulse scaling the
perimeter of two 3 cm*3 cm sheets of 0.65 micron pore hydrophilic
polypropylene membrane sold under the trade designation MPLC
obtained from Millipore (Bedford, Mass.). The sheets were impulse
sealed a 16'' TISH400 Impulse Sealer available from TEW Electric
Heating Equipment Corporation (Taiwan). This sachet was filled
with 50 mg of sodium chlorite and 200 mg citric acid. The sachet
was then placed into an envelope formed by impulse sealing the
perimeter of a 4 cm*6 cm perforated film. The perforated film used
was a SM700 Cryovac(R) perforated film from Sealed Air Corporation
(Duncan, S.C.). This assembly was then placed in a 1 liter plastic
bag filled with water for 15 minutes. The chlorine dioxide
concentration in the water was measured using a Beckman DU-520
UV-Vis Spectrophotometer set at a wavelength of 360 [lambda] at
about 6 mg/L.
COMPARATIVE EXAMPLE 2
Direct Addition of Reactant to Water
[0282] 50 mg of sodium chlorite and 200 mg citric acid were added
to 1 liter of water. The solution was allowed to sit for 15
minutes. The chlorine dioxide concentration in the water was
measured using a Beckman DU-520 UV-Vis Spectrophotometer set at a
wavelength of 360 [lambda] at about 0.5 mg/L. FIGS. 8 and 10
depict gas generation over time for adding the same amount and
ratio of reactants to water.
EXAMPLE 3
An Apparatus Without an Envelope
[0283] An apparatus was constructed as described in Example 1,
except that the envelope was not included. This assembly was then
placed in a 1 liter plastic bag filled with water for 15 minutes.
The chlorine dioxide concentration in the water was measured using
a Beckman DU-520 UV-Vis Spectrophotometer set at a wavelength of
360 [lambda] at about 5.5 mg/L. Such an apparatus and exemplary
use of the same are depicted in FIG. 10.
EXAMPLE 4
An Apparatus Having Two Sachets
[0284] Two sachets were constructed by impulse sealing the
perimeter of four 3 cm*3 cm sheets of 0.65 micron pore hydrophilic
polypropylene membrane sold under the trade designation MPLC
obtained from Millipore (Bedford, Mass.). The first sachet was
filled with 400 mg of sodium chlorite and the second sachet was
filled with 1200 mg citric acid. Both sachets were then enclosed
in an envelope formed by impulse sealing the perimeter of a 4 cm*6
cm SM700 film obtained from Sealed Air Corporation having 330
holes per square inch having a diameter of 0.4 mm, a 6.4%
perforated area and a water vapor transmission rate of 700
g/m<2>/24 hr. This apparatus was then placed in a 1 liter
plastic bag filled with water and let stand for 180 minutes. The
chlorine dioxide concentration was measured using a Beckman DU-520
UV-Vis Spectrophotometer set at a wavelength of 360 [lambda] 100
mg/L.
EXAMPLE 5
An Apparatus Having Three Sachets and a Frangible Pouch
Containing an Initiating Agent
[0285] Two sachets were constructed in accordance with Example 4
except that the sachets were constructed from 3 micron pore nylon
6,6 material sold under the trade designation BIODYNE A from Pall
(Port Washington, N.Y.). The first sachet was filled with 500 mg
of sodium chlorite and the second sachet was filled with 2000 mg
citric acid. Both sachets were then enclosed in a third sachet
formed by impulse sealing the perimeter of a 5 cm*7 cm 0.65 micron
pore, hydrophobic polypropylene membrane sold under the trade
designation DOHP by Millipore (Bedford, Mass.). A frangible pouch
was constructed and filled with 5 ml of water. The frangible pouch
and the third sachet (containing the first and second sachets and
reactant) were then enclosed in an envelope formed by impulse
sealing the perimeter of a 7 cm*9 cm multilayered polymer film
having a carbon dioxide transmission rate of 7,000
cc/m<2>/24 hrs and an oxygen transmission rate of 21,000
cc/m<2>/24 hrs sold under the trade designation PD-961
Cryovac(R) selective transmission film from Sealed Air Corporation
(Duncan, S.C.). The frangible pouch was burst using manual
pressure and this apparatus was then placed in a 1 liter plastic
bag filled with water and let stand for 180 minutes. The chlorine
dioxide concentration in the water was measured using a Beckman
DU-520 UV-Vis Spectrophotometer set at 360 [lambda] at 100 mg/L.
EXAMPLE 6
An Apparatus Having an Envelope and a Bridge
[0286] A two-compartment membrane sachet was constructed by
impulse sealing the perimeter of a 3 cm*3 cm sheets of 0.65 micron
pore hydrophilic polypropylene membrane, sold under the trade
designation MPLC obtained from Millipore (Bedford, Mass.), between
two 3 cm*3 cm sheets of 0.65 micron pore hydrophobic polypropylene
membrane sold under the trade designation DOHP by Millipore
(Bedford, Mass.). Thus was formed a two compartment sachet having
hydrophilic membrane on its outer walls and a divider of
hydrophobic membrane for separating the reactant in each
compartment. The first compartment of the sachet was filled with
50 mg of sodium chlorite and the second compartment was filled
with 200 mg citric acid. This multi-compartment sachet was then
placed into an envelope formed by heat-sealing the perimeter of a
4 cm*6 cm perforated film. The perforated film used was a SM700
Cryovac(R) perforated film from Sealed Air Corporation (Duncan,
S.C.). This assembly was then placed in a 1 liter plastic bag
filled with water for 15 minutes. The chlorine dioxide
concentration in the water was measured using a Beckman DU-520
UV-Vis Spectrophotometer set at 360 [lambda] wavelength at about 8
mg/L.
EXAMPLE 7
An Apparatus for Generating Carbon Dioxide
[0287] A sachet was constructed by impulse sealing the perimeter
of two 3 cm*3 cm sheets of 0.65 micron pore hydrophilic
polypropylene membrane, sold under the trade designation MPLC
obtained from Millipore (Bedford, Mass.). This sachet was filled
with 50 mg of calcium carbonate and 100 mg citric acid. The sachet
was then placed into an envelope formed by impulse sealing the
perimeter of a 4 cm*6 cm perforated film. The perforated film used
was a SM700 Cryovac(R) perforated film from Sealed Air Corporation
(Duncan, S.C.). This assembly was then placed in a 1 liter plastic
bag filled with water for 15 minutes. The carbon dioxide
concentration in the water was measured using analyzed by ion
chromatography at about 50 mg/L.
EXAMPLE 8
An Apparatus for Long-Term Release
[0288] A sachet was constructed by impulse sealing the perimeter
of two 4 cm*6 cm sheets of 0.65 micron pore hydrophilic
polypropylene membrane, sold under the trade designation MPLC
obtained from Millipore (Bedford, Mass.). This sachet was filled
with 500 mg of sodium chlorite and 2000 mg citric acid. The sachet
was then placed into an envelope formed by impulse sealing the
perimeter of a 4 cm*6 cm perforated film. The perforated film used
was 0.1 micron pore hydrophobic polypropylene membrane sold under
the trade designation DOHP by Millipore (Bedford, Mass.). This
apparatus was then placed in a 2 liter plastic bag filled with
water. The chlorine dioxide concentration was measured every hour
using a Beckman DU-520 UV-Vis Spectrophotometer set at a
wavelength of 360 [lambda]. The apparatus generated about 3.5 mg
per hour for 30 hours.
EXAMPLE 9
An Exemplary Apparatus in Accordance with the Present
Invention
[0289] An exemplary apparatus was constructed by sealing the
perimeter of 6.1 cm diameter sheets of nylon 6,6 membrane layer
sold under the trade designation 045ZY by Cuno Incorporated
(Meriden, Conn.) and SM700 Cryovac(R) perforated film from Sealed
Air Corporation (Duncan, S.C.) to a barrier layer filled with 240
mg of sodium chlorite, 60 mg of activated hydrotalcite, and 1,200
mg citric acid. The barrier layer was formed from polyvinyl
chloride to define a barrier layer similar to barrier layer 50
depicted in FIGS. 12A, 12B and 12C. It had an outside a diameter
of 6 cm and a 0.5 cm deep cavity formed therein having a 4.8 cm
inside diameter. The layers were sealed about the edge of the
barrier layer with an epoxy adhesive between the impermeable layer
and the nylon 6,6 membrane layer, and between the nylon 6,6
membrane layer and the perforated film layer. The surface area of
the nylon 6,6 layer adjacent to the reactant was about 18 cm<2
>and the volume defined by the barrier layer and the nylon 6,6
layer was about 9 cm<3>. This assembly was attached by a
snap fit to the interior wall of a polypropylene cap having a
threaded fit to the spout of a 1 liter blow molded high density
polyethylene plastic bottle. The bottle was filled with 1 liter of
water, sealed with the cap, and turned upside down and left to
stand. The chlorine dioxide concentration in the water was
measured using a Hach DR890 Colorimeter and the standard Hach
chlorine dioxide method at about 25 mg/L at 45 minutes and about
42 mg/L at 60 minutes. Hach Colorimeters are available from Hach
Company (Loveland, Colo.). A similar apparatus and exemplary use
of the same are depicted in FIGS. 16A and 16B.
PROSPECTIVE EXAMPLE 10
An Exemplary Apparatus with a Sachet and Envelope
[0290] A membrane sachet will be constructed by impulse sealing
the perimeter of two 3 cm*3 cm sheets of nylon 6,6 membrane layer
sold under the trade designation 045ZY by Cuno Incorporated
(Meriden, Conn.). The sheets are to be impulse sealed with a 16''
TISH400 Impulse Sealer available from TEW Electric Heating
Equipment Corporation (Taiwan). This sachet will be filled with
240 mg of sodium chlorite, 60 mg of activated hydrotalcite, and
1,200 mg citric acid. The sachet will then be placed into an
envelope formed by impulse sealing the perimeter of a 4 cm*6 cm
perforated film. The perforated film used will be a SM700
Cryovac(R) perforated film from Sealed Air Corporation (Duncan,
S.C.). This assembly will then be placed in a 1 liter plastic bag
filled with water for 15 minutes. The chlorine dioxide
concentration in the water will be measured using a Hach DR890
Colorimeter and the standard Hach chlorine dioxide method. It is
expected that readings of about 25 mg/L at 45 minutes and about 42
mg/L at 60 minutes will be obtained. Such an apparatus and
exemplary use of the same are depicted in FIGS. 1A and 1B.
PROSPECTIVE EXAMPLE 11
An Exemplary Apparatus Including a Pouch and a Sealed
Spout
[0291] An exemplary apparatus will be constructed as described in
Example 9, except that this assembly will be fused to the interior
wall of a one liter pouch. The pouch will be constructed from a 5
mil thick impermeable layer comprising a polyester exterior, a
metallized biaxially oriented core, and a polyethylene interior
sealing layer obtained from Sealed Air Corporation (Duncan, S.C.).
This layer has a water vapor transmission rate of 0.01 g/100
in2/24 hours at 70% relative humidity and 122[deg.] F. The spout
will be constructed of injection molded polypropylene. The pouch
will be sealed about its perimeter except for the opening defined
by the spout. The one liter pouch will then be filled with water,
capped, and allowed to stand. The chlorine dioxide concentration
in the water will be measured as described in Example 9 and
similar chlorine dioxide concentrations are expected at 45 and 60
minutes. Such an apparatus and exemplary use of the same are
depicted in FIG. 15.
EXAMPLE 12
Apparatus Having Reactants Mixed with Hydrotalcite
[0292] Hydrotalcite, obtained from Alcoa World Chemicals
(Leetsdate, Pa.), was activated by disposing the hydrotalcite on a
tray in a layer not more than 1 inch thick, and placing the tray
in a furnace at 500[deg.] C. for one hour. The hydrotalcite was
stored in a closed, airtight container. The hydrotalcite was
weighed before and after activation, and demonstrated an
approximately 40% weight loss, believed to be attributable to loss
of water and carbon dioxide in the furnace. Dry, flaked technical
sodium chlorite (80%) obtained from Vulcan Chemical (Birmingham,
Ala.), was ground to a mesh particle size range between about 35
mesh and 70 mesh using a mechanical impact milling system
(particle size ranged between about 212 microns and 500 microns).
The activated hydrotalcite was mixed with the ground sodium
chlorite to form a mixture of about 80% sodium chlorite and about
20% activated hydrotalcite by weight. The sodium
chlorate/hydrotalcite mixture was then mixed in a dry environment
(71[deg.] F., 40% relative humidity) with desiccated granular
citric acid having a particle size range between about 25 mesh and
about 60 mesh. The citric acid was desiccated by exposing it to
dry air (less than 40% relative humidity for a period of 24 hours
with frequent mixing. The resulting mixture was approximately 80%
citric acid and 20% sodium chlorite/hydrotalcite mixture by
weight.
[0293] Approximately 1.75 grams of this mixture was sealed in a
sachet. The sachet and a 1 gram molecular sieve desiccant were
sealed in a 1 liter plastic bag measuring approximately 7.5 inches
by 9 inches constructed from a composite of a 1 mil thick
metallized biaxially oriented polypropylene film and a 5 mils
thick linear low density polyethylene film. The bag was sealed
with a polypropylene spout and cap. The apparatus was stored at
room temperature, which ranged from about 68[deg.] F. to about
80[deg.] F., and ambient humidity, which ranged from about 50%
relative humidity to about 90% relative humidity. The apparatus
was stable at 6 months in that no reaction between the sodium
chlorite and the citric acid was detected at 6 months.
EXAMPLE 13
Apparatus Having Two Sachets and Sodium Chlorite Mixed
with Hydrotalcite
[0294] The reactants and hydrotalcite described in Example 12 were
obtained. The sodium chlorite was ground, the hydrotalcite
activated, and the citric acid desiccated, as described in Example
12. A mixture of approximately 95% sodium chlorite and 5%
activated hydrotalcite by weight was made. Approximately 4.3 grams
of this mixture was sealed in a first sachet, and approximately 20
grams of desiccated citric acid was sealed in a second sachet.
These two sachets were sealed in a 5[1/2] inch by 3[1/2] inch
envelope constructed from hydrophobic, polypropylene non-woven
membrane sold under the designation 060P1 by Cuno Incorporated
(Meriden, Conn.). The sachets and envelope, and 2 grams of
molecular sieves desiccant were sealed in a 2-liter plastic bag
measuring approximately 7.5 inches by 14 inches constructed from a
composite of a 1 mil thick metallized biaxially oriented
polypropylene film and a 5 mils thick linear low density
polyethylene film. The bag was sealed with a polypropylene spout
and cap. The apparatus was stored under the same conditions as
described in Example 12. The apparatus was stable at 6 months in
that no reaction between the sodium chlorite and the citric acid
was detected at 6 months.
EXAMPLE 14
Apparatus Having a Sachet Constructed from Water Vapor
Selective Material
[0295] Six sets of reactant/hydrotalcite mixtures were each
prepared for inclusion in a sachet as follows: 350 grams of a
mixture of approximately 80% sodium chlorite obtained from Vulcan
Chemical (Birmingham, Ala.) and 20% activated hydrotalcite
obtained from Alcoa World Chemicals (Leetsdale, Pa.), was mixed
with 1400 milligrams of desiccated citric acid from JT Baker
(Phillipsburg, N.J.).
[0296] Four of the reactant/hydrotalcite mixtures were each
impulse sealed in a sachet constructed from two 1.75 mils thick,
2.5 inch by 2.5 inch hydrophobic polytetrafluoroethylene (PTFE)
layers having a 1.5 micron average nominal pore size thermally
bonded to a 5 mil thick, BHA-TEX(R) hydrophobic polyethylene (PE)
support layer from BHA Technologies (Kansas City, Mo.). The
remaining two reactant/hydrotalcite mixtures were each impulse
sealed in a sachet constructed from two 2.5 inch by 2.5 inch, 0.65
micron pore size, extruded hydrophobic polypropylene layer sold
under the trade designation DOHP by Millipore (Bedford, Mass.).
[0297] Each of the six total sachets were sealed in a 1 liter
plastic bag filled with water. The chlorine dioxide concentration
in the water was measured every 10 minutes using a Hach DR890
Colorimeter and the standard Hach chlorine dioxide method. FIG. 29
is a graph depicting chlorine dioxide concentration versus time
comparing the above sachet materials. The square-shaped data
points correspond to the averaged values for the apparatus
constructed with the PTFE/PE sachet layers. The circle-shaped data
points correspond to averaged values for apparatus constructed
with the PP sachet layers. As can be seen from FIG. 29, the
apparatus having the PTFE/PE sachet generated chlorine dioxide
more rapidly than the apparatus with the PP sachet. This due, at
least in part, to use of a thinner PTFE water vapor selective
material, as compared to the relatively thicker PP water vapor
selective material. In addition, the apparatus having the PTFE/PE
sachet generated more chlorine dioxide, resulting in a more highly
concentrated solution than the solution generated by the apparatus
with the PP membrane.
EXAMPLE 15
Apparatus Having a Rigid Frame
[0298] A rigid frame of PVC pipe, cylindrical in shape and
measuring about 2.54 cm in length, having an inner diameter of
about 3.81 cm, and an inner volume of about 29 cm<3 >was
obtained. The first end was sealed with the PTFE/PE layer used in
the preceding example. A mixture of approximately 95% sodium
chlorite and 5% activated hydrotalcite by weight was made as
described in Example 13. About 2.9 grams of the mixture was
enclosed in a sachet measuring 1.5 inches square, and made of heat
sealable water soluble paper made by Mishima Paper Co. (Tokyo,
Japan). The sachet and about 13.6 grams of desiccated citric acid
were disposed in the vessel formed from the rigid frame and the
PTFE/PE sachet layer, and a second layer of the same PTFE/PE
sachet material was sealed on the second end of the rigid frame,
thus forming a substantially closed sachet volume of about 29
cm<3>. The layers were sealed to the rigid frame by using
Scotch(R) 300LSE Hi Strength adhesive made by the 3M Company
(Minneapolis, Minn.). The membrane/adhesive/rigid frame bond was
allowed to cure for 24 hours prior to use. The resulting apparatus
was placed in about 2 liters of water. After 24 hours, the
chlorine dioxide concentration was measured using a Hach DR890
Colorimeter and the standard Hach chlorine dioxide method. The
chlorine dioxide concentration was about 346.7 ppm.
EXAMPLE 16
Apparatus Having an Envelope Constructed with a Water
Vapor Selective Material
[0299] Seventy sets of reactant envelopes, each containing two
reactant sachets, were prepared in the following manner. 4.3 grams
of a mixture of approximately 95% technical grade sodium chlorite
obtained from Vulcan Chemicals (Birmingham, Ala.), and 5%
activated hydrotalcite obtained from Alcoa World Chemicals
(Leetsdale, Pa.), were sealed in a 2.75 inch*2.75 inch sachet made
of heat sealable water soluble paper made by Mishima Paper Co.
(Tokyo, Japan). 20 grams of desiccated citric acid monohydrate
obtained from J. T. Baker (Phillipsburg, N.J.), were sealed inside
a second sachet, measuring 3.25 inches*4 inches, also made of rice
paper. These two sachets were then sealed inside a hydrophobic
envelope having dimensions of 4.75 inches*4 inches.
[0300] Sixty-seven sets of reactant sachets impulse sealed in a
water vapor selective envelope constructed of a non-woven
polypropylene membrane sold under the trade designation S8500240H
by Cuno Incorporated (Meridan, Conn.). The remaining three sets of
reactant sachets were scaled, using Scotch(TM) 300LSE Hi Strength
Adhesive (3M Corporation, Minneapolis, Minn.), in a water vapor
selective envelope constructed of a 1.75 mil thick PTFE layers
thermally bonded to a 5 mil thick polyethylene (PE) mesh support
material resulting in a final envelope material thickness of
approximately 5 mils which is sold under the trade designation
BHA-TEX(R) by BHA Technologies (Kansas City, Mo.). The envelopes
were constructed with the PTFE layer on the inside, near the
reactant sachets, and the adhesive was allowed to cure for 24
hours prior to testing.
[0301] Each of the seventy envelopes was sealed in a 2-liter
plastic bag that was filled with liquid water. The chlorine
dioxide concentration in the water was measured periodically, over
a 24-hour period, using a Hach DR890 Colorimeter and the standard
Hach chlorine dioxide method. FIG. 30 is a graph depicting the
chlorine dioxide concentration versus time comparing the above
envelope materials. The diamond-shaped data points correspond to
the averaged values for the apparatus constructed with the
non-woven polypropylene envelope material. The square-shaped data
points correspond to the averaged values for the apparatus
constructed with the PTFE/PE composite envelope material. As can
be seen from FIG. 30, the apparatus having the PTFE/PE envelope
generated chlorine dioxide more rapidly than the apparatus with
the polypropylene envelope.
[0302] Although generally the preferred embodiments of the
invention have been shown and described, numerous variations and
alternative embodiments will occur to those skilled in the art.
Accordingly, it is intended that the invention be limited only in
terms of the appended claims as the invention can be embodied in
other specific forms.
US6602466
Apparatus and method for controlled delivery of a gas
Disclosed are apparatus for delivery of a gas, e.g., carbon
dioxide and/or chlorine dioxide, and methods of its use and
manufacture. The apparatus includes an envelope, and a sachet
within the envelope that contains reactant, which generates a gas
in the presence of an initiating agent, e.g., water. In another
embodiment, the apparatus includes a barrier layer, a sachet layer
disposed adjacent to the barrier layer, a reactant disposed
between the barrier layer and the sachet layer that generates a
gas in the presence of an initiating agent, and an envelope layer
disposed adjacent to the sachet layer.
US6607696
Apparatus and method for controlled delivery of a gas
Disclosed are apparatus for delivery of a gas, e.g., carbon
dioxide and/or chlorine dioxide, and methods of its use and
manufacture. The apparatus includes an envelope, and a sachet
within the envelope that contains reactant, which generates a gas
in the presence of an initiating agent, e.g., water. The envelope
allows release of the gas from the envelope. In another
embodiment, the apparatus includes an envelope and a partition
that separates two reactants within the envelope. The envelope
allows an initiating agent into the envelope and release of the
gas generated by the reactants in the presence of the initiating
agent..
WO2006078786
ANTIMICROBIAL GAS DESORBING ARTICLES
The present invention provides gas desorbing articles that
generally include polymeric materials impregnated with an
antimicrobial gas, e.g., chlorine dioxide. Also disclosed are
methods of using such articles for remediation of microbial life
such as fungi, bacteria and mold. Also disclosed are methods of
making such articles and kits related to the same.
WO2004113224
REUSABLE APPARATUS FOR GAS GENERATION
Disclosed herein are reusable apparatus for the generation of a
gas including a reactant chamber defined at least in part by a gas
permeable material and a resealable opening. In certain
embodiments the gas penneable material is substantially impervious
to the passage of liquid and/or allows for the controlled passage
of gas. Also disclosed are methods for using the apparatus,
reusable reactant chambers, kits including reactants and reactant
refill kits.
WO2004073755
GAS DELIVERY APPARATUS AND METHODS OF USE
Disclosed are methods and apparatus that can be employed to
initiate a plurality of individual gas generating reactions
coterminously or sequentially. Generally, the invention provides
an apparatus defining a plurality of reactant housings. A seal is
disposed about the orifice of one or more reactant housings which
can be disrupted to initiate the generation of gas by exposing
reactant to an initiating agent. The process may be repeated as
desired, so as to safely and conveniently generate desired
concentrations of gas at desired time intervals.
WO2004045655
METHODS OF USING CHLORINE DIOXIDE SOLUTIONS
Disclosed are methods for cleaning that include exposing a target
object, e.g., microelectronic equipment, water systems and
prosthetics, to chlorine dioxide solutions. Also disclosed are
kits and dispensers for practicing the methods of the invention.
WO03051407
APPARATUS AND METHODS FOR DELIVERY OF A GAS
Disclosed are apparatus for delivery of a gaS (10), e.g., carbon
dioxide and/or chlorine dioxide, and methods of its use and
manufacture. The apparatus includes a vessel (20) defining a
reaction volume, the vessel including a sachet layer (50) disposed
about an aperture (30) defined by the vessel, and a puncturable
surface (40). The vessel contains one or more reactants (60) that
generate a gas in the presence of an initiating agent, e.g.,
water. The apparatus can include a second vessel (220) formed to
engage the puncturable surface to deliver initiating agent and/or
a second reactant to the vessel (20).