rexresearch.com

Sebastian & Richard CHUA
Magnetic Food Preservation


http://newpaper.asia1.com.sg/news/story/0,4136,131609,00.html
May 29, 2007

This magnet helps keep food fresher
S. Korean firm's product helps cut down food wastage by a third

by
Teh Jen Lee

EVERY day, tonnes of uncooked meat in our supermarkets, restaurants and hotels are destroyed before reaching their recommended shelf life.

Mr Sebestian Chua (left) and his brother, DrRichard Chua, hope the EsmoSphere will add another level of protection over food storage. -- Picture: KELVIN CHNG

Even with refrigeration, meat still spoils easily because the temperature is not always consistent and has to be thrown away.

Last year alone, almost half-a-million tonnes of food waste were incinerated.

Now, thanks to a local company, Esmo Technologies, the amount of spoiled raw meat can be cut by about a third, simply by placing a specially modified magnet next to it in the refrigerator.

It also helps preserve other foodstuff.

The palm-sized magnet, called an EsmoSphere, is a world-first invention by Dr Richard Chua, 42, who has filed for patents both locally and internationally.

In response to his application, the International Searching Authority's official written opinion said that his use of magnetism to control dehydration rates in food are considered 'novel' and 'inventive' as no other invention has the same claims.

Dr Chua worked for 12 years as an industrial research engineer before going back to Nanyang Technological University for his doctorate research.

He delved into the little-known field of bio-magnetics, which looks at how magnetic fields influence biological processes.

After discovering new techniques of energising magnets and understanding how cells respond to magnetic energy, he set up Esmo Technologies in 2004 with three of his siblings.

Dr Chua said: 'Throwing away food is a waste of resources and energy. To maintain food freshness, refrigeration is presently the most used method, but there's always dehydration.

'Also, because it's not possible to ensure that food is kept at constant low temperatures throughout the supply chain, freshness will be affected during packaging and transportation.'

EXTRA PROTECTION

Although fridges have features to reduce odours or bacteria through improved air circulation, these are not effective to preserve freshness of meat because meat is often wrapped in plastic.

When plenty of food is stored together, the food will deteriorate even faster, Dr Chua said.

With the EsmoSphere, refrigerated food can remain fresh because the magnet emits a dome-shaped magnetic field (see graphics at right) that strengthens the bonds between water molecules in the food.

With stronger bonds, water loss is reduced, so raw meat which is placed within the EsmoSphere's protection zone does not become dehydrated.

The EsmoSphere's magnetism also delays bacterial growth and slows down oxidation, which causes discoloration.

The EsmoSphere, which comes in different sizes and costs between $40 and $80, does not require an electrical source and its magnetic field remains effective for three years.

Dr Chua, who uses it in his fridge, said: 'Some of our clients were concerned at first about the strength of the magnets, but we assured them that it conforms to World Health Organisation's safety guidelines.

'The EsmoSphere's magnetic strength is like that of a fridge magnet or handbag with a magnetic catch.'

One of Dr Chua's most enthusiastic clients is Indoguna, which supplies food to Singapore's major supermarkets such as NTUC FairPrice, Cold Storage and Carrefour, as well as many five-star hotels here, like Grand Hyatt, Marina Mandarin and Shangri-La.

In a supermarket trial conducted over three months from the end of last year to early this year, the EsmoSphere helped save an average of a few thousand dollars per outlet.

Meat remained fresh for three days, which is the recommended shelf life. Before the EsmoSphere was used, meat had to be thrown after just two days.

In addition, 40 per cent less seafood was thrown away.

Mr Bryan Chia, sales executive for Indoguna, told The New Paper: 'We feel that Dr Chua's invention is a very good idea.

'We emphasise quality and freshness so the EsmoSphere adds another level of protection over our food supplies.'

Indoguna worked with Esmo Technologies to modify the EsmoSphere design. The earlier model was a large tray but the newer model is lighter and more portable.

Dr Chua's brother, Sebestian, 39, who is head of production, said: 'We're continually researching on how to improve the products.

'It's exciting because very few people know how to work with such technologies and materials.'

He added that the EsmoSphere is especially useful during new year celebrations, when there tends to be a lot of extra food.

Mr Chua said: 'Even if the fridge breaks down, the food can remain fresh.'

For more info, go to www.esmotech.com



esmotech.com [ inactive ]

ESMo Technologies

Established in 2005, EsMo Technologies is a Singapore-based green technology company that specializes in research development and application of Magnetic Interference Cloud  technology for healthcare and conservation of wastages in food and energy.

Magnetic Interference CloudTM technology was developed by its chief founder and inventor, Dr. Richard Chua, who created a unique method of causing magnetic interfered fields to swirl around perishable or liquid objects in a manner that changes the binding force that hold them together, thereby improving cell rigidity, hydration and structure.

EsMo Technologies’ vision is to be a leader in the field of harnessing Magnetic Interference CloudTM technology for applications in the healthcare and conservation of wastages in food and energy industry.

EsMo Technologies aims to develop solutions for:

Food-hydration freshness protection
Efficient energy saving for electric water heating equipment
Chronic healthcare problems (insomnia, sinusitis, body aches & pains)



http://b20-21g11.tipa.org.sg/siang-jun-1/esmotechnologies
May 5, 2010

Esmo Technologies

by

Siang Jun Loh


During our last meeting, Mr Ngiam mentioned to us about this company called the Esmo Technologies. Basically, this company specialises in food preservation and energy conservation, through reducing wastages and increase profitability.

To our interest, the company has developed a bio-foodsphere that is able to preserve food and increase the shelf-life of food:

http://www.esmotech.com/solutions/esmoprotected/index.html

I believe that this technology can help us greatly in our ninja van business as it will help to keep our food fresh for longer hours (quality of food is guaranteed), cut wastage costs in the long run and can help to improve our reputation (which I believe is important for any F&B business, but this can be subjective I guess)

Further analysis of the food sphere:

The food sphere is available with the largest shape of 24inches (about 0.6m) and has an effective range of probably three times its range from the diagrams (about 70 inches which is approximately 1.8m wide!) Placing one or two of these biospheres in the van will definitely increase the shelf-life of our food.

The price of the food sphere also need to be considered! But I think there's some problems over its website, can't access the rest of its sectors. What a bad timing, seems like the website is temporarily not available for the moment so I guess I'll try again tomorrow morning.



DEVICE FOR TREATING PERISHABLE OBJECTS OR LIQUIDS AND METHOD OF FABRICATING THE DEVICE
US8257539

A device for treating perishable objects or liquids and a method of fabricating the device. The method comprising breaking a single piece of magnetic material into a plurality of pieces; inhibiting movement of the pieces with respect to each other during the breaking of the magnetic material; and forming a magnetic structure comprising the plurality of pieces of the magnetic material.

FIELD OF INVENTION

[0001] The present invention relates broadly to a device for treating perishable objects or liquids and a method of fabricating the device.

BACKGROUND

[0002] Generally, perishable objects such as raw seafood, poultry, meats and dairy products deteriorate with time. One important factor affecting the rate of deterioration is water activity. Water activity affects the shelf life, safety, texture, flavour and smell of foods, as well as the stability of pharmaceuticals and cosmetics. In addition, water activity affects the activity of enzymes and vitamins in foods and the denaturing of fats and proteins, which in turn affects the colour, taste, and aroma of foods.

[0003] The water activity is a measure of the energy state of the water in a system. Some factors that affect water activity are water binding strength, dissociation of water, and solubility of solutes in water. Water activity also determines the lower limit of availability for microbial growth. The lower the water activity is or the higher the water binding strength is, the slower the deterioration of the food quality and bacteria growth is. Therefore, it is important to treat the perishable objects and the liquids to prolong the shelf life.

[0004] There are various known methods and devices to treat the perishable objects (e.g. cooked food, beverages, raw meat, etc.), to keep the perishable objects fresh. Some conventional devices utilise static magnetic fields to treat a perishable object, such as raw food and alcoholic beverage. These known devices typically use an array of permanent magnets that are arranged on a flat plane surface to perpendicularly project a magnetic field towards the object to be treated.

[0005] Some conventional devices utilise magnetic fields created by magnetic interference to treat perishable objects. Similarly, these known devices typically comprise a plurality of magnets arranged in a panel such that a magnetic field created by magnetic interference projects from the panel.

[0006] To treat a large object, such known devices may comprise several planes/panels of magnets and/or a large number of magnets in order to project a magnetic field that extends sufficiently to cover the object to be treated. However, having several planes/panels of magnets and/or a large number of magnets not only increases the weight and bulk of the device, the cost of manufacturing the device also increases. These disadvantages make the known devices not practical for commercial applications. Further, for a given size and weight, the magnetic field generated by the known devices may not be strong enough to effectively treat the perishable objects.

[0007] Therefore, there exists a need to provide a device for treating perishable objects or liquids and method of fabricating the device to address or overcome at least one of the above problems.

SUMMARY

[0008] In accordance with a first aspect of the present invention, there is provided a method of fabricating a device for treating perishable objects or liquids, the method comprising: breaking a single piece of magnetic material into a plurality of pieces; inhibiting movement of the pieces with respect to each other during the breaking of the magnetic material; and forming a magnetic structure comprising the pieces of the magnetic material.

[0009] Inhibiting movement of the pieces may comprise providing a fixture element on the magnetic material prior to breaking the magnetic material.

[0010] The fixture element may comprise at least one adhesive sheet attached along at least one surface of the magnetic material.

[0011] The fixture element may comprise two adhesive sheets attached along opposing surfaces of the magnetic material.

[0012] The adhesive sheet may be an elastic plastic sheet.

[0013] The elastic plastic sheet may be wound around the opposing surfaces of the magnetic material.

[0014] The method may further comprise: forming the magnetic structure into a desired shape while substantially maintaining a relative position of the pieces of the magnetic material with respect to each other.

[0015] The pieces of the magnetic material may be initially unpolarized and may be magnetically polarized after the desired shape of the magnetic structure is formed.

[0016] Forming the magnetic structure into the desired shape may comprise: providing a support having a profile with the desired shape; attaching the magnetic structure to the support such that a shape of the magnetic structure conforms to the shape of the profile.

[0017] Attaching the magnetic structure to the support may comprise wrapping the magnetic structure against the support with an adhesive sheet.

[0018] The desired shape of the magnetic structure may be dome-shaped or arc-shaped.

[0019] The magnetic structure may be substantially globe-shaped and may comprise two dome-shaped or arc-shaped magnetic structures having opposite polarity.

[0020] The magnetic structure may be substantially planar.

[0021] The magnetic structure may comprise at least two dome-shaped or arc-shaped magnetic structures having a same polarity stacked on one another.

[0022] The method may further comprise providing a shield element for shielding a north pole side or a south pole side of the magnetic structure.

[0023] The shield element may comprise at least one auxiliary magnet formed of a single piece of magnetic material.

[0024] The auxiliary magnet may be a permanent magnet or may comprise magnetic material.

[0025] The method may further comprise: disposing a plurality of the magnetic structures on a non-planar support structure of a desired shape.

[0026] The support structure may be dome-shaped.

[0027] The method may further comprise providing an additional shield element on a concave side of the support structure.

[0028] The additional shield element may be made from metal.

[0029] The additional shield element may comprise a single piece of magnetic material.

[0030] The method may further comprise encapsulating the device in plastic resins or in a plastic casing.

[0031] In accordance with a second aspect of the present invention, there is provided a device for treating perishable objects or liquids, the device comprising: a plurality of pieces formed from a single piece of magnetic material wherein movement of the pieces of the magnetic material with respect to each other is inhibited.

[0032] The device may further comprise a fixture element in contact with the pieces of the magnetic materials for inhibiting movement of the pieces with respect to each other.

[0033] The fixture element may comprise at least one adhesive sheet.

[0034] The fixture element may comprise two adhesive sheets attached along opposing surfaces of the magnet elements.

[0035] The adhesive sheet may be an elastic plastic sheet.

[0036] The elastic sheet may be wound around the opposing surfaces of the magnetic material.

[0037] The magnet elements may form a substantially planar magnetic structure.

[0038] The pieces of the magnetic material may form a dome-shaped or arc-shaped magnetic structure.

[0039] At least two dome-shaped or arc-shaped magnetic structures having a same polarity may be stacked on one another.

[0040] Two dome-shaped or arc-shaped magnetic structures may form a substantially globe-shaped magnetic structure, the two dome-shaped or arc-shaped magnetic structures having opposite polarity.

[0041] The device may further comprise a support having a profile with a desired shape, wherein the magnetic structure is attached to the support to conform a shape of the magnetic structure to the shape of the profile.

[0042] The magnetic structure may be attached to the support with an adhesive sheet that wraps the magnetic structure against the profile of the support.

[0043] The desired shape may be an arc-shape or a dome-shape.

[0044] The support may be made of plastic.

[0045] The device may further comprise a shield element for shielding a north pole side or a south pole side of the magnet elements.

[0046] The shield element may comprise at least one auxiliary magnet formed of a single piece of magnetic material.

[0047] The auxiliary magnet may be a permanent magnet or may comprise magnetic material.

[0048] The device may further comprise: sets of pieces formed from respective single pieces of magnetic material, the sets being disposed on a non-planar support structure of a desired shape.

[0049] The support structure may be dome-shaped.

[0050] The device may further comprise an additional shield element disposed on a concave side of the support structure.

[0051] The additional shield element may be made from metal.

[0052] The additional shield element may comprise a single piece of magnetic material.

[0053] The device may be encapsulated in plastic resins or in a plastic casing.

[0054] The device may further comprise a fastening means for fastening the device around a component used for containing the perishable object.

[0055] The device may be provided separately for use in treating perishable objects.

[0056] The device may further comprise a flexible support structure for carrying one or more sets of pieces formed from respective single pieces of magnetic material for attaching the device to objects with curved surfaces.

[0057] The objects with curved surfaces may comprise a conduit or a container.

[0058] The sets of pieces of the magnetic material may be arranged in a substantially staggered arrangement.

[0059] The device may be incorporated into a tray, a plate, a container, a pendant or a coaster.

[0060] The device may be mounted in a liquid enclosure or a liquid tank.

BRIEF DESCRIPTION OF THE DRAWINGS

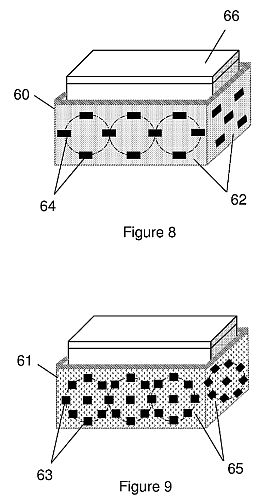
[0061] Embodiments of the invention will be better understood and readily apparent to one of ordinary skill in the art from the following written description, by way of example only, and in conjunction with the drawings, in which:

[0062] FIG. 1(a) is a schematic drawing of a plan view of a portion of a device according to an embodiment;

[0063] FIG. 1(b) is a schematic drawing of a cross-section of the device of FIG. 1(a) along line A-A;

   


[0064] FIGS. 2(a) to 2(c) are schematic drawings showing a method of fabricating a device according to the embodiment;

[0065] FIGS. 3(a) to 3(c) are schematic drawings showing another example method of fabricating a device according to another embodiment;

[0066] FIGS. 4(a) to 4(d) are schematic drawings showing different embodiments of a device;

[0067] FIGS. 5(a) and 5(b) are schematic drawings showing respective aerial projections of magnetic fields of the devices according to the embodiments;

   

   


[0068] FIG. 6(a) is a schematic drawing showing the device according to the embodiments embedded into a tray component;

[0069] FIG. 6(b) is a schematic drawing showing the device according to the embodiments embedded into a beverage packaging;

   

[0070] FIG. 7 is a schematic drawing showing the devices according to the embodiments embedded into compartments of a refrigerator;

[0071] FIG. 8 is a schematic drawing of showing the device according to the embodiments embedded into a storage tank;

[0072] FIG. 9(a) is a schematic drawing showing the device according to the embodiments embedded into a tray component;

[0073] FIG. 9(b) is a schematic drawing showing the device according to the embodiments embedded into a large container;

[0074] FIG. 10 is a schematic drawing showing the device according to the embodiments embedded into a container;

[0075] FIG. 11 is a schematic drawing showing the device according to the embodiments embedded into a coaster;

[0076] FIG. 12 is a schematic drawing showing the device according to the embodiments embedded into a pendant;

   


[0077] FIG. 13(a) is a schematic drawing of a device according to another embodiment wrapped around a conduit structure;

[0078] FIG. 13(b) is a schematic drawing of a cross-section of the device of FIG. 13(a) along line B-B;

[0079] FIG. 13(c) is a schematic drawing of a device according to another embodiment wrapped around a cylindrical portion of a container;

[0080] FIG. 13(d) is a schematic drawing of a cross-section of the device of FIG. 13(c) along line C-C;

[0081] FIGS. 13(e) and 13(f) are schematic drawings showing the device according to the embodiments mounted in a storage tank container;

[0082] FIG. 14 is a graph based on experimental results of measure magnetic flux density against gap distance between two magnets;

   

[0083] FIG. 15(a) is a table based on experimental results showing the average total bacteria count in three samples (FIGS. 15(b)-15(d)) of raw sliced salmon after an exposure period of about 4.5 hours in room conditions at about 20[deg.] C.;

[0084] FIG. 16 is a graph based on experimental results of ice bed thickness against duration of melting ice;

[0085] FIG. 17 is a graph based on experimental results showing thermal images of raw whole fish exposed to the device and raw whole fish not exposed to the device, respectively;

   

[0086] FIGS. 18(a) and 18(b) are photographs of a block of ice exposed to the device and another block of ice not exposed to the device, respectively;

[0087] FIG. 19(a) is a graph based on experimental results demonstrating the effects of magnetic interference on water surface energy when a plurality of sessile water droplets are exposed to a magnetically interfered south magnetic field, a magnetically interfered north magnetic field and without any magnetic field, respectively;

[0088] FIG. 19(b) is a schematic drawing showing a contact angle of a sessile water droplet;

   

[0089] FIG. 20 is a table based on experimental results showing thermal images of water in a storage tank exposed to the device during a boiling process and water in another storage tank which is not exposed to the device, respectively;

[0090] FIG. 21 is a graph based on experimental results of water temperature rise after 60 minutes heating in a 153 litres of water in a water storage tank exposed to the device and water in another storage tank not exposed to the device, respectively; and

[0091] FIG. 22 shows a flowchart illustrating a method of fabricating the device for treating perishable objects or liquids according to the embodiments.

DETAILED DESCRIPTION

[0092] A schematic drawing of a portion of a device 100 for treating perishable objects, is shown in FIG. 1(a). The relative, dimensions of the various features of the device 100 have been exaggerated for illustration purposes. The device 100 generally comprises a magnetic structure 102 comprising a plurality of magnet elements 104 formed from a single piece of magnetic material (not shown) and movement of the magnet elements 104 with respect to each other is inhibited. The plurality of magnet elements 104 are spaced adjacent each other with a gap 106 defining a boundary 108 between adjoining magnet elements 104 to produce a magnetic field created by magnetic interference of the magnet elements 104. The size of the gap 106 between the magnet elements 104 can range from about 0.05 mm to about 3.00 mm.

[0093] The magnetic field created by magnetic interference can be directed onto a perishable object (not shown) to treat the perishable object. Magnetic interference of the magnet elements 104 enhances the strength of the magnetic field projected from the plurality of magnet elements 104. Therefore, the greater the intensity of the magnetic interference, the greater the enhancement of the magnetic field strength. To treat the perishable object, the magnetic field created by magnetic interference of the magnet elements 104 is directed upon the object to be treated.

[0094] A schematic drawing of a cross-section of the device 100 in FIG. 1(a) along a line A-A is shown in FIG. 1(b). An auxiliary magnet 110 is disposed on one side of the magnet elements 104 of the magnetic structure 102. The auxiliary magnet 110 helps to further increase an overall magnetic flux density of the magnetic field projected from the device 100 and also helps to further increase the intensity of magnetic interference created at the gaps 106 between the magnet elements 104. As the auxiliary magnet 110 is a single piece of magnetic structure, there is no magnetic interference emitted from the auxiliary magnet 110. As a result, the auxiliary magnet 110 acts as a shield element to substantially shield a magnetic interference field projected from the side of the magnet elements 104 facing the auxiliary magnet 110 from being emitted. The auxiliary magnet 110 can be in the form of a single piece of permanent magnet.

[0095] The magnetic material for forming the magnetic structure 102 and the auxiliary magnet 110 can be made of materials comprising, for example, ferrite, ceramics, samarium cobalt, or neodymium. The magnetic materials can either be polarized to the desired polarity before the magnetic structure 102 is formed or after the magnetic structure 102 is formed.

[0096] The intensity of magnetic interference created between the magnet elements 106 depends on several factors and can be generally represented by the following equation (i.e. Equation 1):

[0000]
Intensity of magnetic interference=f(B1<2>,B2<2>,L,g<-2>,D<-2>) (1)

[0000] where

[0097] B1 is the average magnetic flux density of the magnet elements (gauss);

[0098] B2 is the magnetic flux density of the auxiliary magnet (gauss);

[0099] L is the total length of the boundary between the magnet elements (m);

[0100] g is the average gap distance between the magnet elements (m), where g<>0; and

[0101] D is the perpendicular distance from a surface plane of the magnet elements (m).

[0102] From the above equation, it is observed that at a given perpendicular distance (D) from a surface plane of the magnet elements, the intensity of magnetic interference is proportional to the length of the boundary between the magnet elements (L) and the square of the average magnetic flux density (B1) of the magnet elements and the square of the magnetic flux density (B2) of the auxiliary magnet. However, the intensity of magnetic interference is inversely proportional to the square of the average gap (g) distance between the magnet elements.

[0103] Further, since the influence of the magnetic interference on the object to be treated (i.e. treatment effect) depends on the intensity of the magnetic interference whereby the more intense the magnetic interference (and therefore, the greater the strength of the magnetic field created by the magnetic interference), the greater the influence of the magnetic interference has on the object to be treated. Therefore, the above parameters, B1, B2, L, g, and D, are also factors affecting the treatment effect on the perishable objects (i.e. treatment effect=f (B1<2>, B2<2>, L, g<-2>, D<-2>)).

[0104] Schematic drawings of a method of fabricating a device 212 are shown in FIGS. 2(a) to 2(b). A fixture element in the form of two adhesive sheets 202 is attached onto a single piece of magnetic material 200. The piece of magnetic material 200 is disposed between the two adhesive sheets 202, as shown in FIG. 2(a). The adhesive sheets 202 are attached along opposing surfaces 201, 203 of the magnetic material 200.

[0105] The adhesive sheets 202 can comprise clear elastic adhesive sheets which are stretched and wound around the opposing surfaces 201, 203 of the magnetic material 200, thereby binding the magnetic material 200. As a result a compressive force is exerted on the magnetic material 200. However, it will be appreciated that other types of fixture elements can be used, as long as movement of the magnet elements 206 with respect to each other is inhibited.

[0106] A punch 204 is used to physically break the piece of magnetic material 200 into a plurality of smaller pieces of adjoining magnet elements 206, as shown in FIG. 2(b). The punch 204 comprises a plurality of protrusions 203 on a leading surface 205. The punch 204 is advanced towards the magnetic material 200 and applies a force onto the magnetic material 200 to break the magnetic material 200 into the plurality of adjoining magnet elements 206. The punch 204 is retracted after the piece of magnetic material 200 is broken. Therefore, a magnetic structure 208 comprising the plurality of adjoining magnet elements 206 is obtained. Movement of the magnet elements 206 with respect to each other during the breaking of the magnetic material 200 is inhibited by the adhesive sheets 202 wound around the piece of magnetic material 200. The magnetic structure 208 of FIG. 2(b) is generally similar to the magnetic structure 100 of FIG. 1. The magnetic structure 208 is rectangular in shape and is generally planar. It will be appreciated that the magnetic structure 208 can be of other shapes, e.g. square, circular, etc., depending on design requirements. Further, it will be appreciated that instead of having protrusions 203 on the leading surface, the punch 204 can have other geometries and configurations, as long as the punch can break the magnetic material 200 into a plurality of magnet elements 206.

[0107] The adhesive sheets 202 serve to inhibit movement of the magnet elements 206 with respect to each other by exerting a compressive force on the magnetic structure 208 to hold the magnet elements 206 in place with respect to each other, against any repulsive forces between the magnet elements 206. The magnet elements 206 are spaced adjacent to each other with a separation gap defining a boundary 207 between adjoining magnet elements 206 to produce a magnetic field created by magnetic interference of the magnets. Further, the adhesive sheets 202 should be sufficiently deformable such that the adhesive sheets 202 are not broken when force is applied by the punch 204 to break the piece of magnetic material 200. The adhesive sheets 202 can be, for example, cellophane tape or polyethylene tape. In the above description, two adhesive sheets 202 are used, however, it will be appreciated that a single adhesive sheet attached along at least one surface of the piece of magnetic material 200 as long as the plurality of magnet elements 206 can be held securely such that relative movement of the magnet elements 206 is inhibited, thereby maintaining small gaps between the adjoining magnet elements 206.

[0108] By keeping the plurality of magnet elements 206 adjacent to each other with small gaps between adjoining magnet elements 206, the magnetic interference created by the adjoining magnet elements 206 is intensified. Referring to Equation 1 (and assuming that all other factors, B1, B2, L and D are kept constant) it is observed that when the gap distance between adjoining magnet elements 206 is decreased, the intensity of the magnetic interference is increased as the magnetic interference intensity is inversely proportional to the square of the gap distance (g). Therefore, the gap distance between adjoining magnet elements 206 should be maintained as small as possible to achieve magnetic interference of a greater intensity.

[0109] Conventionally, due to repulsive forces between magnets, it is difficult to assemble or keep two magnets very close to one another, especially where high strength magnets are used. However, as described above, by utilising the fixture element on the piece of magnetic material 200 to inhibit movement of the plurality of magnet structures 206 with respect to each other to form the magnetic structure 208, results in the magnetic structure 208 having a plurality of magnet elements 206 which are held adjacent to one another such that the separation gaps between the magnet elements 206 can be kept small, for example, in the range of about 0.01 mm to about 2.00 mm. This creates a substantially intensified magnetic interference. The magnetic materials for forming the magnetic structure 208 can either be polarized to the desired polarity before the magnetic structure 208 is formed or after the magnetic structure 208 is formed.

[0110] Since increasing the intensity of magnetic interference increases the strength of the magnetic field, the size and/or the number of magnets required to achieve a desired magnetic field strength is reduced. This in turn can reduce the total weight and cost of the device.

[0111] After breaking the piece of magnetic material 200, the generally planar magnetic structure 208 in FIG. 2(b) is formed into an arc-shaped magnetic structure 210, as shown in FIG. 2(c) while substantially maintaining a relative position of the magnet elements 206 with respect to each other. The generally planar magnetic structure 208 is placed against a support 220 having an arc-shaped profile 222 such that the generally planar magnetic structure 208 conforms to the arc-shaped profile 222 of the support 220 to form the arc-shaped magnetic structure 210. An adhesive sheet (not shown) is used to wrap the magnetic structure 210 against the support 220 to maintain the shape of the arc-shaped magnetic structure 210. It will be appreciated that the generally planar magnetic structure 208 can be formed into other desired shapes such as a dome shape instead of an arc shape by using a support with a corresponding profile shape. The support 220 can be made of any non-metallic material, such as plastic.

[0112] The device 212 comprises the arc-shaped magnetic structure 210 and a magnetic shielding device in the form of, for example, an auxiliary magnet 214 disposed on one side of the magnetic structure 210. As described earlier, the auxiliary magnet 214 comprises a single piece of magnetic material, therefore no magnetic interference is created by the auxiliary magnet 214, therefore, the auxiliary magnet is a shielding device for shielding the magnetic interference field projecting from at least one side of the magnetic structure 210. Further, the auxiliary magnet 214 also helps to increase the overall magnetic flux density and also helps to increase the magnetic interference created at the gaps between the magnet structures 206. The arc-shaped magnetic structure 210 comprises a convex side 216 and a concave side 218. In this embodiment, a south-pole side of the magnetic structure 210 is made the convex side 216 of the magnetic structure 210 and the north-pole side of the magnetic structure 210 is made the concave side 218 of the magnetic structure 210. The magnetic field (not shown) projecting from the convex side 216 of the magnetic structure 210 is projected onto the perishable object (not shown) to treat the object. Therefore, the object to be treated is exposed to a magnetically interfered south magnetic field. The auxiliary magnet 214 is disposed at the concave side 218 (i.e. north-pole side) of the magnetic structure 210 to shield the magnetic interference projecting from the north-pole side of the magnetic structure 210. The auxiliary magnet 214 is disposed with the same magnetic polarity orientation of the magnetic structure 210. Therefore, in this case, a south-pole side of the auxiliary magnet 214 faces towards the north-pole side of the magnetic structure 210. The auxiliary magnet 214 may be any kind of permanent magnet or may be made of magnetic materials.

[0113] The device 212 comprising the arc-shaped magnetic structure 210, the support 220 and the auxiliary magnet 214 are encapsulated in plastic resins, e.g. epoxy or polyester plastics to form, for example, a disc structure (not shown) for placing beneath perishable objects that are to be treated. Alternatively, the device 212 is incorporated, e.g. by encapsulating in plastic resins, into a vessel or container (not shown) that contains the perishable objects to be treated. FIGS. 6 to 10 show various examples of the device 212 being incorporated into, for example, a tray structure, a container, a coaster, etc. Alternatively, the device 212 can be encapsulated in a plastic casing, e.g. a polyethylene or polypropylene plastic casing. It will be appreciated that instead of forming the generally planar magnetic structure 208 into the arc-shaped magnetic structure 210, the auxiliary magnet 214 can be disposed on one side of the generally planar magnetic structure 208 (e.g. the north-pole side of the generally planar magnetic structure 208). The generally planar magnetic structure 208 and the auxiliary magnet 214 are then encapsulated in plastic resins or a plastic casing, or incorporated into a vessel or a container as described above.

[0114] It will be appreciated that if a north magnetic field is to be used to treat an object, the north-pole side of the magnetic structure is made the convex side and the south-pole side of the magnetic structure is made the concave side.

[0115] There are two polarities and directions in a magnetic field. One direction is from the North magnetic pole and the other direction is from the South magnetic pole. Based on scientific convention, the compass "north" needle points in the direction of the magnetic flux, that is, in an outward direction from a magnet's North pole end and inward at the magnet's South pole end.

[0116] Schematic drawings of another example method of fabricating a device 312 for treating perishable objects are shown in FIGS. 3(a) to 3(c). A single piece of magnetic material 300 that is generally flat and circular in shape, is used to form a magnetic structure 306 (FIG. 3(b)). An adhesive sheet (not shown) is attached along opposing surfaces of the piece of magnetic material 300 prior to breaking the piece of magnetic material 300 into a plurality of magnet elements 304. The adhesive sheet comprises clear plastic sheet that is wound or wrapped around the opposing surfaces of the magnetic material 300, thereby binding the magnetic material 300 and exerts a compressive force on the magnetic material 300. A punch 302 is used to break the piece of magnetic material 300 into the plurality of adjoining magnet elements 304, resulting in a generally planar magnetic structure 306, as shown in FIG. 3(b). Movement of the plurality of magnet elements 304 with respect to each other during breaking of the magnetic material 300 is inhibited by the adhesive sheet. The compressive force exerted on the magnetic material 300 acts against the repulsive forces between the magnet elements 304 so as to inhibit the movement of the magnet elements 304 with respect to each other. The generally planar magnetic structure 306 is formed into a dome-shaped magnetic structure 308 using a support 316 having a dome-shaped profile 318, as shown in FIG. 3(c). The magnetic materials can either be polarized to the desired polarity before the magnetic structure 308 is formed or after the magnetic structure 308 is formed. A circular shielding device in the form of an auxiliary magnet 310 disposed at a concave side 314 of the dome-shaped magnetic structure 308 to shield the magnetic interference field projecting from the concave side 314.

[0117] The device 312 comprising the dome-shaped magnetic structure 308, the support 316 and the auxiliary magnet 310 are encapsulated in plastic resins, e.g. epoxy or polyester plastics to form, for example, a disc structure (not shown) for placing beneath perishable objects that are to be treated. Alternatively, the device 312 is incorporated, e.g. by encapsulating in plastic resins, into a vessel or container (not shown) that contains the perishable objects to be treated. FIGS. 6 to 10 show various examples of the device 312 being incorporated into, for example, a tray structure, a container, a coaster, etc. Alternatively, the device 312 can be encapsulated in a plastic casing, e.g. a polyethylene or polypropylene plastic casing and sealed with a plastic resin. It will be appreciated that instead of forming the generally planar magnetic structure 306 into the dome-shaped magnetic structure 308, the auxiliary magnet 310 can be disposed on one side of the generally planar magnetic structure 306 (e.g. the north-pole side of the generally planar magnetic structure 208). The generally planar magnetic structure 308 and the auxiliary magnet 310 are then encapsulated with plastic resins or a plastic casing or incorporated into a vessel or a container as described above.

[0118] A schematic drawing of a device 400 for treating perishable objects is shown in FIG. 4a. The device 400 comprises a dome-shaped support panel 402, a plurality of substantially planar magnetic structures 404 arranged on a convex side 401 of the dome-shaped support panel 402 and a base 414 disposed at the concave side 413 of the dome-shaped support panel 402. The magnetic structures 404 in this embodiment are similar to, for example, the magnetic structure 208 of FIG. 2(b). Each magnetic structure 404 comprises a set of magnet elements 210 formed from a single piece of magnetic material. An auxiliary magnet 406 is disposed on one side of each magnetic structure 404 to shield the magnetic interference field projecting from the side of the magnetic structure 404. The magnetic structures 404 and the auxiliary magnets 406 disposed on the support panel 402 are not individually encapsulated by plastic resins or a plastic casing in this embodiment. The auxiliary magnet 406 also helps to increase the overall magnetic flux density of the magnetic structure 404 and helps to increase the magnetic interference created at the gaps (not shown) between the magnet elements 410 of each magnetic structure 404. The magnetic structures 404 are arranged substantially in a staggered arrangement on the convex side 401 of the dome-shaped support panel 402 to produce further magnetic interference between the magnetic structures 404. This is in addition to the magnetic interference produced by the magnetic structures 404. In addition to the auxiliary magnets 406, the base 414 of the device 400 can also act as a shielding device. The base 414 can be made of metal, for example, aluminium or tin, to shield the magnetic interference field projecting form the concave side 413 of the support panel 402. Alternatively, the base 414 can comprise an auxiliary magnet to shield the magnetic interference field projecting from the concave side 413 of the support panel and also to help increase the overall magnetic flux density of the magnetic structure 404 and to increase the magnetic interference created at the gaps (not shown) between the magnet elements 410 of each magnetic structure 404, and also between each magnetic structure 404.

[0119] The device 400 comprising the magnetic structures 404, the auxiliary magnets 406, the support panel 402 and the base 414 are encapsulated in plastic resins, e.g. epoxy or polyester plastics, or plastics, e.g. polyethylene or polypropylene, to form, for example, a disc structure (not shown) for placing beneath perishable objects that are to be treated. Alternatively, the device 400 is incorporated, e.g. by encapsulating in plastic resins, in a vessel or container (not shown) that contains the perishable objects to be treated. FIGS. 6 to 10 show various examples of the device 400 being incorporated into, for example, a tray structure, a container, a coaster, etc.

[0120] A schematic drawing of another example of the device 416 is shown in FIG. 4b. The device 416 comprises two dome-shaped magnet structures 418 arranged such that the respective auxiliary magnets 420 are contacting one another. One magnet structure 418 comprises the north magnetic field and the other magnet structure 418 comprises the south magnetic field. Therefore, the respective auxiliary magnets 420 have opposite magnetic polarity and attract each other, forming a globe shaped structure 422.

[0121] A schematic drawing of another example of the device 424 is shown in FIG. 4c. The device 424 comprises two dome-shaped magnet structures 426 similar to the device 400 of FIG. 4a. The two structures 426 are arranged such that the respective auxiliary magnets 428 are contacting one another. One magnet structure 426 comprises the north magnetic field and the other magnet structure 426 comprises the south magnetic field. Therefore, the respective auxiliary magnets 428 have opposite magnetic polarity and attract each other, forming a globe shaped structure 430.

[0122] A schematic drawing of another example of the device 432 is shown in FIG. 4d. The device 432 comprises two dome-shaped magnet structures 434 stacked on one another. More than two dome-shaped magnet structures 434 can be stacked on another in different embodiments. The dome-shaped magnet structures 434 have the same polarity. The respective auxiliary magnets 436 of the magnet structures 434 are also stacked on one another to form the shield element. In other embodiments, a single piece of auxiliary magnet 436 can be used as the shield element. It will be appreciated that the magnet structures 434 can be also be of other configurations, e.g. in the form of the magnet structures 426 of FIG. 4(c). It will be appreciated that in different embodiments, the configuration could be a combination of the configurations described with reference to FIGS. 4(b) and (a).

[0123] FIG. 5a shows a schematic perspective view of a device 500, for example, in the form of the device 312 of FIG. 3(c) or the device 400 of FIG. 4a. The device 504 comprises a dome-shaped portion 502 and a generally circular base 504. The shaded region in FIG. 5a shows an aerial projection of a magnetic field 506 created by magnetic interference, extending from the device 500. The aerial projection of the magnetic field 506 is dome-shaped with a circular base 508. The magnetic field 506 does not project from the base 504 of the device 500 due to the presence of a shielding device (e.g. the auxiliary magnet 310 of FIG. 3(c) or the auxiliary magnets 406 disposed beneath the magnetic structures 404 or the base 414 of the device 400 of FIG. 4a, which act as the shielding device).

[0124] FIG. 5b shows a schematic perspective view of a globe-shaped device 510, for example, in the form of the device 416 of FIG. 4(b) or the device 424 of FIG. 4(c). The device 510 comprises two dome-shaped magnetic structures 512 and 514 and a generally circular base 516. The shaded region in FIG. 5b shows an aerial projection of a magnetic field 518 created by magnetic interference from one magnetic polarity, extending from the magnetic structure 512. The unshaded region in FIG. 5b shows another aerial projection of a magnetic field 520 created by magnetic interference from the opposite magnetic polarity, extending from the magnetic structure 514.

[0125] The aerial projections of the magnetic fields 518 and 520 are dome-shaped with a circular base 522. The magnetic fields 518 and 520 do not project from the base 516 of the structures 512 and 514 due to the presence of a shielding device (e.g. the auxiliary magnet 310 of FIG. 3(c) or the auxiliary magnets 406 disposed beneath the magnetic structures 404 or the base 414 of the device 400 of FIG. 4a, which act as the shielding device).

[0126] Objects to be treated should be exposed to the magnetically interfered magnetic field and therefore, should be positioned to be within the area of the magnetic field such that the magnetic field is directed onto the objects.

[0127] FIGS. 5a and 5b illustrates that by using the device 500 or 510, the magnetic field can be projected and diverged from the device 500 or 510, which can advantageously provide a larger treatment area compared to that achievable with a flat or planar magnetic structure of the same size.

[0128] FIG. 6(a) shows a schematic drawing of a device 600, for example, in the form of the device 212 in FIG. 2(c), the device 312 in FIG. 3(c) or the device 400 in FIG. 4a. The device 600 is embedded into a tray component 608 by encapsulating the device 600 in plastic resins or in a plastic casing to form the tray component 608. The tray component 608 is placed below perishable objects to be treated, such as raw fish 602, or meat (not shown), in a package 604 for point-of-sale or storage purposes. The package 604 comprises a plastic sheet 606 wrapped over the tray 608, the device 600 and the raw fish 602. Alternatively, device 600 can be individually encapsulated in e.g. plastic resins, and placed on the tray component 608 rather than being embedded into the tray component 608.

[0129] FIG. 6(b) shows a schematic drawing of the device 600 embedded into a beverage packaging 610 by encapsulating the device 600 in plastic resins or in a plastic casing to form the beverage package 610. The beverage package 610 may store dairy products, such as milk or yogurt or fruit juices 612 for point-of-sale or storage purposes. The beverage package 610 may comprise a plastic container or paper box, the device 600 and the beverage 612. Alternatively, the device 600 can be individually encapsulated in e.g. plastic resins, and physically secured to the beverage packaging 610 rather than being embedded.

[0130] FIG. 7 shows a schematic drawing of a device 700, for example, in the form of the device 212 in FIG. 2(c), the device 312 in FIG. 3(c) or the device 400 in FIG. 4a. Two devices 700 are placed in separate compartments 704 of a refrigerator 702. Each device 700 is embedded into one compartment 704 of the refrigerator by encapsulating the device 700 in plastic resins or in a plastic casing and to form the compartment 704. Perishable objects such as raw fish 708 are placed in the compartments 704 such that a magnetically interfered south magnetic field from the device 700 extends into the space of the compartment 704 containing the perishable objects to maintain freshness of the perishable objects. Alternatively, device 700 can be individually encapsulated in e.g. plastic resins, and placed in the compartments 704 rather than being embedded into the compartments 704.

[0131] FIG. 8 is a schematic drawing of a device 800, for example, in the form of the device 212 in FIG. 2(c), the device 312 in FIG. 3(c) or the device 400 in FIG. 4a. The device 800 is embedded into a storage container 802 by encapsulating the device 800 in plastic resins or in a plastic casing to form the storage container 802. Perishable objects, such as raw fish 804 are placed in the storage container 802 to maintain the freshness of the perishable objects. Alternatively, device 800 can be individually encapsulated in e.g. plastic resins, and placed in the storage container 802 rather than being embedded into the storage container 802.

[0132] FIG. 9(a) is a schematic drawing of a device 900, for example, in the form of the device 212 in FIG. 2(c), the device 312 in FIG. 3(c) or the device 400 in FIG. 4a. The device 900 is embedded into a tray component 906 by encapsulating the device 900 in plastic resins or in a plastic casing to form the tray component 906. The tray 906 is placed below a block of ice 902. Perishable objects such as raw fish 904, are displayed on the block of ice 902. The device 900 is positioned such that the perishable objects are exposed to the magnetically interfered south magnetic field projecting from the device 900 to maintain the freshness of the perishable objects, and to slow the melting rate of the block of ice 902. Alternatively, device 900 can be individually encapsulated in e.g. plastic resins, and placed on the tray 906 rather than being embedded into the tray 906.

[0133] FIG. 9(b) is a schematic drawing of the device 900 embedded into a large container 912 by encapsulating the device 900 in plastic resins or in a plastic casing to form the container 912. The device 900 is placed on the base of the container 912 which may be used in cold trucks and fishing trawlers. Perishable objects such as raw fish 914 are stored with or without ice in the container 912. The device 900 is positioned such that the perishable objects are exposed to the magnetically interfered south magnetic field projecting from the device 900 to maintain the freshness of the perishable objects. Alternatively, device 900 can be individually encapsulated in e.g. plastic resins, and placed on the container 912 rather than being embedded.

[0134] FIG. 10 is a schematic drawing of a device 1000, for example, in the form of the device 212 in FIG. 2(c), the device 312 in FIG. 3(c) or the device 400 in FIG. 4a. The device 1000 is embedded into a container 1002 by encapsulating the device 1000 in plastic resins or in a plastic casing to form the container 1002. The container 1002 is used in freezing perishable objects such as raw fish 1004. Water 1006 in the container 1002 containing the perishable objects and the device 1000 are frozen to maintain freshness of the perishable objects. In addition to keeping the perishable objects fresh. The magnetically interfered south magnetic field projecting from the device 1000 was found to increase the water binding strength in perishables and reduce water crystallisation and growth of water crystals that cause food cell damage in frozen food. Alternatively, device 1000 can be individually encapsulated in e.g. plastic resins, and placed into the container 1002 rather than being embedded into the container 1002.

[0135] FIG. 11 is a schematic drawing of a device 1100, for example, in the form of the magnetic structure 208 of FIG. 2(b), the device 212 of FIG. 2(c), or the device 312 of FIG. 3(c) is embedded into a circular disc-shaped component 1102 by encapsulating the device 1100 in plastic resins or in a plastic casing to form a coaster 1102, for example, for wine 1104 contained in a glass 1106 or a bottle (not shown). The wine 1104 in the glass 1106 is exposed to the magnetically interfered north magnetic field projecting from the device 1100 and is therefore treated by the device 1100.

[0136] FIG. 12 is a schematic drawing of a device 1200, for example, be in the form of the magnetic structure 208 of FIG. 2(b) or the device 212 of FIG. 2(c) embedded into a rectangular-shaped enclosure 1202 by encapsulating the device in plastic resins or in a plastic casing to form a pendant 1202 for tagging to a beverage container such as a wine glass 1204. The pendant 1202 comprises a fastening means in the form of e.g. a string 1206 to allow the pendant to be movably attached to the wine glass 1204. The pendant 1200 can be moved from a rest position at the base 1208 of the wine glass 1204 to a lifted position to treat the wine in the wine glass 1204.

[0137] FIGS. 13(a) to (f) are schematic drawings of a device 1300 according to another embodiment. In this embodiment, the device 1300 is provided separately for use in treating perishable objects and liquids such as water. The device 1300 comprises a plurality of magnetic structures 1304 arranged in two rows along the length of a flexible support 1302. The magnetic structures 1304 can, for example, be in the form of the magnetic structure 208 in FIG. 2(b). Each magnetic structure 1304 comprises a set of magnet elements 1301 formed from a single piece of magnetic material. The magnetic structures 1304 in one row are disposed on the flexible support 1302 in an offset arrangement with respect to the magnetic structures 1304 in the other row. The flexible support 1302 carries the plurality of magnetic structures 1304 such that the device 1300 can be attached to objects with curved surfaces. FIG. 13(a) shows the device being wrapped around a conduit structure 1306 to treat the contents, for example, water, in the conduit 1306. A schematic drawing of a cross-section FIG. 13(a) along the line B-B is shown in FIG. 13(b). A magnetically interfered north magnetic field projected from the device 1300 treats the water by reducing the water molecule binding energy to improve water heating and cooling efficiency. Alternatively, the device 1300 can be wrapped around a cylindrical portion of a container 1308 as shown in FIG. 13(c). A schematic drawing of a cross-section of FIG. 13(c) along the line C-C is shown in FIG. 13(d). Each magnetic structure 1304 has an auxiliary magnet 1305 disposed on top of the magnetic structure 1304 (i.e. on the south pole side of the magnetic structure 1304). For illustration purposes, the magnetic structures 1304 disposed below the auxiliary magnet 1305 are shown in dashed lines in FIGS. 13(a) and 13(c). Additionally, a flexible shielding plate (e.g. aluminium foil, not shown) is disposed on top of the auxiliary magnet 1305 (i.e. on a side of the auxiliary magnet 1305 opposite the magnetic structure 1304). Each magnetic structure 1304 is first encapsulated in plastic resins, which is then assembled onto the flexible support 1302.

[0138] It will be appreciated that more than two rows or one row of magnetic structures 1304 can be attached to the flexible support 1302. Further, the magnetic structures 1308 can also be of other configurations, e.g. in the form of the device 212 of FIG. 2(c).

[0139] FIGS. 13(e) and 13(f) are schematic drawings of a device 1310, for example, in the form of the device 212 of FIG. 2(c), or the device 312 of FIG. 3(c), or the device 400 of FIG. 4(a), or the device 416 of FIG. 4(b), or the device 424 of FIG. 4(c), or device 432 of FIG. 4(d). The device 1310 is mounted in a storage tank container 1312 by encapsulating the device 1310 in plastic resins or in a plastic casing to form a waterproof and heat resistant device. An electric water heating element 1314 can be disposed in the storage tank container 1312.

[0140] FIG. 14 is a graph, based on experimental results, of gap distance between two magnets against measured magnetic flux density between the two magnets. The magnetic flux density of the pairs of magnets is measured at a perpendicular distance of about 25 mm away from the magnets' surface. Two pairs of permanent magnets were used for the experiments. Each pair of permanent magnets comprises two magnets that are of similar size and strength. Each of the magnets of the first pair has a magnetic flux (B) of about 350 G and each of the magnets of the second pair has a magnetic flux (B) of about 500 G. It is observed that for both pairs of magnets, when the gap distance between the two magnets of a pair decreases, the measured flux density of the magnetic field created by magnetic interference of the two magnets increases exponentially. Therefore, the smaller the gap distance between the magnets, the greater the intensity of the magnetic interference, which in turn increases the strength of the magnetic field. By using the method as described in the above embodiments, for example, with reference to FIGS. 2(a) to 2(c) or FIGS. 3(a) to 3(c), the gap distance between the adjoining magnet elements in the respective magnetic structures can be maintained small in order to create an intensified magnetic interference for treating perishable objects.

[0141] FIG. 15(a) is a table based on experimental results showing the average total bacteria count in three samples of raw sliced salmon after an exposure period of about 4.5 hours in room conditions at about 20[deg.] C. In the first sample, raw sliced salmon 1502 is placed on a device 1500, as shown in FIG. 15(b), and is exposed to a magnetically interfered south magnetic field projecting from the device 1500. The device 1500 is in the form of a plate 1504 comprising a plurality of magnetic structures 1508 disposed in a staggered arrangement in a base panel 1510 of the plate 1504. The magnetic structures 1508 can, for example, be in the form of the magnetic structures 208 in FIG. 2(b) or the magnetic structures 404 in FIG. 4a, each of the magnetic structures 404 having one auxiliary magnet 406 disposed on one side of the magnetic structure 406. In the second sample, raw sliced salmon 1502 is placed on the plate 1504 comprising a single magnet 1512 disposed in the base panel 1510 of the plate 1504, as shown in FIG. 15(c). The raw sliced salmon 1502 in the second sample is exposed to a south magnetic field projecting from the magnet 1512. The south magnetic field in the second sample is not created by magnetic interference. The strength of the magnets used in the first and sample are about 150+-10 G. In the third sample, raw sliced salmon 1502 is placed on the plate 1504, as shown in FIG. 15(d) and is not subjected to any magnetic field. The total bacteria count (i.e. total plate count, TPC) of the first sample is about 16,400 cfu/g. However, the total bacterial count of the second sample and the third sample is about 87,000 cfu/g and about 49,000 cfu/g, respectively. The results in the table in FIG. 15(a) demonstrate that the magnetically interfered south magnetic field (having the lowest bacteria count out of the three samples) slows food spoilage compared to the second and third samples. On the other hand, the south magnetic field (without magnetic interference) appears to be the least effective of the three samples in slowing food spoilage.

[0142] FIG. 16 is a graph based on experimental results of ice bed thickness against duration of melting ice: (i) exposed to a device with a south magnetic interference field having an average magnetic flux density of about 250 G, (ii) exposed to another device with a south magnetic interference field having an average magnetic flux density of about 500 G, and (iii) not exposed to the device (i.e. not exposed to any magnetic field; magnetic interference field=0 G). Each bed of ice has a surface area of about 300*400 mm and is of about 60 mm thick at the beginning of the experiment. The ice beds are exposed for about 9 hours in room conditions at about 26[deg.] C. After 9 hours, the thickness of the ice bed not exposed to any magnetic field was about 2 mm thick. However, for the ice bed (ii), it is observed that the thickness of the ice bed after 9 hours is about 8 mm, thereby demonstrating that the rate of ice melting is reduced compared to the ice bed that was not subjected to any magnetic field. It is observed that for the ice bed (iii), the thickness of the ice bed after 9 hours is about 20 mm, thereby demonstrating that the rate of ice melting is reduced further. In other words, the results in the graph of FIG. 16 demonstrate that the rate of ice melting is reduced when the ice is exposed to the south magnetic interference field and a stronger south magnetic interference field slows the rate of ice melting further

[0143] FIG. 17 is a graph based on experimental results showing thermal images of raw whole fish exposed to the device and raw whole fish not exposed to the device. Thermal infrared images of raw whole fish samples with time at various distances from the device were obtained and analysed. The fish samples were kept in room conditions at about 26[deg.] C. In this experiment, the device used is similar to the device of FIG. 3(c). A ferrite permanent magnet with a diameter of about 30 mm and a thickness of about 3 mm was used. The magnetic field strength of the permanent magnet is about 200 G. The permanent magnet is similar to for example, the magnetic structure 306 in FIG. 3(b). The fish exposed to the device were subjected to a magnetically interfered south magnetic field. Three sets of raw fish exposed to the device were placed at a distance of 0 cm, 15 cm and 30 cm, respectively, from the device, and thermal images of the fish from each set were obtained at time intervals of about 60 min, 120 min and 210 min from the beginning of the experiment. The raw fish not exposed to the device were not subjected to any magnetic field and are used as a reference or control experiment. Regions of darker shades in the thermal images represent areas of lower temperatures.

[0144] The thermal images show that the surface temperature of the raw fish nearest to the device (i.e. at 0 cm from the device) remained relatively cooler compared to the raw fish farther away from the device (i.e. at 15 cm and 30 cm from the device, respectively) and the raw fish that was not exposed to any magnetic field. After 210 mins, the thermal images of the fish samples at 30 cm away from the device was observed to be almost similar to the raw fish that was not exposed to the device. On the other hand, after 210 mins the fish samples that were placed at 0 cm and 15 cm away from the device, respectively still had relatively larger cooler regions compared to the fish samples at 30 cm away from the device. The fish samples at 0 cm away from the device have the largest cooler region compared to all of the other samples after 210 mins.

[0145] From the experimental results in FIG. 17 the maximum distance at which a perishable object can be placed in order to be treated by the device (i.e. effective distance) can be established and verified by thermal imaging, where other factors such as B, L and g of Equation 1 are kept constant.

[0146] Further, the fish samples closer to the device have an improved hydration state compared to the fish samples further away from the device and the fish samples that are not exposed to any magnetic field.

[0147] From the above experiment, the effective distance is about 30 cm away from the device. However it will be appreciated that the effective distance varies for devices of different shapes and interference magnetic field strengths.

[0148] FIGS. 18(a) and 18(b) are photographs of a block of ice 1802 exposed to the device 1800 and another block of ice 1804 not exposed to the device 1800, respectively. The block of ice 1802 that is exposed to the device 1800 is subjected to a magnetically interfered south magnetic field projected from the device 1800 (FIG. 18(b)) and the block of ice 1804 that is not exposed to the device 1800 is not subjected to any magnetic field (FIG. 18(a)). A schematic drawing of the device 1800 is superimposed onto the ice block 1802 for illustration purpose. The device 1800 can, for example, be in the form of the device 212 in FIG. 2(c), the device 312 in FIG. 3(c) or the device 400 in FIG. 4a. When water freezes, water crystals 1806 will grow, as shown in FIG. 18(a) and this phenomenon is detrimental to perishable objects such as food when water is frozen in the food because food cells will be damaged during ice crystallization growth period. The natural growth of water crystals 1806 without any magnetic interference field is shown in FIG. 18(a). When the block of ice 1802 is frozen in the presence of a south magnetic interference field from the device 1800, the rate at which water crystals 1808 are formed is reduced significantly, as shown by the smaller water crystals 1808 in FIG. 18(b). These results show that when exposed to the device 1800, perishables containing large amount of water have less ice re-crystallization growth problem when water freezes than those which are not exposed to the device 1800.

[0149] FIG. 19(a) is a graph based on experimental results demonstrating the effects of magnetic interference on water surface energy when a plurality of sessile water droplets are exposed to a magnetically interfered south magnetic field, a magnetically interfered north magnetic field and without any magnetic field, respectively. Contact angles of the sessile water droplets were plotted against various sample points. A schematic drawing showing a contact angle 1900 of a sessile water droplet 1902 on a surface 1904 is shown in FIG. 19(b). The contact angles of sessile water droplets on a solid plate exposed to the various conditions described above were measured. The horizontal bar in the graph represents the mean value of the contact angles measured. The data in the left region of the graph (sample number 1 to 11) shows the contact angles of the water droplets that were not exposed to any magnetic field. The mean contact angle for sample numbers 1 to 11 is about 86[deg.]. The data in the middle region of the graph shows the contact angles of water droplets after the water droplets (sample number 12 to 21) were exposed to the device (not shown) with an approximately 350 gauss-magnetically interfered north magnetic field disposed at about 150 mm away from the water droplets. The mean contact angle for sample numbers 12 to 21 is about 81.5[deg.]. The data in the right region of the graph shows the contact angles of water droplets after the water droplets (sample number 22 to 39) were exposed to the device (not shown) with an approximately 350 gauss-magnetically interfered south magnetic field disposed at about 150 mm away from the water droplets. The mean contact angle for sample numbers 22 to 39 is about 89[deg.].

[0150] The above experimental results demonstrate that a magnetically interfered south magnetic field increases molecule bonding energy of liquids (e.g. water) such that the water droplets were able to retain their droplet shape better than the water droplets not exposed to any magnetic field, as shown by the larger contact angles of the water droplets exposed to the magnetically interfered south magnetic field. An increase in the molecule bonding energy indicates that the chance of water escaping from perishable objects will be lower (i.e. lower water activity) and hence water can be retained better as compared to, for example, perishable objects not exposed to any magnetic interference field, hence making the perishable objects firmer and fresher. In addition, an increase in molecule bonding energy reduces water activity and slows down the activity of enzymes and vitamins in foods. As a result, the denaturing of fats and proteins advantageously becomes slower. Hence the food colour, taste, and aroma can advantageously be retained better. Further, the increase in water bonding energy may slow down the melting rate of ice in an ice bed and bio-chemical activities such as oxidation in food.

[0151] On the other hand, the droplets exposed to the magnetically interfered north magnetic field have smaller contact angles compared to the water droplets that were not exposed to any magnetic field, which indicates that the molecule bonding energy in the water molecules have been weakened. A weakening of the molecule bonding energy has the opposite effect to increasing the molecules bonding energy, and can result in faster dehydration and oxidation of the perishable objects, and increasing the melting rate of ice (i.e. an increase in water activity). In addition, the weakened molecule bonds in liquids such as water, as demonstrated in the reduction of surface tension of water, can reduce the viscosity of water which may improve the heat transfer in a heating/boiling process such as the heat convection flow and the boiling process.

[0152] FIG. 20 is a graph based on experimental results showing thermal images of heat transfer in an open water storage tank exposed to the device and in an open water storage tank without the device respectively. The device can be installed either outside or inside a non-metallic storage tank. If the storage tank is made of metallic materials, the device is preferably installed inside the storage tank because metallic materials attenuate magnetic fields. In this experiment, the device used is similar to the device of FIG. 3(c). Other designs of the device, such as devices of FIGS. 4(a) to 4(d) can be used in other embodiments. The water is exposed to a magnetically interfered north magnetic field projecting from the device. The experimental results show that the water heating behaviour differed significantly between the tank with the device and the other tank without the device. With the device, it can be seen that the movement of heat from the heater source at the right side of the tank to the colder regions at the left side is more aggressive and faster than the other tank without the device. In addition, it can be observed that the heat movement spirals more prominently with the presence of the device than the one without the device.

[0153] To quantify the effect of the device on the overall heating improvement, the change in temperature was recorded after 60 minutes of heating by a 3 kilowatts heating element in an open storage water tank containing 153 litres of water. FIG. 21 shows a graph based on experimental results showed the effects of magnetic interference on water temperature rise when the water is exposed to a north-polarity device and when the water is not exposed to the device respectively. The experimental results show that the overall water temperature rise for the samples exposed to the device was statistically higher than the samples which are not exposed to the device by an average of about 7.6%.

[0154] From the experimental results shown in FIGS. 20 and 21, it can be observed that by exposing water to a magnetically interfered north magnetic field, the water is able to heat up faster and the transfer of the heat to the colder regions is also faster.

[0155] FIG. 22 shows a flowchart 2200 illustrating a method of fabricating the device for treating perishable objects or liquids. At step 2202, a single piece of magnetic material is broken into a plurality of pieces. At step 2204, movement of the pieces with respect to each other is inhibited during the breaking of the magnetic material. At step 2206, a magnetic structure comprising the pieces of the magnetic material is formed.

[0156] It will be appreciated by a person skilled in the art that numerous variations and/or modifications may be made to the present invention as shown in the specific embodiments without departing from the spirit or scope of the invention as broadly described. The present embodiments are, therefore, to be considered in all respects to be illustrative and not restrictive.



MAGNETIC DEVICE AND METHOD FOR TREATING PERISHABLE ITEMS SUCH AS FOOD OR ICE
US8173189

A method and device for treating a perishable object, the method exposing the perishable object to a south magnetic field created by magnetic interference of a plurality of magnets. The device comprising a panel defining a portion of a space for containing the perishable object, the plurality of magnets housed within the panel and arranged such that the magnets extend into the space for containing the perishable object.

PRIOR APPLICATIONS

[0001] This application is a continuation-in-part of international application no. PCT/SG2006/000018, filed on Feb. 1, 2006, which in turn bases priority on Singapore application no. 200500535-0, filed on Feb. 1, 2005.

BACKGROUND OF THE INVENTION

[0002] 1. Field of the Invention

[0003] The present invention relates to a device and method for treating a perishable object.

[0004] 2. Description of the Prior Art

[0005] Conventional methods and devices to keep food and beverages fresh and natural, particularly in the raw, semi-processed and processed states, typically involve thermal treatments, mainly by refrigeration. However, such devices are usually operated by electricity, which may not be available in some circumstances. Further, keeping food in a low temperature environment, such as a refrigerator, may also result in dehydration of the food.

[0006] In the decomposition of all living cells, such as in fish and meat products, there are several chemical and biochemical processes taking place. These processes include: (1) enzymatic spoilage that is caused by the tissue enzymes of the fish or meat itself; (2) oxidative deterioration that results in foul, rancid odors and color changes; (3) spoilage due to bacterial growth from its secondary products, primarily from the enzymes that cause the decomposition of proteins. These chemical-related deterioration processes are conventionally controlled by the reduction of ambient temperature by means of refrigeration processes. However, such refrigeration devices require electrical supply, which may not be available in some circumstances.

[0007] Further, even if refrigeration devices are available, it may be desirable to help prolong and/or enhance the freshness of food and beverages stored in a refrigerator for a longer period of time and to retain moisture of the food.

SUMMARY OF THE INVENTION

[0008] An object of the present invention is to provide a method of treating a perishable object, the method exposing the perishable object to a south magnetic field created by magnetic interference of a plurality of magnets.

[0009] The plurality of magnets may be arranged in a substantially staggered arrangement, and can be permanent or electromagnets. The method could provide for shielding the north-pole side of the magnets.

[0010] The perishable object may comprise a food item, a beverage item, or both, and the exposure maintains the freshness of the food item, the beverage item, or both. The perishable object may also comprise ice used to cool another perishable object.

[0011] The exposure may control a surface temperature of the perishable object, the rate of bacterial growth, the rate of dehydration or the rate of melting of the perishable object.

[0012] The duration of said exposing step may be chosen such that the rate of bacterial growth is reduced or increased compared to a rate without said exposure.

[0013] Another object of the present invention is to provide a device for treating a perishable object, the device comprising a panel defining a portion of a space for containing the perishable object, a plurality of magnets housed within the panel and arranged such that a south magnetic field created by magnetic interference of the plurality of magnets extends into the space for containing the perishable object.

[0014] The device could be composed of a six sided container, a tray, a plate, or a five sided container.

[0015] The device comprising a shielding unit consisting of a magnetic plate disposed at a north-pole side of the magnets housed in each panel.

[0016] The device further comprising protective padding disposed around the magnets.

[0017] The magnets sealed within the panels may be permanent or electromagnets.

BRIEF DESCRIPTION OF THE DRAWINGS

[0018] Embodiments of the invention will be better understood and readily apparent to one of ordinary skill in the art from the following written description, by way of example only, and in conjunction with the drawings, in which:

[0019] FIG. 1 illustrates a schematic perspective view of a device according to a first embodiment of the present invention;

[0020] FIG. 2 illustrates a schematic view of the arrangement of magnets housed in a side panel of the device shown in FIG. 1;

[0021] FIG. 3 illustrates a schematic view of the arrangement of magnets housed in a side panel of a device according to a second embodiment of the present invention;

   
   

[0022] FIG. 4 illustrates a table showing the comparison of magnetic flux from an in-line arrangement of four magnets as compared to a staggered arrangement of the four magnets;

[0023] FIG. 5 illustrates a schematic cross-sectional view of the side panel of FIG. 2 along line A-A;

[0024] FIG. 6 illustrates a schematic view of the device according to a third embodiment of the present invention;

[0025] FIG. 7 illustrates a schematic view of the device according to a fourth embodiment of the present invention;

   

[0026] FIG. 8 illustrates a schematic view of the device according to a fifth embodiment of the present invention;

[0027] FIG. 9 illustrates a schematic view of the device according to a sixth embodiment of the present invention;

[0028] FIG. 10 illustrates a schematic view of the device according to a seventh embodiment of the present invention;

[0029] FIG. 11 illustrates a schematic view of the device according to an eighth embodiment of the present invention;

[0030] FIG. 12 illustrates a schematic view of the device according to a ninth embodiment of the present invention;

   

[0031] FIG. 13 shows a graph of bacterial growth against exposure time of food samples;

[0032] FIG. 14 shows a graph for experimental results of average internal ambient temperature differences with and without a device according to an embodiment of the present invention;

[0033] FIG. 15(a) illustrates a thermal image of a cooler box containing ice cubes and placed in a device according to an embodiment of the present invention;

[0034] FIG. 15(b) illustrates a thermal image of a cooler box containing ice cubes without a device according to an embodiment of the present invention;

[0035] FIGS. 15(c) and 15(d) illustrate thermal images of the contents of the cooler boxes shown in FIGS. 15(a) and 15(b);

[0036] FIG. 16(a) shows a graph of ice thickness against duration of ice samples;

[0037] FIGS. 16(b) and 16(c) illustrate photographic representations of the ice samples shown in FIG. 16(a);

     

[0038] FIG. 17 shows a graph of weight fluctuations from moisture loss of minced pork against exposed periods of time; and

[0039] FIG. 18 shows a table illustrating experimental results for subjecting perishable food under different environmental conditions with or without a device according to one or more of the embodiments of the present invention; and

[0040] FIG. 19 shows a graph of total bacterial count for exposed sliced raw salmon over exposed periods of time.

DETAILED DESCRIPTION OF THE PREFERRED EMBODIMENT

[0041] The described embodiments relate to a method and device to reduce the rate of chemical and biochemical activities that cause the denaturing and decomposition of perishable objects, such as food and beverages. The device and method also function to retain the moisture content in food by maintaining cell hydration, which can be particularly useful for food such as cooked rice, bread, cheese, cold-cut ham, and ice.

[0042] FIG. 1 illustrates a magnetic device in accordance with a first embodiment of the present invention. The device comprises a substantially rectangular shaped container 10 having a cavity 12 defined by six panels, namely, four side panels 14, a base panel 16 and a top panel 18. The top panel 18 acts as a cover or lid of the container 10. Each of the panels 14, 16, 18 houses a plurality of magnets 20 within the panel. The four side panels 14, the base panel 16, and the top panel 18 are configured to envelop an object (not shown), for example, perishable food. The object is placed in the cavity 12 of the container 10 such that the object is surrounded by the panels 14, 16, 18 in all three linear axes, namely the x, y, and z-axes.

[0043] Each of the plurality of magnets 20 are housed within the panels 14, 16, 18 with their respective south-pole side (refer to FIG. 4) facing towards the object placed in the cavity 12 of the container 10, such that a magnetic south field is directed upon the object. Further, since the object is surrounded by the panels 14, 16, 18, this ensures that the targeted object is only exposed to the magnetic south field in all three axes.

[0044] There are two polarities and directions in a magnetic field. One direction is from the north magnetic pole and the other direction is from the south magnetic pole. Based on scientific convention, the compass "north" needle points in the direction of the magnetic flux, that is, in an outward direction from a magnet's north pole end, and inward at the magnet's south pole end.

[0045] The magnets 20 are permanent magnets in the referenced embodiment. It should be appreciated that the material, size and shape of the permanent magnets 20 may vary, depending on design and application. Further, the number of magnets 20 used may vary depending on e.g. the shape and size of the container 10, for example. The magnets 20 may also be in the form of electromagnets instead of permanent magnets.

[0046] FIG. 2 illustrates a schematic view showing the arrangement of the plurality of magnets 20 housed in one of the four side panels 14 of the container 10 shown in FIG. 1. The magnets 20 are arranged such that nearest neighboring circles 17 of magnets 20 are substantially in a staggered arrangement with substantially uniform spacing between the magnets 20 within the side panel 14 to produce magnetic interference 15, which in turn enhances magnetic field strength. Magnetic interference significantly increases the total propagated magnetic field (in this case the south magnetic field). Since magnetic interference increases the strength of the magnetic field, the size of the magnets and/or the number of magnets required to achieve a desired magnetic field strength is reduced. This in turn reduces the total weight and the cost of the device. The magnets 20 in the base panel 16 and top panel 18 (shown in FIG. 1) are arranged in a similar staggered arrangement as described above.

[0047] FIG. 3 illustrates a schematic view of the arrangement of a plurality of magnets 23 housed in the panel 25 of the device according to a second embodiment. In this embodiment, the magnets 23 are arranged in a substantially staggered arrangement having a circular configuration 27 with a magnet 23 in the center of each of the circles 27 of magnets 23 to produce magnetic interference 29, thereby enhancing the magnetic field strength.

[0048] FIG. 4 illustrates a table showing the comparison of magnetic flux from an in-line arrangement 34 of four magnets 30 and a substantially staggered arrangement 36 of the four magnets 30. Schematic plan views of the positions of the magnets 30 in the in-line arrangement 34 and the substantially staggered arrangement 36 are shown in the first and second rows of the table, respectively. The positions of the magnets 30 are represented by dots "-" and the center of the arrangement of the magnets 30 are represented by a cross "X". The magnetic flux is measured from the center of each arrangement 34, 36, about 60 mm away from a magnetic plane 38. The magnetic flux at the center of the staggered arrangement 36 (magnetic flux of 1700+-8 G) is greater compared to the magnetic flux at the center of the in-line arrangement 34 (magnetic flux of 1300+-10 G). This shows an enhancement of the magnetic field strength and propagation of the magnetic field of the staggered arrangement 36 over the in-line arrangement 34.

[0049] FIG. 5 is a cross-sectional view of the side panel 14 of FIG. 2 along line A-A. The side panel 14 comprises a casing 24. The magnets 20 are housed within the casing 24. Protective padding 26 is disposed on a south-pole side 20a and a north-pole side 20b of the magnets 20. The protective padding 26 acts as a spacer, heat insulator and shock absorber for the magnets 20. The north-pole side 20b of the magnets 20 is shielded by a magnetic shielding device 28 in the form of, for example, a shield plate. The shield plate 28 is disposed between the protective padding 26 on the north-pole side 20b of the magnets 20 and the casing 24. The protective padding 26 may be made of materials such as neoprene based foam tape, which is structurally stable and offers good moisture and fungus resistance properties. The thickness of the protective padding 26 depends on the magnetic field strength of the magnets 20 used. The protective padding 26 also serves to provide the necessary spacing between the magnets 20 and an outer surface of the casing 24, such that the magnetic field strength on the outer surface of the casing 24 is not too large to attract any ferromagnetic objects.

[0050] The shield plate 28, the protective padding 26 and the magnets 20 are sealed within the casing 24. This is to ensure that the magnets 20, the protective padding 26 and the shield plate 28 are insulated. The top and base panels, 16, 18 of the container 10 (see FIG. 1) are configured in a similar manner as described above.

[0051] The shield plate 28 may be made of any ferromagnetic material, such as low cost tin sheets, which comprise iron (Fe) mixed with tin (Sn). The composition and thickness of the shield plate 28 may vary, but the magnetic saturation value of the material used for the shield plate 28 should be higher than the external magnetizing field strength, which depends on the type and size of the permanent magnets 20 used.

[0052] The material used for the casing 24 may be any non-magnetic material, especially for the portion of the casing, for example, polyethylene and polypropylene, which are chemically and structurally stable and also food safe. The materials are durable against wear, high temperatures and washing by detergents. The thickness of the material used for the casing 24 may be sufficient to prevent deformation from rough handling and protect the magnets 20 from damage.

[0053] In the embodiment of FIG. 1, the device 10 is in the form of a closed rectangular container, with six panels 14, 16, 18. However, the device may be designed in various other forms.

[0054] For example, a third embodiment illustrated in FIG. 6, shows the device 50 is in the form of a plate. A plurality of magnets 52 is disposed in a staggered arrangement in a base panel 54 of the plate 50. The plate 50 may be used in buffets and catering applications to display ready-to-eat food and at the same time maintain the freshness of the food.

[0055] FIG. 7 illustrates a fourth embodiment showing another staggered arrangement of the plurality of magnets 53 in the base panel 55 of the device 51 in the form of a plate. In this embodiment, the magnets 53 are arranged in a circular configuration having a magnet 53 in the center of the circular configuration to produce magnetic interference.

[0056] FIG. 8 illustrates a fifth embodiment whereby the device 60 may be in the form of an open container comprising five panels 62. Similarly, each of the panels 62 houses a plurality of magnets 64 disposed in a staggered arrangement. A cooler box 66 may be placed in the container 60 for use outdoors, such as for picnics and fishing, to keep food chilled.

[0057] FIG. 9 illustrates a sixth embodiment of another staggered arrangement of a plurality of magnets 63 within each panel 65 of the open container 61. In this embodiment, the magnets 63 are arranged in a circular configuration having a magnet 63 in the center of the circular configuration to produce magnetic interference.

[0058] In a seventh embodiment, as shown in FIG. 10, the device 70 may be in the form of a tray. Each of the panels 72 forming the sides and the base of the tray 70 houses a plurality of magnets 74, as described earlier. The tray 70 may be used to contain ready-to-eat food, such as bread and cooked food.

[0059] FIG. 11 illustrates an eighth embodiment of a staggered arrangement of a plurality of magnets 73 within a panel 75 forming the base of the tray 71. In this embodiment, the magnets 73 are housed within the panel 75 forming the base of the tray 71, and are arranged in a circular configuration having a magnet 73 in the center of the circular configuration to produce magnetic interference.

[0060] In a ninth embodiment as shown in FIG. 12, the device 80 may be in the form of a block comprising six panels 82. A plurality of magnets 84 disposed in a staggered arrangement are housed within the panels 82. The plurality of magnets 84 are arranged at various respective tilt angles to project a substantially three-dimensional magnetic field into space(s) adjacent one or more of the panels 82. The device 80 may be placed in, for example, a refrigerator or in an open environment such that the projected magnetic field extends into the space(s) adjacent one or more of the panels 82 containing the perishable objects to maintain the freshness of the perishable objects.

[0061] FIG. 13 illustrates a graph, based on experimental results, showing bacterial growth against exposure period of food samples exposed to the north magnetic field, the south magnetic field, and without any magnetic field. Comparing the curves of the south magnetic field growth curve and the north magnetic field growth curve, during early stages of exposure, for example, within 1-3 days for seafood in seafood in (about 0[deg.] C.4[deg.] C.) chiller environment, the rate of bacterial growth is higher for food samples exposed to the north magnetic field compared to samples exposed to the south magnetic field. Also, this difference in the rate of bacterial growth is found to be greater when magnetic interference is applied. By using magnetic interference from the south magnetic field, it was found that there is a significant reduction in biochemical and chemical reactions during the early stages of exposure, which causes a delay in the food denaturing process. As a result of the reduced biochemical and chemical reactions, the overall quality of foods exposed to the interfered south magnetic field can be maintained longer than foods that are not exposed to any magnetic field or foods exposed to the north magnetic field.

[0062] The duration of early stages of exposure depends on the condition and type of food and beverages, and storage conditions such as ambient temperature. For example, the early stages for a processed fish stored in chiller conditions (about 0[deg.] C.4[deg.] C.) may be 1 to 3 days, whereas at room temperature conditions (about 20[deg.] C.25[deg.] C.) may be 2 to 4 hours.

[0063] In addition, it was found that in example embodiments the mechanism of maintaining the freshness in food and beverages is due to the reduction of energy state in electrons in atoms and molecules. By using the magnetic south field, the energy state of the electrons is reduced. This, in turn, reduces the vibration energy of the electrons, and hence, creates an energy barrier that prevents electron transfer which is required for any biochemical or chemical reactions to occur. Thus, the rate of chemical and biochemical deterioration activities that cause the decomposition of food and beverages can be slowed down or reduced, thereby maintaining the freshness of the food and beverages.

[0064] Experiments were conducted to monitor the temperature differences of various objects, such as melting ice cubes and deteriorating beverages and foods. Differences in the temperature of an object that is exposed to the South magnetic field and the temperature of the object without exposure to a magnetic field were observed. The difference in temperature indicates the relative energy state of the object, for example, and influences the rate of ice melting (from solid to liquid state) and changes in chemical and biochemical reactions for deteriorating food.

[0065] The table illustrated in FIG. 13, shows experimental results of average internal ambient temperature differences with and without a device. The cooler boxes that are placed in the device are exposed to a south magnetic field, while the cooler boxes without the device are not subjected to any magnetic field. In this experiment, the device used is a five-panel container substantially similar to the device 60 shown in FIG. 8. In Experiment 1, 1 kg of ice cubes is placed in the cooler boxes. In Experiment 2, 1 kg of ice cubes and 1 kg of fishes (comprising 10 whole fishes of approximately 100 g each) are placed in the cooler boxes. The experimental results shown in FIG. 14 illustrate one of the observable temperature effects when objects are continuously undergoing physical and chemical changes. For example, the ice cubes kept in the 25 liter cooler box that gradually melts over a time period of 24 hours, and similar ice cubes with an additional load of whole fishes that are gradually melting and deteriorating with time, respectively. In both Experiment 1 and Experiment 2, the difference in the average internal ambient temperatures between the cooler boxes placed in the device and the cooler boxes without the device are negative (i.e. the internal ambient temperature of the cooler boxes placed in the device is lower). The standard deviation for both Experiment 1 and Experiment 2 is about 0.15.

[0066] The results observed in the table of FIG. 14 demonstrate that the south magnetic field is able to reduce the total energy state in the melting ice, such that gaining of heat from the environment by the ice to cause the melting process is slowed. With the additional load into the cooler box (for this case, the whole fishes), the effect on the melting ice and deteriorating fish gave rise to higher internal ambient temperature differences (i.e. -1.24[deg.] C. compared to -0.66[deg.] C.). The lower temperatures observed in the cooler boxes that were exposed to the south magnetic field demonstrate the effect on the reduction of the rate of heat transfer and absorption in melting ice, and also the ability to lower the chemical and biochemical reactions that generate additional heat during the fish decomposition process.

[0067] FIGS. 15(a) and 15(b) are thermal images of a cooler box 100 containing ice cubes that are placed in a device according to the embodiments of the present invention (i.e. exposed to magnetic south field), and a cooler box 102 containing ice cubes without the device (i.e. not exposed to any magnetic field), respectively. The device used is a five-panel open container substantially similar to that described earlier in FIG. 8. A thermal image analysis provides further evidence to the above explanation on the reduction of energy state. Regions of darker shades in the thermal images represent areas of lower temperatures. The cooler box 100 that is exposed to a south magnetic field has more distinct darker regions compared to the cooler box 102 that was not exposed to any magnetic field.

[0068] FIGS. 15(c) and 15(d) are thermal images of the contents of the cooler boxes 100, 102 described above, respectively. The thermal images were obtained after 10 hours of storage in a room environment (28[deg.] C.31[deg.] C.). The remaining ice cubes (represented by the darker shaded regions) in the cooler boxes 100, 102 show that more ice cubes remained in solid form when the ice cubes are exposed to the South magnetic field (FIG. 15(c)) compared to the ice cubes that were not exposed to any magnetic field (FIG. 15(d)).

[0069] FIG. 16(a) illustrates a graph, based on experimental results, showing ice thickness against duration of an ice sample exposed to a device according to an embodiment of the present invention (i.e. exposed to a south magnetic field) and another ice sample not exposed to the device (i.e. not exposed to any magnetic field). In this experiment, the rate of ice melting is determined by the decrease in thickness of the ice samples over time. Crushed ice samples are compacted to 65 mm thick ice beds and placed on perforated plastic trays. The device is placed at the bottom of one of the trays. The ice sample on the tray with the device is exposed to the south magnetic field, while the ice sample on the tray without the device is not exposed to