rexresearch
Patrick
PEEBLES
FanWing
Could
FanWing go from LSA to heavy lifter?
By
Robert Coppinger
FanWing image by Adrian Mann, ©
FanWing Ltd 2011
Very little of Patrick Peebles’ invention could be called
conventional. The FanWing looks like someone has put the
blades of a combine harvester behind a helicopter cockpit and
forgotten about the rest of the fuselage. That combine
harvester, the FanWing propulsion system, is a fan in a wing,
making it a thick wing that provides lift and thrust.
It has a fixed wing but can autorotate like a helicopter. It
has two engines, but they are at either end of the wing. It
has two booms instead of one. Its inventor is American, but
this invention has been developed in England and Italy. Its
lift efficiency is so good that university studies in the
United Kingdom have concluded 100 horsepower could lift 5,732
pounds.
This has been proven through wind-tunnel testing at Imperial
College London, work carried out at Kingston University
London, and scale-model flight tests funded by the development
agency of London, England, and the U.K. government’s
equivalent of the U.S. federal department of commerce. The
aircraft’s efficiency is achieved because the air is
accelerated twice: First the rotor accelerates it as the
blades rise from the front bottom to the top and then again as
the rotor moves back toward the wing’s trailing edge.
The FanWing has two engines for redundancy. One engine can
keep the aircraft in the air and give it the power to climb.
But if the worst happens pilots can autorotate down with a
glide ratio of about 3:1. Peebles likes to say the FanWing is
similar to a helicopter but with a much simpler drive train.
The high lift efficiency, according to Peebles, gives it good
stall resistance, stability in turbulence, short takeoff and
landing capability, and good fuel economy. The wing’s
twin-tail outboard stabiliser configuration avoids a strong
downwash behind the wing and recovers energy from the wingtip
vortex upwash. This is not just theory: Since June a 5.57-foot
wingspan remote-controlled prototype with a takeoff distance
of 12 feet and takeoff weight of 20.9 pounds has been flying
at up to 40.5 knots for 10 minutes or more to a few hundred
feet altitude. Based on this prototype’s performance Peebles
predicts a full-sized 22,000-pound FanWing aircraft would have
a cruise speed of around 100 knots.
FanWing in flight - image
copyright FanWing Ltd 2011A scale-model remote-control
FanWing has been flying in Italy. © FanWing Ltd. 2011
Peebles doesn’t have the funds to develop such a large
aircraft that could be an airliner or cargo carrier; instead
he is aiming at a two-seat light sport class technology
demonstrator that he wants to fly publicly for the first time
at the Experimental Aircraft Association’s (EAA) AirVenture in
Oshkosh, Wis., in 2013.
Alameda, Calif.-based marine and aerospace components
manufacturer Photon Composites Inc. will build the FanWing
technology prototype. Photon’s owner, British-born engineer
Richard Jenkins, has supported new transport technologies
before. He was a director of the British environmental
transportation project Greenbird, a wind-powered vehicle that
achieved 126.2 mph on Ivanpah Dry Lake in California in March
2009.
The total length of the prototype demonstrator, including the
wing’s tails, will be 22.9 feet, and its total width with its
outboard stabilisers will be 45.9 feet, including 32.8 feet of
wingspan. Preliminary studies indicate that the two-seater
will have an empty weight of 661.3 pounds and two 50-hp
two-cycle engines driving either side of the FanWing rotor.
The cruise speed is expected to be about 60 knots, with a top
speed of 80 knots. The rotor speed will be 1,500 rpm, and
flight control will come from the rotor rpm and the tail
surfaces. Its takeoff distance is expected to be 49.2 feet.
Still looking for investors so he can build the demonstrator
and then get the necessary FAA and EAA approvals for the 2013
flight, Peebles expects to display a static model of the
technology demonstrator at next year’s Oshkosh show.
He said the light sport aircraft “is a major new phase for the
company. This interim technology demonstrator will on one side
take us forward on the [research and development] R&D and
on the other side offers a neat little STOL [short takeoff and
landing] light aircraft.”
International interest in the FanWing has seen the
Aerodynamics Research Institute of Chinese aircraft maker
AviChina investigate the concept and publish a technical paper
on it. To protect the intellectual property Peebles now has
patents in 10 countries including the United States, China,
Australia, and various European countries.
Over the last 10 years of development Peebles has counted
about 100 investors as his FanWing supporters, and he is in
talks with potential new partners. The twin-tail outboard
stabilisers, Peebles believes, have made the FanWing more
commercially attractive because the new configuration has
increased the forward speed to the equivalent of a civilian
helicopter. Previous studies of other FanWing configurations
had predicted a slow cruise speed.
FanWing - Image copyright FanWing Ltd 2011The FanWing looks
like someone has put the blades of a combine harvester behind
a helicopter cockpit and forgotten about the rest of the
fuselage. Image by Adrian Mann, © FanWing Ltd. 2011
“George Seyfang originally suggested the twin tail, then got
involved in the tests and has basically turned things round
for us,” said Peebles. Seyfang, a retired BAE Systems
principal future concept engineer, joined the FanWing team two
years ago. Seyfang spent his career working on aerodynamics at
BAE’s Warton Aerodrome site in northern England. BAE is the
U.K. aerospace manufacturer whose antecedent companies built
the Supermarine Spitfire, Hawker Siddeley Harrier GR7
“jump-jet” and the British Aircraft Corp. Concorde. All of
these aircraft are classic designs, and if Peebles and Seyfang
can succeed, the FanWing may join them in the aviation hall of
fame.
Robert Coppinger is an aviation journalist based in London,
England.

FanWing
FanWing or fan wing is a concept for a type of aircraft. It is
distinct from existing types of aircraft like airplanes and
helicopters in using a fixed wing with a forced airflow
produced by cylindrical fan(s) mounted at the leading edge of
the wing.
Its makers claim it is the first horizontal-rotored integral
lift and propulsion wing in history to sustain flight.
FanWing is also the name of the company created to develop the
concept.
The fan-wing is a radical solution for the problem of how to
get the maximal airflow through both the propulsion and
lifting surfaces. A cylindrical radial turbine (resembling a
cylinder mower) is embedded in the wing with its axis parallel
to the wing and leaving about 2/3 of the diameter exposed
above the top side of the wing's length just after the leading
edge. This increases the velocity of the airflow across the
wing's upper surface beyond that of the forward motion of the
aircraft. Consequently the wing has lift at slow speeds where
a normal wing would stall.
Practical trials with various remote-controlled models have
proven that the concept provides a vehicle capable of
controlled flight. There are however some significant
differences compared to normal fixed-wing flying:
* The throttle directly affects the pitch which means
increased throttle can slow the plane down much in the same
manner a helicopter flares, and if carelessly applied can
force a complete mid-air stop.
* Glide-ratio in case of power-failure is rather low (about
1:3) but if the power-line is disengaged, the fan-wing is
fully capable of doing an auto-rotational landing.
FanWing, the developing company, also have high hopes of the
configuration being more silent, having V/STOL capabilities,
stability in cross-winds combined with low to zero risk of
stalls and a very low build/maintenance costs. These claims
have yet to be verified with full-sized fan-wings though.
History
Patrick Peebles developed the FanWing concept in 1997. He
formed the FanWing Company and applied for patents on his idea
in several countries where aircraft are manufactured. In July
2005 the company advertised that the first FanWing aircraft
was in development in the United Kingdom. They advertised that
the concept has undergone wind tunnel tests and powered model
flights, and that the UK government was contributing to its
further development.
Prototype
In May 2007 the developers announced that a version built for
low speed STOL urban surveillance as a drone was at the
prototype stage and claimed the following performance. [1]
* Airborne after a ground roll of just 1 m (3 ft).
* Wing-span 2.4 m (7.8 ft) UAV,
* Made from composite materials,
* Dry weight of 5.5 kg (12.1 lb),
* Maximum take-off weight 12 kg,
* Payload capability 2 kg,
* Powered by a 1.2 kW electric motor,
* Flight speed 15.5kt (29 km/h),
* Endurance, (development goal) 80min.
Notes
1. ^ FanWing UAV gets airborne after ground roll of only 1m
Rob Coppinger, Flight International 01/05/07, Accessed August
2007.
References
* "More-powerful Fanwing set to fly" Flight International
Magazine, November 2004
* "2004 Year In Ideas: The FanWing" The New York Times
Magazine, 12 December 2004
* "A Leonardo da Vinci for the twenty-first century" The
Independent, 6 September 2004
* "It looks like a lawnmower, was designed in a kitchen - but
it could revolutionise aviation" The Independent, 11 November
2002
* Slashdot: Fanwing Planes?
US2011101173
Aircraft with Aerodynamic Lift
Generating Device
EC: B64C23/02 // B64C39/00C1
IPC: B64C23/02 // B64C23/06 // B64C29/00
2011-05-05
Abstract -- An aircraft
(1) comprising: a fuselage (2), opposing wings (3, 4) either
side of the fuselage (2), each wing (3, 4) supports at least
one tangential flow rotor (5) and has a rotational axis. At
least one tail section (3A) is disposed on each wing (3, 4)
for forming a wing trailing edge. The tail sections (3A) are
moveable about the, or each, rotor axis (X) relative to the
fuselage (2) so as to provide, in use of said aircraft (1),
variable thrust forces, whereby in use, movement of the or
each tail section (3A) controls the flight of the aircraft
(1). Lift is generated by way of a shroud (12) which forms an
extension to the tail section (3A) curved surface or cowl to
jointly cover a proportion of the circumference of the rotor.
Ideally the shroud (12) and tail section curved surfaces
create a vortex chamber generally within the rotor. An
alternative embodiment includes a vertical axis fan (6) is
provided on the fuselage (2) to adjust aircraft "pitch".
BACKGROUND
[0001] The present invention relates to an aircraft with an
aerodynamic lift generating device.
PRIOR ART
[0002] It is known to use lift generating devices for powering
aircraft. Such devices are disclosed in my prior Patents
EP-B-0 918 686 and U.S. Pat. No. 6,527,229, the contents of
which are incorporated herein by reference. Such lift
generating devices provide an alternative means of propulsion
to conventional propellers and the like, and lead to improved
efficiencies.
[0003] European Patent EP-B-0 918 686 describes a lifting
member that may be employed in either a liquid (hydrofoil) or
gas (aerofoil). A wing like member is disclosed in which a
spanwise extending rotor is housed. The rotor is positioned
adjacent the leading edge and defines a fluid intake region.
As the rotor rotates about a drive axis, fluid is drawn in and
forced across the hydrofoil or aerofoil so as to create lift.
[0004] The present invention seeks to provide an aircraft with
an improved lift generating device in which the thrust
direction can be altered. Therefore the invention finds
particular application in aircraft referred to as vertical
take-off and landing (VTOL) or aircraft referred to as short
take-off and landing (STOL) as the improvement provides both
vertical thrust for vertical take off and forward thrust for
propulsion.
SUMMARY OF THE INVENTION
[0005] According to the present invention there is provided an
aircraft comprising: a fuselage, opposing wings either side of
the fuselage, each wing supporting at least one tangential
flow rotor having a rotational axis, and at least one tail
section for each wing forming a wing trailing edge, said tail
section being moveable about the or each rotor axis relative
to the fuselage so as to provide, in use of said aircraft,
variable thrust vectors, whereby in use, movement of the or
each tail section is used to control flight of the aircraft.
[0006] Preferably movement of the or each tail section is
vectored by rotating the wing casing whereby the lift
component increases while the thrust is reduced. This allows
the aircraft forward flight as well as vertical take off and
facilitates vertical landing.
[0007] Preferably the or each tail section includes a curved
surface which covers a proportion of the circumference of the
rotor. The curved surface or cowl may have a radius of
curvature substantially equal to the radius of curvature of
the rotor. The curved surface of the tail section may be
offset relative to the curved circumference of the rotor.
[0008] Preferably the or each tail section includes a shroud
extending therefrom, said shroud including a curved surface or
cowl which covers a proportion of the circumference of the
rotor.
[0009] Advantageously the shroud forms an extension to the
tail section curved surface to jointly cover a proportion of
the circumference of the rotor. Preferably the shroud and tail
section curved surfaces create a vortex chamber generally
within the rotor.
[0010] In one preferred embodiment the shroud is fixed to the
tail section. Preferably the tail section and shroud are
moveable about the or each rotor axis relative to the
fuselage.
[0011] In another particularly preferred embodiment the shroud
is connected to a fixed point of a wing, and is adapted to
slide over a portion of the tail section whereby the
proportion of the circumference of the rotor covered by the
shroud curved surface or cowl and tail section curved surface
or cowl varies as said tail section moves about the, or each,
rotor axis.
[0012] The radius of curvature of the shroud curved surface or
cowl changes as said tail section moves about the or each
rotor axis. The radius of curvature of the shroud curved
surface or cowl may be non-uniform along its length.
[0013] Preferably a wing leading edge is provided for each
wing in the form of an air input duct to allow passage of air
to said rotor. Preferably the duct is variable in size to
control the amount of air passing therethrough whereby to
control "roll" of the aircraft.
[0014] Preferably a vertical axis fan is provided at or near
the rear of the fuselage to control the aircraft "pitch".
[0015] An embodiment of the invention will now be described
with reference to the drawings in which:
BRIEF DESCRIPTION OF THE FIGURES
[0016] FIG. 1 shows a schematic
perspective view of an aircraft in accordance with one
aspect of the invention;

[0017] FIGS. 2A to 2C shows a
schematic cross section view of a first embodiment of tail
section and shroud; and
[0018] FIGS. 3A to 3C shows a
schematic cross section view of a second embodiment of tail
section and shroud, along with an input duct.

DETAILED DESCRIPTION OF PREFERRED
EMBODIMENTS OF THE INVENTION
[0019] Referring to FIG. 1 there is shown an aircraft 1.
Aircraft 1 has a fuselage 2, and opposing wings or aerofoils
3, 4 either side of the fuselage 2. Each wing 3, 4 supports a
tangential flow rotor 5 having a rotational axis "X". The
tangential flow rotor is housed within a rotor cavity.
[0020] Wing 3 has a tail section 3A forming a wing trailing
edge. Tail section 3A is moveable about the rotor axis "X"
relative to the fuselage 2. Similarly wing 4 has a tail
section 4A forming a wing trailing edge. Tail sections 3A, 4A
are moveable about the rotor axis "X" relative to the fuselage
1, thereby providing, in use of the aircraft, variable thrust
vectors to create aircraft lift and forward movement as more
fully described below.
[0021] In use of aircraft 1, movement of each tail section is
used, inter alia, to control flight of the vehicle, especially
to allow the aircraft forward flight as well as vertical take
off.
[0022] Movement of the tail section in addition to providing
lift can be used to control "roll" of the aircraft.
[0023] A vertical axis fan 6 is provided on the fuselage 2 to
adjust aircraft "pitch". Rear tail wings 8A, 8B and rudder 9
may also be provided. In this sense it is appreciated that in
a second aspect of the invention there is provided an aircraft
comprising: a fuselage, opposing wings either side of the
fuselage, each wing supporting at least one tangential flow
rotor having a rotational axis, and at least one tail section
for each wing forming a wing trailing edge, said tail section
being moveable about the or each rotor axis relative to the
fuselage so as to provide, in use of said aircraft, variable
thrust vectors, whereby in use, movement of the or each tail
section being used controls flight of the aircraft and a
vertical axis fan located in the tail section and adapted to
provide pitch control.
[0024] A motor or engine 7 is provided to rotate each flow
rotor 5. Alternatively a magnetic field may be established so
that on passing an electric current through the rotor, the
rotor rotates. Alternatively an electric or magnetic field can
be established by inductive coupling. Other drive systems
include a turbo prop engine, jet engine or conventional piston
driven engine.
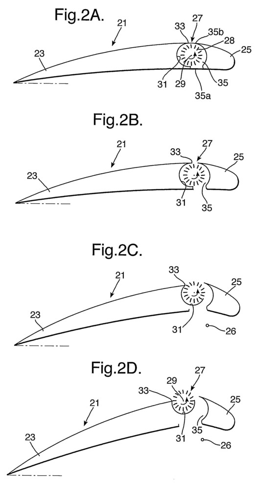
[0025] Referring now to FIGS. 2A to 2C there is shown a cross
section view of various positions of the tail section of a
first embodiment. In FIGS. 2A to 2C, a tail section 10 (which
may be used as the tail section 3A or 4A in FIG. 1) includes a
curved surface or cowl 11 which covers a proportion of the
circumference of a clockwise-rotating tangential flow rotor 5
which creates airflow over the top of the tail section 10 to
deliver flight thrust in the opposite direction. The curved
surface or cowl may have a radius of curvature substantially
equal to the radius of curvature of the rotor 5.
[0026] Tail section 10 includes a shroud 12 extending
therefrom. Shroud 12 includes a curved surface or cowl which
covers a proportion of the circumference of the rotor. The
shroud 12 is fixed to and forms an extension to the tail
section curved surface or cowl 11 to jointly cover a
proportion of the circumference of the rotor and again has a
radius of curvature substantially equal to the radius of
curvature of the rotor. The shroud 12 and tail section curved
surface or cowl 11 create a vortex chamber generally within
the rotor. The curve of the shroud 12 and surface 11 could be
offset relative to the curved circumference of the rotor (as
shown with reference to FIGS. 3A-A-3C-A below). The tail
section 10 and shroud 11 are moveable about the rotor axis "X"
relative to the fuselage such as shown in FIGS. 2A to 2C
whereby to provide, in use of the aircraft, variable thrust
vectors.
[0027] The position shown in FIG. 2A would provided forward
thrust with some lift to the aircraft (e.g. during normal
flight), the position shown in FIG. 2B would provide forward
thrust and lift to the aircraft (e.g. for slower flight), and
the position shown in FIG. 2C provides vertical lift to the
aircraft.
[0028] Referring now to FIGS. 3A to 3C there is shown a cross
section view of various positions of the tail section of a
second embodiment. In FIGS. 3A to 3C, a tail section 20 (which
may be used as the tail section 3A or 4A in FIG. 1) includes a
curved surface 21 which covers a proportion of the
circumference of a tangential flow rotor 5. The curved surface
21 may have a radius of curvature substantially equal to the
radius of curvature of the rotor 5. The curved surface 21 of
the tail section 20 may be offset relative to the curved
circumference of the rotor as shown in FIGS. 3A-A, 3B-A and
3C-A.
[0029] As the wing 20, 21 is rotated downwards, the shroud
reduces the angle of coverage of the rotor, this firstly
increases the velocity of the vortex and secondly the air
output angle is altered. As a result the fan efficiency is
increased thus making the fan more suitable for hovering or
vertical take off.
[0030] Tail section 20 includes a shroud 22 extending
therefrom. Shroud 22 includes a curved surface which covers a
proportion of the circumference of the rotor. The shroud 22
has one end fixed to a lower air input duct member 23 on the
wing and the other end overlaps the tail section 20 and slides
over it. Thus the proportion of the circumference of the rotor
covered by the shroud 22 curved surface and tail section
curved surface 21 varies as the tail section 20 moves about
the rotor axis "X" as shown in FIGS. 3A to 3C. As shown also
in FIGS. 3A-A, 3B-A and 3C-A, the radius of curvature of the
shroud 22 curved surface changes as the tail section 20 moves
about the or each rotor axis, and the radius of curvature of
the shroud curved surface is non-uniform along its length.
[0031] The shroud 22 and tail section curved surface 21 create
a vortex chamber generally within the rotor having a vortex
boundary defined by the combined length of the shroud 22 and
tail section curved surface 21. The shape of the vortex may
also change by changes in shape of the gap between the shroud
22 and curved surface 21 and the circumference of the rotor.
The tail section 20 and shroud 22 when moved about the rotor
axis "X" relative to the fuselage such as shown in FIGS. 3A to
3C provide, in use of the aircraft, variable thrust vectors.
[0032] Lower air input duct member 23, in combination with an
upper air input duct member 24 create a wing leading edge in
the form of an air input duct "A" to allow passage of air to
said rotor. The upper and lower air input duct members may be
moved towards or away from each other so that the input duct
"A" is variable in size to control the amount of air passing
therethrough, whereby to control "roll" of the aircraft.
[0033] The position shown in FIG. 3A would provided forward
thrust with some lift to the aircraft (e.g. during normal
flight). In this position air enters the wing through the
input duct "A" flowing between the members 23, 24 to be
accelerated by rotor 5 rotating clockwise over the vortex in
the rotor. The air is ejected over the tail section 20. The
angle formed between the opposing ends of the shroud 22 and
axis "X" and curved section 21 and axis "X" may be about
160[deg.]. In this FIG. 3A the radius of curvature of the
shroud 22 and curved section is similar to that of the
circumference of the rotor although it is moved away from the
motor radially by 10 to 20% of the radius.
[0034] The position shown in FIG. 3B would provide forward
thrust and lift to the aircraft (e.g. for slower flight). In
this position air enters the wing through the input duct "A"
flowing between the members 23,24 to be accelerated by rotor 5
rotating clockwise over the vortex in the rotor. The air is
ejected over the tail section 20. The angle formed between the
opposing ends of the shroud 22 and axis "X" and curved section
21 and axis "X" may be about 130[deg.]. The combined length of
the shroud 22 and tail section curved surface 21 is shorter
than in FIG. 3A, and the radius of curvature of the shroud 22
changes.
[0035] The position shown in FIG. 3C would provide vertical
lift to the aircraft. In this position air enters the wing
through the input duct "A" flowing between the members 23,24
to be accelerated by rotor 5 rotating clockwise over the
vortex in the rotor. The air is ejected over the tail section
20. The angle formed between the opposing ends of the shroud
22 and axis "X" and curved section 21 and axis "X" may be
about 80[deg.]-90[deg.], e.g. 85[deg.]. The combined length of
the shroud 22 and tail section curved surface 21 is shorter
than in FIG. 3B and the radius of curvature increases still
further.
[0036] The invention may take a form different to that
specifically described above. For example each wing could
support two or more rotors, e.g. axially aligned in side by
side relationship. Also each wing could support two or more
tail sections. Also the shroud of FIGS. 3A to 3C could slide
over the curved section 21 of tail section 20 rather than the
face of tail section 20 shown.
[0037] Similarly it is appreciated that differential drive of
the rotors with respect to one another permits the aircraft to
bank to permit turning.
[0038] Preferred embodiments of the invention have been
described and it will be understood that features from one or
more of the aforementioned embodiments may be incorporated
into a different aircraft. For example a glider or hydrofoil.
[0039] It is understood that although reference has been made
to an aircraft per se, it will be understood that the aircraft
may be an unmanned vehicle such as a Drone or unmanned aerial
vehicle (UAV).
[0040] Various embodiments of the invention have been
described, by way of example only and it will be appreciated
that variation may be made to the examples described without
departing from the scope of the invention.
WO2005023645
LIFT AUGMENTATION DEVICE
AND METHOD
2005-03-17
Abstract -- A wing (1)
including a lift augmentation device, comprising a main wing
body (3) and a displaceable auxiliary body (5) defining a lift
augmenting configuration and a non-augmenting configuration
and moveable to intermediate configurations therebetween. A
vortex is generated extending spanwise of the wing at the
junction between the main wing body and the auxiliary
lift-augmenting body, the arrangement being such that the
generated vortex rotates in a direction which causes the
airflow in the vortex to be co-current with the airflow
passing over the wing body at a relatively lower pressure side
of the wing body and the flow of the vortex air to be counter
current with the over the wing body in the relatively higher
pressure region around the wing body.
The present invention relates to a lift augmentation device,
and in particular provides a novel form of wing flap for lift
augmentation during take-off, or landing approach, or landing,
or indeed in any other low velocity regions of the flight
envelope.
It is known to provide an aerofoil wing with lift-augmenting
flaps which may be positioned at the wing leading edge or at
the wing trailing edge. Traditionally such flaps rely on
increasing the wing area by extending the flap forwardly from
the leading edge or rearwardly from the trailing edge, and
amplifying the effective camber (curvature) of the wing
cross-section by giving a leading edge flap a more negative
angle of incidence than the main wing body or giving a
trailing edge flap a more positive angle of incidence than the
rest of the wing body.
It is also known, from W098/07622, to provide a
lift-generating member in the shape of a wing but having a
recess extending span-wise of the wing leading edge and
opening into the upper surface of the wing body, there being a
cross-flow fan rotor positioned in said recess, and extending
spanwise of the wing body. This rotor is driven for rotation
in a direction which causes the path of the fan rotor blades
to move rearwardly in the region of their path where they are
exposed to the airflow over the top of the wing body. It has
been found that the vortex generated using such a leading edge
rotor can be controlled in order to vary the lift generated by
such a wing-like member and GB-A-2346348 discloses the use of
a vane to control the vortex for varying the lift generated
with such a lift-generating member, for example for
controlling roll in the case of an aircraft having such a
lift-generating member for each of its main planes.
US-A-3289979 discloses a high lift aeroplane wing which uses
trailing edge flaps deflectable in the normal manner in order
to increase camber of the wing section for increasing the lift
co-efficient. In order to improve the airflow over the
junction of the main wing and the flap, where problems
normally arise from the discontinuity of the boundary layer
airflow, an auto-rotating rotor is positioned on or near the
pivot axis of the flap to be rotated by the airflow over the
wing and flap surfaces. US-A-3289979 also acknowledges that
prior to that rotating cylindrical structures driven by power
sources in the aircraft had been provided in order to minimise
the discontinuity over the junction between the wing and the
flap.
US-A-4293110 discloses a swept wing having leading edge
double-flaps comprising a main (aft-flap) body deflected
downwardly for increasing the lift co- efficient, but provided
with a smaller leading edge (fore-flap) portion which deflects
upwardly relative to the aft-flap segment when in the
lift-enhancing mode. Air is blown from a nozzle positioned
slightly above the junction between the fore-flap segment and
the aft-flap segment in order to generate a vortex over the
upper surface of the aft-flap segment in the lift-enhancing
mode.
GB-A-0612304 discloses positioning a rotor in the upper side
of a wing with half the diameter of the rotor projecting above
the wing surface at the half chord position. The disclosure
shows a tri-plane with the main wing provided with a trailing
edge flap of conventional form.
FR-A-2228168 discloses the formation of a vortex in a cavity
between the main wing body and a trailing edge flap, with the
intention that this created vortex avoids the formation of
parasitic vortices. The vortex is created using blowing
nozzles and/or sucking nozzles.
In accordance with the present invention we now propose a
wing-like body including a lift augmentation device,
comprising a main wing body and a displaceable auxiliary body
defining a first, lift-augmenting configuration and a second,
non- augmenting configuration and moveable to intermediate
configurations therebetween, including means for generating a
vortex extending spanwise of the wing-like body at the
junction between the main wing-like body and the auxiliary
lift- augmenting body; wherein the arrangement is such that,
at a relatively lower pressure side of the wing body, the
generated vortex rotates in a direction which causes the
airflow in the vortex to be co-current with the nearby main
airflow passing over the wing body and, at the relatively
higher pressure side of the wing body, the flow of the vortex
air is countercurrent with the nearby main airflow over the
wing body.
Preferably the vortex is generated by a cross-flow rotor
extending spanwise of the flap along the recess and connected
to driving means which rotates the rotor in a direction to
carry the rotor vanes cocurrent with the airflow over the
convex upper surface of the flap.
Such an auxiliary lift augmentation member may for example be
a leading edge flap or a trailing edge flap, and may even be
associated with other auxiliary wing devices such as wing
slats.
In order that the present invention may more readily be
understood the following description is given, merely by way
of example, with reference to the accompanying drawings in
which:-
Figure 1A is a schematic cross
section of an aerofoil wing incorporating the lift
augmentation device in accordance with the present
invention, the wing being shown in"clean"configuration for
cruising flight or high speed flight using a suitable
propulsion means such as at least one reaction motor (rocket
or gas turbine) or propellor ;

Figure 1B shows the wing of
Figure 1A with its configuration changed in order to expose
the concave and convex surfaces of the aerofoil to the
passing airflow but with little or no general change in the
wing camber, for example during transition from high speed
or cruising flight to approach speed, or when used to
augment lift and thrust for take-off.
Figure
1C shows the wing of Figures 1A and 1B with the trailing
edge flap deflected to increase the camber of the aerofoil,
and illustrates displacement of the lift-augmenting
cross-flow rotor and its associated vortex-confining shroud
to begin to expose the upper part of the rotor to the
passing airflow such that the rotor vanes passing cocurrent
with the airflow over the convex surface of the wing project
upwardly above the general upper surface of the wing, for
example during transition from approach speed to landing
speed or to further augment lift and thrust on take- off;
Figure 1D shows the same wing as
in Figures 1A to 1C, with the flap fully deflected in the
landing position and with the rotor and shroud pivoted
upwardly to expose even more of the path of the rotor vanes
to the airflow passing over the upper surface of the
aerofoil, to generate high lift at landing;
Figure 2A shows an alternative
form of aerofoil wing with a transversely extending
cross-flow rotor enclosed within the wing near its leading
edge, but with the wing in clean configuration for cruising
or high speed flight using a suitable propulsion means;

Figure 2B shows the wing of
Figure 2A with a slot exposed between the leading edge of
the aerofoil and the main wing body, so as to expose the
spanwise extending cross-flow rotor to the airflow moving
over the upper (convex) and lower (usually concave) surfaces
of the wing;
Figure 2C shows the wing of
Figures 2A and 2B with the leading edge extended forwardly,
in the manner of a leading edge flap, but additionally given
a more negative angle of incidence so as to increase the
camber of the wing, while at the same time the cross-flow
rotor and its vortex-confining shroud are pivoted upwardly
so as to cause the upper part of the path of the rotor vanes
to project above the convex upper surface of the wing body
to encounter the airflow over the convex upper surface of
the wing body, during transition from approach speed to
landing speed or to augment thrust and lift on take-off;
Figure 2D shows the wing of
Figures 2A to 2C with the leading edge portion still further
extended and deflected downwardly to further increase the
camber of the wing, and with the tangential flow rotor and
vortex-confining shroud pivoted still further upwardly to
increase the degree of projection of the upper part of the
fan vane path above the convex upper surface of the wing for
generating high lift at landing ;
Figure 3A shows a third
embodiment of a wing in accordance with the present
invention, with a vortex-confining shroud incorporated in
the front of a trailing edge wing flap and with the wing in
clean configuration for cruising on a high speed flight; and

Figure 3B shows the wing of
Figure 3A with the trailing edge flap extended rearwardly
and deflected downwardly to increase the wing camber and to
open a slot between the upper and lower surfaces of the wing
through which air passes and generates a vortex in the
vortex-confining recess but without the presence of a driven
cross-flow fan, for generating high lift at landing.
Referring now to the drawings, Figure 1A shows an aerofoil
wing-like body 1 comprising a main aerofoil portion 3
truncated at its trailing edge but supplemented by a trailing
portion 5 such that, together, the portions 3 and 5 define an
aerofoil section to the wing 1.
Positioned between the main (3) and trailing (5) portions of
the wing body is a cross-flow rotor 7 having blades 8
extending spanwise of the wing 1 and able to orbit about a
rotation axis 9 extending parallel to the wing span. The part
of the rotor facing the trailing wing portion 5 defines a
concave recess 11 extending spanwise of the wing 1 and
pivotable about an axis 13 close to the convex upper surface
of the wing 1 near the leading part of the trailing wing
portion 5. In Figure 1A the wing 1 is clean in that the angle
of incidence of the trailing wing portion 5 is substantially
the same as that of the main wing portion 3 so that the
aerofoil of the wing defines continuous surfaces at the
junction between the main wing portion 3 and the trailing wing
portion 5. In other words the cross-flow rotor 7 is totally
isolated from the airflow passing over the convex upper
surface and the concave lower surface of the wing 1. In this
configuration the wing is configured for high speed flight or
cruising flight using a suitable propulsion means.
Figure 1B shows the wing of 1A when adapted for augmenting the
lift normally generated by the wing as a consequence of its
forward flight. The rotor 7 is shown to be rotating in the
anti-clockwise direction about the rotation axis 9, such that
the rotor blades 8 and the generated vortex rotate in a
direction which causes the airflow in the vortex to be
co-current with the main airflow passing over the wing body at
a relatively lower pressure side of the wing body and the
rotor blades 8 and the flow of the vortex air to be
countercurrent with the main airflow over the wing body in the
relatively higher pressure region around the wing body.
Furthermore the extension of the trailing wing portion 5
rearwardly with respect to the main wing portion 3 has opened
a slot between the convex upper surface and the concave lower
surface of the wing 1 so as to allow airflow to pass upwardly
from the relative higher air pressure region below the wing to
the relatively lower air pressure region above the wing. This
upward passage of the air through a slot reference 15 is
augmented by the rotation of the rotor 7 with its blades 8
moving cocurrent with the airflow through the slot 15.
In the Figure 1B configuration the rotor 7 and the shroud 11
are in the same configuration relative to the trailing wing
portion 5 as they are in Figure 1A. There is therefore a
degree of lift and thrust augmentation without any
undue"dirtying"of the wing configuration in that drag will
inevitably be somewhat higher than in the Figure 1A
configuration, but will not be increased unduly in that the
rotor is still within the overall aerofoil shape of the wing 1
rather than projecting clear of it into the passing airflow.
In Figure 1B, the camber of the aerofoil section is somewhat
higher than it is in Figure 1A whereas in Figure 2B the camber
is unchanged from that of Figure 2A.
In both cases (Figures 1B and 2B) the camber is such that the
wing is still substantially as clean as in the cleanest
configuration (Figures 1A and 2A respectively).
In the Figure 1B configuration the wing is suitable for
transition from high speed or cruising flight to approach
speed, or indeed in order to augment lift and thrust for
take-off. Just as in WO-A-98/02766 the rotation of the rotor 7
in the anti- clockwise direction shown in Figure 1B may well
generate thrust which will augment the general thrust
generated by the propulsion means of an aircraft incorporating
the wing of Figures 1A to 1D. These propulsion means may for
example comprise propellers driven by piston engines, or
thrust-generating gas turbine engines, or turbo prop
assemblies with propellers driven by gas turbine engines.
Other propulsion means may of course be acceptable for use
with the wing of Figures 1A to 1D.
Figure 1C shows the wing of Figure 1B with the wing trailing
part 5 deflected downwardly so as to increase the overall
camber of the wing 1, and now with the vortex-confining shroud
11 displaced slightly relative to the wing trailing body 5 by
pivoting anti-clockwise about the pivot axis 13 so as to move
the lower part 11 a of the shroud forwardly and upperwardly
with respect to the leading edge of the under surface of the
trailing part 5, and the rotor 7 is similarly displaced in an
anti-clockwise direction relative to the trailing wing portion
5. As a result of this displacement the upper part of the path
of the vanes of the cross-flow rotor 7 projects upwardly of
the convex upper surface of the wing 1 so as to encounter
airflow over the upper surface, moving from the leading edge
to trailing edge of the wing 1, and thereby to exert a greater
thrusting effect on the airflow as a result of the driven
anti-clockwise rotation of the fan rotor 7. This both
increases the degree of thrust generated by the rotor 7 and
additionally results in attachment of the airflow over a
greater length of the upper surface of the trailing wing 5 as
a result of the higher airflow over a greater length of the
upper surface 5b.
Preferably the rotor rotation axis 9 and the shroud 11 move in
unison about the pivot axis 13 so as to maintain a constant
positioning between the rotor 7 and the shroud 11 for the
purpose of maintaining the quality of the vortex generated
within the spanwise extending recess defined by the shroud 11.
However, for the purposes of controlling that vortex it may be
desirable to cause differential movement of the fan rotation
axis 9 and the shroud 11 during this anti-clockwise movement
between the position of Figure 1B and that of Figure 1C.
As is clearly visible in Figure 1C, the trailing wing portion
5 has not only pivoted anti-clockwise to increase the camber
of the wing 1 but has also been extended further rearwardly
with respect of the Figure 1B configuration so as to increase
still further the effective wing area of wing 1. In this
configuration the wing is well suited for the transition from
approach speed to landing speed, or to augment still further
thrust and lift for take-off.
The final position, shown in Figure 1D, is one in which the
pivoting of the shroud 11 and the fan rotation axis 9 about
the pivot axis 13 is still more pronounced so as to increase
the degree of projection of the path of the blades of the
cross-flow rotor 7 into the rearwardly moving airflow over the
convex upper surface of the wing body 1, thereby still further
increasing the tendency of the airflow to remain attached over
the upper surface 5b of the trailing wing portion 5 and
equally still further increasing the thrust effect of the
driven rotor 7 on the airflow.
The slot 15 shown in Figure 1C is wider than the corresponding
slot discussed above with reference to Figure 1B, and
correspondingly that same slot becomes still wider in the
Figure 1D configuration. Figure 1D shows the wing in maximum
lift configuration for landing.
Although above we refer to the lower surface of the wing as
being the concave surface, it will of course be appreciated
that not all aerofoils exhibit concave lower surfaces so that
undersurface may equally be straight or even mildly convex.
Although the above description refers to the slot 15 being
opened as the trailing wing portion 5 moves rearwardly during
its extension, it is equally possible for the slot to be
opened by retraction of sliding doors which normally close the
slot for high speed or cruising flight but which serve to open
the slot even before the rearward extension of the trailing
wing portion 5 has occurred.
As mentioned above, there is a degree of thrust augmentation
as a result of the rotation of the driven fan 7 in the
configurations of Figures 1B, 1C and 1D. It is considered that
this will enable the main propulsion means to be somewhat
rested during the flight in the lower speed regions of the
flight envelope, and under certain conditions it may even be
possible for all of the thrust to be generated by the rotation
of fan rotor 7 so as to dispense with the need for thrust from
main propulsion means.
If desired, the shroud 11 may additionally include a control
means similar to that disclosed and claimed in GB-A-2346348
for the purposes of controlling the vortex within the
generally cylindrical span-wise recess defined by the shroud
11. It has been found that the lift augmentation resulting
from the positioning of a cross- flow rotor near the leading
edge of a wing-like body (in this case the wing trailing
portion 5 which in some ways resembles the wing illustrated in
WO A-98/2766), is due to the existence of the vortex within
the recess defined by the shroud 11 and at least partially
intersecting the path of the vanes of the rotor 7.
Referring now to Figures 2A to 2D, there will be seen an
alternative embodiment in which the wing-like member 21
includes a cross-flow rotor 27 between a leading portion 25
defining the leading edge of the wing and a main wing body
portion 23 defining the remainder of the aerofoil of the wing.
Again, a slot 35 exists between the leading portion 25 and the
main wing portion 23, and the forward- facing part of the path
of the blades 28 of the fan 27 borders on the slot 35.
In Figure 2A, showing the"clean"configuration of the wing for
high speed for cruising flight, the slot 35 is closed off from
the region of relatively higher pressure air under the wing
body 21 by means of a lower sliding door 35a, and likewise the
slot is closed off from the relatively lower pressure region
of air above the convex upper surface of the wing body 21 by
an upper sliding door 35b. Retraction of these doors into
either the leading portion 25 or the main wing portion 23 (in
this case the main wing portion 23) opens the slot 35 and
allows to pass upwardly through it.
Although the effect of the driven rotation of the cross-flow
fan rotor 27 is only exerted on the movement under the wing
body 21 when the slot 35 is open, it may of course be
desirable to maintain drive to the rotor 27 to keep it
rotating about its rotation axis 29 even when the slot is
closed, if only for the purposes of ensuring that as soon as
the slot begins to open the rotor will already be rotating in
the appropriate direction and with the desired speed. For this
reason the fan rotor 27 is shown in Figure 2A as rotating in
the anti-clockwise direction.
Figure 2B shows a configuration generally equivalent to that
illustrated in Figure 1B but in this case there has been
substantially no forward movement of the leading wing portion
25, but simply retraction of the two sliding doors 35a and 35b
to open the slot 35 to the under and over the wing body 21.
This illustrates the configuration for transition from high
speed or cruising flight to approach speed. The effect of the
vortex within the recess bounded by the shroud 31 is to
increase the over the upper surface of the wing body 21,
thereby augmenting lift and thrust and maintaining the over
the convex upper surface attached until much closer to the
trailing edge of the main wing portion 23. Although there
would some extent be thrust augmentation as a result of the
driving of the upwardly to the slot 35, as with the wing 1 of
Figs. 1A to 1D, the effect of thrust augmentation begins to be
more noticeable when the configuration of Figure 2C is
reached. As in the case of Figure 1C, the shroud 31 has
pivoted in the anticlockwise direction about the pivot axis
33, and carried the rotor 27 along with it as is evident from
Figure 2C. Thus the upper part of the path of the blades 28 of
the fan rotor 27 projects more noticeably into the passing
over the upper surface of the wing body 21, increasing the
thrust augmentation effect and still further increasing the
tendency for the over the upper surface of the wing to remain
attached up to the trailing edge.
Figure 2C also illustrates the fact that the wing leading
portion 25 has begun to deflect downwardly and, although the
mechanism for supporting and guiding the wing leading portion
25 is not shown in the drawings, the theoretical position of
the centre of rotation 26 of the movement of the wing leading
portion 25 is illustrated both in Figure 2C and in Figure 2D.
As in the case of Figure 1C the position illustrated in Figure
2C applicable to the transition from approach speed to landing
speed or for augmenting lift and thrust for take off.
Likewise, configuration in Figure 2D shows still further
anticlockwise pivoting of the rotor axis 29 and the shroud 31
about the pivot axis 33 and still further clockwise movement
of the wing leading portion 25 to result in both a more
negative angle of incidence of the wing leading portion and a
further forward extension which increases the effective wing
area of the wing 21 for landing.
The embodiment of Figures 2A to 2D has the advantage that the
spanwise- extending cross-flow rotor is positioned at the
thickest part of the aerofoil section.
Surprisingly it has now been discovered that the existence of
the vortex at the recess defined in the leading portion of a
wing body may under system circumstances result from without
the need for a driving cross-flow fan rotor such as the rotor
7 in Figures 1A to 1D or the rotor 27 in Figures 2A to 2D.
Such an arrangement is shown in Figures 3A and 3B where Figure
3B shows the high lift"landing" configuration where the
through the slot between the trailing wing portion and the
main portion of the wing body itself generates the required
vortex.
In particular, Figure 3a shows a wing 41 comprising a main
wing body portion 43 and a displaceable trailing wing portion
45 which is displaceable by virtue of pivoting around a
theoretical axis 46 shown in both Figure 3A and Figure 3B. In
Figure 3A, showing the most clockwise-displaced configuration
of the trailing wing portion 45, the geometry is such that
there is no slot existing between the main wing body portion
43 and the trailing wing body portion 45. However, once the
trailing wing body portion 45 has begun to displace by
anticlockwise rotation about the axis 46 from the
configuration shown in Figure 3A, that slot 55 is open and is
able to pass through the slot upwardly from the relatively
higher pressure region below the wing body 41 through the area
of relatively lower pressure air above the wing. In doing so,
this will generate a vortex rotating in the anticlockwise
direction as illustrated by the arrows 56 in Figure 3b, and
this vortex is expected to have the same effect of augmenting
lift of the wing 41 as was evident with the wing 1 of Figures
1A to 1D and the wing 21 of Figures 2A to 2D, without the need
for the cross-flow rotor to generate the vortex.
Although Figure 3B illustrates the position generally
equivalent to the configuration shown in Figure 1D, i. e. the
high lift"landing"configuration, it will of course be
understood that there are other configurations between the
extreme of Figures 3A and 3B equivalent to the exemplary
configurations shown in Figures 1B and 2B (transition from
high speed or cruising flight to approach speed) and Figures
1C and 2C (transition from approach speed to landing speed or
showing lift augmentation for take off).
The wing in accordance with the present invention may be used
in a"self- propelling"mode which could do away with the need
for a separate propulsion means. For example, the wing of
Figures 1A to 1D could rely on the Figure 1C configuration for
take-off in that the anticlockwise-rotating cross-flow fan 7
will generate a rearward flow of air over the upper surface of
the wing trailing part 5 to propel the aircraft forwardly
during the take-off run while the intake of air into the slot
15 from beneath the wing will not generate any appreciable
rearward reaction (a reaction force acting in the direction
towards the trailing edge of the wing trailing body 5).
Indeed, the underside of the main wing portion 3 at the rear
end near where the slot 15 opens may be shaped so as to
facilitate flow of air into the slot 15 in a rearward
direction (in a direction from the leading edge to the
trailing edge of the wing 1) and, provided the magnitude of
the airflow induced by the fan 7 is adequate, there will be a
forward thrust on the wing which can cause the aircraft to
gather momentum during the take-off run and achieve flying
speed. The lift off speed will of course be enhanced (lowered)
as a result of the partial downward deflection of the trailing
wing part 5, in the manner of the trailing edge wing flap.
After take-off the trailing wing portion 5 can be raised into
the Figure 1B configuration where the same effect of thrusting
flow generated by the cross-flow fan 7 will maintain forward
thrust and maintain cruising flight.
For landing purposes, the trailing wing part 5 will initially
be lowered to the Figure 1C configuration and then, for final
approach, be lowered to the Figure 1D configuration where the
maximum CL value will be obtained.
It will of course be appreciated that at no stage will the
wing be cleaned up to the Figure 1A configuration, where no
such thrusting flow can be generated by the totally enclosed
cross-flow fan 7 even if the fan is rotating idly within its
shut-off housing defined by the slot 15 on the one hand and
the shroud 11 on the other hand.
The same effect can be achieved with the configuration of wing
shown in Figures 2A to 2D in that, for take-off purposes, the
wing may be set to the Figure 2C configuration so that airflow
through the cross-flow fan 7 will be discharged rearwardly
over the top surface of the main wing part 23 and taken in
from beneath the leading wing part 25 in a generally rearward
direction while the configuration of the leading wing part 25
resembles that of a leading edge wing flap. After the take-off
phase, the wing can be set to the Figure 2B configuration in
which, as in the case of Figure 1B, cruising flight may be
maintained with merely the propelling effect of the rearwardly
moving air discharged by the cross-flow fan 27 over the top
surface of the main wing part 23, optionally assisted by a
rearward direction of the airflow into the slot 35 from
beneath the leading wing part 25. Again, as in the case of
Figures 1A to 1D, the leading wing part 25 may be shaped at
its under surface so as to facilitate entry of rearwardly
moving air into the slot 35 from beneath the leading wing part
25. Such shaping may, for example, comprise blunting of
the"nose"between the underside of the leading wing part 25 and
the entry into the slot 35, or even raising of the
undersurface of the leading wing part 25 so that it allows the
air from beneath the leading wing part 25 to approach the fan
rotor in a generally rearward and upward direction.
The Figure 2B configuration can be used for forward flight and
the Figure 2C configuration can be used for the early stages
of the landing approach, with the Figure 2D configuration used
for the final approach where maximum CL values are required.
Although Figures 1A to 1D on the one hand, and Figures 2A to
2D on the other hand, illustrate positions of the cross-flow
fan 7 or 27 at points where the transition between the main
wing part 3 and the moving trailing wing part 5 of a
conventional wing with trailing wing flap will arise (Figure
1B) or where the transition between the main wing part 23 and
the leading wing part 25 of a wing with a leading edge flap
will arise, this self-propelling configuration just discussed
above may be improved by having the cross-flow fan rotor moved
somewhat rearwardly from the position showing in Figures 2A to
2D, where the thickest part of the aerofoil will permit the
maximum diameter of fan rotor 27 to be accommodated.
As indicated above, the configuration of Figures 1A to 1D
showing the displaceable wing trailing portion, and likewise
the configuration of Figures 3A and 3B showing such a
displaceable trailing portion, are equivalent to a
conventional trailing edge flap, and likewise the
configuration shown in Figures 2A to 2D is generally
equivalent to a conventional leading edge wing flap. However,
the lift augmentation device may equally embody other wing
configurations and may, for example, be incorporated in a
moveable slat to generate a lift-augmenting slot between
itself and the adjacent surface of the wing body.
Although throughout the above description the member 1,21 or
41 has been described as"wing-like"this member could be any
other dynamic aerofoil plane such as a tailplane or a canard
surface.
US6527229
Aerodynamic lift generating
device
2003-03-04
Abstract -- An aircraft
has its wing defined as a wing-like body with a tangential
flow rotor in the leading edge. A shroud, under the lower part
of the tangential flow rotor, terminates in at least one
movable flap defining a lift-generating lip when the rotor is
rotating such that the upper part of the rotor, projecting
above the level of the upper surface of the wing-like body, is
moving rearwardly. Differential adjustment of the flaps in the
wings to either side of an aircraft centerline allows
directional control and control of banking of the aircraft.
BACKGROUND OF THE INVENTION
[0002] The present invention relates to an aerodynamic lift
generating device and is an improvement in the lift generating
member disclosed and claimed in WO-A-98/07622.
[0003] The device of the above-mentioned International
application uses a cross-flow or tangential flow rotor
positioned in place of the leading edge of a wing-like body
and rotating such that the part of the fan rotor at the top of
the wing-like body is moving rearwardly, i.e. towards the
trailing edge of the wing-like body, whereas the lower part is
moving forwardly. The forwardly moving lower part is shrouded
and in various of the embodiments of that earlier device the
shroud terminates in a lip which helps to form and locate a
vortex within the rotor when the rotor is in motion.
[0004] Lift control, and hence steering and differential lift
generation, in that earlier device was envisaged as being
effected by a differential gearbox to drive the parts of the
rotor to either side of an aircraft centerline at different
rotational speeds so as to generate different lift and thrust
values to each side of the centerline.
OBJECT OF THE INVENTION
[0005] It is an object of the present invention to provide an
alternative means of generating differential lift in such a
vehicle.
SUMMARY OF THE INVENTION
[0006] The present invention envisages using a movable flap as
the lip at the leading edge of the shroud defining the
undersurface of the wing-like body, so that the lip can be
either (i) eliminated by positioning the flap flush with the
adjacent part of the shroud or (ii) reduced in its degree of
intrusion on the space occupied by the rotor by causing it to
adopt a position between the optimum vortex-generating
configuration and the fully flush position.
[0007] Thus according to a first aspect of the present
invention there is provided a lift-generating member
comprising:-a wing-like body defining leading and trailing
edges and opposed surfaces which converge towards said
trailing edge; and a spanwise extending tangential flow rotor
positioned adjacent the leading edge of the wing-like body and
projecting proud of that one of the opposed surfaces which is
uppermost in use of the lift-generating member, whereas the
other opposed surface which is the lower one in use of the
lift-generating member is defined in part by a shroud which
extends forwardly and upwardly and confines the space occupied
by the tangential flow rotor and terminates at a lip to define
a vortex within the rotor; characterised in that the lip is
defined by at least one movable flap which is variable between
a first position projecting away from the general direction of
the shroud so as to intrude on the space occupied by the rotor
and a second position in which it does not intrude to that
same extent.
[0008] By positioning the flaps to either side of the aircraft
centerline in configurations which differ from one another it
is possible for the lift at the side where the flap is "less
intrusive" to be reduced as compared with that where it is
"more intrusive". Because the vortex influences both lift and
thrust it is also conceivable to use the differential lift
effect to generate also a yawing movement, preferably such
that the difference in lift between the two sides of the
aircraft centerline and the difference in thrust on the two
sides of the aircraft centerline cause the aircraft to execute
a slipless banked turn.
[0009] The control of the angle of the flaps on both wings
simultaneously also enables the lift to be rapidly increased
or decreased for manoeuvring, either to effect take off and
landing or to manoeuver the aircraft in flight.
[0010] It is also possible for the vortex-generating "lip" to
be defined by several different flaps at different regions
along the span of the wing, so that the turning effect and/or
the banking effect can be more finely tuned by selecting for
the lift variations a portion of the flap which is at a
greater or lesser distance from the aircraft centerline,
thereby changing the moment of the differential lift and
thrust forces.
BRIEF DESCRIPTION OF THE DRAWINGS
[0011] In order the present invention may more readily be
understood the following description is given, merely by way
of example, with reference to the accompanying drawings in
which:
[0012] FIG. 1 is a top plan view,
in schematic form, of an aircraft embodying the present
invention;

[0013] FIG. 2 is a side view of
the wing of the aircraft in high lift configuration;
[0014] FIG. 3 is a side view of
the wing of FIG. 2 in a cruising or normal lift-generating
configuration;
[0015] FIGS. 4a and 4b are
vertical sectional views of a second embodiment, with the
tangential flow fan rotor omitted; and
[0016] FIGS. 5a, 5b, and 5c are
views similar to FIGS. 4a and 4b, but showing a third
embodiment of the lift generating member of the invention.

DETAILED DESCRIPTION OF THE
INVENTION
[0017] FIG. 1 is a schematic plan view of an aircraft 1
comprising a wing body 2 divided into a port wing body 2a and
starboard wing body 2b, with a tangential flow rotor 3 which
is not shown in detail but which is divided into a port rotor
3a and a starboard rotor 3b, driven by a common drive means.
The aircraft has a fuselage comprising a pod 4 and a tail boom
5 which supports a tailplane 6 and a fin 7.
[0018] The underside of the wing body 2 is extended forwardly
as a shroud 2' to enclose the cylindrical space 7 occupied by
the rotor 3. At the leading edge of the shroud 6 is a
pivotable lip-defining flap 8 which is shown in FIG. 2 as
intruding on the cylindrical space 7 to its maximum extent.
The flap 8 is mounted for pivoting about a pivot defining a
pivot axis 8'.
[0019] In rotation of the rotor 3, in the anticlockwise sense
as viewed in FIG. 2, the tangential flow in the rotor results
in the air expelled from the exposed periphery of the rotor at
the front and the top of the wing becoming divided by the nose
9 at the top of the wing-like body 2 such that the expelled
air moves downwardly and rearwardly over the upper surface of
the wing-like body 2 while the rest of the air moves in the
anticlockwise sense within the cylindrical space 7 until it
reaches the lip defined by the flap 8 in the FIG. 2 position.
As a result an anticlockwise vortex is generated within the
rotor and greatly improves the lift force, as described in my
WO 98/07622.
[0020] It has been found that in the high lift configuration
shown in FIG. 2 the noise generated by the wing and rotor
combination is increased as compared with that which would
normally be experienced in the cruising configuration shown in
FIG. 3 where the flap 8 is in the position 8a substantially
flush with the rest of the shroud 2'. In this FIG. 3 position
less lift is generated and also less thrust is generated but,
provided the flap is as close as possible to the periphery of
the fan rotor, the efficiency of the wing is at a maximum. The
induced air flow through the rotor in the FIG. 3 configuration
is illustrated by the arrows moving along curved streamlines
from right to left in the drawing. In the FIG. 2 (high lift)
position the flap 8 is even closer to the passing rotor blades
than in the FIG. 2 position but must not interfere
mechanically with them.
[0021] The difference in lift and thrust can be used in the
following manner in order to provide optimum flight
conditions.
[0022] For running up the rotor as rapidly as possible on the
ground, the rotor drive motor is accelerated while the flap is
in the position 8a shown in FIG. 3, thereby minimising
resistance to rotation of the rotor. When the rotor has been
run up to a desired speed the flap may be moved into its
position 8 shown in FIG. 2 and this results in an increase in
lift, allowing the aircraft to take off. When the aircraft is
stationary the vortex-controlling flap 8 is at its most
effective. The aircraft may already have been accelerating
forwardly while in the FIG. 3 configuration but generating
much less lift, possibly only 20% of the available lift, than
it does in the FIG. 2 position.
[0023] In flight, the flap is returned to the position 8a
shown in FIG. 3, or to a position close to it, in order to
minimize the rotational drag on the rotor, but also to take
advantage of the induced lift resulting from the air flow
through the rotor and the air flow over the aerofoil wing-like
body 2. In order to control the angle of bank and/or the angle
of yaw it is possible to vary the position of the flap to a
position somewhere between the two extreme positions shown in
FIG. 2 and FIG. 3.
[0024] In order to provide for optimum manoeuverability the
aircraft may be flown during climb after take off or during
approach to landing with the two flaps set midway between the
extreme positions shown in FIGS. 2 and 3, such that when bank
is needed it is possible to increase the lift from the steady
state by increasing the degree of intrusion of the flap on the
side where higher lift is required and decreasing the lift on
the other wing by similarly reducing the degree of intrusion
into the space 7.
[0025] For take off and landing it is advantageous for both
wings simultaneously to be in the FIG. 2 configuration, or in
a configuration close enough to it to generate high lift and
high thrust but still leave some degree of differential
adjustability for controlling bank and yaw on landing.
[0026] From the above it will be understood that the rotor 3
may initially tend to slow down somewhat during the take off
phase, until the forward speed is such that the air flow
through the rotor again assists in reducing the resistance to
rotation of the rotor. Thus in the take off phase it is
possible to some extent to build up excess rotor speed with
the flap in the FIG. 3 position and then to consume some of
that energy in the take off phase when the flap moves towards
the FIG. 2 configuration and the resistance to rotation of the
fan rotor 3 builds up.
[0027] The principle illustrated in FIGS. 2 and 3 can be
readily applied to any of the wing cross-sections shown in WO
98/07622, and indeed to any other variations of the basic
configuration of the rotor in the leading edge of the wing
body.
[0028] If desired and inboard section of each wing (2a, 2b)
may have its vortex-generating flap adjustable independently
of that as the outboard section so that the inboard section
may remain in the high lift configuration during take off and
the landing approach, while the outboard section may be
adjusted for manoeuvring.
[0029] The embodiment shown in FIGS. 4a and 4b differs from
that shown in FIGS. 2 and 3 in that there are two limbs 18a
and 18b to the flap, pivotable about a single pivot axis 18'.
The two limbs 18a and 18b are at a fixed angle of inclination
relative to one another. In the FIG. 4a position the flap limb
18b is substantially a continuation of the shroud 12', while
the flap limb 18a is directed inwardly towards the rotor in
the position giving maximum lift and thrust (similar to the
FIG. 2 configuration).
[0030] In the FIG. 4b configuration this two part flap has
pivoted clockwise about the pivot 18' so as (i) to open a gap
in the 'shroud' where the flap limb 18b has moved inwardly
from it flush position, and (ii) to decrease the extent to
which the upper flap limb 18a extends inwardly until it
defines the front of the shroud 2'. In this configuration the
high speed peripheral air moving forwardly along the inner
surface of the shroud will spill out forwardly to reduce both
lift and thrust still further as compared with the FIG. 3
configuration, thereby giving more control of differential
thrust and lift to improve manoeuvrability of the aircraft.
[0031] In the embodiment of FIGS. 5a, 5b, and 5c the control
of this better manoeuvrability embodiment of FIGS. 4a and 4b
is still further improved in that an additional facility is
provided by virtue of the intermediate configuration of FIG.
5b.
[0032] In the embodiment of FIGS. 5a, 5b and 5c the two limbs
28a and 28b of the flap are to a degree pivotable
independently of one another. If desired, complete
independence may be provided. For movement from the FIG. 5a
configuration to the FIG. 5b configuration the upper flap limb
28a pivots clockwise while the lower flap limb 28b is
stationary, until the two limbs 28a and 28b are substantially
mutually parallel in the FIG. 5b configuration and
substantially flush with the shroud 2'. From then on the two
limbs move in unison to reach the FIG. 5c configuration where
the two limbs together define the spill passage to allow
forward spilling out of the forwardly moving air between the
fan rotor and the shroud.
US
6231004
Fluid dynamic lift generation
Abstract -- An aircraft
lifting member (wing) comprises a crossflow rotor 2 formed of
a core 4 having rotor vanes 5 mounted around it, disposed in a
trough 3 at the front upper part of a wing-like body 1.
Rotation of the rotor induces a downwardly and rearwardly
directed airflow over the upper surface 6 of the wing-like
body 1 generating both lift and thrust. The upper part of the
rotor vane path projects above the upper surface 6 and the
lift-generating member is open at the leading edge to expose
the cross-flow rotor 2 to the incident airflow.
The present invention relates to an improved form of lifting
member using a fluid flow, either of an aerodynamic nature or
a hydrodynamic nature. It Is particularly useful for an
aircraft, and in particular as a high lift wing which will
provide both high lift and thrust for a low speed aircraft,
making it attractive for STOL (short takeoff and landing)
purposes.
In the past STOL aircraft have depended upon either lift
augmentation of an aerofoll wing, for example by blown flaps
and/or the use of slats and leading edge flaps, and/or upon
the use of a tilt wing construction where an engine is mounted
fixed in relation to the wing so that tilting the wing to a
higher angle of incidence also tilts the engine to give a
measure of vectored thrust. Vectored jet thrust in the context
of vertical/short take-off and landing (V/STOL) flight is also
known.
The present invention aims to provide a novel way of achieving
high lift at low forward speed of an aircraft.
GB-A-885888 discloses the use of a cross flow rotor at various
locations in an aerofoll body, and includes in FIGS. 27 and 26
a cross-low rotor embedded in the leading edge of the aerofoll
body.
In accordance with the present invention there is provided a
lift-generating member comprising a wing-like body defining
leading and trailing edges and opposed surfaces which converge
towards said trailing edge, and a spanwise extending
cross-flow rotor positioned adjacent the leading edge and one
of said opposed surfaces to define an air intake region and an
air discharge region along the circumferential path of the
rotor vanes; wherein the rotor rotates in a direction which
carries the rotor vanes in the part of their path which is
adjacent said one opposed surface in a direction which extends
towards the trailing edge of the wing-like body; characterised
In that the surface of the rotor projects proud of the said
one opposed surface over at least said air discharge region;
and in that the rotor is exposed to air at the leading edge of
the wing-like body to define a leading edge of the
lift-generating member and to take in air at the front of said
body and to discharge it over said opposed surface as a result
of rotation of the rotor.
By providing for a differential in efficiency between the
rotors on either side of the center line of an aircraft it is
possible to control the lift differentially, to give a means
of banking the aircraft.
If desired, the rotors may provide not just the lift but also
all of the thrust which is required for forward propulsion of
the aircraft, in which case differential power to either side
of the centre line of the aircraft also provides for a measure
of yaw control and for a means of controlling the aircraft in
a stable banked turn.
In order that the present invention may more readily be
understood the following description is given, merely by way
of example, with reference to the accompanying drawings, in
which:
FIG. 1 is a cross-section through
a first embodiment of lifting member in accordance with the
present invention;

FIG. 2 is a view similar to FIG.
1 but on a reduced scale and showing a modified form of the
wing body of the lifting member;
FIG. 3 is a top plan view of an
aircraft incorporating the lifting member of FIG. 1;
FIG. 4 is a table of operating
parameters measured using a tethered wing of the design
shown in FIG. 1;
FIG. 5 is a graph of rotor input
power plotted against lift in grams force;
FIG. 6 is a sectional view of
third embodiment of the lifting member according to the
invention, shown from the opposite side from that in FIGS. 1
and 2;
FIG. 7 is a view similar to FIG.
6 but showing a fourth embodiment of the lifting member
incorporating two alternative forms of flow control (shown
on the one drawing for the sake of simplicity);
FIG. 8 is a view similar to FIG.
6 but of a fifth embodiment of the lifting member;
FIG. 9 is a view similar to FIG.
6 but showing a sixth embodiment of lifting member with a
more open front to the leading edge crossflow rotor;
FIG. 10 is a view similar to FIG.
6 but showing a seventh embodiment of the lining member with
inlet guide vanes to assist flow into the crossflow rotor;
FIG. 11 is a view similar to FIG.
6 but of an eighth embodiment of lifting member according to
the invention; and
FIGS. 12a and 12b, respectively,
show a ninth embodiment of the lifting member of the present
invention, with inlet guide means open in FIG. 12a but
closed in FIG. 12b.

The lifting member shown in FIG. 1 uses the combination of a
tapered wing-like body 1 and a spanwise extending cylindrical
crossflow rotor 2 set into an upwardly open trough-like recess
3 in the front of the wing body 1 near the leading edge 7 of
the wing body. As shown In FIG. 1, the crossflow rotor 2
projects upwardly into the airflow passing over the upper
surface 6 of the body 1 and it is indeed the rotation of the
rotor 2, in the clockwise direction as viewed in FIG. 1, that
induces this airflow. The rotor is open to the incident
airflow at the front of the lifting member.
FIG. 1 shows that the rotor 2 is a form of crossflow rotor,
also known as a tangential flow rotor, extending spanwise
along the wing body. In its crudest form the rotor has a
succession of discs 9 with high aspect ratio fan vanes 5
extending between the successive discs along the rotor. An
optional central shaft 4 connects the various discs together
and is driven by the drive means, which preferably includes a
differential gearbox mechanism to vary the power distribution
between such a lifting member to one side of the aircraft, and
a similar such lifting member the other side. Such a rotor
will of course be able to be used with any alternative wing
body shape such as any of those shown in FIGS. 1, 2 and 6 to
12.
The crossflow rotor 2 rotates clockwise as viewed in FIG. 1
and generates an airflow, shown by the double-headed arrows,
deflected upwardly over the upper surface of the rotor core 4
at an air intake region of the rotor blade path and then
passing obliquely downwardly from an air discharge region of
the rotor blade path to follow the upper surface of the
tapering wing body 1. At the trailing edge of the wing body 1
the airflow will detach in the form of a downwardly and
rearwardly moving stream which generates a downward component
of airflow giving rise to augmented lift of the lifting
member, and also a rearward component which generates thrust
to induce forward propulsion of the lifting member. Although
not shown in FIG. 1, when forward propulsion of the lifting
member is established there will be also be an airflow passing
under the wing body 1 so that the incident airstream from the
left hand side of the lifting member shown in FIG. 1 will
divide, with some passing over the rotor and the rest passing
under the wing body, and with these two flows recombining,
preferably with minimum turbulence, at the trailing edge.
This, combined with an aerofoll general shape to the
cross-section of the lifting member (wing body 1 and crossflow
rotor 2) may also generate aerodynamic lift in the
conventional manner.
By increasing the speed of rotation of the rotor its output
power can be increased and hence both the lift and the thrust
on that lifting member can be increased.
As will be clear from a reading of the following description,
there are various other possibilities for designing the
spanwise crossflow rotor 2. However, the concept remains the
same in that there will be an airflow induced over the wing
body giving rise to both lift and thrust.
An aircraft incorporating the lifting member in accordance
with the present Invention may have additional
thrust-generating means such as at least one engine driven
propeller or at least one turbine or rocket engine, but it is
envisaged that all of the thrust may be derived from the
crossflow rotor 2.
Hence variation of the speed of rotation of the rotor 2 (or
its efficiency by means shown in FIGS. 7, 12a and 12b) will
not change simply the lift on that lifting members; It may
also vary the thrust of that same lifting member to an extent
which will allow yaw control of the aircraft having such a
lifting member as a wing.
Where this differential lift facility is available it is
possible for the aircraft to omit the convention lateral
guidance means (such as a rudder) and/or roll control means
(for example ailerons).
Although it is possible for ailerons to be omitted in their
entirety, it may be helpful to have ailerons present in order
to compensate for the de-stabilizing effects of a side-wind on
cross-wind lending. Where ailerons are provided, it is
expected that they will still produce aileron-induced yaw.
An aircraft using the lifting member of the present invention
may include a variable speed drive motor driving a means (such
as a differential gearbox) of varying the division of power
between the spanwise rotor of the lifting member on the
starboard side and the spanwise rotor of the lifting member on
the port side, for the purposes of controlling yaw and/or
roll.
It is also conceivable for the speed control to be linked to a
conventional pitch control means such as a control column
normally driving an elevator, so that increasing the motor
speed will increase the power to both port and starboard side
of the aircraft and hence increase the lift, giving a nose-up
tendency, and vice versa. This may either augment or replace
the elevator. Alternatively conventional elevator control may
be employed, and the speed of the motor diving the rotor 2 may
instead be controlled separately In the manner of lift
augmentation means such as leading edge and/or trailing edge
flaps of a conventional aircraft.
Equally it is possible for there to be a control surface
attached to the wing body 1, for example of the trailing edge,
in order to vary the aerodynamic camber of that wing body for
the purposes of further augmenting lift.
If desired the wing body member 1 of FIG. 1 may have the
trailing edge occurring at the end of a sharper taper zone
starting at a point on the upper surface of the tapering wing
body. In this case the undersurface of the wing body may be a
continuous planar surface as shown in FIG. 1. However
alternatively the undersurface could equally include a point
of discontinuity (similar to such a point of the upper
surface) at which the angle of inclination of the lower
surface either increases or decreases.
Also, the trailing edge may be at the end of a downwardly
curved portion of the wing body to impart aerofoll camber to
the wing today, resulting from the curvature of the part of
the wing body behind the trough 3 and rotor 2. The upper
surface may be convex overall (so that for the entire wing
body can be of curved form with a generally aerofoll
configuration) or may become convex after a point marking the
termination of a forward generally planar upper surface. (It
will of course be appreciated that the downwardly curved
portion may be in the form of a succession of generally planar
surfaces giving rise to a succession of stepped regions of
different inclinations to resemble such a curved
configuration).
In all of the embodiments the vanes may form a close
non-interference fit with the concave part-cylindrical wall of
the wing body defining the trough 3.
In the preferred embodiment shown in FIG. 1, the rotor discs 9
have a diameter of 80 mm. Between two successive rotor discs 9
along the span of the lifting member are 16 rotor vanes 5, in
this case each of 10 mm chord and 0.6 mm thickness. The blades
are part-cylindrical curved sheets having a 30 mm radius of
curvature. This is the design of prototype used for the tests
whose results are shown in FIGS. 4 and 5.
In this case the trough 3 is part-cylindrical and has the
discs 9 fitting closely within it. It extends over 155 DEG of
arc of the cylinder defining the trough. Thus, as viewed in
FIG. 1, the left hand- or leading edge-side of the wing body
member is cut away at 7 to expose the rotor to the incident
airflow.
As shown in FIG. 1, the rotor vanes 5 are in this case set at
an angle of 30 DEG with respect to that radius which also
passes through the edge of the rotor vane 5 lying farthest
from the shaft 4. It may also be of value to control the angle
of these blades while the rotor is turning. This could be in
the form of collective pitch which would change the angle of
all the blades at the same time or in the form of cyclic pitch
control which would control the angle of the blades depending
on their position relative to the wing body.
FIG. 2 shows a variant, generally similar to the embodiment of
FIG. 1, but with a slat or cover 8 over the rotor to define a
slot to control the airflow over the upper surface of the
lifting member.
A model incorporating the design shown in FIG. 1 has been run
using direct drive to the rotors to each side of the fuselage
centre line of the model. Such a model is shown in plan view
in FIG. 3 as comprising a fuselage 20 having a fixed tail
plane 21 and a port wing body 22a and a starboard wing body
22b. In this case a fin or vertical stabilizer 23 has also
been mounted on a tail 24 of the model. The rotor has been
omitted from FIG. 3 but the trough 3a and 3b of the respective
wing member 22a and 22b is illustrated. It is thus possible to
visualise the way in which the lifting body cross-section of
FIG. 1 has been adapted to the model aircraft.
The model has an all up weight of 3.4 Kg which includes a 1
horse power motor of 5 cc displacement. The wing span of the
model is 206 cm, and this comprises two active wing bodies 22a
and 22b each of 93 cm span.
The model was flown in radio-controlled free flight. The
airspeeds and power values (see FIGS. 4 and 5) were
extrapolated using the test results of a 90 cm span tethered
wing prototype of the wing body of FIG. 1.
For take-off the motor was running at one-third of its maximum
power. Stable flight speed was measured as approximately 5.5
metres per second.
A similar tethered test was carried out using a single lifting
member, of the type shown in FIG. 1 with its rotor 2 driven by
an electric motor, mounted on a mast and counterbalanced by a
mass arm. With such an apparatus the various parameters shown
in FIG. 4 were determined. They are as follows:
V represents the voltage applied to the motor.
A represents the motor current in amps.
The third column shows the rotor speed in r.p.m..
W represents the rotor input power in watts.
The fifth column represents the forward (propulsive) thrust
measured when the lifting member was held stationary, i.e. not
allowed to orbit the mast.
The sixth column shows the average time to complete one
revolution about the mast, when in the steady state.
The seventh column tabulates the lift force in grams.
The eighth column is the quotient of lift (gm) divided by
rotor input power (watts) (i.e. the value in the seventh
column divided by the value in the fourth column).
The ninth column illustrates the ratio of static thrust:lift
(static thrust as shown in the fifth column, and lift as
measured while the wing was in motion) for each value of the
rotor speed and power quoted in the third and fourth columns.
FIG. 5 illustrates a plot of the input power of the rotor
measured in watts, as the ordinate, and the lift in grams
measured as the abscissa. The points correspond to the
measured values tabulated in FIG. 4, and the straight line
illustrates the theoretical (compromise) plot and can be seen
to be a nearly straight line.
In other words, the efficiency of the lifting member shown in
FIG. 1 appears to be constant over the range of rotor speeds
tested, and over the orbiting speeds encountered.
There are of course various alternative possibilities for the
geometry of the rotor used with the device of FIG. 1. For
example, the thickness and chord values of the rotor vanes 5
may be varied. The angle of incidence (30 DEG in FIG. 1) of
the rotor vanes may be changed. Also, the angle of are
subtended by the trough 3 may be varied.
With the device shown in FIG. 1 it has been discovered that,
for a given rotor speed, the lift tends to increase as the
speed increases. Bearing in mind that the vertical projection
P1 of the part of the rotor on which the incident air impinges
is much greater than the projection P2 on to a line normal to
the upper surface 6 of the wing body, it is possible that
there is some form of compressibility effect generated through
the ram effect of the incident air arriving at the rotor area
exposed at the front of the lifting member.
The included angle of taper of the wing body 1 of FIG. 1 is
approximately 45 DEG . However, this can be varied. The air
discharged tangentially from the rotor thus follows a
direction approximately 45 DEG to the vertical, giving
substantial lift and thrust components.
Various alternative forms of the lifting member 1 are shown in
FIGS. 6 to 12 as follows:
In these various drawings the direction of the airflow
relative to the lifting wing is from right to left whereas in
FIGS. 1 and 2 it was from left to right. In each view the
direction of rotation of the crossflow rotor is illustrated by
a single headed arrow and in FIG. 6 a vortex airflow within
the rotor is illustrated by doubled headed arrows, with the
centre of the vortex being designated v, but in practice the
position of the vortex will be located by experiment if the
position of the centre needs to be known.
It is known that the efficiency of the crossflow rotor
increases with the establishment of a vortex within and
eccentric to the path of the rotor vanes, and rotating at an
angular velocity much higher than that of the rotor and in the
same direction of rotation. The establishment of such a vortex
is enhanced by various means shown in FIGS. 6 to 12.
In FIG. 6 the shroud 3 has its front end turned inward at 3a,
and the result of this is the formation of a vortex centred
within the rotor and having the direction of rotation
indicated by the double headed arrows. FIG. 6 also illustrates
the angle of incidence .varies. a of the wing body 1 measured
in terms of the inclination of the underside of the wing body.
FIG. 7 shows a departure from FIG. 6 in that the underside of
the wing body 1 is concave to impart a degree of camber to the
wing body, but furthermore the wing body of FIG. 7 has
additional control features. At the front end of the shroud 3
is a movable baffle 11 which can be retracted to the position
shown in FIG. 7 to allow maximum airflow into the rotor or can
be extended upwardly and rightwardly so as to mask the inlet
of the rotor to some extent, and thus to control the
efficiency of that particular lifting body.
Also shown in FIG. 7 is a movable spoiler 12 which is
illustrated in FIG. 7 as being extended so as to attenuate or
to destroy the vortex. This again provides a measure of
control of the efficiency of the lifting body.
It is envisaged that the baffle 11 and the spoiler 12 would be
able to be used independently of one another, or together in
the same embodiment, and for the sake of simplicity they have
been shown in FIG. 7 as both being present. In FIG. 7 the
shroud 3 is no longer concentric with the rotor 2 but has its
end points 3b and 3c closer to the path of the vanes 5 of the
rotor than is the shroud at a point between them (for example
where the spoiler 12 is mounted), and this helps to generate
the vortex provided either there is no spoiler 12 present or
that spoiler has been moved anticlockwise from the FIG. 7
position to lie flush with the shroud 3.
FIG. 8 again has the shroud 3 non-concentric between the
points 3b and 3c, in order to establish the vortex, but in
this case there is a forward extension 3d of the shroud from
the point 3b and substantially concentric with the rotor vane
path.
On the other hand, FIG. 9 lacks this forward extension 3d and
provides a more open construction which, for a given speed of
rotation of the crossflow rotor 2, is able to admit and
discharge a greater volume flow rate of air than with the FIG.
8 embodiment.
FIG. 10 provides for a larger air inlet area and relies on a
bulge 1a of the lifting body 1 to define the necessary
non-concentric portion, even though in this case there is no
shroud as such. The formation of the vortex results from the
cut away configuration of the part of the lifting body 1
facing the crossflow rotor 2. Towards the lower leading part
1b of the lifting body 1 is a concave section which, together
with guide vanes 15, defines an inlet path or nozzle to guide
incident air into the rotor blade path and hence to establish
better the vortex and the flow through the crossflow rotor.
FIG. 11 again uses a bulge 1a, but this time positioned much
higher on the lifting body 1 so that the air inlet "nozzles"
defined by the convex surface of the lifting body 1 between
bulge 1a and front 1b; also the two guide vanes 15 are much
longer than in the FIG. 10 embodiment. This appears to give
the most open configuration of the rotor, allowing the best
possible flow conditions through the rotor.
FIGS. 12a and 12b illustrate an alternative form of the
lifting body 1 in which the inlet configuration can be altered
in flight to control the efficiency of the lifting body. FIG.
12a shows a set of four straight inlet guide vanes 17,
pivotable about their respective shafts 18, between the open
position shown in FIG. 12a and a closed position shown in FIG.
12b. The lifting body 1 does have a vestige of the shroud 3,
and it is possible to liken the inlet guide vanes 17 in their
FIG. 12a position to the inlet guide vanes 15 of FIGS. 10 and
11, and in their closed (12b) position to the shroud extension
3d of FIG. 8 or the shrouds 3 of FIGS. 6 and 7.
Although only FIGS. 7 and 10 illustrate camber of the lifting
wing body by means of a concave underside, it would of course
be appreciated that any of the embodiments shown may have such
a concave underside and/or a convex upper surface (6 in FIG.
1) to impart camber to the body.
Although the above description is based on a lifting member
for an aircraft, there are various other possibilities. It may
be that the device may have hydrodynamic applications, for
example in propelling boats using such a member as an immersed
keel or a hydrofoil wing.
In the aerodynamic field, the device may also be used for
propelling and controlling boats using the aerodynamic effect
rather than the hydrodynamic thrust of an immersed screw.
When used as the lifting wing for an aircraft, as mentioned
above it is possible for other thrust means to be omitted and
for the airflow generated by the rotor to provide all of both
thrust and lift. With reference to the (model) aircraft
depicted in FIG. 3, the drive motor for the rotors may operate
such that pushing the control column to the left (port) will
cause the rotor(s) of the starboard side lift-generating
member to rotate faster than the rotor(s) on the port side,
giving controllable roll and yaw to allow a balanced banked
turn to be executed. There may still be a rudder to provide
for the yaw, in which case this will be connected to the
pilot's foot pedals. There may equally be some interconnection
between the foot pedals and the speed differential mechanism,
so that at high rotor powers there will be less rudder
deflection needed for a given degree of yaw.
The elevator may be dispensed with but is more likely to be
present and controlled by a trim lever rather than by rearward
movement of the control column.
An aircraft incorporating such a lifting member will provide
adequate degrees of lift at low speeds and will therefore have
good STOL characteristics. The noise generated will be much
lower than that of a conventional jet or propeller-driven
machine. Because a large quantity of air is moving at a very
low speed through the rotor the rotor blades themselves move
slower than a conventional driving propeller so the blade
noise can be much lower than that of a propeller.
In order to reduce noise levels still further it may be
advantageous to shape the rotor vanes 5 so as to follow the
path of a very coarse pitch helix about the axis of rotation
of the shaft 4 so that they are nearly, but not quite,
straight. This may avoid any tendency for a sudden noise to be
created as each blade enters the trough at the trailing edge
of the trough because whereas a straight blade parallel to
that trough trailing edge will pass the trough edge at a
single instant, a slightly helical blade will not but will
instead have a point of approach which travels along the span
of the wing body 1 (rather like the shearing action of the
rotary blades of a cylinder mower passing a stationary
straight blade).
An aeroplane incorporating such a lifting member will, for
example, be applicable to sport and tourism in that an
open-cockpit aircraft can be constructed to fly slowly and
quietly using such a system. Equally, it can be useful for
carrying loads over short distances (in view of its low flying
speed). Furthermore, it can be useful for crop-dusting.
For passenger transport it may be particularly convenient to
use this as a shuttle craft between nearby airports.
In the event of engine failure the spanwise rotors may be
driven in autorotation by the airflow, so that recovery from a
loss of lift would require simply an increase in forward
speed, in a dive, and then, on nearing the ground, flattening
out the flight path to exploit the kinetic energy of the rotor
somewhat like the case of engine-off autorotation of a
helicopter.