rexresearch.com


Victor FISCHER

Reciprocating Engine



http://u2.lege.net/newebmasters.com__freeenergy/external_links_from_phact.org/z/fischer.htm

FISCHER ENERGY, INC.

POWER GENERATION FOR THE NEXT 100 YEARS

Email: FischerEnergyInc@worldnet.att.net

BASIC STATEMENTS ON THE SECOND LAW OF THERMODYNAMICS AS IT RELATES TO THE FISCHER CYCLE ENGINE.

A. IS THE SECOND LAW OF THERMODYNAMICS BEING VIOLATED?

1. The findings of Joule and others led Rudolf Clausius, a German physicist, to state in 1850 that: "In any process, energy can be changed from one form to another (including heat and work), but it is never created or destroyed." This is the First Law of Thermodynamics. The Second Law of Thermodynamics is stated in different ways by various authors. For the purpose of this report, the following statement by Rudolf Clausius is selected: "It is impossible for a self-acting machine, unaided by external agency, to convey heat from a body at one temperature to another body at a higher temperature." The Second Law of Thermodynamics is not capable of specific proof, but is axiomatic. It follows from the Second Law that no heat engine can convert an equal or greater useful power energy from a lesser heat energy source.

2. All Perpetual Motion Machines violate the Second Law of Thermodynamics, and they also, do not produce useful power or work. Thermodynamic Academicians describe the Carnot Cycle Engine (Sadi Carnot in 1824) as the "Ideal Engine." The Carnot Cycle Engine is primarily based on the defunct and extinct Caloric Theory of Heat. In 1738, Daniel Bernoulli describe the Caloric Theory of Heat as follows: "That heat was matter and an imponderable fluid, which readily flowed from a body of high temperature to one of lower temperature." The downfall of the Caloric Theory of Heat was initiated by Sir Benjamin Thompson, Count Rumford in 1798. Unlike the Perpetual Motion Machines, the Carnot Cycle Engine does not violate the Second Law of Thermodynamics. But, a tangible mechanical Carnot Cycle Engine is very much like all Perpetual Motion Machines, since they both produce no useful power or work. The reciprocating steam locomotive engine and the Fischer Cycle Engine are neither Perpetual Motion Machines nor Carnot Cycle Engines, because they both do not violate the Second Law of Thermodynamics, and they both produce useful power and work.

3. The U.S. Patent Office's Primary Examiner, Mr. Allen M. Ostrager initially rejected the Australian Patent Application for the Fischer Cycle Engine because he thought, "...it violated the Second Law of Thermodynamics." Dr. Martin G. Horner, Ph.D. (OXFORD) (Chemistry & Patent Law), Patent Attorney, and the author of the original Australian Fischer Cycle Engine Patents, was able to demonstrate, from his personal observations and experiences, to the satisfaction of the U.S. Patent Office that the Fischer Cycle Engine did produce useful work, and that it did not violate the Second Law of Thermodynamics. Since that first and only rejection, the U.S. Office of Patents and Trademarks has registered five U.S. Patents pertaining to the Fischer Cycle Engine research and development.

B. THE STEAM ENGINE VS. THE FISCHER CYCLE ENGINE.

1. The reciprocating steam engine is an external heat source and an external vaporization engine. Its steam vapor is produced in an external steam boiler, and the boiler's steam vapor pressure is directly applied to the top surface of the reciprocating steam engine's drive piston to produce power and work.

2. The Fischer Cycle Engine is an external heat source and an internal vaporization engine. Its steam vapor is produced inside the engine's cylinder after the high pressurized and high temperature water, in the liquid state, is directly applied to the top of the engine's drive piston. Before the liquid water is injected into the cylinder (similar to injection of fuel into a diesel engine), the water is first pressurized to a pressure (i.e., 3,100 psig), which is higher than the vapor pressure (i.e., 3,075 psig) of the water at an operating temperature of 700°F within its liquid-to-gas heat exchanger. The pressurized heated liquid water contained within the heat exchanger is directly applied to the top surface of the piston at the top of the piston's stroke in the engine's cylinder. The 3,100 psig liquid water pressure initially applies a hydraulic force to the top surface of the piston to produce work, which is analogous to the reciprocating steam locomotive engine, except that the boiler pressure of a steam locomotive is only about 125 to 250 psig.

3. After a steam engine boiler's steam pressure moves the piston throughout the piston's stroke, the steam is then discharged at the bottom of the piston's stroke as 100 percent steam vapor. This steam vapor is then transferred to a steam condenser, where the steam vapor is transformed into liquid water, to be recycled to the steam boiler. During this liquefying process, all of the steam's Latent Heat of Vaporization (70% to 80% of the initial fuel's heat energy) is wastefully discharged into the atmosphere.

4. In contrast, only about ten percent (10%) of the liquid water mass vaporizes into steam throughout the piston stoke. Therefore, nearly all of the liquid water mass that is injected into the Fischer Cycle Engine’s cylinder is discharged as liquid, to be recycled. This liquid water is returned to the water make-up pump, and is repressurized and reheated to the operating pressure and temperature for another cycle. The Fischer Cycle Engine is significant because it doesn't require licensed steam engineers nor costly and hazardous steam boilers nor wastefully release essential volumes of fresh water and heat energy into the atmosphere, as do the steam engines' large cooling towers.  

Rebuttal :

http://www.phact.org/e/skeptic/frenfaq.htm

PhACT-FAQ on Heat Based Free Energy Prepared by Tom Napier



http://www.ahealedplanet.net/energy1.htm#ventura

Making a Run at Alternative and Free Energy

By

Wade Frazier

... In Boston, although Dennis [ Lee ] got the red carpet treatment from New England’s most powerful electric executive, we experienced a media blackout and other fun.  I tied into talent and money with Mr. Professor and others in my hometown of Ventura, and we moved there in the summer of 1987.  In late 1987, Dennis found the program that worked, and the rocket ship that he built in Seattle was taking off once more.  We were building a prototype of Mr. Mentor’s hydraulic heat engine, to try developing a free energy machine.  On New Year’s Day, 1988, we became involved with another hydraulic heat engine, invented by Victor Fischer.  Unlike Mr. Mentor’s idea, Fischer had already built and run his hydraulic heat engines, in Australia, spending millions of dollars in development.  Fischer’s and Mr. Mentor’s hydraulic heat engines were similar in concept, and Fischer’s had already been built, so we abandoned Mr. Mentor’s idea to try building one of Fischer’s engines on a scale small enough to power a home.  It is incredible that both hydraulic heat engines came to Dennis a few months apart.

When Mr. Mentor invented his engine at a stoplight, he was not trying to make a free energy machine or defeat the second law of thermodynamics.  He was just designing the best engine for powering a car.  Fischer, however, was taking on Carnot head on.  About the only “inside” information I have about Fischer’s engine was hearing him talk about it for about five minutes, soon after he came aboard in Ventura.  He said that in Carnot’s seminal work, he assumed an ideal gas in his ideal heat engine.  Carnot then extrapolated his logic with his ideal gas heat engine to cover all heat engines, and Fischer said that that was where Carnot made his fatal error, and that liquid heat engines were ignored ever since.  It harkens back to the notion that Carnot’s theory may have owed the steam engine more than the steam engine owed thermodynamics.  Fischer’s hydraulic heat engine challenged Carnot’s assumption, and also the classical interpretation of the second law of thermodynamics.  Fischer thought, like Mr. Mentor did, that a hydraulic heat engine, combined with Dennis’ LamCo-style panels, might have a chance at making free energy.  It was not something that Dennis dreamed up.  Fischer and Mr. Mentor are technical and scientific heavyweights, not fast-talking promoters.  Fischer helped write thermodynamics textbooks, and he said that thermodynamics textbooks are, in large measure, expedient rubbish.  What Fischer said sounded a lot like describing the expedient fairy tales that students are given by microbiology textbooks regarding Pasteur and the spontaneous generation theory.  The data from Fischer’s first prototype had it coming closer to Carnot’s ideal than any other heat engine ever had.

The main issue was that in Fischer’s engine, only a percent or two of the working fluid ever became a gas, so far less entropy was created in the process, which made the efficiency rise dramatically.  With both Fischer’s and Mr. Mentor’s engines, they do not need cooled condensers, which was what Watt’s engine was all about.  That is a formidable mindbender for physicists and engineers to ponder.  No more bodies of water would need to be heated up to cool down working fluids, as well as many subtle advantages.  It is a radical new direction in heat engine technology, which could spell the end of the many environmentally destructive methods of today’s heat engines.

Even if hydraulic heat engines could not provide free energy, it would be the first new heat engine cycle in a century, and could possibly sweep aside nearly all the others.  Even without free energy, its potential is countless billions of dollars, and a great reduction in environmental harm.

Two days after Dennis publicly announced that Fischer had come aboard, and we were going to try making a free energy machine with his engine, we were raided.  Below are some images from the raid...

When Dennis got out of prison in the mid-1990s, he went right back at trying to make a free energy machine using hydraulic heat engines, and was involved again with Fischer in the late 1990s.  I could only stand back in awe, as I watched Dennis twice take his prison clothing off and immediately go for it again. ...


http://www.phact.org/e/dennis18.html

Malcolm's review of the theory for Dennis Lee's free energy machine

A fellow from the other side of the planet took a scientific look at a page posted by one of the most loyal men to Dennis

The author of this material wishes people to know that this is personal opinions, that he has not to date examined Mr Lee's writings on his "work" and that he currently doesn't have access to the "Adams patent" to reference page numbers etc.

Hello Eric, Here is my first post on the topic in. Sorry about repeating all the text but I will comment where appropriate..... Now on with heat engines. Let's look at the physics again of the steam turbines used in electricity production. They use water as the working fluid. Water gets heated up, boiled into steam, then heated beyond the boiling point (called superheating in thermodynamics) to 2,000 F. Then the superheated steam is forced through turbines, producing electricity. Then the steam is cooled down by running it through heat exchangers that are in contact with a body of water, the steam condenses back into liquid, then it is piped back to the boiler to begin the process again. As we saw on our stove-top demonstration, a whole lot of energy goes into making the water boil. In fact the energy that goes into breaking the hydrogen bonds and allowing the water to lift off as steam is the equivalent to about 970 F. (I'm quoting from memory. That may be a few degrees off, but not many.) of water temperature increase. Today's most modern turbines achieve 2,300 F. boiler temperatures, and lets give our hypothetical turbine here the benefit of the doubt, and say it gets that hot. When I looked into it, the specific heat of steam was about 45% of liquid water. Specific heat is a measure of the degrees of temperature a substance will increase versus how much heat it absorbs. Heat and temperature are not the same thing. Heat is a grand total measurement of energy, temperature is a measure of one aspect of heat. If something is at a certain temperature, you have to know how much of it there is, and what its specific heat to find out how much heat it contains. Temperature is one third of the equation. So when you heat up water from 60 F, let's say (the temperature of our ubiquitous body of water),and we heat it up to 2,300 F., how much heat energy did it absorb? Let's calculate it. The specific heat of water is 1.0, and the specific heat of steam in 0.45, and 970 effective degrees go into getting the water beyond the boiling point. (And again, these are rough numbers, but I believe they are materially correct, correct enough to make my point.) The energy to get to a boil is 152 units of heat (212-60). The energy of boiling the water from 212 F. is 970 units. The energy of getting the steam up to 2,300 F. is 940 units ((2300-212) x 0.45) So the units of energy to get the 2,300 F. steam is 2062 units, and 970 of them, or 47% of them, are spent on getting the water to boil and turn to steam. In a steam turbine process there is no condensation of the water in the turbine, the steam is condensed after the turbine. So if the energy that went into the boiling the water was still in the steam when it left the (prime mover) turbine, that energy could not be used by the prime mover. And the fact that the steam had not condensed in the turbine means that the latent heat of vaporization could not be used. So with a steam turbine at those temperatures, it would be impossible to get more than a 53% thermal efficiency, because you are throwing away the latent heat of vaporization in getting the water to turn to steam. The Carnot formula says that a thermal efficiency of those temperatures could yield an efficiency of 81%, but because our working fluid is water, we could never get beyond 53%. That is a real world limitation introduced by our choice of water as our working fluid, the most commonly used working fluid next to air. And in reality we get about 35% efficiency, which means that almost three quarters of our thermal inefficiency is due to the fact that we are boiling water to use as our working fluid, and if you deduct the 47% from the 81%, it is saying that about 100% of our inefficiency is due to the latent heat of water. Dear experts: this is a CPA writing this stuff, and I may be making a mistake or two in this presentation. I solicit any correcting information or theories to this presentation. A part of me resents that I am the one doing this stuff. Vastly more qualified people could do this far more justice than I can, but they are silent for one reason or another, fear by no means the least of them. Here is where we start looking more closely....

And now here comes the Fischer cycle, which might end up upending Carnot, thermodynamics and the rest. Victor Fischer is a brilliant man who worked in a number of fields, including cybernetics, which partly a study of the human brain. He developed some extremely sophisticated computer programs, and in his spare time he decided to try solving a problem with it. And here we will do a limited review of thermodynamic cycles.

The Rankine cycle of boiling water, sending it through a turbine, condensing it, and sending it back to the boiler, is a classic cycle, and variations of it are used in making electricity, powering ships, and other applications. The Otto cycle is what powers your auto, pun intended. It is run by the explosion and exhaustion of hot gases. The Stirling cycle heats and compresses gases. Jet engines work off of other cycles, intaking, combusting, and exhausting gases. That is by no means an exhaustive list of all the thermodynamic cycles that have ever been invented, but those comprise the major ones, and you will find what they all have in common is a gas powering the prime mover. Carnot's famous ideal engine was supposed to be independent of what the working fluid was. When Carnot was writing his paper, though, the only kind of engines he had seen were steam engines. And he began his theoretical ideal engine working with an ideal gas. An ideal gas is merely a gas that is sufficiently raised in temperature above its boiling point to have the atoms or molecules all act like an "ideal" gas, which means that the molecules bounce off of each other, do not cling together and begin to form a liquid, and other properties. In Carnot's seminal work he uses his ideal gas as the working fluid for his ideal engine, then he uses mathematical logic to extrapolate that logic to all other working fluids. I have seen the math on that one, and I certainly couldn't see the flaw, as if I could.

So Victor Fischer set out deliberately to see if he could find a new thermodynamic cycle. He built a program to do the analysis of all the known thermodynamic cycles, and began loading data from all of them. So the story goes, it didn't take very long before a new cycle suggested itself from the data analysis: a hydraulic heat engine. What is a hydraulic heat engine? you ask. It is an engine that uses a liquid to drive its prime mover. If you look at those other cycles, a gas drives them all. OK, so how does a Fischer (named after his grandfather) cycle work? Here is the bare bones description. In the ones I have seen built, water was the working fluid, but doesn't have to be. In this cycle, the water goes into a boiler and gets heated. But instead of being able to expand and become steam when it boils, this boiler contains the water under pressure, so you have hot water under extreme pressure. The critical temperature of water is a little over 700 F., which means that if water gets heated to that temperature, there is no force known to man to keep it in its liquid state, it will turn to gas. So the Fischer cycle couldn't get a temperature above 700 F. In fact this is a prime mover in volcanoes in my opinion. So the water is in this highly pressurized (up to 3,000 psi) environment, at a high temperature (assume 700 F, here), and it goes down a pipe, to enter a cylinder where it makes contact with a piston head. Then the intake valve is shut and you have 700 F., 3,000 psi water all alone in a cylinder, pressing against a piston head. The piston head is the prime mover of this cycle. The piston head naturally gives backward under the tremendous pressure exerted by the water. As the piston moves back, now there is more room in the cylinder, and not all the water can remain liquid, some of it is forced to vaporize, and as the piston is moving back, the expanding space will by definition lower the pressure in the cylinder. So you have 700 F. water at 3,000 psi being given the opportunity to vaporize, and here is where it gets interesting. If you study water at all, you find it to be a remarkable substance. It has a boiling point far above substances with a similar molecular weight, and the reason is the hydrogen bonding. Hydrogen bonding (in the case of water) is where the hydrogen atom of a water molecule will also be attracted to the oxygen atom of a neighboring water molecule, linking the two molecules. This hydrogen bonding is what makes water the miraculous substance that it is. In this situation in the Fischer cycle, these water molecules at 700 F. and 3,000 psi behave unusually, according to Fischer's theories (which appear to be supported by the data). When the head of the piston moves back, some of the water has to vaporize. But it apparently doesn't vaporize into monomolecular water vapor, but the water forms huge metamolecules, bonded at the hydrogen bonds. This is critical to understanding the thermal efficiencies attainable with the Fischer cycle. As the piston continues its travel down the cylinder, there is work being performed, as the energy in the water gets transferred to the piston and the mechanisms it is attached to. The pressure keeps going down, and so does the temperature. The temperature is going down for two main reasons. One is that the work is being performed, taking energy from the water, the other is as the water vaporizes, that latent heat of vaporization effect kicks in, cooling off the water. When the piston reaches the end of its stroke, what is left in the cylinder is one atmosphere pressure water (about 14 psi), which falls out a hole in the bottom of the cylinder, which goes straight back into the boiler. This cycle does not need a cooled condenser. Okay! Now it is important to note that _any_ pressure relief results in water flashing to steam. So we have a vessel containing superheated water under great pressure at 700 degrees. If we now let some flow to the piston chamber, is there not pressure relief occuring in the heating vessel? To avoid this, there must be either water going in at the same pressure (under force note) or the volume of the heating vessel must be reduced by exactly the amount of the water removed (once again with considerable force applied). I presume from the writer's failure to mention this that this is a simple undertaking and requires no expenditure of energy!! Anyone see a problem here? What maintains that pressure as the water flows through to the piston chamber? Presumably we don't want the water flashing to steam in the pipe conveying it. Perhaps this explains why steam is usually used. You see, in allowing steam to flow to the piston under pressure, more steam is formed in the heating chamber to maintain the pressure. Nothing else needs to be altered (boiler volume, water inflow etc.). Now I can see physicists, engineers, and thermodynamicists jumping up at this point, yelling, "That's impossible!"

A number of Fischer cycle engines have been built and run, I have seen them myself in action, and they don't need external condensers. The implications of what I have just stated are awesome. If this was true, you could just about sweep aside every other thermodynamic cycle, it would put them all to shame. Not only are there all sorts of practical aspects of an engine like this that make it vastly superior to every other steam engine ever made (No lake nearby to cool the working fluid, much lower working temperatures, making much easier fabrication and operation of the engines, etc.), there are some crucial thermodynamic aspects that I don't fully understand, but I will make a stab at presenting it. The science of thermodynamics today is more than heat engines and heat pumps, it is the science of the flow of energy, in all energy systems. It still has to do with temperatures and motion though. There is a concept that has been presented, but not given its scientific name yet. It is the concept known as entropy. When Carnot observed the hot always went to cold and wrote about it, that is considered the first Western conceptualization of the entropy concept. This observation became the Second Law of Thermodynamics. Entropy is another term for disorder. The Law states that for any closed system, disorder always increases and never decreases. It is also related to temperatures finding equilibrium, hot going to cold and the two bodies staying at the same temperature, like the soup in your kitchen. We now have to start imagining the atoms and molecules of the substances that are banging around in heat engine and heat pump processes. Let's start with a block of ice, or a grain of salt. When substances are solid, particularly when they in their pure form (all of the same element or molecule), like a grain of salt or an ice cube, the atoms or molecules will arrange themselves in a very orderly fashion. That is because of the geometry of the atoms or molecules themselves. Salt is a compound of sodium and chloride, one atom of each. If you got a grain of salt under a powerful electron microscope, you might see something like the diagram below, taken from one of my cave man paintings. I won't win any graphics arts contests. And now to what I see as a problem in definitions. Entropy. The arrow of time. The inevitable march from hot to cold. The march from order to disorder?? Let's have a think about that. I would consider that an ice crystal displays considerably more order than water, and it is colder. Agree? What about a salt (NaCl is the author's example mentioned elsewhere). Is there more order in the molten state or the frozen state?

It is clear from statements in the next piece I shall comment on that the author is confused and knows it but can't see where the problem is. I suggest it is in the definition of order and disorder. In this piece (above), the author states that "Entropy is another term for disorder. The Law states that for any closed system, disorder always increases and never decreases". But in the next piece, the author contradicts this completely and claims that entropy increases as the system is heated.

More shortly, Malcolm

Hello Eric, Continuing..... What I hope comes across from that image is the sense of orderliness the salt grain has. The atoms are aligning up with each other according to the electrical charges of their atoms. In salt, the sodium atom basically gives the atom of its outermost electron shell (A very long class that I won't get into here.) and allows the chlorine atom to fill its outermost shell. The sodium atom then takes on a positive charge because it has one less negatively charged electron in it, making it have one more positively charged proton than it has electrons. The chlorine atom now has an extra electron, and therefore takes on a negative charge. The two atoms are attracted to each other, but the sodium atom is also attracted to the chlorine atom of the neighboring salt molecule, so there is an alignment of the molecules so the positive/negative attractions get fulfilled. And that is how the geometry of the molecules gets set. So salt in its solid state has a very orderly arrangement of its molecules. That arrangement is called a lattice. And that lattice is uniform through and through the salt grain, and that is why if you look at a grain of salt under a magnifying glass, you will find it to have a very definite geometric shape, which is the big version of what the lattice looks like. All crystals have their shapes based on how the molecules are aligning along their electric charges and atomic geometry. Here we have a statement that a crystal of salt is more orderly than its heated molten counterpart. Fair enough. Ice is the same way. But a water molecule isn't shaped as > simply as a salt molecule. Snowflakes are six-sided, which also reflects that microscopic geometry of how the molecules align along their hydrogen bonds. The two hydrogen atoms bond to the oxygen atom at the ends, and a water molecule is shaped kind of like a triangle. And here is a close-up of the hydrogen-bonding, and the hydrogen atoms are attracted to the oxygen atoms of neighboring molecules. I have drawn the water lattice (ice) with space between the molecules due to the way the geometry lines up between the molecules. My drawing is an exaggeration of the way it really is with ice. Ice, we know is less dense than liquid water, which is why it floats. And the reason is literally given in my diagram, as the lattices create space between them as the hydrogen bonds dictate how the molecules align. When you melt ice, or salt (At a very high temperature, don't try that at home!), what is happening is that the increased temperature also increases the molecular vibration, and eventually the vibration becomes so great that some of the hydrogen bonds break. The lattice partially fractures, and the crystal shape collapses. A liquid is a jumble of partially broken lattices. I am making a guess here, trying to remember my chemistry classes of twenty years ago, but I think in liquid water at room temperature, at least three-quarters of the hydrogen bonds are intact. Only some of them have collapsed. The crystalline state is a very orderly one, the liquid state is only slightly less orderly. But in the gaseous state, the molecules are no longer bonded to each other at all, but flying around in a vast space, colliding with each other once in awhile. This takes us back to that concept known as entropy. And what is it? Disorder. And as the lattice of the ice crystal gives way to the partial lattices (as it gets warm enough to melt), entropy is increased. What is called the latent heat of the phase change can be thought of as an increase in entropy. In fact it can be seen as a pure increase in entropy. So we now have an increase in entropy when things are heated?? It is clear that the writer's expressed uncertainty lies with definitions of order and disorder and equating both those things to entropy and with temperature. We cannot have it both ways. Now here is where I start getting a little uncertain about > what I am writing about. It seems that when temperature increases, the temperature increase is what is called a useful increase in available energy (to run a heat engine, etc.), and the increase in the disorder of the molecules is known as entropy, and is energy that went to molecular vibration and disorder, and is considered an unrecoverable waste of useful energy, but it is unavoidable. So when the water in the pot in the kitchen boils, all of that energy going into boiling is increasing the entropy of the water. And that seems to make sense, as the entropy is called unrecoverable energy, dissipated to disorder. That is patently false. The writer is claiming that we cannot recover the heat from heated water in effect. Well I certainly can. If I put a pot into a sink of heated water, I can heat my pot and cool the water. I can then lift the heated pot from the water. I have indeed extracted some of that energy. And as I showed in the steam turbine, the energy that went into turning the water into steam is the main unrecoverable portion of the energy that went into the boiler, as the water is still in its gaseous state when it comes out of the turbine. If the turbine exhausted liquid water, then you might be able to say that the latent heat of vaporization (entropy) was recovered. Let's now go back to the cylinder in the Fischer engine, as the piston is getting driven down by the expanding water. When the expanding water is forced to vaporize, Fischer has theorized that the water is not vaporizing into monomolecular steam, but the hydrogen bonds are staying largely intact, and the steam is in the form of huge metamolecules, bonded at the hydrogen bonds. Fisher named this phenomena Fischer Steam. So the piston keeps traveling backward, and Fischer steam gets created, and work is being performed. That is fair enough, but none of this overcomes the problems of maintaining pressure in the heating vessel. If you think of the metamolecules in your mind's eye, you can see that they are much more orderly than monomolecular steam, which means there is less entropy being created, which also means that more of the energy being expended is going to work, and less to entropy. I think my comments above have shown the obvious confusion in these statements. Fischer says that only about 1% of the water that goes into that cylinder vaporized in that piston cycle. So more of the energy contained in that hot, pressurized water gets converted to work, and less gets wasted in creating entropy. That is why it doesn't need a cooled condenser to take the entropy away: it didn't create much in the first place. There, I think I did it some justice, though I'm sure Fischer or others could have explained it much better, and I think I tripped over myself somewhere in there, but not a major blunder, I hope.

So you can maybe now better see how the Fischer engine will have a much higher thermal efficiency than a conventional steam turbine. How much better? I'm not sure, though I saw some of Fischer's numbers. I believe Fischer has stated a thermal efficiency of one third better than the best steam engines of today. But also remember that his engine has a maximum temperature of 700 F. if water is used as the working fluid, and the best turbines operate at 2,300 F. I know the first crude prototype built by Fischer achieved a thermal efficiency of 28%, or was it 30%? I can't remember exactly. At a 700 F. boiler temperature and exhausting to a 70 F. "condenser," the Carnot numbers are 54% maximum, of which 28% is 51%. Over half the Carnot ideal with the first prototype, closer than trillions of dollars of gas engine design and manufacturing got. Not bad. The latest patent I know of by Fischer (He has patented his engine internationally, so the U.S. government can't steal/suppress it, of course invoking national security as a rationale, another time-honored way to bury technology that threatens the corporate status quo.) is U.S. patent number 4,747,271. I have heard Fischer state that he thought his engine wedded to Dennis' heat pump had a chance at making free electricity. But wait, doesn't the Second Law of Thermodynamics say that is impossible? I heard Fischer talking about that once. He went back to Carnot laying awake at night, in his barracks, thinking about his ideal engine. Again, Carnot assumed an ideal gas for his heat engine, then extrapolated that logic to all working fluids. And because stem engines were all he knew, he could be forgiven for not foreseeing liquid heat engines. I believe Fischer said that extrapolation to all working fluids is in error. I agree. BUT, nowhere in this piece can any claim be made that more energy can be extracted than was put in to heating the water in the first place. > Boy, I sure don't know. I am not about to take on the > Second Law of Thermodynamics, not me. Maybe someday Fischer can tell the world his theories in front of the blackboard. I am skeptical free energy can be made with Dennis' heat pump and the Fischer heat engine. I am not saying it can't be done, I'm saying that my understanding of thermodynamics doesn't tell me how it can be done. The Fischer heat engine and The Alternative are both very likely quantum leaps in the heat engine and heat pump technology, together worth trillions of dollars in the world marketplace, and should be replacing everything out there, but I will reserve my judgment whether free electricity is possible with them working in tandem. I have seen other giant minds agree with Fischer on these issues, I just haven't had the benefit of them educating me. From my study of science and its history, stranger things have happened than a two hundred year-old "Law" getting overturned. So I won't laugh at Fischer, and so shouldn't anybody that calls themselves scientifically-minded. If you are truly scientifically-minded, the next step might be investigating this further. Do I think a Dennis Lee heat pump and a Fischer cycle engine are going to be the energy technologies of the 21st century? No. Do I think that because I don't think they are viable? No. They are both quantum leaps beyond what is on today's market in heat engines and heat pumps, of that I have no doubt. But if Dennis and our project can survive the forces of suppression that are being directed at him and so many others, it will open the door for many other suppressed technologies, some of which are hard to believe. A casual review of suppressed free energy brings up name after name, like T. Henry Moray, an American who had an undisputed free energy device, one tested many times by scientists from around the world, disassembled, tested miles from any power source, etc. President Franklin Roosevelt even ordered the Rural Electrification Administration to work with Moray, and then came the Big Boy energy intrigues, people began getting shot at, Moray even had gunfights in his laboratory with agents of the dark ones, and eventually a hammer-swinging agent destroyed his prototype, and Moray is one of a long line of pioneers that have met similar fates. Heat engines and heat pumps are primitive today, and if the forces of darkness are ever removed from their coveted seats of power, humanity will enjoy technologies that we can barely imagine today. Nothing Moray ever produced has come to light as meeting claims of free energy, or even energy extraction e.g. from the Schumann cavity. I am currently examining (with a friend) quantifying possible extractible energy from the cavity, but our methods are totally different to anything attributed to Moray and moreover, at this stage we have no idea how large a collector might have to be to extract, say, 1kW on a continuous basis. As this is the subject of ongoing research I will say no more, but you can be sure that nothing we do will violate known and tested laws of physics. The rest of this post is irrelevant to the discussion. Malcolm


US Patent  4426847
Reciprocating Heat Engine

January 24, 1984

Abstract

A reciprocating external combustion engine wherein energy is supplied to a working end space of the engine by direct injection into the cylinder of liquid water at a high temperature and pressure. The water acts as a heat-transfer medium. Some of the liquid water spontaneously vaporizes on injection, driving the piston. Liquid water is exhausted from the cylinder and recycled to an external heat exchanger for reheating prior to reinjection. The engine is capable of a thermal efficiency greater than that of the Rankine cycle.

Assignee:  Thermal Systems Limited (Cayman Islands, IO)

Current U.S. Class:  60/514 ; 60/670; 60/689
Current International Class:  F02F 7/00 (20060101); F02B 47/02 (20060101); F02B 47/00 (20060101); F01B 29/04 (20060101); F01K 21/00 (20060101); F01B 29/00 (20060101); F01K 21/02 (20060101); F01K 007/36 ()
Field of Search:  60/508,511,514,516,643,645,651,670,671,689 122/249

Description

The present invention relates to a reciprocating external combustion engine, i.e., an engine of the type having a cylinder or cylinders whose reciprocating motion provides a source of power and wherein the heat powering the engine is generated externally of the cylinder. In particular, the invention provides a novel operating cycle.

Many attempts have been made to produce an engine which combines high thermal efficiency in terms of converting applied heat energy into useful work, with acceptable power to weight and power to volume ratios for the engine. The internal combustion engine has a good power to weight ratio but a relatively low thermal efficiency. The diesel engine has the best thermal efficiency (up to around 40 percent). Thermodynamically more efficient engines based on the Carnot, Stirling and Ericsson cycles have been built but these have not in general been commercial successes, largely on account of the problem of providing a small and efficient heat exchanger enabling the working gas to become quickly and efficiently heated by the external heat source.

The steam engine is a well known form of external combustion engine but its power to weight ratio is generally low, owing to its requiring a separate steam boiler and condenser. The steam engine generally uses dried steam or other dry vapor as the working fluid. Moreover, the efficiency of the steam engine is restricted by the limitations of the Rankine cycle.

The present invention provides a reciprocating external combustion engine wherein energy is supplied to a working end space of the engine by means of a heat transfer medium which comprises.

The external combustion engine of this invention includes a cylinder which may comprise a single doubleacting cylinder having a piston therein defining on one side of the piston (usually the rod-end side) a compressor end space and on the other side of the piston a working end space. However, this would not preclude the use of mechanical equivalents to this arrangement, for example the use of two cylinders coupled to a common shaft, one of the cylinders providing by its piston the compressor end space and the other cylinder providing with its separate piston the working end space.

The engine may also comprise a pair of opposed pistons reciprocatable within a common cylinder, such that the working end space is defined by the two piston crowns and the cylinder walls.

Various inlet and outlet valves of conventional construction are provided as necessary, and may be in the form of check valves or may be driven by means of a cam operated by the engine. However, this would not preclude the absence of valves, for example the piston may be arranged to open and close outlet ports as in a two-stroke engine.

An injector is also provided for injecting a preheated liquid heat-transfer medium into the working space. The purpose of the injected liquid medium is to enable heat transfer from a heat exchanger to the working end space, and so to increase the pressure of vapour in the working space.

During operation of the engine the working end space will contain a certain residual amount of heat-transfer medium vapor and usually some liquid medium. Heat-transfer medium will vaporize at least partially in the working space under the engine working conditions after injection.

To avoid confusion the following terms as used herein will be clarified. The heat-transfer medium may be present in its liquid, or vapor state. The term wet vapor is used to mean that the injected liquid is present in both its liquid state (e.g. as droplets) and in its vapor state simultaneously.

Preferably, the liquid medium is heated by means of a fuel-burner in a compact heat exchanger, for example a coil of narrow bore tubing, to a high pressure and high temperature (i.e. to a high internal energy). Since such narrow bore tubing can withstand great pressures, it is usually possible to heat the liquid up to its critical point.

The heat exchanger preferably comprises a burner for heating the liquid medium. Preferably, a compressor is provided for feeding combustion gas, usually air, to the burner. However a compressor is not essential.

The compressor may be provided by a compressor end space of the cylinder. However, a separate rotary or reciprocating compressor might be provided, such as a vane or turbine compressor. For special applications where the rate of heat transfer is to be high, it may be preferred to heat the medium to a temperature and pressure above its critical point. The hot pressurized liquid is then injected into the working space. Internal energy of the heat-transfer medium is rapidly transferred on injection from the hot liquid droplets to the working space as liquid vaporizes, thereby increasing the pressure. The vapor in the working end space of the cylinder expands (usually polytropically, i.e., non-adiabatically) to drive the piston and do work.

The heat-transfer medium is a vaporizable liquid, such as water, some of which flashes to vapor following injection into the working end space. Thus, heat transfer between the hot injected water vapor and the vapor in the working space is very rapid. Therefore, it may be seen that the injected liquid is merely acting as a heat transfer fluid which enables the vapor in the working space to convert internal energy to mechanical work. It is desirable that the heat-transfer medium has a high thermal conductivity in order to maximize heat transfer in the heat exchanger. The medium is preferably selected from water, oil or mixtures thereof. Mixing may occur internally or externally of the working space. It is possible that the working space may contain vaporizable heat-transfer medium, which may be caused to vaporize by injection of heated liquid medium (which itself need not be vaporizable). In order to assist lubrication of the engine, the water may be used as a mixture with an oil e.g. as an emulsion, dispersion or a solution of water and a water-soluble oil.

During operation a residual amount of vapor from vaporization of the heat-transfer medium and usually some liquid, will always be present in the working space. The retention of some residual liquid medium in the working end space after exhaust is desirable for reasons which will appear more clearly later, since it reduces the pressures achieved during the compression stroke. Thus, it may be desirable to construct the cylinder and/or piston such that some liquid medium is retained in the working space after exhaust. Generally this may be achieved by providing appropriate recesses in the piston or cylinder.

The pressure in the working space at bottom dead center (BDC) will generally be greater than atmospheric pressure (1 bar) and it will generally be preferred to depressurize the exhausted medium to substantially 1 bar pressure. The pressure at top dead center (TDC) is determined by the compression ratio. The compression ratio employed may vary widely depending on the particular application of the engine. Thus in some applications a compression ratio as low as 1.5:1 or perhaps lower may be employed. In other applications the compression ratio may be as high as 20:1. The engine preferably has a bore:stroke ratio from 0.5:1 to 1:3.

The present invention is to be distinguished from a steam engine in that the heat-transfer medium is maintained in its liquid form and not allowed to vaporize until it is introduced into the working space. This is in sharp contrast to a steam engine, wherein even if a flash boiler is used, the water is always introduced into the cylinder in the form of steam. In fact, since it is necessary to superheat the steam to remove water droplets in a conventional steam engine, it is not possible to directly flash liquid water into the cylinder of a steam engine since this would give rise to water droplets in the cylinder. However, in the engine according to the present invention, it is preferred that the majority of the water be present in the working space as liquid droplets, since this reduces the amount of recondensation to recover latent heat of vaporization which need occur.

Since the majority of the water is injected and exhausted in the liquid state, there is substantially no entropy increase due to vaporization. In the Rankine cycle this vaporization represents a theoretical limit on the efficiency of a steam engine since work must be performed to recondense the exhausted steam to liquid water. Such complete vaporization is unnecessary in the present invention so that almost all the internal energy lost by the injected liquid water may be converted into useful work. The majority of the heat-transfer medium does not usually change its state. Thus, the theoretical efficiency of the cycle of the present invention is greater than the efficiency of the Rankine steam cycle.

It is necessary that the heated heat-transfer medium be maintained in the liquid state prior to injection. Although this may be achieved by using appropriate sensors to ensure that the temperature at a given pressure never exceeds the liquid boiling point, it has been found that if an orifice of suitable size is connected to the heat exchanger in which the liquid medium is heated and a flow of liquid medium is maintained through the heat exchanger, then the application of heat to the liquid medium does not cause the liquid to boil. Thus, by correct choice of orifice size, complex temperature and pressure sensing devices may be avoided. So long as the orifice provides a pressure drop, the pressure in the heat exchanger will at all times be such that, as the temperature is increased, the pressure of the water in the heat exchanger will also increase and thereby be always below the boiling point. The orifice normally forms part of the injection means through which the liquid medium is injected.

The rate of working of the engine may be controlled by any of several means. It may be controlled by varying the amount of heat transfer medium injected into the cylinder, for example, by using a variable displacement pump. The rate of working of the engine may be controlled by controlling the amount of heat supplied by the burner, for example by controlling the fuel supply to the burner (for a constant liquid volume injection rate).

Usually, the heat-transfer medium is recovered after it has been exhausted from the working space. The exhausted medium will still be somewhat heated and may be recycled again to the heat exchanger so that its internal energy is not lost. In this way, the medium acts merely as a heat transfer fluid and is not substantially used up.

Water is a preferred heat transfer medium. Means may be provided for recovering water produced by combustion in the burner. Thus, it may be possible to avoid any need for make-up water since this will be provided by water from combustion in the burner.

The gas fed to the burner is capable of taking part in the combustion process which occurs in the burner. The gas may be a gas capable of supporting combustion, such as oxygen, air or other oxygen-containing gas, or nitrous oxide. Alternatively, the gas may itself be a combustible gas chosen from all known combustible gases, such as gaseous hydrocarbons, carbon monoxide, or hydrogen.

The fuel burnt in the burner itself may be chosen from known combustible fuels such as gasolines, fuel oils, liquefied or gaseous hydrocarbons, alcohols, wood, coal or coke.

It is in general preferred to use various heat recovery means. Thus, the whole engine may be enclosed in a heat insulating enclosure and be provided with heat exchangers to pick up stray heat and transfer it, for example, to preheat the fuel for the burner. It is also preferred to recover the heat remaining in the burner flue gases and this may be achieved by passing the flue gases through a spray chamber in which a stream of liquid (generally the same liquid medium as that injected into the engine) is sprayed through the flue gases. It is preferred that the liquid medium be sprayed through the flue gases to heat the liquid medium close to its boiling point prior to being passed to the heat exchanger. Moreover, when water is employed, the use of a water spray chamber or a condenser is advantageous in that water from the burner may be condensed out of the flue gases so that it is not necessary to provide make-up water to the engine. Usually exhausted heat-transfer medium includes a proportion of vapor. This vapor may be separated from liquid medium in a trap and fed with combustion gas to the burner, thereby preheating the combustion gas and condensing more of the vapor.

The construction of an engine according to the present invention is considerably simplified in certain respects in comparison with known engines, such as internal combustion engines. Thus, the temperatures encountered in the working space are generally reduced, so that the problems of sealing around the pistons are simplified. It will be appreciated that power may be provided in the engine of the present invention at lower temperatures than, for example, an internal combustion engine. Moreover, the internal combustion engine is less thermally efficient in that means must be provided to cool the cylinders and prevent seizing up.

Moreover, since the temperatures encountered in the engine are relatively low, for example up to 250.degree. C., it is not usually necessary to construct the cylinder of metal. Plastics such as polytetrafluorethylene (PTFE), fiber-reinforced resins, and other plastics used in engineering, are particularly advantageous due to their cheapness and ease of use. Other heat insulating materials such as wood, concrete, glass or ceramics may also be used.

In a preferred embodiment, the hot liquid is injected into one end of the working end space and the outlet is at the other end of the piston stroke. The use of low heat conductivity materials allows the one end of the cylinder to be hot while the outlet region is relatively cool.

Power is usually taken from the engine by means of a piston rod attached to the reciprocating piston. The free end of the piston rod may be connected to an eccentric shaft on a rotary flywheel or by using a crankshaft so as to convert the reciprocating motion into a rotary motion.

Although the invention has been described in relation to an engine having a single cylinder, it will be appreciated that multicylinder engines of two or more cylinders will generally be preferred in practice. Each engine will usually only require a single heat exchanger and spray chamber.

The invention also relates to a method of operating a reciprocating external combustion engine, and to a kit of parts for converting an engine (e.g. an internal combustion engine such as a diesel engine) to an engine according to the present invention.

BRIEF DESCRIPTION OF THE DRAWINGS

Embodiments of the invention will now be described with reference to the accompanying drawings wherein:

FIG. 1 is a schematic view of a first embodiment of external combustion engine according to the present invention;

FIG. 2 is a simplified view of the first embodiment illustrating its principle of operation;

FIG. 3 is a schematic cross-sectional view of a cylinder of the engine;

FIG. 4 is a schematic cross-sectional view of a heat exchanger of the engine;

FIG. 5 is a schematic cross-sectional view of a spray device for cooling flue gas from the burner;

FIG. 6 shows pressure (P) versus volume (V), and temperature (T) versus entropy (S) diagrams for the first embodiment;

FIG. 7 shows for comparison the PV and TS diagrams for the known two-stroke internal combustion engine;

FIG. 8 is a schematic elevation of a second embodiment of the invention;

FIG. 9 is an end view in partial cross-section of FIG. 8; and

FIG. 10 is a flow diagram showing the recycled water circuit.

DESCRIPTION OF THE PREFERRED EMBODIMENTS

In carrying out the invention in one form thereof, as shown in FIG. 1, the external combustion engine comprises a cylinder having piston 6 defining a compressor end space C and a working end space P, a heating coil H of a heat exchanger for heating liquid water under pressure by means of a burner B, an optional preheater PH for preheating fuel for the burner by means of burner flue heat, a spray device S for cooling and washing flue gas from the burner, pump X for feeding water under pressure to the heating coil, a trap T for recovering and separating vapor and liquid water from the exhaust from the working space, and a gas dryer D for recovering liquid water from the combustion gas supplied to the burner.

The external combustion engine works in the following manner. Air A at atmospheric temperature and pressure is inducted into compressor end space C of the cylinder 5 by moving piston 6 to the right (as viewed in FIG. 1) and thereby opening inlet check valve 4. The outlet from the compressor end space C is closed by means of check valve 2. When the piston 6 has reached the extreme right of its travel (top dead center--TDC), inlet valve 4 closes. Continued movement of the reciprocating piston back towards the left causes the air to become compressed.

Compression is continued to provide a sufficient pressure of air in space C for operating the burner B. As the piston approaches BDC, outlet valve 3 opens to exhaust wet vapor from working space P. Check valve 2 is also opened to admit compressed and slightly heated air to the trap T.

Shortly after BDC valves 2 and 3 are closed and as the piston moves toward TDC again, the residual saturated dry water vapor in the working space P is compressed.

Around top dead center, hot pressurized liquid water is injected through valve 1 and associated injector 51 causing a rapid increase in pressure within the cylinder (along line bc in FIG. 6) due to heating of water vapor already in the working space and due to vaporization of some of the injected water. The piston then moves back towards bottom dead center, the working space becoming depressurized and cooled in the process. The expansion of the vapor in the cylinder is represented by the line cd in FIG. 6. Around bottom dead center wet vapor is expelled from the cylinder and passes via valve 3 and cylindrical baffle 10 to the trap T. In the trap T, the liquid water at substantially atmospheric pressure is recovered and recycled to the heating coil H wherein it is pressurized and heated. Make-up water W may be fed to trap T as required.

The dry saturated vapor in trap T is mixed with compressed air from compressor space C, thereby preheating the combustion air which is then passed to the burner B.

An optional dryer D is interposed between the trap T and the burner and liquid condensate is returned along line 7 to the trap.

The preheater PH preheats fuel F which then passes to the burner along line 8. Any water thereby condensed from the flue gases is recycled via line 9 to the pump.

Depending on the compression ratio and the rate of working at the time, the temperature of the injected water may be above or equal to the temperature of the working space just prior to injection.

FIG. 2 emphasizes the fact that the water itself acts principally as a heat transfer fluid which is recycled after use. The only water lost from the system is that carried out in the cooled flue gases from the spray chamber S.

The cycle will now be described in more detail.

Heated water at atmospheric pressure and a temperature of below 100.degree. C. is fed from trap T (and possibly from the spray chamber S and preheater PH) to the pressure pump X whence it is delivered at a high pressure to the heating coil H. The water in the heating coil H is heated to a temperature of around 300.degree. C. and a pressure of around 86 bar. In principle, the water may be heated to any temperature above or below its critical temperature and pressure (220.9 bar and 374.degree. C.), however, the pressure will always be such that at any temperature it will maintain the water in its liquid state.

The working space P contains residual water from the previous stroke, as liquid and vapor. As the piston moves towards TDC, the dry saturated vapor is compressed to around 22 bar and (for a 16:1 compression ratio) to a temperature of around 217.degree. C. at top dead center. Some vaporization of the residual water may occur during compression depending on the piston velocity. This minimizes superheating of the compressed vapor, thereby maintaining the vapor in the dry saturated state.

At TDC, hot pressurized water at around 86 bar and 300.degree. C. is injected into the working end space P via injector 51 and some liquid water immediately flashes to become vapor, thereby atomizing the remaining injected liquid water and rapidly increasing the pressure in the space P. Water injection is continued for around 5 to 25% of the whole stroke. The pressure reached depends on the amount and temperature of the liquid water injected and on how much of that vaporizes.

The rapid rise in pressure causes the piston 6 to move towards BDC again. Around 35.degree. before BDC the exhaust valve 3 opens to exhaust water liquid and water vapor from the space P. The exhaust is passed to the trap T where the liquid water is recovered and then returned to the heating coil H.

While the present invention has been described using a piston compressor in either the same or a different cylinder from the working end space, it will be appreciated that if required any other type of compressor may be used, for example a rotary compressor or fan.

This embodiment allows a particularly simple cylinder construction, such as the one shown in FIG. 3. The relatively low temperatures encountered allow the use of engineering plastics materials in the construction of the cylinder, and indeed such materials have important low heat conductivity advantages.

The cylinder shown in FIG. 3 comprises a uniflow cylinder body 52 having a row of circumferentially arranged ports 53 which constitute the outlet from the working end space P of the cylinder. A cylinder head 54 having the water injector 51 mounted therein is attached to one end of the body 52 and an end plate 55 having therein an inlet 56 and outlet 57 (and respective check valves) is provided for the compressor end space at the other end of the cylinder. A piston 58 and piston rod 59 is provided within the cylinder. The ports 53 are arranged to be uncovered by the piston 58 as the piston approaches the end of its expansion stroke.

It will be appreciated that the end of the cylinder adjacent the injector 51 is at a relatively high temperature, whereas the end of the cylinder adjacent the outlet ports 53 is at a relatively low temperature. The use of plastics materials having a low thermal conductivity allows this advantageous temperature differential to be maintained. Thus, were heat to be allowed to be conducted towards the outlet ports 53, the temperature of the exhaust would be raised, thereby resulting in loss of thermal efficiency.

The cylinder schematically represented in FIG. 3 includes a circumferential recess 59a in the cylinder wall for retaining liquid medium in the working space after exhaust.

In addition, as shown in FIG. 3, at least two seals 59b are mounted in circumferential recesses in the cylinder wall. The piston of this invention need not fit closely against the cylinder wall, since communication between the working end space and the compressor end space can be blocked by the seals 59b, as illustrated by the dotted line view of piston 58 in FIG. 3 which shows the piston at the end of its compression stroke. Having the piston slightly spaced from the cylinder wall provides an advantage in that any scale deposited on the cylinder wall from the water will not interfere with the operation of the engine until a substantial amount has accumulated, and maintenance is thereby reduced.

When a multicylinder engine is used, individual cam-operated injector valves may be provided on each cylinder. Alternatively, a distributor may be provided to periodically distribute hot pressurized water to the appropriate cylinder. The injectors may deliver a constant volume of water at a variable temperature. However, injectors delivering a variable volume of water at constant temperature might also be used--particularly when a more rapid change in working rate is required.

FIG. 4 shows the construction of the heat exchanger, which combines the heating coil H and the burner B. The heat exchanger comprises inner and outer coaxial sleeves 60 and 61, respectively, defining a double path for flue gas from the burner. Insulation 64 is provided around the outside of the heat exchanger. A fuel inlet jet is provided for burning fuel F in air A admitted via an air inlet. Water W passes through a heating coil H which comprises an inner coil 62 and outer coil 63 in the direction indicated by the arrows such that water exits from inner coil 62 at a position close to the highest temperature of the burner. The hot pressurized water is then fed along pipe 50 prior to injection into the working space P.

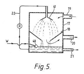
FIG. 5 shows a spray device for cooling and washing the flue gases from the burner B and thus recovering some of the heat and some water produced by the combustion. It comprises a spray chamber 17 having therein a funnel 18 onto which water is sprayed by spray 41 through the stream of hot flue gases. The flue gases are inducted via inlet 19 and arranged to flow tangentially around the chamber before exiting through the exit 20 as cooled flue gas. The flue gases thus pass through the spray and then through a curtain of water falling from the inside aperture of the funnel 18. Preferably the flue gases are cooled to below 100.degree. C. so as to recover the latent heat of vaporization of water from the burner. Water at substantially 100.degree. exits through the outlet 21 before being fed by pump X into the heat exchanger. Cold feed water W is introduced into the chamber via a ballcock 40 for maintaining a constant level of water in the bottom of the spray chamber. A recycle pump R and associated ducting 22 is provided for recycling the water through the spray to bring it up to its boiling point. However, in practice, if it is desired to cool the flue gases below 100.degree. C., it may be necessary to withdraw water through the outlet 21 at a substantially lower temperature, e.g. 50.degree. C.

FIG. 6 shows the idealized thermodynamic operation of the engine of FIG. 1. FIG. 7 shows for comparison the operation of a conventional two-stroke internal combustion engine.

Without wishing to be in any way limited to any specific theory, it is believed that the operation of the engine may be represented as follows.

FIG. 6 shows PV and TS diagrams. The majority of the injected water remains in the liquid phase as droplets.

At all times there is a residual volume of dry saturated vapor in the working space. To a first approximation, the residual vapor may be regarded as a gaseous working fluid which takes up and gives out heat during each operating cycle, thereby doing work. The working space will also contain residual liquid water.

Water vapor in the working space P is compressed during the compression stroke along line ab. The compression is not isoentropic due to vaporization of residual water in the cylinder.

The vaporization of residual liquid water in the working space during compression results in a reduction of entropy of the vapor. If there were no residual liquid water in the working space, adiabatic compression of the water vapor would cause the line ab in the TS diagram to be vertical, i.e., the water vapor would be superheated. However, in the presence of liquid water any tendency for the water vapor to become superheated is counteracted by vaporization of some of the liquid. Thus, the line ab follows the dry saturated vapor line on the entropy dome (shown in dotted lines) for water.

At constant volume hot pressurized liquid water is injected at point b at a higher temperature than the compressed dry saturated vapor in the working space, and a portion of the water vaporizes so that the pressure increases along bc from P.sub.b to P.sub.c. The temperature T of the dry saturated vapor also increases, while the entropy of the vapor decreases to c.

As the piston descends the wet water vapor expands along cd--however, due to the presence of hot liquid water droplets, the expansion is not adiabatic but polytropic due to heat transfer from the liquid water so that the curve cd on the PV diagram is flattened. The expansion also produces a fall in T and a small increase in entropy S.

On exhaust from the working space the pressure and temperature in the working space falls along da.

The figure a', b', c, d in the TS diagram represents the cycle undergone by the liquid water. Thus, the liquid water is heated in the heating coil along a'b' and injected into the working space at b'. The temperature of the liquid water then falls along b'c after injection and thereafter the liquid and vapor are in equilibrium.

Typical operating conditions are as follows. The pressure P.sub.a at a is 1.2 bar and the temperature T.sub.a is 378K (105.degree. C.). At a compression ratio of 16:1 the pressure P.sub.b and temperature T.sub.b at b rise to around 22 bar and 290K (217.degree. C.). Liquid water at 573K (300.degree. C.) and 86 bar is then injected into the working space at b and a portion becomes vapor, the rest remaining as liquid. This causes an increase in pressure along bc (typically P.sub.c =30 bar) and an increase in temperature due to injection of the warmer water (T.sub.c =507K (234.degree. C.)). The reduction in entropy along bc of the water vapor originally in the cylinder arises from injection of water in the liquid state. As the piston moves back towards BDC, the water vapor expands along cd to a pressure P.sub.c of about 2 bar and a theoretical temperature T.sub.d of about 393K (120.degree. C.). The water vapor and liquid water are then exhausted from the working space along da causing a decrease in temperature and pressure, and an increase in the entropy of vapor in the working space.

FIG. 7 shows PV and TS diagrams for the known two-stroke cycle internal combustion engine for comparison. Air is inducted at a and compressed adiabatically and isoentropically along ab. The temperature at b is greater and the slope of ab steeper than for the cycle of the present invention. The presence of liquid water in the working space in the cycle of the present invention flattens ab since energy is needed to vaporize liquid water during compression.

In the two-stroke cycle internal combustion engine fuel is then burned in the cylinder, increasing the pressure, temperature and entropy along bc. In the cycle of the present invention the pressure increases slightly due to some liquid water flashing to vapor, and the temperature of water vapor in the working space increases. However, whereas in the two-stroke cycle there is an increase in entropy along bc, in the cycle of the present invention there is a decrease in entropy of the water vapor in the working space due to the addition of liquid water on injection.

Thereafter adiabatic isoentropic expansion occurs along cd, heated liquid water in the working space in the cycle of the present invention giving up heat and thereby causing a flattening of the PV curve in comparison to the curve for the two-stroke cycle.

The high thermal efficiency of the cycle of the present invention resides in the fact that, whereas in the two-stroke cycle internal combustion engine the gas exhausted from the cylinder is at a high temperature and pressure, in the present invention only liquid water and a small amount of vapor is exhausted. Thus, liquid water is injected into and exhausted from the working space.

Most of the injected water after injection remains in the liquid state (ignoring the small amount of water which flashes to vapor) and so there is no significant entropy increase due to vaporization, and the internal energy lost by the injected water is converted almost completely into useful work. Moreover there is no need to scavenge the cylinder at the end of the cycle, in the present invention so that heat of the vapor is not lost. The presence of the residual liquid water droplets on the walls of the working space ensures that it contains the required residual water vapor ready for recommencement of the cycle. The line ae represents the opening of the exhaust valve before the end of the stroke.

FIGS. 8, 9 and 10 illustrate a practical form of the invention, which is similar in principle to the embodiment shown schematically in FIG. 1 except that no spray chamber is used and a rotary air blower feeds a mixture of air and dry saturated vapor to the burner.

The engine comprises four cylinders arranged in a 90.degree. V-configuration. Water is pumped from a closed storage trap 100 (corresponding to trap T in FIG. 1) by a high pressure pump 101 along a pipe 102 to a two-stage counter flow heat exchanger 103 of a construction as shown in FIG. 4. A pressure relief valve 104 is provided between pipe 103 and trap 100. Air and hot exhaust water vapor from trap 100 are directed to the heat exchanger 103 along duct 105 by a rotary air blower 106. The air flow is controlled by valve 107. Fuel (e.g. propane gas) is introduced from tank 127 through preheater 128 into the air flow through fuel valve 108. Flue gases leave the heat exchanger via flue 109.

Each piston 110 runs in a respective cylinder 111 and is connected to a crosshead 112 by a piston rod 113. The cross head is connected to a crankshaft 114 by a further rod 115. Each cylinder has a cylinder head 116 provided with an injector 117 which includes a poppet valve operated by a cam on a camshaft 118 by means of a rocker arm 119. Each cylinder also has an exhaust port 120 onto common exhaust manifold 121 which returns wet exhaust vapor to the trap 100. A flywheel 124 is mounted on the crankshaft. A breather port 129 is provided.

It has previously been pointed out that recesses may be provided in the cylinder or piston to retain liquid medium in the working space after exhaust. In FIG. 3 there has been shown a recess 59a in the cylinder for this purpose. The engine shown in FIG. 11 has recesses 130 provided in the piston head for this purpose.

An engine having a 16:1 compression ratio, a 4" diameter piston and a 4" stroke and each cylinder delivers around 15 horsepower at a water injection temperature of around 300.degree. C. and a pressure of 86 bar. The inclination of the cylinders assists exhaust of liquid water by gravity. At 300.degree. C. typically about 5 grams of water would be injected per injection. The entire engine is contained with a heat-insulated enclosure.

Hot liquid water leaves the heat exchanger along pipe 122 and is fed to the injector 117. A pressure control valve 123 is provided between pipe 122 and the tank.

FIG. 10 shows the water circulation circuit in more detail. A check valve 125 is provided downstream of the pump 101 to prevent flash-back of water vapor into the pump. A pressure control valve 126 is provided in parallel with the pressure relief valve 104 and may be used to control the rate of working of the engine.

The external combustion engine shown is capable of very high thermal efficiency. Theoretically, cold fuel F, cold air A, and cold water W (if any) are inducted into the engine, and cold flue gas is vented. Therefore, almost all the heat given out by the burner may become converted into work. In practice, thermal efficiencies of the order of 50 to 80% appear to be attainable.

While it is contemplated that this invention will be carried out by manufacturing new engines incorporating the features disclosed in this invention, it may also be carried out by converting some existing internal combustion engines to operate in accordance with the principles of this invention. For this purpose a kit may be supplied incorporating the necessary components for making such a conversion. Such a kit would include a heat exchanger, including a fuel-air burner, for heating water to the necessary temperature and pressure; an insulated cylinder and piston, the cylinder having an inlet for liquid water and an outlet for wet exhaust vapor; a compressor for supplying gas into a separating chamber and to the burner; a pump for transmitting liquid water from the cylinder to the heat exchanger, an injector for injecting liquid water under pressure from the heat exchanger into the cylinder, a metering device for controlling the amount of water injected into the cylinder, and a separating chamber for separating liquid water from dry saturated vapor.