rexresearch.com

Michael GILLIGAN, et al. :
Fuelsavers



US6019092
Fuel conditioning device

A ferrous metal housing 1 has an inlet 4 and an outlet 5 at opposite ends. A series of alloy discs 6 are carried on a shaft 7 within the housing, separated by spacers 8. The discs each contain a ring of circular apertures, and the shaft 7 is supported by skeletal spacers 9 and 10 to leave a gap between the periphery of the spacers and the wall of the housing. A ferrite magnet 14 of square outline is supported by the walls of the housing 1 at the outlet end, leaving four gaps between the sides of the magnet and the housing. The device is capable of maintaining high flow rates whilst producing a turbulence pattern which ensures good fuel conditioning.

TECHNICAL FIELD OF THE INVENTION

This invention relates to a device for conditioning hydrocarbon fuel to improve its combustion characteristics. The device is applicable to petrol (leaded and unleaded) and diesel engines.

BACKGROUND

Such devices are well known and generally include an alloy body and a magnetic core. Although the way in which such devices work is not fully understood, the advantages are well documented, and include:
Reduced fuel consumption (more kilometers per liter of fuel).
Increased engine power.
Reduced corrosion and engine wear.
Reduced emission of unburnt hydrocarbons, CO and NOx.

Many forms of the device are specifically designed to operate with small capacity engines which have relatively low rates of fuel flow. The designs do not generally work efficiently with large engines having a high rate of flow.

The present invention seeks to provide a new and inventive form of fuel conditioning device which is suitable for use in ships and similar large craft having a high rate of fuel consumption.

SUMMARY OF THE INVENTION

The present invention proposes a fuel conditioning device comprising an elongate housing having a fuel inlet at one end and a fuel outlet at the other, the housing containing a magnet and a plurality of fuel conditioning plates carried on a support shaft which extends along the housing, said plates comprising an alloy of tin, and including a plurality of apertures for fuel to pass through, the plates being mutually spaced and being held clear of the internal surface of the housing to provide a substantially linear flow path between the outer periphery of the plates and the housing.

BRIEF DESCRIPTION OF THE DRAWINGS

The following description and the accompanying drawings referred to therein are included by way of non-limiting example in order to illustrate how the invention may be put into practice. In the drawings:

FIG. 1 is a longitudinal section through a fuel conditioning device in accordance with the invention;

FIG. 2 is section II--II of FIG. 1;

FIG. 3 is section III--III of FIG. 1; and

FIG. 4 is section IV--IV of FIG. 1.
 


DETAILED DESCRIPTION OF THE DRAWINGS

The device comprises a ferrous metal cylindrical housing 1 having end caps 2 and 3 provided with respective fuel inlet and outlet connections 4 and 5 so that the device can be coupled into the fuel line of a ships engine or aircraft engine for example, close to the fuel pump. A series of parallel disc-shaped cores 6 (in this case eight) are supported within the housing on a shaft 7, separated by suitable spacing means 8. The shaft is supported co-axially within the housing by a pair of skeletal spiders 9 and 10 (FIG. 4), such that the discs are held off the internal wall of the housing 1 leaving a gap 11 (FIG. 2).

Each core 6 is cast of a tin alloy of a composition known for use in fuel conditioning devices, and includes a number of apertures 12 (in this instance six) arranged in a ring co-axial with the shaft 7. The apertures are equally spaced circumferentially of the disc, as shown.

At the outlet end, the housing contains a strong ferrite magnet 14 to subject the fuel to a high magnetic field. As shown in FIG. 3, when viewed on a transverse section through the housing 1, the magnet is of square or rectangular section and is supported with its corners in contact with the walls of the housing 1, thereby leaving four chordal gaps 15 through which the fuel can flow.

When fuel flows through the inlet 4 it passes through the first spider 9 and thence through the apertures 12 in the discs 6. Turbulence is created in the fuel flowing through the discs without significantly reducing the rate of flow. In this respect it does not appear to be important whether the apertures are aligned or not. However, there is also a linear flow through the gap 11 between the inside of the housing 1 and the periphery of the discs 6, which is important to the fuel conditioning process, since the fuel consumption returns towards normal if the gap is not present. After passing through the second spider 10 the fuel flows around the ferrite magnet 14 before travelling to the engine via the outlet 5.

With the device in line the fuel consumption of the engine is significantly reduced, typically by 15% or more, without significantly restricting the fuel flow.

The number of apertures 12 in the discs 6 can vary. In devices designed for a particularly high fuel flow the apertures may be arranged in several concentric rings. In addition, more than one shaft 7 could be used to support the discs 6.

It will be appreciated that the features disclosed herein may be present in any feasible combination. Whilst the above description lays emphasis on those areas which, in combination, are believed to be new, protection is claimed for any inventive combination of the features disclosed herein.



US5404913
FUEL REDUCTION DEVICE

A housing containing a fuel flow path contains an alloy core formed in two halves. Each half core includes rectangular support walls (1, 2 and 3) arranged in a T configuration. A pair of wedge-shaped elements (4 and 5) extend from each of the two co-planar walls (1) and (2) parallel to the intermediate wall (3) to cause turbulence in the fuel flow. The core is formed from an alloy which comprises tin, antimony and a greater percentage of mercury than lead. A trace amount of platinum may also be included.

TECHNICAL FIELD OF THE INVENTION

This invention relates to a device for reducing fuel consumption in an internal combustion engine, of the kind which includes a core comprised of various metals over which the fuel flows en route to the engine. Generally, the device further incorporates a magnetic core which subjects the fuel to a magnetic field. The device is applicable to petrol (leaded and unleaded) and diesel engines, and can also be used with two stroke engines.

BACKGROUND

Fuel reduction devices of the kind described in the preceding paragraph have been known since the 1930s. They were used with Rolls Royce Merlin engines in Spitfires and Hurricanes during the Second World War. Although the way in which such devices work is not fully understood, the advantageous results are well documented, and include the following:

Reduced fuel consumption (more kilometers per liter of fuel).

Increased engine power.

Reduced corrosion and engine wear.

Reduced emission of unburnt hydrocarbons, CO and NOx.

Without prejudice to the scope of the present invention, it is believed that the core adds trace amounts of certain metals to the fuel, which act as a lubricant. It is further believed that the magnetic field polarises the fuel hydrocarbons, enhancing oxidation of the fuel.

In a recent form of the device, the core is of uniform star-like section and is held within a cylindrical housing. Fuel enters the housing through one end, and after flowing axially between the arms of the star and passing a magnetic core, leaves via the opposite end of the housing. Analysis has shown that the composition of the alloy is 70% tin, 18% antimony, 8% lead and 4% mercury, by weight.

An aim of the present invention may be viewed as being to provide a form of the device which is more efficient in terms of further reducing fuel consumption.

SUMMARY OF THE INVENTION

According to a first aspect, the present invention proposes a fuel reduction device comprising a housing which defines a linear flow path for fuel, and an alloy core located in said flow path within said housing, in which the core includes an element which is disposed in said flow path and has a face which is inclined with respect to said flow path to cause turbulence in fuel flowing through said flow path.

The core preferably includes a plurality of elements disposed in the flow path of the fuel, each of the elements having a downstream end and an upstream end and having side faces which diverge in the direction of flow from the downstream end towards the upstream end.

The elements may be generally wedge-shaped.

Again without prejudice to the scope of the invention, the elements appear to increase the take-up of metals from the core into the fuel by dividing the fuel flow around the elements and creating turbulence at the downstream end of the elements.

In order to further increase the turbulence around the core with minimal restriction of fuel flow, the core preferably includes a plurality of sets of such elements, each set of elements comprising at least two elements which are aligned in the direction of flow of the fuel and being mutually spaced.

The core preferably comprises a number of support walls which extend parallel to the direction of fuel flow and from which the said elements project. The support walls may conveniently be arranged in a cruciform configuration. For ease of manufacture the core may be formed in two parts arranged back-to-back, each part comprising a pair of substantially co-planar rear support walls and an intermediate support wall projecting perpendicularly from the junction of the rear support walls, the said elements projecting from the rear support walls generally parallel to the intermediate wall.

According to a second aspect, the invention further proposes a fuel reduction device including an alloy core, in which the composition of the alloy includes tin and a greater percentage of mercury than lead, by weight.

The percentage of mercury in the alloy will normally lie in the range of 5% to 15% and is preferably within the range of 7% to 12%. Beyond the lower end of the range the advantageous effect of the mercury in reducing fuel consumption is greatly diminished. Above the higher end of the range no further significant reduction in fuel consumption is achieved and the emission of mercury is increased to an undesirable level.

The proportion of lead is preferably less than 7% and ideally less than 4%. Indeed, it is possible that lead might be omitted altogether, although it appears to be desirable to retain a small percentage.

The ratio of mercury to lead is preferably between 2:1 and 4:1 by weight, about 3:1 being optimum.

The combined weight of mercury and lead preferably makes up between 10 and 15% of the total weight of the alloy, ideally around 12%. The balance of the alloy will usually comprise tin as the major component and antimony as a minor component of the balance, by weight. Trace amounts of platinum may also be included to advantage.

BRIEF DESCRIPTION OF THE DRAWINGS

The following description and the accompanying drawings referred to therein are included by way of non-limiting example in order to illustrate how the invention may be put into practice. In the drawings:

FIG. 1 is a general view of one half of an alloy core for use in a fuel reduction device of the invention,

FIG. 2 is a side view of the core half, looking in direction B of FIG. 1,

FIG. 3 is a longitudinal section through an assembled fuel reduction device incorporating the core halves of FIGS. 1 and 2, and

FIG. 4 is section IV--IV of FIG. 3, with the core halves viewed in direction A of FIG. 1.



DETAILED DESCRIPTION OF THE DRAWINGS

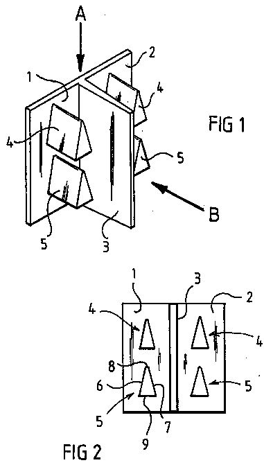
Referring firstly to FIGS. 1 and 2, a core half 10 is cast from an alloy having the following composition, by weight:

Tin 70%
Antimony 18%
Mercury 9%
Lead 3%
Platinum 0.01%

The half core includes three rectangular support walls 1, 2 and 3 of similar size and shape. The three walls are arranged in a T configuration parallel to a direction of flow A, with two of the walls 1 and 2 arranged co-planar to form a pair of rear walls, and the third wall 3 extending perpendicularly from the other two to form an intermediate support wall.

A pair of finger-like elements 4, 5 extend from each of the rear walls 1 and 2 substantially parallel to the intermediate wall 3. Each of these elements is generally wedge-shaped and includes a pair of substantially flat side walls 6 and 7 (FIG. 2) which diverge from a narrow upstream end face 8 to a flat downstream end face 9 arranged substantially perpendicular to the flow direction A. As can clearly be seen in FIG. 2, each pair of elements are mutually aligned in the flow direction A, with a small spacing between the two.

The core halves 10 are easy to cast in a simple mould using a centrifugal casting technique, from which the casting is removed in direction B.

The flow reduction device of FIGS. 3 and 4 is formed by placing a pair of such core halves 10 back-to-back with the rear faces 1 and 2 superimposed upon each other as shown in FIG. 4. The pair of core halves are then slid axially into a cylindrical housing 12, dimensioned such that the back-to-back core halves are a close fit therein. Further such pairs of core halves can be slid into the housing 12 to occupy an adjacent axial position, a total of three pairs being illustrated in FIG. 3 by way of example, designated 10, 10' and 10". The number required depends upon the engine capacity, larger engines generally requiring greater core volume. A toroidal magnetic ferrite core 14 of known form is also included in the housing, upstream of the alloy core. A similar core could also be provided at the opposite, downstream end of the housing. The ends of the housing are provided with suitable connectors 16 and 18 so that the device can be coupled into the fuel line of an internal combustion engine as close as possible to the carburetor or injection pump.

When the fuel flows through the device the flow path is divided around the first element 4 as the fuel travels over the opposed divergent faces 6 and 7. Turbulence is created in the region of the downstream end face 9, before the flow path is again divided around the second element 5. In devices which include two or more sets of core halves, this process is repeated as the fuel flows past each element 4, 5. The surface contact between the fuel and the core is therefore greatly increased for a given core size with minimal restriction of flow. In addition, the higher proportion of mercury in the alloy further improves the efficiency of the device. As a result, the fuel consumption of the engine is significantly reduced compared with earlier devices of similar size.

The small quantity of platinum appears to assist in reducing fuel consumption, possibly be providing a catalytic effect. However, the platinum is not essential and could be omitted.

Any number of magnetic cores 14 could be included in the housing. The magnetic cores could alternatively be mounted externally of the housing.



EP1101031
SUBMERSED DEVICE FOR REDUCING THE POLLUTING EMISSIONS AND SAVING ENERGY IN HYDROCARBON COMBUSTION VEHICLES


A device submersed into the fuel tank of motor vehicles with liquid-hydrocarbon internal-combustion engines for reducing polluting emissions and saving energy, characterized in that there are generated, in combination, magnetic fields and far infrared electromagnetic waves which spread inside the fuel and interact with the molecules of the hydrocarbons and temporarily modify their structure so that they can be easily vaporized. This temporary modification of the hydrocarbons' molecular structure is obtained by energising said molecules through the energy associated to said far infrared rays under the action of said magnetic fields.

Submersed device for reducing the polluting emissions and saving energy in hydrocarbon combustion vehicles The present invention essentially relates to the motor vehicles, particularly those vehicles with internal combustion or diesel engines as well as all of the apparatus that burn liquid hydrocarbons.

As it is well-known, the propulsors of the above motor vehicles are not able to transform the whole mass of the hydrocarbons into work and, as a consequence, a portion of these hydrocarbons remains unburnt.

A number of solutions have been so far proposed to overcome these problems and the related efforts have regarded both the engine and the control electronics with the result of a considerable increase in the production costs and a continuous demand of servicing to keep the apparatus under perfect operating conditions, which is necessary to guarantee low consumptions and reduced emissions.

It is also known from German Patent DE4417167. 6 a device that produces a composite emission of electromagnetic waves and far infrared waves inside the fuel tank including magnetic elements distributed along and leant on an axial conductor provided with a diode and pressed against the conductor by a cotton sheath or so-called"sock".

However, this device has some drawbacks and disadvantages which will be shortly illustrated herebelow.

A first problem consists in that it is necessary to inlet some radiant additive substances into the fuel tank in order to obtain a sufficient propagation of the far infrared waves. This solution is only palliative as the substance to be melt inside the fuel tends to clog the conducts from the fuel pump to the engine.

Moreover, in the above-mentioned German Patent the electromagnetic waves are caused to propagate by the contact and the correct positioning of the balls and the magnets located inside the device and held in their positions just because of the compression of a cotton "sock"which is wrapped around all of the elements and contributes to reflect the waves. This is a source of drawbacks as the cotton envelope tends to deteriorate with time causing several problems among which : - both the balls and the magnets lose their initial position interrupting the electric connection to one another and an internal copper wire; - the deterioration of the cotton causes the loss of its reflecting efficiency ; - the deteriorated cotton loses its capability of filtering external agents ; - the deteriorated cotton can fray causing further possibilities for the conducts from tank to engine to become clogged.

Therefore, it is self-evident that the device disclosed in the above-mentioned German Patent cannot in any way be used in the practice first of all because its operation capability changes with time and then because it could cause damages to the vehicle.

This invention seeks to overcome these problems by providing a device which does not need any servicing, is easy to be installed without modifying in any way the fuel pump system of the vehicles, and operates inside the mass of the fuel in the fuel tank.

This has been accomplished by a device to be submerged inside the fuel tank which is capable of producing an emission of far infrared electromagnetic waves so that both its function and structure still remain unchanged in time without the use of additives in the fuel.

The composition of the materials which the different parts of the device consist of and their space distribution are such as to increase the production of electromagnetic waves and far infrared rays so that the energy associated to these electromagnetic waves, which spread throughout the fuel, interacts with the hydrocarbon molecules and temporarily modifies their structure in order to make them more easily vaporizable. This advantageously increases and improves the combustion, ensuring that most of the previously unburnt fuel will be burnt. Advantageously, this causes the polluting emissions as well as the consumption to reduce considerably and the engine to be better cleaned and its performance to be more effective.

A better understanding of this invention will ensue from the following detailed description with reference to the accompanying drawings which illustrate a preferred embodiment only by way of a not limiting example.

In the drawings :

Figure 1 is an external perspective view of the invention ;

Figures 2 to 5 are elevation views of the four sides of the device ;

Figures 6 and 7 are partially sectioned perspective views which show the arrangement and the structure of the internal parts of the invention ;

Figures 8 and 9 show the installation of the device inside the fuel tank.

 

As already mentioned, the device according to this invention temporarily modifies the molecular structure of the hydrocarbons contained in the liquid fuel and acts as a fuel vaporization accelerator.

In particular this is accomplished by energising the fuel molecules by the emission of far infrared rays, which are generated by the synergical action of the electromagnetic fields generated by permanent magnets 6, the ceramic material contained inside ceramic sleeves 4 and ceramic balls 5 as well as the kinetic energy of the fuel during the running of the vehicle, and the current generated in the device by the ions inside the fuel.

The infrared rays are formed by electromagnetic waves characterized by a wave length between 0. 76 e 1000 urn and are furthermore divided into"near","middle", and "far"infrared according to the following table :

INFRARED RAYS (IR) WVE LENGTH (pm)  
NEAR from0.76    to    2.    5  
MIDDLE over2.5    up    to    25
FAR over    25    up    to    1000

Far infrared rays are known for their capacity of generating chemical and physical transformations in the structure of any material.

The device according to this invention has a cylindrical form and consists of an external tube 3 perforated by a number of holes and preferably made of silver-plated bronze with two caps at its ends, an anchoring wire 1 being bound to one cap 2 (see figures 1-5). Such anchoring wire 1 is secured to the device by a hinged member which permits it to rotate without entangling the wire.

A complex assembly consisting of a preferably stiff, central copper wire 9 is disposed inside this perforated tube 3 at the middle of which a diode 10 is soldered, as it may be seen in figures 6 and 7. Such copper wire 9 is put with its whole length inside a conduct formed by a plurality of sleeves 4 of ceramic material alternated to ring-shaped permanent magnets 6.

Some further balls 5 made of ceramic material are located outside such sleeves 4 and magnets 6.

According to a particular characteristic of the present invention, copper wire 9, sleeves 4, magnets 6, and balls 5 are electrically connected to one another.

The complex assembly of the device is also provided with a ceramic cotton"sock"7 enclosed inside a ceramic filter consisting of a metal net 8 completely wrapped around the whole assembly.

As mentioned above, the assembly described above is located inside the perforated metal tube 3 and then closed at its both ends by two caps 2. It should be noted that the continuity of the electric connection among ceramic cotton, metal net, and outer perforated cylinder also guarantees the electric connection between the latter and the above-mentioned copper wire 9 to which diode 10 is connected.

The various components of the device will thereafter be described in greater detail in order to better disclose the characteristics and the peculiarities that distinguish the present invention.

The outside perforated tube 3 is made of bronze and has a silver coating. The choice of these materials has a dual function : bronze avoids rust while silver increases the purifying effects towards external aggressive chemical agents.

Metal net 8 sprayed with a ceramic composition has the function of keeping all of the elements contained in its interior in the right position.

Cotton"sock"7 aiming at both preventing external agents from entering the device and spreading the emitted waves has a very strong and unalterable weaving, and is provided with an inner layer that is soaked with platinum powder during the final phase of weaving.

Magnetic rings 6 are made of permanent magnetic material including rare earth elements such as samarium (Sm) and cobalt (Co). These magnets belonging to the last generation have far higher performances than any other magnet currently available, in particular the high energy and magnetic power of samarium allow very compact and highly efficient magnets to be designed.

These permanent magnets 6 interact synergically with sleeves 4 and balls 5 of ceramic material and increase the emission of electromagnetic waves in the far infrared field, which is very important for their spreading. The combination of magnets and ceramic materials is essential to enhance the chemical effects of their components. The magnets could also have other forms, for example balls, tablets and so on.

Sleeves 4 of ceramic material are made by moulding followed by a baking for many hours at a temperature of about 1200 C. Such ceramic material is baked six times and then cooled by natural air.

The ceramic material of sleeves 4 produces far infrared rays, its efficiency being based on its anti-corrosive property which prevents rust from being developed.

Ceramic balls 5 increase the production of such far infrared rays.

Ceramic balls 5 are moulded and then baked at 500- 600 C. Their main function is to extend the effects of ceramic sleeves 4 throughout the device. In the illustrated embodiment, the ceramic materials used for ceramic sleeves 4 and for ceramic balls 5, mainly include SiC, TiO2, Cr203, A1203, Fe, and the manufacturing method includes essentially the following steps : - providing a mixture by spraying liquid on the parts to be mixed ; - drying - moulding (by compression) - baking ; - final shaping and cleaning ; - packaging.

The device is placed inside the fuel tank so as to hang inside therein, as shown in figures 8 and 9, and is connected to wire 1 which is provided with a hinge member.

The composite electromagnetic waves which are being formed are emitted towards the internal walls of the fuel tank through ceramic cotton 7 and through metal net 8. The quality of the fuel is gradually improved by the emission of electromagnetic waves. In other words fuel is purified so that it can burn very quickly without producing heavy smokes and/or particulate, etc.

This means that the liquid fuel inside the fuel tank undergoes a temporary modification of its molecular structure so that the latter can be quickly vaporized by the composite wave.

In other words, considering for example fuels such as gasoline or diesel oil characterized by complex chains of carbon and hydrogen atoms, the latter are broken by the composite wave generated according to the present invention. These chains are interrupted at their carbon-carbon bonds and their hydrogen-hydrogen bonds giving rise to chains which are more suitable for a better combustion.

This is also the case for all of combustibles and liquid fuels originating from hydrocarbons.

According to the present invention, when the fuel inside the fuel tank is shaken by the vehicle's movement, the static electric charges (ions) produced inside are transferred to diode 10 through central copper wire 9 in order that the electric charges accumulate between the conduct formed by ceramic sleeves 4, ring magnets 6, and diode 10 acting as an electrode.

The above-mentioned diode 10 helps to concentrate the flow of the electromagnetic waves, and further causes the production of far infrared waves to be maintained.

In this way ceramic sleeves 4 emit far infrared rays and ceramic balls 5 help to spread them.

The change of the molecular structure of the fuel causes a weakening of the reciprocal molecular aggregation, giving rise to a better as well as greater permeation of the oxygen between the molecules of the hydrocarbons.

All this brings several advantageous consequences among which : - drastic reduction of unburnt hydrocarbon emissions ; - reduction in consumptions ; - the engine fuel supply system is cleaner ; - better efficiency and performance of the engine ;

- less request of servicing.

Furthermore, the engine fuel pump system is in no way altered or changed as the device is installed inside the fuel tank, and the lack of external supply totally eliminates any possibility of explosions due to short circuit.

Experimental tests have demonstrated that the use of this device reduces fuel consumptions by 10 - 25%, depending on the type of engine and its wear.

Finally, it should be noted from the above description that this invention can be applied without modifications to any motor vehicle burning liquid hydrocarbons since only a minimum oscillation movement (vibration) of the vehicle is requested.

It should be appreciated that such movement is essentially given by the movement of the vehicles or, in case of engines of still devices, by the vibrations produced during the operation thereof.

The present invention has been described and illustrated according to a preferred embodiment thereof, however, it should be understood that those skilled in the art can make equivalent modifications or replacements without departing from the scope of the present industrial invention.