Digital Rotary
Control Valve
US2007261745
Abstract
-- A valve includes a body having an interior and defining at
least one inlet passageway and discharge passageway. The valve
also includes a flow diverter disposed within the body between
the inlet and discharge passageways to receive a fluid from
the inlet passageway in an inlet direction. The diverter is
adapted to discharge the fluid to at least one discharge
passageway in a direction that differs from the inlet
direction. The diverter is rotatable to vary the discharge
direction. According to one embodiment, the discharge
direction is substantially perpendicular to the inlet
direction.
FIELD OF THE INVENTION
[0001] The present invention relates generally to valves and,
more particularly to a valve having a rotatable flow diverter
for directing flow of a fluid through the valve.
BACKGROUND OF THE INVENTION
[0002] Conventional engine coolant systems for automobile
engines incorporate thermostats having expansion elements for
controlling flow of an engine coolant to a radiator of the
coolant system. The thermostat expansion element is adapted to
shift from a closed condition to an opened condition when the
coolant temperature reaches an operating temperature range for
controlling flow of the coolant between a bypass line and the
radiator. In the closed condition, the thermostat is adapted
to direct all of the coolant to the bypass line. This enables
the coolant to warm up more quickly. When the coolant has been
warmed to the temperature range, the thermostat opens allowing
coolant to be directed to the radiator via the radiator line.
[0003] Engine coolant systems also include electronically
controlled valves for directing coolant between an inlet to
the valve and two or more outlets from the valve. For example,
one known valve directs flow from an inlet line to one or more
of three outlets respectively connected to a radiator line, a
bypass line and a heating line. The valve directs the flow of
the engine coolant to the outlets depending on a rotational
position of a disc-like blocking element located within the
interior of a valve body.
SUMMARY OF THE INVENTION
[0004] According to one aspect of the present invention, a
valve comprises a body having an interior defining an inlet
passageway and at least two discharge passageways. The valve
also comprises a flow diverter having an interior and disposed
within the interior of the body between the inlet passageway
and the discharge passageways. The flow diverter is adapted to
receive a flow of a fluid within the interior of the flow
diverter from the inlet passageway in an inlet direction. The
flow diverter is adapted to discharge at least a portion of
the flow into one of the discharge passageways from the
interior of the flow diverter in a discharge direction that is
different from the inlet direction. The flow diverter is
rotatable with respect to the body about a central axis of the
flow diverter to vary the discharge direction for the at least
a portion of the flow of the fluid. The valve also comprises a
motor coupled to the flow diverter for drivingly rotating the
flow diverter with respect to the body.
[0005] According to one embodiment of the invention, the body
includes a main junction having a substantially cylindrical
wall defining an interior located between the inlet passageway
and the discharge passageways. The flow diverter includes a
substantially cylindrical wall rotatably received within the
interior of the main junction of the body. The body of the
valve includes a flange located at an end of the main junction
and a closure plate received by a recessed shoulder defined by
the flange to enclose the flow diverter within the interior of
the main junction of the body.
[0006] According to one embodiment, the valve includes a first
discharge passageway and a second discharge passageway and the
flow diverter is rotatable between first and second flow
positions. The passageways and the flow diverter are arranged
such that the flow diverter directs substantially all of the
fluid from the interior of the flow diverter into the first
passageway when the flow diverter is in the first flow
position and directs substantially all of the fluid from the
interior of the flow diverter into the second passageway when
the flow diverter is in the second flow position. The flow
diverter includes a substantially cylindrical wall and defines
a discharge opening extending around approximately one-half of
a circumference of the cylindrical wall. The flow diverter is
rotatable through an angle of approximately 150 degrees
between the first and second flow positions.
[0007] According to another aspect of the invention, a valve
comprises a body having an interior defining an inlet
passageway and at least two discharge passageways. The valve
also comprises a flow diverter defining an interior and
disposed within the interior of the body between the inlet
passageway and the discharge passageways. The flow diverter is
adapted to receive a flow of a fluid within the interior of
the flow diverter from the inlet passageway in an inlet
direction. The flow diverter is adapted to discharge at least
a portion of the flow of the fluid into one of the discharge
passageways from the interior of the flow diverter in a
discharge direction that is substantially perpendicular to the
inlet direction. The flow diverter is rotatable with respect
to the body about an axis of rotation of the flow diverter to
vary the discharge direction for the at least a portion of the
flow of the fluid.
[0008] According to another aspect of the invention, a valve
comprises a body defining an interior having at least one
inlet passageway and at least discharge passageway and a
flow-controlling diverter disposed within the interior of the
body between the at least one inlet passageway and the at
least one discharge passageway. The diverter is adapted to
receive a flow of fluid within the interior of the diverter
from at least one of the inlet passageways in an inlet
direction. The diverter is adapted to discharge the fluid from
the interior of the diverter to at least one of the discharge
passages in a discharge direction substantially perpendicular
to the inlet direction.
BRIEF DESCRIPTION OF THE DRAWINGS
[0009] For the purpose of illustrating the invention, the
drawings show a form of the invention that is presently
preferred. However, it should be understood that this
invention is not limited to the precise arrangements and
instrumentalities shown in the drawings.
[0010] FIG. 1 is a
side elevation view, partly in section, of a valve according
to an exemplary embodiment of the invention.

[0011] FIG. 2 is a
sectional view of the valve of FIG. 1 taken along the line 2-2
in FIG. 1.
[0012] FIG. 3 is a
side view, partly in section, of a valve according to a second
exemplary embodiment of the invention.
[0013] FIG. 4 is a
section view of the valve of FIG. 3 taken along the line 4-4
in FIG. 3.
[0014] FIG. 5 is a
side view of the valve of FIG. 3, illustrated partly in
section showing a portion of the interior of a flow diverter
of the valve.

[0015] FIG. 6 is a
flat layout illustration of a portion of the flow diverter of
the valve of FIG. 3, the flow diverter shown in a full open
position.
[0016] FIG. 7 is a
flat layout illustration of the flow diverter of FIG. 6 shown
in a full closed position.
[0017] FIG. 8 is side
view, partly in section, of a valve according to a third
exemplary embodiment of the invention.
[0018] FIG. 9 is a
side view of a valve according to a fourth exemplary
embodiment of the invention.
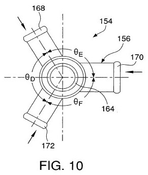
[0019] FIG. 10 is an
end view of the valve of FIG. 9.
[0020] FIG. 11 is
side view of a valve according to a fifth exemplary embodiment
of the invention.
[0021] FIG. 12 is a
side view, partly in section, of a valve according to an sixth
exemplary embodiment of the invention.
[0022] FIG. 13 is a
flat layout illustration of a portion of the flow diverter of
the valve of FIG. 12, the flow diverter illustrated in a full
open position.
[0023] FIG. 14 is a
flat layout illustration of the flow diverter of FIG. 13 shown
in a full closed position.
[0024] FIGS. 15 and 16
are schematic illustrations of engine coolant systems
incorporating the valve of FIGS. 3 through 5.
[0025] FIG. 17 is a schematic
illustration of an engine coolant system incorporating the
valve of FIGS. 9 and 10.
[0026] FIG. 18
illustrates the rotary valve in combination with an electronic
water pump.
[0027] FIG. 19
illustrates the rotary valve/water pump combination of FIG. 18
mounted to an engine.
DESCRIPTION OF THE INVENTION
[0028] Referring to the drawings, where like numerals identify
like elements, there is illustrated in FIGS. 1 and 2 a valve
10 according to an exemplary embodiment of the invention. The
valve 10 includes a body 12 defining an interior for receiving
a fluid, such as a coolant for an engine of an automobile for
example. The body 12 includes an inlet 14 defining an inlet
passageway and first and second outlets 16, 18 defining outlet
passageways. The body 12 also includes a main junction 20 to
which each of the inlet 14 and the first and second outlets
16, 18 is connected such that an interior defined by the main
junction 20 communicates in common fashion with each interiors
of each of the inlet 14 and the outlets 16, 18. As shown, the
inlet 14 and the outlets 16, 18 of the depicted valve body 12
are tubular in form defining substantially cylindrical
interiors. The interior of the main junction 20 is also
substantially cylindrical.
[0029] The valve 10 includes a flow diverter 22 located within
the interior of the main junction 20 of the body 12 between
the inlet 14 and the outlets 16, 18. The flow diverter 22
includes a tubular side wall 24 defining an interior. The
outer surface of the side wall 24 of flow diverter 22 is
substantially cylindrical to provide for sliding receipt of
the flow diverter 22 within the interior of the main junction
20 of valve body 12. The sliding receipt of the flow diverter
22 in this manner provides for rotation of the flow diverter
22 with respect to the valve body 12 about a central axis of
the flow diverter 22.
[0030] The valve 10 includes a motor 26 having an output shaft
28 engaging the flow diverter 22 for drivingly rotating the
flow diverter 22 with respect to the valve body 12. In the
illustrated embodiment, the flow diverter 22 includes an end
wall 30 connected to the side wall 24 of the flow diverter 22
at one end of the side wall 24. The flow diverter 22 also
includes a socket 32 on the end wall 30 extending from a
surface of the end wall 30 opposite the interior of the flow
diverter 22. As shown in FIG. 1, the socket 32 is adapted to
receive an end portion of the motor output shaft 28. To
facilitate engagement, and transfer of torque, between the
motor 26 and the flow diverter 22, the socket 32 and the end
portion of the output shaft 28 can include flattened surfaces
(e.g., a hex-head, non-circular, triangular or flat
configurations).
[0031] Referring to FIG. 2, the first and second outlets 16,
18 are spaced apart from each other on the main junction 20
such that an angle, .theta..sub.A, defined between central
axes of the outlets 16, 18 is equal to approximately 150
degrees. The inlet 14 of the illustrated valve 10 is spaced
between the outlets 16, 18 on the main junction 20 such that
angles, .theta..sub.B and .theta..sub.C, defined between the
inlet 14 and the first and second outlets 16, 18,
respectively, are each equal to approximately 105 degrees. An
opening 34 is defined in the side wall 24 of the flow diverter
22 extending around approximately one-half (i.e., 180 degrees)
of the circumference of the tubular side wall 24. The opening
34 is located along the length of the side wall 24 of the flow
diverter 22 to position the opening 34 adjacent the location
of the inlet 14 and the outlets 16, 18 on the main junction
20.
[0032] Arranged in this manner, the opening 34 in the flow
diverter 22 is adapted to provide communication between the
inlet 14 and either one of the first and second outlets 16, 18
as follows. The flow diverter 22 is shown in FIG. 2 in a first
flow position. In the first flow position, the flow diverter
22 is oriented rotationally with respect to the valve body 12
such that the opening 34 provides communication between the
first outlet 16 and the interior of the flow diverter 22. As
shown, the opening 34 in the first flow position also provides
communication between the inlet 14 and the interior of the
flow diverter 22. As a result, a flow of a fluid directed into
the interior of valve body 12 will be directed in the first
flow position into the first outlet 16 via the interior of the
flow diverter 22 as illustrated by the flow arrow in FIG. 2.
As shown, the tubular side wall 24 of flow diverter 22
functions to close the second outlet 18 from the interior of
the main junction 20 in the first flow position, thereby
preventing fluid from being directed into the second outlet
18. Those skilled in the art will readily understand that a
counter-clockwise rotation of the flow diverter 22 (from the
point of view shown in FIG. 2) by an angle equal to
approximately .theta..sub.A (e.g., approximately 150 degrees)
will position the flow diverter 22 in a second flow position
in which the fluid is directed from the inlet 14 into the
second outlet 18. In a similar manner as the second outlet 18
in the first flow position, the flow diverter 22 will function
to close the first outlet 16 from the interior of the main
junction 20 in the second flow position such that flow of the
fluid into the first outlet 16 is prevented.
[0033] The motor 26 is preferably adapted to provide two-way
travel of the flow diverter 22 between the first and second
flow positions. According to a presently preferred embodiment,
the motor 26 is a stepper motor and the valve 10 includes
travel stops (not shown) for limiting the rotational travel of
the flow diverter 22 between the first and second flow
positions. Such a construction provides for the use of a
simple torque-limited stepper motor for driving the flow
diverter 22. The valve of the present invention is not limited
to stepper motor and could include other types of motive force
(e.g., DC motor, solenoid, hydraulic, or mechanical force) for
driving the flow diverter. The use of a DC motor or a
hydraulic or mechanical force for driving the flow diverter
would be desirable for higher capacity valves (e.g., valves
having capacity greater than approximately 200 gallons per
minute).
[0034] The valve 10 includes a mounting plate 36 at one end of
the main junction 20 of the valve body 12. The mounting plate
36 is adapted to receive fasteners 38 for securing the valve
body 12 to a housing of the motor 26. The valve 10 also
includes an annular flange 40 located at an end of the main
junction 20 of valve body 12 opposite the mounting plate 36.
As shown in FIG. 1, the flange 40 defines a recessed shoulder
on an inner surface for receiving a closure plate 42 to
enclose the flow diverter 22 within the interior of the main
junction 20. The flange 40 and the closure plate 42 facilitate
placement of the flow diverter 22 into the interior of the
valve body 12 during assembly of the valve 10.
[0035] For smaller capacity valves (e.g., capacity less than
approximately 150 gals/minute), all components of the flow
diverter and valve body can molded from a thermoplastic
material (e.g., glass-filled nylon). This includes valves on
most passenger cars having operating temperatures ranging
between approximately 40 degrees Centigrade and approximately
130 degrees Centigrade. For valves used in HD diesel engines
and for larger capacity valves, the flow diverter and valve
body would both preferably be made from a metal (e.g.,
aluminum). The use of similar materials (e.g., all plastic or
all metal) for the flow diverter and the valve body, desirably
provides more uniform thermal expansion to help prevent
sticking between the flow diverter and the valve body. The
aluminum of the flow diverter 22 can be coated with a
polytetrafluoroethylene material (e.g., Teflon.RTM.) to
facilitate relative rotation between the flow diverter 22 and
the valve body 12. The inclusion of a coating of
polytetrafluorethylene on the diverter 22 would also help
prevent sludge build-up on the diverter 22. For valves having
a valve body made from a thermoplastic material, the closure
plate 42 of valve body 12 is preferably secured to the flange
40 using a thermoplastic welding process (e.g., spin welding).
It should be understood, however, that the present invention
is not limited to any particular material such as aluminum or
thermoplastics and that other materials (e.g., magnesium)
could be used. Also, although preferred, it is not required
that a similar material be used to form both the flow diverter
and the valve body. It is conceived that the use of mixed
materials could have application in special circumstances.
[0036] As shown in FIG. 1, the main junction 20 of valve body
12 and the flow diverter 22 are preferably dimensioned such
that a controlled gap 44 is defined between the closure plate
42 and an end of the flow diverter 22.
[0037] The flow diverter 22 of valve 10 includes apertures 45
defined in the end wall 30 of the flow diverter 22. The
apertures 45 in end wall 30 allow some of the fluid directed
into the interior of the flow diverter 22 to pass through the
end wall 30 into a space provided between the end wall 30 and
the mounting plate 36. The receipt of fluid via apertures 45
serves to prevent a pressure imbalance that could otherwise
develop on opposite sides of the end wall 30.
[0038] Although the flow diverter 22 has been described above
as directing flow to either the first outlet 16 or the second
outlet 18, it should be understood that the flow diverter 22
could be adapted to provide a position in which a flow of a
fluid is split between the first and second outlets 16, 18.
[0039] In the above-described valve 10 the flow of fluid is
directed into the interior of the flow diverter 22, and
discharged from the interior of the flow diverter 22, through
the opening 34 in the side wall 24. Thus, the fluid is
directed in lateral directions (i.e., perpendicular to the
central axis of the flow diverter 22) for both inlet and
discharge. Referring to FIGS. 3 through 5, there is
illustrated a valve 46 according to a second exemplary
embodiment of the invention having a flow diverter 48 in which
the fluid is turned 90 degrees, either axially to laterally
with respect to the flow diverter 48, or alternatively
laterally to axially, between the inlet and discharge of
fluid.
[0040] The valve 46 includes a body 50 defining an interior
and including an inlet 52 and first and second outlets 54, 56
that, similar to the inlets and outlets of valve 10 are
substantially cylindrical. The valve body 50 also includes a
substantially cylindrical main junction 58 located between the
inlet 52 and the outlets 54, 56. The outlets 54, 56 extend
laterally from the main junction 58 and are located on
opposite sides of the main junction 58 of the illustrated
valve 46. The inlet 52 is located at an end of the main
junction 58 and is oriented such that a central axis of the
inlet 52 is substantially parallel to, and aligned with, a
central axis of the main junction 58. Although the valve 46 is
shown and described as including inlet 46 and outlets 54, 56,
the present invention is not so limited. It should be
understood that the direction of flow could be reversed such
that flow enters the valve 46 from a pair of "inlets" (e.g.,
elements 54, 56) for discharge via a single "outlet" (e.g.,
element 46).
[0041] The flow diverter 48, similar to the flow diverter 22
of valve 10, includes a tubular side wall 60 defining an
interior and having an outer surface slidingly received by the
main junction 58 for relative rotation between the flow
diverter 48 and the valve body 50. Also similar to flow
diverter 22 of valve 10, the flow diverter 48 includes an end
wall 62 and a socket 64 engagingly receiving an output shaft
68 of a motor 66 for driven rotation of the flow diverter 48
by the motor 66. The socket 64 on flow diverter 48 extends
inwardly with respect to the flow diverter 48, in contrast to
the socket 32 of flow diverter 22 which extends in an outward
direction from the end wall 30 of flow diverter 22. The valve
46 includes a mounting plate 70 at an end of the main junction
58 of valve body 50 receiving fasteners 72 to secure the valve
body 50 to the motor 66. The valve 46 includes a bushing 74
received in an opening defined in the mounting plate 70 for
rotatably supporting the output shaft 68 of motor 66. Also, in
some applications a simple radial O-ring shaft seal (not
shown) can be utilized. According to a presently preferred
embodiment, the motor 66 is a stepper motor. As shown, the
motor 66 can include dual motor leads 75 to provide protection
against failure of the motor in the event that one of the
leads becomes inoperative. Preferably, separation is provided
between the leads 75 to limit the risk that an event causing
severance of one of the motor leads 75 result in severance of
both motor leads 75. It is also contemplated that in the event
of a relatively high motor torque (e.g., a torque above a
design range for motor 66) the valve 46 could be adapted to
send an alert signal for service identifying a failure mode.
[0042] Similar to valve 10, the valve 46 includes a flange 76
located at an end of the main junction 58 opposite the
mounting plate 70 and defining a recessed shoulder on an inner
surface of the flange 76. The flange 76 on the main junction
58 is adapted to receive a flange 78 located at an end of the
inlet 52 for connecting the inlet 52 to the main junction 58.
The inlet 52 is preferably secured to the main junction 58 by
welding the flanges 76, 78 to each other. According to one
preferred embodiment, the valve body 50 is made from a
thermoplastic material (e.g., glass-filled nylon) and the
inlet 52 is secured to the main junction 58 using a
thermoplastic welding process (e.g., spin welding).
[0043] The connection of the inlet 52 at the end of the main
junction 58 in the above-described manner results in fluid
being directed into the interior of the flow diverter 48 in an
axial direction with respect to the flow diverter 48 through
an open end 80 of the flow diverter 48. As shown in FIG. 3, at
least one opening 82 is defined in the side wall 60 of the
flow diverter 48 for discharging fluid to one of the outlets
54, 56 depending on the angular orientation of the flow
diverter 48 with respect to the valve body 50. Preferably, the
flow diverter 48 includes an opening on each of opposite sides
of the side wall 60. As described below in greater detail, the
use of a pair of openings in this manner limits the amount of
rotation necessary to move the flow diverter 48 between first
and second flow positions for respectively directing the flow
to the first and second outlets 54, 56 of valve 46. As shown
in the drawings and described below in greater detail in the
description of FIGS. 6 and 7, the openings 82 are not circular
in shape. Instead, the configuration of the openings 82 has
been empirically developed to provide desired flow
characteristics (e.g., to transition flow during initial
opening of the valve to prevent "gulps" of cold coolant from
entering an engine). The use of separate discharge openings
also allows for differing configurations for the openings, as
also described below, for more precise flow control (e.g., a
first configuration for a radiator outlet versus a by-pass
outlet).
[0044] The flow diverter 48 also includes apertures 84 defined
in the end wall 62 of the flow diverter 48. The apertures 84
in end wall 62 allow some of the fluid directed into the
interior of the flow diverter 48 via the inlet 52 to pass
through the end wall 62 into a space 86 provided between the
end wall 62 and the mounting plate 70. The receipt of fluid
within the space 86 via apertures 84 serves to prevent a
pressure imbalance that could otherwise develop on opposite
sides of the end wall 62.
[0045] As illustrated in FIG. 4, the rotary valve 46 is
configured such that the flow diverter 48, and the main
junction 58 of body 50 in which the flow diverter 48 is
housed, have substantially uniform wall thickness about the
valve body 50. Uniformity in wall thickness in this manner
facilitates precision molding of both mating components of the
valve 46 to control all close tolerances features including
roundness. Such precision facilitates dimensional stability
under all operating conditions for the valve 46.
[0046] Referring to FIG. 5, the flanges 76, 78 of the valve
body 50 of rotary valve 46 are adapted to receive fasteners
112 (e.g., nut and bolt connectors) in aligned openings for
securing the inlet of the valve body 50 to the main junction
58. As shown in FIG. 5, the valve 46 preferably includes an
O-ring face seal between the flanges 76, 78. As also shown in
FIG. 5, a taper is preferably provided on the inner surface of
the main junction 58 adjacent the flanges 76, 78 to facilitate
assembly of the diverter 48 with the O-ring component.
[0047] The interior volume provided by the construction of the
flow diverter 48 provides an ideal transition between the
axially inlet flow of fluid to the radially discharged flow
(or alternately, between a radially inlet flow and an axially
discharged flow in a reversed flow application of the valve
46). Also, the rounded configuration of the rotary valve 46 of
the present invention allows the valve to operate freely
regardless of pressure differentials between various
components of a fluid control system (e.g., between radiator,
engine, by-pass, etc. of an engine coolant system) and without
the need for extra torque or special balancing passageways as
disclosed in U.S. Pat. Publ. 2006/0005789. The construction of
the valve also provides space saving efficiencies for reduced
package size.
[0048] Referring to FIGS. 6 and 7, a portion of the side wall
60 of flow diverter 48 of valve 46 is shown. The portion of
the substantially cylindrical side wall 60 has been
illustrated in FIGS. 6 and 7 in a flat layout form to
facilitate description. The flow diverter 48 is respectively
shown in full open and full closed positions in FIGS. 6 and 7.
The inner diameter of the associated outlet 56 is shown in
dotted line in FIGS. 6 and 7 to illustrate the relative
positions between the opening 82 in the figures to illustrate
the relative positions between the opening 82 and the outlet
56 in the full open and full closed flow positions. As
described above, the flow diverter 48 preferably includes a
second opening (not shown) on an opposite side of the flow
diverter 48. As understood by one skilled in the art, the
inclusion of two openings in this manner limits the amount of
rotation necessary to move the flow diverter between first and
second flow positions in which fluid is directed to the first
and second outlets 54, 56, respectively.
[0049] The opening 82 in the flow diverter side wall 60
includes a rounded end 116 at one end of the opening 82. As
shown, the rounded end 116 has a radius that is substantially
equal to that of the inner surface of the associated outlet
56. In this manner, the opening 82 is configured such that no
portion of the flow diverter side wall 60 will block the
outlet 56 in the full open position shown in FIG. 6 (i.e.,
there is complete communication between the interior of the
flow diverter 48 and the interior of the outlet 56). The
opening 82 is non-symmetrical including an opposite end 118
that is not circular in configuration. Instead, as shown, the
edge of the flow diverter side wall 60 defining the opening 82
returns inwardly with respect to the opening 82 at the second
end 118 such that a portion of the side wall 60 forms a
tongue-like formation 120 projecting inwardly into the opening
82 at the second end 118. As should be understood by one
skilled in the art, the inclusion of the tongue-like
projection 120 at the second end 118 of opening 82 provides
for controlled transition in the flow of fluid being directed
from the flow diverter 48 to the associated outlet 56 as the
flow diverter 48 is moved from the full open position towards
the full closed position (i.e., downwardly in the point of
view of FIG. 6). In addition to limiting necessary rotation
between the first and second flow positions, the inclusion of
separate openings on opposite sides of the flow diverter 48
allows for customization of the flow-controlling projection
defined at the second end of the opening (e.g., differently
configured projection for a radiator outlet of an automotive
coolant system compared to that for a by-pass outlet).
[0050] The flow diverter 48 also defines a substantially
circular O-ring groove 122 in an outer surface of the side
wall 60 adapted for receiving an O-ring seal (not shown). As
shown in FIG. 7, the groove 122 is located with respect to the
opening 82 to position the groove 122 in a substantially
concentric relationship with the associated outlet 56 in the
full closed condition to provide a closure seal between the
diverter 48 and the outlet 56. It should be understood that
the O-ring feature could be included on any of the various
embodiments of the rotary valve of the present invention.
[0051] Referring to FIG. 8, there is shown a valve 124
according to a third exemplary embodiment of the invention.
The valve 124 is adapted for relatively larger flow capacity
compared to the valve 46. The valve 124 includes a body 126
including and inlet 128 connected to a main junction 130 at an
end of the main junction 130. The body 126 also includes a
pair of outlets 132, 133 connected in transverse manner to the
main junction 130 similar to the outlets 54, 56 of valve 46
for example. In a similar manner as valve 46, the inlet 128
and the main junction 130 respectively include flanges 134,
136 adapted for receiving fasteners 138 (e.g., nut and bolt
connectors) for securing the inlet 128 to the main junction
130.
[0052] The valve 124 includes a flow diverter 140 rotatably
received within an interior of the main junction 130. The flow
diverter 140 includes a substantially cylindrical side wall
142 and an end wall 144 defining a socket 146 for receiving an
output shaft 150 of a drive motor 148. It should be understood
that the flow diverter 140 includes openings (not shown) in
the side wall 142 of the flow diverter as described above to
provide for respectively opening and closing the outlets of
the valve 124 to fluid from the interior of the diverter 140.
To facilitate rotatable support of the flow diverter 140
within the valve body 126, the valve 124 includes a pair of
watertight bearings 152 located at opposite ends of the flow
diverter 140 within housing portions of the main junction 130.
An intermediate area of the valve 124 located between the
bearings 152 is sized to minimize friction. According to a
presently preferred embodiment, the valve body 126 and the
flow diverter 140 are both made from aluminum. The flow
diverter 140 can be coated with polytetrafluoroethylene to
further limit friction between the flow diverter 140 and the
valve body 126.
[0053] As shown in FIG. 8, the valve 124 includes an O-ring
seal located between the outer surface of the flow diverter
140 and the interior of the main junction 130 adjacent the
outlet 132 to provide a seal between the outer surface of the
flow diverter 140 and the interior of the main junction 130.
[0054] Similar to the above-described valves 10, 46, the valve
124 includes a mounting plate at an end of the main junction
130 receiving fasteners to secure the valve body 126 to the
motor 148 of valve 124. As discussed above, the flow diverter
of each of the valves 10, 46, 124 also includes an end wall
defining a socket engagingly receiving the output shaft of the
motor. In addition to facilitating valve assembly, these
construction features also facilitate subsequent access to
interior components of the valves, thereby promoting
serviceability of the valves (e.g., for repair or replacement
of an interior component of the valve). This serviceability
feature is particularly desirable in valves such as the higher
capacity valve 124 providing ready access for servicing
interior components of the valve 124 such as the watertight
bearings 152. Regarding the desired serviceability feature,
certain large capacity valves (e.g., capacity greater than
approximately 400 gals/minute) are expected to incorporate
preventive maintenance provisions due to the initial high
purchase cost.
[0055] Each of valves 46, 124, described above, includes a
single inlet and a plurality of outlets adapted for receiving
a fluid from the inlet via an intermediately located flow
diverter. The present invention, however, is not so limited.
Referring to FIGS. 9 and 10, there is shown a valve 154
according to a fourth exemplary embodiment of the invention.
The valve 154 includes a body 156 including a substantially
cylindrical main junction 158 and a flow diverter 160
rotatably received within an interior of the main junction 158
in the above described manner and having openings 162 in a
side wall of the flow diverter. The valve body 156 of valve
154 includes an outlet 164 located at an end of the main
junction 158 in an axially aligned manner similar to the inlet
52 of valve 46 for example. However, instead of directing
fluid into the flow diverter 160, the outlet 164 receives
fluid from the flow diverter 160 as indicated by the flow
arrow in FIG. 9. The valve 154 includes a motor 166 to which
the main junction 158 of body 156 is secured in the
above-described manner for valves 46, 124.
[0056] The valve body 156 includes first, second and third
inlets 168, 170, 172 each connected to the main junction 158
in transverse fashion for directing a fluid into the interior
of the flow diverter 160 through the openings 162 of the
diverter 160. The inlets 168, 170, 172 are spaced about the
main junction 158 such that angles, .theta..sub.D,
.theta..sub.E, .theta..sub.F, are respectively defined between
the first and third inlets 168, 172, between the first and
second inlets 168, 170 and between the second and third inlets
170, 172. The angles, .theta..sub.D, .theta..sub.E,
.theta..sub.F, are respectively equal to approximately 100
degrees, 130 degrees, and 130 degrees, respectively, in the
depicted embodiment.
[0057] According to one embodiment, the valve 154 could be
adapted to direct coolant fluid in an automotive engine and
the inlets 168, 170, 172 could respectively receive coolant
fluid from an engine bypass line, from the radiator, and from
the transmission (or engine oil pan) to direct the coolant
fluid to a coolant pump via the outlet 164. This valve concept
is illustrated in the layout drawing of FIG. 18. The bypass
line 168 and the radiator inlet line 170 maintain the same
open and close features as explained above for valve 46 of
FIGS. 3 through 5. However, the transmission line 172 is
designed to always remain opened. This allows for the cooling
of the transmission fluid during hot conditions and the
heating of the transmission fluid during cold conditions.
[0058] Referring to FIG. 11, there is shown a valve 176
according to a fifth exemplary embodiment of the invention.
Similar to valve 154, the valve 176 includes a body 178 having
a single outlet 180 connected to an end of a main junction 182
in an axially aligned manner and a flow diverter 184 rotatably
received in an interior of the main junction 182. The main
junction 182 is secured to a motor 186 at an end of the main
junction 182 opposite the outlet 180.
[0059] The valve body 178 includes a plurality of inlets
arranged in two groups of inlets each including three inlets.
The inlets of the first group include first, second and third
inlets 188, 190, 192 and the inlets of the second group
include fourth, fifth and sixth inlets 194, 196, 198. The
first group of inlets 188, 190, 192 is spaced about the main
junction 182 at a first axial location of the main junction
182 and the second group of inlets 194, 196, 198 is spaced
about the main junction 182 at a second axial location of the
main junction 182. In the above-described manner, the flow
diverter 184 of valve 176 includes openings, such as opening
200 for inlet 190, for directing fluid into the interior of
the flow diverter 184 from the inlets. As shown, the opening
200 includes a flow-controlling tongue 202. In an automotive
application, the inlets 188, 190, 192, 194, 196, 198 could
respectively be arranged to receive a coolant fluid from
transmission, radiator, bypass line, exhaust gas recirculation
(EGR), charge air cooler (CAC), and rear axle.
[0060] Referring to FIG. 12, there is shown a valve 228
according to a sixth exemplary embodiment of the invention.
The valve 228 includes a body 230 having a main junction 232
and an inlet 234 secured to an end of the main junction 232 in
an axially aligned manner. The main junction 232 is secured to
a motor 236 at an end of the main junction 232 opposite the
inlet 234. A flow diverter 238 is rotatably received in an
interior of the main junction 232 and includes an end wall 239
defining a socket formation 240 engagingly receiving an output
shaft 242 of motor 236 for drivingly rotating the flow
diverter 238. The valve body 230 also includes outlets, such
as outlet 244, extending transversely from the main junction
232. The flow diverter 238 includes a side wall 246 having
openings, such as opening 248, for directing fluid to one of
the outlets, such as outlet 244, from the inlet 234 via an
interior of the flow diverter 238. The flow diverter 238 also
includes apertures 250 defined by the end wall 239 to provide
for balanced pressure on opposite sides of the end wall 239.
As discussed with respect to some of the other embodiments,
this embodiment also includes the taper in the main junction
232 to facilitate assembly, as well as the O-ring component.
Although these features are optional, they are preferred.
[0061] Referring to FIGS. 13 and 14, a portion of the outer
surface of the flow diverter 238 is shown in flat layout in
full open and full closed positions, respectively. Similar to
valve 46, the opening 248 in flow diverter 238 of valve 228
includes a rounded first end 252 having a radius substantially
matching that of the outlet 244 and an opposite second end 254
forming a flow controlling tongue 256. Also similar to valve
46, the flow diverter 238 of valve 228 defines a circular
groove 258 for receiving an annular O-ring for creating a seal
between the flow diverter 238 and the outlet 244 when the flow
diverter is moved to the full closed position for outlet 244
shown in FIG. 14. The valve body 230 also includes a
reinforcing web 260 extending across an interior of the outlet
244 adjacent the flow diverter 238. The web 260 provides
reinforcing support for an O-ring located at the intersection
between the outlet 244 and the main junction 232. This support
prevents sagging of the O-ring that might otherwise occur when
the O-ring is heated. For relatively larger flow capacity
valves (e.g., capacity greater than approximately 200
gals/minute) additional webs may be desired, for example two
webs arranged in an inverted V-shaped configuration as shown
in broken line in FIGS. 13 and 14.
[0062] Referring to the schematic illustration of FIG. 15,
there is shown an engine coolant system 262 incorporating the
rotary valve 46 of FIGS. 3 through 5. As illustrated by the
flow arrows, engine coolant fluid is directed to the valve 46
in system 262 from a radiator 264 via line 266 and from a
bypass line 268. The coolant fluid is outlet from the valve 46
to engine 270 via a water pump 272.
[0063] Referring to the schematic illustration of FIG. 16,
there is shown another engine coolant system 274 incorporating
the valve 46 of FIGS. 3 through 5. As shown, system 274 is
arranged such that engine coolant fluid is directed from the
engine 270 to the valve 46 via the water pump 272. Depending
on the rotational position of the valve 46, the engine coolant
is outlet from the valve 46 either to the radiator 264 via
line 276 or returned to the engine 270 via bypass line 278.
[0064] Referring to FIG. 17, there is illustrated an engine
coolant system 280 incorporating the valve 154 of FIGS. 9 and
10. The system 280 is arranged such that engine coolant is
inlet to the valve 154 from radiator 282 via line 284, from
the engine 286 via radiator bypass line 288, or from
transmission 290 via line 292. The engine coolant fluid is
outlet from the valve 154 to a water pump 294 via line 296.
From the water pump 294, the engine coolant is respectively
directed to the engine 286 and the transmission 290 via lines
298, 300.
[0065] The inlet to the valve 154 of system 280 from the
transmission 290 preferably always remains opened. This
arrangement allows bypass flow to heat the transmission 290
during cold weather conditions and to direct colder radiator
flow during relatively hot conditions. As should be
understood, the engine coolant could alternatively be directed
to another feature of an automobile rather than the
transmission 290.
[0066] Referring to FIG. 18, there is shown a portion of an
engine coolant system 302 including an integral rotary valve
304 and electronic water pump 306. The electronic water pump
306 is described in greater detail in U.S. Pat. No. 6,499,442,
which is incorporated herein by reference in its entirety. The
rotary valve 304, like rotary valve 154 of FIGS. 9 and 10,
includes inlets 308, 310, 312 directing a fluid to a flow
diverter 314 rotatably received in an interior of a main
junction 316. A motor 318 includes a housing secured to one
end of the main junction 316. The valve 304 lacks the outlet
pipe that was included in the valve 154 of FIGS. 9 and 10.
Instead, a housing 320 of the electronic water pump 306 is
secured directly to the main junction 316 of the valve 304
opposite the motor 318.
[0067] Referring to FIG. 19, there is illustrated a coolant
system 322 for an automobile engine incorporating the integral
valve 304 and water pump 306 assembly of FIG. 18. The coolant
is directed into the valve 304 in system 322 from radiator 324
via line 326, from the engine 328 via a radiator bypass line
330, and from an oil pan 332 via line 334. The fluid is output
from the valve 304 to the integral water pump 306 and, from
there, is directed to the engine 328 via line 336 and to the
oil pan 332 via line 338. In terms of the coolant flow
distribution, the system 322 is arranged substantially similar
to the system 280 shown in FIG. 17, except that the coolant is
directed from the water pump 306 to the oil pan 332 instead of
the transmission of the automobile. It should be understood
that the coolant line could conceivably be directed to any
suitable component of the automobile for conditioning by the
coolant system. As was the case for the valve inlet from the
transmission of system 280, the valve inlet from the oil pan
332 in system 322 is preferably maintained in an opened
condition. Some small engines, such as hybrid engines, might
incorporate a Y connection to combine both transmission and
oil pan cooling in a single electronic-water pump and
electronic control valve.
[0068] The foregoing describes the invention in terms of
embodiments foreseen by the inventor for which an enabling
description was available, notwithstanding that insubstantial
modifications of the invention, not presently foreseen, may
nonetheless represent equivalents thereto.