rexresearch.com

Kazimierz (Stan) HOLUBOWICZ

Gun Engine



90% efficiency, reduces fuel consumption & emissions 80%, burns any fuel, plus water 8:1 fuel.

http://www.gun-engine.info
(July 2004/2007)

Gun-Engine

While current engines made us masters of converting useful forms of energy into useless energy, I propose to reverse that.

Current engines waste more than 80% of the energy in fuel, utilizing only a fraction of the available energy, as typical combustion engines are full of inherit causes of inefficiency. The major blunder is the current cooling system based on a radiator that disposes heat -- and thus, heats up the environment. The environment stores that heat as a useless form of energy as we have not yet develop a technology that would use it.

I've found one way to utilize that heat, and so propose a high efficiency engine that converts this engine heat into extra work. The conversion quadruples efficiency -- thus fuel consumption and GHG emission are cut by 80%. In addition the NOx emission is eliminated.

In the name of Kyoto accord I'm asking you to pass this information on to a proper person that is interested in improving living conditions in urban environment densely crowded with cars and trucks.

The gun-engine operates unexpectedly well! Amazingly much better than expected. Runs so cool and is immune to variations of the ignition point completely. We run it without any cooling at all. The director of automotive department of the University cannot stop complementing me. To find out why it is cool I suggested to test temperature gradient by placing 16 temperature probes at strategic points of the gun-engine. At this point I want to tell you the difference between my first prototype (blown about 3 years ago) and this one. My first prototype had cylinder prolonged only 1" and this one is prolonged 2" so the bullet travels about 3 times longer distance in this and that expands exhaust better. My conclusion is (might be too hectic, but probably correct) that the harmonic oscillations of the pressure does produce extra expansions, therefore the total expansion consists of major expansion (like in diesel) plus summation of all extra expansions and that converts all the energy released from fuel into work. The gun-engine consumes so little fuel that it is difficult to measure precisely.

I think that all the thermodynamics of today's engines is a big B.S. developed by those who wasted $Billions in grants, to cover the lack of performance.

Stan Holubowicz
Gun-Engine
British Columbia Canada
(604) 525-7917
Gun-Engine.info
email: gun-engine@shaw.ca


http://pesn.com/2006/05/02/9500266_Gun_Engine/
May 2, 2006
SOURCE: Email from Bon Kulman, April 30, 2006, covering his email interviews with Kazimierz Holubowicz from Feb. 19 - March 3, 2006. Edited by Mary-Sue Haliburton.

Gun Engine Explodes Fuel Efficiency

Bon Kulman interviews Kazimierz Holubowicz, inventor of the gun engine, which was designed with the objective of increasing engine efficiency from 20% to much more than that.

by Bon Kulman
for Pure Energy Systems News


Kazimierz Holubowicz shows the gun engine he invented.
Source: Robyn Stubbs; 24 hours; Canoe

MQ: I suppose we should start by first getting a little information on yourself. What is your background and what lead you to start developing the Gun-engine?

I'm a physicist skilled in QED (Quantum Electro Dynamics) rather than in engines. Severely crippled, over sixty, I’ve been on social assistance since a stroke paralyzed my body over 8 years ago. Therefore I sit in an empty (subsidized) apartment, and instead of being depressed I try to save our planet earth, meaning that I think and invent.

One day, busy with trying to develop a theory of anti-gravity, I had been moved to Earth by my son Greg (I have three sons and a daughter). Greg challenged me to improve combustion engines, before completing my anti-gravity theory. He said that every engine is only 20% efficient and that was unbelievable. I said that if that is true, I would have no problem improving engines.

He insisted that it is true, so I accepted the challenge saying:
- “Three-phase electric motors are about 94 % efficient so it would be difficult to improve that;
- “Dear son any device that is only 20% efficient should be easy to improve;
- “It should be easy because the inefficiency must be caused by a very poor design, so it is only to change the principle of operation and the design.”

My son laughed!

I sat and wrote a plan to go ahead with a new challenge. 8 years later I received certificates of filing for patents from patent offices. (patent pending)

Q: How does the Gun-engine differ from standard automotive engines that are on the market? What makes your design better?

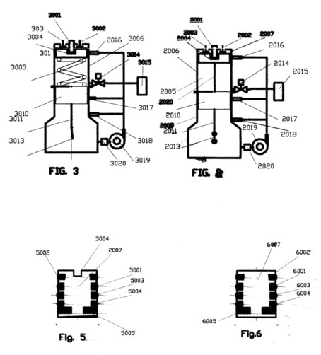
My gun-engine has many things in common with a traditional engine, (induction and exhaust evacuation valves, crankshaft, etc.) yet it is different since it explodes fuel; traditional engines cannot withstand the explosions. The key point of difference is that the explosions of fuel vapor pre-mixed with air (homogeneous fuel) do not act on the primary piston that produces work, but rather on an additional piston that floats on a compressible air pocket. This arrangement introduces certain delaying of pressure building over the primary piston that produces work. This provides the important opportunity to improve torque up to 70 to 90 times without fuel consumption increase.

Also, the arrangement changed torque vs. Speed, and power vs. speed characteristics. The torque is independent of speed, and power is in proportion to speed, which eliminates the need to use transmission or reduction gears. In addition, this new arrangement eliminates the need for advancing the ignition, which is responsible for related parasitic torque in every traditional engine. Therefore the arrangement also allows development of transmission-free gadgetry such as cars and trucks.

Every traditional engine is infested with causes of inefficiency; therefore, it is bad by design. I've eliminated most of the causes, so I believe my gun-engine is better by design. One of the most important causes of the inefficiency is the waste of heat by cooling through a radiator. Another not less important cause of the inefficiency is the release of hot, incompletely-expanded exhaust. I've replaced the radiator -- the major cause of the inefficiency in every traditional engine -- with an internal cooling that preserves heat, which could be converted into extra work.

I've integrated a gun with this engine, therefore the expansion of exhaust is to, or even below, the atmospheric pressure.

Traditional engines work in a four stroke cycle, (some in a two stroke cycle) yet my gun-engine uses a four-stroke cycle during starting and to reach the destined speed, upon which it switches automatically to a twelve-stroke cycle that converts all the energy released from fuel into work.

The twelve-stroke cycle comprises:
- an induction stroke to supply fuel vapor with air into explosion chamber;
- a compression stroke to initiate explosions trough the compression heat;
- primary power stroke similar to that in traditional engines and;
- up to four compression and four extra power strokes that convert this energy that is wasted in traditional engines into extra work.

The conversion does quadruple the efficiency over that of traditional engines, and in combination with elimination of transmission, allows construction of a vehicle capable of exceeding 220 mpg in mileage.

Q: How do you see your Gun-engine competing with the best of today's engines in the market place? When do you see your engine entering the market?

To begin with, this engine is cheaper to produce due to elimination of some production processes and complexities. As the gun-engine can accept any fuel, including hydrogen, the owner of the vehicle could select the most economic fuel on the market. With the greatly-improved mileage of a transmission-free vehicle exceeding 220 mpg would naturally eliminate traditional engines from the market altogether.

In addition, if properly financed, the gun-engine should prevent the highly-advertised fuel cell from entering into market as its efficiency is much below that of my gun-engine. I do believe that Hydrogen should not be wasted as oil resources have been, so my advice is to rethink the fuel cell technology. It should be perfected prior to entering into mass production stage.

I also believe that the gun-engine which could use existing and futuristic fuel infrastructure is a much better alternative to highly financed, pretty expensive, yet not very reliable technology, the mass production of which does not exist. However, the existing production facilities and methods for traditional engines could easily be adapted to mass-produce the gun-engine.

I also think that a device that could accept many fuels or fuel blends is much better alternative to one which runs only on very pure Hydrogen.

Q: Can your Gun-engine be scaled down?

Indeed it can. I've even written a paper on the subject titled "Improving mileage" that I would distribute at the Arno Technology Fair in Hanover. The president of that fair granted me a free booth, so that I could present my technology as a better alternative to fuel cells there.

Q: With all the current claims about the hydrogen economy, what do you see happening if your engine was brought to market? Would it supplant or support it?

I do believe that a full-scale introduction of my engine into the market would cause a temporary disturbance of the oil market. It would certainly have the same impact as a sudden increase of oil production to an unimaginable level, like quadrupling the supply of oil. That would certainly eliminate imports of oil into North America.

Yet the most important would be the impact of savings of fuel reaching the stunning level of 90 % of fuel production. While part of the money could be used to increase the quality of life, most of that money could be reinvested into more profitable ventures. This would eliminate unemployment and move North America into a never-known golden age when everybody would have good income and medical care.

Yet the most visible impact would be on the environment, as this new efficient gun engine would have the same effect as taking out of our streets and roads up to 90% of vehicles. Indeed preservation of oil resources for generations to come would certainly prolong time needed to build the Hydrogen Infrastructure, which would ease transition to a hydrogen era. Yet the most important result is that the oil monopoly would not be replaced with a hydrogen monopoly, since every individual, farmer, logger or trucker would be able to fuel his vehicle or tractor with home-made fuel. Indeed the gun-engine supports existing as well as futuristic infrastructures.

Q: What is your vision for the next 5-10 years? Where do you see the global energy infrastructure going?

I do not think five or ten years from now would be different than today, because those in power rather care for their own career than for the country or the World. One voice of this inventor could not convince these that it is worthwhile to invest as little as, let's say, $200,000 into this technology as a scientific grant. Professors at Universities would do their best to prevent that from happening and those at NRC do not have any knowledge nor will to do that. The changes could come when we are out of oil and have not yet developed any hydrogen infrastructure. My role as an inventor is to provide the opportunity.

Politicians decide if that is worth to try, but the new government in Canada, very much under the sway of the Bush administration, is leading that country away from supporting the Kyoto Accord. [Editor's comment: It’s why the current Canadian Prime Minister’s election campaign was financed by Alberta and international oil interests; they knew they could count on him to put their agenda first. And he has complied by already canceling government programs designed to promote reducing emissions, and no doubt will also follow George Bush’s announced way of reducing oil pricing – by removing environmental controls!] You could predict on your own the chances of this project to succeed.

Q: Do you have any interested investors or companies looking at the gun-engine?

I had some but could not accept the conditions. As for today I am trying to convince a certain European engine manufacturer to produce a large marine version of the gun-engine as vessel's thrust would be 200,000 Hp power at 100 RPM. I would meet in Germany with CEO of German Industry, but am not very optimistic. I'm not very optimistic since these companies want exclusive rights and I would want to preserve that universal right for myself, so would negotiate only one particular application and one particular power. I have three partners of my soon-to-be-registered enterprise that would be privately owned to reduce overhead. I’m obliged to keep it confidential so would not tell you what application we would try to introduce to market.

Q: How lightweight would a vehicle be that uses your engine? Does the gun-engine require expensive composites?

A vehicle that uses the gun-engine would be little less heavy, (elimination of transmission and lighter gun-engine) yet its production costs would be only a fraction of that of current engine, since many manufacturing processes could be eliminated and the gun-engine does not require difficult processes or not-yet-developed materials. In addition, only these parts exposed to explosions of fuel would need to be made out of metal. The rest could be made of mould-injected plastics, and this manufacturing process is less expensive than metal processing.

Q: Why has nobody thought of this concept before? Were they stuck in the "same old, same old" routine?

How could I know why nobody else has not thought about a concept like mine? I cannot answer this question, because I do not answer questions I do not know the answer to. But you could answer why haven't you thought about similar concept. Could you?

SOURCE: Email from Bon Kulman, April 30, 2006, covering his email interviews with Kazimierz Holubowicz from Feb. 19 - March 3, 2006. Edited by Mary-Sue Haliburton.


PESWiki Directory Excerpts ---

Canadian inventor Kazimierz ("Stan") Holubowicz  has come up with an environmentally friendly and transmission-free engine based on the same mechanics as how a bullet is shot from a gun. The engine can run on any liquid or gaseous fuel, including acetylene.  Initial test results showed 92% efficiency.

How it Works --- The fuel is vaporized before going into the combustion chamber.  Vaporized fuel combusts much more rapidly.  The piston moves against an air chamber, which then pushes it back into position in a spring-like action once the combustion is complete.  This prevents mechanical stress on the components.  Water is injected 8 parts per one part fuel, along with the fuel.  As the fuel combusts, the heat turns the water to steam, augmenting the expansion in the chamber.  This also absorbs the heat so that the run temperature is much lower.  The exhaust is only 140 degrees Fahrenheit.

A recent test of a Suzuki engine on a dynamometer showed a 14% increase in power using just 10% of the amount of fuel using the Gun Engine technology.

After a bad experience with a previous group who absconded money and delayed progress, as of Aug. 4, 2008, the inventor is looking for a new team to invest in and develop the technology...

The conversion includes:

a device to vaporize fuel that also pre-mixes the resulting vapor with air in explosive proportion;
an internal cooling that preserves heat to avoid thermal losses infesting today's engines;
a device to convert the preserved heat into additional work (extra mileage);
replacing original combustion with rapid fuel detonations;
a device to adjust compression ratio on the run to accept any fuel octane;
meetings of highest pressure acting on work piston with horizontal crank;

As convert detonates fuel vapor, which yields about fourteen times higher pressure than max pressure of the original Suzuki, I limited fuel supply to 10% of the original spec to avoid cylinder bursting, yet the measured power output reading was exceeding max power of original Suzuki fully fueled. Also no traces of pollutants in emissioons (zero toxic emissions).

I also run the convert on many fuels including Hydrogen. No visible performance were noticed, yet the most important was that the convert runs very well on Acetylene that is already in production and the distribution infrastructure exists. This fuel is important as it is made out of coal and not petroleum.


INTERNAL EXPLOSION GUN-ENGINE THAT CONVERTS HEAT, PREVIOUSLY WASTED, INTO EXTRA WORK
CA2476167

(2006-02-12)

This invention deals with the efficiency of engines. It proposes to replace current combustion with explosions of fuel to eliminate losses of fuel (caused by disintegrations of fuel), improve internal pressure, and eliminate black engine deposits together with emissions of black particulates. The invention proposes to replace the cylinder head of prior art engine with a harmonic oscillator that shields the work-piston from explosions and eliminates excessive stress in crank and related parts. The oscillator is explosion driven. It comprises a gun-device, to explode fuel and convert energy released by explosions into kinetic energy stored in a free oscillati ng mass. To prevent heat losses, water injections replaced current cooling in this invention. The heat is preserved in the resulting steam and converted to extra work. The conversion does quadruple the efficiency, which cuts fuel consumption and GHG emissions in 80%. In addition, the water injections block NOx synthesis.


2006 ARNO HYDROGEN TECHNOLOGY FAIR (Hanover)  (24-28 APRIL 2006)
IMPROVING MILEAGE  (Word.doc)
Author: Kazimierz Holubowicz