
rexresearch.com
Masayoshi
KANNO,
et al.
Fast-Charging Circuit
http://green.autoblog.com/2011/06/09/japanese-developer-patents-5-minute-plug-in-vehicle-charger/
Japanese researcher develops 5-minute EV charger
Despite their many environmental advantages, electric vehicles
simply aren’t attractive to all consumers. Some say their
operating range isn’t enough for their needs, while others think
charging times are just too long. This second point may well be
moot thanks to the brilliant invention of a Japanese researcher,
a certain Mr Kanno.
He has apparently patented a device that can recharge a Nissan
LEAF or Tesla Roadster in about five minutes. That’s pretty darn
close to the time it takes to fill up on gas with a conventional
car.
Mr Kanno says the only limitation of the current charging
systems is the amount of energy that can travel through a cable.
He developed a method of storing and distributing the energy in
five-minute bursts.
Mr Kanno hopes to create operational prototypes with the help of
the industry’s main automakers in the not-too-distant future.
Thirty-minute charging stations have already appeared on some
European roads, but this latest innovation mimics today’s gas
stations and seems quite promising.
US 7605563
Charging circuit and
charger using the same
Inventor(s): MASAYOSHI KANNO [JP]; HIROYUKI
MORI [JP]; SHINICHIRO YAMADA [JP]; TSUTOMU NOGUCHI [JP] + (KANNO
MASAYOSHI, ; MORI HIROYUKI, ; YAMADA SHINICHIRO, ; NOGUCHI
TSUTOMU, ; KANNO MASAYOSHI,MORI HIROYUKI,YAMADA
SHINICHIRO,NOGUCHI TSUTOMU)
Applicant(s): SONY CORP [JP] + (SONY CORP)
Classification:- international: H02J7/00;
H02J7/14; H02P9/00; H02P9/48; (IPC1-7): H02J7/00 - European:
H02J7/14K6; H02P9/48
Abstract -- A charging
circuit includes a generator, a step-down circuit for reducing
an output voltage of the generator to a predetermined voltage, a
current controller for controlling a charging current that is
supplied from the step-down circuit to a secondary battery,
based on an amount of power generated by the generator, a mode
selector for selecting charging modes, and a monitor for
monitoring an amount of stored electricity. The step-down
circuit receives an output of the generator, in charging, at a
high voltage and a small current and is used to charge the
battery at a low voltage and a large current.
BACKGROUND OF THE INVENTION
[0001] 1. Field of the
Invention
[0002] The present invention relates to a charging circuit for
efficiently charging a secondary battery with electricity of an
output of a generator and a charger using this charging circuit.
More specifically, it relates to a charging circuit etc. using a
small-sized manpower generator.
[0003] 2. Description of the
Related Art
[0004] Recently, such a small-sized manpower generator has
appeared which utilizes a motor to improve environment
consciousness or accommodate shutoff of a battery of mobile
appliances. It is commercially available as a charger combined
with a radio or for use in charging of a cellular phone.
[0005] Such a charger is generally used for charging in a
charging circuit shown in FIG. 1. In FIG. 1, a reference numeral 10 indicates a
generator. In it, R indicates an internal resistor (output
resistor) of the generator 10, r indicates a current limiting
resistor, D indicates a backflow preventing diode, and B
indicates a secondary battery. Further, Ke indicates a
counter-electromotive voltage constant and [omega] indicates an
angular velocity. Vo indicates a generated voltage and Vb
indicates a voltage applied to the secondary battery B and the
diode D.
[0006] In the case of a charger having a small-sized man power
generator that utilizes a motor, its power generating capacity
is determined mainly by specifications of a motor portion
(generator 10). To increase the capacity, the electromotive
voltage constant can be increased by increasing the number of
turns of a coil wire. However, since in a case where a load is
the secondary battery, an impedance at time when it is charged
is small and cannot match an output impedance of the generator.
As a result thereof, its power cannot be taken out effectively,
so that it has been impossible to avoid a significant
deterioration in efficiency only by increasing the number of
turns.
[0007] If a charging current is large in a case where an output
resistance of the generator 10 is large, this resistance
component causes power proportional to a square of the current
to be dissipated. On the other hand, power of electricity with
which the secondary battery is charged is determined by a ratio
between a terminal voltage and a charging current. The terminal
voltage changes with the charging current but at a very small
rate and so is roughly constant as shown in FIG. 2. This is
because the impedance at time when the secondary battery is
charged has a very small value of 1[Omega] or less.
[0008] FIG. 2 shows a
relationship between a voltage of the secondary battery and a
charging current when it is charged. As shown in FIG. 2, there
is a linear relationship between the voltage of the secondary
battery and the charging current. An equation of
y=0.0004x+1.4051 is an approximate expression, which indicates
the relationship between the voltage of the secondary battery
and the charging current with which it is charged, and R<2
> indicates a degree of approximation. In this case, a
resistance value of a nickel-hydrogen battery (Ni-MH battery)
used as the secondary battery is 0.4[Omega]. In an actual
circuit, to this resistance a resistance of the
charging-current-limiting resistor and a resistance of the
charging circuit are added, thus giving a total sum of about
1[Omega]. It is generally known that when a load resistance and
an output resistance are equal to each other, impedances match
each other, in which case the load resistance has a maximum
dissipation power, with efficiency of 50%. Therefore, in a case
where the output resistance of the generator 10 is large, a loss
increases as a charging current increases, thus deteriorating
the efficiency.
[0009] FIG. 3 is a graph
for showing relationships between a load resistance and each of
the generated power, taken-out power, and charging current.
Here, it is supposed that the generated power voltage of the
generator 10 is 14V and its output resistance is 90[Omega]. As
shown in FIG. 3, to increase the current, the load resistance
must be reduced to be small, in which case the power that can be
taken out and the efficiency therefor are deteriorated greatly.
[0010] That is, to utilize generated power effectively, it is
important to accomplish impedance matching, so that the number
of turns of the coil wire is limited by a resistance component
of the charging circuit including the battery. Conventionally,
this problem has been coped with by first accomplishing
impedance matching between the output resistor of the generator
and the secondary battery and then increasing a revolution speed
of the motor so that a larger amount of generated electricity
may be generated. For example, to charge the nickel-hydrogen
battery with electricity of a current of 0.5 A, the output
voltage of the generator 10 is set to about 2.0V because a
voltage at the battery terminal is 1.6V and Vf of the backflow
preventing diode is 0.3V.
[0011] Therefore, according to this setting, the coil is wound
so that the output resistance of the generator 10 may be
4[Omega] because of 2. 0V/0.5 A, and then the revolution speed
of the generator motor is so set higher as to permit the current
of 0.5 A to flow therethrough. However, such the setting
significantly suppresses a degree of freedom in design of the
generator, so that it has been difficult to keep the revolution
speed low for low-noise design while obtaining required power at
the same time.
[0012] Further, in a commercially available generator, a
charging current or a voltage of generated power has been
detected and a light emitting diode (LED) has been used as a
power generation monitor, thereby prompting a user to generate
power in a set condition. This is because operating time of an
appliance when it has been run at a prescriptive revolution
speed of 120 rpm for one minute is defined as a power generating
capacity of the appliance. Thus, the user has had to generate
power while keeping in mind the prescriptive revolution speed
and time in order to store the prescriptive power. This has
burdened the user greatly.
[0013] From a viewpoint of environments it is important to
utilize human energy effectively or, from a viewpoint of
convenience of a mobile appliance, it is important to increase
the operating time of the appliance for each unit of power
generating time. That is, such a technology is necessary to
acquire a required amount of generated electricity, at a
smallest possible torque.
[0014] The amount of generated electricity can be obtained more
by increasing the electromotive voltage constant of the
generator, which means at the same time that the output
resistance is increased. This leads to a need for a technology
of efficiently taking out power to an outside even if the output
resistance is large (e.g., in a case where a generator having a
large internal resistance is utilized).
[0015] Further, a portable type manual charger has been proposed
which has a constant voltage circuit for regulating a voltage
generated by the generator to a constant value.
[0016] This portable type manual charger comprises a rotary
manual handle, a generator for generating a voltage by rotating
this handle, a constant voltage circuit for regulating a voltage
generated by this generator to a constant value, an output
terminal for charging a secondary battery with electricity of an
output of this constant voltage circuit, and a detection circuit
for detecting a predetermined value of voltage or current
applied to the secondary battery to be charged, wherein the
constant voltage circuit is constituted of a step-down type
DC/DC converter.
[0017] Although this portable type manual charger has a simple
structure, and attains to low-cost one, a problem of a power
loss due to the output resistance of the generator has not been
solved. Further, it has been impossible to control a charging
current based on an amount of generated electricity.
SUMMARY OF THE INVENTION
[0018] It is an object of the present invention to provide a
charging circuit for efficiently charging a secondary battery
with electricity of an output of a generator and a charger using
this charging circuit.
[0019] According to the present invention, the foregoing object
is attained by a charging circuit for charging a battery. The
charging circuit comprises a generator for generating an output
voltage, a step-down circuit for reducing the output voltage of
the generator to a predetermined voltage, and a current
controller for controlling a charging current, which is supplied
from the step-down circuit to the battery, based on an amount of
electricity generated by the generator. In charging circuit, the
step-down circuit receives an output of the generator, in
charging, at a high voltage and in a small current and is used
to charge the battery at a low voltage and in a large current.
[0020] For example, this charging circuit further comprises a
mode selector for selecting a mode for charging the battery, in
which the mode includes a current-preferred mode for maximizing
the charging current supplied to the battery and an
efficiency-preferred mode for maximizing utilization of power
taken out of the generator.
[0021] For example, further, in this charging circuit, the
current controller comprises a current-controlling element and a
current-limiting resistor which are set so that a total sum of a
resistance component of the battery and a resistance of the
current-limiting resistor may not be less than a negative
resistance component of the current-controlling element.
Further, a coil of the generator is supposed to have a delta
connection.
[0022] For example, additionally, this charging circuit
comprises a monitor circuit for monitoring an amount of stored
electricity. The monitor circuit has a detector for detecting
the amount of stored electricity by multiplying the charging
current and a charging time.
[0023] In accordance with another aspect of the invention, a
charger for charging a battery comprises a generator for
generating an output voltage, a step-down circuit for reducing
the output voltage of the generator to a predetermined voltage,
and a current controller for controlling a charging current
based on an amount of electricity generated by the generator,
the charging current being supplied from the step-down circuit
to the battery. In the charger, the step-down circuit receives
an output of the generator, in charging, at a high voltage and
in a small current and is used to charge the battery at a low
voltage and in a large current.
[0024] For example, this charger further comprises a mode
selector for selecting a mode for charging the battery, in which
the mode includes a current-preferred mode for maximizing the
charging current supplied to the battery and an
efficiency-preferred mode for maximizing utilization of power
taken out of the generator.
[0025] For example, further, in this charger, the current
controller comprises a current controlling-element and a
current-limiting resistor which are set so that a total sum of a
resistance component of the battery and a resistance of the
current-limiting resistor may not be less than a negative
resistance component of the current-controlling element.
Further, a coil of the generator is supposed to have the delta
connection.
[0026] For example, additionally, this charger comprises a
monitor circuit for monitoring an amount of stored electricity.
The monitor circuit has a detector for detecting the amount of
stored electricity by multiplying the charging current and a
charging time.
[0027] According to the present invention, by providing the
step-down circuit for reducing an output voltage of the
generator to a predetermined voltage and the current controller
for controlling a charging current, which is supplied to the
battery, based on the electricity generated by the generator,
the step-down circuit receives, in charging, an output of the
generator at a high voltage and in a small current and is uses
to charge the battery at a low voltage and in a large current.
As a result thereof, impedance matching can be accomplished
between the output resistor of the generator and the battery,
thereby effectively taking power out of the generator and using
it to charge the battery.
[0028] Therefore, a charging circuit including the battery can
be constituted independently of the output resistance of the
generator, thus greatly improving a degree of freedom in design.
Even if the battery is charged using a low-revolution speed
generator having a large electromotive voltage constant, good
energy efficiency can be obtained, thereby conducting low-noise
design for reducing a revolution speed.
[0029] Further, constant efficiency can be obtained even if a
charging current is large, so that it is possible to avoid a
running torque of a motor from increasing rapidly when an amount
of generated electricity is increased, thereby obtaining good
operationality.
[0030] Further, by selecting a mode for charging the battery,
current-preferred charging or efficiency-preferred charging can
be selected arbitrarily. Since the generator employs the delta
connection, an output resistance of the generator can be lowered
to improve efficiency of the step-down circuit. Further, since
the monitor circuit for monitoring an amount of stored
electricity is equipped, which detects and indicates that a
constant level of power has been stored by generation, a user
can store a prescriptive level of power by generating power at
his or her desired revolution speed without knowing about a
revolution speed in particular until it is indicated by the
monitor.
[0031] The concluding portion of this specification particularly
points out and directly claims the subject matter of the present
invention. However those skill in the art will best understand
both the organization and method of operation of the invention,
together with further advantages and objects thereof, by reading
the remaining portions of the specification in view of the
accompanying drawing(s) wherein like reference characters refer
to like elements.
BRIEF DESCRIPTION OF THE
DRAWINGS
FIG. 1 is a diagram for showing
a configuration of a direct charging circuit;
FIG. 2 is a graph showing a
relationship between a voltage and a charging current of the
secondary battery when it is charged;
FIG. 3 is a graph for showing
relationships between a load resistance and each of the
generated power, taken-out power, and charging current;
FIG. 4 is a block diagram for
showing a configuration of an embodiment of a charging circuit
according to the invention;
FIG. 5 is a graph for showing
an example of comparison between direct charging and
high-voltage charging;
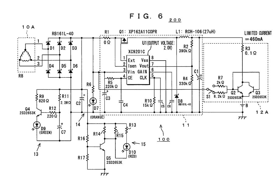
FIG. 6 is a circuit diagram for
showing a configuration of an embodiment of a charger using
the charging circuit according to the invention;
FIG. 7 is a graph for showing
properties of a current-controlling transistor;
FIG. 8 is a graph for showing
relationships between power at time of power application, and
each of the discharged power and energy efficiency;
FIG. 9 is a graph for showing a
relationship between a voltage of generated power and a
charging current;
FIG. 10 is a graph for showing
a relationship between a voltage applied to a step-down
circuit and a charging current; and
FIG. 11 is a graph for showing
a relationship between a base resistance and efficiency.
DESCRIPTION OF THE PREFERRED
EMBODIMENTS
[0043] The following will describe embodiments of the present
invention with reference to drawings. FIG. 4 is a block diagram
for showing a configuration of an embodiment of a charging
circuit 100 according to the invention. Further, FIG. 6 is a
circuit diagram for showing a configuration of the charger 200
using the charging circuit 100.
[0044] As shown in FIG. 4, the charging circuit 100 comprises a
generator 10, a step-down circuit 11, a current controller 12,
and a secondary battery B.
[0045] The generator 10 has a rotary manual handle so that it
may generate a voltage when this handle is rotated. For example,
a three-phase brush-less motor is used. A coil of this generator
10 has a Y connection or delta ([Delta]) connection.
[0046] The step-down circuit 11 has a step-down type DC-DC
converter. In charging, this step-down circuit 11 receives an
output of the generator 10 at a high voltage and in a small
current and is used to charge the secondary battery B at a low
voltage and in a large current.
[0047] The current controller 12 controls a charging current
based on an amount of electricity generated by the generator 10.
Here, to explain a charging system by use of the step-down
circuit 11, the current controller 12 is supposed to comprise a
current-limiting resistor R3 and a backflow preventing diode D.
In this case, when charging the battery using the generator 10
as a charging power supply, a charging current is regulated to a
predetermined value by the resistor R3. Further, the diode D is
adapted to prevent the charging current from flowing back to the
step-down circuit 11 from the secondary battery B during
charging.
[0048] As the secondary battery B, an AA nickel-hydrogen battery
is used for example. A voltage at an open terminal of this
secondary battery B is, for example, 1.2V. It is to be noted
that the secondary battery B may be comprised of a plurality of
secondary batteries connected in parallel.
[0049] In FIG. 4, R indicates an internal resistance (output
resistance) of the generator 10 and is supposed to be equal to
90[Omega]. Further, Ke indicates a counter-electromotive voltage
constant and [omega] indicates an angular velocity. Vy indicates
a generated voltage and Vx indicates an output voltage of the
step-down circuit 11. Further, Iy indicates an output current of
the generator 10 and Ix indicates an output current of the
step-down circuit 11, that is, a charging current. It is to be
noted that E=Ke[omega] wherein E indicates generated power
voltage.
[0050] In the charging system by use of the step-down circuit
shown in FIG. 4, the generator 10 is supposed to be equivalent
to a battery having an output resistance of 90[Omega] and an
output of the generator 10 is applied to the step-down circuit
11 having conversion efficiency of 80%. An output voltage of the
step-down circuit 11 is supposed to be 2.0V. Under these
conditions, the input applied to the step-down circuit 11 is
given by the following Equation (1):Vy=E-90*Iy (1) Since the
step-down circuit 11 has the same input and output, the
following Equation (2) is obtained:2.0*Ix=Vy*Iy*0.8 (2)
Equations (1) and (2) are combined to give the following
Equation (3):90*Iy<2> -E*Iy+2.5*Ix=0 (3) From Equation
(3), Iy can be obtained as follows:Iy={E+-{square
root}(E<2> -4*90*2.5*Ix)}/2*90 (4) It can be seen that,
for a content under the root sign in Equation (4) to have a
solution, the generated power voltage E must have at least a
certain value, which is determined by an output resistance,
conversion efficiency, and a charging current. If the content
under the root sign is 0, the output current Iy of the generator
takes on a value obtained by dividing E by twice the output
resistance (which current is received through a load resistance
which is the same as the output resistance), thus meeting
conditions for obtaining maximum power always irrespective of
the conversion efficiency and the charging current. It is to be
noted that if Ix=100 mA, E>=9.5V. Further, if E=9.5V,
Vy=4.25V and Iy=53 mA.
[0055] FIG. 5 shows a result of calculations performed in a case
where the secondary battery was charged directly and a case
where it was done so through the step-down circuit. The battery
was charged under the conditions that the output resistance of
the generator 10 is 90[Omega], the efficiency of the step-down
circuit 11 is 0.8, and the output voltage of the step-down
circuit 11 is 2.0V, and it was supposed that maximum power
conditions are met.
[0056] As shown in FIG. 5, in the case of direct charging, as
generated power increases, the efficiency is deteriorated. In
the case where it is charged using the step-down circuit 11, on
the other hand, the efficiency is high and constant. As the
generated power increases, a difference between these cases
becomes remarkable, so that the efficiency of charging becomes
constant when the step-down circuit 11 is used, thus indicating
that the step-down circuit 11 is effective.
[0057] With reference to FIG. 6, the following will describe a
specific configuration of the charging circuit 100 used in an
embodiment of a charger 200 according to the invention. As shown
in FIG. 6, the charging circuit 100 comprises a generator 10A,
the step-down circuit 11, current controller 12A, the secondary
battery B, a monitor circuit 13 for monitoring an amount of
stored electricity, a power generation monitor 14, and an
over-voltage monitor 15. Of these, the current controller 12A
comprises the current-limiting resistor R3 and transistors
(current-controlling transistors) Q2 and Q3.
[0058] The generator 10A is supposed to be a three-phase
brush-less motor and a coil of this generator 10 employs the
delta ([Delta]) connection. Therefore, an internal resistance of
the generator 10A is reduced to, for example, 21[Omega]. By thus
reducing the internal resistance, the efficiency of the
step-down circuit 11 can be improved.
[0059] As the step-down circuit 11, a step-down type DC-DC
converter having an output voltage of 2V (XC9201C type step-down
IC, which is hereinafter referred to as "step-down IC") is used.
It is to be noted that an over-current protection terminal 2
(second pin) of the step-down IC (U1) is not in use. Therefore,
a resistance value of a resistor R1 is supposed to be 0.
[0060] The current controller 12A controls a charging current
supplied to the secondary battery B using the current-limiting
resistor R3 and the transistors Q2 and Q3 based on an amount of
electricity generated by the generator 10A.
[0061] Further, the monitor circuit 13 comprises R11 and C7
shown in FIG. 6, to monitor an amount of the stored electricity.
In this monitor circuit 13, an LED is adapted to emit light by
using a timer constituted of R11 and C7 when a quantity of a
current multiplied by a certain lapse of time is reached. In
this case, the amount of the stored electricity is detected by
multiplying the charging current by the charging time. For
example, the charging current is monitored on the basis of a
voltage applied to the step-down circuit 11 or an average value
of pulses of a switching element driver.
[0062] This monitor circuit 13 turns on a green LED D9 when an
amount of electricity of 400 mA multiplied by one minute is
stored. In this circuit, D9 lights up when generation at 400 mA
for one minute is performed. If generation at 200 mA for two
minutes is performed, the LED D9 also lights up.
[0063] Further, the power generation monitor 14 is a circuit
that includes resistance R6 and an orange-color LED D7. In it, a
current starts to flow when a generated voltage reaches 2V or
higher, while the step-down IC (U1) requires at least 2.3V for
its stable operation. At this voltage, the orange-color LED D7
in the power generation monitor 14 lights up in setting. A user
can charge the battery securely by rotating the handle so that
the LED D7 may light up. A luminosity of the LED D7 depends on a
generated voltage.
[0064] The over-voltage monitor 15 turns on a red LED D10 if
excess power is generated, for example, if a generated voltage
reaches 16.5V or higher. A protection current flows through Q5
if a voltage applied to the step-down IC (U1) reaches 16.5V or
higher, to prevent an excessive voltage from being applied to it
because the revolution speed is too high. In such a case, the
red LED D10 emits light to give a warning to the user.
[0065] In charging, power generated by the generator 10A goes
through a rectifier circuit constituted of diodes D1-D6 to be
converted into a DC voltage and then is provided to a step-down
circuit 11 having the step-down IC (U1). A switching frequency
is determined to about 300 klHz by a resistor R10 and a
capacitor C5 which are connected to a fifth pin of the step-down
IC (U1). At this frequency, the switching element Q1 is
switched, so that an output is provided through a coil L1. Its
output voltage is returned to a seventh pin of the step-down IC
(U1) by the feedback resistors R2 and R4 and compared with an
internal reference voltage of 0.9V. An error voltage obtained
after this comparison with the reference voltage undergoes pulse
width modulation to be returned to a switching pulse and is
controlled by changing its pulse duty ratio so that the output
voltage may be kept constant.
[0066] An output of the step-down IC (U1) is applied to the
secondary battery B through the current limiting resistor R3 and
the transistors Q2 and Q3. These two transistors having a low
Vce (sat) value were selected and used to reduce a circuit loss.
[0067] Since an output voltage of the step-down IC (U1) is
constant at 2.0V, if current control is not conducted, a current
flows irrespective of a generated power, so that a voltage
applied to the step-down IC is lowered to a value below the one
met the operating conditions of the step-down IC (U1) owing to a
feedback in order of a charging current (large in magnitude),
generator's output current (large in magnitude), and the voltage
applied to the step-down IC (low in level). Therefore, there
occurs a need for controlling the charging current in accordance
with the generated power. The transistors Q2 and Q3 respectively
control a base current based on the generated voltage so that
the charging current may be altered.
[0068] A mode for charging the secondary battery B includes a
current-preferred mode for regulating a charging current to be
supplied to the secondary battery B to a predetermined value and
an efficiency-preferred mode for maximizing utilization of power
taken out of the generator 10A. This mode charge is controlled
by altering a resistance value of a resistor R7. The resistance
value of the resistor R7 is altered using, for example, a
transfer switch S1 which functions as mode selector for
selecting the mode for charging the secondary battery B.
[0069] If the resistance value of the resistor R7 is lowered by
the transfer switch, the current-preferred mode is entered. In
this case, a larger base current flows through each of the
transistor Q2 and Q3 to increase the charging current. For
example, if the current-preferred mode is entered in which the
base resistance of R7 is switched to 2 k[Omega] to set the
charging current to a maximum value (e.g., 900 mA), take-out
efficiency of generated power is about 50%. If the resistance
value of the resistor R7 is increased by the transfer switch, on
the other hand, the efficiency-preferred mode is entered. In
this case, a smaller base current flows through each of the
transistors Q2 and Q3, so that the charging current decreases
but the take-out efficiency increases. For example, in a case
where such an efficiency-preferred mode is entered that the base
resistance of R7 is switched to 8.2k[Omega] to set the take-out
efficiency of the generated power to a maximum value (e.g.,
84%), the charging current is about 460 mA.
[0070] FIGS. 7 to 11 show results of experiments conducted in a
case where in place of the generator 10A an output resistor
(68[Omega]) was connected to the DC power supply in the
above-mentioned charging circuit 100.
[0071] FIG. 7 shows properties of the current control transistor
Q2 and Q3. It indicates a relationship between an actual
charging current and each of the Vce voltage and base current of
the control transistors Q2, Q3. An equation of
y=-0.00073x+0.57421 in the graph is an approximate expression
that indicates a relationship between a charging current and Vce
voltage during charging, and R<2 > therein indicates a
degree of approximation.
[0072] As shown in FIG. 7, good linearity is maintained between
the charging current and the Vce voltage and between the
charging current and the base current. Further, in this example,
Vce can be approximated by 0.57-0.73*current value (A) and a
resistance component can be replaced by 0.73[Omega] with a
negative polarity, that is, a negative resistance. In the
charging circuit 100 shown in FIG. 6, this negative resistance
(-0.73[Omega]) was canceled by the internal resistance of the
secondary battery B of 0.4[Omega] and the current-limiting
resistance R3 so as to provide 0[Omega]. This avoids the output
of the step-down IC (U1) from being influenced by a magnitude of
the charging current. If a current flows so that such a combined
resistance is negative, a feedback occurs in a
further-current-flow direction, thereby resulting in flowing an
excessive current. If a current flows so that the combined
resistance is positive, on the other hand, a feedback occurs in
such a direction that the current flow may be suppressed,
thereby enabling safe charging.
[0073] A maximum current is permitted to flow when a sufficient
amount of electricity is generated and the Vce voltage of each
of the transistors Q2 and Q3 is reduced to a minimum. The
maximum current and is mainly regulated by the output voltage
and the current-limiting resistance R3 to 1A or lower in this
circuit.
[0074] FIG. 8 is a graph for showing relationships between an
amount of the generated electricity, and each of the amount of
discharged electricity and energy efficiency. In FIG. 8, a
horizontal axis representing power at time of power application
indicates output power of the DC power supply used in place of
the generator 10A. It is to be noted that the amount of
discharged electricity (discharged power) was obtained by
multiplying a charging current by 1.2V. Further, taking-out
efficiency was defined by (1.2V/step-down circuit's output
voltage) and overall efficiency, by (the amount of the
discharged electricity/the amount of the generated electricity).
[0075] FIG. 8 shows that efficiency at which energy is taken out
to an outside is 50-57%, which is a good value in the vicinity
of a roughly maximum power value, and increases slightly as the
discharged power increases in a region where the discharged
power is at least 100 mW. The conversion efficiency of the
step-down circuit deteriorates as a difference between input and
output voltages increases and so decreases as the amount of the
generated electricity increases. These two properties offset
each other, so that the overall efficiency was a flat value of
about 25%, exhibiting properties independent of the charging
current (discharged power).
[0076] FIG. 9 is a graph for showing a relationship between a
generated voltage and a charging current. An equation of
y=53.011x-107.54 in the graph is an approximate expression that
indicates a relationship between the generated voltage and the
charging current, and R<2 > therein indicates a degree of
approximation.
[0077] FIG. 9 shows that good linearity is maintained between an
output voltage of the generator 10A and a charging current.
Therefore, it is possible to correctly detect an amount of the
stored electricity even if the charging current has altered due
to fluctuations in the generated voltage caused by fluctuations
in revolution speed etc. A current starts to flow at 2V or
higher because the step-down IC (U1) requires at least 2.3V for
stable operation. It is so set that at this voltage the LED D7
in the power generation monitor 14 may emit light.
[0078] FIG. 10 is a graph for showing a relationship between a
voltage applied to the step-down IC and a charging current. An
equation of y=53.011x-107.54 in the graph is an approximate
expression that indicates a relationship between the voltage
applied to the step-down IC (U1) and the charging current, and
R<2 > therein indicates a degree of approximation. As
shown in FIG. 10, good linearity is maintained between a voltage
applied to the step-down IC (U1) and a charging current. When
the applied voltage reaches 2V or higher, a current starts to
flow, thereby causing the step-down IC (U1) to operate.
[0079] FIG. 11 is a graph for showing a relationship between a
base resistance and efficiency. In FIG. 11, efficiency values
are those obtained in a case where generated power is 600 mW.
Further, a mechanical loss (loss due to a gear portion) is an
estimate and magneto-electric efficiency is 100%.
[0080] As shown in FIG. 11, mechanical efficiency is 90%
irrespective of the resistance value of the base resistor R7.
Further, take-out efficiency decreases as the resistance value
of the base resistor R7 decreases. Further, converter efficiency
increases as the resistance value of the base resistor R7
decreases. Further, when the resistance value of the base
resistor R7 is 6.8 k[Omega], 8.2[Omega], or 4.7 k[Omega], the
overall efficiency is comparatively high and, when the
resistance value of the resistor R7 is 2 k[Omega], the overall
efficiency is comparatively low. That is, the take-out
efficiency and the converter efficiency cannot be consistent
with each other. When the take-out efficiency is 50%, the
charging current takes on a maximum value (e.g., 900 mA).
[0081] As mentioned above, by inserting the step-down circuit 11
(i.e., step-down type DC-DC converter) as an impedance
conversion element between the output of the generator 10A and
the secondary battery B, receiving power out of the generator at
a high voltage and in a small current, and then using it to
charge the secondary battery at a low voltage and in a large
current, impedance matching can be accomplished to obtain high
charging efficiency even if the output resistance becomes large.
[0082] As described above, according to the present embodiment,
there are provided the step-down circuit 11 for reducing an
output voltage of the generator 10A to a predetermined voltage,
the current controller 12A for controlling a charging current
supplied from the step-down circuit 11 to the secondary battery
B based on an amount of electricity generated by the generator
10A, the mode selector (not shown) for selecting a charging
mode, and the monitor circuit 13 for monitoring an amount of
stored electricity. The step-down circuit 11 receives an output
of the generator, in charging, at a high voltage and in a small
current and is used to charge the secondary battery at a low
voltage and in a large current. Thus, impedance matching can be
accomplished between the output resistance of the generator 10A
and the secondary battery B, thereby taking power out of the
generator 10A effectively and using it to charge the secondary
battery B.
[0083] Therefore, it is possible to constitute a charging
circuit including the secondary battery B irrespective of the
output resistance of the generator 10A, thereby greatly
improving a degree of freedom in design. Good energy efficiency
can be obtained even if the secondary battery B is charged using
the low-revolution speed generator 10A having a large
electromotive voltage constant, thereby conducting low-noise
design for reducing a revolution speed.
[0084] Further, constant efficiency can be obtained even if a
charging current is large, so that it is possible to avoid a
running torque of the motor from increasing rapidly when an
amount of generated electricity is increased, thereby obtaining
good operationality.
[0085] Further, by selecting a mode for charging the secondary
battery B, current-preferred charging or efficiency-preferred
charging can be selected arbitrarily. Since the generator 10A
employs the delta connection, the output resistance of the
generator 10A can be lowered to improve the efficiency of the
step-down circuit.
[0086] Further, the monitor circuit 13 for monitoring an amount
of the stored electricity is equipped which causes a minute
current proportional to a charging current to flow through a
timer circuit constituted of a resistor and a capacitor by
utilizing a relationship between the generated voltage and the
charging current, to thereby always indicate that a constant
level of power has been stored irrespective of a magnitude of a
revolution speed of the generator. This permits a user to store
a prescriptive level of power by generating power at his or her
desired revolution speed without knowing about a revolution
speed in particular until the monitor circuit 13 emits light.
[0087] The above-mentioned charging circuit 100 can be used to
constitute a charger in which the generator 10A serves as a
charging power supply. In this case, the generator 10A may be
integrated with circuit portions such as the step-down circuit
11, the current controller 12A, and the monitor circuit 13 (for
example, contained in the same casing) to thereby constitute the
charger. Further, the secondary battery B is mounted detachably.
It is to be noted that the generator 10A may be separated from
the circuit portions such as the step-down circuit 11, the
current controller 12A, and the monitor circuit 13.
[0088] Although the above embodiments have been described with
reference to a case where the secondary battery B is a 1.5V
nickel-hydrogen battery, the present invention is not limited to
it. The present invention can be applied to any other kinds of
batteries. Further, the present invention is applicable also to
a case where a plurality of secondary batteries is used in
series or parallel to constitute the secondary battery B to be
charged. This modification can be accommodated by altering an
output voltage or current of the step-down circuit 11. For
example, if a plurality of secondary batteries is used in
series, a step-down circuit having a higher output voltage can
be used.
[0089] Although in the above embodiment the generator 10A has
employed the delta connection, the present invention is not
limited to it. The present invention can also be applied to a
generator employing the Y connection.
[0090] Although in the above embodiment the generator 10 or 10A
has used a hand-cranked motor, the present invention is not
limited to it. Any other kinds of rotary generators, for
example, a small-sized wind generator may be used.
[0091] While the foregoing specification has described preferred
embodiment(s) of the present invention, one skilled in the art
may make many modifications to the preferred embodiment without
departing from the invention in its broader aspects. The
appended claims therefore are intended to cover all such
modifications as fall within the true scope and spirit of the
invention.
CAPACITANCE DEVICE AND
RESONANCE CIRCUIT
US2011163827
VARIABLE CAPACITANCE DEVICE
US2011134582 (A1)