
rexresearch.com
Paul KOURIS
Coriolis Force Hydraulic Turbine
http://www.scienceagogo.com/news/20080319222700data_trunc_sys.shtml
20 April 2008
Harnessing The Coriolis Force
by Kate Melville
The force that creates whirlpools and hurricanes could soon be
used to boost the output of traditional hydroelectric power
stations by 27 percent, says Australian Paul Kouris, inventor of a
new turbine that he says harnesses the vortex effect created by
the rotation of the Earth.
Using the Coriolis force, the turbine is designed to harness
draining water's rotational kinetic energy, as distinct from
traditional hydroelectric plants which get their motive power from
water falling under gravity's influence.
Kouris, a barrister and part-time inventor, has just secured
government funding to develop a pilot installation at Marysville
in eastern Victoria, Australia, after what he describes as an
uphill battle to convince academia and government of the merits of
his new turbine design.
The funding comes after tests conducted by the University of
Ballarat, Australia, which showed that the vortex effect did
indeed produce additional power beyond that provided by only the
gravity-fall of water. Kouris claims that his 2004 small-scale
test tank installation managed to extract an additional 27 percent
energy over what is produced by traditional turbines. If his
figures are correct, refurbishing existing hydraulic installations
with the new turbine could radically increase their power output
capabilities.
Kouris filed for a patent in 1998, but a stoush may be brewing
with Austria where the town of Obergrafendorf has had Coriolis
turbines operating in concrete ponds on the banks of a river since
2005.
http://www.kourispower.com/
PAUL S. KOURIS, B.JURIS/LLB.
Managing Director KOURISPOWER PTY LTD.
Member – Australian Institute of Energy, Member – Royal Society of
Science (Victoria). Member – Victorian Bar in continuous practice
since 1981;
Suite 618 Owen Dixon Chambers (West),
205 William Street
Melbourne Vic 3000
(Tel) 613 9225 7212 (bh)
(Fax) 613 9225 7728
Email: kourispower@gmail.com
Marysville KCT outlet 13/7/2010 showing flow used to power a house
viz. approx. 110 L/sec, using a vortex depth of 60cm to produce
> 9.5 kWh per day.
The KCT is the world’s first patented, in the river or in the
reservoir, vortex turbine, operated using the spin as distinct
from the fall of water. The KCT harnesses the energy in a vortex,
it draws from the Coriolis Force and thus promises to supplement
the energy created by conventional gravity fed generators.
The KCT uses the flow not the fall of water, and can operate with
a very low head, well under the 3 metre minimum required by
conventional turbines to operate efficiently. Furthermore it does
not interfere with the flow rate, which enables the system to be
used sequentially in a waterway.
The KCT has been reviewed and endorsed by Dr. Harry Schaap,
Federal Advisor for Renewable Energy. In turn Austrade has
endorsed The KCT and included it on its Clean Energy Export
Directory.
The KCT is designed to increase output without cutting down any
more trees or damming any more rivers – by simply employing the
water more efficiently; see accompanying ‘KCT Product Brochure’
diagrams below.
USP 6114773
Hydraulic Turbine Assembly
Classification: - international: F03B13/08;
F03B13/10; (IPC1-7): F03B1/00 ;- European: F03B13/08; F03B13/10B;
Y02E10/22
Abstract -- A new hydraulic turbine assembly for deriving extra
energy out of a conventional hydroelectric power generating system
by incorporating a second turbine generator at the inlet from the
reservoir. The inventive device includes a vertical water inlet
pipe being extended into the water reservoir of a dam to deliver
water to the conventional hydroelectric generating system. The
vertical water inlet pipe has a water inlet point being positioned
in the water reservoir to create an inlet free vortex formation.
An outer housing tube having an inlet cone for collecting water
from said inlet free vortex formation and an outlet draft in fluid
communication with the vertical water inlet pipe to permit water
to pass through the outer housing tube to the vertical water inlet
pipe. A rotor and turbine assembly having a rotor unit and at
least one generator unit for creating electrical energy is
disposed within the outer housing tube to permit rotation of the
rotor unit within the outer housing unit by water passing through
the outer housing tube. Each of the generator units is
operationally coupled to the rotor unit so that the rotational
energy of the rotor unit is transferred by the generator units
into electrical energy.
BACKGROUND OF THE INVENTION
1. Field of the Invention
The present invention relates to hydraulic turbines and more
particularly pertains to a new hydraulic turbine assembly for
deriving extra energy out of a conventional hydroelectric power
generating system.
2. Description of the Prior Art
The use of hydraulic turbines is known in the prior art. More
specifically, hydraulic turbines heretofore devised and utilized
are known to consist basically of familiar, expected and obvious
structural configurations, notwithstanding the myriad of designs
encompassed by the crowded prior art which have been developed for
the fulfillment of countless objectives and requirements.
Known prior art hydraulic turbines include U.S. Pat. Nos.
4,437,017; 4,963,780; 4,219,303; 4,816,697; 4,443,707 and
4,284,899.
While these devices fulfill their respective, particular
objectives and requirements, the aforementioned patents do not
disclose a new hydraulic turbine assembly. The inventive device
includes a vertical water inlet pipe being extended into the water
reservoir of a dam to deliver water to the conventional
hydroelectric generating system. The vertical water inlet pipe has
a water inlet point being positioned in the water reservoir to
create an inlet free vortex formation. An outer housing tube
having an inlet cone for collecting water from said inlet free
vortex formation and an outlet draft in fluid communication with
the vertical water inlet pipe to permit water to pass through the
outer housing tube to the vertical water inlet pipe. A rotor and
turbine assembly having a rotor unit and at least one generator
unit for creating electrical energy is disposed within the outer
housing tube to permit rotation of the rotor unit within the outer
housing unit by water passing through the outer housing tube. Each
of the generator units is operationally coupled to the rotor unit
so that the rotational energy of the rotor unit is transferred by
the generator units into electrical energy.
In these respects, the hydraulic turbine assembly according to the
present invention substantially departs from the conventional
concepts and designs of the prior art, and in so doing provides an
apparatus primarily developed for the purpose of deriving extra
energy out of a conventional hydroelectric power generating
system.
SUMMARY OF THE INVENTION
In view of the foregoing disadvantages inherent in the known types
of hydraulic turbines now present in the prior art, the present
invention provides a new hydraulic turbine assembly construction
wherein the same can be utilized for deriving extra energy out of
a conventional hydroelectric power generating system.
The general purpose of the present invention, which will be
described subsequently in greater detail, is to provide a new
hydraulic turbine assembly apparatus and method which has many of
the advantages of the hydraulic turbines mentioned heretofore and
many novel features that result in a new hydraulic turbine
assembly which is not anticipated, rendered obvious, suggested, or
even implied by any of the prior art hydraulic turbines, either
alone or in any combination thereof.
To attain this, the present invention generally comprises a
vertical water inlet pipe being extended into the water reservoir
of a dam to deliver water to the conventional hydroelectric
generating system. The vertical water inlet pipe has a water inlet
point being positioned in the water reservoir to create an inlet
free vortex formation. An outer housing tube having an inlet cone
for collecting water from said inlet free vortex formation and an
outlet draft in fluid communication with the vertical water inlet
pipe to permit water to pass through the outer housing tube to the
vertical water inlet pipe. A rotor and turbine assembly having a
rotor unit and at least one generator unit for creating electrical
energy is disposed within the outer housing tube to permit
rotation of the rotor unit within the outer housing unit by water
passing through the outer housing tube. Each of the generator
units is operationally coupled to the rotor unit so that the
rotational energy of the rotor unit is transferred by the
generator units into electrical energy.
There has thus been outlined, rather broadly, the more important
features of the invention in order that the detailed description
thereof that follows may be better understood, and in order that
the present contribution to the art may be better appreciated.
There are additional features of the invention that will be
described hereinafter and which will form the subject matter of
the claims appended hereto.
In this respect, before explaining at least one embodiment of the
invention in detail, it is to be understood that the invention is
not limited in its application to the details of construction and
to the arrangements of the components set forth in the following
description or illustrated in the drawings. The invention is
capable of other embodiments and of being practiced and carried
out in various ways. Also, it is to be understood that the
phraseology and terminology employed herein are for the purpose of
description and should not be regarded as limiting.
As such, those skilled in the art will appreciate that the
conception, upon which this disclosure is based, may readily be
utilized as a basis for the designing of other structures, methods
and systems for carrying out the several purposes of the present
invention. It is important, therefore, that the claims be regarded
as including such equivalent constructions insofar as they do not
depart from the spirit and scope of the present invention.
Further, the purpose of the foregoing abstract is to enable the
U.S. Patent and Trademark Office and the public generally, and
especially the scientists, engineers and practitioners in the art
who are not familiar with patent or legal terms or phraseology, to
determine quickly from a cursory inspection the nature and essence
of the technical disclosure of the application. The abstract is
neither intended to define the invention of the application, which
is measured by the claims, nor is it intended to be limiting as to
the scope of the invention in any way.
It is therefore an object of the present invention to provide a
new hydraulic turbine assembly apparatus and method which has many
of the advantages of the hydraulic turbines mentioned heretofore
and many novel features that result in a new hydraulic turbine
assembly which is not anticipated, rendered obvious, suggested, or
even implied by any of the prior art hydraulic turbines, either
alone or in any combination thereof.
It is another object of the present invention to provide a new
hydraulic turbine assembly which may be easily and efficiently
manufactured and marketed.
It is a further object of the present invention to provide a new
hydraulic turbine assembly which is of a durable and reliable
construction.
An even further object of the present invention is to provide a
new hydraulic turbine assembly which is susceptible of a low cost
of manufacture with regard to both materials and labor, and which
accordingly is then susceptible of low prices of sale to the
consuming public, thereby making such hydraulic turbine assembly
economically available to the buying public.
Still yet another object of the present invention is to provide a
new hydraulic turbine assembly which provides in the apparatuses
and methods of the prior art some of the advantages thereof, while
simultaneously overcoming some of the disadvantages normally
associated therewith.
Still another object of the present invention is to provide a new
hydraulic turbine assembly for deriving extra energy out of a
conventional hydroelectric power generating system.
Still a further object of the present invention is to allow, if
required, water to be returned to the reservoir, utilizing the
extra energy created, and thereby provide an alternative means of
increasing the overall energy output of a conventional
hydroelectric power generating system, by increasing the volume of
water available to pass through that system.
Still yet a further object of the present invention is to allow,
if required, any number of hydraulic turbine assemblies to be
incorporated into the reservoir at various locations within the
reservoir, their respective outlet pipes each ultimately joining
with the main outlet pipe of the reservoir which leads to the
conventional hydroelectric power generating system, thus
multiplying the additional energy output of the hydraulic turbine
assemblies within that system.
Yet another object of the present invention is to provide a new
hydraulic turbine assembly which includes a vertical water inlet
pipe being extended into the water reservoir of a dam to deliver
water to the conventional hydroelectric generating system. The
vertical water inlet pipe has a water inlet point being positioned
in the water reservoir to create an inlet free vortex formation.
An outer housing tube having an inlet cone for collecting water
from said inlet free vortex formation and an outlet draft in fluid
communication with the vertical water inlet pipe to permit water
to pass through the outer housing tube to the vertical water inlet
pipe. A rotor and turbine assembly having a rotor unit and at
least one generator unit for creating electrical energy is
disposed within the outer housing tube to permit rotation of the
rotor unit within the outer housing unit by water passing through
the outer housing tube. Each of the generator units is
operationally coupled to the rotor unit so that the rotational
energy of the rotor unit is transferred by the generator units
into electrical energy.
Still yet another object of the present invention is to provide a
new hydraulic turbine assembly that derives extra energy out of a
conventional hydroelectric power generating system by
incorporating a second turbine generator at the inlet from the
reservoir while allowing the majority of the energy to be
available to the conventional turbine arrangement of the dam.
Even still another object of the present invention is to provide a
new hydraulic turbine assembly that has an inlet designed to allow
a free vortex to form, the energy of which is currently lost in
the form of other turbulence. The source of this energy is a
combination of various parameters including initial pre-swirl in
the water, the Coriolis effect from the rotation of the Earth and
the shape of the reservoir.
These together with other objects of the invention, along with the
various features of novelty which characterize the invention, are
pointed out with particularity in the claims annexed to and
forming a part of this disclosure. For a better understanding of
the invention, its operating advantages and the specific objects
attained by its uses, reference should be had to the accompanying
drawings and descriptive matter in which there is illustrated
preferred embodiments of the invention.
BRIEF DESCRIPTION OF THE DRAWINGS
The invention will be better understood and objects other than
those set forth above will become apparent when consideration is
given to the following detailed description thereof. Such
description makes reference to the annexed drawings wherein:
FIG. 1 is a right side view of a new hydraulic turbine assembly
according to the present invention.
FIG. 3 is an exploded isometric illustration of the
hydraulic turbine assembly main section.
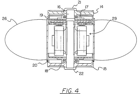
FIG. 4 is a side view of the rotor & turbine assembly.
FIG. 5 is an exploded isometric illustration of the turbine
assembly.
FIG. 6 is an exploded isometric illustration of the rotor
and generator sub assembly.
FIG. 7 is a top plan view of the rotor unit.
FIG. 8 is a side view of the rotor unit taken along the
line 8--8 of FIG. 7.
FIG. 9 is a side view of the rotor unit taken along the
line 9--9 of FIG. 7.
DESCRIPTION OF THE PREFERRED EMBODIMENT
With reference now to the drawings, and in particular to FIGS. 1
through 9 thereof, a new hydraulic turbine assembly embodying the
principles and concepts of the present invention and generally
designated by the reference numeral 3 will be described.
More specifically, it will be noted that the hydraulic turbine
assembly 3 comprises the vertical water inlet pipe (1), the outlet
draft tube (8), and the rotor and turbine assembly (38).
As best illustrated in FIGS. I through 9, it can be shown that
this hydraulic turbine assembly (3) is designed to derive extra
energy out of a conventional hydroelectric power generation system
by incorporating a second turbine generator at the vertical inlet
from the reservoir.
The invention as shown in FIG. 1 consists of a modular designed
removable electrical generation turbine unit attached to a
vertically facing inlet water feed pipe that supplies water to the
conventional down stream or lower electrical generation power
plant.
As shown in FIG. 1, the vertical inlet pipe (1) presents itself
with a flange receiving end (42) suitable for the attachment of
the flange mount (30) of the hydraulic turbine unit (3) and may be
fabricated from concrete, steel or other suitable materials in
order to withstand the weight and torsional loading subjected by
the unit.
The vertical inlet pipe's (1) horizontal positioning within the
water reservoir (41) shall allow for adequate clearance from
retaining or dam wall (31), base (32), water surface (33) and
sides of the water reservoir (41) so as to enable the proper
formation of a free inlet vortex (34) specific to the application.
The water supply or flow can be slowed or stopped using a suitable
form of valve or shut off gate (2) necessary for system shut down.
The flange mount (30) of the hydraulic turbine assembly (3) itself
is flange mounted to the flange receiving end (42) of the water
inlet pipe (1) and so can be easily disassembled and removed for
repairs, maintenance or to enable the conventional hydroelectric
generating system (35) to operate as previously.
The power output cable (4) is appropriately insulated and exits
from the hermetically sealed generator unit (29) to the required
supply feed point outside the water reservoir (41).
The height of the water inlet point (5) of the unit from the free
surface of the water (33) is such as to allow for the formation of
a free vortex (34) above the hydraulic turbine assembly (3) and
depends on the particular application. A screened enclosure
structure such as a mesh screen (6) may be required depending on
the application for the prevention of material other than water
from entering the system.
As depicted in FIG. 2, the hydraulic turbine assembly (3) consists
of three sections the first of which is described as the inlet
cone (7). Its function is to collect the inlet water and is shaped
to minimize inlet hydraulic pressure losses according to the
particular application as well as to locally increase water
velocity entering the turbine main section (10). The inlet cone
(7) can be made from concrete or steel or other suitable materials
according to the specific application and must withstand the high
water velocities in its proximity and also the weight of the whole
of the unit for unit installation and disassembly. The inlet cone
(7) is flange mounted at the flanged joint (36) to the main
section (10) and can be disassembled from it.
The outlet draft tube (8) is diverging in shape and is shaped so
as to reduce turbine exit water velocity and to further increase
the energy potential across the turbine. Its construction is
similar to that of the inlet cone (7). The outlet draft tube (8)
is also flange mounted to the main section (10) at the flanged
joint (43) and can also be disassembled from it.
The power outlet cable (4) exits the hydraulic turbine assembly
(3) via one of the turbine support pillars (9) and may either pass
through a hollow support pillar (9) from the hydraulic turbine
assembly (3) or be attached along it. The exit point may also be a
hermetically sealed junction box (37) where disconnection is
possible separating the cable (4) from the rest of the unit.
The hydraulic turbine assembly (3) main section (10) completes the
three part structure of the hydraulic turbine assembly (3) and is
the working section containing the turbine rotor and electrical
power generating equipment. Its outer housing tube (13) is made
from similar materials to the inlet cone (7) and outlet draft (8)
and mounts to each respectively at its inlet and outlet flanged
joints (36, 43) mount to each respectively.
Continuing the modularity of the concept when separated from the
inlet cone (7) and outlet draft (8), the main section (10) as
shown in FIG. 3 can be further disassembled to reveal a top cap
assembly (11) flange mounted between the main section (10) and
inlet cone (7) containing the top support pillars (9) that help
suspend the rotor and turbine assembly (38) in the middle of the
water stream as well as the streamlined top cap (11). The purpose
of the top cap assembly (11) is to minimize the hydraulic form
losses of the rotor and turbine assembly (38) and does not rotate
with the rotor unit (26).
The support pillars (9) are also hydrodynamically designed to
minimize form drag and also do not rotate. Similarly, the lower
cap assembly (12) is a structure that does not rotate but serves
to support the rotor and turbine assembly (38) whilst minimizing
drag. The flanged outer housing tube (13) completes the support
structure for the rotor and turbine assembly (38) as well as of
course containing the water.
As shown in FIG. 4, the rotor and turbine assembly (38) is
supported by the upper support plate (14) and lower support plate
(15) which do not rotate but serve to attach the contained unit to
the top cap assembly (11) and bottom cap assembly (12) mentioned
above.
The support plates (14, 15) also fix the support shaft (16) which
also does not rotate thereby minimizing the actual number of
components and hence weight of the parts that do rotate in the
unit and mentioned later on. The actual method of fixing can be
splining or keying or other suitable method to prevent the shaft
(16) from rotating with respect to the fixed support plates (14,
15). The fixed support shaft (16) also carries the upper bearing
assembly (17) and lower bearing assembly (18) about which the
revolves the rotor (26).
The rotor unit assembly (26) may need to be sealed against water
entry and for this, felt or any suitable seals may be used for the
upper seal (19) and the lower seal (20). Upper retaining cap (21)
and lower retaining cap (22) also serve to complete the sealing
and to vertically locate the fixed support shaft (16). The rotor
and generator sub-assembly (23) can be seen separated here from
the upper and lower bearing assemblies (17, 18) and upper and
lower support plates (14, 15).
The upper bearing plate (24) and lower bearing plate (25) are
attached and rotate with the rotor (26). Their function is to
support the rotor (26) in the first instance but also, in the case
of the upper bearing plate (24), to transfer the rotational energy
of the rotor (26) to the electrical generator unit (29) via a
series of gears. The upper bearing plate (24) is itself an annular
gear with internal teeth that act on the gear box (27).
As depicted in FIGS. 6 and 7, the rotor unit (26) is the main
rotating element of the turbine containing three to six blades
(40) depending on the application. These blades (40) are pitched
at a greater angle at the tip and shallower at the hub to
accommodate for differences in relative speeds between the blades
(40) and the water for varying distance from the central axis of
the rotor unit (26).
A gear box assembly (27) accepts the rotational energy from the
upper bearing plate gear (24) and transforms the torque and speed
to suitable values depending on the application feeding it to the
generator units (29). The number of sets of gears (39) used
depends on the number of modular generator units (29) deployed in
the application. A gear carrier (28) that does not rotate and is
fixed by keying or other suitable method to the central fixed
support shaft (16) is used to maintain the gear box gears (39) in
their relative positions and prevent them from revolving around
with the upper bearing plate (24). The shape of the gear carrier
(28) depends on the number of modular generator units (29)
deployed in the application.
The mechanical rotational energy is finally converted to
electrical energy by the use of generator units (29) that are
firmly attached to flat sections of the fixed support shaft (16)
and do not themselves move. The number of generator units (29)
deployed depends on the particular application, the annular space
considerations and the available torque generated. Each generator
unit (29) is fully sealed and submersible, the output cable (4)
being also fully sealed.
In use, the inlet of the hydraulic turbine assembly (3) is
designed to allow a free vortex to form, the energy of which is
currently lost in the form of other turbulence. The source of this
energy is a combination of various parameters including initial
pre-swirl in the water, the Coriolis effect from the rotation of
the Earth and the shape of the water reservoir (41). The low
operating head, large flow rate and significant water swirl thus
lends itself to the use of an axial flow type of hydraulic turbine
as in the present hydraulic turbine assembly (3).
In use, it should also be understood that this hydraulic turbine
assembly (3) may be used separately from the conventional
hydroelectric generating system (35) of the dam (31) as a stand
alone hydroelectric generating system. That is, the hydraulic
turbine assembly (3) may be used so that water passing from the
hydraulic turbine assembly (3) does not have to enter the
conventional hydroelectric generation system (35) of the dam or it
may be used in a system that does not include the conventional
hydroelectric generating system (35).
Because of the low operating hydraulic head across this hydraulic
turbine assembly (3), the majority of the energy to the
conventional turbine arrangement for the dam would still be
available. Thus, the total energy output of the system with the
added hydraulic turbine assembly (3) would then be greater than
that using only the conventional turbine arrangement.
One of the greatest strengths of the hydraulic turbine assembly
(3) is that by drawing upon the Coriolis effect this invention
does not thereby interfere with the operation of the conventional
hydraulic turbine system of the dam (31). Accordingly, this
invention does not contravene the conservation of energy
principle.
As to a further discussion of the manner of usage and operation of
the present invention, the same should be apparent from the above
description. Accordingly, no further discussion relating to the
manner of usage and operation will be provided.
With respect to the above description then, it is to be realized
that the optimum dimensional relationships for the parts of the
invention, to include variations in size, materials, shape, form,
function and manner of operation, assembly and use, are deemed
readily apparent and obvious to one skilled in the art, and all
equivalent relationships to those illustrated in the drawings and
described in the specification are intended to be encompassed by
the present invention.
Therefore, the foregoing is considered as illustrative only of the
principles of the invention. Further, since numerous modifications
and changes will readily occur to those skilled in the art, it is
not desired to limit the invention to the exact construction and
operation shown and described, and accordingly, all suitable
modifications and equivalents may be resorted to, falling within
the scope of the invention.