Sanford FOWLER-HAWKINS
Lung Flute
Got Chemtrails ? Ashtma ? Emphysema ?
Pneumonia ? Hualp with this :
http://www.lungflute.com
Medical Acoustics
640 Ellicott Street, 4th floor
Buffalo, NY 14203
Do you suffer from chronic lung congestion? Has Bronchial Hygiene
Therapy (BHT) been recommended to you?
Now, thanks to the Lung Flute, you can breathe easier.
The Lung Flute is indicated for Positive Expiratory Pressure
therapy, which is an important part of BHT. BHT can be used for a
variety for congestive conditions such as: COPD, bronchitis,
pneumonia, asthma, emphysema or other chronic respiratory
ailments.
When you endure lung congestion with thick, chronic mucus that is
difficult to break up, breathing can be a constant struggle. You
may have to rely on medications, inhalers, oxygen therapy or even
surgery to open up your airways. Everyday activities can become an
effort.
The Lung Flute from Medical Acoustics can help.
The FDA-cleared Lung Flute is the only product that uses sound
vibration to stimulate your body's natural mucus-clearing system –
effectively thinning and dislodging mucus deep in the lungs so
that it's easier to cough up. The small, reusable, plastic device
is non-invasive, easy to use and drug-free – just blow into the
mouthpiece and the device will do the rest.
Clinical tests have proven the Lung Flute's ability to break up
mucus in the lungs, making it equally effective for both
therapeutic and diagnostic use. Unlike other devices, which rely
on pressure and can't reach deep lung mucus, the Lung Flute's
technology is based on low-frequency acoustic waves that are
produced when you blow into the flute-shaped device.
http://www.youtube.com/watch?v=CRVoP-Xptgg
Lung Flute Product DEMO - YouTube
https://en.wikipedia.org/wiki/Lung_flute
A lung flute is a medical device used to clear mucus from
congested lungs with low-frequency sound waves. The device
consists of a mouthpiece and a plastic reed which vibrates within
a chamber to create sound waves in the chest cavity. These sound
waves vibrate and break up mucus deposits in the lungs, allowing
cilia to more easily move these deposits from the lungs to the
throat.
Invented by acoustics engineer Sandy Hawkins, the lung flute is
currently in use as a diagnostic tool in Japan, Europe, and
Canada,[1] and on January 4, 2010 was granted approval by the U.S.
Food and Drug Administration (FDA) for use in the United
States.[2]
US6984214 / US6702769
Device and method for inducing sputum and collecting
samples
Inventor(s): FOWLER-HAWKINS SANFORD ELLIOT
A device for thinning lung secretions comprises a housing, a reed
disposed in the housing, and an acoustical resistance. The reed
produces a low-frequency audio shockwave in a range of about 12 Hz
to about 30 Hz when vibrated. The acoustical resistance couples a
patient lung cavity to the audio shockwave, thereby vibrating the
patient's lung cavity to thin lung secretions.
BACKGROUND OF THE INVENTION
The human lungs comprise a natural means for clearing mucus. Human
lungs contain tiny clearing cilia that vibrate at approximately 18
Hz. At that frequency, mucus has a significant phase change from a
viscous to fluid to thinner secretions. Accordingly, the cilia
operate to loosen the mucus by making it more fluid. Once the
mucus is more fluid, it can be more easily expelled.
Some patients with weak lungs, disease, or other ailments have
lungs that cannot create a sufficient phase change in the viscous
mucus. Additionally, a doctor may need to induce a sputum sample
from a patient. Accordingly, an artificial means of vibrating the
lungs at approximately 18 Hz can be used to supplement the
patient's natural mucus system. In some cases, an artificial means
of vibrating the lungs can produce the same phase change in mucus
as produced by the lungs' natural cilia.
One conventional method for artificially vibrating a patient's
lungs is by using pulses of air pressure introduced through the
mouth and into the lungs. However, such a method can produce
dangerously high air pressures, which can damage the fragile air
sacs in the lungs.
Another conventional method for artificially vibrating a patient's
lungs is by using low frequency audio of approximately 18 Hz to
make lung secretions thinner. Low frequency audio does not induce
potentially dangerous high air pressures in the lungs that are
associated with the air pulses discussed above. However,
conventional methods require very high audio power to cause
vibration at low frequencies. Common loudspeaker components can be
used to provide a high-powered audio source for vibrating the
lungs. However, the life expectancy of the high-powered audio
drivers is low, and the cost of the high-powered audio drivers is
high. Additionally, powered subwoofers and loudspeakers typically
are not disposable or portable.
A patient's lungs and vocal cords make a particularly efficient
loudspeaker in the vocal range. However, low frequencies are not
efficiently produced because both the vocal cords and the lungs
are too small. If the lungs could be made larger, they would
support low frequency audio production, and they also would couple
efficiently to a low frequency audio source.
Therefore, a need in the art exists for a system and method that
can provide a low-cost, disposable, and/or portable, artificial
means of vibrating a patient's lungs to cause a viscous change in
mucus contained therein. A need in the art also exists for an
efficient means of coupling a patient's lungs with an audio source
to produce a low frequency vibration in the lungs. Additionally,
there exists a need in the art for a non-powered, low-frequency
audio source for artificially vibrating a patient's lungs.
SUMMARY OF THE INVENTION
The present invention can provide a device and method for
artificially vibrating a patient's lungs to cause a viscosity
change in mucus contained therein. The device and method can be
used to clean mucus from the lungs or to induce a sputum sample
for diagnostic purposes from the lungs.
The lung vibrating device and method according to the present
invention can allow the lungs to produce low frequency audio that
can vibrate the lungs at the desired frequency to change the
viscosity of mucus. Typically, human lungs are too small to
produce low-frequency audio sound. The lung vibrating device and
method according to the present invention can comprise an
acoustical resistance that can increase the apparent volume of the
lungs, thereby allowing the lungs to produce low-frequency audio
in the desired range. The acoustical resistance can allow the
lungs to couple efficiently to an audio source to produce
low-frequency shockwaves. The acoustical resistance can make the
audio source behave as if it is operating in a much larger volume
than the body cavity alone, thereby allowing low-frequency audio
to be produced and considerably improving energy transfer
efficiency. The present invention can generate relatively low
frequencies efficiently by using an acoustical coupling technique
based on Thiele-Small loudspeaker parameters.
The device according to the present invention can use the
acoustical resistance to improve the transfer of audio energy to a
body cavity such as the lungs. The device can produce low
frequency audio and then can use the body cavity as a loudspeaker
enclosure. The acoustical resistance can couple the body cavity
efficiently to the low frequency sound. Additionally, the
acoustical resistance can efficiently couple the
sound/audio/shockwave to the body cavity to vibrate the lungs at
the desired frequency. Accordingly, small and inexpensive sound
sources can efficiently generate low frequency audio in body
cavities.
In an exemplary aspect of the present invention, a lung vibrating
device can comprise a reed disposed in a housing. A patient can
blow air through the housing, which can cause the reed to vibrate
and produce an audio shockwave. An acoustical resistance of the
device can couple the audio shockwave produce by the reed with the
lungs to produce low-frequency vibrations. Accordingly, the
acoustical resistance can provide a back pressure that can
transmit the low-frequency vibrations into the lungs to cause a
viscosity change in mucus.
These and other aspects, objects, and features of the present
invention will become apparent from the following detailed
description of the exemplary embodiments, read in conjunction
with, and reference to, the accompanying drawings.
BRIEF DESCRIPTION OF THE DRAWINGS
FIG. 1A illustrates a perspective, cut-away view of a lung
vibrating device according to an exemplary embodiment of the
present invention.
FIG. 1B illustrates a cross-sectional, side view of the
exemplary lung vibrating device illustrated in FIG. 1.
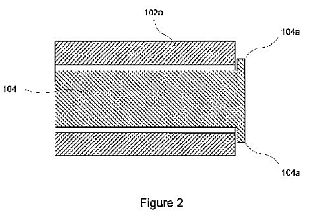
FIG. 2 is a cross section of an exemplary housing insert
illustrating an exemplary embodiment of a reed disposed in a
housing.
FIG. 3 is a side view illustrating a lung vibrating device
according to an alternative exemplary embodiment of the present
invention.
FIG. 4 is a cross-sectional view of the exemplary lung
vibrating device illustrated in FIG. 3.
FIG. 5 is a cross-sectional view illustrating an operation
of a lung vibrating device according to an exemplary embodiment
of the present invention.
FIG. 6 illustrates a cross-sectional view of a lung
vibrating device according to an alternative exemplary
embodiment of the present invention.
FIG. 7 illustrates a cross-sectional view of a lung
vibrating device according to another exemplary embodiment of
the present invention.
FIG. 8 illustrates an exit end view of a lung vibrating
device according to an exemplary embodiment of the present
invention.
FIG. 9A illustrates a location of a reed weight according
to an exemplary embodiment of the present invention.
FIG. 9B is a side view illustrating a reed weight according
to an exemplary embodiment of the present invention.
FIG. 9C an end view of the reed weight illustrated in FIG.
9B.
FIG. 9D illustrates an alternative reed weight according to
an exemplary embodiment of the present invention.
FIG. 9E illustrates a reed weight according to another
alternative exemplary embodiment of the present invention.
FIG. 9F illustrates a reed weight according to another
alternative exemplary embodiment of the present invention.
FIG. 10 is a cross-sectional view of a lung vibrating
device according to an alternative exemplary embodiment of the
present invention.
FIG. 11 is a cross-sectional view of a lung vibrating
device according to another alternative exemplary embodiment of
the present invention.
FIG. 12 is a block diagram illustrating an exemplary power
make up device for a lung vibrating device according to an
exemplary embodiment of the present invention.
FIG. 13 is a cross-sectional view of a lung vibrating
device comprising sample collection carriers according to
exemplary embodiments of the present invention.
FIG. 14 is a cross-sectional view of a portion of a reed
and weight comprising sample collection carriers according to
exemplary embodiments of the present invention.

DETAILED DESCRIPTION OF EXEMPLARY EMBODIMENTS
Exemplary embodiments of the present invention will be described
below with reference to FIGS. 1-12 in which the same reference
numerals represent similar elements.
FIG. 1A illustrates a perspective, cut-away view of a lung
vibrating device 100 according to an exemplary embodiment of the
present invention. FIG. 1B illustrates a cross-sectional, side
view of the exemplary lung vibrating device 100. The device 100
comprises an unpowered, disposable audio noisemaker. As shown in
FIGS. 1A and 1B, the device 100 comprises a harmonica-type, free
reed 104 in a housing 102. The device 100 also comprises an
acoustical resistance 106 disposed within the housing 102.
The housing 102 can comprise a standard respiratory tube or other
suitable material. As shown, the reed 104 can be coupled at point
P to an insert 102a disposed in the housing 102. Alternatively,
the reed 104 can be provided in a separate end cap (not shown)
that couples to an end of the housing 102. The reed 104 can be
coupled to the housing 102, or to the housing insert 102a, by any
suitable method. For example, the reed 104 can be glued or
sonically welded to the housing 102 or insert 102a.
The reed 104 can be formed from any suitable material such as
plastic, wood, or metal, or combinations of those materials. In
one exemplary embodiment, the reed 104 can be formed of solid
brass. In another exemplary embodiment, the reed 104 can be formed
of Mylar. In another exemplary embodiment, the reed 104 can be a
composite of several materials. For example, the reed 104 can be
formed of two Mylar sheets with an inner stiffening material. The
stiffening material can be any suitable material, for example, tin
foil.
The efficiency of the reed 104 can be increased by providing a
weight (not shown) on its free end. For a more complete discussion
of weighting the free end of the reed, see the discussion below
with reference to FIGS. 9A-9F. The weight can assist the reed 104
in vibrating as air flows past it. Alternatively or additionally,
the efficiency of the reed 104 can be increased by providing an
airfoil (not shown) on its free end. As air flows past the reed
104, the airfoil provides lift, which cause the free end of the
reed 104 to rise. As the airfoil rises with the free end, the
airfoil stalls, causing the reed 104 to fall.
Because the lung clearing cilia of most patients operate at
approximately 18 Hz, the device 100 does not need to reproduce a
wide frequency range of sound. Accordingly, in an exemplary
embodiment, the device 100 can be tuned to an operating frequency
of about 18 Hz, or it can be tuned to match the operating
frequency of a specific patient's cilia. Matching the acoustical
resistance of the device to the patient's lung cavity can make the
device efficient and inexpensive. In an alternative exemplary
embodiment, the device can be tuned to operate in a frequency
range of about 12 Hz to about 24 Hz. In another alternative
exemplary embodiment, the device can be tuned to operate in a
frequency range of about 16 Hz to about 20 Hz. In other exemplary
embodiments, the device can be tuned to operate at a frequency
within ranges of about 12 Hz to about 30 Hz, about 20 Hz to about
30 Hz, and about 25 Hz to about 30 Hz.
Regarding the vibration frequency of the device, a reed can be
tuned to vibrate at the desired frequency. Alternatively, a
process called sub-harmonic doubling can be used. In that process,
the reed can be tuned to vibrate at a frequency that is about
double the desired frequency. However, in sub-harmonic doubling,
an additional shockwave is produced at about one-half of the
vibration frequency. Accordingly, the additional shockwave is
produced at about the desired frequency. For example, the reed can
be tuned to vibrate at about 36 Hz, thereby producing an
additional shockwave at the desired frequency of about 18 Hz.
In an exemplary embodiment of the present invention, the
acoustical resistance 106 can comprise a small piece of foam, a
medical HEPTA filter of the desired acoustical resistance, or a
cone tapering down to a smaller diameter. In another alternative
exemplary embodiment, a variable acoustical resistance can be used
to tune the system to a particular patient. For example, the
acoustical resistance 106 can be a variably compressed piece of
foam, interchangeable HEPTA filters having different resistances,
or a variable shutter or valve giving an adjustable exit diameter.
Alternatively, the acoustical resistance 106 can be replaced with
a movable piston (not shown) disposed on the exit end of the
housing 102. The movable piston can control the amount of
resistance provided to air exiting the housing 102.
To use the device 100 for lung cleaning or sputum sample
induction, a patient exhales through the housing 102 of the device
100 for about 3 minutes or less. As the patient exhales through
the housing 102, air enters the housing in the direction A through
end 102d of the housing 102 and exits the housing 102 and end
102e. The air passing by reed 104 causes the reed 104 to vibrate.
The reed 104 can be tuned to vibrate at about 18 Hz (or to a
frequency corresponding to the patient's cilia). The device can
produce a volume of about 10 dBa to about 75 dBa. In alternative
exemplary embodiments, the device can be tuned to produce a volume
of about 10 dBa to about 20 dBa or about 65 dBa to about 75 dBa.
The pressure resistance produced can be about 2.5 cm H2O at 100
Lpm. In terms of pressure or power, 70 dBa is about three orders
of magnitude less than typical activities such as yelling or loud
continuous coughing.
While the device 100 only applies about between about 75 to about
100 dBa to the airway, it can drive the thorax hard enough to feel
the lungs vibrate through thick clothing. By vibrating the lungs
at approximately 18 Hz, the lung secretions can become thinner,
allowing the natural cleaning action of the lung's mucus pump to
dispose of the secretions. After using the device 100, the
secretions collect at the back of the patient's throat for
approximately 3 to 12 hours. The patient then can swallow the
secretions or orally expel them.
FIG. 2 is a cross section of an exemplary housing insert 102a
illustrating an exemplary embodiment of the reed 104 disposed in
the housing 102. To prevent the reed 104 from breaking off and
being swallowed by a patient (for a patient using the proper end
of the device 100 but inhaling too hard through the device), a
free end 104a of the reed 104 can be made large enough that it
will not fit through the end of the housing insert 102a and into
the lungs.
If the device 100 is used backwards and the reed vibrates when a
patient inhales, lung secretions can be driven deeper into the
lungs. In an exemplary embodiment, to prevent a patient from using
the device 100 backwards and vibrating the reed 104 while
inhaling, one or more holes (not shown) can be provided in the
housing 102 between the acoustical resistance 106 and the exit end
102e of the housing 102. The hole(s) can allow enough air to enter
the housing 102 to prevent the reed 104 from vibrating. If a hole
is provided in the reed end of the housing 102, it can be provided
between the reed 104 and the acoustical resistance 106.
A powered system (not shown) using the non-powered disposable
device 100 also can be encompassed by the present invention. An
exemplary powered system can comprise an external voice coil that
drives the reed 104 with a small steel element added to the tip of
the reed 104. The coil can be activated alternately to vibrate the
reed 104. Some potential applications such as an intensive care
unit ("ICU") or neonatal lung cleaning may require an externally
powered system if the patient is unable to exhale through the
device. Additionally, a powered system can be useful with
unconscious patients or patients with excessive lung secretions or
extensive scarring. Another advantage of the powered system
according to the present invention is that all parts in contact
with the patients are disposable.
A powered system should not be used while inhaling, as the lung
secretions can be driven deeper into the lungs. To prevent
operation of the system while inhaling, the powered system can
comprise a pressure sensitive flap in the housing 102 that opens
on inhale, thereby reducing the acoustical coupling and the low
frequency efficiency below that necessary to cause vibration of
the reed 104.
The unpowered lung vibrating device 100 also can include the
intake flap described above. However, the flap may not be
necessary on the unpowered device, because the reed may not
vibrate on inhale and the reed seal makes it difficult to inhale
(if the user is blowing through the right end of the device).
FIG. 3 is a side view illustrating a lung vibrating device 300
according to an alternative exemplary embodiment of the present
invention. FIG. 4 is a cross-sectional view of the exemplary lung
vibrating device 300 illustrated in FIG. 3. As shown, the lung
vibrating device 300 comprises a first end cap 302 coupled to a
housing 304. The housing 304 can comprise a substantially uniform
cross section, as indicated by the substantially equal heights H1.
The first end cap can comprise a mouth piece through which a
patient blows air in the direction A into the housing 304. A reed
402 is disposed within the housing 304. The reed 402 comprises a
fixed end 402a and a free end 402b. As shown in the exemplary
embodiment of FIG. 4, the fixed end 402a can be compression or
friction fitted between the first end cap 302 and the housing 304.
In an exemplary embodiment, one of the housing 304 and the end cap
302 can comprise a positioning channel (not shown) that positions
the reed 402 along a center of the housing 304. In another
exemplary embodiment, one of the housing 304 and the end cap 302
can comprise ribs (not shown) that contact the fixed end 402a of
the reed 402 to hold the reed 402 in place. In another exemplary
embodiment, the fixed end 402a of the reed 402 can comprise a
T-shape (not shown) that extends outside the end cap 302. The
T-shape can maintain the reed 402 at the proper position within
the housing 304 by preventing the reed 402 from slipping into the
housing 304.
In alternative exemplary embodiments (not shown), the fixed end
402a of the reed 402 can be glued, sonically welded, or taped to
either the end cap 302 or the housing 304. Any suitable method for
coupling the reed to the device is within the scope of the present
invention. In an exemplary embodiment, an entrance opening of the
end cap 302 can be small enough to prevent the reed from exiting
the device and being inhaled by a patient. In an alternative
exemplary embodiment, the end cap 302 can comprise vanes (not
shown) that reduce the open area of the end cap 302 to prevent the
reed from passing therethrough.
The housing 304 can comprise a rectangular or square shape to
minimize air flow around the reed 402. However, the present
invention is not limited to only those shapes and encompasses
other shapes. For example, the housing 204 can be circular, oval,
or any other suitable shape. Those shapes may incur a slight
efficiency drop, which can be compensated for by adjusting the
acoustical resistance of the device.
The reed 402 can comprise any material having a suitable stiffness
that will not absorb excessive energy from the vibrations. For
example, the reed 402 can comprise plastic, wood, bone, metal, or
combinations of those materials. In an exemplary embodiment, the
reed 402 can comprise Mylar. The Mylar thickness can be in a range
of about 3.75 mils to about 10 mils. In the exemplary embodiment
of FIG. 4, the reed comprises Mylar having a thickness of about 5
mils and a length of about 12.25 inches.
The end cap 302 can be shaped externally to allow a patient' mouth
to achieve a suitable seal around the end cap 302. For example,
the end cap 302 can have a circular or oval external shape. Other
external shapes that achieve a suitable seal are within the scope
of the present invention. For example, the external shape can be
square or rectangular.
The end cap 302 can be coupled to the housing 304 by various
methods. In an exemplary embodiment, the end cap 302 can be glued
or sonically welded to the housing 302. In an alternative
exemplary embodiment, the end cap 302 can be compression or
friction fitted onto the housing 304. In another alternative
exemplary embodiment, the end cap 302 can interlock with the
housing 304 through the use of a hook and latch or other suitable
type of clipping device. In any case, the end cap 302 can be
coupled to the housing 304 such that the air moving in direction A
will not leak between the end cap 302 and the housing 304 in an
amount sufficient to reduce the effectiveness of the device 300.
In an alternative embodiment (not shown), the housing 304 can be
suitably shaped on its entrance end to perform the function of a
mouthpiece. In that embodiment, the end cap 302 can be omitted.
FIG. 5 illustrates a cross-sectional view of the lung vibrating
device 300 in operation according to an exemplary embodiment of
the present invention. In operation, a patient blows air in the
direction A into the first end cap 302. As the air passes in the
direction A over the reed 402, the free end 402b of the reed 402
vibrates up and down, as indicated by the arrow B. The vibration
produces an acoustical shockwave within the housing 304.
An acoustical resistance in the device 300 couples the patient's
lungs to the acoustical shockwave to allow production of
low-frequency audio shockwaves. The acoustical resistance provides
a back pressure of the acoustical shockwave back through the end
cap 302 and into the patient's lungs. In the exemplary embodiment
illustrated in FIGS. 4 and 5, the acoustical resistance can
comprise an air mass provided in the housing 304. In that
exemplary embodiment, a length L and the height H1 of the housing
304 can comprise a volume sufficient to provide an air mass large
enough to produce the desired acoustical resistance (and back
pressure).
Additionally or alternatively, a size or compliance of the reed
402 can provide the acoustical resistance. For example, the size
or compliance of the reed 402 can be increased until the amount of
air required to vibrate the reed 402 is sufficient to provide the
desired acoustical resistance and back pressure into the patient's
lungs.
FIG. 6 illustrates a cross-sectional view of a lung vibrating
device 600 according to an alternative exemplary embodiment of the
present invention. As shown, the device 600 comprises the first
end cap 302 and a housing 604. The reed 402 is disposed within the
housing 604. The housing 604 can have a horn shape, whereby a
first portion has a height H1 and a second portion has a height
H2, which is larger than the height H1. Accordingly, a
cross-sectional area of the first portion is less than a cross
sectional area of the second portion. In operation, the free end
402b of the reed 402 vibrates up and down in the second portion of
the housing 604. Accordingly, the free end 402b has additional
space to vibrate up and down. Additionally, the free end 402b is
less likely to contact the housing 604. The horn shape also
increase the air flow through the device. The increased air flow
can have several benefits. For example, the increased air flow can
provide additional air that reduces fogging of the housing by
drying condensation that forms on the housing. Additionally, the
increased volume can increase the acoustical resistance of the
device.
FIG. 7 illustrates a cross-sectional view of a lung vibrating
device 700 according to another exemplary embodiment of the
present invention. As shown, the device 700 comprises an end cap
702 and a housing 704. The device 700 also comprises the reed 402
disposed in the housing 704. The end cap 702 and the housing 704
can have correspondingly tapered ends 706a, 706b. The tapered ends
can provide an improved compression fit between the end cap 702
and the housing 704. Additionally, the tapered ends 706a, 706b can
prevent drawing and excessive amount of the fixed end 402a of the
reed 402 out of the housing 704 as the end cap 702 and the housing
704 are pushed together.
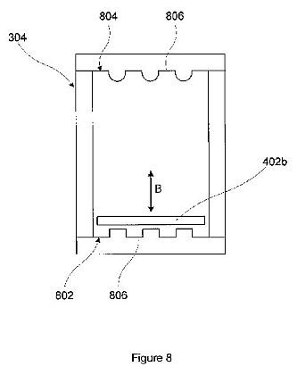
FIG. 8 illustrates an exit end view of a lung vibrating device
according to an exemplary embodiment of the present invention. As
shown, the housing 304 can comprise four separate pieces coupled
together. The pieces can be coupled together by gluing, sonic
welding, taping, or other suitable means. Alternatively, the
housing 304 can be molded as a single piece (not shown). The
housing 304 can be formed from plastic, wood, metal, or other
suitable material.
In an exemplary embodiment, inner surfaces of the housing 304 can
comprise a substantially smooth surface (not shown). In the
alternative exemplary embodiment illustrated in FIG. 8, a lower
inner surface 802 and an upper inter surface 804 of the housing
304 can comprise one or more grooves 806. The grooves 806 reduce
the surface area of the inner surfaces 802, 806 of the housing 304
that can contact the reed 402. Accordingly, any condensation that
accumulates on the upper and lower inner surfaces 802, 804 of the
housing 304 can collect in the grooves 806. The free end 402b of
the reed 402 contacts a smaller surface area of the housing 304.
Additionally, as shown by the grooves in the upper inner surface
804, the grooves can be rounded to further reduce the surface area
contacting the reed 402. In an alternative exemplary embodiment
(not shown), the grooves can be pointed to provide a minimum
surface area that contacts the reed 402. Thus, the reduced surface
area reduces adhesion of the reed 402 to condensation on the inner
surfaces 802, 804 of the housing 304.
The grooves 806 also can provide other benefits. For example, the
grooves 806 can provide an air path that will tend to lift the
reed off the inner surfaces of the housing. Additionally, in an
exemplary embodiment, a surface of the grooves can be rough (not
shown). Moisture is more likely to condense on the rough surface
area in the grooves 806 rather than on the smooth surface area
that contacts the reed 402. Accordingly, moisture on the housing
surfaces that can contact the reed 402 can be reduced.
The present invention is not limited to the shape of the groove
806 illustrated in FIG. 8. Any suitable shape that reduces the
surface area of the housing 304 that contacts the reed free end
402b is within the scope of the present invention. For example,
the grooves 806 can comprise a semi-circular shape, a V-shape or
other suitable shape. Additionally, the grooves 806 can be
provided along the entire length of the housing 304.
Alternatively, the grooves 806 can be provided along only a
portion of the housing 304, or along intermittent portions of the
housing 304. For intermittent portions, the grooves 806 may appear
more like individual squares, rectangles, or other shapes in the
inner surfaces of the housing 304.
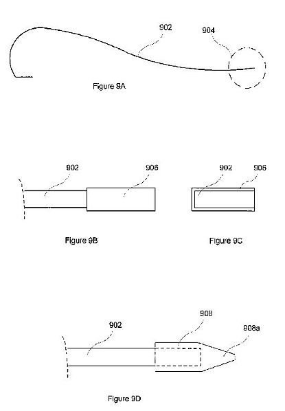
FIGS. 9A, 9B, 9C, 9D, 9E, and 9F illustrate alternative, exemplary
embodiments of a weight provided on a free end 904 of a reed 902.
In FIG. 9A, a reed 902 is illustrated. The reed 902 can comprise a
reed as described above. A weight can be provided on the reed's
free end in the location illustrated by reference numeral 904.
FIG. 9B is a side view illustrating a reed weight 906 according to
an exemplary embodiment of the present invention. FIG. 9C is an
end view of the reed weight 906 illustrated in FIG. 9B. As shown
in FIGS. 9B and 9C, the weight 906 can comprise a weight coupled
around the reed 902. In an exemplary embodiment, the weight 906
can comprise tape provided on the end of reed 902.
FIG. 9D illustrates an alternative reed weight 908 according to
another exemplary embodiment of the present invention. As shown,
the reed weight 908 can envelop the end of the reed 902.
Additionally, the reed weight 908 can have a tip end 908a that is
tapered. In an exemplary embodiment, the tip end 908a can be
thinner than a thickness of the reed 902. The decreased thickness
on the tip end 908a can increase the efficiency of the reed 902 to
lower the frequency achievable by the reed 902. In an exemplary
embodiment, the thinner tip end of reed weight 908can be provided
by using a tape material having the desired thickness.
Alternatively, the free end of the reed weight 908 can be tapered
by grinding, or notches can be provided in the free end of the
reed weight 908 to reduce the surface area of the end of the reed
weight 908. In an exemplary embodiment, the reed weight can
comprise tape having a thickness of about 0.5 to 1.5 mils. In one
exemplary embodiment, the tape can comprise medical tape.
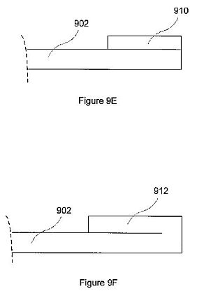
FIG. 9E illustrates a reed weight 910 according to another
alternative exemplary embodiment of the present invention. The
reed weight 910 comprises a weight disposed on an end of the reed
902. And that exemplary embodiment, the reed weight can simply
increase the thickness and weight of the reed 902 at its free end.
In an exemplary embodiment, the reed weight 910 can comprise a
material that is the same as the reed 902. In an alternative
exemplary embodiment, the reed weight 910 can comprise a material
different from the material of the reed, such as tape. In another
exemplary embodiment, the free end of the reed/weight combination
can be tapered or notched as described above.
FIG. 9F illustrates a reed weight 912 according to another
alternative exemplary embodiment of the present invention. The
reed weight 912 can comprise a double portion of the reed 902. In
that regard, the end of reed 902 can be doubled over onto itself
to produce the reed weight 912. In an exemplary embodiment, the
free end of the reed/weight combination can be tapered or notched
as described above.
An area of the end of any reed/weight combination can be reduced
to improve the efficiency of the reed 902. The area can be reduced
by grinding to taper the end of the reed weight. Alternatively,
the area can be reduced by providing grooves or holes in the free
end of the weight and reed combination. The grooves or holes
remove surface area of the end of the weight, thereby reducing the
area.
In an exemplary embodiment, the reed weight can comprise a first
material, and the reed can comprise a second material. A
compliance of the first material can be in a range of about
one-eighth to about one-half of a compliance of the second
material. In another exemplary embodiment, the compliance of the
first material can be about one-fourth of the compliance of the
second material. The differing compliances can increase the
efficiency of the reed.
In an exemplary embodiment, the reed can be exchangeable to allow
replacement after the reed reaches the end of its useful life.
Accordingly, the lung vibrating device can be reconstructed by
replacing the reed.
In another exemplary embodiment the reed can comprise, either
alone or with a weight, a wear indicator on its free end. The
indicator can indicate to a user when the reed has reached its
useful life and cannot provide the proper operating frequency. In
one embodiment, the reed can comprise an inked indicator that
vibrates off over the useful life of the reed.
FIG. 10 is a cross-sectional view of a lung vibrating device 1000
according to another alternative exemplary embodiment of the
present invention. As shown, the lung vibrating device 1000
comprises an acoustical resistance plug 1002. The acoustical
resistance plug 1002 can comprise a HEPTA filter or a foam plug.
Furthermore, the device 1000 can comprise additional acoustical
resistances. For example, the device 1000 can comprise an
acoustical resistance produced by a size of the reed 402, as
described above with reference to FIG. 4. Additionally, or
alternatively, the device 1000 can comprise an acoustical
resistance composed of an air mass provided in the housing 304, as
described above with reference to FIG. 4.
FIG. 11 is a cross-sectional view of a lung vibrating device 1100
according to another alternative exemplary embodiment of the
present invention. As shown, the lung vibrating device 1100 can
comprise a second end cap 1102 provided on the housing 304. The
second end cap 1102 can function as an acoustical resistance by
restricting the air flow from the housing 304. Additionally, the
second end cap 1102 can provide a means to connect the device 1100
to a respirator. In an alternative exemplary embodiment, the
second end cap 1102 can provide a means to connect the device 1100
to a respirator without serving as an acoustical resistance. When
connected to a respirator, the respirator can draw air through the
housing 304 to drive the reed 402 to produce the acoustical
shockwave in the patient's lungs.
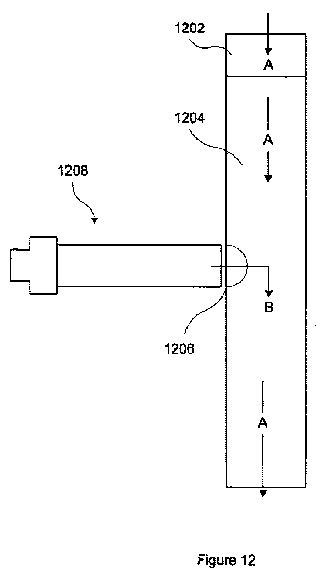
FIG. 12 is a block diagram illustrating an exemplary power make up
device 1200 for a lung vibrating device according to an exemplary
embodiment of the present invention. As shown, a fan 1202 can push
air through a duct 1204 in the direction of the arrows A. The duct
1204 can comprise an aperture 1006. An exit opening of a lung
vibrating device 1208 can be provided in proximity to the aperture
1206. The air moving in the direction A within the duct 1204 can
draw air in the direction B through the lung vibrating device
1208. Accordingly, the power make up device 1200 can produce at
least a partial vacuum in the lung vibrating device 1208 by
drawing air from the lung vibrating device 1208 in the direction
of the arrow B. In an exemplary embodiment, the device 1200 can
produce about 1.5 inches of negative water pressure in the lung
vibrating device 1208.
As evident to those skilled in the art, the lung vibrating device
according to the present invention can incorporate many features
not illustrated in the attached figures. For example, exemplary
embodiments can comprise a space-saving design, incorporating a
foldable, hinged, or telescoping housing. Another embodiment
encompasses a device formed from a thin material that can be
crumpled and disposed.
The lung vibrating device can be used to perform many functions.
For example, the device can be used to induce sputum to clear the
lungs or to provide a diagnostic sample, improve muscillary
clearance post operatively, prevent lung collapse (atelectasis),
improve oxygenation, improve lung capacity or lung clearance in
athletes prior to performance, or treat smoke inhalation.
The efficient coupling of an audio source and a body cavity to
produce low-frequency sound can be used for other applications.
The acoustical resistance can be adjusted to provide the proper
frequency based on the particular application. Additionally, the
reed can be tuned by changing its size, shape, or material to
provide the proper frequency. For example, other applications can
include the following:
Coronary Plaque: One application can be erosion of coronary
arterial plaque by vibration. An adaptation of the powered system
may erode coronary arterial plaque by internal thoracic vibration,
which would be a useful clinical application.
Sinus and Ear: Several variations of the powered and non-powered
lung cleaning systems can be used for sinus drainage and middle
ear clearing. Operation requires a simple frequency adjustment of
the lung cleaning system by an adjustment of the acoustical
resistance. For uses such as sinus drainage and middle ear
clearing, the systems can operate in a range between about 15 Hz
and about 60 Hz with an output of from about 75 dBa to about 100
dBa. The systems also can operate between about 40 Hz and about 60
Hz, and at about 44 Hz.
Diagnostics: A lung vibrating device according to the present
invention can provide the basis of a sophisticated diagnostic tool
for lung diseases such as pneumonia, COPD, asthma, and lung
cancer. The diagnostic system can monitor the voltage to current
phase of the loudspeaker motor and then derive the dynamic
compliance of the lungs at different frequencies and different
pressures and vacuums. Lung compliance varies with different
secretion loads and also shows changes in elasticity caused by
long term lung tissue deterioration. Accordingly, the results can
be correlated with existing conditions. Early asymptomatic results
also can be correlated with later disease conditions.
Intestines/Colon: Another application is to efficiently couple a
patient's colon to an audio source to clean the patient's
intestines or colon. That application can remove intestinal
blockages, which can prevent such blockages from causing a
dangerous infection.
Lung Sample Collection and Diagnostics: In another exemplary
embodiment, the low-frequency sound lung vibrating device of the
present invention can be used to collect lung or other body cavity
samples through absorption, precipitation, or condensation.
Additionally, an indicator drug can be placed in the lung
vibrating device to detect the presence of specific biological
materials when contacted by a collected sample.
In an exemplary embodiment, a lung vibrating device can comprise a
sample collection carrier that collects a diagnostic sample
exhaled from the patient's lungs. The sample collection carrier
can comprise any suitable carrier for collecting a liquid, solid,
or air sample from the material expelled or exhaled from the
patient's lungs through the lung vibrating device. As the patient
exhales through the housing of the lung vibrating device, portions
of the exhaled air condense within the housing. The sample
collection carrier can collect the condensate for use as a
diagnostic sample. Additionally, the sample collection carrier can
collect moisture within the air expelled from the patient's lungs,
and the sample collection carrier can collect a solid material the
contacts the carrier when expelled from the patient's lungs. Then,
the sample collection carrier can be removed from the lung
vibrating device to test the collected sample. Alternatively, the
lung vibrating device and/or the sample collection carrier can be
rinsed with distilled water. The rinse water will wash the
collected sample from the sample collection carrier. Then, the
rinse water can be collected and tested.
Additionally, the sample collection carrier can comprise an
indicator drug or liquid that tests for the presence of specific
biological materials in the collected sample. For example, the
indicator drug or liquid can react chemically with specific
biological materials of the collected sample, thereby changing
color or texture to indicate the presence of the biological
material in the collected sample.
Using a sample collection carrier with the lung vibrating device
of the present invention can obtain improved lung samples. The
lung vibrating device can loosen the lung secretions, thereby
allowing the patient to exhale air and secreted material from deep
within the lung cavity.
Exemplary sample collection carriers will be described with
reference to FIGS. 13 and 14. FIG. 13 is a cross-sectional view of
a lung vibrating device 1300 comprising sample collection carriers
according to exemplary embodiments of the present invention. FIG.
14 is a cross-sectional view of a portion of a reed 1402 and
weight 1404 comprising sample collection carriers according to
exemplary embodiments of the present invention.
In an exemplary embodiment the sample collection carrier can
comprise an absorbent reed 1302. The absorbent reed 1302 can
comprise a material such as paper, cloth, fiber, foam, or other
absorbent material that absorbs samples as the patient exhales
through the housing 704 of the lung vibrating device 1300. If
desired, a spine (not shown) of suitable stiffness can be coupled
to the absorbent reed 1302 to produce a reed that will vibrate at
the desired frequency.
In another exemplary embodiment, the sample collection carrier can
comprise an absorbent weight 1304 on the end of the reed 1302. The
absorbent weight 1304 can comprise a material such as paper,
cloth, fiber, foam, or other absorbent material that absorbs
samples as the patient exhales through the housing 704 of the lung
vibrating device 1300.
In another exemplary embodiment, the sample collection carrier can
comprise perforations 1408 or indentations 1406 in the reed 1402
or in the weight 1404 on the end of the reed 1402. The
perforations 1408 or indentations 1406 collect the diagnostic
sample by collecting condensation as the patient exhales through
the housing of the lung vibrating device.
In another exemplary embodiment, the sample collection carrier can
comprise absorbent strips 1305 coupled to an inside wall of the
housing 704 of the lung vibrating device 1300. Alternatively, the
absorbent strips can be coupled to the reed. The absorbent sirips
1305 can comprise a material such as paper, cloth, fiber, foam, or
other absorbent material that absorbs samples as the patient
exhales through the housing 704 of the lung vibrating device 1300.
The absorbent strips 1305 can be coupled to the housing 704 by
adhesive, tape, or other suitable meam. For example, the bousing
704 can comprise a pocket, frame, or other suitable holder (not
shown) into which the absorbent ships 1305 can be inserted and
removed.
In another exemplary embodiment, the sample collection carrier can
comprise indentions 1306 on an inside of the housing 704. The
indentations 1306 collect the diagnostic sample by collecting
condensation as the patient exhales through the housing 704 of the
lung vibrating device 1300. In another exemplary embodiment, the
sample collection carrier can comprise indentation strips 1308 of
rigid or semi-rigid material having indentations, which can be
placed inside the housing 704 of the lung vibrating device 1300.
The indentation strips 1308 can be placed loosely in the housing
704. Alternatively, the indentation strips can be coupled to the
housing 704 by adhesive, tape, or other suitable means. For
example, the housing 704 can comprise a pocket, frame, or other
suitable holder (not shown) into which the indentation strips 1308
can be inserted and removed.
In another exemplary embodiment, the sample collection carrier can
comprise protrusions 1310 inside the housing 704 of the lung
vibrating device 1300. The protrusions 1310 can increase the
surface area of the housing 704, thereby providing more area onto
which condensate can collect. The sample can be collected by
rinsing the housing 704 with distilled water and collecting the
rinse water.
In another exemplary embodiment, the sample collection carrier can
comprise a cup-shaped protrusion 1312, with the opening in the cup
facing the mouthpiece of the lung vibrating device 1300. The
cup-shaped protrusion 1312 collects condensate and prevents the
condensate from exiting the housing 704's exit end.
In another exemplary embodiment, the sample collection carrier can
comprise an absorbent acoustical resistance disposed in the
housing. For example, the acoustical resistance can comprise an
absorbent foam acoustic compliance plug. The plug absorbs the
condensate as the exhaled air passes through it.