rexresearch.com

Henri F. MELOT

Steam-Oil Jet Plane


Popular Science Monthly (August 1935)

Flaming Jets Drive Novel Aircraft

Driven by blast nozzles, a rocket-like airplane designed by a French inventor is declared to make possible speeds of 600 miles or more an hour. A mixture of fuel oil and compressed air is fed to these nozzles and ignited, and jets of flaming and expanding vapor spurt rearward with terrific force, the recoil driving the machine forward. To supply air at high pressure, the inventor has devised a novel method that dispenses with conventional compressors. It employs, instead, a jet of steam from an oil-fired boiler, which entrains outside air and forces it under pressure into the supply system, the steam being condensed and the water drained off before the air reaches the burners. Since there are virtually no moving parts, the novel power plant is declared to offer practically no chance of mechanical failure. The plane has no motor in the accepted sense of the word.


Everyday Science and Mechanics (October 1935), p. 848, 880, cover.

Flame Blasts Propel Plane

The attempt to produce aircraft capable of flying in the stratosphere, where the air is exceedingly thin and offers little resistance, causes the rocket planet to be looked upon with exceeding interest. For the ordinary type of propeller cannot take hold of the near vacuum of the upper air, until it whirls at a dangerously high speed; vibration and centrifugal force are troublesome. On the other hand, the rocket is not very efficient near the ground; because its effectiveness begins only when its speed forward approaches that of the gas which ejects backward --- some hundreds or even thousands of miles an hour.

To run a rocket, of great weight, with gunpowder is not economical. It offers the same handicap as running a steam engine with gunpowder; it can be done, but does not pay. One reason is that the gunpowder is composed, principally --- not of fuel, but of chemicals supplying oxygen. A rocket traveling in the space between planets would have to carry its oxygen, for there is none in outer space; but, even in the thinnest part of the atmosphere where a plane can be expected to fly, there is enough oxygen to work an engine. So we have the air-and-fuel oil rocket planet as the obvious solution of high-speed flight at the highest altitudes. To accomplish this a French engineer, M. Melot, has designed apparatus on the principle shown in the diagrams and, after tests, is proceeding with its construction. The fuel tubes serve to carry oil and air under great pressure into a combustion chamber, where they meet and burn with great fierceness; the result, just as in the cylinder of a gasoline or Diesel engine, is to produce a mixture of the nitrogen in the air with water vapor and carbon dioxide at a very high temperature. The expansion of gases caused by this heat creates pressure, and this pressure causes the gases to fly backward with enormous velocity.

In the ordinary firework rocket, this pressure is so great that it punches a hole in the air, so to speak. The velocity of the ejected gas is too high. But in the Melot reaction tube (following the curve of expansion named for Venturi) is open behind the flame blast, and, since the velocity of this blast is so great as to create a partial vacuum, it sucks in air from behind it (ahead in the direction of the plane’s flight) and blows it out behind. This slows down the velocity and pressure of the ejected gases, but it correspondingly increases their mass and, consequently, the forward push. It also helps the plane ahead by its suction, which lessens the air pressure resisting its flight.

In the design of this propulsion system, a problem encountered was that of supplying enough air to the engine. In high altitudes, engines use superchargers, which are really only air compressors, giving the carburetors air at sea level pressure or higher. This design was superseded by one without mechanical parts, working on a well-known principle --- that of the injector. A boiler (see diagram B) blows the high-pressure steam through a pipe, and through air holes, sucks in air --- just as does the big reaction tube of the plane. The mingled air and steam rushes with very high velocity through a cooling coil; the steam turns back to water, but the air rushes on through its pipe to the fuel chamber, where it supports combustion.

Another interesting compressor model (Diagram C) was tested out which operates on the principle of the steam pump, but with fewer parts. A piston, without any rod, is blown by firing a charge of gas, to one end of a double cylinder. It compresses the air at that end; sets off a second charge and goes back again; this time compressing air at the opposite end, and producing a nearly steady blast, from one end or the other of the cylinder. The effect is very much as when a standard gas engine is used for an air compressor (which it will serve for, as a makeshift; but the design eliminates piston rods, crankshafts, etc. It was found, however, that the steam blast compressor has the advantage of greater simplicity.

In the laboratory, the model of Venturi tube adopted for propulsion (Diagram A) has been tested, to secure data on its performance. It is considered possible that later models will produce a speed of 900 miles an hour, letting a plane cross the Atlantic in 4 hours (which would mean arriving in New York an hour earlier than leaving Paris); yet, because of the ultimate simplicity of the design, the rocket plane would cost less than the present engined type, and be much lighter and more efficient. The problem is one to learn the most economical operation of the flame blast for optimum elevation; and much work must be done off the ground --- in the stratosphere --- to perfect it. The theory appears complete.

Other experimenters work on the same problem. Dr Albert C Erickson, an assistant of Dr Goddard, the American pioneer rocket experimenter, has, it is said, developed an engine in which added force is obtained by the use of a rotary disk in the exhaust. This, like a television disk, scans the explosion, so to speak; changing it from a constant blast to a series of puffing explosions. They might be apparently continuous, to the ear, at a rate as high as 600 a second. This, he believes, is more effective than a steady push. Developments may be eagerly awaited.



US Patent # 1,493,157

Propelling Ejector

This invention relates to a propelling device of the kind described in US Patent # 1,375,601, in which a motive fluid is sent through a plurality of ejector tubes in series draws atmospheric air and causes between the front a rear ends of the ejector tubes a difference of pressure producing a thrust on the tubes, so that when the latter are mounted on a terrestrial vehicle, a marine vessel or an aircraft the thrust causes propulsion thereof. In accordance with the present invention, in order to improve the efficiency of such devices, the first ejector tube of the series are of greater length than the following ejector tube so as to provide a sufficient distance way for the high speed mixture of motive fluid and air aspired to have proper time to expand and carry along the maximum amount of air.

The accompanying drawing shows diagrammatically an axial section of an embodiment of the invention.

The injection nozzle a receives motive fluid from any generating device such as for example that described in my application Serial No 679,784. Said device is designated on the drawing by the letter A and is not claimed herein. Nozzle  a opens into the first ejector tube b which is open to the atmosphere at c. Each following ejector tube b1, b2 is of lesser length than the preceding tube or of equal length.

The air drawn in at c mixes with the motive fluid injected through the nozzle a and the mixture whose initial speed is very high is able to apply itself against the inner walls of the ejector tube b and has time to expand properly owing to the great length of said tube. When the fluid reaches the second ejector tube b, its speed is slower and it is not necessary to have it follow such a great axial distance as in the first tube for it to have the requisite expansion and produce the maximum reaction on the surrounding atmospheric air. The same effect occurs with the following ejector tubes.

It may happen that the passage areas in the last ejector tube becomes too great with respect to their length. In such case, according to the invention, a needle d having a suitable profile is placed inside the ejector tubes and the nozzle if required, so as to give them the proper passage areas. Said needle may be made movable in the axial direction so as to permit of regulating the areas.

The invention may also be applied to ejector tubes in series supplying gas turbines or securing the blast of metallurgical apparatus.

What I claim is : [ Claims not included here ]


US Patent # 1,979,757

Liquid Fuel Burner

(Cl. 158-77)

This invention relates to an improved device for atomizing liquid fuel and assuring intimate mixture thereof, in a constant proportion, with the air necessary to support combustion.

To this end and in accordance with this invention, a liquid fuel burner is provided with a fixed nozzle inside which rotate a series of concentric jets constituting a vacuum intensifier. These jets, which may be integral with a rotary tube, are rotatable about a fixed tube with is maintained in communication with a tank containing the liquid fuel at a constant level which is slightly lower than the axis of said fixed tube.

By means of this arrangement the air passing into the fixed nozzle and the rotary jets, carries along an amount of liquid which is constantly proportional to said air.

Moreover, the centrifugal effect due to the rotary jets supplements the transporting effect due to the passage of the air, so as to produce perfect atomization at all speeds.

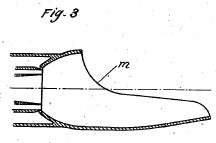
The accompanying drawing illustrates, by way of example, an embodiment of a triple-action device although the rotary jets may vary in number. Figure 1 is an axial section of the atomizer mounted at the intake of the burner. Figure 2 is a cross-section on the line 2-2 Figure 1, showing a detail of the apparatus, and Figure 3 is an axial section on a vertical plane of the burner proper, on a smaller scale.

Disposed at the intake of the actual burner a are a fixed nozzle b and a series of rotary jets c, integral with a rotary tube d and arranged in such a manner that the inner extremity of the rotary tube d opens into the neck of the first jet c, the inner extremity of the first jet c opening into the neck of the second jet c, and so on… the inner extremity of the last jet c corresponding with the inner extremity of the fixed nozzle b. This unit (jets and rotary tubes) is rotated by a pulley e and belt f or any other suitable means. Inside the rotary tube and serving as a bearing therefore is situated one branch of a fuel feed pipe g the terminal orifice of which may be controlled by a needle valve h. The liquid is drawn into the other branch of the pipe g from a constant level tank i open to the atmosphere.

The air reaches the nozzle by way of an annular passage j which may be provided with guide vanes k adapted to direct the streams of air parallel with the axis.

In this device the final section of the rotary tube d is exposed to the vacuum obtaining in the neck of the first jet c, the other end of said tube being subjected to atmospheric pressure. Consequently an outflow of the liquid occurs, the amount of which increases when the vacuum increases, whilst the vacuum in the neck, itself, increases when the delivery of air increases..

The laws of deliveries in relation to pressures being the same for the two fluids, air and liquid, calculation reveals that, if the level of the liquid coincides with the axis, the relation of fuel to air is substantially constant. In practice, a gap of several millimeters is left between the liquid level and the axis, to prevent siphoning on stopping, and this will not appreciably modify the ration of fuel to air.

In this manner, automatic proportionality is established between the air and the fuel within the two limits that have been fixed for the working of the burner.

In order to obtain correct atomization by the action of the air alone, it would be necessary that, with the burner operating at its lowest rate, the velocity of the air at the neck of the first jet c should already be considerable, with the result that a very high pressure would be required for operating the burner at its maximum rate, it being known that the pressure increases as the square of the delivery rate.

The rotary device of this invention, however, intended to obviate this serious inconvenience which causes noise and a waste of energy, ensures atomization at low speeds, a low air velocity being sufficient to carry the atomized liquid towards the burner proper.

On the other hand, the effect of the centrifugal action on the liquid diminishes with increased delivery rate and for a given angular velocity of the tube d and rotary jets c, because as the quantity of liquid increases, a greater portion of liquid slides in relation to the rotary jets and the liquid is but partly set in rotation. The result is a slower specific velocity of the liquid and a progressively less effective atomization. Consequently, the rotary device by itself is favorable for small deliveries, but its action is  diminishes when the delivery increases.

However, so far as the effect of the air, by itself, is concerned, the atomization obeys a converse law and is the more complete as the air delivery increases.

The superimposition of these two opposed phenomena gives, as the resultant, a constant effect, that is to say, perfect atomization at all rates, without necessitating a high air pressure.

It should also be remarked that, even at high operating rates, the part played by the rotary device is always highly advantageous, for, if it no longer atomizes directly, it assists the work of the air in distributing the liquid to the necks of the several jets. Moreover, at all operating rates, since the liquid presents itself in the form of thin films a right angles to the direction of the air, the latter is compelled, in order to pass, to cut these several successive layers, with the result that the mixture is rendered strictly homogeneous.

The proportioning of the mixture is obtained, once for all, by means of the needle valve h so that, by means of a single control, a throttle l or the like, the device enables the power of the burner to be modified whilst maintaining the fuel-air ratio constant. This also does away with micrometric orifices.

With the object of lessening the noise due to the combustion, and also to facilitate the latter at low rates, the upper part of the burner proper a is considerably cut away as at m (Figures 1 and 3), thus giving the burner the form of a scoop, in order to destroy the acoustic effect which occurs when the combustion takes place inside a tube which is open only at one end. A second advantage is to allow the flame to spread when operating at low rates, thereby increasing the activity of radiation.

What I claim is: [ Claims not included here ]


MELOT's PATENTS

Balance automatique
FR582031
1924-12-10

Propelling ejector
US1493157
1924-05-06

Dispositif de soufflerie pour la métallurgie
FR578187
1924-09-19

Dispositif de propulsion par trompes
FR571863
1924-05-26

Procédé et appareils d'alimentation de trompes propulsives en fluide moteur
FR571862
1924-05-26

Pompe électrique à mercure
FR571115
1924-05-12

Bascule
FR533981
1922-03-15

Procédé et dispositifs d'alimentation du comburant aux propulseurs à trompes
FR523427
1921-08-18

Procédé et dispositifs de compression du comburant et du combustible pour propulseurs à trompes
FR522163
1921-07-27

Procédé et dispositifs de production de comburant sous forte pression pour les moteurs thermiques
FR800835
1936-07-20

Procédé et dispositifs de compression du comburant alimentant les moteurs thermiques
FR800834
1936-07-20

Nouveau jeu de fléchettes
FR758739
1934-01-22

Brûleur à combustible liquide
CH169844
1934-06-15

Zerstäubungsbrenner für flüssige Brennstoffe
AT137750B
1934-05-25

Liquid fuel burner
US1979757
1934-11-06

Cuve à niveau asservi et réglable
FR764858
1934-05-29

Dispositif d'interrupteur électrique à rupture brusque
FR764857
1934-05-29

Dispositif de pulvérisation pour brûleurs à combustibles liquides
FR753361
1933-10-14

Dispositif de réglage du débit d'huile dans les brûleurs à combustible liquide
FR808165
1937-01-30

Dispositif de dégivrage
FR945691
1949-05-11

Conservateur de cap
FR1047158
1953-12-11

Deicer arrangement for airplanes
US2558493
1951-06-26

Perfectionnement aux propulseurs à réaction
FR1220047
1960-05-20

Brûleur automatique et progressif à émulsion
FR1139278
1957-06-27

Perfectionnement aux brûleurs progressifs pour combustibles liquides
FR1124624
1956-10-15

Perfectionnement aux catalyseurs
FR1072751
1954-09-15