rexresearch.com

Guy NEGRE

Compressed Air Car


Reuters News (10-27-2002)

Compressed Air Car Moves Forward

by Rebecca Harrison

PARIS (Reuters) --- Visionary 19th century French writer Jules Verne once described a fantastical future world where cars would run on air.

He may not have been totally wrong.

Inventor, car enthusiast and environmentalist Guy Negre has built a car powered by compressed air and hopes it will be chuffing along roads across the world within the next few years.

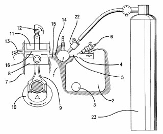
Inside Negre's car, cold air compressed in tanks to 300 times atmospheric pressure is heated and fed into the cylinders of a piston engine.

No combustion takes place, so there is no pollution. In fact, says Negre, the air from the exhaust pipe is cleaner than the air that goes in, thanks to an internal filter.

The car can be refilled with air at home using an electric compressor and Negre hopes that, one day, drivers will be able to recharge the cars in filling stations in three minutes for as little as three dollars.

The air car, which he says will cost 6,800 euros ($6,700), looks a little like DaimlerChrysler's easy-to-park Smart city car, with one row of seats wide enough for three and a curved, pod-like front end.

"We needed an alternative to the gas-guzzling norm so I decided to make one," the former Formula 1 racing engineer told Reuters at the Paris motor show, where his toy-like run-around nestled among the latest sports cars.

TOO GOOD TO BE TRUE?

Negre, who has been working on the car for 10 years, admits it sounds too good to be true. But he says scores of industry insiders who first scoffed at his invention had been sidling up to his stand for a closer look.

Some point out that, although the car itself pumps out no pollutants, the electricity needed to compress the air still comes from power stations that spew fumes or leave behind hazardous nuclear waste.

Another big obstacle to making electric cars commercially is that, despite decades of research, they still need refuelling far more often than conventional petrol models. Some experts say there is no reason why the "air car" should be any different.

"The concept of a car driven by air is not totally ridiculous," said John Wormald at the Autopolis consultancy, adding that air-powered locomotives were used to help dig Alpine railway tunnels to avoid pumping out toxic fumes.

"But as with all these wonderful ideas, the problem is how much energy density can you fit into a tank," Wormald said. "The car's range will likely be small and I can't see it taking off."

Negre says his CityCAT car runs for a maximum of around 10 hours at low speed before it needs refuelling. He insists this is not a problem as drivers will be able to recharge at home.

Wormald said that would be impossible for anyone without a private garage or a space in a parking lot.

Sceptics might wonder whether the big oil firms will be keen to equip their filling stations with a new technology that spurns petrol for air.

TOWN, NOT COUNTRY

Negre admitted that the CityCAT -- which he says has a top speed of around 110 km an hour -- will work only as a city car and agrees he will probably not persuade motoring enthusiasts to give up their Mercedes and BMW speed machines just yet.

"It's not a real alternative to the standard car," he said. "It's an urban vehicle that we will market mainly as a second car, targeting mainly women who tend to go for smaller vehicles that they use for short distances."

Wormald reckons the business model is flawed.

"The problem is that people just don't want to buy cars they can only use to drive round towns. They might not bomb off to the country every weekend but they like to know that they can if they want," he said.

But Negre, who describes himself as a motorist who also cares about the state of the planet, rather than an all-out environmentalist, insists the air-powered car is the first viable alternative to conventional petrol-powered vehicles.

"I'm a firm believer that the car means freedom and people will not give up freedom, no matter what it's doing to the environment," he said. "So the only way to save the planet is to come up with a car that doesn't wreck it."

Conventional vehicles running on fossil fuels still emit a tenth of the man-made carbon dioxide which has been blamed for abnormal climate patterns and a host of natural disasters.

Rather than selling the cars directly, Negre's company Motor Development International offers investors a factory package containing the machinery needed to build the cars.

"We aim to have the first CAT on the road by mid-2003, with the first on sale toward the end of 2004," said Negre.

He said MDI had already sold 32 of the small factories and was hoping to swell the total to 300 in the next few years. Each factory would produce 4,000 cars a year.
"The technology is all there," Negre said. "Now all we need is time and money to get the factories up and running."


Sources:

http://www.zeropollution.com (Motor Development International's Website)
http://www.mdi.lu/acceuilgb.htm
http://www.theaircar.com/
http://www.e.volution.co.za/ (South Africa)

Source: South Africa's e.Volution site "What's New" section 

Current Production Schedule

"June 2001: Availability of the first vehicles in South Africa is still on stream for 2003. The commencement of the construction of the Gauteng production facility is planned to coincide with the successful SABS commercial homologation of the pre-series vehicles arriving from France in November 2001.

Pre-series vehicles are currently in production at the Carros plant in France. These are being built to EC regulatory standards and form the basis of stock to be sent to each participating region (eg. Mexico, Australia, Italy, Spain and more) at the end of the year. Each region uses these vehicles for regional homologation and project start-up. The second and model plant is already under contruction adjacent to the first production facility and is due for completion in October 2001. The model plant will be the basis for plant design in all regions, the home of technical skills transfer and a source of product for local sales."


Motor Development International ( 10/5/00 ) ~

We will start producing pre series in Nice France by early next year. We plan to start production in Nice 2nd half next year and production in the U.S. 2nd half year 2002.

The prices (subject to change) are $ 13,000 for the pick up, $ 14,000 for the Van and $ 15,000 for the taxi/passenger minivan version.

Regarding dealership: MDI has created a unique business model in the Car industry. Instead of building a large centralized facility to manufacture 150,000 to 200,000 vehicles, we intend to build 100's of small facilities that will produce 2,000 vehicles per shift near the point of consumption which are the large cities as our vehicles are for urban application. These factories will be doing their own selling direct to customers and/or via the internet.

MDI has been selling to investors a right of priority for the setting-up of a facility to manufacture zero pollution vehicles as per MDI patents. The right of priority is for a given territory. A population of 2.5 million people defines a territory. For example a city of 5 million people, there will be two facilities. The same investor can purchase the two facilities but shall always be the subject of a separate contract for a definite territory.

The right for a specific zone costs US $ 300,000. This amount will give you the right to hold up to 30% of equity for a specific plant. Each plant will cost US $10 million. MDI Inc. will hold the other 70%. By the time we will start building the plant, you will have to invest an additional US $ 2,700,000 to cover your 30% of the US $ 10 million do investment.

If you are interested, you can send you a copy of our Reservation of Zone contract for our turnkey factories together with our business plan. For Individual investors who are interested to participate in our project, we have devised another investment vehicle. The minimum investment is 10 000 dollars at 100 dollars a unit which will equal to 1/10th of 1% of each individual plant. (Each plant will issue 100,000 units) The units will be issued to no specific site, which will be decided based on best opportunities at the time of the construction. Based on our estimates, for every 1/10% of 1% of one production unit, the investment will be paid back in year 4 and thereafter a yearly revenue stream of over US $ 7,000 representing an IRR of over 40%.

Shiva Vencat
MDI Inc-Zero Pollution Motors
48 East 57th Street, 5th floor
New York, NY 10022
Tel (212) 906-0175
Fax (212) 906-0176


Motor Development International ( 09/19/00 )

THE ZERO POLLUTION CONCEPT

After more than thirty years experience with combustion engines, the French engineer Guy Negre has developed a concept of a totally non-polluting engine for use in urban areas.

This invention, which uses high pressure (300 bar) compressed air to store the energy needed for running the engine, is protected world-wide by more than 20 patents owned by MDI.

In urban areas, the engine powers a five-seat vehicle with a range of approximately 200 km using 300 litres of compressed air (300 bar) stored in either carbon or glass fibre tanks.

The recharge of the compressed air tanks is done by a compressor driven by an electric motor connected to a standard electric outlet. A rapid recharge, using a high-pressure air pump, is also possible.

The MDI patents cover not only the basic principal of the utilisation of power generated by the release of cold compressed air into a hot air chamber, but also the means of making it economically feasible. For this purpose, the conventional cylinders, pistons and connecting-rods have been redesigned. Systems for the recuperation of energy have been developed as well as a new power transmission assembly.

To demonstrate the viability of the concept, three prototype vehicles equipped with air, mono-energy, engines were developed. A taxi called "TOP" (Taxi zerO Pollution), a delivery van and a pickup truck were built. In May 1998, the first road tests of these prototypes were done in Brignoles, France. The news media have expressed a great interest in the zero pollution concept. Since May 1998, the taxi "TOP" has been the subject of more than 35 television programmes and several hundred newspaper and magazine articles around the world.

The potential market for the "clean engine" concept is immense: e.g., vehicles such as taxis, buses, vans, delivery trucks, industrial warehouse tractors, golf buggies, lake or canal boats and many other applications in which fixed engines are primarily used in urban or restricted areas.

A version of the MDI engine can, in addition to air, also function with the use of traditional fuel; petrol, diesel, natural or town gas, at very low consumption levels. The change of source of energy is handled electronically based on the speed of the vehicle; e.g. below 60 km/h it runs on air and at higher speeds it runs on fuel. The compressed air tanks are recharged while the engine is running on fuel, using a built-in mini-compressor activated by breaking and deceleration. It is also possible to recharge the air tanks in 2 - 3 minutes at a compressed air filling station.

To manage the development process successfully, MDI has contracted its product research and development activities to CQFD Air Solution, a company based in Brignoles, France. Here, under the direction of Guy Negre, some 20 engineers and technicians have at their disposal the most modern equipment for engine and vehicle development, testing and production, supported by the latest in information technology.

Until now, the main activities of this group have been to perfect the engine and vehicle prototypes. At the end of 1998, in parallel with vehicle certification activities and the manufacture of the engines, a technical-commercial team was set up, responsible for marketing the MDI concept.

As soon as the MDI engines and vehicles are commercially viable (within 1-3 years, depending on the version) they will have a market, with very limited competition, if any, for an estimated period of 10-15 years.

Certain manufacturers have invested heavily in electric cars - generally recommended by public authorities as being the solution to urban air pollution. However, electric cars are largely ignored by the public due to high cost, limited range, long recharge time and the negative effects of battery replacement, pollution and a difficult recycling process.

Another technique, which has consumed considerable investment, consists of powering vehicles by fuel cells. Professionals agree, that this technique is still far from being adapted to mass production, remains very expensive, is heavy and complicated and uses fuels which are, in general, dangerous and difficult to store.

When the first applications of the MDI mono-energy engine have demonstrated the viability of the new concept, the air and fuel, bi-energy, engine will be introduced to major car manufacturers in order to study its adaptation for their common models. The engine will be produced by the manufacturers within their existing structures. The engine is significantly lighter than a traditional engine, it is less expensive to produce, maintain and utilise, it uses and pollutes less when it runs on fuel and is totally pollution free when it runs on air.

The different versions of MDI engines provide the most comprehensive answer to the urban pollution problem: simple, economic and inoffensive.

The commercial strategy is currently concentrated on the urban markets, with products including taxis, delivery vans and pickup trucks.

Based on a new concept of local vehicle production and sales, MDI promote regional manufacturing license rights in the form of franchised turnkey factory systems. Such a turnkey factory will have a normal production capacity of 2,000 – 4,000 vehicles per year and will employ some 130 people. A model factory is being constructed in Brignoles, France.

It is estimated that the first zero pollution vehicles will be on the market in year 2000.


Natural Resources Defense Council: EARTHSMARTCARS BULLETIN  ( 11/30/99 )
http://www.nrdc.org/earthsmartcars

Mexico City Purchases Zero-Pollution Taxi Fleet

Imagine pulling your car into a service station, driving right past the gas pumps, and filling it up with air. That idea has come one step closer to reality with the announcement that Mexico City has purchased a fleet of 40,000 zero-pollution taxis powered by compressed air.

The taxis, produced by Motor Development International (MDI) in Brignoles, France, will hit the streets of Mexico City sometime in 2001. Their two-cylinder engines, which use a combination of heated outside air and super-compressed air stored in under-car tanks, can travel 120 miles on each tank of air. Drivers can fill up at a gas-station air pump in less than three minutes, although filling up at home, using a household electricity source, takes about four hours. Remarkably, these vehicles don't stop at zero pollution -- they actually remove pollution from the air. When a driver brakes, the MDI vehicle takes in polluted air and filters it, expelling the cleaned air upon acceleration.

In addition to air, a version of MDI's engine can also use traditional fuels at very low consumption levels. The choice of energy source is handled electronically based on the speed of the vehicle (below 60 kilometers per hour the car runs on air, at higher speeds on fuel). MDI vehicles are expected to be released internationally in 2000 at an average price of $13,000.


WIRED Magazine ( May 7, 1999 )
http://www.wired.com/wired/archive/7.05/mustread.html?pg=19

Running on Empty

by

Heather McCabe

Just when you thought the EV1 was Mother Nature's eco-dream on wheels, a small start-up in Brignoles, France, has built an air-powered car that makes electrics seem like noxious nightmares.

The company, CQFD Air Solution Sarl, is led by Guy Nègre, whose curriculum vitae includes designing engines for lightweight aircraft and Formula One race cars. Nègre came up with the aircar concept seven years ago while trying to develop a cleaner-burning engine. To power the pistons, Nègre's two-cylinder motor uses a combination of heated outside air and supercompressed air from tanks stored under the car. Already, the Mexican government is planning to purchase a fleet of 40,000 compressed-air-powered taxis.

At gas-station air pumps -- where others inflate tires -- Nègre can fillerup in less than three minutes. A tankful lasts about 120 miles. And since carbon filters scrub the expired air before it's released, "it produces negative pollution," Nègre says.

So far, Nègre and his team of 20 engineers have developed three prototypes -- a taxi (above), a van, and a pickup. The vehicles are expected to receive international release in 2000 at an average cost of $13,000.

Technical data: 2 cylinder engine, uses heated outside air & supercompressed air from tanks under the car, can fill up in less than 3 minutes at a gas station air pump, a tankful lasts 120 miles.


The Manchester Guardian Weekly ( February 8, 1998 )
http://www.necnp.org/aircar.htm

A Car with a Healthy Air

by

Paul Webster

A French engineer has invented an urban car that runs only on the air around us. The first ZP taxi - ZP stands for zero pollution -- will be unveiled in Provence later this month before going into mass production in Mexico.

The inventor, Guy Negre, opened his engine laboratory at Brignoles in the Var three years ago to perfect a motor that runs on a tankful of compressed air. In urban road trials, his air driven engine mounted in a Citroen AX chassis ran for 10 hours with a top speed of about 100 kmh. That is a better performance than any electric car in production.

The Mexican version of the vehicle was designed by an Italian company and resembles a small family saloon with a separate compartment for the driver and four seats at the back. A Mexican licensee, Dina, has signed a contract to produce an estimated 40,000 ZP taxis and urban delivery vehicles a year. It hopes to replace all of Mexico City's 87,000 petrol and diesel taxis.

Mr. Negre, who worked on high-performance and Formula One engines for 30 years, runs his business, CQFD Air Solution, with his son, who is a former Bugatti engineer, and 16 employees just off the Mediterranean motorway to Nice.

His silent, odour-free engine design was chosen for the world's most polluted city after a worldwide search by the Mexican authorities that included tests on dozens of electric and other non-polluting experimental vehicles.

"My car was the only one totally dependent on compressed air for city running," says Mr. Negre. "Compressed air is used to start Formula One cars, but in this case the compressed air is the fuel driving a motor with classic components such as pistons and valves. But it is much lighter than the average engine."

Sixteen patents have been taken out to cover an integrated system in which 300 litres of compressed air can be pumped into the tank under high pressure in three minutes. The car can also be refuelled at home in four hours by a small compressor in the car linked to the house electricity supply. While the air is free, the electricity used to refuel the tank at home would cost less than $2.

The car is being studied by other countries, including the Netherlands, because it can also clean up air that has been polluted by petrol vehicles.

"One of the vehicles advantages is the carbon filtering system, which means that the car sucks in the polluted surrounding air during braking and then breathes out purified air," says Mr. Negre.


Manchester Guardian Weekly
http://www.calstart.org/forum/messages/888.html

Air today, Mexico City tomorrow

Paul Webster

WITH nothing more than a slight wheeze as the compressed air tap was turned on by the driver, followed by a polite phut-phut from its eco-friendly motor, the bright green car that might change the way we drive in the next century set off for a run outside the workshop in this southern French city.

Its designer, Guy Nègre, who abandoned the Formula One race circuit to build a zero-pollution car, had reason to smile as the vehicle accelerated as smoothly as a petrol-engined version. The demonstration was his first answer to the scores of skeptics who reacted critically when the Guardian Weekly first published the news in February of a compressed-air prototype that could be filled up for a less than $2 and run for 10 hours in urban conditions.

From the pile of correspondence to the editor here is a quote from Graham F Andrews, in Gresham, Oregon, USA, summing up the skeptics' viewpoint. "In his writings on two cultures, C P Snow drew a parallel between liberal arts types who did not know the Second Law of Thermodynamics and technical types who had never read Shakespeare," he wrote. "By this standard your Paul Webster should either go back to school or be demoted to theatre critic."

Apart from the fact that being appointed "theatre" critic should not be considered demotion, I had to check out his theory that it would need several thousand atmospheres to move the vehicle and that pressure would be so high that sitting on the air tank would be like sitting on a bomb. This big bang view is rather important as Mexico plans to mass-produce the vehicle under licence to replace the capital's 87,000 taxis.

Preconceptions about noisy and greasy car factories take a knock on meeting Mr. Nègre, whose workshop in this town near the Mediterranean beaches, is as clean as a clinic. White-coated engineers build every component and chassis part for brightly-coloured toy-like taxis that would appeal to Noddy.

Mr. Nègre is a down-to-earth, self-taught engine designer. At 58 he is recovering from losing a fortune developing a Formula One motor that ran into opposition from big manufacturers. For this reason he has no plans to take on GM or Ford with a private-car version of the air-driven vehicle.

"There is no point in clashing with the big firms when there are so many specialist slots to be filled," he said, before giving technical details of a motor known as the MDI EV3 C that uses nothing except the air around us. "The air tanks are a special design made in carbon and are 100 percent safe. They contain 300 litres of air at 300 bars and can be refilled in three minutes under high pressure. The car's maximum speed is 100 km/h, and urban autonomy, with full tanks, is 10 hours."

Without taking the compressed air engine apart or sitting in the car for 10 hours while it runs around Mexico City, there is no reason to doubt Mr Nègre's claims, backed up by detailed diagrams that have persuaded 160 backers in Britain and the rest of Europe to take up shares in Motor Development International in Luxembourg, which oversees investment.

For skeptics who want to take the argument further, Mr. Nègre hopes to hear from them at CQFD Air Solution, Forum Aurelia, Route du Val, 83170, Brignoles, telephone +33498-051000. E-mail: cqfd.be@infonie.fr


http://www.dohms.tche.br/ingles.htm
Time ( March 23, 1998 )
by James Geary

In Brignoles, France, engineer Guy Negre has invented an engine that not only runs on thin air, but improves air quality to boot. Negre's Zero Pollution Urban Taxi covers about 200 Km on 300 L of compressed air, which is stored in tanks similar to those used by scuba divers. In addition to a combustion chamber, the Z.P. taxi has an expansion chamber that compresses air at high temperatures. A small quantity of this compressed air is then injected into the combustion chamber at room temperature, producing a rise in pressure sufficient to drive the motor's cylinders. Designed specifically for inner cities where stop-and-go traffic accounts for a significant portion of polluting emissions, Z.P. vehicles inhale a fresh supply of air in about a minute at specially equipped service stations or recharge in four hours at home using a small electric compressor. The zero-pollution cars are also fitted with a carbon filtering system that sucks in dirty air during braking. The result: air emitted by the Z.P. engine is actually cleaner than that of the surrounding environment.

But it may take even longer to persuade automobile manufacturers to build it. Car companies "have a set mentality", he says. "The have already spent a great deal of money on the electric car, which turned out be heavy and expensive. They don't want to listen to another new idea." The Mexican government, on the other hand, is all ears. It's backing an order for 40.000 Z.P. Taxis to replace the gasoline and diesel models in Mexico City, which suffers from probably the worst air pollution in the world due to its high altitude. Mexico's City first pollution-free taxis will hit the streets in two years. while they are not yet ready to displace fossil fuels, zero-pollution vehicles can still play an important role in reducing the level of greenhouse gases. "If we start with taxis, then move to buses and vans, " Negre believes, "it will take very little time to improve the pollution problem in our cities."


US Patent # 5,592,904

Method and Devices for Controlling the Combustion of a Four-stroke Engine

Publication date: 1997-01-14
Inventor: NEGRE GUY (FR)
Also published as:
WO9425743 (A1)
EP0648314 (A1)
FR2704903 (A1)
EP0648314 (B1)

Abstract ~ Method and devices for controlling the combustion of a four-stroke engine. For each cylinder, in addition to the main combustion chamber, a smaller secondary combustion chamber is provided. The secondary combustion chamber is completely separate and independently supplied with a compressed fuel-air mixture such that, when the mixture is ignited, the explosion that takes place through a transfer channel into the main combustion chamber, igniting the mixture contained therein. The main combustion chamber is not supplied with fuel at low speeds. Application is also contemplated for four-stroke engines with spark or other ignition and with rotary or valve timing.


US Patent # 6,094,915

Method and Devices for Eliminating the Pollution of Cyclic Internal Combustion Engines with an Independent Combustion Chamber

Inventor: NEGRE GUY (FR); NEGRE CYRIL (FR)
Also published as: WO9627737 / EP0815356 / FR2731472 / BR9607658 / EP0815356

Abstract ~ A pollution control method and related devices for cyclical internal combustion engines having a separate combustion chamber (1), wherein the compression chamber, the combustion chamber (1) and the expansion chamber (16) consist of three separate and entirely self-contained portions. During low-power operation, e.g. in urban traffic, the fuel injector (6) is no longer controlled during filling of the combustion chamber, whereby the combustion chamber is filled with high-temperature pure compressed air at each cycle. A small amount of additional air from an outer tank (23) for storing highly pressurized air at room temperature is fed into the combustion chamber substantially after the intake of compressed air from the engine compressor, and heated as it contacts the hot compressed air already present in the combustion chamber (1), whereafter it expands and increases the starting pressure to enable effective work to be produced during expansion.


US Patent # 6,305171

Method and Device for Additional Thermal Heating for Motor Vehicle Equipped with Pollution-free Engine with Additional Compressed Air Injection

Inventor: NEGRE GUY (FR); NEGRE CYRIL (FR)
Also published as: WO9937885 / EP1049855 / OA11767 / FR2773849 / CA2319268

Abstract ~ The invention concerns a method for additional thermal heating for motor vehicle equipped with pollution-free engine operating with additional compressed air injection into the combustion chamber (2) and having high pressure compressed air storage reservoir (23). The high pressure compressed air contained in the reservoir is previously to its final use at a lower pressure, directed towards a thermal heater (56) to increase its pressure and/or volume before it is injected into the combustion or expension chamber (2). The invention is applicable to all engines equipped with compressed air injection.


US Patent # 6,311,486

Method for Operating a Pollution-reducing Engine

Publication date: 2001-11-06
Inventor: NEGRE GUY (FR); NEGRE CYRIL (FR)

Abstract ~
A method for reducing pollution in a mono-mode air-air combustion engine having an intake and compression chamber, connected to a constant volume expansion chamber, which is connected in turn to an expansion and exhaust chamber. External air is drawn into the intake chamber and compressed to an increased pressure and temperature. The compressed air is transferred to the constant volume expansion chamber, wherein additional, ambient temperature, compressed air is injected therein. The injected air, when contacting the elevated pressure and temperature of the compressed air causes an expansion of the air within the constant volume expansion chamber. The energy associated with the air expansion is transferred to the expansion and exhaust chamber, wherein the continued compressed air expansion produces a work force that is imparted to a piston. The energy depleted air is then exhausted through an exhaust value.


US Patent # 6,327,858

Auxiliary Power Unit using Compressed Air

Publication date: 2001-12-11
Inventor: NEGRE GUY (FR); NEGRE CYRIL (FR)

Abstract ~ The invention concerns an auxiliary power unit using compressed air for energy and equipped with a motor alternator driving, or being driven by a motor compressor with compressed air which compresses air under high pressure in a high pressure storage tank and which when there is a power cut automatically drives the motor compressor in alternating mode to supply electricity. The invention is applicable to fixed or mobile auxiliary power units.


US Patent # 6,334,435

Method for Operating Pollution-free Engine Expansion Chamber and Expansion Chamber Therefor

[ PDF ]

Inventor: NEGRE GUY (FR); NEGRE CYRIL (FR)
Abstract ~ The invention concerns a method for operating a pollution-free engine chamber by injecting supplementary compressed air, comprising a suction and compression chamber (1) and an expansion and exhaust chamber (4) independent of each other, which consists in separating the pressure increase process in said expansion chamber by dividing it into the two chambers, an engine chamber (2A) which receives high pressure air and a working chamber (2B) which receives the supplementary compressed air with lower pressure, separated by a quick-operating plug (2c) which communicates them suddenly thereby causing, owing to difference in pressure levels, a wave expanding the engine gas which flows into the working chamber generating a compressive shock wave substantially increasing the pressure level in the chamber shortly before it is communicated with the expansion and exhaust cylinder (4) to produce a work.


Other Patents Issued to Guy Negre:

ZA200408815
Variable flow reducing valve and gradual control valve distribution system for a compressed air injection engine operating on mono or multi energy andother engines or compressors.

ZA200408408
Individual cogeneration plant and local network.

ZA200502096
Convenient, modular urban and suburban transport vehicle.

OA11641
Auxiliary power unit using compressed air

WO2005049968
ENGINE WITH AN ACTIVE MONO-ENERGY AND/OR BI-ENERGY CHAMBER WITH COMPRESSED AIR AND/OR ADDITIONAL ENERGY

US2004261415
Motor-driven compressor-alternator unit with additional compressed air injection operating with mono and multiple energy

WO2004010567
MAGNETIC MOTOR WITH DIAMAGNETIC AND NON-MAGNETIC MASK

WO03080308
IMPROVED MOULD FOR PRODUCING COMPOSITE MATERIAL PARTS, MOULDING LINES AND MOULDING INSTALLATION COMPRISING SUCH LINES

ZA200201860
Transport network comprising a fleet of vehicles, boat and station for recharging such a transport system with compressed air.

WO02070925
PISTON FOR MOTORS OR OTHER ENGINES

WO02070876
EXPANSION CHAMBER FOR A COMPRESSED AIR ENGINE

WO0234610
MOTOR VEHICLE CHASSIS WITH CENTRAL BEARING STRUCTURE MADE OF ALUMINIUM

HK1032807
METHOD AND DEVICE FOR HEATING FOR ENGINE WITH ADDITIONAL COMPRESSED AIR INJECTION

COMPRESSED AIR RECHARGING STATION COMPRISING A TURBINE DRIVEN BY THE FLOW OF A WATER COURSE

US6334435
Method for operating pollution-free engine expansion chamber and expansion chamber therefor

ZA200100019
Operating method and device for supplementary compressed air injection engine operating with mono-energy or bi-energy in twe or three powering modes.

WO0112983
TRANSPORT NETWORK COMPRISING A FLEET OF VEHICLES, BOAT AND STATION FOR RECHARGING SUCH A TRANSPORT SYSTEM WITH COMPRESSED AIR

WO0065273
END PIECE FITTING FOR A RESERVOIR OF COMPRESSED AIR OR OTHER HIGH PRESSURE GASES AND INTERNAL CIRCULATION OF LIQUID

BG104244
METHOD AND DEVICE FOR CONTROLLING THE MOTION OF A MACHINE PISTON AND BALANCING OF THE DEVICE

HK1022506
METHOD AND DEVICE FOR RECUPERATING AMBIENT THERMAL ENERGY FOR VEHICLE EQUIPPED WITH AN POLLUTION-FREE ENGINE WITH SECONDARY COMPRESSED AIR

HK1019780
INTERNAL COMBUSTION ENGINE WITH CONSTANT-VOLUME INDEPENDENT COMBUSTION CHAMBER

GR3031298T
POLLUTION CONTROL METHOD AND DEVICES FOR CYCLICAL INTERNAL COMBUSTION ENGINES HAVING A SEPARATE COMBUSTION CHAMBER

US6311486
Method for operating a pollution-reducing engine

CZ20010318
Compressed air-operated generator set

WO0005535
RESERVOIR FOR FLUIDS UNDER HIGH PRESSURE, IN PARTICULAR COMPRESSED AIR OR ANOTHER GAS

US6363723
Method and device for reacclerating a vehicle equipped with high-pressure air compressors

SI1084334T
METHOD OF OPERATION AND MOTOR WITH ADDITIONAL COMPRESSED AIR INJECTION

PT1084334T
PROCESSO DE FUNCIONAMENTO E DISPOSITIVO DE MOTOR COM INJECCAO DE AR COMPRIMIDO ADICIONAL

CZ20004456
Engine operation mode with auxiliary air injection and apparatus for making the same

OA11106
Installation of compressors for supplying high-pressure cmpressed air to a reduced-pollution or pollution-reducing engine

SI1049855T
METHOD AND DEVICE FOR ADDITIONAL THERMAL HEATING FOR MOTOR VEHICLE EQUIPPED WITH POLLUTION-FREE ENGINE WITH ADDITIONAL COMPRESSED AIR INJECTION

PT1049855T
PROCEDIMENTO E DISPOSITIVO DE REAQUECIMENTO TERMICO ADICIONAL PARA VEICULO DE MOTOR DESPOLUIDO COM INJECCAO DE AR COMPRIMIDO ADICIONAL

CZ20002195
Method of additional heating of engines charged with auxiliary air and apparatus for making the same

SI1023531T
METHOD FOR CONTROLLING MACHINE PISTON MOVEMENT, IMPLEMENTING DEVICE AND BALANCING OF SAID DEVICE

PT1023531T
PROCESSO DE CONTROLO DO MOVIMENTO DE EMBOLO DE MAQUINA DISPOSITIVO DE REALIZACAO E EQUILIBRAGEM DO DISPOSITIVO

AT218183T
Method for controlling machine piston movement, implementing device and balancing of said device

AU738146B
Method and device for re-accelerating a vehicle equipped with a high-pressure compressor

AU739555B
Apparatus, for a vehicle, incorporating a reduced-pollution engine and a compressor

FR2765620
Operation of expansion chamber in low pollution IC engin

AU734361B
Method for pollution abating engine and installation on a city bus and other vehicles

US5592904
Method and devices for controlling the combustion of a four stroke engine

US4788945
Process and apparatus for controlling a gas evacuation circuit of a rotational distribution motor

CA1306522
ELEMENT A MEMOIRE DE FORME POUR RACCORD DE TRESSE SUR CONNECTEUR

IT1209534
Counterbalanced piston rotary machine

IT1208121
Sealing element for a rotary ball-cock

US4506636
Device for controlling a gas circuit of a combustion chamber and a sealing member for its operation

FR2531139
Control device for a gas circuit of a combustion chamber

MA25283
No English title available

AT250717T
No English title available

AT248289T
No English title available

AT243298T
No English title available

AT254241T
No English title available

AT214460T
No English title available

AT181588T
No English title available

DE3686817T
No English title available

AT80925T
No English title available

AT27850T
No English title available

AT23603T
No English title available

FR1316357
No English title available

FR1307189
No English title available

FR1309431
No English title available

FR1302332
No English title available

FR1474890
No English title available


ImpactLabs.com --- DaVinci Institute ( January 10 2008 )

Introducing the Tata Nano Car from India - Only $2,500 and 54 mpg

http://www.tatapeoplescar.com/tatamotors/index.php?option=com_frontpage&Itemid=1

After months of rumors and tantalizing leaks Indian automaker Tata Motors has finally unveiled the Tata Nano -- its already legendary $2,500 car. As expected, the car that Tata claims will change the face of not only the Indian car market, but the global auto industry will be a four door, five seat hatch, powered by a 30 HP Bosch 624 cc four stroke engine mounted out back and mated to a CVT.

Mr. Ratan N. Tata, Chairman of the Tata Group and Tata Motors, today unveiled the Tata 'NANO', the People's Car from Tata Motors that India and the world have been looking forward to. A development, which signifies a first for the global automobile industry, the People's Car brings the comfort and safety of a car within the reach of thousands of families. The People's Car will be launched in India later in 2008.

Speaking at the unveiling ceremony at the 9th Auto Expo in New Delhi, Mr. Ratan N. Tata said, "I observed families riding on two-wheelers - the father driving the scooter, his young kid standing in front of him, his wife seated behind him holding a little baby. It led me to wonder whether one could conceive of a safe, affordable, all-weather form of transport for such a family. Tata Motors' engineers and designers gave their all for about four years to realise this goal. Today, we indeed have a People's Car, which is affordable and yet built to meet safety requirements and emission norms, to be fuel efficient and low on emissions. We are happy to present the People's Car to India and we hope it brings the joy, pride and utility of owning a car to many families who need personal mobility."

Stylish, comfortable

The People's Car, designed with a family in mind, has a roomy passenger compartment with generous leg space and head room. It can comfortably seat four persons. Four doors with high seating position make ingress and egress easy.

Yet with a length of 3.1 metres, width of 1.5 metres and height of 1.6 metres, with adequate ground clearance, it can effortlessly manoeuvre on busy roads in cities as well as in rural areas. Its mono-volume design, with wheels at the corners and the powertrain at the rear, enables it to uniquely combine both space and manoeuvrability, which will set a new benchmark among small cars.

When launched, the car will be available in both standard and deluxe versions. Both versions will offer a wide range of body colours, and other accessories so that the car can be customised to an individual's preferences.

Fuel-efficient engine

The People's Car has a rear-wheel drive, all-aluminium, two-cylinder, 623 cc, 33 PS, multi point fuel injection petrol engine. This is the first time that a two-cylinder gasoline engine is being used in a car with single balancer shaft. The lean design strategy has helped minimise weight, which helps maximise performance per unit of energy consumed and delivers high fuel efficiency. Performance is controlled by a specially designed electronic engine management system.

Meets all safety requirements

The People's Car's safety performance exceeds current regulatory requirements. With an all sheet-metal body, it has a strong passenger compartment, with safety features such as crumple zones, intrusion-resistant doors, seat belts, strong seats and anchorages, and the rear tailgate glass bonded to the body. Tubeless tyres further enhance safety.

Environment-friendly

The People's Car's tailpipe emission performance exceeds regulatory requirements. In terms of overall pollutants, it has a lower pollution level than two-wheelers being manufactured in India today. The high fuel efficiency also ensures that the car has low carbon dioxide emissions, thereby providing the twin benefits of an affordable transportation solution with a low carbon footprint. (For more information: www.tatapeoplescar.com )

About Tata Motors

Tata Motors is India's largest automobile company, with revenues of US $ 7.2 billion in 2006-2007. With over 4 million Tata vehicles plying in India, it is the leader in commercial vehicles and the second largest in passenger vehicles. It is also the world's fifth largest medium and heavy truck manufacturer and the second largest heavy bus manufacturer. Tata cars, buses and trucks are being marketed in several countries in Europe, Africa, the Middle East, South Asia, South East Asia and South America. Tata Motors and Fiat Auto have formed an industrial joint venture in India to manufacture passenger cars, engines and transmissions for the Indian and overseas markets; Tata Motors also has an agreement with Fiat Auto to build a pick-up vehicle at Córdoba, Argentina. The company already distributes Fiat branded cars in India. Tata Motors' international footprint includes Tata Daewoo Commercial Vehicle Co. Ltd. in South Korea; Hispano Carrocera, a bus and coach manufacturer of Spain in which the company has a 21% stake; a joint venture with Marcopolo, the Brazil-based body-builder of buses and coaches; and a joint venture with Thonburi Automotive Assembly Plant Company of Thailand to manufacture and market pick-up vehicles in Thailand. Tata Motors has research centres in India, the U.K., and in its subsidiary and associate companies in South Korea and Spain.


Reuters.com ( Mon Jan 7, 2008 5:50pm IST )

French compressed air car set for take-off in India

by Pierre Thebault



CARROS, France - A car that runs on air?

What seemed like a pipe dream may soon become reality as Frenchman Guy Negre hopes versions of his compressed air car will be produced in India this year by Tata Motors Ltd after a 15 year quest for backers for his invention.

Negre believes the time is right for his design with oil prices at record highs and pressure on carmakers to improve the fuel efficiency of their vehicles.

"It is clear that with oil at $100 a barrel this will force people to change their use of fuel and pollute less," Negre told Reuters in an interview at his firm Motor Development International (MDI), based near Nice in the south of France.

"My car is zero pollution in town and almost no pollution on the highways," he added, saying the vehicle could travel 100 kilometres at a cost of one euro in fuel.

The former Formula One motor racing engineer's invention depends on pressurised air to move the pistons, which in turn help to compress the air again in a reservoir. The engine also has an electric motor, which needs to be periodically recharged, to top up the air pressure.

The bottles of compressed air -- similar to those used by divers -- can be filled up at service stations in several minutes.

EXTENDED RANGE

The latest versions of the cars -- MDI made an entire series of prototypes of engines and vehicles -- also include a fuel engine option to extend the car's range when not in reach of a special power plug or service station.

Tata, India's largest carmaker with revenue of $7.2 billion in its last financial year, concluded a deal in 2007, investing 20 million euros. Pre-production in India is set for 2008, Negre said.

The vehicle, protected by some 50 patents, will cost some 3,500 to 4,000 euros. Using composite materials, it will weigh not more than 330 kilos and its maximum speed is 150 kilometres per hour.

"The lighter the vehicle, the less it consumes and the less its pollutes and the cheaper it is; it's simple," Negre said.

MDI's models which typically have a rounded shape a bit like a speech balloon in a cartoon include the Minicat urban vehicle, the Citycat for longer distances with an added tank for ethanol, diesel or bio-fuel and a taxi version.

Negre said he aimed to set up mini factories in regions where the car is used. "No transport, no parts suppliers. Everything will be made at the place of sale in production units that can make one car per half hour," said Negre.

"That is more profitable, more ecological than the big factories of the large carmakers."

Negre is not the only inventor working on compressed air engines. Urugay's Armando Regusci, Australia's Angelo di Pietro and South Korea's Chul-Seung Cho have also produced designs.

But Negre has the backing of Tata, whose global ambitions were last week underscored when it was named preferred buyer of the Jaguar and Land Rover brands from Ford Motor Co.