rexresearch

Yoram PALTI
Tumor-Curing Electric Fields


http://www.technologyreview.com/Biotech/19195/

MIT Technology Review (Wednesday, August 08, 2007)

Electric Fields Kill Tumors

A promising device uses electric fields to destroy cancer cells in the brain.

By Katherine Bourzac

An Israeli company is conducting human tests for a device that uses weak electric fields to kill cancer cells but has no effect on normal cells. The device is in late-stage clinical trials in the United States and Europe for glioblastoma, a deadly brain cancer. It is also being tested in Europe for its effectiveness against breast cancer. In the lab and in animal testing, treatment with electric fields has killed cancer cells of every type tested.

The electric-field therapy was developed by Yoram Palti, a physiologist at the Technion-Israel Institute of Technology, in Haifa, who founded the company NovoCure to commercialize the treatment. Palti's electric fields cause dividing cancer cells to explode while having no significant impact on normal tissues. The range of electric fields generated by the device harms only dividing cells. And since normal cells divide at a much slower rate than cancer cells, the electric fields target cancer cells. "An Achilles' heel of cancer cells is that they have to divide," says Herbert Engelhard, chief of neuro-oncology in the department of neurosurgery at the University of Illinois, Chicago.

Even after chemotherapy, radiation therapy, and surgery, about 85 to 90 percent of glioblastoma patients' cancer still progresses, and their survival rates are low, says Engelhard. He has about 10 glioblastoma patients enrolled in the trial, which is testing the unusual treatment in patients for whom all other approaches have failed. Engelhard says that the results are encouraging but that it's too early to comment on the treatment's efficacy.

The electric fields' different effects on normal and dividing cells mostly have to do with geometry. A dividing cell has what Palti calls "an hourglass shape rather than a round shape." The electric field generated by the NovoCure device passes around and through round cells in a uniform fashion. But the narrow neck that pinches in at the center of a dividing cell acts like a lens, concentrating the electric field at this point. This non-uniform electric field wreaks havoc on dividing cells. The electric field tears apart important biological molecules, such as DNA and the structural proteins that pull the chromosomes into place during cell division. Dividing cells simply "disintegrate," says Palti.

Palti, who for years has been studying the effect of electric fields on cancer and normal cells, says that he has verified this mechanism in computer models and experiments in the lab. "The physics are solid," says David Cohen, associate professor of radiology at Harvard Medical School.

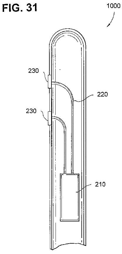
Patients in the glioblastoma clinical trial wear the device almost constantly, carrying necessary components in a briefcase. A wire emerging from the briefcase connects to adhesive electrodes covering the skull. Alternating electric fields pass through the scalp, into the skull, and on to the brain. The Food and Drug Administration approved the device for late-stage clinical trials for glioblastoma following promising results from a pilot study in 10 patients, one of whom had a complete recovery.


A dividing cell in an electric field


Yoram PALTI Patents

Method for Selectively Destroying Dividing Cells
US7136699
2007-02-08

An apparatus is provided for selectively destroying dividing cells in living tissue formed of dividing cells and non-dividing cells. The dividing cells contain polarizable intracellular members and during late anaphase or telophase, the dividing cells are connected to one another by a cleavage furrow. The apparatus includes a generator and insulated electrodes for subjecting the living tissue to electric field conditions sufficient to cause movement of the polarizable intracellular members toward the cleavage furrow in response to a non-homogeneous electric field being induced in the dividing cells. The non-homogeneous electric field produces an increased density electric field in the region of the cleavage furrow. The movement of the polarizable intracellular intracellular members towards the cleavage furrow causes the breakdown thereof which results in the destruction of the dividing cells, while the non-dividing cells of the living tissue remain intact.

Treating Cancer with Electric Fields...
US2006282122
2006-12-14

Electric fields with certain characteristics have been shown to be effective at inhibiting the growth of cancer cells (and other rapidly dividing cells). However, when the cancer is located in a target region beneath the surface of a body, it can be difficult to deliver the beneficial fields to the target region. This difficulty can be surmounted by positioning a biocompatible field guide between the surface of the body and the target region, positioning electrodes on either side of the field guide, and applying an AC voltage with an appropriate frequency and amplitude between the electrodes. This arrangement causes the field guide to route the beneficial field to the target region. In an alternative embodiment, one of the electrodes is positioned directly on top of the field guide.

Apparatus & Method for Preventing the Spread of Cancerous Metastases...
US2006276858
2006-12-07

AC electric fields at certain frequencies and field strengths disrupt dividing cells, but leave undividing cells substantially unharmed. Since cancer cells divide much more often than normal cells, those AC fields have been shown to be effective at inhibiting tumor growth and shrinking tumors. Because certain body parts (e.g., the lungs and the liver) are at high risk for developing metastases in patients with some forms of cancer, treating those body parts with those AC fields can prevent metastases from growing in those body parts. This treatment may be used both after a metastasis has reached a detectable size and prophylactically (to prevent such metastases from ever reaching a detectable size in the first place). It may also be used to prevent cancer in people with a high probability of developing cancer (e.g., based on family history).

Probe for Treating a Tumor or the Like
US6868289
2006-10-26

An article of clothing is provided for selectively destroying dividing cells in living tissue formed of dividing cells and non-dividing cells. The dividing cells contain polarizable intracellular members and during late anaphase or telophase, the dividing cells are connected to one another by a cleavage furrow. The article of clothing includes insulated electrodes to be coupled to a generator for subjecting the living tissue to electric field conditions sufficient to cause movement of the polarizable intracellular members toward the cleavage furrow in response to a non-homogeneous electric field being induced in the dividing cells. The non-homogeneous electric field produces an increased density electric field in the region of the cleavage furrow. The movement of the polarizable intracellular intracellular members towards the cleavage furrow causes the breakdown thereof which adversely impacts the multiplication of the dividing cells.

Treating a tumor or the like with electric fields at different orientations
US2006167499
2006-07-27

Cells that are in the late anaphase or telophase stages of cell division are vulnerable to damage by AC electric fields that have specific frequency and field strength characteristics. The selective destruction of rapidly dividing cells can therefore be accomplished by imposing an AC electric field in a target region for extended periods of time. Some of the cells that divide while the field is applied will be damaged, but the cells that do not divide will not be harmed. This selectively damages rapidly dividing cells like tumor cells, but does not harm normal cells that are not dividing. Since the vulnerability of the dividing cells is strongly related to the alignment between the long axis of the dividing cells and the lines of force of the electric field, improved results are obtained when the field is sequentially imposed in different directions. The field may also be rotated through 360 DEG by applying AC waveforms with different phases to the electrodes.

Electrodes for applying an electric field in-vivo over an extended period of time
US2006149341
2006-07-06

As compared to conventional electrodes, the electrode configurations disclosed herein minimize irritation and damage to the skin when they are placed in contact with a patient's body over extended of time. The electrodes are formed from a conductive substrate coated with a thin dielectric material, and a plurality of open spaces pass through the electrodes. Those open spaces are distributed and sized to permit moisture on the surface of the patient's body to escape when the electrode is placed in contact with the patient's body. One intended use for the electrodes is for treating tumors by applying an AC electric field with specific frequency and field strength characteristics over an extended period of time.

Treating a tumor or the like with electric fields at different orientations
US2005209642
2005-09-22

Cells that are in the late anaphase or telophase stages of cell division are vulnerable to damage by AC electric fields that have specific frequency and field strength characteristics. The selective destruction of rapidly dividing cells can therefore be accomplished by imposing an AC electric field in a target region for extended periods of time. Some of the cells that divide while the field is applied will be damaged, but the cells that do not divide will not be harmed. This selectively damages rapidly dividing cells like tumor cells, but does not harm normal cells that are not dividing. Since the vulnerability of the dividing cells is strongly related to the alignment between the long axis of the dividing cells and the lines of force of the electric field, improved results are obtained when the field is sequentially imposed in different directions.

Treating a tumor or the like with an electric field
US2005209640
2005-09-22

Cells that are in the late anaphase or telophase stages of cell division are vulnerable to damage by AC electric fields that have specific frequency and field strength characteristics. The selective destruction of rapidly dividing cells can therefore be accomplished by imposing an AC electric field in a target region for extended periods of time. Some of the cells that divide while the field is applied will be damaged, but the cells that do not divide will not be harmed. This selectively damages rapidly dividing cells like tumor cells, but does not harm normal cells that are not dividing. Since the vulnerability of the dividing cells is strongly related to the alignment between the long axis of the dividing cells and the lines of force of the electric field, improved results are obtained when the field is sequentially imposed in different directions.

Treating a tumor or the like with an electric field that is focused at a target region
US2005240173
2005-10-27

An apparatus is provided for selectively destroying dividing cells in living tissue formed of dividing cells and non-dividing cells. The dividing cells contain polarizable intracellular members and during late anaphase or telophase, the dividing cells are connected to one another by a cleavage furrow. The apparatus includes insulated electrodes to be coupled to a generator for subjecting the living tissue to electric field conditions sufficient to cause movement of the polarizable intracellular members toward the cleavage furrow in response to a non-homogeneous electric field being induced in the dividing cells. The movement of the polarizable intracellular members towards the cleavage furrow causes the breakdown thereof which adversely impacts the multiplication of the dividing cells, but does not damage non-dividing cells. In some embodiments, the electric field is guided to a desired target region by varying the sizes of the electrodes that are used to apply the electric field. In other embodiments, the electric field is guided to a desired target region (and/or away from other regions) by positioning one or more conductors in appropriate positions within the patient's body.

Apparatus and method for optimizing tumor treatment efficiency by electric fields
US7146210
2004-09-09

The apparatus and method are designed to compute the optimal spatial and temporal characteristics for combating tumor growth within a body on the basis of cytological (as provided by biopsies, etc.) and anatomical data (as provided by CT, MRI, PET, etc.), as well as the electric properties of the different elements. On the basis of this computation, the apparatus applies the fields that have maximal effect on the tumor and minimal effect on all other tissues by adjusting both the field generator output characteristics and by optimal positioning of the insulated electrodes or isolects on the patient's body.

Method and apparatus for destroying dividing cells
US7016725
2003-05-22

The present invention provides a method and apparatus for selectively destroying dividing cells in living tissue formed of dividing cells and non-dividing cells. The dividing cells contain polarizable intracellular members and during late anaphase or telophase, the dividing cells are connected to one another by a cleavage furrow. According to the present method the living tissue is subjected to electric field conditions sufficient to cause movement of the polarizable intracellular members toward the cleavage furrow in response to a non-homogenous electric field being induced in the dividing cells. The non-homogenous electric field produces an increased density electric field in the region of the cleavage furrow. The movement of the polarizable intracellular members towards the cleavage furrow causes the break down thereof which results in destruction of the dividing cells, while the non-dividing cells of the living tissue remain intact.

Method and apparatus for destroying dividing cells
US2003150372
2003-08-14

The present invention provides a method and apparatus for selectively destroying dividing cells in living tissue formed of dividing cells and non-dividing cells. The dividing cells contain polarizable intracellular members and during late anaphase or telophase, the dividing cells are connected to one another by a cleavage furrow. According to the present method the living tissue is subjected to electric field conditions sufficient to cause movement of the polarizable intracellular members toward the cleavage furrow in response to a non-homogenous electric field being induced in the dividing cells. The non-homogenous electric field produces an increased density electric field in the region of the cleavage furrow. The movement of the polarizable intracellular members towards the cleavage furrow causes the break down thereof which results in destruction of the dividing cells, while the non-dividing cells of the living tissue remain intact.



TREATING TUMOR OR THE LIKE WITH ELECTRIC FIELDS AT DIFFERENT FREQUENCIES
 JP2011078804
 WO2005115535

TECHNICAL FIELD

 [0002] This invention concerns selective destruction of rapidly dividing cells in a localized area, and more particularly, selectively destroying dividing cells without destroying nearby non-dividing cells by applying an electric field with specific characteristics to a target area in a living patient.

BACKGROUND

[0003] All living organisms proliferate by cell division, including cell cultures, microorganisms (such as bacteria, mycoplasma, yeast, protozoa, and other single-celled organisms), fungi, algae, plant cells, etc. Dividing cells of organisms can be destroyed, or their proliferation controlled, by methods that are based on the sensitivity of the dividing cells of these organisms to certain agents. For example, certain antibiotics stop the multiplication process of bacteria.

 [0004] The process of eukaryotic cell division is called "mitosis", which involves nice distinct phases (see Darnell et al. , Molecular Cell Biology, New York: Scientific American Books, 1986, p. 149). During interphase, the cell replicates chromosomal DNA, which begins condensing in early prophase. At this point, centrioles (each cell contains 2) begin moving towards opposite poles of the cell. In middle prophase, each chromosome is composed of duplicate chromatids. Microtubular spindles radiate from regions adjacent to the centrioles, which are closer to their poles. By late prophase, the centrioles have reached the poles, and some spindle fibers extend to the center of the cell, while others extend from the poles to the chromatids. The cells then move into metaphase, when the chromosomes move toward the equator of the cell and align in the equatorial plane. Next is early anaphase, during which time daughter chromatids separate from each other at the equator by moving along the spindle fibers toward a centromere at opposite poles. The cell begins to elongate along the axis of the pole; the pole-to-pole spindles also elongate. Late anaphase occurs when the daughter chromosomes (as they are now called) each reach their respective opposite poles. At this point, cytokinesis begins as the cleavage furrow begins to form at the equator of the cell. In other words, late anaphase is the point at which pinching the cell membrane begins. During telophase, cytokinesis is nearly complete and spindles disappear. Only a relatively narrow membrane connection joins the two cytoplasms. Finally, the membranes separate fully, cytokinesis is complete and the cell returns to interphase.

[0005] In meiosis, the cell undergoes a second division, involving separation of sister chromosomes to opposite poles of the cell along spindle fibers, followed by formation of a cleavage furrow and cell division. However, this division is not preceded by chromosome replication, yielding a haploid germ cell. Bacteria also divide by chromosome replication, followed by cell separation. However, since the daughter chromosomes separate by attachment to membrane components; there is no visible apparatus that contributes to cell division as in eukaryotic cells.

 [0006] It is well known that tumors, particularly malignant or cancerous tumors, grow uncontrollably compared to normal tissue. Such expedited growth enables tumors to occupy an ever-increasing space and to damage or destroy tissue adjacent thereto. Furthermore, certain cancers are characterized by an ability to transmit cancerous "seeds", including single cells or small cell clusters (metastases), to new locations where the metastatic cancer cells grow into additional tumors.

 [0007] The rapid growth of tumors, in general, and malignant tumors in particular, as described above, is the result of relatively frequent cell division or multiplication of these cells compared to normal tissue cells. The distinguishably frequent cell division of cancer cells is the basis for the effectiveness of existing cancer treatments, e. g., irradiation therapy and the use of various chemo-therapeutic agents. Such treatments are based on the fact that cells undergoing division are more sensitive to radiation and chemo-therapeutic agents than non-dividing cells. Because tumors cells divide much more frequently than normal cells, it is possible, to a certain extent, to selectively damage or destroy tumor cells by radiation therapy and/or chemotherapy. The actual sensitivity of cells to radiation, therapeutic agents, etc. , is also dependent on specific characteristics of different types of normal or malignant cell types. Thus, unfortunately, the sensitivity of tumor cells is not sufficiently higher than that many types of normal tissues. This diminishes the ability to distinguish between tumor cells and normal cells, and therefore, existing cancer treatments typically cause significant damage to normal tissues, thus limiting the therapeutic effectiveness of such treatments. Furthermore, the inevitable damage to other tissue renders treatments very traumatic to the patients and, often, patients are unable to recover from a seemingly successful treatment. Also, certain types of tumors are not sensitive at all to existing methods of treatment.

 [0008] There are also other methods for destroying cells that do not rely on radiation therapy or chemotherapy alone. For example, ultrasonic and electrical methods for destroying tumor cells can be used in addition to or instead of conventional treatments. Electric fields and currents have been used for medical purposes for many years. The most common is the generation of electric currents in a human or animal body by application of an electric field by means of a pair of conductive electrodes between which a potential difference is maintained. These electric currents are used either to exert their specific effects, i. e., to stimulate excitable tissue, or to generate heat by flowing in the body since it acts as a resistor. Examples of the first type of application include the following: cardiac defibrillators, peripheral nerve and muscle stimulators, brain stimulators, etc. Currents are used for heating, for example, in devices for tumor ablation, ablation of malfunctioning cardiac or brain tissue, cauterization, relaxation of muscle rheumatic pain and other pain, etc.

 [0009] Another use of electric fields for medical purposes involves the utilization of high frequency oscillating fields transmitted from a source that emits an electric wave, such as an RF wave or a microwave source that is directed at the part of the body that is of interest (i. e., target). In these instances, there is no electric energy conduction between the source and the body; but rather, the energy is transmitted to the body by radiation or induction. More specifically, the electric energy generated by the source reaches the vicinity of the body via a conductor and is transmitted from it through air or some other electric insulating material to the human body.

 [0010] In a conventional electrical method, electrical current is delivered to a region of the target tissue using electrodes that are placed in contact with the body of the patient. The applied electrical current destroys substantially all cells in the vicinity of the target tissue. Thus, this type of electrical method does not discriminate between different types of cells within the target tissue and results in the destruction of both tumor cells and normal cells.

 [0011] Electric fields that can be used in medical applications can thus be separated generally into two different modes. In the first mode, the electric fields are applied to the body or tissues by means of conducting electrodes. These electric fields can be separated into two types, namely (1) steady fields or fields that change at relatively slow rates, and alternating fields of low frequencies that induce corresponding electric currents in the body or tissues, and (2) high frequency alternating fields (above 1 MHz) applied to the body by means of the conducting electrodes. In the second mode, the electric fields are high frequency alternating fields applied to the body by means of insulated electrodes.

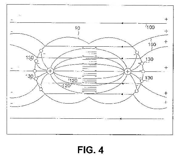
 [0012] The first type of electric field is used, for example, to stimulate nerves and muscles, pace the heart, etc. In fact, such fields are used in nature to propagate signals in nerve and muscle fibers, central nervous system (CNS), heart, etc. The recording of such natural fields is the basis for the ECG, EEG, EMG, ERG, etc. The field strength in these applications, assuming a medium of homogenous electric properties, is simply the voltage applied to the stimulating/recording electrodes divided by the distance between them. These currents can be calculated by Ohm's law and can have dangerous stimulatory effects on the heart and CNS and can result in potentially harmful ion concentration changes. Also, if the currents are strong enough, they can cause excessive heating in the tissues. This heating can be calculated by the power dissipated in the tissue (the product of the voltage and the current).

 [0013] When such electric fields and currents are alternating, their stimulatory power, on nerve, muscle, etc. , is an inverse function of the frequency. At frequencies above 1-10 KHz, the stimulation power of the fields approaches zero. This limitation is due to the fact that excitation induced by electric stimulation is normally mediated by membrane potential changes, the rate of which is limited by the RC properties (time constants on the order of 1 ms) of the membrane. [0014] Regardless of the frequency, when such current inducing fields are applied, they are associated with harmful side effects caused by currents. For example, one negative effect is the changes in ionic concentration in the various "compartments" within the system, and the harmful products of the electrolysis taking place at the electrodes, or the medium in which the tissues are imbedded. The changes in ion concentrations occur whenever the system includes two or more compartments between which the organism maintains ion concentration differences. For example, for most tissues, [Ca@] in the extracellular fluid is about 2#10-3 M, while in the cytoplasm of typical cells its concentration can be as low as 10-7 M. A current induced in such a system by a pair of electrodes, flows in part from the extracellular fluid into the cells and out again into the extracellular medium. About 2% of the current flowing into the cells is carried by the Ca@ ions. In contrast, because the concentration of intracellular Ca@ is much smaller, only a negligible fraction of the currents that exits the cells is carried by these ions. Thus, Ca++ ions accumulate in the cells such that their concentrations in the cells increases, while the concentration in the extracellular compartment may decrease. These effects are observed for both DC and alternating currents (AC). The rate of accumulation of the ions depends on the current intensity ion mobilities, membrane ion conductance, etc. An increase in [Ca++] is harmful to most cells and if sufficiently high will lead to the destruction of the cells. Similar considerations apply to other ions. In view of the above observations, long term current application to living organisms or tissues can result in significant damage. Another major problem that is associated with such electric fields, is due to the electrolysis process that takes place at the electrode surfaces. Here charges are transferred between the metal (electrons) and the electrolytic solution (ions) such that charged active radicals are formed. These can cause significant damage to organic molecules, especially macromolecules and thus damage the living cells and tissues. [0015] In contrast, when high frequency electric fields, above 1 MHz and usually in practice in the range of GHz, are induced in tissues by means of insulated electrodes, the situation is quite different. These type of fields generate only capacitive or displacement currents, rather than the conventional charge conducting currents. Under the effect of this type of field, living tissues behave mostly according to their dielectric properties rather than their electric conductive properties. Therefore, the dominant field effect is that due to dielectric losses and heating. Thus, it is widely accepted that in practice, the meaningful effects of such fields on living organisms, are only those due to their heating effects, i. e., due to dielectric losses.

[0016] In U. S. Pat. No. 6,043,066 ('066) to Mangano, a method and device are presented which enable discrete objects having a conducting inner core, surrounded by a dielectric membrane to be selectively inactivated by electric fields via irreversible breakdown of their dielectric membrane. One potential application for this is in the selection and purging of certain biological cells in a suspension. According to the '066 patent, an electric field is applied for targeting selected cells to cause breakdown of the dielectric membranes of these tumor cells, while purportedly not adversely affecting other desired subpopulations of cells. The cells are selected on the basis of intrinsic or induced differences in a characteristic electroporation threshold. The differences in this threshold can depend upon a number of parameters, including the difference in cell size.

[0017] The method of the '066 patent is therefore based on the assumption that the electroporation threshold of tumor cells is sufficiently distinguishable from that of normal cells because of differences in cell size and differences in the dielectric properties of the cell membranes. Based upon this assumption, the larger size of many types of tumor cells makes these cells more susceptible to electroporation and thus, it may be possible to selectively damage only the larger tumor cell membranes by applying an appropriate electric field. One disadvantage of this method is that the ability to discriminate is highly dependent upon cell type, for example, the size difference between normal cells and tumor cells is significant only in certain types of cells. Another drawback of this method is that the voltages which are applied can damage some of the normal cells and may not damage all of the tumor cells because the differences in size and membrane dielectric properties are largely statistical and the actual cell geometries and dielectric properties can vary significantly.

[0018] What is needed in the art and has heretofore not been available is an apparatus for destroying dividing cells, wherein the apparatus better discriminates between dividing cells, including single-celled organisms, and non-dividing cells and is capable of selectively destroying the dividing cells or organisms with substantially no effect on the non-dividing cells or organisms.

SUMMARY

[0019] While they are dividing, cells are vulnerable to damage by AC electric fields that have specific frequency and field strength characteristics. The selective destruction of rapidly dividing cells can therefore be accomplished by imposing an AC electric field in a target region for extended periods of time. Some of the cells that divide while the field is applied will be damaged, but the cells that do not divide will not be harmed. This selectively damages rapidly dividing cells like tumor cells, but does not harm normal cells that are not dividing. Improved results may be achieved by using a field with two or more frequencies.

[0020] A major use of the present apparatus is in the treatment of tumors by selective destruction of tumor cells with substantially no effect on normal tissue cells, and thus, the exemplary apparatus is described below in the context of selective destruction of tumor cells. It should be appreciated however, that for purpose of the following description, the term "cell" may also refer to a single-celled organism (eubacteria, bacteria, yeast, protozoa), multi- celled organisms (fungi, algae, mold), and plants as or parts thereof that are not normally classified as "cells". The exemplary apparatus enables selective destruction of cells undergoing division in a way that is more effective and more accurate (e. g., more adaptable to be aimed at specific targets) than existing methods. Further, the present apparatus causes minimal damage, if any, to normal tissue and, thus, reduces or eliminates many side-effects associated with existing selective destruction methods, such as radiation therapy and chemotherapy. The selective destruction of dividing cells using the present apparatus does not depend on the sensitivity of the cells to chemical agents or radiation. Instead, the selective destruction of dividing cells is based on distinguishable geometrical characteristics of cells undergoing division, in comparison to non-dividing cells, regardless of the cell geometry of the type of cells being treated.

[0021] According to one exemplary embodiment, cell geometry-dependent selective destruction of living tissue is performed by inducing a non-homogenous electric field in the cells using an electronic apparatus.

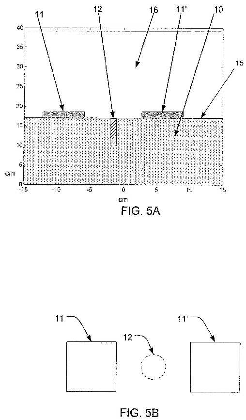
 [0022] It has been observed by the present inventor that, while different cells in their non-dividing state may have different shapes, e. g., spherical, ellipsoidal, cylindrical, "pancake-like", etc. , the division process of practically all cells is characterized by development of a "cleavage furrow" in late anaphase and telophase. This cleavage furrow is a slow constriction of the cell membrane (between the two sets of daughter chromosomes) which appears microscopically as a growing cleft (e. g., a groove or notch) that gradually separates the cell into two new cells. During the division process, there is a transient period (telophase) during which the cell structure is basically that of two sub-cells interconnected by a narrow "bridge" formed of the cell material. The division process is completed when the "bridge" between the two sub-cells is broken. The selective destruction of tumor cells using the present electronic apparatus utilizes this unique geometrical feature of dividing cells.

[0023] When a cell or a group of cells are under natural conditions or environment, i. e., part of a living tissue, they are disposed surrounded by a conductive environment consisting mostly of an electrolytic inter-cellular fluid and other cells that are composed mostly of an electrolytic intra-cellular liquid. When an electric field is induced in the living tissue, by applying an electric potential across the tissue, an electric field is formed in the tissue and the specific distribution and configuration of the electric field lines defines the direction of charge displacement, or paths of electric currents in the tissue, if currents are in fact induced in the tissue. The distribution and configuration of the electric field is dependent on various parameters of the tissue, including the geometry and the electric properties of the different tissue components, and the relative conductivities, capacities and dielectric constants (that may be frequency dependent) of the tissue components.

[0024] The electric current flow pattern for cells undergoing division is very different and unique as compared to non-dividing cells. Such cells including first and second sub-cells, namely an "original" cell and a newly formed cell, that are connected by a cytoplasm "bridge" or "neck". The currents penetrate the first sub-cell through part of the membrane ("the current source pole") ; however, they do not exit the first sub-cell through a portion of its membrane closer to the opposite pole ("the current sink pole"). Instead, the lines of current flow converge at the neck or cytoplasm bridge, whereby the density of the current flow lines is greatly increased. A corresponding, "mirror image", process that takes place in the second sub-cell, whereby the current flow lines diverge to a lower density configuration as they depart from the bridge, and finally exit the second sub-cell from a part of its membrane closes to the current sink.

[0025] When a polarizable object is placed in a non-uniform converging or diverging field, electric forces act on it and pull it towards the higher density electric field lines. In the case of dividing cell, electric forces are exerted in the direction of the cytoplasm bridge between the two cells. Since all intercellular organelles and macromolecules are polarizable, they are all forced towards the bridge between the two cells. The field polarity is irrelevant to the direction of the force and, therefore, an alternating electric having specific properties can be used to produce substantially the same effect. It will also be appreciated that the concentrated and inhomogeneous electric field present in or near the bridge or neck portion in itself exerts strong forces on charges and natural dipoles and can lead to the disruption of structures associated with these members.

[0026] The movement of the cellular organelles towards the bridge disrupts the cell structure and results in increased pressure in the vicinity of the connecting bridge membrane. This pressure of the organelles on the bridge membrane is expected to break the bridge membrane and, thus, it is expected that the dividing cell will "explode" in response to this pressure. The ability to break the membrane and disrupt other cell structures can be enhanced by applying a pulsating alternating electric field that has a frequency from about 50 KHz to about 500 KHz. When this type of electric field is applied to the tissue, the forces exerted on the intercellular organelles have a "hammering" effect, whereby force pulses (or beats) are applied to the organelles numerous times per second, enhancing the movement of organelles of different sizes and masses towards the bridge (or neck) portion from both of the sub-cells, thereby increasing the probability of breaking the cell membrane at the bridge portion. The forces exerted on the intracellular organelles also affect the organelles themselves and may collapse or break the organelles.

[0027] According to one exemplary embodiment, the apparatus for applying the electric field is an electronic apparatus that generates the desired electric signals in the shape of waveforms or trains of pulses. The electronic apparatus includes a generator that generates an alternating voltage waveform at frequencies in the range from about 50 KHz to about 500 KHz. The generator is operatively connected to conductive leads which are connected at their other ends to insulated conductors/electrodes (also referred to as isolects) that are activated by the generated waveforms. The insulated electrodes consist of a conductor in contact with a dielectric (insulating layer) that is in contact with the conductive tissue, thus forming a capacitor. The electric fields that are generated by the present apparatus can be applied in several different modes depending upon the precise treatment application.

[0028] In one exemplary embodiment, the electric fields are applied by external insulated electrodes which are incorporated into an article of clothing and which are constructed so that the applied electric fields are of a local type that target a specific, localized area of tissue (e. g., a tumor). This embodiment is designed to treat tumors and lesions that are at or below the skin surface by wearing the article of clothing over the target tissue so that the electric fields generated by the insulated electrodes are directed at the tumors (lesions, etc.).

[0029] According to another embodiment, the apparatus is used in an internal type application in that the insulated electrodes are in the form of a probe or catheter etc. , that enter the body through natural pathways, such as the urethra or vagina, or are configured to penetrate living tissue; until the insulated electrodes are positioned near the internal target area (e.g., an internal tumor).

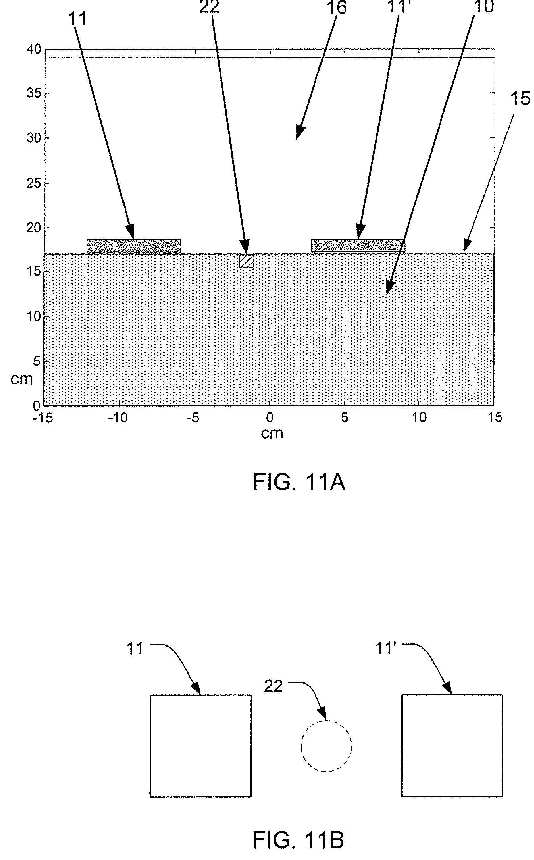
[0030] Thus, the present apparatus utilizes electric fields that fall into a special intermediate category relative to previous high and low frequency applications in that the present electric fields are bio-effective fields that have no meaningful stimulatory effects and no thermal effects. Advantageously, when non-dividing cells are subjected to these electric fields, there is no effect on the cells; however, the situation is much different when dividing cells are subjected to the present electric fields. Thus, the present electronic apparatus and the generated electric fields target dividing cells, such as tumors or the like, and do not target non-dividing cells that is found around in healthy tissue surrounding the target area. Furthermore, since the present apparatus utilizes insulated electrodes, the above mentioned negative effects, obtained when conductive electrodes are used, i. e., ion concentration changes in the cells and the formation of harmful agents by electrolysis, do not occur with the present apparatus. This is because, in general, no actual transfer of charges takes place between the electrodes and the medium, and there is no charge flow in the medium where the currents are capacitive.

[0031] It should be appreciated that the present electronic apparatus can also be used in applications other than treatment of tumors in the living body. In fact, the selective destruction utilizing the present apparatus can be used in conjunction with any organism that proliferates by division, for example, tissue cultures, microorganisms, such as bacteria, mycoplasma, protozoa, fungi, algae, plant cells, etc. Such organisms divide by the formation of a groove or cleft as described above. As the groove or cleft deepens, a narrow bridge is formed between the two parts of the organism, similar to the bridge formed between the sub- cells of dividing animal cells. Since such organisms are covered by a membrane having a relatively low electric conductivity, similar to an animal cell membrane described above, the electric field lines in a dividing organism converge at the bridge connecting the two parts of the dividing organism. The converging field lines result in electric forces that displace polarizable elements and charges within the dividing organism.

[0032] The above, and other objects, features and advantages of the present apparatus will become apparent from the following description read in conjunction with the accompanying drawings, in which like reference numerals designate the same elements.

BRIEF DESCRIPTION OF THE DRAWINGS

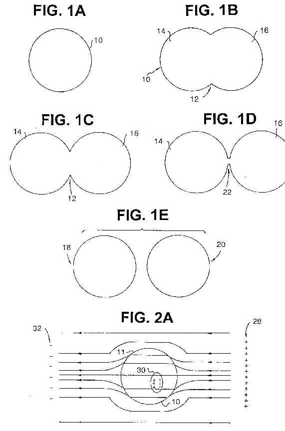
[0033] FIGS. 1A-1E are simplified, schematic, cross-sectional, illustrations of various stages of a cell division process;

[0034] FIGS. 2A and 2B are schematic illustrations of a non-dividing cell being subjected to an electric field;

[0035] FIGS. 3A, 3B and 3C are schematic illustrations of a dividing cell being subjected to an electric field according to one exemplary embodiment, resulting in destruction of the cell (FIG. 3C) in accordance with one exemplary embodiment;

[0036] FIG. 4 is a schematic illustration of a dividing cell at one stage being subject to an electric field;

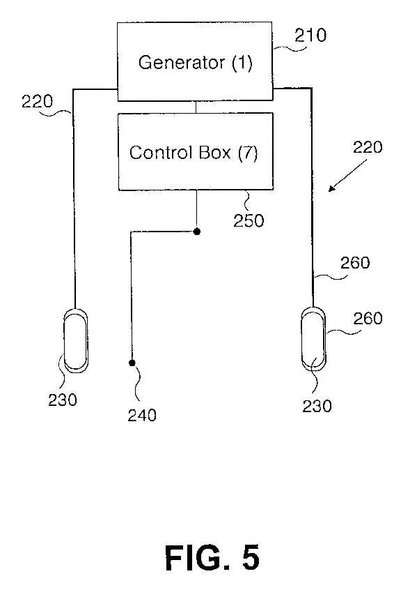
[0037] FIG. 5 is a schematic block diagram of an apparatus for applying an electric according to one exemplary embodiment for selectively destroying cells;

[0038] FIG. 6 is a simplified schematic diagram of an equivalent electric circuit of insulated electrodes of the apparatus of FIG. 5;

[0039] FIG. 7 is a cross-sectional illustration of a skin patch incorporating the apparatus of FIG. 5 and for placement on a skin surface for treating a tumor or the like;

[0040] FIG. 8 is a cross-sectional illustration of the insulated electrodes implanted within the body for treating a tumor or the like;

[0041] FIG. 9 is a cross-sectional illustration of the insulated electrodes implanted within the body for treating a tumor or the like;

[0042] FIGS. 10A-10D are cross-sectional illustrations of various constructions of the insulated electrodes of the apparatus of FIG. 5;

 [0043] FIG. 11 is a front elevational view in partial cross-section of two insulated electrodes being arranged about a human torso for treatment of a tumor container within the body, e. g., a tumor associated with lung cancer;

[0044] FIGS. 12A-12C are cross-sectional illustrations of various insulated electrodes with and without protective members formed as a part of the construction thereof;

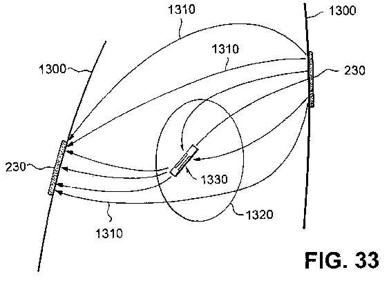
[0045] FIG. 13 is a schematic diagram of insulated electrodes that are arranged for focusing the electric field at a desired target while leaving other areas in low field density (i. e., protected areas);

[0046] FIG. 14 is a cross-sectional view of insulated electrodes incorporated into a hat according to a first embodiment for placement on a head for treating an intra-cranial tumor or the like;

 [0047] FIG. 15 is a partial section of a hat according to an exemplary embodiment having a recessed section for receiving one or more insulated electrodes;

[0048] FIG. 16 is a cross-sectional view of the hat of FIG. 15 placed on a head and illustrating a biasing mechanism for applying a force to the insulated electrode to ensure the insulated electrode remains in contact against the head;

[0049] FIG. 17 is a cross-sectional top view of an article of clothing having the insulated electrodes incorporated therein for treating a tumor or the like;

[0050] FIG. 18 is a cross-sectional view of a section of the article of clothing of FIG. 17 illustrating a biasing mechanism for biasing the insulated electrode in direction to ensure the insulated electrode is placed proximate to a skin surface where treatment is desired;

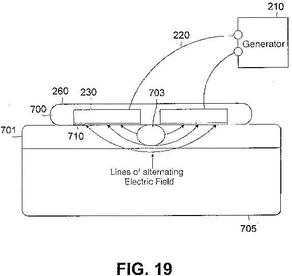
[0051] FIG. 19 is a cross-sectional view of a probe according to one embodiment for being disposed internally within the body for treating a tumor or the like;

[0052] FIG. 20 is an elevational view of an unwrapped collar according to one exemplary embodiment for placement around a neck for treating a tumor or the like in this area when the collar is wrapped around the neck;

[0053] FIG. 21 is a cross-sectional view of two insulated electrodes with conductive gel members being arranged about a body, with the electric field lines being shown;

[0054] FIG. 22 is a cross-sectional view of the arrangement of FIG. 21 illustrating a point of insulation breakdown in one insulated electrode;

[0055] FIG. 23 is a cross-sectional view of an arrangement of at least two insulated electrodes with conductive gel members being arranged about a body for treatment of a tumor or the like, wherein each conductive gel member has a feature for minimizing the effects of an insulation breakdown in the insulated electrode;

[0056] FIG. 24 is a cross-sectional view of another arrangement of at least two insulated electrodes with conductive gel members being arranged about a body for treatment of a tumor or the like, wherein a conductive member is disposed within the body near the tumor to create a region of increased field density;

[0057] FIG. 25 is a cross-sectional view of an arrangement of two insulated electrodes of varying sizes disposed relative to a body; and

[0058] FIG. 26 is a cross-sectional view of an arrangement of at least two insulated electrodes with conductive gel members being arranged about a body for treatment of a tumor or the like, wherein each conductive gel member has a feature for minimizing the effects of an insulation breakdown in the insulated electrode.

[0059] FIGS. 27A-C show a configuration of electrodes that facilitates the application of an electric field in different directions.

[0060] FIG. 28 shows a three-dimensional arrangement of electrodes about a body part that facilitates the application of an electric field in different directions.

[0061] FIGS. 29A and 29B are graphs of the efficiency of the cell destruction process as a function of field strength for melanoma and glioma cells, respectively.

[0062] FIGS. 30A and 30B are graphs that show how the cell destruction efficiency is a function of the frequency of the applied field for melanoma and glioma cells, respectively.

[0063] FIG. 31A is a graphical representation of the sequential application of a plurality of frequencies in a plurality of directions.

[0064] FIG. 31B is a graphical representation of the sequential application of a sweeping frequency in a plurality of directions.

DETAILED DESCRIPTION OF PREFERRED EMBODIMENTS

[0065] Reference is made to FIGS. 1A-1E which schematically illustrate various stages of a cell division process. FIG. 1A illustrates a cell 10 at its normal geometry, which can be generally spherical (as illustrated in the drawings), ellipsoidal, cylindrical, "pancake- like" or any other cell geometry, as is known in the art. FIGS. 1B-1D illustrate cell 10 during different stages of its division process, which results in the formation of two new cells 18 and 20, shown in FIG. 1E. [0066] As shown in FIGS. 1B-1D, the division process of cell 10 is characterized by a slowly growing cleft 12 which gradually separates cell 10 into two units, namely sub-cells 14 and 16, which eventually evolve into new cells 18 and 20 (FIG. 1E). A shown specifically in FIG. 1D, the division process is characterized by a transient period during which the structure of cell 10 is basically that of the two sub-cells 14 and 16 interconnected by a narrow "bridge" 22 containing cell material (cytoplasm surrounded by cell membrane). [0067] Reference is now made to FIGS. 2A and 2B, which schematically illustrate non-dividing cell 10 being subjected to an electric field produced by applying an alternating electric potential, at a relatively low frequency and at a relatively high frequency, respectively. Cell 10 includes intracellular organelles, e. g., a nucleus 30. Alternating electric potential is applied across electrodes 28 and 32 that can be attached externally to a patient at a predetermined region, e. g., in the vicinity of the tumor being treated. When cell 10 is under natural conditions, i. e., part of a living tissue, it is disposed in a conductive environment (hereinafter referred to as a "volume conductor") consisting mostly of electrolytic inter- cellular liquid. When an electric potential is applied across electrodes 28 and 32, some of the field lines of the resultant electric field (or the current induced in the tissue in response to the electric field) penetrate the cell 10, while the rest of the field lines (or induced current) flow in the surrounding medium. The specific distribution of the electric field lines, which is substantially consistent with the direction of current flow in this instance, depends on the geometry and the electric properties of the system components, e. g., the relative conductivities and dielectric constants of the system components, that can be frequency dependent. For low frequencies, e. g., frequencies lower than 10 KHz, the conductance properties of the components completely dominate the current flow and the field distribution, and the field distribution is generally as depicted in FIG. 2A. At higher frequencies, e. g., at frequencies of between 10 KHz and 1 MHz, the dielectric properties of the components becomes more significant and eventually dominate the field distribution, resulting in field distribution lines as depicted generally in FIG. 2B.

 [0068] For constant (i. e., DC) electric fields or relatively low frequency alternating electric fields, for example, frequencies under 10 KHz, the dielectric properties of the various components are not significant in determining and computing the field distribution. Therefore, as a first approximation, with regard to the electric field distribution, the system can be reasonably represented by the relative impedances of its various components. Using this approximation, the intercellular (i. e., extracellular) fluid and the intracellular fluid each has a relatively low impedance, while the cell membrane 11 has a relatively high impedance. Thus, under low frequency conditions, only a fraction of the electric field lines (or currents induced by the electric field) penetrate membrane 11 of the cell 10. At relatively high frequencies (e. g., 10 KHz-1 MHz), in contrast, the impedance of membrane 11 relative to the intercellular and intracellular fluids decreases, and thus, the fraction of currents penetrating the cells increases significantly. It should be noted that at very high frequencies, i. e., above 1 MHz, the membrane capacitance can short the membrane resistance and, therefore, the total membrane resistance can become negligible.

 [0069] In any of the embodiments described above, the electric field lines (or induced currents) penetrate cell 10 from a portion of the membrane 11 closest to one of the electrodes generating the current, e. g., closest to positive electrode 28 (also referred to herein as "source"). The current flow pattern across cell 10 is generally uniform because, under the above approximation, the field induced inside the cell is substantially homogeneous. The currents exit cell 10 through a portion of membrane 11 closest to the opposite electrode, e.g., negative electrode 32 (also referred to herein as "sink").

[0070] The distinction between field lines and current flow can depend on a number of factors, for example, on the frequency of the applied electric potential and on whether electrodes 28 and 32 are electrically insulated. For insulated electrodes applying a DC or low frequency alternating voltage, there is practically no current flow along the lines of the electric field. At higher frequencies, the displacement currents are induced in the tissue due to charging and discharging of the electrode insulation and the cell membranes (which act as capacitors to a certain extent), and such currents follow the lines of the electric field. Fields generated by non-insulated electrodes, in contrast, always generate some form of current flow, specifically, DC or low frequency alternating fields generate conductive current flow along the field lines, and high frequency alternating fields generate both conduction and displacement currents along the field lines. It should be appreciated, however, that movement of polarizable intracellular organelles according to the present invention (as described below) is not dependent on actual flow of current and, therefore, both insulated and non-insulated electrodes can be used efficiently. Advantages of insulated electrodes include lower power consumption, less heating of the treated regions, and improved patient safety.

[0071] According to one exemplary embodiment of the present invention, the electric fields that are used are alternating fields having frequencies that are in the range from about 50 KHz to about 500 KHz, and preferably from about 100 KHz to about 300 KHz. For ease of discussion, these type of electric fields are also referred to below as "TC fields", which is an abbreviation of "Tumor Curing electric fields", since these electric fields fall into an intermediate category (between high and low frequency ranges) that have bio-effective field properties while having no meaningful stimulatory and thermal effects. These frequencies are sufficiently low so that the system behavior is determined by the system's Ohmic (conductive) properties but sufficiently high enough not to have any stimulation effect on excitable tissues. Such a system consists of two types of elements, namely, the intercellular, or extracellular fluid, or medium and the individual cells. The intercellular fluid is mostly an electrolyte with a specific resistance of about 40-100 Ohm*cm. As mentioned above, the cells are characterized by three elements, namely (1) a thin, highly electric resistive membrane that coats the cell; (2) internal cytoplasm that is mostly an electrolyte that contains numerous macromolecules and micro-organelles, including the nucleus; and (3) membranes, similar in their electric properties to the cell membrane, cover the micro-organelles.

[0072] When this type of system is subjected to the present TC fields (e. g., alternating electric fields in the frequency range of 100 KHz-300 KHz) most of the lines of the electric field and currents tend away from the cells because of the high resistive cell membrane and therefore the lines remain in the extracellular conductive medium. In the above recited frequency range, the actual fraction of electric field or currents that penetrates the cells is a strong function of the frequency.

[0073] FIG. 2 schematically depicts the resulting field distribution in the system. As illustrated, the lines of force, which also depict the lines of potential current flow across the cell volume mostly in parallel with the undistorted lines of force (the main direction of the electric field). In other words, the field inside the cells is mostly homogeneous. In practice, the fraction of the field or current that penetrates the cells is determined by the cell membrane impedance value relative to that of the extracellular fluid. Since the equivalent electric circuit of the cell membrane is that of a resistor and capacitor in parallel, the impedance is a function of the frequency. The higher the frequency, the lower the impedance, the larger the fraction of penetrating current and the smaller the field distortion (Rotshenker S. & Y. Palti, Changes infraction of current penetrating an axon as a function of duration of stimulating pulse, J. Theor. Biol. 41; 401-407 (1973).

[0074] As previously mentioned, when cells are subjected to relatively weak electric fields and currents that alternate at high frequencies, such as the present TC fields having a frequency in the range of 50 KHz-500 KHz, they have no effect on the non-dividing cells. While the present TC fields have no detectable effect on such systems, the situation becomes different in the presence of dividing cells.

[0075] Reference is now made to FIGS. 3A-3C which schematically illustrate the electric current flow pattern in cell 10 during its division process, under the influence of alternating fields (TC fields) in the frequency range from about 100 KHz to about 300 KHz in accordance with one exemplary embodiment. The field lines or induced currents penetrate cell 10 through a part of the membrane of sub-cell 16 closer to electrode 28. However, they do not exit through the cytoplasm bridge 22 that connects sub-cell 16 with the newly formed yet still attached sub-cell 14, or through a part of the membrane in the vicinity of the bridge 22. Instead, the electric field or current flow lines--that are relatively widely separated in sub- cell 16--converge as they approach bridge 22 (also referred to as "neck" 22) and, thus, the current/field line density within neck 22 is increased dramatically. A "mirror image" process takes place in sub-cell 14, whereby the converging field lines in bridge 22 diverge as they approach the exit region of sub-cell 14.

[0076] It should be appreciated by persons skilled in the art that homogeneous electric fields do not exert a force on electrically neutral objects, i. e., objects having substantially zero net charge, although such objects can become polarized. However, under a non-uniform, converging electric field, as shown in FIGS. 3A-3C, electric forces are exerted on polarized objects, moving them in the direction of the higher density electric field lines. It will be appreciated that the concentrated electric field that is present in the neck or bridge area in itself exerts strong forces on charges and natural dipoles and can disrupt structures that are associated therewith. One will understand that similar net forces act on charges in an alternating field, again in the direction of the field of higher intensity.

[0077] In the configuration of FIGS. 3A and 3B, the direction of movement of polarized and charged objects is towards the higher density electric field lines, i. e., towards the cytoplasm bridge 22 between sub-cells 14 and 16. It is known in the art that all intracellular organelles, for example, nuclei 24 and 26 of sub-cells 14 and 16, respectively, are polarizable and, thus, such intracellular organelles are electrically forced in the direction of the bridge 22. Since the movement is always from lower density currents to the higher density currents, regardless of the field polarity, the forces applied by the alternating electric field to organelles, such as nuclei 24 and 26, are always in the direction of bridge 22. A comprehensive description of such forces and the resulting movement of macromolecules of intracellular organelles, a phenomenon referred to as "dielectrophoresis" is described extensively in literature, e. g., in C. L. Asbury & G. van den Engh, Biophys. J. 74, 1024-1030, 1998, the disclosure of which is hereby incorporated by reference in its entirety.

[0078] The movement of the organelles 24 and 26 towards the bridge 22 disrupts the structure of the dividing cell, change the concentration of the various cell constituents and, eventually, the pressure of the converging organelles on bridge membrane 22 results in the breakage of cell membrane 11 at the vicinity of the bridge 22, as shown schematically in FIG. 3C. The ability to break membrane 11 at bridge 22 and to otherwise disrupt the cell structure and organization can be enhanced by applying a pulsating AC electric field, rather than a steady AC field. When a pulsating field is applied, the forces acting on organelles 24 and 26 have a "hammering" effect, whereby pulsed forces beat on the intracellular organelles towards the neck 22 from both sub-cells 14 and 16, thereby increasing the probability of breaking cell membrane 11 in the vicinity of neck 22.

[0079] A very important element, which is very susceptible to the special fields that develop within the dividing cells is the microtubule spindle that plays a major role in the division process. In FIG. 4, a dividing cell 10 is illustrated, at an earlier stage as compared to FIGS. 3A and 3B, under the influence of external TC fields (e. g., alternating fields in the frequency range of about 100 KHz to about 300 KHz), generally indicated as lines 100, with a corresponding spindle mechanism generally indicated at 120. The lines 120 are microtubules that are known to have a very strong dipole moment. This strong polarization makes the tubules, as well as other polar macromolecules and especially those that have a specific orientation within the cells or its surrounding, susceptible to electric fields. Their positive charges are located at the two centrioles while two sets of negative poles are at the center of the dividing cell and the other pair is at the points of attachment of the microtubules to the cell membrane, generally indicated at 130. This structure forms sets of double dipoles and therefore they are susceptible to fields of different directions. It will be understood that the effect of the TC fields on the dipoles does not depend on the formation of the bridge (neck) and thus, the dipoles are influenced by the TC fields prior to the formation of the bridge (neck).

[0080] Since the present apparatus (as will be described in greater detail below) utilizes insulated electrodes, the above-mentioned negative effects obtained when conductive electrodes are used, i. e., ion concentration changes in the cells and the formation of harmful agents by electrolysis, do not occur when the present apparatus is used. This is because, in general, no actual transfer of charges takes place between the electrodes and the medium and there is no charge flow in the medium where the currents are capacitive, i. e., are expressed only as rotation of charges, etc.

[0081] Turning now to FIG. 5, the TC fields described above that have been found to advantageously destroy tumor cells are generated by an electronic apparatus 200. FIG. 5 is a simple schematic diagram of the electronic apparatus 200 illustrating the major components thereof. The electronic apparatus 200 generates the desired electric signals (TC signals) in the shape of waveforms or trains of pulses. The apparatus 200 includes a generator 210 and a pair of conductive leads 220 that are attached at one end thereof to the generator 210. The opposite ends of the leads 220 are connected to insulated conductors 230 that are activated by the electric signals (e. g., waveforms). The insulated conductors 230 are also referred to hereinafter as isolects 230. Optionally and according to another exemplary embodiment, the apparatus 200 includes a temperature sensor 240 and a control box 250 which are both added to control the amplitude of the electric field generated so as not to generate excessive heating in the area that is treated.

[0082] The generator 210 generates an alternating voltage waveform at frequencies in the range from about 50 KHz to about 500 KHz (preferably from about 100 KHz to about 300 KHz) (i. e., the TC fields). The required voltages are such that the electric field intensity in the tissue to be treated is in the range of about 0.1 V/cm to about 10 V/cm. To achieve this field, the actual potential difference between the two conductors in the isolects 230 is determined by the relative impedances of the system components, as described below.

[0083] When the control box 250 is included, it controls the output of the generator 210 so that it will remain constant at the value preset by the user or the control box 250 sets the output at the maximal value that does not cause excessive heating, or the control box 250 issues a warning or the like when the temperature (sensed by temperature sensor 240) exceeds a preset limit.

 [0084] The leads 220 are standard isolated conductors with a flexible metal shield, preferably grounded so that it prevents the spread of the electric field generated by the leads 220. The isolects 230 have specific shapes and positioning so as to generate an electric field of the desired configuration, direction and intensity at the target volume and only there so as to focus the treatment.

[0085] The specifications of the apparatus 200 as a whole and its individual components are largely influenced by the fact that at the frequency of the present TC fields (50 KHz-500 KHz), living systems behave according to their "Ohmic", rather than their dielectric properties. The only elements in the apparatus 200 that behave differently are the insulators of the isolects 230 (see FIGS. 7-9). The isolects 200 consist of a conductor in contact with a dielectric that is in contact with the conductive tissue thus forming a capacitor.

 [0086] The details of the construction of the isolects 230 is based on their electric behavior that can be understood from their simplified electric circuit when in contact with tissue as generally illustrated in FIG. 6. In the illustrated arrangement, the potential drop or the electric field distribution between the different components is determined by their relative electric impedance, i. e., the fraction of the field on each component is given by the value of its impedance divided by the total circuit impedance. For example, the potential drop on element A VA=A/(A+B+C+D+E). Thus, for DC or low frequency AC, practically all the potential drop is on the capacitor (that acts as an insulator). For relatively very high frequencies, the capacitor practically is a short and therefore, practically all the field is distributed in the tissues. At the frequencies of the present TC fields (e. g., 50 KHz to 500 KHz), which are intermediate frequencies, the impedance of the capacitance of the capacitors is dominant and determines the field distribution. Therefore, in order to increase the effective voltage drop across the tissues (field intensity), the impedance of the capacitors is to be decreased (i. e., increase their capacitance). This can be achieved by increasing the effective area of the "plates" of the capacitor, decrease the thickness of the dielectric or use a dielectric with high dielectric constant.

[0087] In order to optimize the field distribution, the isolects 230 are configured differently depending upon the application in which the isolects 230 are to be used. There are two principle modes for applying the present electric fields (TC fields). First, the TC fields can be applied by external isolects and second, the TC fields can be applied by internal isolects.

 [0088] Electric fields (TC fields) that are applied by external isolects can be of a local type or widely distributed type. The first type includes, for example, the treatment of skin tumors and treatment of lesions close to the skin surface. FIG. 7 illustrates an exemplary embodiment where the isolects 230 are incorporated in a skin patch 300. The skin patch 300 can be a self-adhesive flexible patch with one or more pairs of isolects 230. The patch 300 includes internal insulation 310 (formed of a dielectric material) and the external insulation 260 and is applied to skin surface 301 that contains a tumor 303 either on the skin surface 301 or slightly below the skin surface 301. Tissue is generally indicated at 305. To prevent the potential drop across the internal insulation 310 to dominate the system, the internal insulation 310 must have a relatively high capacity. This can be achieved by a large surface area; however, this may not be desired as it will result in the spread of the field over a large area (e. g., an area larger than required to treat the tumor). Alternatively, the internal insulation 310 can be made very thin and/or the internal insulation 310 can be of a high dielectric constant. As the skin resistance between the electrodes (labeled as A and E in FIG. 6) is normally significantly higher than that of the tissue (labeled as C in FIG. 6) underneath it (1-10 K# vs. 0.1-1 K#), most of the potential drop beyond the isolects occurs there. To accommodate for these impedances (Z), the characteristics of the internal insulation 310 (labeled as B and D in FIG. 6) should be such that they have impedance preferably under 100 K# at the frequencies of the present TC fields (e. g., 50 KHz to 500 KHz). For example, if it is desired for the impedance to be about 10 K Ohms or less, such that over 1% of the applied voltage falls on the tissues, for isolects with a surface area of 10 mm, at frequencies of 200 KHz, the capacity should be on the order of 10-10 F. , which means that using standard insulations with a dielectric constant of 2-3, the thickness of the insulating layer 310 should be about 50-100 microns. An internal field 10 times stronger would be obtained with insulators with a dielectric constant of about 20-50.

[0089] Using an insulating material with a high dielectric constant increases the capacitance of the electrodes, which results in a reduction of the electrodes' impedance to the AC signal that is applied by the generator 1 (shown in FIG. 5). Because the electrodes A, E are wired in series with the target tissue C, as shown in FIG. 6, this reduction in impedance reduces the voltage drop in the electrodes, so that a larger portion of the applied AC voltage appears across the tissue C. Since a larger portion of the voltage appears across the tissue, the voltage that is being applied by the generator 1 can be advantageously lowered for a given field strength in the tissue.

[0090] The desired field strength in the tissue being treated is preferably between about 0.1 V/cm and about 10 V/cm, and more preferably between about 2 V/cm and 3 V/cm or between about 1 V/cm and about 5 V/cm. If the dielectric constant used in the electrode is sufficiently high, the impedance of the electrodes A, E drops down to the same order of magnitude as the series combination of the skin and tissue B, C, D. One example of a suitable material with an extremely high dielectric constant is CaCu3Ti4O12, which has a dielectric constant of about 11,000 (measured at 100 kHz). When the dielectric constant is this high, useful fields can be obtained using a generator voltage that is on the order of a few tens of Volts.

[0091] Since the thin insulating layer can be very vulnerable, etc. , the insulation can be replaced by very high dielectric constant insulating materials, such as titanium dioxide (e. g., rutile), the dielectric constant can reach values of about 200. There a number of different materials that are suitable for use in the intended application and have high dielectric constants. For example, some materials include: lithium niobate (LiNb03), which is a ferroelectric crystal and has a number of applications in optical, pyroelectric and piezoelectric devices; yttrium iron garnet (YIG) is a ferromagnetic crystal and magneto- optical devices, e. g., optical isolator can be realized from this material; barium titanate (BaTi03) is a ferromagnetic crystal with a large electro-optic effect; potassium tantalate (KTa03) which is a dielectric crystal (ferroelectric at low temperature) and has very low microwave loss and tunability of dielectric constant at low temperature; and lithium tantalate (LiTa03) which is a ferroelectric crystal with similar properties as lithium niobate and has utility in electro-optical, pyroelectric and piezoelectric devices. Insulator ceramics with high dielectric constants may also be used, such as a ceramic made of a combination of Lead Magnesium Niobate and Lead Titanate. It will be understood that the aforementioned exemplary materials can be used in combination with the present device where it is desired to use a material having a high dielectric constant.

[0092] One must also consider another factor that affects the effective capacity of the isolects 230, namely the presence of air between the isolects 230 and the skin. Such presence, which is not easy to prevent, introduces a layer of an insulator with a dielectric constant of 1.0, a factor that significantly lowers the effective capacity of the isolects 230 and neutralizes the advantages of the titanium dioxide (rutile), etc. To overcome this problem, the isolects 230 can be shaped so as to conform with the body structure and/or (2) an intervening filler 270 (as illustrated in FIG. 10C), such as a gel, that has high conductance and a high effective dielectric constant, can be added to the structure. The shaping can be pre-structured (see FIG. 10A) or the system can be made sufficiently flexible so that shaping of the isolects 230 is readily achievable. The gel can be contained in place by having an elevated rim as depicted in FIGS. 10C and 10C'. The gel can be made of hydrogels, gelatins, agar, etc. , and can have salts dissolved in it to increase its conductivity. FIGS. 10A-10C' illustrate various exemplary configurations for the isolects 230. The exact thickness of the gel is not important so long as it is of sufficient thickness that the gel layer does not dry out during the treatment. In one exemplary embodiment, the thickness of the gel is about 0.5 mm to about 2 mm. Preferably, the gel has high conductivity, is tacky, and is biocompatible for extended periods of time. One suitable gel is AG603 Hydrogel, which is available from AmGel Technologies, 1667 S. Mission Road, Fallbrook, CA 92028-4115, USA.

 [0093] In order to achieve the desirable features of the isolects 230, the dielectric coating of each should be very thin, for example from between 1-50 microns. Since the coating is so thin, the isolects 230 can easily be damaged mechanically or undergo dielectric breakdown. This problem can be overcome by adding a protective feature to the isolect's structure so as to provide desired protection from such damage. For example, the isolect 230 can be coated, for example, with a relatively loose net 340 that prevents access to the surface but has only a minor effect on the effective surface area of the isolect 230 (i. e., the capacity of the isolects 230 (cross section presented in FIG. 12B). The loose net 340 does not effect the capacity and ensures good contact with the skin, etc. The loose net 340 can be formed of a number of different materials; however, in one exemplary embodiment, the net 340 is formed of nylon, polyester, cotton, etc. Alternatively, a very thin conductive coating 350 can be applied to the dielectric portion (insulating layer) of the isolect 230. One exemplary conductive coating is formed of a metal and more particularly of gold. The thickness of the coating 350 depends upon the particular application and also on the type of material used to form the coating 350; however, when gold is used, the coating has a thickness from about 0.1 micron to about 0.1 mm. Furthermore, the rim illustrated in FIG. 10 can also provide some mechanical protection.

[0094] However, the capacity is not the only factor to be considered. The following two factors also influence how the isolects 230 are constructed. The dielectric strength of the internal insulating layer 310 and the dielectric losses that occur when it is subjected to the TC field, i. e., the amount of heat generated. The dielectric strength of the internal insulation 310 determines at what field intensity the insulation will be "shorted" and cease to act as an intact insulation. Typically, insulators, such as plastics, have dielectric strength values of about 100V per micron or more. As a high dielectric constant reduces the field within the internal insulator 310, a combination of a high dielectric constant and a high dielectric strength gives a significant advantage. This can be achieved by using a single material that has the desired properties or it can be achieved by a double layer with the correct parameters and thickness. In addition, to further decreasing the possibility that the insulating layer 310 will fail, all sharp edges of the insulating layer 310 should be eliminated as by rounding the comers, etc., as illustrated in FIG. 10D using conventional techniques.

[0095] FIGS. 8 and 9 illustrate a second type of treatment using the isolects 230, namely electric field generation by internal isolects 230. A body to which the isolects 230 are implanted is generally indicated at 311 and includes a skin surface 313 and a tumor 315. In this embodiment, the isolects 230 can have the shape of plates, wires or other shapes that can be inserted subcutaneously or a deeper location within the body 311 so as to generate an appropriate field at the target area (tumor 315).

[0096] It will also be appreciated that the mode of isolects application is not restricted to the above descriptions. In the case of tumors in internal organs, for example, liver, lung, etc. , the distance between each member of the pair of isolects 230 can be large. The pairs can even by positioned opposite sides of a torso 410, as illustrated in FIG. 11. The arrangement of the isolects 230 in FIG. 11 is particularly useful for treating a tumor 415 associated with lung cancer or gastro-intestinal tumors. In this embodiment, the electric fields (TC fields) spread in a wide fraction of the body.

[0097] In order to avoid overheating of the treated tissues, a selection of materials and field parameters is needed. The isolects insulating material should have minimal dielectric losses at the frequency ranges to be used during the treatment process. This factor can be taken into consideration when choosing the particular frequencies for the treatment. The direct heating of the tissues will most likely be dominated by the heating due to current flow (given by the I*R product). In addition, the isolect (insulated electrode) 230 and its surroundings should be made of materials that facilitate heat losses and its general structure should also facilitate head losses, i. e., minimal structures that block heat dissipation to the surroundings (air) as well as high heat conductivity. Using larger electrodes also minimizes the local sensation of heating, since it spreads the energy that is being transferred into the patient over a larger surface area. Preferably, the heating is minimized to the point where the patient's skin temperature never exceeds about 39 C.

[0098] Another way to reduce heating is to apply the field to the tissue being treated intermittently, by applying a field with a duty cycle between about 20% and about 50% instead of using a continuous field. For example, to achieve a duty cycle of 33%, the field would be repetitively switched on for one second, then switched off for two seconds. Preliminary experiments have shown that the efficacy of treatment using a field with a 33% duty cycle is roughly the same as for a field with a duty cycle of 100%. In alternative embodiments, the field could be switched on for one hour then switched off for one hour to achieve a duty cycle of 50%. Of course, switching at a rate of once per hour would not help minimize short-term heating. On the other hand, it could provide the patient with a welcome break from treatment.

[0099] The effectiveness of the treatment can be enhanced by an arrangement of isolects 230 that focuses the field at the desired target while leaving other sensitive areas in low field density (i. e., protected areas). The proper placement of the isolects 230 over the body can be maintained using any number of different techniques, including using a suitable piece of clothing that keeps the isolects at the appropriate positions. FIG. 13 illustrates such an arrangement in which an area labeled as "P" represents a protected area. The lines of field force do not penetrate this protected area and the field there is much smaller than near the isolects 230 where target areas can be located and treated well. In contrast, the field intensity near the four poles is very high.

[00100] The following Example serves to illustrate an exemplary application of the present apparatus and application of TC fields; however, this Example is not limiting and does not limit the scope of the present invention in any way.

EXAMPLE

[00101] To demonstrate the effectiveness of electric fields having the above described properties (e. g., frequencies between 50 KHz and 500 KHz) in destroying tumor cells, the electric fields were applied to treat mice with malignant melanoma tumors. Two pairs of isolects 230 were positioned over a corresponding pair of malignant melanomas. Only one pair was connected to the generator 210 and 200 KHz alternating electric fields (TC fields) were applied to the tumor for a period of 6 days. One melanoma tumor was not treated so as to permit a comparison between the treated tumor and the non-treated tumor. After treatment for 6 days, the pigmented melanoma tumor remained clearly visible in the non-treated side of the mouse, while, in contrast, no tumor is seen on the treated side of the mouse. The only areas that were visible discemable on the skin were the marks that represented the points of insertion of the isolects 230. The fact that the tumor was eliminated at the treated side was further demonstrated by cutting and inversing the skin so that its inside face was exposed. Such a procedure indicated that the tumor has been substantially, if not completely, eliminated on the treated side of the mouse. The success of the treatment was also further verified by histopathological examination.

[00102] The present inventor has thus uncovered that electric fields having particular properties can be used to destroy dividing cells or tumors when the electric fields are applied to using an electronic device. More specifically, these electric fields fall into a special intermediate category, namely bio-effective fields that have no meaningful stimulatory and no thermal effects, and therefore overcome the disadvantages that were associated with the application of conventional electric fields to a body. It will also be appreciated that the present apparatus can further include a device for rotating the TC field relative to the living tissue. For example and according to one embodiment, the alternating electric potential applies to the tissue being treated is rotated relative to the tissue using conventional devices, such as a mechanical device that upon activation, rotates various components of the present system.

[00103] Moreover and according to yet another embodiment, the TC fields are applied to different pairs of the insulated electrodes 230 in a consecutive manner. In other words, the generator 210 and the control system thereof can be arranged so that signals are sent at periodic intervals to select pairs of insulated electrodes 230, thereby causing the generation of the TC fields of different directions by these insulated electrodes 230. Because the signals are sent at select times from the generator to the insulated electrodes 230, the TC fields of changing directions are generated consecutively by different insulated electrodes 230. This arrangement has a number of advantages and is provided in view of the fact that the TC fields have maximal effect when they are parallel to the axis of cell division. Since the orientation of cell division is in most cases random, only a fraction of the dividing cells are affected by any given field. Thus, using fields of two or more orientations increases the effectiveness since it increases the chances that more dividing cells are affected by a given TC field.

[00104] In vitro experiments have shown that the electric field has the maximum killing effect when the lines of force of the field are oriented generally parallel to the long axis of the hourglass-shaped cell during mitosis (as shown in FIGS. 3A-3C). In one experiment, a much higher proportion of the damaged cells had their axis of division oriented along the field: 56% of the cells oriented at or near 0 with respect to the field were damaged, versus an average of 15% of cells damaged for cells with their long axis oriented at more than 22 with respect to the field.

[00105] The inventor has recognized that applying the field in different directions sequentially will increase the overall killing power, because the field orientation that is most effectively in killing dividing cells will be applied to a larger population of the dividing cells. A number of examples for applying the field in different directions are discussed below.

[00106] FIGS. 27A, 27B, and 27C show a set of 6 electrodes E1-E6, and how the direction of the field through the target tissue 1510 can be changed by applying the AC signal from the generator 1 (shown in FIG. 1) across different pairs of electrodes. For example, if the AC signal is applied across electrodes El and E4, the field lines F would be vertical (as shown in FIG. 27A), and if the signal is applied across electrodes E2 and E5, or across electrodes E3 and E6, the field lines F would be diagonal (as shown in FIGS. 27B and 27C, respectively). Additional field directions can be obtained by applying the AC signal across other pairs of electrodes. For example, a roughly horizontal field could be obtained by applying the signal across electrodes E2 and E6.

[00107] In one embodiment, the AC signal is applied between the various pairs of electrodes sequentially. An example of this arrangement is to apply the AC signal across electrodes E1 and E4 for one second, then apply the AC signal across electrodes E2 and E5 for one second, and then apply the AC signal across electrodes E3 and E6 for one second. This three-part sequence is then repeated for the desired period of treatment. Because the efficacy in cell-destruction is strongly dependant on the cell's orientation, cycling the field between the different directions increases the chance that the field will be oriented in a direction that favors cell destruction at least part of the time.

[00108] Of course, the 6 electrode configuration shown in FIGS. 27A-C is just one of many possible arrangement of multiple electrodes, and many other configurations of three or more electrodes could be used based on the same principles.

[00109] Application of the field in different directions sequentially is not limited to two dimensional embodiments, and FIG. 28 shows how the sequential application of signals across different sets of electrodes can be extended to three dimensions. A first array of electrodes Al-A9 is arranged around body part 1500, and a last array of electrodes N1-N9 is arranged around the body part 1500 a distance W away from the first array. Additional arrays of electrodes may optionally be added between the first array and the last array, but these additional arrays are not illustrated for clarity (so as not to obscure the electrodes A5- A9 and B5-B8 on the back of the body part 1500).

[00110] As in the FIG. 27 embodiment, the direction of the field through the target tissue can be changed by applying the AC signal from the generator 1 (shown in FIG. 1) across different pairs of electrodes. For example, applying the AC signal between electrodes A2 and A7 would result in a field in a front-to-back direction between those two electrodes, and applying the AC signal between electrodes A5 and A9 would result in a roughly vertical field between those two electrodes. Similarly, applying the AC signal across electrodes A2 and N7 would generate diagonal field lines in one direction through the body part 1500, and applying the AC signal across electrodes A2 and B7 would generate diagonal field lines in another direction through the body part.

 [00111] Using a three-dimensional array of electrodes also makes it possible to energize multiple pairs of electrodes simultaneously to induce fields in the desired directions. For example, if suitable switching is provided so that electrodes A2 through N2 are all connected to one terminal of the generator, and so that electrodes A7 through N7 are all connected to the other terminal of the generator, the resulting field would be a sheet that extends in a front-to-back direction for the entire width W. After the front-to-back field is maintained for a suitable duration (e. g., one second), the switching system (not shown) is reconfigured to connect electrodes A3 through N3 to one terminal of the generator, and electrodes A8 through N8 to the other terminal of the generator. This results in a sheet- shaped field that is rotated about the Z axis by about 40 with respect to the initial field direction. After the field is maintained in this direction for a suitable duration (e. g., one second), the next set of electrodes is activated to rotate the field an additional 40 to its next position. This continues until the field returns to its initial position, at which point the whole process is repeated.

[00112] Optionally, the rotating sheet-shaped field may be added (sequentially in time) to the diagonal fields described above, to better target cells that are oriented along those diagonal axes.

[00113] Because the electric field is a vector, the signals may optionally be applied to combinations of electrodes simultaneously in order to form a desired resultant vector. For example, a field that is rotated about the X axis by 20 with respect to the initial position can be obtained by switching electrodes A2 through N2 and A3 through N3 all to one terminal of the generator, and switching electrodes A7 through N7 and A8 through N8 all to the other terminal of the generator. Applying the signals to other combinations of electrodes will result in fields in other directions, as will be appreciated by persons skilled in the relevant arts. If appropriate computer control of the voltages is implemented, the field's direction can even be swept through space in a continuous (i. e., smooth) manner, as opposed to the stepwise manner described above.

[00114] FIGS. 29A and 29B depict the results of in vitro experiments that show how the killing power of the applied field against dividing cells is a function of the field strength. In the FIG. 29A experiment, B16F1 melanoma cells were subjected to a 100 kHz AC field at different field strengths, for a period of 24 hours at each strength. In the FIG. 29B experiment, F-98 glioma cells were subjected to a 200 kHz AC field at different field strengths, for a period of 24 hours at each strength. In both of these figures, the strength of the field (EF) is measured in Volts per cm. The magnitude of the killing effect is expressed in terms of TER, which is which is the ratio of the decrease in the growth rate of treated cells (GRT) compared with the growth rate of control cells (GRc). EMI29.1 The experimental results show that the inhibitory effect of the applied field on proliferation increases with intensity in both the melanoma and the glioma cells. Complete proliferation arrest (TER = 1) is seen at 1.35 and 2.25 V/cm in melanoma and glioma cells, respectively.

 [00115] FIGS. 30A and 30B depict the results of in vitro experiments that show how the killing power of the applied field is a function of the frequency of the field. In the experiments, B16F1 melanoma cells (FIG. 30A) and F-98 glioma cells (FIG. 30B) were subjected to fields with different frequencies, for a period of 24 hours at each frequency. FIGS. 30A and 30B show the change in the growth rate, normalized to the field intensity (TER/EF). Data are shown as mean + SE. In FIG. 30A, a window effect is seen with maximal inhibition at 120 kHz in melanoma cells. In FIG. 30B, two peaks are seen at 170 and 250 kHz. Thus, if only one frequency is available during an entire course of treatment, a field with a frequency of about 120 kHz would be appropriate for destroying melanoma cells, and a field with a frequency on the order of 200 kHz would be appropriate for destroying glioma cells.

[00116] Not all the cells of any given type will have the exact same size. Instead, the cells will have a distribution of sizes, with some cells being smaller and some cells being larger. It is believed that the best frequency for damaging a particular cell is related to the physical characteristics (e. g., the size) of that particular cell. Thus, to best damage a population of cells with a distribution of sizes, it can be advantageous to apply a distribution of different frequencies to the population, where the selection of frequencies is optimized based on the expected size distribution of the target cells. For example, the data on FIG. 30B indicates that using two frequencies of 170 kHz and 250 kHz to destroy a population of glioma cells would be more effective than using a single frequency of 200 kHz.

 [00117] Note that the optimal field strengths and frequencies discussed herein were obtained based on in vitro experiments, and that the corresponding parameters for in vivo applications may be obtained by performing similar experiments in vivo. It is possible that relevant characteristics of the cell itself (such as size and/or shape) or interactions with the cell's surroundings may result in a different set of optimal frequencies and/or field strengths for in vivo applications.

 [00118] When more than one frequency is used, the various frequencies may be applied sequentially in time. For example, in the case of glioma, field frequencies of 100, 150,170, 200, 250, and 300 kHz may be applied during the first, second, third, fourth, fifth, and sixth minutes of treatment, respectively. That cycle of frequencies would then repeat during each successive six minutes of treatment. Alternatively, the frequency of the field may be swept in a stepless manner from 100 to 300 kHz.

 [00119] Optionally, this frequency cycling may be combined with the directional cycling described above. FIG. 31A is an example of such a combination using three directions (D1, D2, and D3) and three frequencies (F1, F2, and F3). Of course, the same scheme can be extended to any other number of directions and/or frequencies. FIG. 31B is an example of such a combination using three directions (D1, D2, and D3), sweeping the frequency from 100 kHz to 300 kHz. Note that the break in the time axis between tl and t2 provides the needed time for the sweeping frequency to rise to just under 300 kHz. The frequency sweeping (or stepping) may be synchronized with directional changes, as shown in FIG. 31A. Alternatively, the frequency sweeping (or stepping) may be asynchronous with respect to the directional changes, as shown in FIG. 31B.

 [00120] In an alternative embodiment, a signal that contains two or more frequencies components simultaneously (e. g., 170 kHz and 250 kHz) is applied to the electrodes to treat a populations of cells that have a distribution of sizes. The various signals will add by superposition to create a field that includes all of the applied frequency components.

 [00121] Turning now to FIG. 14 in which an article of clothing 500 according to one exemplary embodiment is illustrated. More specifically, the article of clothing 500 is in the form of a hat or cap or other type of clothing designed for placement on a head of a person. For purposes of illustration, a head 502 is shown with the hat 500 being placed thereon and against a skin surface 504 of the head 502. An intra-cranial tumor or the like 510 is shown as being formed within the head 502 underneath the skin surface 504 thereof. The hat 500 is therefore intended for placement on the head 502 of a person who has a tumor 510 or the like.

 [00122] Unlike the various embodiments illustrated in FIGS. 1-13 where the insulated electrodes 230 are arranged in a more or less planar arrangement since they are placed either on a skin surface or embedded within the body underneath it, the insulated electrodes 230 in this embodiment are specifically contoured and arranged for a specific application. The treatment of intra-cranial tumors or other lesions or the like typically requires a treatment that is of a relatively long duration, e. g., days to weeks, and therefore, it is desirable to provide as much comfort as possible to the patient. The hat 500 is specifically designed to provide comfort during the lengthy treatment process while not jeopardizing the effectiveness of the treatment.

 [00123] According to one exemplary embodiment, the hat 500 includes a predetermined number of insulated electrodes 230 that are preferably positioned so as to produce the optimal TC fields at the location of the tumor 510. The lines of force of the TC field are generally indicated at 520. As can be seen in FIG. 14, the tumor 510 is positioned within these lines of force 520. As will be described in greater detail hereinafter, the insulated electrodes 230 are positioned within the hat 500 such that a portion or surface thereof is free to contact the skin surface 504 of the head 502. In other words, when the patient wears the hat 500, the insulated electrodes 230 are placed in contact with the skin surface 504 of the head 502 in positions that are selected so that the TC fields generated thereby are focused at the tumor 510 while leaving surrounding areas in low density. Typically, hair on the head 502 is shaved in selected areas to permit better contact between the insulated electrodes 230 and the skin surface 504; however, this is not critical.

 [00124] The hat 500 preferably includes a mechanism 530 that applies a force to the insulated electrodes 230 so that they are pressed against the skin surface 502. For example, the mechanism 530 can be of a biasing type that applies a biasing force to the insulated electrodes 230 to cause the insulated electrodes 230 to be directed outwardly away from the hat 500. Thus, when the patient places the hat 500 on his/her head 502, the insulated electrodes 230 are pressed against the skin surface 504 by the mechanism 530. The mechanism 530 can slightly recoil to provide a comfortable fit between the insulated electrodes 230 and the head 502. In one exemplary embodiment, the mechanism 530 is a spring based device that is disposed within the hat 500 and has one section that is coupled to and applies a force against the insulated electrodes 230.

 [00125] As with the prior embodiments, the insulated electrodes 230 are coupled to the generator 210 by means of conductors 220. The generator 210 can be either disposed within the hat 500 itself so as to provide a compact, self-sufficient, independent system or the generator 210 can be disposed external to the hat 500 with the conductors 220 exiting the hat 500 through openings or the like and then running to the generator 210. When the generator 210 is disposed external to the hat 500, it will be appreciated that the generator 210 can be located in any number of different locations, some of which are in close proximity to the hat 500 itself, while others can be further away from the hat 500. For example, the generator 210 can be disposed within a carrying bag or the like (e. g., a bag that extends around the patient's waist) which is worn by the patient or it can be strapped to an extremity or around the torso of the patient. The generator 210 can also be disposed in a protective case that is secured to or carried by another article of clothing that is worn by the patient. For example, the protective case can be inserted into a pocket of a sweater, etc. FIG. 14 illustrates an embodiment where the generator 210 is incorporated directly into the hat 500.

 [00126] Turning now to FIGS. 15 and 16, in one exemplary embodiment, a number of insulated electrodes 230 along with the mechanism 530 are preferably formed as an independent unit, generally indicated at 540, that can be inserted into the hat 500 and electrically connected to the generator (not shown) via the conductors (not shown). By providing these members in the form of an independent unit, the patient can easily insert and/or remove the units 540 from the hat 500 when they may need cleaning, servicing and/or replacement.

[00127] In this embodiment, the hat 500 is constructed to include select areas 550 that are formed in the hat 500 to receive and hold the units 540. For example and as illustrated in FIG. 15, each area 550 is in the form of an opening (pore) that is formed within the hat 500. The unit 540 has a body 542 and includes the mechanism 530 and one or more insulated electrodes 230. The mechanism 530 is arranged within the unit 540 so that a portion thereof (e. g., one end thereof) is in contact with a face of each insulated electrode 230 such that the mechanism 530 applies a biasing force against the face of the insulated electrode 230. Once the unit 540 is received within the opening 550, it can be securely retained therein using any number of conventional techniques, including the use of an adhesive material or by using mechanical means. For example, the hat 500 can include pivotable clip members that pivot between an open position in which the opening 550 is free and a closed position in which the pivotable clip members engage portions (e. g., peripheral edges) of the insulated electrodes to retain and hold the insulated electrodes 230 in place. To remove the insulated electrodes 230, the pivotable clip members are moved to the open position. In the embodiment illustrated in FIG. 16, the insulated electrodes 230 are retained within the openings 550 by an adhesive element 560 which in one embodiment is a two sided self-adhesive rim member that extends around the periphery of the insulated electrode 230. In other words, a protective cover of one side of the adhesive rim 560 is removed and it is applied around the periphery of the exposed face of the insulated electrode 230, thereby securely attaching the adhesive rim 560 to the hat 500 and then the other side of the adhesive rim 560 is removed for application to the skin surface 504 in desired locations for positioning and securing the insulated electrode 230 to the head 502 with the tumor being positioned relative thereto for optimization of the TC fields. Since one side of the adhesive rim 560 is in contact with and secured to the skin surface 540, this is why it is desirable for the head 502 to be shaved so that the adhesive rim 560 can be placed flushly against the skin surface 540.

[00128] The adhesive rim 560 is designed to securely attach the unit 540 within the opening 550 in a manner that permits the unit 540 to be easily removed from the hat 500 when necessary and then replaced with another unit 540 or with the same unit 540. As previously mentioned, the unit 540 includes the biasing mechanism 530 for pressing the insulated electrode 230 against the skin surface 504 when the hat 500 is worn. The unit 540 can be constructed so that side opposite the insulated electrode 230 is a support surface formed of a rigid material, such as plastic, so that the biasing mechanism 530 (e. g., a spring) can be compressed therewith under the application of force and when the spring 530 is in a relaxed state, the spring 530 remains in contact with the support surface and the applies a biasing force at its other end against the insulated electrode 230. The biasing mechanism 530 (e. g., spring) preferably has a contour corresponding to the skin surface 504 so that the insulated electrode 230 has a force applied thereto to permit the insulated electrode 230 to have a contour complementary to the skin surface 504, thereby permitting the two to seat flushly against one another. While the mechanism 530 can be a spring, there are a number of other embodiments that can be used instead of a spring. For example, the mechanism 530 can be in the form of an elastic material, such as a foam rubber, a foam plastic, or a layer containing air bubbles, etc.

[00129] The unit 540 has an electric connector 570 that can be hooked up to a corresponding electric connector, such as a conductor 220, that is disposed within the hat 500. The conductor 220 connects at one end to the unit 540 and at the other end is connected to the generator 210. The generator 210 can be incorporated directly into the hat 500 or the generator 210 can be positioned separately (remotely) on the patient or on a bedside support, etc. [00130] As previously discussed, a coupling agent, such as a conductive gel, is preferably used to ensure that an effective conductive environment is provided between the insulated electrode 230 and the skin surface 504. Suitable gel materials have been disclosed hereinbefore in the discussion of earlier embodiments. The coupling agent is disposed on the insulated electrode 230 and preferably, a uniform layer of the agent is provided along the surface of the electrode 230. One of the reasons that the units 540 need replacement at periodic times is that the coupling agent needs to be replaced and/or replenished. In other words, after a predetermined time period or after a number of uses, the patient removes the units 540 so that the coupling agent can be applied again to the electrode 230.

 [00131] FIGS. 17 and 18 illustrate another article of clothing which has the insulated electrodes 230 incorporated as part thereof. More specifically, a bra or the like 700 is illustrated and includes a body that is formed of a traditional bra material, generally indicated at 705, to provide shape, support and comfort to the wearer. The bra 700 also includes a fabric support layer 710 on one side thereof. The support layer 710 is preferably formed of a suitable fabric material that is constructed to provide necessary and desired support to the bra 700.

[00132] Similar to the other embodiments, the bra 700 includes one or more insulated electrodes 230 disposed within the bra material 705. The one or more insulated electrodes are disposed along an inner surface of the bra 700 opposite the support 710 and are intended to be placed proximate to a tumor or the like that is located within one breast or in the immediately surrounding area. As with the previous embodiment, the insulated electrodes 230 in this embodiment are specifically constructed and configured for application to a breast or the immediate area. Thus, the insulated electrodes 230 used in this application do not have a planar surface construction but rather have an arcuate shape that is complementary to the general curvature found in a typical breast.

[00133] A lining 720 is disposed across the insulated electrodes 230 so as to assist in retaining the insulated electrodes in their desired locations along the inner surface for placement against the breast itself. The lining 720 can be formed of any number of thin materials that are comfortable to wear against one's skin and in one exemplary embodiment, the lining 720 is formed of a fabric material. [00134] The bra 700 also preferably includes a biasing mechanism 800 as in some of the earlier embodiments. The biasing mechanism 800 is disposed within the bra material 705 and extends from the support 710 to the insulated electrode 230 and applies a biasing force to the insulated electrode 230 so that the electrode 230 is pressed against the breast. This ensures that the insulated electrode 230 remains in contact with the skin surface as opposed to lifting away from the skin surface, thereby creating a gap that results in a less effective treatment since the gap diminishes the efficiency of the TC fields. The biasing mechanism 800 can be in the form of a spring arrangement or it can be an elastic material that applies the desired biasing force to the insulated electrodes 230 so as to press the insulated electrodes 230 into the breast. In the relaxed position, the biasing mechanism 800 applies a force against the insulated electrodes 230 and when the patient places the bra 700 on their body, the insulated electrodes 230 are placed against the breast which itself applies a force that counters the biasing force, thereby resulting in the insulated electrodes 230 being pressed against the patient's breast. In the exemplary embodiment that is illustrated, the biasing mechanism 800 is in the form of springs that are disposed within the bra material 705.

[00135] A conductive gel 810 can be provided on the insulated electrode 230 between the electrode and the lining 720. The conductive gel layer 810 is formed of materials that have been previously described herein for performing the functions described above.

[00136] An electric connector 820 is provided as part of the insulated electrode 230 and electrically connects to the conductor 220 at one end thereof, with the other end of the conductor 220 being electrically connected to the generator 210. In this embodiment, the conductor 220 runs within the bra material 705 to a location where an opening is formed in the bra 700. The conductor 220 extends through this opening and is routed to the generator 210, which in this embodiment is disposed in a location remote from the bra 700. It will also be appreciated that the generator 210 can be disposed within the bra 700 itself in another embodiment. For example, the bra 700 can have a compartment formed therein which is configured to receive and hold the generator 210 in place as the patient wears the bra 700. In this arrangement, the compartment can be covered with a releasable strap that can open and close to permit the generator 210 to be inserted therein or removed therefrom. The strap can be formed of the same material that is used to construct the bra 700 or it can be formed of some other type of material. The strap can be releasably attached to the surrounding bra body by fastening means, such as a hook and loop material, thereby permitting the patient to easily open the compartment by separating the hook and loop elements to gain access to the compartment for either inserting or removing the generator 210.

 [00137] The generator 210 also has a connector 211 for electrical connection to the conductor 220 and this permits the generator 210 to be electrically connected to the insulated electrodes 230

 [00138] As with the other embodiments, the insulated electrodes 230 are arranged in the bra 700 to focus the electric field (TC fields) on the desired target (e. g., a tumor). It will be appreciated that the location of the insulated electrodes 230 within the bra 700 will vary depending upon the location of the tumor. In other words, after the tumor has been located, the physician will then devise an arrangement of insulated electrodes 230 and the bra 700 is constructed in view of this arrangement so as to optimize the effects of the TC fields on the target area (tumor). The number and position of the insulated electrodes 230 will therefore depend upon the precise location of the tumor or other target area that is being treated. Because the location of the insulated electrodes 230 on the bra 700 can vary depending upon the precise application, the exact size and shape of the insulated electrodes 230 can likewise vary. For example, if the insulated electrodes 230 are placed on the bottom section of the bra 700 as opposed to a more central location, the insulated electrodes 230 will have different shapes since the shape of the breast (as well as the bra) differs in these areas.

 [00139] FIG. 19 illustrates yet another embodiment in which the insulated electrodes 230 are in the form of internal electrodes that are incorporated into in the form of a probe or catheter 600 that is configured to enter the body through a natural pathway, such as the urethra, vagina, etc. In this embodiment, the insulated electrodes 230 are disposed on an outer surface of the probe 600 and along a length thereof. The conductors 220 are electrically connected to the electrodes 230 and run within the body of the probe 600 to the generator 210 which can be disposed within the probe body or the generator 210 can be disposed independent of the probe 600 in a remote location, such as on the patient or at some other location close to the patient.

 [00140] Alternatively, the probe 600 can be configured to penetrate the skin surface or other tissues to reach an internal target that lies within the body. For example, the probe 600 can penetrate the skin surface and then be positioned adjacent to or proximate to a tumor that is located within the body.

 [00141] In these embodiments, the probe 600 is inserted through the natural pathway and then is positioned in a desired location so that the insulated electrodes 230 are disposed near the target area (i. e., the tumor). The generator 210 is then activated to cause the insulated electrodes 230 to generate the TC fields which are applied to the tumor for a predetermined length of time. It will be appreciated that the illustrated probe 600 is merely exemplary in nature and that the probe 600 can have other shapes and configurations so long as they can perform the intended function. Preferably, the conductors (e. g., wires) leading from the insulated electrodes 230 to the generator 210 are twisted or shielded so as not to generate a field along the shaft.

 [00142] It will further be appreciated that the probes can contain only one insulated electrode while the other can be positioned on the body surface. This external electrode should be larger or consist of numerous electrodes so as to result in low lines of force-current density so as not to affect the untreated areas. In fact, the placing of electrodes should be designed to minimize the field at potentially sensitive areas. Optionally, the external electrodes may be held against the skin surface by a vacuum force (e.g., suction).

 [00143] FIG. 20 illustrates yet another embodiment in which a high standing collar member 900 (or necklace type structure) can be used to treat thyroid, parathyroid, laryngeal lesions, etc. FIG. 20 illustrates the collar member 900 in an unwrapped, substantially flat condition. In this embodiment, the insulated electrodes 230 are incorporated into a body 910 of the collar member 900 and are configured for placement against a neck area of the wearer. The insulated electrodes 230 are coupled to the generator 210 according to any of the manner described hereinbefore and it will be appreciated that the generator 210 can be disposed within the body 910 or it can be disposed in a location external to the body 910. The collar body 910 can be formed of any number of materials that are traditionally used to form collars 900 that are disposed around a person's neck. As such, the collar 900 preferably includes a means 920 for adjusting the collar 900 relative to the neck. For example, complementary fasteners (hook and loop fasteners, buttons, etc. ) can be disposed on ends of the collar 900 to permit adjustment of the collar diameter.

 [00144] Thus, the construction of the present devices are particularly well suited for applications where the devices are incorporated into articles of clothing to permit the patient to easily wear a traditional article of clothing while at the same time the patient undergoes treatment. In other words, an extra level of comfort can be provided to the patient and the effectiveness of the treatment can be increased by incorporating some or all of the device components into the article of clothing. The precise article of clothing that the components are incorporated into will obviously vary depending upon the target area of the living tissue where tumor, lesion or the like exists. For example, if the target area is in the testicle area of a male patient, then an article of clothing in the form of a sock-like structure or wrap can be provided and is configured to be worn around the testicle area of the patient in such a manner that the insulated electrodes thereof are positioned relative to the tumor such that the TC fields are directed at the target tissue. The precise nature or form of the article of clothing can vary greatly since the device components can be incorporated into most types of articles of clothing and therefore, can be used to treat any number of different areas of the patient's body where a condition may be present.

 [00145] Now turning to FIGS. 21-22 in which another aspect of the present device is shown. In FIG. 21, a body 1000, such as any number of parts of a human or animal body, is illustrated. As in the previous embodiments, two or more insulated electrodes 230 are disposed in proximity to the body 1000 for treatment of a tumor or the like (not shown) using TC fields, as has been previously described in great detail in the above discussion of other embodiments. The insulated electrode 230 has a conductive component and has external insulation 260 that surrounds the conductive component thereof. Each insulated electrode 230 is preferably connected to a generator (not shown) by the lead 220. Between each insulated electrode 220 and the body 1000, a conductive filler material (e. g., conductive gel member 270) is disposed. The insulated electrodes 230 are spaced apart from one another and when the generator is actuated, the insulated electrodes 230 generate the TC fields that have been previously described in great detail. The lines of the electric field (TC field) are generally illustrated at 1010. As shown, the electric field lines 1010 extend between the insulated electrodes 230 and through the conductive gel member 270.

[00146] Over time or as a result of some type of event, the external insulation 260 of the insulated electrode 230 can begin to breakdown at any given location thereof. For purpose of illustration only, FIG. 22 illustrates that the external insulation 260 of one of the insulated electrodes 230 has experienced a breakdown 1020 at a face thereof which is adjacent the conductive gel member 270. It will be appreciated that the breakdown 1020 of the external insulation 260 results in the formation of a strong current flow-current density at this point (i. e., at the breakdown 1020). The increased current density is depicted by the increased number of electric field lines 1010 and the relative positioning and distance between adjacent electric field lines 1010. One of the side effects of the occurrence of breakdown 1020 is that current exists at this point which will generate heat and may burn the tissues/skin which have a resistance. In FIG. 22, an overheated area 1030 is illustrated and is a region or area of the tissues/skin where an increased current density exits due to the breakdown 1020 in the external insulation 260. A patient can experience discomfort and pain in this area 1030 due to the strong current that exists in the area and the increased heat and possible burning sensation that exist in area 1030.

[00147] FIG. 23 illustrates yet another embodiment in which a further application of the insulated electrodes 230 is shown. In this embodiment, the conductive gel member 270 that is disposed between the insulated electrode 230 and the body 1000 includes a conductor 1100 that is floating in that the gel material forming the member 270 completely surrounds the conductor 1100. In one exemplary embodiment, the conductor 1100 is a thin metal sheet plate that is disposed within the conductor 1100. As will be appreciated,,if a conductor, such as the plate 1100, is placed in a homogeneous electric field, normal to the lines of the electric field, the conductor 1100 practically has no effect on the field (except that the two opposing faces of the conductor 1100 are equipotential and the corresponding equipotentials are slightly shifted). Conversely, if the conductor 1100 is disposed parallel to the electric field, there is a significant distortion of the electric field. The area in the immediate proximity of the conductor 1100 is not equipotential, in contrast to the situation where there is no conductor 1100 present. When the conductor 1100 is disposed within the gel member 270, the conductor 1100 will typically not effect the electric field (TC field) for the reasons discussed above, namely that the conductor 1100 is normal to the lines of the electric field.

 [00148] If there is a breakdown of the external insulation 260 of the insulated electrode 230, there is a strong current flow-current density at the point of breakdown as previously discussed; however, the presence of the conductor 1100 causes the current to spread throughout the conductor 1100 and then exit from the whole surface of the conductor 1100 so that the current reaches the body 1000 with a current density that is neither high nor low. Thus, the current that reaches the skin will not cause discomfort to the patient even when there has been a breakdown in the insulation 260 of the insulated electrode 230. It is important that the conductor 1100 is not grounded as this would cause it to abolish the electric field beyond it. Thus, the conductor 1100 is "floating" within the gel member 270.

 [00149] If the conductor 1100 is introduced into the body tissues 1000 and is not disposed parallel to the electric field, the conductor 1100 will cause distortion of the electric field. The distortion can cause spreading of the lines of force (low field density-intensity) or concentration of the lines of field (higher density) of the electric field, according to the particular geometries of the insert and its surroundings, and thus, the conductor 1100 can exhibit, for example, a screening effect. Thus, for example, if the conductor 1100 completely encircles an organ 1101, the electric field in the organ itself will be zero since this type of arrangement is a Faraday cage. However, because it is impractical for a conductor to be disposed completely around an organ, a conductive net or similar structure can be used to cover, completely or partially, the organ, thereby resulting in the electric field in the organ itself being zero or about zero. For example, a net can be made of a number of conductive wires that are arranged relative to one another to form the net or a set of wires can be arranged to substantially encircle or otherwise cover the organ 1101. Conversely, an organ 1103 to be treated (the target organ) is not covered with a member having a Faraday cage effect but rather is disposed in the electric field 1010 (TC fields).

 [00150] FIG. 24 illustrates an embodiment where the conductor 1100 is disposed within the body (i. e., under the skin) and it is located near a target (e. g., a target organ). By placing the conductor 1100 near the target, high field density (of the TC fields) is realized at the target. At the same time, another nearby organ can be protected by disposing the above described protective conductive net or the like around this nearby organ so as to protect this organ from the fields. By positioning the conductor 1100 in close proximity to the target, a high field density condition can be provided near or at the target. In other words, the conductor 1100 permits the TC fields to be focused at a particular area (i. e., a target).

 [00151] It will also be appreciated that in the embodiment of FIG. 24, the gel members 260 can each include a conductor as described with reference to FIG. 23. In such an arrangement, the conductor in the gel member 260 protects the skin surface (tissues) from any side effects that may be realized if a breakdown in the insulation of the insulated electrode 230 occurs. At the same time, the conductor 1100 creates a high field density near the target.

[00152] There are a number of different ways to tailor the field density of the electric field by constructing the electrodes differently and/or by strategically placing the electrodes relative to one another. For example, in FIG. 25, a first insulated electrode 1200 and a second insulated electrode 1210 are provided and are disposed about a body 1300. Each insulated electrode includes a conductor that is preferably surrounded by an insulating material, thus the term "insulated electrode". Between each of the first and second electrodes 1200, 1210 and the body 1300, the conductive gel member 270 is provided. Electric field lines are generally indicated at 1220 for this type of arrangement. In this embodiment, the first insulated electrode 1200 has dimensions that are significantly greater than the dimensions of the second insulated electrode 1210 (the conductive gel member for the second insulated electrode 1210 will likewise be smaller).

 [00153] By varying the dimensions of the insulated electrodes, the pattern of the electric field lines 1220 is varied. More specifically, the electric field tapers inwardly toward the second insulated electrode 1210 due to the smaller dimensions of the second insulated electrode 1210. An area of high field density, generally indicated at 1230, forms near the interface between the gel member 270 associated with the second insulated electrode 1210 and the skin surface. The various components of the system are manipulated so that the tumor within the skin or on the skin is within this high field density so that the area to be treated (the target) is exposed to electric field lines of a higher field density.

 [00154] FIG. 26 also illustrates a tapering TC field when a conductor 1400 (e.g., a conductive plate) is disposed in each of the conductive gel members 270. In this embodiment, the size of the gel members 270 and the size of the conductors 1400 are the same or about the same despite the differences in the sizes of the insulated electrodes 1200, 1210. The conductors 1400 again can be characterized as "floating plates" since each conductor 1400 is surrounded by the material that forms the gel member 270. As shown in FIG. 26, the placement of one conductor 1400 near the insulated electrode 1210 that is smaller than the other insulated electrode 1200 and is also smaller than the conductor 1400 itself and the other insulated electrode 1200 is disposed at a distance therefrom, the one conductor 1400 causes a decrease in the field density in the tissues disposed between the one conductor 1400 and the other insulated electrode 1200. The decrease in the field density is generally indicated at 1410. At the same time, a very inhomogeneous tapering field, generally indicated at 1420, changing from very low density to very high density is formed between the one conductor 1400 and the insulated electrode 1210. One benefit of this exemplary configuration is that it permits the size of the insulated electrode to be reduced without causing an increase in the nearby field density. This can be important since electrodes that having very high dielectric constant insulation can be very expensive. Some insulated electrodes, for example, can cost $500.00 or more; and further, the price is sensitive to the particular area of treatment. Thus, a reduction in the size of the insulated electrodes directly leads to a reduction in cost. [00155] As used herein, the term "tumor" refers to a malignant tissue comprising transformed cells that grow uncontrollably. Tumors include leukemias, lymphomas, myelomas, plasmacytomas, and the like; and solid tumors. Examples of solid tumors that can be treated according to the invention include sarcomas and carcinomas such as, but not limited to: fibrosarcoma, myxosarcoma, liposarcoma, chondrosarcoma, osteogenic sarcoma, chordoma, angiosarcoma, endotheliosarcoma, lymphangiosarcoma, lymphangioendotheliosarcoma, synovioma, mesothelioma, Ewing's tumor, leiomyosarcoma, rhabdomyosarcoma, colon carcinoma, pancreatic cancer, breast cancer, ovarian cancer, prostate cancer, squamous cell carcinoma, basal cell carcinoma, adenocarcinoma, sweat gland carcinoma, sebaceous gland carcinoma, papillary carcinoma, papillary adenocarcinomas, cystadenocarcinoma, medullary carcinoma, bronchogenic carcinoma, renal cell carcinoma, hepatoma, bile duct carcinoma, choriocarcinoma, seminoma, embryonal carcinoma, Wilms' tumor, cervical cancer, testicular tumor, lung carcinoma, small cell lung carcinoma, bladder carcinoma, epithelial carcinoma, glioma, astrocytoma, medulloblastoma, craniopharyngioma, ependymoma, pinealoma, hemangioblastoma, acoustic neuroma, oligodendroglioma, meningioma, melanoma, neuroblastoma, and retinoblastoma. Because each of these tumors undergoes rapid growth, any one can be treated in accordance with the invention. The invention is particularly advantageous for treating brain tumors, which are difficult to treat with surgery and radiation, and often inaccessible to chemotherapy or gene therapies. In addition, the present invention is suitable for use in treating skin and breast tumors because of the ease of localized treatment provided by the present invention. [00156] In addition, the present invention can control uncontrolled growth associated with non-malignant or pre-malignant conditions, and other disorders involving inappropriate cell or tissue growth by application of an electric field in accordance with the invention to the tissue undergoing inappropriate growth. For example, it is contemplated that the invention is useful for the treatment of arteriovenous (AV) malformations, particularly in intracranial sites. The invention may also be used to treat psoriasis, a dermatologic condition that is characterized by inflammation and vascular proliferation; and benign prostatic hypertrophy, a condition associated with inflammation and possibly vascular proliferation. Treatment of other hyperproliferative disorders is also contemplated. [00157] Furthermore, undesirable fibroblast and endothelial cell proliferation associated with wound healing, leading to scar and keloid formation after surgery or injury, and restenosis after angioplasty or placement of coronary stents can be inhibited by application of an electric field in accordance with the present invention. The non-invasive nature of this invention makes it particularly desirable for these types of conditions, particularly to prevent development of internal scars and adhesions, or to inhibit restenosis of coronary, carotid, and other important arteries. [00158] In addition to treating tumors that have already been detected, the above- described embodiments may also be used prophylactically to prevent tumors from ever reaching a detectable size in the first place. For example, the bra embodiment described above in connection with FIGS. 17 and 18 may be worn by a woman for an 8 hour session every day for a week, with the week-long course of treatment being repeated every few months to kill any cells that have become cancerous and started to proliferate. This mode of usage is particularly appropriate for people who are at high risk for a particular type of cancer (e. g., women with a strong history of breast cancer in their families, or people who have survived a bout of cancer and are at risk of a relapse). The course of prophylactic treatment may be tailored based on the type of cancer being targeted and/or to suit the convenience of the patient. For example, undergoing a four 16 hour sessions during the week of treatment may be more convenient for some patients than seven 8 hour session, and may be equally effective. [00159] Thus, the present invention provides an effective, simple method of selectively destroying dividing cells, e. g., tumor cells and parasitic organisms, while non-dividing cells or organisms are left affected by application of the method on living tissue containing both types of cells or organisms. Thus, unlike many of the conventional methods, the present invention does not damage the normal cells or organisms. In addition, the present invention does not discriminate based upon cell type (e. g., cells having differing sizes) and therefore may be used to treat any number of types of sizes having a wide spectrum of characteristics, including varying dimensions. [00160] While the invention has been particularly shown and described with reference to preferred embodiments thereof, it will be understood by those skilled in the art that various changes in form and details can be made without departing from the spirit and scope of the invention. ==



Apparatus for destroying dividing cells
US2004068295

TECHNICAL FIELD

[0001]

This invention concerns selective destruction of rapidly dividing cells, and more particularly, to an apparatus for selectively destroying dividing cells by applying an electric field having certain prescribed characteristics.

BACKGROUND

[0002] All living organisms proliferate by cell division, including cell cultures, microorganisms (such as bacteria, mycoplasma, yeast, protozoa, and other single-celled organisms), fungi, algae, plant cells, etc. Dividing cells of organisms can be destroyed, or their proliferation controlled, by methods that are based on the sensitivity of the dividing cells of these organisms to certain agents. For example, certain antibiotics stop the multiplication process of bacteria.

[0003] The process of eukaryotic cell division is called "mitosis", which involves nice distinct phases (see Darnell et al., Molecular Cell Biology, New York: Scientific American Books, 1986, p. 149). During interphase, the cell replicates chromosomal DNA, which begins condensing in early prophase. At this point, centrioles (each cell contains 2) begin moving towards opposite poles of the cell. In middle prophase, each chromosome is composed of duplicate chromatids. Microtubular spindles radiate from regions adjacent to the centrioles, which are closer to their poles. By late prophase, the centrioles have reached the poles, and some spindle fibers extend to the center of the cell, while others extend from the poles to the chromatids. The cells then move into metaphase, when the chromosomes move toward the equator of the cell and align in the equatorial plane. Next is early anaphase, during which time daughter chromatids separate from each other at the equator by moving along the spindle fibers toward a centromere at opposite poles. The cell begins to elongate along the axis of the pole; the pole-to-pole spindles also elongate. Late anaphase occurs when the daughter chromosomes (as they are not called) each reach their respective opposite poles. At this point, cytokinesis begins as the cleavage furrow begins to form at the equator of the cell. In other words, late anaphase is the point at which pinching the cell membrane begins. During telophase, cytokinesis is nearly complete and spindles disappear. Only a relatively narrow membrane connection joins the two cytoplasms. Finally, the membranes separate fully, cytokinesis is complete and the cell returns to interphase.

[0004] In meisosis, the cell undergoes a second division, involving separation of sister chromosomes to opposite poles of the cell along spindle fibers, followed by formation of a cleavage furrow and cell division. However, this division is not preceded by chromosome replication, yielding a haploid germ cell.

[0005] Bacteria also divide by chromosome replication, followed by cell separation. However, since the daughter chromosomes separate by attachment to membrane components; there is no visible apparatus that contributes to cell division as in eukaryotic cells.

[0006] It is well known that tumors, particularly malignant or cancerous tumors, grow uncontrollably compared to normal tissue. Such expedited growth enables tumors to occupy an ever-increasing space and to damage or destroy tissue adjacent thereto. Furthermore, certain cancers are characterized by an ability to transmit cancerous "seeds", including single cells or small cell clusters (metastasises), to new locations where the messastatic cancer cells grow into additional tumors.

[0007] The rapid growth of tumors, in general, and malignant tumors in particular, as described above, is the result of relatively frequent cell division or multiplication of these cells compared to normal tissue cells. The distinguishably frequent cell division of cancer cells is the basis for the effectiveness of existing cancer treatments, e.g., irradiation therapy and the use of various chemo-therapeutic agents. Such treatments are based on the fact that cells undergoing division are more sensitive to radiation and chemo-therapeutic agents than non-dividing cells. Because tumors cells divide much more frequently than normal cells, it is possible, to a certain extent, to selectively damage or destroy tumor cells by radiation therapy and/or chemotherapy. The actual sensitivity of cells to radiation, therapeutic agents, etc., is also dependent on specific characteristics of different types of normal or malignant cell types. Thus, unfortunately, the sensitivity of tumor cells is not sufficiently higher than that many types of normal tissues. This diminishes the ability to distinguish between tumor cells and normal cells, and therefore, existing cancer treatments typically cause significant damage to normal tissues, thus limiting the therapeutic effectiveness of such treatments. Furthermore, the inevitable damage to other tissue renders treatments very traumatic to the patients and, often, patients are unable to recover from a seemingly successful treatment. Also, certain types of tumors are not sensitive at all to existing methods of treatment.

[0008] There are also other methods for destroying cells that do not rely on radiation therapy or chemotherapy alone. For example, ultrasonic and electrical methods for destroying tumor cells can be used in addition to or instead of conventional treatments. Electric fields and currents have been used for medical purposes for many years. The most common is the generation of electric currents in a human or animal body by application of an electric field by means of a pair of conductive electrodes between which a potential difference is maintained. These electric currents are used either to exert their specific effects, i.e., to stimulate excitable tissue, or to generate heat by flowing in the body since it acts as a resistor. Examples of the first type of application include the following: cardiac defibrillators, peripheral nerve and muscle stimulators, brain stimulators, etc. Currents are used for heating, for example, in devices for tumor ablation, ablation of malfunctioning cardiac or brain tissue, cauterization, relaxation of muscle rheumatic pain and other pain, etc.

[0009] Another use of electric fields for medical purposes involves the utilization of high frequency oscillating fields transmitted from a source that emits an electric wave, such as an RF wave or a microwave source that is directed at the part of the body that is of interest (i.e., target). In these instances, there is no electric energy conduction between the source and the body; but rather, the energy is transmitted to the body by radiation or induction. More specifically, the electric energy generated by the source reaches the vicinity of the body via a conductor and is transmitted from it through air or some other electric insulating material to the human body.

[0010] In a conventional electrical method, electrical current is delivered to a region of the target tissue using electrodes that are placed in contact with the body of the patient. The applied electrical current destroys substantially all cells in the vicinity of the target tissue. Thus, this type of electrical method does not discriminate between different types of cells within the target tissue and results in the destruction of both tumor cells and normal cells.

[0011] Electric fields that can be used in medical applications can thus be separated generally into two different modes. In the first mode, the electric fields are applied to the body or tissues by means of conducting electrodes. These electric fields can be separated into two types, namely (1) steady fields or fields that change at relatively slow rates, and alternating fields of low frequencies that induce corresponding electric currents in the body or tissues, and (2) high frequency alternating fields (above 1 MHz) applied to the body by means of the conducting electrodes. In the second mode, the electric fields are high frequency alternating fields applied to the body by means of insulated electrodes.

[0012] The first type of electric field is used, for example, to stimulate nerves and muscles, pace the heart, etc. In fact, such fields are used in nature to propagate signals in nerve and muscle fibers, central nervous system (CNS), heart, etc. The recording of such natural fields is the basis for the ECG, EEG, EMG, ERG, etc. The field strength in these applications, assuming a medium of homogenous electric properties, is simply the voltage applied to the stimulating/recording electrodes divided by the distance between them. These currents can be calculated by Ohm's law and can have dangerous stimulatory effects on the heart and CNS and can result in potentially harmful ion concentration changes. Also, if the currents are strong enough, they can cause excessive heating in the tissues. This heating can be calculated by the power dissipated in the tissue (the product of the voltage and the current).

[0013] When such electric fields and currents are alternating, their stimulatory power, on nerve, muscle, etc., is an inverse function of the frequency. At frequencies above 1-10 KHz, the stimulation power of the fields approaches zero. This limitation is due to the fact that excitation induced by electric stimulation is normally mediated by membrane potential changes, the rate of which is limited by the RC properties (time constants on the order of 1 ms) of the membrane. [0014] Regardless of the frequency, when such current inducing fields are applied, they are associated with harmful side effects caused by currents. For example, one negative effect is the changes in ionic concentration in the various "compartments" within the system, and the harmful products of the electrolysis taking place at the electrodes, or the medium in which the tissues are imbedded. The changes in ion concentrations occur whenever the system includes two or more compartments between which the organism maintains ion concentration differences. For example, for most tissues, [Ca<++>] in the extracellular fluid is about 2*10<-3 >M, while in the cytoplasm of typical cells its concentration can be as low as 10<-7 >M. A current induced in such a system by a pair of electrodes, flows in part from the extracellular fluid into the cells and out again into the extracellular medium. About 2% of the current flowing into the cells is carried by the Ca<++> ions. In contrast, because the concentration of intracellular Ca<++> is much smaller, only a negligible fraction of the currents that exits the cells is carried by these ions. Thus, Ca<++> ions accumulate in the cells such that their concentrations in the cells increases, while the concentration in the extracellular compartment may decrease. These effects are observed for both DC and alternating currents (AC). The rate of accumulation of the ions depends on the current intensity ion mobilities, membrane ion conductance, etc. An increase in [Ca<++>] is harmful to most cells and if sufficiently high will lead to the destruction of the cells. Similar considerations apply to other ions. In view of the above observations, long term current application to living organisms or tissues can result in significant damage. Another major problem that is associated with such electric fields, is due to the electrolysis process that takes place at the electrode surfaces. Here charges are transferred between the metal (electrons) and the electrolytic solution (ions) such that charged active radicals are formed. These can cause significant damage to organic molecules, especially macromolecules and thus damage the living cells and tissues.

[0015] In contrast, when high frequency electric fields, above 1 MHz and usually in practice in the range of GHz, are induced in tissues usually by means of insulated electrodes or transmission of e.m. waves, the situation is quite different. These type of fields generate only capacitive or displacement currents, rather than the conventional charge conducting currents. Under the effect of this type of field, living tissues behave mostly according to their dielectric properties rather than their electric conductive properties. Therefore, the dominant field effect is that due to dielectric losses and heating. Thus, it is widely accepted that in practice, the meaningful effects of such fields on living organisms, are only those due to their heating effects, i.e., due to dielectric losses.

[0016] In U.S. Pat. No. 6,043,066 ('066) to Mangano, a method and device are presented which enable discrete objects having a conducting inner core, surrounded by a dielectric membrane to be selectively inactivated by electric fields via irreversible breakdown of their dielectric membrane. One potential application for this is in the selection and purging of certain biological cells in a suspension. According to the '066 patent, an electric field is applied for targeting selected cells to cause breakdown of the dielectric membranes of these tumor cells, while purportedly not adversely affecting other desired subpopulations of cells. The cells are selected on the basis of intrinsic or induced differences in a characteristic electroporation threshold. The differences in this threshold can depend upon a number of parameters, including the difference in cell size.

[0017] The method of the '066 patent is therefore based on the assumption that the electroporation threshold of tumor cells is sufficiently distinguishable from that of normal cells because of differences in cell size and differences in the dielectric properties of the cell membranes. Based upon this assumption, the larger size of many types of tumor cells makes these cells more susceptible to electroporation and thus, it may be possible to selectively damage only the larger tumor cell membranes by applying an appropriate electric field. One disadvantage of this method is that the ability to discriminate is highly dependent upon cell type, for example, the size difference between normal cells and tumor cells is significant only in certain types of cells. Another drawback of this method is that the voltages which are applied can damage some of the normal cells and may not damage all of the tumor cells because the differences in size and membrane dielectric properties are largely statistical and the actual cell geometries and dielectric properties can vary significantly.

[0018] What is needed in the art and has heretofore not been available is an apparatus for killing dividing cells, wherein the apparatus better discriminates between dividing cells, including single-celled organisms, and non-dividing cells and is capable of selectively destroying the dividing cells or organisms with substantially no affect on the non-dividing cells or organisms.

SUMMARY

[0019] An apparatus for use in a number of different applications for selectively destroying cells undergoing growth and division is provided. This includes, cell, particularly tumor cells, in living tissue and single-celled organisms. The apparatus can be incorporated into a number of different configurations (e.g., as a skin patch or embedded internally within the body) to eliminate or control the growth of such living tissue or organisms.

[0020] A major use of the present apparatus is in the treatment of tumors by selective destruction of tumor cells with substantially no affect on normal tissue cells, and thus, the exemplary apparatus is described below in the context of selective destruction of tumor cells. It should be appreciated however, that for purpose of the following description, the term "cell" may also refer to a single-celled organism (eubacteria, bacteria, yeast, protozoa), multi-celled organisms (fungi, algae, mold), and plants as or parts thereof that are not normally classified as "cells". The exemplary apparatus enables selective destruction of cells undergoing division in a way that is more effective and more accurate (e.g., more adaptable to be aimed at specific targets) than existing methods. Further, the present apparatus causes minimal damage, if any, to normal tissue and, thus, reduces or eliminates many side-effects associated with existing selective destruction methods, such as radiation therapy and chemotherapy. The selective destruction of dividing cells using the present apparatus does not depend on the sensitivity of the cells to chemical agents or radiation. Instead, the selective destruction of dividing cells is based on distinguishable geometrical and structural characteristics of cells undergoing division, in comparison to non-dividing cells, regardless of the cell geometry of the type of cells being treated.

[0021] According to one exemplary embodiment, cell geometry-dependent selective destruction of living tissue is performed by inducing a non-homogenous electric field in the cells using an electronic apparatus.

[0022] It has been observed by the present inventor that, while different cells in their non-dividing state may have different shapes, e.g., spherical, ellipsoidal, cylindrical, "pancake-like", etc., the division process of practically all cells is characterized by development of a "cleavage furrow" in late anaphase and telophase. This cleavage furrow is a slow constriction of the cell membrane (between the two sets of daughter chromosomes) which appears microscopically as a growing cleft (e.g., a groove or notch) that gradually separates the cell into two new cells. During the division process, there is a transient period (telophase) during which the cell structure is basically that of two sub-cells interconnected by a narrow "bridge" formed of the cell material. The division process is completed when the "bridge" between the two sub-cells is broken. The selective destruction of tumor cells using the present electronic apparatus utilizes this unique geometrical feature of dividing cells.

[0023] When a cell or a group of cells are under natural conditions or environment, i.e., part of a living tissue, they are disposed surrounded by a conductive environment consisting mostly of an electrolytic inter-cellular fluid and other cells that are composed mostly of an electrolytic intra-cellular liquid. When an electric field is induced in the living tissue, by applying an electric potential across the tissue, an electric field is formed in the tissue and the specific distribution and configuration of the electric field lines defines the paths of electric currents in the tissue, if currents are in fact induced in the tissue. The distribution and configuration of the electric field is dependent on various parameters of the tissue, including the geometry and the electric properties of the different tissue components, and the relative conductivities, capacities and dielectric constants (that may be frequency dependent) of the tissue components.

[0024] The electric current flow pattern for cells undergoing division is very different and unique as compared to non-dividing cells. Such cells including first and second sub-cells, namely an "original" cell and a newly formed cell, that are connected by a cytoplasm "bridge" or "neck". The currents penetrate the first sub-cell through part of the membrane ("the current source pole"); however, they do not exit the first sub-cell through a portion of its membrane closer to the opposite pole ("the current sink pole"). Instead, the lines of current flow converge at the neck or cytoplasm bridge, whereby the density of the current flow lines is greatly increased. A corresponding, "mirror image", process that takes place in the second sub-cell, whereby the current flow lines diverge to a lower density configuration as they depart from the bridge, and finally exit the second sub-cell from a part of its membrane closes to the current sink.

[0025] When a polar or a polarizable object is placed in a non-uniform converging or diverging field, electric forces act on it and pull it towards the higher density electric field lines. In the case of dividing cell, electric forces are exerted in the direction of the cytoplasm bridge between the two cells. Since all intercellular organelles are polarizable, and most macromolecules are polar (have a dipole moment) they are all force towards the bridge between the two cells. The field polarity is irrelevant to the direction of the force and, therefore, an alternating electric having specific properties can be used to produce substantially the same effect. It will also be appreciated that the concentrated electric field present in or near the bridge or neck portion in itself exerts strong forces on charges and natural dipoles and can lead to the disruption of structures associated with these members.

[0026] The movement of the cellular organelles towards the bridge disrupts the cell structure and results in increased pressure in the vicinity of the connecting bridge membrane. This pressure of the organelles on the bridge membrane is expected to break the bridge membrane and, thus, it is expected that the dividing cell will "explode" in response to this pressure. The ability to break the membrane and disrupt other cell structures can be enhanced by applying a pulsating alternating electric field that has a frequency from about 50 KHz to about 500 KHz. When this type of electric field is applied to the tissue, the forces exerted on the intercellular organelles have a "hammering" effect, whereby force pulses (or beats) are applied to the organelles numerous times per second, enhancing the movement of organelles of different sizes and masses towards the bridge (or neck) portion from both of the sub-cells, thereby increasing the probability of breaking the cell membrane at the bridge portion. The forces exerted on the intracellular organelles also affect the organelles themselves and may collapse or break the organelles.

[0027] According to one exemplary embodiment, the apparatus for applying the electric field is an electronic apparatus that generates the desired electric signals in the shape of waveforms or trains of pulses. The electronic apparatus includes a generator that generates an alternating voltage waveform at frequencies in the range from about 50 KHz to about 500 KHz. The generator is operatively connected to conductive leads which are connected at their other ends to insulated conductors/electrodes (also referred to as isolects) that are activated by the generated waveforms. The insulated electrodes consist of a conductor in contact with a dielectric (insulating layer) that is in contact with the conductive tissue, thus forming a capacitor. The electric fields that are generated by the present apparatus can be applied in several different modes depending upon the precise treatment application.

[0028] In one exemplary embodiment, the electric fields are applied by external insulated electrodes which are constructed so that the applied electric fields can be of a local type or of a widely distributed type. This embodiment is designed to treat skin tumors and lesions that are close to the skin surface. According to this embodiment, the insulated electrodes can be incorporated into a skin patch that is applied to a skin surface. The skin patch can be a self-adhesive flexible patch and can include one or more pairs of the insulated electrodes.

[0029] According to another embodiment, the apparatus is used in an internal type application in that the insulated electrodes are in the form of plates, wires, etc., that are inserted subcutaneously or deeper within the body so as to generate an electric field having the above desired properties at a target area (e.g., a tumor).

[0030] Thus, the present apparatus utilizes electric fields that fall into a special intermediate category relative to previous high and low frequency applications in that the present electric fields are bio-effective fields that have no meaningful stimulatory effects and no thermal effects. Advantageously, when non-dividing cells are subjected to these electric fields, there is no effect on the cells; however, the situation is much different when dividing cells are subjected to the present electric fields. Thus, the present electronic apparatus and the generated electric fields target dividing cells, such as tumors or the like, and do not target non-dividing cells that is found around in healthy tissue surrounding the target area. Furthermore, since the present apparatus utilizes insulated electrodes, the above mentioned negative effects, obtained when conductive electrodes are used, i.e., ion concentration changes in the cells and the formation of harmful agents by electrolysis, do not occur with the present apparatus. This is because, in general, no actual transfer of charges takes place between the electrodes and the medium, and there is no charge flow in the medium where the currents are capacitive.

[0031] It should be appreciated that the present electronic apparatus can also be used in applications other than treatment of tumors in the living body. In fact, the selective destruction utilizing the present apparatus can be used in conjunction with any organism that proliferates division and multiplication, for example, tissue cultures, microorganisms, such as bacteria, mycoplasma, protozoa, fungi, algae, plant cells, etc. Such organisms divide by the formation of a groove or cleft as described above. As the groove or cleft deepens, a narrow bridge is formed between the two parts of the organism, similar to the bridge formed between the sub-cells of dividing animal cells. Since such organisms are covered by a membrane having a relatively low electric conductivity, similar to an animal cell membrane described above, the electric field lines in a dividing organism converge at the bridge connecting the two parts of the dividing organism. The converging field lines result in electric forces that displace polarizable elements within the dividing organism.

[0032] The above, and other objects, features and advantages of the present apparatus will become apparent from the following description read in conjunction with the accompanying drawings, in which like reference numerals designate the same elements.

BRIEF DESCRIPTION OF THE DRAWING FIGURES



[0033] FIGS. 1A-1E are simplified, schematic, cross-sectional, illustrations of various stages of a cell division process;

[0034] FIGS. 2A and 2B are schematic illustrations of a non-dividing cell being subjected to an electric field;

[0035] FIGS. 3A, 3B and 3C are schematic illustrations of a dividing cell being subjected to an electric field according to one exemplary embodiment, resulting in destruction of the cell (FIG. 3C) in accordance with one exemplary embodiment;

[0036] FIG. 4 is a schematic illustration of a dividing cell at one stage being subject to an electric field;

[0037] FIG. 5 is a schematic diagram of an apparatus for applying an electric according to one exemplary embodiment for selectively destroying cells;

[0038] FIG. 6 is a simplified schematic diagram of an equivalent electric circuit of insulated electrodes of the apparatus of FIG. 5;

[0039] FIG. 7 is a schematic illustration of a skin patch incorporating the apparatus of FIG. 5 and for placement on a skin surface for treating a tumor or the like;

[0040] FIG. 8 is a schematic illustration of the insulated electrodes implanted within the body for treating a tumor or the like;

[0041] FIG. 9 is a schematic illustration of the insulated electrodes implanted within the body for treating a tumor or the like;

[0042] FIGS. 10A-10D are schematic illustrations of various constructions of the insulated electrodes of the apparatus of FIG. 5;

[0043] FIG. 11 is a schematic illustration of two insulated electrodes being arranged about a human torso for treatment of a tumor container within the body, e.g., a tumor associated with lung cancer;

[0044] FIGS. 12A-12C are schematic illustrations of various insulated electrodes with and without protective members formed as a part of the construction thereof; and

[0045] FIG. 13 is a schematic illustration of insulated electrodes that are arranged for focusing the electric field at a desired target while leaving other areas in low field density (i.e., protected areas).

DETAILED DESCRIPTION OF PREFERRED EMBODIMENTS

[0046] Reference is made to FIGS. 1A-1E which schematically illustrate various stages of a cell division process. FIG. 1A illustrates a cell 10 at its normal geometry, which can be generally spherical (as illustrated in the drawings), ellipsoidal, cylindrical, "pancake-like" or any other cell geometry, as is known in the art. FIGS. 1B-1D illustrate cell 10 during different stages of its division process, which results in the formation of two new cells 18 and 20, shown in FIG. 1E.

[0047] As shown in FIGS. 1B-1D, the division process of cell 10 is characterized by a slowly growing cleft 12 which gradually separates cell 10 into two units, namely sub-cells 14 and 16, which eventually evolve into new cells 18 and 20 (FIG. 1E). A shown specifically in FIG. 1D, the division process is characterized by a transient period during which the structure of cell 10 is basically that of the two sub-cells 14 and 16 interconnected by a narrow "bridge" 22 containing cell material (cytoplasm surrounded by cell membrane). [0048] Reference is now made to FIGS. 2A and 2B, which schematically illustrate non-dividing cell 10 being subjected to an electric field produced by applying an alternating electric potential, at a relatively low frequency and at a relatively high frequency, respectively. Cell 10 includes intracellular organelles, e.g., a nucleus 30. Alternating electric potential is applied across electrodes 28 and 32 that can be attached externally to a patient at a predetermined region, e.g., in the vicinity of the tumor being treated. When cell 10 is under natural conditions, i.e., part of a living tissue, it is disposed in a conductive environment (hereinafter referred to as a "volume conductor") consisting mostly of electrolytic inter-cellular liquid. When an electric potential is applied across electrodes 28 and 32, some of the field lines of the resultant electric field (or the current induced in the tissue in response to the electric field) penetrate the cell 10, while the rest of the field lines (or induced current) flow in the surrounding medium. The specific distribution of the electric field lines, which is substantially consistent with the direction of current flow in this instance, depends on the geometry and the electric properties of the system components, e.g., the relative conductivities and dielectric constants of the system components, that can be frequency dependent. For low frequencies, e.g., frequencies lower than 10 KHz, the conductance properties of the components completely dominate the current flow and the field distribution, and the field distribution is generally as depicted in FIG. 2A. At higher frequencies, e.g., at frequencies of between 10 KHz and 1 MHz, the dielectric properties of the components becomes more significant and eventually dominate the field distribution, resulting in field distribution lines as depicted generally in FIG. 2B.

[0049] For constant (i.e., DC) electric fields or relatively low frequency alternating electric fields, for example, frequencies under 10 KHz, the dielectric properties of the various components are not significant in determining and computing the field distribution. Therefore, as a first approximation, with regard to the electric field distribution, the system can be reasonably represented by the relative impedances of its various components. Using this approximation, the intercellular (i.e., extracellular) fluid and the intracellular fluid each has a relatively low impedance, while the cell membrane 11 has a relatively high impedance. Thus, under low frequency conditions, only a fraction of the electric field lines (or currents induced by the electric field) penetrate membrane 11 of the cell 10. At relatively high frequencies (e.g., 10 KHz-1 MHz), in contrast, the impedance of membrane 11 relative to the intercellular and intracellular fluids decreases, and thus, the fraction of currents penetrating the cells increases significantly. It should be noted that at very high frequencies, i.e., above 1 MHz, the membrane capacitance can short the membrane resistance and, therefore, the total membrane resistance can become negligible.

[0050] In any of the embodiments described above, the electric field lines (or induced currents) penetrate cell 10 from a portion of the membrane 11 closest to one of the electrodes generating the current, e.g., closest to positive electrode 28 (also referred to herein as "source"). The current flow pattern across cell 10 is generally uniform because, under the above approximation, the field induced inside the cell is substantially homogeneous. The currents exit cell 10 through a portion of membrane 11 closest to the opposite electrode, e.g., negative electrode 32 (also referred to herein as "sink").

[0051] The distinction between field lines and current flow can depend on a number of factors, for example, on the frequency of the applied electric potential and on whether electrodes 28 and 32 are electrically insulated. For insulated electrodes applying a DC or low frequency alternating voltage, there is practically no current flow along the lines of the electric field. At higher frequencies, the displacement currents are induced in the tissue due to charging and discharging of the electrode insulation and the cell membranes (which act as capacitors to a certain extent), and such currents follow the lines of the electric field. Fields generated by non-insulated electrodes, in contrast, always generate some form of current flow, specifically, DC or low frequency alternating fields generate conductive current flow along the field lines, and high frequency alternating fields generate both conduction and displacement currents along the field lines. It should be appreciated, however, that movement of polarizable intracellular organelles according to the present invention (as described below) is not dependent on actual flow of current and, therefore, both insulated and non-insulated electrodes can be used efficiently. Several advantages of insulated electrodes are that they have lower power consumption and cause less heating of the treated regions.

[0052] According to one exemplary embodiment of the present invention, the electric fields that are used are alternating fields having frequencies that are in the range from about 50 KHz to about 500 KHz, and preferably from about 100 KHz to about 300 KHz. For ease of discussion, these type of electric fields are also referred to below as "TC fields", which is an abbreviation of "Tumor Curing electric fields", since these electric fields fall into an intermediate category (between high and low frequency ranges) that have bio-effective field properties while having no meaningful stimulatory and thermal effects. These frequencies are sufficiently low so that the system behavior is determined by the system's Ohmic (conductive) properties but sufficiently high enough not to have any stimulation effect on excitable tissues. Such a system consists of two types of elements, namely, the intercellular, or extracellular fluid, or medium and the individual cells. The intercellular fluid is mostly an electrolyte with a specific resistance of about 40-100 Ohm*cm. As mentioned above, the cells are characterized by three elements, namely (1) a thin, highly electric resistive membrane that coats the cell; (2) internal cytoplasm that is mostly an electrolyte that contains numerous macromolecules and micro-organelles, including the nucleus; and (3) membranes, similar in their electric properties to the cell membrane, cover the micro-organelles.

[0053] When this type of system is subjected to the present TC fields (e.g., alternating electric fields in the frequency range of 100 KHz-300 KHz) most of the lines of the electric field and currents tend away from the cells because of the high resistive cell membrane and therefore the lines remain in the extracellular conductive medium. In the above recited frequency range, the actual fraction of electric field or currents that penetrates the cells is a strong function of the frequency.

[0054] FIG. 3 schematically depicts the resulting field distribution in the system. As illustrated, the lines of force, which also depict the lines of potential current flow across the cell volume mostly in parallel with the undistorted lines of force (the main direction of the electric field). In other words, the field inside the cells is mostly homogeneous. In practice, the fraction of the field or current that penetrates the cells is determined by the cell membrane impedance value relative to that of the extracellular fluid. Since the equivalent electric circuit of the cell membrane is that of a resistor and capacitor in parallel, the impedance is a function of the frequency. The higher the frequency, the lower the impedance, the larger the fraction of penetrating current and the smaller the field distortion.

[0055] As previously mentioned, when cells are subjected to relatively weak electric fields and currents that alternate at high frequencies, such as the present TC fields having a frequency in the range of 50 KHz-500 KHz, they have no effect on the non-dividing cells. While the present TC fields have no detectable effect on such systems, the situation becomes different in the presence of dividing cells.

[0056] Reference is now made to FIGS. 3A-3C which schematically illustrate the electric current flow pattern in cell 10 during its division process, under the influence of alternating fields (TC fields) in the frequency range from about 100 KHz to about 300 KHz in accordance with one exemplary embodiment. The field lines or induced currents penetrate cell 10 through a part of the membrane of sub-cell 16 closer to electrode 28. However, they do not exit through the cytoplasm bridge 22 that connects sub-cell 16 with the newly formed yet still attached sub-cell 14, or through a part of the membrane in the vicinity of the bridge 22. Instead, the electric field or current flow lines-that are relatively widely separated in sub-cell 16-converge as they approach bridge 22 (also referred to as "neck" 22) and, thus, the current/field line density within neck 22 is increased dramatically. A "mirror image" process takes place in sub-cell 14, whereby the converging field lines in bridge 22 diverge as they approach the exit region of sub-cell 14.

[0057] It should be appreciated by persons skilled in the art that homogeneous electric fields do not exert a force on electrically neutral objects, i.e., objects having substantially zero net charge, although such objects can become polarized. However, under a non-uniform, converging electric field, as shown in FIGS. 3A-3C, electric forces are exerted on polarized objects, moving them in the direction of the higher density electric field lines. It will be appreciated that the concentrated electric field that is present in the neck or bridge area in itself exerts strong forces on charges and natural dipoles and can disrupt structures that are associated therewith.

[0058] In the configuration of FIGS. 3A and 3B, the direction of movement of polarized objects is towards the higher density electric field lines, i.e., towards the cytoplasm bridge 22 between sub-cells 14 and 16. It is known in the art that all intracellular organelles, for example, nuclei 24 and 26 of sub-cells 14 and 16, respectively, are polarizable and, thus, such intracellular organelles are electrically forced in the direction of the bridge 22. Since the movement is always from lower density currents to the higher density currents, regardless of the field polarity, the forces applied by the alternating electric field to organelles, such as nuclei 24 and 26, are always in the direction of bridge 22. A comprehensive description of such forces and the resulting movement of macromolecules of intracellular organelles, a phenomenon referred to as "dielectrophoresis" is described extensively in literature, e.g., in C. L. Asbury & G. van den Engh, Biophys. J. 74, 1024-1030, 1998, the disclosure of which is hereby incorporated by reference in its entirety.

[0059] The movement of the organelles 24 and 26 towards the bridge 22 disrupts the structure of the dividing cell and, eventually, the pressure of the converging organelles on bridge membrane 22 results in the breakage of cell membrane 11 at the vicinity of the bridge 22, as shown schematically in FIG. 3C. The ability to break membrane 11 at bridge 22 and to otherwise disrupt the cell structure and organization can be enhanced by applying a pulsating AC electric field, rather than a steady AC field. When a pulsating field is applied, the forces acting on organelles 24 and 26 have a "hammering" effect, whereby pulsed forces beat on the intracellular organelles towards the neck 22 from both sub-cells 14 and 16, thereby increasing the probability of breaking cell membrane 11 in the vicinity of neck 22.

[0060] A very important element, which is very susceptible to the special fields that develop within the dividing cells is the microtubule spindle that plays a major role in the division process. In FIG. 4, a dividing cell 10 is illustrated, at an earlier stage as compared to FIGS. 3A and 3B, under the influence of external TC fields (e.g., alternating fields in the frequency range of about 100 KHz to about 300 KHz), generally indicated as lines 100, with a corresponding spindle mechanism generally indicated at 120. The lines 120 are microtubules that are known to have a very strong dipole moment. This strong polarization makes the tubules susceptible to electric fields. Their positive charges are located at the two centrioles while two sets of negative poles are at the center of the dividing cell and the other pair is at the points of attachment of the microtubules to the cell membrane, generally indicated at 130. This structure forms sets of double dipoles and therefore they are susceptible to fields of different directions. It will be understood that the effect of the TC fields on the dipoles does not depend on the formation of the bridge (neck) and thus, the dipoles are influenced by the TC fields prior to the formation of the bridge (neck).

[0061] Since the present apparatus (as will be described in greater detail below) utilizes insulated electrodes, the above-mentioned negative effects obtained when conductive electrodes are used, i.e., ion concentration changes in the cells and the formation of harmful agents by electrolysis, do not occur when the present apparatus is used. This is because, in general, no actual transfer of charges takes place between the electrodes and the medium and there is no charge flow in the medium where the currents are capacitive, i.e., are expressed only as rotation of charges, etc.

[0062] Turning now to FIG. 5, the TC fields described above that have been found to advantageously destroy tumor cells are generated by an electronic apparatus 200. FIG. 5 is a simple schematic diagram of the electronic apparatus 200 illustrating the major components thereof. The electronic apparatus 200 generates the desired electric signals (TC signals) in the shape of waveforms or trains of pulses. The apparatus 200 includes a generator 210 and a pair of conductive leads 220 that are attached at one end thereof to the generator 210. The opposite ends of the leads 220 are connected to insulated conductors 230 that are activated by the electric signals (e.g., waveforns). The insulated conductors 230 are also referred to hereinafter as isolects 230. Optionally and according to another exemplary embodiment, the apparatus 200 includes a temperature sensor 240 and a control box 250 which are both added to control the amplitude of the electric field generated so as not to generate excessive heating in the area that is treated.

[0063] The generator 210 generates an alternating voltage waveform at frequencies in the range from about 50 KHz to about 500 KHz (preferably from about 100 KHz to about 300 KHz) (i.e., the TC fields). The required voltages are such that the electric field intensity in the tissue to be treated is in the range of about 0.1 V/cm to about 10 V/cm. To achieve this field, the actual potential difference between the two conductors in the isolects 230 is determined by the relative impedances of the system components, as described below.

[0064] When the control box 250 is included, it controls the output of the generator 210 so that it will remain constant at the value preset by the user or the control box 250 sets the output at the maximal value that does not cause excessive heating, or the control box 250 issues a warning or the like when the temperature (sensed by temperature sensor 240) exceeds a preset limit.

[0065] The leads 220 are standard isolated conductors with a flexible metal shield, preferably grounded so that it prevents the spread of the electric field generated by the leads 220. The isolects 230 have specific shapes and positioning so as to generate an electric field of the desired configuration, direction and intensity at the target volume and only there so as to focus the treatment.

[0066] The specifications of the apparatus 200 as a whole and its individual components are largely influenced by the fact that at the frequency of the present TC fields (50 KHz-500 KHz), living systems behave according to their "Ohmic", rather than their dielectric properties. The only elements in the apparatus 200 that behave differently are the insulators of the isolects 230 (see FIGS. 7-9). The isolects 200 consist of a conductor in contact with a dielectric that is in contact with the conductive tissue thus forming a capacitor.

[0067] The details of the construction of the isolects 230 is based on their electric behavior that can be understood from their simplified electric circuit when in contact with tissue as generally illustrated in FIG. 6. In the illustrated arrangement, the electric field distribution between the different components is determined by their relative electric impedance, i.e., the fraction of the field on each component is given by the value of its impedance divided by the total circuit impedance. For example, the potential drop on element [Delta]VA=A/(A+B+C+D+E). Thus, for DC or low frequency AC, practically all the potential drop is on the capacitor (that acts as an insulator). For relatively very high frequencies, the capacitor practically is a short and therefore, practically all the field is distributed in the tissues. At the frequencies of the present TC fields (e.g., 50 KHz to 500 KHz), which are intermediate frequencies, the impedance of the capacitance of the capacitors is dominant and determines the field distribution. Therefore, in order to increase the effective voltage drop across the tissues (field intensity), the impedance of the capacitors is to be decreased (i.e., increase their capacitance). This can be achieved by increasing the effective area of the "plates" of the capacitor, decrease the thickness of the dielectric or use a dielectric with high dielectric constant. There a number of different materials that are suitable for use in the intended application and have high dielectric constants. For example, some materials include: lithium nibate (LiNbO3), which is a ferroelectric crystal and has a number of applications in optical, pyroelectric and piezoelectric devices; yittrium iron garnet (YIG) is a ferrimagnetic crystal and magneto-optical devices, e.g., optical isolator can be realized from this material; barium titanate (BaTiO3) is a ferromagnetic crystal with a large electro-optic effect; potassium tantalate (kTaO3) which is a dielectric crystal (ferroelectric at low temperature) and has very low microwave loss and tunability of dielectric constant at low temperature; and lithium tantalate (LiTaO3) which is a ferroelectric crystal with similar properties as lithium niobate and has utility in electro-optical, pyroelectric and piezoelectric devices. It will be understood that the aforementioned exemplary materials can be used in combination with the present device where it is desired to use a material having a high dielectric constant.

[0068] In order to optimize the field distribution, the isolects 230 are configured differently depending upon the application in which the isolects 230 are to be used. There are two principle modes for applying the present electric fields (TC fields). First, the TC fields can be applied by external isolects and second, the TC fields can be applied by internal isolects.

[0069] Electric fields (TC fields) that are applied by external isolects can be of a local type or widely distributed type. The first type includes, for example, the treatment of skin tumors and treatment of lesions close to the skin surface. FIG. 7 illustrates an exemplary embodiment where the isolects 230 are incorporated in a skin patch 300. The skin patch 300 can be a self-adhesive flexible patch with one or more pairs of isolects 230. The patch 300 includes internal insulation 310 (formed of a dielectric material) and the external insulation 260 and is applied to skin surface 301 that contains a tumor 303 either on the skin surface 301 or slightly below the skin surface 301. Tissue is generally indicated at 305. To prevent the potential drop across the internal insulation 310 to dominate the system, the internal insulation 310 must have a relatively high capacity. This can be achieved by a large surface area; however, this may not be desired as it will result in the spread of the field over a large area (e.g., an area larger than required to treat the tumor). Alternatively, the internal insulation 310 can be made very thin and/or the internal insulation 310 can be of a high dielectric constant. As the skin resistance between the electrodes (labeled as A and E in FIG. 6) is normally significantly higher than that of the tissue (labeled as C in FIG. 6) underneath it (1-10 K[Omega] vs. 0.1-1 K[Omega]), most of the potential drop beyond the isolects occurs there. To accommodate for these impedances (Z), the characteristics of the internal insulation 310 (labeled as B and D in FIG. 6) should be such that they have impedance preferably under 100 K[Omega] at the frequencies of the present TC fields (e.g., 50 KHz to 500 KHz). For example, if it is desired for the impedance to be about 10K Ohms, such that over 1% of the applied voltage falls on the tissues, for isolects with a surface area of 10 mm<2>, at frequencies of 200 KHz, the capacity should be on the order of 10<-10 >F, which means that using standard insulations with a dielectric constant of 2-3, the thickness of the insulating layer 310 should be about 50-100 microns. An internal field 10 times stronger would be obtained with insulators with a dielectric constant of about 20-50. [0070] Since the insulating layer can be very vulnerable, etc., the insulation can be replaced by very high dielectric constant insulating materials, such as titanium dioxide (e.g., rutil), the dielectric constant can reach values of about 200. One must also consider another factor that effects the effective capacity of the isolects 230, namely the presence of air between the isolects 230 and the skin. Such presence, which is not easy to prevent, introduces a layer of an insulator with a dielectric constant of 1.0, a factor that significantly lowers the effective capacity of the isolects 230 and neutralizes the advantages of the titanium dioxide (routil), etc. To overcome this problem, the isolects 230 can be shaped so as to conform with the body structure and/or (2) an intervening filler 270 (as illustrated in FIG. 1C), such as a gel, that has high conductance and a dielectric constant, can be added to the structure. The shaping can be pre-structured (see FIG. 10A) or the system can be made sufficiently flexible so that shaping of the isolects 230 is readily achievable. The gel can be contained in place by having an elevated rim as depicted in FIG. 10C. The gel can be made of gelatins, agar, etc., and can have salts dissolved in it to increase its conductivity. FIGS. 10A-10C illustrate various exemplary configurations for the isolects 230. The exact thickness of the gel is not important so long as it is of sufficient thickness that the gel layer does not dry out during the treatment. In one exemplary embodiment, the thickness of the gel is about 0.5 mm to about 2 mm.

[0071] In order to achieve the desirable features of the isolects 230, the dielectric coating of each should be very thin, for example from between 1-50 microns. Since the coating is so thin, the isolects 230 can easily be damaged mechanically. This problem can be overcome by adding a protective feature to the isolect's structure so as to provide desired protection from such damage. For example, the isolect 230 can be coated, for example, with a relatively loose net 340 that prevents access to the surface but has only a minor effect on the effective surface area of the isolect 230 (i.e., the capacity of the isolects 230 (cross section presented in FIG. 12B). The loose net 340 does not effect the capacity and ensures good contact with the skin, etc. The loose net 340 can be formed of a number of different materials; however, in one exemplary embodiment, the net 340 is formed of nylon, polyester, cotton, etc. Alternatively, a very thin conductive coating 350 can be applied to the dielectric portion (insulating layer) of the isolect 230. One exemplary conductive coating is formed of a metal and more particularly of gold. The thickness of the coating 350 depends upon the particular application and also on the type of material used to form the coating 350; however, when gold is used, the coating has a thickness from about 0.1 micron to about 0.1 mm. Furthermore, the rim illustrated in FIG. 10 can also provide some mechanical protection.

[0072] However, the capacity is not the only factor to be considered. The following two factors also influence how the isolects 230 are constructed. The dielectric strength of the internal insulating layer 310 and the dielectric losses that occur when it is subjected to the TC field, i.e., the amount of heat generated. The dielectric strength of the internal insulation 310 determines at what field intensity the insulation will be "shorted" and cease to act as an intact insulation. Typically, insulators, such as plastics, have dielectric strength values of about 100V per micron or more. As a high dielectric constant reduces the field within the internal insulator 310, a combination of a high dielectric constant and a high dielectric strength gives a significant advantage. This can be achieved by using a single material that has the desired properties or it can be achieved by a double layer with the correct parameters and thickness. In addition, to further decreasing the possibility that the insulating layer 310 will fail, all sharp edges of the insulating layer 310 should be eliminated as by rounding the corners, etc., as illustrated in FIG. 10D using conventional techniques.

[0073] FIGS. 8 and 9 illustrate a second type of treatment using the isolects 230, namely electric field generation by internal isolects 230. A body to which the isolects 230 are implanted is generally indicated at 311 and includes a skin surface 313 and a tumor 315. In this embodiment, the isolects 230 can have the shape of plates, wires or other shapes that can be inserted subcutaneously or a deeper location within the body 311 so as to generate an appropriate field at the target area (tumor 315).

[0074] It will also be appreciated that the mode of isolects application is not restricted to the above descriptions. In the case of tumors in internal organs, for example, liver, lung, etc., the distance between each member of the pair of isolects 230 can be large. The pairs can even by positioned opposite sides of a torso 410, as illustrated in FIG. 11. The arrangement of the isolects 230 in FIG. 11 is particularly useful for treating a tumor 415 associated with lung cancer. In this embodiment, the electric fields (TC fields) spread in a wide fraction of the body.

[0075] In order to avoid overheating of the treated tissues, a selection of materials and field parameters is needed. The isolects insulating material should have minimal dielectric losses at the frequency ranges to be used during the treatment process. This factor can be taken into consideration when choosing the particular frequencies for the treatment. The direct heating of the tissues will most likely be dominated by the heating due to current flow (given by the I*R product).

[0076] The effectiveness of the treatment can be enhanced by an arrangement of isolects 230 that focuses the field at the desired target while leaving other sensitive areas in low field density (i.e., protected areas). The proper placement of the isolects 230 over the body can be maintained using any number of different techniques, including using a suitable piece of clothing that keeps the isolects at the appropriate positions. FIG. 13 illustrates such an arrangement in which an area labeled as "P" represents a protected area. The lines of field force do not penetrate this protected area and the field there is much smaller than near the isolects 230 where target areas can be located and treated well. In contrast, the field intensity near the four poles is very high.

[0077] The following Example serves to illustrate an exemplary application of the present apparatus and application of TC fields; however, this Example is not limiting and does not limit the scope of the present invention in any way.

EXAMPLE

[0078] To demonstrate the effectiveness of electric fields having the above described properties (e.g., frequencies between 50 KHz and 500 KHz) in destroying tumor cells, the electric fields were applied to treat mice with malignant melanoma tumors. Two pairs of isolects 230 were positioned over a corresponding pair of malignant melanomas. Only one pair was connected to the generator 210 and 200 KHz alternating electric fields (TC fields) were applied to the tumor for a period of 6 days. One melanoma tumor was not treated so as to permit a comparison between the treated tumor and the non-treated tumor. After treatment for 6 days, the pigmented melanoma tumor remained clearly visible in the non-treated side of the mouse, while, in contrast, no tumor is seen on the treated side of the mouse. The only areas that were visible discernable on the skin were the marks that represented the points of insertion of the isolects 230. The fact that the tumor was eliminated at the treated side was further demonstrated by cutting and inversing the skin so that its inside face was exposed. Such a procedure indicated that the tumor has been substantially, if not completely, eliminated on the treated side of the mouse. The success of the treatment was also further verified by pathhistological examination.

[0079] The present inventor has thus uncovered that electric fields having particular properties can be used to destroy dividing cells or tumors when the electric fields are applied to using an electronic device. More specifically, these electric fields fall into a special intermediate category, namely bio-effective fields that have no meaningful stimulatory and no thermal effects, and therefore overcome the disadvantages that were associated with the application of conventional electric fields to a body. It will also be appreciated that the present apparatus can further include a device for rotating the TC field relative to the living tissue. For example and according to one embodiment, the alternating electric potential applies to the tissue being treated is rotated relative to the tissue using conventional devices, such as a mechanical device that upon activation, rotates various components of the present system.

[0080] While the invention has been particularly shown and described with reference to preferred embodiments thereof, it will be understood by those skilled in the art that various changes in form and details can be made without departing from the spirit and scope of the invention.



OPTIMIZING CHARACTERISTICS OF AN ELECTRIC FIELD TO INCREASE THE FIELD'S EFFECT ON PROLIFERATING CELLS
WO2007039799

CROSS REFERENCE TO RELATED APPLICATIONS

[0001] This application claims the benefit of US provisional application No. 60/723,560, filed October 3, 2005, which is incorporated herein by reference.

 [0004] BACKGROUND

 [0002] US Patent Nos. 6,868,289 and 7,016,725, each of which is incorporated herein by reference, disclose methods and apparatuses for treating tumors using AC electric fields in the range of 1-lOV/cm, at frequencies between 50 kHz and 500 kHz, and that the effectiveness of those fields is increased when more than one field direction is used (e.g., when the field is switched between two or three directions that are oriented about 90[deg.] apart from each other). Those alternating electric fields are referred to herein as Tumor Treating Fields, or TTFields.

 [0006] SUMMARY OF THE INVENTION

[0003] The effectiveness of TTFields in stopping the proliferation of and destroying living cells that proliferate rapidly (e.g., cancer cells) can be enhanced by choosing the rate at which the field is switched between the various directions.

[0008] BRIEF DESCRIPTION OF THE DRAWINGS

[0004] FIG. 1 is a schematic representation of two pairs of insulated electrodes that alternately apply TTFields to target region.

[0005] FIG. 2 shows examples of waveforms that are suitable for switching the fields that are applied between the electrodes on and off. [0011]

[0006] FIG. 3 depicts the changes in growth rate of a glioma cell culture treated with alternating electric fields switched between two directions at different switching rates. [0012]

 [0007] FIG. 4 is a graph of tumor volume vs. time for fields that were switched between two directions at different switching rates. [0013]

 [0008] FIG. 5 is a block diagram of a system for generating the TTFields in different directions. [0014]

[0009] FIG. 6 illustrates a preferred waveform for driving the electrodes.

[0015] DETAILED DESCRIPTION OF THE PREFERRED EMBODIMENTS

[0016] [0010] Since electric fields sum as vectors, two or more fields with different directions cannot be applied simultaneously at a given location. Instead, the different field directions must be applied sequentially, by applying a first field in one direction for a certain period of time tl, and then applying a second field in another direction for a period t2. During t2 the first field is not active and during tl the second field is inactive. When this cycle is repeated over and over, the result is that sequential field pulses of changing directions are applied in a cyclic manner. [0017]

 [0011] The inventor has determined that that the effectiveness of TTFields for destroying proliferating cells in tissue culture as well as malignant tumors in experimental animals is dependent on the rate of switching between the various directions of which the fields are applied. In a set of experiments, TTFields were applied to the tissue cultures or experimental animals by means of two pairs 11, 12 of insulated electrodes that alternately apply TTFields 15, 16 normal to each other, shown schematically in FIG. 1. The waveforms applied were 100 - 200 kHz alternating fields modulated to stay On and Off for half cycle durations ranging from 10 ms to 1000 ms. [0018]

 [0012] FIG. 2 shows two examples of waveforms that are suitable for modulating the AC signals that were applied between the electrodes: a first pair A of 50% duty cycle waveforms 21, 22 time shifted with respect to each other such that one is on when the other is off, and a second pair B of 50% duty cycle waveforms 23, 24 that is similar to the first set of waveforms, but switched at twice the frequency. Note that each set of waveforms consists of two 50% duty cycle square waves that are shifted in phase by one half cycle with respect to each other. [0019]

 [0013] FIG. 3 depicts the results of one set of experiments by plotting the changes in growth rate of a glioma cell culture (F98) treated with 200 kHz alternating electric field waveforms switched between two directions at different switching rates. Experimental data was also obtained for the case where the field was applied continuously in one direction only. (Note that the control baseline of 100% is for the case when no field was applied.) The data shows that some switching frequencies are more effective than others for reducing the proliferation of glioma tumor cells in culture. The highest effectiveness was found when the half cycle duration was 50 ms (with a similar Off duration) waveform. However, the effectiveness differences in the range of 250 ms to 50 ms were small. Within this range, the cell proliferation rate is reduced to about half of what it is when either a continuous field was applied, or when a 1000 ms half cycle duration waveform is used.

[0014] FIG. 4 is a graph of tumor volume vs. time for a set of experiment, and it shows the effect of 200 kHz TTFields on Vx2 carcinoma growth in vivo, when the fields were applied in two different directions at different switching rates. In the experiment, tumors from the carcinoma line Vx2 were inoculated under the kidney capsule in rabbits. As expected, the tumor size increases with time during the 4 week follow up period in the control, non-treated, group of rabbits (curve 31). The growth rate was slower when the fields were applied in different directions with a switch in direction every 1000 ms (curve 32); and the growth rate was even slower when the field's direction was switched every 250 ms (curve 33) or every 50 ms (curve 34). Thus, we see that the effectiveness of the treatment is significantly higher for waveform having half duty cycle durations of between 50 and 250 ms, as compared with 1000 ms half cycles. [0020]

 [0015] Based on the above, the following approach is recommended for tumor treatment with TTFields: Treatment should be carried out with at least two field directions, such that each pair of electrodes is activated for On periods of a duration that is preferably between 50 and 250 ms, interposed by Off periods of a similar duration. The TTFields basic alternation frequency (which corresponds to the carrier frequency in an amplitude modulation system) should preferably be in the range of 50 - 500 kHz, and more preferably in the range of 100- 200 kHz. The field intensity is preferably at least 1 V/cm, and more preferably between 1 and lO V/cm. [0021]

[0016] FIG. 5 is a block diagram of a system for generating the TTFields in different directions by driving a first electrode pair 11 and a second electrode pair 12 that are positioned about a target. An AC signal generator 41 generates a sinusoid, preferably between 100 - 200 kHz, and a square wave generator 43 generates a square wave that resembles the wave 21 shown in FIG. 2. Preferably the output of the square wave is high between 50 and 250 ms and low for an equal amount of time in every cycle, although duty cycles that deviate from 50% may also be used. An inverter 44 inverts this square wave, thereby providing the second wave 22 shown in FIG 2. The amplifiers 42 amplify the sinusoid when their control input is in one state, and shut off when their control input is in the other state. Since the control input for the two amplifiers are out of phase, the amplifiers will alternately drive either the first electrode pair 11 or the second electrode pair 12 to generate either the first field 15 or the second field 16 in the target region. Of course, persons skilled in the relevant arts will recognize that a wide variety of other circuits may be used to alternately drive either the first or second pair of electrodes. For example, a suitable switching circuit may provided to route the output of a single amplifier to either the first or second pair of electrodes in an alternating manner, with the switching controlled by a single square wave. [0022]

 [0017] As explained in patent 6,868,289, insulated electrodes are preferred for in vivo applications. Preferably, care should be taken to avoid overheating of the tissues by the capacitive currents and dielectric losses in the insulated electrodes. It is also preferable to avoid the generation of spikes during the switching process. This can be done, for example, by carrying out the switching itself while the AC signal is turned off and immediately afterwards turning the signal on. The rate of turning the field on t3 and off t4 should preferably be done at a rate that is slow relative to the reciprocal of the field frequency (i.e., the period t5), and fast relative to the half cycle duration tl, t2, as seen in FIG. 6 for waveform 61. An example of a suitable turn-on rate t3 and turn-on rate t4 is to reach 90% of the steady-state values within about 1 - 5 ms. Circuitry for implementing this slow turn on may be implemented using a variety of approaches that will be apparent to persons skilled in the relevant arts, such as using a slow-rising control signal to drive an accurate AM modulator, or by driving a gain control of the amplifier with a square wave and interposing a low pass filter in series with the gain control input. [0023]

 [0018] While examples of the invention are described above in the context of F98 glioma and Vx2 carcinoma, the switching rate may be optimized for other cancers or other rapidly proliferating cells by running experiments to determine the best switching rate, and subsequently using that switching rate to treat the problem in future cases.



Treating a tumor or the like with electric fields at different orientations
US2005209642

REFERENCE TO RELATED APPLICATIONS

 [0001] This application claims the benefit of U.S. provisional application 60/565,065, filed Apr. 23, 2004, which is hereby incorporated by reference in its entirety. This application is also a continuation-in-part of U.S. patent application Ser. No. 11/074,318, filed Mar. 7, 2005, which is a continuation-in-part of U.S. patent application Ser. No. 10/315,576, filed Dec. 10, 2002, which is a continuation-in-part of U.S. patent application Ser. No. 10/285,313, filed Oct. 31, 2002, which is a continuation-in-part application of U.S. patent application Ser. No. 10/263,329, filed Oct. 2, 2002, each of which is hereby incorporated by reference in its entirety. This application is also a continuation-in-part of U.S. patent application Ser. No. 10/402,327, filed Mar. 28, 2003, which is a continuation-in-part of U.S. patent application Ser. No. 10/204,334, filed Oct. 16, 2002, which is the U.S. national phase of PCT/IB01/00202, filed Feb. 16, 2001, which claims the benefit of U.S. provisional application 60/183,295, filed Feb. 17, 2000, each of which is hereby incorporated by reference in its entirety. This application is also a continuation-in-part of U.S. patent application Ser. No. 10/288,562, filed Nov. 5, 2002, which claims the benefit of U.S. provisional application 60/338,632, filed Nov. 6, 2001, each of which is hereby incorporated by reference in its entirety.

 TECHNICAL FIELD [0002] This invention concerns selective destruction of rapidly dividing cells in a localized area, and more particularly, selectively destroying dividing cells without destroying nearby non-dividing cells by applying an electric field with specific characteristics to a target area in a living patient.

BACKGROUND

0003] All living organisms proliferate by cell division, including cell cultures, microorganisms (such as bacteria, mycoplasma, yeast, protozoa, and other single-celled organisms), fungi, algae, plant cells, etc. Dividing cells of organisms can be destroyed, or their proliferation controlled, by methods that are based on the sensitivity of the dividing cells of these organisms to certain agents. For example, certain antibiotics stop the multiplication process of bacteria.

 [0004] The process of eukaryotic cell division is called "mitosis", which involves nice distinct phases (see Darnell et al., Molecular Cell Biology, New York: Scientific American Books, 1986, p. 149). During interphase, the cell replicates chromosomal DNA, which begins condensing in early prophase. At this point, centrioles (each cell contains 2) begin moving towards opposite poles of the cell. In middle prophase, each chromosome is composed of duplicate chromatids. Microtubular spindles radiate from regions adjacent to the centrioles, which are closer to their poles. By late prophase, the centrioles have reached the poles, and some spindle fibers extend to the center of the cell, while others extend from the poles to the chromatids. The cells then move into metaphase, when the chromosomes move toward the equator of the cell and align in the equatorial plane. Next is early anaphase, during which time daughter chromatids separate from each other at the equator by moving along the spindle fibers toward a centromere at opposite poles. The cell begins to elongate along the axis of the pole; the pole-to-pole spindles also elongate. Late anaphase occurs when the daughter chromosomes (as they are now called) each reach their respective opposite poles. At this point, cytokinesis begins as the cleavage furrow begins to form at the equator of the cell. In other words, late anaphase is the point at which pinching the cell membrane begins. During telophase, cytokinesis is nearly complete and spindles disappear. Only a relatively narrow membrane connection joins the two cytoplasms. Finally, the membranes separate fully, cytokinesis is complete and the cell returns to interphase.

[0005] In meiosis, the cell undergoes a second division, involving separation of sister chromosomes to opposite poles of the cell along spindle fibers, followed by formation of a cleavage furrow and cell division. However, this division is not preceded by chromosome replication, yielding a haploid germ cell. Bacteria also divide by chromosome replication, followed by cell separation. However, since the daughter chromosomes separate by attachment to membrane components; there is no visible apparatus that contributes to cell division as in eukaryotic cells.

 [0006] It is well known that tumors, particularly malignant or cancerous tumors, grow uncontrollably compared to normal tissue. Such expedited growth enables tumors to occupy an ever-increasing space and to damage or destroy tissue adjacent thereto. Furthermore, certain cancers are characterized by an ability to transmit cancerous "seeds", including single cells or small cell clusters (metastases), to new locations where the metastatic cancer cells grow into additional tumors.

 [0007] The rapid growth of tumors, in general, and malignant tumors in particular, as described above, is the result of relatively frequent cell division or multiplication of these cells compared to normal tissue cells. The distinguishably frequent cell division of cancer cells is the basis for the effectiveness of existing cancer treatments, e.g., irradiation therapy and the use of various chemo-therapeutic agents. Such treatments are based on the fact that cells undergoing division are more sensitive to radiation and chemotherapeutic agents than non-dividing cells. Because tumors cells divide much more frequently than normal cells, it is possible, to a certain extent, to selectively damage or destroy tumor cells by radiation therapy and/or chemotherapy. The actual sensitivity of cells to radiation, therapeutic agents, etc., is also dependent on specific characteristics of different types of normal or malignant cell types. Thus, unfortunately, the sensitivity of tumor cells is not sufficiently higher than that many types of normal tissues. This diminishes the ability to distinguish between tumor cells and normal cells, and therefore, existing cancer treatments typically cause significant damage to normal tissues, thus limiting the therapeutic effectiveness of such treatments. Furthermore, the inevitable damage to other tissue renders treatments very traumatic to the patients and, often, patients are unable to recover from a seemingly successful treatment. Also, certain types of tumors are not sensitive at all to existing methods of treatment.

 [0008] There are also other methods for destroying cells that do not rely on radiation therapy or chemotherapy alone. For example, ultrasonic and electrical methods for destroying tumor cells can be used in addition to or instead of conventional treatments. Electric fields and currents have been used for medical purposes for many years. The most common is the generation of electric currents in a human or animal body by application of an electric field by means of a pair of conductive electrodes between which a potential difference is maintained. These electric currents are used either to exert their specific effects, i.e., to stimulate excitable tissue, or to generate heat by flowing in the body since it acts as a resistor. Examples of the first type of application include the following: cardiac defibrillators, peripheral nerve and muscle stimulators, brain stimulators, etc. Currents are used for heating, for example, in devices for tumor ablation, ablation of malfunctioning cardiac or brain tissue, cauterization, relaxation of muscle rheumatic pain and other pain, etc.

[0009] Another use of electric fields for medical purposes involves the utilization of high frequency oscillating fields transmitted from a source that emits an electric wave, such as an RF wave or a microwave source that is directed at the part of the body that is of interest (i.e., target). In these instances, there is no electric energy conduction between the source and the body; but rather, the energy is transmitted to the body by radiation or induction. More specifically, the electric energy generated by the source reaches the vicinity of the body via a conductor and is transmitted from it through air or some other electric insulating material to the human body.

 [0010] In a conventional electrical method, electrical current is delivered to a region of the target tissue using electrodes that are placed in contact with the body of the patient. The applied electrical current destroys substantially all cells in the vicinity of the target tissue. Thus, this type of electrical method does not discriminate between different types of cells within the target tissue and results in the destruction of both tumor cells and normal cells.

[0011] Electric fields that can be used in medical applications can thus be separated generally into two different modes. In the first mode, the electric fields are applied to the body or tissues by means of conducting electrodes. These electric fields can be separated into two types, namely (1) steady fields or fields that change at relatively slow rates, and alternating fields of low frequencies that induce corresponding electric currents in the body or tissues, and (2) high frequency alternating fields (above 1 MHz) applied to the body by means of the conducting electrodes. In the second mode, the electric fields are high frequency alternating fields applied to the body by means of insulated electrodes.

 [0012] The first type of electric field is used, for example, to stimulate nerves and muscles, pace the heart, etc. In fact, such fields are used in nature to propagate signals in nerve and muscle fibers, central nervous system (CNS), heart, etc. The recording of such natural fields is the basis for the ECG, EEG, EMG, ERG, etc. The field strength in these applications, assuming a medium of homogenous electric properties, is simply the voltage applied to the stimulating/recording electrodes divided by the distance between them. These currents can be calculated by Ohm's law and can have dangerous stimulatory effects on the heart and CNS and can result in potentially harmful ion concentration changes. Also, if the currents are strong enough, they can cause excessive heating in the tissues. This heating can be calculated by the power dissipated in the tissue (the product of the voltage and the current).

[0013] When such electric fields and currents are alternating, their stimulatory power, on nerve, muscle, etc., is an inverse function of the frequency. At frequencies above 1-10 KHz, the stimulation power of the fields approaches zero. This limitation is due to the fact that excitation induced by electric stimulation is normally mediated by membrane potential changes, the rate of which is limited by the RC properties (time constants on the order of 1 ms) of the membrane.

 [0014] Regardless of the frequency, when such current inducing fields are applied, they are associated with harmful side effects caused by currents. For example, one negative effect is the changes in ionic concentration in the various "compartments" within the system, and the harmful products of the electrolysis taking place at the electrodes, or the medium in which the tissues are imbedded. The changes in ion concentrations occur whenever the system includes two or more compartments between which the organism maintains ion concentration differences. For example, for most tissues, [Ca<++> ] in the extracellular fluid is about 2*10<-3 > M, while in the cytoplasm of typical cells its concentration can be as low as 10<-7 > M. A current induced in such a system by a pair of electrodes, flows in part from the extracellular fluid into the cells and out again into the extracellular medium. About 2% of the current flowing into the cells is carried by the Ca<++> ions. In contrast, because the concentration of intracellular Ca<++> is much smaller, only a negligible fraction of the currents that exits the cells is carried by these ions. Thus, Ca<++> ions accumulate in the cells such that their concentrations in the cells increases, while the concentration in the extracellular compartment may decrease. These effects are observed for both DC and alternating currents (AC). The rate of accumulation of the ions depends on the current intensity ion mobilities, membrane ion conductance, etc. An increase in [Ca<++> ] is harmful to most cells and if sufficiently high will lead to the destruction of the cells. Similar considerations apply to other ions. In view of the above observations, long term current application to living organisms or tissues can result in significant damage. Another major problem that is associated with such electric fields, is due to the electrolysis process that takes place at the electrode surfaces. Here charges are transferred between the metal (electrons) and the electrolytic solution (ions) such that charged active radicals are formed. These can cause significant damage to organic molecules, especially macromolecules and thus damage the living cells and tissues.

 [0015] In contrast, when high frequency electric fields, above 1 MHz and usually in practice in the range of GHz, are induced in tissues by means of insulated electrodes, the situation is quite different. These type of fields generate only capacitive or displacement currents, rather than the conventional charge conducting currents. Under the effect of this type of field, living tissues behave mostly according to their dielectric properties rather than their electric conductive properties. Therefore, the dominant field effect is that due to dielectric losses and heating. Thus, it is widely accepted that in practice, the meaningful effects of such fields on living organisms, are only those due to their heating effects, i.e., due to dielectric losses.

 [0016] In U.S. Pat. No. 6,043,066 ('066) to Mangano, a method and device are presented which enable discrete objects having a conducting inner core, surrounded by a dielectric membrane to be selectively inactivated by electric fields via irreversible breakdown of their dielectric membrane. One potential application for this is in the selection and purging of certain biological cells in a suspension. According to the '066 patent, an electric field is applied for targeting selected cells to cause breakdown of the dielectric membranes of these tumor cells, while purportedly not adversely affecting other desired subpopulations of cells. The cells are selected on the basis of intrinsic or induced differences in a characteristic electroporation threshold. The differences in this threshold can depend upon a number of parameters, including the difference in cell size.

 [0017] The method of the '066 patent is therefore based on the assumption that the electroporation threshold of tumor cells is sufficiently distinguishable from that of normal cells because of differences in cell size and differences in the dielectric properties of the cell membranes. Based upon this assumption, the larger size of many types of tumor cells makes these cells more susceptible to electroporation and thus, it may be possible to selectively damage only the larger tumor cell membranes by applying an appropriate electric field. One disadvantage of this method is that the ability to discriminate is highly dependent upon cell type, for example, the size difference between normal cells and tumor cells is significant only in certain types of cells. Another drawback of this method is that the voltages which are applied can damage some of the normal cells and may not damage all of the tumor cells because the differences in size and membrane dielectric properties are largely statistical and the actual cell geometries and dielectric properties can vary significantly.

 [0018] What is needed in the art and has heretofore not been available is an apparatus for destroying dividing cells, wherein the apparatus better discriminates between dividing cells, including single-celled organisms, and non-dividing cells and is capable of selectively destroying the dividing cells or organisms with substantially no effect on the non-dividing cells or organisms.

SUMMARY

 [0019] While they are dividing, cells are vulnerable to damage by AC electric fields that have specific frequency and field strength characteristics. The selective destruction of rapidly dividing cells can therefore be accomplished by imposing an AC electric field in a target region for extended periods of time. Some of the cells that divide while the field is applied will be damaged, but the cells that do not divide will not be harmed. This selectively damages rapidly dividing cells like tumor cells, but does not harm normal cells that are not dividing. Since the vulnerability of the dividing cells is strongly related to the alignment between the long axis of the dividing cells and the lines of force of the electric field, improved results are obtained by sequentially imposing the field in different directions.

[0020] A major use of the present apparatus is in the treatment of tumors by selective destruction of tumor cells with substantially no effect on normal tissue cells, and thus, the exemplary apparatus is described below in the context of selective destruction of tumor cells. It should be appreciated however, that for purpose of the following description, the term "cell" may also refer to a single-celled organism (eubacteria, bacteria, yeast, protozoa), multi-celled organisms (fungi, algae, mold), and plants as or parts thereof that are not normally classified as "cells". The exemplary apparatus enables selective destruction of cells undergoing division in a way that is more effective and more accurate (e.g., more adaptable to be aimed at specific targets) than existing methods. Further, the present apparatus causes minimal damage, if any, to normal tissue and, thus, reduces or eliminates many side-effects associated with existing selective destruction methods, such as radiation therapy and chemotherapy. The selective destruction of dividing cells using the present apparatus does not depend on the sensitivity of the cells to chemical agents or radiation. Instead, the selective destruction of dividing cells is based on distinguishable geometrical characteristics of cells undergoing division, in comparison to non-dividing cells, regardless of the cell geometry of the type of cells being treated.

 [0021] According to one exemplary embodiment, cell geometry-dependent selective destruction of living tissue is performed by inducing a non-homogenous electric field in the cells using an electronic apparatus.

 [0022] It has been observed by the present inventor that, while different cells in their non-dividing state may have different shapes, e.g., spherical, ellipsoidal, cylindrical, "pancake-like", etc., the division process of practically all cells is characterized by development of a "cleavage furrow" in late anaphase and telophase. This cleavage furrow is a slow constriction of the cell membrane (between the two sets of daughter chromosomes) which appears microscopically as a growing cleft (e.g., a groove or notch) that gradually separates the cell into two new cells. During the division process, there is a transient period (telophase) during which the cell structure is basically that of two sub-cells interconnected by a narrow "bridge" formed of the cell material. The division process is completed when the "bridge" between the two sub-cells is broken. The selective destruction of tumor cells using the present electronic apparatus utilizes this unique geometrical feature of dividing cells.

 [0023] When a cell or a group of cells are under natural conditions or environment, i.e., part of a living tissue, they are disposed surrounded by a conductive environment consisting mostly of an electrolytic inter-cellular fluid and other cells that are composed mostly of an electrolytic intra-cellular liquid. When an electric field is induced in the living tissue, by applying an electric potential across the tissue, an electric field is formed in the tissue and the specific distribution and configuration of the electric field lines defines the direction of charge displacement, or paths of electric currents in the tissue, if currents are in fact induced in the tissue. The distribution and configuration of the electric field is dependent on various parameters of the tissue, including the geometry and the electric properties of the different tissue components, and the relative conductivities, capacities and dielectric constants (that may be frequency dependent) of the tissue components.

 [0024] The electric current flow pattern for cells undergoing division is very different and unique as compared to non-dividing cells. Such cells including first and second sub-cells, namely an "original" cell and a newly formed cell, that are connected by a cytoplasm "bridge" or "neck". The currents penetrate the first sub-cell through part of the membrane ("the current source pole"); however, they do not exit the first sub-cell through a portion of its membrane closer to the opposite pole ("the current sink pole"). Instead, the lines of current flow converge at the neck or cytoplasm bridge, whereby the density of the current flow lines is greatly increased. A corresponding, "mirror image", process that takes place in the second sub-cell, whereby the current flow lines diverge to a lower density configuration as they depart from the bridge, and finally exit the second sub-cell from a part of its membrane closes to the current sink.

 [0025] When a polarizable object is placed in a non-uniform converging or diverging field, electric forces act on it and pull it towards the higher density electric field lines. In the case of dividing cell, electric forces are exerted in the direction of the cytoplasm bridge between the two cells. Since all intercellular organelles and macromolecules are polarizable, they are all force towards the bridge between the two cells. The field polarity is irrelevant to the direction of the force and, therefore, an alternating electric having specific properties can be used to produce substantially the same effect. It will also be appreciated that the concentrated and inhomogeneous electric field present in or near the bridge or neck portion in itself exerts strong forces on charges and natural dipoles and can lead to the disruption of structures associated with these members.

[0026] The movement of the cellular organelles towards the bridge disrupts the cell structure and results in increased pressure in the vicinity of the connecting bridge membrane. This pressure of the organelles on the bridge membrane is expected to break the bridge membrane and, thus, it is expected that the dividing cell will "explode" in response to this pressure. The ability to break the membrane and disrupt other cell structures can be enhanced by applying a pulsating alternating electric field that has a frequency from about 50 KHz to about 500 KHz. When this type of electric field is applied to the tissue, the forces exerted on the intercellular organelles have a "hammering" effect, whereby force pulses (or beats) are applied to the organelles numerous times per second, enhancing the movement of organelles of different sizes and masses towards the bridge (or neck) portion from both of the sub-cells, thereby increasing the probability of breaking the cell membrane at the bridge portion. The forces exerted on the intracellular organelles also affect the organelles themselves and may collapse or break the organelles.

 [0027] According to one exemplary embodiment, the apparatus for applying the electric field is an electronic apparatus that generates the desired electric signals in the shape of waveforms or trains of pulses. The electronic apparatus includes a generator that generates an alternating voltage waveform at frequencies in the range from about 50 KHz to about 500 KHz. The generator is operatively connected to conductive leads which are connected at their other ends to insulated conductors/electrodes (also referred to as isolects) that are activated by the generated waveforms. The insulated electrodes consist of a conductor in contact with a dielectric (insulating layer) that is in contact with the conductive tissue, thus forming a capacitor. The electric fields that are generated by the present apparatus can be applied in several different modes depending upon the precise treatment application.

 [0028] In one exemplary embodiment, the electric fields are applied by external insulated electrodes which are incorporated into an article of clothing and which are constructed so that the applied electric fields are of a local type that target a specific, localized area of tissue (e.g., a tumor). This embodiment is designed to treat tumors and lesions that are at or below the skin surface by wearing the article of clothing over the target tissue so that the electric fields generated by the insulated electrodes are directed at the tumors (lesions, etc.).

[0029] According to another embodiment, the apparatus is used in an internal type application in that the insulated electrodes are in the form of a probe or catheter etc., that enter the body through natural pathways, such as the urethra or vagina, or are configured to penetrate living tissue, until the insulated electrodes are positioned near the internal target area (e.g., an internal tumor).

 [0030] Thus, the present apparatus utilizes electric fields that fall into a special intermediate category relative to previous high and low frequency applications in that the present electric fields are bio-effective fields that have no meaningful stimulatory effects and no thermal effects. Advantageously, when non-dividing cells are subjected to these electric fields, there is no effect on the cells; however, the situation is much different when dividing cells are subjected to the present electric fields. Thus, the present electronic apparatus and the generated electric fields target dividing cells, such as tumors or the like, and do not target non-dividing cells that is found around in healthy tissue surrounding the target area. Furthermore, since the present apparatus utilizes insulated electrodes, the above mentioned negative effects, obtained when conductive electrodes are used, i.e., ion concentration changes in the cells and the formation of harmful agents by electrolysis, do not occur with the present apparatus. This is because, in general, no actual transfer of charges takes place between the electrodes and the medium, and there is no charge flow in the medium where the currents are capacitive.

 [0031] It should be appreciated that the present electronic apparatus can also be used in applications other than treatment of tumors in the living body. In fact, the selective destruction utilizing the present apparatus can be used in conjunction with any organism that proliferates by division, for example, tissue cultures, microorganisms, such as bacteria, mycoplasma, protozoa, fungi, algae, plant cells, etc. Such organisms divide by the formation of a groove or cleft as described above. As the groove or cleft deepens, a narrow bridge is formed between the two parts of the organism, similar to the bridge formed between the sub-cells of dividing animal cells. Since such organisms are covered by a membrane having a relatively low electric conductivity, similar to an animal cell membrane described above, the electric field lines in a dividing organism converge at the bridge connecting the two parts of the dividing organism. The converging field lines result in electric forces that displace polarizable elements and charges within the dividing organism.

 [0032] The above, and other objects, features and advantages of the present apparatus will become apparent from the following description read in conjunction with the accompanying drawings, in which like reference numerals designate the same elements.

 BRIEF DESCRIPTION OF THE DRAWINGS



[0033] FIGS. 1A-1E are simplified, schematic, cross-sectional, illustrations of various stages of a cell division process;

 [0034] FIGS. 2A and 2B are schematic illustrations of a non-dividing cell being subjected to an electric field;

 [0035] FIGS. 3A, 3B and 3C are schematic illustrations of a dividing cell being subjected to an electric field according to one exemplary embodiment, resulting in destruction of the cell (FIG. 3C) in accordance with one exemplary embodiment;


[0036] FIG. 4 is a schematic illustration of a dividing cell at one stage being subject to an electric field;

 [0037] FIG. 5 is a schematic block diagram of an apparatus for applying an electric according to one exemplary embodiment for selectively destroying cells;

 [0038] FIG. 6 is a simplified schematic diagram of an equivalent electric circuit of insulated electrodes of the apparatus of FIG. 5;

[0039] FIG. 7 is a cross-sectional illustration of a skin patch incorporating the apparatus of FIG. 5 and for placement on a skin surface for treating a tumor or the like;


[0040] FIG. 8 is a cross-sectional illustration of the insulated electrodes implanted within the body for treating a tumor or the like;

[0041] FIG. 9 is a cross-sectional illustration of the insulated electrodes implanted within the body for treating a tumor or the like;

 [0042] FIGS. 10A-10D are cross-sectional illustrations of various constructions of the insulated electrodes of the apparatus of FIG. 5;

 [0043] FIG. 11 is a front elevational view in partial cross-section of two insulated electrodes being arranged about a human torso for treatment of a tumor container within the body, e.g., a tumor associated with lung cancer;

 [0044] FIGS. 12A-12Care cross-sectional illustrations of various insulated electrodes with and without protective members formed as a part of the construction thereof;

 [0045] FIG. 13 is a schematic diagram of insulated electrodes that are arranged for focusing the electric field at a desired target while leaving other areas in low field density (i.e., protected areas);

 [0046] FIG. 14 is a cross-sectional view of insulated electrodes incorporated into a hat according to a first embodiment for placement on a head for treating an intra-cranial tumor or the like;

 [0047] FIG. 15 is a partial section of a hat according to an exemplary embodiment having a recessed section for receiving one or more insulated electrodes;

 [0048] FIG. 16 is a cross-sectional view of the hat of FIG. 15 placed on a head and illustrating a biasing mechanism for applying a force to the insulated electrode to ensure the insulated electrode remains in contact against the head;

 [0049] FIG. 17 is a cross-sectional top view of an article of clothing having the insulated electrodes incorporated therein for treating a tumor or the like;

 [0050] FIG. 18 is a cross-sectional view of a section of the article of clothing of FIG. 17 illustrating a biasing mechanism for biasing the insulated electrode in direction to ensure the insulated electrode is placed proximate to a skin surface where treatment is desired;

 [0051] FIG. 19 is a cross-sectional view of a probe according to one embodiment for being disposed internally within the body for treating a tumor or the like;

 [0052] FIG. 20 is an elevational view of an unwrapped collar according to one exemplary embodiment for placement around a neck for treating a tumor or the like in this area when the collar is wrapped around the neck;


 [0053] FIG. 21 is a cross-sectional view of two insulated electrodes with conductive gel members being arranged about a body, with the electric field lines being shown;

 [0054] FIG. 22 is a cross-sectional view of the arrangement of FIG. 21 illustrating a point of insulation breakdown in one insulated electrode;

[0055] FIG. 23 is a cross-sectional view of an arrangement of at least two insulated electrodes with conductive gel members being arranged about a body for treatment of a tumor or the like, wherein each conductive gel member has a feature for minimizing the effects of an insulation breakdown in the insulated electrode;

 [0056] FIG. 24 is a cross-sectional view of another arrangement of at least two insulated electrodes with conductive gel members being arranged about a body for treatment of a tumor or the like, wherein a conductive member is disposed within the body near the tumor to create a region of increased field density;

 [0057] FIG. 25 is a cross-sectional view of an arrangement of two insulated electrodes of varying sizes disposed relative to a body; and

 [0058] FIG. 26 is a cross-sectional view of an arrangement of at least two insulated electrodes with conductive gel members being arranged about a body for treatment of a tumor or the like, wherein each conductive gel member has a feature for minimizing the effects of an insulation breakdown in the insulated electrode.

 [0059] FIGS. 27A-C show a configuration of electrodes that facilitates the application of an electric field in different directions. [0060] FIG. 28 shows a three-dimensional arrangement of electrodes about a body part that facilitates the application of an electric field in different directions.

[0061] FIGS. 29A and 29B are graphs of the efficiency of the cell destruction process as a function of field strength for melanoma and glioma cells, respectively.

[0062] FIGS. 30A and 30B are graphs that show how the cell destruction efficiency is a function of the frequency of the applied field for melanoma and glioma cells, respectively.

 [0063] FIG. 31A is a graphical representation of the sequential application of a plurality of frequencies in a plurality of directions.

[0064] FIG. 31B is a graphical representation of the sequential application of a sweeping frequency in a plurality of directions.

DETAILED DESCRIPTION OF PREFERRED EMBODIMENTS

 [0065] Reference is made to FIGS. 1A-1E which schematically illustrate various stages of a cell division process. FIG. 1A illustrates a cell 10 at its normal geometry, which can be generally spherical (as illustrated in the drawings), ellipsoidal, cylindrical, "pancake-like" or any other cell geometry, as is known in the art. FIGS. 1B-1D illustrate cell 10 during different stages of its division process, which results in the formation of two new cells 18 and 20, shown in FIG. 1E.

 [0066] As shown in FIGS. 1B-1D, the division process of cell 10 is characterized by a slowly growing cleft 12 which gradually separates cell 10 into two units, namely sub-cells 14 and 16, which eventually evolve into new cells 18 and 20 (FIG. 1E). A shown specifically in FIG. 1D, the division process is characterized by a transient period during which the structure of cell 10 is basically that of the two sub-cells 14 and 16 interconnected by a narrow "bridge" 22 containing cell material (cytoplasm surrounded by cell membrane).

 [0067] Reference is now made to FIGS. 2A and 2B, which schematically illustrate non-dividing cell 10 being subjected to an electric field produced by applying an alternating electric potential, at a relatively low frequency and at a relatively high frequency, respectively. Cell 10 includes intracellular organelles, e.g., a nucleus 30. Alternating electric potential is applied across electrodes 28 and 32 that can be attached externally to a patient at a predetermined region, e.g., in the vicinity of the tumor being treated. When cell 10 is under natural conditions, i.e., part of a living tissue, it is disposed in a conductive environment (hereinafter referred to as a "volume conductor") consisting mostly of electrolytic inter-cellular liquid. When an electric potential is applied across electrodes 28 and 32, some of the field lines of the resultant electric field (or the current induced in the tissue in response to the electric field) penetrate the cell 10, while the rest of the field lines (or induced current) flow in the surrounding medium. The specific distribution of the electric field lines, which is substantially consistent with the direction of current flow in this instance, depends on the geometry and the electric properties of the system components, e.g., the relative conductivities and dielectric constants of the system components, that can be frequency dependent. For low frequencies, e.g., frequencies lower than 10 KHz, the conductance properties of the components completely dominate the current flow and the field distribution, and the field distribution is generally as depicted in FIG. 2A. At higher frequencies, e.g., at frequencies of between 10 KHz and 1 MHz, the dielectric properties of the components becomes more significant and eventually dominate the field distribution, resulting in field distribution lines as depicted generally in FIG. 2B.

 [0068] For constant (i.e., DC) electric fields or relatively low frequency alternating electric fields, for example, frequencies under 10 KHz, the dielectric properties of the various components are not significant in determining and computing the field distribution. Therefore, as a first approximation, with regard to the electric field distribution, the system can be reasonably represented by the relative impedances of its various components. Using this approximation, the intercellular (i.e., extracellular) fluid and the intracellular fluid each has a relatively low impedance, while the cell membrane 11 has a relatively high impedance. Thus, under low frequency conditions, only a fraction of the electric field lines (or currents induced by the electric field) penetrate membrane 11 of the cell 10. At relatively high frequencies (e.g., 10 KHz-1 MHz), in contrast, the impedance of membrane 11 relative to the intercellular and intracellular fluids decreases, and thus, the fraction of currents penetrating the cells increases significantly. It should be noted that at very high frequencies, i.e., above 1 MHz, the membrane capacitance can short the membrane resistance and, therefore, the total membrane resistance can become negligible.

 [0069] In any of the embodiments described above, the electric field lines (or induced currents) penetrate cell 10 from a portion of the membrane 11 closest to one of the electrodes generating the current, e.g., closest to positive electrode 28 (also referred to herein as "source"). The current flow pattern across cell 10 is generally uniform because, under the above approximation, the field induced inside the cell is substantially homogeneous. The currents exit cell 10 through a portion of membrane 11 closest to the opposite electrode, e.g., negative electrode 32 (also referred to herein as "sink").

[0070] The distinction between field lines and current flow can depend on a number of factors, for example, on the frequency of the applied electric potential and on whether electrodes 28 and 32 are electrically insulated. For insulated electrodes applying a DC or low frequency alternating voltage, there is practically no current flow along the lines of the electric field. At higher frequencies, the displacement currents are induced in the tissue due to charging and discharging of the electrode insulation and the cell membranes (which act as capacitors to a certain extent), and such currents follow the lines of the electric field. Fields generated by non-insulated electrodes, in contrast, always generate some form of current flow, specifically, DC or low frequency alternating fields generate conductive current flow along the field lines, and high frequency alternating fields generate both conduction and displacement currents along the field lines. It should be appreciated, however, that movement of polarizable intracellular organelles according to the present invention (as described below) is not dependent on actual flow of current and, therefore, both insulated and non-insulated electrodes can be used efficiently. Advantages of insulated electrodes include lower power consumption, less heating of the treated regions, and improved patient safety.

[0071] According to one exemplary embodiment of the present invention, the electric fields that are used are alternating fields having frequencies that are in the range from about 50 KHz to about 500 KHz, and preferably from about 100 KHz to about 300 KHz. For ease of discussion, these type of electric fields are also referred to below as "TC fields", which is an abbreviation of "Tumor Curing electric fields", since these electric fields fall into an intermediate category (between high and low frequency ranges) that have bio-effective field properties while having no meaningful stimulatory and thermal effects. These frequencies are sufficiently low so that the system behavior is determined by the system's Ohmic (conductive) properties but sufficiently high enough not to have any stimulation effect on excitable tissues. Such a system consists of two types of elements, namely, the intercellular, or extracellular fluid, or medium and the individual cells. The intercellular fluid is mostly an electrolyte with a specific resistance of about 40-100 Ohm*cm. As mentioned above, the cells are characterized by three elements, namely (1) a thin, highly electric resistive membrane that coats the cell; (2) internal cytoplasm that is mostly an electrolyte that contains numerous macromolecules and micro-organelles, including the nucleus; and (3) membranes, similar in their electric properties to the cell membrane, cover the micro-organelles.

[0072] When this type of system is subjected to the present TC fields (e.g., alternating electric fields in the frequency range of 100 KHz-300 KHz) most of the lines of the electric field and currents tend away from the cells because of the high resistive cell membrane and therefore the lines remain in the extracellular conductive medium. In the above recited frequency range, the actual fraction of electric field or currents that penetrates the cells is a strong function of the frequency.

[0073] FIG. 2 schematically depicts the resulting field distribution in the system. As illustrated, the lines of force, which also depict the lines of potential current flow across the cell volume mostly in parallel with the undistorted lines of force (the main direction of the electric field). In other words, the field inside the cells is mostly homogeneous. In practice, the fraction of the field or current that penetrates the cells is determined by the cell membrane impedance value relative to that of the extracellular fluid. Since the equivalent electric circuit of the cell membrane is that of a resistor and capacitor in parallel, the impedance is a function of the frequency. The higher the frequency, the lower the impedance, the larger the fraction of penetrating current and the smaller the field distortion (Rotshenker S. & Y. Palti, Changes in fraction of current penetrating an axon as a function of duration of stimulating pulse, J. Theor. Biol. 41; 401-407 (1973).

 [0074] As previously mentioned, when cells are subjected to relatively weak electric fields and currents that alternate at high frequencies, such as the present TC fields having a frequency in the range of 50 KHz-500 KHz, they have no effect on the non-dividing cells. While the present TC fields have no detectable effect on such systems, the situation becomes different in the presence of dividing cells.

 [0075] Reference is now made to FIGS. 3A-3C which schematically illustrate the electric current flow pattern in cell 10 during its division process, under the influence of alternating fields (TC fields) in the frequency range from about 100 KHz to about 300 KHz in accordance with one exemplary embodiment. The field lines or induced currents penetrate cell 10 through a part of the membrane of sub-cell 16 closer to electrode 28. However, they do not exit through the cytoplasm bridge 22 that connects sub-cell 16 with the newly formed yet still attached sub-cell 14, or through a part of the membrane in the vicinity of the bridge 22. Instead, the electric field or current flow lines-that are relatively widely separated in sub-cell 16-converge as they approach bridge 22 (also referred to as "neck" 22) and, thus, the current/field line density within neck 22 is increased dramatically. A "mirror image" process takes place in sub-cell 14, whereby the converging field lines in bridge 22 diverge as they approach the exit region of sub-cell 14.

[0076] It should be appreciated by persons skilled in the art that homogeneous electric fields do not exert a force on electrically neutral objects, i.e., objects having substantially zero net charge, although such objects can become polarized. However, under a non-uniform, converging electric field, as shown in FIGS. 3A-3C, electric forces are exerted on polarized objects, moving them in the direction of the higher density electric field lines. It will be appreciated that the concentrated electric field that is present in the neck or bridge area in itself exerts strong forces on charges and natural dipoles and can disrupt structures that are associated therewith. One will understand that similar net forces act on charges in an alternating field, again in the direction of the field of higher intensity.

 [0077] In the configuration of FIGS. 3A and 3B, the direction of movement of polarized and charged objects is towards the higher density electric field lines, i.e., towards the cytoplasm bridge 22 between sub-cells 14 and 16. It is known in the art that all intracellular organelles, for example, nuclei 24 and 26 of sub-cells 14 and 16, respectively, are polarizable and, thus, such intracellular organelles are electrically forced in the direction of the bridge 22. Since the movement is always from lower density currents to the higher density currents, regardless of the field polarity, the forces applied by the alternating electric field to organelles, such as nuclei 24 and 26, are always in the direction of bridge 22. A comprehensive description of such forces and the resulting movement of macromolecules of intracellular organelles, a phenomenon referred to as "dielectrophoresis" is described extensively in literature, e.g., in C. L. Asbury & G. van den Engh, Biophys. J. 74, 1024-1030, 1998, the disclosure of which is hereby incorporated by reference in its entirety.

 [0078] The movement of the organelles 24 and 26 towards the bridge 22 disrupts the structure of the dividing cell, change the concentration of the various cell constituents and, eventually, the pressure of the converging organelles on bridge membrane 22 results in the breakage of cell membrane 11 at the vicinity of the bridge 22, as shown schematically in FIG. 3C. The ability to break membrane 11 at bridge 22 and to otherwise disrupt the cell structure and organization can be enhanced by applying a pulsating AC electric field, rather than a steady AC field. When a pulsating field is applied, the forces acting on organelles 24 and 26 have a "hammering" effect, whereby pulsed forces beat on the intracellular organelles towards the neck 22 from both sub-cells 14 and 16, thereby increasing the probability of breaking cell membrane 11 in the vicinity of neck 22.

 [0079] A very important element, which is very susceptible to the special fields that develop within the dividing cells is the microtubule spindle that plays a major role in the division process. In FIG. 4, a dividing cell 10 is illustrated, at an earlier stage as compared to FIGS. 3A and 3B, under the influence of external TC fields (e.g., alternating fields in the frequency range of about 100 KHz to about 300 KHz), generally indicated as lines 100, with a corresponding spindle mechanism generally indicated at 120. The lines 120 are microtubules that are known to have a very strong dipole moment. This strong polarization makes the tubules, as well as other polar macromolecules and especially those that have a specific orientation within the cells or its surrounding, susceptible to electric fields. Their positive charges are located at the two centrioles while two sets of negative poles are at the center of the dividing cell and the other pair is at the points of attachment of the microtubules to the cell membrane, generally indicated at 130. This structure forms sets of double dipoles and therefore they are susceptible to fields of different directions. It will be understood that the effect of the TC fields on the dipoles does not depend on the formation of the bridge (neck) and thus, the dipoles are influenced by the TC fields prior to the formation of the bridge (neck).

 [0080] Since the present apparatus (as will be described in greater detail below) utilizes insulated electrodes, the above-mentioned negative effects obtained when conductive electrodes are used, i.e., ion concentration changes in the cells and the formation of harmful agents by electrolysis, do not occur when the present apparatus is used. This is because, in general, no actual transfer of charges takes place between the electrodes and the medium and there is no charge flow in the medium where the currents are capacitive, i.e., are expressed only as rotation of charges, etc.

 [0081] Turning now to FIG. 5, the TC fields described above that have been found to advantageously destroy tumor cells are generated by an electronic apparatus 200. FIG. 5 is a simple schematic diagram of the electronic apparatus 200 illustrating the major components thereof. The electronic apparatus 200 generates the desired electric signals (TC signals) in the shape of waveforms or trains of pulses. The apparatus 200 includes a generator 210 and a pair of conductive leads 220 that are attached at one end thereof to the generator 210. The opposite ends of the leads 220 are connected to insulated conductors 230 that are activated by the electric signals (e.g., waveforms). The insulated conductors 230 are also referred to hereinafter as isolects 230. Optionally and according to another exemplary embodiment, the apparatus 200 includes a temperature sensor 240 and a control box 250 which are both added to control the amplitude of the electric field generated so as not to generate excessive heating in the area that is treated.

 [0082] The generator 210 generates an alternating voltage waveform at frequencies in the range from about 50 KHz to about 500 KHz (preferably from about 100 KHz to about 300 KHz) (i.e., the TC fields). The required voltages are such that the electric field intensity in the tissue to be treated is in the range of about 0.1 V/cm to about 10 V/cm. To achieve this field, the actual potential difference between the two conductors in the isolects 230 is determined by the relative impedances of the system components, as described below.

[0083] When the control box 250 is included, it controls the output of the generator 210 so that it will remain constant at the value preset by the user or the control box 250 sets the output at the maximal value that does not cause excessive heating, or the control box 250 issues a warning or the like when the temperature (sensed by temperature sensor 240) exceeds a preset limit.

[0084] The leads 220 are standard isolated conductors with a flexible metal shield, preferably grounded so that it prevents the spread of the electric field generated by the leads 220. The isolects 230 have specific shapes and positioning so as to generate an electric field of the desired configuration, direction and intensity at the target volume and only there so as to focus the treatment.

 [0085] The specifications of the apparatus 200 as a whole and its individual components are largely influenced by the fact that at the frequency of the present TC fields (50 KHz-500 KHz), living systems behave according to their "Ohmic", rather than their dielectric properties. The only elements in the apparatus 200 that behave differently are the insulators of the isolects 230 (see FIGS. 7-9). The isolects 200 consist of a conductor in contact with a dielectric that is in contact with the conductive tissue thus forming a capacitor.

 [0086] The details of the construction of the isolects 230 is based on their electric behavior that can be understood from their simplified electric circuit when in contact with tissue as generally illustrated in FIG. 6. In the illustrated arrangement, the potential drop or the electric field distribution between the different components is determined by their relative electric impedance, i.e., the fraction of the field on each component is given by the value of its impedance divided by the total circuit impedance. For example, the potential drop on element [Delta]VA=A/(A+B+C+D+E). Thus, for DC or low frequency AC, practically all the potential drop is on the capacitor (that acts as an insulator). For relatively very high frequencies, the capacitor practically is a short and therefore, practically all the field is distributed in the tissues. At the frequencies of the present TC fields (e.g., 50 KHz to 500 KHz), which are intermediate frequencies, the impedance of the capacitance of the capacitors is dominant and determines the field distribution. Therefore, in order to increase the effective voltage drop across the tissues (field intensity), the impedance of the capacitors is to be decreased (i.e., increase their capacitance). This can be achieved by increasing the effective area of the "plates" of the capacitor, decrease the thickness of the dielectric or use a dielectric with high dielectric constant.

 [0087] In order to optimize the field distribution, the isolects 230 are configured differently depending upon the application in which the isolects 230 are to be used. There are two principle modes for applying the present electric fields (TC fields). First, the TC fields can be applied by external isolects and second, the TC fields can be applied by internal isolects.

 [0088] Electric fields (TC fields) that are applied by external isolects can be of a local type or widely distributed type. The first type includes, for example, the treatment of skin tumors and treatment of lesions close to the skin surface. FIG. 7 illustrates an exemplary embodiment where the isolects 230 are incorporated in a skin patch 300. The skin patch 300 can be a self-adhesive flexible patch with one or more pairs of isolects 230. The patch 300 includes internal insulation 310 (formed of a dielectric material) and the external insulation 260 and is applied to skin surface 301 that contains a tumor 303 either on the skin surface 301 or slightly below the skin surface 301. Tissue is generally indicated at 305. To prevent the potential drop across the internal insulation 310 to dominate the system, the internal insulation 310 must have a relatively high capacity. This can be achieved by a large surface area; however, this may not be desired as it will result in the spread of the field over a large area (e.g., an area larger than required to treat the tumor). Alternatively, the internal insulation 310 can be made very thin and/or the internal insulation 310 can be of a high dielectric constant. As the skin resistance between the electrodes (labeled as A and E in FIG. 6) is normally significantly higher than that of the tissue (labeled as C in FIG. 6) underneath it (1-10 K[Omega] vs. 0.1-1 K[Omega]), most of the potential drop beyond the isolects occurs there. To accommodate for these impedances (Z), the characteristics of the internal insulation 310 (labeled as B and D in FIG. 6) should be such that they have impedance preferably under 100 K[Omega] at the frequencies of the present TC fields (e.g., 50 KHz to 500 KHz). For example, if it is desired for the impedance to be about 10 K Ohms or less, such that over 1% of the applied voltage falls on the tissues, for isolects with a surface area of 10 mm<2> , at frequencies of 200 KHz, the capacity should be on the order of 10<-10 > F., which means that using standard insulations with a dielectric constant of 2-3, the thickness of the insulating layer 310 should be about 50-100 microns. An internal field 10 times stronger would be obtained with insulators with a dielectric constant of about 20-50.

[0089] Using an insulating material with a high dielectric constant increases the capacitance of the electrodes, which results in a reduction of the electrodes' impedance to the AC signal that is applied by the generator 1 (shown in FIG. 5). Because the electrodes A, E are wired in series with the target tissue C, as shown in FIG. 6, this reduction in impedance reduces the voltage drop in the electrodes, so that a larger portion of the applied AC voltage appears across the tissue C. Since a larger portion of the voltage appears across the tissue, the voltage that is being applied by the generator 1 can be advantageously lowered for a given field strength in the tissue.

 [0090] The desired field strength in the tissue being treated is preferably between about 0.1 V/cm and about 10 V/cm, and more preferably between about 2 V/cm and 3 V/cm or between about 1 V/cm and about 5 V/cm. If the dielectric constant used in the electrode is sufficiently high, the impedance of the electrodes A, E drops down to the same order of magnitude as the series combination of the skin and tissue B, C, D. One example of a suitable material with an extremely high dielectric constant is CaCu3Ti4O12, which has a dielectric constant of about 11,000 (measured at 100 kHz). When the dielectric constant is this high, useful fields can be obtained using a generator voltage that is on the order of a few tens of Volts.

 [0091] Since the thin insulating layer can be very vulnerable, etc., the insulation can be replaced by very high dielectric constant insulating materials, such as titanium dioxide (e.g., rutile), the dielectric constant can reach values of about 200. There a number of different materials that are suitable for use in the intended application and have high dielectric constants. For example, some materials include: lithium niobate (LiNbO3), which is a ferroelectric crystal and has a number of applications in optical, pyroelectric and piezoelectric devices; yttrium iron garnet (YIG) is a ferromagnetic crystal and magneto-optical devices, e.g., optical isolator can be realized from this material; barium titanate (BaTiO3) is a ferromagnetic crystal with a large electro-optic effect; potassium tantalate (KTaO3) which is a dielectric crystal (ferroelectric at low temperature) and has very low microwave loss and tunability of dielectric constant at low temperature; and lithium tantalate (LiTaO3) which is a ferroelectric crystal with similar properties as lithium niobate and has utility in electro-optical, pyroelectric and piezoelectric devices. Insulator ceramics with high dielectric constants may also be used, such as a ceramic made of a combination of Lead Magnesium Niobate and Lead Titanate. It will be understood that the aforementioned exemplary materials can be used in combination with the present device where it is desired to use a material having a high dielectric constant.

 [0092] One must also consider another factor that affects the effective capacity of the isolects 230, namely the presence of air between the isolects 230 and the skin. Such presence, which is not easy to prevent, introduces a layer of an insulator with a dielectric constant of 1.0, a factor that significantly lowers the effective capacity of the isolects 230 and neutralizes the advantages of the titanium dioxide (rutile), etc. To overcome this problem, the isolects 230can be shaped so as to conform with the body structure and/or (2) an intervening filler 270 (as illustrated in FIG. 10C), such as a gel, that has high conductance and a high effective dielectric constant, can be added to the structure. The shaping can be pre-structured (see FIG. 10A) or the system can be made sufficiently flexible so that shaping of the isolects 230 is readily achievable. The gel can be contained in place by having an elevated rim as depicted in FIGS. 10C and 10C'. The gel can be made of hydrogels, gelatins, agar, etc., and can have salts dissolved in it to increase its conductivity. FIGS. 10A-10C' illustrate various exemplary configurations for the isolects 230. The exact thickness of the gel is not important so long as it is of sufficient thickness that the gel layer does not dry out during the treatment. In one exemplary embodiment, the thickness of the gel is about 0.5 mm to about 2 mm. Preferably, the gel has high conductivity, is tacky, and is biocompatible for extended periods of time. One suitable gel is AG603 Hydrogel, which is available from AmGel Technologies, 1667 S. Mission Road, Fallbrook, Calif. 92028-4115, USA. [0093] In order to achieve the desirable features of the isolects 230, the dielectric coating of each should be very thin, for example from between 1-50 microns. Since the coating is so thin, the isolects 230 can easily be damaged mechanically or undergo dielectric breakdown. This problem can be overcome by adding a protective feature to the isolect's structure so as to provide desired protection from such damage. For example, the isolect 230 can be coated, for example, with a relatively loose net 340 that prevents access to the surface but has only a minor effect on the effective surface area of the isolect 230 (i.e., the capacity of the isolects 230 (cross section presented in FIG. 12B). The loose net 340 does not effect the capacity and ensures good contact with the skin, etc. The loose net 340 can be formed of a number of different materials; however, in one exemplary embodiment, the net 340 is formed of nylon, polyester, cotton, etc. Alternatively, a very thin conductive coating 350 can be applied to the dielectric portion (insulating layer) of the isolect 230. One exemplary conductive coating is formed of a metal and more particularly of gold. The thickness of the coating 350 depends upon the particular application and also on the type of material used to form the coating 350; however, when gold is used, the coating has a thickness from about 0.1 micron to about 0.1 mm. Furthermore, the rim illustrated in FIG. 10 can also provide some mechanical protection.

 [0094] However, the capacity is not the only factor to be considered. The following two factors also influence how the isolects 230 are constructed. The dielectric strength of the internal insulating layer 310 and the dielectric losses that occur when it is subjected to the TC field, i.e., the amount of heat generated. The dielectric strength of the internal insulation 310 determines at what field intensity the insulation will be "shorted" and cease to act as an intact insulation. Typically, insulators, such as plastics, have dielectric strength values of about 100V per micron or more. As a high dielectric constant reduces the field within the internal insulator 310, a combination of a high dielectric constant and a high dielectric strength gives a significant advantage. This can be achieved by using a single material that has the desired properties or it can be achieved by a double layer with the correct parameters and thickness. In addition, to further decreasing the possibility that the insulating layer 310 will fail, all sharp edges of the insulating layer 310 should be eliminated as by rounding the corners, etc., as illustrated in FIG. 10D using conventional techniques.

0095] FIGS. 8 and 9 illustrate a second type of treatment using the isolects 230, namely electric field generation by internal isolects 230. A body to which the isolects 230 are implanted is generally indicated at 311 and includes a skin surface 313 and a tumor 315. In this embodiment, the isolects 230 can have the shape of plates, wires or other shapes that can be inserted subcutaneously or a deeper location within the body 311 so as to generate an appropriate field at the target area (tumor 315).

 [0096] It will also be appreciated that the mode of isolects application is not restricted to the above descriptions. In the case of tumors in internal organs, for example, liver, lung, etc., the distance between each member of the pair of isolects 230 can be large. The pairs can even by positioned opposite sides of a torso 410, as illustrated in FIG. 11. The arrangement of the isolects 230 in FIG. 11 is particularly useful for treating a tumor 415 associated with lung cancer or gastro-intestinal tumors. In this embodiment, the electric fields (TC fields) spread in a wide fraction of the body.

 [0097] In order to avoid overheating of the treated tissues, a selection of materials and field parameters is needed. The isolects insulating material should have minimal dielectric losses at the frequency ranges to be used during the treatment process. This factor can be taken into consideration when choosing the particular frequencies for the treatment. The direct heating of the tissues will most likely be dominated by the heating due to current flow (given by the I*R product). In addition, the isolect (insulated electrode) 230 and its surroundings should be made of materials that facilitate heat losses and its general structure should also facilitate head losses, i.e., minimal structures that block heat dissipation to the surroundings (air) as well as high heat conductivity. Using larger electrodes also minimizes the local sensation of heating, since it spreads the energy that is being transferred into the patient over a larger surface area. Preferably, the heating is minimized to the point where the patient's skin temperature never exceeds about 39[deg.] C.

[0098] Another way to reduce heating is to apply the field to the tissue being treated intermittently, by applying a field with a duty cycle between about 20% and about 50% instead of using a continuous field. For example, to achieve a duty cycle of 33%, the field would be repetitively switched on for one second, then switched off for two seconds. Preliminary experiments have shown that the efficacy of treatment using a field with a 33% duty cycle is roughly the same as for a field with a duty cycle of 100%. In alternative embodiments, the field could be switched on for one hour then switched off for one hour to achieve a duty cycle of 50%. Of course, switching at a rate of once per hour would not help minimize short-term heating. On the other hand, it could provide the patient with a welcome break from treatment.

 [0099] The effectiveness of the treatment can be enhanced by an arrangement of isolects 230 that focuses the field at the desired target while leaving other sensitive areas in low field density (i.e., protected areas). The proper placement of the isolects 230 over the body can be maintained using any number of different techniques, including using a suitable piece of clothing that keeps the isolects at the appropriate positions. FIG. 13 illustrates such an arrangement in which an area labeled as "P" represents a protected area. The lines of field force do not penetrate this protected area and the field there is much smaller than near the isolects 230 where target areas can be located and treated well. In contrast, the field intensity near the four poles is very high.

 [0100] The following Example serves to illustrate an exemplary application of the present apparatus and application of TC fields; however, this Example is not limiting and does not limit the scope of the present invention in any way.

 EXAMPLE

 [0101] To demonstrate the effectiveness of electric fields having the above described properties (e.g., frequencies between 50 KHz and 500 KHz) in destroying tumor cells, the electric fields were applied to treat mice with malignant melanoma tumors. Two pairs of isolects 230 were positioned over a corresponding pair of malignant melanomas. Only one pair was connected to the generator 210 and 200 KHz alternating electric fields (TC fields) were applied to the tumor for a period of 6 days. One melanoma tumor was not treated so as to permit a comparison between the treated tumor and the non-treated tumor. After treatment for 6 days, the pigmented melanoma tumor remained clearly visible in the non-treated side of the mouse, while, in contrast, no tumor is seen on the treated side of the mouse. The only areas that were visible discernable on the skin were the marks that represented the points of insertion of the isolects 230. The fact that the tumor was eliminated at the treated side was further demonstrated by cutting and inversing the skin so that its inside face was exposed. Such a procedure indicated that the tumor has been substantially, if not completely, eliminated on the treated side of the mouse. The success of the treatment was also further verified by histopathological examination.

 [0102] The present inventor has thus uncovered that electric fields having particular properties can be used to destroy dividing cells or tumors when the electric fields are applied to using an electronic device. More specifically, these electric fields fall into a special intermediate category, namely bio-effective fields that have no meaningful stimulatory and no thermal effects, and therefore overcome the disadvantages that were associated with the application of conventional electric fields to a body. It will also be appreciated that the present apparatus can further include a device for rotating the TC field relative to the living tissue. For example and according to one embodiment, the alternating electric potential applies to the tissue being treated is rotated relative to the tissue using conventional devices, such as a mechanical device that upon activation, rotates various components of the present system.

 [0103] Moreover and according to yet another embodiment, the TC fields are applied to different pairs of the insulated electrodes 230 in a consecutive manner. In other words, the generator 210 and the control system thereof can be arranged so that signals are sent at periodic intervals to select pairs of insulated electrodes 230, thereby causing the generation of the TC fields of different directions by these insulated electrodes 230. Because the signals are sent at select times from the generator to the insulated electrodes 230, the TC fields of changing directions are generated consecutively by different insulated electrodes 230. This arrangement has a number of advantages and is provided in view of the fact that the TC fields have maximal effect when they are parallel to the axis of cell division. Since the orientation of cell division is in most cases random, only a fraction of the dividing cells are affected by any given field. Thus, using fields of two or more orientations increases the effectiveness since it increases the chances that more dividing cells are affected by a given TC field.

 [0104] In vitro experiments have shown that the electric field has the maximum killing effect when the lines of force of the field are oriented generally parallel to the long axis of the hourglass-shaped cell during mitosis (as shown in FIGS. 3A-3C). In one experiment, a much higher proportion of the damaged cells had their axis of division oriented along the field: 56% of the cells oriented at or near 0[deg.] with respect to the field were damaged, versus an average of 15% of cells damaged for cells with their long axis oriented at more than 22[deg.] with respect to the field.

 [0105] The inventor has recognized that applying the field in different directions sequentially will increase the overall killing power, because the field orientation that is most effectively in killing dividing cells will be applied to a larger population of the dividing cells. A number of examples for applying the field in different directions are discussed below.

 [0106] FIGS. 27A, 27B, and 27C show a set of 6 electrodes E1-E6, and how the direction of the field through the target tissue 1510 can be changed by applying the AC signal from the generator 1 (shown in FIG. 1) across different pairs of electrodes. For example, if the AC signal is applied across electrodes E1 and E4, the field lines F would be vertical (as shown in FIG. 27A), and if the signal is applied across electrodes E2 and E5, or across electrodes E3 and E6, the field lines F would be diagonal (as shown in FIGS. 27B and 27C, respectively). Additional field directions can be obtained by applying the AC signal across other pairs of electrodes. For example, a roughly horizontal field could be obtained by applying the signal across electrodes E2 and E6.

 [0107] In one embodiment, the AC signal is applied between the various pairs of electrodes sequentially. An example of this arrangement is to apply the AC signal across electrodes E1 and E4 for one second, then apply the AC signal across electrodes E2 and E5 for one second, and then apply the AC signal across electrodes E3 and E6 for one second. This three-part sequence is then repeated for the desired period of treatment. Because the efficacy in cell-destruction is strongly dependant on the cell's orientation, cycling the field between the different directions increases the chance that the field will be oriented in a direction that favors cell destruction at least part of the time.

 [0108] Of course, the 6 electrode configuration shown in FIGS. 27A-C is just one of many possible arrangement of multiple electrodes, and many other configurations of three or more electrodes could be used based on the same principles.

 [0109] Application of the field in different directions sequentially is not limited to two dimensional embodiments, and FIG. 28 shows how the sequential application of signals across different sets of electrodes can be extended to three dimensions. A first array of electrodes A1-A9 is arranged around body part 1500, and a last array of electrodes N1-N9 is arranged around the body part 1500 a distance W away from the first array. Additional arrays of electrodes may optionally be added between the first array and the last array, but these additional arrays are not illustrated for clarity (so as not to obscure the electrodes A5-A9 and B5-B8 on the back of the body part 1500). [0110] As in the FIG. 27 embodiment, the direction of the field through the target tissue can be changed by applying the AC signal from the generator 1 (shown in FIG. 1) across different pairs of electrodes. For example, applying the AC signal between electrodes A2 and A7 would result in a field in a front-to-back direction between those two electrodes, and applying the AC signal between electrodes A5 and A9 would result in a roughly vertical field between those two electrodes. Similarly, applying the AC signal across electrodes A2 and N7 would generate diagonal field lines in one direction through the body part 1500, and applying the AC signal across electrodes A2 and B7 would generate diagonal field lines in another direction through the body part.

 [0111] Using a three-dimensional array of electrodes also makes it possible to energize multiple pairs of electrodes simultaneously to induce fields in the desired directions. For example, if suitable switching is provided so that electrodes A2 through N2 are all connected to one terminal of the generator, and so that electrodes A7 through N7 are all connected to the other terminal of the generator, the resulting field would be a sheet that extends in a front-to-back direction for the entire width W. After the front-to-back field is maintained for a suitable duration (e.g., one second), the switching system (not shown) is reconfigured to connect electrodes A3 through N3 to one terminal of the generator, and electrodes A8 through N8 to the other terminal of the generator. This results in a sheet-shaped field that is rotated about the Z axis by about 40[deg.] with respect to the initial field direction. After the field is maintained in this direction for a suitable duration (e.g., one second), the next set of electrodes is activated to rotate the field an additional 40[deg.] to its next position. This continues until the field returns to its initial position, at which point the whole process is repeated.

 [0112] Optionally, the rotating sheet-shaped field may be added (sequentially in time) to the diagonal fields described above, to better target cells that are oriented along those diagonal axes

 [0113] Because the electric field is a vector, the signals may optionally be applied to combinations of electrodes simultaneously in order to form a desired resultant vector. For example, a field that is rotated about the X axis by 20[deg.] with respect to the initial position can be obtained by switching electrodes A2 through N2 and A3 through N3 all to one terminal of the generator, and switching electrodes A7 through N7 and A8 through N8 all to the other terminal of the generator. Applying the signals to other combinations of electrodes will result in fields in other directions, as will be appreciated by persons skilled in the relevant arts. If appropriate computer control of the voltages is implemented, the field's direction can even be swept through space in a continuous (i.e., smooth) manner, as opposed to the stepwise manner described above.

 [0114] FIGS. 29A and 29B depict the results of in vitro experiments that show how the killing power of the applied field against dividing cells is a function of the field strength. In the FIG. 29A experiment, B16F1 melanoma cells were subjected to a 100 kHz AC field at different field strengths, for a period of 24 hours at each strength. In the FIG. 29B experiment, F-98 glioma cells were subjected to a 200 kHz AC field at different field strengths, for a period of 24 hours at each strength. In both of these figures, the strength of the field (EF) is measured in Volts per cm. The magnitude of the killing effect is expressed in terms of TER, which is which is the ratio of the decrease in the growth rate of treated cells (GRT) compared with the growth rate of control cells (GRC). [mathematical formula - see original document] The experimental results show that the inhibitory effect of the applied field on proliferation increases with intensity in both the melanoma and the glioma cells. Complete proliferation arrest (TER=1) is seen at 1.35 and 2.25 V/cm in melanoma and glioma cells, respectively.

 [0115] FIGS. 30A and 30B depict the results of in vitro experiments that show how the killing power of the applied field is a function of the frequency of the field. In the experiments, B16F1 melanoma cells (FIG. 30A) and F-98 glioma cells (FIG. 30B) were subjected to fields with different frequencies, for a period of 24 hours at each frequency. FIGS. 30A and 30B show the change in the growth rate, normalized to the field intensity (TER/EF). Data are shown as mean+SE. In FIG. 30A, a window effect is seen with maximal inhibition at 120 kHz in melanoma cells. In FIG. 30B, two peaks are seen at 170 and 250 kHz. Thus, if only one frequency is available during an entire course of treatment, a field with a frequency of about 120 kHz would be appropriate for destroying melanoma cells, and a field with a frequency on the order of 200 kHz would be appropriate for destroying glioma cells.

 [0116] Not all the cells of any given type will have the exact same size. Instead, the cells will have a distribution of sizes, with some cells being smaller and some cells being larger. It is believed that the best frequency for damaging a particular cell is related to the physical characteristics (e.g., the size) of that particular cell. Thus, to best damage a population of cells with a distribution of sizes, it can be advantageous to apply a distribution of different frequencies to the population, where the selection of frequencies is optimized based on the expected size distribution of the target cells. For example, the data on FIG. 30B indicates that using two frequencies of 170 kHz and 250 kHz to destroy a population of glioma cells would be more effective than using a single frequency of 200 kHz.

 [0117] Note that the optimal field strengths and frequencies discussed herein were obtained based on in vitro experiments, and that the corresponding parameters for in vivo applications may be obtained by performing similar experiments in vivo. It is possible that relevant characteristics of the cell itself (such as size and/or shape) or interactions with the cell's surroundings may result in a different set of optimal frequencies and/or field strengths for in vivo applications. [0118] When more than one frequency is used, the various frequencies may be applied sequentially in time. For example, in the case of glioma, field frequencies of 100, 150, 170, 200, 250, and 300 kHz may be applied during the first, second, third, fourth, fifth, and sixth minutes of treatment, respectively. That cycle of frequencies would then repeat during each successive six minutes of treatment. Alternatively, the frequency of the field may be swept in a stepless manner from 100 to 300 kHz.

 [0119] Optionally, this frequency cycling may be combined with the directional cycling described above. FIG. 31A is an example of such a combination using three directions (D1, D2, and D3) and three frequencies (F1, F2, and F3). Of course, the same scheme can be extended to any other number of directions and/or frequencies. FIG. 31B is an example of such a combination using three directions (D1, D2, and D3), sweeping the frequency from 100 kHz to 300 kHz. Note that the break in the time axis between t1 and t2 provides the needed time for the sweeping frequency to rise to just under 300 kHz. The frequency sweeping (or stepping) may be synchronized with directional changes, as shown in FIG. 31A. Alternatively, the frequency sweeping (or stepping) may be asynchronous with respect to the directional changes, as shown in FIG. 31B. [0120] In an alternative embodiment, a signal that contains two or more frequencies components simultaneously (e.g., 170 kHz and 250 kHz) is applied to the electrodes to treat a populations of cells that have a distribution of sizes. The various signals will add by superposition to create a field that includes all of the applied frequency components.

 [0121] Turning now to FIG. 14 in which an article of clothing 500 according to one exemplary embodiment is illustrated. More specifically, the article of clothing 500 is in the form of a hat or cap or other type of clothing designed for placement on a head of a person. For purposes of illustration, a head 502 is shown with the hat 500 being placed thereon and against a skin surface 504 of the head 502. An intra-cranial tumor or the like 510 is shown as being formed within the head 502 underneath the skin surface 504 thereof. The hat 500 is therefore intended for placement on the head 502 of a person who has a tumor 510 or the like.

 [0122] Unlike the various embodiments illustrated in FIGS. 1-13 where the insulated electrodes 230 are arranged in a more or less planar arrangement since they are placed either on a skin surface or embedded within the body underneath it, the insulated electrodes 230 in this embodiment are specifically contoured and arranged for a specific application. The treatment of intra-cranial tumors or other lesions or the like typically requires a treatment that is of a relatively long duration, e.g., days to weeks, and therefore, it is desirable to provide as much comfort as possible to the patient. The hat 500 is specifically designed to provide comfort during the lengthy treatment process while not jeopardizing the effectiveness of the treatment.

 [0123] According to one exemplary embodiment, the hat 500 includes a predetermined number of insulated electrodes 230 that are preferably positioned so as to produce the optimal TC fields at the location of the tumor 510. The lines of force of the TC field are generally indicated at 520. As can be seen in FIG. 14, the tumor 510 is positioned within these lines of force 520. As will be described in greater detail hereinafter, the insulated electrodes 230 are positioned within the hat 500 such that a portion or surface thereof is free to contact the skin surface 504 of the head 502. In other words, when the patient wears the hat 500, the insulated electrodes 230 are placed in contact with the skin surface 504 of the head 502 in positions that are selected so that the TC fields generated thereby are focused at the tumor 510 while leaving surrounding areas in low density. Typically, hair on the head 502 is shaved in selected areas to permit better contact between the insulated electrodes 230 and the skin surface 504; however, this is not critical.

 [0124] The hat 500 preferably includes a mechanism 530 that applies a force to the insulated electrodes 230 so that they are pressed against the skin surface 502. For example, the mechanism 530 can be of a biasing type that applies a biasing force to the insulated electrodes 230 to cause the insulated electrodes 230 to be directed outwardly away from the hat 500. Thus, when the patient places the hat 500 on his/her head 502, the insulated electrodes 230 are pressed against the skin surface 504 by the mechanism 530. The mechanism 530 can slightly recoil to provide a comfortable fit between the insulated electrodes 230 and the head 502. In one exemplary embodiment, the mechanism 530 is a spring based device that is disposed within the hat 500 and has one section that is coupled to and applies a force against the insulated electrodes 230.

 [0125] As with the prior embodiments, the insulated electrodes 230 are coupled to the generator 210 by means of conductors 220. The generator 210 can be either disposed within the hat 500 itself so as to provide a compact, self-sufficient, independent system or the generator 210 can be disposed external to the hat 500 with the conductors 220 exiting the hat 500 through openings or the like and then running to the generator 210. When the generator 210 is disposed external to the hat 500, it will be appreciated that the generator 210 can be located in any number of different locations, some of which are in close proximity to the hat 500 itself, while others can be further away from the hat 500. For example, the generator 210 can be disposed within a carrying bag or the like (e.g., a bag that extends around the patient's waist) which is worn by the patient or it can be strapped to an extremity or around the torso of the patient. The generator 210 can also be disposed in a protective case that is secured to or carried by another article of clothing that is worn by the patient. For example, the protective case can be inserted into a pocket of a sweater, etc. FIG. 14 illustrates an embodiment where the generator 210 is incorporated directly into the hat 500.

 [0126] Turning now to FIGS. 15 and 16, in one exemplary embodiment, a number of insulated electrodes 230 along with the mechanism 530 are preferably formed as an independent unit, generally indicated at 540, that can be inserted into the hat 500 and electrically connected to the generator (not shown) via the conductors (not shown). By providing these members in the form of an independent unit, the patient can easily insert and/or remove the units 540 from the hat 500 when they may need cleaning, servicing and/or replacement.

 [0127] In this embodiment, the hat 500 is constructed to include select areas 550 that are formed in the hat 500 to receive and hold the units 540. For example and as illustrated in FIG. 15, each area 550 is in the form of an opening (pore) that is formed within the hat 500. The unit 540 has a body 542 and includes the mechanism 530 and one or more insulated electrodes 230. The mechanism 530 is arranged within the unit 540 so that a portion thereof (e.g., one end thereof) is in contact with a face of each insulated electrode 230 such that the mechanism 530 applies a biasing force against the face of the insulated electrode 230. Once the unit 540 is received within the opening 550, it can be securely retained therein using any number of conventional techniques, including the use of an adhesive material or by using mechanical means. For example, the hat 500 can include pivotable clip members that pivot between an open position in which the opening 550 is free and a closed position in which the pivotable clip members engage portions (e.g., peripheral edges) of the insulated electrodes to retain and hold the insulated electrodes 230 in place. To remove the insulated electrodes 230, the pivotable clip members are moved to the open position. In the embodiment illustrated in FIG. 16, the insulated electrodes 230 are retained within the openings 550 by an adhesive element 560 which in one embodiment is a two sided self-adhesive rim member that extends around the periphery of the insulated electrode 230. In other words, a protective cover of one side of the adhesive rim 560 is removed and it is applied around the periphery of the exposed face of the insulated electrode 230, thereby securely attaching the adhesive rim 560 to the hat 500 and then the other side of the adhesive rim 560 is removed for application to the skin surface 504 in desired locations for positioning and securing the insulated electrode 230 to the head 502 with the tumor being positioned relative thereto for optimization of the TC fields. Since one side of the adhesive rim 560 is in contact with and secured to the skin surface 540, this is why it is desirable for the head 502 to be shaved so that the adhesive rim 560 can be placed flushly against the skin surface 540.

 [0128] The adhesive rim 560 is designed to securely attach the unit 540 within the opening 550 in a manner that permits the unit 540 to be easily removed from the hat 500 when necessary and then replaced with another unit 540 or with the same unit 540. As previously mentioned, the unit 540 includes the biasing mechanism 530 for pressing the insulated electrode 230 against the skin surface 504 when the hat 500 is worn. The unit 540 can be constructed so that side opposite the insulated electrode 230 is a support surface formed of a rigid material, such as plastic, so that the biasing mechanism 530 (e.g., a spring) can be compressed therewith under the application of force and when the spring 530 is in a relaxed state, the spring 530 remains in contact with the support surface and the applies a biasing force at its other end against the insulated electrode 230. The biasing mechanism 530 (e.g., spring) preferably has a contour corresponding to the skin surface 504 so that the insulated electrode 230 has a force applied thereto to permit the insulated electrode 230 to have a contour complementary to the skin surface 504, thereby permitting the two to seat flushly against one another. While the mechanism 530 can be a spring, there are a number of other embodiments that can be used instead of a spring. For example, the mechanism 530 can be in the form of an elastic material, such as a foam rubber, a foam plastic, or a layer containing air bubbles, etc.

 [0129] The unit 540 has an electric connector 570 that can be hooked up to a corresponding electric connector, such as a conductor 220, that is disposed within the hat 500. The conductor 220 connects at one end to the unit 540 and at the other end is connected to the generator 210. The generator 210 can be incorporated directly into the hat 500 or the generator 210 can be positioned separately (remotely) on the patient or on a bedside support, etc.

 [0130] As previously discussed, a coupling agent, such as a conductive gel, is preferably used to ensure that an effective conductive environment is provided between the insulated electrode 230 and the skin surface 504. Suitable gel materials have been disclosed hereinbefore in the discussion of earlier embodiments. The coupling agent is disposed on the insulated electrode 230 and preferably, a uniform layer of the agent is provided along the surface of the electrode 230. One of the reasons that the units 540 need replacement at periodic times is that the coupling agent needs to be replaced and/or replenished. In other words, after a predetermined time period or after a number of uses, the patient removes the units 540 so that the coupling agent can be applied again to the electrode 230.

 [0131] FIGS. 17 and 18 illustrate another article of clothing which has the insulated electrodes 230 incorporated as part thereof. More specifically, a bra or the like 700 is illustrated and includes a body that is formed of a traditional bra material, generally indicated at 705, to provide shape, support and comfort to the wearer. The bra 700 also includes a fabric support layer 710 on one side thereof. The support layer 710 is preferably formed of a suitable fabric material that is constructed to provide necessary and desired support to the bra 700.

 [0132] Similar to the other embodiments, the bra 700 includes one or more insulated electrodes 230 disposed within the bra material 705. The one or more insulated electrodes are disposed along an inner surface of the bra 700 opposite the support 710 and are intended to be placed proximate to a tumor or the like that is located within one breast or in the immediately surrounding area. As with the previous embodiment, the insulated electrodes 230 in this embodiment are specifically constructed and configured for application to a breast or the immediate area. Thus, the insulated electrodes 230 used in this application do not have a planar surface construction but rather have an arcuate shape that is complementary to the general curvature found in a typical breast.

 [0133] A lining 720 is disposed across the insulated electrodes 230 so as to assist in retaining the insulated electrodes in their desired locations along the inner surface for placement against the breast itself. The lining 720 can be formed of any number of thin materials that are comfortable to wear against one's skin and in one exemplary embodiment, the lining 720 is formed of a fabric material.

 [0134] The bra 700 also preferably includes a biasing mechanism 800 as in some of the earlier embodiments. The biasing mechanism 800 is disposed within the bra material 705 and extends from the support 710 to the insulated electrode 230 and applies a biasing force to the insulated electrode 230 so that the electrode 230 is pressed against the breast. This ensures that the insulated electrode 230 remains in contact with the skin surface as opposed to lifting away from the skin surface, thereby creating a gap that results in a less effective treatment since the gap diminishes the efficiency of the TC fields. The biasing mechanism 800 can be in the form of a spring arrangement or it can be an elastic material that applies the desired biasing force to the insulated electrodes 230 so as to press the insulated electrodes 230 into the breast. In the relaxed position, the biasing mechanism 800 applies a force against the insulated electrodes 230 and when the patient places the bra 700 on their body, the insulated electrodes 230 are placed against the breast which itself applies a force that counters the biasing force, thereby resulting in the insulated electrodes 230 being pressed against the patient's breast. In the exemplary embodiment that is illustrated, the biasing mechanism 800 is in the form of springs that are disposed within the bra material 705.

 [0135] A conductive gel 810 can be provided on the insulated electrode 230 between the electrode and the lining 720. The conductive gel layer 810 is formed of materials that have been previously described herein for performing the functions described above.

 [0136] An electric connector 820 is provided as part of the insulated electrode 230 and electrically connects to the conductor 220 at one end thereof, with the other end of the conductor 220 being electrically connected to the generator 210. In this embodiment, the conductor 220 runs within the bra material 705 to a location where an opening is formed in the bra 700. The conductor 220 extends through this opening and is routed to the generator 210, which in this embodiment is disposed in a location remote from the bra 700. It will also be appreciated that the generator 210 can be disposed within the bra 700 itself in another embodiment. For example, the bra 700 can have a compartment formed therein which is configured to receive and hold the generator 210 in place as the patient wears the bra 700. In this arrangement, the compartment can be covered with a releasable strap that can open and close to permit the generator 210 to be inserted therein or removed therefrom. The strap can be formed of the same material that is used to construct the bra 700 or it can be formed of some other type of material. The strap can be releasably attached to the surrounding bra body by fastening means, such as a hook and loop material, thereby permitting the patient to easily open the compartment by separating the hook and loop elements to gain access to the compartment for either inserting or removing the generator 210.

 [0137] The generator 210 also has a connector 211 for electrical connection to the conductor 220 and this permits the generator 210 to be electrically connected to the insulated electrodes 230.

 [0138] As with the other embodiments, the insulated electrodes 230 are arranged in the bra 700 to focus the electric field (TC fields) on the desired target (e.g., a tumor). It will be appreciated that the location of the insulated electrodes 230 within the bra 700 will vary depending upon the location of the tumor. In other words, after the tumor has been located, the physician will then devise an arrangement of insulated electrodes 230 and the bra 700 is constructed in view of this arrangement so as to optimize the effects of the TC fields on the target area (tumor). The number and position of the insulated electrodes 230 will therefore depend upon the precise location of the tumor or other target area that is being treated. Because the location of the insulated electrodes 230 on the bra 700 can vary depending upon the precise application, the exact size and shape of the insulated electrodes 230 can likewise vary. For example, if the insulated electrodes 230 are placed on the bottom section of the bra 700 as opposed to a more central location, the insulated electrodes 230 will have different shapes since the shape of the breast (as well as the bra) differs in these areas.

 [0139] FIG. 19 illustrates yet another embodiment in which the insulated electrodes 230 are in the form of internal electrodes that are incorporated into in the form of a probe or catheter 600 that is configured to enter the body through a natural pathway, such as the urethra, vagina, etc. In this embodiment, the insulated electrodes 230 are disposed on an outer surface of the probe 600 and along a length thereof. The conductors 220 are electrically connected to the electrodes 230 and run within the body of the probe 600 to the generator 210 which can be disposed within the probe body or the generator 210 can be disposed independent of the probe 600 in a remote location, such as on the patient or at some other location close to the patient.

[0140] Alternatively, the probe 600 can be configured to penetrate the skin surface or other tissues to reach an internal target that lies within the body. For example, the probe 600 can penetrate the skin surface and then be positioned adjacent to or proximate to a tumor that is located within the body.

[0141] In these embodiments, the probe 600 is inserted through the natural pathway and then is positioned in a desired location so that the insulated electrodes 230 are disposed near the target area (i.e., the tumor). The generator 210 is then activated to cause the insulated electrodes 230 to generate the TC fields which are applied to the tumor for a predetermined length of time. It will be appreciated that the illustrated probe 600 is merely exemplary in nature and that the probe 600 can have other shapes and configurations so long as they can perform the intended function. Preferably, the conductors (e.g., wires) leading from the insulated electrodes 230 to the generator 210 are twisted or shielded so as not to generate a field along the shaft.

 [0142] It will further be appreciated that the probes can contain only one insulated electrode while the other can be positioned on the body surface. This external electrode should be larger or consist of numerous electrodes so as to result in low lines of force-current density so as not to affect the untreated areas. In fact, the placing of electrodes should be designed to minimize the field at potentially sensitive areas. Optionally, the external electrodes may be held against the skin surface by a vacuum force (e.g., suction).

 [0143] FIG. 20 illustrates yet another embodiment in which a high standing collar member 900 (or necklace type structure) can be used to treat thyroid, parathyroid, laryngeal lesions, etc. FIG. 20 illustrates the collar member 900 in an unwrapped, substantially flat condition. In this embodiment, the insulated electrodes 230 are incorporated into a body 910 of the collar member 900 and are configured for placement against a neck area of the wearer. The insulated electrodes 230 are coupled to the generator 210 according to any of the manner described hereinbefore and it will be appreciated that the generator 210 can be disposed within the body 910 or it can be disposed in a location external to the body 910. The collar body 910 can be formed of any number of materials that are traditionally used to form collars 900 that are disposed around a person's neck. As such, the collar 900 preferably includes a means 920 for adjusting the collar 900 relative to the neck. For example, complementary fasteners (hook and loop fasteners, buttons, etc.) can be disposed on ends of the collar 900 to permit adjustment of the collar diameter.

 [0144] Thus, the construction of the present devices are particularly well suited for applications where the devices are incorporated into articles of clothing to permit the patient to easily wear a traditional article of clothing while at the same time the patient undergoes treatment. In other words, an extra level of comfort can be provided to the patient and the effectiveness of the treatment can be increased by incorporating some or all of the device components into the article of clothing. The precise article of clothing that the components are incorporated into will obviously vary depending upon the target area of the living tissue where tumor, lesion or the like exists. For example, if the target area is in the testicle area of a male patient, then an article of clothing in the form of a sock-like structure or wrap can be provided and is configured to be worn around the testicle area of the patient in such a manner that the insulated electrodes thereof are positioned relative to the tumor such that the TC fields are directed at the target tissue. The precise nature or form of the article of clothing can vary greatly since the device components can be incorporated into most types of articles of clothing and therefore, can be used to treat any number of different areas of the patient's body where a condition may be present.

 [0145] Now turning to FIGS. 21-22 in which another aspect of the present device is shown. In FIG. 21, a body 1000, such as any number of parts of a human or animal body, is illustrated. As in the previous embodiments, two or more insulated electrodes 230 are disposed in proximity to the body 1000 for treatment of a tumor or the like (not shown) using TC fields, as has been previously described in great detail in the above discussion of other embodiments. The insulated electrode 230 has a conductive component and has external insulation 260 that surrounds the conductive component thereof. Each insulated electrode 230 is preferably connected to a generator (not shown) by the lead 220. Between each insulated electrode 220 and the body 1000, a conductive filler material (e.g., conductive gel member 270) is disposed. The insulated electrodes 230 are spaced apart from one another and when the generator is actuated, the insulated electrodes 230 generate the TC fields that have been previously described in great detail. The lines of the electric field (TC field) are generally illustrated at 1010. As shown, the electric field lines 1010 extend between the insulated electrodes 230 and through the conductive gel member 270.

 [0146] Over time or as a result of some type of event, the external insulation 260 of the insulated electrode 230 can begin to breakdown at any given location thereof. For purpose of illustration only, FIG. 22 illustrates that the external insulation 260 of one of the insulated electrodes 230 has experienced a breakdown 1020 at a face thereof which is adjacent the conductive gel member 270. It will be appreciated that the breakdown 1020 of the external insulation 260 results in the formation of a strong current flow-current density at this point (i.e., at the breakdown 1020). The increased current density is depicted by the increased number of electric field lines 1010 and the relative positioning and distance between adjacent electric field lines 1010. One of the side effects of the occurrence of breakdown 1020 is that current exists at this point which will generate heat and may burn the tissues/skin which have a resistance. In FIG. 22, an overheated area 1030 is illustrated and is a region or area of the tissues/skin where an increased current density exits due to the breakdown 1020 in the external insulation 260. A patient can experience discomfort and pain in this area 1030 due to the strong current that exists in the area and the increased heat and possible burning sensation that exist in area 1030.

[0147] FIG. 23 illustrates yet another embodiment in which a further application of the insulated electrodes 230 is shown. In this embodiment, the conductive gel member 270 that is disposed between the insulated electrode 230 and the body 1000 includes a conductor 1100 that is floating in that the gel material forming the member 270 completely surrounds the conductor 1100. In one exemplary embodiment, the conductor 1100 is a thin metal sheet plate that is disposed within the conductor 1100. As will be appreciated, if a conductor, such as the plate 1100, is placed in a homogeneous electric field, normal to the lines of the electric field, the conductor 1100 practically has no effect on the field (except that the two opposing faces of the conductor 1100 are equipotential and the corresponding equipotentials are slightly shifted). Conversely, if the conductor 1100 is disposed parallel to the electric field, there is a significant distortion of the electric field. The area in the immediate proximity of the conductor 1100 is not equipotential, in contrast to the situation where there is no conductor 1100 present. When the conductor 1100 is disposed within the gel member 270, the conductor 1100 will typically not effect the electric field (TC field) for the reasons discussed above, namely that the conductor 1100 is normal to the lines of the electric field.

[0148] If there is a breakdown of the external insulation 260 of the insulated electrode 230, there is a strong current flow-current density at the point of breakdown as previously discussed; however, the presence of the conductor 1100 causes the current to spread throughout the conductor 1100 and then exit from the whole surface of the conductor 1100 so that the current reaches the body 1000 with a current density that is neither high nor low. Thus, the current that reaches the skin will not cause discomfort to the patient even when there has been a breakdown in the insulation 260 of the insulated electrode 230. It is important that the conductor 1100 is not grounded as this would cause it to abolish the electric field beyond it. Thus, the conductor 1100 is "floating" within the gel member 270.

[0149] If the conductor 1100 is introduced into the body tissues 1000 and is not disposed parallel to the electric field, the conductor 1100 will cause distortion of the electric field. The distortion can cause spreading of the lines of force (low field density-intensity) or concentration of the lines of field (higher density) of the electric field, according to the particular geometries of the insert and its surroundings, and thus, the conductor 1100 can exhibit, for example, a screening effect. Thus, for example, if the conductor 1100 completely encircles an organ 1101, the electric field in the organ itself will be zero since this type of arrangement is a Faraday cage. However, because it is impractical for a conductor to be disposed completely around an organ, a conductive net or similar structure can be used to cover, completely or partially, the organ, thereby resulting in the electric field in the organ itself being zero or about zero. For example, a net can be made of a number of conductive wires that are arranged relative to one another to form the net or a set of wires can be arranged to substantially encircle or otherwise cover the organ 1101. Conversely, an organ 1103 to be treated (the target organ) is not covered with a member having a Faraday cage effect but rather is disposed in the electric field 1010 (TC fields).

[0150] FIG. 24 illustrates an embodiment where the conductor 1100 is disposed within the body (i.e., under the skin) and it is located near a target (e.g., a target organ). By placing the conductor 1100 near the target, high field density (of the TC fields) is realized at the target. At the same time, another nearby organ can be protected by disposing the above described protective conductive net or the like around this nearby organ so as to protect this organ from the fields. By positioning the conductor 1100 in close proximity to the target, a high field density condition can be provided near or at the target. In other words, the conductor 1100 permits the TC fields to be focused at a particular area (i.e., a target).

[0151] It will also be appreciated that in the embodiment of FIG. 24, the gel members 260 can each include a conductor as described with reference to FIG. 23. In such an arrangement, the conductor in the gel member 260 protects the skin surface (tissues) from any side effects that may be realized if a breakdown in the insulation of the insulated electrode 230 occurs. At the same time, the conductor 1100 creates a high field density near the target.

[0152] There are a number of different ways to tailor the field density of the electric field by constructing the electrodes differently and/or by strategically placing the electrodes relative to one another. For example, in FIG. 25, a first insulated electrode 1200 and a second insulated electrode 1210 are provided and are disposed about a body 1300. Each insulated electrode includes a conductor that is preferably surrounded by an insulating material, thus the term "insulated electrode". Between each of the first and second electrodes 1200, 1210 and the body 1300, the conductive gel member 270 is provided. Electric field lines are generally indicated at 1220 for this type of arrangement. In this embodiment, the first insulated electrode 1200 has dimensions that are significantly greater than the dimensions of the second insulated electrode 1210 (the conductive gel member for the second insulated electrode 1210 will likewise be smaller).

 [0153] By varying the dimensions of the insulated electrodes, the pattern of the electric field lines 1220 is varied. More specifically, the electric field tapers inwardly toward the second insulated electrode 1210 due to the smaller dimensions of the second insulated electrode 1210. An area of high field density, generally indicated at 1230, forms near the interface between the gel member 270 associated with the second insulated electrode 1210 and the skin surface. The various components of the system are manipulated so that the tumor within the skin or on the skin is within this high field density so that the area to be treated (the target) is exposed to electric field lines of a higher field density.

[0154] FIG. 26 also illustrates a tapering TC field when a conductor 1400 (e.g., a conductive plate) is disposed in each of the conductive gel members 270. In this embodiment, the size of the gel members 270 and the size of the conductors 1400 are the same or about the same despite the differences in the sizes of the insulated electrodes 1200, 1210. The conductors 1400 again can be characterized as "floating plates" since each conductor 1400 is surrounded by the material that forms the gel member 270. As shown in FIG. 26, the placement of one conductor 1400 near the insulated electrode 1210 that is smaller than the other insulated electrode 1200 and is also smaller than the conductor 1400 itself and the other insulated electrode 1200 is disposed at a distance therefrom, the one conductor 1400 causes a decrease in the field density in the tissues disposed between the one conductor 1400 and the other insulated electrode 1200. The decrease in the field density is generally indicated at 1410. At the same time, a very inhomogeneous tapering field, generally indicated at 1420, changing from very low density to very high density is formed between the one conductor 1400 and the insulated electrode 1210. One benefit of this exemplary configuration is that it permits the size of the insulated electrode to be reduced without causing an increase in the nearby field density. This can be important since electrodes that having very high dielectric constant insulation can be very expensive. Some insulated electrodes, for example, can cost $500.00 or more; and further, the price is sensitive to the particular area of treatment. Thus, a reduction in the size of the insulated electrodes directly leads to a reduction in cost.

[0155] As used herein, the term "tumor" refers to a malignant tissue comprising transformed cells that grow uncontrollably. Tumors include leukemias, lymphomas, myelomas, plasmacytomas, and the like; and solid tumors. Examples of solid tumors that can be treated according to the invention include sarcomas and carcinomas such as, but not limited to: fibrosarcoma, myxosarcoma, liposarcoma, chondrosarcoma, osteogenic sarcoma, chordoma, angiosarcoma, endotheliosarcoma, lymphangiosarcoma, lymphangioendotheliosarcoma, synovioma, mesothelioma, Ewing's tumor, leiomyosarcoma, rhabdomyosarcoma, colon carcinoma, pancreatic cancer, breast cancer, ovarian cancer, prostate cancer, squamous cell carcinoma, basal cell carcinoma, adenocarcinoma, sweat gland carcinoma, sebaceous gland carcinoma, papillary carcinoma, papillary adenocarcinomas, cystadenocarcinoma, medullary carcinoma, bronchogenic carcinoma, renal cell carcinoma, hepatoma, bile duct carcinoma, choriocarcinoma, seminoma, embryonal carcinoma, Wilms' tumor, cervical cancer, testicular tumor, lung carcinoma, small cell lung carcinoma, bladder carcinoma, epithelial carcinoma, glioma, astrocytoma, medulloblastoma, craniopharyngioma, ependymoma, pinealoma, hemangioblastoma, acoustic neuroma, oligodendroglioma, meningioma, melanoma, neuroblastoma, and retinoblastoma. Because each of these tumors undergoes rapid growth, any one can be treated in accordance with the invention. The invention is particularly advantageous for treating brain tumors, which are difficult to treat with surgery and radiation, and often inaccessible to chemotherapy or gene therapies. In addition, the present invention is suitable for use in treating skin and breast tumors because of the ease of localized treatment provided by the present invention.

 [0156] In addition, the present invention can control uncontrolled growth associated with non-malignant or pre-malignant conditions, and other disorders involving inappropriate cell or tissue growth by application of an electric field in accordance with the invention to the tissue undergoing inappropriate growth. For example, it is contemplated that the invention is useful for the treatment of arteriovenous (AV) malformations, particularly in intracranial sites. The invention may also be used to treat psoriasis, a dermatologic condition that is characterized by inflammation and vascular proliferation; and benign prostatic hypertrophy, a condition associated with inflammation and possibly vascular proliferation. Treatment of other hyperproliferative disorders is also contemplated.

[0157] Furthermore, undesirable fibroblast and endothelial cell proliferation associated with wound healing, leading to scar and keloid formation after surgery or injury, and restenosis after angioplasty or placement of coronary stents can be inhibited by application of an electric field in accordance with the present invention. The non-invasive nature of this invention makes it particularly desirable for these types of conditions, particularly to prevent development of internal scars and adhesions, or to inhibit restenosis of coronary, carotid, and other important arteries.

[0158] In addition to treating tumors that have already been detected, the above-described embodiments may also be used prophylactically to prevent tumors from ever reaching a detectable size in the first place. For example, the bra embodiment described above in connection with FIGS. 17 and 18 may be worn by a woman for an 8 hour session every day for a week, with the week-long course of treatment being repeated every few months to kill any cells that have become cancerous and started to proliferate. This mode of usage is particularly appropriate for people who are at high risk for a particular type of cancer (e.g., women with a strong history of breast cancer in their families, or people who have survived a bout of cancer and are at risk of a relapse). The course of prophylactic treatment may be tailored based on the type of cancer being targeted and/or to suit the convenience of the patient. For example, undergoing a four 16 hour sessions during the week of treatment may be more convenient for some patients than seven 8 hour session, and may be equally effective.

 [0159] Thus, the present invention provides an effective, simple method of selectively destroying dividing cells, e.g., tumor cells and parasitic organisms, while non-dividing cells or organisms are left affected by application of the method on living tissue containing both types of cells or organisms. Thus, unlike many of the conventional methods, the present invention does not damage the normal cells or organisms. In addition, the present invention does not discriminate based upon cell type (e.g., cells having differing sizes) and therefore may be used to treat any number of types of sizes having a wide spectrum of characteristics, including varying dimensions.

[0160] While the invention has been particularly shown and described with reference to preferred embodiments thereof, it will be understood by those skilled in the art that various changes in form and details can be made without departing from the spirit and scope of the invention.



Apparatus and method for optimizing tumor treatment efficiency by electric fields
US2004176804

CROSS-REFERENCE TO RELATED APPLICATIONS

[0001] This application is a continuation-in-part of U.S. patent application Ser. No. 10/204,334, filed Oct. 16, 2002, which claims the benefit of U.S. patent application Ser. No. 60/183,295, filed Feb. 17, 2000, both of which are hereby incorporated by reference in their entirety.

FIELD OF THE INVENTION

 [0002] The present invention relates to the selective destruction of rapidly dividing cells in a localized area, and more particularly, to an apparatus and method for optimizing the selective destruction of dividing cells by calculating the spatial and temporal distribution of electric fields for optimal treatment of a specific patient with a specific tumor taking into account its location and characteristics.

BACKGROUND OF THE INVENTION

[0003] All living organisms proliferate by cell division, including cell cultures, microorganisms (such as bacteria, mycoplasma, yeast, protozoa, and other single-celled organisms), fungi, algae, plant cells, etc. Dividing cells of organisms can be destroyed, or their proliferation controlled, by methods that are based on the sensitivity of the dividing cells of these organisms to certain agents. For example, certain antibiotics stop the multiplication process of bacteria.

[0004] The process of eukaryotic cell division is called "mitosis", which involves a number of distinct phases. During interphase, the cell replicates chromosomal DNA, which begins condensing in early prophase. At this point, centrioles (each cell contains 2) being moving towards opposite poles of the cell. In middle prophase, each chromosome is composed of duplicate chromatids. Microtubular spindles radiate from regions adjacent to the centrioles, which are closer to their poles. By late prophase, the centrioles have reached the poles, and some spindle fibers extend to the center of the cell, while others extend from the poles to the chromatids. The cells then move into metaphase, when the chromosomes move toward the equator of the cell and align in the equatorial plane. Next is early anaphase, during which time daughter chromatids separate from each other at the equator by moving along the spindle fibers toward a centromere at opposite poles. The cell begins to elongate along the axis of the pole; the pole-to-pole spindles elongate. Late anaphase occurs when the daughter chromosomes (as they are now called) each reach their respective opposite poles. At this point, cytokinesis begins as the cleavage furrow begins to form at the equator of the cell. In other words, late anaphase is the point at which pinching the cell membrane begins. During telophase, cytokinesis is nearly complete and spindles disappear. Only a relatively narrow membrane connection joins the two cytoplasms. Finally, the membranes separate fully, cytokinesis is complete and the cell returns to interphase.

[0005] In meiosis, the cell undergoes a second division, involving separation of sister chromosomes to opposite poles of the cell along spindle fibers, followed by formation of a cleavage furrow and cell division. However, this division is not preceded by chromosome replication, yielding a haploid germ cell.

[0006] It is known in the art that tumors, particularly malignant or cancerous tumors, grow very uncontrollably compared to normal tissue. Such expedited growth enables tumors to occupy an ever-increasing space and to damage or destroy tissue adjacent thereto. Furthermore, certain cancers are characterized by an ability to transmit cancerous "seeds", including single cells or small cell clusters (metastasises), to new locations where the metastatic cancer cells grow into additional tumors.

[0007] The rapid growth of tumors in general, and malignant tumors in particular, as described above, is the result of relatively frequent cell division or multiplication of these cells compared to normal tissue cells. The distinguishably frequent cell division of cancer cells is the basis for the effectiveness of existing cancer treatments, e.g., irradiation therapy and the use of various chemotherapeutic agents. Such treatments are based on the fact that cells undergoing division are more sensitive to radiation and chemo-therapeutic agents than non-dividing dells. Because tumor cells divide much more frequently than normal cells, it is possible, to a certain extent, to selectively damage or destroy tumor cells by radiation therapy and/or by chemotherapy. The actual sensitivity of cells to radiation, therapeutic agents, etc., is also dependent on specific characteristics of different types of normal or malignant cell type. Thus, unfortunately, the sensitivity of tumor cells is not sufficiently higher than that of many types of normal tissues. This diminishes the ability to distinguish between tumor cells and normal cells and, therefore, existing cancer treatments typically cause significant damage to normal tissues, thus limiting the therapeutic effectiveness of such treatments. Furthermore, the inevitable damage to other tissue renders treatments very traumatic to the patients and, often, patients are unable to recover from a seemingly successful treatment. Also, certain types of tumors are not sensitive at all to existing methods of treatment.

[0008] There are also other methods for destroying cells that do not rely on radiation therapy or chemotherapy alone. For example, ultrasonic and electrical methods for destroying tumor cells can be used in addition to or instead of conventional treatments. Electric fields and currents have been used for medical purposes for many years. The most common is the generation of electric currents in a human or animal body by application of an electric field by means of a pair of conductive electrodes between which a potential difference is maintained. These electric currents are used either to exert their specific effects, i.e., to stimulate excitable tissue, or to generate heat by flowing in the body since it acts as a resistor. Examples of the first type of application include the following: cardiac defibrillators, peripheral nerve and muscle stimulators, brain stimulators, etc. Currents are used for heating, for example, in devices for tumor ablation, ablation of malfunctioning cardiac or brain tissue, cauterization, relaxation of muscle rheumatic pain and other pain, etc.

[0009] Another use of electric fields for medical purposes involves the utilization of high frequency oscillating fields transmitted from a source that emits an electric wave, such as an RF wave or a microwave source that is directed at the part of the body that is of interest (i.e., target). In these instances, there is no electric energy conduction between the source and the body; but rather, the energy is transmitted to the body by radiation or induction. More specifically, the electric energy generated by the source reaches the vicinity of the body via a conductor and is transmitted from it through air or some other electric insulating material to the human body.

[0010] In a conventional electrical method, electrical current is delivered to a region of the target tissue using electrodes that are placed in contact with the body of the patient. The applied electrical current destroys substantially all cells in the vicinity of the target tissue. Thus, this type of electrical method does not discriminate between different types of cells within the target tissue and results in the destruction of both tumor cells and normal cells.

[0011] Electric fields that can be used in medical applications can thus be separated generally into two different modes. In the first mode, the electric fields are applied to the body or tissues by means of conducting electrodes. These electric fields can be separated into two types, namely (1) steady fields or fields that change at relatively slow rates, and alternating fields of low frequencies that induce corresponding electric currents in the body or tissues, and (2) high frequency alternating fields (above 1 MHz) applied to the body by means of the conducting electrodes. In the second mode, the electric fields are high frequency alternating fields applied to the body by means of insulated electrodes.

[0012] The first type of electric field is used, for example, to stimulate nerves and muscles, pace the heart, etc. In fact, such fields are used in nature to propagate signals in nerve and muscle fibers, central nervous system (CNS), heart, etc. The recording of such natural fields is the basis for the ECG, EEG, EMG, ERG, etc. The field strength in these applications, assuming a medium of homogenous electric properties, is simply the voltage applied to the stimulating/recording electrodes divided by the distance between them. These currents can be calculated by Ohm's law and can have dangerous stimulatory effects on the heart and CNS and can result in potentially harmful ion concentration changes. Also, if the currents are strong enough, they can cause excessive heating in the tissues. This heating can be calculated by the power dissipated in the tissue (the product of the voltage and the current).

[0013] When such electric fields and currents are alternating, their stimulatory power, on nerve, muscle, etc., is an inverse function of the frequency. At frequencies above 1-10 KHz, the stimulation power of the fields approaches zero. This limitation is due to the fact that excitation induced by electric stimulation is normally mediated by membrane potential changes, the rate of which is limited by the RC properties (time constants on the order of 1 ms) of the membrane.

[0014] Regardless of the frequency, when such current inducing fields are applied, they are associated with harmful side effects caused by currents. For example, one negative effect is the changes in ionic concentration in the various "compartments" within the system, and the harmful products of the electrolysis taking place at the electrodes, or the medium in which the tissues are imbedded. The changes in ion concentrations occur whenever the system includes two or more compartments between which the organism maintains ion concentration differences. For example, for most tissues, [Ca<++> ] in the extracellular fluid is about 2*10<-3 > M, while in the cytoplasm of typical cells its concentration can be as low as 10<-7 > M. A current induced in such a system by a pair of electrodes, flows in part from the extracellular fluid into the cells and out again into the extracellular medium. About 2% of the current flowing into the cells is carried by the Ca<++> ions. In contrast, because the concentration of intracellular Ca<++> is much smaller, only a negligible fraction of the currents that exits the cells is carried by these ions. Thus, Ca<++> ions accumulate in the cells such that their concentrations in the cells increases, while the concentration in the extracellular compartment may decrease. These effects are observed for both DC and alternating currents (AC). The rate of accumulation of the ions depends on the current intensity ion mobilities, membrane ion conductance, etc. An increase in [Ca<++> ] is harmful to most cells and if sufficiently high will lead to the destruction of the cells. Similar considerations apply to other ions. In view of the above observations, long term current application to living organisms or tissues can result in significant damage. Another major problem that is associated with such electric fields, is due to the electrolysis process that takes place at the electrode surfaces. Here charges are transferred between the metal (electrons) and the electrolytic solution (ions) such that charged active radicals are formed. These can cause significant damage to organic molecules, especially macromolecules and thus damage the living cells and tissues.

[0015] In contrast, when high frequency electric fields, above 1 MHz and usually in practice in the range of GHz, are induced in tissues by means of insulated electrodes, the situation is quite different. These type of fields generate only capacitive or displacement currents, rather than the conventional charge conducting currents. Under the effect of this type of field, living tissues behave mostly according to their dielectric properties rather than their electric conductive properties. Therefore, the dominant field effect is that due to dielectric losses and heating. Thus, it is widely accepted that in practice, the meaningful effects of such fields on living organisms, are only those due to their heating effects, i.e., due to dielectric losses.

[0016] In U.S. Pat. No. 6,043,066 ('066) to Mangano, a method and device are presented which enable discrete objects having a conducting inner core, surrounded by a dielectric membrane to be selectively inactivated by electric fields via irreversible breakdown of their dielectric membrane. One potential application for this is in the selection and purging of certain biological cells in a suspension. According to this patent, an electric field is applied for targeting selected cells to cause breakdown of the dielectric membranes of these tumor cells, while purportedly not adversely affecting other desired subpopulations of cells. The cells are selected on the basis of intrinsic or induced differences in a characteristic electroporation threshold. The differences in this threshold can depend upon a number of parameters, including the difference in cell size.

[0017] The method of the '066 patent is therefore based on the assumption that the electroporation threshold of tumor cells is sufficiently distinguishable from that of normal cells because of differences in cell size and differences in the dielectric properties of the cell membranes. Based upon this assumption, the larger size of many types of tumor cells makes these cells more susceptible to electroporation and thus, it may be possible to selectively damage only the larger tumor cell membranes by applying an appropriate electric field. One disadvantage of this method is that the ability to discriminate is highly dependent upon on cell type, for example, the size difference between normal cells and tumor cells is significant only in certain types of cells. Another drawback of this method is that the voltages which are applied may damage some of the normal cells and may not damage all of the tumor cells because the differences in size and membrane dielectric properties are largely statistical and the actual cell geometries and dielectric properties may vary significantly. [

0018] What is needed in the art and has heretofore not been available is an apparatus for destroying dividing cells, wherein the apparatus better discriminates between dividing cells, including single-celled organisms, and non-dividing cells and is capable of selectively destroying the dividing cells or organisms with substantially no affect on the non-dividing cells or organisms and which can be configured to adopt its characteristics and spatial distribution within the patient's body so as to optimally destroy a specific tumor or tumors in a patient. The data regarding the specific tumor can be provided by conventional techniques, such as CT, MRI, etc., imaging of the tumor and its surroundings, as well as other means for characterization of the tumors.

SUMMARY OF THE INVENTION

[0019] An apparatus and related method for use in a number of different applications for optimization of the selective electric fields in destroying cells undergoing growth and division are provided. This includes cell (particularly tumor cells) in living tissues and organisms or other complex structures. The apparatus and method are designed to compute the optimal spatial and temporal characteristics for combating tumor growth within a body on the basis of cytological (as provided by biopsies, etc.) and anatomical data (as provided by CT, MRI, PET, etc.), as well as the electric properties of the different elements. On the basis of this computation, the apparatus applies the fields that have maximal effect on the tumor and minimal effect on all other tissues by adjusting both the field generator output characteristics and by optimal positioning of the insulated electrodes or isolects on the patient's body. For example and as will be described in greater detail hereinafter, the isolects are directly applied to the patient or by means of probes or pieces of clothing that are worn over the tumor area. In either case, the apparatus can activate the selected set of electrodes (isolects) to achieve optimal effect.

[0020] A major use of the method and apparatus of the present invention is in treatment of tumors by selective destruction of tumor cells with substantially no affect on normal tissue cells and, thus, the invention is described below in the context of selective destruction of tumor cells. It should be appreciated however that, for the purpose of the description that follows, the term "cell" may also refer to single-celled organisms (eubacteria, bacteria, yeast, protozoa), multi-celled organisms (fungi, algae, mold), and plants as or parts thereof that are not normally classified as "cells". The method of the present invention enables selective destruction of tumor cells, or other organisms, by selective destruction of cells undergoing division in a way that is more effective and more accurate (e.g., more adaptable to be aimed at specific targets) than existing methods. Further, the method of the present invention causes minimal damage, if any, to normal tissue and, thus, reduces or eliminates many side-effects associated with existing selective destruction methods, such as radiation therapy and chemotherapy. The selective destruction of dividing cells in accordance with the method of the present invention does not depend on the sensitivity of the cells to chemical agents or radiation. Instead, the selective destruction of dividing cells is based on distinguishable geometrical characteristics of cells undergoing division, in comparison to non-dividing cells, regardless of the cell geometry of the type of cells being treated. As well as the electric properties of the special apparatus associated with cell division (microtubules, tubulin filaments, etc.).

[0021] In an embodiment of the present invention, cell geometry-dependent selective destruction of living tissue is performed by inducing a non-homogenous electric field in the cells, as described below.

[0022] It has been observed by the present inventor that, while different cells in their non-dividing state may have different shapes, e.g., spherical, ellipsoidal, cylindrical, "pancake-like", etc., the division process of practically all cells is characterized by development of a "cleavage furrow" in late anaphase and telophase. This cleavage furrow is a slow constriction of the cell membrane (between the two sets of daughter chromosomes) which appears microscopically as a growing cleft (e.g., a groove or notch) that gradually separates the cell into two new cells. During the division process, there is a transient period (telophase) during which the cell structure is basically that of two sub-cells interconnected by a narrow "bridge" formed of the cell material. The division process is completed when the "bridge" between the two sub-cells is broken. The selective destruction of tumor cells using the present electronic apparatus utilizes this unique geometrical feature of dividing cells.

 [0023] When a cell or a group of cells are under natural conditions or environment, i.e., part of a living tissue, they are disposed surrounded by a conductive environment consisting mostly of an electrolytic inter-cellular fluid and other cells that are composed mostly of an electrolytic intra-cellular liquid. When an electric field is induced in the living tissue, by applying an electric potential across the tissue, an electric field is formed in the tissue and the specific distribution and configuration of the electric field lines defines the direction of charge displacement, or paths of electric currents in the tissue, if currents are in fact induced in the tissue. The distribution and configuration of the electric field is dependent on various parameters of the tissue, including the geometry and the electric properties of the different tissue components, and the relative conductivities, capacities and dielectric constants (that may be frequency dependent) of the tissue components.

 [0024] The electric current flow pattern for cells undergoing division is very different and unique as compared to non-dividing cells. Such cells including first and second sub-cells, namely an "original" cell and a newly formed cell, that are connected by a cytoplasm "bridge" or "neck". The currents penetrate the first sub-cell through part of the membrane ("the current source pole"); however, they do not exit the first sub-cell through a portion of its membrane closer to the opposite pole ("the current sink pole"). Instead, the lines of current flow converge at the neck or cytoplasm bridge, whereby the density of the current flow lines is greatly increased. A corresponding, "mirror image", process that takes place in the second sub-cell, whereby the current flow lines diverge to a lower density configuration as they depart from the bridge, and finally exit the second sub-cell from a part of its membrane closes to the current sink.

[0025] When a polarizable object is placed in a non-uniform converging or diverging field, electric forces act on it and pull it towards the higher density electric field lines. In the case of dividing cell, electric forces are exerted in the direction of the cytoplasm bridge between the two cells. Since all intercellular organelles and macromolecules are polarizable, they are all force towards the bridge between the two cells. The field polarity is irrelevant to the direction of the force and, therefore, an alternating electric having specific properties can be used to produce substantially the same effect. It will also be appreciated that the concentrated and inhomogeneous electric field present in or near the bridge or neck portion in itself exerts strong forces on charges and natural dipoles and can lead to the disruption of structures associated with these members.

[0026] The movement of the cellular organelles towards the bridge disrupts the cell structure and results in increased pressure in the vicinity of the connecting bridge membrane. This pressure of the organelles on the bridge membrane is expected to break the bridge membrane and, thus, it is expected that the dividing cell will "explode" in response to this pressure. The ability to break the membrane and disrupt other cell structures can be enhanced by applying a pulsating alternating electric field that has a frequency from about 50 KHz to about 500 KHz. When this type of electric field is applied to the tissue, the forces exerted on the intercellular organelles have a "hammering" effect, whereby force pulses (or beats) are applied to the organelles numerous times per second, enhancing the movement of organelles of different sizes and masses towards the bridge (or neck) portion from both of the sub-cells, thereby increasing the probability of breaking the cell membrane at the bridge portion. The forces exerted on the intracellular organelles also affect the organelles themselves and may collapse or break the organelles.

 [0027] According to one exemplary embodiment, the apparatus for applying the electric field is an electronic apparatus that generates the desired electric signals in the shape of waveforms or trains of pulses. The electronic apparatus includes a generator that generates an alternating voltage waveform at frequencies in the range from about 50 KHz to about 500 KHz. The generator is operatively connected to conductive leads which are connected at their other ends to insulated conductors/electrodes (also referred to as isolects) that are activated by the generated waveforms. The generator may provide each electrode with a specific selected waveform that is calculated for field distribution that gives optimal results. This can be represented in the form of an Optimal Map. The insulated electrodes consist of a conductor in contact with a dielectric (insulating layer) that is in contact with the conductive tissue, thus forming a capacitor. The electric fields that are generated by the present apparatus can be applied in several different modes depending upon the precise treatment application and physiological and anatomical characteristics of the patient's parts of the body undergoing treatment.

BRIEF DESCRIPTION OF THE DRAWINGS


























































[0028] FIG. 1A-1E are simplified, schematic, cross-sectional, illustrations of various stages of a cell division process;

[0029] FIGS. 2A and 2B are schematic illustrations of a non-dividing cell being subjected to an electric field, in accordance with an embodiment of the present invention;

[0030] FIGS. 3A, 3B and 3C are schematic illustrations of a dividing cell being subjected to an electric field, resulting in destruction of the cell (FIG. 3C), in accordance with an embodiment of the present invention;

[0031] FIG. 4 is a schematic illustration of a dividing cell at one stage being subjected to an electric field;

[0032] FIG. 5 is a schematic block diagram of an apparatus for applying an electric field according to one exemplary embodiment for selectively destroying cells;

[0033] FIG. 6 is a simplified schematic diagram of an equivalent electric circuit of insulated electrodes of the apparatus of FIG. 5;

[0034] FIG. 7 is diagrammatic flow chart for computing an optimal electric field;

[0035] FIG. 8 is a front elevation view of an undershirt incorporating the present apparatus being worn over a human body;

[0036] FIG. 9 is a cross-sectional taken along the line 9-9;

[0037] FIG. 10 is schematic view of a target area on which the electric field is to be focused;

[0038] FIG. 11 is a photographic image of the optimal position of electrodes around the target area (tissue mass) of FIG. 10;

[0039] FIG. 12 is a schematic illustration of a geometric model for positioning electrodes around a spine of a human patient where the electrodes are arranged symmetrically;

[0040] FIG. 13 is an enlarged schematic illustration of one electrode of the arrangement of FIG. 12;

[0041] FIG. 14 is a photographic image of a resulting electric field generated when the electrodes are arranged symmetrically as illustrated in FIG. 12;

[0042] FIG. 15 is a schematic illustration representing the electric field of FIG. 14 by arrows;

[0043] FIG. 16 is a schematic illustration of a geometric model for positioning electrodes around the spine in an asymmetric manner so that the electric field in the area of the spine is zero;

[0044] FIG. 17 is a photographic image of a resulting electric field generated when the electrodes are arranged asymmetrically as illustrated in FIG. 16;

[0045] FIG. 18 is a schematic illustration representing the electric field of FIG. 17 by arrows;

[0046] FIG. 19 is a cross-sectional illustration of a skin patch incorporating the apparatus of FIG. 5 and for placement on a skin surface for treating a tumor or the like;

[0047] FIG. 20 is a cross-sectional illustration of the insulated electrodes implanted within the body for treating a tumor or the like;

[0048] FIG. 21 is a cross-sectional illustration of the insulated electrodes implanted within the body for treating a tumor or the like;

[0049] FIGS. 22A-22D are cross-sectional illustrations of various constructions of the insulated electrodes of FIG. 5;

[0050] FIG. 23 is a front elevation view in partial cross-section of two insulated electrodes being arranged about a human torso for treatment of a tumor contained within the body, e.g., a tumor associated with lung cancer;

[0051] FIGS. 24A-24C are cross-sectional illustrations of various insulated electrodes with and without protective members formed as a part of the construction thereof;

[0052] FIG. 25 is a schematic diagram of insulated electrodes that are arranged for focusing the electric field at a desired target while leaving other areas in low field density (i.e., protected areas);

[0053] FIG. 26 is a cross-sectional view of insulated electrodes incorporated into a hat according to a first embodiment for placement on a head for treating an intra-cranial tumor or the like;

[0054] FIG. 27 is a partial section of a hat according to an exemplary embodiment having a recessed section for receiving one or more insulated electrodes;

[0055] FIG. 28 is a cross-sectional view of the hat of FIG. 27 placed on a head and illustrating a biasing mechanism for applying a force to the insulated electrode to ensure the insulated electrode remains in contact against the head;

[0056] FIG. 29 is a cross-sectional top view of an article of clothing having the insulated electrodes incorporated therein for treating a tumor or the like;

[0057] FIG. 30 is a cross-sectional view of a section of the article of clothing of FIG. 29 illustrating a biasing mechanism for biasing the insulated electrode in a direction to ensure the insulated electrode is placed proximate to a skin surface where treatment is desired;

[0058] FIG. 31 is a cross-sectional view of a probe according to one embodiment for being disposed internally within the body for treating a tumor or the like;

[0059] FIG. 32 is an elevation view of an unwrapped collar according to one exemplary embodiment for placement around a neck for treating a tumor or the like in the area where the collar is wrapped around the neck;

[0060] FIG. 33is a side elevation view of the present apparatus being used to prevent restenosis of arteries after angioplasty; and

[0061] FIG. 34 is an enlarged view of a stent used in the arrangement of FIG. 33.

DETAILED DESCRIPTION OF PREFERRED EMBODIMENTS THE INVENTION

[0062] Reference is made to FIGS. 1A-1E which schematically illustrate various stages of a cell division process. FIG. 1A shows a cell 10 at its normal geometry, which may be generally spherical (as shown in the drawings), ellipsoidal, cylindrical, "pancake" like, or any other cell geometry, as is known in the art. FIGS. 1B-1D show cell 10 during different stages of its division process, which results in the formation of two new cells 18 and 20, shown in FIG. 1E.

[0063] As shown in FIGS. 1B-1D, the division process of cell 10 is characterized by a slowly growing cleft 12 which gradually separates cell 10 into two units, namely, sub-cells 14 and 16, which eventually evolve into new cells 18 and 20 (FIG. 1E). As shown specifically in FIG. 1D, the division process is characterized by a transient period during which the structure of cell 10 is basically that of the two sub-cells 14 and 16 interconnected by a narrow "bridge" 22 containing cell material (cytoplasm surrounded by cell membrane).

 [0064] Reference is now made to FIGS. 2A and 2B, which schematically illustrate non-dividing cell 10 being subjected to an electric field produced by applying an alternating electric potential, at a relatively low frequency and at a relatively high frequency, respectively. Cell 10 includes intracellular organelles, e.g., a nucleus 30. Alternating electrical potential is applied across electrodes 28 and 32 that may be attached externally to a patient at a predetermined region, e.g., in the vicinity of a tumor being treated. When cell 10 is under natural conditions, i.e., part of a living tissue, it is disposed in a conductive environment (hereinafter referred to as a "volume conductor") consisting mostly of electrolytic inter-cellular liquid. When an electric potential is applied across electrode 28 and 32, some of the field lines of the resultant electric field (or the current induced in the tissue in response to the electric field) penetrate cell 10, while the rest of the field lines (or induced current) flow in the surrounding medium. The specific distribution of the electric field lines, which is substantially consistent with the direction of current flow in this case, depends on the geometry and the electric properties of the system components, e.g., the relative conductivities and dielectric constants of the system components, that may be frequency dependent. For low frequencies, e.g., frequencies considerably lower than 10 kHz, the conductance properties of the components dominate the current flow, and the field distribution is generally as depicted in FIG. 2A. At higher frequencies, e.g., at frequencies of between 10 kHz and 1 MHz, the dielectric properties of the components become more significant and eventually dominate the field distribution, resulting in field distribution lines as depicted generally in FIG. 2B.

[0065] For constant (i.e., DC) electric fields or relatively low frequency alternating electric fields, for example, frequencies under 10 kHz, the dielectric properties of the various components are not significant in determining and computing the field distribution. Therefore, as a first approximation, with regard to the electric field distribution, the system can be reasonably represented by the relative impedances of its various components. Under this approximation, the intercellular (i.e., extracellular) fluid and the intracellular fluid have a relatively low impedance, while the cell membrane 11 has a relatively high impedance. Thus, under low frequency conditions, only a fraction of the electric field lines (or currents induced by the electric field) penetrate membrane 11 of cell 10. At relatively high frequencies (e.g., 10 kHz-1 MHz), in contrast, the impedance of membrane 11 relative to the intercellular and intracellular fluids decreases and, thus, the fraction of currents penetrating the cells increases significantly. It should be noted that at very high frequencies, i.e., above 1 MHz, the membrane capacitance may short the membrane resistance and, therefore, the total membrane resistance may become negligible.

[0066] In any of the embodiments described above, the electric field lines (or induced currents) penetrate cell 10 from a portion of membrane 11 closest to one of the electrodes generating the current, e.g., closest to positive electrode 28 (also referred to herein as "source"). The current flow pattern across cell 10 is generally uniform because, under the above approximation, the field induced inside the cell is substantially homogenous. The currents exit cell 10 through a portion of membrane 11 closest to the opposite electrode, e.g., negative electrode 32 (also referred to herein as "sink").

[0067] The distinction between field lines and current flow may depend on a number of factors, for example, on the frequency of the applied electric potential and on whether electrodes 28 and 32 are electrically insulated. For insulated electrodes applying a DC or low frequency alternating voltage, there is practically no current flow along the lines of the electric field. At higher frequencies, displacement currents are induced in the tissue due to charging and discharging of the cell membranes (which act as capacitors to a certain extent), and such currents follow the lines of the electric field. Fields generated by non-insulated electrodes, in contrast, always generate some form of current flow, specifically, DC or low frequency alternating fields generate conductive current flow along the field lines, and high frequency alternating fields generate both conduction and displacement currents along the field lines. It should be appreciated, however, that movement of polarizable intracellular organelles according to the present invention (as described below) is not dependent on actual flow of current and, therefore, both insulated and non-insulated electrodes may be used efficiently in conjunction with the present invention. Nevertheless, insulated electrodes have the advantage of lower power consumption and causing less heating of the treated regions.

[0068] According to one exemplary embodiment, the electric fields that are used in the present apparatus are alternating fields having frequencies that in the range from about 50 KHz to about 500 KHz, and preferably from about 100 KHz to about 300 KHz. For ease of discussion, these type of electric fields are also referred to hereinafter as "TC fields", which is an abbreviation of "Tumor Curing electric fields", since these electric fields fall into an intermediate category (between high and low frequency ranges) that have bio-effective field properties, while having no meaningful stimulatory and thermal effects. These frequencies are sufficiently low so that the system behavior is determined by the system's "Ohmic" (conductive) properties but sufficiently high enough not to have any stimulation effect on excitable tissues. Such a system consists of two types of elements, namely, the intercellular, or extracellular fluid, or medium and the individual cells. The intercellular fluid is mostly an electrolyte with a specific resistance of about 40-100 ohm*cm. As mentioned above, the cells are characterized by three elements, namely (1) a thin, highly electric resistive membrane that coats the cell; (2) internal cytoplasm that is mostly an electrolyte that contains numerous macromolecules and micro-organelles, including the nucleus; and (3) membranes, similar in their electric properties to the cell membranes, cover the micro-organelles.

[0069] When this type of system is subjected to the present TC fields (e.g., alternating electric fields in the frequency range of 100 KHz-300 KHz), most of the lines of the electric field and currents tend away from the cells because of the high resistive cell membrane and therefore, the lines remain in the extracellular conductive medium. In the above recited frequency range, the actual fraction of electric field or currents that penetrate the cells is a strong function of the frequency.

 [0070] FIG. 2 schematically depicts the resulting field distribution in the system. As illustrated, the lines of force, which also depict the lines of potential current flow across the cell volume mostly in parallel with the undistorted lines of force (the main direction of the electric field). In other words, the field inside the cells is mostly homogeneous. In practice, the fraction of the field or current that penetrates the cells is determined by the cell membrane impedance value relative to that of the extracellular fluid. Since the equivalent electric circuit of the cell membrane is that of a resistor and capacitor in parallel, the impedance is function of the frequency. The higher the frequency, the lower the impedance, the larger the fraction of penetrating current and the smaller the field distortion. [0071] As previously mentioned, when cells are subjected to relatively weak electric fields and currents that alternate at high frequencies, such as the present TC fields having a frequency in the range of 50 KHz to 500 KHz, they have no effect on the non-dividing cells. While the present TC fields have no detectable effect on such systems, the situation becomes different in the presence of dividing cells.

 [0072] Reference is now made to FIGS. 3A-3C which schematically illustrate the electric current flow pattern in cell 10 during its division process, under the influence of high frequency alternating electric field in accordance with an embodiment of the invention. The field lines or induced currents penetrate cell 10 through a part of the membrane of sub-cell 16 closer to electrode 28. However, they do not exit through the cytoplasm bridge 22 that connects sub-cell 16 with the newly formed yet still attached sub-cell 14, or through a part of the membrane in the vicinity of bridge 22. Instead, the electric field or current flow lines-that are relatively widely separated in sub-cell 16-converge as they approach bridge 22 (also referred to as "neck" 22) and, thus, the current/field line density within neck 22 is increased dramatically. A "mirror image" process takes place in sub-cell 14, whereby the converging field lines in bridge 22 diverge as they approach the exit region of sub-cell 14.

[0073] It should be appreciated by persons skilled in the art that homogenous electric fields do not exert a force on electrically neutral objects, i.e., objects having substantially zero net charge, although such objects may become polarized. However, under a non-uniform, converging electric field, as shown in FIGS. 3A-3C, electric forces are exerted on polarized objects, moving them in the direction of the higher density electric field lines. It will be appreciated that the concentrated electric field that is present in the neck or bridge area in itself exerts strong forces on charges and natural dipoles and can disrupt structures that are associated therewith. One will understand that similar net forces act on charges in an alternating field, again in the direction of the field of higher intensity.

[0074] In the configuration of FIGS. 3A and 3B, the direction of movement of polarized objects is towards the higher density electric filed lines, i.e., towards the cytoplasm bridge 22 between sub-cells 14 and 16. It is known in the art that all intracellular organelles, for example, nuclei 24 and 26 of sub-cells 14 and 16, respectively, are polarizable and, thus, such intracellular organelles will be electrically forced in the direction of bridge 22. Since the movement is always from the lower density currents to the higher density currents, regardless of the field polarity, the forces applied by the alternating electric field to organelles such as nuclei 24 and 26 are always in the direction of bridge 22. A comprehensive description of such forces and the resulting movement of macromolecules or intracellular organelles, a phenomenon referred to as dielectrophoresis, is described extensively in the literature, for example, in C. L. Asbury & G. van den Engh, Biophys. J. 74, 1024-1030, 1998, the disclosure of which is incorporated herein by reference.

[0075] The movement of organelles 24 and 26 towards bridge 22 disrupts the structure of the dividing cell and, eventually, the pressure of the converging organelles on bridge membrane 22 results in breakage of cell membrane 11 at the vicinity of bridge 22, as shown schematically in FIG. 3C. The ability to break membrane 11 at bridge 22 and to otherwise disrupt the cell structure and organization may be enhanced by applying a pulsating AC electric field, rather than a steady AC field. When a pulsating field is applied, the forces acting on organelles 24 and 26 may have a "hammering" effect, whereby pulsed forces beat on the intracellular organelles at a desired rhythm, e.g., a pre-selected number of times per second. Such "hammering" is expected to enhance the movement of intracellular organelles towards neck 22 from both sub cells 14 and 16), thereby increasing the probability of breaking cell membrane 11 in the vicinity of neck 22. [0076] A very important element, which is very susceptible to the special fields that develop within the dividing cells is the microtubule spindle that plays a major role in the division process. In FIG. 4, a dividing cell 10 is illustrated, at an earlier stage as compared to FIGS. 3A and 3B, under the influence of external TC fields (e.g., alternating fields in the frequency range of about 100 KHz to about 300 KHz), generally indicated as lines 100, with a corresponding spindle mechanism generally indicated at 120. The lines 120 are microtubules that are known to have a very strong dipole moment. This strong polarization makes the tubules susceptible to electric fields. Their positive charges are located at two centrioles while two sets of negative poles are at the center of the dividing cells and the other pair is at the points of attachment of the microtubules to the cell membrane, generally indicated at 130. This structure forms sets of double dipoles and therefore, they are susceptible to fields of different directions. It will be understood that the effects of the TC fields on the dipoles does not depend on the formation of the bridge (neck) and thus, the dipoles are influenced by the TC fields prior to the formation of the bridge (neck).

[0077] Since the present apparatus, as described in greater detail hereinafter, utilizes insulated electrodes, the above-mentioned negative effects obtained when conductive electrodes are used, i.e., ion concentration changes in the cells and the formation of harmful agents by electrolysis, do not occur when the present apparatus is used. This is because, in general, no actual transfer of charges takes place between the electrodes and the medium and there is no charge flow in the medium where the currents are capacitive, i.e., are expressed only as rotation of charges, etc.

[0078] Turning now to FIG. 5, the TC fields described above that have been found to advantageously destroy tumor cells are generated by an electronic apparatus 200. FIG. 5 is a simple schematic diagram of the electronic apparatus 200 illustrating the major components thereof. The electronic apparatus 200 generates the desired electric field signals (TC signals) in the shape of waveforms or trains of pulses. The apparatus 200 includes a generator 210 and a set of pairs of conductive leads 220 that are attached at one end thereof to the generator 210. The opposite ends of the leads 220 are connected to the insulated conductors 230 that are activated by the electric signals (e.g., waveforms). The insulated conductors 230 are also referred to hereinafter as "isolects" 230. Optionally and according to one exemplary embodiment, the apparatus 200 includes a temperature sensor 240 or sensors and a control box 250 which are added to control the amplitude of the electric field generated so not to generate excessive heating in the area that is treated.

[0079] The generator 210 generates multiple alternating voltage waveforms at frequencies in the range from about 50 KHz to about 500 KHz (preferably from about 100 KHz to about 300 KHz)(i.e., the TC fields) as instructed by a controller 300. Preferably, the controller 300 is a programmable unit, such as a personal computer or the like, that permits the user to input certain parameters and the controller 300 will then make the necessary computations. The controller 300 also distributes to each electrode 230 the designated potential wave. The required voltages are such the electric field intensity in the tissue to be treated is in the range of about 0.1V/cm, according to one exemplary embodiment, to about 10V/cm while in the other areas it is significantly lower.

[0080] When the control box 250 is included, it controls the outputs of the generator 210 so that they will remain constant at the values preset by the user or the control box 250. The controller 300 issues a warning or the like when the temperature (sensed by temperature sensor 240) exceeds a preset limit.

 [0081] The details of the construction of the isolects 230 is based on their electric behavior that can be understood from their simplified electric circuit when in contact with tissue as generally illustrated in FIG. 6. In the illustrated arrangement, the potential drop or the electric field distribution between the different components is determined by their relative electric impedance, i.e., the fraction of the field on each component is given by the value of its impedance divided by the total circuit impedance. For example, the potential drop on element [Delta]VA=A/(A+B+C+D+E). Thus, for DC or low frequency AC, practically all the potential drop is on the capacitor (that acts as an insulator). For relatively very high frequencies, the capacitor practically is a short and therefore, practically all the field is distributed in the tissues. At the frequencies of the present TC fields (e.g., 50 KHz to 500 KHz), which are intermediate frequencies, the impedance of the capacitance of the capacitors is dominant and determines the field distribution. Therefore, in order to increase the effective voltage drop across the tissues (field intensity), the impedance of the capacitors is to be decreased (i.e., increase their capacitance). This can be achieved by increasing the effective area of the "plates" of the capacitor, decrease the thickness of the dielectric or use a dielectric with high dielectric constant.

[0082] In order to optimize the field distribution, the isolects 230 are configured differently depending upon the application in which the isolects 230 are to be used. There are two principle modes for applying the present electric fields (TC fields). First, the TC fields can be applied by external isolects and second, the TC fields can be applied by internal isolects.

[0083] Since the thin insulating layer can be very vulnerable, etc., the insulation can be replaced by very high dielectric constant insulating materials, such as titanium dioxide (e.g., rutil), the dielectric constant can reach values of about 200. There a number of different materials that are suitable for use in the intended application and have high dielectric constants. For example, some materials include: lithium nibate (LiNbO3), which is a ferroelectric crystal and has a number of applications in optical, pyroelectric and piezoelectric devices; yittrium iron garnet (YIG) is a ferrimagnetic crystal and magneto-optical devices, e.g., optical isolator can be realized from this material; barium titanate (BaTiO3) is a ferromagnetic crystal with a large electro-optic effect; potassium tantalate (KTaO3) which is a dielectric crystal (ferroelectric at low temperature) and has very low microwave loss and tunability of dielectric constant at low temperature; and lithium tantalate (LiTaO3) which is a ferroelectric crystal with similar properties as lithium niobate and has utility in electro-optical, pyroelectric and piezoelectric devices. It will be understood that the aforementioned exemplary materials can be used in combination with the present device where it is desired to use a material having a high dielectric constant.

 [0084] One must also consider another factor that effects the effective capacity of the isolects 230, namely the presence of air between the isolects 230 and the skin. Such presence, which is not easy to prevent, introduces a layer of an insulator with a dielectric constant of 1.0, a factor that significantly lowers the effective capacity of the isolects 230 and neutralizes the advantages of the titanium dioxide (routil), etc. To overcome this problem, the isolects 230 can be shaped so as to conform with the body structure and/or (2) an intervening filler 270 (as illustrated in FIG. 22C), such as a gel, that has high conductance and a high effective dielectric constant, can be added to the structure. The shaping can be pre-structured (see FIG. 22A) or the system can be made sufficiently flexible so that shaping of the isolects 230 is readily achievable. The gel can be made of hydrogels, gelatins, agar, etc., and can have salts dissolved in it to increase its conductivity. The exact thickness of the gel is not important so long as it is of sufficient thickness that the gel layer does not dry out during the treatment. In one exemplary embodiment, the thickness of the gel is about 0.5 mm to about 2 mm.

 [0085] In order to avoid overheating of the treated tissues, a selection of materials and field parameters is needed. The isolects insulating material should have minimal dielectric losses at the frequency ranges to be used during the treatment process. This factor can be taken into consideration when choosing the particular frequencies for the treatment. The direct heating of the tissues will most likely be dominated by the heating due to current flow (given by the I*R product). However, dielectric losses can also contribute and in addition, the isolect (insulated electrode) 230 and its surroundings should be made of materials that facilitate heat losses and its general structure should also facilitate head losses, i.e., minimal structures that block heat dissipation to the surroundings (air) as well as high heat conductivity.

[0086] As previously mentioned, a coupling agent, such as a conductive gel, is preferably used to ensure that an effective conductive environment is provided between the insulated electrode 230 and the skin surface 231. The coupling agent is disposed on the insulated electrode 230 and preferably, a uniform layer of the agent is provided along the surface of the electrode 230. One of the reasons that the units 540 need replacement at periodic times is that the coupling agent needs to be replaced and/or replenished. In other words, after a predetermined time period or after a number of uses, the patient removes the units 540 so that the coupling agent can be applied again to the electrode 230.

[0087] The leads 220 are standard isolated conductors with a flexible metal shield, preferably grounded so that it prevents the spread of the electric field generated by the leads 220. The isolects 230 have specific shapes and positioning so as to generate an electric field of the desired configuration, direction and intensity at the target volume and only there so as to focus the treatment. The generation of electric field distribution of the desired characteristics is achieved by placement of numerous isolects on the body surface, and when necessary also inside the body. The number of electrodes 230 can typically be about 20-100, placed about 4-12 cm apart. The electrodes 230 can be positioned individually on the skin, etc., (as by an adhesive), or be part of an article of clothing, such as elastic undershirt, as illustrated in FIGS. 8-9, that holds the electrodes in place. Each isolect 230 (electrode) is connected to the controller 300 and is provided with a voltage signal the amplitude and shape of which was calculated specifically for the particular electrode. One will also appreciate that the calculation for the voltage signal (amplitude and shape) can be made for groups of isolects as well instead of for individual isolects.

[0088] According to one aspect, a method for optimizing the selective destruction of dividing cells is provided and the method includes the general steps of calculating the spatial and temporal distribution of electric fields for optimal treatment of a specific patient that has a tumor of specific characteristics. This calculation takes into consideration the location and the specific characteristics of the tumor. [0089] One exemplary process for computing and applying an optimal electric field is described with reference to the flow chart of FIG. 7. FIG. 7 thus gives a general overview of the present optimization process. In steps 400, 410, 420, the user inputs different types of information that is used to compute the optimal electric field. For example, at step 400, the user inputs characteristics of the tissue cells in the area to be treated; at step 410, the user inputs characteristics of the tumor cells to be treated; and at step 420, the user inputs the anatomy of the area to be treated, including the tumor and its relevant surroundings. At step 430, this inputted information is used to compute the necessary field intensity in the tumor. The relative sensitivities of the non-tumor tissues to the electric fields is computed in step 440. At step 450, the maximal allowed field intensity at the various areas is determined and then based on the information inputted in steps 400 through 450, an optimal field map is computed at step 460. At step 470, the selected isolects (those present in the optimal field map) are computed as well as their position and waveform and the voltage that is to be delivered to each isolect. In order to further minimize the field map, the number of isolects is preferably reduced in step 480 to produce a modified field map and then the deviation of the modified map from the optimum is calculated. The calculated deviation is then compared to an inputted threshold value and if the calculated deviation is below the inputted threshold, the process of reducing the number of isolects is continued until the inputted threshold is obtained. Once the inputted threshold is obtained, a signal is delivered to the controller to activate the reduced number of isolects. At step 490, a signal is generated and delivered to the function generating system (e.g., the generator that produces the waveforms mentioned in step 470, such as an analog wave generator or a digital one, e.g., a waveform generated by a PC and outputted through a digital to analog converter) or the system is otherwise instructed to provide the selected waveform and voltage to the isolects. The field that results from activation of the isolects is monitored at step 510 and any errors are corrected. If any errors or abnormalities are detected, the field is modified as necessary according to the treatment protocol at step 520. The various algorithms that are used for the necessary computations are described hereinafter.

[0090] Since the signal that is delivered to each electrode (isolect) is a voltage signal that has been specifically created for the specific electrode or for a specific group of electrodes, the calculation of this voltage signal is an important aspect of the present invention.

 [0091] The voltages for the isolects are calculated as follows. Following the anatomical definition of the areas to be treated, taking into consideration the specific sensitivity of the different tissues to the TC fields and the target area, the desired field distribution map is constructed, as described in the flow chart of FIG. 7. The processor, which was fed the coordinates of all available isolects, now computes the vector sum of the fields generated by each isolect at each point in time. The computation can be made significantly faster in cases where an analytical expression for the electric field originating from arbitrary placed electrodes is available. Such a computation can be performed, for example, for the simple case; an isolect placed on a muscle, or similar tissue, for which an analytical expression for the electric field is: [mathematical formula - see original document]

 [0092] Where R1 is the radius of the metallic part of the isolect, R2 is the isolect radius including coating [element of]coat and [element of]muscle are the dielectric constants of the isolect coating and muscle, respectively and r is the distance between the electrodes to the point where one wants to calculate the field. The fields generated in more complex systems are usually computed by finite element methods, as described below.

[0093] Using this analytical expression, a series of iterations is initiated and the controller 300, more specifically the CPU thereof, calculates the TC field, using optimization methods, to optimize the voltage and the position of each electrode so that one gets the desired spatial arrangement of the electric field. The computation begins with a set of isolect locations and initial conditions, chosen arbitrary, or based on a set of assumptions or previous experience. The field maps thus generated are compared with the reference optimal map that was generated, as described in the flow chart illustrated in FIG. 7. In the subsequent iterations, the voltage and the position of the different isolects are changed and an optimal fit with the optimal map is sought. In other words, one optimizes the correlation between the calculated electric field (TC field) and the desired electric field (TC field). In the above optimization method one can use, for example, the robust numeric optimization method, known as the Nelder-Mead simplex method, as described in Neider and Mead, Computer Journal Vol. 7, p. 308 (1965); Lagarias, J. C., J. A. Reeds, M. H. Wright and P. E. Wright "Convergence Properties of the Neider-Mead Simplex Method in Low Dimensions", SIAM Journal of Optimization, Vol. 9, Number 1, pp. 112-147, 1986, all of which are hereby incorporated by reference in their entirety. In addition, the calculations of the optimization method include the method "Sequential Quadratic Programming", and this method is intended for checking that the first one went fine. The references include Fletcher, R. and M. J. D. Powell, "A Rapid Convergent Descent Method for Minimization," Computer Journal, Vol. 6, pp. 163-168; and Goldfarb, D., "A Family of Variable Metric Updates Derived by Variational Means:," Mathematics of Computing, Vol. 24, pp. 23-26, 1970, all of which are hereby incorporated by reference in their entirety. [0094] Now referring to FIGS. 8-9 in which an article of clothing 600 in the form of an undershirt is shown. Depending upon the precise location of the tumor (target tissue), the undershirt 600 can be of an oversized type in that, as illustrated, the undershirt 600 extends below the waist of the patient and in fact, it protrudes around a portion of the user's upper legs (thighs); however, it will be appreciated that the undershirt 600 can be of a more conventional type that lies above the waist. The undershirt 600 has a predetermined number of electrodes 230 (e.g., 20-100 in number) that are arranged either in an orderly manner as shown (rows and columns) or they can be arranged in a irregular pattern depending upon where the optimal positioning of the electrodes 230 is determined to be. The electrodes 230 are held in place by the undershirt construction, e.g., by adhesives or by stitching, etc. As shown in FIG. 9, the electrodes 230 completely extend radially around the body of the patient.

 [0095] In FIG. 10, this type of procedure was carried out with the aim to effectively focus the field at the selected area, which in this Figure is denoted by the circle 610. In this example, random initialization of the electrode voltage and positions were used.

 [0096] In FIG. 11, the calculated optimal position of the electrodes, depicted by circles 620, is illustrated around the tissue mass 630 where the electric field (TC field) intensity is minimal, as denoted by 640, while the intensity of the electric field increases in the vicinity of the target (tissue mass) 630.

 [0097] In yet another example of the procedure of calculating the isolect placement that would give high field intensity at a number of skin locations, for treatment of malignant melanoma's while having minimal field at the spine is illustrated and described with reference to FIGS. 12-18. In this example, one will appreciate how the anatomy, the isolect structure and the tissue electric characteristics are incorporated into the calculations. One of the advantages of using an electric field to repress the prosperity of cells is that areas inside a human being can be left outside of the electric field influence. According to this one example, a model is constructed for a human having four electrodes around the mid body portion and the electrodes are specifically arranged so that the electric field around the human's spine is zero. The calculations are based on finite element mesh (FEM) and the geometric model is described and illustrated with reference to FIG. 12. In FIG. 12, the axis units are in millimeters and the body is 0.5 m width with a 0.35 thickness. FIG. 12 shows the location of the spine 650 relative to four electrodes 660 that are spaced therearound. A skin boundary or layer of the patient is generally shown at 670 with muscle 680 being shown as occupying the area within the skin boundary 670 and around the spine 650.

[0098] FIG. 13 is also a geometric model illustrating an enlargement of the area around one electrode 670 of FIG. 12 showing the interaction between the electrode 670 and the skin layer 670. The axis units in FIG. 13 are in millimeters and in this exemplary embodiment, the electrode 660 includes a coating 662 that is formed of PVC or potassium tantalate. In this example, the electrode 660 has a diameter of about 10 mm and the coating 662 that is disposed around an outer surface 661 thereof has a thickness of about 0.1 mm. The skin layer 670 has a thickness of about 1 mm. Table 1 sets forth the parameters for the materials that are used in the calculations that are used with the geometric models of FIGS. 12 and 13. TABLE 1 Material Data Dielectric Dielectric medium Constant Conductivity (S/m) Air 1 0 PVC Coating 2.6 0 Muscle 8089 0.36 Skin 1119 0.00045 Spine 227 0.0208

[0099] In all of the calculations for this example, the voltage between the electrodes 660 was 1V and the frequency of the sine voltage was 100 KHz.

[0100] In this example, the electrodes 660 are placed in a symmetric formation such that the electric field in the middle of the body is zero. FIG. 14 is photographic image of the electrodes 660 around the spine 650 illustrating the electric field representation in the symmetric formation of the electrodes. FIG. 15 is another representation of the electric field; however, this representation of the electric field is by arrows. As will be appreciated, only the electric field inside the body is shown. As can be seen from both FIGS. 14 and 15, the electric field is zero in the middle of the body and is very high in the area of the spine 650. This is unwanted since the presence of the electric field near the spine 650 can be potentially harmful. In FIG. 16, the electrodes 660 have been rearranged so that the electric field is zero in the spine area 650 and not zero in the middle of the body. FIG. 16 is a schematic illustration of the arrangement of the electrodes 660 that causes a zero electric field in the area of the spine 650. FIG. 17 is a photographic image of the electric field in an asymmetric formation of the electrodes and FIG. 18 is another representation of the electric field, similar to FIG. 15, in which the electric field is represented by arrows and only the electric field inside the body is drawn. As can be seen from FIGS. 17 and 18, the asymmetric arrangement of the electrodes causes a zero electric field in the area of the spine 650, while the field outside the spine 650 is not zero.

[0101] Based on the above calculations, one will appreciate that a proper arrangement of the electrodes can shape the electric field so that it becomes zero at areas we choose, such as the spine area 650, in this example. In application, the procedure can entail using a CT image to position the internal organs, calculate on-line the electric field using the present methodology and automatically position the electrodes on the patient's body so that an area that we do not want to harm will not suffer from the presence of an electric field.

[0102] The specifications of the apparatus 200 as a whole and its individual components are largely influenced by the fact that at the frequency of the present TC fields (50 KHz-500 KHz), living systems behave according to their "Ohmic", rather than their dielectric properties. The only elements in the apparatus 200 that behave differently are the insulators of the isolects 230 (see FIGS. 19-21). The isolects 200 consist of a conductor in contact with a dielectric that is in contact with the conductive tissue thus forming a capacitor.

[0103] There are any number of different types of applications in which the apparatus 200 or one of the others disclosed herein can be used. The following applications are merely exemplary and not limiting of the number of different types of applications which can be used. FIG. 19 illustrates an exemplary embodiment where the isolects 230 are incorporated in a skin patch 700. The skin patch 700 can be a self-adhesive flexible patch with one or more pairs of isolects 230. The patch 700 includes internal insulation 710 (formed of a dielectric material) and the external insulation 260 and is applied to skin surface 701 that contains a tumor 703 either on the skin surface 701 or slightly below the skin surface 701. Tissue is generally indicated at 705. To prevent the potential drop across the internal insulation 710 to dominate the system, the internal insulation 710 must have a relatively high capacity. This can be achieved by a large surface area; however, this may not be desired as it will result in the spread of the field over a large area (e.g., an area larger than required to treat the tumor). Alternatively, the internal insulation 710 can be made very thin and/or the internal insulation 710 can be of a high dielectric constant. As the skin resistance between the electrodes (labeled as A and E in FIG. 6) is normally significantly higher than that of the tissue (labeled as C in FIG. 6) underneath it (1-10 K[Omega] vs. 0.1-1 K[Omega]), most of the potential drop beyond the isolects occurs there. To accommodate for these impedances (Z), the characteristics of the internal insulation 710 (labeled as B and D in FIG. 6) should be such that they have impedance preferably under 100 K[Omega] at the frequencies of the present TC fields (e.g., 50 KHz to 500 KHz). For example, if it is desired for the impedance to be about 10 K Ohms or less, such that over 1% of the applied voltage falls on the tissues, for isolects with a surface area of 10 mm<2> , at frequencies of 200 KHz, the capacity should be on the order of 10<-10 > F, which means that using standard insulations with a dielectric constant of 2-3, the thickness of the insulating layer 710 should be about 50-100 microns. An internal field 10 times stronger would be obtained with insulators with a dielectric constant of about 20-50.

 [0104] FIGS. 20 and 21 illustrate a second type of treatment using the isolects 230, namely electric field generation by internal isolects 230. A body to which the isolects 230 are implanted is generally indicated at 711 and includes a skin surface 713 and a tumor 715. In this embodiment, the isolects 230 can have the shape of plates, wires or other shapes that can be inserted subcutaneously or a deeper location within the body 711 so as to generate an appropriate field at the target area (tumor 715). FIG. 22 illustrates the various constructions of the isolects 230, including the use of internal insulation 710, a filler or gel 270 and external insulation 260.

 [0105] It will also be appreciated that the mode of isolects application is not restricted to the above descriptions. In the case of tumors in internal organs, for example, liver, lung, etc., the distance between each member of the pair of isolects 230 can be large. The pairs can even by positioned opposite sides of a torso 720, as illustrated in FIG. 23. The arrangement of the isolects 230 in FIG. 23 is particularly useful for treating a tumor 730 associated with lung cancer or gastrointestinal tumors. In this embodiment, the electric fields (TC fields) spread in a wide fraction of the body. [0106] In order to achieve the desirable features of the isolects 230, the dielectric coating of each should be very thin, for example from between 1-50 microns. Since the coating is so thin, the isolects 230 can easily be damaged mechanically. This problem can be overcome by adding a protective feature to the isolect's structure so as to provide desired protection from such damage. For example, the isolect 230 can be coated, for example, with a relatively loose net 340 that prevents access to the surface but has only a minor effect on the effective surface area of the isolect 230 (i.e., the capacity of the isolects 230 (cross section presented in FIG. 24B). The loose net 340 does not effect the capacity and ensures good contact with the skin, etc. The loose net 340 can be formed of a number of different materials; however, in one exemplary embodiment, the net 340 is formed of nylon, polyester, cotton, etc. Alternatively, a very thin conductive coating 350 can be applied to the dielectric portion (insulating layer) of the isolect 230. One exemplary conductive coating is formed of a metal and more particularly of gold. The thickness of the coating 350 depends upon the particular application and also on the type of material used to form the coating 350; however, when gold is used, the coating has a thickness from about 0.1 micron to about 0.1 mm.

[0107] In order to avoid overheating of the treated tissues, a selection of materials and field parameters is needed. The isolects insulating material should have minimal dielectric losses at the frequency ranges to be used during the treatment process. This factor can be taken into consideration when choosing the particular frequencies for the treatment. The direct heating of the tissues will most likely be dominated by the heating due to current flow (given by the I*R product). In addition, the isolect (insulated electrode) 230 and its surroundings should be made of materials that facilitate heat losses and its general structure should also facilitate head losses, i.e., minimal structures that block heat dissipation to the surroundings (air) as well as high heat conductivity.

[0108] The effectiveness of the treatment can be enhanced by an arrangement of isolects 230 that focuses the field at the desired target while leaving other sensitive areas in low field density (i.e., protected areas). The proper placement of the isolects 230 over the body can be maintained using any number of different techniques, including using a suitable piece of clothing that keeps the isolects at the appropriate positions. FIG. 25 illustrates such an arrangement in which an area labeled as "P" represents a protected area. The lines of field force do not penetrate this protected area and the field there is much smaller than near the isolects 230 where target areas can be located and treated well. In contrast, the field intensity near the four poles is very high.

[0109] The present inventor has thus uncovered that electric fields having particular properties can be used to destroy dividing cells or tumors when the electric fields are applied to using an electronic device. More specifically, these electric fields fall into a special intermediate category, namely bio-effective fields that have no meaningful stimulatory and no thermal effects, and therefore overcome the disadvantages that were associated with the application of conventional electric fields to a body. It will also be appreciated that the present apparatus can further include a device for rotating the TC field relative to the living tissue. For example and according to one embodiment, the alternating electric potential applies to the tissue being treated is rotated relative to the tissue using conventional devices, such as a mechanical device that upon activation, rotates various components of the present system.

[0110] Moreover and according to yet another embodiment, the TC fields are applied to different pairs of the insulated electrodes 230 in a consecutive manner. In other words, the generator 210 and the control system thereof can be arranged so that signals are sent at periodic intervals to select pairs of insulated electrodes 230, thereby causing the generation of the TC fields of different directions by these insulated electrodes 230. Because the signals are sent at select times from the generator to the insulated electrodes 230, the TC fields of changing directions are generated consecutively by different insulated electrodes 230. This arrangement has a number of advantages and is provided in view of the fact that the TC fields have maximal effect when they are parallel to the axis of cell division. Since the orientation of cell division is in most cases random, only a fraction of the dividing cells are affected by any given field. Thus, using fields of two or more orientations increases the effectiveness since it increases the chances that more dividing cells are affected by a given TC field.

[0111] Turning now to FIG. 26 in which an article of clothing 800 according to one exemplary embodiment is illustrated. More specifically, the article of clothing 800 is in the form of a hat or cap or other type of clothing designed for placement on a head of a person. For purposes of illustration, a head 802 is shown with the hat 800 being placed thereon and against a skin surface 804 of the head 802. An intra-cranial tumor or the like 810 is shown as being formed within the head 802 underneath the skin surface 804 thereof. The hat 800 is therefore intended for placement on the head 802 of a person who has a tumor 810 or the like.

[0112] Unlike the various embodiments illustrated in the other Figures where the insulated electrodes 230 are arranged in a more or less planar arrangement since they are placed either on a skin surface or embedded within the body underneath it, the insulated electrodes 230 in this embodiment are specifically contoured and arranged for a specific application. The treatment of intra-cranial tumors or other lesions or the like typically requires a treatment that is of a relatively long duration, e.g., days to weeks, and therefore, it is desirable to provide as much comfort as possible to the patient. The hat 800 is specifically designed to provide comfort during the lengthy treatment process while not jeopardizing the effectiveness of the treatment.

[0113] According to one exemplary embodiment, the hat 800 includes a predetermined number of insulated electrodes 230 that are preferably positioned so as to produce the optimal TC fields at the location of the tumor 810. The lines of force of the TC field are generally indicated at 820. As can be seen in FIG. 26, the tumor 810 is positioned within these lines of force 820. As will be described in greater detail hereinafter, the insulated electrodes 230 are positioned within the hat 800 such that a portion or surface thereof is free to contact the skin surface 804 of the head 802. In other words, when the patient wears the hat 800, the insulated electrodes 230 are placed in contact with the skin surface 804 of the head 802 in positions that are selected so that the TC fields generated thereby are focused at the tumor 810 while leaving surrounding areas in low density. Typically, hair on the head 802 is shaved in selected areas to permit better contact between the insulated electrodes 230 and the skin surface 804; however, this is not critical.

[0114] The hat 800 preferably includes a mechanism 830 that applies or force to the insulated electrodes 230 so that they are pressed against the skin surface 802. For example, the mechanism 830 can be of a biasing type that applies a biasing force to the insulated electrodes 230 to cause the insulated electrodes 230 to be directed outwardly away from the hat 800. Thus, when the patient places the hat 800 on his/her head 802, the insulated electrodes 230 are pressed against the skin surface 804 by the mechanism 830. The mechanism 830 can slightly recoil to provide a comfortable fit between the insulated electrodes 230 and the head 802. In one exemplary embodiment, the mechanism 830 is a spring based device that is disposed within the hat 800 and has one section that is coupled to and applies a force against the insulated electrodes 230, as described below with reference to FIGS. 27 and 28. [0115] As with the prior embodiments, the insulated electrodes 230 are coupled to the generator 210 by means of conductors 220. The generator 210 can be either disposed within the hat 800 itself so as to provide a compact, self-sufficient, independent system or the generator 210 can be disposed external to the hat 800 with the conductors 220 exiting the hat 800 through openings or the like and then running to the generator 210. When the generator 210 is disposed external to the hat 800, it will be appreciated that the generator 210 can be located in any number of different locations, some of which are in close proximity to the hat 800 itself, while others can be further away from the hat 800. For example, the generator 210 can be disposed within a carrying bag or the like (e.g., a bag that extends around the patient's waist) which is worn by the patient or it can be strapped to an extremity or around the torso of the patient. The generator 210 can also be disposed in a protective case that is secured to or carried by another article of clothing that is worn by the patient. For example, the protective case can be inserted into a pocket of a sweater, etc. FIG. 26 illustrates an embodiment where the generator 210 is incorporated directly into the hat 800.

 [0116] Turning now to FIGS. 27 and 28, in one exemplary embodiment, a number of insulated electrodes 230 along with the mechanism 830 are preferably formed as an independent unit, generally indicated at 840, that can be inserted into the hat 800 and electrically connected to the generator (not shown) via the conductors (not shown). By providing these members in the form of an independent unit, the patient can easily insert and/or remove the units 840 from the hat 800 when they may need cleaning, servicing and/or replacement.

 [0117] In this embodiment, the hat 800 is constructed to include select areas 850 that are formed in the hat 800 to receive and hold the units 840. For example and as illustrated in FIG. 27, each area 850 is in the form of an opening (pore) that is formed within the hat 800. The unit 840 has a body 842 and includes the mechanism 830 and one or more insulated electrodes 230. The mechanism 830 is arranged within the unit 840 so that a portion thereof (e.g., one end thereof) is in contact with a face of each insulated electrode 230 such that the mechanism 830 applies a biasing force against the face of the insulated electrode 230. Once the unit 840 is received within the opening 850, it can be securely retained therein using any number of conventional techniques, including the use of an adhesive material or by using mechanical means. For example, the hat 800 can include pivotable clip members that pivot between an open position in which the opening 850 is free and a closed position in which the pivotable clip members engage portions (e.g., peripheral edges) of the insulated electrodes to retain and hold the insulated electrodes 230 in place. To remove the insulated electrodes 230, the pivotable clip members are moved to the open position. In the embodiment illustrated in FIG. 28, the insulated electrodes 230 are retained within the openings 850 by an adhesive element 860 which in one embodiment is a two sided self-adhesive rim member that extends around the periphery of the insulated electrode 230. In other words, a protective cover of one side of the adhesive rim 860 is removed and it is applied around the periphery of the exposed face of the insulated electrode 230, thereby securely attaching the adhesive rim 860 to the hat 800 and then the other side of the adhesive rim 860 is removed for application to the skin surface 804 in desired locations for positioning and securing the insulated electrode 230 to the head 802 with the tumor being positioned relative thereto for optimization of the TC fields. Since one side of the adhesive rim 860 is in contact with and secured to the skin surface 840, this is why it is desirable for the head 802 to be shaved so that the adhesive rim 860 can be placed flushly against the skin surface 840.

 [0118] The adhesive rim 860 is designed to securely attach the unit 840 within the opening 850 in a manner that permits the unit 840 to be easily removed from the hat 800 when necessary and then replaced with another unit 840 or with the same unit 840. As previously mentioned, the unit 840 includes the biasing mechanism 830 for pressing the insulated electrode 230 against the skin surface 804 when the hat 800 is worn. The unit 840 can be constructed so that side opposite the insulated electrode 230 is a support surface formed of a rigid material, such as plastic, so that the biasing mechanism 830 (e.g., a spring) can be compressed therewith under the application of force and when the spring 830 is in a relaxed state, the spring 830 remains in contact with the support surface and the applies a biasing force at its other end against the insulated electrode 230. The biasing mechanism 830 (e.g., spring) preferably has a contour corresponding to the skin surface 804 so that the insulated electrode 230 has a force applied thereto to permit the insulated electrode 230 to have a contour complementary to the skin surface 804, thereby permitting the two to seat flushly against one another. While the mechanism 830 can be a spring, there are a number of other embodiments that can be used instead of a spring. For example, the mechanism 830 can be in the form of an elastic material, such as a foam rubber, a foam plastic, or a layer containing air bubbles, etc. [0119] The unit 840 has an electric connector 870 that can be hooked up to a corresponding electric connector, such as a conductor 220, that is disposed within the hat 800. The conductor 220 connects at one end to the unit 840 and at the other end is connected to the generator 210. The generator 210 can be incorporated directly into the hat 800 or the generator 210 can be positioned separately (remotely) on the patient or on a bedside support, etc. [0120] As previously discussed, a coupling agent, such as a conductive gel, is preferably used to ensure that an effective conductive environment is provided between the insulated electrode 230 and the skin surface 804. Suitable gel materials have been disclosed hereinbefore in the discussion of earlier embodiments. The coupling agent is disposed on the insulated electrode 230 and preferably, a uniform layer of the agent is provided along the surface of the electrode 230. One of the reasons that the units 840 need replacement at periodic times is that the coupling agent needs to be replaced and/or replenished. In other words, after a predetermined time period or after a number of uses, the patient removes the units 840 so that the coupling agent can be applied again to the electrode 230.

[0121] FIGS. 29 and 30 illustrate another article of clothing which has the insulated electrodes 230 incorporated as part thereof. More specifically, a bra or the like 900 is illustrated and includes a body that is formed of a traditional bra material, generally indicated at 905, to provide shape, support and comfort to the wearer. The bra 900 also includes a fabric support layer 910 on one side thereof. The support layer 910 is preferably formed of a suitable fabric material that is constructed to provide necessary and desired support to the bra 900.

 [0122] Similar to the other embodiments, the bra 900 includes one or more insulated electrodes 230 disposed within the bra material 905. The one or more insulated electrodes are disposed along an inner surface of the bra 900 opposite the support 910 and are intended to be placed proximate to a tumor or the like that is located within one breast or in the immediately surrounding area. As with the previous embodiment, the insulated electrodes 230 in this embodiment are specifically constructed and configured for application to a breast or the immediate area. Thus, the insulated electrodes 230 used in this application do not have a planar surface construction but rather have an arcuate shape that is complementary to the general curvature found in a typical breast.

 [0123] A lining 920 is disposed across the insulated electrodes 230 so as to assist in retaining the insulated electrodes in their desired locations along the inner surface for placement against the breast itself. The lining 920 can be formed of any number of thin materials that are comfortable to wear against one's skin and in one exemplary embodiment, the lining 920 is formed of a fabric material.

 [0124] The bra 900 also preferably includes a biasing mechanism 1000 as in some of the earlier embodiments. The biasing mechanism 1000 is disposed within the bra material 905 and extends from the support 910 to the insulated electrode 230 and applies a biasing force to the insulated electrode 230 so that the electrode 230 is pressed against the breast. This ensures that the insulated electrode 230 remains in contact with the skin surface as opposed to lifting away from the skin surface, thereby creating a gap that results in a less effective treatment since the gap diminishes the efficiency of the TC fields. The biasing mechanism 1000 can be in the form of a spring arrangement or it can be an elastic material that applies the desired biasing force to the insulated electrodes 230 so as to press the insulated electrodes 230 into the breast. In the relaxed position, the biasing mechanism 1000 applies a force against the insulated electrodes 230 and when the patient places the bra 900 on their body, the insulated electrodes 230 are placed against the breast which itself applies a force that counters the biasing force, thereby resulting in the insulated electrodes 230 being pressed against the patient's breast. In the exemplary embodiment that is illustrated, the biasing mechanism 1000 is in the form of springs that are disposed within the bra material 905.

 [0125] A conductive gel 1010 can be provided on the insulated electrode 230 between the electrode and the lining 920. The conductive gel layer 1010 is formed of materials that have been previously described herein for performing the functions described above.

 [0126] An electric connector 1020 is provided as part of the insulated electrode 230 and electrically connects to the conductor 220 at one end thereof, with the other end of the conductor 220 being electrically connected to the generator 210. In this embodiment, the conductor 220 runs within the bra material 905 to a location where an opening is formed in the bra 900. The conductor 220 extends through this opening and is routed to the generator 210, which in this embodiment is disposed in a location remote from the bra 900. It will also be appreciated that the generator 210 can be disposed within the bra 900 itself in another embodiment. For example, the bra 900 can have a compartment formed therein which is configured to receive and hold the generator 210 in place as the patient wears the bra 900. In this arrangement, the compartment can be covered with a releasable strap that can open and close to permit the generator 210 to be inserted therein or removed therefrom. The strap can be formed of the same material that is used to construct the bra 900 or it can be formed of some other type of material. The strap can be releasably attached to the surrounding bra body by fastening means, such as a hook and loop material, thereby permitting the patient to easily open the compartment by separating the hook and loop elements to gain access to the compartment for either inserting or removing the generator 210.

[0127] The generator 210 also has a connector 211 for electrical connection to the conductor 220 and this permits the generator 210 to be electrically connected to the insulated electrodes 230.

[0128] As with the other embodiments, the insulated electrodes 230 are arranged in the bra 900 to focus the electric field (TC fields) on the desired target (e.g., a tumor). It will be appreciated that the location of the insulated electrodes 230 within the bra 900 will vary depending upon the location of the tumor. In other words, after the tumor has been located, the physician will then devise an arrangement of insulated electrodes 230 and the bra 900 is constructed in view of this arrangement so as to optimize the effects of the TC fields on the target area (tumor). The number and position of the insulated electrodes 230 will therefore depend upon the precise location of the tumor or other target area that is being treated. Because the location of the insulated electrodes 230 on the bra 900 can vary depending upon the precise application, the exact size and shape of the insulated electrodes 230 can likewise vary. For example, if the insulated electrodes 230 are placed on the bottom section of the bra 900 as opposed to a more central location, the insulated electrodes 230 will have different shapes since the shape of the breast (as well as the bra) differs in these areas.

[0129] FIG. 31 illustrates yet another embodiment in which the insulated electrodes 230 are in the form of internal electrodes that are incorporated into in the form of a probe or catheter 1100 that is configured to enter the body through a natural pathway, such as the urethra, vagina, etc. In this embodiment, the insulated electrodes 230 are disposed on an outer surface of the probe 1100 and along a length thereof. The conductors 220 are electrically connected to the electrodes 230 and run within the body of the probe 1100 to the generator 210 which can be disposed within the probe body or the generator 210 can be disposed independent of the probe 1100 in a remote location, such as on the patient or at some other location close to the patient.

 [0130] Alternatively, the probe 1100 can be configured to penetrate the skin surface or other tissue to reach an internal target that lies within the body. For example, the probe 1100 can penetrate the skin surface and then be positioned adjacent to or proximate to a tumor that is located within the body.

[0131] In these embodiments, the probe 1100 is inserted through the natural pathway and then is positioned in a desired location so that the insulated electrodes 230 are disposed near the target area (i.e., the tumor). The generator 210 is then activated to cause the insulated electrodes 230 to generate the TC fields which are applied to the tumor for a predetermined length of time. It will be appreciated that the illustrated probe 1100 is merely exemplary in nature and that the probe 1100 can have other shapes and configurations so long as they can perform the intended function. Preferably, the conductors (e.g., wires) leading from the insulated electrodes 230 to the generator 210 are twisted or shielded so as not to generate a field along the shaft.

 [0132] It will further be appreciated that the probes can contain only one insulated electrode while the other can be positioned on the body surface. This external electrode should be larger or consist of numerous electrodes so as to result in low lines of force-current density so as not to affect the untreated areas. In fact, the placing of electrodes should be designed to minimize the field at potentially sensitive areas.

 [0133] FIG. 32 illustrates yet another embodiment in which a high standing collar member 1200 (or necklace type structure) can be used to treat thyroid, parathyroid, laryngeal lesions, etc. FIG. 32 illustrates the collar member 1200 in an unwrapped, substantially flat condition. In this embodiment, the insulated electrodes 230 are incorporated into a body 1210 of the collar member 1200 and are configured for placement against a neck area of the wearer. The insulated electrodes 230 are coupled to the generator 210 according to any of the manner described hereinbefore and it will be appreciated that the generator 210 can be disposed within the body 1210 or it can be disposed in a location external to the body 1210. The collar body 1210 can be formed of any number of materials that are traditionally used to form collars 1200 that are disposed around a person's neck. As such, the collar 1200 preferably includes a means 1220 for adjusting the collar 1200 relative to the neck. For example, complementary fasteners (hook and loop fasteners, buttons, etc.) can be disposed on ends of the collar 1200 to permit adjustment of the collar diameter. It will be appreciated that one can extend this exemplary structure to accommodate any tubular part of the body, e.g., a limb, etc.

 [0134] FIGS. 33 and 34 illustrate yet another embodiment of the present device. In FIG. 33, a pair of electrodes 230 are arranged about a torso 1300. The electrodes 230 are operated in the same manner as was previously described and in this embodiment, the electrodes 230 are arranged so that the electric field passes through the heart and its surrounding area.

 [0135] The present inventor has thus appreciated that the above described TC fields that stop cell proliferation can be used to prevent restenosis of arteries after angioplasty, with or without introduction of stents. This also applies for other body tubing, such as urethra. The coronary restenosis which follows 20-30% of stenting, etc., is a major problem. The restenosis is due to the cellular reaction of the arterial wall and the resulting cell proliferation. This proliferation grows into the artery from its ends and on top of it, there is sedimentation, etc., that occludes the artery. The conditions for the effect of the TC fields are good as the stent is usually a bare metal conductor (but not necessarily) that will result in field intensification exactly where it is needed. The TC fields should be applied for 3-8 weeks to prevent the stenosis.

[0136] As shown in FIGS. 33 and 34, the electrodes 230 are arranged about the torso 1300 so that the TC fields, indicated by field lines 1310, passes through the heart region 1320. A coronary artery 1330 is illustrated within the heart region 1320 and within the TC fields. One or more stents 1340 are disposed within the coronary artery 1330 as part of the surgical procedure. One of the results of the angioplasty and mainly due to the presence of the stents 1340 is a proliferation of a mass of cells 1350 that is located along the artery wall. Since the stent 1340 acts as a conductor, the area around the stent 1340 is an area of high density electric field due to the presence of the stent 1340. The stent 1340 does not necessarily have to be a bare metal conductor and the present method of treatment can be used without stents 1340 so long as the mass of proliferating cells 1350 is disposed within the area of the high density electric field.

 [0137] Thus, the construction of the present devices are particularly well suited for applications where the devices are incorporated into articles of clothing to permit the patient to easily wear a traditional article of clothing while at the same time the patient undergoes treatment. In other words, an extra level of comfort can be provided to the patient and the effectiveness of the treatment can be increased by incorporating some or all of the device components into the article of clothing. The precise article of clothing that the components are incorporated into will obviously vary depending upon the target area of the living tissue where tumor, lesion or the like exists. For example, if the target area is in the testicle area of a male patient, then an article of clothing in the form of a sock-like structure or wrap can be provided and is configured to be worn around the testicle area of the patient in such a manner that the insulated electrodes thereof are positioned relative to the tumor such that the TC fields are directed at the target tissue. The precise nature or form of the article of clothing can vary greatly since the device components can be incorporated into most types of articles of clothing and therefore, can be used to treat any number of different areas of the patient's body where a condition may be present.

[0138] The present invention is thus for an apparatus and method for optimizing the selective destruction of dividing cells by calculating the spatial and temporal distribution of the electric fields for optimal treatment of a specific patient with a specific tumor, taking into account its location and characteristics of all components of the system. An optimal field map is generated by calculating and computing an electric field in terms of its strength and other characteristics for a given arrangement of electrodes and based on other inputted information, such as tumor type. This calculation can be done by a controller or other device, such as an integrated personal computer, and additional calculations are conducted for different arrangement of electrodes relative to the target area (tumor) and/or different voltages for the electrodes. Standard optimization methods are used to determine the optimal minimal field map. It is therefore desirable that the optimum field map not only includes a maximum electric field at the target area (tumor) but also that there be a maximal field strength difference between the electric field at the target tissue and the surrounding tissue that is to be protected. It will therefore be appreciated that the optimal field may not necessarily be one that has the highest electric field strength focused at the targeted area but it may be one where the electric field strength is less but the difference in field strength between the target area and the surrounding areas is at a maximum. In other words, the present method optimizes the correlation between the calculated electric field and the desired electric field (the previously calculated optimal field map). For optimization, standard techniques can be used, such as the Nelder-Mead simplex method.

 [0139] As used herein, the term "tumor" refers to a malignant tissue comprising transformed cells that grow uncontrollably. Tumors include leukemias, lymphomas, myelomas, plasmacytomas, and the like; and solid tumors. Examples of solid tumors that can be treated according to the invention include sarcomas and carcinomas such as, but not limited to: fibrosarcoma, myxosarcoma, liposarcoma, chondrosarcoma, osteogenic sarcoma, chordoma, angiosarcoma, endotheliosarcoma, lymphangiosarcoma, lymphangioendotheliosarcoma, synovioma, mesothelioma, Ewing's tumor, leiomyosarcoma, rhabdomyosarcoma, colon carcinoma, pancreatic cancer, breast cancer, ovarian cancer, prostate cancer, squamous cell carcinoma, basal cell carcinoma, adenocarcinoma, sweat gland carcinoma, sebaceous gland carcinoma, papillary carcinoma, papillary adenocarcinomas, cystadenocarcinoma, medullary carcinoma, bronchogenic carcinoma, renal cell carcinoma, hepatoma, bile duct carcinoma, choriocarcinoma, seminoma, embryonal carcinoma, Wilms' tumor, cervical cancer, testicular tumor, lung carcinoma, small cell lung carcinoma, bladder carcinoma, epithelial carcinoma, glioma, astrocytoma, medulloblastoma, craniopharyngioma, ependymoma, pinealoma, hemangioblastoma, acoustic neuroma, oligodendroglioma, meningioma, melanoma, neuroblastoma, and retinoblastoma. Because each of these tumors undergoes rapid growth, any one can be treated in accordance with the invention. The invention is particularly advantageous for treating brain tumors, which are difficult to treat with surgery and radiation, and often inaccessible to chemotherapy or gene therapies. In addition, the present invention is suitable for use in treating skin and breast tumors because of the ease of localized treatment provided by the present invention.

 [0140] In addition, the present invention can control uncontrolled growth associated with non-malignant or pre-malignant conditions, and other disorders involving inappropriate cell or tissue growth by application of an electric field in accordance with the invention to the tissue undergoing inappropriate growth. For example, it is contemplated that the invention is useful for the treatment of arteriovenous (AV) malformations, particularly in intracranial sites. The invention may also be used to treat psoriasis, a dermatologic condition that is characterized by inflammation and vascular proliferation; and benign prostatic hypertrophy, a condition associated with inflammation and possibly vascular proliferation. Treatment of other hyperproliferative disorders is also contemplated.

 [0141] Furthermore, undesirable fibroblast and endothelial cell proliferation associated with wound healing, leading to scar and keloid formation after surgery or injury, and restenosis after angioplasty or placement of coronary stents can be inhibited by application of an electric field in accordance with the present invention. The non-invasive nature of this invention makes it particularly desirable for these types of conditions, particularly to prevent development of internal scars and adhesions, or to inhibit restenosis of coronary, carotid, and other important arteries.

[0142] Thus, the present invention provides an effective, simple method of selectively destroying dividing cells, e.g., tumor cells and parasitic organisms, while non-dividing cells or organisms are left affected by application of the method on living tissue containing both types of cells or organisms. Thus, unlike many of the conventional methods, the present invention does not damage the normal cells or organisms. In addition, the present invention does not discriminate based upon cell type (e.g., cells having differing sizes) and therefore may be used to treat any number of types of sizes having a wide spectrum of characteristics, including varying dimensions.

 [0143] It will be appreciated by persons skilled in the art that the present invention is not limited to the embodiments described thus far with reference to the accompanying drawing. Rather the present invention is limited only by the following claims. ==



TREATING CANCER WITH ELECTRIC FIELDS THAT ARE GUIDED TO DESIRED LOCATIONS WITHIN A BODY
US2006282122

CROSS REFERENCE TO RELATED APPLICATIONS

[0001] This application claims priority to U.S. provisional application No. 60/688,998, filed Jun. 8, 2005.

BACKGROUND

[0002] U.S. Pat. No. 6,868,289, which is incorporated herein by reference, discloses methods and apparatuses for treating tumors using an electric field with particular characteristics. It also discloses various ways to modifying the electric field intensity at desired locations (see, e.g., FIGS. 21-26). [0003] This application discloses additional ways for modifying the field so as to significantly increase or decrease it at desired locations in a patient's body. These modifications can improve the quality and selectivity of treatment of lesions and tumors and improve selective tissue ablation or destruction.

[0004] FIG. 1A shows an arrangement where two electrodes 11, 11' are placed on the patient's skin 15 above the underlying tissue 10 (e.g., muscle) in an environment of air 16. FIG. 1B depicts the results of a finite element simulation of the electric field generated in the air and in the muscle tissue, when the insulated electrodes 11, 11' are positioned on the skin 15 as shown in FIG. 1A, and a 100 kHz AC signal is applied to the electrodes. Preferably, the insulated electrodes have a conductive core and an insulating layer with a high dielectric constant as described in U.S. Pat. No. 6,868,289, and they are configured to contact the surface of the body with the insulating layer disposed between the conductive core and the surface of the body.

[0005] FIG. 1B, (like all the other field intensity maps included herein) shows the field intensity in mV/cm when 1 Volt AC (measured zero-to-peak) is induced between the proximal side of the tissue just beneath the first electrode and the proximal side of the tissue just beneath the second electrode (by applying a sufficiently large voltage between the electrodes' terminals). The numbers along the x and y axes in the main section of FIG. 1B (and in the other field intensity maps included herein) represent distance measured in cm. Each contour line represents a constant step size down from the 1 V peak, and the units are given in mV/cm. Note, however, that because the voltage changes so rapidly at the higher values, the contour lines run together to form what appears to be a solid black region.

[0006] It is seen in FIG. 1B that, both in the air above the skin 15 and the tissue below the skin 15, the field intensity is maximal in regions that are close to the edges of the electrodes 11, 11' and that the field intensity is attenuated rapidly with distance. As a result, if a tumor lies relatively deep below the skin 15, it may be difficult to deliver the desired field strength that is needed for effective treatment to that tumor to the target region.

[0007] A similar situation exists in the human head. FIG. 2 is a schematic representation of a human head 5 in which all tissue components are given their corresponding electric properties. The head includes skin 1, bone 2, gray matter 3 and white matter 4. FIG. 3A is a schematic representation of the positioning of the electrodes 11, 11' on the skin surface on the same side of the head, and FIG. 3A shows the electric field that is generated under those conditions when a 100 kHz AC field is applied between the electrodes. (The field calculation was done by a finite element simulation based on the schematic representation of the head shown in FIG. 2.) The field intensity is highest in the vicinity of the electrodes in the skin and the superficial areas of the brain and drops rapidly. Notably, the field strength near the middle of the head is very weak (i.e., less than 20 mV/cm).

[0008] FIG. 4A is a schematic representation of the positioning of the electrodes 11, 11' on opposite sides of a human head, and FIG. 4B shows the electric field that is generated under those conditions when a 100 kHz AC field is applied between the electrodes. Once again, the field calculation was done by a finite element simulation, and once again, the field strength near the middle of the head is very weak (i.e., less than 24 mV/cm). The field intensity is highest in the vicinity of the electrodes in the skin and the superficial areas of the brain and drops rapidly, so that the field intensity is relatively low at the center of the head. Thus, the treatment efficacy of the field for any tumor or lesion at a distance from the surface or electrodes would be correspondingly diminished. \

SUMMARY

[0009] A biocompatible field guide is positioned between the surface of the body and the target region beneath the surface. Electrodes are positioned on either side of the field guide, and an AC voltage with an appropriate frequency and amplitude is applied between the electrodes so that the field guide routes the electric field to the target region. In an alternative embodiment, one of the electrodes is positioned directly on top of the field guide.

BRIEF DESCRIPTION OF THE DRAWINGS





























[0010] FIG. 1A is a schematic representation of two electrodes placed on a patient's skin above a target region.

[0011] FIG. 1B shows the electric field that results from the FIG. 1A arrangement.

[0012] FIG. 2 is a schematic representation of a human head.

[0013] FIG. 3A is a schematic representation two electrodes positioned on the same side of the head.

[0014] FIG. 3B shows the electric field that results from the FIG. 3A arrangement.

[0015] FIG. 4A is a schematic representation two electrodes positioned on opposite sides of the head.

[0016] FIG. 4B shows the electric field that results from the FIG. 4A arrangement.

[0017] FIGS. 5A and 5B are section and plan views, respectively, of a first embodiment of the invention using a solid insulated rod.

[0018] FIG. 6A shows the electric field that results from the FIG. 5 arrangement.

[0019] FIG. 6B is a magnified view of the center of FIG. 6A.

[0020] FIG. 7A shows the electric field for a second embodiment using a hollow insulated rod.

[0021] FIG. 7B is a magnified view of the center of FIG. 7A.

[0022] FIG. 8A shows the electric field for the third embodiment when a conductive gel is added.

[0023] FIG. 8B is a magnified view of the center of FIG. 8A. [0024] FIG. 9A shows the electric field for a third embodiment using a hollow conducting rod. [0025] FIG. 9B is a magnified view of the center of FIG. 9A.

[0026] FIG. 9C depicts a set of field strength plots for six hollow metal tube field guides.

[0027] FIG. 10A shows the electric field that results from using a solid conducting rod.

[0028] FIG. 10B is a magnified view of the center of FIG. 10A.

[0029] FIGS. 11A and 11B are section and plan views, respectively, of a fourth embodiment of the invention using a solid insulated bead.

[0030] FIG. 12A shows the electric field that results from the FIG. 11 arrangement.

[0031] FIG. 12B is a magnified view of the center of FIG. 12A.

[0032] FIG. 13A shows the electric field for a fifth embodiment using a hollow conducting bead.

[0033] FIG. 13B is a magnified view of the center of FIG. 13A.

[0034] FIG. 14 shows the electric field for a sixth embodiment in which a conductive gel is placed on the surface of the skin between the electrodes.

[0035] FIG. 15 shows the electric field for an alternative arrangement in which a rod-shaped field guide is placed directly beneath one of the electrodes.

[0036] FIG. 16 shows a curved field guide that guides the field to a target area without passing through a vital organ.

DESCRIPTION OF THE PREFERRED EMBODIMENTS

[0037] The inventor has recognized that the field can be guided to the desired location in the patient's body using appropriate field guides.

 [0038] In some embodiments of the invention, an insulating member is introduced into the medium or tissue in a position that enables the member to act as a Field Guide (FG) in the given medium. While elongated shapes such as rods, tubes, bars, or threads are preferred, other shapes (e.g., sheets or plates) may also be used. In these embodiments, the electric impedance of the FG, ZFG is significantly higher than that of the medium ZFG (ZFG>>ZM). For example, the FG may be made of a dielectric insulating material such as plastic (e.g. polystyrene, PVC, Teflon), silicone, rubber, etc., while the medium is tissue (e.g., muscle). Insulators with a very high dielectric constant (see the electrode insulations of the '289 patent) may be preferable to those with low dielectric properties. For use in medical application, the FG should preferably be made of a biocompatible material. Optionally, the FG may be made of a biodegradable material, as long as the electrical properties remain as described herein.

[0039] FIGS. 5A and 5B are section and plan views of a first embodiment in which an insulated rod 12 is inserted into tissue 10 between a pair of insulated electrodes 11, 11'. The upper end of the FG rod 12 is positioned just under the skin 15. The preferred diameter for the rod is between about 0.5 mm and about 10 mm, but diameters outside of that range may also be used.

 [0040] FIG. 6A shows a finite element simulation of the electric field that is generated in the tissue when a 5 cm long, 3 mm diameter, insulated FG rod 12a made of solid plastic with an impedance between 4-6 orders of magnitude higher than the impedance of the tissue and a dielectric constant of about 2-3 is inserted into the tissue 10 between the pair of insulated electrodes 11, 11'. The upper (proximal) ends of the electrodes are located on the skin surface, and a 100 kHz AC voltage is applied between the electrodes. FIG. 6B is a magnified portion of the center of FIG. 6A, to show the field in greater detail. As seen in FIGS. 6A and 6B, the strength of the field is much higher just below the rod 12a. Thus, by inserting the FG so that it sits right above the desired target location, the field is directed to the desired location, along with the corresponding beneficial effects of that field (as described in the '289 patent).

[0041] The second embodiment is similar to the first embodiment, except that a hollow insulated rod 12b is used in place of the solid insulated rod 12a of the first embodiment. The rod in this example has an outer diameter of 3 mm and an inner diameter of 2.5 mm, and is also 5 cm long. FIG. 7A shows a finite element simulation of the electric field for this second embodiment, and FIG. 7B shows a magnified view of the center of FIG. 7A. Here again, the strength of the field is much higher just below the rod. We therefore see that a hollow insulating FG can also be used to direct the field to a desired location.

[0042] Optionally, conductive gel may be placed on the surface of the skin in the region between the insulated electrodes. FIG. 8A shows a finite element simulation of the electric field for the second embodiment (using the hollow insulated rod 12b) when conductive gel 42 is spread on the skin between the electrodes 11, 11', and FIG. 8B shows a magnified view of the center of FIG. 8A. Here again, the strength of the field is much higher just below the rod. In addition, the field is also stronger in the region between the electrodes just below the surface of the skin 15 beneath the gel 42. Note that the conductive gel described in connection with this embodiment may also be used in the other embodiments described herein, with similar results. [0043] In a third embodiment, a hollow conducting rod is used instead of the hollow insulating rod of the second embodiment. In this third embodiment, the electric impedance of the FG, ZFG is significantly lower than that of the medium ZM (ZFG<3 mm) Metastases Treated 19 +- 14 72 +- 66 Control 41 +- 68 143 +- 134

[0021] In patients, in the present invention the preventive treatment is achieved by means of at least one set (pair) of electrodes, preferably two or more sets. The electrodes are connected to a waveform generator and amplifier so as to generate TTFields in the patient. Electrodes specifically designed for long term application without eliciting severe side effects and without causing patient discomfort and having minimal interference with the normal everyday activities of the patient are preferred. The placement of the electrodes is made so as to generate the desired field at the location or locations where the chances for tumor appearance are statistically high. In the case that a primary tumor is also present, the placement is preferably made so as to cover all tumors. Alternatively, for the presence, or projected presence of more than one tumor, additional sets of electrodes can be activated simultaneously. In such a case, it is preferable that the different sets of electrodes be connected to different generators which are isolated from one another. Isolation can be achieved by separate voltage sources (batteries) or, for example, by using isolation transformers.

 [0022] FIG. 1 is a timeline of an alternative approach, in which the different sets of electrodes are positioned to treat different parts of the patient and are energized sequentially in a time-multiplexed manner. In the illustrated timeline, the primary tumor is treated in the first time slot 12 and the remote sites where metastases are likely to appear (e.g., the liver and lungs) are treated in the second and third time slots 14, 16, respectively. After all relevant regions have been treated, the three-part cycle is repeated. For example, the field could be applied to the primary tumor for one second, then to the liver for one second, then to lungs for one second, after which the three-part cycle is repeated for the desired period of treatment. Optionally, breaks may be included in the cycles of treatment. For example, the field could be applied to the primary tumor for 1-3 days, then to the liver for 1-3 days, then to the lungs for 1-3 days, then removed for 1-3 days, after which the four-part cycle is repeated for the desired period of treatment.

 [0023] Since the various regions are treated sequentially when this approach is used, a single field generator can be used for all the sets of electrodes, and isolation transformers are not required. Optionally, the field may be applied in each time slot with a plurality of orientations and/or a plurality of frequencies, as described in U.S. patent application Ser. No. 11/111,439, filed Apr. 21, 2005, which is incorporated herein by reference.

 [0024] One example of a suitable electrode designed for comfortable long term use is shown in FIGS. 2a and 2b, with FIG. 2a being an plan view of a flexible electrode patch 20 and FIG. 2b being a detailed crossed section view the flexible electrode patch 20 along lines B-B. In this embodiment, the flexible electrode patch 20 is actually a composite of many small electrodes 40 that are mounted on a flexible substrate 22. The flexibility of the substrate 22 and the use of relatively small electrodes 40 helps provide flexibility, which allows the patch 20 to fit the relevant body curvature. Optionally, perforations 26 may be provided in the substrate to permit the skin beneath the substrate 22 to "breathe". In some embodiments, the material of the substrate 22 is selected so that it can be cut to a desired shape to fit the skin area to which the flexible patch 20 will be applied.

[0025] Depending on the location within the body that is being treated, one or more of the flexible electrode patches 20 would be used. For example, to treat a shallow melanoma, a single patch can be used, with the field being induced by applying an appropriate voltage between different electrodes 40 within the single patch 20. For deeper sites in the body, two or more patches 20 would preferably be placed on opposing sides of the site, and all the electrodes on any given patch would be wired together in parallel. An appropriate driving signal would then be applied between the various patches 20.

 [0026] FIG. 2b shows a detailed cross-section of the flexible electrode patch 20 in which all the electrodes 40 on the patch are wired in parallel, depicted in cross-section. In this embodiment, the substrate is made of a preferably conductive flexible layer 32 mounted beneath a flexible insulating layer 30. Suitable materials for the conductive layer 32 include conductive rubber, graphite, thin flexible metal sheets such as copper or aluminum, etc.; and suitable materials for the flexible insulating layer 30 include rubber, silicon, Teflon and polyethylene vinyl. A lead 38 is wired in electrical contact with the conductive flexible layer 32 to facilitate application of the appropriate AC signals to each patch 20.

 [0027] The cross-section view of FIG. 2b depicts electrodes 40 separated by insulators 34, which are preferably made of a flexible insulating material such as silicon rubber, vinyl, polyurethane, etc. In the illustrated embodiment, each electrode 40 includes conductive core 42 made of, for example, metal or conductive rubber, and a thin dielectric layer 46. Preferably, the dielectric layer is very thin (e.g., 0.1 mm) and has a very high dielectric constant (e.g., greater than 1000, or more preferably greater than 5000). Preferably, one layer of conductive adhesive 44 is provided between the core 42 and the conductive layer 32, and another layer of conductive adhesive 45 is provided between the core 42 and the dielectric layer 46.

 [0028] Optionally, the portions of the insulator 34 that contact the patient's body may be coated with a biocompatible adhesive 36 to help the patch 20 adhere to the patient's body. A conductive layer 48 is preferably provided between the dielectric 46 and the patient's body to improve the electrical contact with the patient's body. Examples of suitable materials for this conductive layer 48 include conductive gels and carbon (graphite) powders, which maybe imbedded in a suitable cream (e.g. a cosmetic base with an electrolyte). Graphite has the advantage in that it has a much higher electric conductance, as compared with gels, and that it is inert and has extremely high biocompatibility. Optionally, a suitable adhesive may be included in the conductive layer 48 to help the patch 20 adhere to the patient's body. A number of alternative electrode configurations are described in U.S. patent application Ser. No. 11/294,780, filed Dec. 5, 2005, which is incorporated herein by reference.

 [0029] The TTFields generated in the target regions are preferably in the order of 1-10 V/cm and the field frequency is preferably 100-300 kHz for certain types of cancers (e.g., certain gliomas and melanomas) and may be outside that range for other types of cancer, as described in the applications referenced above. The electrodes can be incorporated into articles of clothing so as to provide maximal comfort to the patient, as described in U.S. Pat. No. 6,868,289, which is also incorporated herein by reference.

 [0030] FIG. 3 is a flow chart of a process for using the above-described approaches to treat patients. The process begins in step 60, where information about the patient is obtained. This information should preferably include racial information and a family history that is sufficient to evaluate genetic risk of developing cancer, as well as personal history indicating whether the patient has or is suspected to have a tumor that may generate metastases.

 [0031] In step 62, the process flow diverges depending on whether the patient is known to have a metastatic tumor. If the patient has a metastatic tumor, process flow continues at step 64, where the location or locations where metastases are expected to develop and the time frame when such metastasis may develop are determined. For example, metastases commonly develop in the lungs from certain types of melanomas, and in the liver, brain, or bone for certain other types of cancers. The process flow then continues in step 66, where the way to get the desired beneficial electrical fields to the locations identified in step 64 is computed (or, in alternative embodiments, estimated). This may be accomplished by running computer simulations to identify the type, size, and shape of the electrodes that should be used, the positions to place those electrodes, and the voltages that should be applied to those electrodes in order to induce the desired fields at the identified locations. The process flow then continues in step 68, where suitable electrodes for generating the desired fields are constructed. Finally, in step 70, the electrodes are applied to the patient's body and stimulated with appropriate voltages in order to generate the desired fields in the locations identified previously in step 64.

[0032] If, back in step 62, it turns out that the patient being evaluated does not have metastatic tumor, the process flow continues at step 80 where, based on the patient data that was entered in step 60, a determination is made as to whether the patient is at a high risk for developing cancer. If the patient's risk of developing cancer is not too high, the process stops (and the patient is not treated). If, on the other hand, it is determined that that patient's risk of developing cancer is sufficiently high, process flow continues at step 82, where the location or locations where cancer is likely to develop are determined. For example, patients with a strong family history of breast cancer or a genetic marker that is correlated with breast cancer, the determined location would be the breasts. The process then proceeds to step 66, and continues from there as described above.

 [0033] Note that the above-described treatment may be advantageously combined with other cancer treatments such as surgery, chemotherapy, radiation therapy, etc. It may also be convenient to implement the above-described treatment using electrodes that are integrated into articles of clothing (e.g., a bra or a hat) as described in U.S. Pat. No. 6,868,289, which is incorporated herein by reference. ==



CA2563817

CROSS-REFERENCE TO RELATED APPLICATIONS

[0001] This application claims the benefit of U. S. provisional application 60/565,065, filed April 23,2004, which is hereby incorporated by reference in its entirety.

 TECHNICAL FIELD

 [0002] This invention concerns selective destruction of rapidly dividing cells in a localized area, and more particularly, selectively destroying dividing cells without destroying nearby non-dividing cells by applying an electric field with specific characteristics to a target area in a living patient.

BACKGROUND

[0003] All living organisms proliferate by cell division, including cell cultures, microorganisms (such as bacteria, mycoplasma, yeast, protozoa, and other single-celled organisms), fungi, algae, plant cells, etc. Dividing cells of organisms can be destroyed, or their proliferation controlled, by methods that are based on the sensitivity of the dividing cells of these organisms to certain agents. For example, certain antibiotics stop the multiplication process of bacteria.

 [0004] The process of eukaryotic cell division is called "mitosis", which involves nice distinct phases (see Darnell et al. , Molecular Cell Biology, New York: Scientific American Books, 1986, p. 149). During interphase, the cell replicates chromosomal DNA, which begins condensing in early prophase. At this point, centrioles (each cell contains 2) begin moving towards opposite poles of the cell. In middle prophase, each chromosome is composed of duplicate chromatids. Microtubular spindles radiate from regions adjacent to the centrioles, which are closer to their poles. By late prophase, the centrioles have reached the poles, and some spindle fibers extend to the center of the cell, while others extend from the poles to the chromatids. The cells then move into metaphase, when the chromosomes move toward the equator of the cell and align in the equatorial plane. Next is early anaphase, during which time daughter chromatids separate from each other at the equator by moving along the spindle fibers toward a centromere at opposite poles. The cell begins to elongate along the axis of the pole; the pole-to-pole spindles also elongate. Late anaphase occurs when the daughter chromosomes (as they are now called) each reach their respective opposite poles. At this point, cytokinesis begins as the cleavage furrow begins to form at the equator of the cell. In other words, late anaphase is the point at which pinching the cell membrane begins. During telophase, cytokinesis is nearly complete and spindles disappear. Only a relatively narrow membrane connection joins the two cytoplasms. Finally, the membranes separate fully, cytokinesis is complete and the cell returns to interphase.

 [0005] In meiosis, the cell undergoes a second division, involving separation of sister chromosomes to opposite poles of the cell along spindle fibers, followed by formation of a cleavage furrow and cell division. However, this division is not preceded by chromosome replication, yielding a haploid germ cell. Bacteria also divide by chromosome replication, followed by cell separation. However, since the daughter chromosomes separate by attachment to membrane components; there is no visible apparatus that contributes to cell division as in eukaryotic cells.

 [0006] It is well known that tumors, particularly malignant or cancerous tumors, grow uncontrollably compared to normal tissue. Such expedited growth enables tumors to occupy an ever-increasing space and to damage or destroy tissue adjacent thereto. Furthermore, certain cancers are characterized by an ability to transmit cancerous "seeds", including single cells or small cell clusters (metastases), to new locations where the metastatic cancer cells grow into additional tumors.

 [0007] The rapid growth of tumors, in general, and malignant tumors in particular, as described above, is the result of relatively frequent cell division or multiplication of these cells compared to normal tissue cells. The distinguishably frequent cell division of cancer cells is the basis for the effectiveness of existing cancer treatments, e. g., irradiation therapy and the use of various chemo-therapeutic agents. Such treatments are based on the fact that cells undergoing division are more sensitive to radiation and chemo-therapeutic agents than non-dividing cells. Because tumors cells divide much more frequently than normal cells, it is possible, to a certain extent, to selectively damage or destroy tumor cells by radiation therapy and/or chemotherapy. The actual sensitivity of cells to radiation, therapeutic agents, etc. , is also dependent on specific characteristics of different types of normal or malignant cell types. Thus, unfortunately, the sensitivity of tumor cells is not sufficiently higher than that many types of normal tissues. This diminishes the ability to distinguish between tumor cells and normal cells, and therefore, existing cancer treatments typically cause significant damage to normal tissues, thus limiting the therapeutic effectiveness of such treatments. Furthermore, the inevitable damage to other tissue renders treatments very traumatic to the patients and, often, patients are unable to recover from a seemingly successful treatment. Also, certain types of tumors are not sensitive at all to existing methods of treatment.

 [0008] There are also other methods for destroying cells that do not rely on radiation therapy or chemotherapy alone. For example, ultrasonic and electrical methods for destroying tumor cells can be used in addition to or instead of conventional treatments. Electric fields and currents have been used for medical purposes for many years. The most common is the generation of electric currents in a human or animal body by application of an electric field by means of a pair of conductive electrodes between which a potential difference is maintained. These electric currents are used either to exert their specific effects, i. e., to stimulate excitable tissue, or to generate heat by flowing in the body since it acts as a resistor. Examples of the first type of application include the following: cardiac defibrillators, peripheral nerve and muscle stimulators, brain stimulators, etc. Currents are used for heating, for example, in devices for tumor ablation, ablation of malfunctioning cardiac or brain tissue, cauterization, relaxation of muscle rheumatic pain and other pain, etc.

[0009] Another use of electric fields for medical purposes involves the utilization of high frequency oscillating fields transmitted from a source that emits an electric wave, such as an RF wave or a microwave source that is directed at the part of the body that is of interest (i. e., target). In these instances, there is no electric energy conduction between the source and the body; but rather, the energy is transmitted to the body by radiation or induction. More specifically, the electric energy generated by the source reaches the vicinity of the body via a conductor and is transmitted from it through air or some other electric insulating material to the human body.

 [0010] In a conventional electrical method, electrical current is delivered to a region of the target tissue using electrodes that are placed in contact with the body of the patient. The applied electrical current destroys substantially all cells in the vicinity of the target tissue. Thus, this type of electrical method does not discriminate between different types of cells within the target tissue and results in the destruction of both tumor cells and normal cells.

 [0011] Electric fields that can be used in medical applications can thus be separated generally into two different modes. In the first mode, the electric fields are applied to the body or tissues by means of conducting electrodes. These electric fields can be separated into two types, namely (1) steady fields or fields that change at relatively slow rates, and alternating fields of low frequencies that induce corresponding electric currents in the body or tissues, and (2) high frequency alternating fields (above 1 MHz) applied to the body by means of the conducting electrodes. In the second mode, the electric fields are high frequency alternating fields applied to the body by means of insulated electrodes.

 [0012] The first type of electric field is used, for example, to stimulate nerves and muscles, pace the heart, etc. In fact, such fields are used in nature to propagate signals in nerve and muscle fibers, central nervous system (CNS), heart, etc. The recording of such natural fields is the basis for the ECG, EEG, EMG, ERG, etc. The field strength in these applications, assuming a medium of homogenous electric properties, is simply the voltage applied to the stimulating/recording electrodes divided by the distance between them. These currents can be calculated by Ohm's law and can have dangerous stimulatory effects on the heart and CNS and can result in potentially harmful ion concentration changes. Also, if the currents are strong enough, they can cause excessive heating in the tissues. This heating can be calculated by the power dissipated in the tissue (the product of the voltage and the current).

[0013] When such electric fields and currents are alternating, their stimulatory power, on nerve, muscle, etc. , is an inverse function of the frequency. At frequencies above 1-10 KHz, the stimulation power of the fields approaches zero. This limitation is due to the fact that excitation induced by electric stimulation is normally mediated by membrane potential changes, the rate of which is limited by the RC properties (time constants on the order of 1 ms) of the membrane.

 [0014] Regardless of the frequency, when such current inducing fields are applied, they are associated with harmful side effects caused by currents. For example, one negative effect is the changes in ionic concentration in the various "compartments" within the system, and the harmful products of the electrolysis taking place at the electrodes, or the medium in which the tissues are imbedded. The changes in ion concentrations occur whenever the system includes two or more compartments between which the organism maintains ion concentration differences. For example, for most tissues, [Ca@] in the extracellular fluid is about 2#10-3 M, while in the cytoplasm of typical cells its concentration can be as low as 10-7 M. A current induced in such a system by a pair of electrodes, flows in part from the extracellular fluid into the cells and out again into the extracellular medium. About 2% of the current flowing into the cells is carried by the Ca@ ions. In contrast, because the concentration of intracellular Ca@ is much smaller, only a negligible fraction of the currents that exits the cells is carried by these ions. Thus, Ca++ ions accumulate in the cells such that their concentrations in the cells increases, while the concentration in the extracellular compartment may decrease. These effects are observed for both DC and alternating currents (AC). The rate of accumulation of the ions depends on the current intensity ion mobilities, membrane ion conductance, etc. An increase in [Ca++] is harmful to most cells and if sufficiently high will lead to the destruction of the cells. Similar considerations apply to other ions. In view of the above observations, long term current application to living organisms or tissues can result in significant damage. Another major problem that is associated with such electric fields, is due to the electrolysis process that takes place at the electrode surfaces. Here charges are transferred between the metal (electrons) and the electrolytic solution (ions) such that charged active radicals are formed. These can cause significant damage to organic molecules, especially macromolecules and thus damage the living cells and tissues.

 [0015] In contrast, when high frequency electric fields, above 1 MHz and usually in practice in the range of GHz, are induced in tissues by means of insulated electrodes, the situation is quite different. These type of fields generate only capacitive or displacement currents, rather than the conventional charge conducting currents. Under the effect of this type of field, living tissues behave mostly according to their dielectric properties rather than their electric conductive properties. Therefore, the dominant field effect is that due to dielectric losses and heating. Thus, it is widely accepted that in practice, the meaningful effects of such fields on living organisms, are only those due to their heating effects, i. e., due to dielectric losses.

 [0016] In U. S. Pat. No. 6,043,066 ('066) to Mangano, a method and device are presented which enable discrete objects having a conducting inner core, surrounded by a dielectric membrane to be selectively inactivated by electric fields via irreversible breakdown of their dielectric membrane. One potential application for this is in the selection and purging of certain biological cells in a suspension. According to the '066 patent, an electric field is applied for targeting selected cells to cause breakdown of the dielectric membranes of these tumor cells, while purportedly not adversely affecting other desired subpopulations of cells. The cells are selected on the basis of intrinsic or induced differences in a characteristic electroporation threshold. The differences in this threshold can depend upon a number of parameters, including the difference in cell size.

 [0017] The method of the '066 patent is therefore based on the assumption that the electroporation threshold of tumor cells is sufficiently distinguishable from that of normal cells because of differences in cell size and differences in the dielectric properties of the cell membranes. Based upon this assumption, the larger size of many types of tumor cells makes these cells more susceptible to electroporation and thus, it may be possible to selectively damage only the larger tumor cell membranes by applying an appropriate electric field. One disadvantage of this method is that the ability to discriminate is highly dependent upon cell type, for example, the size difference between normal cells and tumor cells is significant only in certain types of cells. Another drawback of this method is that the voltages which are applied can damage some of the normal cells and may not damage all of the tumor cells because the differences in size and membrane dielectric properties are largely statistical and the actual cell geometries and dielectric properties can vary significantly.

 [0018] What is needed in the art and has heretofore not been available is an apparatus for destroying dividing cells, wherein the apparatus better discriminates between dividing cells, including single-celled organisms, and non-dividing cells and is capable of selectively destroying the dividing cells or organisms with substantially no effect on the non-dividing cells or organisms.

 SUMMARY

 [0019] While they are dividing, cells are vulnerable to damage by AC electric fields that have specific frequency and field strength characteristics. The selective destruction of rapidly dividing cells can therefore be accomplished by imposing an AC electric field in a target region for extended periods of time. Some of the cells that divide while the field is applied will be damaged, but the cells that do not divide will not be harmed. This selectively damages rapidly dividing cells like tumor cells, but does not harm normal cells that are not dividing. Improved results may be achieved by using a field with two or more frequencies.

 [0020] A major use of the present apparatus is in the treatment of tumors by selective destruction of tumor cells with substantially no effect on normal tissue cells, and thus, the exemplary apparatus is described below in the context of selective destruction of tumor cells. It should be appreciated however, that for purpose of the following description, the term "cell" may also refer to a single-celled organism (eubacteria, bacteria, yeast, protozoa), multi- celled organisms (fungi, algae, mold), and plants as or parts thereof that are not normally classified as "cells". The exemplary apparatus enables selective destruction of cells undergoing division in a way that is more effective and more accurate (e. g., more adaptable to be aimed at specific targets) than existing methods. Further, the present apparatus causes minimal damage, if any, to normal tissue and, thus, reduces or eliminates many side-effects associated with existing selective destruction methods, such as radiation therapy and chemotherapy. The selective destruction of dividing cells using the present apparatus does not depend on the sensitivity of the cells to chemical agents or radiation. Instead, the selective destruction of dividing cells is based on distinguishable geometrical characteristics of cells undergoing division, in comparison to non-dividing cells, regardless of the cell geometry of the type of cells being treated.

[0021] According to one exemplary embodiment, cell geometry-dependent selective destruction of living tissue is performed by inducing a non-homogenous electric field in the cells using an electronic apparatus.

 [0022] It has been observed by the present inventor that, while different cells in their non-dividing state may have different shapes, e. g., spherical, ellipsoidal, cylindrical, "pancake-like", etc. , the division process of practically all cells is characterized by development of a "cleavage furrow" in late anaphase and telophase. This cleavage furrow is a slow constriction of the cell membrane (between the two sets of daughter chromosomes) which appears microscopically as a growing cleft (e. g., a groove or notch) that gradually separates the cell into two new cells. During the division process, there is a transient period (telophase) during which the cell structure is basically that of two sub-cells interconnected by a narrow "bridge" formed of the cell material. The division process is completed when the "bridge" between the two sub-cells is broken. The selective destruction of tumor cells using the present electronic apparatus utilizes this unique geometrical feature of dividing cells.

 [0023] When a cell or a group of cells are under natural conditions or environment, i. e., part of a living tissue, they are disposed surrounded by a conductive environment consisting mostly of an electrolytic inter-cellular fluid and other cells that are composed mostly of an electrolytic intra-cellular liquid. When an electric field is induced in the living tissue, by applying an electric potential across the tissue, an electric field is formed in the tissue and the specific distribution and configuration of the electric field lines defines the direction of charge displacement, or paths of electric currents in the tissue, if currents are in fact induced in the tissue. The distribution and configuration of the electric field is dependent on various parameters of the tissue, including the geometry and the electric properties of the different tissue components, and the relative conductivities, capacities and dielectric constants (that may be frequency dependent) of the tissue components.

 [0024] The electric current flow pattern for cells undergoing division is very different and unique as compared to non-dividing cells. Such cells including first and second sub-cells, namely an "original" cell and a newly formed cell, that are connected by a cytoplasm "bridge" or "neck". The currents penetrate the first sub-cell through part of the membrane ("the current source pole") ; however, they do not exit the first sub-cell through a portion of its membrane closer to the opposite pole ("the current sink pole"). Instead, the lines of current flow converge at the neck or cytoplasm bridge, whereby the density of the current flow lines is greatly increased. A corresponding, "mirror image", process that takes place in the second sub-cell, whereby the current flow lines diverge to a lower density configuration as they depart from the bridge, and finally exit the second sub-cell from a part of its membrane closes to the current sink.

 [0025] When a polarizable object is placed in a non-uniform converging or diverging field, electric forces act on it and pull it towards the higher density electric field lines. In the case of dividing cell, electric forces are exerted in the direction of the cytoplasm bridge between the two cells. Since all intercellular organelles and macromolecules are polarizable, they are all force towards the bridge between the two cells. The field polarity is irrelevant to the direction of the force and, therefore, an alternating electric having specific properties can be used to produce substantially the same effect. It will also be appreciated that the concentrated and inhomogeneous electric field present in or near the bridge or neck portion in itself exerts strong forces on charges and natural dipoles and can lead to the disruption of structures associated with these members.

 [0026] The movement of the cellular organelles towards the bridge disrupts the cell structure and results in increased pressure in the vicinity of the connecting bridge membrane. This pressure of the organelles on the bridge membrane is expected to break the bridge membrane and, thus, it is expected that the dividing cell will "explode" in response to this pressure. The ability to break the membrane and disrupt other cell structures can be enhanced by applying a pulsating alternating electric field that has a frequency from about 50 KHz to about 500 KHz. When this type of electric field is applied to the tissue, the forces exerted on the intercellular organelles have a "hammering" effect, whereby force pulses (or beats) are applied to the organelles numerous times per second, enhancing the movement of organelles of different sizes and masses towards the bridge (or neck) portion from both of the sub-cells, thereby increasing the probability of breaking the cell membrane at the bridge portion. The forces exerted on the intracellular organelles also affect the organelles themselves and may collapse or break the organelles.

 [0027] According to one exemplary embodiment, the apparatus for applying the electric field is an electronic apparatus that generates the desired electric signals in the shape of waveforms or trains of pulses. The electronic apparatus includes a generator that generates an alternating voltage waveform at frequencies in the range from about 50 KHz to about 500 KHz. The generator is operatively connected to conductive leads which are connected at their other ends to insulated conductors/electrodes (also referred to as isolects) that are activated by the generated waveforms. The insulated electrodes consist of a conductor in contact with a dielectric (insulating layer) that is in contact with the conductive tissue, thus forming a capacitor. The electric fields that are generated by the present apparatus can be applied in several different modes depending upon the precise treatment application.

[0028] In one exemplary embodiment, the electric fields are applied by external insulated electrodes which are incorporated into an article of clothing and which are constructed so that the applied electric fields are of a local type that target a specific, localized area of tissue (e. g., a tumor). This embodiment is designed to treat tumors and lesions that are at or below the skin surface by wearing the article of clothing over the target tissue so that the electric fields generated by the insulated electrodes are directed at the tumors (lesions, etc.).

 [0029] According to another embodiment, the apparatus is used in an internal type application in that the insulated electrodes are in the form of a probe or catheter etc. , that enter the body through natural pathways, such as the urethra or vagina, or are configured to penetrate living tissue; until the insulated electrodes are positioned near the internal target area (e.g., an internal tumor).

[0030] Thus, the present apparatus utilizes electric fields that fall into a special intermediate category relative to previous high and low frequency applications in that the present electric fields are bio-effective fields that have no meaningful stimulatory effects and no thermal effects. Advantageously, when non-dividing cells are subjected to these electric fields, there is no effect on the cells; however, the situation is much different when dividing cells are subjected to the present electric fields. Thus, the present electronic apparatus and the generated electric fields target dividing cells, such as tumors or the like, and do not target non-dividing cells that is found around in healthy tissue surrounding the target area. Furthermore, since the present apparatus utilizes insulated electrodes, the above mentioned negative effects, obtained when conductive electrodes are used, i. e., ion concentration changes in the cells and the formation of harmful agents by electrolysis, do not occur with the present apparatus. This is because, in general, no actual transfer of charges takes place between the electrodes and the medium, and there is no charge flow in the medium where the currents are capacitive.

[0031] It should be appreciated that the present electronic apparatus can also be used in applications other than treatment of tumors in the living body. In fact, the selective destruction utilizing the present apparatus can be used in conjunction with any organism that proliferates by division, for example, tissue cultures, microorganisms, such as bacteria, mycoplasma, protozoa, fungi, algae, plant cells, etc. Such organisms divide by the formation of a groove or cleft as described above. As the groove or cleft deepens, a narrow bridge is formed between the two parts of the organism, similar to the bridge formed between the sub- cells of dividing animal cells. Since such organisms are covered by a membrane having a relatively low electric conductivity, similar to an animal cell membrane described above, the electric field lines in a dividing organism converge at the bridge connecting the two parts of the dividing organism. The converging field lines result in electric forces that displace polarizable elements and charges within the dividing organism.

 [0032] The above, and other objects, features and advantages of the present apparatus will become apparent from the following description read in conjunction with the accompanying drawings, in which like reference numerals designate the same elements.

BRIEF DESCRIPTION OF THE DRAWINGS

[0033] FIGS. 1A-1E are simplified, schematic, cross-sectional, illustrations of various stages of a cell division process;

 [0034] FIGS. 2A and 2B are schematic illustrations of a non-dividing cell being subjected to an electric field;

 [0035] FIGS. 3A, 3B and 3C are schematic illustrations of a dividing cell being subjected to an electric field according to one exemplary embodiment, resulting in destruction of the cell (FIG. 3C) in accordance with one exemplary embodiment; [0036] FIG. 4 is a schematic illustration of a dividing cell at one stage being subject to an electric field; [0037] FIG. 5 is a schematic block diagram of an apparatus for applying an electric according to one exemplary embodiment for selectively destroying cells; [0038] FIG. 6 is a simplified schematic diagram of an equivalent electric circuit of insulated electrodes of the apparatus of FIG. 5;

 [0039] FIG. 7 is a cross-sectional illustration of a skin patch incorporating the apparatus of FIG. 5 and for placement on a skin surface for treating a tumor or the like; [0040] FIG. 8 is a cross-sectional illustration of the insulated electrodes implanted within the body for treating a tumor or the like;

 [0041] FIG. 9 is a cross-sectional illustration of the insulated electrodes implanted within the body for treating a tumor or the like; [0042] FIGS. 10A-10D are cross-sectional illustrations of various constructions of the insulated electrodes of the apparatus of FIG. 5;

[0043] FIG. 11 is a front elevational view in partial cross-section of two insulated electrodes being arranged about a human torso for treatment of a tumor container within the body, e. g., a tumor associated with lung cancer;

 [0044] FIGS. 12A-12C are cross-sectional illustrations of various insulated electrodes with and without protective members formed as a part of the construction thereof;

 [0045] FIG. 13 is a schematic diagram of insulated electrodes that are arranged for focusing the electric field at a desired target while leaving other areas in low field density (i. e., protected areas);

 [0046] FIG. 14 is a cross-sectional view of insulated electrodes incorporated into a hat according to a first embodiment for placement on a head for treating an intra-cranial tumor or the like;

 [0047] FIG. 15 is a partial section of a hat according to an exemplary embodiment having a recessed section for receiving one or more insulated electrodes;

 [0048] FIG. 16 is a cross-sectional view of the hat of FIG. 15 placed on a head and illustrating a biasing mechanism for applying a force to the insulated electrode to ensure the insulated electrode remains in contact against the head;

[0049] FIG. 17 is a cross-sectional top view of an article of clothing having the insulated electrodes incorporated therein for treating a tumor or the like;

 [0050] FIG. 18 is a cross-sectional view of a section of the article of clothing of FIG. 17 illustrating a biasing mechanism for biasing the insulated electrode in direction to ensure the insulated electrode is placed proximate to a skin surface where treatment is desired;

 [0051] FIG. 19 is a cross-sectional view of a probe according to one embodiment for being disposed internally within the body for treating a tumor or the like;

 [0052] FIG. 20 is an elevational view of an unwrapped collar according to one exemplary embodiment for placement around a neck for treating a tumor or the like in this area when the collar is wrapped around the neck; [0053] FIG. 21 is a cross-sectional view of two insulated electrodes with conductive gel members being arranged about a body, with the electric field lines being shown;

 [0054] FIG. 22 is a cross-sectional view of the arrangement of FIG. 21 illustrating a point of insulation breakdown in one insulated electrode;

 [0055] FIG. 23 is a cross-sectional view of an arrangement of at least two insulated electrodes with conductive gel members being arranged about a body for treatment of a tumor or the like, wherein each conductive gel member has a feature for minimizing the effects of an insulation breakdown in the insulated electrode;

 [0056] FIG. 24 is a cross-sectional view of another arrangement of at least two insulated electrodes with conductive gel members being arranged about a body for treatment of a tumor or the like, wherein a conductive member is disposed within the body near the tumor to create a region of increased field density;

 [0057] FIG. 25 is a cross-sectional view of an arrangement of two insulated electrodes of varying sizes disposed relative to a body; and

 [0058] FIG. 26 is a cross-sectional view of an arrangement of at least two insulated electrodes with conductive gel members being arranged about a body for treatment of a tumor or the like, wherein each conductive gel member has a feature for minimizing the effects of an insulation breakdown in the insulated electrode.

 [0059] FIGS. 27A-C show a configuration of electrodes that facilitates the application of an electric field in different directions.

 [0060] FIG. 28 shows a three-dimensional arrangement of electrodes about a body part that facilitates the application of an electric field in different directions.

 [0061] FIGS. 29A and 29B are graphs of the efficiency of the cell destruction process as a function of field strength for melanoma and glioma cells, respectively. [0062] FIGS. 30A and 30B are graphs that show how the cell destruction efficiency is a function of the frequency of the applied field for melanoma and glioma cells, respectively.

[0063] FIG. 31A is a graphical representation of the sequential application of a plurality of frequencies in a plurality of directions.

 [0064] FIG. 31B is a graphical representation of the sequential application of a sweeping frequency in a plurality of directions.

DETAILED DESCRIPTION OF PREFERRED EMBODIMENTS

[0065] Reference is made to FIGS. 1A-1E which schematically illustrate various stages of a cell division process. FIG. 1A illustrates a cell 10 at its normal geometry, which can be generally spherical (as illustrated in the drawings), ellipsoidal, cylindrical, "pancake- like" or any other cell geometry, as is known in the art. FIGS. 1B-1D illustrate cell 10 during different stages of its division process, which results in the formation of two new cells 18 and 20, shown in FIG. 1E.

 [0066] As shown in FIGS. 1B-1D, the division process of cell 10 is characterized by a slowly growing cleft 12 which gradually separates cell 10 into two units, namely sub-cells 14 and 16, which eventually evolve into new cells 18 and 20 (FIG. 1E). A shown specifically in FIG. 1D, the division process is characterized by a transient period during which the structure of cell 10 is basically that of the two sub-cells 14 and 16 interconnected by a narrow "bridge" 22 containing cell material (cytoplasm surrounded by cell membrane).

 [0067] Reference is now made to FIGS. 2A and 2B, which schematically illustrate non-dividing cell 10 being subjected to an electric field produced by applying an alternating electric potential, at a relatively low frequency and at a relatively high frequency, respectively. Cell 10 includes intracellular organelles, e. g., a nucleus 30. Alternating electric potential is applied across electrodes 28 and 32 that can be attached externally to a patient at a predetermined region, e. g., in the vicinity of the tumor being treated. When cell 10 is under natural conditions, i. e., part of a living tissue, it is disposed in a conductive environment (hereinafter referred to as a "volume conductor") consisting mostly of electrolytic inter- cellular liquid. When an electric potential is applied across electrodes 28 and 32, some of the field lines of the resultant electric field (or the current induced in the tissue in response to the electric field) penetrate the cell 10, while the rest of the field lines (or induced current) flow in the surrounding medium. The specific distribution of the electric field lines, which is substantially consistent with the direction of current flow in this instance, depends on the geometry and the electric properties of the system components, e. g., the relative conductivities and dielectric constants of the system components, that can be frequency dependent. For low frequencies, e. g., frequencies lower than 10 KHz, the conductance properties of the components completely dominate the current flow and the field distribution, and the field distribution is generally as depicted in FIG. 2A. At higher frequencies, e. g., at frequencies of between 10 KHz and 1 MHz, the dielectric properties of the components becomes more significant and eventually dominate the field distribution, resulting in field distribution lines as depicted generally in FIG. 2B.

 [0068] For constant (i. e., DC) electric fields or relatively low frequency alternating electric fields, for example, frequencies under 10 KHz, the dielectric properties of the various components are not significant in determining and computing the field distribution. Therefore, as a first approximation, with regard to the electric field distribution, the system can be reasonably represented by the relative impedances of its various components. Using this approximation, the intercellular (i. e., extracellular) fluid and the intracellular fluid each has a relatively low impedance, while the cell membrane 11 has a relatively high impedance. Thus, under low frequency conditions, only a fraction of the electric field lines (or currents induced by the electric field) penetrate membrane 11 of the cell 10. At relatively high frequencies (e. g., 10 KHz-1 MHz), in contrast, the impedance of membrane 11 relative to the intercellular and intracellular fluids decreases, and thus, the fraction of currents penetrating the cells increases significantly. It should be noted that at very high frequencies, i. e., above 1 MHz, the membrane capacitance can short the membrane resistance and, therefore, the total membrane resistance can become negligible. [0069] In any of the embodiments described above, the electric field lines (or induced currents) penetrate cell 10 from a portion of the membrane 11 closest to one of the electrodes generating the current, e. g., closest to positive electrode 28 (also referred to herein as "source"). The current flow pattern across cell 10 is generally uniform because, under the above approximation, the field induced inside the cell is substantially homogeneous. The currents exit cell 10 through a portion of membrane 11 closest to the opposite electrode, e.g., negative electrode 32 (also referred to herein as "sink").

 [0070] The distinction between field lines and current flow can depend on a number of factors, for example, on the frequency of the applied electric potential and on whether electrodes 28 and 32 are electrically insulated. For insulated electrodes applying a DC or low frequency alternating voltage, there is practically no current flow along the lines of the electric field. At higher frequencies, the displacement currents are induced in the tissue due to charging and discharging of the electrode insulation and the cell membranes (which act as capacitors to a certain extent), and such currents follow the lines of the electric field. Fields generated by non-insulated electrodes, in contrast, always generate some form of current flow, specifically, DC or low frequency alternating fields generate conductive current flow along the field lines, and high frequency alternating fields generate both conduction and displacement currents along the field lines. It should be appreciated, however, that movement of polarizable intracellular organelles according to the present invention (as described below) is not dependent on actual flow of current and, therefore, both insulated and non-insulated electrodes can be used efficiently. Advantages of insulated electrodes include lower power consumption, less heating of the treated regions, and improved patient safety.

 [0071] According to one exemplary embodiment of the present invention, the electric fields that are used are alternating fields having frequencies that are in the range from about 50 KHz to about 500 KHz, and preferably from about 100 KHz to about 300 KHz. For ease of discussion, these type of electric fields are also referred to below as "TC fields", which is an abbreviation of "Tumor Curing electric fields", since these electric fields fall into an intermediate category (between high and low frequency ranges) that have bio-effective field properties while having no meaningful stimulatory and thermal effects. These frequencies are sufficiently low so that the system behavior is determined by the system's Ohmic (conductive) properties but sufficiently high enough not to have any stimulation effect on excitable tissues. Such a system consists of two types of elements, namely, the intercellular, or extracellular fluid, or medium and the individual cells. The intercellular fluid is mostly an electrolyte with a specific resistance of about 40-100 Ohm*cm. As mentioned above, the cells are characterized by three elements, namely (1) a thin, highly electric resistive membrane that coats the cell; (2) internal cytoplasm that is mostly an electrolyte that contains numerous macromolecules and micro-organelles, including the nucleus; and (3) membranes, similar in their electric properties to the cell membrane, cover the micro-organelles.

 [0072] When this type of system is subjected to the present TC fields (e. g., alternating electric fields in the frequency range of 100 KHz-300 KHz) most of the lines of the electric field and currents tend away from the cells because of the high resistive cell membrane and therefore the lines remain in the extracellular conductive medium. In the above recited frequency range, the actual fraction of electric field or currents that penetrates the cells is a strong function of the frequency.

 [0073] FIG. 2 schematically depicts the resulting field distribution in the system. As illustrated, the lines of force, which also depict the lines of potential current flow across the cell volume mostly in parallel with the undistorted lines of force (the main direction of the electric field). In other words, the field inside the cells is mostly homogeneous. In practice, the fraction of the field or current that penetrates the cells is determined by the cell membrane impedance value relative to that of the extracellular fluid. Since the equivalent electric circuit of the cell membrane is that of a resistor and capacitor in parallel, the impedance is a function of the frequency. The higher the frequency, the lower the impedance, the larger the fraction of penetrating current and the smaller the field distortion (Rotshenker S. & Y. Palti, Changes infraction of current penetrating an axon as a function of duration of stimulating pulse, J. Theor. Biol. 41; 401-407 (1973).

 [0074] As previously mentioned, when cells are subjected to relatively weak electric fields and currents that alternate at high frequencies, such as the present TC fields having a frequency in the range of 50 KHz-500 KHz, they have no effect on the non-dividing cells. While the present TC fields have no detectable effect on such systems, the situation becomes different in the presence of dividing cells.

 [0075] Reference is now made to FIGS. 3A-3C which schematically illustrate the electric current flow pattern in cell 10 during its division process, under the influence of alternating fields (TC fields) in the frequency range from about 100 KHz to about 300 KHz in accordance with one exemplary embodiment. The field lines or induced currents penetrate cell 10 through a part of the membrane of sub-cell 16 closer to electrode 28. However, they do not exit through the cytoplasm bridge 22 that connects sub-cell 16 with the newly formed yet still attached sub-cell 14, or through a part of the membrane in the vicinity of the bridge 22. Instead, the electric field or current flow lines--that are relatively widely separated in sub- cell 16--converge as they approach bridge 22 (also referred to as "neck" 22) and, thus, the current/field line density within neck 22 is increased dramatically. A "mirror image" process takes place in sub-cell 14, whereby the converging field lines in bridge 22 diverge as they approach the exit region of sub-cell 14.

[0076] It should be appreciated by persons skilled in the art that homogeneous electric fields do not exert a force on electrically neutral objects, i. e., objects having substantially zero net charge, although such objects can become polarized. However, under a non-uniform, converging electric field, as shown in FIGS. 3A-3C, electric forces are exerted on polarized objects, moving them in the direction of the higher density electric field lines. It will be appreciated that the concentrated electric field that is present in the neck or bridge area in itself exerts strong forces on charges and natural dipoles and can disrupt structures that are associated therewith. One will understand that similar net forces act on charges in an alternating field, again in the direction of the field of higher intensity.

 [0077] In the configuration of FIGS. 3A and 3B, the direction of movement of polarized and charged objects is towards the higher density electric field lines, i. e., towards the cytoplasm bridge 22 between sub-cells 14 and 16. It is known in the art that all intracellular organelles, for example, nuclei 24 and 26 of sub-cells 14 and 16, respectively, are polarizable and, thus, such intracellular organelles are electrically forced in the direction of the bridge 22. Since the movement is always from lower density currents to the higher density currents, regardless of the field polarity, the forces applied by the alternating electric field to organelles, such as nuclei 24 and 26, are always in the direction of bridge 22. A comprehensive description of such forces and the resulting movement of macromolecules of intracellular organelles, a phenomenon referred to as "dielectrophoresis" is described extensively in literature, e. g., in C. L. Asbury & G. van den Engh, Biophys. J. 74, 1024-1030, 1998, the disclosure of which is hereby incorporated by reference in its entirety.

 [0078] The movement of the organelles 24 and 26 towards the bridge 22 disrupts the structure of the dividing cell, change the concentration of the various cell constituents and, eventually, the pressure of the converging organelles on bridge membrane 22 results in the breakage of cell membrane 11 at the vicinity of the bridge 22, as shown schematically in FIG. 3C. The ability to break membrane 11 at bridge 22 and to otherwise disrupt the cell structure and organization can be enhanced by applying a pulsating AC electric field, rather than a steady AC field. When a pulsating field is applied, the forces acting on organelles 24 and 26 have a "hammering" effect, whereby pulsed forces beat on the intracellular organelles towards the neck 22 from both sub-cells 14 and 16, thereby increasing the probability of breaking cell membrane 11 in the vicinity of neck 22.

 [0079] A very important element, which is very susceptible to the special fields that develop within the dividing cells is the microtubule spindle that plays a major role in the division process. In FIG. 4, a dividing cell 10 is illustrated, at an earlier stage as compared to FIGS. 3A and 3B, under the influence of external TC fields (e. g., alternating fields in the frequency range of about 100 KHz to about 300 KHz), generally indicated as lines 100, with a corresponding spindle mechanism generally indicated at 120. The lines 120 are microtubules that are known to have a very strong dipole moment. This strong polarization makes the tubules, as well as other polar macromolecules and especially those that have a specific orientation within the cells or its surrounding, susceptible to electric fields. Their positive charges are located at the two centrioles while two sets of negative poles are at the center of the dividing cell and the other pair is at the points of attachment of the microtubules to the cell membrane, generally indicated at 130. This structure forms sets of double dipoles and therefore they are susceptible to fields of different directions. It will be understood that the effect of the TC fields on the dipoles does not depend on the formation of the bridge (neck) and thus, the dipoles are influenced by the TC fields prior to the formation of the bridge (neck).

 [0080] Since the present apparatus (as will be described in greater detail below) utilizes insulated electrodes, the above-mentioned negative effects obtained when conductive electrodes are used, i. e., ion concentration changes in the cells and the formation of harmful agents by electrolysis, do not occur when the present apparatus is used. This is because, in general, no actual transfer of charges takes place between the electrodes and the medium and there is no charge flow in the medium where the currents are capacitive, i. e., are expressed only as rotation of charges, etc.

 [0081] Turning now to FIG. 5, the TC fields described above that have been found to advantageously destroy tumor cells are generated by an electronic apparatus 200. FIG. 5 is a simple schematic diagram of the electronic apparatus 200 illustrating the major components thereof. The electronic apparatus 200 generates the desired electric signals (TC signals) in the shape of waveforms or trains of pulses. The apparatus 200 includes a generator 210 and a pair of conductive leads 220 that are attached at one end thereof to the generator 210. The opposite ends of the leads 220 are connected to insulated conductors 230 that are activated by the electric signals (e. g., waveforms). The insulated conductors 230 are also referred to hereinafter as isolects 230. Optionally and according to another exemplary embodiment, the apparatus 200 includes a temperature sensor 240 and a control box 250 which are both added to control the amplitude of the electric field generated so as not to generate excessive heating in the area that is treated.

 [0082] The generator 210 generates an alternating voltage waveform at frequencies in the range from about 50 KHz to about 500 KHz (preferably from about 100 KHz to about 300 KHz) (i. e., the TC fields). The required voltages are such that the electric field intensity in the tissue to be treated is in the range of about 0.1 V/cm to about 10 V/cm. To achieve this field, the actual potential difference between the two conductors in the isolects 230 is determined by the relative impedances of the system components, as described below.

 [0083] When the control box 250 is included, it controls the output of the generator 210 so that it will remain constant at the value preset by the user or the control box 250 sets the output at the maximal value that does not cause excessive heating, or the control box 250 issues a warning or the like when the temperature (sensed by temperature sensor 240) exceeds a preset limit.

 [0084] The leads 220 are standard isolated conductors with a flexible metal shield, preferably grounded so that it prevents the spread of the electric field generated by the leads 220. The isolects 230 have specific shapes and positioning so as to generate an electric field of the desired configuration, direction and intensity at the target volume and only there so as to focus the treatment.

 [0085] The specifications of the apparatus 200 as a whole and its individual components are largely influenced by the fact that at the frequency of the present TC fields (50 KHz-500 KHz), living systems behave according to their "Ohmic", rather than their dielectric properties. The only elements in the apparatus 200 that behave differently are the insulators of the isolects 230 (see FIGS. 7-9). The isolects 200 consist of a conductor in contact with a dielectric that is in contact with the conductive tissue thus forming a capacitor.

 [0086] The details of the construction of the isolects 230 is based on their electric behavior that can be understood from their simplified electric circuit when in contact with tissue as generally illustrated in FIG. 6. In the illustrated arrangement, the potential drop or the electric field distribution between the different components is determined by their relative electric impedance, i. e., the fraction of the field on each component is given by the value of its impedance divided by the total circuit impedance. For example, the potential drop on element A VA=A/(A+B+C+D+E). Thus, for DC or low frequency AC, practically all the potential drop is on the capacitor (that acts as an insulator). For relatively very high frequencies, the capacitor practically is a short and therefore, practically all the field is distributed in the tissues. At the frequencies of the present TC fields (e. g., 50 KHz to 500 KHz), which are intermediate frequencies, the impedance of the capacitance of the capacitors is dominant and determines the field distribution. Therefore, in order to increase the effective voltage drop across the tissues (field intensity), the impedance of the capacitors is to be decreased (i. e., increase their capacitance). This can be achieved by increasing the effective area of the "plates" of the capacitor, decrease the thickness of the dielectric or use a dielectric with high dielectric constant.

[0087] In order to optimize the field distribution, the isolects 230 are configured differently depending upon the application in which the isolects 230 are to be used. There are two principle modes for applying the present electric fields (TC fields). First, the TC fields can be applied by external isolects and second, the TC fields can be applied by internal isolects.

 [0088] Electric fields (TC fields) that are applied by external isolects can be of a local type or widely distributed type. The first type includes, for example, the treatment of skin tumors and treatment of lesions close to the skin surface. FIG. 7 illustrates an exemplary embodiment where the isolects 230 are incorporated in a skin patch 300. The skin patch 300 can be a self-adhesive flexible patch with one or more pairs of isolects 230. The patch 300 includes internal insulation 310 (formed of a dielectric material) and the external insulation 260 and is applied to skin surface 301 that contains a tumor 303 either on the skin surface 301 or slightly below the skin surface 301. Tissue is generally indicated at 305. To prevent the potential drop across the internal insulation 310 to dominate the system, the internal insulation 310 must have a relatively high capacity. This can be achieved by a large surface area; however, this may not be desired as it will result in the spread of the field over a large area (e. g., an area larger than required to treat the tumor). Alternatively, the internal insulation 310 can be made very thin and/or the internal insulation 310 can be of a high dielectric constant. As the skin resistance between the electrodes (labeled as A and E in FIG. 6) is normally significantly higher than that of the tissue (labeled as C in FIG. 6) underneath it (1-10 K# vs. 0.1-1 K#), most of the potential drop beyond the isolects occurs there. To accommodate for these impedances (Z), the characteristics of the internal insulation 310 (labeled as B and D in FIG. 6) should be such that they have impedance preferably under 100 K# at the frequencies of the present TC fields (e. g., 50 KHz to 500 KHz). For example, if it is desired for the impedance to be about 10 K Ohms or less, such that over 1% of the applied voltage falls on the tissues, for isolects with a surface area of 10 mm, at frequencies of 200 KHz, the capacity should be on the order of 10-10 F. , which means that using standard insulations with a dielectric constant of 2-3, the thickness of the insulating layer 310 should be about 50-100 microns. An internal field 10 times stronger would be obtained with insulators with a dielectric constant of about 20-50.

 [0089] Using an insulating material with a high dielectric constant increases the capacitance of the electrodes, which results in a reduction of the electrodes' impedance to the AC signal that is applied by the generator 1 (shown in FIG. 5). Because the electrodes A, E are wired in series with the target tissue C, as shown in FIG. 6, this reduction in impedance reduces the voltage drop in the electrodes, so that a larger portion of the applied AC voltage appears across the tissue C. Since a larger portion of the voltage appears across the tissue, the voltage that is being applied by the generator 1 can be advantageously lowered for a given field strength in the tissue.

 [0090] The desired field strength in the tissue being treated is preferably between about 0.1 V/cm and about 10 V/cm, and more preferably between about 2 V/cm and 3 V/cm or between about 1 V/cm and about 5 V/cm. If the dielectric constant used in the electrode is sufficiently high, the impedance of the electrodes A, E drops down to the same order of magnitude as the series combination of the skin and tissue B, C, D. One example of a suitable material with an extremely high dielectric constant is CaCu3Ti4O12, which has a dielectric constant of about 11,000 (measured at 100 kHz). When the dielectric constant is this high, useful fields can be obtained using a generator voltage that is on the order of a few tens of Volts.

 [0091] Since the thin insulating layer can be very vulnerable, etc. , the insulation can be replaced by very high dielectric constant insulating materials, such as titanium dioxide (e. g., rutile), the dielectric constant can reach values of about 200. There a number of different materials that are suitable for use in the intended application and have high dielectric constants. For example, some materials include: lithium niobate (LiNb03), which is a ferroelectric crystal and has a number of applications in optical, pyroelectric and piezoelectric devices; yttrium iron garnet (YIG) is a ferromagnetic crystal and magneto- optical devices, e. g., optical isolator can be realized from this material; barium titanate (BaTi03) is a ferromagnetic crystal with a large electro-optic effect; potassium tantalate (KTa03) which is a dielectric crystal (ferroelectric at low temperature) and has very low microwave loss and tunability of dielectric constant at low temperature; and lithium tantalate (LiTa03) which is a ferroelectric crystal with similar properties as lithium niobate and has utility in electro-optical, pyroelectric and piezoelectric devices. Insulator ceramics with high dielectric constants may also be used, such as a ceramic made of a combination of Lead Magnesium Niobate and Lead Titanate. It will be understood that the aforementioned exemplary materials can be used in combination with the present device where it is desired to use a material having a high dielectric constant.

 [0092] One must also consider another factor that affects the effective capacity of the isolects 230, namely the presence of air between the isolects 230 and the skin. Such presence, which is not easy to prevent, introduces a layer of an insulator with a dielectric constant of 1.0, a factor that significantly lowers the effective capacity of the isolects 230 and neutralizes the advantages of the titanium dioxide (rutile), etc. To overcome this problem, the isolects 230 can be shaped so as to conform with the body structure and/or (2) an intervening filler 270 (as illustrated in FIG. 10C), such as a gel, that has high conductance and a high effective dielectric constant, can be added to the structure. The shaping can be pre-structured (see FIG. 10A) or the system can be made sufficiently flexible so that shaping of the isolects 230 is readily achievable. The gel can be contained in place by having an elevated rim as depicted in FIGS. 10C and 10C'. The gel can be made of hydrogels, gelatins, agar, etc. , and can have salts dissolved in it to increase its conductivity. FIGS. 10A-10C' illustrate various exemplary configurations for the isolects 230. The exact thickness of the gel is not important so long as it is of sufficient thickness that the gel layer does not dry out during the treatment. In one exemplary embodiment, the thickness of the gel is about 0.5 mm to about 2 mm. Preferably, the gel has high conductivity, is tacky, and is biocompatible for extended periods of time. One suitable gel is AG603 Hydrogel, which is available from AmGel Technologies, 1667 S. Mission Road, Fallbrook, CA 92028-4115, USA.

 [0093] In order to achieve the desirable features of the isolects 230, the dielectric coating of each should be very thin, for example from between 1-50 microns. Since the coating is so thin, the isolects 230 can easily be damaged mechanically or undergo dielectric breakdown. This problem can be overcome by adding a protective feature to the isolect's structure so as to provide desired protection from such damage. For example, the isolect 230 can be coated, for example, with a relatively loose net 340 that prevents access to the surface but has only a minor effect on the effective surface area of the isolect 230 (i. e., the capacity of the isolects 230 (cross section presented in FIG. 12B). The loose net 340 does not effect the capacity and ensures good contact with the skin, etc. The loose net 340 can be formed of a number of different materials; however, in one exemplary embodiment, the net 340 is formed of nylon, polyester, cotton, etc. Alternatively, a very thin conductive coating 350 can be applied to the dielectric portion (insulating layer) of the isolect 230. One exemplary conductive coating is formed of a metal and more particularly of gold. The thickness of the coating 350 depends upon the particular application and also on the type of material used to form the coating 350; however, when gold is used, the coating has a thickness from about 0.1 micron to about 0.1 mm. Furthermore, the rim illustrated in FIG. 10 can also provide some mechanical protection.

[0094] However, the capacity is not the only factor to be considered. The following two factors also influence how the isolects 230 are constructed. The dielectric strength of the internal insulating layer 310 and the dielectric losses that occur when it is subjected to the TC field, i. e., the amount of heat generated. The dielectric strength of the internal insulation 310 determines at what field intensity the insulation will be "shorted" and cease to act as an intact insulation. Typically, insulators, such as plastics, have dielectric strength values of about 100V per micron or more. As a high dielectric constant reduces the field within the internal insulator 310, a combination of a high dielectric constant and a high dielectric strength gives a significant advantage. This can be achieved by using a single material that has the desired properties or it can be achieved by a double layer with the correct parameters and thickness. In addition, to further decreasing the possibility that the insulating layer 310 will fail, all sharp edges of the insulating layer 310 should be eliminated as by rounding the comers, etc., as illustrated in FIG. 10D using conventional techniques.

 [0095] FIGS. 8 and 9 illustrate a second type of treatment using the isolects 230, namely electric field generation by internal isolects 230. A body to which the isolects 230 are implanted is generally indicated at 311 and includes a skin surface 313 and a tumor 315. In this embodiment, the isolects 230 can have the shape of plates, wires or other shapes that can be inserted subcutaneously or a deeper location within the body 311 so as to generate an appropriate field at the target area (tumor 315).

 [0096] It will also be appreciated that the mode of isolects application is not restricted to the above descriptions. In the case of tumors in internal organs, for example, liver, lung, etc. , the distance between each member of the pair of isolects 230 can be large. The pairs can even by positioned opposite sides of a torso 410, as illustrated in FIG. 11. The arrangement of the isolects 230 in FIG. 11 is particularly useful for treating a tumor 415 associated with lung cancer or gastro-intestinal tumors. In this embodiment, the electric fields (TC fields) spread in a wide fraction of the body.

 [0097] In order to avoid overheating of the treated tissues, a selection of materials and field parameters is needed. The isolects insulating material should have minimal dielectric losses at the frequency ranges to be used during the treatment process. This factor can be taken into consideration when choosing the particular frequencies for the treatment. The direct heating of the tissues will most likely be dominated by the heating due to current flow (given by the I*R product). In addition, the isolect (insulated electrode) 230 and its surroundings should be made of materials that facilitate heat losses and its general structure should also facilitate head losses, i. e., minimal structures that block heat dissipation to the surroundings (air) as well as high heat conductivity. Using larger electrodes also minimizes the local sensation of heating, since it spreads the energy that is being transferred into the patient over a larger surface area. Preferably, the heating is minimized to the point where the patient's skin temperature never exceeds about 39 C. [0098] Another way to reduce heating is to apply the field to the tissue being treated intermittently, by applying a field with a duty cycle between about 20% and about 50% instead of using a continuous field. For example, to achieve a duty cycle of 33%, the field would be repetitively switched on for one second, then switched off for two seconds. Preliminary experiments have shown that the efficacy of treatment using a field with a 33% duty cycle is roughly the same as for a field with a duty cycle of 100%. In alternative embodiments, the field could be switched on for one hour then switched off for one hour to achieve a duty cycle of 50%. Of course, switching at a rate of once per hour would not help minimize short-term heating. On the other hand, it could provide the patient with a welcome break from treatment.

 [0099] The effectiveness of the treatment can be enhanced by an arrangement of isolects 230 that focuses the field at the desired target while leaving other sensitive areas in low field density (i. e., protected areas). The proper placement of the isolects 230 over the body can be maintained using any number of different techniques, including using a suitable piece of clothing that keeps the isolects at the appropriate positions. FIG. 13 illustrates such an arrangement in which an area labeled as "P" represents a protected area. The lines of field force do not penetrate this protected area and the field there is much smaller than near the isolects 230 where target areas can be located and treated well. In contrast, the field intensity near the four poles is very high.

 [00100] The following Example serves to illustrate an exemplary application of the present apparatus and application of TC fields; however, this Example is not limiting and does not limit the scope of the present invention in any way. EXAMPLE [00101] To demonstrate the effectiveness of electric fields having the above described properties (e. g., frequencies between 50 KHz and 500 KHz) in destroying tumor cells, the electric fields were applied to treat mice with malignant melanoma tumors. Two pairs of isolects 230 were positioned over a corresponding pair of malignant melanomas. Only one pair was connected to the generator 210 and 200 KHz alternating electric fields (TC fields) were applied to the tumor for a period of 6 days. One melanoma tumor was not treated so as to permit a comparison between the treated tumor and the non-treated tumor. After treatment for 6 days, the pigmented melanoma tumor remained clearly visible in the non-treated side of the mouse, while, in contrast, no tumor is seen on the treated side of the mouse. The only areas that were visible discemable on the skin were the marks that represented the points of insertion of the isolects 230. The fact that the tumor was eliminated at the treated side was further demonstrated by cutting and inversing the skin so that its inside face was exposed. Such a procedure indicated that the tumor has been substantially, if not completely, eliminated on the treated side of the mouse. The success of the treatment was also further verified by histopathological examination.

 [00102] The present inventor has thus uncovered that electric fields having particular properties can be used to destroy dividing cells or tumors when the electric fields are applied to using an electronic device. More specifically, these electric fields fall into a special intermediate category, namely bio-effective fields that have no meaningful stimulatory and no thermal effects, and therefore overcome the disadvantages that were associated with the application of conventional electric fields to a body. It will also be appreciated that the present apparatus can further include a device for rotating the TC field relative to the living tissue. For example and according to one embodiment, the alternating electric potential applies to the tissue being treated is rotated relative to the tissue using conventional devices, such as a mechanical device that upon activation, rotates various components of the present system.

[00103] Moreover and according to yet another embodiment, the TC fields are applied to different pairs of the insulated electrodes 230 in a consecutive manner. In other words, the generator 210 and the control system thereof can be arranged so that signals are sent at periodic intervals to select pairs of insulated electrodes 230, thereby causing the generation of the TC fields of different directions by these insulated electrodes 230. Because the signals are sent at select times from the generator to the insulated electrodes 230, the TC fields of changing directions are generated consecutively by different insulated electrodes 230. This arrangement has a number of advantages and is provided in view of the fact that the TC fields have maximal effect when they are parallel to the axis of cell division. Since the orientation of cell division is in most cases random, only a fraction of the dividing cells are affected by any given field. Thus, using fields of two or more orientations increases the effectiveness since it increases the chances that more dividing cells are affected by a given TC field.

 [00104] In vitro experiments have shown that the electric field has the maximum killing effect when the lines of force of the field are oriented generally parallel to the long axis of the hourglass-shaped cell during mitosis (as shown in FIGS. 3A-3C). In one experiment, a much higher proportion of the damaged cells had their axis of division oriented along the field: 56% of the cells oriented at or near 0 with respect to the field were damaged, versus an average of 15% of cells damaged for cells with their long axis oriented at more than 22 with respect to the field.

 [00105] The inventor has recognized that applying the field in different directions sequentially will increase the overall killing power, because the field orientation that is most effectively in killing dividing cells will be applied to a larger population of the dividing cells. A number of examples for applying the field in different directions are discussed below.

 [00106] FIGS. 27A, 27B, and 27C show a set of 6 electrodes E1-E6, and how the direction of the field through the target tissue 1510 can be changed by applying the AC signal from the generator 1 (shown in FIG. 1) across different pairs of electrodes. For example, if the AC signal is applied across electrodes El and E4, the field lines F would be vertical (as shown in FIG. 27A), and if the signal is applied across electrodes E2 and E5, or across electrodes E3 and E6, the field lines F would be diagonal (as shown in FIGS. 27B and 27C, respectively). Additional field directions can be obtained by applying the AC signal across other pairs of electrodes. For example, a roughly horizontal field could be obtained by applying the signal across electrodes E2 and E6.

 [00107] In one embodiment, the AC signal is applied between the various pairs of electrodes sequentially. An example of this arrangement is to apply the AC signal across electrodes E1 and E4 for one second, then apply the AC signal across electrodes E2 and E5 for one second, and then apply the AC signal across electrodes E3 and E6 for one second. This three-part sequence is then repeated for the desired period of treatment. Because the efficacy in cell-destruction is strongly dependant on the cell's orientation, cycling the field between the different directions increases the chance that the field will be oriented in a direction that favors cell destruction at least part of the time.

[00108] Of course, the 6 electrode configuration shown in FIGS. 27A-C is just one of many possible arrangement of multiple electrodes, and many other configurations of three or more electrodes could be used based on the same principles.

 [00109] Application of the field in different directions sequentially is not limited to two dimensional embodiments, and FIG. 28 shows how the sequential application of signals across different sets of electrodes can be extended to three dimensions. A first array of electrodes Al-A9 is arranged around body part 1500, and a last array of electrodes N1-N9 is arranged around the body part 1500 a distance W away from the first array. Additional arrays of electrodes may optionally be added between the first array and the last array, but these additional arrays are not illustrated for clarity (so as not to obscure the electrodes A5- A9 and B5-B8 on the back of the body part 1500).

 [00110] As in the FIG. 27 embodiment, the direction of the field through the target tissue can be changed by applying the AC signal from the generator 1 (shown in FIG. 1) across different pairs of electrodes. For example, applying the AC signal between electrodes A2 and A7 would result in a field in a front-to-back direction between those two electrodes, and applying the AC signal between electrodes A5 and A9 would result in a roughly vertical field between those two electrodes. Similarly, applying the AC signal across electrodes A2 and N7 would generate diagonal field lines in one direction through the body part 1500, and applying the AC signal across electrodes A2 and B7 would generate diagonal field lines in another direction through the body part.

 [00111] Using a three-dimensional array of electrodes also makes it possible to energize multiple pairs of electrodes simultaneously to induce fields in the desired directions. For example, if suitable switching is provided so that electrodes A2 through N2 are all connected to one terminal of the generator, and so that electrodes A7 through N7 are all connected to the other terminal of the generator, the resulting field would be a sheet that extends in a front-to-back direction for the entire width W. After the front-to-back field is maintained for a suitable duration (e. g., one second), the switching system (not shown) is reconfigured to connect electrodes A3 through N3 to one terminal of the generator, and electrodes A8 through N8 to the other terminal of the generator. This results in a sheet- shaped field that is rotated about the Z axis by about 40 with respect to the initial field direction. After the field is maintained in this direction for a suitable duration (e. g., one second), the next set of electrodes is activated to rotate the field an additional 40 to its next position. This continues until the field returns to its initial position, at which point the whole process is repeated.

 [00112] Optionally, the rotating sheet-shaped field may be added (sequentially in time) to the diagonal fields described above, to better target cells that are oriented along those diagonal axes.

 [00113] Because the electric field is a vector, the signals may optionally be applied to combinations of electrodes simultaneously in order to form a desired resultant vector. For example, a field that is rotated about the X axis by 20 with respect to the initial position can be obtained by switching electrodes A2 through N2 and A3 through N3 all to one terminal of the generator, and switching electrodes A7 through N7 and A8 through N8 all to the other terminal of the generator. Applying the signals to other combinations of electrodes will result in fields in other directions, as will be appreciated by persons skilled in the relevant arts. If appropriate computer control of the voltages is implemented, the field's direction can even be swept through space in a continuous (i. e., smooth) manner, as opposed to the stepwise manner described above.

 [00114] FIGS. 29A and 29B depict the results of in vitro experiments that show how the killing power of the applied field against dividing cells is a function of the field strength. In the FIG. 29A experiment, B16F1 melanoma cells were subjected to a 100 kHz AC field at different field strengths, for a period of 24 hours at each strength. In the FIG. 29B experiment, F-98 glioma cells were subjected to a 200 kHz AC field at different field strengths, for a period of 24 hours at each strength. In both of these figures, the strength of the field (EF) is measured in Volts per cm. The magnitude of the killing effect is expressed in terms of TER, which is which is the ratio of the decrease in the growth rate of treated cells (GRT) compared with the growth rate of control cells (GRc). EMI29.1 The experimental results show that the inhibitory effect of the applied field on proliferation increases with intensity in both the melanoma and the glioma cells. Complete proliferation arrest (TER = 1) is seen at 1.35 and 2.25 V/cm in melanoma and glioma cells, respectively.

 [00115] FIGS. 30A and 30B depict the results of in vitro experiments that show how the killing power of the applied field is a function of the frequency of the field. In the experiments, B16F1 melanoma cells (FIG. 30A) and F-98 glioma cells (FIG. 30B) were subjected to fields with different frequencies, for a period of 24 hours at each frequency. FIGS. 30A and 30B show the change in the growth rate, normalized to the field intensity (TER/EF). Data are shown as mean + SE. In FIG. 30A, a window effect is seen with maximal inhibition at 120 kHz in melanoma cells. In FIG. 30B, two peaks are seen at 170 and 250 kHz. Thus, if only one frequency is available during an entire course of treatment, a field with a frequency of about 120 kHz would be appropriate for destroying melanoma cells, and a field with a frequency on the order of 200 kHz would be appropriate for destroying glioma cells.

 [00116] Not all the cells of any given type will have the exact same size. Instead, the cells will have a distribution of sizes, with some cells being smaller and some cells being larger. It is believed that the best frequency for damaging a particular cell is related to the physical characteristics (e. g., the size) of that particular cell. Thus, to best damage a population of cells with a distribution of sizes, it can be advantageous to apply a distribution of different frequencies to the population, where the selection of frequencies is optimized based on the expected size distribution of the target cells. For example, the data on FIG. 30B indicates that using two frequencies of 170 kHz and 250 kHz to destroy a population of glioma cells would be more effective than using a single frequency of 200 kHz.

 [00117] Note that the optimal field strengths and frequencies discussed herein were obtained based on in vitro experiments, and that the corresponding parameters for in vivo applications may be obtained by performing similar experiments in vivo. It is possible that relevant characteristics of the cell itself (such as size and/or shape) or interactions with the cell's surroundings may result in a different set of optimal frequencies and/or field strengths for in vivo applications.

 [00118] When more than one frequency is used, the various frequencies may be applied sequentially in time. For example, in the case of glioma, field frequencies of 100, 150,170, 200,250, and 300 kHz may be applied during the first, second, third, fourth, fifth, and sixth minutes of treatment, respectively. That cycle of frequencies would then repeat during each successive six minutes of treatment. Alternatively, the frequency of the field may be swept in a stepless manner from 100 to 300 kHz.

 [00119] Optionally, this frequency cycling may be combined with the directional cycling described above. FIG. 31A is an example of such a combination using three directions (D1, D2, and D3) and three frequencies (F1, F2, and F3). Of course, the same scheme can be extended to any other number of directions and/or frequencies. FIG. 31B is an example of such a combination using three directions (D1, D2, and D3), sweeping the frequency from 100 kHz to 300 kHz. Note that the break in the time axis between tl and t2 provides the needed time for the sweeping frequency to rise to just under 300 kHz. The frequency sweeping (or stepping) may be synchronized with directional changes, as shown in FIG. 31A. Alternatively, the frequency sweeping (or stepping) may be asynchronous with respect to the directional changes, as shown in FIG. 31B.

[00120] In an alternative embodiment, a signal that contains two or more frequencies components simultaneously (e. g., 170 kHz and 250 kHz) is applied to the electrodes to treat a populations of cells that have a distribution of sizes. The various signals will add by superposition to create a field that includes all of the applied frequency components.

 [00121] Turning now to FIG. 14 in which an article of clothing 500 according to one exemplary embodiment is illustrated. More specifically, the article of clothing 500 is in the form of a hat or cap or other type of clothing designed for placement on a head of a person. For purposes of illustration, a head 502 is shown with the hat 500 being placed thereon and against a skin surface 504 of the head 502. An intra-cranial tumor or the like 510 is shown as being formed within the head 502 underneath the skin surface 504 thereof. The hat 500 is therefore intended for placement on the head 502 of a person who has a tumor 510 or the like.

 [00122] Unlike the various embodiments illustrated in FIGS. 1-13 where the insulated electrodes 230 are arranged in a more or less planar arrangement since they are placed either on a skin surface or embedded within the body underneath it, the insulated electrodes 230 in this embodiment are specifically contoured and arranged for a specific application. The treatment of intra-cranial tumors or other lesions or the like typically requires a treatment that is of a relatively long duration, e. g., days to weeks, and therefore, it is desirable to provide as much comfort as possible to the patient. The hat 500 is specifically designed to provide comfort during the lengthy treatment process while not jeopardizing the effectiveness of the treatment.

[00123] According to one exemplary embodiment, the hat 500 includes a predetermined number of insulated electrodes 230 that are preferably positioned so as to produce the optimal TC fields at the location of the tumor 510. The lines of force of the TC field are generally indicated at 520. As can be seen in FIG. 14, the tumor 510 is positioned within these lines of force 520. As will be described in greater detail hereinafter, the insulated electrodes 230 are positioned within the hat 500 such that a portion or surface thereof is free to contact the skin surface 504 of the head 502. In other words, when the patient wears the hat 500, the insulated electrodes 230 are placed in contact with the skin surface 504 of the head 502 in positions that are selected so that the TC fields generated thereby are focused at the tumor 510 while leaving surrounding areas in low density. Typically, hair on the head 502 is shaved in selected areas to permit better contact between the insulated electrodes 230 and the skin surface 504; however, this is not critical.

 [00124] The hat 500 preferably includes a mechanism 530 that applies a force to the insulated electrodes 230 so that they are pressed against the skin surface 502. For example, the mechanism 530 can be of a biasing type that applies a biasing force to the insulated electrodes 230 to cause the insulated electrodes 230 to be directed outwardly away from the hat 500. Thus, when the patient places the hat 500 on his/her head 502, the insulated electrodes 230 are pressed against the skin surface 504 by the mechanism 530. The mechanism 530 can slightly recoil to provide a comfortable fit between the insulated electrodes 230 and the head 502. In one exemplary embodiment, the mechanism 530 is a spring based device that is disposed within the hat 500 and has one section that is coupled to and applies a force against the insulated electrodes 230.

 [00125] As with the prior embodiments, the insulated electrodes 230 are coupled to the generator 210 by means of conductors 220. The generator 210 can be either disposed within the hat 500 itself so as to provide a compact, self-sufficient, independent system or the generator 210 can be disposed external to the hat 500 with the conductors 220 exiting the hat 500 through openings or the like and then running to the generator 210. When the generator 210 is disposed external to the hat 500, it will be appreciated that the generator 210 can be located in any number of different locations, some of which are in close proximity to the hat 500 itself, while others can be further away from the hat 500. For example, the generator 210 can be disposed within a carrying bag or the like (e. g., a bag that extends around the patient's waist) which is worn by the patient or it can be strapped to an extremity or around the torso of the patient. The generator 210 can also be disposed in a protective case that is secured to or carried by another article of clothing that is worn by the patient. For example, the protective case can be inserted into a pocket of a sweater, etc. FIG. 14 illustrates an embodiment where the generator 210 is incorporated directly into the hat 500.


 [00126] Turning now to FIGS. 15 and 16, in one exemplary embodiment, a number of insulated electrodes 230 along with the mechanism 530 are preferably formed as an independent unit, generally indicated at 540, that can be inserted into the hat 500 and electrically connected to the generator (not shown) via the conductors (not shown). By providing these members in the form of an independent unit, the patient can easily insert and/or remove the units 540 from the hat 500 when they may need cleaning, servicing and/or replacement.

 [00127] In this embodiment, the hat 500 is constructed to include select areas 550 that are formed in the hat 500 to receive and hold the units 540. For example and as illustrated in FIG. 15, each area 550 is in the form of an opening (pore) that is formed within the hat 500. The unit 540 has a body 542 and includes the mechanism 530 and one or more insulated electrodes 230. The mechanism 530 is arranged within the unit 540 so that a portion thereof (e. g., one end thereof) is in contact with a face of each insulated electrode 230 such that the mechanism 530 applies a biasing force against the face of the insulated electrode 230. Once the unit 540 is received within the opening 550, it can be securely retained therein using any number of conventional techniques, including the use of an adhesive material or by using mechanical means. For example, the hat 500 can include pivotable clip members that pivot between an open position in which the opening 550 is free and a closed position in which the pivotable clip members engage portions (e. g., peripheral edges) of the insulated electrodes to retain and hold the insulated electrodes 230 in place. To remove the insulated electrodes 230, the pivotable clip members are moved to the open position. In the embodiment illustrated in FIG. 16, the insulated electrodes 230 are retained within the openings 550 by an adhesive element 560 which in one embodiment is a two sided self-adhesive rim member that extends around the periphery of the insulated electrode 230. In other words, a protective cover of one side of the adhesive rim 560 is removed and it is applied around the periphery of the exposed face of the insulated electrode 230, thereby securely attaching the adhesive rim 560 to the hat 500 and then the other side of the adhesive rim 560 is removed for application to the skin surface 504 in desired locations for positioning and securing the insulated electrode 230 to the head 502 with the tumor being positioned relative thereto for optimization of the TC fields. Since one side of the adhesive rim 560 is in contact with and secured to the skin surface 540, this is why it is desirable for the head 502 to be shaved so that the adhesive rim 560 can be placed flushly against the skin surface 540.

 [00128] The adhesive rim 560 is designed to securely attach the unit 540 within the opening 550 in a manner that permits the unit 540 to be easily removed from the hat 500 when necessary and then replaced with another unit 540 or with the same unit 540. As previously mentioned, the unit 540 includes the biasing mechanism 530 for pressing the insulated electrode 230 against the skin surface 504 when the hat 500 is worn. The unit 540 can be constructed so that side opposite the insulated electrode 230 is a support surface formed of a rigid material, such as plastic, so that the biasing mechanism 530 (e. g., a spring) can be compressed therewith under the application of force and when the spring 530 is in a relaxed state, the spring 530 remains in contact with the support surface and the applies a biasing force at its other end against the insulated electrode 230. The biasing mechanism 530 (e. g., spring) preferably has a contour corresponding to the skin surface 504 so that the insulated electrode 230 has a force applied thereto to permit the insulated electrode 230 to have a contour complementary to the skin surface 504, thereby permitting the two to seat flushly against one another. While the mechanism 530 can be a spring, there are a number of other embodiments that can be used instead of a spring. For example, the mechanism 530 can be in the form of an elastic material, such as a foam rubber, a foam plastic, or a layer containing air bubbles, etc.

 [00129] The unit 540 has an electric connector 570 that can be hooked up to a corresponding electric connector, such as a conductor 220, that is disposed within the hat 500. The conductor 220 connects at one end to the unit 540 and at the other end is connected to the generator 210. The generator 210 can be incorporated directly into the hat 500 or the generator 210 can be positioned separately (remotely) on the patient or on a bedside support, etc.

[00130] As previously discussed, a coupling agent, such as a conductive gel, is preferably used to ensure that an effective conductive environment is provided between the insulated electrode 230 and the skin surface 504. Suitable gel materials have been disclosed hereinbefore in the discussion of earlier embodiments. The coupling agent is disposed on the insulated electrode 230 and preferably, a uniform layer of the agent is provided along the surface of the electrode 230. One of the reasons that the units 540 need replacement at periodic times is that the coupling agent needs to be replaced and/or replenished. In other words, after a predetermined time period or after a number of uses, the patient removes the units 540 so that the coupling agent can be applied again to the electrode 230.

 [00131] FIGS. 17 and 18 illustrate another article of clothing which has the insulated electrodes 230 incorporated as part thereof. More specifically, a bra or the like 700 is illustrated and includes a body that is formed of a traditional bra material, generally indicated at 705, to provide shape, support and comfort to the wearer. The bra 700 also includes a fabric support layer 710 on one side thereof. The support layer 710 is preferably formed of a suitable fabric material that is constructed to provide necessary and desired support to the bra 700.

 [00132] Similar to the other embodiments, the bra 700 includes one or more insulated electrodes 230 disposed within the bra material 705. The one or more insulated electrodes are disposed along an inner surface of the bra 700 opposite the support 710 and are intended to be placed proximate to a tumor or the like that is located within one breast or in the immediately surrounding area. As with the previous embodiment, the insulated electrodes 230 in this embodiment are specifically constructed and configured for application to a breast or the immediate area. Thus, the insulated electrodes 230 used in this application do not have a planar surface construction but rather have an arcuate shape that is complementary to the general curvature found in a typical breast. [00133] A lining 720 is disposed across the insulated electrodes 230 so as to assist in retaining the insulated electrodes in their desired locations along the inner surface for placement against the breast itself. The lining 720 can be formed of any number of thin materials that are comfortable to wear against one's skin and in one exemplary embodiment, the lining 720 is formed of a fabric material.

 [00134] The bra 700 also preferably includes a biasing mechanism 800 as in some of the earlier embodiments. The biasing mechanism 800 is disposed within the bra material 705 and extends from the support 710 to the insulated electrode 230 and applies a biasing force to the insulated electrode 230 so that the electrode 230 is pressed against the breast. This ensures that the insulated electrode 230 remains in contact with the skin surface as opposed to lifting away from the skin surface, thereby creating a gap that results in a less effective treatment since the gap diminishes the efficiency of the TC fields. The biasing mechanism 800 can be in the form of a spring arrangement or it can be an elastic material that applies the desired biasing force to the insulated electrodes 230 so as to press the insulated electrodes 230 into the breast. In the relaxed position, the biasing mechanism 800 applies a force against the insulated electrodes 230 and when the patient places the bra 700 on their body, the insulated electrodes 230 are placed against the breast which itself applies a force that counters the biasing force, thereby resulting in the insulated electrodes 230 being pressed against the patient's breast. In the exemplary embodiment that is illustrated, the biasing mechanism 800 is in the form of springs that are disposed within the bra material 705.

 [00135] A conductive gel 810 can be provided on the insulated electrode 230 between the electrode and the lining 720. The conductive gel layer 810 is formed of materials that have been previously described herein for performing the functions described above.

[00136] An electric connector 820 is provided as part of the insulated electrode 230 and electrically connects to the conductor 220 at one end thereof, with the other end of the conductor 220 being electrically connected to the generator 210. In this embodiment, the conductor 220 runs within the bra material 705 to a location where an opening is formed in the bra 700. The conductor 220 extends through this opening and is routed to the generator 210, which in this embodiment is disposed in a location remote from the bra 700. It will also be appreciated that the generator 210 can be disposed within the bra 700 itself in another embodiment. For example, the bra 700 can have a compartment formed therein which is configured to receive and hold the generator 210 in place as the patient wears the bra 700. In this arrangement, the compartment can be covered with a releasable strap that can open and close to permit the generator 210 to be inserted therein or removed therefrom. The strap can be formed of the same material that is used to construct the bra 700 or it can be formed of some other type of material. The strap can be releasably attached to the surrounding bra body by fastening means, such as a hook and loop material, thereby permitting the patient to easily open the compartment by separating the hook and loop elements to gain access to the compartment for either inserting or removing the generator 210.

 [00137] The generator 210 also has a connector 211 for electrical connection to the conductor 220 and this permits the generator 210 to be electrically connected to the insulated electrodes 230.

 [00138] As with the other embodiments, the insulated electrodes 230 are arranged in the bra 700 to focus the electric field (TC fields) on the desired target (e. g., a tumor). It will be appreciated that the location of the insulated electrodes 230 within the bra 700 will vary depending upon the location of the tumor. In other words, after the tumor has been located, the physician will then devise an arrangement of insulated electrodes 230 and the bra 700 is constructed in view of this arrangement so as to optimize the effects of the TC fields on the target area (tumor). The number and position of the insulated electrodes 230 will therefore depend upon the precise location of the tumor or other target area that is being treated. Because the location of the insulated electrodes 230 on the bra 700 can vary depending upon the precise application, the exact size and shape of the insulated electrodes 230 can likewise vary. For example, if the insulated electrodes 230 are placed on the bottom section of the bra 700 as opposed to a more central location, the insulated electrodes 230 will have different shapes since the shape of the breast (as well as the bra) differs in these areas.

 [00139] FIG. 19 illustrates yet another embodiment in which the insulated electrodes 230 are in the form of internal electrodes that are incorporated into in the form of a probe or catheter 600 that is configured to enter the body through a natural pathway, such as the urethra, vagina, etc. In this embodiment, the insulated electrodes 230 are disposed on an outer surface of the probe 600 and along a length thereof. The conductors 220 are electrically connected to the electrodes 230 and run within the body of the probe 600 to the generator 210 which can be disposed within the probe body or the generator 210 can be disposed independent of the probe 600 in a remote location, such as on the patient or at some other location close to the patient.

 [00140] Alternatively, the probe 600 can be configured to penetrate the skin surface or other tissues to reach an internal target that lies within the body. For example, the probe 600 can penetrate the skin surface and then be positioned adjacent to or proximate to a tumor that is located within the body.

 [00141] In these embodiments, the probe 600 is inserted through the natural pathway and then is positioned in a desired location so that the insulated electrodes 230 are disposed near the target area (i. e., the tumor). The generator 210 is then activated to cause the insulated electrodes 230 to generate the TC fields which are applied to the tumor for a predetermined length of time. It will be appreciated that the illustrated probe 600 is merely exemplary in nature and that the probe 600 can have other shapes and configurations so long as they can perform the intended function. Preferably, the conductors (e. g., wires) leading from the insulated electrodes 230 to the generator 210 are twisted or shielded so as not to generate a field along the shaft.

 [00142] It will further be appreciated that the probes can contain only one insulated electrode while the other can be positioned on the body surface. This external electrode should be larger or consist of numerous electrodes so as to result in low lines of force-current density so as not to affect the untreated areas. In fact, the placing of electrodes should be designed to minimize the field at potentially sensitive areas. Optionally, the external electrodes may be held against the skin surface by a vacuum force (e.g., suction).

 [00143] FIG. 20 illustrates yet another embodiment in which a high standing collar member 900 (or necklace type structure) can be used to treat thyroid, parathyroid, laryngeal lesions, etc. FIG. 20 illustrates the collar member 900 in an unwrapped, substantially flat condition. In this embodiment, the insulated electrodes 230 are incorporated into a body 910 of the collar member 900 and are configured for placement against a neck area of the wearer. The insulated electrodes 230 are coupled to the generator 210 according to any of the manner described hereinbefore and it will be appreciated that the generator 210 can be disposed within the body 910 or it can be disposed in a location external to the body 910. The collar body 910 can be formed of any number of materials that are traditionally used to form collars 900 that are disposed around a person's neck. As such, the collar 900 preferably includes a means 920 for adjusting the collar 900 relative to the neck. For example, complementary fasteners (hook and loop fasteners, buttons, etc. ) can be disposed on ends of the collar 900 to permit adjustment of the collar diameter.

 [00144] Thus, the construction of the present devices are particularly well suited for applications where the devices are incorporated into articles of clothing to permit the patient to easily wear a traditional article of clothing while at the same time the patient undergoes treatment. In other words, an extra level of comfort can be provided to the patient and the effectiveness of the treatment can be increased by incorporating some or all of the device components into the article of clothing. The precise article of clothing that the components are incorporated into will obviously vary depending upon the target area of the living tissue where tumor, lesion or the like exists. For example, if the target area is in the testicle area of a male patient, then an article of clothing in the form of a sock-like structure or wrap can be provided and is configured to be worn around the testicle area of the patient in such a manner that the insulated electrodes thereof are positioned relative to the tumor such that the TC fields are directed at the target tissue. The precise nature or form of the article of clothing can vary greatly since the device components can be incorporated into most types of articles of clothing and therefore, can be used to treat any number of different areas of the patient's body where a condition may be present.

 [00145] Now turning to FIGS. 21-22 in which another aspect of the present device is shown. In FIG. 21, a body 1000, such as any number of parts of a human or animal body, is illustrated. As in the previous embodiments, two or more insulated electrodes 230 are disposed in proximity to the body 1000 for treatment of a tumor or the like (not shown) using TC fields, as has been previously described in great detail in the above discussion of other embodiments. The insulated electrode 230 has a conductive component and has external insulation 260 that surrounds the conductive component thereof. Each insulated electrode 230 is preferably connected to a generator (not shown) by the lead 220. Between each insulated electrode 220 and the body 1000, a conductive filler material (e. g., conductive gel member 270) is disposed. The insulated electrodes 230 are spaced apart from one another and when the generator is actuated, the insulated electrodes 230 generate the TC fields that have been previously described in great detail. The lines of the electric field (TC field) are generally illustrated at 1010. As shown, the electric field lines 1010 extend between the insulated electrodes 230 and through the conductive gel member 270.

[00146] Over time or as a result of some type of event, the external insulation 260 of the insulated electrode 230 can begin to breakdown at any given location thereof. For purpose of illustration only, FIG. 22 illustrates that the external insulation 260 of one of the insulated electrodes 230 has experienced a breakdown 1020 at a face thereof which is adjacent the conductive gel member 270. It will be appreciated that the breakdown 1020 of the external insulation 260 results in the formation of a strong current flow-current density at this point (i. e., at the breakdown 1020). The increased current density is depicted by the increased number of electric field lines 1010 and the relative positioning and distance between adjacent electric field lines 1010. One of the side effects of the occurrence of breakdown 1020 is that current exists at this point which will generate heat and may burn the tissues/skin which have a resistance. In FIG. 22, an overheated area 1030 is illustrated and is a region or area of the tissues/skin where an increased current density exits due to the breakdown 1020 in the external insulation 260. A patient can experience discomfort and pain in this area 1030 due to the strong current that exists in the area and the increased heat and possible burning sensation that exist in area 1030.

 [00147] FIG. 23 illustrates yet another embodiment in which a further application of the insulated electrodes 230 is shown. In this embodiment, the conductive gel member 270 that is disposed between the insulated electrode 230 and the body 1000 includes a conductor 1100 that is floating in that the gel material forming the member 270 completely surrounds the conductor 1100. In one exemplary embodiment, the conductor 1100 is a thin metal sheet plate that is disposed within the conductor 1100. As will be appreciated,,if a conductor, such as the plate 1100, is placed in a homogeneous electric field, normal to the lines of the electric field, the conductor 1100 practically has no effect on the field (except that the two opposing faces of the conductor 1100 are equipotential and the corresponding equipotentials are slightly shifted). Conversely, if the conductor 1100 is disposed parallel to the electric field, there is a significant distortion of the electric field. The area in the immediate proximity of the conductor 1100 is not equipotential, in contrast to the situation where there is no conductor 1100 present. When the conductor 1100 is disposed within the gel member 270, the conductor 1100 will typically not effect the electric field (TC field) for the reasons discussed above, namely that the conductor 1100 is normal to the lines of the electric field.

 [00148] If there is a breakdown of the external insulation 260 of the insulated electrode 230, there is a strong current flow-current density at the point of breakdown as previously discussed; however, the presence of the conductor 1100 causes the current to spread throughout the conductor 1100 and then exit from the whole surface of the conductor 1100 so that the current reaches the body 1000 with a current density that is neither high nor low. Thus, the current that reaches the skin will not cause discomfort to the patient even when there has been a breakdown in the insulation 260 of the insulated electrode 230. It is important that the conductor 1100 is not grounded as this would cause it to abolish the electric field beyond it. Thus, the conductor 1100 is "floating" within the gel member 270.

 [00149] If the conductor 1100 is introduced into the body tissues 1000 and is not disposed parallel to the electric field, the conductor 1100 will cause distortion of the electric field. The distortion can cause spreading of the lines of force (low field density-intensity) or concentration of the lines of field (higher density) of the electric field, according to the particular geometries of the insert and its surroundings, and thus, the conductor 1100 can exhibit, for example, a screening effect. Thus, for example, if the conductor 1100 completely encircles an organ 1101, the electric field in the organ itself will be zero since this type of arrangement is a Faraday cage. However, because it is impractical for a conductor to be disposed completely around an organ, a conductive net or similar structure can be used to cover, completely or partially, the organ, thereby resulting in the electric field in the organ itself being zero or about zero. For example, a net can be made of a number of conductive wires that are arranged relative to one another to form the net or a set of wires can be arranged to substantially encircle or otherwise cover the organ 1101. Conversely, an organ 1103 to be treated (the target organ) is not covered with a member having a Faraday cage effect but rather is disposed in the electric field 1010 (TC fields).

[00150] FIG. 24 illustrates an embodiment where the conductor 1100 is disposed within the body (i. e., under the skin) and it is located near a target (e. g., a target organ). By placing the conductor 1100 near the target, high field density (of the TC fields) is realized at the target. At the same time, another nearby organ can be protected by disposing the above described protective conductive net or the like around this nearby organ so as to protect this organ from the fields. By positioning the conductor 1100 in close proximity to the target, a high field density condition can be provided near or at the target. In other words, the conductor 1100 permits the TC fields to be focused at a particular area (i. e., a target). [00151] It will also be appreciated that in the embodiment of FIG. 24, the gel members 260 can each include a conductor as described with reference to FIG. 23. In such an arrangement, the conductor in the gel member 260 protects the skin surface (tissues) from any side effects that may be realized if a breakdown in the insulation of the insulated electrode 230 occurs. At the same time, the conductor 1100 creates a high field density near the target.

 [00152] There are a number of different ways to tailor the field density of the electric field by constructing the electrodes differently and/or by strategically placing the electrodes relative to one another. For example, in FIG. 25, a first insulated electrode 1200 and a second insulated electrode 1210 are provided and are disposed about a body 1300. Each insulated electrode includes a conductor that is preferably surrounded by an insulating material, thus the term "insulated electrode". Between each of the first and second electrodes 1200, 1210 and the body 1300, the conductive gel member 270 is provided. Electric field lines are generally indicated at 1220 for this type of arrangement. In this embodiment, the first insulated electrode 1200 has dimensions that are significantly greater than the dimensions of the second insulated electrode 1210 (the conductive gel member for the second insulated electrode 1210 will likewise be smaller).

 [00153] By varying the dimensions of the insulated electrodes, the pattern of the electric field lines 1220 is varied. More specifically, the electric field tapers inwardly toward the second insulated electrode 1210 due to the smaller dimensions of the second insulated electrode 1210. An area of high field density, generally indicated at 1230, forms near the interface between the gel member 270 associated with the second insulated electrode 1210 and the skin surface. The various components of the system are manipulated so that the tumor within the skin or on the skin is within this high field density so that the area to be treated (the target) is exposed to electric field lines of a higher field density.

 [00154] FIG. 26 also illustrates a tapering TC field when a conductor 1400 (e.g., a conductive plate) is disposed in each of the conductive gel members 270. In this embodiment, the size of the gel members 270 and the size of the conductors 1400 are the same or about the same despite the differences in the sizes of the insulated electrodes 1200, 1210. The conductors 1400 again can be characterized as "floating plates" since each conductor 1400 is surrounded by the material that forms the gel member 270. As shown in FIG. 26, the placement of one conductor 1400 near the insulated electrode 1210 that is smaller than the other insulated electrode 1200 and is also smaller than the conductor 1400 itself and the other insulated electrode 1200 is disposed at a distance therefrom, the one conductor 1400 causes a decrease in the field density in the tissues disposed between the one conductor 1400 and the other insulated electrode 1200. The decrease in the field density is generally indicated at 1410. At the same time, a very inhomogeneous tapering field, generally indicated at 1420, changing from very low density to very high density is formed between the one conductor 1400 and the insulated electrode 1210. One benefit of this exemplary configuration is that it permits the size of the insulated electrode to be reduced without causing an increase in the nearby field density. This can be important since electrodes that having very high dielectric constant insulation can be very expensive. Some insulated electrodes, for example, can cost $500.00 or more; and further, the price is sensitive to the particular area of treatment. Thus, a reduction in the size of the insulated electrodes directly leads to a reduction in cost.

 [00155] As used herein, the term "tumor" refers to a malignant tissue comprising transformed cells that grow uncontrollably. Tumors include leukemias, lymphomas, myelomas, plasmacytomas, and the like; and solid tumors. Examples of solid tumors that can be treated according to the invention include sarcomas and carcinomas such as, but not limited to: fibrosarcoma, myxosarcoma, liposarcoma, chondrosarcoma, osteogenic sarcoma, chordoma, angiosarcoma, endotheliosarcoma, lymphangiosarcoma, lymphangioendotheliosarcoma, synovioma, mesothelioma, Ewing's tumor, leiomyosarcoma, rhabdomyosarcoma, colon carcinoma, pancreatic cancer, breast cancer, ovarian cancer, prostate cancer, squamous cell carcinoma, basal cell carcinoma, adenocarcinoma, sweat gland carcinoma, sebaceous gland carcinoma, papillary carcinoma, papillary adenocarcinomas, cystadenocarcinoma, medullary carcinoma, bronchogenic carcinoma, renal cell carcinoma, hepatoma, bile duct carcinoma, choriocarcinoma, seminoma, embryonal carcinoma, Wilms' tumor, cervical cancer, testicular tumor, lung carcinoma, small cell lung carcinoma, bladder carcinoma, epithelial carcinoma, glioma, astrocytoma, medulloblastoma, craniopharyngioma, ependymoma, pinealoma, hemangioblastoma, acoustic neuroma, oligodendroglioma, meningioma, melanoma, neuroblastoma, and retinoblastoma. Because each of these tumors undergoes rapid growth, any one can be treated in accordance with the invention. The invention is particularly advantageous for treating brain tumors, which are difficult to treat with surgery and radiation, and often inaccessible to chemotherapy or gene therapies. In addition, the present invention is suitable for use in treating skin and breast tumors because of the ease of localized treatment provided by the present invention.

 [00156] In addition, the present invention can control uncontrolled growth associated with non-malignant or pre-malignant conditions, and other disorders involving inappropriate cell or tissue growth by application of an electric field in accordance with the invention to the tissue undergoing inappropriate growth. For example, it is contemplated that the invention is useful for the treatment of arteriovenous (AV) malformations, particularly in intracranial sites. The invention may also be used to treat psoriasis, a dermatologic condition that is characterized by inflammation and vascular proliferation; and benign prostatic hypertrophy, a condition associated with inflammation and possibly vascular proliferation. Treatment of other hyperproliferative disorders is also contemplated.

 [00157] Furthermore, undesirable fibroblast and endothelial cell proliferation associated with wound healing, leading to scar and keloid formation after surgery or injury, and restenosis after angioplasty or placement of coronary stents can be inhibited by application of an electric field in accordance with the present invention. The non-invasive nature of this invention makes it particularly desirable for these types of conditions, particularly to prevent development of internal scars and adhesions, or to inhibit restenosis of coronary, carotid, and other important arteries.

 [00158] In addition to treating tumors that have already been detected, the above- described embodiments may also be used prophylactically to prevent tumors from ever reaching a detectable size in the first place. For example, the bra embodiment described above in connection with FIGS. 17 and 18 may be worn by a woman for an 8 hour session every day for a week, with the week-long course of treatment being repeated every few months to kill any cells that have become cancerous and started to proliferate. This mode of usage is particularly appropriate for people who are at high risk for a particular type of cancer (e. g., women with a strong history of breast cancer in their families, or people who have survived a bout of cancer and are at risk of a relapse). The course of prophylactic treatment may be tailored based on the type of cancer being targeted and/or to suit the convenience of the patient. For example, undergoing a four 16 hour sessions during the week of treatment may be more convenient for some patients than seven 8 hour session, and may be equally effective.

 [00159] Thus, the present invention provides an effective, simple method of selectively destroying dividing cells, e. g., tumor cells and parasitic organisms, while non-dividing cells or organisms are left affected by application of the method on living tissue containing both types of cells or organisms. Thus, unlike many of the conventional methods, the present invention does not damage the normal cells or organisms. In addition, the present invention does not discriminate based upon cell type (e. g., cells having differing sizes) and therefore may be used to treat any number of types of sizes having a wide spectrum of characteristics, including varying dimensions.

 [00160] While the invention has been particularly shown and described with reference to preferred embodiments thereof, it will be understood by those skilled in the art that various changes in form and details can be made without departing from the spirit and scope of the invention.



Foreign Patents

OPTIMIZING CHARACTERISTICS OF AN ELECTRIC FIELD TO INCREASE THE FIELD'S EFFECT ON PROLIFERATING CELLS
WO2007039799
2007-04-12

TREATING A TUMOR OR THE LIKE WITH ELECTRIC FIELDS AT DIFFERENT FREQUENCIES
CA2563817
2005-12-08

APPARATUS AND METHOD FOR PREVENTING THE SPREAD OF CANCEROUS METASTASES AND FOR ELIMINATION OF METASTASES
WO2006131816
2006-12-14

PARALLEL REACTOR
DE112004002246T
2006-10-05

TREATING A TUMOR OR THE LIKE WITH ELECTRIC FIELDS AT DIFFERENT ORIENTATIONS
WO2006085150
2006-08-17

ELECTRODES FOR APPLYING AN ELECTRIC FIELD IN-VIVO OVER AN EXTENDED PERIOD OF TIME
WO2006061688
2006-06-15

METHOD AND APPARATUS FOR DETECTING ARTERIAL STENOSIS
DE60207211T
2006-08-03

APPARATUS AND METHOD FOR OPTIMIZING TUMOR TREATMENT EFFICIENCY BY ELECTRIC FIELDS
WO2004084747
2004-10-07

APPARATUS FOR TREATING A TUMOR OR THE LIKE AND ARTICLES INCORPORATING THE APPARATUS FOR TREATMENT OF THE TUMOR
WO2004030760
2004-04-15