rexresearch.com

V. ROSCHIN & S. GODIN

Magneto-Gravitational Converter
(Searl Effect Generator)




V. Roschin & S. Godin: Experimental Research of Magnetic-Gravity Effects

V. Roschin & S. Godin: Technical Physics Letters 26 (12): 1105-1107 (2000) ~ "An Experimental Investigation..."


M. Pitkanen: About Strange Effects Related to Rotating Magnetic Systems


V. Roschin & S. Godin: Russian Patent # 2,155,435 ~ "Mechanical Energy Generating Device & Process"


V. Roschin & S. Godin: US Patent # 6,822,361 ~ "Orbiting Multi-Rotor Homopolar System"

P. Murad, et al. : Morningstar Energy Box Replication of Roschin-Godin-Searl Generator



Experimental Research of the Magnetic-Gravity Effects

by V. V. Roschin ( rochtchin@mail.ru ) & S. M. Godin ( serjio@glasnet.ru )
Institute for High Temperatures, Russian Academy of Science, Izhorskaya 13/19, Moscow 127412, Russia
[ This file is reproduced by courtesy of Alex Frolov: http://alexfrolov.narod.ru ]

Abstract ~

In the present paper the results of the experimental research of Magnetic-Gravity Effects are presented. The abnormal magnetic and thermal changes in the radius of 15  meters from the researched device were measured as well. PACS: 41.20.-q; 44.60.+k;  76.50.+q

Introduction ~

There has been a great interest in examining nonlinear effects in the system of rotating magnetic fields. Such effects have been observed in the device called Searl's generator or SEG (SEG, Searl Effect Generator) [1-4]. An SEG consists of a series of three rings and rollers that go around those rings. All parts of SEG are based on the Law of the Squares. The rollers revolve around the plates that form the rings, but they do not touch them. There's a primary north and south pole on the rollers and a primary  north and south pole on the plates. Obviously you will have the north pole of the roller attracted to the south pole of the plate. The plate and the rollers have layered structure. The external layer - Titan, then Iron, Nylon and last internal layer was made from Neodymium. John R.R. Searl has supposed that the electrons are given off from the central element (which is neodymium), and they travel out through other elements.  If nylon had not been put there, the SEG would act like a laser and one pulse would go out and it would stop, build up, and another pulse would go out. But, with the nylon being, nylon acts as a control gate, and that control gate gives you an even flow of  electrons throughout the SEG [4]. In [4] it was shown that in the process of  magnetization of the plate and rollers, the combination of constant and variable magnetic fields for creating a special wave (sine wave) pattern on a plate surface and rollers surface was used. The basic effects are the rollers selfrunning around a ring plate and reduction of weight up to occurrence of propulsion and flying up of all magnetic system. These effects come about because of a special geometry of experimental setup. It was shown that the work of the device in critical regime is accompanied by biological and real physical phenomena. Unfortunately except for the listed references we could not find other information where similar effects are be mentioned. In this paper we present the experimental device the results we have obtained.

The Description of the Experimental Installation ~

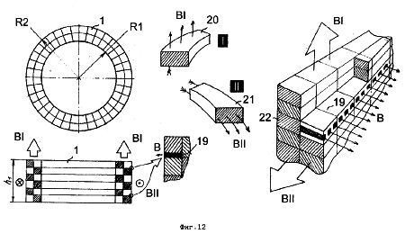
The basic difficulty is in a choosing the materials and maintaining the necessary pattern imprinting on the plate and rollers surfaces. To simplify the technology we decided to use a one-ring design with one-ring plate (stator) and one-ring of rollers (rotor). It is obvious, that it was necessary to strengthen the rollers on a rotor by the bearings and balance the rollers well. In the suggested design the air bearings were used which provided the minimum losses due to friction. From the available description [1-4] it was not clear how it is possible to make and magnetize the stator with a diameter of about one meter. In order to make the stator from separate magnetized segments executed on the basis of rare earth magnets with the residual induction 1T; the segments were magnetized in a usual way by discharging capacitor battery through the coil. Afterwards the segments were assembled and glued together in a special iron  armature, which reduced magnetic energy. To manufacture the stator 110 KGs of rare earth magnets were used, and to manufacture the rotor 115 KGs of that material was used. High-frequency field under magnetization was not applied. It was decided to replace an imprinting technology described in [1-4] with cross-magnetic inserts having a flux vector directed at 90 degrees to a vector of basic magnetization of a stator and rollers of a rotor. For these cross inserts the modified rare earth magnets with a residual magnetization of 1,2 T and coercive force a little bit greater than in a base material was used. In Figure 1 and Figure 2 the joint arrangement of stator 1, elements of a rotor - rollers 2 and a way of their mutual gearing by means of cross magnetic inserts 19, are shown. Between the stator and roller surfaces the air gap d of 1 mm is left.

No layered structure was used except a continuous copper foil of 0.8 mm thickness which wrapped up the stator and rollers. This foil has the direct electrical contact to magnets of a stator and rollers. Distance between inserts in the rollers is equal to distance between inserts on the stator.

Figure 1: Variant of One-Ring Converter ~

The ratio of parameters of the stator 1 and the rotor 2 in Figure 2 is chosen so that the relation of stator diameter  D and roller diameter d is an integer equal to or greater then 12. Choosing such a ratio allows us to achieve a magnetic spin wave resonant mode between elements of a working body of the device.

Figure 2: Organization of Magnetic Gearing Stator & Rollers ~

The elements of magnetic system were assembled in a uniform design on the aluminium platform. In Figure 3 the general view of the platform with one-ring converter is displayed. This platform was supplied with springs, amortizators and had a possibility of moving vertical on three supports. The value of displacement was measured by the induction meter of displacement 14; thus the change of the platform weight at once has been defined during the experiment in real time. Gross weight of the platform with magnetic system in the initial condition was 350 KGs.

Figure 3: General View of the Platform with One-Ring Converter ~

The stator 1 was mounted motionlessly, and the rollers 2 were assembled on a mobile common separator 3, connected with the basic shaft 4 of the device. Through this shaft the rotary moment was transferred. The basic shaft by the means of friction muff 5 was connected to the electrodynamics generator 7 and starting engine 6, which accelerated the converter up to a mode of self-sustained rotation. Along a rotor the electromagnetic inductors 8 with open cores 9 were located. The magnetic rollers 2 crossed the open cores of inductors and closed the magnetic flux through electromagnetic inductors 8, and induced emf in them, which acted directly on an active load 10 (a set of incandescent lamps with total power 1 kW). The electromagnetic inductors 8 were equipped with an electrical drive 11 and had an opportunity to smoothly move on supports 12. To study the influence of the external high voltage on the characteristics of the converter the system of radial electrical polarization was  mounted. On periphery of the rotor ring electrodes 13 were set between the electromagnetic inductors 8 having with the rollers 2 air gap of 10 mm. The electrodes are connected to a high-voltage source; the positive potential was connected to the stator, and the negative to the polarization electrodes. The voltage was adjusted in a range of 0-20 kV. In experiments the constant value of 20 kV was used. In case of emergency braking, friction disk from the ordinary car braking system was mounted on a basic shaft of the rotor. The electrodynamics generator 7 was connected to active load through a set of switches ensuring step connection of the load from 1 kW to 10 kW. The converter under going testing had in its inner structure the oil friction generator of thermal energy 15, intended for taping a superfluous power (more than 10 kW) into the thermo-exchange contour. But since the real output power of the converter in experiment has not exceeded 7 kW, the oil friction thermal generator was not used. The complete stabilization of revolutions of the rotor was carried out by electromagnetic inductors connected to an additional load, which was set of incandescent lamps with total power 1 kW.

Experimental Results ~

The magnetic-gravity converter was built in a laboratory  room on three concrete supports at a ground level. The ceiling height the lab room was  3 meters. Besides the presence of the iron-concrete ceiling, in immediate proximity from the magnetic system there was a generator and electric motor, which contained some tens KGs of iron and could potentially deform the field's pattern. The device was started by the electric motor, which accelerated the rotation of the rotor. The revolutions were smoothly increased up to the moment the ammeter included in a circuit of the electric motor started to show zero or lower value of a consumed current or even a presence of the back current. The presence of the back current is detected at approx. 550 rpm. The magnetic moving sensor 14 starts to detect the change in weight of the whole installation at 200 rpm. Afterwards the electric motor is completely disconnected by the electromagnetic muff and the ordinary electrodynamics generator is connected to the basic shaft of the device through the same muff. The rotor of the converter continues to self-accelerate and with the approach to the critical mode of 550 rpm, the weight of the device quickly changes. In addition to the change speed of rotation the weight depend of the power, removed into active load, (the set of ten ordinary electrical water heaters of 1 kW was used) and of the applied polarizing voltage, as well. At the maximum output power equal to 6-7 kW the change of weight G of the whole platform (total weight is about 350 KGs), reaches 35 % of the weight in an initial condition G?. A load of more than 7 kW results in a gradual decrease of revolutions and exit from the mode of self-generation with the subsequent complete stop of the rotor. The weight of a platform can be controlled by applying of a high voltage to cellular ring electrodes located at a distance of 10 mm from external surfaces of the rollers. Under the high 20 kV voltage (electrodes negative pole) the increase of taped power in circuit of the basic generator more than 6 kW does not influence G while the revolutions per min is not decreased to 400 rpm. "Tightening" of this effect is observed as well as the effect of hysteresis on G (a kind of "residual induction"). The experimental diagrams given on Fig.4 illustrate the modes of the converter operations.

Figure 4: Modes of Operation of the Magnet-Gravity Converter ~

The effect of a local change of the platform weight is convertible relative to the direction of rotor turning, and has the same hysteresis. At clockwise rotation the critical mode comes in the area of 550 rpm and the propulsion force against the direction of gravitation vector is created, by analogy, at counter-clockwise rotation the critical mode comes the in area of 600 rpm and the propulsion on the direction of gravitation vector is created. The difference in approach to a critical mode of 50-60 rpm was observed. It is necessary to mention that the most interesting region lies above the critical area of 550 rpm, but due to of a number of circumstances the implementation of such research was not possible. Other interesting effects include the work of the converter in the dark room when corona discharges are observed around the converter's rotor as a blue-pink glowing luminescence and a characteristic ozone  smell. The cloud of ionization covers the area of a stator and a rotor and has accordingly toroidal form. On the background of luminescence glowing on rollers' surfaces we distinguished wave picture. A number of more vigorous strips of discharges around the rollers were observed. These discharges were of the white - yellow colour is, but the characteristic for the arc discharges sound was not audible.  One more effect previously not mentioned was observed i.e. the vertical magnetic  "walls" around the installation. We noticed and measured the abnormal permanent magnetic field around the converter in the radius of 15 meters. The zones of an  increased intensity of a magnetic flux 0,05T located concentrically from the centre of the installation were detected. The direction of  magnetic field vector in these walls coincided with the direction of rollers' field vector. The structure of these zones reminded circles on water from the thrown stone. Between these zones a portable magnetometer, which used the Hall's sensor as a sensitive element, did not register abnormal magnetic fields. The layers of an increased intensity are distributed practically without losses up to a distance of about 15 meters from the centre of the converter and quickly decrease at the border of this zone. The thickness of each layer is about 5 - 8 cm. The border of each layer has sharp shape, the distance between layers is about 50 - 60 cm and it slightly accrues when moving from the centre of the converter. The steady picture of this field was observed as well at a height of 6 m above the installation (on the second floor above the lab.). Above the second floor the measurements were not carried out. The abnormal fall of the temperature in direct affinity from the converter was also found. While the common temperature background in laboratory was + 22? (2?) the fall of temperature equal to 6-8? was noticed. The same phenomenon was observed in vertical magnetic walls as well as. The measurements of temperature inside the magnetic walls were carried out by the ordinary alcohol thermometer with inertia of indication about 1,5 min. In the magnetic walls the temperature changes can be distinctly observed even by hand. The hand when placed into this magnetic wall feels real cold at once. The similar picture was observed at the height above installation, i.e. on the second floor of the laboratory as well as despite the ferro-concrete blocking of ceiling.

Discussion ~

All the results we obtained are extremely unusual and require some theoretical explanation. Unfortunately the interpretation of results within the framework of the conventional physical theory cannot explain all the observed phenomena and first of all the change of weight. The change of weight is possible to interpret as a local change of gravity force or as an occurrence of propulsion force by repelling from its own field.

Direct experiment, confirming a presence of draft force was not performed, but in any case both interpretations of the weight change do not correspond to the modern physical paradigm and demand reconsideration of the standard theory of gravitation or criticism of the second law of Newton, both of which are only possible if we take into consideration the now-advert physical media ether as understood by   Faraday-Maxwell-Mie. From the modern physics position electrization and luminescence of the converter's magnetic system in the near zone is not completely clear. The phenomenon of the magnetic and thermal "walls" may be connected with  Alphen's magnetic-sound waves raised in near zone in magnetized plasma induced by a variable magnetic field of a rotating rotor [5].

At the present time we can not give an exact description of the interactions mechanism with environment and transformation of energy, but it is completely obvious, that without the use of the concept of physical media --- the ether in a sense of Faraday-Maxwell-Mie we are completely unable to give physically substantial theory of these phenomena. In conclusion, we emphasize that the issues of the biological influence effects and especially of the variations of real time stream effects, which must be taking place in an operative zone of the converter, were not considered at all.  These issues are extremely important and absolutely unexplored; though there are some mentions of J.R.R.Searl about healing action of the SEG's radiation. Our own experience allows to make only cautious assumption that the short-term stay (dozen minutes) in a working zone of the converter with the fixed output power of 6 kW remains for the people without observed consequences. The present paper is only a  beginning.

References ~

1. Herbert Schneider, Dr. J.B. Koeppl, Hans-Joachim Ehlers: "Begegnung mit John R.R. Searl"; Raum und Zeit, #39 (1989), pp. 75-80.
2. S. Gunnar Sandberg: "Was ist Dran am Searl-Effect; Raum und Zeit, #40 (1989), pp. 67-75.
3. Herbert Schneider & Harry Watt: "Dem Searl-Effect auf der Spur"; Raum und Zeit,  # 42 (1989), pp.75-81; #43, pp.73-77.
4. John A. Thomas, Jr.: "Anti-Gravity: The Dream Made Reality"; Extraordinary Science, VI (2) 1994.
5. L.D.Landau, E.M.Lifshits: Electrodynamics of Continuous Media; Moscow, Nauka, 1982. (in Russian)




Technical Physics Letters 26 (12): 1105-1107 (2000)

"An Experimental Investigation of the Physical Effects in a Dynamic Magnetic System"

V.V. Roschin & S.M. Godin
Inst. of High Temperatures, Russian Academy of Sciences, Moscow, Russia

Abstract ~

It is demonstrated that a magnetic system based on rare-earth magnets is capable of converting various forms of the energy, provided that a certain critical operating regime is set up. As the critical regime is attained, the experimental setup becomes energetically fully autonomous. This is accompanied by local variations in the total structure weight, a decrease in the surrounding air temperature, and the formation of concentric "magnetic walls" at a distance of up to 15 meters from the experimental setup.

Introduction ~

We have experimentally studied the physical effects in a system based on rotating permanent magnets (1). Below we describe the technology of manufacture, assembly, and the results of testing this experimental setup, which is referred to as the converter.

Technological Description ~

The converter comprises an immobile stator and a rotor moving around the stator and carrying fixed magnetic rollers. The magnetic system of the working body of the converter has a diameter of about 1 meter. The stator and magnetic rollers were manufactured from separate magnetized segments made of rare-earth magnets (REMs) with a residual magnetization of 0.85 T, a coercive force of [Hc] ~ 600 kA/m, and a specific magnetic energy of [W] ~ 150 K/m3. The segments were magnetized by a conventional method based on a discharge of a capacitor bank through an inductor coil. Then the magnetized segments were assembled and glued together in a special mounting stage, which provided for the necessary tolerance in positioning the segments and for the removal of magnetic energy. Using this mounting stage, it was possible to glue the elements into the common unit. The stable incorporated REMs with a total weight of 110 kg and the rollers contained 115 kg of the same REM material.

The magnetic system elements were assembled into a single structure on a special platform made of non-magnetic structural alloys. The platform construction was provided with springs and shock absorbers and allowed the converter setup to move in the vertical direction on three sides. The motion was monitored by an inductive transducer. Which allowed changes ion the platform weight to be determined in the course of the experiment. The total weight of the platform with the magnetic system in the initial state was 350 kg.

Description of the Observed Effects ~

The converter was installed in a 2.5-meter high laboratory room using three concrete supports on a ground level. In addition to the ordinary steel-reinforced concrete ceiling blocks, the converter equipment featured a usual electrodynamic generator and an electric motor, with a total iron weight of several tens of kilograms (only these parts could, in principle, introduce distortions into the electromagnetic field pattern observed).

The converter was set to operate by over-speeding the rotor with the aid of the electric motor. The motor speed was gradually increased until the ammeter connected in the motor circuit showed zero consumed current and the current direction reversal. This state corresponded to a rotor speed of approximately 550 rpm, but the motion transducer began to indicate a change in the platform weight already at 200 rpm. Then the electric motor was disconnected using an electromagnetic overrunning clutch, and a usual electrodynamic generator was connected instead to the main shaft of the converter via another electromagnetic clutch. On attaining the critical regime (~550 rpm), the rotor exhibited a sharp increase in the rotation speed; this was accompanied by a slow-down in the rate of the current weight reduction. At this instant, the first 1 kW load was connected to the system. Immediately upon this connection, the rotation speed began to decrease, while the Delta G value kept increasing, and so on as depicted in the figure.

A diagram illustrating various operation regimes of the magnetogravitational converter showing (I) load power (kW) and system weight variation; (II) 7-kW load (high voltage off); (III) 7-kW load (high voltage on); (IV) supercritical regime; (V) subcritical regime (1, high voltage off; 2, high voltage on).

The system weight variation depend both on the power consumed by the active load (the load consisted of 10 ordinary 1-kW heating elements) and on the polarization voltage applied. For a maximum consumed power (7 kW), a change in the total platform weight reached 35% of the initial value in the immobile state (350 kg), which corresponded to 50% of the pure weight of the working body of the converter. An increase in the load power above 7 kW led to a gradual decrease in the rotor speed and, eventually, to the system going out of the self-generation regime and the rotor speed decreasing until the full stop. The platform weight could be controlled by applying a high-voltage signal to the cellular ring electrodes situated 10 mm above the external roller surface. Upon applying a 20 kV signal (negative polarity on the electrodes), an increase in the load power consumption above 6 kW did not affect the Delta G value even when the rotor speed decreased down to 400 rpm. This was equivalent to "prolongation" of the effect and was accompanied by phenomena of the remnant induction" type with respect to Delta G. The converter operation in various experimental regimes is illustrated in the figure.

The effect of the system weight variation is reversible with respect to the direction of rotor motion and exhibits certain hysteresis. For the clockwise rotation, the critical regime is observed in the region of 550 rpm and is accompanied by development of the force acting against the gravity vector. For the counter-clockwise rotation, the onset of the critical regime is observed at approximately 600 rpm and the extra force coincides in direction with the gravity vector. The onset of the critical regime exhibited a scatter within 50-60 rpm. It should be noted that, probably, some other critical resonance regimes may exist, which correspond to higher rotor speeds and markedly greater useful load levels. Proceeding from the general theoretical consideration, the output mechanical energy must nonlinearly depend on the internal parameters of the converter magnetic system and the rotor speed, so that the observed effects are likely to be far from optimum. Establishing of the maximum output power maximum weight variation, and the converter energy resource is of considerable theoretical and practical interest.

Besides the phenomena described above, a number of other interesting effects were observed in the system studied. In particular, the converter operation in the dark is accompanied by a corona discharge with a pink-blue light emission and by the production of ozone. The ionization cloud is formed around the stator and rotor, acquiring a toroidal shape. The general corona discharge background is superimposed with a wavy pattern corresponding to the surface of the rollers: the zones of increased emission intensity are distributed along the roller height in a manner similar to that observed for the high-voltage microwave induction energy storage in the pre-breakdown state. These zones appeared yellowish-white, but the emission was not accompanied by sounds characteristic of the arc discharge. Nor did we observe any visible erosive damage on the stator and rotor surfaces.

One more effect, which was never reported previously, is the appearance of vertical "magnetic walls" surrounding the setup. We have detected and measured an anomalous constant magnetic field around the converter. The measurements revealed zones of increased magnetic strength on the order of 0.05 T arranged coaxially relative to the system center. The direction of the magnetic field vector on the "walls" coincides with that in the rollers. The structure of these magnetic zones resembles the pattern of circular waves on the water surface. No anomalous field is detected by a mobile magnetometer, employing the Hall effect transducer, in the area between zones. The layers of increased magnetic field strength are propagating with virtually no attenuation to a distance of 15 meters from the converter center and then rapidly decayed at the boundary of this 15-meter area. Each layer zone is 5-8 cm thick and exhibits sharp boundaries. The layers are spaced by 50-60 cm, the spacing slightly increasing with the distance from the converter center. A stable pattern was also observed at  a height of 5 meters above the setup (the measurements were conducted in a 2nd floor room above the laboratory; no tests were conducted on a still higher level).

Another interesting phenomenon consists in an anomalous temperature drop in the immediate vicinity of the converter. At a general room temperature level in the laboratory (+22 +-2 C), the temperature at the converter surface was 6-8 C lower. Similar temperature variations were detected in the vertical magnetic "walls". The temperature changes in the walls were detected by an ordinary alcohol thermometer with a reading set time of 1.5 minutes. The temperature variations in the magnetic "walls" can even be sensed by the human body: a hand placed inside the "wall" immediately feels cold. The same pattern was observed at a height of 5 meters above the setup in a 2nd floor room above the laboratory (despite the steel-reinforced concrete blocks separating the rooms).

Discussion of Results ~

All the experimental results described above are very unusual and need some theoretical rationalization. Unfortunately, attempts at interpreting the obtained results within the framework of the existing physical theories showed that no one of these models can explain the whole set of experimental data.

Recently, Dyatlov (2) attempted to combine the concepts of electricity and gravity by introducing the so-called electronavigation and magnetic-spin coefficients into the Heaviside gravity equations and the Maxwell field equations. This provides for a relationship between the gravitational and electrical components, as well as between the magnetic and rotational components in a given medium. The assumptions are built around a special model of inhomogenous physical vacuum, called the vacuum domain model (2). It is suggested that the extra relationships are absent outside the vacuum domain. Although it is difficult to imagine a long-living vacuum domain, the proposed model provides for a satisfactory explanation (at least on a qualitative phenomenological level) for the appearance of emission, the system weight variations, and the conversion of energy taken from the surrounding medium into the rotational mechanical moment of the rollers. Unfortunately, the theory cannot provide a physical pattern of the observed phenomena.

Conclusion ~

At present, the work on a developed variant of the converter are in progress at the Glushko "NPE Energomash" company (Moscow). This setup would allow a deeper insight into the physics of observed phenomena. Another aim is the creation of commercial samples for various practical applications.

References ~

(1) Thomas, J.A.: Anti-Gravity: The Dream Made Reality ~ The Story of John R.R. Searl; Direct International  Science Consortium, London, 1994), Vol. 1, Issue 2.
(2) Dyatlov, V.L.: Polarization Model Heterogenous Physical Vacuum (Inst. Mat., Novosibirsk, 1998); Translated by P. Pozdeev.



M. Pitkanen: About Strange Effects Related to Rotating Magnetic Systems

 An explanation of the Roschin-Godin experiment in terms of Topological Geometro-Dynamics (TGD). [PDF]


Russian Patent # 2,155,435
Mechanical Energy Generating Device & Process

[ PDF ]
Publication date:  2000-08-27
Application Number:  RU19990122275 19991027 ~ Priority Number(s):  RU19990122275 19991027
IPC Classification: H02N11/00; F03H5/00

Abstract ~

Power engineering and transport; miscellaneous industries.  UBSTANCE: Single-row power module has stator and rotor with rollers combined by common separator. Stator and rotor are made of permanent magnets or electromagnets based on composite laminated magnetic, conducting, and insulating materials. Main shaft of device is coupled via free-wheel clutches with starting motor that brings device to automatic speed-maintaining mode of operation and device loading system which is, essentially, electrodynamic generator mechanically coupled with main shaft of device. Electromagnetic transducers are radially arranged on device periphery. Propulsion control is effected by adjusting mechanical energy taken off the device and by producing radial electric polarization on its periphery by means of annular electrodes separated from rotor rollers by air gap. Electrodes are connected to high-voltage power supply. Generating process includes electric power supply to starting gear, acceleration of rotor shaft to working speed, take-off of generated energy, and adjustment of mentioned energy and propulsion by varying rotor and stator speed through varying load of generator connected to device as well as by adjusting high voltage applied from external power supply. EFFECT: Reduced energy consumption. 9 cl, 17 dwg.

 
 



  

  

US Patent # 6,822,361
Orbiting Multi-Rotor Homopolar System

[ PDF ]

Roschin; Vladimir Vitalievich (Moscow, RU); Godin; Sergi Mikhailovich (Moscow, RU)

Abstract -- An orbiting multi-rotor homopolar machine employs axially parallel, cylindrical, electrically conductive magnets arranged circumferentially around vertical axis of central stator ring, intimately contacting and engaging non-slip rolling between rotor magnets and stator. A bearing rotatably secures each end of each magnet to a corresponding electrically conductive circular endplate, each slightly wider than the stator. An electrically conductive axle located in the center of the stator rigidly attaches to one of the top circular endplate, and an electrically insulating bearing means attaches the center of bottom circular endplate to a coaxial inner cylinder, located between the axle and the stator.

Assignee: Energy & Propulsion Systems LLC (Valencia, CA)

References Cited
U.S. Patent Documents:
406,068 ~ Jul., 1889 ~ Tesla ~ 310/178
645,943 ~ Mar., 1900 ~ Dalen, et al. ~ 310/178
3,185,877 ~ May., 1965 ~ Sears ~ 310/178
3,465,187 ~ Sep., 1969 ~ Breaux ~ 310/178
5,241,232 ~ Aug., 1993 ~ Reed ~ 310/178
5,278,470 ~ Jan., 1994 ~ Neag ~ 310/178
5,977,684 ~ Nov., 1999 ~ Lin ~ 310/178
6,051,905 ~ Apr., 2000 ~ Clark ~ 310/178
Foreign Patent Documents:
2,094,066 ~ Sep., 1982 ~ GB
2000-324,786 ~ Nov., 2000 ~ JP
2001-286,117 ~ Oct., 2001 ~ JP
2003-47,226 ~ Feb., 2004 ~ JP

Primary Examiner: Mullins; Burton ~ Attorney, Agent or Firm: Our Pal LLC

Description ~

FIELD OF THE INVENTION

This invention relates generally to the field of direct current electrical motors and generators that operate without the need for commutation and/or rectification, and more particularly to multi-rotor homopolar machines which derive their emf (electromotive force) from co-rotational magnets and metallic disk embodiment.

BACKGROUND

Back in 1831, Michael Faraday discovered that a cylindrical magnet suspended by a string and touching a mercury bath at the bottom could generate electricity while spinning along its axis if a second electrical contact was made at the periphery of the midpoint of the magnet. His experiment was a one-piece homopolar machine since the magnet and conductor were joined together. Such Faraday generators have also been called acyclic, unipolar or homopolar generators because no commutation or alternating of the magnetic poles is necessary for this machine in order to generate electricity.

The type of electrical output is most often direct current (DC) unless specific means are designed to provide an interruption of radial conduction and thus simulate alternating current (AC). Historically, DC was championed by Thomas Edison during the early part of the 20th century while at the same time AC was championed by Nikola Tesla and George Westinghouse. In the future, DC will be coming back into style with the emergence of ambient temperature superconductive cables. Therefore, highly efficient homopolar generators will be in demand to meet the future market demand for DC electricity.

Homopolar generators usually have a single disk or drum rotating in a stationary magnetic field with sliding contacts. The sliding contacts often present high resistance however. The construction and operation of homopolar machines for electric propulsion of marine vessels or railguns for example is already well known. Such machines include motors and generators wherein electrical current flows through a conductor situated in a magnetic field during rotation of the machine rotor.

In the case of a homopolar motor, the current will develop a J.times.B force perpendicular to the direction of its flow through the conductor and that of the magnetic field. In the case of a homopolar generator, a voltage dependent on the rotational speed, magnetic field, and radius, is induced in a conductor moving within the magnetic field. When current is drawn from the homopolar generator, it also develops a J.times.B force for the same reason as with the motor but is referred to as back torque or armature reaction. General reference information including basic principles used to reduce back torque can be found in The Homopolar Handbook by Thomas Valone (ISBN 0-9641070-1-5).

The prior art rarely includes a one-piece homopolar machines that rotate the magnet with the disk. Even more unknown is the concept of rolling contacts. Eliminating sliding contacts is shown in the "Planetary Homopolar Generator," IBM Technical Disklosure Bulletin, Vol. 17, No. 6, p. 1786-87, November, 1974, H. D. Varadarajan.

Using a conducting belt or rolling contacts to gather current from a magnetic field flux cutting rotor, there is an annular magnetic field through which the rotor executes a planetary motion.

The large stresses resulting from the centrifugal force of the massive, unbalanced planetary rotor is a distinct disadvantage, prohibiting high speed operation. Thus, only a low rate of rotation is possible with the IBM design.

The "Direct Current Homopolar Machine" U.S. Pat. No. 5,587,618 to Hathaway demonstrates an analogous concept of relative motion between conductive orbiting shaft and a stationary disk-shaped magnetized armature.

However, the design is a bit cumbersome to be practical. Science Applications International Corporation claims a conductive belt, dual disk "Homopolar Motor-Generator" in U.S. Pat. No. 5,241,232 to Reed that apparently reinvents the "Dynamo Electric Machine" of U.S. Pat. No. 406,968 patented by none other than Nikola Tesla in 1889 that also has two unipolar magnetized rotors connected by a conductive belt. The belted dual unipolar machines solve one of the problems that plague the field by offering two sliding contacts at the low speed surface on the axle. However, the present invention requires only one sliding contact on the axle. These conductive belt machines also demonstrate, in principle, the concept of a multi-rotor, planetary design, by the process of coordinate transformation, since relative motion is the key to the operation of a homopolar generator. The concept of rolling contact is demonstrated with the Dalen "Dynamo Electric Machine" U.S. Pat. No. 645,943, where two disks are turning in opposite directions while in contact with each other at their periphery. However, the axle of each disk must remain fixed in place whereas each axle is in orbiting motion in the present invention.

Homopolar machines can reversibly function as motors as well, such as flywheels, and used as energy storage devices. First used in transportation applications in the 1950's, flywheel powered buses were designed to have the flywheel accelerated at every stop. Composite rotors currently have been developed which can spin at very high revolutions (100,000 revolutions per second); and the speed is limited by the tensile strength of the rim of the rotor. By using a multi-rotor design, the centrifugal forces of a large disk can be greatly reduced and still maintain high-energy storage or production. By using magnetic bearings, the friction on the axis of the rotor can be reduced sufficiently so that such rotors can maintain most of the energy for several days.

The IBM Varadarajan planetary rotor is unbalanced and has a low rate of magnetic flux cutting due to its annular magnetic field design. The Hathaway direct current machine has a lot of unbalanced conductive material orbiting the central magnetized disk which limits the rotational speed.

The conductive belt designs can be subject to oxidation and slippage, even requiring a toothed timing belt on each axle as well. With most disk models of homopolar generators, as opposed to drum designs, sliding contacts are the single most important contribution of resistance inhibiting the power output of the machine. Internal resistance is the only limit to the output capability of a homopolar generator and it is important to reduce all sources of internal resistance to obtain maximum power output for a given input torque. Rather than use high resistance carbon brushes, medium resistance silver-graphite brushes or dangerous conductive liquids such as mercury, low temperature solder, or sodium-potassium, there is a need to eliminate frictional sliding contact at the high speed periphery of the magnetized rotor completely. Furthermore, rather than maintaining two sliding contacts which contribute friction and resistance, even in the rolling and belted designs, there is a need to cut the number in half to only one high current sliding contact. The present invention satisfies both of these needs.

SUMMARY

The present invention derives direct current electricity by co-rotating a plurality of magnets and a metallic disk. It comprises an improved homopolar machine with dynamically balancing, axially parallel, cylindrical, electrically conductive magnets arranged circumferentially around the vertical axis of central stator ring. Such a design can be referred to as distributed generation since each magnet rotor generates only a fraction of the current that is transmitted through the machine. Thus, the conductive bearings contacting the center of each end of the magnet rotors may carry only one tenth or less of the total current.

The multi-rotor orbiting homopolar also does not include sliding contacts at each magnetized rotor rim but instead utilizes a suitable rolling means attached separately to magnets and also to the stator ring for intimately contacting and engaging non-slip rolling between magnets and stator as they orbit around the stator. The magnetized rotors maintain rotational synchronism and equal relative position to each other with a bearing means rotatably securing the top and bottom end of each magnet to a corresponding electrically conductive circular endplate.

The electrical energy is extracted, or input if used as a motor, through contacts on the conductive stator and at the machine's electrically conductive axle located in the center of the machine while rigidly attached to the top circular endplate that rotates with all of the individually magnetized rotors. The only single, high current, moving contact that is required is an electrically conductive thrust bearing that supports the central axle. An insulating thrust bearing meanwhile separates the axle from the center of bottom circular endplate. The stator, which is of course stationary, accomplishes the second contact means through a standard electrical connection with no need for any relative motion sliding contact. The stator may be optionally magnetized in the opposite direction to the magnetized rotors in order to increase the coercive force or magnetic flux density.

The drawings constitute a part of this specification and include exemplary embodiments to the invention, which may be embodied in various forms. It is to be understood that in some instances various aspects of the invention may be shown exaggerated or enlarged to facilitate an understanding of the invention.

The Problem ~

The problem this invention solves is that it generates high power direct current electricity without the need for commutation and rectification, otherwise the internal resistance losses are high.

The problems with prior art devices, processes and systems can be categorized as follows.

1. Require commutation or rectification to generate direct current electricity.

2. Rely on more than one current brush which often have high speed contact.

3. Do not distribute magnetic field power generation by multi-rotor orbiting magnets in homopolar machines or systems.

4. Internal resistance losses are usually high.

5. Neither efficient nor cost effective.

6. Neither simple nor practical for most applications.

Prior Art ~

A preliminary limited prior art search was not commissioned but the inventor is intimately familiar with the prior art. Following are typical examples of the prior art arranged in reverse chronological order for ready reference of the reader.

11) Non-Provisional Utility U.S. Pat. No. 6,051,905 issued to Richard Clark on Apr. 18, 2000 for "Homopolar Generator"

10) Non-Provisional Utility U.S. Pat. No. 5,977,684 presented to Ted Lin on Nov. 2, 1999 for "Rotating Machine Configurable as True DC Generator or Motor"

09) Non-Provisional Utility U.S. Pat. No. 5,864,198 earned by Joseph Pinkerton on Jan. 26, 1999 for "Brushless Generator"

08) Non-Provisional Utility U.S. Pat. No. 5,587,618 issued to George Hathaway on Dec. 24, 1996 for "Direct Current Homopolar Machine"

07) Non-Provisional Utility U.S. Pat. No. 5,278,470 graced upon Zacharias Neag on Jan. 11, 1994 for "Homopolar Machine which acts as a Direct Current (DC) High Voltage Generator or Motor"

06) Non-Provisional Utility U.S. Pat. No. 5,241,232 honorably given to Jay Reed on Aug. 31, 1993 for "Homopolar Motor-Generator"

05) Non-Provisional Utility U.S. Pat. No. 5,011,821 published in the name of Charley McCullough on Apr. 30, 1991 for "Method and Apparatus for Generating Electricity"

04) Non-Provisional Utility U.S. Pat. No. 3,465,187 issued to Onezime Breaux on Sep. 2, 1969 for "Homopolar Generator Having Parallel Positioned Faraday Disk Structures"

03) Non-Provisional Utility U.S. Pat. No. 3,185,877 presented to Anthony Sears on May 25, 1965 for "Direct Current Homopolar Generator"

02) Non-Provisional Utility U.S. Pat. No. 645,943 graced upon inventor Gustaf Dalen on Mar. 27, 1900 for "Dynamo Electric Machine"

01) Non-Provisional Utility U.S. Pat. No. 406,968 bestowed upon none other than Nikola Tesla himself in 1889 for "Dynamo Electric Machine"

None of the prior art devices known to the applicant or his attorney disclose the EXACT embodiment of this inventor that constitutes a simple, elegant and affordable system for an orbiting Multi-Rotor Homopolar direct current electricity generation

Objectives ~

Unfortunately none of the prior art devices singly or even in combination provide for all of the objectives as established by the inventor for this system as enumerated below.

1. It is an objective of this invention to provide devices, method and system for generation of high power direct current electricity without commutation and rectification.

2. The primary objective of the invention is orbiting multi-rotor cylindrical magnets in rolling contact that eliminates friction while generating DC electricity.

3. Another objective of the invention is to provide high efficiency, low noise and low resistance in a high current generator.

4. Another objective of the invention is that it uses readily available materials in a dynamically balanced arrangement.

5. Another objective of the invention is safety through reduced internal stress than comparable homopolar machines with a single rotor.

6. Another objective of the invention is that it provides distributed generation around an air core.

7. Another objective of this invention is to provide an easy, quick, simple practical way to generate more efficient and cost effective direct current electricity.

8. Another objective of this invention is that it promote and encourage other inventors to do additional research in homopolar machines generally but co-rotational magnets and disk embodiments in particular.

9. Another objective of this invention is to provide a system that is integrated and flexible.

10. Another objective of this invention is to provide a system that is easily useable and requires little if any training for manufacturing and use.

11. Another objective of this invention is that it meet all federal, state, local and other private standards guidelines, regulations and recommendations with respect to safety, environment, and energy consumption.

12. Another objective of this invention is that it can be made from modular standard materials and components that are also easily maintainable.

Other objectives advantages and features of this invention reside in its simplicity, elegance of design, ease of manufacture, service and use and even aesthetics as will become apparent from the following brief description of the drawings and the detailed description of the best mode preferred embodiments taken in connection with the accompanying drawings.

BRIEF DESCRIPTION OF THE DRAWINGS

FIG. 1 is a prior art diagram of a typical homopolar generator.

usp 6822361 fig 1
 

FIG. 2 is a perspective, cutaway view of the magnetized rotor and stator.

usp 6822361 figs 2-3

FIG. 3 is an elevational view of the complete orbiting multi-rotor machine.

FIG. 4 is a cross sectional view of the invention.

usp 6822361 fig 4

FIG. 5 is a plan view from the top of the invention.

usp 6822361 fig 5

DETAILED DESCRIPTION OF THE BEST MODE PREFERRED EMBODIMENT

As shown in the drawings wherein like numerals represent like parts throughout the several views, there is generally disclosed in FIG. 1 is a state of the prior art.

Detailed descriptions of the preferred embodiment are provided herein. It is to be understood, however, that the present invention may be embodied in various forms. Therefore, specific details disclosed herein are not to be interpreted as limiting, but rather as a basis for the claims and as a representative basis for teaching one skilled in the art to employ the present invention in virtually any appropriately detailed system, structure or manner.

Turning first to FIG. 2 there is shown a perspective cutaway view of a portion of one embodiment of the present invention showing one of a multitude of rotors that are axially magnetized (B). This multitude mounted in parallel comprise the multi-rotor homopolar machine in close contact with a ring shaped stator that may be optionally magnetized in the direction opposite to the magnetic fields of the rotors.

Each rotor 20 has its own axle 21 which is circumferentially mounted vertically, arranged and dynamically balanced around a central vertical axis, on an electrically conductive but low permeability axle rod 21 made of copper, brass or bronze, that may penetrate the center of the entire magnetized rotor and rotatably attach to top and bottom bearing 33 on circular endplates 31, 32 shown in FIG. 3. In operation, the rotors orbit around the circular stator ring, which may or may not also be magnetized.

The invention is more completely shown in the elevational view of FIG. 3 with several rotors 20 rotatably attached to the top circular endplate 31 and bottom circular endplate 32 by electrically conductive bearings 33. The top endplate 31 is rigidly attached to the central axle 34 supporting the orbiting multi-rotor homopolar generator assembly. The hollow circular design of the stationary ring stator 23 is also visible in FIG. 3, which can be optionally magnetized to increase performance output.

The bottom circular endplate 32 has a large hole in the center, more completely seen in FIG. 4, that allows inner attachment to insulating bearing 44 which optimally can be a non-contacting, low friction magnetic bearing since the weight of the rotor assembly is carried by the electrically conductive thrust bearing 41. The bottom endplate 32 is thus isolated electrically from the stationary Inner cylinder 43 that is the inner core of the stator. Inner circular assembly plates 49 of equal size and shape, that preferably are electrically conductive, rigidly attach the inner cylinder 43 to the stator ring 23. In accordance with the present invention, FIG. 4 shows the side cross sectional view edge on with a cutaway so that the central axle 34 and hollow inner cylinder design 43 is visible.

The insulating bearings 42 separate the central axle 34 from the inner cylinder 43. Both bearings 42 and 44 electrically maintain the separation of polarity of the electromotive force (emf) voltage of each rotor. The positive or negative polarity of the conductors depends of course on the rotation direction of the rotor magnets. One conductor 45 is electrically emerging from the stator assembly and ultimately emanates from the outer edge of each rotor 20 with the homopolar effect conducting the generated electricity through the rolling means 47 and 48. The opposite polarity conductor 46 is electrically emanating from the center axle 21 of each rotor 20 is connected to the electrically conductive thrust bearing 41.

In accordance with an important function of the present invention, there is shown in FIG. 4 one embodiment of an intimately contacting and engaging nonslip rolling means 47 and 48. As is well-known in the industry where good traction with a high coefficient of friction (1.6 or better) but sufficiently low electrical resistance is desired between two surfaces, an adherent coating of copper can be used on both facing surfaces of the stator 23 and rotor 20. For the copper coating, electro-deposition can be used or flame spraying of copper on the rotor and stator outer surfaces.

Another embodiment of rolling means 47 and 48 utilizes a geared electromechanical rotary joint developed by NASA Goddard Space Center (NASA Tech Briefs, December, 1994) which offers the advantage of a springy, low noise planetary gear contacting a stator ring gear. It was designed by NASA to overcome the disadvantages of sliding contacts and to ensure high traction desired for rolling electrical contacts.

The springy gears are made from beryllium copper which is a self-cleaning material with, in one embodiment, an average diameter of 6.35 mm with any reasonable number of teeth. Another concept to creating a rolling contact utilizes a magnetic sprocket design with small rare earth (samarium cobalt for example) magnets embedded perpendicularly in the surfaces of the stator ring and rotor magnets. The magnetic sprocket thus utilizes equally spaced magnets mounted normal to the axes of the stator and rotor.

To demonstrate an important feature of the invention, there is shown in FIG. 5 a plan view from the top of the balanced distribution of the rotors 20 around the stator assembly 43 with the outer stator ring 23 that are equally spaced and preferably dynamically balanced so the centrifugal forces are equal and opposite.

Theory of Operation ~

The main principle of operation is based on the fact that rotating cylindrical magnets creates a homopolar emf generation from Faraday's Law and the Lorentz Force. Physically, a rotating, non-inertial reference frame configuration can only be analyzed correctly with Einstein's general theory of relativity, utilizing a Thirring metric.

Particularly, where rotating cylindrical magnets and disk are synchronized and made co-rotational, such a co-rotational configuration makes the generator one piece like the earth's magnetic field itself. As the inventors explored this correspondence more closely, it was learned that the earth's molten, electrically conductive iron core also includes not one but several vortices in a coaxial circular arrangement. The inventors stumbled upon this concept while investigating the field rotation paradox and found that an orbiting, multi-rotor homopolar generator assembly would be analogous to the earth's electrically conductive, multi-vortex, magnetic, molten iron core.

The field rotation paradox can be easily resolved by an amateur DIY (Do It Yourself ) scientist by comparing the interception of a linear magnetic field vs. a rotating magnetic field. In the former configuration the meter gives the same reading whether the magnet is moved with respect to a pickup coil of wire or vice versa but in the latter configuration the meter reading is seen only when the disk is moved with respect to rotary magnetic field of cylindrical magnet but not when the magnet is moved with respect to the disk. The former is consistent with special relativity while the latter is relying on general relativity. Both are loosely termed "relativistic."

Assembly and Use ~

The manufacturing, assembly and use of this invention is very simple even intuitive. The system of this invention can be readily assembled from the teaching provided in this disclosure by state of the art techniques and materials by a person of average skill in the art.

The applicant has described the essence of this invention. While this invention has been described with reference to an illustrative embodiment, this description is not intended to be construed in a limiting sense. Various modifications and combinations of the illustrative embodiments as well as other embodiments of the invention will be apparent to a person of average skill in the art upon reference to this description.

Variations ~

Due to the simplicity and elegance of the design of this invention designing around it is very difficult if not impossible. Nonetheless many changes may be made to this design without deviating from the spirit of this invention. Examples of such contemplated variations include the following:

1. The shape and size, colors etc of the device or the packaging thereof may be modified.

2. Additional complimentary and complementary functions and features may be added.

3. The system of this invention may be adapted for other related uses.

4. Instead of cylindrical magnets, other types of magnets and mode of mounting on the disk may be employed to create the orbiting, rotational magnetic field.

5. The invention may be scaled up and down by several orders of magnitude

7. An experimental science toy version may be developed for education and entertainment of little young scientists of the future.

8. Homopolar generator may be employed in reverse as a motor to convert electrical energy into mechanical energy.

9. A homopolar servo motor version may be crafted based on this co-rotational magnet and disk concept.

10. Permanent cylindrical magnets may be replaced by equivalent configuration of electromagnets.

11. A portion of the emf generated may be fed back to cylindrical electromagnets to explore the possibility of a self-excited generator without violating any laws of nature.

Other changes such as aesthetics and substitution of newer materials as they become available, which substantially perform the same function in substantially the same manner with substantially the same result without deviating from the spirit of the invention may be made.

Following is a listing of the components used in the best mode preferred embodiment and the alternate embodiments for use with OEM as well as retrofit markets. For the ready reference of the reader the reference numerals have been arranged in ascending numerical order.

10 = Prior art generally

20 = Rotor(s)

21 = Axle, rod

23 = Stationary Ring Stator (Optionally Magnetized)

31 = Top circular end plate

32 = Bottom circular end plate

33 = Bearing

34 = Central Axle

41 = Electrically Conductive Thrust Bearing

42 = Insulating Bearing

43 = Stationary Hollow Inner Cylinder

44 = Insulating Bearing

45 = Opposite Polarity Conductor

46 = Opposite Polarity Conductor

47 = Non-Slip Rolling Means

48 = Non-Slip Rolling Means

49 = Inner Circular Assembly Plates

Definitions and Acronyms

A great care has been taken to use words with their conventional dictionary definitions. Following definitions are included here for clarification.

3D = Three Dimensional

Acyclic = Non-cyclic, non rotational or linear

DC = Direct Current as contrasted from alternating current electricity

DIY = Do It Yourself

DYNAMO = A device for converting mechanical energy into electrical energy (& Vice versa)

EMF = Electromagnetic Force

Homopolar = Same as unipolar

Integrated = Combination of two entities to act like one

Interface = Junction between two dissimilar entities

N = Magnetic North (Permanent or electro-magnet)

N-Machine = One Piece Faraday generator

OEM = Original Equipment Manufacturer

S = Magnetic South (Permanent or electro-magnet)

Unipolar = Same as homopolar

Note: It should be noted that the prior art uses unipolar, homopolar, acyclic and Faraday Disk Dynamo interchangeably.

While this invention has been described with reference to illustrative embodiments, this description is not intended to be construed in a limiting sense. Various modifications and combinations of the illustrative embodiments as well as other embodiments of the invention will be apparent to a person of average skill in the art upon reference to this description. It is therefore contemplated that the appended claim(s) cover any such modifications, embodiments as fall within the true scope of this invention as defined by the appended claims.

Claims ~

What is claimed is:

1. An orbiting multi-rotor homopolar machine comprising:

a plurality of axially parallel, equally spaced, cylindrical, magnet rotors arranged circumferentially around the periphery of a central stator ring whose axis is parallel to each magnet rotor axis;

rolling means attached separately to the magnet rotors and to the stator ring for intimately contacting and enabling high friction non-slip rolling between magnet rotors and stator ring;

means for starting and sustaining orbiting rolling of the magnet rotors around stator ring as required;

bearing means rotatably securing the top and bottom ends of each magnet rotor to a corresponding circular endplate;

axle means located in the center of the stator ring rigidly attached to the top circular endplate;

electrically insulating bearing means rotatably securing the center of the bottom circular endplate to a coaxial inner cylinder located between the axle and stator ring; and

circular assembly means for rigidly attaching the inner cylinder to the stator ring.

2. The homopolar machine of claim 1 wherein the inner cylinder, circular assembly means, magnet rotors, axle means, circular endplate, and stator ring are made at least partially from electrically conductive material.

3. The homopolar machine of claim 1 wherein the rolling means comprises an electrically conductive geared electromechanical rotary joint.

4. The homopolar machine of claim 1 wherein the rolling means comprises an electrically conductive copper coating on the stator ring and magnet rotors.

5. The homopolar machine of claim 1 wherein the stator ring comprises electrically conductive magnetic material.

6. A method for starting and sustaining the orbiting of rolling cylindrical magnets arranged parallel to and circumferentially around the vertical axis of a central stator ring, while intimately contacting and engaging non-slip rolling means between rotor magnets and the stator ring, rotatably securing the top and bottom ends of each rotor magnet by means of a bearing to a corresponding circular endplate, rigidly attaching to the top circular endplate a vertical axle coaxial with and in the stator ring, securing the center of the bottom circular endplate to a coaxial inner cylinder located between the axle and the stator ring by means of an electrically insulating bearing, and rigidly attaching the inner cylinder to the stator ring by means of a circular assembly.

7. An orbiting multi-rotor homopolar machine comprising:

a plurality of axially parallel, equally spaced, cylindrical, magnet rotors arranged circumferentially around the periphery of a central stator ring whose axis is parallel to each magnet rotor axis;

rolling means attached separately to the magnet rotors and to the stator ring for intimately contacting and enabling high friction non-slip rolling between the magnet rotors and stator ring;

means for starting and sustaining orbiting rolling of the magnet rotors around the stator ring as required;

bearing means rotatably securing the top and bottom ends of each magnet rotor to a corresponding circular endplate;

axle means located in the center of the stator ring rigidly attached to the top circular endplate;

electrically insulating bearing means rotatably securing the center of the bottom circular endplate to a coaxial inner cylinder located between the axle and stator ring; and

circular assembly means for rigidly attaching the inner cylinder to the stator ring; wherein said inner cylinder, said circular assembly means, said magnet rotors, said axle means, said circular endplate, and said stator ring are made at least partially from electrically conductive material.

8. The homopolar machine of claim 7 wherein the rolling means comprises an electrically conductive geared electromechanical rotary joint.

9. The homopolar machine of claim 7 wherein the rolling means comprises an electrically conductive copper coating on the stator ring and magnet rotors.

10. The homopolar machine of claim 7 wherein the stator ring comprises electrically conductive magnetic material.



P. Murad, et al. : The Morningstar Energy Box
[ PDF ]
Replication of Roschin-Godin-Searl Generator





http://www.youtube.com/watch?v=OGZ61sQ8t-o

SEG-MEC -16C .mp4

There is another machine called "Morningstar Energy Box" ,they duplicated the large Russian MEC,it shows ...



http://searlsolution.com/media2.html

Russian Temperature & Magnetic Anomaly Confirmed in Homopolar System.

The Morningstar Energy Box (Tuesday, March 15, 4:30 PM) SPESIF-COFE4 Presentation. 2011

SPESIF-COFE 4 Abstract. The Morningstar Energy Box is a derivative of a Searl device modified in a similar fashion used by the Russian Scientists Godin and Roschin. These devices use laminated rollers and a main ring made of different materials used to enhance electrical and magnetic properties. Where the Searl device uses rollers to move around a main ring, the Russian device kinematically constrains these rollers within a mechanical cage. The operational theory for the Energy Box uses rotating electromagnetic fields to create gravitational effects and is different from those theories outlined by either Searl or the Russians. A prototype device is currently under test and unfortunately self-accelerated motion has yet to be obtained. The Russians have made several serious claims that their device produced self-acceleration to generate electricity, created a relatively large weight loss, generated discrete walls of magnetism far from the device and that a temperature drop exists when the device loses weight. To date, no one has validated these outrageous claims. However, we have found similar phenomenon regarding temperature loss and the discrete magnetic walls to occur during tests of the Energy Box and have correlated the temperature drop that the Godin & Roschin device produces as being a consequence of the Unruh effect. Where they claimed to lose as much as 35% of the weight of a 375 kg armature, the Energy Box only loses as much as 2% of its 490 pounds at this stage of the test cycle. Additional tests and modifications are underway to hopefully increase the weight loss.