rexresearch.com

Robert SANDERSON

Piston Mechanism


 2-head piston design, 60% reduced size & weight, low cost, no crankshaft, reduced friction & vibration.

Sanderson Engine Development, LLC
16 Tyler Road
Upton, MA 01568
info@sandersonengine.com

To inquire about licensing, please contact:
Mr. John Fox,
President
Sanderson Engine Development, LLC
16 Tyler Road
Upton, MA 01568
1 (508) 478-4454
jfox@sandersonengine.com

Papers & Videos --- http://www.sandersonengine.com/html/technology.html


http://www.sandersonengine.com/html/the_sanderson_mechanism.html
(This article originally appeared in the November 1999 edition of Fluid Handling System Magazine.)

The Sanderson Mechanism

Robert Sanderson and John Fox
Sanderson Engine Development, LLC


It might be worth your time to examine the Sanderson mechanism for plunger and piston pump design and to compare it to conventional crankshaft and connecting rod technology. You might appreciate an explanation of how the mechanism works and a brief discussion of the design and the reasoning behind it.

Basic Operation and Configuration

Figure 1 shows a perspective drawing of an engine to explain how the mechanism works. The figure has two double-ended pistons, which is actually a four-cylinder device. Only the moving parts are shown for clarity.

The central piece of the mechanism — the transition arm — is centrally supported by a U-joint. Pins project radially outward from the center of the U-joint and are located 180 degrees apart. These pins project through the joints between the pistons and transmit linear motion to the pistons.

The nose pin through which rotary motion is delivered to the transition arm is perpendicular to a line between the piston pins. The nose pin is about the same distance from the central pivot as are the piston pins and is supported by the transition arm. An offset bushing on the flywheel connects the nose pin t the rotating motion of the input shaft that in turn produces the reciprocating motion of the piston pins moving the pistons (or plungers). There can be anywhere from two to seven piston pins extending outward radially from the central pivot.

Double-ended applications ca only have even numbers of pistons. Three double-ended pistons are equivalent to a conventional six-cylinder pump with 60-degree timing and six strokes per revolution. The maximum number fo single-sided cylinders is limited only by the space available. Seven cylinders would seem to the the practical limit although more are possible.

From the seals on the pony rod (connecting from the crosshead to the plunger or piston) outward, the design requires no change in the plungers, stuffing boxes or valves, although some port distances will be longer.

Variable Displacement Operation and Configurability

The single drive from the flywheel permits the stroke to be varied by changing the swing angle of the transition arm. Moving the main shaft and the flywheel laterally closer or further from the U-joint pivot changes the stroke of the plungers. This method was used on the prototype engine to vary the stroke from 6-1 to 12-1 while operating.

There are two additional methods for changing the stroke without lateral movement of the main shaft. The first duplicates the small stroke change needed for an engine; the second gives pumps a turndown to zero stroke. Adding this feature to a pump completely eliminates the need for a variable speed drive.

The single point drive concept means that several versions of the same pump can achieve different strokes by changing only one part. A change in the offset distance of the bushing on the flywheel is all that is needed for a change in the stroke. This permits having one pump and several flywheels with different offset distances for handling a range of applications.

Cost Savings

The Sanderson mechanism offers benefits, the first and most obvious being a reduction in size, weight and cost. The volume of the pump is only 40 percent and the footprint is one-third that of a conventional pump. This compactness derives from mounting the cylinders about the output shaft and having a mechanism that delivers straight-line motion to the rods thus avoiding the need for crank connecting rods and crossheads. The weight reduction comes from eliminating extraneous parts and using a smaller frame. Not having to machine so much metal produces cost savings.

A six-throw crankshaft for a 750-hp pump is approximately 7 ft. long and costs between 15 and 20 percent of the total pump cost (see Figure 2). Most of this cost is for machining, but material cost is high since torque is transmitted to one end through the journals and throws where excess material must be provided to carry the torque.

The force path in the Sanderson mechanism is the same from the drive shaft through the transition arm (see Figure 3) to each rod and plunger, requiring no added material to pass the torque to the other pistons or plungers. The nose pin of the transition arm must carry the torque for two plungers with the strength added only to the nose pin of the transition arm. The cost of the two-piece transition arm is about one-forth that of a crankshaft. The cost of the main shaft and flywheel with its bushing must be added, but it is merely a straight turning and just 2 ft. long. Add one low-cost item, the U-joint, and the total cost is still one-half of the cost of a crankshaft.

A standard pump unit needs split-sleeve bearings for each connecting rod journal. The end journals may still need to be tapered roller bearings, but eight high-load split bearings would be needed, plus two end bearings. In contrast, the Sanderson mechanism uses no split bearings. All it uses are off-the-shelf bearings that press-fit in place.

Reduction In Life Cycle Cost

The reduction in friction has not yet been mentioned. The three roller bearings on the main shaft and flywheel rotate completely, but the remaining bearings oscillate only 30 degrees to reduce frictional drag.

The design of the center joint between the pistons where the drive pins connect further reduces friction. The force that drives the plungers through the rods does not generate a lateral resultant force like conventional connection rods. Lacking any side load, a crosshead is not needed. The remaining friction is from the weight of the rod assemblies supported by linear bushings that replace the crossheads. A connecting rod for a 750-hp, six-plunger pump would induce over 3,000 lbs. of side load on a crosshead as compared with the 75 lb. assembly that generates friction in the Sanderson mechanism. Although this reduction in friction is significant and desirable, it has only a small effect on the power needed to drive the pump. The more important benefit for large horsepower mechanisms is the reduced operating temperature that extends the life of the bearings significantly.

Vibration is another factor that affects bearing life to the extent that it adds to bearing loads. Well-balanced machinery lasts linger. The motion of standard crankshaft mechanisms is only within 7 to 13 percent of pure sinusoidal and cannot be balanced perfectly. TIn the Sanderson mechanism, balancing is nearly perfect because the reciprocating motion of the transition arm and the plungers is within 1 percent of being pure sinusoidal. This permits a single flywheel counterweight to generate sufficient balancing force. The ability to achieve nearly perfect balancing in a slow turning pump is not as significant as for higher speed machines.

Another feature of the mechanism is its ability to generate longer strokes and operate at lower speeds in producing the same output. A 750-hp unit has an operating speed 20 percent lower than expected, due to its six-inch stroke. This will also extend the life of the bearings and the valves.

The Sanderson mechanism, as applied to a 750-hp pump, reduces the footprint by 66 percent, the volume by 40 percent, eliminates 2,000 lb. in weight, saves thousands of dollars in manufacturing and facilities costs and provides a long-lasting low-vibration pump as compared with conventional reciprocating plunger pumps.


http://www.boston.com/bostonglobe/editorial_opinion/oped/articles/2008/11/22/wheres_the_innovation_from_us_automakers/
November 22, 2008

Where's the Innovation from US Automakers?

by

John Fox

As the Big Three automakers were pleading their case before Congress and the American public this week for $25 billion in emergency financial aid, the fundamental question that remained was what happened to American ingenuity and innovation?

The chief executives for Ford, Chrysler, and General Motors put the blame for their dire financial health on the deepening economic meltdown that has restricted credit for consumers who want to buy new cars and has frightened many others away from adding new debt.

But it is the historic failure of the industry to innovate in a global economy that is the dead weight wrapped around its ankles. American ingenuity and innovation is, in fact, thriving, but you wouldn't know it as you drive past car dealerships that are stuffed with SUVs and V-8s that are the latest hangover of the spiking energy costs. And you just know that the softening of gas prices will cause carmakers to declare that happy days are here again.

So, where is this ingenuity that is somehow not getting to Detroit? Locally it is in the town of Upton, where my company has been perfecting a hydraulic hybrid vehicle capable of getting more than 100 miles per gallon (city driving).

A product engineer at Ford wrote a letter on the company's behalf stating emphatically: "I believe it is very likely that the Sanderson mechanism engine will enable significant efficiency and performance benefits for on-road vehicles," he wrote, adding, "With the economic and societal cost of energy and transportation fuels, funding technologies to substantially improve on-road fuel economy is critical."

The project engineer for the highly successful Northstar engine that has been used in Cadillacs since 1993, who is now since retired from GM, said in a letter about our engine: "This is an exciting invention that holds the probability of improving the efficiency of future engine designs and power transfer mechanisms."

And we're hardly alone on the innovation front. There are more than 20 official design and innovation teams competing for the prestigious Automotive X Prize with the goal of building the first car able to exceed the 100-mile-per-gallon barrier.

You won't find the Big Three on the list of competitors, and you won't be surprised to learn that GM and Ford have largely ignored the enthusiastic endorsements of the Sanderson Engine by their own engineers and former engineers.

These are smart guys in an industry that has been the bedrock of American soil for generations, so what could explain their failure to understand the "innovate or perish" 21st-century imperative? As one automotive engineer explained it to me, Rule Number One in the automotive manufacturing business is that if you are selling cars don't mess with success by changing what you are doing. Rule Number Two is that if your innovation nudges the price of that car up past your competition, you are in violation of Rule Number One.

Earlier this fall, Congress appropriated $25 billion in loans for automakers to retool their factories and produce more fuel-efficient vehicles in 2009. It was apparent in their testimony this week that the Big Three are focused more on survival than retooling anything.

In his testimony before the Senate Banking Committee this week, Rick Wagoner of General Motors Corp. commented that the auto industry "needs a bridge to span the financial chasm that has opened up before us."

If Congress decides to build that bridge, it needs to extract guarantees from the auto industry that they can actually get to the other side of that bridge as an innovative industry capable of adapting to new technologies. And for their part, Congress needs to acknowledge that it has effectively enabled the industry's addiction to yesterday's technology by not mandating higher fuel efficiency standards in US vehicles.

As Ford rolls out its 2010 Mustang at this weekend's car show in Los Angeles, one can only imagine what a buzz its unveiling would create if it were capable of getting 100 miles to the gallon.

John Fox is president of Sanderson Engine Development in Upton.


PISTON ENGINE BALANCING
CA2342932
2000-03-23

Piston engine assembly
US6446587
2002-09-10

Double ended piston engine
US6019073


USP # 6,397,794
 Piston Engine Assembly

2002-06-04
Classification:  - international:  F01B3/00; F01B3/10; F02B75/04; F02B75/26; F04B27/10; F16F15/26; F16F15/28; F16H23/06; F16H23/08; F02B75/02; F01B3/00; F02B75/00; F04B27/10; F16F15/00; F16F15/22; F16H23/00; F02B75/02; (IPC1-7): F02B75/04; F02B75/18 - European:  F01B3/00A; F01B3/00A2; F01B3/00A4G; F01B3/10A2; F02B75/04; F02B75/26; F04B27/10C4P; F16F15/26L; F16F15/28; F16H
Also published as:  US6915765 // US6925973  (B1)

Abstract ---  A variable compression piston assembly includes a plurality of pistons, a transition arm coupled to each of the pistons, and a rotating member mounted for pivoting movement to slide along an axis of the drive member. Movement of the rotating member relative to the drive member changes the compression ratio of the piston assembly. An engine assembly includes first and second piston assemblies mounted back-to-back and 180 DEG out of phase. A joint for positioning between first and second pistons includes an outer member and an inner member. The outer member is configured for movement relative to the pistons along a first axis perpendicular to the common axis of the pistons. The inner member is mounted within the outer member for rotation relative to the outer member about a second axis perpendicular to the first axis and the common axis.

References Cited
U.S. Patent Documents

748559 December 1903 Peet // 812636 February 1906 Callan // 821546 May 1906 Smallbone // 1019521 March 1912 Pratt // 1161152 November 1915 Nyborg // 1194258 August 1916 Walker //1210649 January 1917 Holley et al. // 1255973 February 1918 Almen // RE15442 September 1922 Almen // 1577010 March 1926 Whatley // 1648000 November 1927 Lee // 1659374 February 1928 Robson // 1673280 June 1928 Evans // 1772977 August 1930 Arrighi // 1857656 May 1932 Oldfield // 1894033 January 1933 Farwell // 1968470 July 1934 Szombathy // 2042730 June 1936 Redrup // 2048272 July 1936 Linthicum // 2104391 January 1938 Redrup // 2256079 September 1941 Dinzl // 2263561 November 1941 Biermann // 2302995 November 1942 Holmes // 2465510 March 1949 Bonnafe // 2513083 June 1950 Eckert // 2532254 November 1950 Bouchard // 2539880 January 1951 Wildhaber // 2653484 September 1953 Zecher // 2910973 November 1959 Witzky // 2940325 June 1960 Hakesch // 3000367 September 1961 Eagleson // 3076345 February 1963 Leciercq // 3077118 February 1963 Robbins // 3176667 April 1965 Hammer // 3182644 May 1965 Drtina // 3198022 August 1965 Algor de Waern // 3386425 June 1968 Morsell // 3528317 September 1970 Cummins // 3654906 April 1972 Airas // 3847124 November 1974 Kramer // 3861829 January 1975 Roberts et al. // 3877839 April 1975 Ifield // 3939809 February 1976 Rohs // 3945359 March 1976 Asaga // 3959983 June 1976 Roberts // 3968699 July 1976 van Beukering // 4011842 March 1977 Daives et al. // 4066049 January 1978 Teodorescu et al. // 4077269 March 1978 Hodgkinson // 4094202 June 1978 Kemper // 4100815 July 1978 Kemper // 4112826 September 1978 Cataldo // 4144771 March 1979 Kemper et al. // 4152944 May 1979 Kemper // 4168632 September 1979 Fokker // 4174684 November 1979 Roseby et al. // 4178135 December 1979 Roberts // 4178136 December 1979 Reid et al. // 4203396 May 1980 Berger // 4208926 June 1980 Hanson // 4235116 November 1980 Meijer et al. // 4270495 June 1981 Freudenstein et al. // 4285303 August 1981 Leach // 4285640 August 1981 Mukai // 4294139 October 1981 Bex et al. // 4297085 October 1981 Brucken // 4342544 August 1982 Pere // 4418584 December 1983 Maki et al. // 4433596 February 1984 Scalzo // 4489682 December 1984 Kenny // 4513630 April 1985 Pere et al. // 4569314 February 1986 Milu // 4708099 November 1987 Ekker // 4776259 October 1988 Takai // 4780060 October 1988 Terauchi // 4852418 August 1989 Armstrong // 4869212 September 1989 Sverdlin // 4920859 May 1990 Smart et al. // 4966042 October 1990 Brown // 5002466 March 1991 Inagaki et al. // 5007385 April 1991 Kitaguchi // 5025757 June 1991 Larsen // 5027756 July 1991 Shaffer // 5094195 March 1992 Gozalez // 5113809 May 1992 Ellenburg // 5129797 July 1992 Kammuaru // 5136987 August 1992 Schechter et al. // 5201261 April 1993 Kayukawa et al. // 5261358 November 1993 Rorke // 5280745 January 1994 Maruno // 5329893 July 1994 Drangel et al. // 5336056 August 1994 Kimura et al. // 5437251 August 1995 Anglim et al. // 5535709 July 1996 Yashizawa // 5553582 September 1996 Speas // 5562069 October 1996 Gillbrand et al. // 5572904 November 1996 Minculescu // 5596920 January 1997 Umemura et al. // 5605120 February 1997 Hedelin // 5630351 May 1997 Clucas // 5634852 June 1997 Kanamaru // 5699716 December 1997 Ota et al. // 5762039 June 1998 Gonzalez // 5768974 June 1998 Ikeda et al. // 5782219 July 1998 Frey // 5785503 July 1998 Ota et al. // 5839347 November 1998 Nomura et al. // 5890462 April 1999 Bassett // 5894782 April 1999 Nissen et al. // 5897298 April 1999 Umemura // 6053091 April 2000 Tojo

Foreign Patent Documents

 89352  Dec., 1895  DE //  345813  Jul., 1917  DE //  515359  Dec., 1930  DE //  698243  Oct., 1940  DE //  1 037 799  Dec., 1958  DE //  1451926  May., 1965  DE //  2346836  Mar., 1975  DE // 2612270  Sep., 1977  DE //  27 51 846  Nov., 1977  DE //  29 31 377  Feb., 1981  DE /  37 00 005  Jul., 1988  DE //  461343  Dec., 1913  FR // 815794  Apr., 1937  FR //  1015857  Oct., 1952  FR //  1416219  Sep., 1965  FR //  2271459  Nov., 1973  FR //  2453332  Apr., 1979  FR //  2 566 460  Dec., 1985  FR //  121961  Jan., 1920  GB //  220594  Mar., 1924  GB //  282125  Dec., 1927  GB //  629318  Sep., 1947  GB //  651893  Apr., 1951  GB //  2 030 254  Oct., 1978  GB //  1595600  Aug., 1981  GB //  55-37541  Sep., 1978  JP //  61-212656  Sep., 1986  JP //  62-113938  Apr., 1987  JP //  09151840  Jun., 1997  JP //  WO 92/11449  Jul., 1992  WO //  WO 97/10415  Mar., 1997  WO

Other References

Freudenstein, "Kinematic Structure of Mechanisms for Fixed and Variable-Stroke Axial-Piston Reciprocating Machines", Journal of Mechanisms, Transmissions, and Automation in Design, vol. 106, pp. 355-363, 1984. .

Freudenstein, "Development of an Optimum Variable-Stroke Internal-Combustion Engine Mechanism from the Viewpoint . . . ", Journal of Mechanisms, Transmissions, and Automation in Design, vol. 105, pp. 259-266, 1984..

Description

BACKGROUND OF THE INVENTION

The invention relates to a variable compression piston assembly, and to an engine that has double ended pistons connected to a universal joint for converting linear motion of the pistons to rotary motion.

Most piston driven engines have pistons that are attached to offset portions of a crankshaft such that as the pistons are moved in a reciprocal direction transverse to the axis of the crankshaft, the crankshaft will rotate.

U.S. Pat. No. 5,535,709, defines an engine with a double ended piston that is attached to a crankshaft with an off set portion. A lever attached between the piston and the crankshaft is restrained in a fulcrum regulator to provide the rotating motion to the crankshaft.

U.S. Pat. No. 4,011,842, defines a four cylinder piston engine that utilizes two double ended pistons connected to a T-shaped T-shaped connecting member that causes a crankshaft to rotate. The T-shaped connecting member is attached at each of the T-cross arm to a double ended piston. A centrally located point on the T-cross arm is rotatably attached to a fixed point, and the bottom of the T is rotatably attached to a crank pin which is connected to the crankshaft by a crankthrow which includes a counter weight.

In each of the above examples, double ended pistons are used that drive a crankshaft that has an axis transverse to the axis of the pistons.

SUMMARY OF THE INVENTION

According to the invention, a variable compression piston assembly includes a plurality of pistons, a transition arm coupled to each of the pistons, and a rotating member coupled to a drive member of the transition arm and mounted for pivoting movement to slide along an axis of the drive member. Movement of the rotating member relative to the drive member changes the compression ratio of the piston assembly.

Embodiments of this aspect of the invention may include one or more of the following features.

The pistons are double ended pistons. The transition arm is coupled to each of the double ended pistons at approximately a center of each double ended piston. There are two pistons and the axis of rotation of the rotating member and axes of the two pistons lie on a common plane.

In certain illustrated embodiments, the rotating member is a flywheel. A counterweight is mounted to the rotating member. The rotating member is pivotably mounted to a main drive shaft. The axis of the main drive shaft is parallel to the axis of each of the pistons.

A movable pressure plate is in contact with a peripheral region of the rotating member. A roller interfaces the pressure plate and the rotating member. A piston biases the rotating member into contact with the pressure plate.

The drive member extends into an opening in the rotatable member adjacent to a periphery of the rotatable member. The drive arm extends into a pivot pin located in the rotatable member. A universal joint connects the transition arm to a support.

According to another aspect of the invention, a method for varying the compression ratio of a piston assembly includes providing a plurality of pistons, a transition arm coupled to each of the pistons, and a rotating member coupled to a drive member of the transition arm and mounted for pivoting movement to slide along an axis of the drive member. The method includes pivoting the rotating member to change the compression ratio of the piston assembly.

According to another aspect of the invention, a method of increasing the efficiency of a piston assembly includes providing a plurality of double ended pistons, a transition arm coupled to each of the double ended pistons at approximately a center of each of the pistons, and a rotating member coupled to a drive member of the transition arm and mounted for pivoting movement to slide along an axis of the drive member. The method includes pivoting the rotating member to change the compression ratio of the double ended piston assembly.

According to another aspect of the invention, a joint for positioning between first and second elements arranged for linear motion along a common axis includes an outer member and an inner member. The outer member is configured for movement relative to the first and second elements along a first axis perpendicular to the common axis. The inner member is mounted within the outer member for rotation relative to the outer member about a second axis perpendicular to the first axis and the common axis. The outer and inner members each define an opening for receiving a drive arm.

Embodiments of this aspect of the invention may include one or more of the following features.

The outer member is configured for movement relative to the first and second elements along the second axis. The outer member defines first and second parallel flat sides each defining a plane perpendicular to the common axis. First and second sliding members are positioned between the first flat side and the first element and the second flat side and the second element, respectively. The flat sides have a polished surface.

The first and second elements are pistons. Alternatively, the first element is a piston and the second element is a guided rod, e.g., of a compressor.

The drive arm defines a longitudinal axis and the joint includes a mount, e.g., a cap screw, for holding the drive arm axially stationary while permitting the drive arm to rotate about its longitudinal axis.

In an illustrated embodiment, the opening in the inner member for receiving the drive arm is a channel defining a channel axis perpendicular to the second axis. The opening in the outer member for receiving the drive arm is a slot for accommodating movement of the drive arm when the inner member rotates relative to outer member.

A thrust bearing receives an axial load transferred to the drive arm by the first and second elements. A sleeve bearing receives a normal load transferred to the drive arm by the first and second elements. There is also a bearing located between the inner and outer members.

The first and second elements are mounted to a connector and the connector defines a cavity within which the outer and inner members are positioned.

According to another aspect of the invention, a piston assembly includes first and second elements configured for linear motion along a common axis and a joint positioned between the first and second elements. At least one of the first and second elements is a piston.

According to another aspect of the invention, a method of reducing side load in a double ended member having first and second elements arranged for linear motion along an axis of the double ended member includes providing a joint located between the first and second elements, and transferring load between the first and second elements and a drive arm mounted to the joint through two opposed surfaces, e.g., flat surfaces, of an outer member of the joint.

According to another aspect of the invention, an engine assembly includes a first piston assembly including at least two engine pistons coupled by a transition arm, and a second piston assembly coupled to the first piston assembly. The second piston assembly including at least two engine pistons coupled by a transition arm. The first and second piston assemblies are mounted back-to-back and 180.degree. out of phase.

Embodiments of this aspect of the invention may include one or more of the following features. The engine pistons are housed in cylinders with pairs of engine pistons from the first and second piston assemblies sharing a common cylinder. Each piston assembly includes compressor pistons mounted to move with respective engine pistons. Each piston assembly includes six pistons and two compressors.

In an illustrated embodiment, a first rotating member is mounted to the transition arm of the first piston assembly, and a second rotating member is mounted to the transition arm of the second piston assembly. The second rotating member is coupled to the first rotating member.

According to another aspect of the invention, a method of cancelling vibration in an engine assembly includes providing a first piston assembly including at least two engine pistons coupled by a transition arm, providing a second piston assembly including at least two engine pistons coupled by a transition arm, and coupling the first and second piston assemblies in a back-to-back relationship and 180.degree. out of phase.

BRIEF DESCRIPTION OF THE DRAWINGS

FIGS. 1 and 2 are side view of a simplified illustration of a four cylinder engine of the present invention;

FIGS. 3, 3a, 4, 4a, 5, 5a, and 6, 6a are a top views of the engine of FIG. 1 showing the pistons and flywheel in four different positions;

FIG. 7 is a top view, partially in cross-section of an eight cylinder engine of the present invention;

FIG. 8 is a side view in cross-section of the engine of FIG. 7;

FIG. 9 is a right end view of FIG. 7;

FIG. 10 is a side view of FIG. 7;

FIG. 11 is a left end view of FIG. 7;

FIG. 12 is a partial top view of the engine of FIG. 7 showing the pistons, drive member and flywheel in a high compression position;

FIG. 13 is a partial top view of the engine in FIG. 7 showing the pistons, drive member and flywheel in a low compression position;

FIG. 14 is a top view of a piston;

FIG. 15 is a side view of a piston showing the drive member in two positions;

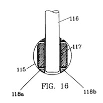
FIG. 16 shows the bearing interface of the drive member and the piston;

FIG. 17 is an air driven engine/pump embodiment;

FIG. 18 illustrates the air valve in a first position;

FIGS. 18a, 18b and 18c are cross-sectional view of three cross-sections of the air valve shown in FIG. 18;

FIG. 19 illustrates the air valve in a second position;

FIGS. 19a, 19b and 19c are cross-sectional view of three cross-sections for the air valve shown in FIG. 19;

FIG. 20 shows an embodiment with slanted cylinders;

FIG. 21 shows an embodiment with single ended pistons;

FIG. 22 is a top view of a two cylinder, double ended piston assembly;

FIG. 23 is a top view of one of the double ended pistons of the assembly of FIG. 22;

FIG. 23a is a side view of the double ended piston of FIG. 23, taken along lines 23A, 23A;

FIG. 24 is a top view of a transition arm and universal joint of the piston assembly of FIG. 22;

FIG. 24a is a side view of the transition arm and universal joint of FIG. 24, taken along lines 24a, 24a;

FIG. 25 is a perspective view of a drive arm connected to the transition arm of the piston assembly of FIG. 22;

FIG. 25a is an end view of a rotatable member of the piston assembly of FIG. 22, taken along lines 25a, 25a of FIG. 22, and showing the connection of the drive arm to the rotatable member;

FIG. 25b is a side view of the rotatable member, taken along lines 25b, 25b of FIG. 25a;

FIG. 26 is a cross-sectional, top view of the piston assembly of FIG. 22;

FIG. 27 is an end view of the transition arm, taken along lines 27, 27 of FIG. 24;

FIG. 27a is a cross-sectional view of a drive pin of the piston assembly of FIG. 22;

FIGS. 28-28b are top, rear, and side views, respectively, of the piston assembly of FIG. 22;

FIG. 28c is a top view of an auxiliary shaft of the piston assembly of FIG. 22;

FIG. 29 is a cross-sectional side view of a zero-stroke coupling;

FIG. 29a is an exploded view of the zero-stroke coupling of FIG. 29;

FIG. 30 is a graph showing the FIG. 8 motion of a non-flat piston assembly;

FIG. 31 shows a reinforced drive pin;

FIG. 32 is a top view of a four cylinder engine for directly applying combustion pressures to pump pistons;

FIG. 32a is an end view of the four cylinder engine, taken along lines 32a, 32a of FIG. 32;

FIG. 33 is a cross-sectional top view of an alternative embodiment of a variable stroke assembly shown in a maximum stroke position;

FIG. 34 is a cross-sectional top view of the embodiment of FIG. 33 shown in a minimum stroke position;

FIG. 35 is a partial, cross-sectional top view of an alternative embodiment of a double-ended piston joint;

FIG. 35A is an end view and

FIG. 35B is a side view of the double-ended piston joint, taken along lines 35A, 35A and 35B, 35B, respectively, of FIG. 35;

FIG. 36 is a partial, cross-sectional top view of the double-ended piston joint of FIG. 35 shown in a rotated position;

FIG. 37 is a side view of an alternative embodiment of the joint of FIG. 35;

FIG. 38 is a top view of an engine/compressor assembly; and

FIG. 38A is an end view and

FIG. 38B is a side view of the engine/compressor assembly, taken along lines 38A, 38A and 38B, 38B, respectively, of FIG. 38.

DESCRIPTION OF THE PREFERRED EMBODIMENTS

FIG. 1 is a pictorial representation of a four piston engine 10 of the present invention. Engine 10 has two cylinders 11 (FIG. 3) and 12. Each cylinder 11 and 12 house a double ended piston. Each double ended piston is connected to transition arm 13 which is connected to flywheel 15 by shaft 14. Transition arm 13 is connected to support 19 by a universal joint mechanism, including shaft 18, which allows transition arm 13 to move up an down and shaft 17 which allows transition arm 13 to move side to side. FIG. 1 shows flywheel 15 in a position shaft 14 at the top of wheel 15.

FIG. 2 shows engine 10 with flywheel 15 rotated so that shaft 14 is at the bottom of flywheel 15. Transition arm 13 has pivoted downward on shaft 18.

FIGS. 3-6 show a top view of the pictorial representation, showing the transition arm 13 in four positions and shaft moving flywheel 15 in 900.degree. increments. FIG. 3 shows flywheel 15 with shaft 14 in the position as illustrated in FIG. 3a. When piston 1 fires and moves toward the middle of cylinder 11, transition arm 13 will pivot on universal joint 16 rotating flywheel 15 to the position shown in FIG. 2. Shaft 14 will be in the position shown in FIG. 4a. When piston 4 is fired, transition arm 13 will move to the position shown in FIG. 5. Flywheel 15 and shaft 14 will be in the position shown in FIG 5a. Next piston 2 will fire and transition arm 13 will be moved to the position shown in FIG. 6. Flywheel 15 and shaft 14 will be in the position shown in FIG. 6a. When piston 3 is fired, transition arm 13 and flywheel 15 will return to the original position that shown in FIGS. 3 and 3a.

When the pistons fire, transition arm will be moved back and forth with the movement of the pistons. Since transition arm 13 is connected to universal joint 16 and to flywheel 15 through shaft 14, flywheel 15 rotates translating the linear motion of the pistons to a rotational motion.

FIG. 7 shows (in partial cross-section) a top view of an embodiment of a four double piston, eight cylinder engine 30 according to the present invention. There are actually only four cylinders, but with a double piston in each cylinder, the engine is equivalent to a eight cylinder engine. Two cylinders 31 and 46 are shown. Cylinder 31 has double ended piston 32, 33 with piston rings 32a and 33a, respectively. Pistons 32, 33 are connected to a transition arm 60 (FIG. 8) by piston arm 54a extending into opening 55a in piston 32, 33 and sleeve bearing 55. Similarly piston 47, 49, in cylinder 46 is connected by piston arm 54b to transition arm 60.

Each end of cylinder 31 has inlet and outlet valves controlled by a rocker arms and a spark plug. Piston end 32 has rocker arms 35a and 35b and spark plug 44, and piston end 33 has rocker arms 34a and 34b, and spark plug 41. Each piston has associated with it a set of valves, rocker arms and a spark plug. Timing for firing the spark plugs and opening and closing the inlet and exhaust values is controlled by a timing belt 51 which is connected to pulley 50a. Pulley 50a is attached to a gear 64 by shaft 63 (FIG. 8) turned by output shaft 53 powered by flywheel 69. Belt 50a also turns pulley 50b and gear 39 connected to distributor 38. Gear 39 also turns gear 40. Gears 39 and 40 are attached to cam shaft 75 (FIG. 8) which in turn activate push rods that are attached to the rocker arms 34, 35 and other rocker arms not illustrated.

Exhaust manifolds 48 and 56 as shown attached to cylinders 46 and 31 respectively. Each exhaust manifold is attached to four exhaust ports.

FIG. 8 is a side view of engine 30, with one side removed, and taken through section 8--8 of FIG. 7. Transitions arm 60 is mounted on support 70 by pin 72 which allows transition arm to move up and down (as viewed in FIG. 8) and pin 71 which allows transition arm 60 to move from side to side. Since transition arm 60 can move up and down while moving side to side, then shaft 61 can drive flywheel 69 in a circular path. The four connecting piston arms (piston arms 54b and 54d shown in FIG. 8) are driven by the four double end pistons in an oscillator motion around pin 71. The end of shaft 61 in flywheel 69 causes transition arm to move up and down as the connection arms move back and forth. Flywheel 69 has gear teeth 69a around one side which may be used for turning the flywheel with a starter motor 100 (FIG. 11) to start the engine.

The rotation of flywheel 69 and drive shaft 68 connected thereto, turns gear 65 which in turn turns gears 64 and 66. Gear 64 is attached to shaft 63 which turns pulley 50a. Pulley 50a is attached to belt 51. Belt 51 turns pulley 50b and gears 39 and 40 (FIG. 7). Cam shaft 75 has cams 88-91 on one end and cams 84-87 on the other end. Cams 88 and 90 actuate push rods 76 and 77, respectively. Cams 89 and 91 actuate push rods 93 and 94, respectively. Cams 84 and 86 actuate push rods 95 and 96, respectively, and cams 85 and 87 actuate push rods 78 and 79, respectively. Push rods 77, 76, 93, 94, 95, 96 and 78, 79 are for opening and closing the intake and exhaust valves of the cylinders above the pistons. The left side of the engine, which has been cutaway, contains an identical, but opposite valve drive mechanism.

Gear 66 turned by gear 65 on drive shaft 68 turns pump 67, which may be, for example, a water pump used in the engine cooling system (not illustrated), or an oil pump.

FIG. 9 is a rear view of engine 30 showing the relative positions of the cylinders and double ended pistons. Piston 32, 33 is shown in dashed lines with valves 35c and 35d located under lifter arms 35a and 35b, respectively. Belt 51 and pulley 50b are shown under distributor 38. Transition arm 60 and two, 54c and 54d, of the four piston arms 54a, 54b, 54c and 54d are shown in the pistons 32-33, 32a-33a, 47-49 and 47a-49a.

FIG. 10 is a side view of engine 30 showing the exhaust manifold 56, intake manifold 56a and carburetor 56c. Pulleys 50a and 50b with timing belt 51 are also shown.

FIG. 11 is a front end view of engine 30 showing the relative positions of the cylinders and double ended pistons 32-33, 32a-33a, 47-49 and 47a-49a with the four piston arms 54a, 54b, 54c and 54d positioned in the pistons. Pump 67 is shown below shaft 53, and pulley 50a and timing belt 51 are shown at the top of engine 30. Starter 100 is shown with gear 101 engaging the gear teeth 69a on flywheel 69.

A feature of the invention is that the compression ratio for the engine can be changed while the engine is running. The end of arm 61 mounted in flywheel 69 travels in a circle at the point where arm 61 enters flywheel 69. Referring to FIG. 13, the end of arm 61 is in a sleeve bearing ball bushing assembly 81. The stroke of the pistons is controlled by arm 61. Arm 61 forms an angle, for example about 15.degree., with shaft 53. By moving flywheel 69 on shaft 53 to the right or left, as viewed in FIG. 13, the angle of arm 61 can be changed, changing the stroke of the pistons, changing the compression ratio. The position of flywheel 69 is changed by turning nut 104 on threads 105. Nut 104 is keyed to shaft 53 by thrust bearing 106a held in place by ring 106b. In the position shown in FIG. 12, flywheel 69 has been moved to the right, extending the stroke of the pistons.

FIG. 12 shows flywheel moved to the right increasing the stroke of the pistons, providing a higher compression ratio. Nut 105 has been screwed to the right, moving shaft 53 and flywheel 69 to the right. Arm 61 extends further into bushing assembly 80 and out the back of flywheel 69.

FIG. 13 shows flywheel moved to the left reducing the stroke of the pistons, providing a lower compression ratio. Nut 105 has been screwed to the left, moving shaft 53 and flywheel 69 to the left. Arm 61 extends less into bushing assembly 80.

The piston arms on the transition arm are inserted into sleeve bearings in a bushing in piston. FIG. 14 shows a double piston 110 having piston rings 111 on one end of the double piston and piston rings 112 on the other end of the double piston. A slot 113 is in the side of the piston. The location the sleeve bearing is shown at 114.

FIG. 15 shows a piston arm 116 extending into piston 110 through slot 116 into sleeve bearing 117 in bushing 115. Piston arm 116 is shown in a second position at 116a. The two pistons arms 116 and 116a show the movement limits of piston arm 116 during operation of the engine.

FIG. 16 shows piston arm 116 in sleeve bearing 117. Sleeve bearing 117 is in pivot pin 115. Piston arm 116 can freely rotate in sleeve bearing 117 and the assembly of piston arm 116, Sleeve bearing 117 and pivot pin 115 and sleeve bearings 118a and 118b rotate in piston 110, and piston arm 116 can moved axially with the axis of sleeve bearing 117 to allow for the linear motion of double ended piston 110, and the motion of a transition arm to which piston arm 116 is attached.

FIG. 17 shows how the four cylinder engine 10 in FIG. 1 may be configured as an air motor using a four way rotary valve 123 on the output shaft 122. Each of cylinders 1, 2, 3 and 4 are connected by hoses 131. 132, 133, and 144, respectively, to rotary valve 123. Air inlet port 124 is used to supply air to run engine 120. Air is sequentially supplied to each of the pistons 1a, 2a, 3a and 4a, to move the pistons back and forth in the cylinders. Air is exhausted from the cylinders out exhaust port 136. Transition arm 126, attached to the pistons by connecting pins 127 and 128 are moved as described with references to FIGS. 1-6 to turn flywheel 129 and output shaft 22.

FIG. 18 is a cross-sectional view of rotary valve 123 in the position when pressurized air or gas is being applied to cylinder 1 through inlet port 124, annular channel 125, channel 126, channel 130, and air hose 131. Rotary valve 123 is made up of a plurality of channels in housing 123 and output shaft 122. The pressurized air entering cylinder 1 causes piston 1a, 3a to move to the right (as viewed in FIG. 18). Exhaust air is forced out of cylinder 3 through line 133 into chamber 134, through passageway 135 and out exhaust outlet 136.

FIGS. 18a, 18b and 18c are cross-sectional view of valve 23 showing the air passages of the valves at three positions along valve 23 when positioned as shown in FIG. 18.

FIG. 19 shows rotary valve 123 rotated 180.degree. when pressurized air is applied to cylinder 3, reversing the direction of piston 1a, 3a. Pressurized air is applied to inlet port 124, through annular chamber 125, passage way 126, chamber 134 and air line 133 to cylinder 3. This in turn causes air in cylinder 1 to be exhausted through line 131, chamber 130, line 135, annular chamber 137 and out exhaust port 136. Shaft 122 will have rotated 360.degree. turning counter clockwise when piston 1a, 3a complete it stroke to the left.

Only piston 1a, 3a have been illustrated to show the operation of the air engine and valve 123 relative to the piston motion. The operation of piston 2a, 4a is identical in function except that its 360.degree. cycle starts at 90.degree. shaft rotation and reverses at 270.degree. and completes its cycle back at 90.degree.. A power stroke occurs at every 90.degree. of rotation.

FIGS. 19a, 19b and 19c are cross-sectional views of valve 123 showing the air passages of the valves at three positions along valve 123 when positioned as shown in FIG. 19.

The principle of operation which operates the air engine of FIG. 17 can be reversed, and engine 120 of FIG. 17 can be used as an air or gas compressor or pump. By rotating engine 10 clockwise by applying rotary power to shaft 122, exhaust port 136 will draw in air into the cylinders and port 124 will supply air which may be used to drive, for example air tool, or be stored in an air tank.

In the above embodiments, the cylinders have been illustrated as being parallel to each other. However, the cylinders need not be parallel. FIG. 20 shows an embodiment similar to the embodiment of FIGS. 1-6, with cylinders 150 and 151 not parallel to each other. Universal joint 160 permits the piston arms 152 and 153 to be at an angle other than 90.degree. to the drive arm 154. Even with the cylinders not parallel to each other the engines are functionally the same.

Still another modification may be made to the engine 10 of FIGS. 1-6. This embodiment, pictorially shown in FIG. 21, may have single ended pistons. Piston 1a and 2a are connected to universal joint 170 by drive arms 171 and 172, and to flywheel 173 by drive arm 174. The basic difference is the number of strokes of pistons 1a and 2a to rotate flywheel 173 360.degree..

Referring to FIG. 22, a two cylinder piston assembly 300 includes cylinders 302, 304, each housing a variable stroke, double ended piston 306, 308, respectively. Piston assembly 300 provides the same number of power strokes per revolution as a conventional four cylinder engine. Each double ended piston 306, 308 is connected to a transition arm 310 by a drive pin 312, 314, respectively. Transition arm 310 is mounted to a support 316 by, e.g., a universal joint 318 (U-joint), constant velocity joint, or spherical bearing. A drive arm 320 extending from transition arm 310 is connected to a rotatable member, e.g., flywheel 322.

Transition arm 310 transmits linear motion of pistons 306, 308 to rotary motion of flywheel 322. The axis, A, of flywheel 322 is parallel to the axes, B and C, of pistons 306, 308 (though axis, A, could be off-axis as shown in FIG. 20) to form an axial or barrel type engine, pump, or compressor. U-joint 318 is centered on axis, A. As shown in FIG. 28.alpha., pistons 306, 308 are 180.degree. apart with axes A, B and C lying along a common plane, D, to form a flat piston assembly.

Referring to FIGS. 22 and 23, cylinders 302, 304 each include left and right cylinder halves 301a, 301b mounted to the assembly case structure 303. Double ended pistons 306, 308 each include two pistons 330 and 332, 330a and 332a, respectively, joined by a central joint 334, 334a, respectively. The pistons are shown having equal length, though other lengths are contemplated. For example, joint 334 can be off-center such that piston 330 is longer than piston 332. As the pistons are fired in sequence 330a, 332, 330, 332a, from the position shown in FIG. 22, flywheel 322 is rotated in a clockwise direction, as viewed in the direction of arrow 333. Piston assembly 300 is a four stroke cycle engine, i.e., each piston fires once in two revolutions of flywheel 322.

As the pistons move back and forth, drive pins 312, 314 must be free to rotate about their common axis, E, (arrow 305), slide along axis, E, (arrow 307) as the radial distance to the center line, B, of the piston changes with the angle of swing, a, of transition arm 310 (approximately .+-.15.degree. swing), and pivot about centers, F, (arrow 309). Joint 334 is constructed to provide this freedom of motion.

Joint 334 defines a slot 340 (FIG. 23a) for receiving drive pin 312, and a hole 336 perpendicular to slot 340 housing a sleeve bearing 338. A cylinder 341 is positioned within sleeve bearing 338 for rotation within the sleeve bearing. Sleeve bearing 338 defines a side slot 342 shaped like slot 340 and aligned with slot 340. Cylinder 341 defines a through hole 344. Drive pin 312 is received within slot 342 and hole 344. An additional sleeve bearing 346 is located in through hole 344 of cylinder 341. The combination of slots 340 and 342 and sleeve bearing 338 permit drive pin 312 to move along arrow 309. Sleeve bearing 346 permits drive pin 312 to rotate about its axis, E, and slide along its axis, E.

If the two cylinders of the piston assembly are configured other than 180.degree. apart, or more than two cylinders are employed, movement of cylinder 341 in sleeve bearing 338 along the direction of arrow 350 allows for the additional freedom of motion required to prevent binding of the pistons as they undergo a FIG. 8 motion, discussed below. Slot 340 must also be sized to provide enough clearance to allow the FIG. 8 motion of the pin.

Referring to FIGS. 35-35B, an alternative embodiment of a central joint 934 for joining pistons 330 and 332 is configured to produce zero side load on pistons 330 and 332. Joint 934 permits the four degrees of freedom necessary to prevent binding of drive pin 312 as the pistons move back and forth, i.e., rotation about axis, E, (arrow 905), pivoting about center, F, (arrow 909), and sliding movement along orthogonal axes, M (up and down in the plane of the paper in FIG. 35) and N (in and out of the plane of the paper in FIG. 35), while the load transmitted between joint 934 and pistons 330, 332 only produces a force vector which is parallel to piston axis, B (which is orthogonal to axes M and N).

Sliding movement along axis, M, accommodates the change in the radial distance of transition arm 310 to the center line, B, of the piston with the angle of swing, .alpha., of transition arm 310. Sliding movement along axis, N, allows for the additional freedom of motion required to prevent binding of the pistons as they undergo the figure eight motion, discussed below. Joint 934 defines two opposed flat faces 937, 937a which slide in the directions of axes M and N relative to pistons 330, 332. Faces 937, 937a define parallel planes which remain perpendicular to piston axis, B, during the back and forth movement of the pistons.

Joint 934 includes an outer slider member 935 which defines faces 937, 937a for receiving the driving force from pistons 330, 332. Slider member 935 defines a slot 940 in a third face 945 of the slider for receiving drive pin 312, and a slot 940a in a fourth face 945a. Slider member 935 has an inner wall 936 defining a hole 939 perpendicular to slot 940 and housing a slider sleeve bearing 938. A cross shaft 941 is positioned within sleeve bearing 938 for rotation within the sleeve bearing in the direction of arrow 909. Sleeve bearing 938 defines a side slot 942 shaped like slot 940 and aligned with slot 940. Cross shaft 941 defines a through hole 944. Drive pin 312 is received within slot 942 and hole 944. A sleeve bearing 946 is located in through hole 944 of cross shaft 941.

The combination of slots 940 and 942 and sleeve bearing 938 permit drive pin 312 to move in the direction of arrow 909. Positioned within slot 940a is a cap screw 947 and washer 949 which attach to drive pin 312 retaining drive pin 312 against a step 951 defined by cross shaft 941 while permitting drive pin 312 to rotate about its axis, E, and preventing drive pin 312 from sliding along axis, E. As discussed above, the two addition freedoms of motion are provided by sliding of slider faces 937, 937a relative to pistons 330, 332 along axis, M and N. A plate 960 is placed between each of face 937 and piston 330 and face 937a and piston 332. Each plate 960 is formed of a low friction bearing material with a bearing surface 962 in contact with faces 937, 937a, respectively. Faces 937, 937a are polished.

As shown in FIG. 36, the load, P.sub.L, applied to joint 934 by piston 330 in the direction of piston axis, B, is resolved into two perpendicular loads acting on pin 312: axial load, A.sub.L, along the axis, E, of drive pin 312, and normal load, N.sub.L, perpendicular to drive pin axis, E. The axial load is applied to thrust bearings 950, 952, and the normal load is applied to sleeve bearing 946. The net direction of the forces transmitted between pistons 330, 332 and joint 934 remains along piston axis, B, preventing side loads being applied to pistons 330, 332. This is advantageous because side loads on pistons 330, 332 can cause the pistons to contact the cylinder wall creating frictional losses proportional to the side load values.

Pistons 330, 332 are mounted to joint 934 by a center piece connector 970. Center piece 970 includes threaded ends 972, 974 for receiving threaded ends 330a and 332a of the pistons, respectively. Center piece 970 defines a cavity 975 for receiving joint 934. A gap 976 is provided between joint 934 and center piece 970 to permit motion along axis, N.

For an engine capable of producing, e.g., about 100 horsepower, joint 934 has a width, W, of, e.g., about 35/16 inches, a length, L.sub.1, of, e.g., 35/16 inches, and a height, H, of, e.g., about 31/2 inches. The joint and piston ends together have an overall length, L.sub.2, of, e.g., about 95/16 inches, and a diameter, D.sub.1, of, e.g., about 4 inches. Plates 960 have a diameter, D.sub.2, of, e.g., about 31/4 inch, and a thickness, T, of, e.g., about 1/8 inch. Plates 960 are press fit into the pistons. Plates 960 are preferably bronze, and slider 935 is preferably steel or aluminum with a steel surface defining faces 937, 937a.

Joint 934 need not be used to join two pistons. One of pistons 330, 332 can be replaced by a rod guided in a bushing.

Where figure eight motion is not required or is allowed by motion of drive pin 312 within cross shaft 941, joint 934 need not slide in the direction of axis, N. Referring to FIG. 37, slider member 935a and plates 960a have curved surfaces permitting slider member 935a to slide in the direction of axis, M, (in and out of the paper in FIG. 37) while preventing slider member 935a to move along axis, N.

Referring to FIGS. 24 and 24a, U-joint 318 defines a central pivot 352 (drive pin axis, E, passes through center 352), and includes a vertical pin 354 and a horizontal pin 356. Transition arm 310 is capable of pivoting about pin 354 along arrow 358, and about pin 356 along arrow 360.

Referring to FIGS. 25, 25a and 25b, as an alternative to a spherical bearing, to couple transition arm 310 to flywheel 322, drive arm 320 is received within a cylindrical pivot pin 370 mounted to the flywheel offset radially from the center 372 of the flywheel by an amount, e.g., 2.125 inches, required to produce the desired swing angle, .alpha. (FIG. 22), in the transition arm.

Pivot pin 370 has a through hole 374 for receiving drive arm 320. There is a sleeve bearing 376 in hole 374 to provide a bearing surface for drive arm 320. Pivot pin 370 has cylindrical extensions 378, 380 positioned within sleeve bearings 382, 384, respectively. As the flywheel is moved axially along drive arm 320 to vary the swing angle, .alpha., and thus the compression ratio of the assembly, as described further below, pivot pin 370 rotates within sleeve bearings 382, 384 to remain aligned with drive arm 320. Torsional forces are transmitted through thrust bearings 388, 390, with one or the other of the thrust bearings carrying the load depending on the direction of the rotation of the flywheel along arrow 386.

Referring to FIG. 26, to vary the compression and displacement of piston assembly 300, the axial position of flywheel 322 along axis, A, is varied by rotating a shaft 400. A sprocket 410 is mounted to shaft 400 to rotate with shaft 400. A second sprocket 412 is connected to sprocket 410 by a roller chain 413. Sprocket 412 is mounted to a threaded rotating barrel 414. Threads 416 of barrel 414 contact threads 418 of a stationary outer barrel 420.

Rotation of shaft 400, arrow 401, and thus sprockets 410 and 412, causes rotation of barrel 414. Because outer barrel 420 is fixed, the rotation of barrel 414 causes barrel 414 to move linearly along axis, A, arrow 403. Barrel 414 is positioned between a collar 422 and a gear 424, both fixed to a main drive shaft 408. Drive shaft 408 is in turn fixed to flywheel 322. Thus, movement of barrel 414 along axis, A, is translated to linear movement of flywheel 322 along axis, A. This results in flywheel 322 sliding along axis, H, of drive arm 320 of transition arm 310, changing angle, .beta., and thus the stroke of the pistons. Thrust bearings 430 are located at both ends of barrel 414, and a sleeve bearing 432 is located between barrel 414 and shaft 408.

To maintain the alignment of sprockets 410 and 412, shaft 400 is threaded at region 402 and is received within a threaded hole 404 of a cross bar 406 of assembly case structure 303. The ratio of the number of teeth of sprocket 412 to sprocket 410 is, e.g., 4:1. Therefore, shaft 400 must turn four revolutions for a single revolution of barrel 414. To maintain alignment, threaded region 402 must have four times the threads per inch of barrel threads 416, e.g., threaded region 402 has thirty-two threads per inch, and barrel threads 416 have eight threads per inch.

As the flywheel moves to the right, as viewed in FIG. 26, the stroke of the pistons, and thus the compression ratio, is increased. Moving the flywheel to the left decreases the stroke and the compression ratio. A further benefit of the change in stroke is a change in the displacement of each piston and therefore the displacement of the engine. The horsepower of an internal combustion engine closely relates to the displacement of the engine. For example, in the two cylinder, flat engine, the displacement increases by about 20% when the compression ratio is raised from 6:1 to 12:1. This produces approximately 20% more horsepower due alone to the increase in displacement. The increase in compression ratio also increases the horsepower at the rate of about 5% per point or approximately 25% in horsepower. If the horsepower were maintained constant and the compression ratio increased from 6:1 to 12:1, there would be a reduction in fuel consumption of approximately 25%.

The flywheel has sufficient strength to withstand the large centrifugal forces seen when assembly 300 is functioning as an engine. The flywheel position, and thus the compression ratio of the piston assembly, can be varied while the piston assembly is running.

Piston assembly 300 includes a pressure lubrication system. The pressure is provided by an engine driven positive displacement pump (not shown) having a pressure relief valve to prevent overpressures. Bearings 430 and 432 of drive shaft 408 and the interface of drive arm 320 with flywheel 322 are lubricated via ports 433 (FIG. 26).

Referring to FIG. 27, to lubricate U-joint 318, piston pin joints 306, 308, and the cylinder walls, oil under pressure from the oil pump is ported through the fixed U-joint bracket to the top and bottom ends of the vertical pivot pin 354. Oil ports 450, 452 lead from the vertical pin to openings 454, 456, respectively, in the transition arm. As shown in FIG. 27A, pins 312, 314 each define a through bore 458. Each through bore 458 is in fluid communication with a respective one of openings 454, 456. As shown in FIG. 23, holes 460, 462 in each pin connect through slots 461 and ports 463 through sleeve bearing 338 to a chamber 465 in each piston. Several oil lines 464 feed out from these chambers and are connected to the skirt 466 of each piston to provide lubrication to the cylinders walls and the piston rings 467. Also leading from chamber 465 is an orifice to squirt oil directly onto the inside of the top of each piston for cooling.

Referring to FIGS. 28-28c, in which assembly 300 is shown configured for use as an aircraft engine 300a, the engine ignition includes two magnetos 600 to fire the piston spark plugs (not shown). Magnetos 600 and a starter 602 are driven by drive gears 604 and 606 (FIG. 28c), respectively, located on a lower shaft 608 mounted parallel and below the main drive shaft 408. Shaft 608 extends the full length of the engine and is driven by gear 424 (FIG. 26) of drive shaft 408 and is geared with a one to one ratio to drive shaft 408. The gearing for the magnetos reduces their speed to half the speed of shaft 608. Starter 602 is geared to provide sufficient torque to start the engine.

Camshafts 610 operate piston push rods 612 through lifters 613. Camshafts 610 are geared down 2 to 1 through bevel gears 614, 616 also driven from shaft 608. Center 617 of gears 614, 616 is preferably aligned with U-joint center 352 such that the camshafts are centered in the piston cylinders, though other configurations are contemplated. A single carburetor 620 is located under the center of the engine with four induction pipes 622 routed to each of the four cylinder intake valves (not shown). The cylinder exhaust valves (not shown) exhaust into two manifolds 624.

Engine 300a has a length, L, e.g., of about forty inches, a width, W, e.g., of about twenty-one inches, and a height, H, e.g., of about twenty inches, (excluding support 303).

Referring to FIGS. 29 and 29a, a variable compression compressor or pump having zero stroke capability is illustrated. Here, flywheel 322 is replaced by a rotating assembly 500. Assembly 500 includes a hollow shaft 502 and a pivot arm 504 pivotally connected by a pin 506 to a hub 508 of shaft 502. Hub 508 defines a hole 510 and pivot arm 504 defines a hole 512 for receiving pin 506. A control rod 514 is located within shaft 502. Control rod 514 includes a link 516 pivotally connected to the remainder of rod 514 by a pin 518. Rod 514 defines a hole 511 and link 516 defines a hole 513 for receiving pin 518. Control rod 514 is supported for movement along its axis, Z, by two sleeve bearings 520. 7ink 516 and pivot arm 514 are connected by a pin 522. Link 516 defines a hole 523 and pivot arm 514 defines a hole 524 for receiving pin 522.

Cylindrical pivot pin 370 of FIG. 25 which receives drive arm 320 is positioned within pivot arm 504. Pivot arm 504 defines holes 526 for receiving cylindrical extensions 378, 380. Shaft 502 is supported for rotation by bearings 530, e.g., ball, sleeve, or roller bearings. A drive, e.g, pulley 532 or gears, mounted to shaft 502 drives the compressor or pump.

In operation, to set the desired stroke of the pistons, control rod 514 is moved along its axis, M, in the direction of arrow 515, causing pivot arm 504 to pivot about pin 506, along arrow 517, such that pivot pin 370 axis, N, is moved out of alignment with axis, M, (as shown in dashed lines) as pivot arm 504 slides-along the axis, H, (FIG. 26) of the transition arm drive arm 320. When zero stroke of the pistons is desired, axes M and N are aligned such that rotation of shaft 514 does not cause movement of the pistons. This configuration works for both double ended and single sided pistons.

The ability to vary the piston stroke permits shaft 514 to be run at a single speed by drive 532 while the output of the pump or compressor can be continually varied as needed. When no output is needed, pivot arm 504 simply spins around drive arm 320 of transition arm 310 with zero swing of the drive arm. When output is needed, shaft 514 is already running at full speed so that when pivot arm 504 is pulled off-axis by control rod 514, an immediate stroke is produced with no lag coming up to speed. There are therefore much lower stress loads on the drive system as there are no start/stop actions. The ability to quickly reduce the stroke to zero provides protection from damage especially in liquid pumping when a downstream blockage occurs.

An alternative method of varying the compression and displacement of the pistons is shown in FIG. 33. The mechanism provides for varying of the position of a counterweight attached to the flywheel to maintain system balance as the stroke of the pistons is varied.

A flywheel 722 is pivotally mounted to an extension 706 of a main drive shaft 708 by a pin 712. By pivoting flywheel 722 in the direction of arrow, Z, flywheel 722 slides along axis, H, of a drive arm 720 of transition arm 710, changing angle, .beta. (FIG. 26), and thus the stroke of the pistons. Pivoting flywheel 722 also causes a counterweight 714 to move closer to or further from axis, A, thus maintaining near rotational balance.

To pivot flywheel 722, an axially and rotationally movable pressure plate 820 is provided. Pressure plate 820 is in contact with a roller 822 rotationally mounted to counterweight 714 through a pin 824 and bearing 826. From the position shown in FIG. 33, a servo motor or hand knob 830 turns a screw 832 which advances to move pressure plate 820 in the direction of arrow, Y. This motion of pressure plate 820 causes flywheel 722 to pivot in the direction of arrow, Z, as shown in the FIG. 34, to decrease the stroke of the pistons. Moving pressure plate 820 by 0.75" decreases the compression ratio from about 12:1 to about 6:1.

Pressure plate 820 is supported by three or more screws 832. Each screw has a gear head 840 which interfaces with a gear 842 on pressure plate 820 such that rotation of screw 832 causes rotation of pressure plate 820 and thus rotation of the remaining screws to insure that the pressure plate is adequately supported. To ensure contact between roller 822 and pressure plate 820, a piston 850 is provided which biases flywheel 722 in the direction opposite to arrow, Z.

Referring to FIG. 30, if two cylinders not spaced 180.degree. apart (as viewed from the end) or more than two cylinders are employed in piston assembly 300, the ends of pins 312, 314 coupled to joints 306, 308 will undergo a FIG. 8 motion. FIG. 30 shows the FIG. 8 motion of a piston assembly having four double ended pistons. Two of the pistons are arranged flat as shown in FIG. 22 (and do not undergo the FIG. 8 motion), and the other two pistons are arranged equally spaced between the flat pistons (and are thus positioned to undergo the largest FIG. 8 deviation possible). The amount that the pins connected to the second set of pistons deviate from a straight line (y axis of FIG. 30) is determined by the swing angle (mast angle) of the drive arm and the distance the pin is from the central pivot point 352 (x axis of FIG. 30).

In a four cylinder version where the pins through the piston pivot assembly of each of the four double ended pistons are set at 45.degree. from the axis of the central pivot, the figure eight motion is equal at each piston pin. Movement in the piston pivot bushing is provided where the figure eight motion occurs to prevent binding.

When piston assembly 300 is configured for use, e.g., as a diesel engines, extra support can be provided at the attachment of pins 312, 314 to transition arm 310 to account for the higher compression of diesel engines as compared to spark ignition engines. Referring to FIG. 31, support 550 is bolted to transition arm 310 with bolts 551 and includes an opening 552 for receiving end 554 of the pin.

Engines according to the invention can be used to directly apply combustion pressures to pump pistons. Referring to FIGS. 32 and 32a, a four cylinder, two stroke cycle engine 600 (each of the four pistons 602 fires once in one revolution) applies combustion pressure to each of four pump pistons 604. Each pump piston 604 is attached to the output side 606 of a corresponding piston cylinder 608. Pump pistons 604 extend into a pump head 610.

A transition arm 620 is connected to each cylinder 608 and to a flywheel 622, as described above. An auxiliary output shaft 624 is connected to flywheel 622 to rotate with the flywheel, also as described above.

The engine is a two stroke cycle engine because every stroke of a piston 602 (as piston 602 travels to the right as viewed in FIG. 32) must be a power stroke. The number of engine cylinders is selected as required by the pump. The pump can be a fluid or gas pump. In use as a multi-stage air compressor, each pump piston 606 can be a different diameter. No bearing loads are generated by the pumping function (for single acting pump compressor cylinders), and therefore, no friction is introduced other than that generated by the pump pistons themselves.

Referring to FIGS. 38-38B, an engine 1010 having vibration cancelling characteristics and being particularly suited for use in gas compression includes two assemblies 1012, 1014 mounted back-to-back and 180.degree. out of phase. Engine 1010 includes a central engine section 1016 and outer compressor sections 1018, 1020. Engine section 1016 includes, e.g., six double acting cylinders 1022, each housing a pair of piston 1024, 1026. A power stroke occurs when a center section 1028 of cylinder 1022 is fired, moving pistons 1024, 1026 away from each other. The opposed movement of the pistons results in vibration cancelling.

Outer compression section 1018 includes two compressor cylinders 1030 and outer compression section 1020 includes two compressor cylinders 1032, though there could be up to six compressor cylinders in each compression section. Compression cylinders 1030 each house a compression piston 1034 mounted to one of pistons 1024 by a rod 1036, and compression cylinders 1032 each house a compression piston 1038 mounted to one of pistons 1026 by a rod 1040. Compression cylinders 1030, 1032 are mounted to opposite piston pairs such that the forces cancel minimizing vibration forces which would otherwise be transmitted into mounting 1041.

Pistons 1024 are coupled by a transition arm 1042, and pistons 1026 are coupled by a transition arm 1044, as described above. Transition arm 1042 includes a drive arm 1046 extending into a flywheel 1048, and transition arm 1044 includes a drive arm 1050 extending into a flywheel 1052, as described above. Flywheel 1048 is joined to flywheel 1052 by a coupling arm 1054 to rotate in synchronization therewith. Flywheels 1048, 1052 are mounted on bearings 1056. Flywheel 1048 includes a bevel gear 1058 which drives a shaft 1060 for the engine starter, oil pump and distributor for ignition, not shown.

Engine 1010 is, e.g., a two stroke natural gas engine having ports (not shown) in central section 1028 of cylinders 1022 and a turbocharger (not shown) which provides intake air under pressure for purging cylinders 1022. Alternatively, engine 1010 is gasoline or diesel powered.

The stroke of pistons 1024, 1026 can be varied by moving both flywheels 1048, 1052 such that the stroke of the engine pistons and the compressor pistons are adjusted equally reducing or increasing the engine power as the pumping power requirement reduces or increases, respectively.

The vibration cancelling characteristics of the back-to-back relationship of assemblies 1012, 1014 can be advantageously employed in a compressor only system and an engine only system.

Other embodiments are within the scope of the following claims.


PISTON ENGINE BALANCING
CA2342932
2000-03-23

Piston engine assembly
US6446587
2002-09-10

Double ended piston engine
US6019073