
rexresearch.com
Alexandr A. KARASEV, et
al.
SCENAR [ SKENAR ]
Self-Controlled Energo-Neuro-Adaptive Regulation
http://www.scenar.info/
Scenar Information
History
The S.C.E.N.A.R., Self-Controlled Energo Neuro Adaptive
Regulation, was developed for the Russian space program to
overcome the unique problems of space travel. Pharmaceuticals were
impractical due to the specificity of each drug, leading to a need
to store a large variety and quantity of drugs, and also due to
the introduction of toxins into the water recycling system, such
that one treatment may well treat the whole crew.
A Russian team of doctors and scientists, based at Sochi
University and led by Alexander Karasev in the late 1970s,
developed a method of treatment that was energy efficient,
multi-applicable, portable and also non-invasive. They were the
first people to achieve repeatable therapeutic treatment using
electrical signals to stimulate the immune system. Head scientist
Professor Revenko claimed that there were very few illnesses
SCENAR could not treat and often cure. Tests conducted in Russia
have since shown the Scenar is proves effective in 80% of cases.
The S.C.E.N.A.R. was immediately dubbed the ‘Star Trek’ Device by
the press because of its origins and its similarity to the
‘all-curing’ medical scanner used in the series, Star Trek.
How it works
The scenar uses biofeedback -- by stimulating the nervous system,
it is able to teach the body to heal itself. The device sends out
a series of signals through the skin and measures the response.
Each signal is only sent out when a change, in response to the
previous signal, is recorded in the electrical properties of the
skin. Visible responses include reddening of the skin, numbness,
stickiness (the device will have the feeling of being magnetically
dragged), a change in the numerical readout and an increase in the
electronic clattering of the device.
The C-fibres, which comprise 85% of all nerves in the body, react
most readily to the electro-stimulation and are responsible for
the production of neuropeptides and other regulatory peptides.
The body can get accustomed to a stable pathological state, which
may have been caused by injury, disease or toxicity. The scenar
catalyses the process to produce regulatory peptides by
stimulation of C-fibres for the body to use where necessary. It is
these neuropeptides that in turn reestablish the body’s natural
physiological state and are responsible for the healing process.
As these peptides last up to several hours, the healing process
will continue long after the treatment is over. The large quantity
of neuropeptides and C-fibres in the Central Nervous System can
also result in the treatment on one area aiding with other
chemical imbalances, correcting sleeplessness, appetite and
behavioral problems.
In Russia, there are over 50,000 cases of the device’s use and
some 600 practitioners currently use the device as their principal
treatment instrument. A vast wealth of information is available
from research papers, clinical reports and training manuals. The
device is used on most types of disease or injury: circulatory,
sensory, respiratory, neurological, genito-urinary,
musculo-skeletal, gastro-intestinal, endocrine, immune and
psychological disorders.
The scenar is also credited with vastly reducing recovery times.
Russian athletes have been known not only to compete after serious
injuries, but even to break world-records. In accident and
emergency wards, its ability to aid recovery is used to help
victims of cardiac arrest, massive trauma and coma. It has
recently been discovered to also aid in improving learning
ability, memory, sexual function and improved physical health.
Finally trials in Russia have also realised scenar’s usage for
pain relief. Both cancer and fracture patients have found more
pain relief from the release of natural opoids after scenar
treatment than from administered opiates.
Treatment
The Scenar weighs approximately 300 grams, is 200mm in length,
with an electrical contact at one end and runs off a 9V battery.
This is run over the spine and abdomen or the infected area,
recording the resistive response to its signals and using its
sophisticated software to return a fresh signal. A gentle
tingling/stroking sensation will be felt. The practitioner is
looking for anomalies on the skin surface, which may be
highlighted by redness, numbness, stickiness or a change in
numerical display or sound. Although these areas may not seem to
directly relate to the obvious symptom, by treating these
‘asymmetries’, (as the Russians call them), the healing process
will commence.
Patients having Scenar treatment need to take responsibility for
their health and are advised to participate actively in the
treatment and recovery process. The chemical compounds, released
by the nerves, affect not only the problem areas, but also
circulate in the blood treating other areas of the body. This goes
some way to explaining how old and often forgotten problems are
brought to the surface for treatment.
The Russians state that a chronic problem that the patient has may
take up to 6 weeks treatment, with long-lasting effectiveness.
Acute problems may just take one or two treatments. They say that
the Scenar proves effective in 80% of all cases, of which full
recovery occurs in 2/3rds of them and significant healing in the
remainder.
What conditions can Scenar treat?
In the UK, the devices are licensed by the British Standards
Institute for pain relief only. However, because of the nature of
the device, viz., stimulating the nervous system, the Russian
experience is that Scenar affects all the body systems.
The Russian experience suggests that it can be effective for a
very broad range of diseases, including diseases of the digestive,
cardio-vascular, respiratory, musculo-skeletal, urinary,
reproductive and nervous systems.
It is also useful for managing ENT diseases, eye diseases, skin
conditions and dental problems. It has also been found beneficial
in burns, fractures, insect bites, allergic reactions, diseases of
the blood and disorders involving immune mechanisms; endocrine,
nutritional and metabolic disorders; stress and mental depression,
etc.
It is known to give real relief from many types of pain
How often will I need a treatment?
In order to create a continuous flow of circulating regulative
peptides Scenar action must be given quite often. For any fresh
injury or any acute inflammatory process treatment needs to be
intensive, ideally once or even twice daily. For chronic
conditions, treatments are ideally given three or four times a
week initially. As things improve the frequency can be reduced.
A course of treatments will vary from individual to individual,
and takes into account such factors as the stage of the
pathological process, the person's age, state of health, and so
on.
Is it safe?
As the Scenar impulse is similar to endogenous nerve impulses, it
is non-damaging and safe. Only people with cardiac pacemakers are
not allowed to have Scenar treatment.
Children and pregnant women can be treated, and even animals enjoy
it!
What about my conventional treatment?
If you are receiving treatment from your doctor it makes sense to
inform him about Scenar therapy. Treatment with Scenar may enable
you to reduce or even stop taking some medication, and this can be
done under the supervision of your doctor.
What else do I need to know?
During the treatment of chronic conditions, occasionally a healing
crisis may occur (experienced as a complete lack of energy and
malaise). This arises if the body is getting rid of toxic energy
too rapidly. There are techniques that can be used with the Scenar
to manage this.
For best results it is advisable not to bathe or shower for two
hours before and after treatment. It may be necessary to shave an
area of skin to ensure good communication between the device and
the nervous system.
Patients generally experience an increase in energy, more
refreshing sleep and an improved sense of wellbeing.
How does it differ from other therapies?
There are several ways in which it differs from other electrical
therapies.
Unlike TENS machines, each impulse is different from the previous
one so the body is unable to adapt to the signal.
The Scenar impulse is high amplitude so it stimulates C-fibres,
which make up about 85% of the nerves in the body. This explains
the quick effectiveness of Scenar therapy on the whole body.
WEBSITES
http://www.scenar.info/
http://www.scenar-revenko.ru
http://www.alternative-doctor.com/specials/scenar.htm
STAR TREK MEDICINE IS HERE! NOW!!
Can a simple hand-held device work miracle cures? If it's the
Russian SCENAR, you bet! (sometimes spelled SKENAR)
One of the most brilliant healing machines I discovered in my
search for future trends while writing my book VIRTUAL MEDICINE is
the Russian SCENAR device (self-controlled
energo-neuro-adaptive-regulation.
Actually, it's a whole family of machines and I predicted they
will completely change the face of medicine in the next 20 years.
They are fast, portable, cheap and effective against almost any
condition, from treat sports injuries, strokes, angina, acute
infections, back pains and irritable bowel disease (as well as
pre-menstrual tension and post-surgical complications) and even
defibrillating hearts!
BACKGROUND
The origin of the machine is surrounded in secrecy from the
Russian military. But it clearly springs from research into the
electro-magnetic field effects of the body's biological energy.
Eventually, a team of scientists and doctors was assembled to
study possible medical applications of the technology. The SCENAR
researchers subsequently used it to study an Eastern therapy known
as zonal contact massage. The intention had been to develop some
way of altering the pressure of the massage, according to skin
response (in VIRTUAL MEDICINE chapter 3, I described how the
dielectric potential of collagen tissue is stimulated by
pressure).
Equipment was developed to monitor magnetic effects taking place
in the skin and use these to modulate changes in pressure of the
massage. The establishment of a biofeedback mechanism led to the
creation of a device whose output would depend on skin energetic
response.
The aim is to stimulate the body's own endogenous energies to
effect the cure, creating a cascade of endogenous neuropeptides.
This allows the body its own choice of healing ingredients; a sort
of on-board pharmacy. Through biofeedback an interaction is formed
between the tissues and the instrument, each new signal evolves as
a new output. No two consecutive signals from the device are the
same. This allows the treatment to be truly dynamic, adjusting for
changes in the body through time and in different physiological
states.
The term SCENAR was born. It is yet another brilliant marriage of
Western electronic technology and Eastern energetic healing skills
(which is what VIRTUAL MEDICINE is all about).
SPACE RACE
When the Soviet Union decided to send cosmonauts into orbit for
prolonged periods, it was clear that they needed to have a means
of treating any illnesses that could befall them. Unlike the
American system, there were no convenient re-usable shuttles to
bring back an ailing cosmonaut back to Earth, should the need have
arisen. The possibility of incapacitating disease was a major
worry.
The pharmaceutical approach was not tenable, bearing in mind the
rigorous weight and space limitations and the fact that
drug-oriented medicine is based on the principle of one substance
for each (potential) condition. Even a very modest medicine range
would be weighty. Also, in an environment where recycling of water
is such an essential feature, any drug entering the water
circulation system would remain, passing through the cosmonaut
many times.
This was at a time when the Russian space programme was being
watched by the rest of the world and maintaining national prestige
was of paramount concern to the Soviet government. It was
essential to come up with something radically new. It had to be
light, easy to use and, of course, really effective.
Bioenergetic technology was the only extant medical paradigm
capable of delivering these stringent requirements. The SCENAR
came to the fore.
Ironically, no SCENAR device has been used in space to date. There
were delays caused by the authorities insisting on a waterproofing
process. Before this matter was resolved, funds were suddenly
stopped at the time of perestroika; the so-called ‘space race' was
called off and the team disbanded. The USA began working on
combined space projects with the Russians and they introduced the
capability of evacuating sick cosmonauts on the shuttle, which
meant there was no further need of on-board therapy.
However, four of the original team felt they had designed a very
worthwhile system, capable of changing the face of medicine, and
decided to take it onto the open market. So far, around 600
doctors in Russia are using it as their principal treatment
modality and it is now available to select and trained
practitioners in the West. VIRTUAL MEDICINE has crossed-over into
the mainstream!
The promise of a small hand-held device that is capable of curing
most illness, such as was portrayed in the cult 1970s TV series
"STAR TREK", has become a reality.
BOFFINS
The original inventor of the Scenar was A.A.Karasev an electronics
engineer back in 1973 who made one for himself after some of his
family members died and the conventional medicine of the day could
not help.
Karasev later worked for the Russian Cosmonaut programme and
showed his invention to his superiors who were very interested, so
much so that a team was set up with funding to develop the idea
further.
Manufacturing was (and still is for some models) carried out by
the Priboy company which supplies military hardware.
The device was never actually used in space as they were unable to
come up with a watertight model which was what had been specified.
The end of the communist era led to a cessation of funding but
some of the members of the team decided to continue and formed the
OKB Ritm company in 1983. Names you repeatedly come across are
A.N.Revenko, Y.Grinberg, and Y.Gorfinkel as well as Karasev. They
managed to get approval in 1986 from the Russian Ministry of
Health for the device to be used in health clinics.
The OKB Ritm company still produces several models using names
such as Scenar 97, Scenar NT, Scenar 2003, Autoscenar and Kosmed.
(http://www.scenar.com.ru/index_eng.html) They have a branch
office in the Netherlands. (http://www.ritmedic.com/home.html)
Karasev decided to go his own way in 1990 and set up the LET
Medical company which produces a range of models under the Scenar
and Cosmodic brands. (http://www.scenar.ru/en/)
The Rema company in Belorussia started producing Prologue and
Enart models in 1993. (http://rema.by/) Check out their English
powerpoint presentation where it says 'english version'
(http://rema.by/?module=about)
CCC Invet is a reseller of several of the above companies products
and has an English website.
(http://www.invet.net/32/e/about_e.shtml)
Another company RTS ART was set up in 1995 and now trades as Denas
MS producing the Denas and DiaDens models.
(http://www.denascorp.ru/) They have many resellers some with
English websites such as Diadens.com. (http://www.diadens.com/)
The Pervade Wave company in Hong Kong has a regional (Asia)
licence to produce the Space Healer model. These are sold in HK
(http://www.naturalhealing.com.hk/spacehealer.php) and in
Australia (http://www.enlightenedtherapies.com/index.htm)
There is also supposed to be a US made model the Inter X 5000 from
NRG (Neuro Research Group) but it is taking a very long time to
come to fruition..
It seems that Ritm was originally happy to licence the Scenar idea
to other companies, but then when they started to make their own
variants disputes arose as to who could use the brand name Scenar
and whose model was better etc. Hence there is quite a lot of
mudslinging and you sometimes have to read between the lines.
Most of the companies originally targeted the health care market
with expensive products although there are now some cheaper
home-use models with reduced features. They also tended to sell
training courses to their customers and provided little written
documentation.
The exception seems to be the Denas company which decided to go
down the network marketing route with large numbers of resellers
and reasonable prices. They have four current models including a
Euro Denas one with CE certification and an English version of
their printed 240 page Denas Therapy Manual and its accompanying 2
hour video, although the English translation could be much
improved. Their latest model the Diadens-DT even includes two
electro acupuncture modes.
You can download a good 172 page English manual from
Transformation Technologies website.
(http://www.braintuner.com/skenar.htm). It is not stated where
this manual came from but the preface is signed Sergey Solomko and
he is the owner of the Invet company.
I also discovered that there is a wealth of Scenar related
information on the internet but unsurprisingly mostly in Russian.
However I have had great success using the free online translation
engine WorldLingo. (http://www.worldlingo.com)
You copy and paste any web address into their website translator,
choose the language pair, select the advanced option 'Medical' or
'Electronics' or whatever as appropriate and it translates the
page. Then as you continue browsing the site it keeps on
translating it for you. If you see something of interest and want
more information you go back to the original Russian website and
copy and paste the relevant Russian text into Google and that way
you find more sites which you translate and so on.
On a slightly separate issue you might have noticed that many
sellers of Scenar devices also offer a multilayer therapeutic
healing blanket. These were invented by A.A.Datchenko of the
Victoria company (http://www.odeialo.ru/) who also licensed other
producers including OKB Ritm.. They are approved by the Russian
Ministry of Health and apparently very effective.
It was only when I translated some websites that I found out what
these are. They seem to be a modern day equivalent of Wilhelm
Reich's 'orgone accumulators' where patients lay in a metal lined
wooden box for treatment.
(http://www.orgonomic.narod.ru/w/aboutr/)
There are interesting blanket articles on the Victoria website
including some fascinating feedback from LET Medical quoting the
words of 'the well known medium Elsa' when they treated her with
one.
OPERATION
The device weighs around 300 gm, resembles a TV remote control and
is powered by an ordinary 9v. battery. It is placed on the skin of
the chest, head, abdomen or any diseased part, where it collects
electromagnetic signals. These are then modulated according to the
on-board software programme and played back to the tissues.
Essentially, SCENAR is using the patient's own endogenous signals
on a cybernetic feedback basis, scanning and re-transmitting many
times a second. As described to me, the device ‘evolves' a new
signal pattern for the disordered tissues, the machine literally
entering into an information dialogue with the body. New
frequencies and energy patterns are established, which in turn
become fresh input signals, to be further modified, and so on.
This output-equals-new- input is much the way that fractals are
generated and thus, biologically-speaking, we seem to be on good
ground here. On the premise that disease signals are generally
fixed and unnatural, anything which breaks up the existing order
has the capability of disease-busting.
CASEBOOK
Male, 69 years old. This man who was a gardener by profession had
chronic suppurating osteomyelitis of the foot which could not be
controlled. He was scheduled for an amputation of the lower leg in
four days time, largely due to intractable pain. Someone decided
to try a SCENAR device on him. It was run over the affected limb
for about 30 minutes.
Next day, the pain had vanished for the first time in 8 months.
Later that day another 30-minute treatment was given. By next
morning the recovery was so dramatic the amputation was called
off. A third treatment was given and seven days after the first
SCENAR this man was back at work, digging in the garden. His leg
has completely recovered.
Female, age 68 years. This lady had attended for successful
treatment of her asthma. She commented on painful arthritic knees.
I decided to try the SCENAR. In order to gauge the effectiveness
of the treatment I suggested that we concentrate on the left knee
only and she could compare any improvements with the status of the
right knee.
Next morning she rang and was delighted that the pain had vanished
from BOTH knees. One week later, as of the time she returned to
the UK, she had no further pain.
Female, age 41 years. This lady is the presenter of a
radio-programme on which I appear each month as the visiting
alternative doctor. On this occasion (early-April) she was
struggling with her hay-fever, with streaming eyes and nose and
constant sniffing which sounded awful on-air.
In a 3-minute gap for advertisements I grabbed the SCENAR device
and gave her a fast treatment over the forehead and cheeks. Just
before going back on-air she breathed in and was delighted to note
that virtually all symptoms had vanished! She needed a further
treatment 2 days later, as the symptoms were back. But again, just
a few minutes cleared her sinuses completely.
She has opted for regular treatments, until we can do an allergy
work up for her condition.
CLINICAL ASPECTS
The device is very safe; the impulse times are very short. No pain
is felt but the patient is usually aware of a tingling sensation
while it works. The practitioner seeks for what the Russians term
asymmetry, meaning something different about the tissue
characteristics in the vicinity. There are five main criteria:
discolouration (reddening or pallor)
sensation (numbness or hyper-aesthesia)
stickiness' in which the machine drags with a magnet-like quality
as it is drawn over certain tracts of the skin
sound changes (the machine begins to chatter electronically as it
hits certain zones)
change in numerical output display
Even though it may not coincide with the obvious area of symptoms
or pathology, the important point is to treat the asymmetry. For
reasons we do not fully understand, when this is eliminated,
recovery will rapidly follow.
SUMMARY
A summary of findings in different clinical groups on 50,000 cases
from 3,000 SCENAR doctors and other practitioners includes
cumulative percentages in which effectiveness' is defined as a
cure in 66% of cases and some improvement in 33% of cases:
Circulatory 82%
Musculoskeletal 79%
Respiratory 84%
Ear and Mastoid 82%
Gastrointestinal 93
Eye and adnexae 93%
Genito-urinary 89%
Mouth/jaw/saliva 91%
Gynae and obstetrics 78%
This list is far from exhaustive and I have been able to establish
that there are many other areas in which SCENAR is highly
effective. For example, there is a current 98% cure rate
achievement for benign prostatic hypertrophy and in the case of
acute mastitis the device is 100% effective to date. Nothing I
know of can come close to its figures against frigidity, impotence
and infertility (60th percentile).
There are remarkably few contra-indications, notably heart
pacemakers and, after 20 years, a complete absence of negative
side-effects. SCENAR technology can be used as a valuable addition
to other therapies or could be a stand-alone treatment. The
extra-ordinary feature is that the same small device can be used
to treat the heart of one patient, the knee of the next, the
breasts and reproductive adnexae of the next - all relying on one
small battery as an energy source!
PATENTS
Apparatus for generating electric pulses for biological
object stimulation
US5257623
[ PDF ]
RU 2091089
ELECTRICAL STIMULATION DEVICE
The method comprises generating pulses of a specified repetition
rate, duration modulating each pulse, composing packets of
stimulating pulses with a specified packet duration and specified
pause duration between pulse packets, and modifying the duration
of the pulse packet applied to the object in accordance with an
assessment of the electrophysiologic parameters of the state of
the biological object's interelectrode section, this assessment
being performed simultaneously with object stimulation. The
apparatus comprises a pulse generator, a pulse duration modulator,
a stimulating pulse power amplifier, a first signal shaper
generating a signal indicative of the object's response to
stimulating pulses, a variable-duration pulse generator providing
pulse packet duration signals, a second signal shaper providing
signals of pulse packet duration, and a modulation control signal
clipper.
FIELD OF THE INVENTION
The invention relates to electrotherapeutic apparatuses and, more
specifically, to methods for generating electric pulses intended
to stimulate biological objects and apparatuses thereof.
The invention can be used in clinical and sports medicine and as a
personal instrument, in particular for the prophylaxis and
treatment of diseases and pathologic states with affected
compensatory and adaptation processes.
BACKGROUND OF THE INVENTION
Known in the art is a method for biological object stimulation,
wherein electric pulses for stimulation are generated.
This method involves the following sequence of operations:
stimulation by a standard stimulus is executed, followed by a test
stimulation to detect the object's reaction, and then treatment
stimulation by specially generated electric pulses of preset
duration and repetition rate. These pulses are generated,
amplified and used for stimulation during a certain time interval.
After this, test stimulation is repeated to evaluate the effect of
treatment stimulation and its results determine whether treatment
should be continued or not (U.S. Pat. No. 4,505,275).
During the stimulation treatment interval the parameters of
electric pulses generated according to this method remain
unvariable and are not adaptable to the current state of the
object. Multiple treatment stimulation prolongs the procedure,
thus making overdosage more probable. All these factors lead to a
reduced therapeutic effect.
Known in the art is a method for generating electric pulses for
stimulating neural and muscular structures of the vehicular system
and organs, residing in that pulses of a specified repetition rate
are generated, each pulse is then duration-modulated and a pulse
train of pulses of specified duration and duty factor is formed,
with ramp (increase or decrease) variarion of the duration of
pulses of a preset repetition rate. This pulse train is then
amplified and applied to the biological object, setting an upper
limit to the pulse duration in the train in accordance with the
individual sensitivity of the biological object (SU, A, 1169669).
The parameters of the stimulating pulse trains are selected
experimentally by the maximal object's response at physiologically
comfortable conditions. Individual dosage is not provided, thus
overdosage is possible. Pulses are not adapted to the current
state of the object and all these factors reduce the overall
therapeutic effect.
Known in the art is an apparatus for generating electric
stimulating pulses, comprising a pulse generator, a modulator
connected to the generator, an amplifier and an output stage (SU,
A, 1069832).
The pulse voltage of rectangular waveform from the pulse generator
is applied to an input of the modulator, the other input whereof
receives pulses from a modulation frequency generator. At the
modulator output, a pulse-modulated voltage with a carrier
frequency of rectangular waveform is thus generated and passed to
the amplifier, and thereafter to the biological object.
In this apparatus pulses of highly regulated, preset parameters
are generated. It lacks the ability to assess the state of the
biological object and dynamics of changes in this state, thus
leading to unwarranted prolongation of the stimulation procedure
and possible overdosage.
Also known in the art is an electrostimulator, comprising
connected in series pulse generator, duration shaper, amplitude
shaper in the form of a power amplifier, and an active electrode
to be applied to a section of tissue (SU, A, 1011130).
Here the pulse generator produces pulses of the desired
stimulation period, each pulse triggering the stimulus duration
shaper, in turn controlling the amplitude shaper to generate
current pulses passed via the electrodes.
This design configuration suffers the same deficiencies as the
herein above discussed known in the art apparatus.
SUMMARY OF THE INVENTION
This invention is to provide a method for generating electric
pulses for biological object stimulation and an apparatus thereof
to generate electric pulses adaptable to the state of the
biological object.
This is achieved by a method for generating electric pulses for
biological object stimulation, comprising generation of pulses of
a specified repetition rate, duration modulation of each pulse,
generation of pulse packets of specified duration of packets and
pauses between them and with ramp variation of the duration of
pulses of the specified repetition rate, amplification of
stimulation pulses constituting the pulse packet and applying
these pulses to the biological object via the electrodes, and at
the same time setting the maximal duration of pulses of the
specified repetition rate in the pulse packets in accordance with
the individual sensitivity of the biological object to stimulation
treatment. According to the invention, the duration of the packet
of stimulating pulses applied to the biological object is varied
in accordance to evaluated electrophysiological parameters of the
state of the interelectrode section of the biological object, this
evaluation being carried out simultaneously with biological object
stimulation.
It is expedient to use the impedance of the interelectrode section
of the biological object as the electrophysiologic parameter, by
which the state of the biological object is evaluated, using the
time characteristics of the electric signal appearing after the
trailing edge of each stimulating pulse to evaluate this
impedance.
It is also possible to use the modified duration of the packet of
stimulating pulses with a specified repetition rate, and, if the
modified packet duration is less than a preset value, allowing the
next packet of stimulating pulses to be passed to this given
section of the biological object, or inhibiting further
stimulation if the modified duration exceeds or is equal to a
preset limiting value.
It is also expedient to generate complementary inverted electric
pulses to affect the section of the biological object.
These and other objectives are achieved by an apparatus for
generating electric pulses (electric pulse generator) for
biological object stimulation, according to this invention, having
a pulse generator, a pulse duration modulator with one input
thereof connected to the pulse generator output, and a stimulating
pulse power amplifier with the input thereof connected to the
pulse duration modulator output and with the outputs thereof
connected to the electrodes applied to a section of the biological
object during stimulation. A first signal shaper has an input
thereof connected to the output of the stimulating pulse power
amplifier and has signals evaluating the biological object's
response to stimulating pulse generated at the output thereof to
control the duration of the stimulated pulses packet. A
variable-duration pulse packet generator has an input thereof
connected to the first signal shaper output. A second signal
shaper generates a signal proportional to the stimulating pulse
package duration and with leading and trailing edges varying at a
constant rate and with the input thereof connected to the output
of the variable-duration pulse generator. A modulation control
signal clipper has one input thereof connected to a signal level
presetter and has another input thereof connected to the second
signal shaper output, with the modulation control signal clipper
output connected to the second input of the pulse duration
modulator.
The electric pulse generator may further comprise a time
discriminator to generate a stimulation completion signal at its
output, with one input of the time discriminator connected to the
output of a time discriminator controller, the input whereof is
connected to the output of the stimulating pulse power amplifier,
and with the other input of the time discriminator connected to
the variable-duration pulse generator output.
The second input of the time discriminator controller or the third
input of the time discriminator may be connected to the pulse
generator output.
It is advantageous that the electric pulse generator comprise a
timer with the input thereof connected to the output of the time
discriminator controller, and a controllable power supply with the
input thereof connected to the timer output to disable the power
supply, wherein the second input of the timer is connected to the
pulse generator output.
It is also advantageous to connect the output of the time
discriminator to the third input of modulation control signal
clipper or the second input of the controllable power supply.
Furthermore, it proved to be advantageous that the electric pulse
generator be complemented with a switch located between the
electrodes and the stimulating pulse power amplifier.
The first signal shaper and the variable-duration pulse generator
may be embodied as a multivibrator, designed with IGFETs, with
resistors in the sources of transistors of the first stage and
with a capacitor connected to the source of the p-channel
transistor, so that the other capacitor lead constitutes the input
to the first signal shaper. The first stage of the multivibrator
is provided with a feedback loop of series connected diode and
capacitor, wherein the output of the second stage of the
multivibrator constitutes the output of the variable-duration
pulse generator. The second signal shaper may be embodied as an
IGFET integrator, with resistors between the voltage supply
circuits and the transistor sources.
It is also advantageous that the pulse duration modulator comprise
an IGFET amplifier with a differentiating network at the amplifier
input, the time constant of this network variable by a separate
IGFET, the gate whereof is connected to an input of the modulator
and with the differentiating network input constituting the other
input of the modulator.
The signal level presetter may comprise an IGFET integrator with
resistors installed between the supply buses and the transistor
sources and with the integrator input connected via switches to
the voltage supply buses.
It proved suitable to embody the pulse generator with an IGFET
multivibrator, with the first stage thereof comprising an IGFET
amplifier, with an inertial resistor-capacitor network in the
feedback loop, and with complementary IGFETs between the voltage
supply buses and the transistor sources, the interconnected gates
of these complementary IGFETs constituting the input of the first
stage and the amplifier output constituting the output of the
first stage of the multivibrator.
It is also advantageous that the time discriminator controller
comprise series connected resistor and inverter, a first pulse
counter with the data input thereof connected to the inverter
output, the counter control input connected to its output and with
the counter reset input constituting the controller input, a
second pulse counter with the data input and thereof connected to
the reset input of the first counter, with the control input of
the second counter connected to its output and with the reset
input of the second counter connected to the output of the first
counter.
It is desirable that the time discriminator comprise an OR gate
and a pulse counter with the reset input thereof connected to the
OR gate output, the data input constituting the time discriminator
input and the control input of the counter connected to its
output.
It is also desirable that the controllable power supply comprise a
voltage supply and a flip-flop with the set input thereof
connected via a switch to the output of the voltage supply, with
the reset inputs thereof constituting the inputs of the
controllable power supply, and with the output thereof connected
to the control input of an electronic key, the input whereof is
connected to the voltage supply.
BRIEF DESCRIPTION OF THE DRAWINGS
The invention will now be described in greater detail with
reference to specific embodiments thereof and to accompanying
drawings, wherein:
FIG. 1 (a, b, c, d, e) shows the time diagrams of electric
pulses across the electrodes;
FIG. 2 shows the block diagram of the electric pulse
generator, according to the invention;
FIG. 3 shows the block diagram of the electric pulse
generator with a time discriminator, according to the invention;
FIG. 4 shows another embodiment of the electric pulse
generator shown in FIG. 3;
FIG. 5 shows yet another embodiment of the electric pulse
generator, according to the invention;
FIG. 6 shows the block diagram of an electric pulse
generator with a timer, according to the invention;
FIG. 7 shows another embodiment of the electric pulse
generator with a timer, according to the invention;
FIG. 8 shows the block diagram of the electric pulse
generator with an embodiment of the stimulation energy limiting,
according to the invention;
FIG. 9 shows the electric pulse generator shown in FIG. 8
with stimulation disabling, according to the invention;
FIG. 10 shows the block diagram of the electric pulse
generator with an electrode switch, according to the invention;
FIG. 11 is an electric schematic, showing the first signal
shaper, according to the invention;
FIG. 12 is an electric schematic, showing the second signal
shaper, according to the invention;
FIG. 13 is an electric schematic, showing the pulse
duration modulator, according to the invention;
FIG. 14 is an electric schematic, showing the signal level
presetter, according to the invention;
FIG. 15 is an electric schematic, showing the pulse
generator, according to the invention;
FIG. 16 is an electric schematic, showing the time
discriminator controller, according to the invention;
FIG. 17 is an electric schematic, showing the time
discriminator, according to the invention;
FIG. 18 is an electric schematic, showing the power supply
according to the invention;
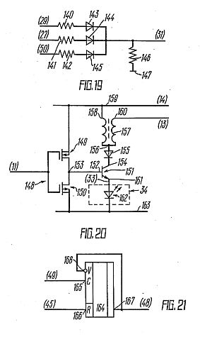
FIG. 19 is an electric schematic, showing the signal level
clipper, according to the invention;
FIG. 20 is an electric schematic, showing the power
amplifier, according to the invention and
FIG. 21 is an electric schematic, showing the timer,
according to the invention.
ELECTRO-NEURO-ADAPTIVE STIMULATOR
WO0069516
[ PDF ]
Also published as: EP1053715 //
EP1053715 // EP1053715 // RU2145186 //
DE69824894
The present invention pertains to medicine and may be used in
different scientific and technical fields where a biological
subject is studied in order to obtain information about the
complex resistance components (electrical conduction) of its
tissues. The present invention is used for improving the
measurement precision of the electrical conduction in organic
tissues and relates to a method that comprises placing electrodes
on predetermined sections of the subject's skin. A high-quality
inductance coil is connected at a predetermined moment to a DC
voltage supply and saturated with electromagnetic energy, after
which the coil is instantaneously connected to the electrodes.
Free oscillations occur in an oscillation circuit, wherein the
elements of said circuit are the coil induction and the complex
resistance of the tissues in the electrode gap. After measuring
the parameters of said oscillations, it is possible to calculate
the complex resistance components (electrical conduction) of the
biological subject's tissues.
TECHNICAL FIELD
[0001] The invention relates to medicine, and particularly, to
electroneuroadapting stimulators, and can be used for
electrostimulation procedures for medical, prophylactic and
diagnostic purposes.
BACKGROUND OF THE INVENTION
[0002] Nowadays there are widely applied electrostimulators -
devices that act upon the body with electric signals of various
form, duration and power.
[0003] Most of such devices are of little effect because they are
not supplied with the control system of the body reaction upon the
electrostimulation (for example, electrostimulators, protected by
the USA patents, such as No3511641, MK pi . A61N1/36, in 1966;
No3589370, MK pi . A61N1/36, in 1967; No4177819, MK pi . 4
A61N1/36, in 1979; author's certificate of USSR No865300, MK pi .
4 A61N1/36, in 1981; No1034750, MK pi . 4 A61N1/36, in 1983;
No1351612, MK pi . 5 A61N1/37, in 1987).
[0004] More consummate are electrostimulators that allow to
determine the time of the action by the reaction of the body upon
the electrostimulation. Such devices were called
electroneuroadapting stimulators or bioelectric regulators of
psychosomatic homeostasis, as they regulate functional condition
of the body with signals, similar to nerve impulses.
[0005] Known in the art is an electrostimulator described in the
author's certificate of USSR No1817335, M PI K 6 A61N1/36,
published in 1995, From.No24, that allows to set the action dose
according to the body reaction upon this action. The
electrostimulator consists of a pulsed oscillator, a modulator, a
power amplifier, active and passive electrodes, a differentiator,
an indicator, an envelope curve former, a multiplier, and an
energy stimulus controller. The disadvantage of this
electrostimulator is low accuracy of determining the body
adaptation to the stimulating action that leads to reduction of
the therapeutic effect of the device.
[0006] Electrostimulating device, protected by the patent of
Russian Federation No2091089 MTTK 6 A61N1/36, published in 1997,
From No27, that is unlike electrostimulator, protected by the
author's certificate No1817335, additionally contains a signal
conditioner, its inputs being connected to the outputs of the
pulsed oscillator and the power amplifier, a time gate and a
summator connected between the envelope curve former and the
multiplier. It results in increasing of the speed of tracking of
the body reaction upon the stimulating action, increasing of the
dosage accuracy, and, consequently, the effect of treatment. The
disadvantage of this electrostimulating device is low diagnostic
capabilities, as diagnostics is carried out by frequency and
intensity of flashes of the light-emitting diode indicator
switched into the supply circuit of the power amplifier and, to a
greater extent, depends upon the subjective perception of the
person conducting the experiment.
[0007] A bioelectrical regulator of psychosomatic homeostasis,
protected by the patent of Russian Federation No2068277, M PI K 6
A61N1/36, A61H39/00, published in 1996, From.No35, is supplied
with higher accuracy of diagnostics (disclosing the character of
pathology) and allows to prognosticate the effect of treatment.
[0008] This bioelectric regulator of psychosomatic homeostasis
(electroneuroadapting stimulator) consists of a square-wave
generator, connected in series; a stimulating signal forming unit;
a switching-type amplifier supplied with a transformer output,
connected to the active and passive electrodes; connected to the
active electrode a concatenated half-wave rectifier, a measuring
unit of duration and speed of the duration change of the first
halt-wave of forced oscillations, a unit of indication and
control; and the a set up unit of parameters of stimulating
signals, connected to the second input of the stimulating signal
forming unit. The accuracy of diagnostics is increased due to the
duration of the first half-wave of damped oscillations testifying
to the character and deepness of the pathology, and the speed of
the duration change testifying to the results of treatment.
[0009] The disadvantage of this bicelectric regulator of
psychosomatic homeostasis, used as prior art, consists in that due
to the narrow-band output of the switching-type amplifier the
change of the area of action leads to the change of the level of
the stimulating signal that decreases the effect of treatment and
accuracy of diagnostics.
SUMMARY OF THE INVENTION
[0010] Technical achievement of application of this invention
consists in creation of electroneuroadapting stimulator providing
higher effect of treatment and wider diagnostic capabilities due
to coordination of the level of the stimulating signal with
electrophysiological parameters of the body area being acted upon.
[0011] The above mentioned technical achievement is reached by the
fact that electroneuroadapting stimulator comprising the power
supply; the set up unit of parameters of stimulating signal; the
active and passive electrodes; and the reactive load
switching-type amplifier, the active electrode being connected to
one of its taps, and the passive electrode being connected to the
other tap; includes a microprocessor with the set up unit of
parameters of the stimulating signal being connected to its first
input port; an analog-to-digital converter with its input being
connected to the active electrode, and the output being connected
to the second input port of the microprocessor; and the reactive
load adjusting unit with its input being connected to the first
output of the microprocessor, that has its second output being
connected to the input of the switching-type amplifier, the
reactive load of the switching-type amplifier has a component of
adjustment connected to the reactive load adjusting unit; the
display unit is connected to the third output of the
microprocessor; and the power supply is connected to one of the
taps of the reactive load of the switching-type amplifier. In
accordance with the preferred embodiment of the
electroneuroadapting stimulator, the reactive load of the
switching-type amplifier is performed as an inductance coil having
a ferromagnetic core as a component of adjustment; and the
reactive load adjusting unit contains a comparator, its first
input being simultaneously the input of the adjusting unit, the
second input being the input of the reference voltage and the
output being connected to the control winding of the micromotor
that has its shaft being connected through reducer to the
ferromagnetic core that is installed into the inductance coil, so
that it can be displaced.
[0012] The inductance coil is performed as two-sectional, with the
correlation of windings in the sections from 2:1 to 10:1, the
sections being connected in series. In the reactive load of the
switching-type amplifier, performed as a two-sectional inductance
coil, if the point of junction of the sections is the tap for
connection of the power supply, the end of the section containing
less windings is the tap for connection of the switching-type
amplifier, and the end of the section containing more windings is
the tap for connection of the active electrode. If the point of
junction of the sections is the tap for connection of the active
electrode, the end of the section containing less windings is the
tap for connection of the switching-type amplifier; and the end of
the section containing more windings is the tap for connection of
the power supply and the passive electrode. If the point of
junction of the sections is the tap for connection of the
switching-type amplifier and the passive electrode, the end of the
section containing less windings is the tap for connection of the
power supply; and the end of the section containing more windings
is the tap for connection of the active electrode. If the point of
junction of the sections is the tap for connection of the
switching-type amplifier, the end of the section containing less
windings is the tap for connection of the power supply and the
passive electrode; and the end of the section containing more
windings is the tap for connection of the active electrode.
[0013] The inductance coil should have high quality of 500, the
inductance within 1.0+/-0.9 henry, and the component of adjustment
should provide the change of the inductance of the coil within
0.5...1.0 of the largest extremum.
BRIEF DESCRIPTION OF THE DRAWINGS
[0014] The invention is illustrated by the drawings shown
in Fig.1...Fig.5.
[0015] Fig.1 shows a modular circuit of the claimed
electroneuroadapting stimulator.
[0016] Fig.2 shows an electric circuit of the
switching-type amplifier.
[0017] Fig.3 shows variants of connecting the two-sectional
inductance coil as a reactive load of the switching-type
amplifier.
[0018] Fig.4 shows a structural diagram of the reactive
load adjusting unit of the switching-type amplifier.
[0019] Fig.5 shows an algorithm of operation of the
microprocessor.
[0020] In Fig.1...Fig.5 there are numbered and lettered the
following:
1 - set up unit of parameters of the stimulating signal;
2 - microprocessor;
3 - switching-type amplifier;
4 - reactive load of the switching-type amplifier;
5 - active electrode;
6 - passive electrode;
7 - analog-to-digital converter,
8 - reactive load adjusting unit of the switching-type amplifier;
9 - display unit;
10 - power supply;
11 - connection of the reactive load adjusting unit to the
component of adjustment of the reactive load;
12 - input of the reactive load adjusting unit of the
switching-type amplifier;
13 - input of the switching-type amplifier;
14 - output of connection of the switching-type amplifier to the
reactive load;
15 - comparator,
16 - micromotor;
17 - reducer.
I - section of the inductance coil containing less windings;
II - section of the inductance coil containing more windings;
E - bus-bar of the power supply;
V1 - transistor (crystal triode);
V2 - crystal diode;
tM - duration of firing pulses;
TM - firing pulse repetition period;
NM - number of firing pulses in the series;
tau ccp - duration of the series of firing pulses;
tC.R. - duration of the stimulating action;
FC.D. - repetition frequency of the stimulating action;
tK- control time;
t - current time;
Um - amplitude of the first half-wave of free oscillations;
f - frequency of free oscillations;
T0.5 - time of damping of free oscillations to level of 0,5Um;
DELTA Um - change of the amplitude of the first half-wave during
the duration of one series of firing pulses.
DESCRIPTION OF THE PREFERRED EMBODIMENT
[0021] The claimed electroneuroadapting stimulator (Fig.1)
consists of connected in series set up unit 1 of parameters of the
stimulating signal, a microprocessor 2 and a switching-type
amplifier 3 with a reactive load 4, active 5 and passive 6
electrodes being connected to it. The input of the
analog-to-digital converter (ADC) 7 that converts electric
potential difference between the active 5 and passive 6 electrodes
into a string of codes is connected to the active electrode 5. The
output of ADC 7 is connected to the second port of the input of
the microprocessor 2. The reactive load 4 contains a component of
adjustment that changes its reactive component within 0.5...1.0 of
the largest extremum. The component of adjustment of the reactive
load 4 is connected to the reactive load adjusting unit 8, having
its input connected to the second output of the microprocessor 2.
To the third output of the microprocessor 2 there is connected a
display unit 9, meant for displaying the parameters of firing
pulses and the stimulating action. The power supply 10 provides
precise supply for the switching-type amplifier 3 through the
reactive load 4 and reference voltage for the adjusting unit 8. In
the conventional stimulator, the switching-type amplifier 3 (Fig.
2) is represented as a transistor V1, its base (input 13) being
delivered firing (enabling) pulses of normed amplitude and
predetermined duration from the microprocessor 2, and its
collector being connected through the protecting diode V2 to one
of the taps of the reactive load 4 (output 14).
[0022] In accordance with a preferred embodiment of the
electroneuroadapting stimulator, the reactive load 4 is performed
as a two-sectional inductance coil (Fig. 3) with the correlation
of windings in the sections from 2:1 to 10:1. As a component of
adjustment, the inductance coil has a ferromagnetic core 11. In
this case, the reactive load adjusting unit 8 (Fig. 4) contains a
comparator 15, its first input being connected to the output 12 of
the microprocessor 2, the second input being connected to the
bus-bar E of the power supply 10, and the output being connected
to the control winding of the micromotor 16, having its shaft
mechanically connected through reducer 17 to the ferromagnetic
core 11.
[0023] Variants of connection of the taps of the reactive load 4
are shown in Fig. 3a,..Fig. 3r.
[0024] Fig. 3a shows the point of junction of the sections 1 and
11 being connected to the passive electrode 6 and the bus-bar E of
the power supply 10, the section I containing less windings being
connected to the output 14 of the switching-type amplifier 3, and
the section 11 containing more windings being connected to the
active electrode 5. Fig. 36 shows the point of junction of the
sections I and II being connected to the active electrode 5, the
section 1 being connected to the output 14 of the switching-type
amplifier 3, and the section II being connected to the passive
electrode 6 and the bus-bar E of the power supply 10. Fig. 3a
shows the point of junction of the sections I and II being
connected to the output 14 of the switching-type amplifier 3 and
the passive electrode 6, the section I being connected to the
bus-bar E of the power supply 10, the section II being connected
to the active electrode 5. Fig. 3r shows the point of junction of
the sections I and II being connected to the output 14 of the
switching-type amplifier 3, the section I being connected to the
bus-bar E of the power supply 10 and the passive electrode 6, the
section II being connected to the active electrode 5.
[0025] The principle of operation of the electroneuroadapting
stimulator is based upon the fact that stimulating signals, that
act upon the tissue structure under the electrode are electric
oscillations in an oscillatory circuit formed by connected in
series reactive load and capacitive and reactive components of
impedance of the tissue structure under the electrode, appearing
together with stopping of action of firing pulse on the input of
the switching type amplifier 3 after it has been disconnected.
Parameters of these oscillations (amplitude, frequency, damping
time) to 90...95% depend only upon electrophysiological condition
of the tissue structure under the electrode.
[0026] It depends on the constancy of level of oscillations
energy, stability of the parameters of the reactive load and
elimination of influence of impedance of contact "electrode -
tissue under the electrode". Stability of the parameters of the
reactive load is achieved by a high-quality inductance coil (with
high quality over 500). Constancy of the oscillations energy is
achieved due to being equal to the energy accumulated in the
reactive load with the switching-type amplifier 3 being switched
on and depends only upon the duration of firing pulse. To exclude
any influence upon the parameters of the electric oscillations of
impedance of contact "electrode - tissue under the electrode", it
is enough to use the electrodes having the contact area over 5
mm<2> and choose resonance frequency of the oscillatory
circuit over 100 kHz at the expense of the parameters of the
reactive load. Under such conditions, the value of the capacitive
component of impedance of contact "electrode - tissue under the
electrode" is two orders less than the value of the capacitive
component of impedance of the tissue structures under the
electrode. Thus, with high stability of firing pulses,
characteristics of the switching-type amplifier 3, the parameters
of the reactive load 4, that can be easily realized under modern
technical conditions, and, provided that the contact area is over
5 mm<2> and the resonance frequency of the oscillatory
circuit is over 100 kHz, the parameters of free oscillations in
the oscillatory circuit will reflect biochemical processes and
physical condition of the tissue structures under the electrode
with high accuracy, as the active component of impedance of these
structures characterized blood filling and admittance of the
intertissular medium and capacitive component characterizes
cellular and intercellular polarization. Disbalance of the
biochemical processes under the influence of the stimulating
signal will cause the changing of both active and reactive
component of the impedance of the tissue structures under the
electrode. In its turn, this changing causes changing of the
parameters of free oscillations in the oscillatory circuit formed
by series connection ot the inductance of the reactive load 3 and
the capacitive component of impedance of the tissue structures
under the electrode. Measuring the parameters of these
oscillations allows to judge about the body reaction upon the
stimulating action. When the balance of the biochemical processes
is achieved, the stimulating action stops its influence upon the
value of impedance of the tissue structures under the electrode
and it should be stopped, as overdose of the stimulating action
may lead to negative result. Therapeutic effect of applying the
electroneuroadapting stimulator of psychosomatic homeostasis in
many respects depends upon the accuracy of determining the moment
when the balance of the biochemical processes is achieved, i.e.
when the impedance of the tissue structures under the electrode
stops changing under the influence of the stimulating signal.
[0027] Operation of the claimed electroneuroadapting stimulator of
psychosomatic homeostasis is described taking into account the
algorithm of operation of the microprocessor 2 shown in Fig. 5.
[0028] Switching on the electroneuroadapting stimulator is carried
out with the set up unit 1 of parameters of the stimulating signal
that is performed as a push-button control panel and the
parameters of firing pulses - duration of firing pulses tH, firing
pulse repetition period TH, number of firing pulses in series NH,
duration of the series of firing pulses tau ccp, duration of the
stimulating action tC.R., and repetition frequency of the
stimulating action FC.R. are recorded into on-line storage of the
microprocessor 2. After the parameters of firing pulses have been
recorded into the on-line storage of the microprocessor 2, the
timer is activated, control time and current number of pulse are
set to zero and there starts counting of the current time and
comparing it with the control time. If the current time is equal
to the control one (t-tk=0), firing pulse-shaping circuit is
started and it is reset when the difference between the current
and control time is equal to tH. Pulses with normed amplitude are
delivered from the output of the firing pulse-shaping circuit to
the input 13 of the switching-type amplifier 3 and switch it on.
During action of firing pulse, there is conducted electric current
through the inductance coil of the reactive load 4 and inside the
inductance coil there is accumulated electromagnetic energy that
can be determined by the following expression:
EMI8.1
L - is value of the inductance of the reactive load 4,
E - is voltage of the power supply 10,
r0 - is internal resistance of the power supply 10,
rL - is ohmic resistance of the reactive load 4,
rK pi - is resistance of the open switching-type amplifier 3,
tH - is duration of the pulse,
[0029] After the action of firing pulse has been stopped, the
switching-type amplifier 3 is switched off and in the oscillatory
circuit, formed by series connection of the inductance of the
reactive load 4, equivalent capacitance C3 and equivalent ohmic
resistance R3 of the tissue structures under the electrode, there
appear electric oscillations that can be described by the
following expression:
EMI8.2
Um - is amplitude of the first half-wave of oscillations;
alpha - is speed of oscillation damping;
f - is frequency of oscillations;
L is inductance of the reactive load 4;
C3 - is equivalent capacitance of the tissue structures under the
electrode;
E - is voltage of the power supply 10;
r0 - is internal resistance of the power supply 10;
rL - is ohmic resistance of the reactive load 4;
rK pi - is resistance of the switching-type amplifier 3 being
switched on;
tH - is duration of the firing pulse;
R3 - is equivalent ohmic resistance of the tissue structures under
the electrode.
[0030] From the output 7 of ADC, voltage codes between the active
5 and passive 6 electrodes are read with the frequency that is 10
- 20 times higher than the oscillations frequency and are
delivered to the microprocessor 2. In the microprocessor 2,
supplied with special subprogram, there are determined Um -
amplitude of the first half-wave of oscillations, f - frequency of
oscillations and T0.5 - time of damping of amplitude of
oscillations to level 0.5. Then the control time is set equal to
the time of start of the next firing pulse (tx DELTA t-tM+TM) and
1 is added to the current number of the pulse (N DELTA N+1); after
that the new number of the pulse is compared with the set value of
pulses in N series and, if they are not equal, another firing
pulse is formed and new values Um,f, and T0.5 are determined; if
they are equal, the control time is set equal to the time of start
of new series of firing pulses (tK DELTA t-TM(N-1)-tk+ tau cep),
the current number of the pulse is set equal to zero (N DELTA 0)
and subprogram of trimming of the inductance coil of the reactive
load 4 is started. According to this program, change Um during the
duration of series of firing pulses is determined and, in
accordance with the value of this change, PWM voltage delivered to
the input 8 of the reactive load adjusting unit is corrected, and
with the help of the component of adjustment - the ferromagnetic
core 11 the inductance of the inductance coil is being changed
until the value Um is not equal to the initial value, This allows
to increase the accuracy of determining the body reaction upon the
stimulating action, as when the equivalent capacitance of the
impedance of the tissue structures under the electrode is being
changed, wave resistance of the oscillatory circuit is maintained
constant.
[0031] The sign of no reaction of the body upon the stimulating
action and termination of the stimulation is determined by
constancy of at least one of parameters of electric oscillations
(Um, f, and T0.5) during the next series of firing pulses, i.e.
when the following condition is executed:
DELTA Um=Um1 - UmNH = 0, or DELTA f = DELTA f1 - DELTA fNH = 0, or
DELTA T0.5 = T<1>0.5 - T<N>0.5 = 0;
DELTA Um - is change of the amplitude of the first half-wave of
electric oscillations during the duration of series of firing
pulses;
Um1 - is the amplitude of the first half-wave of electric
oscillations from the first pulse in the series;
UmNH - is the amplitude of the first half-wave of electric
oscillations from the last pulse in the series;
DELTA f- is the change of the frequency during the series of
firing pulses;
f1 - is the frequency of electric oscillations after the first
pulse in the series;
fNH - is the frequency of electric oscillations after the last
pulse in the series;
DELTA T0.5 - is the change of time of damping of amplitude of free
oscillations to level 0,5 during the duration of the series of
firing pulses;
T<1>0.5 - is the time of damping of amplitude of
oscillations to level 0,5 after the first pulse in the series;
T<N>0.5 - is the time of damping of amplitude of
oscillations to level 0,5 after the last pulse in the series.
[0032] Constancy of one of the parameters of electric oscillations
during the action of the stimulating signals (NH signals with
pulse repetition period TH) testifies to the electrophysiological
condition of the tissue structures under the electrode being
unchanged or changed within the sensitivity of the device; the
further action may convert it from tonic into stress one and
eliminate therapeutic effect.
[0033] Execution of one of those conditions will lead to switching
off of the device.
[0034] In accordance with the subprogram of indication and
diagnostics, there are generated signals for reflecting the
characteristics allowing to judge objectively about the
electrophysiological condition of the tissue structures under the
electrode before the stimulating action and after that. Such
characteristics are power level of the stimulating action (tH and
NH are reflected), values of the active and reactive components of
impedance of the tissue under the electrode at the beginning and
at the end of the action (there reflected R3, C3, DELTA R3 and
DELTA C3 - the final values of the active and reactive components
of impedance and their change during the time of the action).
[0035] The effect of therapeutic action is increased due to the
increase of accuracy of dosage of the stimulating action.
Diagnostic capabilities are enlarged due to objectivizing of the
results of the action.
[0036] The claimed electroneuroadapting stimulator can be easily
made of the components available in industry. The microprocessor 2
ADC 7 can be made of programmable logic devices FLEX 10k, the
switching-type amplifier can be made of KT815 transistor. An
inductance coil with the cup core E-18, E-22 can be used as the
inductance coil.
METHOD FOR MEASURING THE ELECTRICAL
CONDUCTION OF ORGANIC TISSUES
WO9848693
[ PDF ]
Inventor : KARASEV ALEXANDR ALEXANDROVICH [RU]
The present invention pertains to medicine and may be used in
different scientific and technical fields where a biological
subject is studied in order to obtain information about the
complex resistance components (electrical conduction) of its
tissues. The present invention is used for improving the
measurement precision of the electrical conduction in organic
tissues and relates to a method that comprises placing electrodes
on predetermined sections of the subject's skin. A high-quality
inductance coil is connected at a predetermined moment to a DC
voltage supply and saturated with electromagnetic energy, after
which the coil is instantaneously connected to the electrodes.
Free oscillations occur in an oscillation circuit, wherein the
elements of said circuit are the coil induction and the complex
resistance of the tissues in the electrode gap. After measuring
the parameters of said oscillations, it is possible to calculate
the complex resistance components (electrical conduction) of the
biological subject's tissues.
TECHNICAL FIELD
[0001] The invention relates to the medicine and can be used in
various fields of science and engineering that require information
about the components of the complex impedance of the biological
object's tissue.
BACKGROUND OF THE INVENTION
[0002] Lately, the trends of scientific and diagnostic studies of
biological objects that make provision for analysis of parameters
of measured complex impedance of various body areas of a
biological object, so-called impedance methods, are being more and
more widely practised. The main point of these methods is to
measure the electrical parameters of the skin of a biological
object in various body areas and compare them with the already
studied parameters of the standard skin sample. Having determined
to what extend these parameters deviate from the standard, a
conclusion can be drawn about skin condition, diseases and other
phenomena in a living organism...
[0021] The disadvantage of the prior art lies in its low accuracy
because of instability of frequency of self-excited oscillator and
the amplitude of these oscillations being affected by the
resistance of skin under the electrodes.
[0022] The aim of the invention is to increase the accuracy of
measuring the conductivity of the biological object's tissue.
SUMMARY OF THE INVENTION
[0023] The above mentioned aim is achieved by the fact that in the
method for measuring the conductivity of the biological object's
tissue that consists in superimposing the electrodes upon the skin
area under examination and determining the components of the
complex impedance of the conductivity of the biological object's
tissue by parameters of electrical oscillations in the oscillatory
circuit, including as its component the complex impedance of the
tissue between the electrodes, the conductance coil preliminarily
saturated with electromagnetic energy is connected to the
electrodes and the components of the biological object's tissue
are determined by the parameters of free oscillations that set on
in the oscillatory circuit, including as its components the
inductance of the inductance coil, the ohmic resistance and the
capacitance of the biological object's tissue...
[0029] The feature of the invention, i.e. the connection of
saturated with electromagnetic energy inductance coil to the
electrodes placed upon the biological object's skin area under
examination, in order to determine the components of the complex
impedance of the biological object's tissue, is unknown from the
available prior art. Determining of the components of the complex
impedance by parameters of free oscillations in the oscillatory
circuit, having the inductance of the inductance coil saturated
with electromagnetic energy and the impedance of the biological
object's tissue between the electrodes is unknown as well.
BRIEF DESCRIPTION OF THE DRAWINGS
[0030] The essence of the applied method is revealed by the
description of operation of the device (for the functional diagram
of the device see Fig.1) that provides the applied method for
measuring the conductivity of the biological object's tissue being
put into practice.
The device consists of high-quality conductance coil 1, standard
source of constant voltage 2, switch 3, active electrode 4 and
passive electrode 5, that are put upon the biological object's
skin area 6 under examination, in order to measure the
conductivity of the tissue 7 between the electrodes. The passive
electrode 5 is connected to a common bus 8, that, in its turn, has
one of the terminals of the source 2 and the lead of the
conductance coil 1 being connected to it. The unit of control and
measurement connected to the tap of the conductance coil 1
provides the measurement of the parameters of free oscillations in
the oscillatory circuit...
Alexandr REVENKO, et al. -- Russian Patents
RU 1817335
The invention belongs to medicine, to electro-stimulation. The aim
of the invention is to increase the precision of dosing of
influence according patient’s response. The device has few
elements and the differentiating element, which manages the
characteristics of signals.
RU 72402
A construction for ply-factors influence.
RU 2135226
The invention belongs to medicine technology, in particular to
electronic devices of electro-stimulation and intended for the
therapeutic non – invasive individual and dosed influence. This
type of influence determines on choosing zones and time cycle. The
influence realizes to a skin by electrical impulses with aim of
regulation to the human physiological systems and achieving
anesthetic effect.
RU 2266760
METHOD FOR DETERMINING ELECTRIC PULSE SCENAR-THERAPY OPTIMUM
LOCALIZATION ZONES
[ PDF ]
1. The ways of influences, the most optimal for SCENAR therapy
were defined: local, symmetrical, horizontal, general zone, where
the reactions of the body are defined: IR, DR, D, 0. An operator
consecutively determines body reactions with next influence
depending of increasing of the patient response.
2. The algorithm of influence of SCENAR therapy depends of two
comparing reactions and next influence is made to the high
reaction. Few different ways are determined of this algorithm.
FIELD: medicine. ^ SUBSTANCE: method involves applying primary
treatment using pulsating SCENAR current sequentially arranging
the device in zone of complaint and additionally in zone arranged
symmetrically to the zone of complaint and horizontally
equidistant from vertebral column line. Sequential positioning is
carried out with initial SCENAR response values being determined
until a value differing from the previous ones is detected.
Individually dosed SCENAR treatment factor value is determined in
position distinguished by maximum value of initial SCENAR response
value from passed positions. The initial SCENAR response values
measurement is continued in determining individually dosed SCENAR
treatment factor values in positions distinguished by growing
initial response values.; Current SCENAR response values are
determined in the positions characterized by growing individually
dosed SCENAR treatment factor values where organism response to
pulsating SCENAR current vanishes when electric skin tissue
impedance stops changing. Zone of maximum current SCENAR response
value characterized in organism response to pulsating SCENAR
current action vanishing is selected as optimum for applying
SCENAR therapy. The same is done in one of two positions having
individually dosed SCENAR treatment factor values characterized in
organism response to pulsating SCENAR current action vanishing.
The position is distinguished by greater value of individually
dosed SCENAR treatment factor.; Zone of maximum current SCENAR
response value characterized in organism response to pulsating
SCENAR current action vanishing is selected as optimum for
applying electric pulse SCENAR therapy. ^ EFFECT: enhanced
effectiveness in determining zone localization optimum for
applying electric pulse SCENAR therapy.
RU2289388
METHOD OF ACUPUNCTURE DIAGNOSTICS AND METHOD OF
CORRECTION OF FUNCTIONAL STATE OF ORGANISM
1. The ways of measuring of meridians points were determined, also
the conclusion of functional and adaptation state of organism were
invented.
2. The different manners of the influence to the functional and
adaptation state of the body with SCENAR therapy and therapeutic
blanket were invented.
FIELD: medicine; reflex diagnostics of human body's functional
state; reflex therapy. ^ SUBSTANCE: methods can be used for
diagnostics and correction of state of organism by means of
electro-stimulation. Method of acupuncture diagnostics is based
upon measurement of electric conductivity of skin in 24
biologically active representative points of 12 pair meridians of
acupuncture skin areas, upon building reference spreadsheet of
electric conductivities and individual corridor. Electric
conductivity is estimated on the base of direction values which go
out of limits of individual corridor borders.; Borders of
individual corridor are found from relations of T=Ca.Kt+Delta1 and
L= Ca.Kl-Delta2, where T is top border of individual corridor, Ca
is average normalized electric conductivity of all meridians, Kt
=1,05-1,2, namely normalizing coefficient of top border of
individual corridor, Delta1=2-5 is value of tolerance which
compensates errors in measurement for determination of top border
of individual corridor, L is lower border of individual corridor,
Kl =0,8-0,95 is normalizing coefficient of lower border of
individual corridor, Delta2=2-5 is value of tolerance which
compensates errors in measurement for determination of lower
border of individual corridor.; Pair meridians are found where one
biologically active representative point has electric conductivity
coinciding with individual corridor, and the other has electric
conductivity being higher than top and being lower than lower
border of individual corridor. Method diagnostics has higher
precision due to determination of borders of individual corridor
of any person. Method of correction of functional state of
organism is based upon measurement of electric conductivity of
skin in 24 biologically active points of 12 pair meridians of
acupuncture skin areas, upon building of normalization spreadsheet
of electric conductivities and upon building of individual
corridor, and upon evaluation of electric conductivity from
direction of values which go out of borders of individual
corridor.; Correction of functional state of organism is preformed
due to electric influence onto biologically active points. For the
purpose after the individual corridor built, the number of
meridians where electric conductivity of biologically active
representative points exceeds top border of individual corridor
and number of meridians where electric conductivity is lower than
low border of individual corridor as well as the value of meanings
which is smaller and which pair meridians belong to the smaller
quantity. To make stimulating influence, biologically active
points are chosen of those pair meridians which meet the three
conditions.; First condition relates to meridians where one
biologically active representative point has electric conductivity
which coincides with values of individual corridor of standard and
the other biologically active representative point has electric
conductivity being higher or lower than lower border of individual
corridor. Second condition relates to meridians which belong to
smaller quantity of those ones where electric conductivities of
biologically active representative pints go out of borders of
individual corridor. The third condition relates to meridians
where difference in electric conductivities of biologically active
representative points has maximal value.; If individual corridor
is higher than averaged corridor of norm for healthy person, then
electric influence onto biologically active representative points
of selected meridian is carried out at excitation mode, and if
individual corridor is lower than - in mode of brake. ^ EFFECT:
improved efficiency of influence due to correct selection of
points to make influence on.
The invention belongs to medicine technology, in particular to
electronic devices of electro-stimulation and intended for the
therapeutic non – invasive individual and dosed influence. This
type of influence determines on choosing zones and time cycle. The
influence realizes to a skin by electrical impulses with aim of
regulation to the human physiological systems and achieving
anesthetic effect. The technical result of the invention is
increasing of the functional abilities of the device because the
operator can choose parameters of impulses.
FIELD: medical engineering. SUBSTANCE: electrostimulator is used
for noninvasive action on sections of man's cutaneous covering by
electric pulses for rendering of general control effect on
physiological systems of organism. Electrostimulator has
square-pulse generator 2, power amplifier 5 and two electrodes 10
and 11. In addition, it has first sawtooth-voltage generator 4,
power setting assembly 5, trapezoidal signal generator 6,
indicator 12, signal form control assembly 11, and second
sawtooth-voltage generator 16. EFFECT: extended functional
capabilities, improved therapeutic effect.
The invention belongs to medicine technology, in particular to
electronic devices of electro-stimulation and intended for the
therapeutic non – invasive individual and dosed influence. This
type of influence determines on choosing zones and time cycle. The
influence realizes to a skin by electrical impulses with aim of
regulation to the human physiological systems and achieving
anesthetic effect. The technical result of the invention is
increasing of the functional abilities of the device because the
operator can choose parameters of impulses. Also technical result
is increased because of BFB of local physiological reactions on
the grounds of analysis of free vibration’s waves.
Medical equipment, in particular, electronic devices for
electrostimulation of human organism, applicable for action of
electric pulses on areas of human dermatic integument with the aim
of exerting a generally regulatory influence on human physiologic
systems and attaining an analgetic effect. SUBSTANCE: the
electrostimulator has a square-wave unit, control unit, energy
action control unit, output unit, passive and active electrodes,
pulse burst shaping unit, feedback unit, individual norm storage
unit and a sounding signal parameter recording unit. EFFECT:
expanded functional abilities attained due to introduction of
local, physiologic feedback on the basis of analysis of half-waves
of free oscillations of stimulating pulses, improved therapeutic
effect