
rexresearch.com
Steve SEDLMAYR
Microwave Still
Produces "structured" water with novel
properties & health benefits
http://www.personal.psu.edu/tms9/water.html
[ Excerpt ]
Characterization and Properties of
Structured Waters
“Materials Day” at the Materials Research Institute, Penn
State University ( 15 April 2008 )
by Manju Lata Rao, Tania M. Slawecki, M. Richard Hoover,
Prof. Rustum Roy
Introduction and Overview:
Ultradilute and energetically imprinted waters have been observed
to have therapeutic, corrosive or combustible properties although
chemically they remain H2O. H. E. Stanley (Boston U.) cites
63 anomalous properties of water that likely correlate with
structures and phases of water. Martin Chaplin (U. of
London) proposes theoretical models of water clusters: how they
arise and can persist, while Rustum Roy proposes a
nanoheterogeneous model for the structure of water. Empirically
and theoretically, water is understood to possess unusual
properties that correlate with its underlying structure rather
than its chemistry.
Below is a photo of a typical probe-in-water setup and the
resulting standard Raman spectrum for water which exhibits the
standard double-peaked primary –OH stretch band and the much
smaller –OH bending mode peak and even smaller and broader, the
–OH bending and rotation mode as labeled on the graph.
Vertical scaling of the graph is arbitrary since it can depend on
the intensity of the incident laser light as well as the sample
scattering.
Five sample “waters” are presented: silver colloids, energetically
imprinted water, a homeopathic remedy, Sedlmayr
microwave-distilled water, and a “combustible” water as per the
John Kanzius discovery of being able to “burn saltwater”.
These five samples provide a sense of the complexity of water and
shed light on its potential uses in new contexts...
4. Sedlmayr Microwave-Distilled Water
Inventor Steve Sedlmayr was tired of his wife’s water distillation
units breaking. Frustrated with their poor design, he
decided to insert a 2.54 GHz microwave antenna directly into a
water distillation vessel. To his surprise, multiple
distillations of the same water resulted in unusually corrosive
and/or healing properties of this water: those drinking his
microwave-distilled waters began to report surprising healing
effects, but he found he could not store the water in plastic
bottles and, in fact, even the plastic tubing he was using in his
condenser unit appeared to get eaten away by this water.
Yet, it was just… water! How could this be?
Above : Raman spectra of initially identical water samples after
being distilled in one of six differently sized, shaped or coated
vessels. Samples were sent via air mail from Sedlmayr in
Arizona. Room temperature Raman spectra measurements were
acquired approximately 1 week after distillation: clearly, changes
persist.
http://www.localnews8.com/news/local-inventor-creates-allnatural-cosmetics/22378296
Local inventor creates all-natural
cosmetics
IDAHO FALLS, Idaho -
A local inventor is rolling out a line of cosmetics that he says
will make your whole body healthier.
The line is called Eau du Visage.
It is made only from ingredients found in nature, but developer
Steve Sedlmayr of Idaho Falls said the most special ingredient of
all is the water.
He discovered a process to purify the water to the point where its
cell structure is changed. After years of testing, Sedlmayr said
the water's health benefits are astounding.
"It has been able to remove blemishes from the face, scars from
the face -- so it's the basis of all of our products right now,"
Sedlmayr said.
To order products or find out more about them, visit
http://www.eauduvisage.com/.
http://www.lojoule.com/
Lojoule Water
Why Lojoule? The name indicates why. It is a low joule
water, named after the derived unit of energy, work, or amount of
heat in the International System of Units. It is created by
bombarding the water in a very special resonant chamber with low
energy photons at the resonant frequency of the hydrogen and
oxygen bond, creating an entirely different energy of water from
any other on the face of this planet.
http://www.researchgate.net/publication/228085859_Polarized_microwave_and_RF_radiation_effects_on_the_structure_and_stability_of_liquid_water
Polarized Microwave and RF Radiation
Effects on the Structure and Stability of Liquid Water
by
M. Rao, et al.
[ PDF ]
US7119312
Microwave fluid heating and distillation method
Inventor(s): SEDLMAYR STEVEN R [US] +
A microwave energy emitter ( 108 ) is positioned in a microwave
transparent chamber ( 123 ) within a fluid holding vessel ( 106 )
of a microwave containment vessel ( 122 ). The fluid holding
vessel ( 106 ) may be transparent to microwave energy and is
further provided with a microwave reflective component outward,
on, or beyond an exterior surface ( 121 ) of the wall of the fluid
holding vessel ( 106 ). The microwave reflective component
reflects microwaves back into the fluid holding vessel ( 106 ).
The fluid holding vessel ( 106 ) encloses a material that absorbs
microwave energy. An inlet path ( 116 ) and outlet path ( 112 ) is
provided for material to flow in and out of the holding vessel
upon predetermined conditions. Heated material can be condensed
via a condenser ( 124 ) into a collection vessel ( 120 ).; A
controller ( 126 ) is provided to send control signals to a
switching device ( 100 ) for controlling the material flow and
receiving sensing signals for decision generation.
BACKGROUND OF THE INVENTION
[0004] I have invented a new apparatus, machine, and method for
the heating of fluids via microwave frequencies induced into the
material to be heated. The process began by trying to invent a
better water distiller and purification system than the current
one I am using at home. The unit I currently utilize for home has
electrodes in a boiling chamber and the electrodes corrode because
of the impurities in the water that supplies the house. This
started me thinking how I might create a unit that would not have
components that corrode because of the corrosive action of water
in contact with metallic parts. To attempt a cure for this problem
with the current home unit that is now being used I have installed
several water conditioning units in front of it, including carbon
filters and reverse osmosis filters. However this water is more
"aggressive" and the units' electrodes seem to break down more
rapidly and had more failures. The water purification process of
the machine with electrodes heating the water is comparatively
slow with the machine taking 24 hours or more to make 8 gallons of
water and power intensive. The distilled water made is used mainly
for drinking and cooking, as the replenishment times are
prohibitively slow for other high volume usages.
[0005] Since I did not want the process to involve corrosion it
seemed to me that a new way of boiling or heating water was
necessary. I knew that a microwave oven could boil water but after
doing the research found out that microwave ovens create "super
heated water" and that boiling or steaming water was a problem in
a microwave oven. I also did not want to cause microwaves to be
injected into a cavity with another container in the cavity, as
this seems to be a waste of power and efficiency because of the
difference in the cavity geometries. This method has been utilized
in U.S. Pat. No. 6,015,968 Armstrong, U.S. Pat. No. 5,711,857
Armstrong, U.S. Pat. No. 5,286,939 Martin, U.S. Pat. No. 4,694,133
Le Viet, and other patents mentioned in my patents examined
further in this document. I then had the idea of building the
antenna into the middle of the cavity, which held the fluid to be
heated with the cavity being the wave-guide. The concept of having
a remote antenna inserted into a vessel is mentioned in U.S. Pat.
No. 6,175,104 Greene et al. The problem with the '104 patent is
that the antenna, or emitting device, is in direct contact with
the fluid to be heated. As a result of using a material that was
transparent to the microwaves I could design and build a device
that can have an antenna physically isolated from the cavity for
water heating, be in the middle of it, and cause the fluid to be
heated without any direct contact by using the cavity as a wave
guide/resonance chamber. This also causes the material or fluid
surrounding the cavity into which the antenna or microwave
emitting device is located to be evenly irradiated by the
microwaves.
[0006] Others have proposed building microwave fluid heaters with
their design entailing the conventional use of a microwave
generator device located off to one side of the cavity or built
into the side of the cavity, as in U.S. Pat. DES No. 293,128
Karamian, DES No. 293,368 Karamian, U.S. Pat. No. 6,015,968
Armstrong, U.S. Pat. No. 4,671,951 Masse, U.S. Pat. No. 4,671,952
Masse, U.S. Pat. No. 4,694,133 Le Viet, U.S. Pat. No. 4,778,969 Le
Viet, U.S. Pat. No. 4,417,116 Black, U.S. Pat. No. 5,387,780
Riley. They typically use wave-guides to direct the microwaves
from the source into the cavity containing the water or fluid to
be heated or steamed. This invention uses the direct output from
the microwave source or antenna to heat the fluid.
[0007] Another problem with heating water in a microwave is the
super heated water problem. That is, water will heat to over the
boiling temperature of water at sea level of 100[deg.] C. without
boiling, or going into steam. As pointed out in the article Ask a
Scientist Chemistry Archive, SuperHeated Water, by the USA
Department of Energy, obtained from the internet, water heated in
a microwave in a cup will superheat the water, but will not cause
it to steam. A boiling point must be established for other water
molecules to boil. From the above article "Boiling begins at a
temperature when the vapor pressure of a liquid equals the ambient
atmospheric pressure that is above the pool of liquid. However,
you WILL NOT have boiling water if there are no sites for the
vapor (within the liquid) to nucleate (grow) from.
[0008] Good nucleating sites are scratches, irregularities and
other imperfections inside the cup, mug, or in your case the
Pyrex." Thus, when a fork is put into a cup, the super heated
water then explosively boils and steams vigorously. This is also a
problem with very smooth glass, such as a pyrex bowl, and presents
a technical barrier to be solved in the invention that I have
outlined using a pyrex boiling/wave guide chamber. One solution is
to make the pyrex chamber side walls uneven and rough, while
another solution is causing the fluid or matter in the chamber to
be stirred by an internal force, such as a fan, or an external
stimulation, such as an ultrasonic transducer or even low
frequency waves, or a device that rotates when the electric field
is applied due to EMF forces. This is a problem when trying to
heat a fluid to a boiling point and above to produce vapor or
steam. It further helps the thermal distribution through out the
mixture by causing a stirring of the mixture that will even out
the heating throughout the fluid or material being heated.
BACKGROUND OF THE INVENTION-OBJECTS AND ADVANTAGES
[0009] This invention is superior to other microwave fluid heaters
because:
It does not use a vessel that is impervious to corrosion or
degradation because of chemical reaction in the presence of heated
fluid
The microwave generator is surrounded by the medium to be heated
and does not have any power loss due to coupling through wave
guides delivering the microwaves to the medium to be heated
It is very inexpensive to build
It reduces power consumption by large efficiencies
It can be scaled in size from very small to very large
It heats the medium to be heated very quickly
It can be used to purify water or other fluids inexpensively
The microwave generator can be replaced quickly and inexpensively
to or replenish the device
It can generate extremely pure water without contamintants
It can adapt its efficiency to the medium it is trying to heat
It reduces pollution
It can be used to heat water or other fluids
It can be made small enough to be portable
It is one of only a few viable ways to destroy estrogenic
contaminates in water
The microwaves directly irradiate the source, destroying bacteria
and viruses that are susceptible to the wave length of the
microwaves and the heat of the fluid
This invention allows the material to surround the microwave
source and be more evenly radiated than other inventions.
DESCRIPTION OF THE DRAWING FIGURES
[0026] I have included 6 drawings:
[0027] FIG. 1 is a schematic drawing of the invention used
in a water distillation system.
[0028] FIG. 2 is an illustration of the containment vessel
with chamber I had made for this invention.
[0029] FIG. 3 is an illustration of a magnetron removed
from a LG microwave oven.
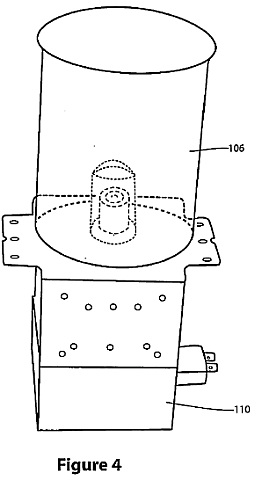
[0030] FIG. 4 is an illustration of the containment vessel
with chamber sitting on a microwave generator source (magnetron)
and the antenna inserted into the cavity or chamber in the
containment vessel.
[0031] FIG. 5 is an illustration of a working breadboard
and model of this invention that I built and tested.
[0032] FIG. 6 is another illustration from a different
viewpoint of a working breadboard and model of this invention
that I built and tested.

SUMMARY
[0033] The principle of microwave generators, sources and
amplifiers are well understood and documented. As also is the
principle of heating substances with microwaves as evidenced by
the current popularity of the microwave oven in modern society.
Briefly, microwaves in microwave ovens cause the water in the
inserted matter to vibrate at a resonant frequency (that is, their
bonds) and cause the molecules to become "excited". This causes
the water molecules to "bump" into each other and cause heating
because of the collisions of the water molecules. This is why the
substance being cooked or heated will become hot from the inside
out and continue to heat even after the microwave energy source
has been turned off. Microwave ovens are typically a square
enclosure made of metal that reflect microwaves back into the
formed cavity and have a microwave generator coupled to the
enclosure through a wave-guide that directs the microwaves into
the oven. This arrangement can cause hot spots in the heating of
substances in the cooking cavity at the nodes of the microwave
frequency lengths, so the microwaves are either "stirred" or the
substance is rotated to intersect at different spots in the
substance where the nodes occur. The hot spots are also caused by
the geometry of the material to be heated being at different
distances from the microwave source and the microwave distribution
pattern from the source and the wave-guide. Furthermore, the
typical microwave generator can become very hot, so a fan is used
to cool the generator (of which one typical generator is called a
Magnetron manufactured by LG model number 2M213-240GPo). There are
many manufactures of magnetrons and microwave generators. These
microwave generator devices are usually set for only one
frequency, somewhere between 2.4 and 2.6 GHZ. It has been
determined by others that this is the best frequency to cook
foods, however other frequencies are understood to be better for
other materials and substances depending upon the materials and
needs and requirements. For instance, the article at
URL-http://www.straightdope.com/mailbag/mmicrowave2.html, by A
Staff Report by the Straight Dope Science Advisory Board, points
out that 10 GHz is better for heating water molecules alone not
bound in another substance. For the sake of this patent it is
understood that when a frequency is mentioned for a microwave
generator that it can use other frequencies than the one mentioned
depending upon the application and the material used. Also, that
the material heated can be a fluid, a solid, a vapor, or plasma
depending upon the application and desired results.
DESCRIPTION OF THE INVENTION
[0034] Referring to FIG. 1, the water, fluid, or material to be
heated is connected via pipe 102 to a solenoid switch 100. This
description will start with the invention in a startup state and
then describe a complete cycle. While this demonstrates a batch
processing technique and method, it should be understood that it
could also be adapted to a continuous process. Microprocessor 126,
which also can be a solid state controller, state sequencer, PROM,
or other signal processor/determiner, processes the signal from
level sensor 114 in holding vessel 120 and level sensor 146 in
microwave containment vessel 122 and determines that water should
be made. (In this example water will be used, but should be
considered a subset of fluids and materials that can be processed
this way.) Microprocessor 126 generates a signal to solenoid 100
via signal line 160, which opens the valve 100 and allows the
material to flow into microwave heating chamber vessel 122 via
entry port 104 until sensor 146 via signal line 148 generates a
signal to microprocessor 126 that the fluid holding vessel 106 is
full. Microprocessor 126 then generates a signal via signal line
160 to solenoid 100 to close and causes the material flow into
microwave heating chamber vessel 122 to cease.
[0035] Microwave heating chamber vessel 122 consists of fluid
holding vessel 106 and lid or cap 104, a level sensor 146, level
sensor 160, exit port 112 for the steam, an entry port 116, and
outer shell or microwave reflector 144. It can furthermore consist
of a material stirrer 162 and temperature sensor (not shown). It
can monitor the temperature of the water actively (not shown).
Fluid or material holding vessel 106 is made of a material that is
transparent to the frequency of the microwaves being generated and
can take the pressures and temperatures of the materials being
heated and in contact with its interior surface. Because of the
cycling of the cold water and the subsequent heating into hot
water that occurs this material should be resistant to temperature
cycling. This type of material can be pyrex glass or other glass
or material that fulfills these requirements. Pyrex is the
trademark name for any class of heat- and chemical-resistant glass
of different compositions depending on the needs and requirements
of strength, weight, temperature cycling, smoothness, and other
mechanical and reliability requirements. Pyrex(R) glass was
developed by the Corning(R) Glass Company and was labeled Corning
7740. It is lead free and labeled a borosilicate type of glass. It
was developed for its ability to withstand thermal shock created
by sudden shifts in temperatures and its strength. It typically
has a composition that has high resistance to strong acids or
alkalis. The strain point is 510[deg.] C., annealing point of
560[deg.] C., and softening point of 821[deg.] C. makes it
applicable to high heat applications. The typical composition is
80.6% SiO2, 4% NaO2, 13.0% B2O3, 2.3% Al2O3, and 2.3% K2O.
[0036] Another Corning(R) glass, Corning(R) Vycor(R) 7913 would
also be a contender to use for the fluid holding vessel 106. Pyrex
glass can also be used as a generic term for borosilicate glass
types used in the glass industry, but when used in reference to
Corning(R) glass is a registered trademark.
[0037] Because of its composition and lack of any hydrocarbons in
its formula, pyrex glass is "transparent" to microwave energy.
That is, the glass does not absorb a significant amount of energy,
if any, into its bonds of matter from the microwaves penetrating
its matter and passes the microwaves through its matter. The usual
heating of pyrex glass in a microwave operation is in the contact
of the fluid or matter that is held within and in contact with its
surface and the temperature flow from the heated matter to the
glass containment vessel.
[0038] Pyrex is a good candidate because it is a smooth surfaced
glass that has no pores and absorbs nothing so when it is cleaned
it will not contain or transmit viruses or bacteria, nor will the
surfaces be attacked by viruses or bacteria to scar the surfaces.
However, because of these qualities, it does not contain a boiling
point on its surface that can be used to start the water boiling
process. Thus, a boiling point would be advantageous to be
introduced into the fluid containment vessel 106 in some manner.
One solution would be to cause the surface of the interior to be
roughened, causing boiling points. Another solution is causing the
shape of the fluid containment vessel 106 to be irregular that
will cause nucleation sites due to the geometry of the vessel.
Another solution would to have a stirrer causing the fluid or
matter to be stirred by stirrer 162. Stirrer 162 is a motor, shaft
and propeller. The motor would be on the outside of vessel 106
while the shaft penetrated the vessel and the propeller is on the
inside. Another solution would to use a magnetic stirrer that is
moved around by the introduction of a magnetic field. Another
solution would be to have a device that is sensitive to microwaves
and becomes excited and moves around when the microwaves are
impinging upon it when the microwave source is emitting microwaves
into the fluid containment vessel 106.
[0039] Fluid containment vessel 106 is shaped so that a chamber is
formed in the vessel for the insertion of an antenna 108. The
antenna 108 can be directly connected to the microwave generator
110 or be remotely connected to it via a co-axial cable for
transmitting the energy from the source 110 to the antenna 108.
Furthermore, antenna 108 can be of the length and size that is
determined to be best for the usage. For instance, the antenna 108
can be a quarter wave, half wave, full wave, or multiple
wavelength antenna. The antenna length is dependent upon the
frequency used for the microwave generator source. For a 2.5 Ghz
microwave, the quarter wavelength is 1.1232 inches, for the half
wave it is 2.2464 inches, and the full wavelength is 4.4928
inches. For a 10 Ghz signal the quarter wavelength is 0.2808
inches, the halfwave is 0.5616 inches, and the full wave is 1.1232
inches. These configurations would give the best transfer of
energy into the material in the fluid material containment vessel
108. The fluid holding vessel 106 should be designed such that the
distance from the antenna to the microwave reflector 144 is
exactly a multiple of the wavelength distance. For example, if a
quarter wave antenna were used, it would be beneficial to use a
quarter wave, half wave, full wave, or some other multiple of the
wavelength distance to the reflector 144. The microwave/antenna
can also be designed to be a microwave diode operating at a
predetermined frequency, of which the output is sent to a power
amplifier that then sends the amplified signal to the antenna 108.
[0040] Microwave reflector should be designed such that the
material used reflects the microwave energy not absorbed by any of
the water molecules is reflected back into the water for further
absorption. It would be made of metal. Thin films are made of
layers of metallic materials and could be utilized by coating the
outer surfaces of the fluid holding vessel 106. The thin film
coatings should be optimized for the best reflection of the
microwaves back into the vessel itself. The reflector needs to be
connected to a ground so that no microwaves can escape the
containment chamber around the apparatus. This should also apply
to the microwave generator source 110 and microwave antenna 108.
One of the advantages of a thin film coating on the fluid holding
vessel 106 is that it can follow and be suited to the geometry of
the vessel. It also would be durable and lightweight. Either the
Physical Vapor Deposition or Chemical Vapor Deposition or any
other method that is suitable to the task could apply them.
[0041] An embodiment of the invention would have a method whereby
the microwave source 110 and the antenna 108 can be removed or
swung out of the way to gain access to fluid holding vessel 106 in
order to facilitate the removal of the vessel for maintenance.
Furthermore, fluid-holding vessel 106 can be made to unscrew or
disconnect from the lid or cap 104 for replacement if necessary.
[0042] At this point in the cycle, when the microprocessor 126 has
determined that the water in the containment vessel is full it
will then generate a signal on signal line 108 that causes relay
134 to switch the power on to microwave source transformer and
capacitor 140 to energize the microwave generator 110 and emit
microwaves via antenna 108 through the containment vessel 106
walls and cause the water inside to be heated. Also, at this time
the water stirrer 162 is operated by relay 138 via power line 164.
[0043] Water is heated above its boiling point and turns into
steam, whereby it exits the fluid holding vessel by exit port 112
and enters into the condensation coil 124. The coil of tubing can
either be cooled by blowing air across them or by using the
incoming water to cool the condensing coil 124. Also, the coil 124
can be made out of copper, stainless steel, plastic, ceramic, etc.
It is in this condensation coil 124 that steam is converted back
to water again and is deposited into collection holding vessel
120. It would be advantageous, but not necessary, to have a
charcoal filter in the line between the condensation coil 124 and
the collection holding vessel 114.
[0044] The microprocessor 126 is continually checking level sensor
114 and level sensor 146 and level sensor 160 to see if the
operation should be stopped at anytime. When level sensor 114
indicates that holding vessel 120 is full, then no further
distilling operations will take place until level sensor 114 then
indicates that it is below the level and needs more water to fill
up. Instead of level sensors a mechanical float can be used.
[0045] Also, microprocessor 126 will distill water until such time
that sensor level 160 indicates via signal line 150 that the fluid
has been evaporated and at that time microprocessor 126 will then
send a signal via line 128 and turn relay 134 off, which in turns
stops the power to the microwave transformer and capacitor 140
which then stops microwave source 110 to stop emitting microwaves.
It will also stop material stirrer 162 from turning, however it
would be advantageous to have stirrer 162 to keep turning for a
predetermined amount of time. This can be caused by either an
external circuit, another and separate relay from the
microprocessor 126, or by the motor and capacitor connected to the
stirrer 162.
[0046] When the process is actively boiling and distilling water
the microprocessor 126 can monitor the rate of evaporation and/or
collection in the different vessels. By varying the frequency of
the microwave source and using the above information the
microprocessor can determine what is the best frequency for the
best efficiency of the system and self adjust to this frequency on
a predetermined basis. Thus the system can be a self-adjusting
system for the maximum efficiency by using feedback.
[0047] Furthermore, when the microprocessor 126 has processed a
predetermined number of water boils from the fluid holding vessel
106 the microprocessor 126 can then initiate a cleaning cycle for
the fluid holding vessel 106. It does this by causing the vessel
122 to be filled, heated to a certain temperature, and then
causing this water to be discharged through line 152 into a
disposal water line 156 controlled by solenoid 154 that is further
controlled via line 158 from microprocessor 126.
[0048] Another embodiment of the invention could have another
valve on the exit port 112 (not shown) that could be controlled by
the microprocessor 126. It would also have another entry port 118
(not shown) that would go to an external holding vessel 136 (not
shown). Microprocessor 126 could then open the extra entry port
118 that leads to external holding vessel 136 that would contain a
substance that is used to clean the fluid holding chamber 106 on a
predetermined basis. The microprocessor 126 would notify the user
that they should pour a substance into the external holding vessel
when necessary. The microprocessor 126 would close entry port 116
and entry port 118 and exit port 112 and heat the liquid to a
predetermined heating point to clean the fluid holding chamber
106. After a predetermined amount of time microprocessor 126 would
open the entry port 116 and then after another predetermined time
it would open exit port 152 to flush the system. After this
cleansing it would begin the proper cycle of purifying the water
again.
[0049] Another embodiment of this invention could have the fluid
containment vessel 106 shaped in the form of a sphere with a
chamber formed therein rather than a cylinder shape as shown in
FIG. 2 or FIG. 4. Any shape can be used that is suitable and is
not constrained to the above mentioned shapes.
[0050] Thus, the scope of the invention should be determined by
the appended claims and their legal equivalents, rather than by
the examples given.