rexresearch.com


Shaun McCARTHY, et al. [Steorn ]
  Orbo Magnet Motor



http://www.steorn.com/

For general enquiries,
email: general@steorn.com

Telephone: +351-1-6871020

About Steorn

Since its foundation in 2000, Steorn has worked on innovative technologies in a number of areas, including e-commerce, anti-fraud, and energy for companies ranging from start-ups to multi-nationals.

The Steorn team brings together a wealth of experience from diverse industries including engineering, energy, research and information technology. A highly-focused, integrated approach to our work allows us to drive projects forward with clarity and vision.

With a range of services from project management to prototype development and testing, Steorn has brought its experience and expertise to bear on complex projects and technologies, creating and capturing Intellectual Property and turning concepts into reality.

Orbo

The development of Orbo® follows on from results of tests on a custom designed permanent magnet generator carried out during mid 2004. Orbo technology is based on electromagnetic interactions concerning domain rotation within ferromagnetic materials, specifically the phenomenon of delayed magnetic field propagation.

Delayed magnetic field propagation is a limited area of exploration within the physics community, while there are a number of papers that detail the test method and examination, no papers to date have gone as far as the research conducted by Steorn.

The development of this technology is continuous as work progresses to the end goal of providing a safe, stable and continuous electrical power output.

As core research and development continues a number of other technologies have been developed as a direct result, these technologies are either based on Orbo interactions or spin-outs from implementations of Orbo.

These ancillary technologies include low frequency induction heating operating on AC line frequency without the need for intervening electronics, hybrid passive magnetic bearings and a range of rotary torque measurement systems for magnetic implementations.



http://steornwatch.com --- Forum



http://en.wikipedia.org/wiki/Steorn

Steorn

Products     Magnetic testing & measurement systems, passive magnetic bearings, research & development

Steorn Ltd is a small, private technology development company in Dublin, Ireland. It announced in August 2006 it had developed a technology which provides "free, clean, and constant energy" in violation of the law of conservation of energy,[3] a fundamental principle of physics.[4]

Steorn challenged the scientific community to investigate their claim[5] and, in December 2006, said that it had chosen a jury of scientists to do so.[6] In June 2009 the jury gave its unanimous verdict that Steorn had not demonstrated the production of energy.[7]

Steorn has also given two public demonstrations of their technology. In the first demonstration, in July 2007 at the Kinetica Museum in London, the device failed to work.[8] The second demonstration, which ran from December 2009 to February 2010 at the Waterways Visitor Centre in Dublin, involved a motor powered by a battery and provided no independent evidence that excess energy was being generated.[9]

History

Steorn was founded in 2000[10] and, in October 2001, their website stated that they were a "specialist service company providing programme management and technical assessment advice for European companies engaging in e-commerce projects". Steorn is a Norse word meaning to guide or manage.

In May 2006, The Sunday Business Post reported that Steorn was a former dot-com company which was developing a microgenerator product based on the same principle as self-winding watches, as well as creating e-commerce websites for customers. The company had also recently raised about €2.5 million from investors and was three years into a four year development plan for its microgenerator technology.[2] Steorn has since stated that the account given in this interview was intended to prevent a leak regarding their free energy technology.[11]

The company's investment history shows several share allotments for cash between August 2000 and October 2005,[12] the investments totalling €3 million.[2] In 2006, Steorn secured €8.1 million in loans from a range of investors in order to continue their research, and these funds were also converted into shares.[13] Steorn said that they would seek no further funding while attempting to prove their free-energy claim in order to demonstrate their genuine desire for validation.[13]

Free energy claim

In August 2006, Steorn placed an advertisement in The Economist saying that they had developed a technology that produced "free, clean and constant energy".[5] Called Orbo, the technology was said to violate conservation of energy[3] but had been validated by eight independent scientists.[14] None of these scientists would talk to the media, and Steorn suggested that this was because they did not want to become embroiled in a controversy.[14]

Views on the technology

No specific details of the workings of the claimed technology have been made public. Seán McCarthy stated in a 2006 RTÉ radio interview, "What we have developed is a way to construct magnetic fields so that when you travel round the magnetic fields, starting and stopping at the same position, you have gained energy".[15] In 2011, Steorn's website was updated to suggest that the Orbo is based on magnetic fields which vary over time.[16] Barry Williams of the Australian Skeptics has pointed out that Steorn is "not the first company to claim they have suddenly discovered the miraculous property of magnetism that allows you to get free energy"[4] while Martin Fleischmann says that it is not credible that positioning of magnetic fields could create energy.[14]

Following a meeting between McCarthy and Professor Sir Eric Ash in July 2007, Ash reported that "the Orbo is a mechanical device which uses powerful magnets on the rim of a rotor and further magnets on an outer shell".[17] During this meeting, McCarthy referred to the law of conservation of energy as scientific dogma.[17] However, conservation of energy is a fundamental principle of physics[4] and Ash said that there was no comparison with religious dogma since there is no flexibility in choosing to accept that energy is always conserved.[17] Rejecting conservation of energy would undermine all science and technology.[17] Ash also formed the opinion that McCarthy was truly convinced in the validity of his invention but that this conviction was a case of "prolonged self-deception".[17]

Many people have accused Steorn of engaging in a publicity stunt although Steorn deny such accusations.[18] Eric Berger, writing on the Houston Chronicle website, commented: "Steorn is a former e-business company that saw its market vanish during the dot.com bust. It stands to reason that Steorn has retooled as a Web marketing company and is using the "free energy" promotion as a platform to show future clients how it can leverage print advertising and a slick Web site to promote their products and ideas".[19] Thomas Ricker at Engadget suggested that Steorn's free-energy claim was a ruse to improve brand recognition and to help them sell Hall probes[20] while Josh Catone, features editor for Mashable, believes that it was merely an elaborate hoax.[21]

Jury process

In its advertisement in The Economist, Steorn challenged scientists to form an independent jury to test their technology and publish the results.[22][23] Within 36 hours of the advertisement being published, 420 scientists contacted Steorn[24] and, on 1 December 2006, Steorn announced it had selected a jury.[6] It was headed by Ian MacDonald, emeritus professor of electrical engineering at the University of Alberta, and the process began in February 2007.[7]

In June 2009 the jury announced its unanimous verdict that "Steorn's attempts to demonstrate the claim have not shown the production of energy. The jury is therefore ceasing work".[7] Dick Ahlstrom, writing in the Irish Times, concluded from this that Steorn's technology did not work.[7] Steorn responded by saying that because of difficulties in implementing the technology the focus of the process had been on providing the jury with test data on magnetic effects for study.[25] Steorn also said that these difficulties had been resolved and disputed its jury's findings.[7][25]

Demonstrations

A notice at the Kinetica Museum announcing the cancellation of the public demonstration

On 4 July 2007, the technology was to be displayed at the Kinetica Museum, Spitalfields Market, London. A unit constructed of clear plastic was prepared so that the arrangement of magnets could be seen and to demonstrate that the device operated without external power sources.[8][26] The public demonstration was delayed and then cancelled because of technical difficulties. Steorn initially said that the problems had been caused by excessive heat from the lighting[8][27] but later blamed the failure on damage done to bearings due to a greenhouse effect within the box.[28]

A second demonstration ran between 15 December 2009 and February 2010[29] at the Waterways Visitor Centre in Dublin, and was streamed via Steorn's website.[30][31] The demonstration was of a device powered by a rechargeable battery. Steorn said that the device produced more energy than it consumed and recharged the battery.[9] No substantive details of the technology were revealed and no independent evidence of Steorn's claim was provided.[9]

On 1 April 2010 Steorn opened an online development community, called the Steorn Knowledge Development Base (SKDB), which they said would explain their technology.[32] Access is available only under licence on payment of a fee.[32][33]

References

1. ^ a b "Steorn Investor Relations". Steorn Ltd.. 9 February 2006. http://www.steorn.com/about/investor/. Retrieved 11 September 2007.

2. ^ a b c Daly, Gavin (21 May 2006). "Firm strives to extend mobile battery lifespans". ThePost.IE. http://archives.tcm.ie/businesspost/2006/05/21/story14326.asp. Retrieved 25 October 2006.

3. ^ a b "Our Claim". Steorn Ltd. Archived from the original on 2 May 2007. http://web.archive.org/web/20070502192300/http://www.steorn.com/orbo/claim/. Retrieved 12 April 2007.

4. ^ a b c Weekes, Peter (20 August 2006). "Irish energy miracle 'a joke'". Melbourne: The Age. http://www.theage.com.au/articles/2006/08/19/1155408071307.html. Retrieved 20 August 2006.

5. ^ a b "Copy of Steorn advertisement featured in The Economist, hosted by dispatchesfromthefuture.com" (JPEG). http://dispatchesfromthefuture.com/images/steorn_economist_ad.jpg. Retrieved 21 January 2009.

6. ^ a b "Steorn finalises contracts for jury to test its free energy technology". Steorn (archive copy from archive.org). 1 December 2006. Archived from the original on 2007-02-21. http://web.archive.org/web/20070221052040/http://www.steorn.net/news/releases/?id=911. Retrieved 5 March 2009.

7. ^ a b c d e Dick Ahlstrom (24 June 2009). "Irish "energy for nothing" gizmo fails jury vetting". Irish Times. http://www.irishtimes.com/newspaper/ireland/2009/0624/1224249416758.html.

8. ^ a b c "Irish firm's display of 'free-energy' machine delayed". Belfast Telegraph. 5 July 2007. http://www.belfasttelegraph.co.uk/business/irish-firms-display-of-freeenergy-machine-delayed-13456059.html.

9. ^ a b c Rupert Goodwins (15 December 2009). "Steorn shows revolving Orbo to the public". ZDNet. http://news.zdnet.co.uk/emergingtech/0,1000000183,39938307-1,00.htm. Retrieved 15 December 2009.

10. ^ "Wanted: scientists to test free energy technology". Irish Examiner. 20 August 2006. Archived from the original on 2006-08-21. http://web.archive.org/web/20060821193017/http://www.irishexaminer.com/irishexaminer/pages/story.aspx-qqqg=business-qqqm=business-qqqa=business-qqqid=11133-qqqx=1.asp. Retrieved 20 August 2006.

11. ^ "Energy Issues". Steorn. 1 October 2006. http://www.steorn.net/forum/comments.php?DiscussionID=17962&page=5&Comment_271002. Retrieved 26 October 2006.

12. ^ "Steorn Company Submissions". Companies Registration Office. http://www.cro.ie/search/submissionse.asp?number=330508&BI=C. Retrieved 16 October 2006. [dead link]

13. ^ a b Downes, John (10 August 2008). "'Free energy' firm generated €8m in funding". Sunday Tribune. http://www.tribune.ie/article/2008/aug/10/free-energy-firm-generated-8m-in-funding/. Retrieved 5 November 2008.

14. ^ a b c Boggan, Steve (25 August 2006). "These men think they're about to change the world". The Guardian (London). http://environment.guardian.co.uk/energy/story/0,,1858172,00.html. Retrieved 24 May 2010.

15. ^ "Irish company challenges scientists to test 'free energy' technology". Yahoo! News. 18 August 2006. Archived from the original on 3 September 2006. http://web.archive.org/web/20060903183705/http://news.yahoo.com/s/afp/20060818/bs_afp/irelandscienceenergy.

16. ^ "Orbo". Steorn Ltd. Archived from the original on 16 July 2011. http://web.archive.org/web/20110716051552/http://www.steorn.com/orbo/. Retrieved 18 November 2011.

17. ^ a b c d e "The perpetual myth of free energy". BBC News. 9 July 2007. http://news.bbc.co.uk/1/hi/technology/6283374.stm. Retrieved 9 July 2007.

18. ^ Chris Vallance (23 August 2006). "Caught in a Tale Spin". Pods&Blogs. BBC. http://www.bbc.co.uk/blogs/podsandblogs/2006/08/caught_in_a_tale_spin.shtml. Retrieved 25 June 2009.

19. ^ Berger, Eric (19 August 2006). "Steorn and free energy: the plot thickens". SciGuy. Houston Chronicle blogs. http://blogs.chron.com/sciguy/archives/2006/08/steorn_and_free_1.html. Retrieved 21 August 2006.

20. ^ Thomas Ricker (25 June 2009). "Steorn gives up on free-energy, starts charging for USB-powered divining rods". Engadget. http://www.engadget.com/2009/06/25/steorn-gives-up-on-free-energy-starts-charging-for-usb-powered/. Retrieved 25 June 2009.

21. ^ Catone, Josh (15 July 2009). "Top 15 Web Hoaxes of All Time". Mashable. http://mashable.com/2009/07/15/internet-hoaxes/. Retrieved 21 July 2009.

22. ^ "Steorn develops free energy technology and issues challenge to the global scientific community". Steorn Ltd.. 18 August 2006. http://www.steorn.com/news/releases/?id=22. Retrieved 29 June 2009.

23. ^ "Steorn announces plans for widespread deployment of its free energy technology post-validation". Steorn. 11 January 2007. http://www.steorn.net/news/releases/?id=981. Retrieved 6 July 2007.

24. ^ Smith, David (20 August 2006). "Scientists flock to test 'free energy' discovery". London: Guardian Unlimited. http://observer.guardian.co.uk/uk_news/story/0,,1854305,00.html. Retrieved 20 August 2006.

25. ^ a b "Jury report". June 2009. Archived from the original on 2010-12-30. http://web.archive.org/web/20101230235310/http://www.steorn.com/news/releases/?id=1151.

26. ^ "'Free' energy technology goes on display". The Irish Times. 4 July 2007. http://www.irishtimes.com/newspaper/breaking/2007/0704/breaking46.htm. Retrieved 5 July 2007.

27. ^ "Steorn announcement: Kinetica Demonstration". 6 July 2007. http://www.steorn.com/news/releases/?id=1001. Retrieved 5 June 2007.

28. ^ Schirber, Michael (August 2007). "Harsh light shines on free energy". Physics World 20 (8): 9.

29. ^ "Testing - Orbo Technology Update". Steorn. 11 February 2010. http://www.steorn.com/news/releases/?id=1201. Retrieved 13 February 2010.

30. ^ Rupert Goodwins (14 December 2009). "Steorn sets up for second bite at perpetual cherry". ZDNet. http://community.zdnet.co.uk/blog/0,1000000567,10014626o-2000331777b,00.htm. Retrieved 14 December 2009.

31. ^ "Steorn Announces Public Demonstration of Orbo Technology". Steorn. 15 December 2009. http://www.steorn.com/news/releases/?id=1161. Retrieved 15 December 2009.

32. ^ a b "SKDB Launch". Steorn. 1 April 2010. http://www.steorn.com/news/releases/?id=1211. Retrieved 9 May 2010.

33. ^ Gavin Daly (6 June 2010). "'Free' energy firm to make over €2m this year". ThePost.ie. http://www.sbpost.ie/news/ireland/free-energy-firm-to-make-over-2m-this-year-49707.html. Retrieved 8 June 2010.



YouTube

http://www.youtube.com/watch?feature=player_embedded&v=W4quwymQlEI

http://www.youtube.com/watch?v=c9xXqWBbfkU&feature=player_embedded

http://www.youtube.com/watch?v=kU-MRSk-brQ

http://www.youtube.com/watch?v=8VhKqqHxEmE

http://www.youtube.com/watch?v=ak3rt6p_dyY

http://www.youtube.com/watch?v=kM3rGz_KyDg



http://www.engadget.com/2010/10/29/steorn-peddles-orbo-development-kit-snake-oil-optional/





http://dispatchesfromthefuture.com/2007/07/first_glimpse_of_an_orbo.html

First glimpse of an Orbo

Amidst all the talk about Steorn's spectacularly failed demonstration, it's easy to overlook the most interesting new bit of information that did come out of all this -- Steorn finally revealed what a working Orbo looks like. It appears that their press package for what they seem to have anticipated would be a successful media event included photos of Sean holding an Orbo device, and the central "rotor" disc does look to be spinning. The photo showed up in several articles during the past week, including coverage by the BBC.

Whether the Orbo is capable of working as claimed is as yet unknown, but that hasn't stopped people from analyzing how it's put together and how it would work if it could. Steorn forum member Axle posted several images showing an exploded view of the Orbo based on the published photos:

The "stator" is shown in green and blue, and contains a circular arrangement of eight magnets fitted into slots around the periphery of a central cavity. In that cavity spins the "rotor", with four magnets around its circumference. The stator and rotor are connected by two bearings, seen in orange -- the weak links that, according to Sean, put an end to the demo.

Some of this detail is conjecture, given the quality of the photos that the design is drawn from. The design resembles a variation of a classic magnet motor, a recurring motif among attempts to create perpetual motion machines. A magnet motor cannot generate more energy than is put into it because, due to the way magnetic fields work, there will either be a stable state where the rotor is being pushed in one direction just as strongly as it is being pushed in the other direction, or else the operation of the motor will progressively weaken the magnets themselves until the spinning stops. If Orbo does work, then it's doing something very unusual with the configuration of magnets, perhaps (according to Sean) somehow taking advantage of the time variance involved in the effect of magnetic viscosity. (Some members of the Overunity forum are trying to figure out how this might work).

Until (and unless) Steorn reveals just how their Orbo is put together, all we can do is make speculations based on what little we have seen. But if Sean is holding a spinning Orbo device in these published photos, I think we can narrow down the possibilities of what it actually is to these four:

1) A fake -- hidden in there somewhere is a battery, strong enough to keep the device running for a few days (or maybe, as it turned out, just a few hours).

2) A type of "magnet motor" that will spin for a while, during which time the magnets themselves are weakened, eventually stopping the motion. This is in direct contradiction with Steorn's statement that tests showed no weakening of the magnets... but we've seen that Steorn's engineers (like any, to be fair) are not infallible.

3) A very low friction magnet motor that will keep spinning if held and jostled a bit, but that without this small input of energy will eventually slow to a halt. It's possible that such a device could have fooled Steorn into believing they had a perpetual motion machine. This is difficult to reconcile with Sean's claim that a test Orbo has been run continuously for several weeks, however -- unless it was being carefully cradled by a hopeful and deluded energy source for part of that time.

4) It just might, of course, be the real thing.

Prior to their recent failed demo, Steorn made a number of preparations that would seem to indicate complete confidence on their part that the demo would be a spectacular success. They readied a stunning and provocative demonstration space, called in the media, and were set to stream the event live over the web. They also paid to fly in a knowledgeable physicist and skeptical forum member known as DrMike, offering him a chance to inspect the Orbo up close and report his findings.

Steorn's demo fell apart before it began. DrMike had the opportunity to talk with Sean, hear his apologies and explanations, fiddle with magnets in the small workshop Steorn had set up at the demo site, hear Steorn's story about how Orbo defies conservation of energy, and chat physics with other scientists who had shown up for the demo.

His opinion after seeing all of this? Orbo is nothing more than a delusion inside the mind of Sean McCarthy.

Sean lives in a world of delusion. His greatest strength is the ability [to] convince people of things, and it is also his greatest weakness. I am certain that Sean has seen a "start - stop" device operating. That it never existed outside his mind doesn't matter.

-DrMike

DrMike's full report states the case a bit more tactfully, but no less damningly:

I am certain Steorn really believed I would see something that resembled their claim... Watching Sean and listening to him talk (and boy can he talk!!) I am convinced he has seen everything he describes. Unfortunately, the rest of us have not... My conclusion after going through all this is that Steorn is neither hoax nor scam. It is delusion. The reason it seems surreal is because it is surreal - we are the real part of someone else's imagination.

What's more, after reviewing Steorn's technical documents describing how magnetic viscosity is employed to violate the laws of thermodynamics, DrMike is convinced he sees the flaw in their logic; unfortunately he can't share his idea with us due to Steorn's NDA, so we have little to go by but his confidence.

If it was a hoax, the whole upstairs [workshop] would not exist, nor would Sean have taken the time to go through all the details of how he thinks it all works. I can not describe any of those details without breaking the NDA, so it puts me in a fairly strange position. The flaws in the thought process are clear to me, but Steorn considers these details proprietary information.

There were only ever three classes of possible explanations for Steorn's claim; either it was a purposeful deception, an honest mistake, or a genuine method for generating free energy. Given the actions taken by Sean McCarthy and Steorn over the past year, as well as what we've found out about Steorn's history and finances, I'm willing to bet against the first option, purposeful deception (this would include all forms of deception such as scam, hoax, fraud, marketing tactic, alternate reality game, social experiment, film subject, etc.). DrMike, after having met and spoken at length with Sean and other Steorn employees, is also ready to discard that possibility.

Of the two remaining options, DrMike is convinced that Orbo is an honest mistake on the part of Steorn. But how can a company with dozens of employees, including a number of engineers and PhDs, maintain such a blatantly erroneous belief over the course of several years? DrMike explains this as the result of the force of will and the charismatic persuasion of one deeply delusional man, Sean McCarthy.

This story sounds terribly unlikely at first glance. What about all of Steorn's other engineers, who build and test Orbo devices? Wouldn't they have realized along the way that they had never actually witnessed proof of the basic assumption underlying their work? What about all of Steorn's other employees, hanging on for years as their company abandons "serious" work and devotes itself full-bore to the quixotic quest of defying the most basic laws of science? How could a single man be so delusional as to believe without a speck of evidence that he's accomplished the impossible, and yet preserve a veneer of coherence that allows him to maintain the confidence of his company and investors, and gather an international group of optimistic followers?

As unlikely as this may sound, a combination of delusion and charisma has been used to create mass movements in politics and religion throughout history. And the unlikeliness of this possibility must be weighed against the unlikeliness of its alternative: that despite the conservation of energy being among the most solidly proven and repeatedly demonstrated theories in all of science, and despite hundreds of years of failed empirical effort toward violating that theory, a simple arrangement of permanent magnets has accidentally been shown to create energy from nothing. And recall that no one who has made the pilgrimage to Steorn and is capable of reporting back to the public has yet seen a working Orbo. Not Crank, not Dr. David Timoney, not DrMike.

What does Sean McCarthy have to say these days, in the aftermath of his failed demo and as his mental health is increasingly being questioned? His confidence is unshaken. Recently he answered a series of questions on the Steorn forum, presenting the failed demo as a disappointment, but no more than a temporary obstacle:

Clearly no one involved in the company is happy about the failed demo, but despite this we also need to keep perspective - it's a failed demo[.] It has shaken to the core any confidence that people not involved with the company have, and this is understandable. But we know what we have so things are not as dire as people would like to make them. We will do the demo, and then move on.

About DrMike's allegations against Sean's grasp of reality, he replies:

I guess that in a way I understand his comments, its not true but in the circumstances I doubt that you will believe me.

Sean also gave a post-demo interview on Irish radio recently. He continues to seek media attention and his confidence appears to be intact. In the interview he states that a new public demonstration of Orbo "will not be too far away."

We now have Sean McCarthy, convinced he can pull energy from nowhere, and DrMike, confidant that Sean's claim is impossible and that he knows just where Sean's logic went wrong. Neither of these people are able to produce an ounce of solid evidence. Once again we are left with little information, weighing the odds between the impossible and the impossibler.

Sean asserts that a new and successful demo will occur, unannounced beforehand, in the near future. He also states that the previous failure will lead to more openness on Steorn's part, to public evidence of the reality of Orbo. If DrMike is right, then none of this will happen -- we'll never see a working Orbo, because Steorn can't make one and they won't fake one. As for this author, I'll keep an open mind to Steorn's claim until the end of the summer. If by then we haven't seen a working Orbo, I'll agree with DrMike that, for the good of his family and his employees, Sean McCarthy had best retire and spend some quality time in the care of a doctor.

"It's not the end of the Steorn story."

Far from disengaging from the media and quietly skulking away into obscurity, Sean McCarthy gave a fairly in-depth interview to the technology site Engadget that was published today. Much of it is an elaboration of what we have heard already: the reasons for the failure of the demo and Steorn's plans moving forward. Sean directly addresses the notion that the Orbo technology works only in the confines of his own mind, and confidently asserts that a successful demo will occur in the near future. Some excerpts follow:

So we will be doing a demo, again. Obviously people will believe it when they see it and I can understand the skepticism about that. It is a deferral, our guys are currently in the process of rebuilding some more robust systems and changing some parts to prevent the engineering thing from happening again and we'll be back out in the near future with it.

Regarding DrMike's opinion that Orbo is no more than a delusion on the part of Sean:

How can I criticize. We invited the guy to come from Canada to see something. He didn't see it. It's his opinion. He has no other basis, he has nothing else to work on, other than sitting and having a chat with us. I can't possibly criticize, Doctor Mike for what he said. It's exactly what I would have said, I probably would have been harsher if I had been in his shoes.
Again, obviously if I'm delusional, whatever answer I give is going to be based on my own delusions. The only thing that I can say -- I can say a couple of things about it. First thing is that the answer that anybody looking at us and wants to know will ultimately be delivered contractually. It's going to happen whenever it happens from a bunch of scientists. So unless they're delusional as well, if they agree with us then we deal with that at the time. If you stand back from the failed demo and say ok, I don't think anybody should believe this -- I wouldn't believe this in the circumstances, demo or no demo -- there is a process that's in place that's a real process where real scientists are going to draw a conclusion and that conclusion will be made public.

The other side of it which I think is why people have taken the delusional route is because an awful lot of people had expected us to rig the demo. They expected us to have a hidden battery or whatever it is. If we were in that business, believe me, there would have been a spinning wheel. But we're just not in that business, the business of scamming people or rigging demos. It failed, it's prototype technology. Huge disappointment to us. We'll redo it. But the answers to the question -- the demo doesn't answer the question, it provides some thoughts from supporting evidence when it happens. But the answer to the question will be done by professionals and then we're either be found to be delusional or not.

On Steorn's plans going forward:

Obviously we are going to have to redo the demo. There is no question that we are not going to do the demo. We will, as I said before, not pre-announce it this time. We will get it set up properly, but the ground rules will be identical. The ground rules will be physical public access to the device, online webcams so it will be as open as possible. If anybody has seen the intended device and then realizes that it's, well, not impossible obviously to hide a certain energy source, it becomes quite a convoluted process. So we are going to try and demonstrate the technology in it's simplest, simplest format in a place with public access where people can watch online and talk to people there.

That will be one thing we have -- and to invite skeptics along. We have to do that. We have to embrace the skepticism. But equally to understand, these are not intended to be slam dunk results, because they won't be. There will always be issues and rightfully so. A simple demo, no matter how long it lasts, isn't proof of the claim. Proof of the claim is scientific analysis. But we are going to have to do other things as well. I won't go into details, but the biggest mistake that we've made and obviously we have to learn from our mistakes was to pre-announce the London demo. We've paid the price for that, we won't do it again. But we will be doing probably an awful lot more than we had intended. Basically when it happens we'll be letting people know. It will not be that far away.

A final word:

I've met an awful lot of disappointed people. People who came, who believed, who wanted to see history made. Disappointed skeptics, people like Doctor Mike who we dragged half way around the world -- and all I can do is apologize to them and say look it didn't work, but we are going to do it again. It's not the end of the Steorn story. Unfortunately, I'm sure that many people wish they've never heard of us again but we'll be back and we'll be back in the not too distant future.


http://www.engadget.com/2007/07/07/steorns-ceo-states-the-obvious-we-screwed-up


Steorn's CEO states the obvious: "we screwed up"

By

Thomas Ricker

Perhaps the only thing more impressive than claimed possession of an "infinite free energy" machine is the refusal to give-in under the weight of the world's skepticism-turned ire. "We screwed up," admitted Steorn's CEO Sean McCarthy yesterday after their failed demonstration, but "if we were here to rig a demo, we'd all be here watching a wheel spin." As shyster-Sean explains, Steorn brought three systems to London, one of which they got working for "about 4-hours" on Tuesday night. As we all know by now, it mysteriously ceased to function after it was moved to the display room. At that point, there was a breakdown of the watchmaker-quality bearings causing friction to "go to hell." Sean no longer attributes the failings to the lamp heat, lamenting only that his team doesn't know the cause. Moving forward Sean alluded to a less "covert and cryptic" Steorn as they attempt to regain the confidence (they had it?) of the public and more importantly, their shareholders who are more than likely discussing matters with legal counsel at this very moment. Still, he promised to return. Next time, however, the system will already be up and running before the demonstration is announced. While we seriously doubt they've circumvented the laws of our physical world, half the fun of any good scam (and this is a good'n) is picking apart the components to reveal the truth. Click-on through for the full Q&A caught on video.

Dead silence

It's now been over a month since CEO Sean McCarthy or any other member of Steorn has spoken publicly, to either the press or the forums. Whether they're hard at work or falling apart, they're just not talking.

The situation in the developers' club (SPDC) isn't much different. Apparently Steorn has given SPDC members a gag order, asking them not discuss the current situation. A few bits of information have slipped through anyway; enough to reveal that the SPDC doesn't know anything more about what Steorn's up to than do we. SPDC member my_pen_is_stuck wrote on July 31st, "Steorn don't even speak with the SPDC1 nowdays. Not a peep. Very weird." Later on August 5th he wrote, "I'm beginning to think that Grimer was on to something when he said the SPDC was a cult. Sean speaks, usual no evidence waffle, the SPDC bows down to kiss his ring. It's really fuckin' weird in there." On August 11th, GrantHodges wrote "There isn't any news on Steorn for this month. I'm in the SPDC and well . . .there isn't any news."

Given the silence from Steorn, some have wondered whether they'd packed up and cleared out. Forum member Crank, who lives a few miles from Steorn, dropped by their office on July 31st.
She reported back that the situation there was normal, and all employees were still present.

One older item of interest that came out recently is the design of the demonstration unit that Steorn intends to have manufactured in a limited quantity (100,000), to be sold off as part of the public introduction of the Orbo technology. The device, shown below, looks like a horsehead or "nodding donkey" style oil pump, sitting atop an oil barrel. A video of this device in action was made available to the SPDC, however Sean stated that the motion of the prototype unit seen in the video was not actually generated by an Orbo. So, it proves nothing except that Steorn is laying plans for the public introduction of Orbo.

Steorn effect replicated?

Today the Free Energy Truth blog announced that coming Friday will be an interview with someone who claims to have independently replicated the effect behind Steorn's free energy technology. If true, this would be the first time that anyone outside of Steorn has been able to replicate the effect and talk about it publicly. Of course, after the failed demo, repeated delays, and now complete silence that we've gotten from Steorn, it's reasonable to expect nothing less than full disclosure and a video of a self powered device before this claim is considered to be worth taking seriously. A successful demonstration, however, would beat Steorn to the punch and be the first display of a potentially revolutionary discovery. Further updates on this will follow as more information becomes available.

Update 8/31:

The previously announced interview has been posted at the Free Energy Truth blog; the interviewee is a man named "Blake". Consensus on the Steorn forum is that this is Alton "Blake" Walston, a member of the SPDC who has gone by the forum handle ablaker2.

Blake claims to have followed schematics provided by Sean McCarthy and built an Orbo device that ran continuously for at least 8 hours. According to his account the precise configuration of magnets in his device required a good deal of trial and error experimentation to get right, and after its initial 8 hour run he has thus far been unsuccessful at coaxing self-sustained motion from the device a second time.

While Blake claims to be committed to getting his Orbo spinning again, and says he'll be sure to have a video camera on hand next time when it does, as it stands now Blake has only an anecdotal account of a one-time event to offer, with no objective record of any kind that it actually took place. It's certainly interesting to have this story brought out from the confines of the SPDC, but until Blake's Orbo is running continuously, repeatedly, and on video, it remains nothing more than that -- a story.

Established inventor validates Orbo

This week a video emerged showing the successful engineer and inventor, Thieu Knapen, discussing Steorn's technology, which he has personally tested. His conclusion is unambiguous: Orbo generates free energy.

"Then I saw things that... I didn't believe."

Knapen founded the Dutch company Kinetron in 1984, where he invented the microgenerators used in watches that are powered by the movement of the wearer and so do not require a battery. Apparently Sean McCarthy has told the SPDC that Kinetron will be manufacturing the Orbo motors to power the demo devices that are set to be manufactured to coincide with the public release of the Orbo technology.

In the video Knapen is shown commenting on an early demonstration 'toy' designed to display higher energy output than input, but not designed to cycle perpetually. This video was made sometime before December 12th 2006, when it was presented to a small group at the Kinetica museum; it was also long ago shown to the SPDC. However, this is the first time that the video is available to the public. The documentary style editing and peppy background beat suggest that the video was put together as a promotional piece. It was allegedly found during an unrelated Google Video search by Steorn forum member RunningBare.

Steorn breaks its silence

After 3 1/2 months of almost complete silence from Steorn, CEO Sean McCarthy granted an interview last week which was published today at the Free Energy Truth blog. The difficult questions were left unasked, but the interview does give a feeling for what Steorn's been up to lately. Here are some excerpts:

On what they've been doing for the past few months:

We continue to work on Orbo. Obviously we are looking at different implementations of it, more reliable implementations of it both mechanical and non mechanical. We’re also looking at the material science behind these time variant magnetic transactions as in what’s the real driver for them. What makes one material have a different response from another material? We’ve looked at a lot of third party research, fund some research and obviously do our own research into this area, we have managed to rule out most of the drivers to time based domain response (eddy currents, heat and so on) but as to why ferrite has a different response to Iron – well more work to be done.

On where the second demo will be located:

    It will most likely be in Dublin, Ireland.

On what their recently trademarked name SteornLab refers to:

    An awful lot of what we have developed over the years has been based on tests... SteornLab relates to the productization of these testing technologies we’ve developed over the years.

On whether Orbo creates or extracts energy:

    It’s a question of views. I would say that, in the same way as there is a mass/energy equivalent there is also a form of time/energy equivalent and whether you consider that energy creation or conversion is a matter of semantics.

On whether Steorn will license Orbo for military and weapons applications:

    It’s specifically precluded.

On the development of the mechanical, as well as a solid-state version of Orbo:

    We have some engineering issues that we are currently resolving in terms of mechanical systems; we are constantly looking at ways to capture and express the energy in a real world environment that are simpler and simpler and there is nothing simpler than a solid state device. So it’s in the plan, but its not something that we [are] actively engaged in at this time.

On whether anyone else has ever discovered the effect behind Orbo:

    I think lots of people have. I can look at many of the other free energy claimants and understand exactly how they could work. I could also see why many would be difficult to replicate without understanding what was happening.

There are two main points that I take from this interview: 1) Steorn is still humming along, and still believes in what they have, and 2) Don't expect a second demo any time soon.

I add the second point because Sean thinks that the second demo will "most likely" take place in Dublin. If it were to take place further off than Dublin, a good deal of planning would be involved; so the fact that it's still not certain whether it will be in Dublin or elsewhere means that they haven't reached the point yet of planning for an actual second event.

Another curiosity is that Steorn is already looking to productize the testing technology they've acquired and developed for the purpose of testing Orbo. For them to spare the energy to develop a tangential line of business, does this mean they are running short of cash, or doubting the future prospects of Orbo, at least in the near term?

Steorn is still chugging away, and most signs are that they're still confidant in the development of Orbo. Once again, there's nothing new here – the message from Steorn is, as usual: just you wait.



http://hackaday.com/2010/02/21/steorn-orbo-motor-replica/

Reader [Hjhndr] ran across an interesting set of tests and wanted to know if they’re brilliant or just a load of bull. We’re not making the call on that, but the tests on a Steorn Orb motor replica are worth looking at.Keep in mind, people used to think the earth was flat and scientists of the time would have sworn up and down that’s the way things were.

The Steorn Orbo is a motor that generates more power than is put into it. At least according to Steorn Limited that’s what it does. An independent panel of scientists said otherwise a few years back but that didn’t stop the company from showing off the concept a few more times, most recently a showing in Dublin ended this month.

So anyway, [Jean-Louis Naudin] took what he saw from those demonstrations and built a replica. He’s made several papers about the principle as well as his testing available online. There’s a lot of math, a little bit of smoke and mirrors, and several videos. Take a look and let us know what you think in the comments.



http://jnaudin.free.fr/steorn/html/orboeffecten.htm



Understanding the Orbo Principle

by

JL Naudin

December 27, 2009
Updated on February 13, 2010


http://www.youtube.com/watch?v=j3RLp3ezs1Q&feature=player_embedded

http://www.youtube.com/watch?v=NTMQFvWkS9s&feature=player_embedded

All informations and diagrams are published freely (freeware) and are intended for a private use and a non commercial use.

You will find below 3 very simple experiments which can help you to understand the hidden principles of the Orbo motor from Steorn. The experiments proposed here and their explanations are only based on my personnal interpretation only of the Orbo working principle presented to the public through videos and photos by Sean McCarthy in Dublin and may be differ from the official Steorn explanations. These experiments presented here are the tests results of all my researches about the Orbo device from Steorn.

These experiments are very simple to do and you can check these facts by yourself with few equipement. So, these key experiments are intend to demonstrate the main effect in the Orbo device which can produce free energy from moving magnets.

To conduct these experiments, you need these parts:

    * 2 plastic boxes (the size of mines is 62x82x32mm),
    * 2 strong neodymium magnets (I have used NdFeB 27 MGoe magnets, 22 mm diam, 10 mm thick),
    * 1 toroidal coil, with a ferromagnetic core (grade 3E25) specific inductance Al=3820 (23x14x7 mm) (µ=6000) wound CW with 7.5 m of 4/10 mm copper wire,

The 1st plastic box is used to install the moving magnets which will be used to simulate the rotor magnet. The neodymium magnets are installed as shown in the photo below :





A 3 mm foam spacer has been added so as to set an air gap between the boxes.

The 2nd plastic box is used to simulate the toroïdal stator coil of the Orbo. The coil has been installed in the box as shown below :



Two sheets of carbon have been fixed on the sides of the box to maintain the alignement with the moving magnet box.

The final setup is shown below :



The coil MUST BE PERFECTLY ALIGNED BETWEEN THE TWO MAGNETS. This is very important !!!



There is a 8 mm air gap between the magnets and the toroïdal coil.

The measured coil Rdc is 1.1O ohms.

1 - First key experiment : Demonstrating the inductance changing effect



One of the key point of the Orbo principle is the change of the inductance of the toroïdal stator coil while the magnets approach it. To conduct this experiment, you need only to connect an inductance meter to the output of the coil.



Without the magnets the measured inductance is 236 mH. This will be named the REF position.

When the magnets box is placed on the side of the stator box, the measured inductance drops to 179 mH.
This will be named the TDC position (Top Dead Center).

This very simple experiment demonstrates that there is an inductance change effect when the magnets box is at the TDC position. It is very important to recall that the toroïdal stator coil must be very precisely aligned between the two magnets, if this is not the case the following experiments won't work correctly.

The first Orbo effect has been demonstrated with this 1st experiment.

2 - Second key experiment : Demonstrating that the magnetic attration force is canceled by the pulse.



This experiment is very simple, you need to hold the stator box vertically while the magnets box hangs magnetically under the stator box. You may notice that the magnets box is attracted by the ferromagnetic material of the toroïdal coil due to the magnetic energy. This is here a FREE ENERGY MAGNETIC FORCE, you don't need to power the coil to attract the magnets.

Now, if you power the coil at about 6 Volts DC, the magnetic force attraction vanishes and the magnets box drops to the ground...

This is an important key experiment here to understand the Orbo working principle: Contrary to a common motor, in the case of the Orbo motor, when you apply current to the stator coil, it is only to release the magnet AFTER it has produced FREE MECHANICAL WORK !!! Think about this...

The second Orbo effect has been demonstrated with this experiment.

3 - Third key experiment : NO EXTRA POWER is needed to release the magnet from the TDC position to the REF position

Here, a bit more complicated experiment, but this is one of the most important experiment about the Orbo principle.

A function generator is connected on the optocoupler input of my Steorn Orbo v4.1 driver. The function generator has been programmed so as to send the same shape of pulse sent by the motor at full speed. Below you will find the diagram.





Look at the video of the test below, you will notice that the alignment of the stator coil with the middle line of the magnets is very critical at the "TDC position".

http://www.youtube.com/watch?v=j3RLp3ezs1Q&feature=player_embedded

The voltage and the current have been measured across the coil with a digital oscilloscope at the REF position (no magnets) and at the TDC position (with the magnets).

Below you will find the results.



Below, the current curve at the REF position (white curve) has been memorised and superposed to the current curve (yellow curve) at the TDC position. You may notice that the two current curves are identical...



The Power (V*I) has been computed for the two positions ( TDC and REF ) and you may notice that the power curves are also identical...



You may also notice the fast rise of the current and then its horizontal shape.



The third Orbo effect has been demonstrated with this experiment.





A precisely machined device and a very fine alignement of the toroïdal coils is the key of the success...




To summarize

It is very important that the toroïdal stator coils must be perfectly aligned with the middle point between the two magnets :

The magnets must have the equal strength,
the rotor must be perfectly balanced and must not have a wobble,
the rotation axis of the rotor must be frictionless.

These KEY EXPERIMENTS about the Orbo motor principle presented here demonstrate fully that :

KEY 1 : The coil inductance decreases when the magnet goes from the REF position (far from the stator coil) to the TDC position (close to the stator coil).

KEY 2 : The mechanical power is produced only by the attraction of the magnet by the ferrite of the stator, this is a FREE WORK produced by the conversion of the magnetic potential energy into kinetic energy. The current used to power the stator coil is used only to release the magnet AFTER it has produced a free mechanical work.

KEY 3 : The electrical power (Current * Voltage ) needed to energize the toroïdal stator coil at the TDC position is EQUAL to the electrical power for the REF position and this is fully independant of the position of the magnet of the rotor Vs the toroïdal stator coil. The electrical input power is fully decoupled from the output mechanical power.

KEY 4 : When the magnet leaves the TDC, there is a magnetic energy gain in the stator coil because the current remains constant during the increase of the inductance.

Importants tips for the best tuning :

Use two strong neodymium magnets oriented N-S towards the toroïdal coil.

The plane of the toroïdal coil must be perfectly aligned with the middle point of two magnets.

The gap between the coil and the magnets must be tuned with a scope so as to find the point where there is no change in the shape of the current curve between the TDC and the REF position, this tuning is very critical.

Use high permeability ferromagnetic material ( high permeability ferrite core or better Nanoperm core ).

Don't forget that the free mechanical power produced by the magnetic attraction of the magnets towards the ferromagnetic core has no link with the electrical power spent to release the magnets.

You will find below, the full video of these KEY EXPERIMENTS

http://www.youtube.com/watch?v=NTMQFvWkS9s&feature=player_embedded


Interesting document to read:

Comments from Jean-Louis Naudin: Why this patent, below, is interesting for the Orbo motor ?

The patent below is very interesting because it says that in a common toroidal coil, each layer is equal to a "one turn coil" whose axis is parallel to the axis of the toroid. So, one layer of toroidal coil is equal to a flat coil of one turn and thus it can tap or produce EMF outside the torus. So, to counter this interference effect, the only thing to do is , for each layer of the toroidal coil, to wound a one turn flat coil along the circumference of the toroid so as to produce a magnetic field which nullify the virtual one turn coil created by each layer of the toroidal coil... This is very simple and a very important thing to do for canceling the weak CEMF induced in the toroid by the motion of the magnet and this is one of the most important key of the Orbo motor...

Patent number: US5565835

SUBSTANTIAL NULLIFICATION OF EXTERNAL MAGNETIC FIELDS AND LORENTZ FORCES REGARDING TOROIDAL INDUCTORS

Inventor: Lawrence R. Groehl
Assignee: The United States of America as represented by the Secretary of the Army, Washington, D.C.
Appl. No.: 260,151
Filed: Jun. 13,1994

Main and supplemental windings are combined in a toroidal inductor to subntially nullify Lorentz Forces on the main winding and the magnetic field thereof which passes externally from the inductor.

BACKGROUND OF THE INVENTION

Use of inductors or coils is well know as for storing electrical energy. As the electromagnetic parameters of inductors increase however, severe problems are encountered therewith, for example in power distribution systems of electric utilities. Because of Lorentz Forces which result from the interaction of currents with magnetic fields, structural integrity becomes a primary consideration. Magnetic fields which radiate externally from many inductors are also an important consideration because energy losses result therefrom, and a hazard to life and equipment.


Steorn Patents


ELECTROMAGNETIC SYSTEM WITH NO MUTUAL INDUCTANCE AND AN INDUCTIVE GAIN
WO2011110951

ELECTRIC MOTOR WITH NO COUNTER ELECTROMOTIVE FORCE
WO2011073799

PASSIVE MAGNETIC BEARING
US2011001379

TORQUE MEASUREMENT SYSTEM
WO2009087476

SYSTEM AND METHOD FOR MEASURING ENERGY IN MAGNETIC INTERACTIONS
US2009009157

SYSTEM AND METHOD FOR MEASURING INTERACTION OF LOADS
WO2008020424

LOW ENERGY MAGNETIC ACTUATOR
WO2006035419

ELECTROMAGNETIC SYSTEM WITH NO MUTUAL INDUCTANCE AND AN INDUCTIVE GAIN
WO2011110951

ELECTRIC MOTOR WITH NO COUNTER ELECTROMOTIVE FORCE
WO2011073799

PASSIVE MAGNETIC BEARING
US2011001379

TORQUE MEASUREMENT SYSTEM
WO2009087476

SYSTEM AND METHOD FOR MEASURING ENERGY IN MAGNETIC INTERACTIONS
US2009009157

SYSTEM AND METHOD FOR MEASURING INTERACTION OF LOADS
WO2008020424

LOW ENERGY MAGNETIC ACTUATOR
WO2006035419



ELECTROMAGNETIC SYSTEM WITH NO MUTUAL INDUCTANCE AND AN INDUCTIVE GAIN
WO2011110951

FIELD OF THE INVENTION

The present invention is in the field of electromagnetic systems and induction.

BACKGROUND OF THE INVENTION

Inductance in an electric circuit occurs where a change in the current flowing through the circuit induces an electromotive force (EMF) which opposes the change in current.

Mutual inductance is well known in the art, most commonly found in transformers. It is typically defined as a measure of the relation between the change of current flow in one circuit to the electric potential generated in another by mutual induction.

SUMMARY OF THE INVENTION

The invention disclosed herein relates to an electromagnetic system and more particularly an electromagnetic system with no mutual inductance and an inductance gain.

The electromagnetic system disclosed herein has four defined states of magnetic interaction which are switched in a defined sequence.

The system consists of a minimum of two solenoids, wired in series, one mounted either side of a toroid.

The first of the defined magnetic interactions, called step one, takes place when there is a voltage applied across the toroid.

The second of the defined magnetic interactions, called step two, takes place when there is a voltage applied across the solenoids.

The third of the defined magnetic interactions, called step three, takes place when there is no voltage applied across the toroid.

The fourth of the defined magnetic interaction sequences, called step four, takes place when there is no voltage applied across the solenoids.

For step one, a voltage is applied across the toroid.

For step two, after the completion of the current rise in the toroid, a voltage is applied across the solenoids.

For step three, after the completion of the current rise in the solenoids, the voltage across the toroid is switched off.

For step four, after the completion of the current fall in the toroids, the voltage across the solenoids is switched off.

Following this sequence of four steps, there is an inductance gain on the solenoids which is due to the saturation of the toroidal core material caused by the current flowing through the toroid. There is also an inductance gain on the toroid due to domain rotation of the toroidal core material caused by the current flowing in the solenoids. Another by-product of this sequence is that there is no mutual inductance between the toroid and the two solenoids.

By changing the permeability of the coil's cores the inductive energy between the toroid and the solenoids is changed which leads to an inductive energy gain.
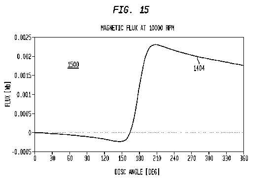
From Figure 2 it can be seen that at step two there is an inductance gain on the solenoids. The presence of the current-carrying toroid results in a faster rise time for the solenoids than would otherwise be the case.

The curves entitled Voltage Control and Current Control show respectively the voltage across the solenoids and the current flowing through the solenoids without current flowing through the toroid.

The curves entitled Voltage Active and Current Active show respectively the voltage across the solenoids and the current flowing through the solenoids with current flowing through the toroid.

In Figure 3, it can be seen that at step three, when the voltage is switched off in the toroid, there is an inductance gain in the toroid as a result of domain rotation in the toroid core material due to current flowing through the solenoids.

The curves entitled Voltage Control and Current Control show respectively the voltage across the toroid and the current flowing through the toroid without current flowing through the solenoids.

The curves entitled Voltage Active and Current Active show respectively the voltage across the toroid and the current flowing through the toroid with current flowing through the solenoids.

It can be seen that the fall time is longer when there is current flowing through the solenoids therefore showing the inductance gain at step 3.

The overall sequence of these steps is illustrated in Figure 4.

BRIEF DESCRIPTION OF THE DRAWINGS

Figure 1 is a view of the system comprising two solenoids, a toroid in the centre and associated control circuitry;



Figure 2 is a graph showing solenoid rise time;



Figure 3 is a graph showing toroid fall time;



Figure 4 is a graph showing voltage and current across the solenoids and the toroid;



Figure 5 is a graph showing no mutual inductance when the toroid is switched off; and



Figure 6 is a graph showing no mutual inductance when the solenoids are switched on.



DETAILED DESCRIPTION OF THE PREFERRED EMBODIMENT

In accordance with one embodiment of the present invention illustrated in Figs. 1-3, two solenoids 2 are mounted proximate to a toroid 1. The solenoid coils each have 380 turns of 0.425 mm diameter copper wire. The core diameter is 10 mm, length is 10mm and the core is a 9.7* 10mm ferrite rod. The toroid coil has 380 turns of 0.375 mm copper wire. Its core is a NANOPERM ring, model no. M-059, available from Magnetec GmbH, Langenselbold, Germany.
Associated control circuitry 3 used to power the circuit and analyze the output is as follows: Power Supply: Laboratory DC Power Supply ISO-TECH IPS-
2303
Solid State Relay: Crydom D06D100
Frequency generator: National Instruments Data Acquisition System with a National Instruments Labview Environment.
Diode: Fairchild 1N914A
Current probe: Tektronix TCP0030 Current probe Voltage probe: Tektronix P61139A
Solid state relay inputs are connected to the frequency generator. Solid State relay outputs are connected in series to the power supply/coils circuit. Data capture is performed using a Tektronix DPO7104 oscilloscope.

While the invention has been described with reference to illustrative embodiments, it will be understood by those skilled in the art that various other changes, omissions, and/or additions may be made and substantial equivalents may be substituted for elements thereof with departing from the spirit and scope of the invention. In addition, many modifications may be made to adapt a particular situation or material to the teaching of the invention with departing from the scope thereof. Therefore, it is intended that the invention not be limited to the particular embodiment disclosed for carrying out this invention, but that the invention will include all embodiments, falling within the scope of the appended claims.



ELECTRIC MOTOR WITH NO COUNTER ELECTROMOTIVE FORCE
WO2011073799

FIELD OF THE INVENTION

The present invention is in the field of electric motors.

BACKGROUND OF THE INVENTION

Electric motors are well known in the art and are utilized in a wide range of applications ranging from home appliances to large scale industrial use to transport.

The electric motor has changed little since its inception in the sense that its operation is based upon magnetic interactions, namely the repulsive and attractive nature of magnetic interactions between magnetic bodies. It is the controlled interaction of these magnetic interactions which allows an electric motor to create a rotational motion which can in turn be translated into an increase in kinetic energy of the system's rotor.

What has changed is the materials science of the components of an electric motor. Known in the art are permanent magnets which exhibit ever increasing inherent magnetization levels. Insulation techniques for copper wire and other conductive materials allow for the function of an electric motor over a wide operational range. The development of soft ferromagnetic materials enables the use of materials which have a high permeability but low remanence values coupled with low coercivity characteristics and such materials exhibit a narrow and square hysteresis curve or loop.

The hysteresis loop shows the history dependent nature of a magnetization effect on a magnetic material. For example, if a suitable material, which has no magnetization levels, is saturated for the first time it will retain most or all of its magnetization once the external magnetic field used to achieve this saturation is removed. This is the fundamental difference between a permanent magnetic material and a soft ferromagnetic material in that once a soft ferromagnetic material is removed from its influencing magnetization field its magnetization will drop back to zero.

In the field of electromagnetic systems and research, advances have been made in component and equipment functionality, such as in power supplies, current measurement and differential probes, and materials choice for rotors and optical encoders or similar switching controllers. An important advance is the availability of low friction bearings, typically passive magnetic bearings, which provide for restraint of the spindle and allow its attached rotor to rotate about a defined axis at the lowest possible friction cost.

There are several aspects of classical physics which are relevant to this area of electric motors. Faraday's Law is one of the fundamental laws of electromagnetism. In essence the Law states that the electromotive force generated is proportional to the rate of change of magnetic flux.
Following on from Faraday's Law is Lenz's Law, which states that an induced current is always in such a direction as to oppose the motion or change causing it. This Law links electromagnetism to Newton's Third Law which states that for every action there is an equal but opposite reaction.

The implications of these Laws for electric motors are as follows: Counter electromotive force, or CEMF, is the electromotive force or voltage that will push against the applied current and is only caused by a changing magnetic field. Back electromotive force, or BEMF, is a more specific term to electric motors, and is an induced voltage that occurs where there is relative motion between the armature or rotor of the motor and the system's external magnetic field. CEMF or BEMF negatively affects the efficiency of electric motors known in the art.

SUMMARY OF THE INVENTION

The concept of the basic operation of an electric motor is very well understood in that an input in the form of electrical energy is converted into an output in the form of an increase in the kinetic energy of the system's rotor. This invention sets out a motor system that can achieve the same operation but without the associated counter/back electromotive force due to the motion of the rotor.

The invention disclosed herein relates to an electromagnetic motor system and more particularly an electric motor with no counter/back electromotive force (EMF) which is typically present due to the rotation of the system's rotor.

The invention disclosed herein relates to a motor system which has two defined states of a magnetic interaction which are switched in a defined sequence.

The system consists of a minimum of two permanent magnets of a high grade and magnetization level attached to the outer edge of the motor's rotor. The permanent magnets are positioned adjacent to each other such that their polarities are opposed i.e. North-South and South-North. Fixed with respect to the rotation of the rotor is an electromagnetic coil with a soft ferromagnetic core. The permanent magnets are positioned on the rotor so that they are symmetrically arranged with respect to the coil and soft ferromagnetic core in the direction of the system's axis. Their position is also such that as the system's rotor rotates they will both always be at the same angular displacement from the fixed coil and soft ferromagnetic core.

The soft ferromagnetic coil in this particular embodiment is of a ferrite material with a composition of Manganese and Zinc, though similar soft ferromagnetic materials such as those of a Nickel and Zinc composition may be utilized.

The first of the defined magnetic interaction sequences, called state one, takes place when there is no voltage applied across the electromagnetic coil.

In the second of the two interactions, initiated through the use of an optical disk and sensor set-up, a voltage of ample magnitude is applied across the coil to produce a sufficiently strong current to saturate the ferrite core of the electromagnetic coil. This is called state two of the system.

Switching takes place when the permanent magnets on the rotor are at their closest to the ferrite core.

During state one when there is no voltage applied across the coil and the rotor is free to rotate towards the fixed coil and its ferromagnetic core, a torque will act on the rotor to cause it to move towards an angular position so that the permanent magnets and soft ferromagnetic core reach their closest point.

Torque exists on the system's rotor due to the fact that the soft ferromagnetic core will be polarized by the fields of the permanent magnets on the rotor in a direction vertical to the plane of the rotor. This polarization of the soft ferrite core will cause a force of attraction to exist between the permanent magnets on the system's rotor and the soft ferromagnetic core. The polarization of the ferrite is such that a south pole is created to oppose the presented north pole of one of the permanent magnets, and the south pole of the other permanent magnet will create a north pole. The areas of magnetization on the ferrite will be substantially equal and opposite due to the symmetric nature of the position of the ferrite core relative to the two permanent magnets. This torque, combined with the angular displacement that it causes will increase the kinetic energy of the system's rotor.

When the permanent magnets are at their closest point to the soft ferromagnetic core, stage two is initiated by a voltage being applied across the coil of sufficient magnitude to cause the ferromagnetic core to become magnetically saturated. Magnetic saturation and hence the voltage applied to effect same, is a function of the soft ferromagnetic core material , that is to say that the current supplied is directly dictated by the current required to saturate the ferrite core in this instance in a manner that the ferrite core is polarized horizontally. The force of attraction that existed between the soft ferromagnetic core and the permanent magnets will now be substantially reduced due to the fact that in its saturated state the ferromagnetic core will be magnetically polarized horizontally.

There will be no net force (and hence torque) between the stationary coil and the permanent magnets because the force that exists between the coil and each permanent magnet will be of an equal magnitude but opposite direction. The torque acting between the soft ferromagnetic core and the permanent magnets on the system's rotor, combined with the angular displacement will cause the system's rotor to lose kinetic energy.

Due to the net magnetization vectors of the soft ferromagnetic core in its saturated magnetization of state two being lower than in state one, there is a lower net torque acting on the rotor. However since angular displacement in both states is the same, the overall result of the sequenced action of both states of the interaction will be an increase in the kinetic energy of the system's rotor.

Due to the symmetry of the permanent magnetic arrangement on the system's rotor with respect to the fixed coil, there is no net rate of change of flux through the coil during the motion of the system's rotor, and hence no induced electromotive force to act against the voltage applied across the coil (i.e. no counter or back EMF).

During normal operation the system will change from state one to state two when the permanent magnets are closest to the fixed soft ferromagnetic core and back to state one when the rotor's permanent magnets are furthest away from the fixed soft ferromagnetic core.

The reversal of the current direction has no meaningful change on the angular displacement direction of the rotor as it moves through state one and state two. That is to say that changing the current will not have any significant change to the kinetic energy of the rotor as a positive torque component will continue to be added to the system by the symmetric attractive forces between the permanent magnets and the ferrite core. When the current is reversed the ferrite will again be saturated and polarized horizontally but with the polarity reversed. Again there is no net rate of change of flux through the coil during the motion of the system's rotor, and hence no induced electromotive force to act against the voltage applied across the coil.

The current supply direction will dictate the angular displacement direction of the systems rotor. When the current is reversed the pulse motor will act like a magnetic brake.

BRIEF DESCRIPTION OF THE DRAWINGS

Figure 1 A is a side view of the position of the magnetically reactive bodies with respect to each other;



Figure IB is a top view of the position of the magnetically reactive bodies with respect to each other;



Figure 2 is a side view of the polarity of the permanent magnets and the ferrite core at the position of closest proximity before a current is applied across the coil;



Figure 3 is a side view of the polarity of the permanent magnets and the ferrite core at the position of closest proximity when a current is applied across the coil;



Figure 4 is a top view of the switching point: 180 Degree, from State One to State Two;



Figure 5 is a complete system component schematic; and



Figure 6 shows the direction of the angular displacement of the rotor.



Figure 7 shows an exploded view of an embodiment of the electric motor assembly.



Figure 8a shows a top view of an embodiment of the electric motor.



Figure 8b shows a sectional view through plane A-A of an embodiment of the electric motor.

Figure 8c shows a sectional view through plane B-B of an embodiment of the electric motor.

Figure 8d shows a perspective view of an embodiment of the electric motor.

Figure 9 shows a partial perspective view of the spindle, rotor, magnets, coils, optical disk and optical switch as in one embodiment of the invention.



Figure 10 shows a exploded view of an embodiment of the invention with the spindle, rotor, magnets, and selected accompanying components.



Figure 11 shows an assembly view of an embodiment of the invention with the spindle and selected accompanying components.



Figure 12 shows an assembly schematic of an embodiment of the invention.



DETAILED DESCRIPTION OF THE INVENTION

In accordance with one embodiment of the present invention illustrated in Figs. 1-6, two permanent magnets 3 are mounted on a polycarbonate rotor 2. The polycarbonate disk has a diameter of 99.5mm and a height of 11.6mm with a cavity in the center of diameter 12.1mm for an adapter bushing of a brass material, which couples the rotor 2 to the spindle 1. The adaptor bushing has a diameter of 12mm and is designed to restrain or couple the polycarbonate disk 2 to the spindle 1.

The spindle is made of a stainless steel material and has a diameter of 6.25mm and a total length of 200mm. It is restrained in its rotational axis by a pair of passive magnetic bearings 7 which provide axial and radial rigidity while offering exceptionally low friction characteristics. Each of the passive magnetic bearings has two axially magnetized rings, which each exhibit at least one pair of north and south poles. The magnetized rings are positioned in a manner where the poles are in a repulsive magnetic interaction such that the plane of symmetry which separates the like poles lies perpendicular to the axis of the rotation of a shaft and this radially constrains the movement of the shaft. Axial rigidity is added to the system by the use of ceramic bearings and related axial retaining mechanisms, as known in the art, on one of the ring magnets thus maintaining the magnetic bearing in an otherwise unstable axial plane.

The permanent magnets 3 are of a N35H grade and cylindrical in shape with length and diameter of 10mm. The system consists of two permanent magnets 3 attached to the rotor 2 of the motor with opposite magnetic polarities as shown in Fig. 1. The permanent magnets are positioned on the rotor 2 so that they are symmetrically arranged with respect to the system's coil 5 and its soft ferromagnetic core 4 in the direction of the system's axis. That is, the permanent magnets exist on the x-plane with the shaft being positioned in the y-plane, as per the x, y plane identifier 14 in Fig 5. A counterbalance 11 of brass material, of the same weight (11.8g) as the two permanent magnets 3, is added to the system's rotor approximately 180 degrees away from the permanent magnets, again positioned in the symmetric manner as the permanent magnets 3 with respect to the direction of the system's axis.

The soft ferromagnetic core 4 is a sintered ferrite with a composition of Manganese and Zinc from Magnet Sales of Swindon, United Kingdom, part number RDSF01556. It is of length 9.45mm and it is cut down to 8.7mm to sit substantially within the electromagnetic coil's 5 core. The electromagnetic coil 5 is wound with insulated and bonded copper wire of 25 American Wire Gauge (AWG), with a core diameter of 9.6mm and a total of 360 turns.

In Fig. 6 the direction of the angular displacement 12 is shown. As the system's rotor 2 travels on this angular displacement it will come into an angular range where the magnetic field of both permanent magnets 3 can act on the ferrite core 4. The permanent magnets are positioned on the rotor so that they are symmetrically arranged with respect to the system's coil and soft ferromagnetic core and as such they will act on the core in a manner that results in an attractive force or torque acting on the rotor. In turn the permanent magnets will magnetize the core in a manner that the two forces acting on the bodies are substantially equal but opposite.

Fig. 2 illustrates the magnetization effect the permanent magnets 3 will have when they have been allowed to rotate about an angular path so that they are as close as possible to the ferrite core 4. From Fig. 2 it can be seen that the ferrite will become magnetized in a manner that there are two opposite polarity magnetized regions vertically with respect to the rotor so that the presented north pole of the permanent magnet will create an opposite south pole on the ferrite and conversely the presented south pole of the other permanent magnet will create a north pole on the ferrite core.
In Fig. 4 the electromagnetic coil 6, with its ferrite core 4, has a voltage applied to it such that the current across the coil is approximately 4Amps and this is of sufficient magnitude to cause the soft ferromagnetic core 4 to become magnetically saturated. This firing angle, that is the angular position at which the voltage is applied across the coil, is represented in Fig. 4 as the 180 degree mark 13. The application of the voltage is switched by an optical reader 9, in this instance a Sunx 4EPK, having being activated by an optical disk 10 which has a diameter of 28mm and is coupled to the spindle. The optical disk and its reader presents a square wave signal to the system which results in an open and closed signal being relayed to a solid state relay 8 depending on whether the reader is seeing the opaque or clear section of the disk. The disk is configured so that the current is only allowed to flow when the system is in State Two and no current flows when the system is in State One. The solid state relay is from Croydom, model SSC 1000-25-24 and is rated for a maximum output of 25 Amps based on a 24 volt feed.

The voltage feed is supplied by an ISO Tech IPS-2303, Laboratory DC Power Supply. As per Fig. 4 the electromagnetic coil 5 does not have a voltage applied to it from 0 degrees to 179 degrees and the electromagnetic coil 6 has a voltage applied to it from 180 degree to 360 degrees. This is achieved by the optical disk having an open circuit setting from 0 to 179 degrees and conversely controlling a closed circuit, with the solid state relay and an applied voltage from 180 degrees to 360 degrees.

In this embodiment Fig. 5 presents all of the system's components and in turn the positional relationship to one another at a particular angle, in this instance the 0 degree mark as set out in Fig. 4.

Shown in Fig. 7, a further illustrative embodiment comprises a polycarbonate base 14, 200x200mm in size, of height 30mm with 20x20mm bevelled corners. A number of cut outs and mounts are provided to facilitate assembly, the most notable being a 39mm diameter hole 15 provided in the centre of the base 14. Two polycarbonate stands 16, 17, both 100mm tall, 60mm wide and 28mm deep are mounted on the base 14 and another polycarbonate bracket 18 is mounted across the top of stands 16 and 17. Bracket 18 is 172mm long, 60mm wide and 30mm deep, with a 39mm diameter hole 19 in its centre, positioned such that it is aligned with the hole 15 in the main base 14.

The spindle 1 is mounted and positioned through the 39mm holes 15, 19 in the base 14 and the bracket 18, respectively, utilizing similar low-friction magnetic bearings 7 as described earlier. Additional components include a micrometer head 24 attached to the spindle 1 , collars 25, nuts 26, ring magnets 27, bushings 28, and clamp collar 29. In one embodiment the micrometer head 24 is made of stainless steel; the collars 25, nuts 26, bushings 28, and clamp collar 29 are acetal. A tungsten-carbide ball 30 rests atop the spindle 1.

As shown in Figs. 8a-8d, four additional polycarbonate brackets 20 are mounted on the base 14. These brackets 20 are broadly triangular in shape with squared-off edges, 70mm tall, 71mm wide and 30mm deep. Each of these brackets 20 is provided with a cut-out 21 at 41.5mm from its base, said cut-out being 15mm tall, 27mm wide and 27mm deep. The brackets 20 are each mounted on the diagonals of the base 14 such that the cut-out 21 is facing towards the centre of the base 14. Positioned within the cut-outs 21 of the polycarbonate brackets 20 are four toroidal coils 22. These coils 22 are comprised of a Magnetec M-059 torus core, with a 120-turn winding utilizing American Wire Gauge 27 copper wire.

As shown in Fig. 9, a spindle 1 has attached to it several components of the embodiment. The spindle 1 is of a rigid epoxy material and is 130mm in length, with a diameter of 12mm over the central 100mm, and diameter of 8.1mm for 15mm at either end. Also attached to the spindle is an optical disk 10. This optical disk 10, in conjunction with similar control equipment to that described earlier including an optical switch 23, relay (not shown), and power supply (not shown) provides for four instances per revolution where the toroidal coils 22 are supplied with current. Current is supplied to the coils 22 when each of the pairs of magnets 3 mounted on the rotor 2 is exactly aligned with one of the coils 22 and then switched off until the next instance when the magnet pairs 3 and the coils 22 are aligned. The current is supplied over 25 degrees of revolution for each alignment.

The rotor 2 is of polycarbonate and is 100mm diameter and 24mm tall. At each of the four principal cardinal points it is provided with a pair of cut-outs on its vertical exterior side, each of these being 10.1mm in diameter, 10mm deep. These cut-outs hold pairs of permanent magnets 3 for a total of 8 magnets. In this embodiment the magnets 3 are 10x10mm cylindrically shaped, of type NdFeb N38H. The magnets 3 are mounted one above the other. In this illustrative embodiment the upper magnet 3 of each pair is mounted with its North pole facing outwards and the lower magnet 3 of each pair is mounted with its South pole facing outward. The air gap between the magnet pairs 3 and the toroidal coils 22 is 10mm in this embodiment, although that can be adjusted by moving the brackets 20.

Figs. 10-12 show alternate views of an illustrative embodiment with the above-mentioned components. As shown in Fig. 12, the base 14, bracket 18, and stands 16, 17 may be assembled using machine screws 31 and machine nuts 32 as shown, or by using other appropriate fasteners, an adhesive, or solvent welding.

While the invention has been described with reference to illustrative embodiments, it will be understood by those skilled in the art that various other changes, omissions, and/or additions may be made and substantial equivalents may be substituted for elements thereof with departing from the spirit and scope of the invention. In addition, many modifications may be made to adapt a particular situation or material to the teaching of the invention without departing from the scope thereof. Therefore, it is intended that the invention not be limited to the particular embodiment disclosed for carrying out this invention, but that the invention will include all embodiments, falling within the scope of the appended claims.



PASSIVE MAGNETIC BEARING
US2011001379

FIELD OF THE INVENTION

[0001] The present invention is in the field of bearings systems, and more particularly relates to passive magnetic bearings for providing radial and axial restraint in rotary systems.

BACKGROUND OF THE INVENTION

[0002] This invention relates to control of rotating mechanical systems, specifically the requirement to restrain the relative movement of two or more elements of such a system. A wide variety of bearings exist which attempt to address this requirement, ranging from simple ball bearings to complex electromagnetic assemblies.

[0003] Ball bearings are well known in the art and are utilized in thousands of devices. Improvements in materials technology, such as the use of ceramics, and enhanced raceway designs have addressed many of the inherent issues with traditional bearings, such as friction and lubrication.

[0004] At the other end of the spectrum, advances in magnetic materials and magnetic levitation technology have given rise to active magnetic bearings which overcome the issues associated with direct contact between moving parts although they present a different set of challenges related to their complex control requirements.

SUMMARY OF THE INVENTION

[0005] The invention disclosed herein relates to a means of providing radial and axial stability using passive magnetic bearings in conjunction with ceramic ball bearings and associated structures.

[0006] The passive magnetic bearings disclosed herein have an exceptionally low friction couple whilst exhibiting radial and axial rigidity.

[0007] In one illustrative embodiment, passive magnetic bearing is made up of a large axially magnetized ring shaped magnet, and a less large axially magnetized ring shaped magnet. Both magnets have at least one pair of negative and positive poles with field lines which emanate in an axial manner, that is, a magnetic field shape which is perpendicular to an axial cross section of the magnets.

[0008] When the less large magnetic ring is positioned inside the open area of the large magnetic ring, the field of the less large magnetic ring and the magnetic field of the large magnetic ring will rapidly produce both a restorative and repulsive force such that a levitation effect will be acting upon the less large magnetic ring compared to the large magnetic ring.

[0009] The large magnetic ring is embedded in a non-magnetic material and this housing is designed so that no displacement of the housing or the large magnetic ring is allowed. The housing also allows for the less large ring magnet to sit directly within the internal open area of the larger ring magnet. The less large ring magnet is restrained by the following mechanisms: two sets of stainless steel axial thrust bearings and a number of ceramic ball bearings, all of which are housed in two cages.

[0010] The resultant precise positioning of the less large ring magnet is such that the two ring magnets have their positive and negative poles aligned such that the net forces, or lines of force, acting between the magnetic rings are close to or equal to zero. Any displacement experienced by the less large ring magnet is mechanically corrected by the ceramic bearings in conjunction with a magnetic correction relating to the opposing fields of the two ring magnets seeking their lowest energy or force state, thus realigning the less large magnetic ring back to a predetermined home position.

[0011] This system is of a magneto-mechanical nature and requires no circuitry. It has a variety of applications which require a friction minimizing bearing operation. The removal of friction through the levitation effect exhibited by this magnetic bearing system through the non-contact nature of the shaft and its attached less large ring magnet, coupled with the passive nature of this system, allows for non-contact rotation for both low and high speed systems integration.

[0012] One of the known impediments to such a system is eddy current losses and to counter these, materials within the system are chosen for their lack of conductivity and/or are of a high electrical resistivity value. Another issue typical of a magnetic bearing system is losses due to hysteresis effects which in turn are due to changing magnetic fields. Such hysteresis effects are removed or minimized to such an extent that they are not a significant loss due to reduced magnetic field changes directly related to the fact that the large and less large ring magnets are radially restrained in a stable repulsive magnetic field by said magnetic field interaction and also that the axial movement of the less large ring magnet is substantially reduced, such that the overall magnetic bearing systems operates in a manner that allows for a near zero force to be acting on the two ring magnets and as such the system exhibits little or no magnetic field changes and thus little or no hysteresis effects or losses.

[0013] Due to the rigid nature of this magnetic bearing system, this system can be used as a single unit or in a plurality of implementations and the related magnetic levitation of the shaft allows for little or no contact on the shaft pivot points, thereby vastly reducing or completely diminishing pivot point friction.

BRIEF DESCRIPTION OF THE DRAWINGS

[0014] FIG. 1 is a cross section of the bearing system.



[0015] FIG. 2 is a cross section of the large and less large ring magnets indicating their polar orientation.



[0016] FIG. 3 shows a first, less large inner magnet, its attached stainless steel sleeve and an attached shaft.



[0017] FIG. 4 shows the less large inner magnet, its attached stainless steel sleeve and an attached shaft for a dual bearing arrangement.



[0018] FIG. 5 is a cross section of the bearing system without its outer housing.



DETAILED DESCRIPTION

[0019] In accordance with one embodiment of the present invention a large axially magnetized ring magnet 1 and a less large axially magnetized ring magnet 2 are positioned inside a housing 6. The housing 6, manufactured from Acetal, is circular in shape with a diameter of 43 mm and a depth of 9 mm comes in two pre-manufactured parts, which are mirror images of each other. Each housing piece exhibits three step-down cut outs. The largest of these is found 8 mm from the outer diameter of the housing piece. This first cut out has a diameter of 30 mm, the second largest cut out has a diameter of 24.4 mm and the smallest has a diameter of 11.5 mm. It is within these cut outs in this illustrative embodiment that the various bearing components are housed.

[0020] As shown in FIG. 2 the two ring magnets 1 and 2 exhibit at least one pair of north and south poles. The two magnets 1 and 2 have the same width and are constrained within the housing such that the both the outer and inner edges of the ring magnets are in the same y plane symmetry. The magnets 1 and 2 are positioned in such a manner that they exert a repulsive magnetic field on each other. In this embodiment the outer diameter for the large magnet 1 is 30 mm, its inner diameter is 22 mm and its depth is 6 mm. For the less large magnet 2, its outer diameter is 18.6 mm, its inner diameter is 8.2 mm and its depth is 6 mm. Both the large ring magnet 1 and the less large ring magnet 2 are made from NdFeB 35 material.

[0021] FIG. 2. and FIG. 3 illustrate the magnetic pole positions of the two ring magnets, which is such that a restorative force is acting between the two magnetic bodies 1 and 2 so that they are magnetically and mechanically restrained in this predetermined position. This effect allows for a shaft 8 (FIG. 3), which is attached to the less large magnetic ring 2 by way of a stainless steel sleeve 7. The stainless steel sleeve 7 is made of stainless steel 316, and has an outer diameter of 8.2 mm, an inner diameter of 6 mm and is 20 mm in length.

[0022] It follows that a levitation effect is experienced by the shaft 8 which is radially constrained by both the levitation effect and the restorative magnetic effect outlined in this particular embodiment of this invention. That is to say that where the radial displacement of the centre of the less large ring magnet 2 is zero from the centre of the large ring magnet 1 then the force acting on the less large ring magnet 2 is zero Newtons.

[0023] The radial stiffness of this system is inversely proportional to the air gap between the large ring magnet 1 and less large magnetic ring 2, and its associated stainless steel sleeve 7 with its attached shaft 8. That is to say that the smaller the air gap between the ring magnets 1 and 2, the lower the propensity of the less large ring magnet 2 and its associated stainless steel sleeve 7 with its attached shaft 8, to experience radial displacement. Accordingly the spring constant is at its most beneficial level at this air gap which is fixed consequently in conjunction to achievement of an invariant total system magnetic field whether the magnetic materials, with their inherent magnetic fields, of the combined fields are in a stationary position or rotational plane of movement. The spring constant deals in this particular embodiment with the relationship between the distance of the two ring magnets, 1 and 2, and the force required to restore any radial displacement of said magnetic rings.

[0024] Referring back to FIG. 1 the large ring magnet 1 is constrained in the housing 6 by a thrust bearing race 3 with non-magnetic ball bearings 5. The ball bearings are of a 3/32 in diameter and are of an aluminum oxide material, whilst the thrust bearing race is of a stainless steel material and has an outer diameter of 18.5 mm, an inner diameter of 11.5 mm and a depth of 0.5 mm.

[0025] The ball bearings 5 are kept in place by two cages 4 of Acetal material, each cage 4 having a total of 10 cavities of 2.6 mm diameter. Each cage 4 has an outer diameter of 21 mm and an inner diameter of 15 mm, and each of the centre-points of the cavities is exactly 8.5 mm from the centre-point of the cage. Each of the cavities has one of the ball bearings 5 free to move about it. The friction for such rolling or sliding of the ball bearings 5 is facilitated by the thrust bearing race 3.

[0026] The configuration of thrust bearing races 3, ball bearings 5, and cages 4 is such that the less large ring magnet 2 is kept in a stable axial position with respect to maintaining an invariant field between the large 1 and less large 2 axially magnetized ring magnets.

[0027] There are a total of four thrust bearing races 3 incorporated into the passive magnetic bearing system. Each thrust bearing race 3 has an outer diameter of 18.5 mm and an inner diameter of 11.5 mm. These are permanently affixed by adhesive to the two sections of housing 6. The thrust bearing races 3 provide the minimum surface friction for the ceramic ball bearings to operate to maintain the less large magnetic ring 2 and its associated stainless steel sleeve in 7 a stable axial position.

[0028] For the correct operation of the ball bearings 5 there is a requirement for a set of thrust bearing races 3 to be utilized on both contact sides for the ball bearings 5. For this particular arrangement, a total of twenty 3/32 in aluminum oxide ball bearings are used.

[0029] The number of ball bearings, thrust bearing race diameter, and holding cage size is directly dependent on the choice of ring magnets, being reliant on the physical dimensions of the magnetic materials, the grades, the resultant magnetic field shapes and the required air gap to maintain the levitation effect in a radial manner, as presented previously. The size of any proposed rotor or shaft to be attached to the system is also a function of material and specification choice.

[0030] The retaining mechanisms, the small magnetic ring 2 and similar are attached using adhesive to the stainless steel sleeve 7 of an outer diameter of 8.2 mm and an inner diameter of 6 mm. A shaft 8 would in turn be attached to the inner diameter of the sleeve, typically by welding or an adhesive of sufficient strength to maintain required operation.

[0031] Further magnetic bearing systems of the same specification could be added to a shaft 8, as per FIG. 5, where the components are set out in a dual system arrangement. Attaching more than one magnetic bearing system gives radial and axial rigidity which is such that the shaft 8 can achieve levitation and be stable in a permanent manner such that there is no contact between the shaft 8 and the large ring magnet 1.

[0032] FIG. 6 shows the components of the axial retaining system for the less large ring magnet 2 and in turn the positional relationship of the less large ring magnet 2 with the large ring magnet 1. The magnetization field directions illustrate the fact that the two magnets are in repulsive mode and this setting has both retentive and restorative magnetic and mechanical characteristics.

[0033] While the invention has been described with reference to illustrative embodiments, it will be understood by those skilled in the art that various other changes, omissions, and/or additions may be made and substantial equivalents may be substituted for elements thereof with departing from the spirit and scope of the invention. In addition, many modifications may be made to adapt a particular situation or material to the teaching of the invention with departing from the scope thereof. Therefore, it is intended that the invention not be limited to the particular embodiment disclosed for carrying out this invention, but that the invention will include all embodiments, falling within the scope of the appended claims.



TORQUE MEASUREMENT SYSTEM
WO2009087476

Field of the invention

The present invention is in the field of the measurement systems and, more particularly, systems for measuring kinetic energy and torque of a rotating body.

Background

Numerous commercial systems are available to measure the angular displacement, angular velocity, kinetic energy, and torque acting on a disk during rotation. However, most commercial systems that are available to perform such measurements require test sensors to be in physical contact with the rotating body being measured. Therefore, such systems detrimentally affect the dynamics of the system being measured.

Previously known optical encoders use reflected laser beams to accurately measure the angular displacement of a body, but are not generally used to measure angular velocity for a given displacement. Such devices have been used to measure the average angular velocity of a body over a large angular displacement, typically over several revolutions, but are not generally used to measure the instantaneous angular velocity for rotating bodies during acceleration over small angular displacements or to associate instantaneous velocity with a particular displacement. Because optical angular velocity measurements have typically been performed using average angular velocity over a relatively large angular displacement, the use of such measurements to determine other dynamic conditions of a rotating body, such as torque or kinetic energy, provides average values over the large displacement and do not provide accurate nearly instantaneous information such as nearly the instantaneous torque or nearly instantaneous kinetic energy of a rotating body for a given displacement.

Previously known systems and methods for measuring nearly instantaneous torque or kinetic energy of a rotating body during less than one revolution of the body typically employ torque sensors which make contact with the body, thus detrimentally affecting the dynamics being measured. Summary of the Invention
Embodiments of the present invention measure nearly instantaneous angular velocity for each of a plurality of small angular displacements of a rotating body using a laser measurement sensor. A flat graduated disk, such as a paper disk, is applied to the body being tested. The graduated disk is selected such that it will not substantially change the moment of inertia of the body being tested or its air resistance. A laser diode is aimed at the disk and laser light reflected from the disk is received by a photo-diode. As the disk rotates, the laser light alternatively reflects from graduated portions and the spaces between graduated portions. The different reflective properties between the graduated portions and the space between graduations causes the intensity of the reflected light to pulsate. The output from the photo-diode provides a series of signal pulses which are each associated with corresponding graduations of the disk. Each pulse is time-stamped so that the angular velocity of the rotating disk can be measured for each graduation. The kinetic energy and torque acting on the rotating disk is then calculated for each graduation of the disk. Because torque is calculated without using conventional torque sensors, no part of the inventive measurement system makes contact with the rotating object to detrimentally affect the dynamics being measured.

The inventive measurement device has the capability to measure the kinetic energy and torque of a rotating disc without making any contact with the disc or anything connected to the disc during measurement. It does this by accurately measuring speed changes during angular displacement of a 360 degree rotation of a disc and the speed at specific positions of the disc.

Existing non-contact Optical encoders use a reflective lasers that measure position use a similar type of reflective laser concept, from which the general speed of the disc can be calculated. However, the output of such existing encoders is primarily focused on position precision. Speed changes during a 360 degree rotation are not a main consideration. In such existing systems speed changes can only be crudely calculated on a number of revolutions per minute basis. If speed changes during a 360 degree rotation are required a torque sensor has generally been employed. Such torque sensors must typically come in contact with the disk being measured.

The present invention overcomes the limitations of the prior art by using a non-contact encoder concept, recording data for graduation on for a disk within each 360 degree rotation. This data is used to determine speed changes during a rotation to calculate torque and kinetic energy variations which take place during each rotation.

Brief Description of the Drawings

The foregoing and other features and advantages of the present invention will be better understood from the following detailed description of illustrative embodiments, taken in conjunction with the accompanying drawings in which:

Fig. 1 is a schematic diagram of a measurement system according to an illustrative embodiment of the invention;



Fig. 2 is an oscilloscope measurement of the  light monitoring device output signal according to an illustrative embodiment of the invention;



Fig. 3 is a plot of kinetic energy and torque versus angular displacement as measured according to an illustrative embodiment of the invention; and



Fig. 4 is a flow diagram illustrating a method of measuring kinetic energy and torque according to an illustrative embodiment of the invention.



Detailed Description

An illustrative embodiment of the invention as shown in Fig. 1 provides a test system 10 having a light emitting device 12 such as a laser diode, a light monitoring device 14 such as a photodiode, and a graduated encoder disk 16 which is affixed to a rotating body 18 being measured. A time-stamping device 20 such as an oscilloscope is provided in communication with the light monitoring device 14 and receives output signals therefrom. The graduated disk has a radial array of graduations printed on a contrasting background. In the illustrative embodiment, the graduated disk is constructed of paper and has a white background with black graduations printed in a radial fashion at assigned intervals (typically one degree). A home position graduation 22 that has a greater width than the other printed graduations acts as a reference or home position marker. The graduated disk is securely attached to the disk that is being measured.

The light emitting device 12 emits a light beam that is directed at the rotating graduated disk 16. The light emitting device 12 and light monitoring device 14 are aligned so that the light is reflected from the graduated disk into the light monitoring device 14. The light emitting device 12 and light monitoring device 14 are securely fixed with respect to the rotation of the rotating body 18.

In an illustrative embodiment, direct current is provided to power the light emitting device and light monitoring device. An analog output signal from the light monitoring device input to a time stamping device such as a digital oscilloscope so that the signal may be digitally sampled and analyzed. Illustratively, the oscilloscope records a voltage produced by the light monitoring device and the time at which the voltage was recorded, so that all voltage measurements are time-stamped.

Operation of the inventive measurement system is described with reference to Fig. 1 and Fig. 2. Light from the light emitting device 12 is reflected off the surface of the graduated disk

16. The intensity of the reflected light varies depending on the reflective properties, (i.e. color) of the section of the graduated disk 16 at which the light emitting device is pointing.

Illustratively, the light monitoring device 14 produces an output voltage that is proportional to the intensity of the light reflected by the graduated disk 16. Accordingly, if the light emitting device is pointing at a section of the graduated disk 16 that is black, the light monitoring device 14 will produce a lower voltage than if the light emitting device 12 is pointing at a section of the graduated disk that is white. Hence, as the graduated disk rotates, the light monitoring device 14 produces a voltage that varies as the intensity of reflected light changes due to the passing of the graduations under the light emitting device 12. When recorded on an oscilloscope, the analog signals 24 from the light monitoring device 14 vary as the graduations pass the light emitting device as shown in Fig. 2.

The angular velocity of the disk is determined by measuring the time between leading edges of the analog signal 24. Illustratively one graduation is printed on the disk per degree of angular displacement. Since the angular displacement between the graduations is known and the time taken to travel between these graduations can be measured, the angular velocity can be determined. A system can provide a measurement of any change in the angular velocity during a single revolution.

The angular displacement of the disk at any point in time is determined by counting the number of pulses from a known reference position (the "home" position). In the illustrative embodiment, the home position of the system is a graduation that is of greater physical width than the other graduations on the disk. Hence, the home pulse 26 recorded by the oscilloscope can be identified because it is of greater width than the other pulses of the analog signal 24.
According to illustrative embodiments of the invention, the moment of inertia of the disk is accurately calculated. The moment of inertia and angular velocity data are then used to calculate the kinetic energy of the disk during rotation, using the standard formula: Kinetic energy = <1>A I[omega]" where I=moment of inertia of the disk (Kg/m<~>) and [omega] is angular velocity (radians/second).

Since the kinetic energy is calculated at known positions (the graduation markings) and the distance between these graduations is also known, the torque acting on the disk is calculated by differentiating the kinetic energy with respect to angular displacement. Hence, from the angular displacement, and angular velocity measurements, the kinetic energy and torque of the system can be calculated during the system's revolution. An exemplary plot of kinetic energy 28 and torque 30 versus angular displacement measured according to the present invention is shown in Fig. 3.

Measurement uncertainty in the test system may be caused by several factors including the response time of the light monitoring device, the accuracy of the placement of disk graduations, the sampling frequency of the light monitoring device output signal, the accuracy of the time stamping oscilloscope and the accuracy of moment of inertia calculations.

For example, a time lag in the photo-diode between the change of light intensity that enters the sensor and associated change in the output voltage level; this will lead to measurement uncertainty. Also, the lower the oscilloscope sampling frequency the greater the measurement uncertainty. Further, for a fixed sampling frequency, the measurement uncertainty will increase with an increase in angular velocity because the number of samples taken between the leading edges will determine the timing and positioning accuracy of the system.

Since both the kinetic energy and torque values are calculated based upon the moment of inertia of the disk being tested, inaccuracies in calculating the moment of inertia of a rotating body will increase the measurement uncertainty of the kinetic energy and torque values.

The moment of inertia can be calculated through the use of parametric mechanical design and modeling software. In an illustrative embodiment, Solid Edge <rM> 3D CAD software by Siemens PLM Software of Piano. Texas is used to calculate the disk's moment of inertia based on information such as the disk's material, dimensions, weight, density and point of rotation.

Fig. 4 illustrates a method of measuring kinetic energy and torque according to the invention. In an application step 40, a graduations are applied to the disk. While the disk is rotating, a first sensing step 42 is performed in which a light source such as a laser diode is directed to shine upon graduations. In a second measurement step 44, light reflected from the graduations is received by a sensor such as a photo-diode. The sensor converts reflected light into a signal having pulses which correspond to the passage of graduations beneath the light source. In time stamping step 46, signal pulses output from the sensor are time stamped, for example by recording the pulses on a digital oscilloscope. In a correspondence step 48, each of the time stamped signal pulse is associated with a corresponding angular displacement according to the angular displacement between graduations. In a velocity calculation step 50, the angular displacement between graduations is divided by the time between the time stamped signal pulses which correspond to the graduations. In a kinetic energy calculation step, the measured angular velocity and the disks moment of inertia are used to calculate the disk's kinetic energy during a specified angular displacement. In a torque calculation step 52, the measured angular velocity and the disk's moment of inertia are used to calculate the disk's torque during a specified angular displacement.

Although illustrative embodiments of the invention have been described herein as using a digital oscilloscope as a time stamping device, persons skilled in the art should recognize that the use of an oscilloscope may be impractical for various desired implementations of a torque measurement system. Furthermore, the maximum sampling rate of a typical digital oscilloscope may not be high enough to accurately measure the projected maximum rotational speed of about 10,000 rotations per minute (RPM) for certain embodiments of the invention. It should therefore be appreciated that alternative embodiments of the present invention may be implemented without using an oscilloscope. For example, in an illustrative embodiment of the invention, time stamping circuitry includes high speed electronics which overcome the disadvantages of using an oscilloscope for time stamping. The high speed electronics can generate and capture signals from a rotating body capable of detecting kinetic energy and toque changes during disk rotation at speeds up to 10,000 RPM.

In an illustrative embodiment, the high speed electronics for times stamping include a quartz crystal which outputs an oscillating signal having a frequency of about 2 gigahertz, for example. This provides a time period between time stamps in the output signal of about 5 x 10<"10> seconds which can be used to time the pulses from the photodiode. The high speed electronics detect the pulses from the photo diode when changes from black graduation to white graduation produces a rising edge and changes from white graduation to black graduation produces a falling edge. For each graduation, a counter in the high speed electronics counts the number of time stamps from the quartz crystal during each graduation detected by the photo-diode. After each graduation, the high speed electronics reads the number of pulses from the counter, then resets the counter to start a new count for the next graduation. The time stamps counted per graduation are summed and multiplied by the period of the oscillator signal to calculate the time for the measured graduation on the rotating body to pass the photodiode. Since, in the illustrative embodiment, one graduation is equal to one degree of angular displacement of the rotating body, the measured time period per pulse is readily converted to an angular velocity to provide a nearly instantaneous measurement of the body's angular velocity at any time.
In an illustrative embodiment the high speed pulse counting may be performed by channelling the quartz crystal output signals and the photodiode output signals through counting circuitry on a printed circuit board (PCB) having a series of high speed gates and providing a low speed output. The low speed output can then be channelled to a low speed counter. One or more microcontrollers or other custom hardware can perform counting of the time stamps per pulse on the PCB board for output to a computer.

A Serial Peripheral Interface (SPI) to Universal Serial Bus (USB) converter can be used to receive data from the PCB board and convert it into USB format for the computer.

Alternatively, the SPI to USB converter may be replaced by other custom interface circuitry. The computer may be used to execute software for converting the number of time stamps per pulse and the number of pulses to a nearly instantaneous angular velocity, kinetic energy and/or torque for the rotating body. Although the invention is described with reference to a light source such as laser diode, and a light monitoring device such as a photo-diode, persons having ordinary skill in the art should appreciate that various other types of light sources and light monitoring devices can be used within the scope of the invention.
Although the invention is described with reference to an encoding disk being affixed to the rotating body, it should be understood that encoding graduations can be printed directly onto a rotating body within the scope of the invention. While the invention has been described with reference to an exemplary embodiment, it should be understood by those skilled in the art that various changes, omissions and/or additions may be made and equivalents may be substituted for elements thereof without departing from the spirit and scope of the invention, In addition, many modifications may be made to adapt a particular situation or material to the teachings of the invention without departing from the scope thereof. Therefore, it is intended that the invention not be limited to the particular embodiment disclosed as the best mode contemplated for carrying out this invention, but that the invention will include all embodiments falling within the scope of the appended claims. Moreover, unless specifically stated any use of the terms first, second, etc. do not denote any order or importance, but rather the terms first, second, etc. are used to distinguish one element from another.



SYSTEM AND METHOD FOR MEASURING ENERGY IN MAGNETIC INTERACTIONS
US2009009157

CROSS-REFERENCE TO RELATED APPLICATIONS

[0001] This application claims priority to U.S. Provisional Patent Application No. 60/947,474 filed on Jul. 2, 2007.

FIELD OF THE INVENTION

[0002] The present invention relates to test systems, and more particularly to test systems for measuring energy exchanges involving the magnetic fields of magnetic materials.

BACKGROUND OF THE INVENTION

[0003] It may be desirable to measure the total energy exchanged due to the interaction of magnetic fields. It may also be desirable, in measuring such energy exchanges, to account for the magnetic viscosity of materials involved in the exchanges.

SUMMARY OF THE INVENTION

[0004] The present invention provides an apparatus and method for measuring magnetic force response time due to the magnetic viscosity of materials and for measuring total energy exchanged due to relative motion of magnetic materials.

[0005] According to an embodiment of the invention, a test system for measuring magnetic force response time comprises an electromagnet mounted to a test stand and a material under test (MUT) mounted to a force gauge such that a magnetic flux linkage can be created between the electromagnet and the MUT. An oscilloscope or other test instrument is used to measure and record the voltage and current through a coil of the electromagnet and a force reading from the force gauge or other test instrument with respect to time. A step increase in magnetic flux through the MUT is created by energizing the electromagnet. The magnetic force exerted on the MUT as a result of the magnetic flux is observed on the force gauge and observed as a function of time on the oscilloscope.

[0006] The system is calibrated by accounting for the characteristic response time of the force gauge and confirming that the net effect of eddy currents in the MUT is negligible. When the electromagnet is energized, the time elapsed before a maximum magnetic force is reached is measured on the MUT. The direction of the current applied to the electromagnet is reversed to measure the effect on the MUT of a magnetic field in the opposite direction.

[0007] In the illustrative embodiment, the MUT comprises a partially de-magnetized permanent magnet. The magnetic viscosity of the MUT is therefore much greater than the viscosity of the ferromagnetic core of the electromagnet. Accordingly, this rise time of measured force on the MUT is attributed almost exclusively to the time needed to align magnetic domains in the MUT. A pulse generator can be used in combination with a relay to repeatedly energize the electromagnet. The method and apparatus of the illustrative embodiment can be used to measure the rise time and maximum force produced upon each cycle, or upon a sampling of cycles of the pulse generator to demonstrate the effect of repeated magnetic interactions on a MUT.

[0008] According to another embodiment of the invention, a test system for measuring energy exchanged due to the relative motion of magnetic materials comprises a permanent magnet mounted on a disk. The disk is revolved about its axis of rotation to establish a circular path of the permanent magnet. A passive electromagnet is mounted proximate to the circular path of the permanent magnet. Current that is induced in the electromagnet is measured and recorded for corresponding angular displacements of the permanent magnet around the circular path. Torque on the disk is also measured for corresponding angular displacements of the permanent magnet around the circular path. The magnetic flux density in the electromagnet is calculated as a function of the current for corresponding angular displacements of the permanent magnet. The mechanical energy transferred to the disk is calculated as a function of measured torque versus angular displacement of the permanent magnet for a given angular velocity of the disk. The electrical energy transferred to the electromagnet is calculated as a function of the measured current in the electromagnet for a given angular velocity of the disk. The absolute values of the transferred mechanical energy and electrical energy are combined to determine the total energy exchanged by interaction of the permanent magnet and electromagnet.

[0009] The illustrative embodiments of the invention provide a system and method for demonstrating that the absolute net energy of a ferromagnetic interaction varies as a function of the relative velocities of magnetic materials involved in the interaction. The embodiments provide a system and method for demonstrating that the variations of absolute net energy as a function of speed are due to the magnetic viscosity of the materials involved in the interaction. Accordingly, embodiments of the present invention can be used to demonstrate that the absolute energy of a magnetic transaction can be controlled by controlling the speed of the interaction.

BRIEF DESCRIPTION OF THE DRAWINGS

[0010] The foregoing and other features and advantages of the present invention will be better understood from the following detailed description of illustrative embodiments, taken in conjunction with the accompanying drawings in which:

[0011] FIG. 1 is a diagram of a test apparatus for measuring magnetic force response time according to an embodiment of the invention;



[0012] FIG. 2 is a process flow diagram showing the steps of measuring magnetic force response time according to an embodiment of the invention;



[0013] FIG. 3 is a graph of force versus time illustrating the results of a ring test performed by applying impulses of different amplitudes on a material under test as measured according to an embodiment of the invention;



[0014] FIG. 4 is a graph of force and current versus time illustrating a lag time in force registration as measured according to an embodiment of the invention;



[0015] FIG. 5 is a graph showing a repulsive force applied to a material under test due to magnetic flux generated by energizing a coil as measured according to an embodiment of the invention;



[0016] FIG. 6 is a graph showing an attractive force applied to a material under test in response to magnetic flux generated by energizing the coil as measured according to an embodiment of the invention;



[0017] FIG. 7 is an initial force versus time graph showing the force lag time due to magnetic viscosity in a material to be used in the repetition test and measured according to an embodiment of the invention;



[0018] FIG. 8 is a force versus time graph acquired after a repetition test performed and measured according to an embodiment of the invention;



[0019] FIG. 9 is a diagram of a test apparatus for measuring energy exchanged due to relative motion of magnetic materials according to an embodiment of the invention;



[0020] FIG. 10 is a process flow diagram showing the steps of measuring energy exchanged due to relative motion of magnetic materials according to an embodiment of the invention;



[0021] FIG. 11 is a graph showing torque versus angular displacement of the disk for different relative speeds of magnetic members as measured according to an embodiment of the invention.



[0022] FIG. 12 is a graph of the magnetic flux within an electromagnet versus angular displacement of a disk for different rotational speeds of the disk as measured according to an embodiment of the invention;



[0023] FIG. 13 is a graph of torque and magnetic flux versus angular position of a disk when the rotational speed of the disk is 1 RPM as measured according to an embodiment of the invention;



[0024] FIG. 14 is a graph of torque and flux versus angular position of a disk when the rotational speed of the disk is 10,000 RPM as measured according to an embodiment of the invention;



[0025] FIG. 15. is a graph showing a magnitude of the flux versus angular position of the disk as measured according to an embodiment of the invention; and



[0026] FIG. 16 is a graph showing total absolute value of mechanical energy and induced electrical energy exchanged during a revolution of a disk as a function of the rotational speed of the disk as measured according to an embodiment of the invention.



DETAILED DESCRIPTION

[0027] A system for measuring magnetic force response time 100 as illustrated in FIG. 1 is comprised of a number of components including an electromagnet 102 illustratively consisting of a core 104 and a coil 106 having a number of turns disposed around the core 104. The electromagnet is a fast acting air coil electromagnet that can be used to generate a step change in magnetic flux. In an illustrative embodiment, the coil 106 has an external diameter of 7 mm and consists of eight turns of 1.5 mm diameter wire insulated by polyurethane. The electromagnet 102 is held rigidly in place relative to a material under test (MUT) 108 such as a permanent magnet. In an illustrative embodiment, the MUT 108 is a partially demagnetized neodymium magnet. The MUT 108 is attached to a piezoelectric force sensor incorporated in a force gauge 110 having an output suitable for connection to an oscilloscope 112. The oscilloscope 112 measures and records the force exerted upon the MUT 108 with respect to time.

[0028] In order to generate a step change in magnetic flux, the electromagnet 102 is connected in series with a resister 114, a direct current DC power source 116 and a first switch 118. Illustratively, the resister is a 2.8 ohm resister and the DC power source 116 is a 24 volt DC battery. A second switch 120 is illustratively provided to enable a repeatable step change in magnetic flux by connecting a pulse generator 122 and relay 124 to the coil 102. A voltage (V1) 126 across the coil 102 and a voltage (V2) 128 across the resistor 114 are measured with respect to time by the oscilloscope 112.

[0029] An air gap 130 is provided between the coil 102 and the MUT 108. Illustratively, the air gap 130 is adjustable. A typical air gap of 2 mm in the illustrative embodiment results in generation of a magnetic flux of 1.6 mT.

[0030] A method of measuring magnetic force is described with reference to the process flow diagram of FIG. 2 which starts at step 200. A MUT such as a permanent magnet is mounted 202 proximate to an electromagnet so that magnetic flux created in the electromagnet applies a force to the MUT. The MUT is connected 204 to a force gauge for measuring the force applied to the MUT. The electromagnet is then energized 206. Force measurements are output from the force gauge to an oscilloscope which records 208 and/or displays the measured force versus time. Current through the electromagnet is also measured and recorded 210 by an oscilloscope. To measure the current through the coil, the oscilloscope is illustratively connected to measure a voltage (e.g., 128 of FIG. 1) across a resistor in series with the coil (e.g., 114 of FIG. 1) which is divided by the value of the resister to yield the current through the coil. The process is completed at step 212.

[0031] A ring test can be performed in order to measure the mechanical response time of the system shown in FIG. 1. The ring test is performed by applying a mechanical impulse to the mounted MUT and recording the force versus time output by the force gauge or other test instrument in response to the impulse. FIG. 3 is a graph 300 of force versus time illustrating the results of such a ring test performed by applying impulses of different amplitudes. It is observed that the measured force versus time curves 302 have the same period of oscillation 304, about 2.45 ms, regardless of the strength of impulse applied to the MUT.

[0032] A lag time in force registration is observed with reference to the graph 400 shown in FIG. 4. Current 402 through the coil of the electromagnet, voltage 404 across the coil of the electromagnet, and force 406 measured by the force gauge in response to the current is plotted as a function of time. A time lag 408 of about 52 [mu]s is observed between registration of full current 410 and registration of full force 412. Since the magnetic field created by energizing a coil propagates at the speed of light there is virtually no lag time associated with propagation of the field. Accordingly, the time lag 408 represents the response time of the force gauge.

[0033] FIG. 5 is a graph showing a repulsive force applied to the MUT, a partially demagnetized neodymium magnet, in response to magnetic flux generated by energizing a coil using the system shown in FIG. 1. In this example, the second switch 120 is in position 'A' to remove the pulse generator 122 and the 124 from the energizing circuit. The first switch 118 is closed to energize the coil 102. The graph 500 shows the force 502 measured when a current 504 is applied to the coil. A rise time 506 of about 1.13 ms due to magnetic viscosity in the MUT is observed from the time of peak current to the time of peak force.

[0034] FIG. 6 is a graph showing an attractive force applied to the MUT in response to magnetic flux generated by energizing the coil using the system shown in FIG. 1. The polarity of the DC power source (116, FIG. 1) energizing the coil is reversed to reverse the direction of magnetic flux and thereby apply an opposite magnetic force to the MUT. In this example, the second switch 120 is still in position 'A' to remove the pulse generator 122 and the relay 124 from the energizing circuit. The first switch 118 is again closed to energize the coil 102. The graph 600 shows the force 602 measured when a current 604 is applied to the coil. A rise time 606 of about 1.13 ms is observed from the time of peak current to the time of peak force. This demonstrates that force lag time due to magnetic viscosity in the MUT is the same regardless of whether the applied magnetic field is attractive or repulsive.

[0035] A repetition test is performed using the system shown in FIG. 1. FIG. 7 is an initial force versus time graph 700 showing the force lag time 702 of about 0.737 [mu]s due to magnetic viscosity in the MUT that will be used in the repetition test. The force 704 generated by the magnetic interaction is about 0.115 N. Once the initial lag time is measured, the system is configured for the repetition test by placing the second switch 120 in position 'B' to include the pulse generator 122 and relay 124 in the coil energizing circuit and closing the first switch 118. The pulse generator 122 provides a stream of pulses to repeatedly open and close the relay 124 which, in turn, repeatedly energizes and de-energizes the coil 102.

[0036] FIG. 8 is a force versus time graph 800 acquired after 840,000 cycles of energizing and de-energizing the coil. The graph 800 shows a force lag time 802 of about 721 [mu]s and a force 804 of about 0.115 N generated by magnetic interaction. A difference in lag time of about 16 [mu]s, or about 2%, is observed between the initial measurements (FIG. 7) and final measurements (FIG. 8) after the repetition test. No difference in the force of magnetic interaction is observed.

[0037] A system for measuring energy exchange due to the relative motion of magnetic materials is described with reference to the illustrative embodiment shown in FIG. 9. In the illustrative embodiment, a permanent magnet 902 is mounted to disk 904 having an axis of rotation 906. The disk 904 is revolved about its axis of rotation 906 to establish a circular path of the permanent magnet 902. A passive electromagnet 908 is mounted proximate to the circular path of the permanent magnet 902. The passive electromagnet consists of a number of turns 910 of wire wrapped around a ferromagnetic core 912. A resistor 914 is connected across the coil 901 and one terminal of the resistor 914 is connected to ground 916.

[0038] Changing magnetic fields in the electromagnet 908 caused by motion of the permanent magnet 902 about the circular path induce current in the coil 908. The induced current versus time is measured and recorded by an oscilloscope for corresponding angular displacements 918 of the permanent magnet 902 around the circular path. Torque on the disk 904 is also measured for corresponding angular displacements of the permanent magnet around the circular path.

[0039] A method of measuring energy exchange due to the relative motion of magnetic materials is described with reference to the process flow diagram of FIG. 10 which starts at step 1002. According to the illustrative method, a permanent magnet is mounted 1004 on a disk. The disk is revolved 1006 about its axis of rotation at a constant speed. A passive electromagnet is mounted 1008 proximate to the path of rotation of the permanent magnet. Current induced in the electromagnet versus angular displacement of the disk is measured 1010. Torque on the disk versus angular displacement of the disk is measured 1012 simultaneously with the current measurement. In the illustrative embodiment, the current measurement is recorded by an oscilloscope and the torque measurement is measured by a torque transducer connected to the oscilloscope.

[0040] The magnetic flux density in the electromagnet is calculated as a function of the current for corresponding angular displacements of the permanent magnet. The mechanical energy transferred to the disk is calculated 1014 as a function of measured torque versus angular displacement of the permanent magnet for a given angular velocity of the disk. The electrical energy transferred to the electromagnet is calculated 1016 as a function of the measured current in the electromagnet for a given angular velocity of the disk. The absolute values of the transferred mechanical energy and electrical energy are combined 1018 to determine the total energy exchanged by interaction of the permanent magnet and electromagnet. The process is completed at step 1020.

[0041] As the disk is rotated at different fixed speeds, the torque on the disk and the flux density of the iron core are plotted as a function of the angular displacement of the disk. Illustratively, the zero degree position is defined as the position of the disk where the permanent magnet is furthest away from the electromagnet, but directly in line with it. The 180 degree position is where the permanent magnet is closest to the electromagnet. In FIG. 9, the disk is shown in the 90 degree position.

[0042] The disk is rotated at speeds of 1, 10, 100, 1000, and 10,000 revolutions per minute (RPMs). For each rotational speed, the torque on the disk and the flux density within the electromagnet are calculated.

[0043] A graph of the measured torque versus angular displacement of the disk for each rotational speed is shown in FIG. 11. The graph 1100 shows the torque at rotational speeds of 1 RPM 1102, 10 RPM 1104, 100 RPM 1106, 1000 RPM 1108 and 10,000 RPM 1110. A graph of the measured magnetic flux within the electromagnet versus angular displacement of the disk for each rotational speed is shown in FIG. 12. The graph 1200 shows the magnet flux at speeds of 1 RPM 1202, 10 RPM 1204, 100 RPM 1206, 1000 RPM 1208 and 10,000 RPM. It is observed with reference to FIG. 11 and FIG. 12 that when the constant rotational speed of the disk is stepped up from 1 RPM to 10,000 RPM, the torque acting on the disk is reduced from about 0.22 Nm to about 0.10 Nm. This reduction in torque is attributable to the finite alignment time of magnetic domains in the ferromagnetic core of the electromagnet, i.e. its magnetic viscosity. In FIG. 12, it is observed that as the constant rotational speed of the disk is stepped up from 1 RPM to 10,000 RPM, the peak flux values move to the right from the 180 degree position, where the permanent magnet is closest to the electromagnet, to about the 210 degree position of the disk. Both the reduction in torque and the shift of the peak flux values are produced as a result of the magnetic viscosity of the electromagnet.

[0044] FIG. 13 is a graph 1300 of torque 1302 and magnetic flux 1304 versus angular position of the disk when the rotational speed of the disk is 1 RPM. A maximum torque of about 0.22 Nm and a maximum flux of about 0.1 Wb is observed. It is also observed that at about 1 RPM the peak flux value and cross over of the torque curve occur at the 180 degree position of the disk. This indicates that there is no noticeable shift of the peak flux value and no noticeable effect of the electromagnet's magnetic viscosity when the disk is rotated at a constant speed of 1 RPM.

[0045] FIG. 14 is a graph 1400 of torque 1402 and flux 1404 versus angular position of the disk when the rotational speed of the disk is 10,000 RPM. A maximum torque of about 0.10 Nm and a maximum flux of about 0.0023 Wb is observed. FIG. 15. is a graph 1500 having a scale that more clearly shows the magnitude of the flux 1404 versus angular position of the disk. Again, it is observed that, due to the magnetic viscosity of magnetic materials in the system, the peak torque value of the magnetic transaction is much smaller when the disk is rotated at a constant speed of 10,000 RPM than it is when the disk is rotated at constant speed of 1 RPM. In FIG. 15 it is observed that, due to the magnetic viscosity of the magnetic materials in the system, when the disk is rotated at 10,000 RPM, the flux within the electromagnet peaks at a disk position of about 210 degrees with a much lower peak flux value than was observed at 1 RPM.

[0046] FIG. 16 is a graph 1600 showing the total absolute value of mechanical energy and induced electrical energy exchanged during a revolution of the disk as a function of the angular velocity of the disk. A plot of the energy calculated by measuring induced current in the electromagnet's coil for a corresponding disk speed represents the electrical energy 1602 exchanged by magnetic interaction during one rotation of the disk. A plot of the energy calculated by measuring torque on the disk for a corresponding disk speed represents the mechanical energy 1604 exchanged by magnetic interactions during one rotation of the disk. The sum of the electrical energy 1602 and mechanical energy 1604 represents the total energy 1606 exchanged by magnetic interactions during a revolution of the disk.

[0047] Although illustrative embodiment of the invention are described as having the MUT mounted to a force gauge and an electromagnet fixed in proximity thereto, persons having ordinary skill in the art should appreciate that alternative embodiments of the invention can be implemented by mounting the electromagnet to the force gauge and fixing the MUT in proximity thereto within the scope of the invention. Further, while an electromagnet is described, it should be appreciate that other magnetic elements can be alternatively implemented. And, while a force gauge and an oscilloscope are used as part of the instrumentation of the illustrative embodiments, other measurement techniques and instrumentation can be alternatively implemented.

[0048] Although a material under test is described herein as a partially demagnetized neodymium magnet, it should be appreciated that any of various other magnetic materials could be alternatively implemented.

[0049] While the invention has been described with reference to an exemplary embodiment, it should be understood by those skilled in the art that various changes, omissions and/or additions may be made and equivalents may be substituted for elements thereof without departing from the spirit and scope of the invention. In addition, many modifications may be made to adapt a particular situation or material to the teachings of the invention without departing from the scope thereof. Therefore, it is intended that the invention not be limited to the particular embodiment disclosed as the best mode contemplated for carrying out this invention, but that the invention will include all embodiments falling within the scope of the appended claims. Moreover, unless specifically stated any use of the terms first, second, etc. do not denote any order or importance, but rather the terms first, second, etc. are used to distinguish one element from another.



SYSTEM AND METHOD FOR MEASURING INTERACTION OF LOADS
WO2008020424
Field of the Invention

The present invention relates to test systems, and more particularly to test systems for measuring characteristics of a load.

Background of the Invention

It is often desirable to measure the forces associated with motion of a load, such as the motion of a fly-wheel or the linear or rotary motion of a rotary actuator. It is also desirable, in measuring such forces, to eliminate extraneous forces that might interfere with the true measurement of the force under measurement.

Summary of the Invention

The present invention provides an apparatus and method for measuring a rotary load and provides the ability to substantially eliminate the affects of friction and system baseline characteristics from the load measurement.

According to the invention, a test system for measuring a rotary load comprises components mounted on an aluminum frame forming a measurement arm. In one embodiment, a stepper motor drives a gear box that is mounted at one end of the aluminum frame. Adjacent to the output shaft of the gear box is a torque sensor which provides contactless measurement signal transmission. The gear box's output shaft is connected to one of the torque sensor's stubs by means of a universal joint coupling. On the other side of the torque sensor a second universal joint coupling connects the sensor to a stainless steel shaft. A low friction flange bearing is used to provide support for the shaft. An angle encoder is disposed on the end of the shaft distal to the gear box. The gear box's output shaft, the torque sensor's cylindrical shaft hubs and associated couplings are arranged such that they are directly aligned with the shaft. The test system has been designed to take automated torque and angle readings from a shaft capable of rotary motion. The measurement arm configuration with the stepper motor directly connects the torque and angle sensors to a PC based data acquisition card for acquisition and processing of data.

In one embodiment of a method according to the invention the user of the system defines a travel path for the shaft or a wheel on the shaft and an angular step for that travel path. The system then automatically travels the path defined in a clockwise and counter-clockwise direction. Since the system has a certain settling time after movement a delay exists between the automated movement of an arm and the acquisition of data. This settling time has been configured to be 2 seconds. It should be appreciated that other settling times may be appropriate. Once the system has been allowed to settle, five torque measurements are taken with a 100ms time period between them. The highest and lowest of these five samples are discarded and the average of the remaining three is taken and recorded as the torque at that angle. This multi-sampling approach is taken so that spikes caused by signal noise may be removed.

The system in the illustrative embodiment is used to make a true torque measurement of a rotary actuated shaft or wheel in a process where a first data set is acquired with the system unloaded as the shaft or wheel is actuated through the defined travel path. The actuation force applied by the stepper motor is accurately controlled through a computer interface. Torque data is measured at each angular step as the wheel is actuated in a first direction (e.g. clockwise). Torque data is then measured at each angular step as the wheel is actuated in the opposite direction (e.g. counter-clockwise).

A load is then placed on the test system, for example, a magnetic force applied by a fixed or electromagnet wherein it is desired to determine the torque on the wheel resulting from the application of the magnetic force or volume. With the load on the system, torque data is acquired/measured at each angular step as the wheel is actuated in a first direction (e.g. clockwise) through the defined travel path. Torque data is then measured at each angular step as the wheel is actuated in the opposite direction (e.g. counter-clockwise) through the defined travel path.

Ultimately, the true torque, i.e. torque less the effects of friction and the system baseline mechanical profile, is determined by adjusting measurement data to virtually eliminate these two- effects. This is done so that the adjusted data represents the actual effects of the interaction of the load, e.g, magnetic field, and not changes in friction or the effect of the test system mechanical profile.

Brief Description of the Drawings

Figure 1 is a perspective view of a test system for measuring a rotary load according to the invention;



Figure 2 is a close-up view of one of the universal joint couplings used in the measurement arm for connection of the torque sensor to the shaft on one side and the gearbox or the other;



Figure 3 is a graph depicting settling time of the stepper motor in the system if Figure 1;



Figure 4 is a block diagrammatic overview of the operation of the test system of Figure 1;



Figure 5 is a block diagram of a process of determination of friction and system baseline mechanical profile, according to the invention;



Figure 6A and Figure 6B are two graphs illustrating the clockwise and counterclockwise torque readings for the test system measurement arm under different friction loads;




Figure 7 is a graph showing an unadjusted torque, mechanical baseline profile and a torque curve adjusted to remove the mechanical baseline;



Figure 8 is a block diagram of a process of determining true torque for load on a system, according to the invention;



Figure 9 is a view of an embodiment of a test system for measuring the interrelationship of magnetic forces having two measurement arms according to the invention; and



Figure 10 is a block diagram of the operation of the test system embodiment of Figure 9 comprising two measurement arms.



Detailed Description

The system, as illustrated in Figure 1, is comprised of a number of components which are mounted on an aluminum frame 10 to form a measurement arm 11. A stepper motor 12, such as a MDrive model MDIF1719, drives a gear box 13, for example a Muffett model M3-50/1-C mounted at one end of the aluminum frame 10. Adjacent to the output shaft of the gear box is a torque sensor 14 with cylindrical shaft stubs. In this illustrative embodiment a HBM T20WN unit which provides contactless measurement signal transmission is implemented. The gear box's output shaft is connected to one of the torque sensor's stubs by means of a universal joint coupling 16. On the other side of the torque sensor a second universal joint coupling 18 is employed to connect the sensor to a stainless steel shaft 20. In this illustrative embodiment the universal joint couplings 16 and IS are Yuil SCJA-20C couplings and the shaft 20 is of diameter 10mm and length 255mm. A low friction flange bearing 22 is used at this juncture to provide support for the shaft. An angle encoder 24 is disposed on the end of the shaft distal to the motor 12. In this embodiment, the angle encoder is a Wachendorff Encoder model WDG58E with angular contact bearings which provide axial and radial alignment with the shaft. The stepper motor's output shaft, the torque sensor's cylindrical shaft hubs and associated couplings are arranged such that they are directly aligned with the shaft.

The universal joint couplings 16, 18 are used to prevent the transmission of complex forces (such as bending forces) to the torque sensor 14. However, while they are highly effective at removing such forces, the universal joint couplings themselves typically contain a degree of play, or slop, as they turn. This characteristic of the couplings has the potential to cause erroneous readings being taken by the torque sensor 14. In order to substantially eliminate this, the universal joint couplings 16, 18 are kept under compression, thus removing the slop in flie couplings. This is achieved by pressing the two sides of the coupling together before they are tightened onto the shaft . A consequence of this is that it increases the friction component of the measurement arm, hence the importance of adjusting for friction as described hereinafter. A more detailed depiction of the universal joint couplings 18 and low friction flange bearing 22 is illustrated in Figure 2.

[iota]n the illustrative embodiment, the test system has been designed to take automated torque and angle readings from the shaft 20 or a wheel on the shaft (not shown) capable of rotary motion. The system is essentially configured as a single measurement arm 11 with the stepper motor 12 and direct connection of the torque and angle sensors to a PC based data acquisition card as known in the art (not shown in Figure 1). It should be appreciated that more than one measurement arm can be configured according to the invention, as described hereinafter with respect to a two measurement arm implementation,

In operation, generally, the user of the system defines a travel path for the shaft or wheel and an angular step for that travel path. The travel path, is the same in each of a loaded and unloaded state in the method as described. The system then automatically travels the paths defined in a clockwise and counter-clockwise direction, unloaded and loaded. Since the system has a certain settling time after eaeh movement in a travel path, a delay exists between the automated movement and the acquisition of data. This settling time has been configured to be 2 seconds. It should be appreciated that other settling times may be appropriate. Figure 3 shows the settling time of the measurement arm as captured using an oscilloscope. Once the system has been allowed to settle, five torque measurements are taken with a 100ms time period between them. It should be appreciated that fewer or greater than 5 measurements could be taken and a time other than 100ms could be used. The highest and lowest of the five samples are discarded and the average of the remaining three is taken and recorded as the torque at that angle. This multi- sampling approach is taken so that spikes caused by signal noise may be removed.

As generally illustrated in Figure 4 (overview), a true torque measurement of a rotary actuated shaft/wheel is determined in a process where first a travel path of the wheel is defined 30, in terms of a number of steps of the wheel through a defined angular path. It is desirable in measuring the true torque to decouple any axial or linear forces present from the rotary force in order to eliminate error that is introduced by the non-torque force(s). Thus, in application of the system described herein, an objective is to determine torque associated virtually exclusively by the load applied to the rotary actuated wheel while virtually eliminating the error or effects of friction and/or any baseline mechanical profile caused by characteristics of the system (e.g. tilt, asymmetry, noise, etc).

An unloaded data set is then acquired 32 with the system unloaded as the shaft/wheel is actuated through the defined travel path. As described, in this illustrative embodiment the actuation force is applied by the stepper motor 12 that is accurately controlled through a computer interface as is well known in the art. Torque data is measured at each angular step as the wheel is actuated in a first direction (e.g. clockwise). Torque data is then measured at each angular step as the wheel is actuated in the opposite direction (e.g. counter-clockwise). Thereafter, the first data set is adjusted 34, as described in more detail hereinafter, to virtually eliminate the effects of friction and the baseline mechanical profile of the system. A load is then placed on the test system 36. The load may, for example, be a magnetic force, applied by a fixed or electromagnet wherein it is desired to determine the torque on the shaft/wheel resulting from the application of the magnetic force or volume. With the load on the system, torque data is measured/acquired at each angular step as the wheel is actuated in a first direction (e.g. clockwise) through the defined travel path. Torque data is then measured at each angular step as the wheel is actuated in the opposite direction (e.g. counter-clockwise) through the defined travel path.

Ultimately, the true torque, Le. torque less the effects of friction and the system baseline mechanical profile, is determined 38 as described in further detail hereinafter by adjusting measurement date to virtually eliminate these two effects. This is done so that the adjusted data represents the actual effects of the interaction of the load, e.g. magnetic field, and not changes in friction or the effect of the test system mechanical profile.

Two adjustments are made to the test system torque data. No adjustments are made to the angle data since the angle encoders are directly connected to the measurement wheels. The first adjustment to the torque measurement data is to remove the effects of friction. The friction will vary as a function of the load applied to the measurement wheel.

Referring now to Figure 5 (Determine Friction and Mechanical Baseline), in order to compensate for friction, a set of no-load torque profile data is acquired. Clockwise 40 and counter-clockwise 42 torque measurements are taken with no load on the system. Due to the way that the torque sensor works, the difference between these measurements represents two times the friction component sensed (the torque sensor is always measuring force in the same direction while the friction component will change direction depending on the direction of rotation). The no-load friction data set is then adjusted by subtracting 44 the counter clockwise torque profile from the clockwise torque profile and dividing by 2 to get a friction data set which provides a measurement of friction, Le. a friction profile. The friction data can be stored 46 for use if and as needed. Then, taking the average of the clockwise and counter clockwise data sets 48 provides an average data set which is a friction compensated torque data set which can be stored 50 for use in , performing adjustment of a torque data set taken under load as described hereinafter.

Figure 6A and Figure 6B are two graphs illustrating the clockwise and counterclockwise torque readings for the test system measurement arm under different friction loads. The first graph, Figure 6A, shows the measurement wheel under a constant friction load. The second graph, Figure 6B, shows the same measurement arm under a varying friction load. The torque measurements of the system net of friction are hence the average of the clockwise and counter-clockwise torque measurements.

As with any mechanical system, the measurement system according to the invention has a certain mechanical profile that is captured by the torque sensor. Typically this is due to the fact that the system components, e.g. measurement arm, can not ever be perfectly aligned or balanced. As magnets or loads are added to the measurement arms the wheels become even more unbalanced. The base mechanical profile is hence typically a Sine curve, as illustrated in Figure.7 which shows a graph of an unadjusted torque 60, a mechanical baseline profile 62 and a torque curve adjusted to remove the mechanical baseline 64.

Referring now to Figure 8 (Determine True Torque for Load on System), in order to measure torque according to this embodiment of the invention, it is necessary to place a load on the system 70. Via the stepper motor, a force is applied to rotate the shaft in a first direction (e.g. clockwise), to a first angle 72, and allowed to settle 74. A torque measurement is taken at that angle 76. This is repeated for all angles in the defined travel path 78, in the first direction. Data is also gathered by performing the foregoing in the opposite direction 80, e.g. counter clockwise. The average of the clockwise and counter clockwise torque profile data gathered gives the friction adjusted torque profile of the system under load 82. The data set that was acquired in determining the friction and baseline mechanical profile of the system is used, Le. including both the clockwise and counter-clockwise torque profile through the defined path. It is subtracted 84 from the friction adjusted profile (i.e. the no-load friction adjusted profile is subtracted from the loaded friction adjusted profile). This provides a representation of the true torque due to the load only. Accordingly, the torque is measured having substantially eliminated the friction and baseline mechanical profile of the system.

Referring now to Figure 9, in order to measure the interaction of magnetic loads, it is necessary to construct a test system comprising two measurement armslOO, 102. The second arm is identical in components and construction to that already described hereinbefore with respect to Fig. 1. The second arm's baseline mechanical profile and friction profile are calculated using the method already described herein. The second arm is mounted adjacent to the first measurement arm, but at an angle of 90 degrees relative to the first measurement arm.

The position of the two measurement arms is such that with a load on each arm, for example a magnetic load, the interaction of the loads can be measured as follows: One load is positioned at a user-defined point and remains stationary for the duration of the test. A travel path and angular step are defined for the other load and data is then collected as it travels that path and interacts with, the other load. Data adjustment is the same as already described herein, the result being the true torque profile for the travelling load based on its interaction with the stationary load. Any number of tests can be performed with either of the two arms in the stationary position and the load on the stationary arm in various user-defined positions.

It should be appreciated that the two measurement arms may be canted relative to one another at an angle other than 90 degrees. The distance between them may also vary.

Although a "wheel" is described in the embodiment herein, it should be appreciated that the test system according to the invention could be used to measure true load on other rotary actuated structures such as cams, bearings or the like, or on other geometrical forms of loaded structures. While a stepper motor is shown and described as an actuator force, it should be appreciated that the wheel or loaded structure could be actuated by other forces such as manually or automatedly by other types of motors.

Although the invention has been shown and described with respect to illustrative embodiments thereof, it should be appreciated that the foregoing and various other changes, modifications, additions and deletions in the form and detail thereof may be made without departing from the spirit and scope of the invention as set for in the claims that follow.



LOW ENERGY MAGNETIC ACTUATOR
WO2006035419

[0001] "Low Energy Magnetic Actuator"

[0002] FIELD OF THE INVENTION

[0003] The present invention relates to a magnetic actuating apparatus.

[0004] BACKGROUND OF THE INVENTION

[0005] Electromagnets are commonly used where there is a requirement for a magnetic field to be actuated (turned on/off).

[0006] An electromagnet achieves this effect by providing (generating) a magnetic field while electrical current is applied to it. To turn off the field the current is no longer applied to the electromagnet.

[0007] The use of electromagnets to effectuate magnetic fields suffers from one major drawback - the electromagnet requires a relatively large amount of electrical energy to operate.

[0008] Many techniques are being used to reduce the amount of external energy that an electromagnet requires. Primarily these techniques relate to the efficiency of the electromagnet and its components.

[0009] SUMMARY OF THE INVENTION

[0010] A low energy magnet actuator allows magnetic fields to be turned on and off using a small amount of energy. The magnetic actuator according to the invention generally includes a base suitable for the support of a plurality of magnets. An actuatable shield is positioned in relation to the plurality of magnets so that it effectively blocks the magnetic field when it is positioned over at least one of the magnets. The magnetic fields of the plurality of magnets interact in a manner that allows low energy actuation of the shield. In one illustrative embodiment of an actuator according to the invention, the base supports a first magnet mounted to the base in a first position. A second magnet is supported by the base in a second position relative to the first magnet. A shield is positioned relative to the first and second magnets in a configuration that enables the movement of the shield between two known positions. In this illustrative embodiment, each magnet is of similar field strength and the field that radiates from the ends are of the same polarity. The shield is of a thickness that effectively blocks the emitted magnetic field when positioned over one or the other of the magnets. The magnetic fields of the two magnets interact in a manner that allows for the low- energy movement of the shield. The exposed magnetic field may be used to perform work (e.g. interact with other magnetic fields to move an object).

[0011] Advantages of the actuator according to the invention include low energy actuation of the shield in a manner that yields motion or actuation that is highly efficient. The highly efficient actuation of the shield results in movement that can perform work in a highly efficient manner.

[0012] BRIEF DESCRIPTION OF THE DRAWINGS

The foregoing, and other features and advantages of the present invention will become more apparent from a detailed description of illustrative embodiments of the invention, taken in conjunction with the following figures, in which:

[0013] Fig. 1 shows an illustrative embodiment of an actuator according to the invention, in a first or "closed" position;



[0014] Fig. 2 shows the actuator of Fig. 1 in a second or "open" position;

[0015] Fig. 3 is a perspective view of a shield of the embodiment of Figs 1 and 2; Fig. 4 shows an alternative embodiment of the invention utilizing three magnets in the actuator;

[0016] Fig. 5 shows the three magnet actuator of Fig. 4 with the shield in a first


[0017] "closed" position ; and

[0018] Fig. 6 shows the three magnet actuator of Fig. 4 with the shield in a second

[0019] "closed" position.

[0020] DETAILED DESCRIPTION QF THE INVENTION

[0021] The present invention is an actuator configuration that involves a plurality of magnetic fields working in conjunction to effect motion in a highly efficient manner.

[0022] Referring now to Figs. 1-3, a first illustrative embodiment of an actuator according to the invention comprises a first magnet 10 and a second magnet 12 disposed on a base 14. In this embodiment the first and second magnets are fixed to the base. The base 14 is disposed proximate to a linear bearing 16. The base 14 and linear bearing 16 are configured to move relative to each other in this embodiment. A shield 18 is disposed in a manner to move relative to the first magnet 10 and the second magnet 12. The shield is driven to appropriate positions as described herein, by mechanical means (not shown), such as a linear actuator (solenoid, stepper motor, worm gear or the like), rotary actuator (cam, rotary bearing or the like) or any of various other actuators.

[0023] In Fig. 1 the actuator is in a first "closed" position., i.e. with the field of the second magnet 12 effectively blocked by the shielded magnet holding the shield 18 in place. Hence, when the magnetic shield is in the 'closed' position, the magnetic field from the actuating magnet (i.e. the second magnet 12) is effectively blocked by the magnetic shield 18 (shown in detail in Fig. 3). There is little or no field just in front of the shield. Thus the second magnetic is effectively blocked and precluded from doing any work.

[0024] As illustrated in Fig. 2, when the actuator is in the 'open' position (i.e. the second magnet is not shielded) the magnetic field for the actuating magnet (i.e. the second magnet) operates as normal i.e., the magnetic field is not blocked. Hence this field is now 'active' in the position where it was previously blocked by the shield 18 (Fig. 3), and the first magnet is blocked.

[0025] In this manner the field from the second or actuating magnet (1) is effectively turned on and off. It should be appreciated that either of the first or second magnet can be used and designated as the "actuating" magnet.

[0026] As illustrated in Figure 1 and 2, the first magnet 10 acts as a "balancing magnet" and allows the movement of the shield 18 to happen for a relatively low amount of energy. Without this balancing magnet 10 the force to move the shield 18 down is relatively high and the system is highly inefficient. The balancing magnet 10 substantially reduces the energy required to move the shield 18 over the actuating magnetic field.

[0027] The positioning of the magnetic shield 18 relative to the balancing and actuating magnets allows for minimal energy to effect actuation. In the open position (Fig. 2) the bottom edge of the magnetic shield should be close to the top edge of the balancing magnet 10. In the closed position (Fig. 1) the top edge of the shield should be close to the bottom of the actuating magnet 12. Mechanical stops may be used to optimally position the shield or otherwise limit the movement thereof.

[0028] Fig. 1 shows a first illustrative embodiment of a magnetic actuator according to the invention, comprising the first magnet 10 fixed to the base 14 which is made of aluminum. The second magnet 12 in this embodiment is of substantially equal strength as the first magnet 10 and is fixed to the base in relative position to the first magnet 10. In this embodiment the second magnet 12 is the actuating magnet in that when it is "open" (i.e. not shielded), it is used to perform work such as by interaction with other entities (for example, other proximate magnetic fields). The first magnet 10 is the balancing magnet in that its primary function is to interact with the shield 18 providing the blocking method for the magnetic fields.

[0029] The shield 18 in this embodiment is positioned in particular relation to both magnets, and is made of a magnetic shield material, such as NETIC S3.6 available from Magnetic Shield Corporation of Bensenville, Illinois. In this illustrative embodiment the bottom edge of the first magnet 10 is approximately 15mm from the top edge of the second magnet with the magnets being approximately 25 mm in diameter. In this embodiment the shield is approximately 30 mm in width and 50 mm in height. In this embodiment the shield is configured such that an inner surface of the shield is approximately 5 mm from a top (flat) surface of the magnets). These dimensions are illustrative and are a function of the size of the actuator and shield.

[0030] It should be appreciated that more than a first and second magnet may be implemented in an actuator according to the invention. Fig. 4 shows an additional embodiment of the invention utilizing three magnets in the actuator. In this instance a third magnet 20 is substantially identical to the other two magnets in terms of size, strength and configuration. The third magnet 20 is disposed on the base 14 in such a fashion that the shield can move in front of it on a linear bearing as per the previous embodiment.

[0031] Fig. 5 shows the three magnet configuration of Fig. 4 with the shield 18 now having reached the closed position in front of the second magnet 12. The movement of the shield 18 along the linear bearing 16 from the third magnet 20 towards the second magnet 12 allows the magnetic field from the third magnet 20 (the actuating magnet) to operate as a function of its magnetic field being exposed.

[0032] Similarly, Fig. 6 shows the three magnet configuration of the actuator with the shield 18 having reached the closed position in front of the first magnet 10. The movement of the shield 18 along the linear bearing 16 from the second magnet 12 towards the first magnet 10 allows the magnetic field from the second magnet 12 (which now becomes the actuating magnet) to operate as a function of its magnetic field being exposed. It should be appreciated that in the three magnet embodiment that two of the magnets may be used as actuating magnets.

[0033] The present invention is not restricted to the above embodiments. In relation to the magnets and shield, all magnets on the base are fixed to the base, such as by an adhesive, and arranged such that their end portions are of the same polarity and the magnetic field radiates outward from the base. However, it is possible that the polarities of the outward end portions of the permanent magnets are alternately changed. The magnets may have different magnitudes of magnetic force. In addition the shield may be of varying dimensions and geometric configuration.

[0034] The system works by moving the magnetic shield in front of one of the permanent magnets or any of various other means of generating a magnetic field. Actuation of the shield in the foregoing embodiments is effected on a low friction linear bearing. The drive mechanism (not shown) for the shield is provided by an external force such as a solenoid, linear motor or the like. The addition of the balancing magnet allows actuation operation to be done for relatively low amounts of energy. While a balancing magnet, or magnets are currently viewed to be the best method of achieving low energy actuation, it should be appreciated that various other methods can produce the same or similar results. Use of springs, pneumatics or the like can also provide the balancing force. Furthermore, it should be appreciated that an actuator according to the invention can be implemented in a wide range of scales, from a miniature scale such as would be implemented in a micromechanical or micro electro mechanical structure to a large scale actuator such as implemented with large permanent magnets and other mechanical structures.

[0035] It should be appreciate that in the foregoing description that the use of the terms "open" and "closed" are nominal and are used for illustration purposes only, as are the terms "top" and "bottom."

[0036] Although the invention is shown and described hereinbefore with respect to illustrative embodiments thereof, persons having ordinary skill in the art should appreciated that the foregoing and various other changes, omissions and additions in the form and detail thereof may be made without departing from the spirit and scope of the invention.