
rexresearch.com
Rene Nunez Suarez
Turbostove
95% Efficient, burns any fuel
http://www.keelynet.com/indexnov1107.htm
[ 11/30/07 ]
http://www.thedailygreen.com/green-homes/eco-friendly/cooking-stove-invention-461129
Eco-Friendly Cooking Stove Invention
Rene Nunez Suarez of San Salvador has spent years in a passionate,
single-minded quest to provide the world's poor with a
high-efficiency stove, in an effort to fight global warming and
reduce deforestation. Now, the acclaimed inventor is left with
praise, but no money and an estranged family, as reported by the
Los Angeles Times. The device clearly has noble aims.
It's a stainless-steel cooker that uses about 95% less fuel than
conventional wood stoves, with minimal pollution.
In El Salvador, millions still cook their daily meals with wood,
and the countryside has long been denuded of so many of its
invaluable trees. Worldwide, about half the planet cooks and heats
with inefficient, polluting traditional fuels, according to the
World Resources Institute.
That means millions suffer from asthma, cancer and other problems
associated with inhaling so much particle pollution. In fact,
cooking fire pollution has been blamed for the deaths of an
estimated 1.6 million people a year worldwide, mostly women and
children.
Plus, hours are often spent each day gathering and preparing
firewood, dung and other fuels. That's time not spent in school or
on other more economically productive activities.
Nunez has secured a U.S. patent and a prestigious award from the
Paris-based International Energy Agency for his Turbococina, or
Turbostove.
What Nunez has long sought is funding to get the stoves
distributed to those who need them in the countryside. But so far
he hasn't secured interest from investors he says he can trust or
nonprofit organizations.
Nunez's sad story isn't unfamiliar in a world fraught with
inequality. Many observers have long complained that the
technology may exist to provide better drugs for malaria,
dysentery and possibly even AIDS, but that lack of the ability of
those who need them most to pay means little incentive for
capitalistic systems.
Sometimes there seems like an orgy of R&D and marketing
spending on the latest gadgets, hair-loss remedies or shiny, sexy
toys, while a brilliant inventor with a relatively simple device
to help save the world can't get any notice.
PATENTS
DEVICE FOR GENERATING AND TRANSMITTING
HEAT CAPABLE OF OPERATING WITH FUEL IN ANY PHYSICAL STATE
AND COMBUSTION FLAME.
MX2011003817
US2011239916
WO2010042079
Device for generating and transmitting heat capable of operating
with fuel in any physical state that includes at least one
cylindrical combustion chamber (9) divided into a lower section
(11) and an upper section (12) of variable height, a pressurized
air chamber (26) arranged below the lower section (11) of the
combustion chamber, and a plurality of air injectors (14). The
device is characterized in that the air injectors (14) are
supported on a flat ring (43) and set in a second flat ring (52)
and in that it also includes a set of replaceable parts (A)
arranged in the free centre of both flat rings (43 and 52) and
whose specific configuration depends on the physical state of the
fuel being used. Furthermore said set of replaceable parts (A)
includes at least one central air injector (16) located in the
geometric centre of the unit.
OBJECT OF THE INVENTION
[0001] The present invention, as the present specification states
in its title, is intended to provide a device for generating and
transmitting heat capable of operating with fuel in any physical
state, i.e. it can be fed with fuel in solid, liquid or gas state.
In turn, it is an object of the invention to maximize the
combustion efficiency, i.e. that the fuel consumption is intended
to be optimized, which results in significant fuel savings and the
reduction of the emissions of pollutants.
[0002] Likewise, the present invention is Intended to describe a
combustion flame generated inside the described device for
generating and transmitting heat, flame whose properties are
highly advantageous in terms of heat transfer and for preventing
the production of pollutants.
TECHNICAL FIELD OF THE INVENTION
[0003] The present invention falls within the methods for
obtaining energy through combustion processes, within the heat
transfer processes and their generator and transmitter devices. It
has general application within the field of combustion and heat
transfer, for both industrial applications and domestic use.
[0004] Among the concrete and practical applications of the
present invention, its use in the field of steam generation for
heating or electric power generation can be mentioned.
[0005] Also among non-industrial applications of the invention its
use in heaters, stoves, ovens, kitchens and the like can be
mentioned.
STATE OF THE ART PRIOR TO THE INVENTION
[0006] Currently there are lots of devices for generating and
transmitting heat, combustion chambers of which are intended to
obtain combustion as "perfect" or "complete" as possible, in order
to achieve savings in fuel consumption, while seeking to minimize
the generation pollutants.
[0007] As the background closer to the present invention, it is
known the U.S. Patent 6,651,645 BI that describes a device for
generating heat for solid fuel. Although said document explicitly
states that the described apparatus can be used "for other types
of fuels such as powder fuels, liquid fuels or gas fuels", the
practice shows that it is not possible to use any of the solutions
described in said patent with liquid or gas fuels. Among the
solutions described in said document, none of them describes or
suggests a device that can be used with liquid or gas fuel, and is
not mentioned, nor suggested that the same apparatus admits fuels
in any physical state (solid, liquid or gas).
[0008] Additionally, the device for generating heat described in
US6,651,645-B1 has some drawbacks, such as the fact that due to
the high temperatures reached inside the combustion chamber, the
substantially parallel plates or discs wherein the air injectors
are embedded, are bent; which can lead to their breakage.
[0009] Therefore, it was desirable to obtain a device for
generating and transmitting heat that:
can be used with fuels in any physical state, whether solid,
liquid or gas, while
manages to maximize the combustion efficiency so as to obtain
significant fuel savings,
manages to transfer the maximum amount of produced heat to the
place of its utilization, i.e. minimizing heat losses into the
environment.
prevents the emission of pollutants such as nitrogen oxides (NOx),
and
be resistant to high temperatures generated inside the combustion
chamber.
DESCRIPTION OF THE INVENTION
[0010] The present invention is intended to provide a device for
generating and transmitting heat, capable of operating with fuel
in any physical state, i.e. fuel in solid, liquid or gas state,
which in turn allows to achieve the desired objectives and
overcome the drawbacks of heat generators existing in the prior
art.
[0011] Thus, the new device for generating and transmitting heat,
object of the present invention comprises at least one combustion
chamber preferably with a tubular shape, preferably constituted by
a cylinder. Said cylinder is preferably divided into two sections,
a lower section and an upper section of variable height. The
height may be varied depending on the density of heat per volume
unit of the combustion flame to be obtained in the combustion
chamber. Furthermore, the apparatus of the present invention
comprises a pressurized air chamber disposed below the lower
section of the cylinder that forms the combustion chamber, and a
plurality of air injectors.
[0012] The air injectors are supported on a first flat ring that
forms the upper part of the pressurized air chamber and set in a
second flat ring arranged in contact with the lower end of the
cylinder that forms the combustion chamber. These air injectors
are preferably arranged following the circular path of the flat
rings, in a substantially radial direction from the center to the
outside. The fact of providing the air injectors supported on the
first flat ring instead of setting thereof in a disc or plate
provides the following advantages:
the air injectors can slide on the first flat ring, so that when
high temperatures generated inside the combustion chamber and the
resulting expansion that said ring may suffer, the presence of the
injectors does not cause its bent and possible breakage, and
inside the flat rings, i.e. in the central or free area, a set of
replaceable parts can be provided, configuration of which is
defined by the physical state of the fuel to be used, whether
solid, liquid or gas.
[0013] The second flat ring is fastened by fixation means
preferably of the type of a pin, bolt or screw arranged to be
sandwiched between the air injectors.
[0014] The number of injectors is in principle not relevant and
depends on the diameter of the cylinder that forms the combustion
chamber. However, as the aim to achieve with this particular
arrangement of air injectors is a rotational flow from the
injection of the different air flows, thus the minimum number of
injectors required to obtain said rotational flow is the one that,
according to the diameter of the cylinder that forms the
combustion chamber, and the arrangement described, resembles a
circle. Thus, for example, it can be indicated that from 6 air
injectors, i.e. forming a hexagon, the configuration starts
resembling a circle. It is also preferable to have an even number
of injectors in order to ensure that the flame resulting from the
combustion remains equidistant from all points of the cylinder
that forms the combustion chamber.
[0015] Thus, as noted above, the apparatus of the present
invention comprises a set of replaceable parts, arranged in the
free center of the flat rings, in the lower end of the lower
section of the cylinder that forms the combustion chamber and
attached to the second flat ring through an expansion joint, and
configuration of which is defined by the physical state of the
fuel to be used.
[0016] Finally, the apparatus of the present invention comprises
at least one fan or set of fans arranged below the pressurized air
chamber In order to provide air to the pressurized air chamber
itself. A preferred embodiment of the fan or set of fans also
provides the existence of a sliding sheet placed for closing or
opening the space of air intake to the fan or set of fans in order
to regulate the air intake.
[0017] Additional description of the cylinder that forms the
combustion chamber:
[0018] In a preferred embodiment, the two sections of the cylinder
that forms the combustion chamber are formed by the interposition
of a third flat splitter ring. It will also be allowable
embodiments in which the two sections of the cylinder are formed
from, for example, a cave or narrowing in the walls of the
cylinder itself, adopting for example a form similar to that of an
"hourglass."
[0019] In a preferred embodiment, on the walls of the upper
section of the cylinder that forms the combustion chamber,
pressure relief holes are provided.
[0020] In the preferred embodiment, in addition, the cylinder that
forms the combustion chamber is complemented with a thermal
insulation system consisting of a series of concentric cylinders,
separated by spaces through which air circulates.
Description of the pressurized air chamber:
[0021] The pressurized air chamber comprises a second cylinder
arranged concentrically and below the lower section of the
combustion chamber and diameter of which will preferably be the
same or higher than that of the combustion chamber.
[0022] In the preferred embodiment, the diameter of the second
cylinder that forms the pressurized air chamber is higher than
that of the cylinder that forms the combustion chamber, so as to
coincide with a fourth concentric cylinder that is part of the
thermal insulation system, as explained later herein.
[0023] The pressurized air chamber provides pressurized air to the
plurality of air injectors supported on the first flat ring and to
the central air injector, included within the set of replaceable
parts.
[0024] The upper part of the pressurized air chamber makes up the
first flat ring, on which the air injectors are supported.
[0025] The first flat ring comprises, in turn, a vertical skirt
support, the top of which is preferably finished in a crown shape.
[0026] Description of the air injectors:
Each air injector has
a side aperture and
an upper aperture.
[0027] The side aperture allows injecting air flows in a
substantially horizontal direction, i.e., air used for combustion.
The upper aperture allows injecting air flows in a substantially
vertical direction, i.e. air having dual functionality, combustion
and cooling.
[0028] Furthermore, the central air injector, included within the
set of replaceable parts, has only one upper aperture that allows
injecting air flow in a substantially vertical direction. This air
flow in a substantially vertical direction feeds the center of the
combustion chamber, i.e. injects the air directly used for
combustion.
[0029] In this way it is ensured that the combined action of
different air flows into the combustion chamber produces a
rotational air flow.
[0030] The inclusion of the central air injector makes the central
air flow to have the strength required for feeding the center of
the flame, since it is not just one hole through which air enters
as may go in, but an injection of pressurized air.
[0031] In a preferred embodiment, each air injector has in its
side aperture, a nozzle for the exit of air. The nozzles serve to
improve the routing of air flows into the combustion chamber.
Description of the structure of the set of replaceable parts:
[0032] The configuration of the set of replaceable parts depend on
the physical state of the fuel to be used, whether solid, liquid
or gas, but in any case includes a central air injector arranged
in the geometric center of the unit and set between two flat and
parallel discs that are part of said set.
[0033] Thus, in all cases, in addition to comprise the central air
injector, the set of replaceable parts comprise a flat disc
attached to the second flat ring through an expansion joint, and a
second flat disc supported on the first flat ring; such that the
central air Injector is set between both discs, in its geometric
center.
[0034] Furthermore, in the geometric center of the second flat
disc, around and concentric with the central air injector, a
plurality of apertures through which pressurized air enters from
the pressurized air chamber is provided, such that the air that
enters through said apertures contributes, when impact against the
first flat disk, to its cooling. Moreover, and due to the
finishing in a crown shape of the top of the vertical skirt
support, the incoming air follows a substantially horizontal path
until exiting the outside through the recesses of the crown shape
of the vertical skirt support. Thus, the function of this air flow
in a substantially horizontal direction will be the one for
cooling.
[0035] For gas or liquid fuels, the set of replaceable parts
further comprises:
a plurality of fuel injectors supported on the second flat disc
and set in the first flat disc, distributed preferably following
the circular path of the discs,
a fuel distributor, arranged bellow the fuel injectors and upper
part of which forms the second flat disc, and
a fuel supply tube that feeds the fuel distributor.
[0036] The fuel injectors preferably have a side aperture so that
the injection of gas or liquid fuel is performed following a
substantially horizontal direction so as to contribute to the
rotational direction of air flows.
[0037] In addition, the fuel injectors are preferably fed through
their bottom because the fuel distributor is arranged below the
same.
[0038] When the fuel to be used is liquid, placing of a collector
plate for retaining the liquid is further forecasted, and the
configuration of the fuel distributor is modified, such that the
fuel supply performs a substantially horizontal path and parallel
to the first flat disc before the fuel reaches the fuel injector.
[0039] The use of the collector plate for retaining the liquid is
not indispensable, but it is suitable for the case of using fuel
in a liquid state.
[0040] In a preferred embodiment, the device for generating and
transmitting heat, regardless the physical state of the fuel to be
supplied carries a thermal insulation system. Said system consists
of a series of cylinders concentric with the cylinder that forms
the combustion chamber, and it will be explained in detail in the
"embodiment of the invention" section.
[0041] Materials: The materials for the various component elements
of the combustion chamber are preferably metals and among these
the use of stainless steel is preferred. Also in the preferred
embodiment the interior walls of the combustion chamber are
preferably reflective and with a shiny silver color, so as to
optimize the radiation return of the heat from the cylinder walls
to inside. The more reflective it is, the greater will be the
return and the lower will be the heat loss.
[0042] It should be mentioned that, although the heat sink is not
an integral part of the apparatus of the present invention, it is
preferable that it be placed above the combustion chamber leaving
an air space in the middle.
[0043] The air in the upper part of the combustion chamber will be
used as heat insulation, when the air is in a horizontal
direction, or as a heat transmitter, when the air is in the
vertical direction.
[0044] It is also noteworthy that the embodiments described for
liquid or gas fuel could also be used for solid fuels, for example
in cases of solid fuels with difficult ignition. Thus, the
combustion with a gas or liquid fuel could be started, and then
pass it to the solid fuel. In these cases, the fuel injectors (gas
or liquid) will include, in addition, a cover. Or alternatively,
the injectors of fuels in liquid or gas state are lowered until
being leveled with the first flat disc.
Description of the combustion flame:
[0045] Finally, within the device for generating and transmitting
heat described by the present invention a combustion flame with
geometrical shape and technical characteristics advantageous in
terms of fuel efficiency and emission of pollutants is generated.
[0046] Thus, it is also an object of the present invention said
combustion flame formed by a plurality of combustion discs formed,
in turn, by combustion gases, with the combustion discs being
separated from each other by means of air discs formed by the air
flows supplied for oxidizing the fuel when the air supply is made
such that the combined action of air flows produces a rotational
air flow as the one described in the combustion chamber of the
apparatus of the present invention.
[0047] Said rotational air flow provides the flame the form of a
pulsating vortex, and can have central air areas and sections of
continuity between the combustion gas discs. Additionally,
combustion discs acquire some upward vertical speed within the
combustion chamber, and since as an increased speed of the
combustion discs a less heat transfer to the medium is produced,
thus depending on the upward vertical speed of the combustion
discs and the thickness thereof, the heat transfer (or loss) to
medium will be more or less. It will be less, as thinner the
combustion discs are, and as higher upward vertical speed is
imparted thereto.
[0048] Additionally, at the upper end of the combustion flame one
or more terminations in a more or less elongated shape can be
formed.
[0049] Thus, this new geometrical shape of the combustion flame
achieves considerably increasing the combustion flame surface,
i.e. the oxidation surface, or area wherein the air oxygen comes
in contact with the combustion flame. Furthermore, with this shape
of combustion flame the air supplied for oxidizing the fuel is at
very short distances from any area inside the combustion flame and
therefore the fuel efficiency is maximized.
[0050] It has also been demonstrated that the thinner the
combustion discs that make up the combustion flame are, the
greater is the oxidation surface of the combustion flame.
BRIEF DESCRIPTION OF THE FIGURES
[0051] The present invention will be fully understood on the basis
of the brief description below and the accompanying drawings which
are presented only by way of example and, thus, do not restrict
the present Invention and wherein:
Figure 1 shows a scheme of a complete longitudinal section
of the apparatus for generating and transmitting heat capable of
operating with fuel in any physical state object of the present
invention, wherein the set of replaceable parts (A) for fuel in
a gas state or fuel in a liquid state has been represented, but
without the retaining plate;
Figure 2 shows a scheme of a longitudinal section of the
device for generating and transmitting heat capable of operating
with fuel in any physical state of the previous figure, wherein
the set of replaceable parts (A) has been schematically
represented, the thermal insulation system has been removed and
the bottom area of the pressurized air chamber (26) has been cut
in order to allow a greater detail in the rest of the apparatus;
Figures 3a, 3b and 3c respectively show a perspective view
of the set of replaceable parts (A) for the case of solid fuel,
gas fuel (or liquid without retaining plate (53)) and liquid
fuel with retaining plate (53)
Figure 4 shows a perspective view of the pressurized air
chamber (26);
Figure 5 shows a side view of the pressurized air chamber
(26);
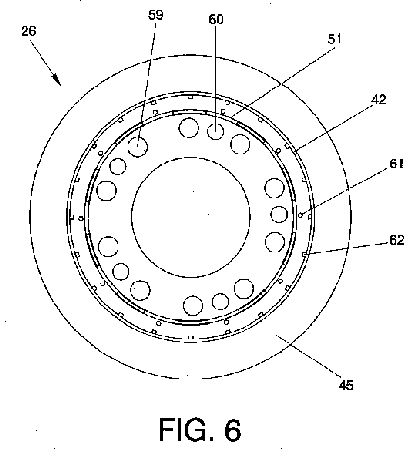
Figure 6 shows a top view of the pressurized air chamber
(26);
Figures 7a, 7b and 7c respectively show a top view of the
pressurized air chamber (26) with the set of replaceable parts
(A) of Figures 3a, 3b and 3c respectively;
Figure 8 shows a scheme of a longitudinal section of the
device for generating and transmitting heat capable of operating
with a fuel in any physical state of the previous figure,
wherein the bottom area of the pressurized air chamber (26) has
been cut in order to allow greater detail for the rest of the
apparatus, and wherein the set of replaceable parts (A), shown
in Figure 3b, for using gas or liquid fuel without retaining
plate (53) has been represented;
Figure 9 shows a scheme of a longitudinal section similar
to that of Figure 8, but wherein the set of replaceable parts
(A), described in Figure 3c, for using liquid fuel with
retaining plate (53) has been represented;
Figure 10 shows a scheme of a longitudinal section similar
to that Figure 8, but wherein the set of replaceable parts (A),
described in Figure 3a, for using solid fuel has been
represented;
Figure 11 shows a sectional view of section A-A of Figure
9;
Figure 12 shows a scheme of a longitudinal section of a
specific embodiment that only includes the possibility of using
gas or liquid fuels, without the retaining plate of the
apparatus of the present invention, wherein the bottom area of
the pressurized air chamber (26) has been cut In order to allow
greater detail for the rest of the apparatus;
Figure 13 shows a scheme of a longitudinal section similar
to that of Figure 12, but for a specific embodiment that
includes only the use of solid fuels;
Figure 14 shows a sectional view of section A-A of Figure
12;
Figure 15 shows an enlarged view of Figure 14 so as to
better see the movement of air flows; and the injection of
liquid or gas fuel; the references of a particular injector are
numbered, but it is understood that each injector has associated
an air a fuel injector,
Figure 16 shows an alternative embodiment of Figure 15,
wherein 14 air injectors (14) instead of 10 air injectors as in
Figure 15 are arranged;
Figure 17 shows a scheme of a longitudinal section for an
alternative embodiment of Figure 13, and in which detail an
alternative embodiment of the described knob (56), and which is
to perform a bent (57) on the walls of concentric cylinders;
Figure 18 shows a sectional view of section A-A of Figure
13;
Figure 19 shows a sectional view of section A-A of Figure
17;
Figure 20 shows another sectional view of section A-A of
Figure 12, but with the retaining plate (53):
Figure 21 shows a top view of the hot air flows that the
heat sink (41) in the top of the device for generating and
transmitting heat will receive;
Figure 22 shows a scheme of, at least one, fan (63);
Figure 23 shows a scheme of the sliding sheet (55), and
Figure 24 shows a scheme of a combustion flame obtained
within the combustion chamber of the present invention.

[0052] These figures contain numerical references associated with
the following elements:
A: set of replaceable parts
2: air flows in a substantially horizontal direction emerging from
the air injectors
3: combustion discs of the combustion flame
4: air discs of the combustion flame
5: injection of gas or liquid fuel
6: central air area of the combustion flame
7: sections of continuity of the combustion flame
8: combustion flame terminations
9: first cylinder, which forms the combustion chamber
10: third flat ring, splitting the two sections of the combustion
chamber
11: lower section of the cylinder that forms the combustion
chamber
12: upper section of the cylinder that forms the combustion
chamber
13: first flat disc
13': flat disc for specific embodiments wherein the apparatus only
admits fuel in a physical state, defined at the time of its
construction
14: air injectors
14a: side aperture of the air Injectors
14b: upper aperture of the air injectors
15: air flows in a substantially vertical direction emerging from
the air injectors
16: central air injector
16': plurality of apertures around the central injector air
17: air flow in a substantially vertical emerging direction from
the central air injector
18: pressurized air coming from the pressurized air chamber
19: fuel injectors
20: supply of liquid or gas fuel
20': substantially horizontal path for the liquid fuel supply
21: pressure relief holes of the cylinder that forms the
combustion chamber
22: third cylinder, concentric with the cylinder that forms the
combustion chamber
23: separation space between the cylinder that forms the
combustion chamber and the third cylinder
24: air flow circulating through the lower end of the separation
space (23) between the cylinder that forms the combustion chamber
and the third cylinder, i.e. the space defined between the
vertical skirt support (51) that forms the pressurized air chamber
(26) and the third cylinder (22)
25: pressure relief holes of the third cylinder
26: pressurized air chamber
27: pressure relief holes of the fourth cylinder
28: fourth cylinder, concentric with the previous ones (9 and 22)
29: fuel supply pipe
30: fuel distributor
31: air flow in a substantially horizontal direction emerging from
the recesses forming the crown of the vertical skirt support
32: air flow circulating through the separation apace between the
cylinder that forms the combustion chamber and the third cylinder
33: outlet or upper end of the separation space between the
cylinder that forms the combustion chamber and the third cylinder
34: separation space between the third and fourth cylinder
35: air flow circulating through the separation space between the
third and fourth cylinder
36: outlet or upper end of the separation space between the third
and fourth cylinder
37: fourth flat ring of the upper edge of the third cylinder
38: fifth flat ring of the upper edge of the fourth cylinder
39: ring that has at its outer edge the fifth flat ring of the
upper edge of the fourth cylinder
40: separation space between the apparatus for generating and
transmitting heat and a heat sink
41: heat sink
42: second cylinder that forms the pressurized air pressure
chamber
43: first flat ring on which the air injectors are supported
43': flat disc for specific embodiments wherein the apparatus only
admits fuel in a physical state, defined at the time of its
construction
44: second flat disc of the fuel distributor
45: sixth flat ring on which the lower end of outer cylinder,
concentric with the cylinder that forms the combustion chamber, is
supported
46: fixation means
47: air nozzle
48: fasteners
49: pins
50: bolt
51: vertical skirt support finished in a crown shape
52: second flat ring in contact with the lower end of the cylinder
that forms the combustion chamber
53: retaining plate for liquid fuel
54: expansion joint or slot
55: sliding sheet
56: knob
57: bent
58: support for heat sink
59: holes for allowing the air supply to the air injectors
60: holes for fixing the second flat ring (52)
61: hole for feeding air into the separation space (23) the
cylinder (9) that forms the combustion chamber and the third
cylinder (22)
62: hole for feeding air into the separation space (34) the third
and fourth cylinder (22 and 28)
63: fan for pressurizing the air in the pressurized air chamber
(26).
EMBODIMENT OF THE INVENTION
[0053] In order to obtain a better understanding of the object and
functionality of this patent, and without being construed as
restrictive solutions.
[0054] Figure 2 shows a general scheme of a device for generating
and transmitting heat capable of operating with fuel in any
physical state that includes:
one cylindrical combustion chamber (9) divided into two sections,
one lower section (11) and one upper section (12), the height of
the lower section being preferably lower than that of the upper
section;
one pressurized air chamber (26) preferably constituted by a
second cylinder (42), diameter of which is preferably equal to
that of the cylinder that forms the combustion chamber (9) and
arranged below the lower section (11) of the combustion chamber,
a plurality of air injectors (14) that have a side aperture (14a)
and an upper aperture (14b) and which are supported on a first
flat ring (43) that forms the upper part of the pressurized air
chamber (26) and set in a second flat ring (52), arranged in
contact with the lower end of the first cylinder (9) that forms
the combustion chamber,
a set of replaceable parts (A) arranged on the free center of both
rings (43 and 52), and
at least one fan, not shown in Figure 2, since the bottom area of
the pressurized air chamber (26) has been removed in order to
allow greater detail for the rest of the apparatus.
Figure 1, as mentioned above, shows a complete scheme of the
apparatus of the present invention, wherein the set of replaceable
parts (A), for the case of using gas fuel or liquid fuel has been
represented, but without the retaining plate. Thus, it shows an
apparatus comprising:
one cylindrical combustion chamber (9) divided into two sections,
one lower (11) and one upper (12) section,
one pressurized air chamber (26) constituted by a second cylinder
(42), diameter of which is greater than the cylinder that forms
the combustion chamber (9) and arranged below the lower section
(11) of the combustion chamber,
a plurality of air injectors (14) that have a side aperture (14a)
and an upper aperture (14b), and which are supported on a first
flat ring (43) that forms the upper part of the pressurized air
chamber (26) and set in a second flat ring (52), arranged in
contact with the lower end of the first cylinder (9) that forms
the combustion chamber,
a set of pieces, which happens to be the set of replaceable parts
(A) of Figure 2 for the case of fuel in a gas or liquid state
without retaining plate. Said set of pieces is arranged in the
free center of both rings (43 and 52), at the lower end of the
lower section (11) and consists of:
a first flat disc (13),
a second flat disc (44),
a central air injector (16),
a plurality of fuel injectors (19),
a fuel distributor (30),
a fuel supply tube (29) of the fuel distributor (30), and
a plurality of apertures (16'), around the central air injector
(16)such that the first flat disc (13) is attached to the second
flat ring (52) by an expansion joint (54): the second flat disc
(44) forms the upper part of the fuel distributor (30) and is
supported on the first flat ring (43) and parallel to the first
flat disc (13); the fuel injectors (19) are arranged on the second
flat disc (44) and passed through their corresponding holes in the
first flat disc (13); the fuel distributor (30) is arranged below
the fuel injectors (19); the central air injector is set between
both flat discs (13 and 44), in the geometric center thereof; the
plurality of apertures (16') is arranged in a circular
distribution on the second flat disc (44) and around the central
air injector (16). The fuel supply tube (29) although it is
preferably located on a side of the fuel distributor (30) may
admit any location that allows the entry of fuel in the fuel
distributor (30). In addition, the holes in the first flat disc
(13) through which the fuel injectors (19) pass have a diameter
slightly larger than the diameter of the fuel Injectors (19) so as
to allow the expansion of the flat disk (13) caused by high
temperatures generated inside the combustion chamber.
[0055] Furthermore, in Figure 1 at least one fan (63) located
below the lower area of the pressurized air chamber (26) is
represented.
[0056] Figure 1 also represents some arrows indicating the
direction of the air flows. Thus, the pressurized air chamber (26)
provides pressurized air (18) to the plurality of air injectors
(14) and to the central air injector (16). Each air injector (14)
has a side aperture (14a) and an upper aperture (14b), so that the
side aperture (14a) allows injecting air flows in a substantially
horizontal direction (2) into the lower section (11) of the
combustion chamber. The upper aperture (14b) allows, in turn,
injecting air flows in a substantially vertical direction (15)
into the lower section (11) of the combustion chamber. And, the
central air injector (16) injects an air flow in a substantially
vertical direction (17) into the lower section (11) of the
combustion chamber. In this way it ensures that the combined
action of all air flows (2, 15 and 17) produces an upward
rotational air flow In the lower section (11) of the cylinder (9)
that forms the combustion chamber.
[0057] Being the scheme in Figure 1 a preferred embodiment, it
also considers the presence of pressure relief holes (21) in the
walls of the upper section (12) of the cylinder (9) that forms the
combustion chamber.
[0058] Also, by being a preferred embodiment, the third flat ring
(10), splitting the two sections (11 and 12) of the cylinder (9)
that forms the combustion chamber, is represented.
[0059] In addition, and for being a preferred embodiment, the
thermal insulation system is represented, which consists of:
a third cylinder (22), concentric with the first cylinder (9)
making up the combustion chamber, said third cylinder being
separate from the first cylinder by
a space (23), said space (23) ending at the upper end part of the
upper section (12) of the cylinder (9) making up combustion
chamber, in
an outlet (33) through which the flowing air (32) will exit
through said space (23),
pressure relief holes (25) preferably provided in the walls of the
third cylinder (22), aligned with the pressure relief holes (21)
of the cylinder (9) making up the combustion chamber,
a fourth flat ring (37) preferably placed on the upper edge of the
third cylinder (22),
a fourth cylinder (28), concentric with the previous cylinders (9
and 22), which is separately arranged from the third cylinder (22)
by
a space (34), said the space (34) ends, at the upper end part of
the third cylinder (22), in
an outlet (36) through which the flowing air (35) will exit by
through the space (34),
pressure relief holes (27), preferably provided in the walls of
the fourth cylinder (28), aligned with the pressure relief holes
(21 and 25) of the other cylinders (9, 22),
a fifth flat ring (38), which is placed in the upper edge of the
fourth cylinder (28),
a ring (39) provided on the outer edge of the fourth cylinder (28)
which, together with the outer edge of the fourth flat ring (37)
of the upper edge of the third cylinder (22) defines the outlet
(36) of the space (34).
[0060] It is also noted in Figure 1 that the apparatus of the
Invention preferably has a sixth flat ring (45) arranged on the
upper end of the second cylinder (42) that forms the pressurized
air chamber (26), On said sixth flat ring (45) the fourth cylinder
(28) is supported. Thus, with this preferred configuration, the
invention provides an additional advantage in order to achieve a
reduction of heat losses to the medium, since the fourth cylinder
(28) is shifted downward with respect to the area wherein the
combustion occurs, and therefore receives less heat, It is a
better insulation and less heat losses to the medium are produced.
[0061] Figures 3a, 3b and 3c respectively show a perspective view
of the set of replaceable parts (A) for the case of solid fuel,
gas or liquid fuel without the retaining plate (53) and liquid
fuel with retaining plate (53). Thus, in Figure 3a the first flat
disc (13), the central air injector (16), the expansion joint (54)
and the second flat disk (44) are represented. Figure 3b
additionally represents the fuel injectors (19), the fuel
distributor (30) and the fuel supply tube (29). And in Figure 3c,
the plate for retaining liquids (53) is represented, and it is
seen how the configuration of the fuel distributor (30) is
modified, so as to allow an additional path for the liquid, being
said path (20') in a horizontal direction and parallel to the flat
disk (13). Said path (20') is not represented in this Figure 3c,
but it will be represented in Figure 9.
[0062] The fuel injectors (19) have a side aperture so that the
injection of fuel in a gas or liquid state is carried along a
substantially horizontal direction (5). In this way, the fuel
injection contributes to the upward rotational direction produced
by the air flows (2, 15, 17) mentioned above. The fuel injectors
(19) are preferably fed by their bottom (20).
[0063] Moreover, in these cases, in which there is a fuel
distributor (30), Figures 3b and 3c, the flat disk (44) coincides
with the upper part of the fuel distributor (30).
[0064] In Figure 4 the pressurized air chamber (26) is
represented, and it is observed that it consists of:
a cylinder (42) that may have the same or greater diameter than
the cylinder (9) that forms the combustion chamber,
an upper part that forms a flat ring (43), and
a vertical skirt support (51) upper finishing of which has a crown
shape. Namely, in Figure 4, although the relationship with the
cylinder that forms the combustion chamber (9) is not shown in the
figure, it can be mentioned that it corresponds to that preferred
embodiment having the thermal insulation system, and therefore the
cylinder (42) that forms the pressurized air chamber (26) has a
larger diameter than the cylinder that forms the combustion
chamber (9). Thus, the first flat ring (43) that forms the upper
part has, in its central part, holes (59) for allowing the air to
flow towards the air injectors (14) and holes (60), of different
sizes and sandwiched between the above, which allow fixing the
second flat ring (52) and also, because the scheme includes the
thermal insulation system, includes holes (61) for supplying air
to the separation space (23) between the cylinder (9) making up
the combustion chamber and the third concentric cylinder (22)
within the thermal insulation system and holes (62) for supplying
air to the separation space (34) between the cylinders (22 and 28)
of the thermal insulation system. Being the holes (61 and 62)
arranged in a circular distribution, following the curvature of
the first flat ring (43) and in a radial outward direction.
[0065] Figure 8 additionally shows arrows corresponding to the air
flows, thus, the air (18) coming from the pressurized air chamber
(26) enters into the air injectors (14), and through its side
aperture (14a) the air flowing in a substantially horizontal
direction (2) exits, and through its upper aperture (14b) the air
flowing in a substantially vertical direction (15) exits. Into the
central air Injector (16) the air (18) coming from the pressurized
air chamber (26) enters, and the air exits in a substantially
vertical direction (17). Into the plurality of apertures (16')
provided around the central air injector (16) the air (18) from
the pressurized air chamber (26) enters, said air (31) vertically
flows first until impacting against the first flat disc (13), and
from there continues in a substantially horizontal path (31) and
parallel to the flat disc (13), until exiting through the recesses
of the crown shape in the vertical skirt support (51). The lower
end of the defined space (23) corresponds to a separation between
the vertical skirt support (51) that forms the pressurized air
chamber (26) and the third cylinder (22) of thermal insulation
system, and it is also fed by the air (18) coming from the
pressurized air chamber (26) forming the air flow (24), this air
flow (24) meets, in its upward vertically path, the air (31) that
flows in a substantially horizontal direction described above, and
together make up the air flow (32) that flows through the space
(23) and which is directed towards the upper end of the cylinder
(9 and 22), toward the outlet (33). Preferably, in the third
cylinder (22) pressure relief holes (25), aligned with the
pressure relief holes (21) of the cylinder (9) that forms the
combustion chamber are provided.
[0066] Also in Figure 8 the fourth flat ring (37) on the upper
edge of the cylinder (22) is represented.
[0067] Also, Figure 8 shows the separation space (34) between the
cylinders (22 and 28) of the thermal insulation system, which is
also fed by the air (18) coming from the pressurized air chamber
(26), such that through said space (34) an air flow (35) directed
towards the upper end of the cylinders (22 and 28) to an outlet
(36) flows. Preferably, in the fourth cylinder (28) pressure
relief holes (27) aligned with the pressure relief holes (21 and
25) of the other cylinders (9 and 22) are also provided).
[0068] Also, Figure 8 shows the fifth flat ring (38), which is
placed in the upper edge of the fourth cylinder (28) and which
has, at its outer edge, a ring (39) that, together with the outer
edge of the fourth flat ring (37) of the upper edge of the third
cylinder (22) defines the outlet (36).
[0069] Preferably, the apparatus of the invention has a sixth flat
ring (45) arranged on the upper end of the cylinder (42) that
forms the pressurized air chamber (26). In addition, on the sixth
flat ring (45) the fourth cylinder (28) is supported, said flat
ring (45) being supported on the fourth cylinder (28) by
conventional fastening means. This configuration provides an
additional advantage for reducing heat losses to the medium, since
the fourth cylinder (28) is moved downward with respect to the
lower section (11) of the cylinder (9) that forms the combustion
chamber, i.e. the area wherein combustion occurs, and therefore
receives less heat, whereby lower heat losses to the medium are
obtained.
[0070] In Figure 11, wherein the preferred embodiment is also
represented, each air injector (14) is shown with a nozzle (47)
for directing the air exiting, at its side aperture (14a).
[0071] Preferably, and as shown in Figures 11, 14, 17, 18 and 19,
the fastening means consists of fasteners (48) aided by pins (49),
arranged in a substantially circular manner on the sixth flat ring
(45). In addition, the preferred embodiment includes the use of,
as an extra safety means, a bolt (50) for securing the connection
clip (48) and pin (49). It should be noted that the fasteners (48)
and pins (49) described above can be replaced by any conventional
fastening means without altering the essence of the invention. In
Figures 11, 14 and 20, there is also shown that the central air
injector (16) is centered and, following a radial path from the
center and outward, wherein the fuel injectors (19) are first
placed, distributed in a substantially circular arrangement.
Continuing with this radial direction, also in a substantially
circular arrangement, are the air injectors (14), which are each
represented including a nozzle (47) for the exit of air.
[0072] Figures 8, 9, 10 and 11 clearly show the expansion joint or
slot (54).
[0073] The expansion slot or joint (54), plus the fact that the
air injectors (14) are supported on the first flat ring (43), make
possible that both the second flat ring (52) and the first one
(43) may undergo expansions due to high temperatures generated
inside the combustion chamber, without bending. This will prevent
these from breaking.
[0074] Figures 12, 14, 15 and 16 show specific embodiments for the
case wherein the apparatus only accepts gas or liquid fuel without
retaining plate. Thus, the figures show that there is no expansion
joint (54). In addition, the second flat ring (52) and the first
flat disc (13) of the embodiments admitting fuel in any physical
state are replaced by a single flat disc (13').
[0075] Figures 13, 17, 18 and 19 show specific embodiments for the
case in which the apparatus only accepts solid fuel and here,
these figures, show that there is no expansion joint (54). In
addition, the second flat ring (52) and the first flat disc (13)
of the embodiments that admitted fuel in any physical state is
replaced by a single flat disc (13'), while the first flat ring
(43) and second flat disc (44) are replaced by a single flat disc
(43').
[0076] Also in the above figures, the fourth flat ring (37) of the
upper edge of the third cylinder (22) and ring (39) that has, at
its outer edge, the fifth flat ring (38) that is placed on the
upper edge of the fourth cylinder (28) are seen.
[0077] Figure 15 illustrates the movement of air flows (2) from
the air injectors (14). This scheme, although it is drawn for the
specific embodiment in which the device for generating and
transmitting heat only accepts gas or liquid fuels without
retaining plate, the representation of the air flows is applicable
to any of the possible embodiments included in the present
specification. Thus the various air injectors (14-1, 14-2, 14-3,
14-4, 14-5, 14-6, 14-7, 14-8, 14-9 and 14-10) discharge the
respective air flows in a substantially horizontal direction (2-1,
2-2, 2-3, 2-4, 2-5, 2-6, 2-7, 2-8, 2-9 and 2-10), such that, for
example, the air flow 2-1 from the air injector 14-1 is oriented
toward an intermediate position between the air Injectors 14-5 and
14-6. Similarly, the air flow 2-2 from the air injector 14-2 is
oriented toward an intermediate position between the injectors
14-6 and 14-7, and so on with each air flow of each injector. This
orientation of the air flows is what causes the rotational air
flow. Likewise, as it is a specific embodiment that includes only
the possibility of using gas or liquid fuels, without retaining
plate (53), the injection of gas or liquid fuel (5-1, 5-2 and 5 -
3) has been drawn in a substantially horizontal direction and
contributing to the rotational direction of air flows. Only the
reference numbers of the fuel injection (5-1, 5-2 and 5-3) for
three of the fuel injectors has been indicated, so that the figure
does not lose clarity, but understanding that from each fuel
injector the fuel injection is discharged in a substantially
horizontal direction.
[0078] Figure 22 shows the scheme of the air intake assembly to
the pressurized air chamber (26). Said figure only shows one fan
(63), however, as already mentioned, the invention allows a
greater number of fans.
[0079] Figure 23 shows a sliding sheet (55) that is used for
closing and/or opening the air Intake to the fan, so that a
preferred way of regulating this intake is achieved.
[0080] Figure 21 shows a top view of the distribution of air flows
at the top of the apparatus, i.e. at the outlet of the combustion
chamber. The figure represents a preferred embodiment, i.e. that
carrying the thermal insulation system consisting of two cylinders
(22 and 28) concentric with the cylinder (9) that forms the
combustion chamber, and said structure is applicable to fuels in
any physical state. Thus, in this figure is seen how from the
central air area (6) of the last combustion disc (3) of the
combustion flame towards the outside five areas that will be at
different temperatures can be seen. The different areas, from
inside and outward, i.e. sorted by decreasing gradient of
temperature are:
the central air area (6),
the area of the last combustion disc (3),
the flow area of the air in a substantially vertical direction
(15), emerging from air injectors (14),
the air flow area (32) flowing through the separation space (23)
between the cylinder that forms the combustion chamber (9) and the
third cylinder (22), and
the air flow area (35) flowing through the separation space (34)
between the third cylinder (22) and the fourth cylinder (28).
[0081] The device for generating and transmitting heat described
by the present invention, in any of its embodiments, forecasts the
provision of a heat sink (41), thereon, at the outlet of the
combustion chamber and separated by a space (40). In addition, it
has been demonstrated that the bottom of the heat sink (41) should
preferably be flat.
[0082] A preferred embodiment, regardless of the physical state of
the fuel to be used, includes the positioning of a knob (56) as
that illustrated in Figure 17 between the various concentric
cylinders, in order to ensure the concentricity of the cylinders
(9, 22 and 28). Alternatively, the knob (56) can be replaced by a
bent (57) of the cylinder walls (9, 22 and 28). Also in said
preferred embodiment a support (58) for the heat sink (41) is
placed.
Pressurized combustion and heat
transfer process and apparatus
US6651645
The present invention is concerned with combustion and heat
transfer processes and apparatus. The invention has general
applicability in the fields of combustion and heat transfer and is
applicable to industrial and non-industrial processes as well as
residential use. Practical industrial application of the invention
may be found in the field of steam generation for heating and for
electrical power generation. In addition, non-industrial
applications of the invention include cooking appliances, stoves,
water heaters, furnaces and the like.