HEAT-EXCHANGER
CONFIGURATION
WO2010148515
Abstract -- A heat
exchanger comprises a first plate. A second plate is spaced
apart from the first plate and defines a first gap between
inner surfaces of the first plate and the second plate in
which a first fluid circulates. A major portion of the first
gap is free of obstructions. A second fluid contacts an outer
surface of the first or second plate for heat exchange with
the first fluid. A first peripheral wall on the periphery of
the first gap has a curved profile inside the first gap. At
least one inlet is radially positioned with respect to the
first gap and injects the first fluid in the gap. At least one
outlet is centrally positioned in one of the first and the
second plate to enable the first fluid to exit the first gap.
The first fluid circulates in a swirling flow in the major
portion of the first gap.
FIELD OF THE APPLICATION
The present application pertains to heat exchangers and, more
particularly, to a heat-exchanger design for reducing the
pressure drop of fluids across the heat exchanger.
BACKGROUND OF THE ART
Heat exchangers are commonly used in order to transfer energy
from one fluid to another through a solid surface. Typical
heat exchangers feature tubes, ducts or paths (hereinafter
tubes) in which a first fluid circulates as a result of action
from a pump, pressure source or the like. A second fluid is in
contact with an exterior surface of the tube so as to exchange
energy with the first fluid circulating in the tubes. The tube
may be shaped in a coil, provided with fins or the like,
depending on the heat-exchanger configuration (e.g., shell and
tube, heat-exchanger coil, radiator, etc.)
One of the issues with such heat exchangers is that the tubes
are costly in terms of material and space. Moreover, because
of the friction of the first fluid against the surface of the
tube, there is a substantial fluid pressure drop in the heat
exchanger. Accordingly, a substantial amount of energy is
required to maintain a suitable flow of the first fluid in
heat exchangers .
SUMMARY OF THE APPLICATION
It is therefore an aim of the present application to provide a
heat exchanger that addresses issues associated with the prior
art. Therefore, in accordance with a first embodiment, there
is provided a heat exchanger comprising: at least a first
plate and a second plate spaced apart from the first plate to
define a first gap between inner surfaces of the first plate
and of the second plate in which at least a first fluid
circulates, with a major portion of the first gap being free
of obstructions, with at least a second fluid contacting an
outer surface of at least one of the first plate and of the
second plate for heat exchange with the first fluid; a first
peripheral wall on the periphery of the first gap, the first
peripheral wall having a curved profile inside the first gap;
at least one inlet radially positioned with respect to the
first gap to inject the first fluid in the gap; and at least
one outlet centrally positioned in one of the first plate and
the second plate, for the first fluid to exit the first gap,-
whereby the first fluid circulates in a swirling flow in the
major portion of the first gap.
Further in accordance with the first embodiment, the first
plate is a first disk and the second plate is a second disk
having a peripheral outline similar to that of the first disk.
Still further in accordance with the first embodiment, the
heat exchanger further comprises at least a third plate spaced
apart from the outer surface of any one of the first plate and
the second plate to define a second gap with a major portion
of the second gap being free of obstructions, a second
peripheral wall on the periphery of the second gap having a
curved profile inside the second gap, at least one said inlet
and at least one said outlet being in fluid communication with
the second gap to cause a swirling flow of the second fluid in
the second gap.
Still further in accordance with the first embodiment, the
first plate forms the first gap with the second plate, and the
first plate forms the second gap with the third plate, with a
first one of said outlet being a first pipe centrally
positioned in the second plate for the first fluid to exit the
first gap, and with a second one of said outlet being a second
pipe centrally positioned in the third plate for the second
fluid to exit the second gap, whereby the first pipe and the
second pipe are concentric .
Still further in accordance with the first embodiment, the
heat exchanger further comprises at least a fourth plate
spaced apart from the second plate to define a third gap with
a major portion of the third gap being free of obstructions, a
third peripheral wall on the periphery of the third gap having
a curved profile inside the third gap, at least one said inlet
and at least one said outlet being in fluid communication with
the third gap to cause a swirling flow of a fluid in the third
gap, with a third one of said outlet being a third pipe
centrally positioned in the fourth plate and having a diameter
greater than the first pipe to form an annular passage about
the first pipe for fluid to exit the third gap, whereby the
first pipe and the third pipe are concentric .
Still further in accordance with the first embodiment, the
first plate forms the first gap with the second plate, and the
second plate forms the second gap with the third plate, with a
first one of said outlet being a first pipe centrally
positioned in the second plate and passing through the third
plate for the first fluid to exit the first gap, and with a
second one of said outlet being a second pipe having a
diameter greater than the first pipe and being centrally
- 5 -positioned in the third plate to form an annular passage
about the first pipe for fluid to exit the second gap, whereby
the first pipe and the second pipe are concentric . Still
further in accordance with the firsu embodiment, at least one
radial outlet pipe is connected to any one of the pipes of the
outlets centrally positioned in the plates, for exit of fluids
therethrough . Still further in accordance with the first
embodiment, vanes extend between surfaces of the spaced apart
plates in at least one of the gaps to guide fluids in the
swirling flow.
Still further in accordance with the first embodiment, a first
set of the vanes are radially distributed and equidistantly
spaced from one another and from a center of a respective one
of the gaps.
Still further in accordance with the first embodiment, the
first set of vanes is adjacent to the at least one peripheral
wall .
Still further in accordance with the first embodiment, the
heat exchanger further comprises a second set of the vanes,
the second set of the vanes being radially distributed and
equidistantly spaced from one another and from a center of a
respective one of the gaps, the second set being positioned
between the first set of the vanes and a center of a
respective one of the gaps .
Still further in accordance with the first embodiment, the at
least one set of the vanes comprises at least one annular
plate integral with the vanes, the annular plate being
coplanar with a respective one of the plates when the sets of
vanes are in the respective gap. Still further in accordance
with the first embodiment, vanes are at an 80 degree angle
from a radius of the gap.
Still further in accordance with the first embodiment, the
curved profile of the at least one peripheral wall is
substantially circular.
Still further in accordance with the first embodiment, the at
least one inlet is tangentially oriented with respect to the
curved profile of the at least one gap.
Still further in accordance with the first embodiment, the
heat exchanger comprises at least two of the inlet for at
least one of the gaps .
BRIEF DESCRIPTION OF DRAWINGS
Fig. 1 is a schematic perspective
view of a heat exchanger in accordance with the embodiment
of the present application;

Fig. 2 is a sectional schematic
view of the heat exchanger of Fig. 1, with two stages;
Fig. 3 is a schematic sectional
view of the heat exchanger of Fig. 1 with five stages;
Fig. 4 is a sectional view of a
portion of the heat exchanger of Fig. 3;
Fig. 5 is a side elevation view
of the heat exchanger of Fig. 1 with three stages,- and
Fig. 6 is a plan view of an
interior of the heat exchanger of Fig. 1 m accordance with
another embodiment of the present application.

DESCRIPTION OF PREFERRED
EMBODIMENTS
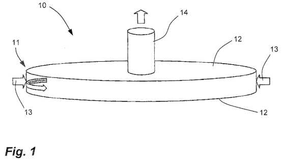
Referring to the drawings and, more particularly to Fig. 1, a
heat exchanger in accordance with the present disclosure is
generally shown at 10. The heat exchanger 10 of Fig. 1 is a
disk-type heat exchanger in which circulates a fluid or
combination of fluids, fluid and solid (i.e., liquid and/or
gas, with solids m suspension) . Another fluid, combination of
fluid/solid or fluids is m contact with an exterior surface of
the heat exchanger 10. For simplicity purposes, reference will
be made to fluids hereinafter. The heat exchanger 10 of Fig. 1
is therefore said to have a single stage 11.
The heat exchanger 10 of Fig. 1 has a pair of disks 12.
Typically, the disks 12 are circular m shape, although other
shapes are considered, preferably with rounded or arcuate
peripheries. The disks 12 are spaced apart, so as to define a
gap therebetween, m which the fluid will flow. A peripheral
wall bounds the gap between the disks 12, and inlets 13 (i.e.,
one or more) are provided m this peripheral wall or m the
disks 12, for the injection of fluid into the gap. The
peripheral wall 13 has a curved inner profile to def me the
curved inner periphery of the gap In an embodiment, the curved
inner profile of the peripheral wall 13 is circular. As a
radial periphery of the gap m which the fluid circulates is
defined by the pe[pi]pneral wall 13, the disks may be replaced
by plates or walls of different shapes, etc.
A central outlet 14 projects upwardly from one of the disks
12, although both disks 12 may be provided with a central
outlet 14. As the inlet (s) 13 are provided on the periphery
of the heat exchanger 10, and the outlet 14 is centrally
positioned, the fluid injected into the gap exits centrally.
However, it is desired to have the fluid flow m a swirling
pattern Therefore, when fluid is injected into the inlets 13,
the inlets 13 may be oriented so as to give a generally
tangential direction, to cause a swirling pattern of the fluid
m the gap. Due to the area reduction, the fluid is accelerated
(i.e., accelerating flow or m-sirik flow) Accordingly, the
fluid m the heat exchanger 10 adopts the swirling pattern and
remains between the disks 12 until it exits through the
central outlet 14. It is observed that the gap between the
disks 12 is generally free of obstructions. While the fluid
swirls to the central outlet 14, the fluid contacts the inner
surfaces of the disks 12 in the gap, thereby exchanging heat
with fluid on the outside of the disks 12. The residence time
of the fluid in the stage 11 may be controlled by adjusting
the flow of the fluid in the stage 11, for instance by
adjusting the intensity of the pump(s) whether upstream or
downstream of the heat exchanger 10.
Referring to Fig. 2, a configuration similar to that of the
heat exchanger 10 of Fig. 1 is illustrated, but with two
stages 11. Accordingly, a first fluid circulates in stage HA,
whereas a second fluid circulates in stage HB. For clarity
purposes, the components of the stage HA have been affixed
with the letter A, whereas the components of stage HB have
been affixed with the letter B. Therefore, in the case of Fig.
2, two fluids are in heat exchange using the heat-exchanger
configuration 10 of Fig. 1, through common disk 12A/B. One of
the fluid absorbs heat released by the other fluid. The disk
12A/B is made of a material preferably having high heat
conductivity, such as metal (e.g., aluminum) . Throughout the
description, the nomenclature using affixed letters separated
by a slash (e.g., 12A/B) will refer to a disk separating two
stages (A and B) . Coatings may be added to the surfaces of
the disks to minimize the friction of fluids against the
surfaces of the disks.
Referring to Fig. 3, the heat exchanger 10 is shown having a
multi-disk configuration having five different stages, namely
stages HA, HB, HC, HD and HE. Accordingly, five different
fluids may flow in the separate stages of the heat exchanger
10. Alternatively, some of the stages are combined as
different passes for a same fluid, or parallel stages for a
same fluid. As an example, a first fluid may circulate in
stages HA, HC and HE, while a second fluid circulates in
stages HB and HC. As another example, the fluid collected at
the outlets 14A may be subsequently circulated in stages HC
and HE, amongst other possibilities. It is observed that stage
HA may have a pair of central outlets 14A, as illustrated.
Moreover, the outlets of stages HB, HC, HD and HE are
concentrically positioned with respect to the central outlet
14A, with the outlets 14 of stages HB- HD forming annular
geometries.
Referring to Fig. 4, a sectional view of the heat exchanger 10
of Fig. 3 is illustrated, showing that the outlets 14B and 14C
may comprise outlet pipes projecting radially from the annular
central outlets 14B and 14C, although various other
configurations may be used as well. Referring concurrently to
Figs. 5 and 6, another embodiment of the heat exchanger 10 is
illustrated, with vanes 15 provided in the gap between disks
12 (i.e., vanes 15A-15C for stages HA-HC in Fig. 5) . More
specifically, the vanes 15 are provided adjacent to the
peripheral wall and thus adjacent to the inlets 13. The vanes
15 are narrow rigid plates used to guide the flow of fluid in
adopting a swirling pattern in the gap. A leading edge of each
vane 15 is closer to the periphery than the trailing edge of
the adjacent vane 15. Other devices or deflectors may be used
to guide the flow of fluid into the swirling pattern.
According to an embodiment, the vanes 15 are radially
arranged, and may be equidistantly spaced from a center of the
gap and from one another. In an embodiment, the vanes 15 are
provided on a ring plate (i.e., annular plate) coplanar
disposed on one of the disks, as shown in Figs. 5 and 6.
Accordingly, all vanes 15 are installed/removed by the simple
manipulation of the ring plate (e.g., plexiglass) . Another
similar ring plate with vanes 15 may be provided with a
smaller diameter and hence be closer to the center of the heat
exchanger 10. In an example, the vanes are at an 80 degree
angle from a radius of the gap between the disks 12. Other
materials may be used as well (e.g., mesh) . Despite the
presence of vanes 15, a major portion of the gap is free of
obstructions, whereby the fluid adopts a swirling pattern
without a spiral-type conduit in the gaps, resulting in
relatively low friction. The heat exchanger 10 of Figs. 1 to 6
is also relatively simple to maintain, as the disks 12 may
readily be separated from one another for maintenance. As is
shown in Figs. 4 and 5, the inlets 13 and peripheral wall may
be one integral piece interconnecting the disks 12. The
applications using the heat exchanger 10 may range from
domestic heating systems, to steam power plants, to
refineries, amongst numerous possibilities.