rexresearch.com

Bertil WERJEFELT 
Magnetic Battery


http://www.geocities.com/area51/shadowlands/6583/project117.html
[ Excerpt ]
A New Physics for a New Energy Source
by Jeanne Manning

BERTIL WERJEFELT AND THE MAGNETIC BATTERY-GENERATOR

Bertil Werjefelt sports a Hawaiian suntan because the islands are his adopted home, but he has little time for the beach. Consulting on aviation safety, overseeing a small corporation, and writing technical papers make up only part of his life. Werjefelt has also been working on a magnet-energy device for several decades. A representative of the Sumitomo Corporation who visited Werjefelt's manufacturing facility said that the invention could be "the most important discovery this century."

Werjefelt was educated in his native Sweden and then came to the United States in the early 1960s. He furthered his education in mechanical engineering at both the University of Utah and the University of Hawaii. He now heads a research and development group, Poly Tech USA, that devises safety equipment for airplanes' such as a system that allows pilots to see the flight path and vital instruments regardless of how much smoke is in the cockpit.

A New Device From Old Concepts

In the 1970s, Werjefelt was one of many people who became concerned about the problem of fossil-fuel pollution. So he used his engineering background to create an energy invention - a generator powered by energy extracted from magnetic fields.

Standard generators, which use magnets, are subject to a problem known as magnetic drag. Drag is a residual magnetism that slows the spinning of the rotor, the part that either moves the magnets past an electric coil or the coil past the magnets, depending on the generators design. Werjefelt improved the standard generator; he added a special spinning system that cancels magnetic drag by counteracting it with the force fields of additional magnets. The result is a generator that puts out more power with the same input.

That raises a question: Where does the excess energy come from? "I don't know," Werjefelt says. "It could be [space] energy, or something we don't even know about."

Werjefelt's experimental models have not yet evolved into the Remanufacturing stage they have only produced more power output than input for several minutes at a time. But results are impressive enough to keep him going. For example, at one point his generator has shown 160 watts input and 450 watts output, or almost triple the power. He believes his crew has solved some of the most troublesome technical problems and that magnetically powered electric generators could be available for everyday use within a few years.

Some onlookers in the new-energy field are as impressed with the scientific paperwork Werjefelt has done as they are with his experimental models. After he came up with the design, Werjefelt realized that he would need to explain the results in order to get a patent. He would also need to convince a skeptical scientific community.

So Werjefelt dug into the physics literature and found evidence to Support his claim. He used this evidence in a 1995 lecture at MIT to argue that standard science's teachings on magnetism have been incomplete from the beginning, and that as a result, the scientific community declared early on that it was impossible to use magnetism as an energy source. The other fundamental forces in nature nuclear physics and gravitation have been harnessed in the forms of nuclear power plants and hydroelectric dams, but science has been blind to the possibility of using magnetism as a source of power.

In general, though, Werjefelt refuses to become caught up in what he calls "paralysis by analysis." He is more interested in proving that his device works. "Look at it as a quantum leap in the energy field,'' he says, "like the leap from slide rulers to handheld electric calculators."

Corporate Interest From Japan

In 1990, Werjefelt sent a notice to large corporations such as General Electric and Westinghouse in the United States, Siemens in Europe, and Hitachi and Sumitomo in Japan about his discovery Most of the replies were, "It is not possible." Others thanked him and said, "Call us when the patent is issued."

It turned out that the Japanese were very interested in magnets and energy. In October 1993, Japanese television aired a program, The Dream Energy, in which Japanese scientist Terohiko Kawai discussed a device similar to Werjefelt's.

Well-funded Japanese research teams have engineered this discovery into reliable units for existing motors. Werjefelt spent two days with an official from Sumitomo and learned that the Japanese motors are running for hours, days, weeks. Japanese industrialists are switching over to the new units, which will use about half as much fossil fuel as existing motors. For example, the television program showed a refrigerator, a vacuum cleaner, and other common appliances with such motors.

Werjefelt, on the other hand, is more interested in producing electricity. He estimates that if power plants are built using his Magnetic Battery-Generator instead of conventional equipment, they could put out fifteen to eighteen times as much electricity.


 
http://www.newenergytimes.com/v2/archives/fic/N/N199502s.PDF
February 1995

DISCOVERY OF "VIRTUAL INERTIA"
By Dr. Harold Aspden


...Bert Werjefelt from PolyTech(USA) in Hawaii spoke about his work on magnetic motors and the theory behind them. He reported that experiments have seen output powers of 450 watts electric, with only 150 watts electric going in. Attempts at seif-sustaining have been successful for periods of minutes. The company now thinks it knows how to make a self-sustained operation continue indefinitely and is building one right now, expected to be ready in the next month or two. He showed gorgeous CAD diagrams of the 100-200 watt "self-sustainer" now under construction in Hawaii. He explained how it worked (the precise balancing of repulsion and attraction systems to substantially reduce torque). It was obvious that many, if not most, in the audience accepted his apparently very solid experimental conclusions — even some I would have thought would have left in disgust. Werjefelt put forth his theoretical ideas, which are based, in part, on suggestions made by several (now) Nobel laureate physicists in the 1950s regarding nuclear magnetic spin systems (Pound, Purcell, and Ramsey). Others in the audience were extremely excited by this report, and put forth their theoretical ideas. Werjefelt is a solid mechanical engineer, whose company manufactures pioneering FAA-certified safety equipment. He is deeply involved in aviation safety issues and would have much credibility to lose if he were not on absolutely solid ground with this magnetic energy technology. He has been working quietly in this field for about ten years. On the advice of his patent attorneys, he published his general ideas in an article titled, "Magnetic Battery," in that counter-scientific culture journal, "Extraordinary Science" (Tesla Society), May/June/July 1993, which is available in places like Barnes & Noble book stores. Don't let your prejudices about the Tesla Society fool you, this is a very carefully crafted scientific article with some excellent possible avenues to explain concrete experimental results. The 8-minute video tape of the Japanese developments in this area of "Dream Energy" (Magnetic Energy) "was shown. This had aired on FUJI TV in Japan on October 20, 1993. There are four major corporations involved under MITI aegis: Sumitomo, Hitachi, Mitsubishi, and Matsushita. Werjefelt's company appears to have a very strong patent position in his area, however. The chief engineer of the Aerospace Division of Sumitomo has visited Werjefelt and told him that this discovery is "the greatest discovery of the 20th century."


 
http://users.rcn.com/zap.dnai/zeropoint/magbat.txt

JAPANESE CORP. VERIFIES WERJEFELT'S OVER-UNITY MAGNETIC BATTERIES
 
February 15, 1994 - The following release is the latest update from Bert Werjefelt's work on Magnetic Batteries, published in Summer Fall `93 Edition of Electrifying Times, titled "A New Source of power: Magnetic Batteries."

NOTE:  We report Bert's work  again because David Hudson's work and Bert Werjefelt's work are revolutionary and is necessary to understand in order to appreciate the advanced technology of superconductivity, over-unity, cold fusion and fusion, antigravity and alchemy.  The Japanese appreciated this technology and took Bert seriously

Magnetic Battery Prototype Equipment

This is to inform you of what has happened since the publication of the Magnetic Battery article in Extraordinary Science (a simplified basic explanation of our discovery, which includes an elementary prototype experimental set up, utilizing some of the basic principles) and your subsequent article in Electrifying Times "A New Source of Power; Magnetic Batteries."   

Last year we notified many industry leaders in the U.S., Europe, and Asia of our discovery that energy can he extracted from magnetism. With very few exceptions, we were told that it is "impossible" this "appears to violate the laws of physics."   

Regardless of the common disbelieves, I am very pleased to inform you that scientists at Meiji and Waseda universities in Japan and researches with Sumitomo Corporation have now proven out point by successfully extracting substantial energy from magnetism. In a recent visit to our facility. Sumitomo told us this is in all likelihood "the most important discovery this century." We are, of course, very pleased that such prestigious academic institutions and one of Japan's largest and most successful industrial concerns, have now also confirmed our findings.  

The abstract of Werjefelt's scientific paper in April June '93 issue of Extraordinary Science reads as follows: "The circumstances under which electricity can be derived directly from magnetic materials magnetic fields are discussed and reviewed in the context of the standard formulations of the conservation law. The possibility of extracting energy in the aforementioned manner is in conflict with this law. However, it is not in conflict with a recognized exception to this law; the third corollary of the 2nd law of thermodynamics. This is demonstrated and thereby confirms the possibility of the development of magnetic batteries magnetically powered electric generators/turbines. An elementary description of the process is provided and described in full. It is disclosed the magnetic batteries can maintain permanent electric circuits at normal temperatures and therefore function as macroscopic high temperature superconductors.  It is believed that it can be deduced from the disclosures that the time interval from this discovery to the time of applied tehnology and hardware for everyday use can be very short (on the order of a few years).  Because of the simple straightforward nature of ths discovery it can easily be placed into development and production with already available knowledge and technology in a mature field of science and engineering."   

It is possible  that we are on the brink of being able to directly extract electricity from one of the fundamental forces in nature (gravitation, the strong and the weak nuclear forces, and magnetism). "Electrifying Times interviewed Werjefelt to find out more about this potentially very far reaching discovery.

As Werjefelt points out, this discovery is in direct contradiction to the current formulation of the laws of conservation of mass and energy. However, he says, it is not in contradiction to a little known hut scientifically fully accepted exception to the basic conservation laws. Scientists with impeccable credentials (Nobel Prize winner) involved in research on lasers, masers, microwave technology, and atomic clocks, were instrumental in formulating this exception to the conservation laws, which is referred to as "Negative Absolute Temperature". As Werjefelt explains, as early as the 1950s, they had discovered that a crystal of lithium fiuc  tide when given a burst of microwave radiation would emit far  more radiation than it received. In other words, in some way the crystals functioned as an amplification mechanism. The subsequent explanation for this phenomena was documented by Norman F. Ramsey, Professor Emeritus of Physics at Harvard University,  as a consequence of tile actions of the magnetic movement of two distinct spin systems in the atomic structure of the crystals (This I   exception to the Conservation Laws is now accepted and noted in the encyclopedias)  In other words, as Werjefelt explains, the magnetic energy inherent to the material (crystal) becomes activated by coupling two distinct magnetic spin systems in the atomic structure and can thereby emit vast amounts of energy far in excess of the input energy to the system (crystal) Dr. Wright in a later June/March 1994 "Extraordinary Science" article questions the magnetic battery...



http://www.wipo.int/pctdb/en/wo.jsp?wo=1994014237


MAGNETIC BATTERY  
WO9414237
1994-06-23
Inventor(s):     WERJEFELT BERTIL R L [US]; YONOVER ROBERT N
Classification: - international:     H02P9/04; H02P9/04; (IPC1-7): H02P9/04 - European:     H02P9/04
Also published as:AU5736994
Inventors:    WERJEFELT, Bertil, R., L.; (US). // YONOVER, Robert, N.; (US).
Abstract:  A method for producing electricity comprises the steps of providing a source of magnetic field (10); providing a system (10 and 26) for extracting energy from the magnetic field, the system having a certain efficiency level; and inputting energy (2E¿f?) to the system to at least compensate for losses from the certain efficiency level, thereby causing the system to operate to generate energy from the magnetic field.

FIELD OF THE INVENTION

The present invention relates generally to method and apparatus for deriving electricity from magnetism. The present invention is representative of many physical systems including the fundamental structure of matter. The field of the invention therefore ranges from the microscopic to the macroscopic. For example, the invention provides an enhanced understanding of phenomena ranging from photon-electron/positron conversion and the population inversions of lasers and other amplification systems to superconductivity with itfs enigmas of pair-bonding and Cooper pairs as well as common conduction and nuclear processes. We also believe guantum physics phenomena may be better understood and possible to manipulate based on the disclosures herein.

BACKGROUND OF THE INVENTION

Current methods for producing or generating electricity have their origin in the primary energy source of nuclear power or in the energy derived from the gravitation field or a combination of both. These forces are fundamental to nature and matter (e.g. the strong and weak nuclear forces and gravitation) . By example, it should be noted that the nuclear forces that are recognized as powering the sun are in turn transmitted to earth via electromagnetic radiation means, to fuel the growth of plants, which later become the source for petroleum. Alternately, heat from the sun create the winds for power, or the same heat lifts the rain ladened clouds to rejuvenate water reservoirs or rivers to drive the combined heat and gravitational cycle of the hydroelectric generation of electricity.

In addition to the previously mentioned primary forces of nature, the fourth, and last one, is electromagnetism. Up until this time, this force, dipolar in nature, has not been thought of as useful for the purposes of a primary energy source other than in the more or less static sense, utilizing the forces of permanent magnets in ballbearings or delicate mechanical suspension systems, or as an exciter in electric generators.

In virtually all applications to date, magnetic fields, whether permanent or electric in origin, are used as conduits or conversion mechanisms for altering one form of power to another, i.e., mechanical to electrical or vice versa.

The inventions disclosed herein will describe how it can be accomplished to directly generate useful energy from magnetic fields by incorporating them so they function as the primary energy sources as well as the conduits. In other words, where electromagnetis functions in whole or in part as the primary input energy source for the production of electricity. It is puzzling that electromagnetism, another fundamental force of nature, which mathematically follows essentially the same formulation as gravity, would not be used as an energy source in the way that gravity is utilized. Nevertheless, such has been the case until now. Furthermore, although we make extensive use and reference of "negative absolute temperature" systems, this esoteric side of science is necessary to put the present invention into proper thermodynamic perspective. It is also an effort to bridge the well known theoretical gap between thermodynamics and electromagnetism. However, it should also be noted that the descriptions herein serve as an explanation for the internal geometries and dynamics of negative absolute temperature states. These states appear to be derived from an intricately balanced magnetic pairing mechanism between two or more spin systems, ranging from nuclear to macroscopic.

Moreover, to assist in understanding the inventions it is helpful to consider the primary spin systems referred to in the text as analogies, or the electromagnetic equivalents, of the combined heat and gravitational cycles that comprise the primary energy sources for the hydroelectric process. These continuously and oppositely directed forces function as the seemingly inexhaustible energy reservoirs for the hydroelectric process. The same functions can be accomplished electromagnetically.

In view of the preceding explanations, the following background and description of the inventions will be easier to comprehend.

Magnetism and electricity have long been known to be closely related. Despite their close association, a comprehensive understanding of their interrelationship remains elusive. Dirac proposed the existence of monopoles to account for contradictions inherent to the mathematical formulation of electromagnetism. After more than 50 years, the existence of monopoles has not been verified.

The phenomenon of permanent magnetism is in many ways similar to the permanent electrical circuits created in superconducting materials. Since its discovery in 1911 by H.K. Onnes, superconductivity has fascinated and perplexed the scientific community, particularly in regard to the capability of creating a continuous energy loop in apparent contradiction of Lenz's law and the 2nd law of thermodynamics as they are currently written and understood. Lenz's law states that "when the flux through a secondary circuit is changed because of the relative motion of primary and secondary circuits, the direction of the induced current in the secondary is related to the mechanical force between the circuits or as defined by Maxwell: "If a constant current flows in the primary circuit A, and if, by the motion of A or the secondary circuit B, a current is induced in B, the direction of this induced current will be such that, by its electromagnetic action on A, it tends to oppose the relative motion of the circuits." A generator is an example of this law; the currents induced by the relative motion of the field and armature tend to oppose the motion, and it requires mechanical power to keep up the rotation of the generator.

Superconductivity is defined as the ability of certain substances to display perfect conductivity enabling the formation of a permanent electrical circuit, despite the removal of the current-inducing magnetic field. A subsidiary effect of superconductive phenomenon are magnetic levitation/suspension characteristics displayed by superconducting materials (i.e., Meissner effect and magnetic suspension) . The magnetic levitation/suspension process has been attributed to diamagnetism by many researchers. As opposed to levitation, the suspension of a magnet below a superconducting material requires paramagnetic forces to be directed upward towards the superconductor (effectively an "attractive" force) to balance the downward gravitational force. It would appear that paramagnetism and diamagnetism may be at work at the same time in the same system. The ability to suspend a magnet either above or below a superconductor at the same time may on the other hand imply that an electric circuit has been created that is switching at extremely high speeds, consequently switching the magnetic polarity of the field that is created by the circuit. Alternatively, microscopic circuits may be moving in opposite directions, creating the same effect.

Because of the relative ease which measurements can be made on small samples, the absence of resistance and the Meissner effect are the characteristics most commonly measured to verify superconductivity and therefore, the most identifiable to the layperson. However, recent discoveries appear to indicate that perfect conductivity can be realized in the absence of the Meissner effect. Another way of measuring perfect conductivity or absence of resistance in a (superconductive) system can be accomplished by comparing the total energy input relative to the output (i.e., no losses = 100% efficient). This applies to both macroscopic and microscopic systems.

The existence of a permanent electrical circuit (loop) , wherein a superconductive circuit was created and self-maintained (at the requisite superconductive temperature) for over one year with no measurable decay, is now considered common knowledge. Using nuclear resonance to assess the continuity of the created superconductive circuit, no change in field or current strength is expected for times less than (1010)10 years, i.e., a truly perfect and apparently permanent electrical circuit is created. In relation to currently known superconductive processes, extremely high temperature superconducting systems have been ascribed to the processes associated with Neutron stars.

The recent discovery of the Y-Li-Sr/Ba-Cu Oxides, Thallium, and other superconducting compounds (Ln2.?Ce?Cu04.y (Ln=Pr,Nd,Sm) ) has significantly raised the operating temperatures required for superconductivity to levels above 90*K (-183*C) , where easily obtainable and inexpensive liquid nitrogen can be employed to cool and maintain the material in a superconductive state. The present goal of superconductor researchers is to attain a room temperature (or higher) superconductor. Ideally, the superconductive temperature should be high enough to permit the extraction of heat or light from the superconductive circuit (e.g., the operating temperature of filaments in incandescent light bulbs) , thereby accommodating common needs in everyday society.

Despite the ease in demonstrating superconductive effects and the corresponding plethora of practical and theoretical investigations, theories that completely account for the phenomena remain unresolved. An early account of superconductivity was provided by Bardeen et al. , wherein it was proposed that electron-phonon interactions were responsible for the superconductive phenomenon. Recent theoretical explanations have proposed that electron conduction interactions resulting from magnetic processes in coupled spin systems produce the superconductive effect. In addition, superconductivity based on current-carrying "electrons" instead of "holes" (areas devoid of electrons) in Cerium cuprates (Ln2.?Ce?Cu?.) has been recently discovered. Citing inconsistencies with the 2nd law of thermodynamics, Gal-Or proposed that a room-temperature macroscopic superconductor may provide the required symmetric/asymmetric link between thermodynamics 5 and electromagnetism (as will be described herein) .

Contradictions to fundamental thermodynamic theorems and the search for explanations, as well as experimental results requiring modifications of the thermodynamic theorems, are not without precedence. Nearly 40 years ago, Purcell and Pound discovered the existence of negative absolute temperatures. Subsequently, Ramsey documented that negative absolute temperatures constitute an exception to the conventional formulation of the 2nd law of thermodynamics, whereby in "special systems", entropy or 15 the degree of disorder can decrease with increasing energy (negative absolute temperatures now constitute an accepted corollary to the 2nd law; elementary descriptions can be found in current encyclopedias) . Ramsey explained that this process may best describe the self-maintained oscillating systems ("population inversions" related to masers/lasers) discovered by Townes and co-workers and Bloembergen, although no internal thermodynamic equilibrium is said to exist within spin systems associated with molecular beam experiments.

It is noted by Ramsey that at negative absolute temperatures, various novel properties can be observed (e.g., attenuating systems become amplifiers, most resistances are negative) . Magnetic Carnot cycles can be made to function at negative absolute temperatures and efficiencies can be very large (T2/T1 > 1) . However, up until now, no means has yet been devised in which a Carnot cycle can be operated between positive and negative absolute temperatures.

OBJECTS AND SUMMARY OF THE INVENTION

It is therefore an object of the present invention to provide method and apparatus wherein magnetic fields in whole or in part are a used as the primary source of energy. It is another object of the present invention to provide method and apparatus that nullify the magnetically indeed drag forces which are inherent to magnetic spin s ams and the generation of electricity.

It is yet another object of the present invention is to provide method and apparatus that achieve high temperature superconductivity states.

It is still another object of the present invention to provide a room-temperature macroscopic superconductor.

Yet still another object of this invention is to provide method and apparatus that provide negative absolute temperature states, as well as transitions between negative absolute and positive temperature states.

It is an object of the present invention to provide a spin system having a stator and a rotor that is cyclically magnetically repelled by the stator.

Another object of the present invention is to provide method and apparatus that use the value and effects of coupling the opposite stable and unstable states of spin systems such that the inherent magnetic and angular momentum (torque) of each system cancel each other.

These and other objects of the present invention will become apparent from the following detailed description.

BRIEF DESCRIPTIONS OF THE DRAWINGS

Figure 1 is a schematic diagram of a normal attractive spin system (NA) .



Figure 2 is a schematic diagram of a special repelling spin system (SR) .



Figure 3 is a schematic diagram of an inverted normal attractive spin system (NA) .



Figure 4 is a schematic diagram of a negative absolute temperature state by phase coupling of the NA and SR spin systems of Figures 1 and 2, respectively.



Figure 5 is a schematic diagram of a continuous positive/ negative absolute temperature state transitions - phase coupled "superconductive" spin system.

Figure 6 is a schematic, perspective view of an electric generator in accordance with the normal attractive spin system of Figure 1.



Figure 7 is a schematic perspective view of a system in accordance with a special repelling spin system of Figure 2.



Figure 8 is a schematic perspective view of Figures 6 and 7 coupled together.



Figure 9 is a schematic perspective view of an alternative coupled system of Figure d.



DETAILED DESCRIPTION OF THE INVENTION

MAGNETIC COROLLARY TO A CARNOT CYCLE

We present a preliminary disclosure of our basic theories and experimental proof whereby magnetism is a direct primary source of electricity by means of unique magnetic/energy gradients. The dipolar nature of magnetism (i.e., the two opposing forces of attraction and repulsion) makes this possible, whereas by analogy, if the singular attractive force of gravity could have an equal and opposite repulsive force, energy could be harnessed directly from gravitation in a continuous, unlimited process.

We describe the manner in which spin systems can operate at negative absolute temperatures as well as between positive and negative absolute temperatures. Intriguingly, this can be accomplished in a functional macroscopic framework as a "superconductor at any temperature", providing the link between thermodynamics and electromagnetism. Our negative absolute temperature system can be described as the "Magnetic Corollary of the Carnot Cycle" or MCS (MCCC) . The system operating between positive and negative temperatures is referred to as the "Expanded Magnetic Corollary of the Carnot Cycle" or EMC1. Operating such cycles permit the extraction of energy from magnetic fields and the establishment of superconductive states at all temperatures.

As stated earlier, creation of a superconductive or permanent electric circuit is in apparent contradiction to Lenz's law since seemingly no "induced" electromagnetic force is required to maintain the circuit. Up until now, the magnetically-induced drag forces described by Lenz's law have never been questioned as being possible to manipulate, nor have the magnetically attractive forces in single or multiple dipolar systems. The current inducing magnetic field (required by Lenz's law) that appears to be absent in superconductive systems may actually be overshadowed by the dominant magnetic moment forces, but still functioning in one or more of the individual spin systems that comprise the overall MCJ system. We consider superconductive phenomena as transition states between positive and negative absolute temperature. In addition to other beneficial implications, we will demonstrate that this approach provides clarification to the apparent conflict that exists between the observation of superconductive circuits and the ostensible contradiction of Lenz's law.

Negative absolute temperature is explained and defined beginning with the 3rd corollary of the 2nd law as follows:

"A system in a stable equilibrium state can receive but cannot produce work. Although this statement is satisfactory for all ordinary systems, recent developments in the theory of nuclear spins-the spinning of neutrons and protons of the atomic nucleus that contributes to both the angular momentum and the magnetic moment of the atom-have shown that some systems, which will be called special systems, in stable equilibrium states can produce work but cannot receive work.

A special system requires the following characteristics: (1) the energy of its allowed states has a finite upper limit; and (2) it must be coextensive in space with another system that shields it from work interactions that would change its volume or the velocity of its parts. For example, a lithium fluoride crystal may be considered to contain two distinct systems occupying the same space. The first, a special system, consists of the nuclear spins of the atoms of the crystal and has the energy of these spins. The second, a normal system, consists of the same atoms in the crystal, but its energy does not include that of the nuclear spins of the atoms. The stable equilibrium states of the two systems can be identified and distinguished because each comes to equilibrium in itself much more rapidly than they together approach mutual stable equilibrium."

We achieve negative absolute temperature states by unifying two separate spin systems, one "normal" and one "special", to form one coupled spin system. Based on the accepted definition above, to assess whether negative absolute temperatures have been attained, any one of the following conditions apply: (1) Upon removal of the input energy, the angular velocity and the magnetic moment of individual spin systems will decay faster than the coupled system; or (2) Each individual spin system will require more energy to sustain a given angular velocity and overcome the magnetic moment relative to the coupled system; or (3) More energy is required to bring individual spin systems up to a specific angular velocity and/or magnetic moment relative to the coupled system.

A series of simple schematics show the requisites of an elementary MC1 spin system. Following is a description of how negative absolute temperature states are achieved in macroscopic models.

A first spin system ("Normal" Attractive Spin System or NA) , as best shown in Figure 1, consists of an interior dipole 2 (e.g., permanent magnet rotor) and exterior neutral poles 4 (e.g., ferromagnetic stator), which together create a cyclic magnetic circuit (e.g., the basis for a 2-pole electric generator) , whereby the neutral poles 4 assume the opposite polarity of the respective interactive poles of the spinning dipole 2. The magnetic relationship between the interior and exterior poles is an attractive force.

A second spin system ("Special" Repelling Spin System or SR) , as best shown in Figure 2, consists of interior and exterior repelling poles 6 and d, respectively (e.g., permanent magnets on both rotor and stator with "like" interactive repelling pole faces; the other non-interactive pole faces, at opposite ends of their respective dipoles, are isolated from interaction. In more complex system designs (e.g., lattice structures or frameworks) , the isolated poles may actually be utilized as interactive poles. Although permanent magnets are used, a person of ordinary skill in the art will understand that electromagnets or combinations of permanent magnets and electromagnets can be used efficiently, once the technology is optimized.

Each respective spin system revolves through a cycle of magnetic gradients during each 160* of rotation. (Note that inertial mass or the effects of conventional momentum of systems in motion are well known and in fact enhance the performance of the system. Therefore, for the purpose of simplicity of explanation, these forces are not considered in the models described herein) . Starting at 0 °, the NA is in a strong stable state due to the interactive attraction between the interior attractive dipole 2 and the exterior neutral pole 4; energy Ee is required (i.e., "external energy" Ee) to revolve the interior attractive pole 2 toward 90* (akin to a braking system). At 90* (equidistant from the two exterior neutral poles 4) , a weak unstable state exists in the NA due to the attractive forces from the direction of both exterior poles 4. Continuing from 90* to ldO", no energy is required (by virtue of its "internal energy" E- which is inherent to permanent magnets) to revolve the interior attractive dipole 2 because of the attractive forces of the opposite interior/exterior poles (assuming these forces are greater than the friction of the system) . The procedure is repeated through the next ldO* to complete a revolution.

In contrast to the NA, the SR, because of the opposing polarities, experiences exactly the opposite conditions; at 0° , the SR is in a strong unstable state due to the interactive repulsion between the stator and rotor pole faces; no energy is required (as a result of the "internal energy" E,) to advance the interior repulsive pole 6 toward 90". At 90", a weak stable state exists in the SR due to the repulsive forces exerted by both the 0° and ldO" exterior repulsive poles acting on the interior repulsive poles 6 (akin to a braking system). From 90° to 180°, energy Ee is required ("external energy") to revolve the interior repulsive pole 6, due to the repulsive forces of the "like" interior/exterior poles 8. The procedure is repeated through the next ldO" to complete a revolution. A curious observation is that when the SR is considered as an isolated system, it appears to have no reasonable macroscopic or sub-atomic function, except as a "phase-coupling device"; any energy received at the SR is output in the same form, less the frictional losses (i.e., no energy conversion - just losses) . The conventional measurement of electrical degrees cannot be applied in this system (SR) , nor can the conventional dipole moment. This, may be the reason that it has taken so long to establish fundamental theories relating to these overall phenomena.

The negative temperature state (MC3 ) will be achieved by coupling the two NA and SR spin systems, as best shown in Figure 4. The most important factor in the coupling is that an equally stable state of one spin system is precisely coupled to an equally unstable state of the other spin system ("out-of-phase" coupling, akin to the function of population inversions in lasers) , eliminating or nullifying the resistance or attenuation of the individual spin systems to provide a collective display of zero magnetic moment (magnetic torque force cancellation; assuming essentially the same magnetic torque forces/magnetic moment for each respective spin system) . Conversely, when the two respective spin systems are coupled exactly "in phase", the result is a maximum resistance. Therefore, a continuum in resistance exists from a minimum (zero) at exact "out-of-phase" coupling to a maximum at the point of exact "in-phase" coupling. The range in conductance (lack of resistance) in all materials (e.g., elements and compounds) may relate to the degree of proper phase coupling in the atomic or molecular structure. All of the varying states between minima and maxima in the NA and SR systems have been proportionally coupled; the internal potential energy of one system is coupled to the exterior energy requirements of the other system and vice versa. In terms of magnetic moment (torque forces) , there is no difference between the NA and the SR component, individually both systems act as resistors or attenuators. The "external energy" required to drive the SR can be minimized by altering the interactive pole face geometries (lowering the amplitude of the "external energy" mechanical torque curve) , resulting in a more efficient use of energy. It is interesting to note that a unique magnetic/energy gradient also exists between the magnetically isolated interactive NA and SR spin systems, the gradient being from repelling to attractive. We theorize that two types of individual magnetic gradients are acting in the Magnetic Corollary to the Carnot Cycle (MCCC) : adiabatic positive compression and negative expansion on the SR side, and isothermal negative compression and positive expansion on the NA, wherein "positive" refers to "force required" and "negative" refers to "no force required". The SR is viewed as being "adiabatic" due to the absence of a magnetic circuit between stator and rotor. Conversely, the NA is "isothermal" due to the creation of a magnetic circuit or exchange between the stator and rotor. A third type of magnetic/energy gradient exists between the two spin systems. Ideally, this gradient should be equal to zero and at the same time constitute the most "out-of-phase" coupling that is possible between the two spin systems. This will result in maximum amplification within the allowable energy states.

Moreover, we consider the magnets and their fields (individually and collectively) to constitute the requisite reservoirs to generically describe Carnot cycles. By analogy, it can be said that "fuel" provides the replenishment in Carnot's reservoirs, whereas such replenishment needs are already inherent in MC1 and EMC3 systems because of the fundamental nature of magnetism.

Torque forces are effectively nullified by the precise "coupling" or "pinning" of the contrasting spin systems (Note: this is a contrived state because the systems resist this coupling) . Therefore, by virtue of the definition and as will be shown in our test results, the coupled system appears to be in the negative absolute temperature state since each individual spin system displays distinct magnetically induced torque forces (positive and negative compression and expansion forces) , whereas the precisely coupled MC3 system displays no net magnetically induced torque forces, only frictional forces, even though the attracting and repelling states of the individual respective spin systems are undiminished. In this regard, the MC3 system contrasts with common Carnot cycles (in the positive temperature regime) , which by definition display net expansion and compression forces. To prevent interference problems and aid in balancing the forces of the two spin systems by making dissimilar fields precisely opposite one another (i.e., fine tuning magnetic field gradients) , various pole face geometries, magnetic shielding methods, or the like may be in place within and between respective spin systems.

The general MC3 example described herein is obviously not limited to the specific geometry shown. MC3 can be achieved using a variety of geometric configurations, including variations in size and absolute number of poles, as well as the interactive distances between poles and their relative direction of rotation. The multitude of potential macroscopic configurations are comparable to the assortment of superconducting geometric structures intrinsic to individual naturally occurring elements (e.g., Al, Pb, Sn, etc.) or contrived compounds (e.g., Y-Li-Sr/Ba-Cu oxides). As a result of the required geometric precision of the coupled magnetic spin systems, MC3 's appear to be rarely occurring in nature. However, it is clear that the physiochemical elements required to obtain superconductivity must already be present in the atomic structure of some elements, since only a temperature change is required to achieve the superconductive state in these elements (e.g., Al, Pb, Sn, etc.). By precisely combining two individual attenuating spin systems we have created one overall amplifying spin system. Given certain magnitudes of magnetic forces, the degree of amplification is a direct result of the precision of the balancing of the magnetic torque forces. It is important to note that a system does not have to be exactly counterbalanced to derive some of the benefits of magnetic torque balance.

Coupling of a positive temperature system to a negative absolute temperature system can be achieved by connecting a means for electrical conduction to the MC3 system, resulting in an "open electrical circuit" system that yields an asymmetric energy output with a finite decay time, as best shown in Figure 4.

EXPANDED MAGNETIC COROLLARY TO THE CARNOT CYCLE

(EMC3I In terms of the possibility of producing a regenerative energy system, Ramsey states that:

"T2/T1>1 for negative-temperature reservoirs and the efficiency n is negative and can be very large. At first sight this may seem surprising. It means that instead of work being produced when a Carnot heat engine is operated with heat received at the hot reservoir, work must be supplied to maintain the cycle.

Inversely, it means that if such a Carnot cycle is operated in the opposite direction work is produced while heat is transferred from a colder reservoir to a hotter. If the heat transported to the hot reservoir by this reverse cycle is allowed to flow back to the colder reservoir, there then exists an engine that will operate in a closed cycle and produce no other effect than the extraction of heat from a reservoir and the performance of an equivalent amount of work."

Negative absolute temperature by convention and definition would appear to require the existence of negative mass. We view magnetic dipoles and their fields as manifestations of negative mass. A plurality of which, precisely organized or positioned in motive spin systems as described herein, constitute "negative temperature reservoirs" (after Ramsey) , where it is possible that T2/T1 >1.

In terms of entropy relating to negative temperature systems, increasing states of disorder (entropy) correspond to decreases in temperature, precisely the opposite of the relationship at positive temperatures, where disorder increases with increasing temperature. Thus, to effectively link the positive temperature system to the negative absolute temperature system in a closed circuit manner, means are required to allow "heat" to flow from a colder to a hotter reservoir and in turn flow back to the colder reservoir. With a macroscopic system at negative absolute temperature(MC3 ) , this is accomplished by coupling a 3rd spin system we call an Inverted NA (e.g., electric motor) and conduction means to the first spin system (NA) , wherein a portion of the internal energy of the MC3 system is converted to positive temperature in the form of electricity (i.e., the first spin system functions as a generator) . In turn, a portion of this "heat" (electricity) is allowed to flow back to the colder reservoir by means of magnetic coupling (3rd spin system-electric motor) to the negative temperature system. This process allows the negative absolute temperature system to maintain its angular velocity and magnetic moment and is sufficient to compensate for the losses inherent to transitions to or from positive temperature states (e.g., friction and resistance; note that there is also friction inherent to the negative temperature state) . Therefore, by allowing a portion of the energy to "flow back", continuous transitions or a superconductive state is attained since the system no longer exhibits a decay time. We call this system an "Expanded Magnetic Corollary to the Carnot Cycle" or EMC3 , as best shown in Figure 5.

In addition to raising the positive temperature output (e.g., electricity), energy flow-back can be confined to the MC3 system to raise the internal energy of the system. Processes from spontaneous fission to thermal combustion may be attributed to such internal energy flow-back processes. Moreover, a better understanding of these processes may explain the perfectly stable superconductive circuits (i.e., no increase or decay in strength over (1010)10 years).

The resultant output from an EMC3 system is an undiminished alternating current, even though the magnetic moment phases cancel each other out. With slight modification (e.g. , geometric alteration) , the system can produce a pulsating direct current.

MACROSCOPIC VERIFICATION OF NEGATIVE ABSOLUTE TEMPERATURE STATE

The difficulty in achieving EMC3 lies in the MC3 portion of the system. The transition from negative to positive temperatures, or the expansion of the MC3 system to communicate with positive temperature systems, is quite simple to achieve. Initially, by definition, any one of the previously mentioned tests comparing energy requirements between individual and coupled spin systems can be performed to assess whether negative absolute temperatures have been achieved. Because of its simplicity, we have chosen to compare the amount of energy required to bring individual spin systems up to a specific angular velocity and/or magnetic moment relative to the collective system. The spin systems can be evaluated independently (i.e., NA or SR individually) or collectively (i.e., NA-SR as a coupled spin system) . We have constructed a simple 2- pole rotating test stand with interactive stator and rotor components which contains two separate spin systems (i.e. NA and SR.) Prior to any testing, the magnetic field was measured (with a Gaussmeter) at each pole face to ensure that the magnetic forces would cancel each other out as much as possible, (Table 1) . Using a dynamometer, we initially measured the (rest to motion) frictional forces of the system and determined them to be 100 grams when the system was inactive (Table 1) . Next we measured the force required to bring the individual spin systems (i.e., NA and SR) into motion from a rest state. The NA required a peak of 1000 grams (friction = 100 grams) to complete 160° revolution, whereas the SR required 700 grams (friction = 100 grams; Table 1). This is the closest we could come to equalling the required motive forces of the respective spin systems in our somewhat primitive experiment. It is interesting to note that the character of the interactive magnetic forces for the NA and SR differ substantially. The attractive forces associated with the NA acted over a more localized area with strong attractive forces at the area of direct pole interface. In contrast, the repelling forces associated with the SR were distributed over a larger area (geometric degrees) , with lower absolute forces at any given point. Variations in the attractive/repelling magnetic field character may require that pole face geometries compensate for these differences by altering the interactive magnetic fields to optimize the force balancing process. Magnetic shielding methods can also be employed within and between respective spin systems to maintain optimal force balancing. Variations in pole face geometries and consequent magnetic field geometries and intensities could be analogous to variations in geometries of atomic and sub-atomic orbitals.

Once the two spin systems were coupled (MC3 state) , a peak of only 300 grams (friction = 100 grams) were required to accomplish the same ldO" revolution compared to the 1000 grams (friction = 100 grams) required to revolve the NA by itself.

Our test results prove that negative temperature states can be achieved in a macroscopic framework. We have met the requirements for a "special system" wherein; the energy of allowed states have finite upper limits (finite magnetic/energy gradients in the coupled system) , the systems are coextensive in space (the most unstable state of one is exactly coupled to the most stable state of the other, as best shown in Figure 4) and at the same time shielded from work interactions ("isolated" yet "coupled" spin systems) , and individual (isolated) systems display longer decay times than the coupled system (or more energy is required to revolve the individual spin systems relative to the coupled spin system) .

Table 1. Test Results of negative absolute temperature states. System Configuration Force (grams) Gauss NA (1st) 1000 600

SR (2nd) 700 600

MC3 (1st and 2nd coupled) 300 600

Friction (1st,2nd,coupled) 100

MACROSCOPIC VERIFICATION OF TRANSITIONS FROM POSITIVE TO NEGATIVE ABSOLUTE TEMPERATURE STATES

By connecting a conduction means (e.g., coil) to the NA (stator) component of the MC3 system (e.g., electric generator) , a rudimentary evaluation of the transition from positive to negative absolute temperatures (i.e., coupled MC3 system) can be made. The coupled MC3 system only requires 300 grams of torque force (friction = 100 grams) to revolve the spin systems 160°, producing a voltage of 100 millivolts. Since this voltage output signal equals the voltage of the NA operating independently (1000 grams) , we can effectively produce the same output energy for 4.5 times less input energy (correcting for friction) . Therefore, the coupled MC3 system in the rudimentary preliminary model tested herein is 4.5 times more efficient than the simple two-pole NA generating device. The voltage output can be manipulated to produce work or heat and at the same time a portion of this (preferably at least proportional to the frictional forces) can be allowed to flow back through the system via the 3rd spin system (e.g., electric motor) , as best shown in Figure 3, to achieve a superconductive state at any temperature (i.e., a portion of the system can be brought up to operating temperatures of filaments in incandescent light bulbs or greater) . However, the magnetic portions of the EMC3 or superconductive system must be maintained below the Curie Temperature (1023°K for Iron), or the magnetic properties will cease. Therefore, it follows that the superconductive circuit as a whole (as described by our model herein) cannot be characterized by a single electric circuit nor a single temperature. Rather, it is characterized by unique combinations of electric circuits, magnetic circuits, interactive magnetic fields; and in terms of temperature, 5 the system as a whole is comprised of several temperature states. Moreover, in terms of resistance, it is clear that the superconductive circuits contain internal resistance networks, even though they as a whole may manifest what appears to be no resistance.

Just as in other superconductive circuits, the activated EMC3 system will not exhibit a decay time as long as output energy is allowed to flow back into the EMC3 system in proportions that meet or exceed frictional forces. When precision balancing of magnetic torque forces is accomplished, the efficiency of the EMC3 system can be optimized.

If the forces required to revolve the EMC3 coupled test spin system had been only 100 grams (i.e., frictional forces only) , then we would have demonstrated 100% balance or "zero magnetic torque". Our test results are therefore most encouraging since we have achieved -78% (i.e., 1 -[(300g(MC3)-100g(F))/(1000g(NA)-100g(F))] of the maximum that is theoretically possible in the portion of our theory that deals with magnetic force balancing.

Therefore, it appears that the EMC3 system can operate in a negative torque mode (i.e., internal (magnetic) energy is used to overcome friction of the system) as shown in the "regenerative" coupled system, as best shown in Figure 5. In addition, the same effect can be achieved by replacing the function of the 3rd spin system by altering the pole face geometries of the SR spin system. As described herein and as best shown in Figure 4, the conversion of magnetic energy into electricity is most efficiently accomplished at near zero or negative torque. This is readily apparent when the diagrammatic representation of internal and external energy is analyzed. For instance, it is clear that Ee from 90* to 180" and 270° to 0°, when diminished in amplitude, will cause the coupled spin system to be in a state of negative torque. Altering the amplitude is a consequence of changing the pole face geometry, wherein the magnetic repelling forces are so directed that they give preference to the direction of rotation to optimize the negative torque states. Controlling the effects of impedance, inductance, hysteresis, and heat losses from resistance (I2R) are important in establishing efficiencies in macroscopic systems. The sub-atomic equivalents must also be considered when determining the susceptibility to superconductive states by certain materials. Internal interference effects from an imbalance of impedance and inductance loads can be reduced or eliminated by conventional load-balancing means. Hysteresis can be completely eliminated as a loss in pulsating DC systems as shown in Figure 4, wherein the ferromagnetic stator poles are not subjected to complete switching from one magnetic polarity to the other. Such generating devices are similar to homopolar generators which were conceived and demonstrated in the early years of electrical research. In sub-atomic systems, heat losses from resistance (I2R) and consequent heat migration may substantially impair sub-atomic superconductive functions. In macroscopic systems, these losses are of less concern as heat migration can be dealt with using conventional engineering techniques (i.e., the effects can be isolated and controlled).

It is clear that there are many precise requirements for positive and negative absolute temperature states and their transitions that must be met. The basic requirements are presented in this preliminary disclosure.

Table 2. Test results of positive/negative absolute temperature transitions.

System Configuration Force (grams) NA (1st) 1000

SR (2nd) 700

Inverted NA (3rd)

Coupled MC3 System 300 600 100

Friction 100

CONCLUSIONS AND DISCUSSION

From a practical standpoint, the Expanded Magnetic Corollary to a Carnot Cycle (EMC3 ) permits magnetism itself to be a primary non-polluting energy source for electricity. The ease with which practical devices can be accomplished would appear to warrant urgent social, scientific, and commercial attention. Note the macroscopic version of the 3rd (inverted NA-motor) spin systems have already been developed and are commercially available. The 1st and 2nd spin systems (NA and SR) can readily be developed using essentially an extension of the same technology that is applicable to the 3rd.

Up until now, magnetism has been overlooked as a primary energy source and has only been exploited as a means to convert fossil and nuclear fuel (via mechanical energy) into electrical energy or electromagnetic radiation. In light of the aforementioned theoretical explanations and experimental results, it appears that EMC3 systems can represent macroscopic superconductors at all temperatures providing the required symmetric/asymmetric link between thermodynamics and electromagnetism. With present day technical expertise, practical macroscopic systems operating between positive and negative absolute temperatures can now be easily realized, resulting in the highly efficient generation of electricity. It appears that EMC3 systems comprise negative absolute temperature (energy) reservoirs. These reservoirs can be made to function in superconductive generators and magnetic batteries.

The extent to which an element (or material) incorporates requisite spin systems and the optimization of their alignments (e.g., "in-phase" vs. "out-of-phase" coupling) may correspond to the relative degree of electrical conduction or ultimately superconduction (EMC3 ) that is observed (e.g., a continuum from resistor to semi-conductor to conductor to superconductor) .

Since the existence of negative absolute temperature has been confirmed and accepted (and in light of these disclosures) , it would seem by definition, negative absolute mass should also be recognized in as much as a motive mass is a requirement for the establishment of temperatures (i.e., motion of particles). Negative mass may reside in the atomic structure or the inter-atomic space (both within the nucleus and associated with electron clouds as well as the space between electron clouds) . The quantity and location of negative mass in a particular element may determine its susceptibility to EMC3. By changing the alignment by simple chemical mixing, cooling (compression) , heating (expansion) , electrification, magnetization, or by induced frequency/radiation, the negative mass component can be altered to promote or demote the outflow of energy from "amplification" and "superconductive", or "emission" processes as in MC3 and EMC3 systems.

The dual behavior of magnetized mass (i.e., attraction and repulsion) is inconsistent with the definition of mass in Gravitational Theory where mass only has a singular behavior (attraction) . For many current theorems to remain valid, it would seem appropriate to assign negative mass values to atomic structures and elements and incorporate them into the theorems and a revised classification of naturally occurring elements (e.g., periodic table of the elements).

Analysis of our theories and experiments reveal that a number of dynamic interactive processes, along with spatial displacements and geometries, predicate the efficiency of an EMC3 system. All of these dynamic interactive processes will need to be more precisely translated to their sub-atomic quantum mechanical equivalents.

Although we have described the fundamental principles of constructing Expanded Magnetic Corollaries to the Carnot Cycle (EMC3 ) , it may be of greater scientific (and social) importance to identify how and why it appears most systems are not EMC3 's and if and how it is possible to manipulate them. Conversely, how can this knowledge be used to manipulate already existing EMC3 systems (e.g. , spontaneous fission) ; perhaps through magnetic or electrical means it may be possible to deactivate the fissioning (EMC3 ) process. Processes ranging in diversity from combustion and spontaneous fission to conduction and amplification may be directly related to the degree and magnitude in which EMC3 is functioning on the sub-atomic level. Although at first it may seem surprising that the applicability of our theories are so broad, it is justified by the test results and the concomitant proposal of the existence of new, previously undiscovered components or behaviors in the inter-atomic or atomic structures. This is supported by our macroscopic tests and their sub-atomic analogies, as well as the behavior of superconducting elements (e.g., Al, Pb, Sn, etc.). Moreover, the interrelationship of gravitational, thermodynamic, and electromagnetic theories and their bearing on unified field theory development is obviously affected by introduction of any new component or processes in the atomic structure or its surroundings. In addition, now that it is possible to make transitions between positive and negative absolute temperatures, it may be possible to establish the unit ratios between positive and negative absolute temperatures and their corresponding positive and negative mass.

An instructive embodiment only exemplifying the basic principles of the invention will now be described. Referring to Figure 6, a two pole generator 10 is disclosed. The generator includes a C-shaped stator 12 with a coil of wire 14 wound around its intermediate portion. A permanent magnet armature 16 is disposed to rotate between the pole portions 18 and 20 of the stator. As the armature is rotated through its shaft 22, a voltage is generated across the output 24 of the coil 14. The input power to the generator 10 is characterized by alternating external energy Ee and negative internal energy E{, as best shown in Figure 6. The input power also includes power to overcome friction losses within the generator, as generally indicated as Ef.

To reduce the magnetically induced torque or drag forces, a special repelling spin system 26 is coupled thereto. The system 26 includes a stator comprising a pair of permanent magnets 28 and an armature comprising a pair of permanent magnets 30. The magnets 28 and 30 are disposed in such a way that like poles are disposed across each other, as best shown in Figure 7. The armature rotates about shaft 32. One of ordinary skill in the art will appreciate from an analysis of Figure 7 that in order to maintain rotation of the system 26, external energy Ee must be supplied to the system in alternating fashion, as best shown in Figure 7. One of ordinary skill in the art will understand that there is internal potential energy stored in the system 26 at the 0" position, such that the armature will turn without any application of external energy from 0ß to 90". From 90° to 180°, external energy must be applied to the system to bring it to the orientation, as shown in Figure 7 where it attains potential energy. From ldO* to 270", this potential energy is utilized to turn the system 26. From 270* to 360°, external energy Ee is again applied to the system 26. Thus, one can see that the power requirement at the shaft 32 is characterized by alternating external energy and internal energy. Energy to account for friction losses, generally indicated as E , is also supplied to the system 26.

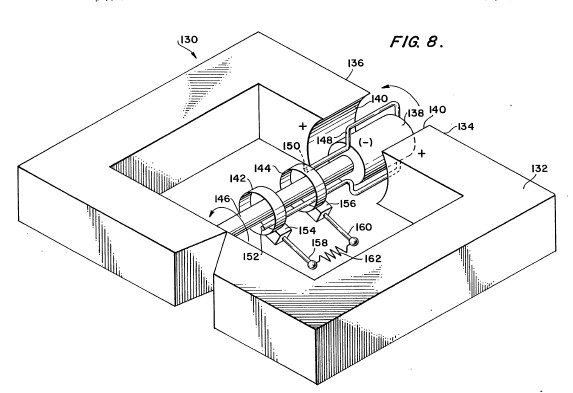
When the generator 10 is mechanically coupled to the system 26 through their respective shafts, a balance of the shaft power occurs, such that only the frictional losses of the combined system must be supplied in order to keep the coupled system rotating and generating power. This is best illustrated in Figure 8.

A person of ordinary skill in the art will understand that a conventional control system (not shown) might be necessary to maintain the proper phase relationship between the generator 10 input power envelope and the SR spin system 26 output power envelope to account, for example, for varying loads connected to the generator and for hysteris in the system. The control system may be implemented electronically or mechanically.

Another embodiment of the system disclosed in Figure ß is shown in Figure 9. A generator 34 has a rotor 36 and a stator 3d. The rotor 36 is secured to shaft 40 and includes a pair of U-shaped permanent magnets 42 disposed along the shaft 40 in a back-to-back fashion, as best shown in Figure 9. The magnets 42 are disposed such that adjacent poles are like poles. The stator 3d includes a pair of coils 44 disposed in intermediate portions of respective U-shaped ferromagnetic magnetic cores 48 with pole portions 50 disposed opposite respective pole portions of the rotor magnets 42.

The generator 34 is mechanically coupled to a special repelling spin system 52, which is similar to the spin system 26 disclosed in Figure 7. The system 52 includes a rotor 54 having a pair of C-shaped permanent magnets 56 secured to a shaft 58. The spin system 52 includes a stator 60 having a pair of C-shaped permanent magnets 62 which are disposed relative to the permanent magnets 56 such that respective opposing poles of the rotor and the stator are like poles.

The input power to the generator 34 is similar to that of the generator 26 disclosed in Figure 6. Likewise, the input power to the spin system 52 is similar to the input power of the spin system 26 disclosed in Figure 7. Therefore, one of ordinary skill in the art will understand that when the generator 34 and the spin system 52 are mechanically coupled together through their respective shafts 40 and 58, cancellation or balancing of the input power to the generator 54 and to the spin system 52 occurs. Consequently, only enough power to compensate for frictional losses of the system are needed to keep the coupled system rotating. Appropriate output leads are taken from the coils 44 to produce an output E0, as best shown in Figure 9.

While this invention has been described to explain the principles in the simplest manner possible, it is understood that it is capable of further modification, uses and/or adaptations of the invention following in general the principle of the invention and including such departures from the present disclosure as come within known or customary practice in the art to which the invention pertains, and as may be applied to the essential features set forth, and fall within the scope of the invention or the limits of the appended claims.



NEGATIVE MASS-ENERGY CONVERSION AND AMPLIFICATION SYSTEM  
WO8502303

1985-05-23
Inventor(s):     WERJEFELT BERTIL [US]
Classification: - international:     H02K53/00; H02K57/00; H02K53/00; H02K57/00; (IPC1-7): H02P9/04 - European:     H02K53/00; H02K57/00
Also published as: EP0162104 // AU3830385 
Abstract --  Method for manipulating negative mass-energy. This invention manipulates negative mass-energy by providing at least two spin systems (G and M) where at least one of these systems has a larger negative mass than the other. The spin systems are linked together (A) in such a way that energy can be transferred between the spin systems. The spin systems could be a motor (M) and a generator (G) connected by a stator arm (A).











http://quanthomme.free.fr/energielibre/energie/MG_ReedWerjefelt2.htm

WERJEFELT Bertil

Werjefelt qui est originaire de Suède est arrivé aux Etats-Unis au début des années 60. Il a terminé ses études dans les universités de l’Utah et à Hawaï. Il partage son temps entre la direction d’un groupe s’occupant de sécurité aéronautique R&D Poly Tech, et la rédaction d’articles techniques.

Depuis des années, il travaille sur un appareil à énergie magnétique, un système en rotation qui annule le freinage magnétique en le neutralisant avec des champs d’aimants supplémentaires, et produit plus d’énergie qu’il n’en consomme. Un essai a montré 450 watts de sortie pour 160 watts d’entrée.

Werjefelt a découvert dans la littérature scientifique les preuves à l’appui de ses affirmations. Il a donc consigné ses résultats sous forme brevetable et capable de convaincre la communauté scientifique, néanmoins il préfère de loin démontrer que son appareil fonctionne (il existe une vidéo de l’appareil en fonctionnement).

En 1990, il a écrit à General Electric, Westinghouse, Siemens, Hitachi et Sumimoto. La plupart des réponses venant des Américains et des Européens étaient du genre : " ce n’est pas possible ", ou " appelez-nous quand vous aurez obtenu un brevet."

Lors d’une conférence donnée au M.I.T., il a soutenu que les enseignements de physique classique sur le magnétisme étaient toujours incomplets et que la communauté scientifique avait déclaré prématurément qu’il était impossible de se servir du magnétisme en tant que source d’énergie.

En octobre 1993, dans un programme télévisé japonais, Teruhiko Kawaï a fait mention d’un appareil similaire à celui de Werjefelt. Des équipes de recherche japonaises, convenablement financées, ont travaillé sur cette découverte afin d’obtenir des appareils fiables pour des moteurs actuels.

Werjefelt a passé deux jours avec un représentant de la société Sumimoto - qui estime à sa juste valeur sa découverte. Il a appris que les moteurs japonais tournent très bien (l’émission montrait des réfrigérateurs, des aspirateurs et autres appareils ménagers ainsi équipés). L’équipe de l’inventeur a résolu les problèmes techniques, ce qui permettra aux générateurs d’être disponibles d’ici quelques années. Werjefelt s’intéresse davantage à la production d’électricité et pense que de nouvelles centrales (NDLR : mais est-il nécessaire de centraliser l'énergie ?)basées sur son Générateur Magnétique produiraient de 15 à 18 fois plus d’électricité que celles actuellement en service.

Des commentaires extraits d'un groupe de discussion

" … le secret des moteurs de Werjefelt et de Muller (voir ce nom) pourrait résider dans la commutation rapide du système d’équilibrage on et off. Il s’agit là de dévier le flux avec une bobine sans noyau avec une énergie électrique plus faible quand le temps de commutation on diminue. La force de champ maximum doit toujours atteindre le même niveau, mais plus le temps on est court, plus le système est efficace. C’est là que peuvent intervenir valablement les électroniciens.

Est-il possible de réaliser et utiliser une bobine sans noyau afin de commuter on et off sur des périodes de temps plus courtes tout en assurant une force de champ donnée, et avec ce processus, réduire la puissance à la bobine par impulsions ? Il me semble qu’une bobine traversée par un courant pendant une minute utilise davantage d’énergie que la même bobine traversée pendant une seconde. La question se pose alors de réduire la constante de temps inductive tout en conservant une force de champ donnée et tout en diminuant l’énergie d’entrée dans la bobine. "


Le principe de base des machines de Werjefelt (et de Muller) est simple.

Dans celle de Werjefelt, les forces d’attraction entre le rotor et le stator sont équilibrées en connectant un rotor et un stator fonctionnant en répulsion. En fait, tous les deux, une fois couplés, tournent comme s’il n’y avait aucune force au travail, comme s’il n’y avait aucun aimant ; c’est comme si le montage était en bois. La machine a été construite sur ce principe et fonctionne selon le témoin qui poursuit : mais que se passe-t-il lorsque l’on met une charge sur la machine ?

Si le circuit de répulsion a été coupé au bon moment, il y aura des forces d’attraction dans la partie génératrice, et un travail pourra être accompli. Plus la machine tourne vite, plus le temps de commutation dans la partie de la répulsion est court et meilleure est l’efficacité.

C’est comme si ces machines supprimaient la gravité pour un temps, soulevaient un objet, et rétablissaient la gravité, le tout générant un travail. Les aimants permettent d’accomplir la même chose car on peut les commuter. La vitesse de rotation, le timing, l’utilisation d’une section d’équilibrage pour annuler les forces entre le rotor et le stator dans la partie génératrice font que ces machines, peu connues, produisent un excès d’énergie vérifié.



Magnetic Battery      
CN2587067

2003-11-19
Inventor(s):     SHANG QIXIN [CN]; LIU YUESHENG [CN]
Classification:      - international:     H01M2/20; H01R3/00; H01M2/20; H01R3/00; (IPC1-7): H01M2/20; H01R3/00



MAGNETIC ENERGY BATTERY
WO9512886

1995-05-11
Inventor(s):     XIE DAXIN [CN]
Classification:  - international:     H01F1/03; H01F7/02; H02J15/00; H01F1/03; H01F7/02; H02J15/00; (IPC1-7): H01F7/02; H01L43/00; H02J15/00
- European:     H01F1/03; H01F7/02; H02J15/00
Also published as: CN1090675 // AU8056594  (A)     
Abstract -- The magnetic energy battery of the present invention comprises a casing, a positive terminal and a negative terminal. The main body of the battery is a cylindrical permanent magnet (1) having two end planar surfaces which are magnetized such that a vortex magnetic field (2) is formed inside. The vortex magnetic field (2) is a circle form concentrically with the axis of the permanent magnet (1) and the direction of the magnetization is perpendicular to the axis of the permanent magnet (1). The battery can directly produce electrical power from magnetic energy and can be recharged by magnetization repeatedly.



Magnetic battery  
US4709176

1987-11-24
Inventor(s):     RIDLEY WILLIAM E [US]; SPECTOR GEORGE [US]
Classification:      - international:     H02K35/02; H02K35/00; (IPC1-7): H02K35/00 - European:     H02K35/02
Abstract -- A magnetic battery is provided that includes a helical spring threaded onto a mnagnetic core to increase relative movement between the magnetic core and coils that may be coated with sulfer and zinc oxide to enhance electricity extracted therefrom. The magnetic battery is built into a flashlight casing so that oscillatory motion will provide electricity to operate a lamp therein.