For the nearly 20 percent of the world's population who live in areas without access to fresh drinking water, getting access is a matter of life or death. Inspired by the mechanics of a dripping air conditioner, French inventor Marc Parent was inspired to create a solution that could bring fresh water to the most remote, driest parts of the world.
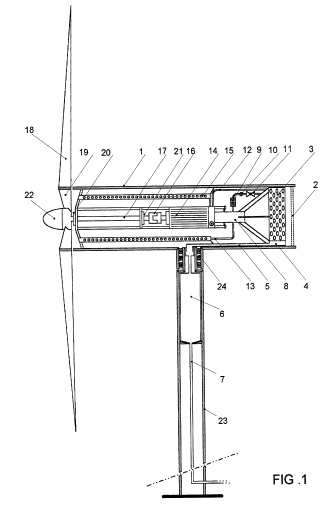
Parent created a company, Eole Water, that produces wind turbines that literally pull fresh water out of thin air. His solution, dubbed the WMS1000 uses the electricity generated from a windmill to collect and treat water without tapping into a water source such as a river, lake or well.
Eole Water is testing the invention in France and Abu Dhabi. The invention, if the company can get the economics to work, looks to be a promising solution to the water crisis.
I recently interviewed Thibault Janin, Marketing and
Communication Director of Eole
Water on the WMS 1000 turbine to find out what's in
store for this new technology.
How was the
idea of a wind turbine that produces water developed? Thibault
Janin: The idea came from Marc Parent, founder of Eole Water,
when he lived in the Caribbean, and was subjected to water
shortages. He began to work on a system that could recover
moisture from the air and transform it into water. Soon after,
he returned to France. He patented the process and founded
Eole Water.
Millions of people worldwide live in remote areas without any
access to safe drinking water. What is the potential for the
Eole system to solve this issue? Thibault Janin: Each unit can
create 1,000 liters of drinking water using only moisture and
powered only by wind. Let me highlight this word : CREATE. All
existing solutions (wells, desalination, lakes/rivers pumping,
etc.) only treat an existing source of water. Thus, what
happens when there is no or no more water available? The
WMS1000 can create water when there is no existing source
available. That makes a difference. Our technology integrates
water creation, water collection, water treatment and water
local distribution. The WMS1000 can produce and distribute
water everywhere.
Today, people only use centralized distribution, from a center
point to others. With our turbine, we wish to decentralize the
water access. As the logistics and the process are easy to
install and operate, it will be an answer to various issues
like massive population movements that cause swelling of
cities, increased diseases and therefore health care costs
increasing, (it can also be) a door to agriculture or a local
industry beginning. All economic or welfare starts with access
to water. And this is what we provide.
Are any of these turbines in place and operational? Thibault
Janin: Wind turbines (first, second, third generation) can be
seen at Eole Water Headquarters in Manosque in the South of
France. The fourth one is used to make demonstrations during
shows and exhibitions. The fifth one, the WMS1000, is the real
showcase of our actual company knowledge. It has been designed
and manufactured between January 2010 and December 2011. Then
first tested in France between January 2011 to August 2011,
and second in Abu Dhabi (Mussafah) from November 2011 to April
2012. The final location of this turbine will be Dubai by the
end of 2012. The location will be opened to public.
What's the cost of production and operation of the turbine?
Thibault Janin: The WMS1000 has a price of $600,000. It has
been designed to operate in very remote areas, which implies
that the maintenance overheads are strictly reduced to
minimum. The WMS1000 wind turbine has lifetime of 20 years
minimum.
What is the potential for the turbine? Thibault Janin:
Thibault Janin: Do not look only at the 150 million potential
customers for this technology. It is much more complex. Water
is becoming increasingly scarce. Household needs in the matter
should increase by 130 percent by 2030. At the same time, the
WMS1000 is only one step in our development. Our range will
expand to provide more precise and larger answers to
communities with larger turbines featuring higher capacities
of water production. We respond to a growing and constant
global demand, not subjected to economic classical cycles,
since water is essential to life.
What hurdles do you see standing in the way of bringing more
of these wind turbines online? The major challenge for Eole
Water is to make this technology more competitive in terms of
price per water cubic meter. Our technology must reach
maturity as quickly as possible, at several levels:
production, R&D, legal or business experience.
