December 13th, 2011
Wind
Power Unlike Any Other On Horizon
by Lauren Craig
SheerWind is a Chaska, Minnesota-based start-up with a wind
power generator concept that looks nothing like any wind
turbine you have ever seen. The venture’s “Invelox”
technology recently won the 2011 CleanTech Open’s
Sustainability Award for the North Central Region.
SheerWind’s Founder and CEO, Dr. Daryoush Allaei, has 25
years of research and development experience, including
leading projects funded by the U.S. Department of Defense
and Department of Energy (DOE).
Interestingly, his technical expertise is not in wind power,
or even renewable energy, but in systems
dynamics–specifically, noise and vibration. He first
developed the idea for Invelox in late 2008, while working
on a proposal for a project to monitor wind turbine
vibration, in response to a DOE solicitation.
“DOE wanted a technology that could monitor the vibration of
the [wind turbine] blades, to help them manage wind energy
more cost-effectively,” Allaei said to us in a recent
interview. “When I was reviewing what they were asking for,
I just thought, ‘Wow! They are trying to solve the wrong
problem.’ They were asking me to go 60 to 100 feet up in the
air, when what I really needed to do was bring [the cost of
wind energy] down for them. I thought something had to
change. So I closed my door and I sat down and thought about
what else we could do that makes more sense. That’s how I
came up with this idea of harvesting wind on the ground.”
The result is what to looks to be a pretty novel approach to
generating wind power. Allaei’s “Invelox” technology (named
for increasing velocity) looks more like a giant phonograph
player than a wind turbine. Essentially, it works by
capturing wind, funneling it into a tunnel to increase
velocity, and channeling it into a ground-based turbine.
Allaei typically describes the system by comparing it to a
hydroelectric dam:
“If you look at a hydro dam, the basic principle is to
collect water and then, down below there are small openings
where the water is allowed to escape. By simple physics,
when you do that, the water speeds up. It is in that small
opening in dams where the generator is placed. The generator
is small, but it makes a very large amount of power because
the water is moving very fast through that small opening.
Invelox is basically an air dam that collects wind instead
of water.”
Sheerwind’s simulations and computer models indicate that
the Invelox technology can produce three times more power
than a conventional wind turbine, while mounted on a tower
at least 25 percent shorter, and using a ground-based
turbine with blades 25 percent as long. Because the
system is shorter, smaller, and has fewer moving parts than
a conventional system, SheerWind expects to achieve savings
of 16 to 38 percent per megawatt-hour (MWh) produced.
At 3.5 cents per kilowatt-hour, the technology is believed
capable of producing wind power at prices comparable to new
gas-fired generation.
sheerwind
Unlike the conventional tower-based turbine design, (“you
put the blade up in the sky and you are at the mercy of
nature”), Allaei says that Invelox has the potential to
overcome many of the challenges facing large-scale wind farm
development. For one, the technology can generate power at
wind speeds as low as 2 mph. This can make wind power
feasible in areas where it is currently not.
The Invelox generators can also be sited close to urban
centers of demand, and used in tandem with natural gas power
plants. This configuration would enable utilities to manage
wind power like a baseload resource.
Invelox also does not produce the vibrations that contribute
to what is known in the scientific community as “Wind
Turbine Syndrome.” Citing a 2009 study of communities
located near wind farms in Wales, Allaei explains that wind
turbines generate vibrations at frequencies too low for
human ears to detect, but at which some organs in the human
body resonate, such as the heart.
“The lower the frequency, the longer the vibrations travel,
like whales that communicate with each other from miles away
in the ocean…. There is evidence that this can cause people
that live near wind farms to get tired, get sick or throw
up,” Allaei explains.
Of course, Allaei knew that there would be skeptics. Since
1992, he has founded six companies, including QRDC, a
consulting firm specializing in noise and vibration control.
With over 100 publications, 25 U.S. patents and 14
international patents, but little experience in the power
industry, Allaei found himself having to convince high-level
utility executives that his idea will work. “When I first
started, I did not even have a business plan.” he said. “My
first test was to see if people in the power industry could
punch a whole in the argument that I was making. These are
not shy people. If they don’t like your idea, they will tell
you to your face.”
But, Allaei is inspired and convincing; and his ideas are
making sense to people who know the energy business. Craig
Mataczynski, former CEO and president of both RES Americas
and NRG, met with Allaei specifically “to prove that the
technology would not work.” Now, Mataczynski sits on
SheerWind’s board.
SheerWind has developed several laboratory prototypes and
full-scale computer models, and expects to begin field
testing in the first quarter of 2012. “We have received
strong traction from customers during development; and if
our claims are validated in the field, they will buy,”
Allaei said.
He also envisions that the technology could be scaled down
for quick deployment after a disaster. “It would have far
more impact in our community and society than just as a
money-making business,” he said. ”Really, this [technology]
can change the equation. It can change wind energy from an
alternative to a main source of generation.”
US2010133847
TURBINE-INTAKE TOWER FOR
WIND ENERGY CONVERSION SYSTEMS
FIELD
[0001] The present disclosure relates generally to wind
energy conversion and, in particular, the present disclosure
relates to turbine-intake towers for wind energy conversion
systems.
BACKGROUND
[0002] Due to the recent energy problems that have arisen,
considerable interest has been given to wind power to be
converted efficiently into electrical energy. Most of the
developments and advancements have been focused on the
improvement of the aerodynamics of propeller-type turbines,
e.g., known as wind turbines and initially referred to as
windmills. Typically, each turbine-generator system is
mounted on the top of tall tower, where the taller the
tower, the higher the prevailing wind speed. The electrical
power generated from a wind turbine is proportional to cubic
order of the wind speed. Furthermore, the longer each
turbine blade, the higher the power generation. However,
long blades are costly, can be subjected to defects and
failure, take up a large amount of space, and generate
excessive noise and vibration. The electrical power
generated from a wind turbine is directly proportional to
the square of the propeller length. However, taller towers
and longer propellers increase not only the cost of material
and installation, but also the cost of maintenance.
[0003] The current wind power generation systems typically
suffer from low efficiency, high capital cost, unpredictable
failures, excessively high noise and vibration, and/or high
maintenance. Due to higher wind speed, large wind farms have
recently been installed at sea. These sea-based systems
suffer from even much higher capital and maintenance costs.
Therefore, the growth of wind farms has been slow at best.
[0004] One of the national goals is that wind energy must
provide 20% of the nation's electricity by the year 2030.
This level of wind power will support 500,000 jobs while
saving the consumers $128 billion by lowering the price of
natural gas. In addition, it will cut greenhouse gas
emission that is equivalent to taking 140,000,000 cars off
the road. While no breakthrough in wind power technology is
needed to achieve this goal, power transmission lines,
reliability, reduction of operation and maintenance costs,
and reduction of downtime and failure of wind turbines is
crucial.
[0005] The operational and maintenance costs of wind
turbines should be reduced to make conversion of wind energy
to electrical power economically more viable. The wind
turbines must also become more reliable with reduced
downtime and failures. For example, for offshore wind
turbines, the costs for operation and maintenance are
estimated in the order of 30 to 35% of the costs of
electricity. Roughly 25% to 35% is related to preventive
maintenance while 65% to 75% is due to corrective
maintenance.
[0006] Wind turbines are complex machines with several
sub-machines that convert the kinetic energy of moving air
to electrical power. Extraction of a significant amount of
energy requires high wind speeds and large turbine
diameters. In general, turbine speeds are slow (about 20
rpm) and the speed must be increased to a useful generator
speed. A typical wind machine has a 3-blade turbine of more
than 60 meters in diameter. This turbine drives a generator
through a speed-increasing gearbox that generally has a
planetary first stage and one or two additional parallel
shaft stages. The generator runs at about 1500 rpm and
produces about 1.5 MW. Many wind turbines are variable speed
machines; the speed depends on the wind conditions and can
vary over a wide range. For these machines, high power
output requires high levels of torque and accompanying high
gear-mesh forces. Because of the low speed of the turbine,
the various gearbox components are usually supported by
rolling element bearings. These bearings are subject to
significant radial loads and need to be carefully monitored
to detect any degradation.
[0007] At present, with the increasing installed power of
the wind turbines, the application of offshore wind
turbines, and major problems with turbine blades and
gearboxes, the necessity of condition monitoring can no
longer be neglected. Some components, although designed for
the turbine lifetime, may require repair or fail earlier
than expected. This is emphasized by the approach of
warranty and insurance companies that simply require
application of monitoring provisions. Otherwise, expensive
preventive replacements or inspections should be carried out
periodically.
[0008] For the reasons stated above, and for other reasons
stated below which will become apparent to those skilled in
the art upon reading and understanding the present
specification, there is a need in the art for alternatives
to existing wind power generation systems.
SUMMARY
[0009] An embodiment of the present invention provides a
turbine-intake tower for delivering wind to a turbine. The
turbine-intake tower has a hollow support column, an intake
nozzle assembly rotatably coupled to the support column, and
a tower nozzle disposed within the support column. The
intake nozzle assembly is configured to receive and to
accelerate wind. The tower nozzle is configured to receive
the wind from the intake nozzle assembly and to further
accelerate the wind received from the intake nozzle assembly
for delivery to the turbine.
BRIEF DESCRIPTION OF THE
DRAWINGS
[0010] FIG. 1 is a cut-away
perspective view of an embodiment of a wind energy
conversion system, according to an embodiment of the
present invention.

[0011] FIG. 2 is an enlarged
view of a portion of FIG. 1, according to another
embodiment of the present invention.
[0012] FIG. 3 is a cut-away
perspective view of another embodiment of a wind energy
conversion system, according to another embodiment of the
present invention.
[0013] FIG. 4 is an enlarged
view of a portion of FIG. 3, according to another
embodiment of the present invention.
[0014] FIG. 5 is a perspective
view of another embodiment of a wind energy conversion
system, according to another embodiment of the present
invention.
[0015] FIG. 6 a perspective
view of an embodiment of a wind farm, according to another
embodiment of the present invention.

DETAILED DESCRIPTION
[0016] In the following detailed description of the present
embodiments, reference is made to the accompanying drawings
that form a part hereof, and in which are shown by way of
illustration specific embodiments that may be practiced.
These embodiments are described in sufficient detail to
enable those skilled in the art to practice disclosed
subject matter, and it is to be understood that other
embodiments may be utilized and that process, electrical or
mechanical changes may be made without departing from the
scope of the claimed subject matter. The following detailed
description is, therefore, not to be taken in a limiting
sense, and the scope of the claimed subject matter is
defined only by the appended claims and equivalents thereof.
[0017] FIG. 1 is a cut-away perspective view of a wind
energy conversion system 100. Wind energy conversion system
100 includes a turbine-intake tower 110, a turbine 120
fluidly coupled to turbine-intake tower 110, and an
electrical generator 130, such as a 60 Hz AC generator,
coupled (e.g., mechanically coupled) to turbine 120.
[0018] Turbine-intake tower 110 has an inlet 140 and an
outlet 142. Air enters turbine-intake tower 110 through
inlet 140 flows through turbine-intake tower 110 and exits
turbine-intake tower 110 through outlet 142. The air exiting
though outlet 142 passes over the blades of turbine 120, as
shown in FIG. 2, an enlarged view of outlet 142, turbine
120, and generator 130, causing turbine 120 to rotate.
Rotation of turbine 120 rotates the generator 130 via a
suitable transmission (not shown) that couples turbine 120
to generator 130.
[0019] Inlet 140 may have a screen or other devices to
prevent the entry of birds or other airborne objects. Any
conventional bird catcher device may be used in this system.
[0020] Turbine-intake tower 110 includes an intake nozzle
assembly 143 that includes a converging intake nozzle 144
and that may include an integral collector 146 that is
contiguous with converging intake nozzle 144. Intake nozzle
assembly 143 is rotatably coupled to a support column 150 of
turbine-intake tower 110 by means of a bearing 152. Support
column 150 is substantially vertical and acts to support
intake nozzle assembly 143 at a vertical height H above
ground level 154, where the height H is measured from a
central longitudinal axis 156 of intake nozzle assembly 143.
The height H may be about the same height as the hub of a
turbine of a conventional wind turbine system, where the
turbine is mounted atop a tower. For example the height H
may be about 100 to about 200 feet.
[0021] Support column 150 has a base 151 that may directly
contact the ground at ground level 154. Alternatively,
intake tower 110 may be positioned on and may be in direct
contact with a platform floating on water, for example, for
offshore application, an in which case ground level 154
would correspond to the surface of the platform. Turbine 120
and generator 130 are located at or near ground level, e.g.,
at about the same vertical level as base 151 and about the
same vertical level as outlet 142, as shown in FIGS. 1 and
2.
[0022] Intake nozzle assembly 143 may be substantially
horizontal. That is, central longitudinal axis 156 of intake
nozzle assembly 143 may be substantially horizontal. Central
longitudinal axis 156 may be substantially parallel to the
direction of the wind and thus the direction of the air
entering intake nozzle assembly 143. The inner surfaces of
nozzle assembly 143 are made of a smooth material in order
to reduce losses due to surface friction.
[0023] Collector 146 extends in the direction of central
longitudinal axis 156 from an inlet plane 160 of
turbine-intake tower 110 to the dashed line 162, which marks
the exit of collector 146. The flow passage within collector
146 is substantially uniform in size between inlet plane 160
and the exit 162 of collector 146, i.e., the cross-sectional
area (perpendicular to the flow direction) of the flow
passage within collector 146 is substantially uniform
between inlet plane 160 and the exit 162. When inlet 140 is
facing the wind and central longitudinal axis 156 is
substantially parallel to the wind direction, collector 146
collects the wind.
[0024] Intake nozzle 144 is fluidly coupled to collector
146. The flow passage within intake nozzle 144 converges
(e.g., tapers) in the direction of central longitudinal axis
156, starting at the exit 162 of collector 146 and ending at
an entrance to an elbow 164. That is, the cross-sectional
area (perpendicular to the flow direction) of the flow
passage within intake nozzle 144 decreases between exit 162
of collector 146 and elbow 164, as shown in FIG. 1. Intake
nozzle 144 acts to increase the flow velocity between exit
162 of collector 146 and elbow 162. That is, passing the
flow through intake nozzle 144 causes the flow to converge
and thus accelerate. Note that intake nozzle 144 receives
the wind from collector 146 and accelerates the wind.
[0025] Elbow 164 is interposed between intake nozzle
assembly 143 and bearing 152. As such, bearing 152 rotatably
connects an upper end of support column 150 to elbow 164.
[0026] Support column 150 is hollow. A converging tower
nozzle 170 (e.g., a column nozzle) is located within an
interior of support column 150 and may extend from bearing
152 to an elbow 172 that is coupled to an outlet duct 174
(e.g., sometimes referred to as the turbine inlet duct) that
leads to outlet 142. As such, tower nozzle 170 is fluidly
coupled to intake nozzle 144 and outlet duct 174.
[0027] Tower nozzle 170 may be substantially vertical. For
example, a central longitudinal axis 176 of tower nozzle 170
is substantially vertical and is substantially perpendicular
to central longitudinal axis 156 of intake nozzle assembly
143, as shown in FIG. 1.
[0028] The flow passage within tower nozzle 170 converges
(e.g., tapers) in the direction of central longitudinal axis
176, e.g., in the downward vertical direction, starting at
the exit of elbow 164 and ending at an entrance to elbow
172. That is, the cross-sectional area (perpendicular to the
flow direction) of the flow passage within tower nozzle 170
decreases between elbow 164 and elbow 172, as shown in FIG.
1. Tower nozzle 170 acts to increase the flow velocity
between elbow 164 and elbow 172. That is, passing the flow
through tower nozzle 170 causes the flow to converge and
thus accelerate.
[0029] Outlet duct 174 is substantially horizontal. For
example, a central longitudinal axis 178 of outlet duct 174
is substantially horizontal and is substantially
perpendicular to central longitudinal axis 176 of tower
nozzle 170 and substantially parallel to central
longitudinal axis 156 of intake nozzle assembly 143, as
shown in FIG. 1. Elbow 172 and outlet duct 174 direct the
flow from tower nozzle 170 onto the blades of turbine 120.
The flow velocity at outlet 142, i.e., the outlet of
turbine-intake tower 110 and of duct 174, is the turbine
inlet velocity.
[0030] Turbine 120 has a shaft 180 that is substantially
horizontal, i.e., shaft 180 has a central longitudinal axis
182 that is substantially horizontal and that is
substantially parallel to central longitudinal axis 178 of
outlet duct 174. For example, turbine 120 may be referred to
as a horizontal-axis turbine. Central longitudinal axis 178
of outlet duct 174 central longitudinal axis 182 of shaft
180 may be substantially collinear. Note that for this
embodiment, turbine-intake tower 110 has a substantially
horizontal outlet.
[0031] Alternatively, for another embodiment, elbow 172 and
outlet duct 174 may be removed, and a turbine 120 may be
located at the exit of tower nozzle 170 so that its shaft
180 is substantially vertical. For example, central
longitudinal axis 182 of shaft 180 is substantially vertical
and is substantially parallel and substantially collinear to
central longitudinal axis 176 of tower nozzle 170. In this
embodiment, turbine 120 may be referred to as a
vertical-axis turbine. Note that the flow velocity at the
exit of tower nozzle 170 is the turbine inlet velocity for
this embodiment and that turbine 120 receives the fluid flow
directly from tower nozzle 170. As such, the exit of tower
nozzle 170 is the outlet of turbine-intake tower 110,
meaning that turbine-intake tower 110 has a substantially
vertical outlet.
[0032] Elbow 164 has a radius of curvature that acts to keep
flow losses relatively low. This means that the flow
velocity at the exit of intake nozzle 144 and the entrance
to tower nozzle 170 is substantially the same. Elbow 172
also has a radius of curvature that acts to keep flow losses
relatively low. In addition, the losses in outlet duct 174
are relatively small. Therefore, the flow velocity at the
exit of tower nozzle 170 and the exit of outlet duct 174 are
substantially the same. As such, intake nozzle 144 and tower
nozzle 170 work together to increase the flow velocity from
the velocity at inlet 140 (the wind velocity) to the
velocity at outlet 142 (the turbine inlet velocity). Note
that the inner surfaces of the elbows, tower nozzle 170, and
outlet duct 174 are made of a smooth material in order to
reduce losses due to surface friction. Turbulence
suppressors may be implemented to reduce turbulence in
elbows 164 and 172, intake nozzle assembly 143, tower nozzle
170, and outlet duct 174 that may result from imperfections
and anomalies in elbows 164 and 172, intake nozzle assembly
143, tower nozzle 170, and outlet duct 174.
[0033] Note that the flow (wind) velocity at inlet 140 is
substantially the same as the flow (wind) velocity at the
inlet of a wind turbine of a conventional wind turbine
system. This means that the flow velocity at the inlet to
turbine 120 is higher than the flow velocity (the wind
velocity) at the inlet of the wind turbine of the
conventional system, owing to increasing the flow velocity
using intake nozzle 144 and tower nozzle 170. The increased
velocity at the inlet to turbine 120 allows for shorter
turbine blades compared to conventional wind turbines.
[0034] For example, the power output of a turbine is
proportional to the cubic order of the turbine inlet
velocity and is proportional to the square of the blade
length. Since the turbine inlet velocity, as result of
turbine-intake tower 110, of the system of the present
invention is higher than the wind velocity at the inlet of a
turbine of a conventional wind turbine system, the turbine
system of the present invention has a higher power output
than the conventional wind turbine system for the same blade
length. This means that since the power output of a turbine
is proportional to the cubic order of the turbine inlet
velocity and is proportional to the square of the blade
length, the turbine of present invention can have shorter
blades than the blades of the turbines of conventional wind
turbine systems and still have a higher power output.
Shorter blades also result in less drag than longer blades
and thus result in less energy loss than longer blades.
[0035] Shorter blades result in lower material costs,
installation costs, and maintenance costs compared to the
longer blades of the turbines of conventional wind turbine
systems. The shorter blades are less susceptible to defects
and failure, take up less space, and generate less noise and
vibration than the longer blades of the turbines of
conventional wind turbine systems.
[0036] Actuators 186, e.g., piezoelectric actuators, may be
physically coupled to the outer surface of intake nozzle
assembly 143, e.g., the outer surface of intake nozzle 144
and/or the outer surface of collector 146, as shown in FIGS.
1 and 5. For example, actuators 186 may be coupled in direct
physical contact with the outer surface of intake nozzle 144
and/or the outer surface of collector 146. Actuators 186 are
electrically coupled to a controller 190 for receiving
electrical signals from controller 190.
[0037] A wind speed sensor, such as an anemometer 192, may
be mounted on an outer surface of turbine-intake tower 110
at or near the top of turbine-intake tower 110 for sensing
the wind speed. For example, anemometer 192 may be mounted
on elbow 164, as shown in FIG. 1, or on intake nozzle
assembly 143. Anemometer 192 may be electrically coupled to
controller 190 for sending electrical signals to controller
190 indicative of the sensed wind speed. Note that although
anemometer 192 is positioned behind inlet 140, anemometer
192 is positioned at a vertical level that is sufficiently
above the upper surface of intake nozzle assembly 143 so as
to sense the prevailing wind speed external to
turbine-intake tower 110. As a result, anemometer 192
effectively measures the prevailing wind speed upstream of
inlet 140.
[0038] A wind direction sensor, such as a wind vane 194, may
be mounted on an outer surface of turbine-intake tower 110
at or near the top of turbine-intake tower 110 for sensing
the wind direction. Wind vane 194 catches the wind and
rotates intake nozzle assembly 143 relative to support
column 150 such that inlet 140 is directed into the wind,
e.g., so that central longitudinal axis 156 of intake nozzle
assembly 143 is parallel to the wind direction. Wind vane
194 may be electrically coupled to controller 190 for
sending electrical signals to controller 190 indicative of
the sensed wind direction.
[0039] For another embodiment, upon receiving electrical
signals from wind vane 194, controller 190 may send
electrical signals to a yaw motor (not shown) located
adjacent bearing 152. A yaw drive (not shown) may
mechanically couple the yaw motor to intake nozzle assembly
143. The signals instruct the yaw motor to activate the yaw
drive that in turn rotates intake nozzle assembly 143 such
that inlet 140 is directed into the wind.
[0040] In response to receiving signals indicative of the
wind speed from anemometer 192, controller may send
electrical signals to actuators 186. Actuators 186 may then
adjust the shape (e.g., contour) of intake nozzle assembly
143 by exerting forces on the outer surface of intake nozzle
assembly 143 based on the wind speed. That is, the shape of
collector 146 and/or the shape of intake nozzle 144 may be
adjusted based on the wind speed. For example, actuators may
adjust the diameter of collector 146 and/or a diameter of
intake nozzle 144.
[0041] Controller 190 may store voltage values corresponding
to the voltages that need to be applied to an actuator 186
to set a diameter at a certain numerical value. The certain
numerical value may correspond to a diameter that provides a
certain increase in velocity and/or reduced losses for a
certain wind velocity for a certain power output.
[0042] For example, anemometer 192 might detect a wind speed
and send a signal indicative of the wind speed to controller
190. Controller 190 may then determine the required velocity
at outlet 142 to produce a certain power. Controller 190 may
further determine how much voltage needs to be applied to
actuator 186 to adjust the diameter of intake nozzle 144
and/or collector 146 in order to produce the required
velocity at outlet 142 for the detected wind speed.
Similarly, controller 190 may adjust the diameter of
collector 146 and/or a diameter of intake nozzle 144 to
reduce flow losses based on a detected wind speed.
[0043] In the event that anemometer 192 detects a wind speed
that is excessive, e.g., above a certain value, and that
could cause damage to turbine 120 and/or generator 130,
controller 190 might send a signal to solenoid activated
bleed-off valves 193 located at the elbows 164 and 172 that
causes the bleed-off valves 193 to open. Opening the
bleed-off valves 193 causes a portion of the flow to be bled
off, reducing the turbine inlet velocity to an acceptable
value. For example, a portion of the flow may be bled off
between intake nozzle assembly 143 and tower nozzle 170, and
a portion of the flow may be bled off between tower nozzle
170 and turbine 120. For one embodiment, the bled-off flows
may be directed to another turbine.
[0044] After intake nozzle assembly 143 is rotated such that
inlet 140 is directed into the wind and central longitudinal
axis 156 is substantially parallel to the wind direction,
collector 146 collects the wind and directs the wind to
intake nozzle 144. Intake nozzle 144 accelerates the wind.
Elbow 164 receives the accelerated wind from intake nozzle
143 and directs the wind to tower nozzle 170 by turning the
wind by substantially 90 degrees. Tower nozzle 170 further
accelerates the wind. For one embodiment, elbow 172 receives
the further accelerated wind from tower nozzle 170 and
directs the wind to outlet duct 174 turbine 120 by turning
the wind by substantially 90 degrees. Outlet duct 174
directs the wind to turbine 120, e.g., when turbine 120 is a
horizontal-axis turbine. For another embodiment, e.g., when
turbine 120 is a vertical-axis turbine, turbine 120 may
receive the wind directly from tower nozzle 170 while the
wind is flowing substantially vertically downward.
[0045] FIG. 3 is a cut-away perspective view of a wind
energy conversion system 300. Common numbering is used in
FIGS. 1 and 3 to identify components common to FIGS. 1 and
3. The common components are as discussed above in
conjunction with FIG. 1.
[0046] Wind energy conversion system 300 includes
turbine-intake tower 110, turbine 120, and electrical
generator 130. An outlet 342 of turbine-intake tower 110 is
located at the exit of tower nozzle 170 and is coupled to
subterranean plumbing, such as a subterranean flow delivery
system 355. Subterranean flow delivery system 355 is fluidly
coupled to tower nozzle 170. Subterranean flow delivery
system 355 receives the accelerated flow exiting tower
nozzle 170, e.g., while the wind is flowing substantially
vertically downward, and delivers that flow to turbine 120,
which is fluidly coupled to subterranean flow delivery
system 355.
[0047] FIG. 4 is an enlarged view showing the outlet 357 of
subterranean flow delivery system 355, turbine 120, and
generator 130. Common numbering is used in FIGS. 2 and 4 to
identify components common to FIGS. 2 and 4. The common
components are as discussed above in conjunction with FIGS.
1 and 2.
[0048] The flow velocity at outlet 357 is the turbine inlet
velocity. Turbine 120 is oriented so that its shaft 180 that
is substantially vertical, i.e., central longitudinal axis
182 of shaft 180 is substantially vertical. For example,
turbine 120 may be referred to as a vertical-axis turbine.
[0049] Subterranean flow delivery system 355 includes a
substantially vertical duct 359 and a substantially vertical
duct 361. Ducts 359 and 361 are fluidly coupled by elbows
363 and a substantially horizontal duct 365. Turbulence
suppressors may be implemented to reduce turbulence in ducts
359 and 361, elbows 363, and duct 365.
[0050] Subterranean flow delivery system 355 acts to
increase the velocity of (e.g., accelerate) the flow exiting
tower nozzle 170 by taking advantage of the cooler
temperatures typically present under ground. The cooler
temperatures cause the walls of the subterranean flow
delivery system 355 to be at a lower temperature than the
temperature of the air (wind) entering turbine-intake tower
110.
[0051] For example, the temperature of the wall of duct 359
is lower than the temperature of the air entering
turbine-intake tower 110. As a result, the air cools and
becomes more dense (e.g., heavier) as it flows downward
through duct 359. The difference between the lower density
air entering turbine-intake tower 110 and the higher density
air in duct 359 produces a pumping effect that accelerates
the downward flow through duct 359 (note that cooler air has
a natural tendency to flow downward). The pumping effect
acts to increase the flow velocity in duct 359 and thus in
subterranean flow delivery system 355, meaning that the
turbine inlet velocity is increased.
[0052] In an alternative embodiment, turbine-intake tower
110, turbine 120, and generator 130 may be located on a
platform floating on water, and subterranean flow delivery
system 355 may be located under the surface of the water. In
this embodiment, subterranean flow delivery system 355 will
act to increase the flow velocity in the same way as when
subterranean flow delivery system 355 was located under
ground, owing to the lower temperatures that typically occur
below the surface of water.
[0053] For another embodiment, the outputs of two or more
turbine-intake towers 110 may be sent to a single turbine
120 coupled to a single generator 130, as shown for a wind
energy conversion system 500 in FIG. 5. In particular, the
outlet ducts 174 are coupled to a single outlet 542 directed
at turbine 120. Note that the flow velocity at outlet 542 is
the turbine inlet velocity. Common numbering is used in
FIGS. 1 and 5 to identify components common to FIGS. 1 and
5.
[0054] For another embodiment, two or more turbine-intake
towers 110 may be coupled to a subterranean flow delivery
system, such as subterranean flow delivery system 355 (FIG.
3). Alternatively, each of the two or more turbine-intake
towers 110 may be respectively coupled to respective ones of
two or more subterranean flow delivery systems 355, and each
of the subterranean flow delivery systems 355 may be coupled
to single outlet 542 of FIG. 5.
[0055] FIG. 6 is a perspective view of a wind farm 600. For
one embodiment, wind farm 600 may include a plurality of
wind energy conversion systems 100, as described above in
conjunction with FIGS. 1 and 2. Alternatively, a wind farm
may include a plurality of wind energy conversion systems
300 having turbine-intake towers 110 coupled to subterranean
plumbing, as described above in conjunction with FIGS. 3 and
4. In another embodiment, a wind farm may include a
plurality of turbine-intake towers 110 coupled to a single
outlet directed at a single turbine, as shown in FIG. 5.
[0056] In the disclosed embodiments, the turbine and
generator are located at or near ground level and are easier
to access than the turbine and generator installed on the
top of a tower in conventional wind power systems. This acts
to reduce maintenance costs and noise and vibration. The
noise and vibration often results in damage to conventional
wind power systems and their supporting structures, thereby
inducing failure. In addition, reducing the length of the
turbine blades, as described above, reduces the initial
capital cost, installation cost, and the lifetime
maintenance cost of the turbine.
[0057] The disclosed embodiments allow for centralizing the
wind power generation farms and thus increase efficiency and
reduce cost. Centralization of the wind power generation
will also make the implementation in the national grid much
easier.
[0058] The disclosed embodiments can be implemented as
single units for single households. A single unit may also
be installed on rooftop, large ships, and other moving (e.g.
automobiles) or still systems. The disclosed embodiments can
also be implemented in groups in any number that suits the
power requirements. The disclosed embodiments can be
implemented in commercial wind power generation farms
installed on land or offshore.
CONCLUSION
[0059] Although specific embodiments have been illustrated
and described herein it is manifestly intended that the
scope of the claimed subject matter be limited only by the
following claims and equivalents thereof.
WO2011028502
POWER GENERATING SKIN STRUCTURE
AND POWER GENERATION SYSTEM THEREFOR
Inventor: ALLAEI DARYOUSH
Applicant: QUALITY RES DEV & CONSULTING INC
EC:F03B17/06B // F03B17/06C
IPC: F03D1/00
Description
CROSS REFERENCE TO RELATED
APPLICATIONS
This application is related to U.S. Patent Application
Serial No. 12/466,840 (pending), filed May 15, 2009, titled
"KINETIC HYDROPOWER GENERATION SYSTEM AND INTAKE THEREFORE,"
which is a continuation in part of U.S. Patent Application
Serial No. 12/369,949 (pending), filed February 12, 2009,
titled "TURBINE-INTAKE TOWER FOR WIND ENERGY CONVERSION
SYSTEMS," both of which applications are commonly assigned
and both of which applications are incorporated, in their
entirety, herein by reference.
FIELD
The present disclosure relates generally to power generation
and, in particular, the present disclosure relates to power
generating skin structures.
BACKGROUND
Conversion of the kinetic energy of a flowing fluid, such as
air (wind) or water, into electrical power is an attractive
method for producing electrical power. This typically
involves directing the flowing fluid through a turbine. The
flowing fluid causes the turbine to rotate an electrical
generator, causing the electrical generator to produce
electrical power.
Examples of systems that convert the kinetic energy of
flowing fluids into electrical power include wind energy
conversion systems and kinetic hydropower generation
systems. Kinetic hydropower generation systems typically
involve submerging a turbine under water and directing
flowing water current, e.g., due to waves, tides, etc.,
through the turbine.
Wind energy conversion systems typically include a wind
turbine and an electrical generator mounted atop a tower and
are typically large and noisy. Such systems are not well
suited for producing power, such as supplemental power, for
individual residences, especially in residential areas. Some
wind energy conversion systems involve placing a wind
turbine on a roof of residential or commercial buildings.
However, these turbines are susceptible to storm damage and
may require additional support structure to be added to the
building to support the weight of the turbine. The kinetic
energy of fluid flow relative to bodies moving through a
fluid environment can also be converted into electrical
power. For example, the kinetic energy of air relative to
moving ground and aerial (manned or unmanned) motor vehicles
and of water relative to moving marine and submarine (manned
or unmanned) motor vehicles can be used to generate
electrical power for use by the respective vehicle. However,
mounting a turbine on the exterior of a motor vehicle is
impractical in that a turbine produces noise, vibration, and
added drag, and is not esoterically appealing. Moreover,
using ducting that has relatively large openings at the
front of a motor vehicle to direct the fluid flow to one or
more turbines within an interior of a motor vehicle can
result in additional drag on the vehicle. For the reasons
stated above, and for other reasons stated below which will
become apparent to those skilled in the art upon reading and
understanding the present specification, there is a need in
the art for alternatives to existing systems for converting
kinetic energy of flowing fluids into electricity.
SUMMARY
An embodiment of the present invention provides a skin
structure. The skin structure has a skin and a power
generation system attached to the skin. The power generation
system has a turbine, one or more tubes fluidly coupled to
the turbine, and a generator configured to generate
electrical power in response to motion of the turbine.
BRIEF DESCRIPTION OF THE
DRAWINGS
Figure 1 is a perspective view
of an exterior of an embodiment of a skin structure,
according to an embodiment of the present invention.

Figure 2 is a perspective view
of an interior of the skin structure of Figure 1.
Figure 3 is a cross-sectional
view of a portion of an embodiment of a power system of a
skin structure, according to another embodiment of the
present invention.
Figure 4 is a cross-sectional
view of a portion of another embodiment of a power system
of a skin structure, according to another embodiment of
the present invention.
Figure 5 illustrates an
embodiment of a turbine/generator of a power system of a
skin structure, according to another embodiment of the
present invention.
Figure 6 illustrates another
embodiment of a turbine/generator of a power system of a
skin structure, according to another embodiment of the
present invention.
Figure 7 illustrates an
embodiment of a turbine of the turbine/generator of Figure 6.
Figure 8 is a perspective view
of an interior of another embodiment of a skin structure,
according to another embodiment of the present invention.
Figure 9 is a cross-sectional
view of a portion of a power system of the skin structure
of Figure 8, according to another embodiment of the
present invention.

DETAILED DESCRIPTION
In the following detailed description of the present
embodiments, reference is made to the accompanying drawings
that form a part hereof, and in which are shown by way of
illustration specific embodiments that may be practiced.
These embodiments are described in sufficient detail to
enable those skilled in the art to practice disclosed
subject matter, and it is to be understood that other
embodiments may be utilized and that process, electrical or
mechanical changes may be made without departing from the
scope of the claimed subject matter. The following detailed
description is, therefore, not to be taken in a limiting
sense, and the scope of the claimed subject matter is
defined only by the appended claims and equivalents thereof.
Figure 1 is a perspective view of an exterior of a skin
structure 100, according to an embodiment. Figure 2 is a
perspective view of an interior of skin structure 100. Skin
structure 100 may include a skin 102. For one embodiment,
skin 102, and thus skin structure 100, may form a portion of
an outer covering of a stationary structure, such as a roof
and/or sides of a building. As such, an interior surface 107
(Figure 2) of skin 102, and thus skin structure 100, may
form a portion of an interior surface of the stationary
structure, and an exterior surface 108 (Figure 1) of skin
102, and thus skin structure 100, may form a portion of an
exterior surface of the stationary structure.
For another embodiment, skin 102, and thus skin structure
100, may form a portion of an outer covering of a vehicle,
such as a ground or aerial (manned or unmanned) motor
vehicle, e.g., an automobile, airplane, etc., or a marine or
submarine (manned or unmanned) motor vehicle, e.g. a boat,
submarine, etc. As such, interior surface 107 of skin 102,
and thus skin structure 100, may form a portion of an
interior surface of the vehicle, and exterior surface 108 of
skin 102, and thus skin structure 100, may form a portion of
an exterior surface of the vehicle. Skin structure 100
includes a power generation system 104 attached to the skin
and located on an interior side of skin 102. Power
generation system 104 converts kinetic energy of a
fluid-flow 110, e.g., a water-flow or airflow, moving
relative to and over exterior surface 108 of skin 102, and
thus of skin structure 100, as shown in Figure 1. For
example, the fluid flow may be substantially parallel to
exterior surface 108. Note that the portion of power
generation system 104 that is located on the interior side
of skin structure 100 is hidden from view in Figure 1 and is
thus shown using dashed lines in Figure 1.
Fluid-flow 110 may be wind moving past skin structure 100
when skin structure 100 is stationary, such as when skin
structure 100 forms an outer covering of a stationary
structure. Alternatively, fluid-flow 110 may be an airflow
or water-flow relative to a vehicle moving through air or
water. As such, fluid- flow 1 10 may be termed a forced
fluid- flow.
Power generation system 104 has one or more tubes 120 on the
interior side of skin 102 that are communicatively (e.g.,
fluidly) coupled to a turbine of a turbine/generator 125
formed on the interior side of skin 102. For example, power
generation system 104 may include a manifold 130 that is
interposed between turbine/generator 125 and a plurality of
tubes 120 and that communicatively couples the plurality of
tubes 120 to the turbine of turbine/generator 125, as shown
in Figures 1 and 2. For one embodiment, pairs of tubes 120
may be coupled to a manifold 140 interposed between manifold
130 and tubes 120. Each manifold 140 communicatively couples
its pair of tubes 120 to manifold 130.
Each of tubes 120 has an inlet 135 that opens on the
exterior side of skin structure 100. For one embodiment,
inlet 135 may have circular cross-section having a diameter
on the order of one micron or one nanometer. As such, tubes
120 may be referred to as micro- tubes or nano-tubes, and
power generation system 104 may be referred to as a
micro-power- generation-system or a
nano-power-generation-system. Note that the size of the
micro-tubes or nano-tubes is exaggerated in Figures 1 and 2
and may be several orders of magnitude less that the
thickness of skin 102 for some embodiments.
During operation, fluid- flow 110 enters tubes 120 though
inlets 135. The respective tubes 120 direct their respective
flows to the turbine turbine/generator 125. For example,
pairs of tubes 120 direct their respective flows to a
respective manifold 140. Each manifold 140 combines the
flows from the respective pair of tubes 120 and directs the
combined flow to manifold 130. Manifold 130 combines the
flows from the respective manifolds 140 and directs the
combined flow to the turbine of turbine/generator 125. As
such, the turbine receives the flow flowing through each of
tubes 120.
The flow subsequently flows through the turbine, causing the
turbine to rotate. The generator of turbine/generator 125
generates electrical power in response to the rotation of
the turbine. That is, the generator converts the rotation of
the turbine into electrical power.
The flow exits the turbme, and thus power system 104,
through an outlet 150. That is, an outlet of the turbine is
fluidly coupled to outlet 150. Outlet 150 may be located on
and may open on the exterior side of skin structure 100, and
the flow 152 exiting power system 104 through outlet 150 may
be returned to the flow 110, as shown in Figure 1.
Alternatively, outlet 150 may be located on and open on the
interior side of skin structure 100 so that the flow 152
exiting power system 104 through outlet 150 is directed away
from skin structure 100. For another embodiment, outlet 150
may be located in a portion of the stationary structure or
vehicle that is not exposed to fluid- flow 110.
For one embodiment, a stationary structure or vehicle may
have a plurality of power systems 104. For this embodiment,
the power from each power system 104 may be directed to a
battery, for example, for storage, such as for auxiliary
power, to reduce the power demand of an engine of a motor
vehicle, or to reduce the power that needs to be purchased
to power a stationary structure, such as a building.
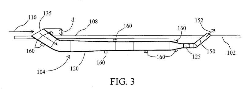
Figure 3 is a cross-sectional view of a portion of power
system 104, according to another embodiment. As shown, the
flow passage within each tube 120 may be tapered and may
converge along the length of the tube from the inlet 135 to
turbine/generator 125. That is, the cross-sectional area
(perpendicular to the flow direction) of the flow passage
within each tube 120 decreases from the inlet 135 to the
turbine/generator 125.
Passing the flow through a tube 120 causes the flow to
converge and thus accelerate. That is, each tube 120
receives fluid- flow 110 and accelerates fluid-flow 1 10.
For embodiments, where manifolds 130 and 140 are used,
manifolds 130 and 140 may also have converging flow passages
that act to accelerate the flows received thereat. The
accelerated flow is delivered to the turbine. Note that the
flow velocity within tubes 120, manifold 130, and manifolds
140, may be further increased, e.g., thermally assisted, by
a temperature difference that may occur between the exterior
and interior sides of skin structure 100, e.g., between the
inlets 135 and the inlet to the turbine. The increased flow
velocity at the inlet to the turbine allows for shorter
turbine blades. For example, the power output of some
turbines is proportional to the cubic order of the turbine
inlet velocity and is typically proportional to the square
of the blade length. This means that since the power output
of a turbine is proportional to the cubic order of the
turbine inlet velocity and is proportional to the square of
the blade length, the turbine can have shorter blades and
still have a higher power output.
Shorter blades result in less drag than longer blades and
thus result in less energy loss than longer blades. Shorter
blades result in lower material costs, installation costs,
and maintenance costs compared to longer blades. The shorter
blades are less susceptible to defects and failure, take up
less space, and generate less noise and vibration than
longer blades.
As shown in Figures 1 and 3, the inlet 135 of each tube 120
may extend above exterior surface 108 of skin 102, e.g., at
an angle to exterior surface 108. The distance d by which
the inlet 135 of each tube 120 extends above exterior
surface 108 may be on the order of one micron or one
nanometer, so as to not to significantly increase drag.
Angling the inlet 135 of each tube 120, as shown in Figures
1 and 3, enables the inlet 135 to capture a portion of
fluid-flow 110 and to direct that portion of fluid-flow 110
into the respective tube 120. The outlet 150 of each tube
may also extend above exterior surface 108 of skin 102,
e.g., at an angle to exterior surface 108, by a distance on
the order of one micron or one nanometer, so as to not to
significantly increase drag.
Alternatively, inlet 135 and outlet 150 may be flush (e.g.,
substantially flush) with exterior surface 108, as shown in
the cross-sectional view of Figure 4. The fluid-flow 110 in
the configuration of Figure 4 may be parallel (e.g.,
substantially parallel) to exterior surface 108 or may be
perpendicular (e.g., substantially perpendicular) to
exterior surface 108, as shown in Figure 4. Note that the
outlet 150 in the configuration of Figure 4 may be located
in a portion of the stationary structure or vehicle that is
not exposed to fluid-flow 110, as indicated by the break in
Figure 4.
Micro-actuators or nano-actuators 160 may be coupled in
physical contact with the outer surface of each tube 120, as
shown in Figure 3, and in physical contact with the outer
surface manifold 130 and of manifolds 140. Actuators 160 are
electrically coupled to a controller (not shown) for
receiving electrical signals therefrom. For example, a flow-
velocity sensor (not shown), e.g., of skin structure 100,
the vehicle, or the stationary structure, might detect a
flow velocity of fluid-flow 110 and send a signal indicative
of the flow velocity to the controller. For some
embodiments, the flow- velocity sensor may sense the
velocity of fluid-flow 1 10 relative to exterior surface 108
of skin structure 100. For example, the velocity of
fluid-flow 110 may be the wind speed or the velocity of the
vehicle that includes skin structure 100. The flow- velocity
sensor may be a micro- or nano-sensor.
The controller may apply a voltage to actuators 160, causing
the actuators to adjust a shape of the tubes 120, e.g., the
diameters of the tubes 120, and/or the shape of manifold
130, e.g., the diameter of manifold 130, and/or the shapes
of manifolds 140, e.g., the diameters of manifolds 140, to
produce a certain flow velocity at the inlet to the turbine.
The controller may also cause the actuators to adjust the
diameters of the tubes 120 and/or manifold 130 and/or
manifolds 140 to reduce flow losses based on a detected flow
velocity of fluid-flow 110. This is similar to control and
operation of the actuators in U.S. Patent Application Serial
No. 12/466,840 and U.S. Patent Application Serial No.
12/369,949, which show and describe actuators, flow-velocity
sensors, and controllers.
Figure 5 illustrates a turbine/generator 525 that may be
used for turbine/generator 125 of power system 104 for one
embodiment. For example, turbine/generator 525 may include
an axial-flow turbine 510 having blades that rotate about a
rotational axis 515 that is parallel (e.g., substantially
parallel) to the fluid-flow 517, e.g., exiting manifold 130,
at the inlet to turbine 510. After the flow flows past
turbine 510, it is directed out of power system 104 through
outlet 150 (Figures 1 and 3).
An electrical generator 520, such as a 60 Hz AC generator,
is coupled (e.g., mechanically coupled) to turbine 120 via a
shaft and suitable transmission. For water applications,
electrical generator 520 is suitably waterproofed to protect
against electrical shorting and corrosion. Alternatively,
electrical generator 520 may be located out of the
fluid-flow, and the shaft and transmission may convey the
rotation to the location of electrical generator 520.
For one embodiment, the size of turbine/generator 525 may be
on the order of one micron or one nanometer, and may be
referred to as a micro- or nano- turbine/generator. For
example, turbine 510 may be a micro- or nano-turbine and
have a rotor diameter (e.g., blade tip-to-tip distance) on
the order of one micron or one nanometer, and generator 520
may be a micro- or nano-generator and have a size on the
order of one micron or one nanometer.
During operation, fluid-flow 517 causes turbine 510 to
rotate. The rotation is transferred to generator 520, via
the shaft and transmission, thereby causing generator to
rotate and generate electrical power.
Figures 6 and 7 illustrate a turbine/generator 625 that may
be used for turbine/generator 125 of power system 104 for
another embodiment. For example, turbine/generator 625 may
include a radial-flow turbine 610 that rotates about a
rotational axis 615 (Figure 7) that is parallel (e.g.,
substantially parallel) to the fluid-flow 617 (Figures 6 and
7), e.g., exiting manifold 130, at the inlet to turbine 610.
After entering turbine 610, fluid-flow 617 turns by about 90
degrees and flows with radial-outward component over turbine
blades 619 away from rotational axis 615 and toward a
periphery 622 of turbine 610, as shown in Figure 7. At the
periphery 622, the flow turns by about 90 degrees and flows
parallel (e.g., substantially parallel) to axis 615.
The flow exits turbine 610, in a direction parallel (e.g.,
substantially parallel) to axis 615, through outlets 624
that are formed in a stationary housing 626 that houses
turbine 610 and that are located around the periphery 622,
as shown in Figures 6 and 7. The flow is then directed out
of power system 104 through outlet 150 (Figures 1 and 3).
Note that turbine 610 is located within housing 626 and is
hidden from view in Figure 7 and is thus shown using dashed
lines in Figure 7.
For one embodiment, stationary housing 626 may include a
stationary electrical generator (not shown) that generates
electrical power from the motion of the tips of blades 619
of turbine 610 or the motion of the periphery 622 of turbine
610 in a manner similar to the WT6000 Wind Turbine Gearless
Blade Tip Power System developed by HONEYWELL International,
Inc. (Morristown, NJ). For water applications, the
electrical generator is suitably waterproofed to protect
against electrical shorting and corrosion. Alternatively,
turbine 610 may be coupled to an electrical generator by a
shaft and suitable transmission in a manner similar to that
described above in conjunction with electrical generator
520.
For one embodiment, the size of turbine/generator 625 may be
on the order of one micron or one nanometer, and may be
referred to as a micro- or nano- turbine/generator. For
example, turbine 610 may have a diameter on the order of one
micron or one nanometer and may be referred to as a micro-
or nano-turbine.
Figure 8 is a perspective view of an interior of a skin
structure 800, according to another embodiment. Common
reference numbers are used in Figure 8 and Figures 1-3 to
identify the same or substantially similar components. Skin
structure 800 may include the skin 102 described above in
conjunction with Figures 1-3. The power generation system
104, described above in conjunction with Figures 1-3, is
located on the interior side of skin structure 800, with the
inlets 135 of tubes 120 located on the interior side of skin
structure 800.
The temperature of a fluid, such as water or air, on the
interior side of skin structure 800 is greater than the
temperature of the fluid on the exterior side of skin
structure 800. For example, skin structure 800 may form a
portion of an outer covering of a stationary structure, such
as a roof of a building, where the interior of the building
is at a higher temperature than the exterior. As such,
interior surface 107 (Figures 8 and 9) of skin 102, and thus
skin structure 800, may form a portion of an interior
surface of the stationary structure, and exterior surface
108 (Figure 9) of skin 102, and thus skin structure 800, may
form a portion of an exterior surface of the stationary
structure.
Skin structure 800 may form a portion a covering (e.g., a
hood) of an engine compartment of a motor vehicle, where the
interior of the engine compartment is at a higher
temperature than the exterior of the motor vehicle. For
example, interior surface 107 of skin 102, and thus skin
structure 800, may form a portion of an interior surface of
the engine compartment, and exterior surface 108 of skin
102, and thus skin structure 800, may form a portion of an
exterior surface of the engine compartment.
The temperature difference between the interior and exterior
produces a fluid-flow 810 on the interior side of skin
structure 800 that enters tubes 120 through their respective
inlets 135, as shown in Figure 9, a cross-sectional view of
a portion of power system 104. That is, the flow 810 is a
thermally driven flow. Note that inlets 135 open on the
interior side of skin structure 800 and thus open to an
interior of the stationary structure or the vehicle.
The fluid flows through each tube 120, into the respective
manifolds 140 (Figure 8), and into manifold 130, as
described above in conjunction with Figures 1 and 2. The
flow subsequently flows through the turbine of turbine
generator 125, causing the turbine to rotate. The generator
of turbine/generator 125 generates electrical power in
response to the rotation of the turbine. The flow exits the
turbine, and thus power system 104, through outlet 150 on
the exterior side of skin 102, and thus of skin structure
800. That is, an outlet of the turbine may be fluidly
coupled to the exterior side of skin 102.
Note that turbine/generator 125 may be the same (e.g.,
substantially the same) as turbine/generator 525, discussed
above in conjunction with Figure 5. Alternatively,
turbine/generator 125 may be the same (e.g., substantially
the same) as turbine/generator 625, discussed above in
conjunction with Figures 6-7.
Note that power system 104, and thus skin structure 800,
directs the relatively warm fluid from the interior side to
the exterior side while generating electrical power. This
acts to ventilate the interior of the stationary structure,
such as a warm attic under a roof during the summer, or the
interior of a motor vehicle, such as the engine compartment
of the motor vehicle. That is, skin structure 800 provides
cooling while producing electrical power.
For one embodiment, skin structure 100 and skin structure
800 may be used together on a stationary structure or a
motor vehicle.
US2010135766
KINETIC HYDROPOWER
GENERATION SYSTEM AND INTAKE THEREFORE
Abstract -- A kinetic
hydropower generation system has a turbine and a generator
coupled to the turbine. An underwater intake nozzle assembly
is fluidly coupled to the turbine. For one embodiment, an
underwater tower nozzle may be fluidly coupled between the
turbine and the underwater intake nozzle assembly. The
underwater intake nozzle assembly may include a collector
and a converging nozzle.
CROSS REFERENCE TO RELATED
APPLICATION
This is a continuation in part of U.S. Patent Application
Serial No. 12/369,949 (pending), filed February 12, 2009,
titled "TURBINE-INTAKE TOWER FOR WIND ENERGY CONVERSION
SYSTEMS," which application is commonly assigned, the entire
contents of which are incorporated herein by reference.
FIELD
The present disclosure relates generally to kinetic
hydropower generation and, in particular, the present
disclosure relates to kinetic hydropower generation systems
and intakes therefore.
BACKGROUND
Due to the recent energy problems that have arisen,
considerable interest has been given to converting the
kinetic energy of fluid flows occurring in nature, e.g.,
wind flows in wind energy conversion systems and water
current flows in kinetic hydropower generation systems, into
electrical power. For example, wind energy conversion
systems involve directing wind through a turbine. The wind
causes the turbine to rotate an electrical generator,
causing the electrical generator to produce electrical
power.
Kinetic hydropower may be defined as, for example, dam-less
hydropower that is converted from energy found in the
flowing water currents of oceans, tides, rivers, lakes, and
manmade channels or conduits. For example, kinetic
hydropower generation systems typically involve submerging a
turbine under water and directing flowing water current
through the turbine, causing the turbine to rotate an
electrical generator for producing electrical power.
However, water currents in some bodies of water are too weak
for kinetic hydropower generation systems to be cost
effective. For example, some hydropower generation systems
require current flow velocities of at least about six feet
per second in order to generate enough energy for them to be
cost-effective.
The electrical power generated from the turbines typically
used in wind energy conversion systems and kinetic
hydropower generation systems is proportional to cubic order
of the flow velocity, e.g., of the water or air, at the
turbine inlet. Furthermore, the longer each turbine blade,
the higher the power generation. However, long blades are
costly, can be subjected to defects and failure, take up a
large amount of space, and generate excessive noise and
vibration. The electrical power generated from these
turbines is directly proportional to the square of the
propeller length. However, longer propellers increase not
only the cost of material and installation, but also the
cost of maintenance. As such, current wind energy conversion
systems and kinetic hydropower generation systems typically
suffer from low efficiency, high capital cost, unpredictable
failures, excessively high noise and vibration, and/or high
maintenance.
For the reasons stated above, and for other reasons stated
below which will become apparent to those skilled in the art
upon reading and understanding the present specification,
there is a need in the art for alternatives to existing wind
power generation systems and kinetic hydropower generation
systems.
SUMMARY
An embodiment of the present invention provides a kinetic
hydropower generation system. The kinetic hydropower
generation system has a turbine and a generator coupled to
the turbine. An underwater intake nozzle assembly is fluidly
coupled to the turbine. For one embodiment, an underwater
tower nozzle may be fluidly coupled between the turbine and
the underwater intake nozzle assembly. The underwater intake
nozzle assembly may include a collector and a converging
nozzle.
BRIEF DESCRIPTION OF THE
DRAWINGS
Figure 1 is a cut-away
perspective view of an embodiment of an energy conversion
system, according to an embodiment of the present
invention.

Figure 2 is an enlarged view of
a portion of Figure 1 , according to another embodiment of
the present invention.
Figure 3 illustrates an
embodiment of a kinetic hydropower generation system
submerged in a body of water, according to another
embodiment of the present invention.
Figure 4 is a perspective view
of another embodiment of an energy conversion system,
according to another embodiment of the present invention.
Figure 5 illustrates another
embodiment of a kinetic hydropower generation system
submerged in a body of water, according to another
embodiment of the present invention.
Figure 6 is an enlarged view of
a portion of Figure 5, according to another embodiment of
the present invention.
Figure 7 a perspective view of
an embodiment of an array of energy conversion systems,
according to another embodiment of the present invention.

DETAILED DESCRIPTION
In the following detailed description of the present
embodiments, reference is made to the accompanying drawings
that form a part hereof, and in which are shown by way of
illustration specific embodiments that may be practiced.
These embodiments are described in sufficient detail to
enable those skilled in the art to practice disclosed
subject matter, and it is to be understood that other
embodiments may be utilized and that process, electrical or
mechanical changes may be made without departing from the
scope of the claimed subject matter. The following detailed
description is, therefore, not to be taken in a limiting
sense, and the scope of the claimed subject matter is
defined only by the appended claims and equivalents thereof.
Figure 1 is a cut-away perspective view of an energy
conversion system 100, such as a wind energy conversion
system or a kinetic hydropower generation system. When
operating as kinetic hydropower generation system, energy
conversion system 100 is submerged within a body of water,
such as a river, ocean, lake, or a manmade channel, etc., as
is shown in Figure 3 for a kinetic hydropower generation
system 300. Energy conversion system 100 includes a
turbine-intake tower 110, a turbine 120 fluidly coupled to
turbine- intake tower 110, and an electrical generator 130,
such as a 60 Hz AC generator, coupled (e.g., mechanically
coupled) to turbine 120.
For underwater applications, electrical generator 130 is
suitably waterproofed to protect against electrical shorting
and corrosion. To help guard against water corrosion
turbine-intake tower 110 and the blades of turbine 120 may
be fabricated from a suitable polymer or may be
polymer-coated metal. For other embodiments, turbine 120 and
electrical generator 130 may be located above water, such as
on land or on a platform floating on a body of water, and
the water exiting turbine-intake tower 110 may conveyed to
turbine 120, e.g., by conduits, such as pipes.
Turbine-intake tower 110 has an inlet 140 and an outlet 142.
Air or water enters turbine-intake tower 110 through inlet
140 flows through turbine-intake tower 110 and exits
turbine-intake tower 110 through outlet 142. The air or
water exiting though outlet 142 passes over the blades of
turbine 120, as shown in Figure 2, an enlarged view of
outlet 142, turbine 120, and generator 130, causing turbine
120 to rotate. Rotation of turbine 120 rotates the generator
130 via a suitable transmission (not shown) that
mechanically couples turbine 120 to generator 130.
Inlet 140 may have a screen or other devices to prevent the
entry of birds or other airborne objects for wind
applications or the entry offish or other water-born objects
for underwater applications. Any conventional bird-catcher
or fish-catcher device may be used in this system.
Turbine-intake tower 110 includes an intake nozzle assembly
143 that includes a converging intake nozzle 144 and that
may include an integral collector 146 that is contiguous
with converging intake nozzle 144. For another embodiment,
intake nozzle assembly 143 may be rotatably coupled to a
support column 150 of turbine- intake tower 110 by means of
a bearing 152. Support column 150 is substantially vertical
and acts to support intake nozzle assembly 143 at a vertical
height H above ground level 154, where the height H is
measured from a central longitudinal axis 156 of intake
nozzle assembly 143. Note that ground level 154 may
correspond to the floor or the bottom 354 (Figure 3) of the
body of water in which turbine-intake tower 110 is
submerged.
For wind applications, the height H may be about the same
height as the hub of a turbine of a conventional wind
turbine system, where the turbine is mounted atop a tower.
For example, the height H may be about 100 to about 200
feet.
For some underwater applications, the height H may be
sufficient to position intake nozzle assembly 143 at a
distance above the bottom 354 of the body of water where the
flow velocity is at or near its highest. For example, for
rivers or shallow-water regions near shorelines, the current
flow velocity increases toward the surface of the water. For
example, in breakwater zones near shorelines, the flow
velocity near the surface is higher due to wave action and
tidal flow. As such, intake nozzle assembly 143 is
positioned to capture tidal flow and wave-induced current.
Support column 150 has a base 151 that may directly contact
the ground at ground level 154. Alternatively, for wind
applications, intake tower 110 may be positioned on and may
be in direct contact with a platform floating on water, for
example, for offshore application, in which case ground
level 154 would correspond to the surface of the platform.
Turbine 120 and generator 130 are located at or near ground
level, e.g., at about the same vertical level as base 151
and about the same vertical level as outlet 142, as shown in
Figures 1 and 2. For example, turbine 120 and generator 130
may be located on the bottom 354 of the body of water, as
shown in Figure 3.
Intake nozzle assembly 143 may be substantially horizontal.
That is, central longitudinal axis 156 of intake nozzle
assembly 143 may be substantially horizontal. Central
longitudinal axis 156 may be substantially parallel to the
direction of the wind or water current and thus the
direction of the air or water entering intake nozzle
assembly 143. The inner surfaces of nozzle assembly 143 are
made of a smooth material in order to reduce losses due to
surface friction.
Collector 146 extends in the direction of central
longitudinal axis 156 from an inlet plane 160 of
turbine-intake tower 110 to the dashed line 162, which marks
the exit of collector 146. The flow passage within collector
146 is substantially uniform in size between inlet plane 160
and the exit 162 of collector 146, i.e., the cross-sectional
area (perpendicular to the flow direction) of the flow
passage within collector 146 is substantially uniform
between inlet plane 160 and the exit 162. When inlet 140 is
facing the wind or the direction of the water current and
central longitudinal axis 156 is substantially parallel to
the wind or water flow direction, collector 146 collects the
wind or water flow. Intake nozzle 144 is fluidly coupled to
collector 146. The flow passage within intake nozzle 144
converges (e.g., tapers) in the direction of central
longitudinal axis 156, starting at the exit 162 of collector
146 and ending at an entrance to an elbow 164. That is, the
cross-sectional area (perpendicular to the flow direction)
of the flow passage within intake nozzle 144 decreases
between exit 162 of collector 146 and elbow 164, as shown in
Figure 1. Intake nozzle 144 acts to increase the flow
velocity between exit 162 of collector 146 and elbow 164.
That is, passing the flow through intake nozzle 144 causes
the flow to converge and thus accelerate. Note that intake
nozzle 144 receives the wind or water current from collector
146 and accelerates the wind or water current.
Elbow 164 is interposed between intake nozzle assembly 143
and bearing 152. As such, bearing 152 rotatably connects an
upper end of support column 150 to elbow 164. Support column
150 is hollow. A converging tower nozzle 170 (e.g., a column
nozzle) is located within an interior of support column 150
and may extend from bearing 152 to an elbow 172 that is
coupled to an outlet duct 174 (e.g., sometimes referred to
as the turbine inlet duct) that leads to outlet 142. As
such, tower nozzle 170 is fluidly coupled to intake nozzle
144 and outlet duct 174.
Tower nozzle 170 may be substantially vertical. For example,
a central longitudinal axis 176 of tower nozzle 170 is
substantially vertical and is substantially perpendicular to
central longitudinal axis 156 of intake nozzle assembly 143,
as shown in Figure 1. The flow passage within tower nozzle
170 converges (e.g., tapers) in the direction of central
longitudinal axis 176, e.g., in the downward vertical
direction, starting at the exit of elbow 164 and ending at
an entrance to elbow 172. That is, the cross-sectional area
(perpendicular to the flow direction) of the flow passage
within tower nozzle 170 decreases between elbow 164 and
elbow 172, as shown in Figure 1. Tower nozzle 170 acts to
increase the flow velocity between elbow 164 and elbow 172.
That is, passing the flow through tower nozzle 170 causes
the flow to converge and thus accelerate.
Outlet duct 174 may be substantially horizontal. For
example, a central longitudinal axis 178 of outlet duct 174
may be substantially horizontal and may be substantially
perpendicular to central longitudinal axis 176 of tower
nozzle 170 and substantially parallel to central
longitudinal axis 156 of intake nozzle assembly 143, as
shown in Figure 1. Elbow 172 and outlet duct 174 direct the
flow from tower nozzle 170 onto the blades of turbine 120.
The flow velocity at outlet 142, i.e., the outlet of
turbine-intake tower 110 and of duct 174, is the turbine
inlet velocity.
Turbine 120 has a rotatable shaft 180 that is substantially
horizontal, i.e., shaft 180 has a central longitudinal axis
182 that is substantially horizontal and that is
substantially parallel to central longitudinal axis 178 of
outlet duct 174. Turbine blades 181 (Figure 2), e.g., three
or more, are mechanically coupled to shaft 180. Note that
central longitudinal axis 182 is the rotational axis of
turbine 120 about which shaft 180 and the blades rotate.
Turbine 120 may be referred to as a horizontal-axis turbine.
Central longitudinal axis 178 of outlet duct 174 central
longitudinal axis 182 of shaft 180 maybe substantially
collinear. Note that for this embodiment, turbine-intake
tower 110 has a substantially horizontal outlet. Also note
that the direction of the flow exiting outlet duct 174 is
substantially parallel to the central longitudinal axis 182
of shaft 180 and thus the rotational axis of turbine 120.
Alternatively, for another embodiment, elbow 172 and outlet
duct 174 may be removed, and a turbine 120 may be located at
the exit of tower nozzle 170 so that its shaft 180 is
substantially vertical. For example, central longitudinal
axis 182 of shaft 180 is substantially vertical and is
substantially parallel and substantially collinear to
central longitudinal axis 176 of tower nozzle 170. In this
embodiment, turbine 120 may be referred to as a
vertical-axis turbine. Note that the flow velocity at the
exit of tower nozzle 170 is the turbine inlet velocity for
this embodiment and that turbine 120 receives the fluid flow
directly from tower nozzle 170. As such, the exit of tower
nozzle 170 is the outlet of turbine-intake tower 110,
meaning that turbine-intake tower 110 has a substantially
vertical outlet. Again, the direction of the flow exiting
tower nozzle 170 is substantially parallel to the vertically
oriented central longitudinal axis 182 of shaft 180 and thus
the rotational axis of turbine 120. Elbow 164 has a radius
of curvature that acts to keep flow losses relatively low.
This means that the flow velocity at the exit of intake
nozzle 144 and the entrance to tower nozzle 170 is
substantially the same. Elbow 172 also has a radius of
curvature that acts to keep flow losses relatively low. In
addition, the losses in outlet duct 174 are relatively
small. Therefore, the flow velocity at the exit of tower
nozzle 170 and the exit of outlet duct 174 are substantially
the same. As such, intake nozzle 144 and tower nozzle 170
work together to increase the flow velocity from the
velocity at inlet 140 (the wind or water current velocity)
to the velocity at outlet 142 (the turbine inlet velocity).
The inner surfaces of the elbows, tower nozzle 170, and
outlet duct 174 are made of a smooth material in order to
reduce losses due to surface friction. Turbulence
suppressors may be implemented to reduce turbulence in
elbows 164 and 172, intake nozzle assembly 143, tower nozzle
170, and outlet duct 174 that may result from imperfections
and anomalies in elbows 164 and 172, intake nozzle assembly
143, tower nozzle 170, and outlet duct 174.
Note that the flow (wind or water current) velocity at inlet
140 is substantially the same as the flow (wind or water
current) velocity at the inlet of a turbine of a
conventional wind energy conversion or a conventional
kinetic hydropower generation system. This means that the
flow velocity at the inlet to turbine 120 is higher than the
flow velocity (wind or water current) at the inlet of the
turbines of conventional wind energy conversion systems and
conventional kinetic hydropower generation systems, owing to
increasing the flow velocity using intake nozzle 144 and
tower nozzle 170. The increased velocity at the inlet to
turbine 120 allows for shorter turbine blades compared to
the turbine blades for the turbines of conventional wind
energy conversion systems and conventional kinetic
hydropower generation systems.
For example, the power output of a turbine is typically
proportional to the cubic order of the turbine inlet
velocity and is typically proportional to the square of the
blade length. Since the turbine inlet velocity, as result of
turbine-intake tower 110, of the wind energy conversion
systems and the kinetic hydropower generation systems of the
present disclosure is higher than the wind or water current
velocity at the inlet of a turbine of a conventional wind
energy conversion system or a conventional kinetic
hydropower generation system, the wind energy conversion
systems and the kinetic hydropower generation systems of the
present disclosure have a higher power output than
conventional wind energy conversion systems and conventional
kinetic hydropower generation systems for the same blade
length. This means that since the power output of a turbine
is proportional to the cubic order of the turbine inlet
velocity and is proportional to the square of the blade
length, the turbines of the wind energy conversion systems
and the kinetic hydropower generation systems of the present
disclosure can have shorter blades than the blades of the
turbines of conventional wind energy conversion systems and
conventional kinetic hydropower generation systems and still
have a higher power output.
Shorter blades result in less drag than longer blades and
thus result in less energy loss than longer blades. Shorter
blades result in lower material costs, installation costs,
and maintenance costs compared to the longer blades of the
turbines of conventional wind energy conversion systems and
conventional kinetic hydropower generation systems. The
shorter blades are less susceptible to defects and failure,
take up less space, and generate less noise and vibration
than the longer blades of the turbines of conventional wind
energy conversion systems and conventional kinetic
hydropower generation systems.
Actuators 186, e.g., piezoelectric actuators, may be
physically coupled to the outer surface of intake nozzle
assembly 143, e.g., the outer surface of intake nozzle 144
and/or the outer surface of collector 146, as shown in
Figures 1, 3, and 4. For example, actuators 186 may be
coupled in direct physical contact with the outer surface of
intake nozzle 144 and/or the outer surface of collector 146.
Actuators 186 are electrically coupled to a controller 190
for receiving electrical signals from controller 190.
A flow- velocity sensor 192, may be mounted on an outer
surface of turbine-intake tower 110 at or near the top of
turbine-intake tower 110 for sensing the velocity of the
wind or water current. For example, flow- velocity sensor
192 may be mounted on elbow 164, as shown in Figure 1, or on
intake nozzle assembly 143. Flow-velocity sensor 192 may be
electrically coupled to controller 190 for sending
electrical signals to controller 190 indicative of the
sensed wind or water current flow velocity. Note that
although flow- velocity sensor 192 is positioned behind
inlet 140, flow- velocity sensor 192 is positioned at a
vertical level that is sufficiently above the upper surface
of intake nozzle assembly 143 so as to sense the prevailing
wind or water current flow velocity external to
turbine-intake tower 110. As a result, flow- velocity sensor
192 effectively measures the prevailing wind or water
current flow velocity upstream of inlet 140.
A flow-direction sensor 194, may be mounted on an outer
surface of turbine- intake tower 110 at or near the top of
turbine-intake tower 110 for sensing the direction of the
wind or water current flow. Flow-direction sensor 194
catches the wind or water flow such that the water current
flow rotates intake nozzle assembly 143 relative to support
column 150 such that inlet 140 is directed into the wind or
water current flow, e.g., so that central longitudinal axis
156 of intake nozzle assembly 143 is substantially parallel
to the wind or water flow direction. Flow-direction sensor
194 may be electrically coupled to controller 190 for
sending electrical signals to controller 190 indicative of
the sensed wind or water flow direction.
Kinetic hydropower generation systems that are configured to
convert the kinetic energy of tidal flows into electrical
power are exposed to bidirectional currents. That is, the
current flow is in one direction when the tide comes in and
in an opposite direction when the tide goes out.
Flow-direction sensor 194 catches the incoming or outgoing
tide and rotates intake nozzle assembly 143 so that inlet
140 is directed into the incoming or outgoing tide. Note
that rivers that flow into the oceans act as tidal channels
where the current direction changes with the tide. For
another embodiment, upon receiving electrical signals from
flow-direction sensor 194, controller 190 may send
electrical signals to a yaw motor (not shown) located
adjacent bearing 152. A yaw drive (not shown) may
mechanically couple the yaw motor to intake nozzle assembly
143. The signals instruct the yaw motor to activate the yaw
drive that in turn rotates intake nozzle assembly 143
relative to support column 150 and tower nozzle 170 such
that inlet 140 is directed into the wind or the water
current flow.
In response to receiving signals indicative of the wind or
water flow velocity from flow- velocity sensor 192,
controller 190 may send electrical signals to actuators 186.
Actuators 186 may then adjust the shape (e.g., contour) of
intake nozzle assembly 143 by exerting forces on the outer
surface of intake nozzle assembly 143 based on the wind or
water flow velocity. That is, the shape of collector 146
and/or the shape of intake nozzle 144 may be adjusted based
on the wind or water flow velocity. For example, actuators
186 may adjust the diameter of collector 146 and/or a
diameter of intake nozzle 144.
Controller 190 may store voltage values corresponding to the
voltages that need to be applied to an actuator 186 to set a
diameter at a certain numerical value. The certain numerical
value may correspond to a diameter that provides a certain
increase in velocity and/or reduced losses for a certain
wind or water flow velocity for a certain power output. For
example, flow-velocity sensor 192 might detect a wind or
water flow velocity and send a signal indicative of the wind
or water flow velocity to controller 190. Controller 190 may
then determine the required velocity at outlet 142 to
produce a certain power. Controller 190 may further
determine how much voltage needs to be applied to an
actuator 186 to adjust the diameter of intake nozzle 144
and/or collector 146 in order to produce the required
velocity at outlet 142 for the detected wind or water flow
velocity. Similarly, controller 190 may adjust the diameter
of collector 146 and/or a diameter of intake nozzle 144 to
reduce flow losses based on a detected wind or water flow
velocity.
In the event that flow- velocity sensor 192 detects a wind
or water flow velocity that is excessive, e.g., above a
certain value, and that could cause damage to turbine 120
and/or generator 130, controller 190 might send a signal to
solenoid activated bleed-off valves 193 located at the
elbows 164 and 172 that causes the bleed-off valves 193 to
open. Opening the bleed-off valves 193 causes a portion of
the flow to be bled off, reducing the turbine inlet velocity
to an acceptable value. For example, a portion of the flow
may be bled off between intake nozzle assembly 143 and tower
nozzle 170, and a portion of the flow may be bled off
between tower nozzle 170 and turbine 120. For one
embodiment, the bled-off flows may be directed to another
turbine. After intake nozzle assembly 143 is rotated such
that inlet 140 is directed into the wind or water current
flow and central longitudinal axis 156 is substantially
parallel to the wind or water current flow direction,
collector 146 collects the wind or water current flow and
directs the wind or water flow to intake nozzle 144. Intake
nozzle 144 accelerates the wind or water flow. Elbow 164
receives the accelerated wind or water flow from intake
nozzle 143 and directs the wind or water current flow to
tower nozzle 170 by turning the wind by substantially 90
degrees. Tower nozzle 170 further accelerates the wind or
water flow. For one embodiment, elbow 172 receives the
further accelerated wind or water flow from tower nozzle 170
and directs the wind or water flow to outlet duct 174 by
turning the wind or water flow by substantially 90 degrees.
Outlet duct 174 directs the wind or water flow to turbine
120, e.g., when turbine 120 is a horizontal-axis turbine.
For another embodiment, e.g., when turbine 120 is a
vertical-axis turbine, turbine 120 may receive the wind or
water flow directly from tower nozzle 170 while the wind or
water is flowing substantially vertically downward. For
another embodiment, the outputs of two or more
turbine-intake towers 110 may be sent to a single turbine
120 coupled to a single generator 130, as shown for an
energy conversion system 400, such as a wind energy
conversion system or a kinetic hydropower generation system,
in Figure 4. In particular, the outlet ducts 174 are coupled
to a single outlet 442 directed at turbine 120. Note that
the flow velocity at outlet 442 is the turbine inlet
velocity. Common numbering is used in Figures 1 and 4 to
identify components common to Figures 1 and 4.
When energy conversion system 400 acts as a kinetic
hydropower generation system, energy conversion system 400
is submerged under water. For another embodiment, only
turbine-intake towers 110 are submerged under water; and the
single turbine 120 and generator 130 are located on land or
on a floating platform; and the water exiting the single
outlet 442 is conveyed to the turbine 120, e.g., by
conduits, such as pipes.
Figure 5 illustrates a kinetic hydropower generation system
500 submerged in a body of water, such as a river, ocean,
lake, or a manmade channel, etc. Common numbering is used in
Figures 1-3 and 5 to identify components common to Figures
1-3 and 5. Kinetic hydropower generation system 500 includes
the nozzle assembly 143, as described above in conjunction
with Figure 1, positioned on bottom 354 of the body of
water. Inlet 140 of nozzle assembly 143 is directed into the
water current flow. Intake nozzle assembly 143 may be
substantially parallel to bottom 354 of the body of water.
That is, central longitudinal axis 156 of intake nozzle
assembly 143 maybe substantially parallel to bottom 354 of
the body of water. Central longitudinal axis 156 may be
substantially parallel to the direction of the water current
and thus the direction of water entering intake nozzle
assembly 143.
The central longitudinal axis 182 of turbine shaft 180
(Figure 2) is substantially parallel to and is substantially
collinear with longitudinal axis 156, as shown in Figure 6,
an enlarged view of outlet 542 of intake nozzle assembly
143, turbine 120, and generator 130. As indicated above in
conjunction with Figures 1 and 2, central longitudinal axis
182 is the rotational axis of turbine 120. Note that the
direction of the flow exiting intake nozzle assembly 143 is
substantially parallel to the central longitudinal axis 182
of shaft 180.
Nozzle assembly 143 operates as described above in
conjunction with Figure 1. That is, collector 146 collects
the water current flow and directs the water flow to intake
nozzle 144. Intake nozzle 144 accelerates the water flow and
directs the accelerated water flow onto blades of turbine
120, causing turbine 120 to rotate generator 130 so that
generator 130 generates electrical power.
Nozzle assembly 143 may include the flow- velocity sensor
192 (Figure 1) that is electrically coupled to controller
190 for sending electrical signals to controller 190
indicative of the sensed water current flow velocity.
Controller 190 may cause actuators 186 to adjust the
diameter of collector 146 and/or a diameter of intake nozzle
144 based on the detected water flow velocity, as described
above.
For example, controller 190 may determine how much voltage
needs to be applied to an actuator 186 to adjust the
diameter of intake nozzle 144 and/or collector 146 in order
to produce the required velocity at outlet 542 for the
detected water flow velocity. Controller 190 may further
adjust the diameter of collector 146 and/or a diameter of
intake nozzle 144 to reduce flow losses based on a detected
water flow velocity.
For another embodiment, the outputs of two or more nozzle
assemblies 143 of a kinetic hydropower generation system may
be sent to a single turbine 120 coupled to a single
generator 130 in a manner similar to that shown in Figure 4.
For example, the outlets 542 of the two or more nozzle
assemblies 143 may be coupled to a single outlet, e.g.,
similar to outlet 442 in Figure 4, directed at turbine 120.
Figure 7 is a perspective view of an array 700 of energy
conversion systems 100, as described above in conjunction
with Figures 1 and 2. Array 700 may be located above ground
as a portion of a wind farm or may be submerged in a body of
water as a portion of an underwater kinetic-hydropower-
generation farm. The turbines and generators of the
respective energy conversion systems 100 of the underwater
kinetic-hydropower- generation farm may be located
underwater or above water, e.g., on land or on a floating
platform.
A wind farm may include a plurality of above-ground
turbine-intake towers 110 coupled to a single outlet
directed at a single turbine, as shown in Figure 4. An
underwater kinetic-hydropower-generation farm may include a
plurality of underwater turbine-intake towers 110 coupled to
a single outlet directed at a single turbine. The single
turbine of the underwater kinetic-hydropower-generation farm
may be located on land or on a floating platform, and the
water exiting the single outlet may be conveyed to the
on-land turbine, e.g., by conduits, such as pipes.
For another embodiment, an underwater
kinetic-hydropower-generation farm may include an array of
underwater kinetic hydropower generation systems 500 (Figure
5). The turbines and generators of the respective energy
conversion systems 500 maybe located underwater or above
water, e.g., on land or on a floating platform.
Alternatively, an underwater kinetic-hydropower-generation
farm may include an array of nozzle assemblies 143, where
nozzle assemblies of the array are coupled to a single
outlet directed at a single turbine, where the single
turbine and the generator coupled thereto are underwater or
are above water, e.g., on land or on a floating platform.
Accelerating water current flow using the nozzle assembly
143 of Figure 5 or accelerating either wind or water current
flow using the turbine-intake towers 110 of Figures 1, 3, 4,
and 7 acts to reduce the length of the turbine blades.
Reducing the length of the turbine blades acts to reduce the
initial capital cost, installation cost, and the lifetime
maintenance cost of the turbine. Accelerating the water
current flow using either nozzle assembly 143 or
turbine-intake tower 110 acts to increase water current flow
velocities that might otherwise be too low to be cost
effective to levels that can be cost effective.
Locating the turbine and generator above water as described
in some of the embodiments of the disclosed kinetic
hydropower generation systems enables easier to access the
turbine and generator than the underwater turbines and
generators in conventional kinetic hydropower generation
systems. This acts to reduce maintenance costs. Above-water
turbines and generators are not subjected to the type of
water-induced corrosion as is common in under-water turbines
and generators. Above-water generators are not subject to
the type of water-induced shorting that can occur with
underwater generators.
CONCLUSION
Although specific embodiments have been illustrated and
described herein it is manifestly intended that the scope of
the claimed subject matter be limited only by the following
claims and equivalents thereof.