rexresearch.com
David RICHARDS,
et al.
AquaMagic Water Generator
Related : JAGTOYEN : Auto Exhaust Water Recovery
System
http://www.keelynet.com/news/033115o.html
{ 3/31/15 )
http://tesla3.com/human/e_water_from_air.html
Need water? With AquaMagic, you just
add air
HENDERSON — Images of the suffering victims of Hurricane Katrina
surrounded by fouled water they couldn’t drink will remain in
America’s collective memory for some time. But a company with
Longmont ties is hoping its invention will prevent such a
scenario from happening in the future. Utah-based AquaMagic is
in the midst of its “Hurricane Zone” tour, during which it is
showing off its new HP120-DRU, a portable water generator able
to make pure drinking water out of air. The tour started June 1
in Houston and is slated to visit 183 Atlantic Coast cities by
the time it wraps up in Washington, D.C., at the end of the
summer. The official U.S. hurricane season is 183 days long. On
hiatus from the tour, representatives from AquaMagic brought the
HP120 on Thursday to Cummins Rocky Mountain, a company
contracted to supply the 10-kilowatt diesel generators that
power the HP120.
AquaMagic has been developing the technology for some time, “but
we focused on this (portable) size when we saw what was
happening to the victims of Hurricanes Katrina and Rita,” said
David Richards, in charge of marketing and innovation for
AquaMagic. The mobile unit is being pitched as more efficient
and cost-effective than traditional methods of supplying water
in the wake of a disaster, such as trucking in bottled water.
Using condensation techniques and its patent-pending AquaFlash
technology, the HP120 can get 10 gallons of water for every
gallon of diesel fuel it uses, according to John Tompkins, an
engineer who works with Richards in Longmont. “You can pull in
10 truckloads of water, or you can bring in one truckload of
fuel and get 10 truckloads worth of water,” Tompkins said.
AquaMagic was founded in Ogden, Utah, and Richards was a part of
the original core team. He came to Longmont to take a job with
Maxtor and continued to work with AquaMagic in his spare time.
Richards then met Tompkins, another Maxtor engineer who began to
work with AquaMagic in his spare time. The two have since left
their jobs at the hard-drive company to work full time at
AquaMagic.
The two will be back on the road soon, taking the machine to New
Orleans and along the Florida coast. “The intent is to have this
go in and support first responders and evacuees,” Richards said.
“If you need two gallons a day to stay hydrated in a hot, humid
environment, this can serve 60 personnel a day.” Richards said
the reactions of those to whom he has made presentations has
been “first, disbelief. They say, ‘What? You’ve got to be
kidding me.’ “That’s why we have to physically take it there and
show it to them and let them taste (the water).”
Local biologist Brent Cannell, who works with Richards and
Tompkins as a consultant, has been key to making the water that
comes out of the HP120 more pure than bottled water, Richards
said. Longmont is “where the (research and development) will be
done and will continue to be done” for AquaMagic’s products,
Richards said. As big as the potential market for the HP120 is
in this country’s hurricane-prone regions, Richards said he
expects the international market could be even bigger.
http://usatoday30.usatoday.com/tech/news/techinnovations/2006-09-29-air-water-machines_x.htm
9/29/2006
Air alchemy: Can humidity solve post
hurricane drinking water problem?
by
David Royse, The Associated Press
TALLAHASSEE, Fla. — In a country like the United States, the
human body's most urgent need is taken for granted. It comes
easily out of our faucets, and gallon jugs of it cost less than
a dollar.
Until something like a hurricane makes clean drinking water hard
to find.
But the Southeast's climate provides something besides
hurricanes in summer. Humidity.
As emergency officials ponder how to better help their residents
after disasters, some companies are pushing machines that pull
the humidity from the air and turn it into drinking water. A few
are also touting the machines as a potential solution to the
clean water shortages that plague the Third World, pushing aside
concerns that the machines are inefficient and require fuel that
also might be scarce.
The biggest machines can make up to 5,000 liters of water a day,
enough to provide about a gallon to 1,250 people. Small units
cost several hundred dollars, while the biggest, most elaborate
cost half a million.
Anyone who's ever looked at an air conditioner or put a cold
bottle of water in the sun and watched water bead up on it knows
air can be condensed into water when it's cooled. The only
questions are how efficient it is on a large scale, and whether
it's clean enough to drink.
A few companies are marketing portable condensers they say can
make clean, drinkable water out of nothing but the air outside.
At least one is marketing it as a tool for emergency responders.
"Tap water systems get knocked out, bottled water often
disappears even before the storm shows up ... so this becomes a
way to get drinking water that you can count on no matter what,"
said Jonathan Wright, president of Ogden, Utah-based AquaMagic,
one of the companies selling the machines.
The company recently towed a portable unit around the Southeast,
visiting fire departments, rescue workers and city officials,
trying to drum up interest.
AquaMagic's unit is too small to provide water for a whole city,
but could at least provide water for rescue and cleanup workers
so they wouldn't have to cart in truckloads of water, Wright
said.
One potential buyer is David Roberts, who as fire chief in
Biloxi, Miss., oversaw crews working in the aftermath of
Hurricane Katrina, which leveled much of his city.
"You don't realize how bad you need water until you don't have
it," Roberts said. "In August, the humidity's 95% and its 95
degrees, you can drink a quart of water and it goes right out of
you in about 30 minutes."
He called the AquaMagic machine "a great piece of equipment. The
water tasted good, too."
Most of the companies making the machines aren't focused on the
U.S. market. Some are selling machines where clean drinking
water is always hard to find — villages in the developing world.
"Right now at any given time, there's about 1.2 billion people
that are drinking contaminated water," said Ron Colletta, vice
president of sales for the Island Sky in Hollywood, Fla.
Scientists who study water shortages say that while the
technology works simply and could be part of the solution, there
are cheaper and easier ways to provide large-scale water
purification if cleanliness is the issue.
The simplest is boiling it to remove microbes, or treating it
with chemicals like chlorine, said Dr. Mark Sobsey, a professor
of environmental sciences and engineering at the University of
North Carolina School of Public Health's Drinking Water Research
Center.
But boiling has a problem in some poor areas.
"You've got to have fuel and to be able to pay for it," Sobsey
notes.
But the biggest obstacle to the machines' wider use is making
them cost effective to fuel. Most are powered by diesel fuel.
Some run on solar energy, but the panels require a costly
initial investment.
Michael Zwebner, the president of Miami Beach-based Air Water
Corp., admits the power question is a big problem, but he says
the machines can be useful where there isn't enough water to
begin with — or where people can't afford to pump it from the
ground and treat it.
"In many parts of Africa, there is no water," Zwebner said.
Until recently, there's been little interest in the technology
because water is generally easy to get from streams or
underground wells and, even in poor countries, it's cheap.
"It's been really only in the last 10 years that water scarcity
has been appearing in a lot of places, mainly due to the growth
of the human population ... and pollution," explained Roland
Wahlgren, a physical geographer who studies water supply and is
working to develop air-to-water systems with a Canadian company
called Wataire Industries. "Groundwater and surface water
supplies have decreased in quality."
Aquamagic's envisioned niche notwithstanding, the systems still
aren't generally economically feasible on a large scale in
developed countries with plentiful clean water like the United
States.
And emergency managers ask: If you're going to truck diesel fuel
into a storm-hit area to run the machines, why not just truck in
water?
The answer, AquaMagic's Wright says, is that for one gallon of
diesel, you can make 10 gallons of water. So one small truck of
fuel would provide the amount of water you'd need 10 trucks to
bring in.
Air Water's machine was used after the 2004 Asian tsunami, and
the military in India has recently signed on to send it into the
field with troops.
"In some countries in Africa they actually see this machine as
an act of God," Zwebner said.
US7402241
Water purification device and method
Inventor: WRIGHT JONATHAN / RICHARDS DAVID
Applicant: AQUAMAGIC INC
A water purification device including a water inlet that
receives water generated by a condenser. The water purification
device has a water heating apparatus that receives water from
the water inlet. The water heating device has a thermal energy
source that can pasteurize or flash pasteurize the water by
heating the water to a predetermined temperature for a
predetermined length of time. The water heating device expels
the water at the end of the predetermined length of time.
BACKGROUND
[0001] Many municipal water systems struggle with the ever
increasing demand on available potable water supplies.
Additionally, natural inventories of water available for
treatment are diminishing and require more treatment than ever
before. Indeed, many areas of the world currently do not have
adequate water treatment systems, water utility systems, or
basic access to potable water.
[0002] For example, even though approximately 75% of the earth's
surface is water, ninety-seven percent of this water is in
saline oceans, and is therefore undrinkable and unsuitable for
most uses. Of the remaining three percent that is considered
fresh water, two-thirds is suspended in glaciers and the polar
ice caps, and one-sixth is trapped beneath the earth's surface.
Of the final one-half of one percent of the earth's water, a
substantial amount has been chemically or biologically
contaminated by industrialization and development. This
contamination has made significant inroads into underground
water sources in the latter half of the twentieth century, and
has made drinking water contamination one of the highest ranking
environmental risks. Clean and pure drinking water is,
consequently, in great demand throughout the world, and has
rapidly become one of the earth's most prized resources. Yet,
billions of people lack a reliable water supply.
[0003] Nearly all fresh water on the earth is created and
sustained through the hydrologic cycle. In the hydrologic cycle,
heat from the sun evaporates ocean water, which falls back to
earth as precipitation. Because of the hydrologic cycle, there
is a continuous exchange of moisture between the oceans, the
atmosphere, and the land. In the atmospheric stage of the cycle
there are continually many billions of gallons of water in the
air available for harvesting.
SUMMARY
[0004] The present invention provides a water purification
device including a water inlet that receives water generated by
a condenser. The water purification device also has a water
heating apparatus that receives water from the water inlet. The
water heating device has a thermal energy source that can flash
pasteurize the water by heating the water to a predetermined
temperature for a predetermined length of time. The water
heating device expels the water at the end of the predetermined
length of time. A water outlet releases water from the water
heating apparatus after the water has been elevated to the
predetermined temperature for the predetermined time.
BRIEF DESCRIPTION OF THE DRAWINGS
[0005] Additional features and advantages of the
invention will be apparent from the detailed description which
follows, taken in conjunction with the accompanying drawings,
which together illustrate, by way of example, features of the
invention; and, wherein:
[0006] FIG. 1 is a side view of a water purification
device in accordance with an embodiment of the present
invention;
[0007] FIG. 2 is a cross section view of a water
purification device in accordance with another embodiment of
the present invention;
[0008] FIG. 3 is a cross section view of a water
purification device in accordance with another embodiment of
the present invention;
[0009] FIG. 4 is a schematic view of a water purification
system in accordance with an embodiment of the present
invention with the water purification device of FIG. 1 coupled
to a condenser;
[0010] FIG. 5 is a block diagram of a water flow path in
accordance with the water purification device of FIG. 1;
[0011] FIG. 6 is a block diagram of another water flow
path in accordance with an embodiment of the present
invention; and
[0012] FIG. 7 is a block diagram of another water flow
path in accordance with an embodiment of the present
invention.
[0013] Reference will now be made to the exemplary
embodiments illustrated, and specific language will be used
herein to describe the same. It will nevertheless be
understood that no limitation of the scope of the invention is
thereby intended.

DETAILED DESCRIPTION OF EXEMPLARY EMBODIMENT(S)
[0014] Reference will now be made to the exemplary embodiments
illustrated in the drawings, and specific language will be used
herein to describe the same. It will nevertheless be understood
that no limitation of the scope of the invention is thereby
intended. Alterations and further modifications of the inventive
features illustrated herein, and additional applications of the
principles of the inventions as illustrated herein, which would
occur to one skilled in the relevant art and having possession
of this disclosure, are to be considered within the scope of the
invention. The following detailed description and exemplary
embodiments of the invention will be best understood by
reference to the accompanying drawings, wherein the elements and
features of the invention are designated by numerals throughout.
[0015] The present invention is generally directed to a water
purification system that purifies water generated by equipment
that uses a condenser such as dehumidifiers, air conditioners,
freezers, refrigerators, and the like. The water purification
device receives water that is generated and discharged by the
condenser containing equipment and may filter the water with a
pre-filter to remove large contamination, such as dust, pollen,
mold, spores, bacteria and the like, from the water. The water
purification device can heat, or pasteurize the water in a flash
pasteurization process to destroy living contaminants not
extracted by the sediment filter. The flash pasteurization
process may elevate the temperature of the water to a
predetermined temperature for a predetermined time in order to
kill, or render inactive, living contaminants. The predetermined
time of the flash pasteurization process may be a relatively
short time and varies depending on the predetermined
temperature. An ozonator may be used to generate ozone that may
be injected or vacuumed into the pasteurized water to further
purify the water. An activated carbon filter may remove organic
and inorganic contaminants and other chemicals from the water
before sending the water to a storage tank. Ultraviolet light or
ozone can then be used periodically to maintain the purity of
the water in the storage tank.
[0016] As illustrated in FIG. 1, a water purification device,
indicated generally at 10, in accordance with the present
embodiment is shown for use in purifying water generated by a
condenser. The water purification device 10 has a water inlet 20
to receive water generated by a condenser.
[0017] For purposes of the present embodiments, a condenser can
be any type of equipment that generates or condenses water
during its operation. It will be appreciated that a condenser
can be a part of a larger piece of equipment such as an air
conditioner, a dehumidifier, a refrigerator, or a freezer. For
example, dehumidifiers use condensers to extract water vapor or
moisture from the air, thereby reducing the humidity of the air.
Moreover, air conditioners, refrigerators and freezers use
condensers to control temperature in a closed environment by
extracting water vapor from the air in order to lower the dew
point of the closed environment. Other condenser using
equipment, as known in the art, can also generate water that is
receivable by the water inlet 20 of the water purification
device 10. In any case, condensers typically remove water vapor
from the surrounding air by condensation and discharge the water
in a liquid state.
[0018] It will also be appreciated that millions of industrial
sized air conditioners and dehumidifiers are in use throughout
the world every day for the purpose of creating more comfortable
environments in which to live, work, shop, and play. As
described above, these air conditioners and dehumidifiers lower
humidity levels indoors by drawing air across a condensing
apparatus that extracts water vapor from the air and condenses
the vapor into liquid water. Unfortunately, the liquid water
generated by these air conditioners and dehumidifiers is not
safe for human consumption and is referred to as gray water.
Typically, this gray water is sent down drains contributing yet
more water to over-burdened water treatment facilities.
Advantageously, the water purification device 10 can receive and
purify liquid water discharged from a condenser or condenser
containing equipment, in order to make the water potable, or
suitable for human consumption.
[0019] While much research has been conducted in the areas of
dehumidification, gray water purification and water filtration;
little, if any research has been focused on retrofitting
dehumidifiers or aftermarket mechanisms designed to purify the
gray water discharge from dehumidifiers. While some
technologists have developed and patented equipment for
capturing water vapor, like a dehumidifier, and then purifying
the captured water into drinking water, these machines have been
custom built for the purpose, and hence often only the
financially elite who can afford the benefit of this technology.
[0020] Additionally, the purification of gray water in such
systems is typically accomplished by means of a carbon
filtration apparatus, a UV light source, or a combination of
these processes to kill any germicidal organisms. However, both
activated carbon filtration and UV light purification have
limitations. For example, activated carbon filters become
burdened with time and need to be replaced in order to maintain
their effectiveness. UV lamps can become dull with age, as well
as from particulate buildup. With time both devices may loose
their effectiveness unbeknownst to their operator. Consequently,
water could pass by these systems untreated. Furthermore, the
effectiveness of UV light purification is subject to the
wavelength and intensity of the UV light source, the clarity of
the water, as well as the distance of the light source to the
microorganisms being treated. Even under normal operating
conditions, organisms furthest from the UV source may receive
minimal or no effects from the irradiation.
[0021] Therefore, it is a particular advantage of the present
invention that the water purification device 10 can be
retrofitted or added after-market, to a piece of condenser
containing equipment. Thus the present invention can take
advantage of the millions of condensers already in the market
place and can be used to purify the water generated by already
existing condensers. Additionally, the water purification device
10 can be manufactured with new condenser containing equipment.
[0022] Regardless of whether the water purification device 10 is
retrofit to a condenser or manufactured along with a condenser,
the water can be delivered from the condenser to the water
purification device by either a pump or gravity fed plumbing.
[0023] The water purification device 10 can also have a water
heating apparatus 30. The water heating apparatus 30 can receive
water from the water inlet 20. The water heating apparatus 30
can also have a thermal energy source 34 to pasteurize or flash
pasteurize the water by heating the water to a predetermined
temperature for a predetermined length of time.
[0024] The water heating apparatus 30 can flash pasteurize
discharged liquid water from a condenser. Generally,
pasteurization is a purification process that uses heat to kill
microorganisms by destroying the cytoplasmic membranes, or inner
cell structures of the microorganisms. Pasteurization also kills
microorganisms by denaturing proteins essential to microorganism
survival. Flash pasteurization, or high-temperature short-time
pasteurization, rapidly elevates the temperature of the water
and maintains the temperature for a predetermined relatively
short duration in order to kill or render undesirable
microorganisms inactive. Thus, by heating the condenser
discharge water to a predetermined temperature for a
predetermined time, the water heating apparatus can eliminate
pathogens from the water.
[0025] The water heating apparatus 30 provides several
advantages over other types of purification devices and
processes. For example, the water heating apparatus 30 can
uniformly distribute heat throughout the condenser generated
water in order to destroy microorganisms regardless of where the
microorganism is positioned within the water mass. Consequently,
purification of water by other more traditional filtering
mechanisms.
[0026] The water heating apparatus 30 of the water purification
device 10 can flash pasteurize discharged liquid water from a
condenser. In one example, the predetermined temperature can be
at least 161 degrees F. (72 degrees C.) and the predetermined
length of time can be at least 15 seconds. In another example,
the predetermined temperature can be at least 212 degrees F. and
the predetermined time can be 0.01 seconds. The heated water can
be expelled from the water heating apparatus 30 through a water
outlet 22. It will be appreciated that other time and
temperature combinations can be used, but generally the higher
the temperature, the less time is needed to complete the
pasteurization. Additionally, it has been found that
temperatures below 161 degrees F. are not effective at
neutralizing undesirable microorganisms.
[0027] The water heating apparatus 30 provides several
advantages over other types of purification devices and
processes. For example, the water heating apparatus 30 can
uniformly distribute heat throughout the condenser generated
water in order to destroy microorganisms regardless of where the
microorganism is positioned within the water mass. Consequently,
water purification of the present invention is not dependent on
penetration of light as in an ultraviolet purifier.
[0028] Additionally, the water heating apparatus 30 of the
present invention uses readily available thermal energy to
purify the condenser discharge water, and so the water heating
apparatus 30 does not require any specialized non-renewable
equipment such as an ultraviolet light source or activated
carbon filters. Furthermore, the heat transfer process of the
water heating apparatus is not adversely affected by particulate
buildup as is ultraviolet purification and activated carbon
filter processes. Consequently, cleaning and maintenance of the
apparatus can be minimized.
[0029] It will be appreciated that the thermal energy source 34
can be a conductive heat source such as an electrical heating
element, a hot water jacket, a steam jacket, a fire, or a
combination of these various heat sources. Additionally, the
thermal energy source can be an emissive thermal heat source
such as an electrical heating element, a flame, a chemical
reaction, or a combination of these various heat sources. Other
thermal energy sources, as known in the art, can also be used to
heat the water in the water heating apparatus 30.
[0030] The water heating apparatus 30 can also include a heat
exchanger 40 that can transfer thermal energy from the thermal
energy source 34 to the water received from the water inlet 20.
As shown in FIG. 1, the heat exchanger 40 can include a tube 42
heated by the thermal energy source 34. In use, water can pass
through the tube 42 and heat can be transferred from the tube 42
to the water. In this way, the water can continue to increase in
temperature as the water travels through the tube 42 until a
point near the end of the tube 42 where the water temperature is
at the predetermined temperature. The temperature can be
maintained at the predetermined temperature for the
predetermined time, at which point the water can be discharged
from the tube 42 and to a water outlet 22.
[0031] Referring to FIG. 2, a water purification device,
indicated generally at 100, is shown that is similar in many
respects to the device described above. The water heating
apparatus 130 can have a heat exchanger 140 that can include a
plate 144, or a plurality of plates (not shown) that are heated
by the thermal energy source 134. In use, the water surrounds
the plate 144 and the temperature of the plate 144 is raised.
The plate 144 can radiate or conduct the heat to the water to
elevate the temperature of the water to the predetermined
temperature for the predetermined time.
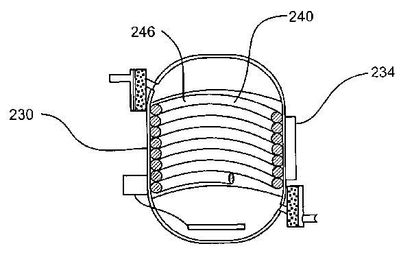
[0032] Referring to FIG. 3, a water purification device,
indicated generally at 200, is shown that is similar in many
respects to the devices described above. The water heating
apparatus 230 can have a heat exchanger 240 with a coil 246 that
is heated by the thermal energy source 234. The coil 246 can
transfer heat to the water to elevate the temperature of the
water to the predetermined temperature for the predetermined
time. Other types of heat exchangers, as known in the art, can
also be used to transfer thermal energy in the form of heat from
the thermal energy source 34 to the water.
[0033] Illustrated in FIG. 4, a water purification system,
indicated generally at 300, in accordance with the present
invention is shown for use in purifying water generated by a
condenser 312. The water purification system 300 includes a
filtration chain, shown generally at 310. Water from a condenser
312 can be directed through the filtration chain 310 in order to
make the water potable. As noted above, the condenser 312 can be
a part of another piece of equipment such as an air conditioner,
a dehumidifier, a refrigerator, and a freezer.
[0034] The filtration chain 310 can have a pre-filter 320 that
can receive water generated by a condenser 312. The pre-filter
320 can filter relatively larger contaminants from the water.
The pre-filter 320 can include a particulate screen 324 for
removing particles larger than a predetermined size from water
passing through the pre-filter 320. The pre-filter 320 can also
include an activated carbon filter 328 for reducing
environmental and biological contaminants in the condenser
discharge water.
[0035] The filtration chain 310 can also have a water heating
apparatus 330 that is similar in many respects to the water
heating apparatus described above. The water heating apparatus
330 can have a thermal energy source 334 to pasteurize, or flash
pasteurize, the water by heating the water to a predetermined
temperature for a predetermined length of time. Thus, the water
heating apparatus 330 can receive water from the pre-filter 320,
and can flash pasteurize the water by heating the water to a
predetermined temperature for a predetermined length of time. In
one embodiment, the predetermined temperature can be at least
161 degrees F. (72 degrees C.) and the predetermined length of
time can be at least 15 seconds. In another aspect, the
predetermined temperature can be at least 212 degrees F. and the
predetermined time can be 0.01 seconds. The heated water can be
expelled from the water heating apparatus 30 through a water
outlet 22. It will be appreciated that other time and
temperature combinations can be used, but generally the higher
the temperature, the less time is needed to complete the
pasteurization. Additionally, it has been found that
temperatures below 161 degrees F. are not effective at
neutralizing undesirable microorganisms unless longer treatment
times are permitted.
[0036] The water heating apparatus 330 can receive water from
the pre-filter 320. The water heating apparatus 330 can include
a heat exchanger 340 that can transfer thermal energy from the
thermal energy source 334 to the water received from the
pre-filter 320. The heat exchanger 340 can transfer heat from
the heat exchanger 340 to the water. In this way, the water can
continue to increase in temperature as the water travels
through, or about the heat exchanger 340 until the temperature
throughout the water, or throughout a cross section of the water
mass, is at least at the predetermined temperature. It will be
appreciated that water nearer the heat exchanger 340 can have a
higher temperature than the predetermined temperature when water
farther from the heat exchanger 340 is at the predetermined
temperature. Thus, the temperature throughout the water mass can
be maintained at least at the predetermined temperature for the
predetermined time.
[0037] The water heating apparatus 330 can expel the water at
the end of the predetermined length of time into a cooling unit
350. The cooling unit 350 can reduce the temperature of the
water.
[0038] Biofilms (colonized layers of microorganisms) can form
when bacteria, and other microorganisms adhere to each other and
to the surfaces to which they come into contact with. Biofouling
(acid production, equipment corrosion, toxin production, etc.)
can result within the water purification system 300 if these
biofilms are allowed to grow. Under normal equipment operation,
it is anticipated that biofilms will develop within the water
collection system, water purification train, and water storage
container. Thus, from time to time, as the water purification
device operates, it will need to be flushed and sanitized to
eliminate these biofilms to safe levels.
[0039] Ozone (O3) is lethal to microbes, viruses, parasites,
pesticides and the like. Ozone is also a very effective
disinfectant. Ozone is highly reactive and once it comes into
contact with organic or inorganic matter ozone reacts with the
matter and reduces the unstable triatomic oxygen (O3) back to
diatomic oxygen (O2). In the presence of bacteria, ozone
attaches to the cell wall of the organism causing the cell to
lyse (rupture). It has been shown that ozone can be more than
3000 times more effective at destroying undesirable water
contamination than chlorine sanitizers. Additionally, ozone can
also be produced readily in remote locations with the use of
ambient air and is very cost effective.
[0040] Thus, an ozonator 360 can be used to further purify the
water in the water purification system 300 by releasing ozone
into the water. It will be appreciated that the ozonator 360 can
be placed in the cooling unit 350 as shown in FIG. 4, as well as
in a variety of other locations along the filtration chain 310.
Additionally, ozone can be injected into multiple locations in
the filtration chain. Ozone can also be used to periodically
re-purify stored water as well as periodic sanitization of the
water purification system 300.
[0041] The filtration chain 310 can also have a post cooling
purifier 370 that can receive water from the cooling unit 350
and reduce remaining contamination from the water. The post
cooling purifier 370 can include an activated carbon filter 374
that can further reduce environmental contaminants from the
water. The post cooling purifier 370 can also include an
Ultraviolet (UV) light source 378 for further purification of
the water. The UV light source purifier 378 can reduce
biological contaminants from water from the carbon filter.
[0042] Referring to FIG. 5, a block diagram illustrates the flow
path, indicated generally at 400, of water from a condenser
through the water purification filtration chain 310 of the water
purification system 300 discussed above. Water can be discharged
from the condenser 312 and received by the pre-filter 320 which
filters larger contaminants such as dust, pollen, spores, and
the like from the water. The water then flows to the water
heating apparatus 330 where the water is heated to a
predetermined temperature and maintained at the predetermined
temperature for a predetermined time so that the water is
pasteurized or flash pasteurized. The water then flows to a
cooling unit 350 or tank where an ozonator 360 can inject ozone
into the water to further purify the water. The water then flows
through post cooling purifier 370 that can have an activated
carbon filter 374 for further filtering environmental
contaminants and an ultraviolet light purifier 378 that can
reduce biological contaminants. The water can then be used in
potable water applications or the water can be stored for future
use.
[0043] In the case where the water is stored for future use,
additional purifying processes can be used periodically to
maintain the purity of the stored water. For example, an
Ultraviolet light source 378 can be used to periodically
irradiate the stored water to reduce development of
contamination in the stored water.
[0044] It will be appreciated that some of the elements of the
flow path described above can be eliminated or duplicated as
circumstances may require. Additionally, the sequence of the
elements of the flow path can be rearranged in a variety of
orders to accommodate particular purification needs. For
example, referring to FIG. 6, a block diagram illustrating a
water flow path 500 in accordance with another embodiment of a
water purification system is shown that is similar in many
respects to the water purification system described above. In
this flow path, water flows into a prefilter 520 from the
condenser 512 and from the prefilter 520 to the water heating
apparatus 530. Water then flows from the water heating apparatus
530 to a post filter 570 that has only an activated carbon
filter. As another example, the water could be sent through the
water heating apparatus 630 twice to ensure thorough
pasteurization, as shown in the water flow path 600 of FIG. 7.
Thus, the filtration train can be tailored to meet the needs of
a particular filtration application.
[0045] The present invention also provides for a method for
purifying water, including obtaining water from a condenser and
filtering the water with a pre-filter to remove larger
contaminants from the water. The water can be heated with a
water heating apparatus to a predetermined temperature for a
predetermined length of time to reduce active biological
contaminants in the water. The water heating apparatus can
include a thermal energy source and a heat exchanger for
transferring heat from the thermal energy source to the water.
The water can be cooled in a cooling unit. The water can also be
filtered with an activated carbon filter to decrease
contaminants in the water.
[0046] The method of purifying water or sanitizing the unit can
also include ozonating the water by injecting ozone from an
ozone source into the water or unit.
[0047] The step of obtaining water from a water source can also
include extracting water from surrounding air with a condenser
in an air conditioner or dehumidifier. Additionally, the step of
filtering the water from the cooling unit can also include
passing the water through an activated carbon filter to decrease
contaminants in the water. Moreover, the step of filtering the
water from the cooling unit can also include exposing the water
from the activated carbon filter to an ultraviolet light source
to reduce active biological contaminants in the water.