rexresearch.com

Yoshiaki ARATA & Yue C. ZHANG

Cold Fusion



http://physicsworld.com/blog/2008/05/coldfusion_demonstration_a_suc_1.html
http://newenergytimes.com/news/2008/29img/Arata-Demo.htm

Physicist Claims First Real Demonstration of Cold Fusion

by
Lisa Zyga
On May 22, researchers at Osaka University presented the first demonstration of cold fusion since an unsuccessful attempt in 1989 that has clouded the field to this day.
To many people, cold fusion sounds too good to be true. The idea is that, by creating nuclear fusion at room temperature, researchers can generate a nearly unlimited source of power that uses water as fuel and produces almost zero waste. Essentially, cold fusion would make oil obsolete.
However, many experts debate whether money should be spent on cold fusion research or applied to more realistic alternative energy solutions. For decades, researchers around the world have been simply trying to show that cold fusion is indeed possible, but they´ve yet to take that important first step.

Now, esteemed Physics Professor Yoshiaki Arata of Osaka University in Japan claims to have made the first successful demonstration of cold fusion. Last Thursday, May 22, Arata and his colleague Yue-Chang Zhang of Shianghai Jiotong University presented the cold fusion demonstration to 60 onlookers, including other physicists, as well as reporters from six major newspapers and two TV studios. If Arata and Zhang´s demonstration is real, it could lead to a future of new, clean, and cheap energy generation.

In their experiment, the physicists forced deuterium gas into a cell containing a mixture of palladium and zirconium oxide, which absorbed the deuterium to produce a dense "pynco" deuterium. In this dense state, the deuterium nuclei from different atoms were so close together that they fused to produce helium nuclei.

Evidence for the occurrence of this fusion came from measuring the temperature inside the cell. When Arata first injected the deuterium gas, the temperature rose to about 70° C (158° F), which Arata explained was due to nuclear and chemical reactions. When he turned the gas off, the temperature inside the cell remained warmer than the cell wall for 50 hours, which Arata said was an effect of nuclear fusion.

While Arata´s demonstration looked promising to his audience, the real test is still to come: duplication. Many scientists and others are now recalling the infamous 1989 demonstration by Martin Fleischmann and Stanley Pons, who claimed to produce controlled nuclear fusion in a glass jar at room temperature. However, no one - including Fleischmann and Pons - could duplicate the experiment, leading many people to consider cold fusion a pseudoscience to this day.

But one witness at the recent demonstration, physicist Akito Takahashi of Osaka University, thought that the experiment should be able to be repeated.

"Arata and Zhang demonstrated very successfully the generation of continuous excess energy [heat] from ZrO2-nano-Pd sample powders under D2 gas charging and generation of helium-4," Takahashi told New Energy Times. "The demonstrated live data looked just like data they reported in their published papers [J. High Temp. Soc. Jpn, Feb. and March issues, 2008]. This demonstration showed that the method is highly reproducible."

In addition, researchers will have to repeat the experiment with larger amounts of the palladium and zirconium oxide mixture in order to generate larger quantities of energy.


Photos:  http://newenergytimes.com/news/2008/29img/Arata-Demo-Photos-AT.htm

Dr Zhang :   Dr Arata : 


http://www.thaindian.com/newsportal/sci-tech/cold-fusion-success-in-japan-gets-warm-reception-in-india_10053182.html
May 27th, 2008

Cold fusion success in Japan gets warm reception in India

by
K.S. Jayaraman

Bangalore, May 27 (IANS) Researchers in Japan have given a live public demonstration of their cold fusion device, a historic experiment that is likely to revive global interest in this controversial method of energy generation that was earlier debunked as nonsense. A report in the California-based New Energy Times says the tabletop device built by Osaka University physicist Yoshiaki Arata and his associate Yue Chang Zhang continuously generated excess energy in the form of heat and also produced helium particles.

“The demonstration showed their method was highly reproducible,” the report quoted physicist Akito Takahashi, one of the 60 persons from industry and universities who witnessed it, as saying.

The demonstration held on May 22 has drawn immediate praise from Mahadeva Srinivasan, a cold fusion pioneer and formerly associate director of physics at the Bhabha Atomic Research Centre (BARC) in Mumbai.

“The cold fusion community is excited and is reverberating with news of a live public demo,” Srinivasan told IANS from Chennai. “The field is truly ripe for Indian labs to enter and it is hoped that we won’t miss the bus once again.”

The fusion process that powers the sun requires extreme temperature and pressure to force hydrogen nuclei fuse and release energy. Achieving fusion at room temperature was considered impossible until 1989 when American scientists Martin Fleischmann and Stanley Pons startled the world with their tabletop experiment.

They connected a battery to a pair of palladium electrodes immersed in a jar of water containing deuterium (heavier form of hydrogen) and showed their electrolytic cell produced heat energy in excess of what was consumed. They claimed that deuterium nuclei were being packed into the palladium’s lattice in such a way for fusion to take place.

Later it was shown by several groups including Srinivasan and Padmanabha Krishnagopala Iyengar at BARC in the early 1990s that the reaction produced tritium as well as helium indicating that cold fusion was real. However, further work at BARC was abandoned due to denunciation of cold fusion by mainstream scientists and the US government.

Srinivasan hopes that Arata’s public demonstration in Japan will give new birth to cold fusion research in India.

Arata, who is the recipient of Japan’s highest award, the Emperor’s Prize, is the first person to have performed thermonuclear fusion research in Japan. Arata and his colleague Zhang have been reporting their work on cold fusion at various conferences and in Japanese journals for the last 10 years.

In recent years, they have moved away from electrolysis and switched over to direct loading of deuterium gas into a matrix of zirconium oxide containing palladium nanoparticles. In their latest demonstration, they showed excess heat production commenced almost instantaneously when pure deuterium gas at high pressure was let in.

“The high operating temperature, instant response and reliability of this device make it the most practical form of cold fusion yet developed,” said Jed Rothwell, author of a popular book on cold fusion and another witness to the demonstration.

The Japanese demo comes three months after some of India’s leading nuclear physicists at a meeting in Bangalore formally recommended to the government to revive cold fusion research in India.

“The long neglect of this area (of research) by India must end now,” Malur Ramaswamy Srinivasan, former secretary to the Department of Atomic Energy, told the meeting held at the National Institute of Advanced Studies in Bangalore on Jan 9.

According to Mahadeva Srinivasan, the Central Electrochemical Research Institute in Karaikudi, the Indian Institute of Technology in Chennai, and the Indira Gandhi Centre for Atomic Research near Chennai have shown interest in restarting the work.

He said the field of cold fusion (which has been renamed as low energy nuclear reactions or LENR) has matured sufficiently to claim recognition as a valid new branch of science.

“If all that is claimed by the LENR community is validated,” he said, “the prospects of this being developed into a ‘third alternative option’ for generating nuclear energy in the 21st century, besides fission and thermonuclear fusion, are bright.”


HEAT ENERGY GENERATING METHOD AND APPARATUS
WO9535574
1995-12-28

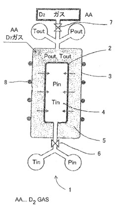
Abstract -- Super-fine powder (2) of palladium is packed in a pressure resisting vacuum container (1) made of palladium, the container (1) is then vacuum sealed with a cover (1a) made of palladium, and a lead wire (3a) to serve as a cathode (4) is provided. A cylindrical platium anode (7) is provided around the cathode (4). These parts are installed in a liquid bath (5) filled with a heavy water solution (6) containing heavy lithium hydroxide LiOD. The liquid bath (5) is installed in a proper temperature retaining means (8) and a cooling water coil (9) for taking out generated heat energy is provided between the anode (7) and cathode (4). An electric current is passed between the cathode (4) and anode (7) to carry out electrolysis and generate heavy hydrogen, which is transmitted to the palladium super-fine powder (2) through the inner wall of the pressure-proof vaccum container (1). At the same time, the palladium super-fine powder (2) is saturated with under a high pressure of the heavy hydrogen accumulated in the inner space of the container to generate abnormal reaction heat with a high efficiency.


METHOD OF GENERATING HEAT ENERGY AND APPARATUS FOR GENERATING HEAT ENERGY
WO2007061019
2007-05-31

Abstract -- A practical method of generating heat energy which attains an excellent efficiency of heat energy generation; and an apparatus for generating heat energy. The apparatus for heat energy generation has a first space and a second space which are separated from each other by a first vessel having permeability to heavy hydrogen. In the method for heat energy generation, the apparatus is used to generate heat energy. The second space is in a vacuum state and has, placed therein, a substance having the property of absorbing heavy hydrogen. The method for heat energy generation comprises a step in which heavy-hydrogen gas is fed to the first space and a step in which the temperature of the heavy-hydrogen gas present in the first space is kept within a given temperature range so that heavy-hydrogen molecules of the heavy hydrogen gas present in the first space permeate as heavy-hydrogen ions through the first vessel.


Hydrogen Storage Alloy Material and Process for Producing the Same
US2007169852
2007-07-26

Abstract -- Disclosed is a hydrogen storage alloy material which is prepared by subjecting an amorphous alloy to a heat treatment in air or an oxygen atmosphere. The amorphous alloy has a composition, in atomic %, expressed by the following formula: Zr100-a-bPdaMb (wherein 15<=a<=40, 0<b<=10, and M is at least one metal selected from the group consisting of Pt, Au, Fe, Co and Ni). The Pd, the metal M and one or more compounds thereof are dispersed in a parent phase of ZrO2 in the form of ultrafine particles. This alloy material exhibits a hydrogen storage amount of 2.5 weight % or more in a weight ratio relative to Pd contained in the material, and suited to a hydrogen storage/transportation medium. The alloy material can be produced by preparing a melt of a master alloy formed through a melting process, rapidly solidifying the melt at a cooling rate of 10<4 >K/s or more to form the above amorphous alloy, and subjecting the amorphous alloy to an oxidizing heat treatment in air or an oxygen atmosphere at 250 to 350 DEG C. to selectively oxidizing the alloy element of Zr so as to allow the hydrogen storage metal of Pd or a Pd compound to be dispersed in a parent phase of ZrO2 in the form of nanoparticle-size ultrafine particles.


Hydrogen Condensate and Method of Generating Heat Therewith

US2006153752
2006-07-13

Also published as: EP1551032 (A1) // WO2004034406 (A1) // AU2003271180 (A1)

Abstract --- The present invention provides a method of generating heat using a hydrogen condensate. The hydrogen condensate comprises a plurality of metal atoms contained in a metal nano-ultrafine particle and a plurality of hydrogen isotope atoms solid-dissolved among the plurality of metal atoms. At least two of the plurality of hydrogen isotope atoms are condensed so that the inter-atomic nuclear distance between two hydrogen Isotope atoms is smaller than or equal, to the internuclear spacing of a molecule consisting of two hydrogen isotope atoms. The heat generation method comprises applying energy to the hydrogen condensate and generating heat by causing the at least two hydrogen isotope atoms to react with each other due to the energy.


METHOD AND DEVICE FOR CREATING LARGE QUANTITY OF HEATING AND HELIUM, BY NUCLEAR FUSION USING SUPER-HIGH DENSITY DEUTERATED NANOPARTICLE

JP2004085519
2004-03-18

Abstract -- PROBLEM TO BE SOLVED: To provide a method and a device for creating a large quantity of heating and helium by nuclear fusion reaction using a super-high density deuterated nanoparticle.
SOLUTION: Deuterium is solid-dissolved into an ultramicro metal nanoparticle, and a deuterium aggregate is formed to obtain the super-high density deuterated nanoparticle having 200% or more of atomic ratio(deuterium/metal), energy is imparted thereafter to the particle and/or the deuterium aggregate, and the nuclear fusion reaction is set up to create the large quantity of heating and the helium.


Method of Producing Ultrahigh Pressure Gas
US5647970
1997-07-15

Abstract -- A method of producing ultrahigh pressure gas statically and stably without using a dynamic driving unit such as a pump. A container formed with a closed space is made of a palladium, which is a metal having a high permeability to hydrogen and deuterium. A solution present around the container is electrolyzed by producing an electric field between the container which serves as a cathode and an anode. The gas element produced by electrolysis penetrates into the container body, so that the hydrogen/deuterium ion concentration in the container increases. This solid-air equilibrium reaction is carried out until the ion concentration increases to a level at which the pressure in the closed space reaches a predetermined ultrahigh level. Thus, an ultrahigh pressure gas is produced in the closed space of the container.


THERMAL ENERGY GENERATING METHOD AND APPARATUS
JP8075882
1996-03-22

Abstract -- PURPOSE: To generate thermal energy at a high efficiency with high reproducibility by causing an abnormal reaction based on normal temperature nuclear fusion by absorbing highly dense liquid heavy hydrogen with super fine palladium powder in saturated state of a super high concentration. CONSTITUTION: Super fine palladium powder Pd is sealed in a pressure resistant vacuum container 1 made of a stainless steel and after the inside of the container is evacuated to vacuum by a vacuum pump 6V, heavy hydrogen gas D2 is introduced into the container by a pressure pump 6P. After being filled with heavy hydrogen gas D2 , the container 1 is cooled by a cryostat 10 to liquify the heavy hydrogen gas D2 , and after the liquified heavy hydrogen is absorbed in the super fine powder until becoming the saturated state of a super high concentration to cause an abnormal reaction, the whole body of the container is heated. While retaining the heavy hydrogen in high concentration in the super fine powder by inner pressure produced at the time of heating, normal temperature nuclear fusion occurs to generate thermal energy.


COLD NUCLEAR FUSION APPARATUS
JP6222173
1994-08-12

Abstract -- PURPOSE:To enable efficient deuterium nuclear fusion by using a container filled with powder of a great deuterium absorption property as a cathode, and effecting electrolysis in a deuterium solution serving as an electrolyte. CONSTITUTION:A pressure vessel 1 made from Pd is filled with Pd powder 2 and a lid 3 made from Pd is welded to the container 1 to constitute a cathode 6. A liquid vessel 7 is filled with a heavy water solution 8 of LiOD and the cathode 6 and a cylindrical platinum anode 9 surrounding the cathode are both immersed in the solution 8. When electricity is passed between both electrodes 6, 9 via lead wires 5, 10, part of generator deuterium generated by electrolysis gets into the wall of the vessel 1 and then starts to be absorbed into the powder 2 while generating heat of dissolution. The remaining deuterium atoms are bonded together and float up as bubbles of deuterium gas. During electrolysis, the electrolyte 8 has a temperature rise near the surface of the cathode 6 because of resistive heating, raising the temperature of the cathode 6. As the concentration of deuterium in the powder 2 approaches a saturated state at elevated temperatures, the deuterium atoms undergo nuclear fusion reaction together, so continuously generating heat in excess of the resistive heating and the heat of dissolution.


http://www.lenr-canr.org/acrobat/ChubbTAlaboratory.pdf

Laboratory Evidence Demonstrating d-d Cold Fusion in Metals

70B, p. 106 (1994); Y. Arata and Y.-C. Zhang, "Solid State Plasma Fusion. ('Cold Fusion')", J. High Temperature Soc. Japan. 23 (Special Vol.), p. 1 (1998). ...


http://www.lenr-canr.org/acrobat/ArataYanewenergya.pdf

A New Energy caused by “Spillover-Deuterium”

Proceedings of the Third and Fourth International Conference on Cold Fusion: ICCF 3 and 4. 3. Arata, Y., and Zhang, Y. C.: Kakuyugo Kenkyu: J. Japan Soc. ...