rexresearch.com

Toribio BELLOCQ

Wave Pump


Video: http://www.archive.org/search.php?query=bellocq ( 700 MB )


The Bellocq Wave Pump was the first new mechanical principle to be discovered in the 20th century (Wilkes' Rolamite was the second). It defies Toricelli's Law by utilizing pressure waves rather than suction to pull water higher than 30 feet (the pump is located at the surface, not at the bottom of the well). The technology is very efficient and requires little power.  In practice, it is possible to expel during each stroke of the piston a volume of liquid about 17 times as large as the volume displaced by the piston (about 5,000 liters/hour in the preferrred embodiment described in the patent).

Plus: US Patents for very similar acoustic wave pumps invented later by Arthur P. Bentley & Albert G. Bodine.


(Popular Science, ca. 1930)
"New Pump Beats Natural Laws in Raising Water"

Following the example of the United States Patent Office, 18 countries have issued patents to an Argentinian inventor upon an amazing pump that seems to violate natural laws. By creating waves in a pipeful of water, it makes the liquid run uphill.

When the inventor, Toribio Bellocq, applied for a US patent on a pump to be mounted on top of a well and to draw water up from almost unlimited depths, officials pointed out that his device apparently would have to defy the law of gravitation. Every high school student knows that by no effort can a pump suck water higher than approximately 33 feet. This is the limit at which the weight of an imprisoned column of water balances the atmospheric pressure outside. To force water higher from its source, authorities have always agreed that it must be pushed from below. Therefore Bellocq's "wave pump" seemed in a class with perpetual motion machines, which are not patentable because they are impossible.

Bellocq built one of his pumps, installed it atop a Washington DC office building, and invited officials to inspect it. They saw it draw a steady stream of water up a pipe 80 feet high. Not until they dropped weights down the pipe and found no unseen machinery did they believe their own eyes. Then they acknowledged that Bellocq had chanced upon an entirely new mechanical principle and issued his patent.

So extraordinary is the operation of the new wave pump that even Bellocq admits that he is not certain of its principle , and leaves to scientists the verification of his own explanation.

In Bellocq's pump a piston vibrates rapidly with an extremely short stroke. It deals hammerlike blows to a column of water in a pipe. His theory is that when the frequency of the blows is properly timed for the length of the pipe, a series of "stationary waves" is set up.

Suppose the pipe's bottom to be closed, then layers are formed where the water is alternately rarefied and compressed without moving. Midway between these and at the bottom are regions where water rushes alternately up and down because of the waves.

When a one-way ball valve is added at the bottom, water enters from outside at one point in each wave cycle, to replace water moving upward from the bottom of the pipe. Once inside, it cannot back out. Every influx of water "inches" the whole column upward, without interfering with the waves that travel through it. A valve at the outlet, while not essential, improves the efficiency.


US Patent # 1, 730,336

(Oct. 1, 1929)

Apparatus for the Extraction of Liquids

Toribio Bellocq

Figure 1

Figure 2

My invention relates to moving or transporting liquids and especially to extracting or pumping liquids from deep wells or other sources of water in a new manner, its main purpose being directed towards a pumping scheme of very simple and economical construction by which the mechanism at the bottom of the well is reduced to a minimum and the extraction of fluid effected from the ground level substantially irrespective of the depth of the well, and thus when used for water it is not limited to the 25 or 30 foot limit of the usual suction pump for water, and similarly the limits for pumps for other liquids do not persist. In order that my invention may be clearly understood and easily carried into practice, a preferred embodiment thereof has been shown in the appended diagrammatic drawings wherein Figure 1 is a vertical section of a well and apparatus and Figure 2 is a diagram of the curve of the pressure wave to which reference will be made hereinafter.
 

In the embodiment shown the device consists of a pipe A through which the liquid is withdrawn. The pipe reaches to the bottom of the well, or to the liquid level therein, and is of a suitable length as will be explained. At the bottom of the pipe is a check or retention valve V. The upper end of the pipe A is connected at or about the ground level with a pump or compressor C preferably making rapid reciprocations with a short stroke. The compressor is a valveless pump and is provided with an outlet controlled by an adjustable cock or the like R, through which the pumped liquid may pass from the system. The cock may be opened at the beginning f the operation but may be adjusted to a desirable point during the operation.
 

Before starting the operation of the compressor care must be taken to completely fill the pipe A and the cylinder of the compressor with liquid, carefully excluding substantially all free air and being sure that the piston of the compressor is in the outermost position.
 

It is well known that energy may be conducted through a column of liquid by setting up a wave motion therein. The waves so set up are comparable to sound waves or waves of electric energy. In order to set up such waves it is necessary to cause alternate areas of high and low pressure in the medium and this may be effected by any suitable known means. I find it convenient to use for this purpose a reciprocating piston. The piston of the compressor C when rapidly reciprocating sets up waves in the liquid in the pipe A by alternately compressing the liquid in the pipe and releasing the pressure especially when the piston has a short stroke. These waves have a length L equal to v/n in which n is the number of strokes per second of the piston of the compressor C and v is the speed of the wave per second. When operating in water the speed of the wave may be substantially the speed of sound in water under the operating conditions.
 

As may be seen form the diagram in Figure 2 the wave form includes bulges B1, B2, B3… which are associated with corresponding nodes N1, N2, N3… When the closed end if the pipe is at a distance from the reciprocating piston equal to any number of half waves, that is at O1, O2, O3… or when the pipe is cut off at a distance equal to any odd number of quarter waves, that is at N1, N2, N3…, a stationary wave may be set up in the pipe. For the purpose of the present invention it is preferred to arrange the valve V at the end of the pipe and adjust the apparatus in such a way that the valve will be at an odd quarter wave length such as N1, or N2, etc., but the purpose can be accomplished possibly less efficiently, by other adjustments.
 

The maximum variation of pressure accompanied by no variation in flow of the liquid occurs at the points O1, O2, O3… whereas at nodes N1, N2, N3… the variation in pressure is zero with the maximum variation in flow of the liquid. By the preferred arrangement of placing the valve V at the point N1 or N2, etc., the liquid may enter continuously. The valve V tends to remain always open but it may open and close from time to time during the operation. On the other hand the liquid will flow more or less intermittently from the cock R when it is adjusted to the proper opening. The required pressure in the apparatus may be regulated by choosing the appropriate diameter of pipe and by employing a piston of the proper cross-section, stroke and speed. If required or thought desirable or necessary there may be installed a liquid filled bottle or chamber to act as a capacity or condenser in the manner well known in connection with the transmission of energy by means of waves traveling in liquid.
 

I have found that one specific appropriate apparatus which will illustrate in a concrete way the present invention may consist of a fluid pipe having an internal diameter of one inch. Such a pipe placed in a well having water at a depth of 20 meters may have arranged at its lower end a valve opening 30 millimeters in diameter in which is a ball of approximately 38 millimeters in diameter and held I place by the usual cage which may be adjusted so that the ball can rise from its seat about 20 millimeters. On the surface of the earth the pipe may be led into the cylinder of a compressor of 50 millimeter diameter in which is a piston having a stroke of about 36 millimeters. The piston may be reciprocated at a speed of about 360 rpm by an electric motor. Leading out from the cylinder of the compressor may be a pipe of one-half inch diameter in which is placed an adjustable cock or valve. The cock will not be closed but is used merely for adjusting the outflow. The piston will be moved to its outermost position and the cylinder and pipe entirely filled with water, the cock being left open. On starting the electric motor the ball valve will lift from its seat and may remain open throughout the operation when the cock is properly adjusted, but it may vibrate from its seat, opening and closing during the operation. Water will begin to flow from the outlet and by an appropriate adjustment of the cock a continuous operation may be effected and an output of 1,000 liters per hour procured.
 

While the fundamental theory on which the operation is based may be somewhat in doubt, I believe that the rapid reciprocation of the piston working upon the water in the apparatus produces a series of periodic pressure variations with periodic changes of pressure and volume throughout the liquid column due to the elasticity and compressibility of the liquid. The energy waves so set up travel to the valve V at which point they may be reflected and the transmitted energy is sufficient to open the valve V and lift the column of liquid, at the same time drawing in liquid from the well itself. In some systems of energy transmission through liquid there is no substantial flow of the main body of liquid for carrying the energy. I have discovered, however, that apparently the transmission of energy may go through a flowing column of liquid and the transmitted energy may be relied upon to keep the liquid in more or less constant flow.
 

According to the present invention liquids may be extracted from substantially any depth without using any complicated machinery or mechanism in the well and simply by lowering a pipe of the required length and dimensions duly connected to a simple compressor, the latter being at or about the ground level. The valve at the lower end of the pipe will be subject to substantially no wear if the valve is substantially always in its open position during the operation of the compressor. On starting this valve is closed and great care must be taken when filling the pipe and cylinder with liquid to see that substantially no free air remains in the system.
 

The piston may work wither with the cylinder horizontal or with the cylinder vertical or inclined. The pipe through which the liquid flows may be either horizontal or vertical or inclined and it may be curved or straight. All of these arrangements may be referred to as pumps and I use the term pumping as including the moving, transporting or conveying in vertical or horizontal or inclined direction.
 

The term liquids is used to include not only simple liquids but also mixtures of liquids and such mixtures with gases or solids as are capable of being transported through pipes or pumped.
 

It is obvious that the device has been shown only as a preferred embodiment and that any other may serve for the same purpose. Apparatus for carrying out the invention may be constructed from mechanisms or devices already known and used for other purposes and the invention is not confined to any specific form of valves or compressors or means of operating them.
 

I claim: [Claims not included here ]


US Patent # 1,730,337
(Oct. 1, 1929)
Pump
Toribio Bellocq









My invention relates to a new type or scheme of moving or transporting liquids and especially to pumping permitting the elevation of liquids from substantially any depth without the necessity of situating the machinery at the bottom of the well and includes the employment not only of the energy produced by the waves set up by the rapid reciprocation of a piston but also the extra waves or impulses produced by the opening and closure of a valve in the system. Variations of pressure in the body of liquid in the pump may be employed to effect the pumping and it is more efficient and a larger output is produced if the variation is produced in a plurality of series.

Figure 1 of the accompanying drawing illustrates a vertical section through apparatus incorporating the invention.

The apparatus for carrying out the invention consists of a pipe reaching to the bottom of the well or within the water therein and provided at its lower end with a check valve VI. At or about the ground level the pipe enters the cylinder of a pump or compressor provided with a piston. The cylinder has a single valve VS. In beginning the operation the piston is placed at its outermost position and the pipe and cylinder are completely filled with liquid, care being taken to exclude substantially all free air. The valve VI prevents the liquid running out of the pipe and the valve VS is closed. The piston is then pushed forward by a suitable power and its reciprocation started. After the piston has moved a proper part of its stroke the valve VS is opened and liquid issues therefrom. The valve VI also opens and liquid enters the bottom of the pipe from the well and the continued operation of the device lifts liquid from the well bottom and delivers it through the valve VS which is closed at the proper part of each stroke of the piston at which time the outflow of liquid will be temporarily stopped.

I have described the physical operation of the apparatus, while the underlying theory of its operation and the theoretical application of the physical forces involved may not be entirely clear; there will now be set forth a full and clear statement of what is believed to be the explanation of the operation and how the physical forces interact with the apparatus to produce the desired effect.

The apparatus employed involves three parts, namely (1) the apparatus for producing the impulses or waves of force and for producing the opening and closing extra waves or impulses, (2) the transmission line or pipe, and (3) a valve in the lower end of the pipe which may produce in its turn opening and closing extra waves or impulses.

(1) The first portion of the apparatus may consist of any approved design having a single valve VS diagrammatically illustrated in Figure 1.  The piston of the compressor is rapidly reciprocated preferably through a short stroke so as to produce waves of energy in the liquid column. Initially the piston is moved to its outermost position and the pipe and compressor cylinder filled with liquid. When the movement of the piston has produced the desired pressure, which may be before or at the end of its stroke, the valve VS is suddenly opened. The cooperation and relative timing of the piston and valve may be accomplished in any appropriate way but I prefer to have them mechanically interlocked so that the valve will open at the appropriate moment in the piston stroke. When this valve opens it suddenly, by the variation in pressure, transforms the piston wave into an opening extra impulse or wave in the liquid column. Advantage may be taken also of the extra wave caused by the closure of the valve but the closure extra waves are of lesser effect than the opening extra waves. Valve VS being closed when the piston enters the cylinder, a certain pressure is produced to set up a wave in the liquid column. When the valve VS opens the opening sets up an extra or supplemental wave impulse which like the piston wave will travel through the whole length of the pipe to the lower valve VI. This extra or auxiliary wave or impulse may be similar also to that produced in water rams. The water ram, however, takes advantage of the closing extra wave rather than the extra wave produced by opening. In my system this extra wave when working with the valve VS open to the air is probably one of much volume and slight pressure. This wave and extra wave cause the liquid to proceed from the well by valve VI and carry it through the pipe and drive it through valve VS, which is open. It is necessary to calculate the necessary pressure and velocity of the wave for the length and diameter of the pipe employed as a guide in altering or adjusting, in each case, the diameter, stroke, and frequency of the piston. As is well known in systems transmitting energy by wave through columns or pipes of liquid the pressure produced in a tube or pipe of a given diameter may be varied or controlled by providing in communication with the pipe a further container filled with the same liquid which is being pumped to act as a capacity or condenser. In order to set up such waves it is necessary to cause alternate areas of high and low pressure in the medium and this may be effected by any suitable known means. I find it convenient to use for this purpose a reciprocating piston and valve as indicated.

(2) The second portion of the apparatus consists merely of a suitable pipe which brings up the liquid and, through the flowing stream, transmits the energy or waves from the piston and the upper valve VS to the lower valve VI, it being necessary to calculate the section of the pipe in accordance with the pressure and volume of the liquid to be obtained or extracted from the well. Since energy-bearing wave-currents in liquid have a certain velocity, the frequency of the piston must be calculated in order that the wave produced should conform with the length of the pipe, it being possible to work likewise with the harmonics of the wave and also to work when the pipe length corresponds with odd or even fourths of such wave length. This is preferred but the purpose can be accomplished, possibly with less efficiency, with other adjustments.

(3) The third portion of the apparatus consists of the lower valve VI, which may serve three purposes: (a) it serves as a non-return valve so as to permit the pipe being filled up before starting, (b) it causes the liquid to move in one direction only avoiding the return thereof into the well, and (c) it may be that it also serves as a wave or impulse transformer like that of upper valve VS, producing by its movement an extra wave or impulse. Thus the pipe will draw in a great quantity of liquid under low pressure being the inverse of the piston which produces a wave of high pressure and little volume.

At first sight it might seem that if the piston is caused to enter the cylinder when the valve VS is closed the apparatus would burst. This is not the case, however, since the capacity for compression and the elasticity of the liquid being pumped, when known, serve to allow the stroke of the piston and the pressure obtained to be calculated and the apparatus operated in such a way as not to exceed the limit of resistance of the apparatus before opening the valve. It will be remembered that the impulses and extra impulses of energy in the wave form are possible solely because the liquids worked upon are compressible and elastic, which permits of their working in a resilient manner.

The operation of the apparatus is as follows. The piston is withdrawn from the cylinder to the maximum extent possible and the cylinder and pipe are filled up, taking care that substantially no free air be left inside. The valve VS is closed and the piston is pushed inwardly, vigorously causing a compression of the fluid and initiating an energy-carrying wave which will travel through the whole length of the pipe. The waves produced by the piston and by the valve VS both carry energy to the valve VI which will be opened. The system is more economical and more efficient than one which employs for the pumping and lifting of the liquid only the energy transmitted by the waves set up by the piston action. If the opening of the valve VI is abrupt, it may transform the extra wave into a wave of small pressure but great volume. Since the valve VI does not permit the liquid to flow downwards an upward flow will occur, that is to say, the energy transmitted by the two waves will not only open the valve VI but will lift the liquid in the pipe and will draw from the liquid in the well past valve VI and upwards through the pipe from which it will discharge through the open valve VS. Operation may then become substantially continuous, the piston being rapidly reciprocated and the valve VS operated in harmony therewith, always being closed at the proper part of the piston stroke. It might be best to arrange the shaft moving the piston so that it would also serve to govern valve VS. Thus the work might be done in a completely automatic manner. Thus a cam C may be mounted on the drive shaft and engage mechanism D to operate the valve VS at the proper predetermined point in the stroke of the piston. Any other suitable means for associating the operation of the piston and the valve may be employed. The time of opening and closing the valve VS and its size may be adjusted to give the maximum output of liquid with the minimum expense of energy to operate the piston. The apparatus expels during each stroke of the piston a volume of liquid several times great than the volume displaced by the piston. In practice it is possible to expel during each stroke of the piston a volume of liquid about 17 times as large as the volume displaced by the piston, and for this reason the stroke of the piston may be very short, or the volume displaced at each stroke of the piston may be small.

I have found that one specific appropriate apparatus which will illustrate in a concrete way the present invention may consist of a fluid pipe having an internal diameter of one inch. Such a pipe placed in a well having water at a depth of 20 meters may have arranged at its lower end a valve opening 30 millimeters in diameter seated in which is a ball of approximately 38 millimeters in diameter, held in place by the usual cage which may be adjusted to that the ball can rise from its seat about 20 millimeters. On the surface of the earth the pipe may be led into the cylinder of a compressor of 50 millimeters diameter in which is a piston having a stroke of about 30 millimeters. The piston may be reciprocated at a speed of about 180 rpm by a suitable electric motor. In the cylinder of the compressor may be a valve having a diameter of about 30 millimeters and adjusted so as to have a stroke of from 5 to 7 millimeters. The piston will be moved to its outermost position and the cylinder and pipe entirely filled with water. The ball valve rests by gravity in its closed position and the valve in the cylinder is closed. The electric motor will be started and at the proper time in the stroke of the piston the valve in the cylinder will be opened. The ball valve will open and water will begin to flow from the piston valve with an output of about 4,000 or 5,000 liters per hour.

While the fundamental theory on which the operation is based may be somewhat in doubt, I have endeavored to set out herein what I believe to be the true principle, but my invention is not so limited. In order to set up such waves as are here involved it is necessary to produce variations in a compression in the liquid and although a compressor is illustrated for such purpose, it will be understood that the invention is not so limited but extends to any suitable or known means for producing such effect.

This system permits of working at any desired depth without being compelled to arrange the machinery within the well, provide the necessary pressure has been well calculated. It is possible that advantageously, the work is done under a considerable pressure in order to use, same as in electricity, the transmission of high voltages over long distances with favorable output. This system also permits of working with a piston of reduced dimensions as, taking advantage of the transforming effect of the wave or impulse, a piston of a given displacement, under a given pressure, would be able to elevate at each stroke a liquid volume several times greater than the same displacement but under a pressure several times lower.

This system would seem contrary to the laws of gravity, which does not permit of liquid being elevated or drawn up from a depth greater than the length of a column of the same liquid counter-balancing the atmospheric pressure; however, in fact there is employed a force which travels throughout the pipe and arrives at the lower valve VI. This force operates at this valve in the same manner as if there were a piston at this point.

The present system would also seem to be contrary to the law which does not permit a piston of a given displacement to obtain at each stroke a volume of liquid greater than such displacement; but it will be apparent that a piston of a given displacement, under a given pressure, may obtain at each stroke a liquid volume several times greater than the volume of displacement of such piston, but under a pressure several times less.

The piston may work either with the cylinder horizontal or with the cylinder vertical or inclined. The pipe through which the liquid flows may be either horizontal or vertical or inclined, and it may be cured or straight. All of these arrangements may be referred to as pumps and I use the term pumping as including moving, transporting or conveying in vertical or horizontal or inclined direction.

The terms liquids is used to include not only simple liquids but also mixtures of liquids and such mixtures of liquids with gases or solids as are capable of being transported through pipes or pumped.

It is obvious that the device has been shown only as a preferred embodiment and that any other may be used for the same purpose. Apparatus for carrying out the invention may be constructed from mechanism or devices already known and used for other purposes, and the invention is not confined to any specific form of valves or compressors or means of operating them.

Claims ~ [Not included here]


USP 1,941,593

(Jan. 2, 1934)

Pumping

Toribio Bellocq






The invention relates to pumping liquids, especially by that method by which the energy for moving the liquid is transmitted through the liquid itself by means of compression waves or variations of compression and volume moving through the liquid whereby liquids may be extracted from substantially any depth without complicated mechanism in the well.

Pumps of this kind are described in Patent # 1,730,336 and # 3,730,337 issued October 1, 1929, the applications for which were pending when the present application was filed.

The present invention involves the discovery that an improved pumping effect may be accomplished by modifying the relative size and arrangement of the various elements of the pumping system and by adding to or inserting certain auxiliary devices. These are referred to herein as filters and may be made up of inertias, capacities, resistances, leakages, or any of them and may be arranged in series, in shunt, or in derivation to the main liquid conveying pipe of the pumping system.

Compression waves moving in liquid are to a very considerable extent controlled by or operate in accordance with substantially the same laws as those governing alternating current electricity. The curves of pressure and flow of such waves are analogous to the voltage and amperage curves of electric current in that the difference in phase may determine the value of the wave. Inertia, capacity, resistance or friction and leakage in a liquid system correspond more or less to induction, capacity, resistance, and losses respectively in electricity.

Variations in capacity or in leakage or in resistance or in inertia in the system effect changes therein including varying phase differences between pressure and flow of the impulses in the liquid. In an ordinary line which has its capacity, inertia, resistance and leakage more or les uniformly distributed throughout the length of the apparatus, the efficiency of the line and the quantity of liquid that is to be pumped with such efficiency may be determined. Often, however, it may be desired to change the conditions of such a line to adapt it to a given speed, given efficiency or a given volume of pumped liquid. There may be produced an artificial line whose capacity, inertia, resistance and leakage will be the combination of the natural capacity, inertia, resistance and leakage with added capacity, inertia, resistance and leakage.

Inertia, as employed herein, refers to an element in or inserted in the system for reducing the passageway at one or more points and/or decreasing the elasticity of the liquid.

Capacity, as employed herein, refers to an element in or inserted in the system for increasing the passageway at one or more points and/or increasing the elasticity of the liquid.

Leakage, as employed herein, refers to liquid leaving the system whether at a main outlet for the pumped liquid or at other points in the system, some of which may be accidental, unavoidable and incalculable. The entrance of liquid into the system may be considered as negative leakage.

Resistance, as employed herein, is the retarding effect of the system on the wave movement.

Friction, as employed herein, is the resistance caused by the contact of the liquid with the pipe or within the liquid.

Filter, as employed herein, refers to assemblage of inertias, capacities, resistances and leakages, or one or more of them, and this is referred to by the term "wave filter" used in the claims.

A filter may be said to be arranged in series when it is in such a portion of the system that a wave goes directly through the filter and passes on to another portion of the system. A filter may be said to be in shunt when the wave takes a divided path going through a plurality of elements of the filter. A filter may be said to be in derivation when the wave enters it from the main path of the wave and returns again to that path.

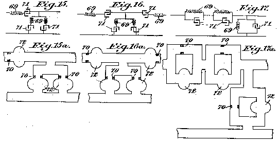
In the accompanying drawings Figure 1 is a diagrammatic illustration of one form the pumping apparatus may take. Figure 2 is a diagrammatic illustration of another form the apparatus may take. Figure 3 and Figure 4 are longitudinal sections of pipes provided with inertias. Figure 5, Figure 6, Figure 7, and Figure 8 are longitudinal sections of pipes provided with capacities. Figure 9 and Figure 10 and Figure 11 are diagrammatic illustration of low pass electric filters. Figure 9a, Figure 10a, and Figure 11a are diagrammatic illustrations of low pass acoustic filters applied to liquid systems. Figure 12, Figure 13, and Figure 14 are diagrammatic illustrations of high pass electric filters. Figure 12a, Figure 13a, and Figure 14a are diagrammatic illustrations of high pass acoustic filters applied to liquid systems. Figure 15, Figure 16, and Figure 17 are diagrammatic illustrations of band pass acoustic filters applied to liquid systems.

Figure 18 is a diagrammatic illustration of a pumping apparatus such as shown in Figure 1 to which is applied the devices illustrated in Figures 3-8. Figure 19 is a diagrammatic illustration of a pumping apparatus such as shown in Figure 2, to which is applied the apparatus illustrated in Figure 11a. Figure 20 is a pumping apparatus such as is illustrated in Figure 1, to which is applied the device illustrated in Figure 13a.

The pumping system in general is illustrated as including a pipe 50 provided with a check valve 51 at its lower end intended to be inserted in the well or other source of supply of liquid to be pumped. At the other end of the pipe s shown a compression chamber or cylinder 52, in which moves a piston 53 controlled by a cam 54 on a suitably operated shaft 55. There is an outlet cock or valve 56 of any suitable type through which the liquid is pumped, here shown in an outlet pipe 57. In Figure 1 the outlet is shown leading directly from the compression chamber or cylinder 52 while in Figure 2 it is shown as directly connected to the pipe 50 so that the outgoing liquid will not pass through the compression chamber or cylinder. The cock or valve 56 may be open and closed at all appropriate times during the operation either manually or automatically.

In Figure 3 a pipe 58 is shown provide with a narrow annular obstruction 59 which acts as an inertia for the current of waves passing though the liquid in the pipe. In Figure 4 there is shown at 58 a similar inertia 60 which takes the form of an elongated sleeve and so has a different value from the inertia shown in Figure 3. In Figure 5 is show a pipe 58 provided with rigid protuberances 61 which act as a capacitance in series with the pipe. In Figure 6 is shown a pipe 58 which is connected with a chamber 63 closed at its outer end by a diaphragm 64. When the chamber 63 is filled with liquid it acts as a capacity in derivation. In Figure 8 is shown a pipe 58 from which leads a pipe 65 in which is snugly fitting piston 66 moveable against springs 67 and 68. The resiliency of the springs takes the place of liquid resiliency and acts as a capacity in derivation to the pipe 58. These are illustrative only and other forms of inertia and capacity may be employed.

The pipe through which liquid is to be pumped may be horizontal, vertical or inclined or bent. If there is a bend in the pipe the relation between the parts on each side of the bend tends to produce a harmonic of the principal wave and in order to work most efficiently this harmonic should preferably have a node in the elbow at the bend. The elbow thus acts as an inertia.

The entrance or the exit of the liquid pumped may also tend to produce an harmonic four times as long as the length of the liquid which passes through the pipe at each stroke of the compressing device. It is desirable to have this harmonic the same as the harmonic produced by the proportion between the portions of a bent line, or at least an harmonic thereof. The flowing of the liquid through the inlet or the outlet has somewhat the effect of an inertia. The change in size between the pipe carrying the liquid and the cylinder of the compressor at their point of connection has somewhat the same effect as an inertia. The small chamber generally employed at the outlet cock or valve between the compressor and the pipeline and likewise the cylinder itself each have somewhat the same effect as a capacity. This chamber may be omitted and the cylinder alone be referred to as the compression chamber.

There are several elements of the apparatus which may be adjusted to change or vary the efficiency of operation including: (1) the size of the compression chamber may be varied; (2) the relative size of the connection between the compression chamber and the pipe may be varied; (3) the cross-section of the pipe through which the liquid is pumped may be varied; (4) the speed or timing of the piston may be varied; (5) the size or cross-section of the piston or its length of stroke may be varied; (6) the size or opening of the check valve through which the liquid enters the system may be varied; or (7) the size and suddenness of the opening of the outlet may be varied. In order to procure proper and appropriate adjustments or regulations of the system, any or all of the various elements may be appropriately and correspondingly varied. The quantitative effect of variations in the different elements of the apparatus is not the same.

A difference in operation is produced when the outlet is in the compression chamber from that produced when the outlet is on the pipe. In the first arrangement increasing the pipe size or opening of the check valve or in the second arrangement decreasing the size or the opening of the check valve effects a variation in the same direction as (1) increasing the size of the compression chamber, (2) decreasing the relative size of the connection between the cross-section of the pipe, (3) decreasing the cross-section of the pipe of the pipe through which the liquid is pumped, (4) increasing the speed or decreasing the timing of the piston, (5) increasing the size or cross-section of the piston or its length of stroke, (6) increasing the size of the opening of the outlet. This indicates the direction of change to be made to compensate for any change in the apparatus. If the outlet on the pipe is removed farther from the connection between the pipe and the compression chamber or if inertia associated with the outlet is moved farther from the connection between the pipe and the compression chamber, the effect is of the same character as would be an enlargement of the compression chamber. It is generally desirable, however, to put the outlet, the inertia, and the connection between the pipe and the compression chamber as close together as possible because when they are separated one from another there is no longer merely the effect of a chamber assembled at once place but the effect of a chamber like a piece of pipe with different inductions in each extremity. With such an arrangement it is more difficult to calculate the exact value of such a chamber. Sometimes, however, it is found desirable to use such an extended chamber despite the difficulty in calculating its characteristics.

It may happen that when the pipe is very long the wave will be deformed as it proceeds through the liquid. I may then be desirable to put additional or new capacities, inertias, resistance or leakage in one or several parts of the apparatus to prevent this deformation of the current. Somewhat similarly in telegraphic and telephonic lines traveling great distances, means are provided to prevent deformation of the current waves such as are provided by the system of Puppini or others.

It may be desirable to choose a vibration or wave of such a character that the liquid will vibrate with the natural vibration produced by gravity. For example, a compressor may be so operated as to cause an artificial acceleration produced by gravity on the liquid freely falling in the system. When this natural vibration is not convenient for the quantity of liquid it is desired to pump, the constants of the line may be appropriately changed to produce the desired effect.

When the pipe is large enough or the capacity of the liquid pumped is small in relation to the size of the pipe, the resistance will be small and for practical purposes may be neglected. It is desirable that the leakage in the system be reduced to a minimum so that the only value of leakage to be considered may be that produced by the liquid pumped through the outlet. Entrance of liquid into the system may be considered as negative leakage.

The compression waves in the liquid of the pumping system are somewhat analogous to sound waves. Therefore, elements which modify the waves in the liquid of the pump may for convenience be referred to as acoustic elements and it is to be understood that when the term acoustic or hydraulic is employed herein it relates to an element modifying the compression waves in the liquid more or less in accordance with the laws of sound waves in the liquid. This may be a convenient form of expression and it may aid in understanding the present invention to bear in mind the analogy between the compression waves in the liquid in the pumping system and sound waves.

Acoustic inertia or self-induction may be an apparatus having only inertia which may be formed for instance by a reduction of a section of the pipe. Likewise, acoustic capacity may be a chamber communicating with the pipe and filled with the liquid. Acoustic inertias, capacities, resistances and leakages may be combined to form acoustic filters analogous to electric filters and their effect on the compression waves in the pumping system may be referred to as low pass filters, high pass filters, and band pass filters. The low pass filters may let pass or produce vibrations of a frequency lower than a certain speed or may so convert other vibrations received. The high pass filters may let pass or may produce vibrations of a frequency higher tan a certain speed or may so convert other frequencies received. The band pass filters may let pass or may produce vibrations of a frequency between two certain speeds, or may so convert other frequencies received. All of these filters may stop or not let pass other vibrations. Acoustic filters may be arranged in accordance with the same laws as electric filters. It may be easier to make filters occupying a very short space in relation to the wavelength. It is possible, however, to employ other longer filters but the exact determination of their effect may be more difficult.

The analogies between electric filters and acoustic filters exist not only words but they are true physical analogies. The phenomena of the propagation of an electric current and of sound waves and of compression waves in liquid are controlled by the same laws. In dealing with these waves the combination of acoustic inertia, capacities, resistance and leakages accomplish similar results as are accomplished by combinations of similar elements in electric circuits. In order to facilitate determining the effect of a filter, it is desirable that the two extremities of the filter be of the same value. It is possible, however, to employ filters having extremities of different values. In such an arrangement the difference in the two extremities may produce an effect of itself. The ideal filter is one which without substantial loss of energy will let pass the frequency which it is desired to employ in the apparatus and at the same time stop other frequencies. Generally filters of this character cannot be completely realized in practice, but it is desirable to employ filters approaching this ideal as nearly as possible. A general filter may be employed or several filters may be employed in a single system being associated or combined with similar or different filters.

Generally electric circuits employ two wires or lines and the induction, capacity, resistance and leakage may be installed in one or both or between them in series, derivation, or in shunt. In liquid systems, especially pumping systems, usually there is but a single line or pipe but the inertia, capacity, resistance and leakage may be placed in series or in shunt on the line or in derivation on the line, in which case the effect is as if the element in derivation communicated at one side with the line and at the other side with a ground, analogous to the grounding of an electrical device.

The effect of filters put in derivation may be varied, for example by putting a capacity in derivation made not of a closed chamber filled with the same liquid but of a closed chamber filled with another liquid of entirely different density or elasticity, separated by a membrane from the other liquid, or by a chamber filled by the same liquid but closed by a membrane which separates the liquid from the air. The capacity thus is to be considered as not between the line and the ground but between the line and another artificial ground. The natural vibration of the liquid will be different in the different cases. This chamber filled with the different liquid or provide with a membrane may be replaced by a cylinder having a floating piston maintained by springs which make the piston work like a membrane. The introduction of any of these different apparatus having vibration characteristics different from the natural vibrations of the line has the effect of changing the constants of the line and may be employed in a manner similar to the more usual type of filters. Any other suitable form of capacity, inertia, resistance or leakage may be employed.

For installations operated under substantially constant conditions a filter of exact characteristics may be employed, but for other installations less exact filters may be employed.

In Figures 9, 10, and 11 are shown example of characteristic electrical low pass filters. In Figures 9a, 10a, and 11a are shown similar low pass acoustic filters applied to liquid systems. The arrangement in Figure 9a corresponds to that in Figure 9; the arrangement in Figure 10a corresponds to that in Figure 10, while that in Figure 11a corresponds to that in Figure 11. In each instance the electrical inertias are replaced by acoustic inertias 70 while the electrical capacities 71 are replaced by acoustic capacities 72. Figures 12, 13 and 14 illustrate types of electric high pass filters, and Figures 12a, 13a, and 14a illustrate types of acoustic high pass filters corresponding respectively to the electric filters illustrated in Figures 12, 13, and 14. Figures 15, 16, and 17 illustrate diagrammatically electric band pass filters and Figures 15a, 16a, and 17a illustrate characteristic acoustic band pass filters applied to liquid systems corresponding respectively to the filters illustrated in Figures 15, 16 and 17. In all of these figures the electrical inertias 69 correspond to the acoustic inertias 70 and the electrical capacities 71 correspond to the acoustic capacities 72. The filter arrangements here illustrated are selected as types only. These and other appropriate filters may be followed with like effect and the corresponding acoustic filters inserted at appropriate points in liquid systems with corresponding results, and the term filter is used to include all such devices as rectify, transform, alter, or modulate the currents of the compression waves set up in the liquid in the pumping system.

In Figure 18 is shown a simple pumping system such as shown in Figure 1 but modified by being associated with the filters or wave modifying devices illustrated in Figures 3 to 8 inclusive. The capacities 61, 62, 64, and that having the piston 66 are associated with inertias 59 and 60. As illustrated, the inertia 59 and the capacity 61 are shown relatively near to the pump cylinder 52 and the other wave-modifying devices are distributed throughout the line 66 being very near the inlet valve 51. 59, 60, and 61 are in series while 62, 64 and 66 are in derivation. This specific arrangement is not essential, nor is it essential that all of these devices be incorporated in a single system. In general a single device may be sufficient. For instance, the inertia 59 might be employed and the devices 60, 61, 62, 64 and 66 omitted or any two or more of them might be omitted. Likewise, the particular position of these various devices in the system is not essential. For instance, the inertia 59 might be employed and the devices 60, 61, 62, 64 and 66 omitted or any two or more of them might be omitted. Likewise, the particular position of these various devices in the system is not essential. For instance, the device 66 which is shown as near the check valve 51 might be installed where the device 61 is illustrated near the pump cylinder 52 or any other desired arrangement and location of any or all of these devices may be made. Instead of assembling in a single system a plurality of different wave-modifying devices as illustrated in Figure 18, a plurality of similar devices might be employed when one or more is desired and the location of all the devices is interchangeable. When apparatus such as is illustrated in Figure 1 is operated, the wave produced in the liquid will have certain characteristics and for the conditions of operation it may be that that wave is satisfactory and efficient. It may be, however, that for the conditions under which the apparatus is operating the wave produced by apparatus such as illustrated in Figure 1 will not have the desired characteristics and may not be effectively efficient to produce the desired pumping effect. By adding to the apparatus shown in Figure 1 any one or more of the devices illustrated in Figures 3 to 17, the characteristic of the wave may be modified so as to produce the desired effective efficient result. Thus the wave set up in such an apparatus as Figure 18 will have characteristics different from the wave set up in such an apparatus as Figure 1 and the addition or removal of any one of the impedance or capacity devices illustrated in Figure 18 will correspondingly modify the wave.

In Figure 19 is shown assembled in such a pump as is shown in Figure 2 a filter such as illustrated in Figure 11a and in Figure 20 such a filter as illustrated in Figure 13a is illustrated in connection with such a pump as shown in Figure 1. As indicated, when the arrangement is applied to a pumping system, there may be present only the pipe line, the other pipe being omitted and replaced by an artificial ground similarly to the arrangement by which a two-wire electric system may be employed with only one wire and a ground. In the pumping system the effect of a ground may be procured by closing the connection to the omitted pipe. Likewise, the filters illustrated in Figures 9a, 10a, 12a, 14a, 16a and 17a or any grouping or combinations of them or other filters may be assembled into a single apparatus. The arrangement illustrated in Figure 19 is in part a shunt arrangement and, incorporating a low-shunt arrangement, will modify the waves in the pumping system and allow only those waves having frequencies lower than a certain desired speed or it may convert to such speed other vibrations in the system. Similarly, the filter associated with the pumping system in Figure 20, being a high-pass filter, will modify the waves in the pumping system and allow only those waves having frequencies higher than a certain desired speed, or it may convert to such speed other vibrations in the system.

The devices shown are only preferred embodiments of the invention, but any other suitable devices may be used for the same purposes.

The weight of the check valve or the strength of springs sometimes controlling it which change the character of its opening change the value of the inertia produced by the opening. The check valve being inertia and so a filter element may be omitted and the other elements of the apparatus adjusted accordingly. When more than one pump is in the line each pump may act as a check valve or inlet for the succeeding pump.

Variations in the speed of the piston during a stroke are of importance. When the piston is moved by a crankshaft the speed increases from zero to maximum speed during the first half of the time of the entrance of the piston (that is, the first quarter of a complete cycle) and produces an acceleration in the lifting of the liquid. In the second half of the time of entrance of the piston (that is, the second quarter of a complete cycle) the speed of the piston decelerates going from its high speed to zero speed. Thus the liquid tends to be lifted with more strength when the piston is entering during the first half of its forward stroke and tends, because of the deceleration, to be lifted with less strength in each unit of time when the piston is entering during the second half of its forward stroke. In general, under these conditions it is better to open the outlet valve when or before the piston reaches the half point of the inward stroke. Sometimes it may be better to open the valve at the end of the entrance stroke of the piston or somewhat before. When a proper cam is employed to operate the piston, the piston speed increases throughout the entire advance movement so the same effect may sometimes be produced by a cam which gives only one-half the length of movement to the piston as would be given by a corresponding crank. When such a cam is used only one-half as much liquid may be forced out of the piston cylinder as with a crank and hence at each stroke less liquid need go into the cylinder to keep it full in order to get as much liquid output from the apparatus. With the most efficient adjustment of the apparatus, during the acceleration of the piston liquid is lifted, that is to say, the liquid may be moving from the check valve to the compressor. If the valve is opened at this moment, the liquid which is already moving upward will tend to be lifted with more efficiency since it is not obliged to change its direction.

The suddenness of opening the outlet being the principal element in the transformation of the compression waves should be especially considered and arranged to cooperate with the rest of the system.

In certain cases it may be desired to produce a certain pressure in the apparatus at the time the outlet is opened as in this connection it seems that the liquid pumped going out with a certain pressure will carry with it enough energy to lift the liquid higher than the apparatus. The apparatus working in this form may work somewhat like a combination of the system employing the open cock at the outlet and the system opening and closing the valve, retaining thus the advantages of both systems.

The conditions involved in the use and application of filters indicate the important effect which may be produced by small defects in the apparatus such as leakage, holes or couplings or connections which allow liquid to pass out, these defects being analogous to the bad effect produced in electrical circuits by bad contacts or by other defects in different parts of the apparatus, etc. The piston may work either with the cylinder horizontal or vertical or inclined, or any other suitable means may be employed to produce variations in compression in the liquid to set up the compression waves. The pipe through which liquid flows may be either horizontal or vertical or inclined, and it may be curved, bent or straight. All of these arrangements may be referred to as pumps, and the term pumping is sued as including moving, transporting or conveying in vertical or horizontal or inclined directions or a combination of any of them, and the liquids so pumped may be simple liquids or may carry more or less solid matter or gases.


Albert G. Bodine, Jr.: Acoustic Pumps
US Patent # 2,444,912

(July 13,1948)

Method & Apparatus for Pumping

Albert G. Bodine


US Patent # 2,553,541 (May 22, 1951)
Deep Well Pump
Albert G. Bodine

US Patent # 2,553,542

(May 22, 1951)

Deep Well Pump Apparatus

Albert G. Bodine


US Patent # 2,553,543

(May 22, 1951)

Pumping Apparatus

Albert G. Bodine


US Patent # 2,572,977

(Oct. 30, 1951)

Deep Well Pump

Albert G. Bodine


US Patent # 2,702,559

(Feb. 22, 1955)

Sonically Actuated Valve

Albert G. Bodine


US Patent # 2,953,095

(Sep. 20, 1960)

Acoustic Deep Well Pump with Free Compression Column

Albert G. Bodine


US Patent # 3,163,240

(Dec. 29, 1964)

Sonic Earth Boring Drill

Albert G. Bodine


Arthur P. Bentley: Sonic Pressure Wave Pumps

Calgary Herald (Tues., Oct. 10, 1989)

"Special Pump Pushes More Than Profits"

by

Richard Bruner
(Christian Science Monitor)

Tucson, AZ ~ Juan Pasco is a retired United nations development specialist who not only has found a solution to water problems of the world's poor rural areas, but has helped put together a Tucson corporation to make a lot of money in the process.

Pascoe's black eyes blaze with excitement when he talks about a new pump that will push water out of the ground at the rate of two gallons a minute, using a one-fifth horsepower that derives its energy from four solar panels.

"It's a godsend", he says.

Pascoe is the president of a Tucson company that will manufacture and market the new pump.

The pump is the invention of a senior genius who lives in Crossroads. Arthur Perry Bentley is the grandson of the man who created the car bearing his name.

Bentley's pump uses a motor that would barely drive a sewing machine. But its work is very limited. All it needs to do is send sonic waves down the well pipe to a valved pumping unit at the well's bottom. The unit picks up the waves and drives its piston up and down. This gushes a whole column of water up the pipe.

None of this takes much energy, Pascoe points out. Only enough to make some noise down a pipe.

Bentley has also invented a second type of pump, one that slides an electric charge down a black well pipe. The entire pipe becomes like a capacitor of a discharge system of an electronic ignition. It employs its valve system to push the column of water or oil to the surface.

Pascoe discovered Bentley in the mountains near Ruidoso, NM, where he was living a quiet existence, despite the 34 patents in his name. With Allyn Spence, an anthropologist with the Office of Arid Land Studies at the University of Arizona, Pascoe put together a company called Appropriate Technology Development Inc.

No long after forming the company, Pascoe and Spence took a prototype pump to the Navajo reservation.

"We put it in an abandoned well, connected it to four solar panels, and it started to bring up water", says Pascoe.

"The Navajo came around. The women especially were enchanted. They said, 'The sun is bringing out the water from the ground? Impossible."

For Pascoe, the experience on the Navajo reservation was confirmation of his hope that the pump might have worldwide uses.

"Knowing what I know about the needs of the developing world rural people without water or with very little water, I know one of the reasons they cannot use traditional pumping gear is because they don't have electricity or it is too expensive. Now here is a pump that the deeper you go the more efficient it is. You can go 4,000 feet and bring water up with a little motor that draws practically no electricity."

The Bentley pumps are also much less expensive to purchase and maintain than other water-pumping technologies. The smaller pumps will replace $20,000 windmills on the Navajo reservation at an initial per pump cost of $7,000.

The impact of such savings could be profound. The USDA has concluded that the biggest expense for farmers who experienced serious drought in the last two years is the cost of pumping water. That cost has driven more farmers into bankruptcy than any other single factor.

Appropriate Technology Development will work with China to have a joint-venture manufacturing operation in Shanghai. And it also will start making pumps in Tucson sometime soon.


US Patent # 4,295,799

(Oct. 20, 1981)

Sonic Pressure Wave Surface-Operated Pump

Arthur P. Bentley

Figure 1 Figure 2    Figure 3    Figure 4
Abstract ~
A single tube surface operated pump including a piston reciprocally mounted in a cylinder for alternately opening and closing a lateral fluid delivery port and for generating a sonic pressure wave by impacting a column of fluid in a metallic tube extending from the cylinder to a remote pumping mechanism located in communication with the fluid to be pumped. The piston is especially configured with a central recess in the face thereof so that the sonic pressure waves generated thereby will pass through a sonic nozzle and move downwardly toward the pumping mechanism in a spiral-like motion against the inner wall of the metallic tube and enter into a sonic intensifier chamber and are reflected off the pumping mechanism into a central column which travels back toward the cylinder and causes the fluid to be pumped to move in that same direction.
Inventors:  Bentley; Arthur P. (P.O. Box 1952, Roswell, NM 88201)


Appl. No.:  958552 ~ Filed:  November 8, 1978
Current U.S. Class: 417/240; 417/378 ~ Intern'l Class:  F04B 047/12 ~ Field of Search:  417/53,240,241,377,383,378

References Cited: U.S. Patent Documents --- # 2355618 Aug., 1944 Bodine, Jr. 417/240. ~ # 2379539 Jul., 1945 Mercier 417/240. ~ # 2572977 Oct., 1951 Bodine, Jr. 417/241. ~ # 2751848 Jun., 1956 Smith 417/240. ~ # 3277831 Oct., 1966 Chenoweth 417/240. ~ # 3804557 Apr., 1974 Bentley 417/402.

Foreign Patent Documents
# 1041371 Oct., 1978 CA 417/383.
# 123282 Sep., 1901 DE2 417/240.

Primary Examiner: Smith; Leonard E.
Attorney, Agent or Firm: Haynes, Jr.; Herbert E.

Description ~
Background of the Invention:
1. Field of the Invention ~

This invention relates to pumps and more particularly to an improved sonic pressure wave surface operated pump.

2. Description of the Prior Art ~

It is well known to provide a pumping mechanism at an underground level to pump liquid from that level to the surface, with such a down hole pump being operated by a surface located mechanism which reciprocally impacts a column of liquid contained within a tube that communicates between the surface located mechanism and the down hole pump. The surface located mechanism, in addition to impacting the column of liquid, is reciprocally operated to alternately open and close a liquid delivery port. The impaction of the standing column of liquid produces hydraulic pressure waves that are transmitted by the liquid to the down hold pump to impart a reciprocal movement thereto. The down hole pump includes a plunger, or similar mechanism, which is biased upwardly by suitable springs, and has a central passage formed axially therethrough with a one-way check valve located in the lowermost end of the passage. When the hydraulic pressure waves move the plunger down against the spring bias, the check valve opens to admit the liquid being pumped into the passage, and the subsequent upstroke of the plunger closes the check valve and causes a general upward movement of the standing column of liquid with the uppermost portion thereof exiting through the fluid delivery port formed in the surface located mechanism.

Examples of the above described pumping mechanisms, and others which operate on that same basic principle, are fully disclosed in U.S. Pat. Nos. 2,379,539, 2,355,618, 2,572,977, 2,751,848, and 3,277,831.

These prior art pumps critically depend upon ideal adjustment of the input frequency relative to the length of the tube in which the standing column of liquid is contained, that is, resonant timing. Further, such prior art pumps are seriously limited in their pumping capacities due to such factors as inertia of the liquid, and the like.

Summary of the Invention ~

In accordance with the present invention, a sonic pressure wave surface operated signal tube pump is disclosed as including a surface located sonic pressure wave generator from which a metallic tube depends so as to communicate with an underground, or down hole pumping mechanism that is located at the level of the liquid to be pumped.

The sonic pressure wave generator includes a vertically disposed cylinder having a lateral liquid delivery port formed therein which is coupled to a remotely located liquid receiving reservoir. A piston of special configuration is mounted in the cylinder and is reciprocally operated therein by suitable drive means, with that reciprocal movement alternately opening and closing the liquid delivery port. Additionally, the reciprocal movement of the piston will cause it to impact a standing column of liquid disposed in the metallic tube to produce sonic pressure waves of special character. The liquid impacting face of the piston is formed with a centrally located truncated conical recess or cavity which extends upwardly into the piston with the upper end of that recess communicating with a blind cylindrical bore formed axially in the piston. Thus, the lower surface or liquid impacting face of the piston is of ring-like configuration.

Impacting of the standing column of liquid contained within the metallic tube by a piston configured as described above produces sonic pressure waves which pass through a sonic nozzle and move downwardly along the inner walls of the metallic tube in a spiral-like motion.

The underground, or down hole pumping mechanism which is coupled to the lowermost end of the metallic tube is of generally cylindrical configuration having an axial bore formed therein. The uppermost end of the axial bore is especially configured to form a sonic intensifier chamber which receives the downwardly spiraling sonic pressure waves and causes an increase in the velocity thereof. A plunger is reciprocally mounted in the axial bore of the housing with that plunger having an axial passage formed therethrough with a one-way check valve located at the lowermost end of that passage. The plunger is biased upwardly by a compression spring which counterbalances the weight of the standing column of liquid. The downwardly spiraling sonic pressure waves, which are increased in velocity in the intensifier chamber, impinge upon the head of the plunger about its periphery thus forcing the plunger down which opens the check valve and admits the liquid being pumped to the axial passage formed through the plunger. The impinging sonic pressure waves are reflected by the head of the plunger inwardly and upwardly into a column centrally of the metallic tube. This upwardly moving central column will carry the liquid being pumped with it.

The pump of the present invention configured as described above, produces high pump output pressure and velocity, as compared with prior art pumps such as those hereinbefore described, with that output pressure and velocity being considerably higher than could be reasonably expected from a pump which operates upon hydraulic pressures alone. Exactly what takes place in the pump of the present invention is not clearly understood. It is known that the special configuration of the piston and the sonic nozzle located in the sonic generator produces the sonic pressure waves of a special character and those waves, in conjunction with the sonic intensifier chamber in the down hole pumping mechanism, are responsible for the pump's performance. Exhaustive tests and experiments show that the generated sonic pressure waves move along the inner walls of the metallic tube in a spiral or threadlike motion and those downwardly spiraling waves do not appear to exert any downwardly applied pressure or other force on the liquid in the center of the tube. The downwardly spiraling pressure waves increase in velocity upon entering the sonic intensifier chamber and are reflected inwardly and upwardly as hereinbefore described. The upwardly moving central column of liquid is believed to be augmented with regard to pressure and velocity, by counteraction with the downwardly spiraling waves acting like a worm gear or lead screw to force the central column countercurrent to the generated pressure waves.

Accordingly, it is an object of the present invention to provide a new and useful pump.

Another object of the present invention is to provide a new and useful sonic pressure wave surface operated single tube pump.

Another object of the present invention is to provide a new and useful sonic pressure wave surface operated single tube pump having high pump output pressure and velocity as compared to known pumps.

Another object of the present invention is to provide a new and useful pump of the above described type which includes an aboveground sonic pressure wave generator which is coupled by a metallic tube to an underground pumping mechanism located at the level of the liquid to be pumped.

Another object of the present invention is to provide a new and useful pump of the above described type in which the aboveground sonic pressure wave generator includes a reciprocally operable piston which upon impacting a standing column of liquid contained within the metallic tube will generate sonic pressure waves which pass through a sonic nozzle and move downwardly along the inner walls of the tube in a spiral motion.

Another object of the present invention is to provide a new and useful pump of the above described character in which the piston operable in the sonic pressure wave generator has a truncated conical recess formed centrally in its liquid impacting face with that recess opening into a blind cylindrical bore formed axially in the piston.

Another object of the present invention is to provide a new and useful pump of the above described character in which the underground pumping mechanism is provided with a sonic intensifier chamber for receiving the sonic pressure waves from the metallic tube and increasing the velocity thereof.

Still another object of the present invention is to provide a new and useful pump of the above described character in which the underground pumping mechanism includes a plunger which is reciprocally operated by the sonic pressure waves to accomplish a pumping action, with the pressure waves impinging on the plunger and being reflected inwardly and upwardly therefrom to provide an upwardly moving central column of liquid in the metallic tube, with that central column of liquid carrying the liquid being pumped with it to the surface.

The foregoing objects of the present invention, as well as the invention itself, may be more fully understood from the following description when read in conjunction with the accompany drawings.

Brief Description of the Drawings

Figure 1 is a section through a ground formation and illustrating the sonic pressure wave surface operated pump of the present invention in elevation within that ground formation.

Figure 2 is an enlarged vertical section taken through the sonic pressure wave surface operated pump of the present invention and illustrating one operational position of that pump.

Figure 3 is a view similar to Figure 2 and showing the sonic pressure wave surface operated pump in a second operational position thereof.

Figure 4 is an enlarged fragmentary sectional view taken on the line 4--4 of Figure 2.

Description of the Preferred Embodiment ~

Referring more particularly to the drawings, Figure 1 illustrates a ground formation having a surface level 10 and an underground level 12 containing liquid which is to be pumped, such as water, oil, and the like. The sonic pressure wave surface operated pump of the present invention is seen to be located in the ground formation in a conventional manner, and the pump includes, as will hereinafter be described in detail, an aboveground sonic pressure wave generator, which is identified in its entirety by the reference numeral 14, an underground pumping mechanism which is indicated generally by the reference numeral 16, and an interconnecting metallic tube 18.

It will be noted that in accordance with standard practices, particularly in the oil well art, the bore formed in the ground formation is lined with a casing 19.

Figure 1 also illustrates a drive means 20 for operation of the aboveground sonic pressure wave generator 14, and a reservoir 22 for receiving the liquid pumped by the pump of the present invention.

The drive means 20 may be any of several well known mechanisms, and is shown for illustrative purposes as including an electric motor 23 which rotatably drives a fly wheel 24 that is carried on its output shaft 25. A crank arm 26 is connected on one of its ends by a pivot pin 27 eccentrically mounted on the fly wheel 24 and has its outer end connected by a similar pin 28 to a piston rod 29 extending from the sonic pressure wave generator 14. In this manner, the drive means 20 which is a rotatably driven mechanism, will supply reciprocal movement to the sonic pressure wave generator 14 as will hereinafter be described.

Referring now to Figure 2 and Figure 3, the sonic pressure wave generator 14 includes a vertically disposed cylinder 30 having an axial bore 31 formed therethrough, with that bore 31 having an open top 32 and a sonic nozzle 33 adjacent its open bottom. The top 32 of the bore 31 is open to accommodate the piston rod 29, and the bottom is open so that it will communicate with the bore 34 formed through the metallic tube 18. The axial bore 31 of the vertical cylinder 30 is provided with internal threads 35 formed therein proximate the open bottom thereof which provides means for coupling the metallic tube 18 to The cylinder 30 in a manner which places the axial bore 31 of the cylinder 30 in communication with the bore 34 formed through the tube 18. The sonic nozzle 33 will hereinafter be described in detail.

The vertical cylinder 30 is also provided with a liquid delivery port 38 which extends laterally from the axial bore 31. A conduit 39 is connected to the outlet end of the port 38 and extends to the reservoir 22 for delivering pumped liquid thereto as will hereinafter become apparent as this description progresses.

The axial bore 31 provided in the vertical cylinder 30 has an especially configured piston 40 mounted therein. The upper end of the piston 40 has a suitable wrist pin 41 to which the previously mentioned piston rod 29 is connected in the conventional manner so that the reciprocal motion supplied by the drive means 20 will reciprocally move the piston 40 in the bore 31. The piston 40 is an elongated cylindrical structure having a plurality of annular labyrinth grooves 42 which effectively prevent the upward escape of air and/or liquid from the cylinder 30. The lower, or fluid impacting face 44 of the piston 40 has a truncated conical cavity or recess 46 formed axially therein with the upper end of that cavity being in communication with a blind cylindrical bore or socket 48 formed axially in the piston. Thus, the fluid impacting face 44 of the piston 40 is of ring-like configuration.

The sonic nozzle 33 is seen to be a plug-shaped member or body which is affixed, such as by welding, in the bore 31 of the cylinder 30 adjacent the open bottom thereof. The nozzle 33 is provided with a bore 47 which is coaxial with respect to the bore 31 of the cylinder 30 and the bore 34 of the tube 18. The bore 47 of the nozzle 33 is configured with an upwardly disposed inverted frusto-conical surface and a downwardly disposed frustro-conical surface. The upper conical surface is provided with a diametrically opposed pair of helical grooves 49 (Figure 4) formed therein.

The metallic tube 18, which is connected to the bottom end of the sonic pressure wave generator 14, as hereinbefore described, contains a standing column (not shown) of the liquid being pumped. The downstroke of the piston 40 will cause the piston to impact the standing column of liquid which, due to the special configuration of the piston and the sonic nozzle will generate sonic pressure waves which move downwardly in a spiral-like path against the inner walls which define the bore 34 formed in the tube 18. It will be noted that the downstroke of the piston 40, as seen in Figure 3, will close the lateral liquid delivery port 38 formed in the cylinder 30.

The underground, or down hole pumping mechanism 16, may be connected to the bottom end of the metallic tube 18 in any suitable manner with that connection being shown as the mechanism 16 being integral with the tube 18 for illustration purposes. In any case, the underground pumping mechanism 16 includes a housing 50 which is preferably of elongated cylindrical configuration due to the ease of lowering such a housing down through the casing 19. The housing 50 has an axial bore 52 formed therethrough, with that bore being of larger diameter than the bore 34 of the metallic tube 18, and is in axial communication therewith. The transition between the bores 34 and 52 is special in that the transition is accomplished by a truncated conical surface 53 which, in conjunction with the cylindrical area 54 immediately therebelow defines a sonic intensifier chamber. The sonic intensifier chamber receives the downwardly spiraling sonic pressure waves as they emerge from the lower end of the metallic tube 18 and causes those waves to increase in velocity.

A plunger 56 is reciprocally mounted in the bore 52 of the housing 50, with that plunger having a head portion 58 at the upper end of a reduced diameter tubular body or stem 60. The plunger is axially disposed in the bore 52 and has an axial passage 62 formed therethrough so as to open upwardly onto the top surface of the head 58 centrally thereof and to open downwardly at the bottom end of the stem portion 60. The housing 50 is provided with an internal rib 64 which lies in a plane transverse to the longitudinal axis of the bore 52, and that rib has an opening 65 formed therethrough so as to be coaxial with the bore. A compression spring 66 is interposed between the downwardly facing surface of the head 58 and the upwardly facing surface of the rib 64. The spring 66 is specifically designed for each installation of the pump of the present invention so that the spring will substantially counterbalance the weight of the standing column of liquid in the metallic tube 18.

The lower end of the stem 60 of the plunger 56 extends through the opening 65 of the rib 64 and has external threads 68 formed thereon by which a check valve body 70 is threadingly attached. The body 70 has an axial bore formed therethrough with spacedly arranged vertically aligned valve seats 71 and 72 formed therein. A ball valve 73 is positioned in each of those valve seats, with those ball valves and their respective valve seats constituting a bleed valve assembly by which occluded air or other gas in the liquid being pumped is prevented from reaching the axial passage 62 of the plunger 56. In many instances, such a bleed valve assembly will not be an absolute requirement.

The lower end of the housing 52 is provided with internal threads 78 with the externally threaded upper end of a nipple 80 threadingly secured therein. The externally threaded lower end of the nipple 80 is threadingly attached to the internal threads 81 formed in the upper end of an end fitting 82. The end fitting 82 has a cylinder end wall 83 mounted in its bore immediately below the nipple 80, and that end wall 83 is formed with a central opening 84 which is in axial alignment with the bore of the check valve body 70. A valve seat ring 86 is positioned in the bore of the end fitting 82 below the end wall structure 83, and the valve seat ring 86 has a central passage in which is positioned a ball valve 87. The lowermost end of the fitting 82 is provided with a second valve seat 88 and a ball valve 89 with a central opening extending downwardly therefrom into communication with the liquid to be pumped from the underground level 12 (Figure 1).

It will be noted that although two ball valves are shown for the air bleed function, and two ball valves are shown at the lowermost end of the down hole pumping mechanism, in many instances, only one such ball valve will be necessary.

Operation

As hereinbefore mentioned, exactly what occurs in the sonic pressure wave surface operated pump of the present invention is not clearly understood. However, extensive testing and experimentation have shown the pump to produce much higher output pressure and velocity than could be reasonably expected from a pump operating on pure hydraulic principles. Those same tests and experiments lead me to believe that the pump operates in accordance with the following:

With the piston 40 of the aboveground sonic pressure wave generator 14 at the top of its upstroke as seen in Figure 2, the lateral liquid delivery port 38 is open. When the piston 40 moves downwardly toward the bottom of its downstroke, as shown in Figure 3, the piston will close the liquid delivery port 38 and will impact the standing column of liquid (not shown) that is contained in the lower portion of the axial bore 31 of the housing 30 and in the bore 34 of the metallic tube 18. Due to the special configuration of the piston 40, upon impacting the liquid column, it will generate a sonic pressure wave which spirals downwardly about the inner walls of the metallic tube 18 without exerting any appreciable forces on the central core of the standing liquid column.

Although the function of the sonic nozzle 33 is not clearly understood, it is thought that it may act somewhat in the manner of a venturi and thus increase the velocity of the sonic pressure waves. In initial testing of the pump, the nozzle was formed without the helical grooves 49, and the pump functioned quite well. However, an abrasive fluid was pumped during one testing sequence and very definite spiral or helical troughs were cut in the nozzle. After discovery of these troughs, the nozzle 33 was intentionally provided with the helical grooves 49 and this resulted in an improvement in the pumping capacity of the pump.

Upon reaching the lower end of the metallic tube 18, the downwardly spiraling sonic pressure waves emerge therefrom into the sonic intensifier chamber formed in the upper end of the down hole pumping unit 16, and will increase in velocity, and impinge upon the upper surface of the head portion 58 of the plunger 56. Such impingement will drive the plunger downwardly a sufficient amount to unseat the ball valves and admit the liquid being pumped into the axial passage 62 of the plunger. The impinging sonic pressure waves are reflected inwardly and upwardly to form an upwardly moving central column or core in the liquid within the metallic tube 18. This upwardly moving core will carry the liquid admitted to the passage 52 with it thus delivering that liquid to the aboveground sonic pressure wave generator 14 whereupon it will exit through the liquid delivery port 38. It is believed that the velocity and pressure of the upwardly moving central column of liquid is augmented by counteraction with the downwardly spiraling sonic pressure waves which act like a worm gear or lead screw that forces the central column countercurrent to the sonic pressure waves.

During the above mentioned initial testing of the pump, the top surface of the head 58 of the plunger 56 was flat, and the pump operated quite well. When the pump was disassembled during one of the routine inspections between tests, an endless groove 59 was machined into the previously flat top surface, and subsequent tests showed improved pumping capacity without any apparent increase in power consumption.

It will be understood that the rate of rotation of the fly wheel 24, and thus the rate at which the piston 40 reciprocates, is related to the depth of a particular well, and the time it takes a sonic pressure wave to travel the length of the metallic tube 18. The rate of travel of the sonic pressure wave will also depend upon the particular liquid being pumped and the metal of which the tube 18 is made. By way of example, it will be noted that if the tube 18 has a length of approximately 2,500 feet and the sonic pressure wave will have a travel rate of approximately 5,000 feet per second, which has been found to be true of many, if not most of the materials under and through which the sonic pressure wave passes, it will take one-half of a second for the downwardly directed sonic pressure wave to engage the head 58 of the plunger 56, and another one-half second for its echo return, making a total time of one second per cycle of the piston 40. This means that the piston 40 would have to reciprocate 60 times per minute. Obviously, the rate of rotation of the fly wheel 24 which causes a cycle of piston reciprocation would vary with wells of different depth to accommodate the time required for a sonic pressure wave to travel downwardly and be reflected upwardly.

While the principles of the invention have now been made clear in an illustrated embodiment, there will be immediately obvious to those skilled in the art, many modifications of structure, arrangements, proportions, the elements, materials, and components used in the practice of the invention, and otherwise, which are particularly adapted for specific environments and operation requirements without departing from those principles. The appended claims are therefore intended to cover and embrace any such modifications within the limits only of the true spirit and scope of the invention.

What I claim is: [Claims not included here ]


US Patent # 4,341,505

(July 17,1982)

Sonic Pressure Wave Pump for Low Production Wells

Arthur P. Bentley


US Patent # 4,381,177

(April 26, 1983)

Sonic Pressure Wave Surface-Operated Pump

Arthur P. Bentley


US Patent # 4,398,870

(August 16, 1983)

Sonic Pressure Wave Surface-Operated Pump, &c...

Arthur P. Bentley

&

US Patent # 4,460,320

(July 17, 1984)

Sonic Pressure Wave Surface-Operated Pump, &c...

Arthur P. Bentley


US Patent # 4,449,892

Pump with Rotary Sonic Wave Generator

Arthur P. Bentley