
rexresearch.com
Gabriel BOUSQUET, et al.
Wind-Power Hydrofoil
https://vimeo.com/gabriebousquet
https://vimeo.com/266440384
The UNAv, a wind-powered UAV for ocean
monitoring: performance, control and validation

http://news.mit.edu/2018/albatross-robot-takes-flight-0518
https://www.sciencedaily.com/releases/2018/05/180517113802.htm
Albatross robot takes flight
Autonomous glider can fly like an albatross, cruise like a
sailboat.
by Jennifer Chu
MIT engineers have designed a robotic glider that can skim along
the water's surface, riding the wind like an albatross while also
surfing the waves like a sailboat.
In regions of high wind, the robot is designed to stay aloft, much
like its avian counterpart. Where there are calmer winds, the
robot can dip a keel into the water to ride like a highly
efficient sailboat instead.
The robotic system, which borrows from both nautical and
biological designs, can cover a given distance using one-third as
much wind as an albatross and traveling 10 times faster than a
typical sailboat. The glider is also relatively lightweight,
weighing about 6 pounds. The researchers hope that in the near
future, such compact, speedy robotic water-skimmers may be
deployed in teams to survey large swaths of the ocean.
"The oceans remain vastly undermonitored," says Gabriel Bousquet,
a former postdoc in MIT's Department of Aeronautics and
Astronautics, who led the design of the robot as part of his
graduate thesis. "In particular, it's very important to understand
the Southern Ocean and how it is interacting with climate change.
But it's very hard to get there. We can now use the energy from
the environment in an efficient way to do this long-distance
travel, with a system that remains small-scale."
Bousquet will present details of the robotic system this week at
IEEE's International Conference on Robotics and Automation, in
Brisbane, Australia. His collaborators on the project are
Jean-Jacques Slotine, professor of mechanical engineering and
information sciences and of brain sciences; and Michael
Triantafyllou, the Henry L. and Grace Doherty Professor in Ocean
Science and Engineering.
The physics of speed
Last year, Bousquet, Slotine, and Triantafyllou published a study
on the dynamics of albatross flight, in which they identified the
mechanics that enable the tireless traveler to cover vast
distances while expending minimal energy. The key to the bird's
marathon voyages is its ability to ride in and out of high- and
low-speed layers of air.
Specifically, the researchers found the bird is able to perform a
mechanical process called a "transfer of momentum," in which it
takes momentum from higher, faster layers of air, and by diving
down transfers that momentum to lower, slower layers, propelling
itself without having to continuously flap its wings.
Interestingly, Bousquet observed that the physics of albatross
flight is very similar to that of sailboat travel. Both the
albatross and the sailboat transfer momentum in order to keep
moving. But in the case of the sailboat, that transfer occurs not
between layers of air, but between the air and water.
"Sailboats take momentum from the wind with their sail, and inject
it into the water by pushing back with their keel," Bousquet
explains. "That's how energy is extracted for sailboats."
Bousquet also realized that the speed at which both an albatross
and a sailboat can travel depends upon the same general equation,
related to the transfer of momentum. Essentially, both the bird
and the boat can travel faster if they can either stay aloft
easily or interact with two layers, or mediums, of very different
speeds.
The albatross does well with the former, as its wings provide
natural lift, though it flies between air layers with a relatively
small difference in windspeeds. Meanwhile, the sailboat excels at
the latter, traveling between two mediums of very different speeds
-- air versus water -- though its hull creates a lot of friction
and prevents it from getting much speed. Bousquet wondered: What
if a vehicle could be designed to perform well in both metrics,
marrying the high-speed qualities of both the albatross and the
sailboat?
"We thought, how could we take the best from both worlds?"
Bousquet says.
Out on the water
The team drafted a design for such a hybrid vehicle, which
ultimately resembled an autonomous glider with a 3-meter wingspan,
similar to that of a typical albatross. They added a tall,
triangular sail, as well as a slender, wing-like keel. They then
performed some mathematical modeling to predict how such a design
would travel.
According to their calculations, the wind-powered vehicle would
only need relatively calm winds of about 5 knots to zip across
waters at a velocity of about 20 knots, or 23 miles per hour.
"We found that in light winds you can travel about three to 10
times faster than a traditional sailboat, and you need about half
as much wind as an albatross, to reach 20 knots," Bousquet says.
"It's very efficient, and you can travel very fast, even if there
is not too much wind."
The team built a prototype of their design, using a glider
airframe designed by Mark Drela, professor of aeronautics and
astronautics at MIT. To the bottom of the glider they added a
keel, along with various instruments, such as GPS, inertial
measurement sensors, auto-pilot instrumentation, and ultrasound,
to track the height of the glider above the water.
"The goal here was to show we can control very precisely how high
we are above the water, and that we can have the robot fly above
the water, then down to where the keel can go under the water to
generate a force, and the plane can still fly," Bousquet says.
The researchers decided to test this "critical maneuver" -- the
act of transitioning between flying in the air and dipping the
keel down to sail in the water. Accomplishing this move doesn't
necessarily require a sail, so Bousquet and his colleagues decided
not to include one in order to simplify preliminary experiments.
In the fall of 2016, the team put its design to the test,
launching the robot from the MIT Sailing Pavilion out onto the
Charles River. As the robot lacked a sail and any mechanism to get
it started, the team hung it from a fishing rod attached to a
whaler boat. With this setup, the boat towed the robot along the
river until it reached about 20 miles per hour, at which point the
robot autonomously "took off," riding the wind on its own.
Once it was flying autonomously, Bousquet used a remote control to
give the robot a "down" command, prompting it to dip low enough to
submerge its keel in the river. Next, he adjusted the direction of
the keel, and observed that the robot was able to steer away from
the boat as expected. He then gave a command for the robot to fly
back up, lifting the keel out of the water.
"We were flying very close to the surface, and there was very
little margin for error -- everything had to be in place,"
Bousquet says. "So it was very high stress, but very exciting."
The experiments, he says, prove that the team's conceptual device
can travel successfully, powered by the wind and the water.
Eventually, he envisions fleets of such vehicles autonomously and
efficiently monitoring large expanses of the ocean.
"Imagine you could fly like an albatross when it's really windy,
and then when there's not enough wind, the keel allows you to sail
like a sailboat," Bousquet says. "This dramatically expands the
kinds of regions where you can go."
An albatross glider, designed by MIT engineers, skims the Charles
River.
Credit: Gabriel Bousquet; Creative Commons Attribution
Non-Commercial No Derivatives license
WO2017184981
FLYING CRAFT WITH REALTIME CONTROLLED HYDROFOIL
Inventor: BOUSQUET GABRIEL
This disclosure describes a vehicle configured and arranged to
generate lift and drag using a plurality of lifting or control
surfaces including a water-piercing hydrofoil disposed below said
vehicle, and a method for real-time control of said lifting or
control surfaces by controlling at least the hydrofoil with an
actuator that is actuated responsive to measured input signals
including forces on said hydrofoil.
Technical Field
[0002] The present application relates generally to the design and
control of vehicles, including craft having lifting or control
surfaces for generating lift, and specifically flying and sailing
craft where the craft's dynamics are affected by both airborne
lifting surfaces and hydrofoil design and operation.
Background
[0003] Vehicles that travel over land and water include aircraft,
which have airborne lifting control surfaces, commonly referred to
as wings, generating upward lift to counter the downward force of
gravity acting on the aircraft, and other lifting surfaces as
needed to steer and stabilize the aircraft. Ships, boats and other
watercraft, especially sail boats, are known to generate fluid
dynamic forces with their lifting surfaces to propel these craft
from one location to another on the surface of a body of water. In
general, the operation of wind-propelled systems relies on three
functions: one function counters the force of gravity, such as the
buoyancy of the hull of a sailboat, another function slows down
the wind, providing a generally down-wind and forward force such
as provided by the sail of a sailboat, and yet another function
generates a balancing upwind force by applying force on a slow
medium, such as the keel of a sailboat in water. In some prior
systems with a hydrofoil in water, the hydrofoil may not always be
structurally able to withstand the forces it could otherwise
generate under certain travel conditions.
[0004] Some craft designs have been proposed to travel on or above
the surface of water using a plurality of airborne and waterborne
lifting or control surfaces. It is unclear whether all such
designs are practical, safe, economical, efficient or even
feasible. Existing systems have difficulties to contact and leave
the water surface repeatedly especially if the water surface is
not extremely flat. For instance, hydrofoil boats fail when their
hydrofoil leaves the water as reentry is often a catastrophic
event (due to the large forces at play, and their complicated and
unsteady nature due to surface effect and transient ventilation
and cavitation), and hydroplanes can only land on sheltered
waters.
[0005] U.S. Pat. No. 3,800,724 is directed to a winged sailing
craft having two elongated and equivalent aerial wings (one
vertical and the other horizontal) as well as a water-piercing
hydrofoil disposed vertically beneath said sailing craft to
generate upwind force. U.S. Pat. No. 6,341 ,571 is directed to a
wind-powered air/water interface craft having pivoting wings with
various angles and configurations, including a combination of
aerial dihedral wings and a water-piercing hydrofoil arranged in a
triangular configuration with respect to one another. And U.S.
Pat. No. 6,032,603 is directed to a method and apparatus to
purportedly increase the velocity of sailing vessels,
incorporating aerial sails above water and below-water
(water-piercing) lift and keel rudder elements. Each of the
foregoing references, given by way of example, are hereby
incorporated by reference.
[0006] One problem the present system and method can address is
that of dynamic stability and robustness. Some prior art designs
of flying sailboats rely on concept wings that purportedly act as
sails and vice-versa when tacking between starboard and port. The
dihedral arrangement of such wings makes them sensitive in roll to
wind gusts. Other prior attempts to make flying sailboats suffer
from over complex mechanical designs such as hinged wings, costly
or unwieldy form factors, and other challenges such as floats and
hydrofoils at the wing tips which are potentially the source of
unacceptable yawing moments. As another example of prior art
challenges, external forces such as pitching forces and frictional
forces on a craft would cause the craft to stumble
catastrophically if the craft encounters external drag forces
causing it to develop excessive moments about some axis.
[0007] The above-mentioned and similar references purport to solve
certain problems and offer certain advantages. However, the state
of the art solutions are generally impractical, unstable, and are
less than ideal for many applications.
Summary
[0008] One embodiment is directed to vehicle for travel over an
air-water interface, comprising a vehicle body; said vehicle
including a position-sensing system indicating a position or
travel speed of said vehicle; said vehicle being overall
positively buoyant with respect to said water; a lower portion of
said vehicle being configured and arranged for movement through at
least said water and an upper portion of said vehicle being
configured and arranged for movement through at least said air; at
least one aerial lifting or control surface, coupled to said
vehicle body, and configured and arranged for providing
aerodynamic lift; at least one hydrofoil, coupled to said vehicle
body, and configured and arranged for providing a hydrodynamic
load; an elevation- sensor indicating an elevation of a reference
point on said hydrofoil with respect to said air-water interface;
at least one force sensor coupled to said hydrofoil and providing
a measured output signal indicative of said hydrodynamic load; the
vehicle further comprising a processor receiving inputs
representative of: the position or travel speed of the vehicle,
the measured output of said force sensor, and the elevation of
said reference point; the processor comprising processing
circuitry for processing data and executing machine-readable
instructions including control logic, and for providing,
responsive to any of said inputs, an output control signal; and an
actuator receiving said output control signal and mechanically
controlling at least said hydrofoil responsive to said output
control signal.
[0009] Another embodiment is directed to a method for controlling
the travel of a vehicle proximal to an active water surface,
comprising measuring a location or speed of said vehicle;
measuring an elevation of a reference point on said vehicle above
said water surface; measuring with measured input signals: a
hydrodynamic load on a vertical hydrofoil of said vehicle,
extending at least partially below said water surface, while said
vehicle is traveling; generating a control output signal based on
at least said measured input signals; and applying a torque on
said hydrofoil, about at least one degree of freedom thereof,
responsive to the control output signal. In the Drawings
[0010] For a fuller understanding of the nature and advantages of
the present invention, reference is made to the following detailed
description of preferred embodiments and in connection with the
accompanying drawings, in which:
[0011] Fig. 1 A is a perspective view of a flying craft with an
aerial sail and a controllable water-piercing hydrofoil;
[0012] Fig. 1 B is a top view of a flying craft with an
aerial sail and a controllable water-piercing hydrofoil;
[0013] Fig. 1 C is a (port) side view of a flying craft
with an aerial sail and a controllable water-piercing hydrofoil;
[0014] Fig. 2 illustrates controllable rotation of a
hydrofoil using an actuator;
[0015] Fig. 3 illustrates a water-piercing hydrofoil with
force sensors;
[0016] Fig. 4A illustrates side and front views of a
water-piercing hydrofoil with associated forces and
displacements;
[0017] Fig. 4B illustrates a top view of the hydrofoil of
the preceding figure;
[0018] Fig. 5 illustrates a mode of operation of a flying
craft with an aerial sail and controllable hydrofoil;
[0019] Fig. 6 illustrates another mode of operation of a
flying craft with an aerial sail and controllable hydrofoil;
[0020] Fig. 7 illustrates a method for operating and
controlling a flying craft with a controllable hydrofoil; [0021]
Fig. 8A is a perspective view of an exemplary flying craft with
a controllable water-piercing hydrofoil;
[0022] Fig. 8B is a (port) side view of a flying craft with
a controllable water- piercing hydrofoil;
[0023] Fig. 9A illustrates a top view of a mode of
operation of a flying craft with a controllable water-piercing
controllable hydrofoil; and
[0024] Fig. 9B illustrates a side view of the sequence of
Fig. 9A.
Detailed Description
[0025] An object of this invention is to provide useful vehicle
systems and methods for operating and controlling such vehicles or
craft. The present craft are at least sometimes operated proximal
to an interface of two fluids. In the most general case,
embodiments hereof can operate at or near an interface separating
two fluids of different densities, including two liquids, a liquid
and a gas, or two gases. In a preferred embodiment, the present
invention can be operated at an air-water interface such as would
be found at the surface of an ocean, lake, river or other natural
or man- made body of water. By design, the present systems and
methods can provide a craft body and a plurality of foils or
lifting or control surfaces coupled, rigidly and/or moveably, to
said craft body. In an embodiment, at least one aerial lifting or
control surface or wing of the craft is disposed so as to move
through the air above the air- water interface, while at least one
hydrofoil of the craft is disposed so as to move through the water
below the air-water interface. [0026] Generally, the present
system and method can provide a vessel, vehicle or craft that can
travel substantially in the air, at, or near and above the surface
of water. The craft may have both airborne and water-piercing
control surfaces to provide needed lift, drag or other forces to
stabilize and/or drive the craft. Other modes of operation of the
present craft are also possible, as will be described below and
understood by those of skill in the art.
[0027] The present craft is adaptable for operation with an
external and/or internal propulsion system. For example, the craft
may be towed or co-propelled with another vessel, e.g., in
side-car mode. In another example, the craft may use an onboard
electric, gasoline, solar or other propulsion mechanism, i.e.,
pushing itself through the air and/or water.
[0028] Fig. 1 A illustrates a vehicle, vessel or craft 10, and in
particular a perspective view of said craft 10, according to an
embodiment hereof. Craft 10 comprises a vehicle or craft body 100,
which may be constructed, dimensioned and arranged according to
any reasonable form, for example to carry persons, a payload, or
test equipment, or to conform to any desired application. Craft
body 100 is elongated for aerodynamic performance and has a
forward or nose section near its front and an aft section 104 near
its tail 130. Some embodiments hereof may further incorporate
canard control surfaces, V-shaped tails, or other elements as
suits a given application.
[0029] The materials of construction of body 100 may be of
appropriate solid materials providing rigidity and structural
integrity, yet preferably light in weight so as to allow for
practical flight of the craft 10 without undue structural load.
For example, body 100 may be formed from a polymer resin,
fiberglass, carbon fiber, composite, wood, thin shell aluminum
panels, or other suitable sheet, cast or molded material. In some
embodiments, craft 10 is configured and designed as a small craft
for scientific observation, measurement and similar test purposes,
and may be dimensioned to have a length and/or span on the order
of one meter (1 m). However, this disclosure and invention are not
so limited, and can scale as needed for other applications, the
scaling of such vessels being a subject known to those skilled in
the art. The craft 10 is designed to travel in a forward direction
12, generally along a long axis of body 100 as show by the arrow
in Fig. 1 A.
[0030] Mechanically coupled to body 100 is a wing structure 1 10,
which in the shown embodiment comprises a port section 1 12 and a
starboard section 1 14 that may be formed as a single structure or
as separate structures, as would be appreciated by those skilled
in the arts of aircraft design. The wing 1 10 is designed to
provide aerodynamic lift perpendicular to a direction of air flow
over said control surface, or generally perpendicular to an upper
face 1 13 of wing 1 10. The lift can be quantified by the
dimensions, including the chord distribution, span and profile or
cross-sectional geometry of wing 1 10 as known to those skilled in
the art of aircraft design. The wing 1 10 may be fixed in some
specific embodiments, but wing 1 10 may also be mechanically
articulated about one or more degrees of freedom in other
embodiments, or wing 1 10 may have one or more ailerons that are
mechanically positionable according to a need so as to modify the
provided lift of wing 1 10. As with body 100, wing 1 10 may be
constructed and arranged according to methods and designs known to
those skilled in the art, and may be constructed of a same or
different material as body 100 (e.g., using the materials
mentioned above by way of example). [0031] Tail section 130 is
coupled to body 100 as would be appreciated by those skilled in
the art of aircraft design. Tail section 130 may comprise one part
or may comprise several parts, for example having both horizontal
planes 132 and one or more vertical tail section sails 134, each
providing lift in the respective dimension depending on its
orientation. Also, a tail member having a V-shaped configuration
may be used in other examples.
[0032] In the shown embodiment, a vertical aerial control member
or sail 120 is coupled to body 100, the sail 120 extending from
its coupling point upwardly along the upward direction 14 as shown
in Fig. 1 , where the upward direction 14 is perpendicular to the
forward direction 12 of craft 10. The sail 120 may be actuated
about a generally vertical axis, of lift controllable by means of
flaps, or it may be fixed in which case the sail lift may be
controlled by yawing the craft's body.
[0033] In addition, craft 10 is equipped with an elongated
downwardly-pointing hydrofoil 140, which is mechanically coupled
to craft body 100 and which defined a span, cord distribution and
cross-sectional foil profile to be discussed in more detail below.
Hydrofoil 140 is designed to penetrate the air-water surface above
which craft 10 travels so that at least a (distal or lower)
portion of the span of hydrofoil 140 is beneath the air-water
interface during flight of craft 10, while some (proximal or
upper) portion of the span is in air above the air-water
interface. As would be appreciated, when craft 10 is traveling
forward along general direction 12, the actuation of any of its
control surfaces, wings, foils, etc., such as hydrofoil 140 would
cause a corresponding interaction with the respective surrounding
fluid (e.g., air, water) and cause a corresponding fluid dynamic
force or moment. [0034] Hydrofoil 140 is configured and arranged
to be mechanically actuated by an actuator that provides rotation
of hydrofoil 140 about a long axis thereof as illustrated by
rotation arrow 142. As will be described in more detail below, the
actuation, rotation, or turning of hydrofoil 140 can be used to
controllably stabilize the movement of craft 10 under load (during
flight) including by controlling lift and drag forces generated by
hydrofoil 140, especially using the distal (lower) portion of
hydrofoil 140 that is submerged beneath the surface of an
air-water interface.
[0035] Fig. 1 C is a side view of craft 10 in one example
embodiment. We see that the control members (e.g., sails, wings,
foils) can extend upwardly or downwardly from the body 100 of
craft 10. These control members, or portions thereof, can be
controllable using actuators to mechanically position the members
or the controllable portions. For example, vertical sail 120 may
be rotatable about its vertical axis, in its entirety, and/or it
may be modified by adjustment of an aileron 121 at the trailing
edge of sail 120. The same can be said for vertical tail member
and aileron 131 . The figure also shows a global positioning
system (GPS) antenna or sensor or communicator 170. As will be
described in more detail below, GPS sensor 170 is used to obtain
real-time absolute position and/or speed data for craft 10, which
are used in some embodiments as input data to a processor used to
control the flight of craft 10.
[0036] It should be appreciated that the present concepts may be
applied to other fluid media than air and water, whether in an
artificial environment or naturally occurring. For example, any
gas may be substituted for the examples of air herein, and any
liquid may be substituted for the examples of water herein, so
long as these fluid media and interfaces support a given
application of interest and are consistent with the present
engineering and physical principles. [0037] Fig. 2 illustrates a
top view of craft 10, where craft body 100 is in this example an
elongated aerodynamic body designed for forward travel in a
direction 12 generally in-line with a long axis of said body. The
top view of vertical sail 120 illustrates that said sail 120 has
an aerodynamic foil profile as suitable for a given application
and to provide aerodynamic lift and/or drag to craft 10. In some
embodiments, one or more of: wings 1 10, vertical sail 120
and/or tail section(s) 130 may include controllable flaps,
spoilers, ailerons, or similar control surfaces 1 15, or fully
moveable pitch actuation for added control of an aerodynamic force
provided thereby. For the sake of generality, such fluid dynamic
surfaces are referred to as " lifting surfaces" , "control
surfaces" or "control members" herein. Semantically speaking, it
should be noted that the pitch as well as the angle of attack of a
hydrofoil, sail or other vertically-disposed control surface may
be about an axis of said member (e.g., about a vertical axis)
whereas the overall pitch or angle of attack of the craft itself
may be about another axis if the craft pitches during travel.
[0038] Fig. 3 illustrates a (port) side view of craft 10, which is
designed and operated to travel to the left, generally along the
long axis 12 of craft body 100. As described earlier, craft body
100 is mechanically coupled to several wings, sails, foils or
other fluid dynamic surfaces. Here, a vertical sail 120 is
provided generally at a midsection of said body 100, a tail
section 130 is affixed to body 100 at an aft end thereof. One or
more (e.g., a horizontal and/or vertical) sections of sail 120
and/or tail control surface(s) 130 may comprise
mechanically-hinged ailerons 121 , 131 or subsections that are
usable to assist in the craft's dynamics. For example, the
ailerons 121 , 131 may be actuated by manually or
computer-controlled means by way of electromechanical drives,
servos, or hydraulic actuators. [0039] A downward-extending
vertical hydrofoil 140 is mechanically coupled to body 100, in an
embodiment, at or near a midsection of body 100 as shown.
Hydrofoil 140 is generally an elongated fluid dynamic member,
foil, blade, wing or similar member. Hydrofoil 140 has a first
(upper, proximal) end 142 closest to craft body 100, and an
opposing second (lower, distal, or terminal) end or tip 144
furthest from craft body 100.
[0040] In typical operation, craft 10 is operated in a flying mode
at or proximal to and above an air-water interface 15. Depending
on the prevailing conditions, air-water interface 15 may be calm
(having a generally linear cross-section as shown), or it may be
wavy due to the presence of surface waves, for instance
wind-driven gravity waves, on the surface of a body of water such
as an open sea. In any case, craft 10 flies forward along
direction 12, generally parallel to an undisturbed (or average)
surface of such body of water. The actual dimensions of craft 10,
its speed of travel and its altitude (a) above the surface 15 are
all design matters and can depend on the desired operational
characteristics of craft 10, prevailing physical conditions, and
other factors. As will be discussed below, craft 10 is dynamically
stable during flight, and for at least some periods of time,
sustains a lower (distal) portion of its hydrofoil 140 in the
lower fluid medium (here, and typically, water) as shown. Again,
downward-extending hydrofoil 140 may be fixed with respect to the
craft body, or it may be moveable in its entirety (e.g., rotating
about an axis), and/or it may be equipped with ailerons or
subsections that are moveable or separately articulated,
especially at its trailing (aft) edge, which may be used for
fine-tuning the forces provided by said hydrofoil during use.
[0041] If craft 10 is in steady state motion, the mean lift and
drag and gravitational and buoyancy forces thereon can lead to
steady movement of craft 10 in the forward direction 12, generally
cross-wind (e.g., at 90 degrees to the wind with up to a 45 degree
or more variation thereabout) with little or no lateral
(side-to-side) or vertical (up-and-down) movement, as well as
little or no roll, pitch or yaw. For instance, roll can be set to
zero by trimming the ailerons to compensate any roll moment
generated by the hydrofoil or other lifting surfaces. In practical
situations, as has been tested in open water bodies by the
inventor, external time-varying forces act on craft 10 so as to
disturb craft 10 somewhat from its nominal flight path. Primary
examples are non-uniform water currents, eddies, turbulence and
surface waves that affect craft 10 through the resulting unsteady
hydrodynamic and aerodynamic forces of said water acting on the
submerged portion of hydrofoil 140 and aerial control surfaces. It
should be noted that the depth of immersion of hydrofoil 140 will
typically be time-varying, which exposes varying surface area of
hydrofoil 140 to the prevailing water forces thereon. That is,
during times that craft 10 rises higher above the air-water
interface 15 (i.e., elevation distance, a, increases) the surface
area of hydrofoil 140 lower, submerged portion of hydrofoil 140
exposed to water forces decreases, and hydrofoil 140 may even
entirely rise above the water if the elevation distance, a,
exceeds the length of the hydrofoil. The opposite occurs when
craft 10 drops lower (i.e., elevation distance, a, decreases), as
more of hydrofoil 140 dips into the water below surface 15,
resulting in greater surface area of the hydrofoil exposed to the
forces of water.
[0042] If the overall span (active length in the elongated
direction) of the hydrofoil 140 is b, we may consider its upper
portion operating outside of (above) surface 15 at a given time t
to bT (t) and its submerged (lower) portion operating below the
surface 15 to be b2(t) where b=bT (t)+b2(t). In some embodiments,
b1(t) may be equal to the reference height or flight altitude, a,
of said craft. In some of the present mathematical discussion, the
length of the immersed hydrofoil section may be referred to as " h
" .
[0043] Fig. 2 illustrates a more detailed exemplary cross-section
of the portion of a craft 20 including a vertical sail 230
extending upwardly from craft body 200 and a hydrofoil 240
extending downwardly from craft body 200.
[0044] A computer-controlled actuator, or plurality of actuators
210 are used to control the one or more control surfaces of craft
20. In an example, a plurality of sensors and environmental inputs
deliver input signals to a processor or computer on board said
craft 20. The processor or computer then uses said inputs, and
stored machine-readable instructions, models, programs, data or
other information to collectively generate output control signals
for controlling one or more craft control surfaces. For example,
actuator 210 may include an electro-mechanical actuator, servo, or
similar apparatus 210. The actuator 210 is mechanically coupled to
a coupling (e.g., gears, reduction mechanism, or direct drives)
220 controlling an angular rotation 230 of shaft 220. More
generally, direct or indirect pitch control may be employed and/or
compliance or damping control may be used for the same or
equivalent result. In addition, the system may control the
equilibrium (rotation) angle of the hydroplane coupling shaft. In
yet another aspect, a trailing edge flap or aileron can be used to
set the equilibrium angle of attack of the hydrofoil's coupling
shaft.
[0045] The present inventor has determined and tested a craft such
as the one illustrated in the foregoing figures and has confirmed
that with suitable real-time control of the craft's control
surfaces, especially hydrofoil 140, the craft can be successfully
operated and be stabilized under real conditions, including in the
presence of surface waves that cause the elevation distance, a, to
increase and decrease. [0046] In one embodiment, but not limiting
of the present invention, one or both of vertical sail 120, 220
and/or hydrofoil 140, 240 may be disposed at or proximal to a
center of gravity of craft 10, 20 or craft body 100, 200.
[0047] We now discuss some aspects of the dynamic operation of the
present craft. Those skilled in the art would be able to take the
present disclosure and generalize it or apply it to specific
designs and modes of operation as desired.
[0048] In one aspect, the present system and method is controlled
by a processor or computer that accepts a manageable number of
inputs from sensors so as to generate real-time output control
signals. Prior systems and methods lacked the present sensors,
processors, outputs and actuators configured and adapted for a
craft of suitable design. The present disclosure offers some
non-limiting examples illustrating the operation of the present
system.
[0049] Hydrofoils generally may operate in fully wetted condition,
or in partially or fully ventilated or cavitating condition or a
combination thereof. Ventilation is the phenomenon where air in
entrained to the region of low pressure on e.g. the suction side
of a hydrofoil and forms a cavity. Ventilation is enabled by
cavitation, flow separation and or connection of the trailing edge
vortex to the free surface. Cavitation is when the local pressure
on the suction face of the hydrofoil falls below the pressure of
water vaporization. Like ventilation, cavitation is associated
with a severe loss of lift and increase of drag. As a rule of
thumb, cavitation starts being a possibility for high lift
surfaces near 20kts and is very likely to be present on most
airfoils above 50 kts. Ventilation and cavitation are favored at
large lift coefficients. As a rule of thumb, hydrofoils designed
for fully wetted flows don't perform well when ventilation or
cavitation occurs, and conversely, hydrofoils designed for
cavitating or ventilated flows relatively don't perform well in
fully wetted flows.
[0050] In an aspect, the present system and method can overcome
the adverse effects of cavitation and/or ventilation, which can
occur under certain fluid dynamic conditions. The hydrofoils may
be designed to operate at small lift coefficients. With careful
airfoil selection and hydrofoil control as explained below,
cavitation is unlikely to appear until at least 30 kts and
ventilation may be avoided. On hydrofoils designed for
non-ventilating flows, ventilation induces a loss of lift as well
as a significant increase in drag, which might be sufficient to
create a significant pitch down moment onto the airplane, which
can lead to the failure of the flight process if not properly
controlled or avoided. The small lift coefficients of the
hydrofoil in the present application are not favorable to
ventilation inception. The present system and method are designed
to detect and/or avoid these effects in the first place prior to
failure of the traveling craft takes place.
[0051] In another aspect, the foil may be designed to induce
ventilation or cavitation (rather than a rounded nose airfoil
profile, it could for instance be a wedge profile, as one skilled
in the field would know.). In this instance, non-
ventilating/cavitating flow is an undesired mode of operation and
can be detected and avoided with the sensors discussed in this
disclosure.
[0052] Fig. 3 illustrates an exemplary hydrofoil 340 according to
one or more embodiments hereof, coupled to a craft body 300, and
extending downwardly therefrom. Hydrofoil 340 includes a forward
-facing leading edge 342 and a rear-facing or trailing edge 344.
Hydrofoil 340 may be further actuated and rotated about its long
axis at shaft 310, e.g., using a servo as described above. We
discussed measuring and taking inputs for real-time control of the
present system. In an aspect, one or more strain gauges, force
sensors/ meters, accelerometers, or displacement gauges 343, 345
(generally "force gauges") are provided on hydrofoil 340, or to a
shaft or coupling connecting the hydrofoil 340 to the rest of the
craft. The aim being that the hydrodynamic forces and moments on
the hydrofoil can be measured. The force gauges 343, 345 are used
to measure forces on hydrofoil 340. Specifically, force gauge 343
may be used to measure a sideways force or moment 343a in a
direction or about an axis corresponding to a sensitivity of force
gauge 343 (for example, along a direction normal to the main
surfaces of the hydrofoil). In a particular, but not limiting
example, force gauge 343 comprises one or more strain gauges
measuring a strain resulting from deflection of hydrofoil 340
during its travel as a portion of the hydrofoil is submerged in a
liquid (e.g., water) and subject to the forces exerted by the
water on the surface of hydrofoil 340. Those skilled in the art
will understand that additional force gauges, such as strain
gauges or others as mentioned above, can be used to measure
strains or forces or moments about other directions. For
illustrative purposes, Fig. 3 shows a second force gauge 345
disposed on hydrofoil 340 and measuring a second force or moment
345a (for example, in a fore-to-aft direction). In a basic
embodiment demonstrated by the inventor, a single strain gauge 343
was used to generate an electrical signal corresponding to a force
or moment 343a on hydrofoil 340. This signal was input, with other
input signals and parameters, to a processor, which was used in
turn to actively control the pitch (or angle of rotation) of shaft
310 by way of an electro-mechanical servo.
[0053] In an aspect, a height or distance sensor 350 is disposed
at a practical location on craft 30. For example, an ultrasonic
time-of-f light (echo or sonar) device 350 is mounted to an
under-body portion of craft body 300, e.g., below a wing or
fuselage thereof. The height sensor 350 measures the distance
between a reference point on craft 30 and the surface of the water
below 15. The surface 15 may be calm (undisturbed) or may be wavy
(disturbed) as will be discussed below, which leads to varying
depths of insertion of hydrofoil 340 into the water under craft
30, and subsequently to varying forces of lift and drag
corresponding to the state of submersion of the hydrofoil 340.
Other embodiments of a height sensor may be used as well, for
example optical cameras, lasers, conductivity meters, capacitance
meters, etc. The reference measurements indicating the depth of
insertion of hydrofoil 340 into the water at a given moment may be
repeated rapidly (for example at 1 Hz, 10 Hz, 100 Hz or another
rate as called for).
[0054] An exemplary system was set up by the inventor to stabilize
a flying sailboat or air-water craft about one meter long and
having a wing span on the order of one meter, e.g., about 3
meters, such as those described above, which was flown at a height
(a) of several centimeters above the surface of a natural river at
speeds on the order of 10 meters/sec. Those skilled in the art
will appreciate how such a system can be scaled upwards or
downwards in size, speed or other parameters using non-
dimensional fluid dynamic analysis or other theoretical,
empirical, or numerical techniques. In addition, the present
system and method can utilize and include such force sensors on
any or all of the control surfaces thereof to measure a force,
moment, or deflection along any corresponding direction. The
following discussion elaborates on the dynamics of the present
craft, its controls system and method, with particular emphasis on
the hydrofoil and a model-based control system and method for
achieving useful flight therefrom. [0055] We consider the
surface-piercing hydrofoil of Fig. 4, whose base is traveling
through water of density p in the forward direction 1 2 or (— ex)
at speed U (without waves, the flow would be coming at the vehicle
at +Uex). The small-angle foil pitch is T. Its beam and reference
chord are b, c, respectively. As an example, the foil flexibility
lumped into a single degree of freedom f represented by a
localized hinge bending at the hydrofoil base, of stiffness k and
negligible damping. The foil is immersed at a depth h(t) < b.
[0056] The foil dynamics may be modeled as J F = Mhinge+
Mhydrowhere J is the moment inertia and the terms on the
right-hand side are the moment due to the hinge stiffness, for
instancehinge=— k§, and the moment applied at the hinge point due
to hydrodynamic forces respectively. The hydrodynamic forces may
include added mass, lift and drag forces, as well as surface
effect forces such as wave- making and spray. Those skilled in the
art will understand that the present models are but examples
facilitating the understanding of the operation of the system and
method. Other models, including optional physical conditions and
factors can be added or removed from the present illustrative
models as needed.
The hydrodynamic forces may depend on the hydrofoil geometry, the
hydrofoil pitch, craft yaw, f, the hydrofoil's water-relative
position (including the hydrofoil depth immersion h) and
orientation, the local water velocity and its derivatives (due to
for instance waves or currents), and time-derivatives up to any
order of those quantities. For instance, by way of example, in
still water with no yaw, the moment due to hydrodynamic forces on
the non-ventilating, non-cavitating foil may be modeled with the
form hydro = qchCM;e6 +—^-M^ f - m22f where CM;g and CM^ and
m22are coefficients that may depend on the foil geometry, h and
other parameters for instance the Froude number, and may be
computed with various degrees of precision.
[0057] Collecting the above terms, within the example model, the
hydrofoil dynamics is
<3>f<'>F +<3>f F +<3>fF = bgG with the
time-varying coefficients qch<3>
a3/4><=>J +<m>22<<3>f<=>y ^?,f' = k1
be = qch<2>CM;e,q= -pu<2>,
[0058] Regarding lift forces and moments, and the non-dimensional
and non- constant aerodynamic coefficients CM^ and CM;g, they may
be computed in the following way. Considering only the immersed
part or the hydrofoil, and H the point of the foil that is at the
water surface at time t, the local angle of attack at that point
is a?= T + (f (b— h) + uy)/U. The force and moment at point H on
the hydrofoil due to hydrodynamic lift are
L = qch(CL;aaH+ CL;P, f h/(2U))
MH=qch<2>(ClaaH+ Clp,^h/(2U)) where CL aand CL p, are the
force coefficients due to angle of attack and roll rate,
respectively, and Cl ctand Cl p, are the moment coefficients due
to angle of attack and roll rate, respectively. In general, those
coefficients are non-trivial, due to surface wave-making effects
they are dependent on the Froude number Fr= U/^gc . In practice,
for Fr< 0.1 or Fr> 1, the dependence is weak, and the
coefficients are mostly sensitive to the immersed aspect ratio AR
= h/c. For large Froude numbers, the flow may be approximated with
the method of images where the horizontal surface plane is a plane
of anti-symmetry for the flow. As such, the coefficients can be
computed with a panel method such as AVL. In the limit of large
aspect ratios, the coefficients tend to 2tt, p and 4p/3. In the
present model, the hydrodynamic coefficients may be computed and
fitted with a third order polynomial, but any other suitable or
practical modeling of these coefficients can be similarly or
equivalently substituted. Also, the moment due to lift at the
hinge is ML= (b— h)L + MH, which can be rewritten as
ML= qch<2>CM,e(0 + uy/U) + f with
^?,f<= 2>CL,cc + ,cc + CLjP, + Cj p, and h = (b/h— 1).
Following a similar procedure, one skilled in the art may adapt
the procedure to compute the coefficients CM^ and CM;g, as small
Froude numbers and/or for ventilated or cavitated hydrofoils. The
lift, moment due to lift generated by the hydrofoil, or bending
(all computable from the aforementioned equations within the
limits of the example model by one skilled in the art), may be
controlled with a tracking Linear Time Varying (LTV) controller.
For instance, it was determined experimentally that
measurement/estimation of U and h in order to compute in real time
the estimates §?, §f, 6Tof ?f, ?f, beconstituted a model
sufficiently accurate to control f with satisfactory performance,
i.e., the craft remained stable, tracked approximately a reference
value fGand the hydrofoil didn't break due to too large forces,
all despite changes in U and h, with the control law<? =>r
DQ (3/4 *<+>^F F<+>3/4(*<r + k>i
(*r<~>F)<+ K2>^<R ~>F) +<FC3>J f
(F<G>- F) where the coefficients k1k2k3can be selected by
pole placement by one skilled in the art.
[0059] This example of a control strategy based on online
measurement of h and
U with dedicated sensors to reconstitute the highly time-varying
coefficients of the linear model proved experimentally a
satisfactory approach.
[0060] As to the controls and control objectives in an
illustrative aspect, these can include 1) maintaining at all times
the loading of the hydrofoil below its strength limit, 2)
performing robust command following of a commanded loading k
>m(t) despite fast and order-of-magnitude variations of the
plant due to variations in U and h, and 3) performing noise
rejection while maintaining the error within acceptable limits.
For instance, assuming that the roll f of the craft on which the
hydrofoil is to be mounted has a known linear dynamics of the form
f = ?( )1 : f where k f is the loading error, a bound on the
allowed error in the vehicle roll constrains the allowable
spectrum of the loading error. One particular exemplary hydrofoil
system may be designed for a vehicle whose roll dynamics are
dominated by damping such that H(s) = 0.03/s with a maximum
allowable roll |f| < 2°. As stated elsewhere, it must be
understood that the present examples are illustrative and are not
limiting of the scope of the present system, method, or exhaustive
as to the possible useful embodiments achievable by the system and
method.
[0061] The hydrofoil equations for control can be stated in a
simplified form. In term a^, the added mass, approximately m22=
?tt?<2>/4, typically dominates the material inertia J by
over one order of magnitude. Therefore, a^/a^, ~ U/c. For small-
scale, high-speed applications, the ratios may be in the 500's to
1000's rad/s, much faster than, e.g., un-modeled pitch actuator
dynamics. Therefore, it is possible to ignore, for control, the
terms a^,<'>f, such that a good approximation for the
hydrofoil system is
Image available on "Original document"
which is a first-order linear time-varying (LTV) system. Note that
the plant poleImage available on "Original document"
may vary by one order of magnitude and the steady-state gain
hs/a^, may vary by two orders of magnitude, as the hydrofoil's
immersion h varies between zero and 20 cm in an example, and the
velocity U ranges from 4 to 10 m/s.
[0062] Exemplary controller model: We use a LTV controller,
implemented by
Euler integration, e.g., at 512 Hz ?
h
(s<2>/Psonar + V2s/Psonar + l)<'>
1
s/Pu + 1
Image available on "Original document"
In the above equations, the estimates for the immersion depth and
vehicle velocity h and U are obtained by filtering sonar and G PS
velocity measurements and used to compute the time-varying
coefficients. The sonar in an example may be operated at 40 Hz
withSonar<=>12/second, and the GPS at 1 0 Hz with ??=
1/second. However, of course, this is only an example, and other
operational parameters are equally as justified. When the
hydrofoil is immersed, the reference loading ftis directly read
from manual remote controller stick input. In the present model,
the error signals are computed and the control law is formed. When
the hydrofoil is immersed, ? = 1 such that if the model is
perfectly known, the system reduces to (s + /?)<2>/ f = 0.
The integral aspect of the controller is important as due to
misalignments of the rig, T is known up to a constant bias.
Besides the noise due to wave forcing, those skilled in the art
may also model the operation of the actuator servo, which can be
approximated as a rate-limited, critically-damped second-order
system of poorly known cutoff rate Pservo i<n>the 20 to
60/second range. In an example, ß = 10/second provides a
reasonable performance/robustness trade-off with a 8 dB gain
margin and 50 degree phase margin for a^/a^ = 15/second and pservo
= 40/second). [0063] Figs. 4A and 4B show side, front and top
views of a hydrofoil 440 according to the present system and
method (excluding the representation of the rest of the system for
clarity), and further showing certain quantities used in the
present model by way of illustration.
[0064] Fig. 5 illustrates one flight scenario of said craft over a
disturbed fluid interface. The undisturbed interface (e.g.,
air-water interface) is denoted as 15, and the actual or disturbed
surface is denoted as 16. The craft 50 may travel in a general
direction 12 as described before over said interface. Three
snapshots of said craft 50 are depicted as 50a, 50b, and 50c, as
they may be found at successive times t7, t2, and t3,
respectively. It can be seen that hydrofoil 540 dips in and out of
the lower fluid (water) as the height of the surface 16 rises and
falls, therefore exposing more or less (or none) of the hydrofoil
540 to the forces of the water below. Specifically, a maximum
insertion of hydrofoil 540 occurs at wave crests (and/or times) t1
and t3 while least (or no) hydrofoil insertion takes place at t2.
The craft 50 continues therefore more or less straight along route
12 with respect to an undisturbed water surface 15, skimming the
wave tops as it travels, and having an acceptable and controlled
mean state of flight.
[0065] In another flight scenario shown at Fig. 6, craft 60 moves
from right to left and is depicted at snapshots in time (t7, t2,
t6). Here, in a hopping flight scenario or mode of operation, the
craft 60's trajectory may be a generally cyclic up-and-down
trajectory. Craft 60 thus has an elevation height above water from
some reference point thereon that increases and decreases in time.
At some times (e.g., t7 and t5) the hydrofoil 640 beneath craft 60
is inserted into the water below, while at other times (e.g., t2,
t3, t4 and ??) it is only slightly in the water, or not at all.
Such a trajectory may be energetically beneficial, if enough
hydrofoil lift is generated during phases t1 and t5, while the
hydrofoil drag during phases t2-t4 and t6 is reduced compared to
phases t1 and t5. Again, though having a different flight path,
craft 60 has an acceptable and controlled mean state of flight in
a general direction 12. Hybrid and compound flight scenarios are
also possible, including over calm or rough water surfaces. For
instance, if the system is hopping in a non-flat water surface, it
may be beneficial to perform dips at other locations than the wave
crests.
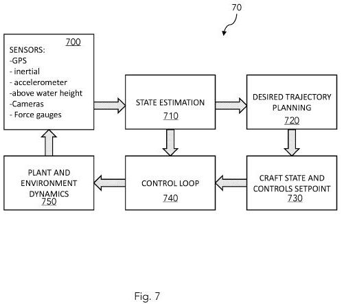
[0066] Fig. 7 illustrates a control method 70 for achieving stable
flight of a craft as described herein. Generally, the control
method includes receiving sensor signals, e.g.,
GPS/location/speed, sonar height, or other camera sensor signals
and/or force gauges at step 700. State estimation (i.e. fusion of
sensory information to infer/improve some or all but not reduced
to the estimates/belief of: the craft's position, attitude,
velocity and angular velocity, hydrodynamic force and/or moment on
the hydrofoil, water surface altitude, craft height above water,
water velocity, wind field, etc. For instance, in the example
control law the water speed is assumed to be 0, h which is
directly related to vehicle height above water is computed by
fusing GPS, static pressure, accelerometer and sonar information,
and the vehicle's speed is estimated by filtering GPS information)
is performed at step 710. A high-level, long term desired craft
trajectory is generated at step 720 by the trajectory planner
(e.g., running at a 1 to 10 sec rate, although this could be
slower or faster), for instance based on a preset desired height
and flight direction, or the result of an online trajectory
generation, for instance the result of an optimization algorithm
balancing rewards from mission objective accomplishments, safety
requirements in terms of, for instance, minimum height and/or
maximum g-force, etc.). The trajectory planning method outputs a
desired state and controls command (for instance, desired vehicle
attitude and short-term desired position, along with desired lift
distribution on the airborne and waterborne lifting surfaces step
730. A control loop process (for instance faster than the planning
algorithm, perhaps running at a 50 to 500Hz rate), such as that
exemplified previously for the hydrofoil but which one skilled in
the art may design for the aerial control surfaces 740 is carried
out in real-time to achieve the desired flight. The physical craft
and environment (plant) evolve according to their respective
equations of motion 750.
[0067] Fig. 8A illustrates a flying craft 80 with a
downward-extending hydrofoil 840 which is controllable in
real-time to achieve some or all of the above characteristics. In
particular, physical sensors such as the described position,
speed, flight height, or force sensors (e.g., hydrofoil strain
sensors) are used individually or together in any combination to
control a rotation 842 of hydrofoil 840 to obtain the needed
flight dynamics and lift/drag forces on craft 80. The example of
Fig. 8 includes a craft body 800 and a conventional tail 830 and
wings 810. However, as explained above, other suitable aerodynamic
designs may be employed just as well, including with additional
canards, ailerons, and so on. The embodiment of Fig. 8 has been
demonstrated by the present inventor to have useful flight
dynamics without the use of a vertical aerial sail.
[0068] Fig. 8B illustrates a side (port) view of flying craft 80
with water-piercing and real-time controllable hydrofoil 840,
which can be flown at a height, a, above an air-water interface
15. As stated herein, the craft 80 may maintain a steady distance
from a reference point thereon to the surface of the water 15, or
the craft 80 may rise and fall above the surface 15 in a given
flight mode of operation, especially where the surface 15 is wavy.
[0069] Fig. 9A shows a time lapse illustrating a mode of operation
of flying craft 80 over the surface of a body of water according
to an embodiment. In this top view, craft 80 travels generally to
the left and is shown at successive times t7, t2, t5 (which is the
same configuration as in time t7). Craft 80 has a controlled
water-piercing hydrofoil as described before, which dips into the
water below and rises from the water at various times during
flight. At time t7, the main functions of the craft's lifting
surfaces are to counteract gravity with airborne lifting surfaces,
and provide upwind force with the hydrofoil; at time t2, the main
functions of the craft's lifting surfaces are to counteract
gravity, and generate a generally forward and downwind; at
optional time t3, the craft's wings 810 are in a generally
vertical (flying at a 90-degree roll) configuration such that main
function of the craft's lifting surfaces is to generate a
generally forward and downwind force; at time t4, the craft is in
a similar dynamic as it was at time t2; and at time t5 the craft
is in a similar dynamic as it was at time t7.
[0070] Fig. 9B shows the time lapse of Fig. 9A from a side
(windward) view. We see that controlled hydrofoil 840 pierces the
surface of the air-water interface 15 at least at times t7 (and
t5) so that craft 80 goes upwards and downwards in elevation above
surface 15 while rolling through the phases of its flight. It can
be seen that the embodiments described in Figs. 8A, 8B, 9A and 9B
the craft 80 may be flown so that its wings function to provide
the lift and drag forces previously associated with wings 1 10 and
sail 120 of Figs. 1 A, 1 B and 1 C, by timed and controlled
rotation of the craft's control surfaces with respect to the plane
of the air-water interface (i.e., a direction defined by Earth's
gravitational force). Those skilled in the art would appreciate
that hybrid modes of operation of such craft can also be achieved,
whether such operation is a steady state or cyclic or aperiodic
state of operation.
[0071] In the foregoing specification, the invention has been
described with reference to specific embodiments. However, one of
ordinary skill in the art appreciates that various modifications
and changes can be made without departing from the scope of the
disclosure and embodiments described herein. Accordingly, the
specification and figures are to be regarded in an illustrative
rather than a restrictive sense, and all such modifications are
intended to be included within the scope of this disclosure.