http://www.nutri-tech.com.au/downloads/product_information_sheets/Energy%20Devices/PCSM%20-%20Phil%20Callahan%20Soil%20Meter.pdf
http://www.nutri-tech.com.au/products/energy-devices/pcsm.html
PCSM -
Phil Callahan Soil Meter™
Professor Phil Callahan has suggested that paramagnetism
represents "Light from Rocks to the Roots". His PCSM has
effectively lifted an abstract concept into the realms of hard
science.
The revolutionary new PCSM Meter (Paramagnetic Count Soil Meter
or Phil Callahan Soil Meter) offers a new dimension in fertility
monitoring. Developed by Dr Phil Callahan, the meter accurately
measures the paramagnetism of soil and other materials.
Paramagnetism has been termed "The Missing Link" in high
production agriculture.
Benefits
* The PCSM can be used as a general fertility monitor - the
higher the fertility the higher the CGS reading.
* The PCSM can be used to identify paramagnetic inputs for
fertility building.
* This tool can often be used as a problem-solver when soil
tests don't explain poor crop performance.
* The tool can be used to monitor the progress of nutrition
programs.
* Note: A well-balanced, fertile soil will contain good levels
of oxygen.
* Oxygen is a highly paramagnetic gas.
Solid-state organic
maser
US2002125419
A solid-state, paramagnetic-diamagnetic maser for controlling
the amplification and direction of electromagnetic emissions
from a molecular control system, such as insect pheromones. The
solid-state maser includes a paramagnetic layer of, for example,
a mixture of andosite, basalt and granite. The paramagnetic
layer is disposed onto a diamagnetic base. A burlap or hairy
cloth impregnated with the molecular control system is placed
over the paramagnetic layer, such that the paramagnetic energy
amplifies the molecular control system to produce coherent or
semi-coherent electromagnetic emissions. The molecular control
system can be a semiochemical (such as, insect pheromones),
garlic scent, perfume, deodorant, air freshener, similar
molecules, infrared coded emissions from any system that
controls or effects living organisms, and the like. The
solid-state maser of the present invention is an organic and
biodegradable device that is tuned and modulated by existing and
naturally occurring atomospheric frequencies. Moreover the
device provides a highly efficient and effective solution for
pest control and improving plant growth, without having to
exterminate the pests or distribute chemicals that may harm the
environment or increase health risks for humans.
BACKGROUND OF THE INVENTION
[0004] 1. Field of the Invention
[0005] The present invention is directed to a device for
producing maser-like emissions and a method of fabrication. More
particularly, the present invention relates to the stimulation
of maser-like emissions from scents or other molecular control
systems.
[0006] 1.Background Art
[0007] Recent years have imposed major challenges on efforts to
juxtapose effective pest control with sustaining the delicate
balance between humans and nature. Mites, ticks, mosquitos,
flies, other insects, worms, rodents and similar pests are
firmly integrated into the Earth's ecosystem. They interact with
the environment, and thus humans, as they search for food and
shelter. Insects, for example, may be attracted to a number of
naturally occurring phenomena, such as carbon dioxide resident
in a person's breath, the makeup of a person's perspiration or
the surface of the person's skin or hair, the fabric or color of
clothing, scents emitting from personal cleansing products,
lotions, and perfumes, and the like. As a result of an insect's
attraction to these elements, people are naturally annoyed by
pests during the course of a typical day. Additionally, insects
and other pests frequently infect homes, schools, other
buildings, gardens and farms as they continue their quests for
food and shelter.
[0008] To mitigate the harmful effects and nuisance of such
animals, various types of chemicals have been engineered to
repel or kill them. These chemicals include insecticides and
other pesticides to directly control the animals, herbicides or
weed killers to destroy their habitats, and fungicides to
control mold or mildew. Unfortunately, not only do these
chemicals harm or kill animals who perform an integral role in
the Earth's ecosystem, but these deadly poisons and hazardous
chemicals also reap harm on the environment in general.
Pesticides used on farms, for instance, contaminate the fields
as well as underground water supplies. Moreover, pesticides
represent leading contributors to air and water pollution, and
in many cases, infect and poison the food that they are intended
to protect from insects.
[0009] The dangers of pesticides, herbicides, fungicides,
fertilizers and similar hazardous chemicals are well documented.
By contaminating the environment or the food they are intended
to protect, these chemicals can contribute to the development of
a variety of human physiological illnesses. Prolonged exposure
to pesticides has been known to manifest nasal congestion,
headaches, a dry throat, respiratory infections, skin reactions,
nervous system damage, endocrine disorders, increased
sensitivity to other chemicals, and cancer.
[0010] In fact, scientists contend that some of the chemical
compounds used in pesticides cause irreversible harm to human
brain cells or neurons. A recent scientific study has revealed
that individuals exposed to pesticides in the home or garden are
70% more likely to develop Parkinson's Disease than those who
are not exposed. See "Pesticide exposure linked to Parkinson's
disease," Chubb Lucy. (Environmental News Network Inc., May
2000). Because of their smaller bodies and developing nervous
and respiratory systems, children are even more vulnerable to
the harmful effects of pesticides than adults. Yet, schools are
commonly sprayed with herbicides and pesticides to control the
likes of yellow jackets, ants, weeds, fleas, mosquitoes, flies,
cockroaches, ants, wasps, mold, mildew, bacteria and rodents.
[0011] For example, organophosphates embody a commonly used
class of pesticides. This chemical has been discovered to
contribute to heart problems. Another commonly used substance
around schools includes chlorpyifos that can fatally damage a
child's nervous-system if inhaled in large doses. Another
example is synthetic pyrethroids which include cypermethrin, a
possible carcinogen. Diazinon, which is typically used on lawns,
can cause nausea, dizziness, headaches and aching joints, and in
large doses, can damage a child's nervous system. Other illness
attributed to pesticides include childhood leukemia, soft-tissue
sarcomas, brain cancers, asthma and other respiratory problems.
See "Children face danger in the schoolyard grass from
pesticides," Daniella Brower. (Cable News Network, March 2000).
In short, these deadly chemicals destroy the nervous systems of
not only pests but humans as well. Hence, the extended use of
pesticides creates a significant risk to public health.
[0012] As an alternative to chemical-based solutions, some
scientists have revisited the laws of physics to use natural
observations and experimentation to find healthier pest control
methods. Through scientific observations, the inventors have
discovered that insect spines, for example, are indeed real
antenna that have properties comparable to dielectric antenna
(e.g., plastic or polymeric substance). The inventors' research
reveals that an insect's antennae functions similarly to a ten
centimeter (cm) shortwave radar that can be used to smell the
exhaust of electronics. In other words, an insect's antennae
receives and processes electromagnetic radiation vibrating at a
natural frequency signature.
[0013] Thus, by designing an apparatus capable of transmitting
electromagnetic radiation within a desired frequency range, one
can attract or repel insects and other pests. This concept is
explored in commonly assigned U.S. Pat. No. 5,424,551 to
Callahan, issued Jun. 13, 1995, and entitled "Frequency Emitter
for Control of Insects" (hereinafter referred to as "the '551
patent"), and commonly assigned U.S. Pat. No. 5,528,049, issued
Jun. 18, 1996, and entitled "Frequency Emitter for Control of
Insects" (hereinafter referred to as "the '049 patent"). The
disclosure of the '551 patent and the '049 patent is
incorporated herein by reference as though set forth in its
entirety.
[0014] The system described in the '551 patent utilizes natural
or copied scatter surfaces, dielectric spine forms
(representing, for example, an insect's sensilla), correct
pumping radiations, and correct vibratory modulating frequency
to generate coherent or semi-coherent frequencies to control or
attract insects. The coherent or semi-coherent frequencies can
act as either attractant radiation (e.g., trapping) or frequency
quenching radiation (e.g., jamming). Similarly, the system of
the '049 patent uses pumping radiation and either molecular
vibratory modulation or a scatter surface to generate coherent
or semi-coherent radiation frequencies to control or attract
insects.
[0015] The inventors' research shows that the systems of the
'551 patent or '049 patent work very well over short distances,
but experiences power loss and becomes less efficient over
larger ranges. Experiments by the inventors reveal that the trap
of the '551 patent attracted moths over a four inch distance.
This device functions as a flowing model that works very well
over very short distances, but is inefficient because of power
loss between the elements. The spacing between the components of
the device are far apart, so a considerable amount of power is
lost from component to component.
[0016] Consequently, a system and method are needed to solve the
above-identified problems and provide an efficient solution for
controlling insects and other pests in a manner that reduces
pollution and medical risks.
BRIEF SUMMARY OF THE INVENTION
[0017] The system and method of present invention overcome the
problems of inefficient gaseous, pest control systems with
minimum output by providing a paramagnetic-diamagnetic system as
an efficient solid-state maser system that works over long
distances. Moreover, the maser system is capable of controlling
the amplification and direction of electromagnetic emissions
from any molecular control system, such as a semiochemical
(e.g., insect pheromones), garlic scent, perfume, deodorant, air
freshener, similar molecules, infrared coded emissions from any
system that controls or effects living organisms (such as,
drugs, pharmaceuticals, etc.), and the like.
[0018] In an embodiment of the present invention, the maser
system includes a layer of paramagnetic material. The
paramagnetic layer can include any combination of andosite,
basalt, granite, polyester film and other paramagnetic materials
having a level of paramagnetism ranging from 1 to 14,000
centimeter-gram-seconds (cgs).
[0019] The paramagnetic layer is typically deposited onto a
diamagnetic base that provides a housing or structural support
for the maser system. The diamagnetic base can be composed of
quartz, wood, plant fibers, leather, plastic, and other
diamagnetic materials having a level of diamagnetism ranging
from -1 to -4,000 cgs.
[0020] In an embodiment, a burlap or hairy cloth is soaked or
impregnated with the molecular control system, and placed over
the paramagnetic layer. The paramagnetic energy amplifies the
molecular control system to produce coherent or semi-coherent
electromagnetic emissions at a desired frequency, phase and
direction.
[0021] In an embodiment, the electromagnetic emissions are
modulated or tuned to the surrounding environment. The Callahan
frequencies are used to modulate the solid-state maser system.
The size of the maser system can also be adjusted to tune the
maser system to match the resonant, paramagnetic atmospheric
frequencies.
[0022] A feature of the present invention is that it provides an
organic and biodegradable device for pest control. Furthermore,
the device is designed to be tuned and modulated by existing and
naturally occurring atmospheric frequencies.
[0023] An advantage of the present invention is that it provides
a highly efficient and effective solution for maintaining pest
populations below desired threshold levels and protecting food
supplies without killing the animals, depleting the ozone layer
or endangering the health of children and adults, alike.
BRIEF DESCRIPTION OF THE
DRAWINGS/FIGURES
[0024] The accompanying drawings, which are incorporated herein
and form part of the specification, illustrate the present
invention and, together with the description, further serve to
explain the principles of the invention and to enable a person
skilled in the pertinent art to make and use the invention. In
the drawings, like reference numbers indicate identical or
functionally similar elements. Additionally, the leftmost
digit(s) of a reference number identifies the drawing in which
the reference number first appears.
[0025] FIG. 1A illustrates a
cross-sectional view, taken along a line 1-1 of FIG. 1B, of an
paramagnetic-diamagnetic maser according to an embodiment of
the present invention.
[0026] FIG. 1B illustrates a
perspective view of the paramagnetic-diamagnetic maser of FIG.
1A.
[0027] FIG. 2 illustrates a flat
plate configuration of a paramagnetic-diamagnetic maser
according to an embodiment of the present invention.
[0028] FIG. 3 illustrates a loop
configuration of a paramagnetic-diamagnetic maser according to
an embodiment of the present invention.
[0029] FIG. 4 illustrates a loop
configuration of a paramagnetic-diamagnetic maser according to
another embodiment of the present invention.
[0030] FIG. 5 illustrates a rod
configuration of a paramagnetic-diamagnetic maser according to
an embodiment of the present invention.
DETAILED DESCRIPTION OF THE
INVENTION
Table of Contents
[0031] I. Overview
[0032] II. System Architecture
[0033] III. Paramagnetic-Diamagnetic Maser Performance
[0034] IV. Conclusion
[0035] I. Overview
[0036] Throughout history, farmers have been known to distribute
ground-up paramagnetic rock in their fields to revitalize the
soil and stimulate plant or crop growth. Paramagnetic rock
generally directs and amplifies organic energy in a single
direction. The organic energy actually converges like a beam as
it passes through a medium, such as the ground or air. Hence,
this paramagnetic force functions as a magnetic modulator and
stimulant for plant growth and increased agricultural output. As
will be demonstrated below, the present invention is a
paramagnetic-diamagnetic system that can be used to grow plants,
as well as provide an organic, biodegradable solution for pest
control without polluting the environment or increasing medical
risks, and the like.
[0037] The paramagnetic-diamagnetic system of the present
invention is a solid-state maser that is configurable to control
the amplification and direction of electromagnetic waves over a
wide band of frequencies, primarily in the radio, microwave and
infrared spectrum, but including all regions of the frequency
spectrum. More specifically, the system of the present invention
controls the amplification and direction of electromagnetic
radiation that is emitted from a molecular control system, such
as a semiochemical, garlic scent, perfume, deodorant, air
freshener, similar molecules, infrared coded emissions from any
system that controls or effects living organisms (such as,
drugs, pharmaceuticals, etc.), and the like. A semiochemical
includes any secretory substance, such as insects pheromones,
that regulates behavior in members of the same species.
[0038] A molecular control system (also referred to herein as
"the control molecule") contains ions whose energy levels can be
shifted by a magnetic field. According to the present invention,
the magnetic field is supplied by a paramagnetic force. In
response to the application of the paramagnetic force, the
molecular control system, in essence, can be modulated to
amplify a desired frequency. This is accomplished by using a
paramagnetic photon to induce the excited atom or molecule to
shift energy states and, thereby, emit a photon of the same
frequency as the paramagnetic photon. The emitted photon would
also travel in the same direction and in phase with the
paramagnetic photon. The amplitudes of the waves produced by the
emitted and paramagnetic photons are aggregated to produce the
amplification.
[0039] II. System Architecture
[0040] FIG. 1A and FIG. 1B illustrate a paramagnetic-diamagnetic
maser 100 according to an embodiment of the present invention.
As shown, FIG. 1B illustrates a top-down view of maser 100 and
FIG. 1A illustrates a cross-sectional view taken along line 1-1
of FIG. 1B. Maser 100 is a central, conical radar dish type
configuration that is tuned to the atmosphere. The components of
maser 100 includes a diamagnetic base 120, paramagnetic layer
130 and cloth 140.
[0041] Diamagnetic base 120 provides a housing or structural
support for the other components of maser 100. In an embodiment,
diamagnetic base 120 is composed of quartz (e.g., sand).
However, diamagnetic base 120 can be any type of diamagnetic
material that is weakly repelled by the application of an
external magnetic field. Such material includes, but is not
limited to, wood, plant fibers, leather, plastic, and the like.
In a preferred embodiment, the diamagnetism of diamagnetic base
120 ranges from -1 to -4,000 centimeter-gram-seconds (cgs). A
tree, for example, typically averages -300 cgs. Most naturally
occurring diamagnetic materials approximates -3,000 cgs.
[0042] Paramagnetic layer 130 is deposed over diamagnetic base
120. In an embodiment, paramagnetic layer 130 is a mixture of
paramagnetic rock, including andosite, basalt, granite, and the
like. In another embodiment, paramagnetic layer 130 is magnetic
tape, which is generally a polyester film (such as, a Mylar(R)
film available from DuPont) that is coated with a thin layer of
plastic containing tiny permanent magnets. Paramagnetic layer
130 can include other types of paramagnetic material that are
weakly pulled towards an applied external magnetic field.
[0043] In an embodiment, an adhesive composition is mixed with
the paramagnetic material to produce paramagnetic layer 130. The
adhesive composition can be any combination of materials that
manifest the creation of a plastic-like insulation between
paramagnetic layer 130 and diamagnetic base 120. The adhesive
composition can include a combination of water and alcohol, but
should not include solvents, such as, gasoline, methylene,
ethylene, propylene and the like.
[0044] In an preferred embodiment, the dielectric constant for
paramagnetic layer 130 ranges from 2.23 to 3.39 at 1,000 Hz. The
dielectric constant is the ratio of the susceptibility or
propensity for paramagnetic layer 130 to be magnetized in an
external field to the susceptibility of a vacuum or free space.
However, the dielectric constant can be approximated as the
square of the refractive index of paramagnetic layer 130 (e.g.,
1.5<2>). In a preferred embodiment, the paramagnetism
ranges from 1 to 14,000 cgs. At levels exceeding 14,000 cgs,
system performance starts to degrade. In an embodiment, ten cm
of magnetic tape having ten cgs of paramagnetism works
effectively.
[0045] Maser 100 also includes cloth 140, which is a burlap,
hairy or other cloth soaked in the desired control molecule.
Cloth 140 is preferably, but not necessarily, a photonic ionic
cloth radio amplifier (PICRA) as described in commonly assigned
U.S. Pat. No. 5,247,933, issued Sep. 28, 1993 to Philip S.
Callahan and Harry Kornberg, and entitled "Photonic Ionic Cloth
Radio Amplifier" (hereinafter referred to as "the '933 patent").
The disclosure of the '933 patent is incorporated herein by
reference as though set forth in its entirety. As described in
the '933 patent, PICRA is a burlap or other unbleached hairy
cloth that directs molecules from the burlap threads into the
atmosphere (or free space). As described in the '933 patent, the
conductivity of cloth 140 can be increased by soaking cloth 140
in a saline solution for approximately one to six hours and then
air dried until it is slightly damp. The saline solution
preferably consists of an isotonic aqueous solution containing a
borate buffer system and sodium chloride, preserved with 0.1% of
sorbic acid and disodium (e.g., EDTA). Alternatively, four
tablespoons of sea salt per half pint of water with the same
borate buffer described above can be used. However if cloth 140
is very damp or completely dry, cloth 140 may not be as
conductive. Nonetheless for the present invention, cloth 140 is
not required to be conductive since maser 100 is not operated by
a battery or electrical power source, and thus, cloth 140 can be
completely dry.
[0046] Similarly, saline or sea water can be used to make
paramagnetic layer 130 more conductive, but, once again, it is
not required since the maser 100 does not require a battery or
electrical power source. Nonetheless, the strength and longevity
of a signal emitted from maser 100 can be increased by dampening
cloth 140, paramagnetic layer 130, or both with water.
[0047] The control molecule is impregnated or soaked into the
fibers of cloth 140. Alternatively, the control molecule can be
placed into the paramagnetic-adhesive mixture of paramagnetic
layer 130. Irrespectively, cloth 140 is disposed over
paramagnetic layer 130 as shown in FIG. 1A. In a preferred
embodiment, cloth 140 (impregnated with the control molecule)
and paramagnetic layer 130 are both allowed to harden for at
least twenty-four hours, prior to positioning cloth 140 over
paramagnetic layer 130. An adhesive composition can be used to
ensure that cloth 140 adheres to paramagnetic layer 130.
[0048] In an embodiment, electromagnetic emissions from maser
100 are varied or modulated by the 156.26 or 506.81 Hz
atmospheric scatter frequencies (also referred to as the
Callahan frequencies). These electromagnetic waves (i.e., the
Callahan frequencies) are Cannabas scatter waves of the
atmosphere and can be found, all over the world, penetrating
both atmosphere and earth with little or no absorption. The
Cannabas scatter waves are spaced by 156.26 Hz. However, 506.8
Hz has been determined by the inventors to be a natural harmonic
of the 156.26 scatter frequency. Other harmonic frequencies of
156.26 can also be used. Thus, the emissions from maser 100 can
be naturally modulated because the Callahan frequencies exists
freely in nature.
[0049] In an embodiment, the electromagnetic emissions from
maser 100 are tuned by applying or loading 3.2 cm or 10 cm high
atmospheric, or cosmic, frequencies to the system. The 3.2 cm
high waves are also found all over the world. They reflect from
the ground, including sand or rock, and can be directed or
amplified like a laser. The surrounding atmosphere is typically
composed of oxygen which tends to be paramagnetic and
self-modulating. One can easily observe that an oxygen-based
atmosphere alters the frequency of visible electromagnetic
radiation to produce a scattering or twinkling effect. This
phenomenon can be evidenced by observing the twinkling of lights
and distance stars. Thus, to improve the performance of maser
100, the electromagnetic waves radiating from maser 100 must be
tuned to match the paramagnetic frequency of the surrounding
atmosphere to reduce scatter or the twinkling effect. The
resonant, paramagnetic frequency for oxygen is 3.2 cm high.
Therefore, maser 100 is tuned to the atmosphere (i.e., 3.2 cm
resonant air (i.e., oxygen) atmospheric region).
[0050] In an embodiment, maser 100 ranges between 1 to 6,
preferably 1 to 2, wavelengths in diameter. This range enables
maser 100 to match its emissions to the antenna emissions of the
insect to be controlled. The inventors have discovered that a
half or quarter wavelength in diameter is not sufficient for
matching the insect's antennae. As well-known, the amplitude of
a signal can be measured by the equation A=D/[lambda]0, where D
represents the diameter of the signal emitter and [lambda]0 is
the free space wavelength. In a preferred embodiment, the
amplitude of the signal from maser 100 should be 1 or 2
wavelengths. In other words, for a loading frequency of 3.2 cm
in an oxygen-based atmosphere, the diameter of diamagnetic base
120 should be 3.2 cm for 1 wavelength (i.e., A=3.2/3.2) or 6.4
cm for 2 wavelengths.(i.e., A=6.4/3.2). Thus, the dimensions of
maser 100, namely diamagnetic base 120, must be adjusted
according to the resonant, atmospheric frequency (i.e., oxygen).
[0051] FIG. 2 illustrates flat plate type configuration of maser
100 according to an embodiment of the present invention. In this
embodiment, diamagnetic base 220 is a flat surface formed in the
shape of a polygon, as shown, or any other geometric shape.
Diamagnetic base 220 provides structural support for
paramagnetic layer 130. Cloth 140 is soaked in the control
molecule and positioned over paramagnetic layer 130. An adhesive
250 can be applied to seal diamagnetic base 220 to paramagnetic
layer 130. However, adhesive 250 is optional. Adhesive 250 can
be any adhesive composition, as discussed in reference to FIG.
1A.
[0052] FIG. 3 illustrates a loop configuration similar to the
embodiment shown in FIG. 1A. However, in this embodiment, cloth
140 is positioned in the center of diamagnetic base 120, and
disposed directly onto diamagnetic base 120. Paramagnetic layer
130 surrounds cloth 140. An adhesive composition can be used to
secure cloth 140 and paramagnetic layer 130 to diamagnetic base
120, but it is not required. As shown, a portion of diamagnetic
base 120 forms a divider to separate paramagnetic layer 130 from
cloth 140. However, the divider is optional.
[0053] In one embodiment, diamagnetic base 120 of FIG. 3 is red
and, in a second embodiment, diamagnetic base 120 is blue. The
inventors have discovered that a blue pumping color tends to
attracts more insects. However, ants have a propensity to be
more attractive to a red pumping color. Therefore, the color of
maser 100, namely diamagnetic base 120, provides pumping
radiation that improves the effectiveness of maser 100 to
attract insects.
[0054] FIG. 4 illustrates another configuration of maser 100
that does not include cloth 140. In this embodiment,
paramagnetic layer 130 is impregnated with the control molecule.
Diamagnetic base 120 supports paramagnetic layer 130, but along
the side wall of diamagnetic base 120 is a layer of dielectric
spines 450, such as a spined plastic, velcro, and the like.
Dielectric spines 450, thus, surround paramagnetic layer 130,
and can be secured to diamagnetic base 120 by using an adhesive
composition or other conventional methodologies for attaching
components (including, but not limited to, brazing, soldering,
welding, and the like) as would be apparent to one skilled in
the relevant art(s). Alternatively, dielectric spines 450 need
not be secured to diamagnetic base 120.
[0055] In this embodiment, photons of energy radiate from the
control molecules or paramagnetic layer 130, and flow across
dielectric spines 450. Spine collisions are formed by the spaces
between the individual spines of dielectric spines 450 and the
aligned control molecules. As the photons flow across the
individual spines and through the spine collisions, the spine
output (i.e., amount of radiation amplified by dielectric spines
450) is increased.
[0056] FIG. 5 illustrates an elongated rod configuration of
maser 100 according to an embodiment of the present invention.
In this embodiment, diamagnetic base 120 has a cylindrical
shape. Cloth 140 lines the inner surfaces of diamagnetic base
120, and is soaked with the control molecule. Cloth 140 wraps
around the base of a diamagnetic tube 560 that protrudes from
the center of maser 100. In an embodiment, diamagnetic tube 560
is a plastic material. Diamagnetic tube 560 is filled with a
paramagnetic material (not shown) similar to paramagnetic layer
130 described in reference to FIG. 1A. Also included is a lid
540 that fits over cloth 140 and can be fastened to diamagnetic
base 120. A plurality of vent holes 580 are drilled into lid
540. Diamagnetic tube 560 extends through a tiny opening 570 in
the center of lid 540.
[0057] The control molecules (e.g., scent) flows out of
diamagnetic lid 540 along the paramagnetic material-filled
diamagnetic tube 560 where the electromagnetic waves from the
control molecules are trapped and highly amplified. The
inventors have discovered that diamagnetic tube 560 functions as
an antenna that continues to emit frequencies even after all of
the control molecules (e.g., scent) have been dispersed. This is
attributed to the monolayer of oriented molecules fixed on
diamagnetic tube 560. When maser 100 is amplifying the signal
from a scent molecule, the embodiment shown in FIG. 5 appears to
be better suited for flying insects as opposed to ants or
cockroaches. To attract mosquitoes, maser 100 should use a
larger, black diamagnetic tube 560 filled with mosquito
attractant and rock. The system should be modulated at a
flickering rate (ELF) of 78.15 Hz harmonic and 156.26 Hz to
attract the mosquito. It should be noted that 78.15 Hz is an
echo or harmonic of the 156.26 Hz Callahan frequency.
[0058] III.
Paramagnetic-Diamagnetic Maser Performance
[0059] As known to those skilled in the relevant art(s) when
electronic components are closer together, zero aperture will
occur. In a conventional radar system, zero aperture reduces the
spreading of the radar beam so that, at the point of emission,
the path length is shortened and produces phase conjugation.
Thus, the system would be able to achieve almost complete
spatial coherence.
[0060] As illustrated, maser 100 provides a solid-state system.
In comparison with the system of the '551 patent or the '049
patent, the solid-state design of the present invention creates
zero antenna aperture. The phase conjugation provided by this
design improves performance, and increases power because the
components are closer together and generate minimal loss or
scatter. In other words, there is no spread of the maser beam,
so that at the point of emission (i.e., zero aperture), the path
length is so short (i.e., no spread) that phase conjugation, and
complete spatial coherence can be achieved.
[0061] The system of the '551 patent uses paramagnetic (e.g.,
oxygen), diamagnetic (e.g., nitrogen) and contained scent in the
form of a gas (e.g., atmosphere). The solid-state system of the
present invention incorporates all the physical parameters of
the gaseous system of the '551 patent, except, as in the case of
any solid-state system, the paramagnetic-diamagnetic modulation
is by a solid-state material (e.g., rock) which is substituted
for the gas flowing air mixture. This allows a hairy cloth
(e.g., simulating, for example, insect sensilla), or red-colored
pumping radiation, to be incorporated directly into the
paramagnetic-diamagnetic system without the necessity of flowing
it. It also allows a reduction in size and form so that the
three cm antenna dimensions can be matched to the three cm
resonance of the surrounding air (e.g., oxygen). Therefore,
unlike the system of the '551 patent, the system of the present
invention is an efficient, solid-state maser system capable of
working over longer distances.
[0062] It is possible that the desired frequency is not the only
frequency emitted from maser 100. However, the emission of other
frequencies is irrelevant to the effectiveness of the present
invention. Nor is it relevant whether a few molecules (e.g.,
insect pheromones) can defuse through air spaces within
diamagnetic base 120. In fact, if a few molecules escape through
diamagnetic base 120, maser 100 functions as a more efficient
device for, for example, attracting or repelling insects,
because not only does maser 100 emit the desired frequency, but
the escaped semiochemicals also produce emissions to lure or
repel the insect in the general area. It is the inventors'
belief that moths, and insects in general, are attracted or
repelled by the electromagnetic radiation from pheromones, and
not necessarily the pheromones, themselves. Therefore, the
device of the present invention is primarily a frequency emitter
that functions like a radar. With respect to pest control, the
device of the present invention is configurable to increase the
strength and longevity of a molecular control system (e.g.,
semiochemical and the like) that can be used to attract or repel
the target pest.
[0063] Accordingly, the system and method of the present
invention provide a highly efficient and effective solution for
maintaining pest populations below desired threshold levels and
protecting food supplies, without the use of hazardous
pesticides. Moreover since the present invention promotes an
cleaner technological alternative to pesticides, pests can be
controlled without having to exterminate the animals, utilize
ozone depleting or other environmentally harmful chemicals, or
utilize pesticides that may endanger the health of children and
adults, alike.
[0064] IV. Conclusion
[0065] While various embodiments of the present invention have
been described above, it should be understood that they have
been presented by way of example, and not limitation. It will be
apparent to persons skilled in the relevant art(s) that various
changes in form and detail can be made therein without departing
from the spirit and scope of the invention. Thus, the present
invention should not be limited by any of the above described
exemplary embodiments, but should be defined only in accordance
with the following claims and their equivalents.
A
FREQUENCY EMITTER FOR CONTROL OF INSECTS
WO9628749
An apparatus (5) and method for controlling insects utilizes a
light pump (60) and vibrator motor (40) to generate coherent or
semi-coherent radiation frequencies to control or attract the
insects. The light pump (60) and a scatter surface (20) generate
the coherent or the semi-coherent radiation frequencies to
control or attract the insects.
Background of the Invention
Field of the Invention
The present invention relates generally to an apparatus and
method for controlling or attracting insects and, more
particularly, to an apparatus and method for providing a scatter
surface and pumping radiation to generate coherent or
semi-coherent radiation frequencies to control or attract
insects.
Discussion of Related Art
Insects such as fleas, mosquitos, moths, etc. are undesirable
because they are bothersome, destroy property, and often pose
health risks. Devices and methods for trapping, killing, and
disposing of insects are well known in the art. These devices
and methods have taken many forms and include, for example, fly
paper, electric insect killers that kill by electrocution, and
chemical pesticides. Conventional devices and methods have many
shortcomings. For example, fly paper and electric insect killers
are both ineffective at attracting insects, and as such, are
only marginally effective (approximately 5-10%) for eliminating
insects within a given area. Chemical pesticides are dangerous
to both the human population and the environment as a whole.
Further, chemical pesticides are also ineffective at attracting
insects.
It has long been known that insects are attracted to specific
molecules of sex and host plant attractants. For example, Dr.
Philip S. Callahan (hereinafter
Applicant) demonstrated conclusively in 1957 that night flying
moths are not attracted to visible light but rather to the
infrared scatter frequencies from scents of plants in the air
stimulated by the visible light from a low intensity light
source. Callahan, "Oviposition Response to the Imago of the Corn
Earworm Heliothis Zea (Boddie), to Various Wave Lengths of
Light," Annals of the Entomological Society of America, Vol. 50,
No. 5, September 1957.
A summary of scatter radiation can be found in Fabelinskii,
Molecular Scattering of Light, translated by Robert T. Beyer,
Department of Physics,
Brown University, Plenum Press, New York, 1968.
In a series of articles in the mid 1960's, Applicant
demonstrated that the antennae of insects act as photonic, open
resonator waveguides to collect and transmit infrared
frequencies. See Callahan, "A High Frequency Dielectric
Waveguide on the Antenna of Night-Flying Moths (Saturnidae),"
Applied Optics, Vol. 7, page 1425, August 1963; Callahan,
"Intermediate and Far
Infrared Sensing of Nocturnal Insects, Part II, The Compound Eye
of the Corn Earworm, Heliothis zea, and Other Moths as a Mosaic
Opticelectromagnetic Thermal Radiometer," Annals of the
Entomological Society of America, Volume 58, Number 5, pp.
746-756, September 1965; and
Callahan, "Insect Molecular Bioelectronics:A Theoretical and
Experimental Study of Insect Sensillae as Tubular Waveguides,
with Particular Emphasis on
Their Dielectric and Thermoelectric Properties," Miscellaneous
Publications of the Entomological Society of America, Volume 5,
Number 7, page 315-347,
June 1967.
In 1968, Applicant demonstrated the attractance of the mosquito
Aedes aegypti to human vapor pumped by near infrared radiation
in a totally dark environment. See Mangum et al., "Attractance
of Near-Infrared Radiation to Aedes aegypti, " Journal of
Economic Entomology, Volume 61, Number 1, pp.36-37, February
1968. This work with insect antennas is described in detail in
Callahan, "Insect Antenna with Special Reference to the
Mechanism of
Scent Detection and the Evolution of the Sensilla," Int. J.
Insect Morphol. & Embryol, 4(5):381-430 (1975).
In 1977, Applicant demonstrated that attractance of night flying
moths to candles is not due to the insect's eye and the
candlelight, but is instead due to the insect's dielectric
antenna and candle water-vapor infrared emissions to which the
insect's antenna is tuned. See Philip S. Callahan, "Moth and
candle: the candle flame as a sexual mimic of the coded infrared
wavelengths from a moth sex scent (pheromone)", Applied Optics,
Vol. 16, page 3089,
December 1977, and Philip S. Callahan, "Trapping modulation of
the far infrared (17 - tcm region) emission from the cabbage
looper moth pheromone (sex cent)," Applied Optics, Vol 16, page
3098, December 1977.
For certain insect species, specific attractants (such as
"pheromones," which are insect produced volatile compounds) have
been chemically identified and synthesized. The isolation of sex
and host plant attractant molecules has progressed steadily over
the past few decades. Attractants have been utilized in various
conventional traps but with poor results since these traps
dissipate all of their (pheromone) scent in the air and in only
a few days are useless.
In U.S. Patent No. 3,997,785 to Callahan, which is incorporated
by reference herein, Applicant described a system for vibrating
a gold coated needle in a molecular scent vapor contained in an
enclosed chamber in order to stimulate and emit narrow band
maser-like energy from an infrared transmitting window for
control of insects. This system, although providing advantages
over other conventional solutions, was frequently ineffective
because it failed to produce maser-like frequencies that closely
mimicked the frequencies produced by the insect being
controlled.
There is therefore a need for a device and method that can
attract and/or control insects within a specified region, is
harmless to the human population, and is relatively inexpensive
and easy to operate.
Summary of the Invention
The present invention overcomes the problems with conventional
solutions by utilizing natural (copied) scatter surfaces,
natural vibratory modulating frequency, and associated pumping
radiation to generate coherent or semicoherent radiation
frequencies to control or attract insects. Thus, the present
invention applies to the control of all insects in nature; such
control acting either as an attractant radiation (e.g., for
trapping) or a frequency quenching (i.e., jamming) radiation for
insects.
The present invention provides a method and apparatus for
emitting natural millimeter, infrared, visual, UV or UV-X-ray
frequencies for control of insects. Control may involve
attracting the insects or repelling them.
Attractance is achieved by emitting attractance frequencies of
the insect to be controlled. Repulsion is achieved by emitting
quenching (or jamming) frequencies timed to the photon
communication system of the insect, or by emitting out of phase
frequencies that interfere with the molecular communication
systems of the insects.
These many functions and frequencies are realized with the use
of a specially designed frequency (wavelength) emitter which
utilizes the natural semiochemicals of a particular insect, and
the dielectric scatter surface of the particular insect, to
mimic the coded wavelength utilized by the organism in its day
to day reproductive and food searching behavior.
The semiochemical or other behavioral molecules are confined in
a closed chamber with a window that allows coherent or
semi-coherent maser-like radiation frequencies to be emitted. In
the center of the chamber is a plate having an etched scatter
surface copied from the antenna, thorax, wing or leg of the
insect. The plate with the scatter surface is mounted
perpendicular to the edge of the window within the chamber. An
adjustable grating is also provided to focus the maser-like
radiation frequencies for emission through the window. The
adjustable grating has a predetermined number of grooves to
match the antenna dimensions (dielectric waveguide open
resonator) of the appropriate insect.The scatter surface is at a
right angle to the adjustable grating and mounted on a vibrating
rod with a control to allow the scatter surface to be vibrated
in the extremely low frequency range (i.e., between 1 Hz and 800
Hz depending on the insect). The semiochemicals are circulated
over the vibrating scatter surface creating coherent or
semi-coherent narrow band high intensity maser-like emissions
that are emitted to the environment through the window. The
coherent or semi-coherent maser-like emissions are used to
control, attract, or jam the natural frequencies of insects.
Alternatively, the present invention provides a method and
apparatus for emitting photonic waves which emulate natural
waves which either attract or repel insects as desired.
Emulation is accomplished through the use of a power source, a
gas discharge tube, and a scatter surface soaked in an
appropriate attractant. In operation, the gas discharge tube is
excited by the power supply which results in gas discharge
emissions. The scatter surface is mounted adjacent to the gas
tube such that the energy resulting from the gas tube discharge
is directed onto the scatter surface. This may be accomplished
by mounting a cylindrical scatter surface above the gas tube.
Attractant molecules attached to (or near) the scatter surface
are thereby excited by the discharge energy, and begin to
oscillate.When sufficient discharge energy is absorbed, the
oscillation produces a photonic wave (or emission). The photonic
wave is, in turn, received by the dielectric waveguide(s) of an
insect (i.e., the insect's antenna). By varying the discharge
energy, the scatter surface, and/or the attractant, the present
invention may be "tuned" to achieve effective performance with a
wide range of insects.
The energy output from the gas discharge tube may be varied in
any of several ways. The gas used to fill the tube may be varied
to achieve energy output over a desired spectral range. The
energy provided by the power source, used to discharge the gas
tube, may be varied both in terms of frequency (i.e., charging
rate) and/or amplitude. In addition, the surface of the gas tube
may be treated to limit discharge emissions to any desired
spectral range.
The scatter surface may also be varied in a number of ways.
First, the physical shape of the scatter surface may be varied
to enhance ease of construction of the present invention. Next,
the spatial relationship of the scatter surface with respect to
the gas tube may also be varied to permit direction of the
photonic waves in a desired direction. Different substances may
be used to construct the scatter surface, resulting in differing
degrees of attractant absorption and/or vibration freedom for
absorbed attractant molecules.
Brief Description of the Figures
The foregoing and other features and advantages of the invention
will be apparent from the following and more particular
description of the preferred embodiment of the invention, as
illustrated in the accompanying Figures, in which:
Figure 1 is an illustration of a
preferred embodiment of a coherent scatter and group wave
soliton waveguide, surface enhanced emitter constructed in
accordance with the present invention;
Figure 2(a) through 2(f) are
photographs showing examples of various scatter surfaces found
on the antenna, thorax, and legs of insects;
Figure 3 is an example of the
scatter surface of the antenna of the cabbage looper moth
Trichoplusia ni;
Figure 4 is a spectrum of the
cabbage looper moth (Trichoplusia ni) pheromone;
Figure 5 illustrates a spectrum
scattered off the surface of oats, rice and peas in a small
container with their surfaces orientated so that the
spectrophotometer beam is illuminated on a flat plane of the
outer surfaces of the seeds;
Figures 6 illustrates spectrum of
formaldehyde flowing across a 3600A Blacklight UV bulb;
Figure 7 is a spectrum of the well
known CO2 rotation line at 14.9 um;
Figure 8 is a spectrum of a group
soliton atmospheric ELF wave;
Figure 9 is an illustration of a
preferred embodiment of a coherent scatter waveguide
constructed in accordance with the present invention;
Figure 10 is a photomicrograph of a
fiberous cardboard multiplicative array utilized as a scatter
surface in a preferred embodiment of the present invention;;
Figure 11 is an illustration of a
preferred embodiment of a coherent scatter waveguide
constructed in accordance with the present invention;
Figure 12 is an illustration of a
preferred embodiment of a coherent scatter waveguide
constructed in accordance with the present invention; and
Figure 13 is an illustration of a
preferred embodiment of a coherent scatter waveguide
constructed in accordance with the present invention.
Detailed Description of Preferred
Embodiments
I. Operational Overview of a first
embodiment
Figure 1 illustrates a preferred embodiment of the present
invention. The present invention comprises a frequency emitter 5
which provides a coherent scatter and group soliton waveguide,
surface enhanced emitter for control of insects. This is
accomplished by emitting attractance frequencies or conversely
by emitting quenching (jamming) frequencies timed to the photon
communication system of the insect. These functions are carried
out by frequency emitter 5 which utilizes natural semiochemicals
of a particular insect and the insect's natural dielectric
scatter surface to mimic the coded wavelength utilized by the
insect in its day to day reproductive and food searching
behavior.
In this document, the term "semiochemicals" is taken to mean any
molecule from an insect which naturally emits communication
photons. The term control" is taken to mean the attractance of
an insect to a confined area where it can be eliminated (e.g.,
by electrocution or insecticides) or the repulsion of the insect
away from a specified geographic area.
Frequency emitter 5 comprises a chamber 10, a scatter surface
20, an adjustable grating 30, a vibrator/rotor motor 40, an air
pump 50, a light pump 60, and an infrared window 70. A
functional and operational description of these components is
given below. In brief, the frequency emitter 5 generates narrow
band high intensity maser-like emissions from semiochemicals
contained within chamber 10. The semiochemicals are circulated
through the chamber over the scatter surface 20. The pump flow
rate (i.e., the rate the semiochemicals are circulated (in a
closed system) over scatter surface 20) is set to match wind
speeds that stimulate insects to search and respond to the
semiochemicals. Scatter surface 20 is vibrated at an appropriate
modulation frequency (typically in the extremely low frequency
range).By circulating the semiochemicals over vibrating scatter
surface 20, maser-like emissions that emulate the natural
frequencies generated by an insect can be generated and emitted
through window 70 into the environment.
A. Structural Description of the
Present Invention
Referring again to Figure 1, chamber 10 can be any shape, such
as a cube, globe, or a parabolic structure. However, the
preferred embodiment is a cube measuring approximately 4 cm by
10 cm by 15 cm. In the preferred embodiment, chamber 10 is
constructed of metal, plastic, or glass. However, any solid
material can be used to construct the chamber 10. Chamber 10 has
two holes 54, 55 formed on opposing sides for in and out air
flow, respectively.
Chamber 10 is filled with semiochemical molecules or other
behavioral molecules, such as pheromones or host plant scent
molecules. Chamber 10 is sealed so that the semiochemical (i.e.,
attractant or quenching) molecules or other behavioral (e.g.,
scent) molecules can be circulated in a continuous fashion
across scatter surface 20. In other words, the frequency emitter
5 is a closed system.
Placed in the center of the chamber 10 is a plate 15 having a
scatter surface 20 etched therein. Plate 15 is made from metal
or plastic. A micrometer tilt mechanism 85 is provided for
adjusting the position of the scatter surface 20 in order to
focus or fine tune the narrow band high intensity maser-like
emissions (produced by circulating the natural semiochemicals
across the natural scatter surface) through the window 70. In a
preferred embodiment, scatter surface 20 is adjustable in all
directions (e.g., vertically, horizontally, rotationally,
pivotally, etc.).
The scatter surface is modeled, for example, after the antenna,
thorax, wing or leg scatter surfaces found on all species of
insects.
Present day etching technology has reached a state where
micrometer dielectric or metal coated forms can be fabricated as
scatter surfaces and amplifiers for short wave radiation in the
millimeter, microwave, infrared (IR), visible and ultra violet
(UV) region of the spectrum. Such miniature open resonator
dielectric amplify us or surface enhanced scatter configurations
are now being produced and are described in Jewell et al.,
"Microlasers," Scientific American, November 1991, Scherer et
al., "Lasing in Submicron Wide Vertical Cavity Microlasers,"
Optics and Photonics News, December 1991, Grossman et al.,
"Lithographic spiral antennas at short wavelengths," Appl. Phy.
Lett., Vol 59, No. 25, December 1991, and John, "Localization of
Light," Physics Today, May 1991, which are all incorporated by
reference herein in their entirety.
Modern solid state physics is beginning to demonstrate enhanced
sensitivity and high amplification of frequencies utilizing
array "dots." Such dots are microscopic scatter three
dimensional antenna arrays fabricated and etched by holographic
lithography onto transistor surfaces. Such etching leaves
3dimensional landscapes that "trap" and amplify frequencies. See
Heitmann et al., "The Spectroscopy of Quantum Arrays," Physics
Today, June 1993.
Insects, for example, have been using such 3-dimensional
surfaces for frequency amplification for millions of years.
The technique of atom-probe ion microscopy demonstrates that the
imaging of gas atoms that lie above the surface atoms and occupy
the more protruding sites are analogous to scatter surfaces of
organisms. Such a surface has a rough texture with many tiny
projections, or aspirates. A rough surface is not good for
imaging, however, unless it is designed with special edges or
grooves (such as on an insect) to "focus" the atomic energies.
Insects do not have rough surfaces but designed surfaces that
enhance frequencies by oscillating surface segregation.
Photographs of ions taken with a field ion microscope show
soliton target waves in gases such as helium. Such soliton
target waves are common at low energies from the atmosphere. See
Tien Tsong, "Atom-Probe Field Ion Microscopy," Physics Today,
May 1993. A soliton wave is a varying wave riding another wave.
Typical types of scatter surfaces for insects are listed in
Table 1. Figures 2(a) through 2(f) are photographs showing
examples of some of the scatter surfaces listed in Table 1.
Table 1
Table of Natural Surfaces
1. reticulated (springtails)
2. grooved or ridged (june beetles)
3. brush form (house flies)
4. ridged, cone form (cabbage looper moth)
5. circular group, peg form (aphids (Mvxuces Dersicae))
6. saw tooth form (witch moth (Erebrus))
7. comb peg form (honeybee)
8. multiple spike form (bird grasshopper)
9. rock crystal form (scale insects) 10. leaf shaped spike form
(mosquitoes) 11. knobbed (aphids (Mvzus Dersicae)) 12. corn ear
surface (tiger moth) 13. small knobbed surface (corn earworm
moth) 14. large knobbed surface (Diptera sp.) 15. reticulated
knobbed surface (Diptera sp.) 16. air scoop surface (fall
armyworm moth) 17. vibrating hair surface (soldier fly) 18.
helical corrugated surface (cabbage looper moth) 19. pine cone
surface (Neochetina eichoriniae) 20. shingled (Brucifidae sp.)
21. ridged uplifted shingled (Hvdrophvchidae sp.) 22. irregular
reticulated (springtails) 23. pit and hill form (ants) 24.
elongated reticulated (springtails) 25. loops (Hessian fly)
Figure 2(A) shows a reticulated surface (#1, Table 1). Figure
2(B) shows a grooved or ridged (corrugated) surface (#2, Table
1). Figure 2(C) shows a ridged, cone form surface as found in
the cabbage looper moth (#4, Table 1).
Figure 2(D) shows a leaf shaped spike form surface (#10,
Table 1). Figure 2(E) shows a corn ear surface (#12, Table 1).
Figure 2(F) shows a shingled surface (#20, Table 1). All of
these surfaces can be etched into plate 20 using present day
micro-etching technology.
The airtight chamber 10 has a special millimeter, infrared,
visible, ultra violet, or X-ray window 70 formed therein. Window
70 is used for emission of the scatter coherent radiation (i.e.,
maser-like emissions) generated by circulating semiochemicals
across scatter surface 20 and grating 30 (described below). In a
preferred embodiment window 70 is constructed using a Krs 5
infrared window.
The adjustable grating 30 is constructed with the proper number
of grooves to generally match the natural dimension of the
dielectric scatter antenna or sensilla (spines) of the organism
being controlled. The adjustable grating should be gold plated
for high reflectance in the visible and infrared region of the
light spectrum. For example, the adjustable grating 30 is
constructed with 20 groves/mm for cockroaches or 300-600
grooves/mm for small ticks or white flies. A list of typical
grating dimensions for different insects is shown in TABLE 2.
TABLE 2 SPECIFICATIONS WITH
AVAILABLE GRATINGS
EMI14.1
Cockroach Moth
Moth Mosquito
Tick White Gnat
Fly
Grating 20
75 150 300
600 1200
(groovesimni)
Wavelength from:
185nm
185nm
185nm 185nm
185nm 185nm
Operating
Range to: 72
m 19.2 m
9.6 m 4.8 m 2.4
m 1.2 m
Adjustable grating 30 is positioned on the side of chamber 10
opposite to window 70. A micrometer tilt mechanism 90 is
provided for adjusting the position of grating 30 in order to
focus or fine tune the narrow band high intensity maser-like
emission through window 70.
In a preferred embodiment of the present invention, the
positions of both scatter surface 20 and grating 30 are
adjustable (e.g., sideways and up and down) so that they can be
positioned to stimulate (and/or focus) natural maserlike
emissions. The maser-like emissions are reflected from scatter
surface 20 to grating 30. The maser-like emissions are then in
turn reflected through window 70. These coherent or
semi-coherent maser-like emissions are used to control a
specific type of insect in the environment outside frequency
emitter 5.
Note, that in a preferred embodiment, after the micrometer
adjustments have been made to scatter surface 20 and grating 30
to correspond to a particular insect (e.g. cabbage looper moth),
these adjustments can be permanently fixed. Thus, frequency
emitter 5 with the semiochemicals contained within (e.g.,
Z-7-dodecene-1-ol acetate pheromone for the cabbage looper moth)
can be placed on site without any further adjustments necessary.
The etched scatter surface 20 is mounted on a vibrating rod 80
perpendicular to the edge of window 70 and at a right angle to
grating 30. Vibrating rod 80 is connected to a vibrator/rotor
motor 40. Vibrating rod 80 is designed to allow the scatter
surface tilt rod 85 to be positioned to screw forward and press
against the plate 15. This configuration assures that small
angle variations can be made in the surface alignment of scatter
surface 20 in relation to grating 30. Once again, grating 30 can
also been adjusted using the micrometer tilt mechanism 90.
Vibrator/rotor motor 50 comprises two elements: A low frequency
oscillator and a rotor motor (described below). The low
frequency oscillator can be controlled to vibrate rod 80 between
1 Hz and 800 Hz (depending on the insect being controlled).
Table 3 gives a list of frequency ranges that may be used to
control specific insect groups.
Table 3
EMI16.1
Insect Group Frequency Range
in cycles per second (CPS)
Saturnid moths
(Saturniidae) 8-16
Butterflies (Rhopalocera)
8-21
Ants (Formicoidea) 12-20
Dragonflies (Anisoptera)
20-28
Sphingid moths
(Sphingidae) 2645
Noctuid moths
(Noctuidae) 35-55
Crane flies
(Tipulidae) 44-73
Lady beetles
(Coccinellaidae) 80-85
Horse flies
(Tabanidae) 96-100
Yellow jackets
(Vespidae) 110-115
March flies
(Bibionidae) 126-140
Bumble bees
(Apinae) 130-140
Fruit flies
(Tephritidae) 150-250
Honey bees
(Apinae) 185-190
Mosquitoes (Culicidae)
160-500
Air circulating pump 50 is provided to allow the semiochemical
or other attractant or quenching molecules to be circulated
across the vibrating scatter surface. Note that the chamber 10
is initially filled with the semiochemical or other attractant
or quenching molecules before turning on the air circulating
pump 50. The air flow is adjusted so that it mimics the air flow
to which insects respond. That is, semiochemicals blowing at
certain speeds through the air stimulate insects to search and
respond to the chemicals. Thus, the semiochemical molecular flow
is adjusted to match the natural air flow of airborne molecules
that stimulate insects. In a preferred embodiment, the air flows
from the top edge of scatter surface 20 to air pump 50 via
opening 55, and is returned to chamber 10 through opening 54.
A light pump 60 is mounted directly above scatter surface 20.
Light pump 60 can be any infrared, blue, ultra violet or
UV-X-ray light source. An ultra violet (3600 A) light source is
used in a preferred embodiment. Light pump 60 allows low
intensity pumping radiation (DC) to be directed across scatter
surface 20. Light pump 60 can be constructed in a number of
different ways, such as: (1) DC filament source placed behind a
filter (e.g., a color filter, infrared filter, UV filter etc.);
(2) a light emitting diode of proper frequency (e.g.,
millimeter, infrared, light, UV or UV-X-ray); (3) a flickering
light source (1 to 800 or more Hz) in which case the scatter
surface 20 can be adjusted to synchronize with the flicker of
the light pump 60; or (4) an etched grating light source which
reflects a defined frequency from its surface and across scatter
surface 20.
If the present invention is used to control insects in a large
area, yard, field etc., frequency emitter 5 can be rotated 360"
around a vertical axis using vibrator/rotor motor 40. This
allows frequency emitter 5 to sweep the emitted radiation from
window 70 across the large area. The rotation is accomplished
simultaneously with the vibration. Given this configuration, the
present invention is particularly adaptable to be used in a
storage grain elevator, for example. Note that the frequency
emitter 5 does not need a rotor motor to operate correctly. To
operate correctly only a low frequency oscillator is required.
B. Tuning the Frequency Emitter 5
Described below are a number of physical-chemical parameters
involved in tuning frequency emitter 5 for a particular insect
(e.g., cabbage looper moth).
In order for the frequency emitter 5 to operate effectively one
or more of these parameters may be involved. For example, the
wrong temperature or the wrong concentration of the
semiochemical may shift the emission out of "tune" diminishing
the benefits of the present invention.
Temperature affects the wavelength of the maser-like emissions
emitted from frequency emitter 5. As such, changing the
temperature within the frequency emitter 5 can increase or
decrease the performance of the present invention.
Generally, the frequency emitter should be operated between 30
to 120 F.
Higher temperatures produce longer wavelengths and lower
temperatures produce shorter wavelengths in the maser-like
emissions.
A higher concentration of semiochemicals produces longer
wavelengths and a lower concentration of semiochemicals produces
shorter wavelengths in the maser-like emissions.
Modulating the scatter surface at different frequencies can
change the harmonics of the maser-like emissions. A higher
modulating frequency results in the harmonics being farther
apart, while a lower modulating frequency results in the
harmonics being closer together.
Experiments in the field have demonstrated that semiochemicals
blowing at certain speeds through the air stimulate insects to
search and respond to the chemicals. If the velocity (measured
in miles per hour (MPH)) is too low or too high the molecules do
not collide and vibrate with the insects scatter surface at the
frequency to which the insect naturally responds. The efficiency
of frequency emitter 5 can therefore be increased by changing
the flowrate that the semiochemicals are circulated through
chamber 10.
Experiments have shown that efficiency has increased by changing
the flowrate from 0.1 to 0.8 MPH.
Insects fly at different times of night and day. Since the
environmental radiation (pumping radiation) often changes due to
overcast or haze etc., the color and intensity of light may
change from good to bad or vice versa. By changing the
wavelength of the pumping radiation (i.e., changing the type of
light pump 60) the amplitude of the maser-like emissions can
also be altered to correspond to a particular insect.
It is important that the circulating molecules be of the correct
degree of freedom (i.e., not to close together or to far apart)
to assure coherent emission at vibrating scatter surface 20. The
emissions should be directed at a right angle against grating 30
and reflected out of window 70. Nitrogen may be added to the
molecular semiochemical (by experimentation) in order to provide
a carrier for the emitting molecules and to obtain the correct
degrees of freedom in the diluted vapor.
As seen from above, fine tuning the frequency emitter 5 can be a
challenging process which includes experimentation within the
natural environment of the insect. Along with the above
techniques, Table 4 provides a number of other factors that
should be considered when operating the present invention.
Table 4 1. Efficiency can be increased by applying an electret
effect (plus and minus charge). The electret effect can be
obtained from a purchased
teflon electret, or made by placing a teflon sheet between two
plates at 2000 volts and slightly heating the sheet. An electret
effect orients
molecules. If the molecules form a single layer it is referred
to as a "monolayer effect." 3. Semiochemical concentration
increase can broaden the frequency line.
4. Adding (CH)2" in the semiochemical chain can produce a shift
in the frequency line.
5. Frequency emissions not only occur in large windows (2, 5, 7,
to 14 Um), but also in micro (e.g., narrow) windows between the
water
rotation absorption bands. However, the frequency emissions will
be quenched if they coincide with the water rotation absorption
bands.
6. Doping by adding extra (CH)2n or (CH)3n shift or quenches
frequencies.
7. Doping with minute amounts of ammonia (NH)3 can increase
efficiency (i.e., the ammonia acts as a catalytic agent).
8. Medium to weak primary wavelength sidebands are typically
associated with strong emissions. Adjusting the wavelength of
the sidebands can
oftentimes produce better results. For example, an insect might
be more inclined to be tuned into the stronger wavelengths of
the sidebands.
The teachings of the present invention can also be extended to a
photonic waveguide integrated diode circuit having etched
scatter surface contained therein. The diode can be used to
control insects since present day technology makes it feasible
to reduce this entire scatter biological control chamber to a
single emitting diode.
C. Examples
As shown in Figures 3 through 14, emissions from insect
semiochemicals (pheromone, plant seed, formaldehyde and CO2,
respectively) can be stimulated to emit narrow band maser-like
signature frequencies by blowing them across a natural scatter
surface. These semiochemicals are modulated with the same
frequencies that the insect vibrates its antenna, as shown in
Table 3. Given below are a few examples of the type of insects
that can be controlled with the present invention.
1. Trichoplusiani
Figure 3 is an example of the scatter surface of the antenna of
the cabbage looper moth Trichoplusia ni. The sensilla (pheromone
sensors) dielectric waveguide spines can be seen protruding
between the ridged cones of the scatter surface. The dielectric
waveguide sensilla (spines) themselves have corrugated scatter
surfaces. To control the cabbage looper moth, scatter surface 20
would be modeled after this surface.
Figure 4 is a spectrum of the cabbage looper moth pheromone
Z-7-dodecene1-ol acetate. Chamber 10 is filled with this
semiochemical molecule and pumped by blue light via light pump
60. Since 55 Hz is the antenna vibration frequency of the
cabbage looper moth, scatter surface 20 located within chamber
10 is vibrated at this frequency. A 17 llm water vapor
microwindow is used. Water vapor (e.g., 2A, 3B, 4A, 5C, etc.)
and pheromone emission lines 410 and 420 are designated.
Pheromone emissions 410 and 420 frequencies shift from 570 ,tm
to 565 m over a 15 minute period, respectively, due to
deliberate heating in chamber .10 (i.e., temperature tuning).
Concentration tuning is also evident by changing the amount of
the pheromone.
2. Plodia interpunctella
The Indian Meal moth (Plodia interpunctella) destroys millions
of dollars of stored grain each year all over the world.
Typically gains include oats, rice, and peas. Figure 5 is a
spectrum scattered off the surface of the seeds of oats, rice
and peas in a small container with their surfaces orientated so
that a spectrophotometer beam illuminated the flat plane of the
outer surfaces of the seeds. The scent outgassing from the
surface of each group of plant seeds shows a group of narrowband
coded emissions (like a bar code). These nonlinear maser-like
emissions represent acoustic Stokes Brilliouin and Raman scatter
from the outgassing plant scents. In order to control the Indian
Meal moth, chamber 10 is filled with one of the semiochemicals
shown in Figure 5.
Scatter surface 20 is modeled after the antenna surface of the
Indian Meal moth (shown in Figure 2F), and modulated at 30 Hz
(i.e., the modulation frequency of the antenna of the Indian
Meal Moth) to produce narrow band maser-like emissions. These
emissions emitted through window 70 can be used to control (and
consequently eliminate within a given area) the Indian
Meal moth.
3. Plecice nearctia
Figure 6 is a spectrum of formaldehyde flowing across a 3600A
Blacklight UV bulb. Formaldehyde is a powerful attractant to the
Love bug (Plecice nearctia), a nuisance insect that is attracted
to highways by the aldehydes in exhaust fumes.
Spectrum A is a scan with the formaldehyde modulated at 130 Hz
(i.e., the antenna vibration frequency of the lovebug antenna).
Spectrum B is formaldehyde also modulated at 130 Hz but with the
vapor blowing at high speed (10 mph) across the interferometer
infrared beam. The pumping radiation is still 3600A UV. The
Rayleigh center scatter line which is narrowband (maser-like) at
380cm becomes a group wave with a Gaussian distribution at fast
air speeds. Such group waves can be utilized to amplify or
quench the organisms semiochemical communication systems.
4. Mosquitoes
Figure 7 is a spectrum of the well known CO2 rotation line at
14.9 ym. This line can be stimulated to emit very strongly the
vibration frequency of many species of mosquitoes, stable, and
horse flies by modulating it at 210 Hz.
Emission is stimulated by a slight nitrogen purge, a gentle
breeze, and the 210 Hz modulated frequency. Addition of a trace
of lactic acid causes slight amplification and more signals to
emerge in this region. Many insects that attack animals are
attracted to CO2-lactic acid. The pumping radiation is near
infrared in the 1 & 2 ym region.
D. Detection of Emissions of
Frequency Emitter 5
The frequency and or harmonics emitted from frequency emitter 5
may be detected by a high resolution Fourier analysis
interferometer spectrophometer (not shown). In a preferred
embodiment, the maser-like emissions can be detected by the
apparatus described in a U.S. Patent Application Serial
Number 08/047,486, filed 4/19/93, entitled "Photonic Ionic Cord
Detector of Group Waves," by inventor Philip S. Callahan. The
'486 patent application is hereby incorporated by reference in
its entirety.
Figure 8 is an oscilloscope recording of a group soliton
atmospheric ELF wave useful for modulating molecular scatter
radiation and discovered by the
Applicant on trees and human skin surfaces. Such group soliton
waves are also observed as stimulated emission from insect
semiochemicals attractants (e.g., Fig. 6), and are a part of the
control configuration of such emissions for biological
organisms. That is, the group soliton wave is a universal
frequency that can be used to control insects. Although
experimentation may indicate that other frequencies are more
suited for a particular insect the group soliton wave has been
shown in experiments by Applicant to control a wide range of
insects.
Conversely, frequency emitter 5 can be adapted to emit a
gaussian distributed scatter group wave to quench (jam) an
attractant or unwanted frequency.
II. Operational Overview of Another
Embodiment
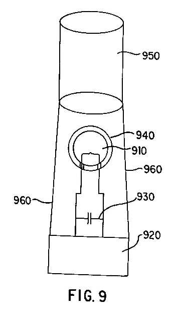
Figure 9 illustrates another embodiment of the present
invention. In this embodiment, the present invention comprises a
discharge gas tube 910, a strobe circuit 920, a condenser 930, a
tube shield 940, a scatter surface 950, and supports 960. In
operation, the discharge from gas tube 910 provides pumping
radiation which is directed onto scatter surface 950. Gas tube
910 may be any radiation or light source capable of producing a
discharge output covering a desired spectral range (i.e., that
portion of environmental radiation spectrum to which the insect
to be controlled is naturally sensitive). Gas tube 910 is
preferably a Radio Shack Xenon Strobe Part No. 61-2506. The gas
contained within gas tube 910 is therefore selected to ensure
that the characteristic pumping frequency of the insect to be
controlled is generated.
Strobe circuit 920 and condenser 930 provide the energy required
to excite gas tube 910, as well as control the duration of each
strobe and the time interval between strobes. Tube shield 940
protects gas tube 910 from shock, and may also be treated to
limit transmission of only selected frequencies (spectral
energies) upon discharge of gas tube 910.
Scatter surface 950 is exposed to semiochemicals or any suitable
attractant or quenchant molecules (hereafter "attractant"), and
provides a medium for excitation of the attractant. Scatter
surface 950 is preferably soaked in attractant, and thereby
retains attractant molecules through adhesive and/or cohesive
bonding forces. By varying the material and/or construction of
scatter surface 950, the present invention may be further tuned
to accommodate various insects. Supports 960 suspend scatter
surface 950 above gas tube 910 so as to permit discharge
radiation to excite attractant molecules on (or near) scatter
surface 950. Power for strobe circuit 920 may be derived from
any suitable power source, including DC batteries contained
within strobe circuit 920, an external DC source (not shown), or
an external AC source (not shown).
A. The Pumping Mechanism
As stated above, the present invention controls insects by
exciting attractant molecules at characteristic frequencies
associated with various insects. The excited molecules, in turn,
emit a maser-like photonic wave which is sensed by nearby
insects and which may have an attractive or a repellant effect
(depending on whether a semiochemical, attractant, or quenchant
is used).
The effectiveness of the present invention therefore derives
directly from the coherency and/or intensity of these maser-like
photonic emissions. By varying different parameters of the
invention, the photonic emissions may be tuned to optimize the
performance of the invention.
Towards this end, several of the parameters that may be varied
are discussed in detail below. First, discharge gas tube 910 is
considered. As shown in
Figure 9, gas tube 910 provides the excitation energy used to
directly excite the attractant molecules. By controlling the
spectral output of gas tube 910, excitation of the attractant
molecules may be increased within any desired spectral region.
Several methods are preferred for accomplishing this.
First, the gas contained in gas tube 910 may be selected to
provide discharge energy within a particular spectral range. For
example, Xenon gas is ideally suited for attracting mosquitos
because of its strong discharge emission within the frequency
range to which mosquitos are especially sensitive (Near-IR).
In addition, tube shield 940 may be treated to limit the
emissions from the discharge of gas tube 910 to any spectral
range(s) of interest. For example, by coating tube shield 940
with an IR passing filter, the relative intensity of molecular
excitation in the desired IR energy band is increased. In
addition, any flash or glare that may be annoying to humans is
eliminated.
Next, additional variation of the gas discharge excitation
energy may be achieved by varying the intensity and/or pulse
rate of the discharge of gas tube 910. Gas tube 910 is
discharged when the energy stored on condenser 930, supplied
from strobe circuit 920, is sufficient to excite the gas. By
varying the size of condenser 930, the stored energy (which is
ultimately dissipated by the "strobe" of gas tube 910) may be
varied. In addition, the time interval between "strobes" may be
controlled by varying the charge rate of strobe circuit 920.
Experimentation has demonstrated that good results are achieved
when the delay interval between strobe bursts is in the range of
about 1 second to 30 seconds, depending in part on ambient
conditions.As will be immediately recognized by one skilled in
the art, the size of condenser 930 as well as the charging rate
of strobe circuit 920 may be varied to control the strobing of
gas tube 910.
B. The Scatter Surface
Beyond the spectral discharge, the effectiveness of the present
invention is also directly dependent on the construction of the
scatter surface which is used to support generation of the
maser-like photonic waves. Referring again to Figure 9, scatter
surface 950 is shown supported above gas tube 910. While this
orientation is useful to permit convenient orientation of the
constituent parts of the invention, any number of alternative
arrangements are possible.
Figures 11, 12, and 13 represent other preferred arrangements,
which are discussed more fully below. The common requirement
among these preferred arrangements is that the discharge energy
from gas tube 910 is able to interact with the attractant on
and/or around the scatter surface.
In Figure 9, scatter surface 950 is preferably a 1/8 inch thick
cardboard roll, approximately 4 cm in diameter and approximately
8 cm in height. The cardboard roll is soaked in anractant before
it is exposed to the discharge radiation from gas tube 910.
Figure 10, a high magnification closeup of scatter surface 950,
shows the multiplicative array 1010 formed by the cardboard
material. When soaked in attractant and then exposed to
discharge radiation, molecules of the attractant on (and
suspended near) the multiplicative array 1010 are excited and
emit maser-like photonic waves.
The intensity and coherency of these waves, dependent in part on
the discharge radiation, is also influenced by the geometry of
the scatter surface.
Cardboard has been shown to work well, in part because of the
degree of vibrational freedom afforded to attached attractant
molecules as well as due to the porosity of the material (which
can therefore hold many molecules of attractant).
As stated above, other scatter surface configurations may be
employed to vary the coherency and/or intensity of emitted
maser-like photonic waves. Almost any scatter surface
configuration may be utilized, subject to the requirement that
the surface selected be able to support molecules of attractant
with some degree of vibrational freedom. For example, Figure 11
depicts a configuration where gas tube discharge source 910 is
essentially surrounded by the scatter surface 1110. In this
configuration, scatter surface 1110 must be sufficiently porous
to allow the discharge energy from gas tube 910 to excite
attractant molecules on scatter surface 1110. Similarly, Figure
12 depicts a scatter surface 1210 essentially encasing gas tube
910. Like scatter surface 1110, scatter surface 1210 must permit
discharge energy from gas tube 910 to excite attached attractant
molecules.Supports 1220 are used to position scatter surface
1210 near gas tube 910, as detailed above. Referring to Figure
13, a configuration particularly suitable for varying photonic
coherency is presented. Scatter surface 1310 is curved, only
partially surrounding gas tube 910, so as to focus emitted
photonic waves in a desired direction. Supports 1330 are used to
position scatter surface 1310 in any desired orientation.
Furthermore, the radiant surface 1320 of scatter surface 1310
may be covered with velcro, or a similar material. The velcro
"hooks" or "loops" provide both desired attractant retention as
well as vibrational freedom in such a fashion as to align the
molecular vibration of the attractant molecules. A focussing
effect is therefore realized, producing increased intensity and
coherency of the emitted maser-like photonic waves.
C. The Attractant
As stated above, the scatter surface of the present invention
must be soaked in (or treated with) a suitable semiochemical,
attractant or quenchant. The particular solution used depends on
the insect to be controlled. For example, excellent results were
achieved in mosquito attracting tests when the attractant used
was a saline solution which approximated human sweat. A
preferred composition for this saline solution is presented in
Table 5 (below).
Table 5 - Saline Attractant
EMI28.1
Material (Chemical
Symbol) Content (%)
Sodium (Na) 10.7
Chlorine (CI1) 19.7
Bicarbonate (HCO3) 1.4
Magnesium (Mg) 1.2
Potassium (K) 0.4
Calcium (Ca++) 0.4
III. Conclusion
An apparatus has been disclosed for generating coherent or
semi-coherent radiation frequencies to control or attract
insects. While the invention has been particularly shown and
described with reference to preferred embodiments thereof, it
will be understood by those skilled in the art that the
foregoing and other changes in form and details may be made
therein without departing from the spirit and scope of the
invention.
A FREQUENCY EMITTER FOR CONTROL OF INSECTS,
BACTERIA, VIRUS AND OTHER BIOLOGICAL ORGANISMS
WO9508131
The invention overcomes the problems with conventional solutions
by utilizing natural (copied) scatter surfaces (20), dielectric
spine (sensilla) forms, correct pumping radiations (60) and
correct vibratory modulating frequency (40) to generate coherent
or semi-coherent radiation frequencies to control or attract
insects. Such control acting either as an attractant (e.g., for
trapping) radiation or a frequency quenching (i.e., jamming)
radiation for insects.
System and
method for producing highly amplified radio signals for
feedback into the human body
US5449376
The present invention includes an apparatus and method for
generating, duplicating, and transmitting biophotonic radio
frequencies that propagate along the atmospheric boundary layer
of the human skin and the earth's atmosphere. These biophotonic
radio frequencies are applied to a human patient for therapeutic
purposes. This function is realized with the use of a series of
oscillators (i.e., electronic function generators) designed to
produce modulated or unmodulated sine and square wave photons.
The oscillators are further adapted to emit the modulated or
unmodulated sine and square wave photons from a dielectric or
metal antenna built as loops into the walls of a
diamagnetic-paramagnetic chamber. When a person is seated in the
chamber, the photons of energy from the waves generated along
the loop antenna penetrate the human body and provide a variety
of therapeutic benefits. Among these therapeutic benefits are
relief of rheumatic muscular pain, slowing the metabolism,
increasing the efficiency of the immune system, eliminating
certain psychosomatic ailments, and suppressing cancer.
BACKGROUND OF THE INVENTION
1. Field of the Invention
The present invention relates generally to an electronic
photonic method and apparatus for using natural radio
frequencies for therapeutic purposes, and more particularly, a
system and method for generating a highly amplified radio signal
comprising extremely low frequency or very low frequency radio
signals for feedback into the human body for therapeutic
purposes.
2. Discussion of Related Art
The present invention described herein is based on the early
work of Snape, d'Arsonval, Rabinovitch, and Leduc. In
particular, Snape pioneered the use of extremely low radio
frequencies (ELF) as an anesthetic in dental extraction (Snape,
J., On electricity as an anesthetic in dental extractions,
Trans. Odont. Soc. Gr. Brit., pp. 287-312. (1869)).
Subsequently, in 1890, Arsine d'Arsonval demonstrated that ELF
pulsed electrical currents, ranging from 2500 Hz to 10,000 Hz,
induced general anesthesia in humans. Similarly, in 1902, Leduc
demonstrated that a pulsed electrical DC current applied to the
central nervous system could effectively induce anesthesia.
Rabinovitch did extensive work in the area of electric analgesia
sleep and resuscitation (Rabinovitch, L. G., Electric Analgesia
Sleep and Resuscitation Anesthesia (chap. XVI), ed. J. T.
Gwatheny. D. Appleton & Co., New York, pp. 628-643 (1914)).
More recently, Czaja demonstrated that treatment in the ELF
frequency range enhances the immune system (Czaja, W.,
Comparative Studies of Electro-analgesia and Barbiturates,
Polski Archirum Weterynaryjne, pp. 205-224 (1986)).
Between 1965 and 1973 Applicant demonstrated that antennae
sensilla on insects act as photonic waveguides to collect and
transmit infrared frequencies. From this early research,
Applicant postulated that living systems (e.g., insect spines
and plant fibers) also utilize the radio portion of the
frequency spectrum to energize photons from radio and infrared
emitting molecules. The requirement for detecting and or
stimulating infrared and radio emissions from living systems is
the ELF modulation of the organic and gaseous interface located
at the waxy surface of the system. That is, living systems store
coherent photon emissions from the external environment which
become part of the self-organization of the living system. It
has been demonstrated that ELF frequencies in living systems
range from 10@3 Hz in nerve action potentials to 10@-2 Hz for
physiological functions.
Based on these principles, Applicant has determined that radio
waves in the ELF region of the radio spectrum are propagated
along the atmospheric boundary layer of the human skin. ELF in
the range of 800 Hz to 5200 Hz averaging 1000 Hz, with
narrowband 10,000 Hz to 150,000 Hz sideband ELF radio signals
are natural to the skin surface. The 700 Hz to 10,000 Hz region
of the frequency spectrum is the region of so called radio
"whistlers" (i.e. radio signals) from atmospheric lightning
strikes around the world. It is this atmospheric electricity
that modulates the frequencies from the atmospheric boundary
layer of the skin. These modulation frequencies are equivalent
to the 3 Hz to 40 Hz oscillations discovered by W. O. Schumann
stimulated by lightning. These flicker modulations (which are
approximately 3 Hz to 6 Hz) can be observed on an oscilloscope
while measuring the 1000 Hz and 10,000 sidebands present on the
human skin.
In 1952, Schumann calculated the atmospheric cavity resonance
between the earth and ionosphere as being in the low ELF region
(e.g., 1 to 40 Hz). In 1962 H. L. Koening measured these
photonic radio waves and pointed out that some of them fall in
the same region as human EEG frequencies between 0.5 and 3 Hz.
In 1974 M. A. Persinger found ELF field effects on mammals and
persons. A summary of the therapeutic effects of ELF is given in
Ehrmann et al., "Influence of Altering Magnetic Fields
[Frequencies Between 1 and 20 Hz] on Psychosomatic Ailments",
presented at the second Bioclimatological Colloquium (1976).
The above work deals with the effect of radio frequencies on the
diseased body. However, these articles do not consider the
modulation of waves by lower frequencies or the wave form of the
treatment frequencies. Nor do they contemplate a specific
environment for applying radio frequencies to the diseased body
for therapeutic purposes.
BRIEF DESCRIPTION OF THE INVENTION
These and other advances concerning electricity and its effect
upon living systems, as well as the discovery that radio waves
in the ELF region are propagated along the atmospheric boundary
layer of the human skin are utilized by the present invention.
The present invention includes an apparatus and method for
generating the biophotonic radio frequencies that propagate
along the atmospheric boundary layer of the human skin. The
present invention further includes a method and apparatus for
using these radio frequencies for therapeutic purposes. In
addition, exact human-atmospheric, stone, sand, and plant
frequency ranges, their modulation parameters, and their exact
waveforms are elucidated herein.
These functions are realized with the use of a series of
oscillators (i.e., electronic function generators) designed to
produce modulated sine wave and square-like wave photons wave
photons. The oscillators are further adapted to emit the
modulated sine and square wave photons from a dielectric or
metal antenna built as loops into the walls of a
diamagnetic-paramagnetic chamber. When a person is seated in the
chamber, the photons of energy from the waves generated along
the loop antenna penetrate the human body and provide a variety
of therapeutic effects. Among these therapeutic effects are
relief of rheumatic muscular pain, slowing the metabolism,
increasing the efficiency of the immune system, eliminating
certain psychosomatic ailments, and suppressing cancer.
BRIEF DESCRIPTION OF THE DRAWING
AND SPECTRUM
The foregoing and other objects, features and advantages of the
invention will be apparent from tile following more particular
description of the preferred embodiments of the invention, as
illustrated in the accompanying drawings in which:
FIG. 1 (A) shows a front view of a
treatment chamber constructed in accordance with the present
invention.
FIG. 1 (B) shows a top view of the
treatment chamber.
FIGS. 2(A) and 2(B) show a derailed
block diagram of a wave generator constructed in accordance
with the present invention.
FIGS. 3(A) through 3(G) illustrate
eight different exemplary signals that can be produced and
used within the treatment chamber for therapeutic purposes.
FIG. 4 illustrates a soliton group
wave.
DESCRIPTION OF THE PREFERRED
EMBODIMENTS
Radio waves in the Extremely Low Frequency (ELF) and Very Low
Frequency (VLF) region are propagated along the atmospheric
boundary layer of the human or mammalian skin, rock surfaces,
sod (soil), and plants (in particular trees). These radio waves
occur between 0.5 Hz and 20,000 Hz in the Schumann, electrical
anesthesia, and electronic induction portion of the
electromagnetic spectrum. Furthermore, these radio waves
sometimes show narrow 10,000 Hz to 20,000 Hz narrow sidebands
that vary from person to person, plant to plant, etc., due to
the health of the living animal or plant, the time of day, and
the weather conditions. The highest peak of these emissions
occurs at dawn and dusk (i.e. between 0630 to 0930 hrs and from
1830 to 2130 hrs). In other words, these radio waves tend to
increase in amplitude during these peak dawn and dusk times.
FIG. 1(A) shows a front sectional view of a treatment chamber 10
constructed in accordance with the present invention. FIG. 1(B)
shows a top sectional view of the treatment chamber 10. The
treatment chamber 10 is built in a hexagon shape of Navajo hogan
design. The treatment chamber can be built to any dimensions so
long as a human can comfortably sit in the treatment chamber 10
without making contact with the walls of the treatment chamber
10. A recommended size is 8 feet by 8 feet. In a preferred
embodiment, the treatment chamber 10 is made of wooden logs or
architect square logs each of which are approximately six inches
thick. Wood is used because it is an excellent diamagnetic
material (i.e., it is repelled by a magnetic field). In other
words, the treatment chamber 10 is constructed from a material
that helps insulate the patient sitting in the treatment chamber
10 from outside magnetic forces.
The treatment chamber 10 has a roof 20 constructed from corbled
logs and/or wood. The entire treatment chamber 10 is covered
with paramagnetic earth (200 centimeter-grams, per second (cgs)
or above--cgs defined generally as the amount of time one gram
of a material will move towards a magnet placed one centimeter
away). The earth mound is sodded with a living grass. The
treatment chamber 10 could also be covered with bricks instead
of earth so long as the bricks are paramagnetic. In other words,
the treatment chamber can be covered by any material that is
paramagnetic. The floor of the treatment chamber 10 is
constructed from hardened compact clay or earth. The floor is
also covered with a wool carpet 95 since wool does not store a
magnetic charge.
The configuration of the treatment chamber 10 provides a layered
system since the earth covering is paramagnetic and the wood is
diamagnetic. In this document the term paramagnetic is defined
as a material that is susceptible to magnetism. The material
does not store the magnetic force, rather if brought in contact
with a magnet it would be drawn towards it. Diamagnetic is the
opposite. A diamagnetic material is repelled by a magnet.
Diamagnetic materials also do not store a magnetic force.
Experiments by the Applicant in volcanic areas with paramagnetic
soil (e.g., Ireland) and in diamagnetic areas with little or no
soil (e.g., Upper Amazon) have shown that a combination of a
diamagnetic layer (e.g., plant material) and a paramagnetic
layer (e.g., volcanic earth or clay brick) tend to focus or
concentrate the radio waves (describe below) that are introduced
into the treatment chamber 10. It appears that
diamagnetic-paramagnetic layers act as a condenser for storing
and discharging the ELF and VLF energy.
An antenna loop 30 is imbedded in the wall of the treatment
chamber 10. The antenna loop 30 is formed from thin copper wire
or of 1/4 inch hemp rope which has been soaked for one day in a
sea salt solution. Other materials that could be used to
construct the antenna loop would be apparent to a person skilled
in the relevant art.
The antenna loop 30 encircles the treatment chamber 10 within a
diamagnetic fiberboard wall 40. The antenna loop 30 is spaced
with the individual loops one inch apart from floor to ceiling.
The leads from the antenna loop 30 are passed through the
fiberboard wall 40 and connected to a wave generator 50. FIG. 2
shows a block diagram of the wave generator 50. The wave
generator 50 includes an oscillator 55 (oscillator 55 is also
referred to as a function generator), an amplifier 60, an
arbitrary function generator 70, a mixer 80, and a computer 90.
Each of these components will now be described in detail.
The arbitrary function generator 70 is controlled by the
computer 90. The arbitrary function generator 70 is an
instrument which generates periodic waveforms that duplicate
various types of defined mathematical functions. In other words,
the arbitrary function generator 70 is computer programmable to
duplicate any known frequency or waveform. Function generators
are well known in the art, and for the sake of brevity, the
programming and operation of the arbitrary function generator 70
will not be described in detail here. In operation, a user
programs the computer 90 to provide a particular waveform to the
arbitrary function generator 70. The arbitrary function
generator 70 duplicates the waveform provided by the computer 70
and produces waveform S1.
In an alternate embodiment, an antenna 65 is connected directly
to the arbitrary function generator 70. As discussed above,
there are a variety of radio waves that are natural to the
atmosphere. The present invention is based on the theory that
these natural waves, if applied in an amplified form to the
human body, can provide therapeutic benefits. Thus, the antenna
65 can be connected directly to the function generator 70, which
in turn duplicates the exact waveform of the radio waves that
are propagating within the atmosphere. The preferred antenna
used for detecting these natural radio waves can be found in a
patent application filed Apr. 19, 1993, in the name of Dr.
Philip S. Callahan, entitled "Photonic Ionic Cord Detector of
Group Waves" U.S. patent application Ser. No. 08/047,486, which
is hereby incorporated by reference in its entirety.
The arbitrary function generator 70 is connected to the
amplifier 60. Amplifiers are very well known, and for the sake
of brevity a detailed description of the amplifier 60 will not
be given. The amplifier 60 amplifies the waveform S1 produced by
the arbitrary function generator 70. The amplifier 60 produces
amplified waveform S2. The amplifier 60 is connected to the
oscillator 55 which stabilizes the amplified waveform S2. Note
that the amplifier 60 can be connected directly to the antenna
30, but the waveform might not be as stable.
The oscillator 55 is connected to the antenna 30. Thus, the
duplicated amplified waveform is provided to the antenna 30.
These waveforms are transmitted into the treatment chamber 10 by
the antenna 30. It is these waveforms that provide therapeutic
benefits.
The waveform S1 can take many forms, including a sine wave or a
sine wave riding another sine wave. The first signal S1 is
typically a modulated millivolt signal. The modulated millivolt
signal is amplified by the amplifier 60 up to volt ranges.
It has been determined by Applicant that the natural radio waves
that propagate throughout the atmosphere, as well as the natural
waves that propagate along the surface of the human body if
amplified and provided to a diseased body can aid in the
treatment of diseases or medical ailments. Consequently, it is
these natural radio waves that should be duplicated and
generated by the arbitrary function generator 70. Some of these
waveforms are described briefly below.
FIGS. 3(A) through 3(H) illustrate eight different exemplary
waveforms (i.e., radio waves) that can be produced by the
arbitrary function generator 70. All eight radio waves occur
naturally in the atmosphere or along the surface of the human
body. The computer 90 is programmed by a user to generate the
desired waveform. Such programming would be apparent to a person
skilled in the relevant art based on the following description
of exemplary waveforms. As discussed above, this waveform is
duplicated by the arbitrary function generator 70. These signals
are described briefly below.
FIG. 3A illustrates an unmodulated waveform. The unmodulated
waveform can have resonant peaks at 4, 8, 14 or 28 Herts (Hz).
FIG. 3B illustrates a modulated 2,000 Hz sine wave carried on a
4 to 8 Hz sine wave. FIG. 3C illustrates a modulated 100 Hz sine
wave carried on a 4 Hz sine wave. FIG. 3D illustrates a
modulated 600 Hz square wave carried on a 120 Hz sine wave. FIG.
3E illustrates a modulated 8700 Hz sine wave with 20,000 Hz
spikes generated and carried randomly along its fixed frequency.
FIG. 3F illustrates a modulated 600 Hz grounded square wave with
20,000 Hz spikes generated and carried randomly along its fixed
frequency. FIG. 3G illustrates a soliton target or group waves,
of a very specific form, varying between 0.5 Hz and 1000 Hz with
a band gap of between 1 Hz and 10 Hz in the middle as given in
FIG. 4.
A group wave is the sum of many phase waves. For a more derailed
discussion of group waves see Brillouin and Sommerfield, Wave
Propagation and Group Velocity, Academic Press, New York, 1960.
These radio waves have been so named because the varying group
wave frequencies modulate a basic phase Schumann wave. Note that
Schumann waves vary with geographic region. Since a soliton is a
wave riding another wave and the varying group wave between 0.5
Hz to 170 Hz is superimposed (frequency modulates) on the
standard geographical Schumann wave. The soliton is considered
by Applicant to be a special sum group (sometimes called target
waves) of the natural unpolluted atmosphere. (See Allowiz and
Segur, Solitons and Inverse Scattering Transform, Siam
Publishers, Philadelphia, 1981.) The radio group soliton waves
have recently been discovered by Applicant in nature. In a
preferred embodiment, the wave generator 70 is programmed by
computer 90 to duplicate and generate the soliton group wave
(see FIG. 4) since Applicant believes this wave provides the
most beneficial therapeutic effects.
The amplifier 60 may be connected to a plurality of arbitrary
function generators 70 each producing a different waveform S1. A
first switch 65 is provided so that one of the signals S1 or a
mixed signal S3 can be selected and fed into the amplifier 60. A
second switch (not shown) is provided to allow multiple
waveforms S1 to be input into the mixer 80.
The mixer 80 is capable of producing a variety of different
signals that are deviations from the waveforms S1. Note that if
the mixer 80 is used the first switch (not shown) does not
select a waveform S1 from the arbitrary function generators 70.
The mixer 80 emits single or mixtures of the duplicated
waveforms emitted by the arbitrary function generators 70. This
mixed waveform is labeled S3. The emitted waveform S3 from the
mixer 80 is provided to the amplifier 60. Note that the signals
from the arbitrary function generators 70 do not have to pass
through the mixer 80. Rather the signals from the arbitrary
function generator 70 can be, and most frequently are, passed
directly to the amplifier 60.
The treatment chamber 10 should be located at least 1/2 mile
from an AC power source (60 Hz or greater). The wave generator
50 should be DC battery operated.
The preferred means for the patient to absorb the therapeutic
frequencies is to sit in the center of the treatment chamber 10
without contacting the surrounding loop antenna (i.e., without
contacting the surrounding walls of the treatment chamber).
Thus, only the atmospheric-skin boundary frequencies emitted by
the loop antenna 30 are absorbed by the patient. The wave
generator 50 is tuned depending on the specific therapeutic
treatment. The tuning of the wave generator 50 is based on
previously proven wave forms (see Ehrmann cited above), or by
experimentation.
In short, the treatment chamber 10 is imitating nature but in a
more amplified manner. By providing an environment that contains
an atmosphere that is saturated with amplified radio signals
that are natural (i.e., propagate within the earths atmosphere
or along the surface of the human body), the patient can obtain
a significant therapeutic benefit.
An alternate method of using the teachings of the present
invention is to feed the radio waves that are output from the
antenna 30 directly into the human body by grounding the feet
and placing the antenna lead in one hand of the patient.
While the invention has been particularly shown and described
with reference to preferred embodiments thereof, it will be
understood by those skilled in the art that the foregoing and
other changes in form and details may be made therein without
departing from the spirit and scope of the invention.
Photonic
ionic cloth radio amplifier
US5247933
A method and apparatus for detecting radio waves that propagate
along the atmospheric boundary layer of human skin. This
function is realized with the use of a photonic cloth
constructed of flax and wool, soaked in a saline solution and
air dried, and subsequently placed upon the human skin. The
radio waves can then be monitored by connecting the photonic
cloth via a set of probes to an oscilloscope.
BACKGROUND OF THE INVENTION
1. Field of the Invention
The present invention relates generally to a method and
apparatus for detecting the radio frequencies that propagate
along the atmospheric boundary layer of human skin.
2. Discussion of Related Art
The present invention described herein is based on the early
work of Snape, d'Arsonval, Rabinovitch, and Leduc. In
particular, Snape pioneered the use of extremely low radio
frequencies (ELF) as an anesthetic in dental extraction (Snape,
J., On electricity as an anesthetic in dental extractions,
Trans. Odont. Soc. Gr. Brit., pp. 287-312. (1869)).
Subsequently, in 1890, Arsine d'Arsonval demonstrated that ELF
pulsed electrical currents, ranging from 2500 Hz to 10,000 Hz,
induced general anesthesia in humans. Similarly, in 1902, Leduc
demonstrated that a pulsed electrical DC current applied to the
central nervous system could effectively induce anesthesia.
Robinovitch did extensive work in the area of electric analgesia
sleep and resuscitation (Robinovitch, L. G., Electric Analgesia
Sleep and Resuscitation Anesthesia (chap. XVI), ed. J. T.
Gwatheny. D. Appleton & Co., New York, pp. 628-643 (1914)).
More recently, Czaja demonstrated that treatment in the ELF
frequency range enhances the immune system (Czaja, W.,
Comparative Studies of Electroanalgesia and Barbiturates, Polski
Archivum Weterynaryjne, pp. 205-224 (1986)).
Between 1965 and 1973 applicant demonstrated that antennae
sensilla on insects act as photonic waveguides to collect and
transmit infrared frequencies. From this early research,
applicant postulated that living systems (e.g., insect spines
and plant fibers) also utilize the radio portion of the
frequency spectrum to energize photons from radio and infrared
emitting molecules. The requirement for detecting and or
stimulating infrared and radio emissions from living systems is
the ELF modulation of the organic and gaseous interface located
at the waxy surface of the system. That is, living systems store
coherent photon emissions from the external environment which
become part of the self-organization of the living system. It
has been demonstrated that ELF frequencies in living systems
range from 10@3 Hz in nerve action potentials to 10@-2 Hz for
physiological functions.
From this prior research, applicant has determined that radio
waves in the ELF region of the radio spectrum are propagated
along the atmospheric boundary layer of the human skin. ELF in
the range of 800 Hz to 5200 Hz averaging 1000 Hz, with
narrowband 10,000 Hz to 150,000 Hz sideband ELF radio signals
are natural to the skin surface. The 700 Hz to 10,000 Hz region
of the frequency spectrum is the region of so called radio
"whistlers" (i.e. radio signals) from atmospheric lightning
strikes around the world. It is this atmospheric electricity
that modulates the frequencies from the atmospheric boundary
layer of the skin. These modulation frequencies are equivalent
to the 3 Hz to 10 Hz oscillations discovered by Schumann
stimulated by lightning. These flicker modulations (which are
approximately 3 Hz to 6 Hz) can be observed on an oscilloscope
while measuring the 1000 Hz and 10,000 sidebands present on the
human skin.
FIGS. 1, 2 and 3 of the appended drawings are readings of an
oscilloscope showing the radio signals in the 700 Hz to 10,000
Hz portion of the ELF radio spectrum that are emitted from
normal, healthy human skin. These signals were detected by
touching the oscilloscope probe to the photonic ionic cloth
radio amplifier and touching the face of a cathode ray tube with
the hand. A battery (DC) operated 222 Tekronix hand held digital
storage oscilloscope and capacitance coupling, with no AC
interference, was used for detecting these frequencies in this
manner. At a 5 mV range and a 1 mS sweep time the amplitude
ranges from 1/2 mV (weak signal) to 30 Mv (strong signal).
The oscilloscope sweep shown in FIG. 1 has approximately two
main 1000 Hz frequencies (between approximately 800-1200 Hz),
shown at C1 and D1, which are 180 DEG out of phase and occur
exactly 8.4 Ms apart. At high amplitudes the two main broad band
frequencies generate a series of narrow sidebands of
approximately 10,000 Hz, shown in FIG. 1 between A1 and B1. The
10,000 Hz sidebands are emitted when the two main 1000 Hz
frequencies reach an amplitude of 15 Mv or higher. As shown in
FIG. 2, there may be as few as one sideband, as shown at A2, to
as many as fifteen sidebands. At extremely high amplitudes there
is a main band frequency splitting. As few as one sideband to as
many as eight sidebands emit from the region of the 1000 Hz
signal under such high amplitude conditions. FIG. 3 shows an
example of an oscilloscope sweep at an extremely high amplitude,
having two sidebands, shown at A3 and B3.
BRIEF DESCRIPTION OF THE INVENTION
These and other advances concerning electricity and its effect
upon living systems, as well as the discovery that radio waves
in the ELF region are propagated along the atmospheric boundary
layer of the human skin are utilized by the present invention.
The present invention includes a method and apparatus for
detecting the radio frequencies that propagate along the
atmospheric boundary layer of the human skin. This function is
realized with the use of a photonic cloth constructed of flax
and wool which is soaked in a saline solution and air dried, and
subsequently placed upon the human skin. When the photonic cloth
is placed in contact with the skin it has an electroanesthesic
effect on the body.
BRIEF DESCRIPTION OF THE DRAWING
AND SPECTRUM
The foregoing and other objects, features and advantages of the
invention will be apparent from the following more particular
description of the preferred embodiments of the invention, as
illustrated in the accompanying drawings in which:
FIG. 1 is an oscilloscope recording
showing the ELF radio signals that are emitted from normal
human skin;
FIG. 2 is an oscilloscope recording
showing the potential for ELF radio frequencies to have a
single sideband;
FIG. 3 is an oscilloscope recording
showing the potential for ELF radio frequencies at extremely
high amplitudes to have a single sideband.
FIG. 4 is a perspective diagram of
a woven photonic cloth of the present invention;
FIG. 5 is an oscilloscope recording
taken from a piece of woven photonic cloth soaked in saline
solution;
FIG. 6 is a magnification of the
recording shown in FIG. 5;
FIG. 7 is a magnification of the
recording shown in FIG. 6 showing the details of the first
1000 Hz frequency;
FIG. 8 is a magnification of the
recording shown in FIG. 6 showing the details of the second
1000 Hz frequency;
FIG. 9 is an oscilloscope recording
taken from a 6 inch by 15 inch woven photonic cloth with the
right hand of a lab assistant held approximately one foot from
the cloth and the left thumb capacitance coupled to an
oscilloscope;
FIG. 10 is an oscilloscope
recording taken from a 2 inch by 6 inch knitted photonic cloth
with the left hand of a lab assistant touching the cloth and
the right thumb capacitance coupled to the oscilloscope;
DESCRIPTION OF THE PREFERRED EMBODIMENTS
As shown in FIGS. 1, 2 and 3, radio waves in the ELF region are
propagated along the atmospheric boundary layer of the human
skin. In particular, 1000 Hz (between approximately 800 Hz to
5200 Hz) and narrowband 10,000 Hz to 150,000 Hz sideband ELF
radio signals are natural to the surface of the skin of the
human body. The narrow sidebands vary from person to person
(e.g., due to the health of the person), time of day and weather
conditions, although the 1000 Hz and 10,000 Hz sidebands are
continuously emitted from the skin's atmospheric boundary layer.
The highest peak of these emissions occurs at dawn and dusk
(i.e. between 0630 to 0930 hrs and from 1830 to 2130 hrs). The
1000 Hz and 10,000 Hz sideband frequencies can be detected, and
amplified, by the photonic ionic cloth of the present invention.
Referring to FIG. 4, one embodiment of the photonic cloth of the
present invention is shown generally at 400. Photonic cloth 400
is constructed as a plain weave, comprising warp yarns 405 made
of flax and weft or filling yarns 410 made of wool. Each warp
yarn is a single yarn, while each filling yarn consists of three
smaller yarns combined to form a single yarn. The flax used to
form yarns 405 is natural and untreated (i.e., Linum
usitatissimum). Similarly, weft yarns 410 should be made from
natural, untreated wool. Thus, both the flax and wool should be
unblended and unwashed so that the lanolin remains in the wool,
and the waxy outer layer remains on the flax. The natural flax
acts as a dielectric waveguide (i.e. it is photonic) due to its
waxy characteristics. Although one yarn of flax is sufficient as
warp yarns 405, experiments have shown that two or more yarns in
combination will also detect and generate the 1000 Hz and 10,000
Hz sideband frequencies.
The photonic cloth can be any size. However, in the preferred
embodiment of the present invention, cloth 400 is approximately
two inch by six inch to six inch by fifteen inch. In the
alternative, the cloth could be woven as a belt approximately
three inch by forty-eight inch long.
In addition to weaving, the cloth could be knitted using any
known technique utilizing natural and unblended flax as the warp
yarns and natural and unblended wool for the filling.
To enhance the ability of the cloth to stimulate and/or detect
the radio emissions from the skin surface, it is soaked in a
saline solution for approximately one to six hours and then air
dried until it is just slightly damp. The saline solution
preferably consists of an isotonic aqueous solution containing a
borate buffer system and sodium chloride, preserved with 0.1% of
sorbic acid and disodium (EDTA). An alternative is to use four
tablespoons of sea salt per 1/2 pint of water with the same
borate buffer as described above. Ocean or sea water could also
be used. The saline content in the damp cloth acts as an ionic
detector for the radio energy emitted from the human skin. In
particular, the hollow and fanshaped (i.e., branched) wool
fibers act as an insulator, storing and feeding moisture to the
waxy flax which absorbs the salt and thus becomes a photonic
waveguide detector. Furthermore, the wool acts a condenser by
keeping the system electrically charged above what it would be
charged if the cloth was made of saline treated flax alone.
Thus, the cloth should be kept slightly damp during use. In
order to maintain this slight dampness, the cloth may be placed
between two polyethylene layers or their equivalent and sealed
to retain the slight moisture. It is important to maintain the
cloth in a slightly damp condition, because if the cloth is
completely dry or very damp the cloth will not function
properly.
Turning now to FIG. 5, an oscilloscope recording taken at 0702
from a piece of saline-soaked, air dried woven photonic cloth is
shown. This reading was taken with a 2214 digital storage
oscilloscope at 1.times. magnification and 10.times. amplitude.
The woven photonic cloth was soaked in saline solution for three
hours and dried for six hours. FIG. 5 shows two 1000 Hz
frequencies, shown at A5 and B5, which are 8.4 Ms apart, and
riding an AC interference. FIG. 6, which is a magnification of
the recording shown in FIG. 5 (taken at 0710, at 10.times.
magnification and 10.times. amplitude), shows the two 1000 Hz
frequencies, shown at A6 and B6, with peak to peak separation.
FIG. 7 is a magnification of the details of the first 1000 Hz
frequency shown at A6 in FIG. 6. The recording in FIG. 7 was
taken at 0725 at 50.times. magnification and 10.times.
amplitude. FIG. 8 is a magnification of the details of the
second 1000 Hz frequency shown at B6 in FIG. 6. The recording in
FIG. 8 was taken at 0720 at 50.times. magnification and
10.times. amplification. The oscilloscope used to make the
recording shown in FIGS. 5, 6, 7 and 8 was set at a 5 Mv range
with a 1 Ms Sweep. The oscilloscope sweep shown in FIG. 8
demonstrates that the human body acts as an antenna to transmit
the E field back and forth across space as an ELF radio wave.
The ELF radio signals are capable of penetrating six layers of
human skin (approximately 1/4" each), two feet of stacked
fabric, and 2" of solid rock, with no attenuation whatsoever.
Referring now to FIG. 9, an oscilloscope sweep is shown which
was taken from a six inch by fifteen inch sample of
saline-soaked photonic woven cloth with one hand of a test
person held approximately one foot from the photonic cloth and
the thumb capacitance coupled to the 222 Tekronix digital
storage oscilloscope at the cathode ray face. Two 1000 Hz
frequencies are shown at C9 and D9 8.4 Ms apart. Both 1000 Hz
frequencies have two 10,000 Hz sidebands. An example of a pair
of 10,000 Hz sidebands is shown at A9 and B9. Similarly, FIG. 10
shows an oscilloscope sweep taken from a two inch by six inch
knitted piece of saline-soaked photonic cloth with the thumb
capacitance coupled to the cathode ray face and the hand of the
tester directly touching the cloth. The oscilloscope sweep shown
in FIG. 10 demonstrates that with the body of the tester
directly touching the photonic cloth, there is a tremendous
increase in the amplitude of the 1000 Hz and 10,000 Hz sidebands
signal, as opposed to the oscilloscope sweep shown in FIG. 9.
The first main 1000 Hz signal shown at B10 has one sideband
signal of 10,000 Hz shown at A10 ; the second main signal shown
at D10 also has one sideband signal of 10,000 Hz shown at C10.
When the photonic cloth is placed against the human skin, the
radio energy between the skin and the cloth are coherent. The
photonic cloth has spacial coherence because the antenna
aperture is zero. The 1 Ms sweep and fixed position of the waves
demonstrate that there is temporal coherence as well.
Furthermore, because the signal reaches an extremely high
amplitude when the photonic cloth touches the skin, the signal
also becomes a phase conjugated signal.
While the invention has been particularly shown and described
with reference to preferred embodiments thereof, it will be
understood by those skilled in the art that the foregoing and
other changes in form and details may be made therein without
departing from the spirit and scope of the invention.
Insect
antenna vibrating frequency modulator and resonating
maserlike IR emitter
US3997785
A system or method by which electromagnetic wave energy in the
near, intermediate, and far infrared portion of spectrum from
insect sex scent attractants and host plant or animal scent
attractants is converted into narrow band high intensity
maserlike infrared emissions is disclosed. The system or method
includes a low frequency oscillator for vibrating a silver or
gold coated or aluminum low emissivity reed in a vacuum chamber
with a suitable infrared window (1 to 30 mu m). The reed
vibrator is prepared with a monomolecular layer of suitable
insect sex or host attractant or surrounded by vapors of said
attractants and vibrated (modulated) in an infrared source of
electromagnetic energy at 1 to 30 mu m and at the antenna
vibrating frequency of the insect. The narrow band maserlike
emission and harmonies thereof are emitted through the IR window
and detected by a spectrometer.
PRIOR ART AND BACKGROUND OF
INVENTION
It has long been known that insects are attracted to specific
molecules of sex attractants. The isolation of sex and host
plant attractant molecules has progressed steadily over the past
three decades. The electromagnetic dielectric antennae theory of
insect sensing by means of resonating pits was put forth by
Grant in 1948 (Grant, G. R. M. The Sensory Pits of Insects
Considered As Dielectric Waveguides and Resonators to Infrared
Rays. Proceedings of the royal Society of Queensland 60 (8):
89-98, 1948). Callahan elaborated on a similar theory in 1965
(Callahan, P. S., Intermediate and Far Infrared (FIR)
Electromagnetic Theory of Communication and Sensing in Moths and
Its Relationship to the Limiting Biosphere of the Corn Earworm,
Annals of the Entomological Society of America 58 (5): 727-745,
1965), (Callahan, P. S., Far Infrared Emission and Detection by
Night Flying Moths, Nature 207 (4989:1173, 1965), (Callahan, P.
S., A Photoelectric-photographic Analysis of Flight Behavior in
the Corn Earworm Moth, Heliothis Zea, and Other Moths, Annals of
the Entomological Society of America 58(2): 159-169, 1965) and
presented a theoretical model of the insect spine sensilla as
dielectric wave guides and or resonators in the 1 to 30 .mu.m
infrared region. He then postulated the emission of narrow band
"maserlike" luminescence emissions from sex scents in the
intermediate and far IR water vapor windows. Subsequently, he
demonstrated with electrophysiological techniques the detection
of modulated narrow band electromagnetic energy by an insect
antenna. Work continues in the detection of these theorized
infrared maserlike emissions in the 2 to 5 .mu.m, 7 to 14 .mu.m,
and 17 .mu.m and 26 .mu.m microwindows. A Fourier analysis
spectrometer is used to detect and plot the narrow band
maserlike emissions and/or reflections.
The theory, method and apparatus were proved out in the
laboratory as shown by FIGS. 1, 2, and 3.
OBJECTIVES
It is the object of this invention to provide a system or method
for the attraction of insects. More specifically, it is the
object of this invention to provide a system of attracting
insects or jamming infrared frequencies from insect scents,
using the optimum infrared portion of spectrum from insect sex
scent attractants and host plant or animal scent attractants and
converting into narrow band high intensity maserlike infrared
emissions. Another object of this invention is to emit narrow
band maserlike emissions and harmonics through the IR window and
detect them by a spectrometer.
It is yet another object of this invention to show that the wave
properties of an insect sex or host scent are propagated forward
through the 1 to 30 .mu.m infrared window.
Other objects and advantages of this invention will further
become apparent hereinafter.
DESCRIPTION OF THE INVENTION
FIG. 1, is a chart of Spectrum (1)
taken from a monomolecular layer of cabbage looper pheromone
on a reed vibrated at the maximum and minimum cabbage looper
antenna vibrating frequency of 55 and 42 cps, respectively.
FIG. 2, is a chart of Spectrum (2)
which is a high intensity emission from a vapor of the
attractant of Plecia nearctica (the lovebug). The formaldehyde
attractant vapor is vibrated at the lovebug antenna vibratory
frequency of 128 cps. Two side bands 20 cm@@-1 on either side
of the strong narrow maserlike emission are evident in this
spectrum.
FIG. 3, is a chart of Spectrum (3)
which is a low intensity emission from a thick "monomolecular"
layer of the cabbage looper pheromone without vibrating
(modulating the pheromone (b) and high intensity emission
attained with this modulation system (a).
FIG. 4 is a perspective diagram
illustrating one embodiment of the invention particularly
adapted for stimulating the maserlike IR emissions from insect
sex scents (pheromones) or other insect host attractants.

Referring now to FIG. 4, the wave properties of an insect sex or
host scent are propagated forward through infrared window 3
which is 1 to 30 .mu.m. Said window is in the center of a
vertical side of cube 2. Cube 2 is one inch cubed, but can be
any multiple thereof, and substantially forms a chamber. A bulb
of similar diameter can also serve adequately as a chamber. The
chamber can be constructed from or blown from glass. A
three-quarter inch diameter innfrared window 3 (1 to 30 .mu.m
transmittance) of suitable window material and 2 to 5 .mu.m thin
is sealed in window 3 of cube 2. Cube 2 is evacuated of air to
approximately one-half room atmosphere and 50 percent relative
humidity by pin of air outlet 7 which is connected to an
external evacuation means (not shown). At the center of cube 2
or approximately 1/2 inch behind the 1-30 .mu.m IR window, a
silver or gold or aluminum reed vibrator 4 is positioned so that
it bisects the center or lies along the edge of the 1 to 30
.mu.m IR window. Reed 4 is one-sixteenth of an inch wide and
three-quarters of an inch long or may be a 250 .mu.m diameter
steel pin. Said reed or pin is coated with a monomolecular layer
(single layer) of a suitable insect sex attractant (pheromone)
or host plant attractant or the chamber is filled with vapors of
said attractant. The inside of the chamber and/or bulb is
painted with a silver reflective coat. Vibrating reed or pin 4
is connected through the sealed cube and/or bulb to a low
frequency oscillator 1 with an adjustable duty cycle of from 5
to 700 cycles per second. Approximately 1/2-inch behind the reed
vibrator and centered in front of the back mirrored surface of
the cube and/or bulb, and in the center of the front of the 1 to
30 .mu.m IR window is a tungsten filament heating element 5. The
heating element is wired through the partially evacuated cube or
bulb to an adjustable heating unit 6 variable from 300 to 1000 K
(absolute) temperature. In place of the variable temperature
source 5 and in the same position a 1 .mu.m emitting diode or
other suitable coherent diode (1 to 30 .mu.m) may be substituted
as an energy source. For certain insect sex or host scents the 1
.mu.m or other IR wavelength emitting diode is preferable.
The infrared energy from the adjustable temperature filament 5
and/or coherent diode is focused by the surrounding silver
coated cube and/or bulb onto the monomolecular layer coated or
vapor surrounded reed vibrator.
The monomolecular layer and/or vapors of a suitable insect
pheromone or host attractant is stimulated to emit by
reproducing the vibrating frequency of the antenna of the insect
from which the pheromone was obtained and/or the host attractant
of the insect. The stimulated IR frequencies and/or harmonics of
the frequencies from the monomolecular layer on the reed and or
vapors surrounding the reed are directed forward from the
surface of the vibrating reed facing the IR window. Each
stimulated line of IR radiation emits as a single lobe of
radiation and is transmitted in a forward direction through the
suitable 1 to 30 .mu.m infrared window 3.
The frequency and or harmonics thereof may then be detected by a
high resolution Fourier analysis interferometer spectrophometer
(not shown).
Soil Remineralization -- A network
news letter', the fall/winter 86 issue
COMPOSTING MINERALS
by Piet Bouter
Many people can yet boast of the ability to buy food. Far less
can take pride in growing it and only a few people dig all the
way down to bed-rock bottom solidity to satisfy their sense of
sustainability and long term vision. They are bound to bring up
rock dust again and again.... it is not only the base of
organized life along with water and light but finds one of its
most purposeful uses after that: the creation of organic matter,
helping transform and conserve it, as opposed to what their
stray descendants are doing: dumping, wasting and leaching,
suffocating and fouling it, sawing off the limbs they ripened
(and rotted?) on.
There are many ways to apply rock dust to the soil. It can be
spread by hand, by mechanical means, sprayed with a mechanical
sprayer end blown on during wind stillness (avoid inhaling
it)...Improvising with fine mesh sieves, stockings and wet
brushes for small amounts is lots of fun.
Combining rock dust with organic materials in compost can be a
good way to solve application problems. Rock dust assimilates
quicker in compost than in poor soils, where you can expect
miracles, but not as quickly.
Composting Tips
For compost Helmut Snoek recommends 1 lb per3 sq ft on each
layer of a 2/3 ft high and a little less when the dust is extra
fine. Don't forget a handful of dirt to inoculate with organisms
and try to keep the N-C ratio 1-10. If there is a lot of manure
around, you can't mix it with rock dust too soon for immediate
improvement of the air and end product. Raw manure is a health
hazard til properly composted. Rock dust ties down and absorbs
the volatile ammonia compounds, 40-80% of which can gets lost to
the air otherwise.
This is why the Swiss bio farmers spread it in their stables,
apart from hoof stability it keeps the air purer
Some remarks from the Lubkes (soil specialists often appearing
in Acres, U.S.A.) on compost:
Compost heats up faster than rock dust. Do not allow to exceed
130 degrees to prevent heat loss. Rock dust improves aeration
end structure end therefore prevents rotting. Aim for a compost
with 30-50% organic material. 60-80 lb of fine ground rock dust
per ton of compost is considered optimal.
Rock Dust and compost have much in common; they are ready food
for life's smallest beginnings and from there on up the whole
food chain. To both soil-making life-savers applies the rules of
thumb, if you ask me the rule of the most common denomination,
and therefore deserving to score highest on any scale of human
aspiration (especially desert(born and/or influenced) cultures)
the more diverse and varied the elements and ingredients, the
richer and more fertile the results (This truth was alluded to 4
times in the first two episodes of a PBS series called The
Making of a Continent). Multiculturalism is therefore a more
valid concept on microscopic scale than a few notches and 'field
magnitudes' with more refined and diversified ways away. The
problem is than these borderlines can not ever be drawn sharply
cause the micro-mini-minimal molecules floating down the
mountain streams and joining up down river are perhaps part of
one and the same watershed but join forces with contributions
from so many nooks, crannies, folds, valleys and bioregions,
that they are bound to see a lot of compromises since they are
not in Kansas anymore having traveled further afield then most
bigger organisms therein ever do.
Piet Bouter
Soil Remineralization -- A network
news letter', the fall/winter 86 issue
Dairy
Farming With Rock Dust
by Georg Abermann
Martin Gasteiger in Unterlohen, Bavaria in Germany has been
doing organic farming since 1973 and has reduced the cost
dramatically. Yearly he uses10 tons of rock dust at a cost of
about $ 400 a year And he gets 7000 liters per hectare (2 1/2
acres) of milk. His cows become 10 years old or twice the age of
the average cow end have twice as many calves as the average in
Bavaria. How does Gasteiger manage to be so successful with so
little means?
He tries to take as good care of the soil as possible. He
fertilizes only with small amounts of liquid manure, 10 cubic
meters per hectare and only if the soil is dry. He collects all
organic matter from his farm and household and composts it
together with the calves manure, rock dust and soil and uses
this mixture as bacterial nutrients for the field and farmland.
He uses this compost as a bacteria supplier for the field and
crop land.
The liquid manure is treated especially with rock dust in the
stable so that organic and mineral substances are combined and
no toxicity arises. Then in a special container, a clay humus
mixture is added end it is then aerated. This clay humus mixture
is liquid end mixed in a concrete mixer. Out of the clay humus
brew, every 5-6 days, for every 20-25 cubic meters of liquid
manure, one wheelbarrow of clay humus and some manure compost
are added.
Gasteiger says the bacteria in the humus act like an inoculation
so that the rotting bacteria in the liquid manure increase
dramatically. The aeration gives the necessary oxygen and the
finely ground clay material in the concrete mixer and the rock
dust have a great active surface that bind toxic elements so
that they cannot interfere with the growth of the bacteria in
the liquid manure. These clay particles also bind nutrients like
nitrates so that they cannot be washed away in the groundwater.
"Instead of buying expensive liquid manure additives, I make my
own", says Martin Gasteiger.
The liquid manure thus treated cannot be compared with the urine
and manure. To prove this Gasteiger holds his hand in the
container, washes it off under cold water without soap and holds
it under our noses. There is not the slightest smell. And
besides that it does not harm the soil life nor does it burn the
grass land, even when the temperature goes above 90 degrees end
above all, the animals like to eat the grass grown.
It is applied only in dry weather under the motto, "little but
often", about a liter per sq. meter (10sq ft to a meter). He
succeeds in taking care of the earthworms, so they multiply end
work for trim. The clover stays and manufactures nitrogen
through the nitrogen collecting bacteria at the roots of the
clover.
Per hectare he adds 5 dt (dt= 1/10 ton) rockdust each year and
every three years he adds 5-10 dt. His rock dust is Diabas, a
volcanic rock of 55% selesium oxide from Kitzbuhl, Austria- with
a guaranteed fineness of 0.09 mm end 1/3 of it is under 0.02 mm
in size.
An employee of the Bureau of Agriculture of Bavaria commented in
an article on Gasteiger's results very cynically, if he had used
conventional fertilizers with as much enthusiasm, his profit
would be just as great!
In response to this published comment 26 people wrote letters to
the paper protesting this offhand comment- brushing aside of
Gasteiger's method and success. They pointed out that people
like Gasteiger should get all the help possible as they do
something positive end naturel without subsidies!
(Translated by Christian Campe with permission of the author.
The article appeared in Grunland magazine 9128/85)
http://www.acresusa.com/tapes/thumbnail.asp?catid=49&pcid=3
Audio
Tapes/Phil Callahan, Ph.D.
Phil Callahan has done more to build a worldwide appreciation of
low-level energies in agriculture than anyone. His work in
insect communication systems, low-level earth energies, and the
paramagnetic force in rock and soil are changing ecological
agriculture.
A Small is Beautiful Package
Lee Fryer & panel of speakers, 3 tape audio set, 1993.
Low-Level Energy Update
Phil Callahan, Ph.D., audio tape, 1985.
The World & Body Electric
Phil Callahan, Ph.D., audio tape, 1987.
The World Electric
Phil Callahan, Ph.D., audio tape, 1987.
Low-Level Energy — A Syntesis
Philip Callahan, Ph.D., audio tape, 1986.
Natural Low-Level Energies in Agriculture
Philip S. Callahan, Ph.D., audiot tape, 1995.
Paramagnetic Forces ELF - How to Farm as God Intended
Philip S. Callahan, Ph.D., audio tape, 1994.
Parmagnetism & Native Agriculture
Philip S. Callahan, Ph.D., audio tape, 1999.
The Magnetic Life of Agriculture
Phil S. Callahan, Ph.D., audio tape, 1984.
Mysteries of Low-Level Energies
Phil S. Callahan, Ph.D., audio tape, 1983.
Measuring the Spectrum
Philip Callahan, Ph.D., audio tape, 1993.
Books & Authors 2
Lee Fryer, Arden Andersen, D.O., Ph.D., Phil Callahan, Ph.D.,
audio tape, 1990.
Frequencies & AIDS
Philip S. Callahan, Ph.D., audio tape, 1989.
Nature's Requirement
Phil Callahan, Ph.D., audio tape, 1988.
Exploring the Spectrum (audio)
Phil Callahan, Ph.D., audio tape, 1992.
Paramagnetism Roundtable — State of the Art
Phil Callahan, Ph.D, Tom Dykstra, Ph.D., Malcolm Beck, &
Gary Wilson, audio tape, 2001.
Parmagnetic Rock Dusts in Agriculture
Malcolm Beck, audio tape, 1998.
Low-level Energy & Round Towers
Philip Callahan, Ph.D., audio tape, 1991.
New Findings on Paramagnetism
Phil Callahan, Ph.D., audio tape, 1997.
Callahan Theories in Action — Battling Pests with
Electromagnetics
Tom Dykstra, Ph.D., audio tape, 1998.
Low-Level Energies in Agriculture
Philip S. Callahan, Ph.D., 2 tape audio set, 1997.
Native Agriculture, Paramagnetism & the Future of Farming
Phil Callahan, Ph.D., audio tape, 1998.
www.amazon.com/Tuning-Nature-Philip-S-Callahan/.../0911311696
Tuning in to Nature
Dr. Philip S. Callahan is a philosopher as well as a top-grade
scientist. An
internationally famous entomologist and ornithologist, he has
been responsible
for ...
www.amazon.com/Paramagnetism-Rediscovering.../0911311491
Paramagnetism: Rediscovering Nature's Secret Force of Growth
[Philip S.
Callahan]
http://www.fiddlersgreen.net/models/buildings/Irish-Tower.html
Irish Round Tower
Irish round towers
are early medieval stone towers of a type found mainly in
Ireland, with two in Scotland and one on the Isle of Man.
Though there is no certain agreement as to their purpose, it
is thought they were principally bell towers, places of
refuge, or a combination of these. Generally found in the
vicinity of a church or monastery, the door of the tower faces
the west doorway of the church. In this way it has been
possible to determine without excavation the approximate site
of lost churches, where the tower still exists. $3

Some interesting Far-Out theories...
This idea that the round towers were erected
and used primarily as watch towers and places of protection
is strongly debated by an American scientist, Philip
Callahan.Writing in his book, Ancient Mysteries, Modern
Visions, Callahan discusses research which indicates that
the round towers may have been designed, constructed and
utilized as huge resonant systems for collecting and storing
meter-long wavelengths of magnetic and electromagnetic
energy coming from the earth and skies. Based on fascinating
studies of the forms of insect antenna and their capacity to
resonate to micrometer-long electromagnetic waves, Professor
Callahan suggests that the Irish round towers (and similarly
shaped religious structures throughout the ancient world)
were human-made antenna which collected subtle magnetic
radiation from the sun and passed it on to monks meditating in the tower and plants growing
around the tower's base.
The round towers
were able to function in this way because of their form and
also because of their materials of construction. Of the
sixty-five towers, twenty-five were built of limestone,
thirteen of iron-rich, red sandstone, and the rest of basalt,
clay slate or granite - all minerals which have paramagnetic
properties and can thus act as magnetic antenna and energy
conductors. Callahan further states that the mysterious fact
of various towers being filled with rubble for portions of
their interiors was not random but rather may have been a
method of "tuning" the tower antenna so that it more precisely
resonated with various cosmic frequencies.
Equally intriguing,
Callahan shows that the geographical arrangement of the round
towers throughout the Irish countryside mirrors the positions
of the stars in the northern sky during the time of winter
solstice. Archaeological excavations at the bases of the
towers have revealed that many towers were erected upon the
tops of much older graves and it is known that many of the
tower sites were considered sacred places long before the
arrival of Christianity in Ireland. These facts compel us to
wonder if the ancient Irish, like the Egyptians and the
Mayans, understood there to be an energetic resonance between
certain terrestrial locations and particular celestial bodies.
This certainly seems to be the case. All across the Irish
countryside certain locations were chosen, precisely designed
structures were erected to gather and store various energies,
and a tradition of humans' spiritual use of the sites arose
over the millennia. While many of the round towers are now
crumbling and therefore their antenna function may no longer
be operative, a field of holiness still permeates the sites
today.
www.sacredsites.com
Callahan discusses
research which indicates that the round towers may have been
designed, constructed and utilized as huge resonant systems for
collecting and storing meter-long wavelengths of magnetic and
electromagnetic energy coming from the earth and skies. Based on
fascinating studies of the forms of insect antenna and their
capacity to resonate to micrometer-long electromagnetic waves,
Professor Callahan suggests that the Irish round towers (and
similarly shaped religious structures throughout the ancient
world) were human-made antenna which collected subtle magnetic
radiation from the sun and passed it on to monks meditating in
the tower and plants growing around the tower's base.
"At every tower we measured there was a direct correlation
between tower door height and the strongest waves.....That the
highly amplified waves occur in the meditative and electrical
anesthesia portion of the electromagnetic spectrum is of utmost
significance. In 1963, G. Walter researched brain EEG waves from
0.5 to 3 Hz (Delta region) and found anti-infectious effects."
"It is remarkable how little the main dimensions vary. In the
great majority of towers the circumference at the base lies
between 14 meters and 17 meters and the thickness of the wall at
the lowest point at which it can be measured varies from 0.9
meters to 1.4 meters. Doorways, windows, storey heights and
diameters also follow clearly defined patterns, and we may well
conclude that most of the towers were the work of teams of
builders who moved from one monastery to another using standard
designs." Barrow goes on to say that: "Most doorways are raised
1.5 meters to 4.5 meters above the ground....but it is possible
that the stability of the tower had as much to do with the door
heights. The higher you could build before making an opening in
the wall the stronger the base would be. Very often the towers
were filled in, even as high as the doorways."
The principles used in construction of the towers is always the
same: two walls of block and mortar construction are built a few
feet from one another and the space between is filled in with a
core of rock rubble.
http://www.whale.to/b/callahan.html
Kindred Spirit ( Autumn 1997 )
THE ENIGMA OF
THE TOWERS
IRELAND'S COUNTRYSIDE IS DOTTED WITH SCORES OF ROUND TOWERS
BUILT BY MONKS IN THE SIXTH AND SEVENTH CENTURIES. FOR MORE THAN
40 YEARS A TOP US SCIENTIST, PROFESSOR PHILIP CALLAHAN, HAS
PONDERED THEIR MYSTERY. HIS DISCOVERY, ONE OF THE MOST IMPORTANT
THIS CENTURY, HAS HUGE IMPLICATIONS FOR MODERN MAN. FOR THESE
TOWERS, HE SAYS, ARE NOTHING LESS THAN RADIO
ANTENNAE. BRIAN FREESTON, A DOCUMENTARY FILM MAKER,
TELLS THE STORY.
Radio waves affect human behaviour
Round tower energy
Discovering the star map
Natural radio receivers
Natural energy for health and soil
fertility
Mirrors in the landscape
Stone circles, steeples, pyramids
- are they all antennae?
Scientific proof for levitation?
Belleek is a small town in County Fermanagh, known for its fine
porcelain. During the Second World War it was also an ideal
position for a top secret radio range station. As a 20-year-old
GI, Phil Callahan was responsible for keeping the radio range
operational. This station, the first of its kind, enabled
RAF Coastal Command to maintain 24-hour cover over the Western
Approaches.
'I'm very pleased with what I did there. Callahan says. Keeping
aircraft over the Atlantic all the time meant that the U-boats
had to remain submerged. The convoys got through and both
English and German lives were saved.'
Callahan' s ability to view life from a different perspective
imbues his work with a freshness and vitality that is so
important to any major scientific breakthrough. His contribution
to science has been massive, yet. as most of his work has been
in the less than glamorous field of agriculture, it has largely
gone unnoticed by the general public. Callahan's expertise
covers entomology, ornithology and VLF/ELF radio waves; he is a
leading light in non-invasive methods of insect control. It is
this broad knowledge that allows a cross-fertilisation of ideas
to occur, reminiscent of the way natural philosophers like
Faraday, Newton and Tyndall worked.
Indeed much of Callahan's pre-eminent work in the infrared
spectrum and with paramagnetism is a continuation of the
discoveries made by the Englishman Michael Faraday and his Irish
friend John Tyndall.
Radio waves affect human behaviour
Callahan discovered that radio signals in the far infrared
spectrum are a crucial element in insect behaviour. He also knew
that radio signals could affect human behaviour and well-being.
During a particularly severe winter storm in Ireland in 1944 the
young GI was on night duty alone at the station when both the
primary and back-up transmitters failed. With ten aircraft out
over the Atlantic dependent on his signal to get back, it was a
fraught moment.
'I couldn't make any sense of it. Both machines were working
fine, but there was no signal transmitting. Callahan shakes his
head at the memory. 'But then I remembered what an old Arctic
radio man once told me about how ice-coated insulators could
earth the signal. So I climbed up the antennae poles and whacked
the ice off with a broom stick. It did the trick. But by the
time I'd finished I could hardly stand up; the radio energy had
made me drunk."
Round tower energy
As a climber Callahan was familiar with climber's high' -a
feeling of calmness and peace combined with a high level of
mental and bodily energy sustainable over long periods of time.
He had become convinced that the feeling of elation he had when
climbing was more to do with the power of the rock than anything
else. When he visited his first round tower at Devenish on Loch
Erne he experienced a similar feeling to climber's high.
I've always been drawn to mystical places - spots on Earth that
induce a feeling of awe or wonder, a feeling of oneness, where
there is no real sense of time. Ireland has many of these
places. The round tower at Devenish is one.'
It was the feeling from Devenish, along with the incident at the
radio station, that created the impetus for Callahan's round
tower research.
The Irish round towers were constructed by monks towards the end
of the great period of monastic expansion, between the fifth and
the seventh centuries. When they were built they would have been
the only stone structures in the monastery. Today 25 or more
towers stand upright in perfect form, and the remains, or stubs,
of another 43 dot the countryside.
I remember asking what special power was hidden in these towers;
and could we ever understand this power?'
Discovering the star map
Some years before, Callahan had bought Professor Barrow's Irish
Heritage pamphlet on round towers which included a fine map of
the still-standing towers.
'I was lying on a couch looking at the map. There was something
very familiar about it - apart from it being a map of Ireland!
After about five or ten minutes it suddenly flashed into my mind
- insight I believe it is called - exactly why the map appeared
so familiar. The towers formed a star map of the northern night
sky. I have used that sky map dozens and dozens of times hiking
around in the deserts of the world. It is gouged like a carved
woodblock into my brain.'
One of the best preserved monasteries is Clonmacnoise in the
centre of the great plain of Ireland. It is on the Shannon River
and is widely assumed to have been the centre for the entire
monastic movement. Callahan surmised that it was placed to
represent the north star Polaris. All the other star groups then
fell into place -Ursa Major, Draco, Cassiopeia, Camelopardalis
and Lynx, far to the south (Figures 1 & 2).
What Callahan had drawn was an almost perfect sky for the
December solstice. The imperfections in the round tower star
plot lie mainly in the fact that the monks had to fix their
towers according to the lie of the land.
What is astonishing about the round tower star map of Ireland is
that there were two great ecclesiastical centres during the
early days of Christianity in Ireland: one at Armagh in the
north and one at Clonmacnoise in central Ireland. In relation to
the round tower plot of Draco, Armagh is exactly at the point of
the ecliptic centre. This demonstrates very clearly that the
Celtic peoples of Ireland knew not only that the Earth was
round, but also about precession - the slow wobble of the Earth
around a theoretical or ecliptic centre of the sky, a circular
movement which takes 25,800 years to complete.
It is possible to speculate that the knowledge of astronomy, and
especially of precession and the ecliptic centre, was carried to
Ireland by the .Ancient Egyptians. The Denderah circular zodiac
(300 BC). for example, proves they too had this knowledge.
'The technocrat, who is high-energy, inorganic-slanted, will of
course scoff at my star map of round towers and say that the
correlation is coincidental.' Callahan shrugs. For the
high-energy' technocrat every phenomenon that does not hit one
on the head with an inorganic hammer is a coincidence.
Coincidence is the cop-out word of the century used to put
low-energy organic researchers in their place.'
Natural radio receivers
Could there have been any other purpose than this star map to
the construction of round towers? Above all the Celts were a
practical people, and to undertake this huge effort just to
demonstrate an esoteric knowledge seems unthinkable.
The tower on Devenish island, similar to many others, is a
finely jointed structure of sandstone. It is 25 metres high and
has a base circumference of 15.14 metres. In the fifth (and top)
floor are four square-headed windows facing east-northeast,
south-southeast, west-southwest and north-northwest. The lower
four floors each have either one or two windows facing in
various directions. The doorway is approximately three metres
above the ground.
Callahan found that all the round towers were made of
paramagnetic stone: that is stone that resonates positively in a
magnetic field. He also noticed that all these towers were to be
found in diamagnetic areas - areas of much weaker, and opposite,
negative, susceptibility.
It was Michael Faraday and John Tyndail who discovered these
very subtle forces of para-magnetism and diamagnetism.
Strangely enough, although physicists have spent years measuring
these energies, and utilising them to explain theoretical atomic
forces, nowhere in the scientific literature has anyone -
chemist, physicist, or biologist - asked what these two opposite
forces mean to life. Like Mark Twain once said, "everybody talks
about the weather but nobody does anything about it. "
In 1956 Callahan discovered that moths were not attracted to
visible light, but rather to the infrared emission from scent
molecules that became 'peaks' or resonant radiation when they
hit the moth's vibrating antenna. Moths navigate by molecular
radio laser or maser technology.
It was the antenna with all its hundreds of strange-shaped
spines (called sensilla) that was doing the work by feeling the
radiation. So, for example, the reason why moths spiral rather
than fly direct into a light source is that different parts of
their sensilla pick up slightly different wavelengths of the
emission, depending on how closely they approach the source
(Figure 3).
Callahan s breakthrough came quite suddenly and totally
unexpectedly.
'I was just admiring how clever the builders were to make a
tower that had a very slight taper of three degrees. Then it
dawned on me how similar these towers looked to certain insect
antennae. It was a complete revelation.'
Obviously round towers are not conventional antennae. They are
in fact built of limestone, mica schist or sandstone blocks and
are therefore closer to silicon semi-conductors than to metallic
conductors. As the towers have dielectric (insulative)
properties, the}' act as DC rectifiers and are able to detect
and store incoming cosmic electromagnetic/magnetic energy.
(Fig. 4) Two carborundum round towers. The tower on the left is
modelled after Devenish tower and the one on the right after
Turlough round tower. Note the very fine field lines of
concentrated salts around both towers. On the Turlough tower the
salts concentrated heavily at the levels where floors and
windows are located.
The physics of dielectric systems is extremely complex. However,
they can be formed into tubular or rectangular waveguides to
collect and direct energy in the same manner as a metallic radio
or TV antenna. The size of antennae determine the length of
radio waves with which they are able to resonate. Since round
towers are of the order of metres in length they must be,
according to Callahan, collectors of cosmic radio waves of a few
metres magnitude.
Using a scale model of a round tower, made from paramagnetic
carborundum paper and placed in a high frequency-oscillator
called a Klystron, Callahan showed that the model actually
increased (amplified) the radio energy from 6dB to 9dB. In
another experiment it also detected differences in radiation at
night and from the sun.
One of the most controversial questions concerning these towers
is the usual high placement of the doors, with varying amounts
of infill inside up to door level. Historians who have attempted
an explanation have cited the need for defense. But round towers
are indefensible, and not large enough to withstand a protracted
siege. If the towers are viewed as antennae, then the infill can
be seen as a way the monks could fine-tune the tower to assure
sharp resonance.
That the monks could detect this energy seems, from the
perspective of a high-tech society, incredible. But all they
were doing was tuning in to nature; using their bodies as
antennae, feeling the energy. In a further experiment a model of
the Turlough round tower was soaked in a diamagnetic solution of
Epsom salts and then allowed to dry naturally. Thin force lines
spaced evenly at one millimetre appeared up the tower. On the
conical roof at the top the force line spiralled up to the
point. At certain heights up the tower the force lines became
much thicker bands. These correlate precisely with the floor
levels in the actual tower (Figure 4).
Natural energy for health and soil
fertility
So where is the energy coming from and how do we utilise it?
Energy has been detected from three sources: the night sky, the
sun, and lightning.
The night sky
The towers are aligned with the stars of the night sky at the
winter solstice and we know that cosmic microwave radiation at
14.6 metre wavelengths is emitted from that region of the
universe.
The sun
The towers also pick up particles of energy which are separated
by sun-flare activity into north and south magnetic poles. At
this temperature magnetic poles are torn apart and then stay
apart until they become adsorbed (molecules stick to the
surface). South 'monopoles' (S) are adsorbed by paramagnetic
stone and soil and north monopoles (N) by plants, just like a
battery. Oxygen also stores south monopoles; it is the most
paramagnetic of gases. Most organic or diamagnetic substances
store north monopoles {Figure 5).
Over the aeons the charge trickles out. The south monopoles in
the soil meet the north monopoles of seeds or roots, and with
the catalyst of nitrogen and water set growth and photosynthesis
on their way. It is the fundamental force behind nature.
Round towers, then, act as stone antennae to collect many more
south magneto-electric monopoles than the surrounding soil. They
release these mono-poles, so stimulating better growth in crops
around their base.
A small model round tower placed in the centre of a
non-paramagnetic plastic flower pot, with seedling radishes
planted around the base of the tower, will stimulate the
seedlings to grow many more fine rootlets than a pot with the
same soil but no central round tower. Already a farmer in the
north of England is using round tower technology and getting
significant increases in crop yield.
Lightning
The third source of energy is from lightning. There are over
4,000 strikes a minute around the world and these set up a very
high-frequency standing wave of 60,000 Hertz (cycles/ sec) in
the atmosphere. Callahan has shown that the towers reduce this
frequency to various slower frequencies which -we can use. The
amplification factor or strength of signal is between 150 to 200
times the energy outside. The lowest he has discovered is around
8Hz a minute. Recent American medical research has found this
frequency in human bodies and has termed it the primary
respiratory function. It is vital to our existence.
There are ELF radio frequencies in the 4-14 Hz range, or
brain-wave region. During meditation our brains emit waves
around 8Hz/sec, so these towers would enhance the ability of
monks to meditate. These frequencies also have an anti-infection
property.
Frequencies are also found around 2.000Hz - the
electric-anaesthesia region - and around 250KHz, the region for
electronic heat induction. In the 19th Century some dentists in
America were using machines to generate 2,000Hz for dental
extraction. Research in Poland in 1986 showed that these types
of radiation enhance the autoimmune system and reduce pain. In
other words, the towers aid healing, and could have been places
where -women -would go to reduce their birth pains.
According to the Head of the International Institute for
Biophysics, Professor Fritz-AlbertPopp, ProfessorCallahan's
discovery concerning the Irish round towers is one ox the most
important discoveries of the century. The low-energy
implications for our health, well-being and nutrition are far
reaching.'
Mirrors in the landscape
There is more to come. In antenna technology form follows
function, so different shapes will resonate to different
frequencies. Obtain an accurate geological survey map of a
favourite area, and with a hard steel stylus trace and cut the
contours into a sheet of carborundum paper. Immerse the sheet in
a saturated solution of Epsom salts for 24 hours. Then allow to
dry naturally. In a few days an energy map of growing force
lines appears. The lines of force will concentrate in the most
energetic spots on the carborundum map. Even more strangely, if
the map is put aside and observed for six months or a year, the
crystals of diamagnetic Epsom salts will begin to grow and
produce little hills and mountains. It is an accurate template
of the real landscape.
'Since the crystals will reproduce and grow, who is to say that
the forces of rock and soil are not living!' Callahan gestures
to the map. The beauty of these experiments is that anyone can
show how these weak forces can grow and accumulate energy.
'You can even detect differences in behaviour in various
populations, dependent on the paramagnetic nature of the
sub-rock. Take Belfast for instance. The sub-rock under that
city is basalt, which is highly paramagnetic, and the sub-rock
under Dublin is diamagnetic limestone. We know that Dubliners
are more laid-back. It's the same difference with the population
of North and South Vietnam and, say, between New York and
Florida.'
Stone circles, steeples, pyramids -
are they all antennae?
Callahan's findings concerning the Irish round towers uncover a
major reason for the construction of stone circles, church
steeples, pagodas, chedi, minarets and pyramids. They are all
antennae - tapping into natural radic energy for healing,
meditation and so on.
But whatever man has created as an antenna, nature was there
first (Figures 6 to 11).
The Egyptians had two hieroglyphics for stone - both take the
exact proportions of the building stones found in the Great
Pyramid. One Hieroglyph is open like this: ,
the other has lines across it like this: , in
the same way as Callahan's model paramagnetic round tower has
force lines across it. Both symbols represent the same syllable
for stone, aner. The hieroglyph for prepared stone is aner sept
(two syllables) and is:
(Fig. 6) Burmese stupas. (inset fig. 7) Many diptera (flies)
have stupa or pagoda-tapered sensilla on their antennae.
It contains a feather for levitation, waves, a mouth (source of
diamagnetic breath), a stone (with paramagnetic force lines) and
finally a pyramid (Septih, the Dog Star). The little circle is
the sign for sand from which the rocks are made, the bar the
sign for symmetry, and the three lines ||| for plural (many
building stones).
The hieroglyph for black granite is:
Below: (fig. 12) An Egyptian priestess raising her hands above
the outstretched body of a pharaoh. Opposite: (fig. 13) Another
panel showing a pharaoh levitating off the couch. Similar to the
panels referred to in the text.
This word is similar to prepared granite except that the pyramid
sign (Septih), forthe Dog Star, is replaced by the symbol for a
wing (many feathers), a much stronger levitation force than one
feather . In other words black granite is a paramagnetic battery
for the force. Every Egyptian word for different types of
para-magnetic stone, eg. aner-en-rut (sandstone),
(Fig. 11) The antenna sensilla of a wasp showing pyramidal
sensilia and corrugated sensilla - two of the best
configurations for focusing and concentrating the paramagnetic
force. The species, Polistes metricus, is a vespid wasp.
Although seldom mentioned in the popular literature, the vespid
hieroglyph is even more common in Egyptian lore than the sacred
scarab beetle.
aner-en-hatch (white limestone), aner-en-bekbenu
(porphyry), aner-en-moat (stone of truth) etc., has the
symbol with force field lines in
it.
It is possible that the knowledge and engineering skills were
passed down to the Celts from the Ancient Egptians. It was in
Egypt, perhaps, that man reached a pinnacle of subtle-energy
manipulation.
Scientific proof for levitation?
Callahan suggests that the outer limestone portion of the Great
Pyramid at Giza serves as a giant condenser lens - as in a
photographic enlarger - to diffuse and concentrate paramagnetic
waves. The full pagoda construction of the King's Chamber is
made from the most highly paramagnetic of all stone, pink
granite. Its succession of stone floors or lenses serves to
concentrate the cosmic para-magnetism (like light waves; down
into the actual chamber.
Suspended model round towers are very sensitive energy
detectors, responding to the paramagnetic-infrared aura of the
human body. To prove his theory Callahan took one into the
King's Chamber.
'Usually the model would swing through about 60 or 70 degrees to
point to an approaching human. I found that in the King's
Chamber the same model would move 200-300 degrees in a steady
sweep to the human aura. That's telekinesis. The sensor was five
to ten times as sensitive inside the Pyramid. The model also
rocked violently up and down every time a human body approached
it; this is, in effect. levitation.'
Callahan says that since the outer smooth tura limestone casing
of the Great Pyramid has been destroyed it will never again
stimulate total levitation of a heavy body. Certainly, in my
opinion, one of the reasons for its construction was to induce
levitation.' He refers to a beautiful series of ancient
stone-wall reliefs which show an Egyptian priestess raising her
hands above the outstretched body of a pharaoh. In the next
panel the pharaoh is six inches off the couch (see figures 12
& 73).
'Deep in the Great Pyramid the priests breathed out that mixture
we call breath - but which the Orientals call the spirit of
life,' Callahan explains. 'They chanted to modulate the potent
vapour which was then energy magnified by the great stone
paramagnetic pyramid. Ever so gently they rose in the air. Their
very own wall pictographs tell us that this is so.'
The author is looking for co-production finance for a film/video
documentary series.
Bibliography Nature's Silent Music, Philip Callahan. ISBN
0-911311-33-5
Paramagnetism, Philip Callahan. ISBN 0-911311-49-1 Ancient
Mysteries, Modern Visions, Philip Callahan. ISBN
0-911311-08-4
All published by Acres USA. P.O. Box 8800, Metairie. Louisiana
70011, USA. Tel: 001 504 889 2100 for prices and availability.