
rexresearch.com
Eddie
Chang, et al.
Cobalt Hexammine vs Ebola
(
Hexamminecobalt(III) chloride, &c )



http://www.soflacs.org/semknightmar15.pdf
Dr
D. Andrew Knight
We have been exploring
the potential of the simple Werner complex, cobalt hexammine
"Cohex" for use as a broad spectrum antiviral and antibacterial
therapeutic. Cohex is a coordinatively saturated complex of
Co(III) surrounded by six ammonia ligands, is air and water
stable and has low toxicity. We have have reported on its
antiviral activity against both Sindbis virus (SV) and
adenovirus. Due to its kinetic inertness, Cohex interacts
principally with its environment via outer-sphere coordination
and through simple electrostatic interaction. One consequence is
that, unlike previously studied Co(III) systems, Cohex does not
hydrolyze nucleotides, but does show potent inhibition of
protein synthesis and dose-dependent antiviral properties. Our
recent studies on the activity of Cohex against Ebola and HIV
will be discussed.
http://chemistry.fiu.edu/seminars/2011/seminar-on-wednesday-april-6th-at-11am/abstract.pdf
Biological
Applications of Cobalt(III) Complexes: From Artificial
Endonucleases to Antimicrobial Drugs
D. Andrew
Knight,
Department
of Chemistry, Florida Institute of Technology
Artificial endonucleases based on a parent cobalt(III) cyclen
complex have been used as artificial endonucleases and have
demonstrated activity for the hydrolysis of DNA and RNA.
Using a cell-free translation system, we propose that cobalt
cyclen complexes inhibit protein synthesis via a steric blockade
and additionally through a
hydrolytic mechanism.
We have shown that a related cobalt(III) complex, cobalt
hexammine shows broad spectrum anti-viral activity against
Sindbis, HIV-1 and Zaire Ebola virus.
http://www.nrl.navy.mil/techtransfer/available-technologies/biomolecular-engineering/CoHex
CoHex:
Broad Spectrum Anti-Viral Compound

The Naval Research Laboratory (NRL) is developing a
hexamminecobalt(III) (CoHex) based anti-viral compound for
both clinical and first responder use.
Initial results with a variety of viruses (± ssRNA, -dsRNA,
dsDNA, enveloped, non-enveloped) indicate that this compound
is a very broad spectrum anti-viral agent.
Cohex is a small, stable, water-soluble, and inexpensive
compound that can potentially be used as a therapeutic when
there is no known drug therapy available, such as the case
with H1N1 or an Ebola outbreak.
It can also be used with existing anti-viral drugs to
provide an additive effect, which can reduce cost, as can be
the case of HIV treatment, where less of a more expensive
drug, such as AZT, is advantageous.
CoHex can also be used with current drugs against drug
resistant strains, and may reduce the probability of drug
resistance development.
Initial small animal testing also shows that CoHex has a
much lower cytotoxicity than FDA approved cis-Platin making
it a good source as a therapeutic agent
http://en.wikipedia.org/wiki/Hexamminecobalt%28III%29_chloride
Hexamminecobalt(III)
chloride

Hexaamminecobalt(III) chloride
Hexamminecobalt(III) chloride
CAS number 10534-89-1 Yes
Molecular formula H18N6Cl3Co
Molar mass 267.48 g/mol
Appearance yellow or orange crystals
Density 1.71 g/cm3,
Melting point decomposes
Solubility in water 0.26M (20 °C)
tribromide: 0.04M (18 °C)
Solubility soluble in NH3
geometry octahedral
Dipole moment 0 D
Hazards
R-phrases 36/37/38
S-phrases none
Main hazards poison
Related compounds
Other anions [Co(NH3)6]Br3
[Co(NH3)6](OAc)3
Other cations [Cr(NH3)6]Cl3
[Ni(NH3)6]Cl2
Except where noted otherwise, data are given for materials in
their standard state (at 25 °C (77 °F), 100 kPa)
Hexaamminecobalt(III) chloride is the chemical compound with the
formula [Co(NH3)6]Cl3. This coordination compound is considered
an archetypal "Werner complex", named after the pioneer of
coordination chemistry, Alfred Werner. This salt consists of
[Co(NH3)6]3+ trications with three Cl- anions. The term "ammine"
refers to ammonia in its metal complexes, and the prefix hex
(Greek: six) indicates that there are six ammonias per cation.
Originally this compound was described as a "luteo" (Latin:
yellow) complex, but this name has been discarded as modern
chemistry considers color less important than molecular
structure. Other similar complexes also had color names, such as
purpureo (Latin: purple) for a pentammine complex, and praseo
(Greek: green) and violeo (Latin: violet) for two isomeric
tetrammine complexes. [1]
Properties
and structure
[Co(NH3)6]3+ is diamagnetic, with a low-spin octahedral Co(III)
center. The cation obeys the 18-electron rule and is considered
to be a classic example of an exchange inert metal complex. As a
manifestation of its inertness, [Co(NH3)6]Cl3 can be
recrystallized unchanged from concentrated hydrochloric acid:
the NH3 is so tightly bound to the Co(III) centers that it does
not dissociate to allow its protonation. In contrast, labile
metal ammine complexes, such as [Ni(NH3)6]Cl2, react rapidly
with acids reflecting the lability of the Ni(II)-NH3 bonds. Upon
heating, hexamminecobalt(III) begins to lose some of its ammine
ligands, eventually producing a stronger oxidant.
The chlorides in [Co(NH3)6]Cl3 can be exchanged with a variety
of other anions such as nitrate, bromide, and iodide to afford
the corresponding [Co(NH3)6]X3 derivative. Such salts are bright
yellow and display varying degrees of water solubility.
Preparation
Since CoCl3 is not available, [Co(NH3)6]Cl3 is prepared from
cobalt(II) chloride. The latter is treated with ammonia and
ammonium chloride followed by oxidation. Oxidants include
hydrogen peroxide or oxygen in the presence of charcoal
catalyst.[2] This salt appears to have been first reported by
Fremy.[3]
The acetate salt can be prepared by aerobic oxidation of
cobalt(II) acetate, ammonium acetate, and ammonia in
methanol.[4] The acetate salt is highly water-soluble to the
level of 1.9M (20 °C), vs. 0.26M for the trichloride.
Uses
[Co(NH3)6]3+ is a component of some structural biology methods
(especially for DNA or RNA, where positive ions stabilize
tertiary structure of the phosphate backbone), to help solve
their structures by X-ray crystallography[5] or by nuclear
magnetic resonance.[6] In the biological system, the counterions
would more probably be Mg2+, but the heavy atoms of Cobalt (or
sometimes Iridium, as in PDB file 2GIS) provide anomalous
scattering to solve the phase problem and produce an
electron-density map of the structure.[7]
References
Huheey James E., "Inorganic Chemistry" (3rd edition 1983), p.360
Bjerrum, J.; McReynolds, J. P. (1946). "Hexamminecobalt(III)
Salts". Inorg. Synth. 2: 216–221.
doi:10.1002/9780470132333.ch69.
M. E. Fremy (1852). "Recherches sur le cobalt". Annales de
chimie et de physique 35: 257–312.
Lindholm, R. D.; Bause, Daniel E. (1978). "Hexamminecobalt(III)
Salts". Inorg. Synth. 18: 67–69. doi:10.1002/9780470132494.ch14.
Ramakrishnan, B.; Sekharudu, C.; Pan, B.; Sundaralingam, M.
(2003). "Near-atomic resolution crystal structure of an A-DNA
decamer d(CCCGATCGGG): cobalt hexammine interaction with A-DNA".
Acta Crystallogr. D59: 67–72. PMID 12499541.
Rudisser, S.; Tinoco Jr., I. (2000). "Solution structure of
Cobalt(III)hexammine complexed to the GAAA tetraloop, and
metal-ion binding to G.A mismatches.". J. Mol. Biol. 295:
1211–1232. doi:10.1006/jmbi.1999.3421. PMID 10653698.
McPherson, Alexander (2002). Introduction to Macromolecular
Crystallography. John Wiley & Sons. ISBN 0-471-25122-4.
http://ed.augie.edu/~awaspaas/inorg/hexaammine.pdf
Synthesis
of Hexammine Cobalt (III) Chloride
A. Aspaas
& L. Stanley
http://genchem.rutgers.edu/Coam.html
Preparation
of HexamineCobalt(III) Chloride
... This is a synthesis of a Coordination Compound.
The synthesis is relatively easy, but the procedure also
involves some very interesting science.
The orange brown crystals of Co(NH3)6Cl3 shown above were grown
slowly over a period of several days. This slow
crystal growth created the large crystals.
The material you will produce in this experiment will be an
orange powder. Faster crystallization produces smaller
crystals. Because the smaller crystals reflect more light, they
appear to be lighter in color.
COORDINATION COMPOUNDS
CoAmmol1.jpg (6912 bytes) Cobalt is a
transition metal and as such its d orbitals are "being filled".
They are part of the valence shell and are used in bonding.
In Co(NH3)6Cl3, the six empty hybrid d2sp3 orbitals are
used to bond with the nonbonding electron pair on ammonia.
CoAmmol2.jpg (7122 bytes)
The Co(NH3)6+3 ion is octahedrally surrounded by the six
ammonia molecules and gives rise to a compact, relatively
spherical ion.



http://www.sigmaaldrich.com/catalog/product/sigma/h7891?lang=en®ion=US
H7891
Sigma
Hexammine cobalt(III) chloride
for use in transformations
Synonym: Cobalt hexammine trichloride, Hexaamminecobalt
trichloride
CAS Number 10534-89-1
Linear Formula [Co(NH3)6]Cl3
Molecular Weight 267.48
EC Number 234-103-9
MDL number MFCD00036304
PubChem Substance ID 24895812
Properties
Related Categories Biochemicals, Molecular
Biology, Molecular Biology Reagents More...
grade for molecular biology
form powder
storage temp. room temp
Suitable for
DNA condensation studies
induction of transitions of DNA from B to A or Z forms
induction of nucleic acid crystal growth
stabilization of tertiary tRNA interactions
preparation of ligation buffer
General description
Hexammine cobalt(III) is considered an analog of fully solvated
magnesium, capable of activating some enzymes that requires
magnesium. It is useful in DNA condensation studies.1
http://web.williams.edu/wp-etc/chemistry/epeacock/EPL_CHEM_153/153-LABMAN_PDF_05/6-PrepCoboltCompl.pdf
Preparation
of an Inorganic Cobalt Complex : Co(NH3)nCl3
[ PDF ]
http://www.chemtopics.com/aplab/cocomplex.pdf
Preparation
& Analysis of a Coordination Compound of Cobalt
US2008182835
METHOD OF
USING A COBALT-AMINE BASED METAL COMPLEX AS AN ANTIVIRAL
COMPOUND...
Inventor: DELEHANTY JAMES, et al.
The present invention is generally directed to a method of
prophylaxis against viral infection of a cell or subject or a
method of treating a subject infected with a virus including
administering an antiviral composition having the general
Structure III, wherein each of R1, R2, R3, R4, R5 and R6 is the
same or different and includes an N-based ligand donor atom
selected from the group consisting of ammonia, primary amine or
secondary amine, or salt thereof. The present invention is also
generally directed to a method of preparing an antiviral agent
including providing a cobalt pentammine salt having a non-amine
coordination site and mono-substituting the non-amine
coordination site with a functional group incorporating a strong
coordinator atom to cobalt to form a CoHex structure of
Structure III, in which R1 incorporates the functional group
having the strong coordinator atom coordinated with the cobalt
atom, or a salt thereof.
FIELD OF
THE INVENTION
[0001] The present invention is generally directed to the use of
a cobalt-amine based metal complex as an antiviral compound and
a method for the preparation thereof.
BACKGROUND
OF THE INVENTION
[0002] Unlike antibiotics, there are significantly fewer
antiviral drugs available. For example, for influenza there are
only four: amantadine, rimantadine, oseltamivir (Tamiflu),
zanamivir. These four drugs can be divided into two categories,
the adamantane derivatives (amantadine, rimantadine) and the
neuraminidase inhibitors (oseltamivir, zanamivir), on the basis
of their chemical properties and activities against influenza
viruses. Adamantanes inhibit influenza propagation by blocking
the viral M2 protein ion channel, which prevents fusion of the
virus and host-cell membranes and release of viral RNA into the
cytoplasm of infected cells. Neuraminidase inhibitors, on the
other hand, block the process of release of influenza virus from
infected cells and, thereby, inhibit virus transmission to the
neighboring cells. Another example of an antiviral drug is
cidofovir, which has been found to be effective for treatment
against cytomegalovirus, a virus that puts babies and people
with HIV at risk. As with antibiotics, these antiviral agents
exhibit problems with either resistance or toxicity, thereby
limiting options for treatment of viral infection. Thus, there
is some urgency in the development of new classes of antiviral
drugs.
[0003] Certain metal-ion based antiviral complexes, such as the
CTC series of cobalt(III)-based compounds has been shown to
possess anti-inflammatory and antiviral activity. Structure I is
a general formula for a CTC complex.
[0000]
EMI2.0

[0000] As illustrated, CTC complexes are generally complex
chelate structures, with interconnected cobalt coordination
sites, leaving only axial coordination cites accessible for
activity. In particular, these axial positions contain labile,
or easily altered or broken down, axial ligands. For example, in
CTC-96 (also known as DOXOVIR, commercially available from Redox
Pharm. Corp.), the most effective of the series, the labile
axial ligands are 2-methyl-imidazoles.
[0004] Several CTC complexes have moderate in vitro and in vivo
activity against herpes simplex virus types 1 and 2,
varicella-zoster virus, cytomegalovirus, and Epstein-Barr virus.
While the therapeutic activity of the CTC series has been known
for several years, the mechanisms and the stage of the virus
life cycle at which many of these compounds are effective are
only beginning to be understood. For example, several CTC
compounds can bind strongly to, and inhibit, Sp1, a DNA binding
Zn finger protein, implying that the locus of inhibition may be
through the group of metalloproteins that depend on the Zn
finger motif. More recently, alternative mechanisms of
inhibition have been postulated based on the inhibition of
virus-mediated cell fusion.
[0005] Another type of Cobalt(III)-based compounds, based on the
macrocyclic cyclen chelator, have been shown to bind very
tightly to DNA/RNA, to hydrolyze the phosphodiester bonds of the
nucleotides, and to inhibit protein translation in cell-free
translation lysates. These cyclen complexes were of particular
interest because they have only four out of six possible
coordination sites on the Co(III) ion bound, leaving two
cis-equatorial positions open for hydrolysis by the complex. For
example, structure II below is a CoCyclen (or 1,4,7,10
tetraazacyclododecane) molecule illustrating the two
cis-equatorial positions open for hydrolysis by the complex.
[0000]
EMI3.0

[0000] These cyclen complexes have been used for mechanistic
studies of phosphodiester cleavage for both its efficient
hydrolysis rates and kinetic inertness. That is, the complexes
promote fast hydrolysis of the phosphodiester bond but are
kinetically "slow" in letting go of the hydrolyzed phosphate.
The kinetic inertness of the Co(III) may be overcome (i.e., at
elevated temperatures) but, for gene-silencing, this property
has the added advantage of disruption of gene function,
particularly disruption of protein translation. However, even
potent hydrolytic catalysts take much longer to degrade nucleic
acids than enzymes.
[0006] Other antiviral approaches include "antisense" technology
which includes the synthesis of oligodeoxynucleotides (ODN's)
that bind to their complementary sequences on the mRNA, thereby
blocking translation and inhibiting the production of the target
protein. However, binding to the RNA is often not stable.
Ribosomes can effectively compete with the oligonucleotides to
bind with the RNA and consequently ensure continuous production
of the target protein. The competitive edge of ribosomes is
facilitated by their intrinsic "unwindase" activity, which
allows them to read tangled messages, thus overcoming the effect
of the antisense ODN.
[0007] One solution to this "unwindase" activity relies on the
ability of the antisense oligonucleotides to employ the enzyme
RNase H. RNase H recognizes the DNA:RNA duplex and acts as a DNA
dependent RNA hydrolysis catalyst. This degrades the RNA leaving
the antisense ODN free to bind to other mRNA molecules, where
the RNA hydrolysis cycle is repeated. However, RNase H itself
poses a drawback because DNA:RNA duplexes as short as 5 base
pairs may be cleaved by RNase H, leading to poor specificity of
the antisense ODN's.
[0008] The lack of stability of the antisense ODN is also a
drawback for anitsense technology. Conventional ODN's are prone
to nuclease degradation inside the cell. Modified ODN's have
been synthesized with different backbones to improve their
stability but they either fail to recruit RNase H or exhibit
non-sequence specificity. A classical example of synthesized
stable antisense oligos is S-DNA (phosphorothioate) oligos that
possess enhanced stability but exhibit low sequence specificity
because of their weak binding. In addition, they promiscuously
bind cellular protein molecules thus reducing their
effectiveness as antisense agents.
[0009] Alternatively, peptide nucleic acids, in which the
backbone consists of N-(2-aminoethyl)-glycine units linked by
peptide bonds instead of a sugar and phosphate groups, have
gained considerable importance by virtue of their being nuclease
resistant and their ability to form stable complexes with
nucleic acids. More recently, morpholino oligos have also been
reported to afford high efficacy, specificity, and resistance to
nucleases. However, they fail to recruit RNase H relying only on
the binding specificity of the oligo.
[0010] Another approach includes RNA interference (RNAi)
therapeutics. The major difficulties with RNAi technology lie
with the lack of a reliable method of targeting and delivery of
double-stranded RNA (dsRNA). Issues, such as activation of the
cells' antiviral defense mechanisms by long strand dsRNA,
identification of a viable target region, and uncontrolled
global changes in gene expression of cells when dsRNA strands
are introduced into the cells, complicate any potential RNAi
applications using short, interfering RNA (siRNA). While
activation of cellular antiviral mechanisms may be desirable for
antiviral applications, many viruses can shut down the defenses
once entry is achieved. This natural viral defense strategy can
be an impediment for siRNA therapeutics.
[0011] Since only short RNA strands can be used for siRNA,
specificity of the target also can be an issue. Additionally,
determining which sequences will work for siRNA still remains a
problem to be solved for each target gene. Therefore, multiple
regions are generally screened for each target. The screening
requires using either synthetic RNAs, which are expensive, or
with cloned DNA sequences, which is time consuming. Furthermore,
the activity of the siRNA is not well understood at present-not
all sequences will work and it is still a hit-and-miss
proposition to find an active sequence.
BRIEF
SUMMARY OF THE INVENTION
[0012] The CoHex complex of the present invention exhibits a
potent inhibition of virus replication without possessing free
cobalt(III) coordination sites and without hydrolyzing
oligonucleotides.
[0013] An embodiment of the present invention includes a method
of prophylaxis against viral infection of a cell including
administering to a cell an antiviral composition having the
structure of Structure III,
[0000]
EMI4.0

[0000] wherein each of R1, R2, R3, R4, R5 and R6 is the same or
different and includes a N-based ligand donor atom selected from
the group consisting of ammonia, primary amine or secondary
amine, or salt thereof, so as to thereby provide prophylaxis
against infection of the cell by a virus.
[0014] An alternative embodiment of the present invention
includes a method of treating a subject infected with a virus
including administering to the subject an antiviral composition
comprising an antiviral effective amount of a compound having
the structure of Structure III, above, wherein each of R1, R2,
R3, R4, R5 and R6 is the same or different and includes a
N-based ligand donor atom selected from the group consisting of
ammonia, primary amine or secondary amine, or salt thereof, so
as to thereby treat the subject infected by the virus.
[0015] An alternative embodiment of the present invention
includes a method of prophylaxis against viral infection of a
subject including administering to a cell an antiviral
composition having the structure of Structure III, above,
wherein each of R1, R2, R3, R4, R5 and R6 is the same or
different and includes a N-based ligand donor atom selected from
the group consisting of ammonia, primary amine or secondary
amine, or salt thereof, so as to thereby provide prophylaxis
against infection of the subject by the virus.
[0016] An alternative embodiment of the present invention
includes a method of preparing an antiviral agent including
providing a cobalt pentammine salt having a non-ammine
coordination site and mono-substituting the non-ammine
coordination site with a functional group incorporating a strong
coordinator atom to cobalt to form a CoHex structure of
Structure III, above, where each of R2, R3, R4, R5 and R6 is the
same or different and includes a N-based ligand donor atom
selected from the group consisting of ammonia, primary amine or
secondary amine and R1 incorporates the functional group having
the strong coordinator atom coordinated with the cobalt atom, or
a salt thereof.
[0017] The foregoing and other features and advantages of the
present invention will be apparent from the following, more
particular description of a preferred embodiment of the
invention, as illustrated in the accompanying drawings.
BRIEF
DESCRIPTION OF THE DRAWINGS
[0018] FIG. 1 is a graph plotting percentage of cell viability
as a function of the concentration of a CoHex complex of the
present invention as compared to a conventional antiviral
compound.
[0019] FIG. 2 is a western blot exhibiting inhibition of
luciferase protein translation in vitro by a CoHex complex of
the present invention.
[0020] FIG. 3A is a graph plotting virus plaque counts in log
plaque formation units as a function of the concentration of a
CoHex complex of the present invention. FIG. 3B is a graph
plotting a degree of inhibition of plaque formation as a
function of concentration of the CoHex complex of the present
invention based on the results illustrated in FIG. 3A. FIG. 3C
is a graph plotting the fraction of cell survival of BHK cells
during viral infection as a function of the concentration of a
CoHex complex of the present invention relative to virus
infected cells that received no CoHex complex treatment.
[0021] FIG. 4 is a graph plotting virus plaque counts in log
plaque formation units per percent cell viability as a
function of the concentration of a CoHex complex of the
present invention.
[0022] FIG. 5 is a graph plotting percent cell viability as a
function of the concentration of a CoHex complex of the
present invention.
[0023] FIG. 6A is a micrograph illustrating healthy BHK cells
in the absence of a virus and a CoHex complex of the present
invention. FIG. 6B is a micrograph of BHK cells infected with
a virus but no CoHex complex of the present invention. FIGS.
6C-6H are micrographs of BHK cells infected with a virus and
concentrations of 0.15 mM, 0.3 mM, 0.6 mM, 1.2 mM 2.5 mM and 5
mM, respectively, of a CoHex complex of the present invention.
[0024] FIG. 7A is a raw data plot of simultaneous analysis of
Sindbis virus protein synthesis during SV infection in the
absence of a CoHex complex of the present invention. FIG. 7B
is a raw data plot of simultaneous analysis of Sindbis virus
protein synthesis during Sindbis virus infection in the
presence of a CoHex complex of the present invention. FIG. 7C
is representative flow cytometry data for the viability of
Sindbis virus-infected BHK cells in the absence of a CoHex
complex of the present invention. FIG. 7D is representative
flow cytometry data for the viability of Sindbis
virus-infected BHK cells in the presence of a CoHex complex of
the present invention.
[0025] FIG. 8A is a chart illustrating the dose-dependent
increase in cell viability in Sindbis virus-infected cells
(solid square) as a function of the concentration of a CoHex
complex of the present invention relative to uninfected cells
(open circle). FIG. 8B is a chart illustrating the
dose-dependent inhibition of EGFP expression in Sindbis
virus-infected cells (solid square) as a function of the
concentration of a CoHex complex of the present invention
compared to uninfected cells (open circle).
[0026] FIG. 9 is a chart illustrating the dose-dependent
increase in cell viability in Sindbis virus-infected cells as
a function of the concentration of a CoHex complex of the
present invention when the CoHex complex is administered at
various times.
[0027] FIG. 10 is a chart illustrating the dose-dependent
inhibition of EGFP expression in Sindbis virus-infected cells
as a function of the concentration of a CoHex complex of the
present invention when the CoHex complex is administered at
various times.
[0028] FIG. 11 is a graph illustrating the dose-dependent
increase in cell viability in Adenovirus-infected cells (right
bar) as a function of the concentration of a CoHex complex of
the present invention relative to uninfected cells (right
bar).
[0029] FIG. 12 is graph comparing the increase in cell
viability in Sindbis-infected cells (left bar) and
Adenovirus-infected cells (right bar) normalized to respective
infected control cells as a function of the concentration of a
CoHex complex of the present invention.
[0030] FIG. 13 is graph comparing the increase in cell
viability in Sindbis-infected cells (left bar) and
Adenovirus-infected cells (right bar) normalized to respective
uninfected control cells as a function of the concentration of
a CoHex complex of the present invention.
[0031] FIG. 14 is a schematic illustrating a method for
synthesizing an example of a functionalized CoHex complex of
the present invention.



DETAILED DESCRIPTION OF THE INVENTION
[0032] Preferred embodiments of the present invention are now
described with reference to the Figures. While specific details
of the preferred embodiments are discussed, it should be
understood that this is done for illustrative purposes only. A
person skilled in the relevant art will recognize that other
configurations and arrangements can be used without departing
from the spirit and scope of the invention. It will also be
apparent to a person skilled in the relevant art that this
invention can also be employed in other applications.
[0033] The identification of new antiviral drugs is a
challenging endeavor that is often built upon the balance
between potent antiviral activity and minimal toxicity against
host tissues. The present invention is generally directed to
positively charged cobalt(III) complexes or salts thereof in
octahedral ligand environments in which the ligands have strong
coordinator atoms to Cobalt (i.e., CoHex complex), for example,
where the ligand donor atoms are nitrogen (N)-based and/or
interact either electrostatically or via hydrogen bonding,
particularly ammonia, primary amines or secondary amines. The
present invention may be demonstrated by the general formula of
structure III, wherein R1 through R6 is the same or different
and includes N-based ligand donor atoms of ammonia, primary
amines or secondary amines.
[0000]
EMI5.0
[0034] A few examples of CoHex complexes of the present
invention are found below. Structure IV has all six positions
coordinated with a nitrogen atom of ammonia ligands, i.e.,
Co(NH3)6. Structure V is similar to the CoCyclen of Structure
II, however, with all six positions coordinated with a N atom
and with ammonia ligands at the cis-equatorial positions, rather
than having these positions open for hydrolysis. In Structure V,
some of the N-based ligand donors are chelating ligands. The
CoHex complexes of the present invention are highly positively
charged compounds. For example, the net charge for the complex
of Structure IV of 3<+> at neutral pH. Preferably, they
are prepared so as to be administered to a cell or subject as an
acceptable salt.
[0000]
EMI6.0
[0035] Neither UV-VIS nor NMR shows evidence that Co(NH3)6
(i.e., Structure IV) has an ability to exchange its ammonia
groups with free histidine, even at a ratio 100:1 histidine to
Co(NH3)6 (results not shown). In other words, Co(NH3)6 does not
appear to have labile ligands as does the conventional CTC
complexes. Surprisingly though, the CoHex complexes of the
present invention provide potent antiviral activity and
relatively minimal toxicity against host tissues.
Preparation
of Cobalt Complexes
EXAMPLE 1
[0036] While Co(NH3)6 is available commercially, the synthesis
of its chlorine salt is fairly straight forward and using easily
available reagents, for example using air to oxidize Co(II) to
Co(III) according to the following formula.
[0000]
CoCl2+4NH4Cl+20NH3+O2->4[Co(NH3)6]Cl3+2H2O
[0037] The example discussed below is for Co(NH3)6, but one
skilled in the art can appreciate that other CoHex complexes of
the present invention may be commercially available or
synthesized using similar methods. To prepare this Co(NH3)6
example, or more specifically the chlorine salt thereof, 9.6 g
of CoCl2.6H2O (0.06 mol) and 6.4 g of NH4Cl (0.12 mol) were
added to 40 mL of water in a 250 mL Erlenmeyer flask with a side
arm. The mixture was shaken until most of the salts are
dissolved. Then, 1 g of fresh activated decolorizing charcoal
and 20 mL concentrated ammonia were added. The flask was next
connected to the aspirator or vacuum line and air drawn through
the mixture until the red solution became yellowish brown (about
2-3 hours). The air inlet tube was of fairly large bore (about
10 mm) to prevent clogging with the precipitated
Co(NH3)6<3+> salt.
[0038] The crystals and charcoal were filtered on a Büichner
funnel and then a solution of 6 mL of concentrated hydrochloric
acid (HCl) in 75 mL of water was added, the mixture heated on a
hot plate to effect complete solution and filtered while hot.
Crystallization of the CoHex chloride was done by cooling to
0[deg.] C. and then slowly adding 15 mL of concentrated HCl. The
crystals were washed with 60% and then with 95% ethanol and
dried at 80-100[deg.] C.
Cytotoxicity
of CoHex
EXAMPLE 2
[0039] The cytotoxicity of Co(NH3)6 (Structure IV) was assessed
by monitoring its ability to inhibit proliferation of baby
hamster kidney (BHK) cells. BHK cells were cultured as
exponentially growing subconfluent monolayers in complete growth
medium, particularly Dulbecco's Modified Eagle's Medium (DMEM)
supplemented with 1% (v/v) antibiotic/antimycotic agent and 10%
(v/v) heat inactivated fetal bovine serum (FBS). Cells were
grown in either T25 or T75 flasks (Acton, Mass.) and incubated
at 37[deg.] C. under 5% CO2 atmosphere. A subculture was
performed every 3-4 days.
[0040] The in vitro toxicity of Co(NH3)6 was determined using
the CellTiter96(R) Proliferation Assay (Promega, Madison, Wis.).
This quantitative calorimetric assay is based upon the enzymatic
conversion of a tetrazolium salt substrate into a blue formazan
product with a maximum absorbance at 570 nm. When incubated with
this substrate, only viable cells convert the substrate into a
blue product while nonviable cells do not. At the assay
endpoint, the absorbance at 570 nm is directly proportional to
the number of viable cells. To assess compound toxicity, BHK
cells were seeded into the wells of a 96-well tissue culture
microtiter plate (2*10<4 > cells/well) and cultured
overnight at 37[deg.] C. in a humidified atmosphere containing
5% CO2. The next day, Co(NH3)6 was diluted into tissue culture
media (at final concentrations ranging from 0 to 5 mM) and
incubated with the cells for 72 hrs. Triplicate wells were
included for each concentration. To control for any
contaminating absorbance due to the compounds, control wells
containing no cells were included at each compound concentration
("no cell" wells). At the end of the 72 hour culture period, 15
[mu]L of tetrazolium substrate was added to each well and the
plate was returned to the incubator for 4 hours to allow viable
cells to convert the substrate into the formazan product. At the
end of the 4 hour incubation period, 100 [mu]L of solubilization
solution was added to each well and the plate was subsequently
incubated overnight to completely solubilize the contents of
each well to a homogeneous color. The absorbance within each of
the "no cell" wells was subtracted from the absorbance measured
in the corresponding wells containing cells for each
concentration of Co(NH3)6.
[0041] FIG. 1 illustrates cell viability with increasing
concentrations of Co(NH3)6 as compared with a conventional
cis-Platin complex. cis-Platin is an FDA approved and
commercially available medicament used as an anti-cancer agent.
As shown in FIG. 1, Co(NH3)6 elicited a dose-dependent
inhibition of cellular proliferation in which concentrations
below 2.5 mM were only mildly toxic, with no significant
toxicity at concentrations below 0.3 mM. At concentrations above
2.5 mM, however, Co(NH3)6 increasingly inhibited cellular
proliferation. At 2.5 mM Co(NH3)6 mediated about 80% cell
viability, while achieving a maximum toxicity at 5 mM, the
highest concentration tested. Also as demonstrated by FIG. 1,
Co(NH3)6 is much less toxic than that of the FDA approved
anti-cancer agent, cis-Platin. Lower toxicity makes a CoHex
complex of the present invention a good source as a therapeutic.
[0042] From FIG. 1, a 50% cytotoxicity concentration (CC50) for
CoHex, i.e., the concentration at which approximately 50% cell
death occurs due to the administration of CoHex, was determined
to be about 3.2 mM.
Activity of
the CoHex Complex in Preventing Translation
[0043] The highly positively charged CoHex complex has built-in
"stickiness" for highly-dense, negatively charged
polyelectrolytes, such as DNA/RNA, such that it is tightly bound
and does not easily release the nucleotides. This tight binding
encourages blocking of translation and is similar in concept to
"antisense" and RNAi technologies, but does not include some of
the limitations inherent to the other approaches. In particular,
because the CoHex complex itself binds strongly to nucleotides
via static charges and hydrogen bonding, the tight binding
overcomes any attempts by the cellular machinery to "unwind" the
hybridization site.
[0044] CoHex complexes have been previously studied for its
ability to "condense" double stranded DNA into toroidal-like
superstructures under low salt conditions. Nonetheless, without
the hydrolytic open binding sites, the CoHex complex of the
present invention is not a potent gene-silencing agent.
Surprisingly, however, a hydrolytic function is not necessary
for suppressing protein translation. The CoHex complex has the
characteristic of binding very tightly to nucleotides and has
demonstrated that such a tight ionic-binding property is
sufficient for the inhibition of protein expression and thus
antiviral activities.
[0045] CoHex complexes, with their high positively charged
density, are ideal for binding nucleotides and other
polyelectrolytes. Although Cobalt(III) is not stable, by itself,
in aqueous solutions, it can be stabilized by coordinating with
donor atoms (preferably N-based ligands and chelators) that make
strong contributions to the ligand field. While it is not clear
why CoHex complexes are particularly useful for antiviral
activity, the kinetic inertness, i.e., the inability of the
close and tightly bound N atoms to easily disassociate from the
Cobalt atom, may play a role in the particularly good antiviral
activity of CoHex complexes. The role of close and tightly bound
N atoms in CoHex's antiviral activity is particularly
surprising, since it is the labile axial ligands, as in
Structure II, and/or the availability of coordinating positions,
as in Structure I, that is the apparent mode of antiviral
activity of the conventional antiviral compounds.
[0046] Suppressing protein translation is to inhibit the ability
of either DNA or RNA to act as templates for transcription and
translation, respectively. This is done by blocking the site of
transcription/translation or by hydrolyzing the DNA/RNA
template. The CoHex complex of the present invention does not
hydrolyze nucleotides, but nonetheless demonstrates potent
protein-inhibition and dose-dependent antiviral properties by
blocking the site of transcription/translation. For purposes of
gene knock-out or antiviral applications, it is not necessary to
fully digest a DNA or RNA strand to deactivate an organism or a
gene, as long as the critical sites remain permanently blocked.
The strong affinity of the CoHex complexes of the present
invention for the bases and the phosphate groups of the
nucleotides, therefore, is a critical advantage to the general
goal of deactivating genetic materials. As such, the CoHex
complex of the present invention can function as non-specific
gene silencing compounds or general antiviral applications.
EXAMPLE 3
[0047] CoHex is capable of preventing translation of a messenger
RNA (mRNA) in vitro. The ability Co(NH3)6 to inhibit translation
of an mRNA luciferase template was assessed using the Rabbit
Reticulocyte Lysate Translation System (Promega) according to
the manufacturer's instructions. In the example discussed below,
Co(NH3)6 in various concentrations was incubated with the mRNA
for 10 minutes before the addition of the mRNA template to the
translation lysate. Translated luciferase protein was run on a
10% SDSPAGE gel for 45 min at 130 V and detected by Western blot
on a PVDF membrane. Proteins were detected using a
streptavidinalkaline phosphatase conjugate and Western Blue
substrate according to the instructions in the Transcend
Non-Radioactive Translation Detection System (Promega). The
results are provided in FIG. 2. In FIG. 2, Lane 1 represents the
incubation of 0.01 mM Co(NH3)6. Lane 2 represents the incubation
of 0.02 mM Co(NH3)6. Lane 3 represents the incubation of 0.05 mM
Co(NH3)6. Lane 4 represents the incubation of 0.1 mM Co(NH3)6.
Lane 5 represents the incubation of 0.2 mM Co(NH3)6. Lane 6 is a
positive control in which no Co(NH3)6 is added. Lane 7 is a
negative control in which no translation occurs. The lanes
marked M are molecular weight marker lanes. As shown in FIG. 2,
Co(NH3)6 blocks the RNA translation of luciferase protein at
around concentrations of about 0.1 to 0.2 mM Co(NH3)6. Further,
when compared to the same test using a conventional CoCyclen
structure similar to Structure II rather than Co(NH3)6 (data not
provided), Co(NH3)6 inhibits protein translation about an order
of magnitude (or about 10 times) more than the conventional
CoCyclen structure.
Antiviral
Activity of the CoHex Complexes-Sindbis Virus
EXAMPLE 4
[0048] In order to provide an example of antiviral
activity, an in vitro model of a positive single stranded RNA
(+ssRNA) virus, recombinant Sindbis virus (633-EGFP strain),
infection was used. In this construct, the gene encoding
enhanced green fluorescent protein (EGFP) is placed under the
control of the identical promoter sequence found upstream of the
viral structural proteins. Thus, upon replication,
virally-infected cells produce soluble EGFP at levels that are
proportional to the amount of virus. The virus seed stock was
expanded on BHK cells under serum free conditions.
[0049] BHK cells were grown in T-150 tissue culture flasks
(Acton, Mass.) until 90% confluent. Subsequently, the cells were
washed twice with Dulbecco's Phosphate Buffered Saline (PBS) and
infected with the recombinant Sindbis virus at a multiplicity of
infection of five plaque forming units (pfu) per cell in 2 ml of
virus production serum free medium (VP-SFM). After 1 hour of
incubation at 37[deg.] C., with rocking of flasks every ten
minutes, an additional 13 ml of VP-SFM media was added to bring
the volume to 15 ml. The next day, the cells were observed under
light microscopy for signs of cytopathic effects and the
presence of EGFP expression in infected cells was confirmed via
fluorescence microscopy. Cellular debris was centrifuged and the
supernatant was collected, aliquoted, and stored at -80[deg.] C.
The majority of cells (greater than 70%) were positive for EGFP
fluorescence.
Plaque
Formation Assay
EXAMPLE 5
[0050] BHK cells (1*10<5 > cells) were seeded to the wells
of a 24-well plate and grown overnight to a confluent monolayer.
The next day, the cells were infected with the Sindbis virus at
a ratio of about five plaque forming units (pfu) per cell in
DMEM containing 2% FBS in the absence or the presence of
increasing concentrations of Co(NH3)6. Infection was allowed to
proceed for 48 hours, at which time the supernatants were
collected and stored at -80[deg.] C. until further use.
[0051] For quantization of viral infection and replication, the
sampled supernatants were thawed and serially diluted in 1% FBS
DMEM. The diluted virus was used to infect monolayers of BHK
cells grown in 6-well clustered plates. An aliquot (200 [mu]L)
of virus from each selected dilution was incubated with BHK
monolayers for 1 hr at 37[deg.] C. with rocking of plates every
10 min to prevent drying of the monolayers. After 1 hr, the
cells were overlayed with warm melted 1.2% Bacto agar in water
mixed with an equal volume of 2* Minimum Essential Medium (MEM).
The overlay agar was allowed to solidify at room temperature.
Then the plates were incubated at 37[deg.] C. for 48 hr to allow
plaque formation. Two days later, the cells were stained with
neutral red. The exact staining solution per well was 0.5 ml of
2*MEM, 0.5 ml distilled water, 0.11 ml of 0.33% neutral red
solution (i.e., 3.3 g/L in PBS). After 1-2 hrs of staining, the
remaining staining solution was aspirated off and plaques were
observed as clear foci within the cell monolayer. Via this
method the amount of virus in the cells (i.e., plaque counts)
can be ascertained by visual counting the number of plaque
formation units (pfu) per well and multiplying by the dilution
factor to determine the concentration of pfu in the original
supernatant.
[0052] FIG. 3A is a graph illustrating a dose dependent decrease
in the plaque counts, in log pfu, for each increasing
concentration of Co(NH3)6 used at 48 hours. A maximal inhibition
of virus replication (i.e., about a 2.5 log decrease in pfu over
the control with no Co(NH3)6) was seen at about 2.5 mM Co(NH3)6.
FIG. 3A shows that Co(NH3)6 decreases plaque formation by almost
2 to 3 log units. These same general trends were observed in at
24-hours post infection (data not provided).
[0053] In FIG. 3B, the degree of inhibition of plaque formation
units measured in FIG. 3A is plotted as a function of Co(NH3)6
concentration. The 50% inhibitory concentration (IC50) for
Co(NH3)6 inhibition of Sindbis virus plaque formation was
determined to be about 0.10+-0.04 mM.
[0054] The reductions in viral pfu of these magnitudes in vitro
suggest in vivo significance. Previous studies have shown that a
one log unit decrease in viral load in murine brains correlates
with survival of infected animals. However, FIG. 3A does not
take into consideration a significant decrease in cell
proliferation due to increased cytotoxicity of Co(NH3)6 at
concentrations over 2.5 mM or even a slight decrease in cell
proliferation at concentrations less than 2.5 mM, as illustrated
in FIG. 1. Nor does FIG. 3A account for the decrease in cell
proliferation due to the virus replication itself.
EXAMPLE 6
[0055] Since the use of a CoHex complex of the present invention
reduces but does not eliminate cell death due to the viral
activity, the viability of BHK cells during Sindbis virus
infection must also be determined as a function of the
concentration of the CoHex complex. Because live cell counts
will decrease with increasing CoHex complex due to cytotoxicity
of the cells and virus replication, but increase due to the
anti-viral protection of CoHex, the plaque counts may have
decreased due to the fact that there were less live cells
available to count. FIG. 3C is a graph depicting the fraction of
cell survival of BHK cells during Sindbis viral infection as a
function of Co(NH3)6 concentration at 48 hours after infection,
in which cell survival is expressed as a "fraction cell
survival" relative to Sindbis-infected cells that received no
Co(NH3)6 treatments. The data of FIG. 3C was obtained using the
CellTiter96 cell proliferation assay described above for the
CoHex cytotoxicity data (i.e., with respect to FIG. 1) in which
the cells were further infected with 5 plaque forming units per
cell of Sindbis virus in DMEM containing 2% FBS in the absence
or presence of various concentrations of Co(NH3)6, then assayed
periodically.
[0056] Therefore, the fraction cell survival data of FIG. 3C was
combined with the log pfu data of FIG. 3A to generate a ratio,
Log(PFU) per percent cell survival, which although not a
physical measure, is a general model of viruses in surviving
cells. FIG. 4 shows this ratio for the various concentrations of
Co(NH3)6 used during the infection of the BHK cells. As
illustrated in FIG. 4, there has been a significant decrease in
viral infection for the surviving cells with an increase in
concentration of Co(NH3)6.
Cell
Viability Study
EXAMPLE 7
[0057] Additional cell viability studies were done using a
combined assessment of cellular morphology via light microscopy,
or visual inspection of cell viability, and plasma membrane
integrity measurements using a Trypan blue dye-exclusion assay.
Specifically, BHK cells were seeded to the wells of a 96-well
plate (2*10<4 > cells/well) and cultured overnight in
complete growth medium. The cells were then incubated with
increasing concentrations of Co(NH3)6 for 6 hours prior to the
addition of Sindbis virus (1*10<5 > pfu/well). After a 48
hour infection period, the cells were resuspended and an aliquot
of cells (10 [mu]L) was mixed with 90 [mu]L 0.2% trypan blue.
The number of viable cells was determined by counting with a
hemocytometer.
[0058] FIG. 5 illustrates the results of this viable cell count
as a function of Co(NH3)6 concentration. FIG. 5 reflects that
after 48 hours, cell membrane viability was only about 65% for
the uninfected control and was down to 30% with virus but no
Co(NH3)6 added. The initial addition of 0.15 mM Co(NH3)6 further
decreased viability, but higher concentrations revived cell
viability up to 80% at 1.2 mM, beyond which point, survivability
dropped drastically. Due to the large scatter in the range of
data values, there is not a significant difference between the
65% uninfected and the 80% 1.2 mM Co(NH3)6 values.
[0059] Also, a corresponding set of wells was identically
prepared exclusively for observation using Trypan blue staining
and light microscopy. FIGS. 6A-6H are light microscopy images
showing cell morphology at various concentrations of Co(NH3)6 at
48 hours post infection following 6 hours of pretreatment with
Co(NH3)6. Specifically, FIG. 6A shows healthy BHK cells in the
absence of both Sindbis virus and Co(NH3)6. FIG. 6B shows BHK
cells infected with the Sindbis virus but no Co(NH3)6. FIG. 6C
shows BHK cells infected with the Sindbis virus and 0.15 mM
Co(NH3)6. FIG. 6D shows BHK cells infected with the Sindbis
virus and 0.3 mM Co(NH3)6. FIG. 6E shows BHK cells infected with
the Sindbis virus and 0.6 mM Co(NH3)6. FIG. 6F shows BHK cells
infected with the Sindbis virus and 1.2 mM Co(NH3)6. FIG. 6G
shows BHK cells infected with the Sindbis virus and 2.5 mM
Co(NH3)6. FIG. 6H shows BHK cells infected with the Sindbis
virus and 5 mM Co(NH3)6. Viable cells remain attached to the
tissue culture substrate and have an elongated, epithelial
cell-like appearance. The arrows in FIGS. 6E-6G indicate
examples of cells that have retained an elongated and adherent
morphology. Non-viable cells are detached from the tissue
culture substrate and are rounded. FIGS. 6B-6H illustrate that
pronounced cell death is apparent in the presence of no Co(NH3)6
(FIG. 6B) and at lower concentrations of Co(NH3)6 (FIGS. 6C and
6D). However, viable cells appeared more pronounced at
concentrations of 0.6 and 1.2 mM Co(NH3)6 (FIGS. 6E and 6F,
respectively), again decreasing at 2.5 mM and 5.0 mM Co(NH3)6
(FIGS. 6G and 6H, respectively).
[0060] It is interesting to note that both the light microscopy
results (FIGS. 6A-6H) and the cell viability count (FIG. 5) show
similar results, and both suggest indicated that 1.2 mM
concentration of Co(NH3)6 provides an optimal protection against
Sindbis virus.
Flow
Cytometry-EGFP Reporter Assay
EXAMPLE 8
[0061] Additional studies of antiviral activity were quantified
by flow cytometry, a more sensitive fluorometric assay, to
further validate the plaque assay and cell viability results. In
these assays, Sindbis virus replication was assessed by
monitoring viral structural protein synthesis using a
recombinant Sindbis virus construct. In this construct, the gene
encoding enhanced green fluorescent protein (EGFP) was placed
under the control of the same promoter sequence that drives
transcription of viral structural proteins. Thus, upon Sindbis
virus replication, virally infected cells produce intracellular
EGFP at levels that are proportional to the level of viral
structural proteins.
[0062] BHK cells (1*10<5> ) were plated into the wells of
24-well plates in 1 mL of complete media and incubated with
increasing concentrations of Co(NH3)6 for 6 hours prior to
infection with Sindbis virus at a multiplicity of infection
(moi) of 5 pfu per cell. The infection was allowed to proceed
for 48 hours. In preparation for analysis by flow cytometry,
cells from each well were removed and pelleted, washed with PBS,
and resuspended in 500 [mu]L of PBS. One half of each sample was
analyzed directly to determine the percentage of EGFP-positive
cells (percent infected cells). The other half of each sample
was incubated with 5 [mu]M propidium iodide for 1 minute prior
to the determination of the percentage of non-viable cells. In
all cases, analysis was performed on 1*10<4 > cells.
[0063] BHK cells were pretreated with Co(NH3)6 for 6 hours prior
to infection with Sindbis virus. After 48 hours post infection,
both the percentage of Sindbis-infected cells (as evidenced by
EGFP fluorescence) and the percentage of viable cells (as
determined by the exclusion of propidium iodide (PI)) were
determined as a function of Co(NH3)6 concentrations.
[0064] FIGS. 7A and 7B are representative raw data plots of
simultaneous analysis of SV protein synthesis during SV
infection in the absence of Co(NH3)6 (FIG. 7A) and in the
presence of 0.15 mM Co(NH3)6 (FIG. 7B). The area marked 'R1'
corresponds to EGFP-positive (SV-infected) cells. In the
presence of Co(NH3)6, a distinct decrease in the percentage of
EGFP-positive (i.e., Sindbis-infected) cells was apparent. FIGS.
7C and 7D are representative flow cytometry data for the
viability of SV-infected BHK cells in the absence of Co(NH3)6
(FIG. 7C) and in the presence of 0.15 mM Co(NH3)6 (FIG. 7D). The
area marked 'R2' corresponds to propidium iodide (PI)-positive
(non-viable) cells. In all cases, the x-axis corresponds to
forward scatter (FSC). Quantification of cell viability revealed
that during Sindbis infection, relative to infected cells that
were not treated with Co(NH3)6 (FIG. 7C, region R2), cells
treated with 0.15 mM Co(NH3)6 exhibited a significantly lower
percentage of PI-positive (non-viable) cells (FIG. 7D, region
R2).
[0065] Data demonstrating the dose-dependent nature of the
Co(NH3)6-mediated increase in cell viability and inhibition of
EGFP expression (i.e. inhibition of SV replication) as a
function of Co(NH3)6 concentrations are presented in FIGS. 8A
and 8B, respectively. In FIG. 8A, data are shown for the
dose-dependent increase in cell viability in SV-infected cells
(solid square) as a function of Co(NH3)6 concentrations relative
to control, uninfected cells (open circle). In FIG. 8B, data are
shown for the dose-dependent inhibition of EGFP expression in
SV-infected cells (solid square) as a function of Co(NH3)6
concentration compared to control, uninfected cells (open
circle). In FIGS. 8A and 8B, asterisks on the plots for the
SV-infected cells correspond to levels of significance relative
to the untreated infected control (as determined by a two-tailed
Student's t-test): *(p<0.05); **(p<0.005);
***(p<0.001). When the data in FIG. 8B were fitted to a
standard dose-response curve using a one-site dose response
logistic curve fit function, an IC50 of 0.13+-0.04 mM was
determined. This value agrees well with the IC50 value
determined by the plaque assay above, (0.10+-0.04 mM).
[0066] A selectivity ratio may be calculated by comparing CC50
to IC50: CC50/IC50=about 25. This selectivity ratio measures the
selectivity of Co(NH3)6 for Sindbis virus over BHK cells. Thus,
Co(NH3)6 is about 25 times more selective for the virus than for
the host cell.
Timing of
CoHex Administration on Antiviral Activity
[0067] The flow cytometry assay discussed above was repeated
with various concentrations of Co(NH3)6 administered as a
pretreatment to Sindbis viral infection, as co-infection and at
2, 4 and 24 hours post-infection. FIG. 9 is a chart illustrating
survival rates for BHK cells for the various concentrations of
Co(NH3)6 for each administration timing. As seen in FIG. 9,
timing of the Co(NH3)6 treatment has very little effect on the
survivability of the cells. As such, Co(NH3)6 is an effective
antiviral agent whether administered prior to viral infection,
contemporaneously with viral infection, or after viral
infection. However, it appears that early treatment of Co(NH3)6
generally increases the percentage of cell survival.
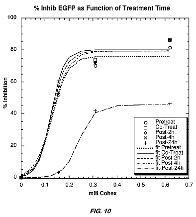
[0068] Similarly, FIG. 10 is a chart illustrating the effects of
timing of Co(NH3)6 administration on EGFP expression by Sindbis
virus in BHK cells. The chart measures percent inhibition of
EGFP expression as a function of Co(NH3)6 concentration. As
illustrated, Co(NH3)6 is equally effective when administered as
a pretreatment, co-infection or early post-treatment. Even at 24
hours post-treatment, inhibition of EGFP expression is apparent,
but not apparently as significantly as with earlier treatment.
Antiviral
Activity of the CoHex Complexes-Adenovirus
EXAMPLE 10
[0069] Another example of antiviral activity is an in vitro
model of a double stranded DNA (dsDNA) virus infection,
Adenovirus. As with Sindbis virus, effective antiviral activity
was demonstrated with Adenovirus in A549 cells. The same flow
cytometry procedure discussed above for Sindbis viral infection
in BHK cells was used for Adenovirus viral infection in A549
cells. In other words, the cells were incubated with 5 [mu]M
propidium iodide for 1 minute prior to the determination of the
percentage of non-viable cells. The percentage of viable cells
(as determined by the exclusion of propidium iodide (PI)) were
determined as a function of Co(NH3)6 concentration.
[0070] FIG. 11 illustrates survival rates for A549 cells
uninfected and infected with Adenovirus assayed at 48 hours post
infection with increasing concentration of Co(NH3)6 administered
as a 6 hour pretreatment. As such, the presence of increasing
concentration of Co(NH3)6, up to 0.0621 mM Co(NH3)6,
demonstrates an increase in survival rate of A549 cells. A
continued increase in survivability of A549 cells was found at a
concentration of 1.25 mM Co(NH3)6, despite the fact that the
toxicity began to take effect at this high concentration as
evidenced by the reduction in cell survivability of the
uninfected cells at 1.25 mM Co(NH3)6 (FIG. 1).
[0071] As illustrated in FIGS. 12 and 13, the normalized
survivability rates of Co(NH3)6 treated cells is similar whether
the viral infections are Adenovirus infections or Sindbis virus
infections. In both cases, Co(NH3)6 increases cell survivability
of virally infected cells.
Sequence
Specific CoHex System
[0072] To be specific for a particular protein, the CoHex system
of the present invention will need to possess an ability to
recognize sequences of nucleotides that code for that protein.
Thus, a full sequence-recognizing, artificial nuclease can be
thought to consist of a very tight binding component and a
sequence-recognition nucleotides component.
[0073] Thus, the present invention also includes the addition of
nucleotide-binding groups, such as hybridization-capable
oligonucleotides, or other nucleotide-binding groups (e.g.,
peptide nucleic acids, modified nucleic acids, triple-helix
formers, or nucleotide-binding proteins and drugs), which are
attached to functionalized CoHex complexes. The resulting system
will be able to identify and bind to specific genes in order to
silence transcription/translation of specific genes and/or
attack specific viruses. Further, the attachment of a
hybridizing oligonucleotide sequence to a CoHex complex may
enable the CoHex complex to recognize nucleotide sequences that
are longer than those typically used for RNAi applications.
Therefore, CoHex complexes can potentially be used for both
non-sequence-specific and sequence-specific inhibition of
transcription/translation of viral proteins, as well as for
other molecular biology tasks. The molecular recognition
potential of the chemical nucleases, furthermore, means that
these chemical nucleases can potentially be used in a novel
approach to interdict whole classes of organisms (e.g., the
filoviruses).
EXAMPLE 10
[0074] Although a variety of nucleotide-binding groups that
identify and bind to a particular sequence may be added to the
CoHex complexes of the present invention, one method for doing
so includes starting with a copentammine salt, such as a
chloropentammine cobalt(III) salt and mono-substituting the
non-ammine coordination site with a functional group, which can
bind to the CoHex complex. The functional group can subsequently
be attached to an oligonucleotide or oligonucleotide sequence
designed to identify and bind with specific viral DNA or RNA.
For example, FIG. 14 illustrates a schematic method for
synthesizing a CoHex complex having a mono-substituted
functional group in the R1 position of Structure III, as shown
in Structure VI below. In Structure VI and in FIG. 14, "OTf"
refers to a triflate anion, CF3SO3<-> .
[0000]
EMI7.0
[0075] Structure VI was synthesized by mono-substitution of
chloropentamminecobalt(III) chloride with
trifluoromethanesulfonic acid. The brick red product was
collected, then treated with (N-[[epsilon]-Maleimidocaproic
acid]hydrazide) in dry acetone and stirred for 24 hrs. The pink
solution was washed with dichloromethane to remove any organic
impurities and then dried to give Structure VI as a pink powder.
Structure VI, for example, may be particularly useful to bond
with oligonucleotide or oligonucleotide sequences having a thiol
functional group.
[0076] One skilled in the art can appreciate synthesis of CoHex
complexes with a variety of functional groups as would be
appropriate for a particular application either using the above
described method or an appropriate alternative method. Such a
CoHex complex would be capable of targeting and inhibiting
translation of a particular sequence or virus.
US20110027388
Cobalt Hexammine as a Potential Therapeutic Against HIV
and/or Ebola Virus
Inventors: Eddie L. Chang (Silver Spring, MD, US)
Lisa Hensley (Frederick, MD, US) Dzung C. Thach
(Annandale, VA, US) Andy Knight (New Orleans, LA,
US) Gene Olinger (Frederick, MD, US)
Assignees: The Government of the US, as represented by the
Secretary of the Navy The Government of the United States,
as represented by the Secretary of the Army
Hexaamminecobalt(III) chloride, also called Cohex, reduces the
extent of viral infection, including difficult to treat
infections caused by Ebola virus and HIV. Disclosed are methods
for treating a viral infection, comprising administering to a
patient a cobalt(III) hexammine compound in an amount effective
to reduce an extent of a viral infection. Also disclosed are
kits for delivery of a cobalt(III) hexammine compound by
injection.
BACKGROUND
[0002]In this specification where a document, act or item of
knowledge is referred to or discussed, this reference or
discussion is not an admission that the document, act or item of
knowledge or any combination thereof was at the priority date,
publicly available, known to the public, part of common general
knowledge, or otherwise constitutes prior art under the
applicable statutory provisions; or is known to be relevant to
an attempt to solve any problem with which this specification is
concerned.
[0003]Hexaamminecobalt(III) chloride, also called Cohex, is
notable for its ability to "condense" dsDNA into toroidal-like
superstructures under low salt conditions. The metal ion itself,
Co(III), with its high positive charge density, is an ideal
candidate for binding nucleotides with their high negative
charge density. Although Co(III) is not stable by itself in
aqueous solutions, it is stabilized by coordinating with donor
atoms (usually N) that make strong contributions to the ligand
field. These coordinating donors could either be monodentate
ligands, e.g., NH3, or polydentate chelators, such as cyclen,
C8H20N4. The Co(III)-chelator complexes (e.g., cobalt cyclen
complexes) have been used for mechanistic studies of
phosphodiester cleavage for both its efficient hydrolysis rates
and kinetic inertness, whereby the kinetic inertness of Co(III)
ions results in the continued binding of the complex to the
hydrolyzed phosphate.
[0004]Due to the kinetic inertness of Co(III) ions, the Cohex
complex sequesters the "inner-sphere" ammonia ligands from most
exchange-reactions in solution; therefore, the usual
interactions with solution molecules are by "outer-sphere"
coordination via water bridges to the ammonia ligands and via
the high charge-density of the Co(III) ion. These two
characteristics play an important role in the strong attachment
of Cohex to either DNA or RNA and in enabling Cohex to often
substitute for hydrated Mg2+(aq) as a cofactor in nucleic acid
biochemistry.
[0005]For example, Cohex complexation with 5S RNA--where Cohex
was used in place of Mg2+(aq)--was found to provide no
significant shifts in the ?max of the absorption bands of Cohex,
indicating that Cohex interaction with RNA was through
outer-sphere complexation (and, of course, opposing charge
attraction). It has also been reported that the number of
binding sites on RNA was similar for Cohex and Mg2+(aq) and that
the number was greater than expected for simple charge
neutralization of the RNA backbone. These observations
demonstrate that Cohex has a great propensity to bind to
nucleotides at sites similar to Mg2+-binding sites and either
inhibit or slow down the bio-functions of DNA and RNA.
[0006]While certain aspects of conventional technologies have
been discussed to facilitate disclosure of the invention,
Applicants in no way disclaim these technical aspects, and it is
contemplated that the claimed invention may encompass one or
more of the conventional technical aspects discussed herein.
BRIEF
SUMMARY
[0007]Cohex can inhibit viral transcription/translation via
interference with viral RNA. This interference can be either via
general "blockade" of the nucleotide strands from
transcription/translation or may be made more overt by attaching
hybridizing oligonucleotide strands to the Cohex. It has been
shown that Cohex does not hydrolyze nucleotides, but does show
potent antiviral properties against the Sindbis virus and
Adenovirus, which are positive single-stranded (ss) RNA,
double-strand (ds) DNA, respectively, and furthermore can act as
an antibiotic. See US Patent Application Publication Nos.
2008/0182835 and 2010/0004187, each of which is incorporated by
reference in its entirety.
[0008]In one embodiment, a method for treating a viral infection
comprises administering to a patient a hexaamminecobalt(III)
compound (e.g., hexaamminecobalt(III) chloride) in an amount
effective to reduce an extent of a viral infection.
[0009]In a further embodiment, a method for treating a viral
infection comprises administering to a human patient a
hexamminecobalt(III) compound in an amount effective to reduce
an extent of an infection of the patient with Ebola virus or
HIV.
[0010]In another embodiment, a kit for delivery of a
hexamminecobalt(III) compound by injection comprises a
hexamminecobalt(III) compound in a pharmaceutically acceptable
carrier, and equipment for delivery thereof by injection,
wherein the equipment comprises at least one of a container,
injection tubing, or an injection needle.
BRIEF
DESCRIPTION OF THE DRAWINGS
[0011]FIG. 1 is an illustration of hexacoordinated
Co(III), hexamminecobalt(III) (chloride counterions not
shown), and magnesium(II) hexahydrate, Mg(H2O)62+, both form
octahedral coordination geometry with their respective
ligands.
[0012]FIG. 2 is a double-Y semi-log plot is shown of the
decrease in RT activity (left), as a measure of viral
activity, or uninfected cell viability (right) for HIV-1 NL4-3
isolate. "% VC" means "% Virus Control" and "% CC" means "%
Cell Control."
[0013]FIG. 3 is a double-Y semi-log plot is shown of the
decrease in RT activity (left), as a measure of viral
activity, or uninfected cell viability (right) for HIV-1 Ba-L
isolate. "% VC" means "% Virus Control" and "% CC" means "%
Cell Control."
[0014]FIG. 4 plots levels of GFP expression in cells
infected with Zaire Ebola GFP, normalized against infected
cells with no therapeutic (+/-control). Left plot: Relative
GFP levels for A549 cells as a function of Cohex
concentration, from 2.5 µM to 5 mM. Right plot: Relative GFP
levels for HepG2 cells as a function of Cohex concentration
[0015]FIG. 5 plots of the levels of GFP expression in
cells infected with Zaire Ebola GFP, normalized against
infected cells with no therapeutic (+/-control). Left plot:
Relative GFP levels for 293T cells as a function of Cohex
concentration, from 2.5 µM to 5 mM. Right plot: Relative GFP
levels for VeroE6 cells as a function of Cohex concentration.
[0016]FIG. 6 shows semi-log plots of the % viable (live)
cells as a function of Cohex concentration. Left plot: A549
cells. Right plot: HepG2 cells.
[0017]FIG. 7 shows linear plots of the same data as FIG.
6, showing the region of greatest cytotoxic effect. Left plot:
A549 cells. Right plot: HepG2 cells.
[0018]FIG. 8 shows linear plots of the % viable (live)
cells as a function of Cohex concentration. Left plot: VeroE6
cells. Right plot: 293T cells.
[0019]FIG. 9 shows results for flow cytometric assay
using PI as a marker for dead cells show almost no change
between 0 to ˜1.2 mM Cohex.
[0020]FIG. 10 shows a curve fit of inhibition by Cohex.
For purposes of fitting, the negative (-%) inhibitory % were
turned into positive numbers; so 100%=100% inhibition. The
IC50 for the fit was found to be 0.38 mM Cohex.

DETAILED DESCRIPTION
[0021]Hexaamminecobalt(III) (Cohex; FIG. 1), in particular the
chloride salt thereof, is notable for its ability to "condense"
dsDNA into toroidal-like superstructures under low salt
conditions. The metal ion itself, Co(III), with its high
(+)charge-density, is an ideal candidate for binding nucleotides
with their high (-)charge density. Although Co(III) is not
stable by itself in aqueous solutions, it is stabilized by
coordinating with donor atoms (usually N) that make strong
contributions to the ligand field. These coordinating donors
could either be monodentate ligands, e.g., NH3, or polydentate
chelators, such as cyclen, C8H20N4. The Co(III)-chelator
complexes (e.g., cobalt cyclen complexes) have been used for
mechanistic studies of phosphodiester cleavage for both its
efficient hydrolysis rates and kinetic inertness, whereby the
kinetic inertness of Co(III) ions results in the continued
binding of the complex to the hydrolyzed phosphate.
[0022]Due to the kinetic inertness of Co(III) ions, the Cohex
complex sequesters the "inner-sphere" ammonia ligands from most
exchange-reactions in solution; therefore, the usual
interactions with solution molecules are by "outer-sphere"
coordination via water bridges to the ammonia ligands and via
the high charge-density of the Co(III) ion. These two
characteristics play an important role in the strong attachment
of Cohex to either DNA or RNA5 and in enabling Cohex to often
substitute for hydrated Mg2+(aq) as a cofactor in nucleic acid
biochemistry. For example, Cohex complexation with 5S RNA--where
Cohex was used in place of Mg2+(aq)--was examined and found to
provide no significant shifts in the ?max of the absorption
bands of Cohex, indicating that Cohex interaction with RNA was
through outer-sphere complexation (and, of course, opposing
charge attraction). It has also been reported that the number of
binding sites on RNA was similar for Cohex and Mg2+(aq) and that
the number was greater than expected for simple charge
neutralization of the RNA backbone. These observations
demonstrate that Cohex has a great propensity to bind to
nucleotides at sites similar to Mg2+-binding sites and either
inhibit or slow down the bio-functions of DNA and RNA.
[0023]Cohex may function as a new type of broad-spectrum
antiviral compound. For example, Cohex can be effective in
significantly enhancing cell viability and in depressing viral
expression for Sindbis infected BHK cells, with similar
significant effects of Cohex against adenovirus in A549. See US
Patent Application Publication No. 2008/0182835. These
observations point to the potential broad-spectrum nature of
Cohex against viruses.
[0024]As disclosed herein, Cohex demonstrates antiviral
properties against two additional viruses. Ebola virus is a
negative-strand, filamentous, enveloped microorganism that
belongs to the filoviridae family of viruses. Cohex can decrease
the viral expression levels in a dose-dependent manner, in a
variety of cells infected with the Ebola virus. Cohex also
demonstrates antiviral properties against human immunodeficiency
virus (HIV). HIV is a member of the genus lentivirus and belongs
to the Retroviridae family. It has a single-strand (-)RNA
genome, which is transcribed into a complementary DNA (cDNA)
inside the host cell by an RNA-dependent DNA polymerase. The
sense cDNA serves as a template for DNA-dependent DNA polymerase
to make an antisense DNA copy, which forms a double-stranded
viral DNA (dsDNA). The dsDNA is then transported into the cell
nucleus where it gets integrated into the host cell's genome.
Virus replication is initiated when the integrated DNA provirus
is transcribed into mRNA.
DEFINITIONS
[0025]As used herein, the term "reduce an extent of the viral
infection" with regard to a patient means that the ability of
viruses to multiply within a patient is at least partially
reduced.
[0026]As used herein, a "patient" can be a human or other
mammal.
Antiviral Uses of Cohex
[0027]It is contemplated that Cohex could be used to treat a
viral infection in a patient. In one embodiment, an effective
amount of Cohex is administered to a patient suspected or known
to have a viral infection. Optionally, a method of treatment
includes identifying a patient who is or may be in need of such
treatment. The patient can be a human or other mammal, including
without limitation a primate, dog, cat, cow, pig, or horse.
[0028]In an embodiment, Cohex is administered to a patient known
or suspected of being infected by a virus. In a further
embodiment, Cohex is administered prior to exposure of the
patient to a virus. In another embodiment, Cohex is administered
subsequent to exposure of the patent to a virus.
[0029]The Cohex may be administered by any of various means
including orally or nasally, or by suppository, or by injection
including intravenous, intramuscular, or intraperitoneal
injection, or combinations of any of these.
[0030]In an embodiment, equipment for injection of Cohex in a
pharmaceutically acceptable comprises at least one of a
container for the compound (such as a tube, bottle, or bag),
injection tubing, or an injection needle.
[0031]The quantity of Cohex effective to treat an infection can
be ascertained by one of ordinary skill in the art. Exemplary
amounts of Cohex include 0.5, 1, 2, 4, 8, 10, 12, 14, 16, 18, or
20 mg/kg, or more.
[0032]Viral infections that can be treated include, but are not
limited to, those associated with human immunodeficiency virus
(HIV), human T cell leukemia virus (HTLV), Papillomavirus (e.g.,
human papilloma virus), Polyomavirus (e.g., SV40, BK virus, DAR
virus), orthopoxvirus (e.g., variola major virus (smallpox
virus)), EBV, herpes simplex virus (HSV), hepatitis virus,
Rhabdovirus (e.g., Ebola virus), alphavirus (e.g., Sindbis
virus), adenovirus, and/or cytomegalovirus (CMV). In preferred
embodiments, the viral infection is by HIV or Ebola virus.
Preparation of Co(III) Hexammine
[0033]While Cohex is available commercially, its synthesis is
fairly straight forward, using air to oxidize Co(II) to Co(III):
CoCl2+4NH4Cl+20NH3+O2?4[Co(NH3)6]Cl.s- ub.3+2H2O
[0034]9.6 g of CoCl2.6H2O (0.06 mol) and 6.4 g of NH4Cl (0.12
mol) were added to 40 ml of water in a 250 ml Erlenmeyer flask
with a side arm and shaken until most of the salts are
dissolved. Then 1 g of fresh activated decolorizing charcoal and
20 ml concentrated ammonia were added. Next the flask was
connected to the aspirator or vacuum line and air drawn through
the mixture until the red solution becomes yellowish brown
(usually 2-3 hours). The air inlet tube if preferably of fairly
large bore (˜10 mm) to prevent clogging with the precipitated
Co(NH3)63+ salt.
[0035]The crystals and charcoal were filtered on a Buchner
funnel and then a solution of 6 ml of concentrated HCl in 75 ml
of water was added. The mixture was heated on a hot plate to
effect complete solution and filtered while hot. The
hexamminecobalt (III) chloride was crystallized by cooling to 0°
C. and by slowly adding 15 ml of concentrated HCl. The crystals
were filtered, washed with 60% and then with 95% ethanol, and
dried at 80-100° C.
Cohex
Activity Against HIV
[0036]There are two known strains of HIV: HIV-1 and HIV-2, of
which HIV-1 is the more virulent virus and is the major cause of
HIV infections. The first clinically useful drugs developed for
HIV-1 were the nucleoside reverse transcriptase (RT) inhibitors.
AZT, or 3-azido-3-deoxythymidine, is a synthetic pyrimidine
analog of thymidine was actually initially developed as an
anticancer drug before it became known as a popular anti-HIV
compound. The active form of AZT is its phosphorylated
triphosphate (TP) form, which is a competitive inhibitor of RT
because AZT-TP binds to the HIV-1 RT better than to the natural
substrate deoxythymidine triphosphate (dTTP).
[0037]Cohex was tested in a standard PBMC cell-based microtiter
anti-HIV assay against one CXCR4-tropic HIV-1 isolate and one
CCR5-tropic HIV-1 isolate. For this study peripheral blood
mononuclear cells (PBMCs) were pre-treated with the compound for
two hours prior to infection.
[0038]Cohex was stored at 4° C. as a powder and solubilized for
tests. The solubilized stock was stored at -20° C. until the day
of the assay. Stocks were thawed at room temperature on each day
of assay setup and were used to generate working drug dilutions
used in the assays. Working dilutions were made fresh for each
experiment and were not stored for re-use in subsequent
experiments performed on different days. Cohex was evaluated
using a 3 mM (3,000 µM) high-test concentration with 8
additional serial half-log dilutions in the PBMC assays.
PBMC Assay
[0039]Freshly prepared PBMCs were centrifuged and suspended in
RPMI 1640 with 15% FBS, L-glutamine, penicillin, streptomycin,
non-essential amino acids (MEM/NEAA; Hyclone; catalog
#SH30238.01), and 20 U/ml recombinant human IL-2. PBMCs were
maintained in this medium at a concentration of 1-2×106
cells/ml, with twice-weekly medium changes until they were used
in the assay protocol. Monocyte-derived-macrophages were
depleted from the culture as the result of adherence to the
tissue culture flask.
[0040]For the standard PBMC assay, the cells were plated in the
interior wells of a 96 well round bottom microplate at 50
µL/well (5×104 cells/well) in a standard format developed by the
Infectious Disease Research department of Southern Research
Institute. Each plate contains virus control wells (cells plus
virus) and experimental wells (drug plus cells plus virus). Test
drug dilutions were prepared at a 2× concentration in microtiter
tubes and 100 µL of each concentration was placed in appropriate
wells using the standard format. 50 µL of a predetermined
dilution of virus stock was placed in each test well (final MOI
˜0.1). Separate plates were prepared identically without virus
for drug cytotoxicity studies using an MTS assay system
(described below; cytotoxicity plates also include compound
control wells containing drug plus media without cells to
control for colored compounds that affect the MTS assay). The
PBMC cultures were maintained for seven days following infection
at 37° C., 5% CO2. After this period, cell-free supernatant
samples were collected for analysis of reverse transcriptase
activity and compound cytotoxicity was measured by addition of
MTS to the separate cytotoxicity plates for determination of
cell viability. Wells were also examined microscopically and any
abnormalities were noted.
Reverse
Transcriptase Activity Assay
[0041]A microtiter plate-based reverse transcriptase (RT)
reaction was utilized (detailed in Buckheit et al., AIDS
Research and Human Retroviruses 7:295-302, 1991). Tritiated
thymidine triphosphate (3H-TTP, 80 Ci/mmol, NEN) was received in
1:1 dH2O:Ethanol at 1 mCi/ml. Poly rA:oligo dT template:primer
(Pharmacia) was prepared as a stock solution by combining 150
poly rA (20 mg/ml) with 0.5 ml oligo dT (20 units/ml) and 5.35
ml sterile dH2O followed by aliquoting (1.0 ml) and storage at
-20° C. The RT reaction buffer was prepared fresh on a daily
basis and consisted of 125 µl 1.0 M EGTA, 125 µl dH2O, 125 µl
20% Triton X100, 50 µl 1.0 M Tris (pH 7.4), 50 µl 1.0 M DTT, and
40 µl 1.0 M MgCl2. The final reaction mixture was prepared by
combining 1 part 3H-TTP, 4 parts dH2O, 2.5 parts poly rA:oligo
dT stock and 2.5 parts reaction buffer. Ten microliters of this
reaction mixture was placed in a round bottom microtiter plate
and 15 µl of virus-containing supernatant was added and mixed.
The plate was incubated at 37° C. for 60 minutes. Following
incubation, the reaction volume was spotted onto DE81
filter-mats (Wallac), washed 5 times for 5 minutes each in a 5%
sodium phosphate buffer or 2×SSC (Life Technologies), 2 times
for 1 minute each in distilled water, 2 times for 1 minute each
in 70% ethanol, and then dried. Incorporated radioactivity
(counts per minute, CPM) was quantified using standard liquid
scintillation techniques.
MTS
Staining for PBMC Viability to Measure Cytotoxicity
[0042]At assay termination, the uninfected assay plates were
stained with the soluble tetrazolium-based dye MTS (CellTiter 96
Reagent, Promega) to determine cell viability and quantify
compound toxicity. MTS is metabolized by the mitochondria
enzymes of metabolically active cells to yield a soluble
formazan product, allowing the rapid quantitative analysis of
cell viability and compound cytotoxicity. This reagent is a
stable, single solution that does not require preparation before
use. At termination of the assay, 20-25 µL of MTS reagent is
added per well and the microtiter plates are then incubated for
4-6 hrs at 37° C., 5% CO2 to assess cell viability. Adhesive
plate sealers were used in place of the lids, the sealed plate
was inverted several times to mix the soluble formazan product
and the plate was read spectrophotometrically at 490/650 nm with
a Molecular Devices SPECTRAmax plate reader.
Assay
Results
[0043]The PBMC data were normalized by dividing by either the
average control, infected, untreated value for the infection
measurements (% Viral Control) or by the control, uninfected,
untreated value for the cytotoxicity measurements (% Cell
Control). The normalized values were then analyzed for IC50 (50%
inhibition of virus replication), CC50 (50% cytotoxicity), and
therapeutic index values (TI=CC/IC; also referred to as
Antiviral Index or AI).
[0044]Cohex was tested for antiviral efficacy against one
CXCR4-tropic HIV-1 isolate and one CCR5-tropic HIV-1 isolate in
PBMCs. For this study PBMCs were pre-treated with the compound
for two hours prior to infection. FIG. 2 illustrates the
decrease in RT activity (left), as a measure of viral activity,
or uninfected cell viability (right) for HIV-1 NL4-3 isolate.
FIG. 3 illustrates of the decrease in RT activity (left), as a
measure of viral activity, or uninfected cell viability (right)
for HIV-1 Ba-L isolate. In these Figures, "% VC" means "% Virus
Control" and "% CC" means "% Cell Control." The results of the
testing are summarized in Table 1.
[0045]Cohex displayed definite antiviral activity against the
virus isolates evaluated in this study, with an average IC50
value of 31.2 µM. There did not appear to be any difference in
the activity of the compound based on co-receptor tropism, as
the compound had approximately equal activity against both virus
isolates tested. Cytotoxicity was observed with the compound at
concentrations above 100 µM (TC50=833 µM), resulting in an
average Therapeutic Index value of 26.7. These results can be
summarized with IC50, CC50, and TI values given in Table 1.
TABLE-US-00001 TABLE 1 Summary of Cohex Activity Against HIV-1
in PBMCs Therapeutic Compound HIV-1 Isolate IC50 CC50 Index
Cohex Ba-L 33.8 µM 833 µM 24.7 NL4-3 28.6 µM 29.1
[0046]The results show that Cohex displays very similar activity
against HIV as against other types of viruses, attesting to the
very broad-spectrum nature of the compound. The antiviral
activity is not as high as specific antiviral drugs, like AZT,
but there are situations where the use of Cohex can be an
advantage.
Cohex
Activity Against Ebola Virus
[0047]Ebola was first discovered simultaneously in 1976 in Sudan
and in the Democratic Republic of the Congo (formerly Zaire).
While its origins are still not firmly established, Ebola likely
came from the rain forests of Africa. The primary reservoir is
likely not nonhuman primates, but rather that the virus is
zoonotic, transmitted to humans from ongoing life cycles in
animals or arthropods.
[0048]Ebola viruses belong to the filoviridae family and has
five known strains (subtypes): Bundibugyo, Cote d'Ivoire, Sudan,
Zaire, and Reston. The Bundibugyo, Sudan, and Zaire strains have
caused outbreaks of Ebola hemorrhagic fever among humans in
Africa, killing up to 90% of those infected. Of the Ebola
viruses, the Zaire strain is the most virulent and the Reston
strain is the least virulent.
[0049]The Ebola virus is transmitted via contact with bodily
fluids of infected persons and can take from two days to three
weeks for symptoms to appear. Disease symptoms start with fever,
muscle aches and a cough before progressing to severe vomiting,
diarrhea and rashes, along with kidney and liver problems. Death
generally occurs as the result of either one or a combination of
dehydration and/or massive bleeding from leaky blood vessels,
kidney, and liver failure. The World Health Organization has
documented 1,850 cases of Ebola (mostly in sub-Saharan Africa)
since its discovery; only 600 (32 percent) of the victims
survived. (32 percent) of the victims survived.
[0050]As with all viruses of the order Mononegavirales,
filoviruses, such as Ebola, contain a single-stranded,
negative-sense RNA molecule as their genome. The genomes of
filoviruses are quite large at approximately 19,000 bases in
length and contain seven sequentially arranged genes. Filovirus
proteins can be subdivided into two categories, those that form
the ribonucleoprotein (RNP) complex and those that are
associated with the envelope. The proteins associated with the
nucleocapsid are involved in the transcription and replication
of the genome, whereas the envelope-associated proteins
primarily have a role either in assembly of the virion or in
receptor binding and virus entry.
[0051]There is no known cure for Ebola disease. Existing
antiviral drugs do not work well against this virus and the best
doctors can do is attempt to maintain the patient's body fluids
and electrolytes levels under intensive care; while bleeding
problems may require transfusions of platelets and/or fresh
blood.
Activity of
Cohex Against Ebola Virus in Cell Culture
[0052]For EC50 assays, cells were plated onto 96-well plates and
incubated at 37° C. for 24 hours before adding compound followed
by cell infection with Zaire Ebola GFP virus, a virus strain
that contains a GFP gene. The infected cells were allowed to
grow for an additional 48 hours before reading on a Molecular
Devices spectrofluorometer (X=485 nm, M=515 nm). Controls were
done for +virus/-compound and -virus/-compound. The
-virus/+compound controls were part of the CC50 tests. Dosage of
Cohex ranged from 2.5 µM to 5 mM and were done in triplicates.
Error bars for the figures are for standard error (SE) of the
mean.
[0053]The results for A549 cells and HepG2 cells are shown in
the left and right panels of FIG. 4, respectively. It is seen
that there appears to be a general flat response from 2.5 µM
until around 0.1 mM Cohex, at which point, GFP expression
drops until there is nearly 100% suppression (-100%) of
viral expression at concentrations above 1 mM Cohex.
[0054]The results for 293T and VeroE6 cells are shown in the
left and right panels of FIG. 5, respectively. For 293T cells,
there is a monotonic decrease in GFP expression with increasing
Cohex, even starting as low as 2.5 µM Cohex. For VeroE6 cells,
there is also a decrease in GFP expression with increasing
Cohex, but the slope of the decrease is much less pronounced
than for the other cells. There is another difference in the
cells of FIG. 4 from FIG. 5. The values for concentrations below
0.1 mM in FIG. 1 fluctuate between 0 and +50 enhancement of GFP
with large error bars, whereas the values in FIG. 2, for the
same region of concentration, all show (except for 1 point)
negative GFP enhancement (i.e., in the suppression of expression
region). Thus, the behavior of Cohex for the different cell
types exhibit differential amounts of viral expression decrease,
but they all show decreasing levels of GFP fluorescence with
increasing Cohex concentrations, especially above 0.1 mM.
[0055]In order to check whether the decreasing GFP levels were
simply due to decreasing numbers of viable cells, in vitro
cytotoxicity studies were performed for the same cell lines.
That is, the same concentration ranges as used above were used
in a CellTiter-Glo Luminescent Cell Viability Assay by Promega.
This assay is based on quantitation of the ATP present in cells,
which signals the presence of metabolically active cells, that
is, a decrease in luminescence correlates with a decrease in the
number of viable cells. The cells were plated out on 96-well
plates, as above, and incubated at 37° C. for 24 hours before
adding compound. The treated cells were then allowed to grow for
an additional 48 hours before reading on the BMG Lumistar set on
the ATP protocol.
[0056]In addition to the luminescence assay, a flow cytometry
assay was performed using propidium iodide as a "dead" stain for
A549 cells. The flow cytometry assay protocol for A549 cell line
is similar to protocols known in the art, and is as follows. The
cells were grown until confluent and reseeded at 100,000
cells/well in 1 ml in 24-well plates. The monolayers were
allowed to form overnight at 37° C. under 5% CO2. The Cohex
dilution series was added to appropriate wells and the plate
incubated for 48 hours at 37° C. under 5% CO2. The cells were
then washed, pelleted, resuspended in buffer, and transferred to
BD falcon tubes for flow analysis. A BD FACSort cytometer and BD
CellQuest software was used to quantify cell viability. Prior to
flow analysis, 10 µL of propidium iodide (PI) at 0.05 mg/ml was
added to each tube to stain dead cells. Analysis was performed
on 1×104 events/well.
[0057]FIG. 6 shows the result of the cytotoxicity assay for A549
and HepG2 cells plotted on semi-log scale. There appears to be
no toxic effect until about 0.1 mM, after which there is a
decreasing % of viable cells. To better show the region from 2.5
µM to 0.1 mM, FIG. 7 provides linear-scale plots to emphasize
the concentration region that does affect cytotoxicity.
[0058]Both 293T and VerE6 cells lines show much less cytotoxic
susceptibility to Cohex, leveling off between 70 to 80%
viability, even at 5 mM Cohex. There is a variety of reactions
to Cohex by different cell lines, but none of the cells were
100% killed, whereas suppression of GFP expression tends to
bottom out close to -100% (except for VeroE6).
[0059]It is further notable that, in addition to variability
between cell lines, different markers can also differ in their
assessment of viability. As an example, the results of a flow
cytometry measurement using propidium iodide (PI) as a marker
for dead cells shown in FIG. 9. it can be seen that PI appears
to measure a cell property (cell permeability) that is much less
affected by Cohex than the luminescence study (ATP levels).
[0060]The IC50 for Cohex for the different cell lines can be
estimated from FIGS. 1 and 2. By using a log concentration
scale, the data can be fitted to the classic sigmoidal shape
using a non-linear least-squares fitting program, seen in FIG.
10. The IC50 for the fit was found to be 0.38 mM Cohex.
[0061]The results with various cell types are shown in Table 2.
TABLE-US-00002
TABLE 2 Summary of Cohex IC50 for Various Cell Types A549
HepG2 VeroE6 293T IC50 (mM) 0.48 0.24 1.66 1.28
Cohex Animal Study Against Ebola
[0062]An efficacy study was conducted in mice to test whether
Cohex would have a therapeutic affect against Ebola virus
exposure. Initially, to determine whether the mice would
tolerate the Cohex, they received intraperitoneal (IP)
injections of Cohex once a day for 10 days at levels of 0.5,
1, 2, 4, and 8 mg/kg in this study. The mice tolerated the
compound very well, with no adverse reactions reported.
[0063]To examine the efficacy of Cohex, mice were treated by IP
injection with either phosphate buffered saline (PBS) or Cohex
in PBS one hour before virus exposure, and further treated once
a day for 9 more days. In comparing the results of the mice
treated with PBS versus those treated with 8 mg/kg of Cohex, it
was found to be statistically very likely (p=0.01 in a
chi-squared test) that the 8 mg/kg treatment improved survival
rates over the PBS treatment in mice infected with Ebola virus.
[0064]The general advantages of a broad-spectrum drug, such as
Cohex, are its low-cost, stability, and, of course, ability to
attack multiple microorganisms. When there is no treatment
available, as in the case of Ebola virus, Cohex could be the
only source of treatment. For viruses, such as HIV, where drugs
with very high TI already exist, Cohex can be used in a
combination drug therapy regime. There are several advantages to
doing this: (1) as a broad-spectrum compound, Cohex can fight
against opportunistic infections by other microorganisms; (2)
Cohex may have a synergistic effect on existing anti-HIV drugs;
(3) Cohex can significantly decrease the cost of anti-HIV
treatment; (4) Cohex can slow the development of viral
drug-resistance by presenting a very different mechanism that
must be overcome.
[0065]All numbers expressing quantities of ingredients,
constituents, reaction conditions, and so forth used in the
specification are to be understood as being modified in all
instances by the term "about." Notwithstanding that the
numerical ranges and parameters set forth, the broad scope of
the subject matter presented herein are approximations, the
numerical values set forth are indicated as precisely as
possible. Any numerical value, however, may inherently contain
certain errors resulting, for example, from their respective
measurement techniques, as evidenced by standard deviations
associated therewith.
[0066]Although the present invention has been described in
connection with preferred embodiments thereof, it will be
appreciated by those skilled in the art that additions,
deletions, modifications, and substitutions not specifically
described may be made without departing from the spirit and
scope of the invention. Terminology used herein should not be
construed in accordance with 35 U.S.C. §112, 6 unless the term
"means" is expressly used in association therewith.
Interim Guidance for Emergency Medical
Services (EMS) Systems and 9-1-1 Public Safety Answering
Points (PSAPs) for Management of Patients with Known or
Suspected Ebola Virus Disease in the United States
October 1, 2014
Who this is for: Managers of 9-1-1 Public Safety Answering
Points (PSAPs), EMS Agencies, EMS systems, law enforcement
agencies and fire service agencies as well as individual
emergency medical services providers (including emergency
medical technicians (EMTs), paramedics, and medical first
responders, such as law enforcement and fire service
personnel).
What this is for: Guidance for handling inquiries and
responding to patients with suspected Ebola symptoms, and
for keeping workers safe.
How to use: Managers should use this information to
understand and explain to staff how to respond and stay
safe. Individual providers can use this information to
respond to suspected Ebola patients and to stay safe.
Key Points:
The likelihood of contracting Ebola is extremely low
unless a person has direct unprotected contact with the
blood or body fluids (like urine, saliva, feces, vomit,
sweat, and semen) of a person who is sick with Ebola or
direct handling of bats or nonhuman primates from areas
with Ebola outbreaks.
When risk of Ebola is elevated in their community, it is
important for PSAPs to question callers about:
Residence in, or travel to, a country where an Ebola
outbreak is occurring;
Signs and symptoms of Ebola (such as fever, vomiting,
diarrhea); and
Other risk factors, like having touched someone who is
sick with Ebola.
PSAPS should tell EMS personnel this information before
they get to the location so they can put on the correct
personal protective equipment (PPE) (described below).
EMS staff should check for symptoms and risk factors for
Ebola. Staff should notify the receiving healthcare
facility in advance when they are bringing a patient with
suspected Ebola, so that proper infection control
precautions can be taken.
The guidance provided in this document is based on current
knowledge of Ebola. Updates will be posted as needed on
the CDC Ebola webpage. The information contained in this
document is intended to complement existing guidance for
healthcare personnel, Infection Prevention and Control
Recommendations for Hospitalized Patients with Known or
Suspected Ebola Hemorrhagic Fever in U.S. Hospitals
Background
The current Ebola outbreak in West Africa has increased
the possibility of patients with Ebola traveling from the
affected countries to the United States.
1 The likelihood of contracting Ebola is extremely low
unless a person has direct unprotected contact with the
body fluids of a person (like urine, saliva, feces, vomit,
sweat, and semen) of a person who is sick with Ebola or
direct handling of bats or nonhuman primates from areas
with Ebola outbreaks.
2 Initial signs and symptoms of Ebola include sudden
fever, chills, and muscle aches, with diarrhea, nausea,
vomiting, and abdominal pain occurring after about 5 days.
Other symptoms such as chest pain, shortness of breath,
headache, or confusion, may also develop. Symptoms may
become increasingly severe and may include jaundice
(yellow skin), severe weight loss, mental confusion,
bleeding inside and outside the body, shock, and
multi-organ failure.
3 Ebola is an often-fatal disease and care is needed when
coming in direct contact with a recent traveler from a
country with an Ebola outbreak who has symptoms of Ebola.
The initial signs and symptoms of Ebola are similar to
many other more common diseases found in West Africa (such
as malaria and typhoid). Ebola should be considered in
anyone with fever who has traveled to, or lived in, an
area where Ebola is present. 2 The incubation period for
Ebola, from exposure to when signs or symptoms appear,
ranges from 2 to 21 days (most commonly 8-10 days). Any
Ebola patient with signs or symptoms should be considered
infectious. Ebola patients without symptoms are not
contagious. The prevention of Ebola includes actions to
avoid exposure to blood or body fluids of infected
patients through contact with skin, mucous membranes of
the eyes, nose, or mouth, or injuries with contaminated
needles or other sharp objects.
Emergency medical services (EMS) personnel, along with
other emergency services staff, have a vital role in
responding to requests for help, triaging patients, and
providing emergency treatment to patients. Unlike patient
care in the controlled environment of a hospital or other
fixed medical facility, EMS patient care before getting to
a hospital is provided in an uncontrolled environment.
This setting is often confined to a very small space and
frequently requires rapid medical decision-making and
interventions with limited information. EMS personnel are
frequently unable to determine the patient history before
having to administer emergency care.
Coordination among 9-1-1 Public Safety Answering Points
(PSAPs), the EMS system, healthcare facilities, and the
public health system is important when responding to
patients with suspected Ebola. Each 9-1-1 and EMS system
should include an EMS medical director to provide
appropriate medical supervision.
Case Definition for Ebola Virus Disease (EVD)
The CDC’s most current case definition for EVD may be
accessed here:http://www.cdc.gov/vhf/ebola/hcp/case-definition.html.
Recommendations for 9-1-1 Public Safety Answering Points
(PSAPs)
State and local EMS authorities may authorize PSAPs and
other emergency call centers to use modified caller
queries about Ebola when they consider the risk of Ebola
to be elevated in their community (e.g., in the event that
patients with confirmed Ebola are identified in the area).
This will be decided from information provided by local,
state, and federal public health authorities, including
the city or county health department(s), state health
department(s), and CDC.
For modified caller queries:
It will be important for PSAPs to question callers and
determine if anyone at the incident possibly has Ebola.
This should be communicated immediately to EMS personnel
before arrival and to assign the appropriate EMS
resources. PSAPs should review existing medical dispatch
procedures and coordinate any changes with their EMS
medical director and with their local public health
department.
PSAP call takers should consider screening callers for
symptoms and risk factors of Ebola. Callers should be
asked if they, or someone at the incident, have fever of
greater than 38.6 degrees Celsius or 101.5 degrees
Fahrenheit, and if they have additional symptoms such as
severe headache, muscle pain, vomiting, diarrhea,
abdominal pain, or unexplained bleeding.
If PSAP call takers suspect a caller is reporting symptoms
of Ebola, they should screen callers for risk factors
within the past 3 weeks before onset of symptoms. Risk
factors include:
Contact with blood or body fluids of a patient known to
have or suspected to have Ebola;
Residence in–or travel to–a country where an Ebola
outbreak is occurring (a list of impacted countries can be
accessed at the following link: http://www.cdc.gov/vhf/ebola/outbrea...a/index.html);
or
Direct handling of bats or nonhuman primates from
disease-endemic areas.
If PSAP call takers have information alerting them to a
person with possible Ebola, they should make sure any
first responders and EMS personnel are made confidentially
aware of the potential for Ebola before the responders
arrive on scene.
If responding at an airport or other port of entry to the
United States, the PSAP should notify the CDC Quarantine
Station for the port of entry. Contact information for CDC
Quarantine Stations can be accessed at the following link:
http://www.cdc.gov/quarantine/quaran...tlistfull.html
Recommendations for EMS and Medical First Responders,
Including Firefighters and Law Enforcement Personnel
For the purposes of this section, “EMS personnel” means
pre-hospital EMS, law enforcement and fire service first
responders. These EMS personnel practices should be based
on the most up-to-date Ebola clinical recommendations and
information from appropriate public health authorities and
EMS medical direction.
When state and local EMS authorities consider the threat
to be elevated (based on information provided by local,
state, and federal public health authorities, including
the city or county health department(s), state health
department(s), and the CDC), they may direct EMS personnel
to modify their practices as described below.
Patient assessment
Interim recommendations:
Address scene safety:
If PSAP call takers advise that the patient is suspected
of having Ebola, EMS personnel should put on the PPE
appropriate for suspected cases of Ebola (described below)
before entering the scene.
Keep the patient separated from other persons as much as
possible.
Use caution when approaching a patient with Ebola. Illness
can cause delirium, with erratic behavior that can place
EMS personnel at risk of infection, e.g., flailing or
staggering.
During patient assessment and management, EMS personnel
should consider the symptoms and risk factors of Ebola:
All patients should be assessed for symptoms of Ebola
(fever of greater than 38.6 degrees Celsius or 101.5
degrees Fahrenheit, and additional symptoms such as severe
headache, muscle pain, vomiting, diarrhea, abdominal pain,
or unexplained hemorrhage). If the patient has symptoms of
Ebola, then ask the patient about risk factors within the
past 3 weeks before the onset of symptoms, including:
Contact with blood or body fluids of a patient known to
have or suspected to have Ebola;
Residence in—or travel to— a country where an Ebola
outbreak is occurring (a list of impacted countries can be
accessed at the following link: http://www.cdc.gov/vhf/ebola/outbrea...a/index.html);
or
Direct handling of bats or nonhuman primates from
disease-endemic areas.
Based on the presence of symptoms and risk factors, put on
or continue to wear appropriate PPE and follow the scene
safety guidelines for suspected case of Ebola.
If there are no risk factors, proceed with normal EMS
care.
EMS Transfer of Patient Care to a Healthcare Facility
EMS personnel should notify the receiving healthcare
facility when transporting a suspected Ebola patient, so
that appropriate infection control precautions may be
prepared prior to patient arrival. Any U.S. hospital that
is following CDC's infection control recommendations and
can isolate a patient in a private room is capable of
safely managing a patient with Ebola.
Interfacility Transport
EMS personnel involved in the air or ground interfacility
transfer of patients with suspected or confirmed Ebola
should wear recommended PPE (described below).
Infection Control
EMS personnel can safely manage a patient with suspected
or confirmed Ebola by following recommended isolation and
infection control procedures, including standard, contact,
and droplet precautions. Particular attention should be
paid to protecting mucous membranes of the eyes, nose, and
mouth from splashes of infectious material, or
self-inoculation from soiled gloves. Early recognition and
identification of patients with potential Ebola is
critical. An EMS agency managing a suspected Ebola patient
should follow these CDC recommendations:
Limit activities, especially during transport, that can
increase the risk of exposure to infectious material
(e.g., airway management, cardiopulmonary resuscitation,
use of needles).
Limit the use of needles and other sharps as much as
possible. All needles and sharps should be handled with
extreme care and disposed in puncture-proof, sealed
containers.
Phlebotomy, procedures, and laboratory testing should be
limited to the minimum necessary for essential diagnostic
evaluation and medical care.
Use of Personal protective equipment (PPE)
Use of standard, contact, and droplet precautions is
sufficient for most situations when treating a patient
with a suspected case of Ebola as defined above. EMS
personnel should wear:
Gloves
Gown (fluid resistant or impermeable)
Eye protection (goggles or face shield that fully covers
the front and sides of the face)
Facemask
Additional PPE might be required in certain situations
(e.g., large amounts of blood and body fluids present in
the environment), including but not limited to double
gloving, disposable shoe covers, and leg coverings.
Pre-hospital resuscitation procedures such as endotracheal
intubation, open suctioning of airways, and
cardiopulmonary resuscitation frequently result in a large
amount of body fluids, such as saliva and vomit.
Performing these procedures in a less controlled
environment (e.g., moving vehicle) increases risk of
exposure for EMS personnel. If conducted, perform these
procedures under safer circumstances (e.g., stopped
vehicle, hospital destination).
During pre-hospital resuscitation procedures (intubation,
open suctioning of airways, cardiopulmonary
resuscitation):
In addition to recommended PPE, respiratory protection
that is at least as protective as a NIOSH-certified
fit-tested N95 filtering facepiece respirator or higher
should be worn (instead of a facemask).
Additional PPE must be considered for these situations due
to the potential increased risk for contact with blood and
body fluids including, but not limited to, double gloving,
disposable shoe covers, and leg coverings.
If blood, body fluids, secretions, or excretions from a
patient with suspected Ebola come into direct contact with
the EMS provider’s skin or mucous membranes, then the EMS
provider should immediately stop working. They should wash
the affected skin surfaces with soap and water and report
exposure to an occupational health provider or supervisor
for follow-up.
Recommended PPE should be used by EMS personnel as
follows:
PPE should be worn upon entry into the scene and continued
to be worn until personnel are no longer in contact with
the patient.
PPE should be carefully removed without contaminating
one’s eyes, mucous membranes, or clothing with potentially
infectious materials.
PPE should be placed into a medical waste container at the
hospital or double bagged and held in a secure location.
Re-useable PPE should be cleaned and disinfected according
to the manufacturer's reprocessing instructions and EMS
agency policies.
Instructions for putting on and removing PPE have been
published online at http://www.cdc.gov/HAI/prevent/ppe.html
and http://www.cdc.gov/vhf/ebola/pdf/ppe-poster.pdf[PDF
- 2 pages].
Hand hygiene should be performed immediately after removal
of PPE.
Environmental infection control
Environmental cleaning and
disinfection, and safe handling of potentially
contaminated materials is essential to reduce the risk of
contact with blood, saliva, feces, and other body fluids
that can soil the patient care environment. EMS personnel
should always practice standard environmental infection
control procedures, including vehicle/equipment
decontamination, hand hygiene, cough and respiratory
hygiene, and proper use of U.S. Food and Drug
Administration (FDA) cleared or authorized medical PPE.
For additional information, see CDC’s Interim Guidance for
Environmental Infection Control in Hospitals for Ebola
Virus.
EMS personnel performing environmental cleaning and
disinfection should:
Wear recommended PPE (described above) and consider use of
additional barriers (e.g., shoe and leg coverings) if
needed.
Wear face protection (facemask with goggles or face
shield) when performing tasks such as liquid waste
disposal that can generate splashes.
Use an EPA-registered hospital disinfectant with a label
claim for one of the non-enveloped viruses (e.g.,
norovirus, rotavirus, adenovirus, poliovirus) to disinfect
environmental surfaces. Disinfectant should be available
in spray bottles or as commercially prepared wipes for use
during transport.
Spray and wipe clean any surface that becomes potentially
contaminated during transport. These surfaces should be
immediately sprayed and wiped clean (if using a
commercially prepared disinfectant wipe) and the process
repeated to limit environmental contamination.
Cleaning EMS Transport Vehicles after Transporting a
Patient with Suspected or Confirmed Ebola
The following are general guidelines for cleaning or
maintaining EMS transport vehicles and equipment after
transporting a patient with suspected or confirmed Ebola:
EMS personnel performing cleaning and disinfection should
wear recommended PPE (described above) and consider use of
additional barriers (e.g., rubber boots or shoe and leg
coverings) if needed. Face protection (facemask with
goggles or face shield) should be worn since tasks such as
liquid waste disposal can generate splashes.
Patient-care surfaces (including stretchers, railings,
medical equipment control panels, and adjacent flooring,
walls and work surfaces) are likely to become contaminated
and should be cleaned and disinfected after transport.
A blood spill or spill of other body fluid or substance
(e.g., feces or vomit) should be managed through removal
of bulk spill matter, cleaning the site, and then
disinfecting the site. For large spills, a chemical
disinfectant with sufficient potency is needed to overcome
the tendency of proteins in blood and other body
substances to neutralize the disinfectant’s active
ingredient.
An EPA-registered hospital disinfectant with label claims
for viruses that share some technical similarities to
Ebola (such as, norovirus, rotavirus, adenovirus,
poliovirus) and instructions for cleaning and
decontaminating surfaces or objects soiled with blood or
body fluids should be used according to those
instructions. After the bulk waste is wiped up, the
surface should be disinfected as described in the bullet
above.
Contaminated reusable patient care equipment should be
placed in biohazard bags and labeled for cleaning and
disinfection according to agency policies. Reusable
equipment should be cleaned and disinfected according to
manufacturer's instructions by trained personnel wearing
correct PPE. Avoid contamination of reusable porous
surfaces that cannot be made single use.
Use only a mattress and pillow with plastic or other
covering that fluids cannot get through. To reduce
exposure among staff to potentially contaminated textiles
(cloth products) while laundering, discard all linens,
non-fluid-impermeable pillows or mattresses as
appropriate.
The Ebola virus is a Category A infectious substance
regulated by the U.S. Department of Transportation’s (DOT)
Hazardous Materials Regulations (HMR, 49 C.F.R., Parts
171-180). Any item transported for disposal that is
contaminated or suspected of being contaminated with a
Category A infectious substance must be packaged and
transported in accordance with the HMR. This includes
medical equipment, sharps, linens, and used health care
products (such as soiled absorbent pads or dressings,
kidney-shaped emesis pans, portable toilets, used Personal
Protection Equipment [e.g., gowns, masks, gloves, goggles,
face shields, respirators, booties] or byproducts of
cleaning) contaminated or suspected of being contaminated
with a Category A infectious substance.
4. Follow-up and/or reporting measures by EMS personnel
after caring for a suspected or confirmed Ebola patient
EMS personnel should be aware of the follow-up and/or
reporting measures they should take after caring for a
suspected or confirmed Ebola patient.
EMS agencies should develop policies for monitoring and
management of EMS personnel potentially exposed to Ebola.
EMS agencies should develop sick leave policies for EMS
personnel that are non-punitive, flexible and consistent
with public health guidance
Ensure that all EMS personnel, including staff who are not
directly employed by the healthcare facility but provide
essential daily services, are aware of the sick leave
policies.
EMS personnel with exposure to blood, bodily fluids,
secretions, or excretions from a patient with suspected or
confirmed Ebola should immediately:
Stop working and wash the affected skin surfaces with soap
and water. Mucous membranes (e.g., conjunctiva) should be
irrigated with a large amount of water or eyewash
solution;
Contact occupational health/supervisor for assessment and
access to post-exposure management services; and Receive
medical evaluation and follow-up care, including fever
monitoring twice daily for 21 days, after the last known
exposure. They may continue to work while receiving twice
daily fever checks, based upon EMS agency policy and
discussion with local, state, and federal public health
authorities.
EMS personnel who develop sudden onset of fever, intense
weakness or muscle pains, vomiting, diarrhea, or any signs
of hemorrhage after an unprotected exposure (i.e., not
wearing recommended PPE at the time of patient contact or
through direct contact to blood or body fluids) to a
patient with suspected or confirmed Ebola should:
Not report to work or immediately stop working and isolate
themselves;
Notify their supervisor, who should notify local and state
health departments;
Contact occupational health/supervisor for assessment and
access to post-exposure management services; and
Comply with work exclusions until they are deemed no
longer infectious to others.
1 http://www.cdc.gov/vhf/ebola/hcp/pat...hospitals.html
2 http://www.cdc.gov/vhf/ebola/hcp/case-definition.html
3 http://www.cdc.gov/vhf/ebola/hcp/cli...-settings.html
4 http://phmsa.dot.gov/portal/site/PHM...gnextfmt=print
http://www.cdc.gov/vhf/ebola/hcp/int...ed-states.html
Got Ebola ?
https://www.sciencedirect.com/science/article/abs/pii/S0968089607008887
Antiviral properties of cobalt(III)-complexes
Co(III)hexammine, significantly inhibited Sindbis virus
replication in baby hamster kidney (BHK) cells in a dose- and
time-dependent manner. In plaque assays, the incubation of
Co(III)hexammine with Sindbis virus resulted in a dose-dependent
decrease in virus replication when measured at both 24 and 48-h
post-infection. Over the concentration range of 0–5 mM
Co(III)hexammine, the IC50 for the inhibition of viral
replication was determined to be 0.10 ± 0.04 mM at 48 h.
Additionally, when BHK cell monolayers were pretreated with
Co(III)hexammine for 6 h prior to Sindbis infection, optimal
cellular morphology and plasma membrane integrity were observed
at 0.6–1.2 mM Co(III)hexammine. Analysis by flow cytometry
confirmed that Co(III)hexammine mediated a concomitant
dose-dependent increase in BHK cell viability and a decrease in
the percentage of Sindbis virus-infected cells (IC50 = 0.13 ±
0.04 mM). Our findings demonstrate for the first time that
Co(III)hexammine possesses potent antiviral activity. We discuss
our findings within the context of the ability to further
functionalize Co(III)hexammine to render it a highly specific
antiviral therapeutic reagent.
https://www.academia.edu/35596791/Synthesis_of_Hexaammine_Cobalt_III_Chloride_Characterization_and_study_of_its_Application
Synthesis of Hexaammine Cobalt (III) Chloride;
Characterization and study of its Application
by Saim Khalid
Method for reducing impurities in hexammine cobalt halide
compounds
US5102633 (A)
Selective precipitation of cobalt and nickel amine complexes
US3928530 (A)
METHOD FOR PRODUCING COBALTIC HEXAMMINE COMPOUNDS AND COBALT
METAL POWDER
WO8002567 (A1)