rexresearch.com
James CULTURE
HHO GENERATOR
http://www.h2hypod.com
H2HyPod claims to have the best
hydroxy technology in the world
By Sterling D. Allan
With seven years of development, over 400 installations, reams of
data, international patents awarded, for protection in 147
countries, inventor James Culture says their H2HyPod is ready for
international roll-out in a major way. Typical mileage improvement
is 35% but in some cases is much higher.
Hydroxy
Put simply, what is happening in a typical HHO or hydroxy system
is that water is being electrolyzed on board from electricity from
the battery, creating "Brown's gas", which includes hydrogen and
oxygen, as well as possibly some new species not fully
characterized or appreciated by academia yet. It is probably in
the formation of this new species of gas (some call it ionized HHO
or HHOi, because of its electrical characteristics) that the
environmental energy shows up or is harvested. The Brown's gas
interacts with the fuel to break the larger chain molecules (that
often go unburnt in a typical system) into smaller molecules that
are readily burned. In highly optimized systems, allegedly the
vehicle can run on HHO alone.
At last week's Evolve Expo in Denver, the booth right next to ours
was H2HyPod.
Early on, I overhead them telling someone that they were seeing
between 25% and 50% improvement in mileage, and that they had a
bunch of data to support their claims. They report that on
average, 75% of their customers get at least a 35% improvement in
their mileage. A few have gotten as high as a 225% gain.
They had a well-stationed booth, with 3-5 people with matching lab
coats with their "H2HyPod" logo. It seems that every time I saw
their booth there were several people standing there, interested
in receiving their sales pitch and liking what they were hearing.
And H2HyPod was very glad they had decided at the last minute to
come, feeling like it had been well worth their while and expense,
for the exposure and customer base they were growing.
I was able to do a brief video interview with James Culture, the
inventor.
He said that what they were producing wasn't just "hydroxy" or
"HHO" but was a "proprietary blend" that is able to trick the
car's computer into accepting what it does to the mileage without
counteracting it because it senses too much of one thing or
another. Most HHO technologies have to modify the car's computer,
which can void the warranty. At a minimum, in the other systems,
they usually have to shut the system off when the vehicle is
undergoing annual inspection to the vehicle so it will "pass"
according to the computer algorithms, which are not written to
accommodate or acknowledge the benefits of hydroxy addition to the
fuel.
The unit will pay for itself from the savings on fuel consumption,
not to mention improved performance of the engine.
The electrolyte in the water keeps it from freezing in cold
conditions. Rather than freezing and expanding, the solution goes
to a contracting gel, which is reconstituted in a few minutes via
fluid dynamics.
They have systems for everything from motorcycles to 16 L engines.
With international patents awarded, for protection in 147
countries, they say on their site that the "H2HyPod has a 40%
minimum advantage over all other previously patented technology
advancements."
Pursuing this for seven years, with reams of data, many tests and
improvements, including installation on over 400 customer
vehicles, now H2HyPod is ready to roll this out in a major way.
They are open to discussions about licensing for manufacturing and
distribution worldwide, as well as discounts for bulk purchases
and reselling.
Here's the interview I did with James.
http://www.youtube.com/watch?feature=player_embedded&v=WJgkLmiJrWI
http://www.h2hypod.com
VIDEOS
http://www.youtube.com/watch?v=k7vgmEnzHW0
H2HyPod Install Hybrid Conversion - in less
than an hour
http://www.youtube.com/watch?v=hsVhLS8A9_w
H2HyPod Install Hybrid Conversion - in less
than an hour
http://www.youtube.com/watch?v=CrKE4SJrvJU
What the H2HyPod gives you.
http://www.youtube.com/watch?v=xR2b9eeJabQ
H2Hypod 7 inch Tech Demo ultra high
efficient hydrogen technology HHO
DE102009021506
METHOD AND APPARATUS FOR THE PRODUCTION OF A
HYDROGEN-CONTAINING GAS MIXTURE
Also published as: WO2010130845 // EP2440687
The present invention relates to a method for producing a
hydrogen-containing gas mixture and to a corresponding apparatus.
In order to further develop a method in which charge surfaces to
which electric current is applied are in contact with a water
mixture, and a corresponding apparatus while considerably
increasing efficiency, the charge surfaces to which electric
current is applied are electrically insulated in relation to each
other as completely as possible and are connected by way of the
water mixture only in an intermediate region in direct vicinity to
the charge surfaces.
In particular, from the market for retrofit kits for motor
vehicles are known various approaches to methods and apparatus of
the aforementioned type.
Corresponding devices are also available for self-assembly in a
very large number for a variety of motor vehicles.
These devices can be roughly divided into two groups: The first
group produced oxyhydrogen gas, or HHO gas, which is called from
the Anglo-American area out as Brown 'basic gas.
A second group of gas generator devices generated at a gas outlet,
more or less pure hydrogen gas and, separately therefrom to a
further outlet of the oxygen gas.
Without limiting use of a field of the invention will be received
only on passenger vehicles to display.
However, the invention generally relates to any design of internal
combustion engines, ie combustion engines and turbomachines, such
as jet engines on aircraft or stationary turbine of a cogeneration
plant.
A further field of application of the present invention in
combination with a fuel cell is that such
As obtained by converting electric energy into hydrogen or a
hydrogen-containing gas mixture can be temporarily stored in the
regenerative braking.
When braking at a red light then is a part of the alternatively
converted into heat and lost braking energy in the form of
additional fuel amount for a starting acceleration when the lights
on green available.
During the described process, not to large amounts of gas to fall,
so that their caching problem and also id
lasting only a short time duration.For the preparation of
larger amounts of oxyhydrogen include
Electrolysers known of the filter press type from CH 417 544A or
WO 2008/138125 Al.
It has been found in trials by the applicant that the known
devices and methods are not effective at least with respect to an
injected current, respectively, and a generated gas amount.
It is therefore an object of the present invention to further
develop a method of the aforementioned type and a corresponding
device under considerably improved efficiency.
This object is solved by the features of the independent claims.
Accordingly, an inventive method for producing a
hydrogen-containing gas mixture is distinguished in that with
electricity acted charge areas as completely as possible against
each other electrically operated insulated and only in an
intermediate region immediately adjacent to the cargo spaces
connected via a water mixture.
A corresponding device is characterized accordingly by the fact
that the costs associated with an electrical power supply charge
surfaces, in particular, as plates are connected in pairs at their
front edges of a frame-shaped electrically insulating separator
with each other to form a closed cell, the separator in an
installed position an upper and a lower side surface each having
at least one opening for fluid inlet and gas outlet and said
openings aligned with openings in a comb-like structure of a
cover, wherein the cover-free areas of the cargo space covering
electrically insulating.
Thus according to the invention is first ensured that the
effective for an electrolysis current flow between the adjacent
and always oppositely charged surfaces charge extends to a vast
majority through the fluid.
Thus, the intermediate area immediately adjacent to the cargo
spaces across the water mixture is almost exclusively connected
electrically active, so that takes place here, an electrolytic
decomposition of water and thus a gas generation with improved
efficiency to an even greater mass.
Advantageous developments of the invention are the subject matter
of the respective dependent claims.
A separator having two substantially oppositely disposed openings
is prepared in one embodiment by corresponding milled recesses or
bores.
Preferably, however, a two or three-layer structure is selected to
substantially cover the same thin frame members, two of which or a
middle gaps or have perforations.
An integral separator with corresponding number and shape of
openings in a mass-market and efficient production is thus created
by gluing or laminating or other durable and also fluid-tight
connection technology.
Thus, in a preferred embodiment of the invention, an efficiency
increase of the effect of the gas mixture generated by the
combination of a HHO cell with H2 and 02 ~ gas a means of
separating generating second electrolysis cell is such that the
HHO gas mixture, an additional H2 content is added .
This H2 content is preferably controlled by a separate power
connection of the second cell.
For good results, the flow of current through this was H2 and O2
gas generating means of separating the electrolysis cell is about
10% of passing through the HHO cell current.
Further has instead use a pure direct current applying a square
wave current having a fundamental frequency of about 30 to 80 Hz,
preferably 48 Hz, has proved to increase efficiency with regard to
the amount of the gas mixture produced.
In an alternative design, each of a separator diaphragm for
maintaining a separation of the broadest generated in a space
adjacent electrode H2 and O2 components.
This membrane is slightly twisted from each other in itself to
generate spatially separate gas outlets or wound.
In a preferred manufacturing method, the membrane is fixed
thereto, as it is wound between two C-shaped mirror symmetrical
halves of the frame.
The structure here is similar to the holder of a slide image into
two cracked slide frame halves.
Following further features and advantages of embodiments of the
invention are explained in detail with reference to an embodiment
with reference to figures of the drawing.
In the drawings:
1 shows a schematic representation of an assembly of an
embodiment of an inventive electrolytic cell for the production
of a hydrogen-containing gas mixture in the form of a HHO or
Oxyhydrogen gas mixture;
2 shows a three-dimensional sketch of the finished
composite cell of Figure 1;
3 shows an embodiment of an advanced electrolysis cell with
electrically adjustable composition of a to be produced
hydrogen-containing gas mixture beyond the form of a purely
stoichiometric HHO or Oxyhydrogen gas mixture;
Figure 4: an extension of the embodiment of Figure 3 to a
heated storage tank and
5 shows a three-dimensional sketch of an intermediate
portion with a separator, and therein for the separation of
hydrogen and oxygen membrane arranged in an exploded view with
the two immediately adjacent charge areas;
Figures 6a and 6b: three-dimensional sketch of a preferred
embodiment of a separator with membrane according to Figure 5,
using two mirror-image C-shaped plastic frame halves that are 6b
integrally connected in the illustration of FIG by laminating
with the separator;
7 shows a three-dimensional sketch of a separate discharge
of the hydrogen and oxygen from the separators according to the
figures 5 and 6b formed plate with a double comb structure;
8 shows a three-dimensional sketch according to Figure 1
for schematic representation of an assembly of one embodiment of
an inventive electrolytic cell for producing hydrogen and oxygen
gas largely separate streams;
Figure 9 is an isometric view of an alternative apparatus
with the arrangement of the first cell adjacent to the second
cell 3 on the same plane together with the storage tank;
10 shows a top view of the embodiment shown in Figure 9
showing hidden lines and
11 shows an exploded view of the embodiment according to
Figures 9 and 10

The same reference numerals are used for the same elements
throughout the various figures of time always used.
Without limiting the invention, only a use of a cell according to
the invention is hereinafter illustrated and described in a motor
vehicle.
Figure 1 shows a basic structure of a first embodiment of an
apparatus 1 according to the invention to implement a method in
efficiency can be enhanced.
The schematic diagram indicates an assembly of an inventive device
1 comprising an electrolysis cell 2 for producing a
hydrogen-containing gas mixture or in the form of HHO Oxyhydrogen
mixture at in which a number of executed as stainless steel plates
P charge surfaces are laterally interconnected pairs in the region
at their front edges adjacent K on a frame-shaped electrically
insulating separator S.
This structure corresponds largely to a closed cell, but in this
case at least one opening O are provided for fluid inlet and gas
outlet in a fully assembled on an upper and a lower side surface F
of each separator S ever.
Thus, below a water mixture W occur from water with low addition
of electrolyte between the adjacent charge surfaces P and also
escape an emerging under the influence of electricity gas or gas
mixture between the charge surfaces P of the separator S out
again.
The openings O the side face F of each separator S are
subsequently covered aligned in a comb-like structure formed of a
slotted cover A with recesses V, which cover A free areas or Front
edges of K P charge surfaces covered electrically insulating and
so includes.
This means that by the inventive introduction of extended paths
for potential equalization between see the cargo area forced all
currents to flow through the water mixture.
This increases the yield of the generated gas or Gas mixture
considerably.
Figure 2 shows the fully assembled cell of Figure 1 in a
three-dimensional sketch with attached comb-like with U-or
V-shaped recesses V slotted structures formed of the covers A. The
assembly is and predominantly by gluing the gesture existing
acrylic glass electrically insulating parts with corresponding
known tested adhesives accomplished.
Thus, the end edges of adjacent panels and K are especially
electrically connected only by a not shown further water mixture
W, parasitic current paths without contact with the water mixture
W are largely suppressed.
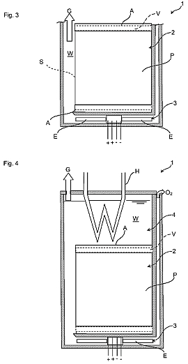
Figure 3 shows an embodiment of an electrolytic cell having an
electrically adjustable extended composition to a
hydrogen-containing forming gas mixture, the composition of the
other side of one of the pure 2: 1 stoichiometry of the H20
molecule side gas mixture.
This combined device 1 comprises a first cell 2 according to
Figures 1 and 2, here in a side view, along with a separate and
individually controllable in terms of current flow electrode of a
second cell pair e 3
It can be seen that in this way a via controllable by the second
cell 3 is the current flow at an adjustable mass, only the
H2-content of the second cell 3 and the HHO
Is supplied oxyhydrogen mixture of the first cell 2.
Thus, a deviation from a stoichiometric 2: 1 ratio of hydrogen gas
atoms to oxygen atoms in the derived along the inset in Figure 3
arrow gas mixture G possible.
2, the first cell and the second cell 3 are connected to each
other by the fluid W.
Electrical Ströungs-current flows are as far as possible due to
the design of detour routes or Been reduced labyrinths.
An extension of the embodiment of Figure 3 to a heated storage
tank is shown in Figure 4.
The heater can be operated electrically or by exhaust heat, but it
is to be coupled to an engine cooling circuit not shown is
preferred to make the water mixture to an operating temperature
and keeping it there as well.
The arrow indicates an opening for the removal of the desired gas
mixture G, a second opening escapes oxygen gas.
Figure 5 shows a three-dimensional sketch of an intermediate
portion with a separator S, and is for the separation of hydrogen
and oxygen, the membrane M positioned in an exploded view with the
two immediately adjacent charge areas.
Figures 6a and 6b illustrate a construction and assembly of a
preferred embodiment of a separator with membrane according to
Figure 5 in the same three-dimensional sketch dar.
For this purpose there are two mirror-image, G and C-shaped
plastic frame halves using C, which are integrally connected in
the illustration of Figure 6b by laminating with the separator.
The membrane M is the formation of openings O twisted in the areas
where the two halves of the frame C has its gap in what is
indicated by the arrows in Figure 6a.
Figure 7 is a three-dimensional sketch of the separate discharge
of hydrogen and oxygen from separators according to Figures 5 and
6b trained cover plate A double comb structure only less than half
extending recesses V. Figure 8 shows a building on figure 7
three-dimensional sketch according to Figure 1 for schematic
representation of an assembly of one embodiment of an inventive
electrolytic cell for producing hydrogen and oxygen gas largely
separate streams.
By phantom recesses or bores B, a respective gas component passes
under significant extension of the provided in contact with the
water mixture W electrically effective distance in a meandering
shape is not shown in more detail the gas outlets for selectively
supplying in a fresh air inlet in front of a turbo-compressor of a
respective internal combustion engine.
While in the embodiment shown in the illustration of FIG from a
common storage tank 4 of the water mixture w a first cell 2 is
disposed on a second cell 3 4, according to Figures 9 to 11 are
the first cell 2 adjacent to the second cell 3 in another
exemplary embodiment, essentially the same level of co-located
with the storage tank 4.
The isometric view of Figure 9 shows that layers produced in two
different thicknesses of about 3.1 mm here and about 0.91 mm of
acrylic glass.
The recognizable thicker layers of 3.1 mm carry channels for
supplying water mixture W and the dissipation of the gas bubbles G
of the electrodes P, E. The essential difference to the foregoing
embodiments, here is a measure against excessive heating of the
water mixture W normal operation taken by selective pumping of the
water mixture W.
This is based on the realization that the formation of gas bubbles
on the electrodes, in itself, has a cooling effect, but also by
locally insulation changes the electrical properties.
This change may be due to the adhesion of gas bubbles be
relatively permanently to a respective electrode and thus
elsewhere lead to local congestion.
A sufficient movement of the water mixture W now causes a quasi
flushing away the newly formed gas bubbles from the electrodes.
Without additional movable or even parts to be driven this flow is
generated using the Venturi effect itself by the fact that the
mixture of water and gas bubbles from the respective electrodes by
meandering paths 5, 6, 7 to the storage tank 4 through rises and
forms a pump.
These paths 5, 6, 7 are separated from each other in different
layers of the arrangement shown, see Figure 10
The arrangement of Figure 9 has three trained as pump meandering
channels 5, 6, 7, wherein the negatively charged and thus
hydrogen-gas-emitting electrodes produces the channels in a common
area with two structures 8, 9 lead to foam-reduction, is taken
from which the gas mixture G via an opening 10.
The positively charged, and thus oxygen gas generating electrode E
of the second cell 3 is connected along the dash-dotted arrow line
via the channel 7 to a discrete region thereof to its own
structure 11, for foam-reduction and thus clearly separated.
Here, too, an opening 12 is provided for replenishing water.
The relatively thinner layers frame the respective electrodes and
possibly electrical leads.
In the electrical leads is again to be observed with reference to
Figure 10, seen thatin a mounting position - always contact from
below the corresponding electrode plates so that electrolysis
takes place only at the electrode-sheet and not on leads.
In addition, the feed cables run only out in a U-curve over a MAX
mark, only to come snapping off from the bonded acrylic case out
only down.
Thus, the leakage of water mixture along the electrical leads can
be prevented even in continuous operation.
This therefore results in a very compact and space-efficient
structure in stratified design, which is in terms of performance
in terms of gas production of both types of cells 2, 3, easily
scalable or varied by exchange.
It shows the display of Figure 11 is an exploded view of the
arrangement of Figure 9 that there is a total of the first cell
comprises two electrodes of five encircled part numbers 4, 8 and
12, only two of which are supplied from outside with power.
The embedded in a segment with the component name 7 electrodes can
be easily added with upstream or downstream segments with the
component names 9, 10, 11.
In a significant, not shown in the drawings here training
membranes are placed at a distance from the contacting with the
water mixture W surfaces of the plates P.
The use here of the membrane type, as illustrated in the figures
of the figures 5 to 6b.
These are now fitted in the corresponding recesses of the
electrodes plates P thicker acrylic plates.
This means that to achieve pure hydrogen gas generation compared
with the arrangement shown in Figure 11 is better efficiency and
higher purities at adjustment.
To improve the corrosion resistance, it has been shown that
feeding a small amount of diesel or castor oil is useful and
effective.
The oil covered bodies with material defects, inclusions or small
holes, thus preventing a certain operating time their progressive
enlargement.
List of Reference Numerals
Device first cell / efficiency-part second cell / controllable
control-part storage tank meandering channel / pump meandering
channel / pump meandering channel / pump structure for foam
reduction structure for foam reduction 0 opening for the
extraction of G 1 structure for foam reduction 2 opening for
refilling of water 3
W water mixture / fluid
P plates / cargo areas
E electrode
K front edge
M membrane
S Separator
O opening in the separator
H Heating
A cover plate
F face
V recess in the cover plate A
G gas mixture
B hole through the cover plate A
16