Sound bullets latest weapon against
cancer
A machine that fires
powerful ''sound bullets'' made from concentrated noise could be
used to treat cancer, say scientists
Two researchers have devised a prototype ''acoustic lens'' that
focuses sound into high-energy pulses.
A ''sonic scalpel'' based on the device could target and destroy
tumours, it is claimed.
Other potential uses include medical imaging and testing materials
- and the scientists also hint at possible military applications.
The machine consists of an array of 441 small steel spheres
arranged in 21 parallel chains.
Squeezing the spheres together by varying amounts affects the
speed at which sound travels through the chains. This is because
sound moves faster through solid objects than through air.
By carefully adjusting the speed of sound passing through
different chains, the acoustic lens can be ''tuned'' to emit sound
waves that overlap and amplify one another at a specific focal
point. The result is a high-energy compact pulse of sound
vibrations.
Dr Allessandro Spadoni and Dr Chiara Daraio, both from the
California Institute of Technology in Pasadena, US, described
their invention today in the journal Proceedings of the National
Academy of Sciences.
They wrote: ''The acoustic energy in the host medium is focused
into 'sound bullet' - a travelling, compact region of high energy
density.
''Sound bullets result from the coalescence of acoustic waves,
which have frequencies in the audible range for the lens
parameters we chose.''
The device allowed the ''generation of compact sound bullets of
very large amplitudes'', said the scientists.
They added: ''Acoustic lenses like the one we demonstrated have
the potential to dramatically impact a variety of applications,
such as biomedical devices, non-destructive evaluation and defence
systems.
''For example, sound bullets may conceivably be used as a
non-invasive scalpel to accurately target tumours in hyperthermia
(heat treatment) applications.''
METHOD AND SYSTEM FOR FORMATION OF
HIGHLY NONLINEAR PULSES
US2009229910
WO2009100061
Inventor(s): DARAIO CHIARA
Classification: - international:
G10K15/04; G10K15/04 - European:
G10K15/00
Abstract -- A method and
system supporting the formation and propagation of tunable highly
nonlinear pulses using granular chains composed of non-spherical
granular systems. Such a method and system may be used to support
the creation of tunable acoustic band gaps in granular crystals
formed of particles with different geometries (spherical or not)
in which the tunability is achieved by varying the static
precompression, type of excitation and/or pulse amplitude in the
system.
Description
CROSS-REFERENCE TO RELATED
APPLICATIONS
[0001]The present application is related to and claims the benefit
of the following copending and commonly assigned U.S. Patent
Applications: U.S. Patent Application No. 61/063,903, titled
"Method and device for actuating and sensing highly nonlinear
solitary waves in surfaces, structures and materials," filed on
Feb. 7, 2008; U.S. Patent Application No. 61/067,250, titled
"System Supporting the Formation and Propagation of Tunable Highly
Nonlinear Pulses, Based on Granular Chains Composed of Particles
with Non Spherical Geometry," filed on Feb. 27, 2008; U.S. Patent
Application No. 61/124,920, titled "Method and Apparatus for
Nondestructive Evaluations and Structural Health Monitoring of
Materials and Structures," filed on Apr. 21, 2008; and U.S. patent
application Ser. No. 12/251,164, "Method and Apparatus for
Nondestructive Evaluation and Monitoring of Materials and
Structures," filed on Oct. 14, 2008; whereby the entire contents
of these applications are incorporated herein by reference.
BACKGROUND
[0002]1. Field
[0003]This disclosure relates to a method and system for the
formation and propagation of highly nonlinear pulses with
selectable pulse properties. More particularly, the present
disclosure describes the generation and propagation of pulses
through the use of granular chains consisting of particles with
desirable geometries.
[0004]2. Description of Related
Art
[0005]The existence of the highly nonlinear regime of wave
propagation in solids was discovered while studying the shock
absorption properties of granular matter. The model typically used
to represent the simplest form of granular systems consisted of a
one dimensional (1-D) chain of spherical beads regulated by
Hertzian contact interaction potentials. However, a new, general
wave dynamic theory, supporting compact solitary waves, was
derived for all structured homogeneous materials showing a highly
nonlinear force (F)-displacement (.delta.) response dictated by
the intrinsically nonlinear potential of interaction between its
fundamental components. This general nonlinear spring-type contact
relation can be expressed as shown below in Eq. (1):
F.apprxeq.A.delta..sup.n Eq.(1)
where A is a material's parameter and n is the nonlinear exponent
of the fundamental components' contact interaction (with n>1).
For Hertzian systems, such as those consisting of a chain of
spherical beads, the n exponent of interaction is equal to 1.5.
[0006]Within the present disclosure, "granular matter" is defined
as an aggregate of "particles" in elastic contact with each other,
preferably in linear or network shaped arrangements. In addition
to the nonlinear contact interaction present in such systems, and
related purely to the particle's geometry, another unusual feature
of the granular state is provided by the zero tensile strength,
which introduces an additional nonlinearity (asymmetric potential)
to the overall response. In the absence of static precompression
acting on the systems, these properties result in a negligible
linear range of the interaction forces between neighboring
particles leading to a material with a characteristic sound speed
equal to zero in its uncompressed state (c.sub.0=0): this has led
to the introduction of the concept of "sonic vacuum". This makes
the linear and weakly nonlinear continuum approaches based on
Korteveg-de Vries (KdV) equation invalid and places granular
materials in a special class according to their wave dynamics.
This highly nonlinear wave theory supports, in particular, a new
type of compact highly tunable solitary waves that have been
experimentally and numerically observed in several works for the
case of 1-D Hertzian granular systems.
SUMMARY
[0007]Embodiments of the present invention described herein
include a method and system supporting the formation and
propagation of tunable highly nonlinear pulses using granular
chains composed of non-spherical granular systems and a linearized
version thereof supporting the formation of tunable acoustic band
gaps. Other embodiments of the present invention include a method
and system to support the creation of tunable acoustic band gaps
in granular crystals formed of particles with different geometries
(spherical or not) in which the tunability is achieved by varying
the static precompression, type of excitation and/or pulse
amplitude in the system.
BRIEF DESCRIPTION OF THE SEVERAL
VIEWS OF THE DRAWINGS
[0008] FIG. 1 shows a
photograph of stainless steel elliptical particles.

[0009] FIG. 2A shows an
experimental set up of a vertically stacked chain of stainless
steel elliptical beads.
[0010] FIG. 2B shows a
sensor particle having an encapsulated piezo-sensor.
[0011] FIG. 2C shows a
wall sensor having an encapsulated piezo-sensor.
[0012] FIG. 3 shows the
formation of solitary waves excited by impact in a chain of
stainless steel elliptical beads.
[0013] FIGS. 4A and 4B
illustrate relative orientations of a pair of cylindrical
particles.
[0014] FIG. 4C shows a
schematic diagram of a 3-D system assembled from an array of
cylindrical contacts.
[0015] FIG. 4D illustrates
the vertical alignment of the cylindrical contacts in FIG. 4C.
[0016] FIG. 5 shows
experimental data obtained from a vertically aligned chain of
cylinders oriented perpendicular to each other.
[0017] FIG. 6 shows a
schematic diagram of a rod-based 3-D system 200 using
precompression.
[0018] FIG. 7A shows a
system in which one dimensional chains of particles are held to
each other at weld points.
[0019] FIG. 7B shows a
system in which each layer is a molded layer having individual
particles of various geometric shapes.
[0020] FIG. 8 shows a
photograph of an experimental assembly used for a study of a dimer
chain consisting of alternating stainless steel and Teflon
particles.

DETAILED DESCRIPTION
[0021] Granular materials based on geometrical arrangements of
spherical beads are the simplest and most common systems used
theoretically, numerically, and experimentally for studying the
formation and propagation of the highly nonlinear waves in solids.
Despite being the most studied example for these systems, they are
not the only one possible solution for the creation of systems
with a highly nonlinear response. The continuum theory derived for
highly nonlinear waves indeed is not limited to the Hertzian
interactions (n=3/2) between the discrete components: the
theoretical formulation that describes them has been extended and
generalized to all nonlinear exponents n, with n.noteq.1. Indeed,
a similar power-law type response can be found in many other
nonlinear systems. The analytical formulation of the highly
nonlinear waves has also been extended to heterogeneous systems
composed of "layered" structures. Additional work may be done
analytically in parallel with experimental and numerical analysis
for periodic heterogeneous nonlinear systems. The presence of
periodic "defects" (heterogeneities) is particularly relevant for
the design and study of shock protecting structures and energy
dissipaters, as the defects play a relevant role in the
scattering, redirecting sideways, or localization of energy and in
the tunability of the compressive pulses traveling through the
material. Such properties, in particular the ones found in
heterogeneous granular systems, may provide valid alternatives to
the present state of the art shock energy protectors/dissipaters
[0022] The fundamental nonlinear dynamic response present in
uniform systems is governed by the wave equation derived and
solved in the continuum limit. For highly nonlinear uniform
systems, the long wave approximation, derived from the Hertzian
interaction law (n=3/2), is shown below in Eq. (2):
u tt = - c 2 { ( - u x ) 3 / 2 + a 2 10 [ ( - u x ) 1 / 4 ( ( - u
x ) 5 / 4 ) xx ] } x Eq . ( 2 ) ##EQU00001##
where u is the displacement, a is the particle's diameter, c is a
material's constant, and the subscripts indicate the derivative.
The constant c in Eq. (2) is given by Eq. (3) as shown below:
c 2 = 2 E .pi..rho. 0 ( 1 - v 2 ) Eq . ( 3 ) ##EQU00002##
where E is the Young's modulus, .rho..sub.0 is the density, and v
is the Poisson coefficient. The generality of this highly
nonlinear wave equation is given by the fact that it includes also
the linear and weakly nonlinear wave equations.
[0023] Despite its apparent complexity the closed form solution of
Eq. (2) can be obtained. For the case of a granular system with no
or very weak precompression acting on it, the exact solution
exists in the form as shown below in Eq. (4):
.xi. = ( 5 V p 2 4 c 2 ) 2 cos 4 ( 10 5 a x ) Eq . ( 4 )
##EQU00003##
where .zeta. represents the strain and V.sub.p the system's
velocity. The solitary shape, if the initial prestrain
.zeta..sub.0 is approaching 0, can be taken as one hump of the
periodic solution (provided from Eq. (4)) with finite wave length
equal to only five particle diameters.
[0024] The periodic solution described above demonstrates that in
a highly nonlinear medium (such as in "granular crystals") only
two harmonics contribute to a stationary mode of propagation of
the periodic signal. In analogy with the KdV solutons (as
described by Korteveg and de Vries in "On the change of form of
long waves advancing in a rectangular canal, and on a new type of
long stationary Waves," London, Edinburgh and Dublin Philosophical
Magazine and Journal of Science, ser. 5, 39, pp. 422-443. (1895)),
the highly nonlinear solitary waves are supersonic, which means
that their phase velocity is larger than the initial sound
velocity (c.sub.0) in the nonlinear medium (especially in the case
of an uncompressed system, in which the c.sub.0=0). One of their
unique feature is the independence of their width on the amplitude
(their spatial size is always .about.5 particles diameter, no
matter what wave amplitude or wave speed is present in the system)
which makes them one of the most tractable forms of "compactons"
(described by Rosenau and Hyman in "Compactons: Solitons with
finite wavelength," Physical Review Letters 70, 564 (1993)). This
property is quite different from the properties of weakly
nonlinear KdV solitary waves and it is very important for the use
of these solitary waves as information carriers and in signal
transformation devices.
[0025] The speed of the solitary wave V.sub.s, as a nonlinear
function of the maximum particle dynamic strain in purely highly
nonlinear systems, can be expressed as shown below in Eq. (5):
V s = 2 5 c .xi. m 1 / 4 = 0.6802 ( 2 E a .rho. 3 / 2 ( 1 - v 2 )
) 1 / 3 F m 1 / 6 Eq . ( 5 ) ##EQU00004##
where F.sub.m is the maximum dynamic contacts force between the
particles in the discrete chain. This relationship uncovers a
useful characteristic of such waves, predicted by the theory and
validated numerically and experimentally: their tunability. By
changing the mechanical and/or the geometrical properties of the
high nonlinear medium supporting the formation of highly nonlinear
solitary waves, the shape and the properties of the traveling
pulse can be tuned. As such, the solitary waves in the highly
nonlinear media can be engineered for specific applications
[0026] The analytical expression for the tunability of the
solitary waves speed derived from the discretization of the
particles in a precompressed chain may be expressed as shown in
Eq. (6) below:
V s = 0.9314 ( 4 E 2 F 0 a 2 .rho. 3 ( 1 - v 2 ) 2 ) 1 / 6 1 ( f r
2 / 3 - 1 ) { 4 15 [ 3 + 2 f r 5 / 3 - 5 f r 2 / 3 ] } 1 / 2 . Eq
. ( 6 ) ##EQU00005##
[0027] where F.sub.0 represents the static precompression added to
the system, f.sub.r=F.sub.m/F.sub.0 and F.sub.m is the maximum
contacts force between the particles in the discrete chain. The
dependence of the solitary wave properties on the materials
parameters is shown in Eq. (5) for a non-prestressed system and in
Eq. (6) for a prestressed system. Another feature of the highly
nonlinear solitary waves is determined by the fact that the system
is size independent and the solitary waves can therefore be
scalable to any dimension, according to the needs of each specific
application. According to Eqs. (5) and (6), the tunability of the
highly nonlinear solitary waves can be achieved varying one or
more of the characteristic parameters of the nonlinear media.
[0028] The generalized form of the partial differential equation
describing the highly nonlinear regime in binary heterogeneous
periodic systems has been and can be expressed as shown in Eq. (7)
below:
U.sub..tau..tau.=u.sub.x.sup.n-1u.sub.xx+Gu.sub.x.sup.n-3u.sub.xx.sup.3+Hu-
.sub.x.sup.n-2u.sub.xxu.sub.xxx+Iu.sub.x.sup.n-1u.sub.xxxx
Eq. (7)
where u is the displacement, .tau. is a rescaled time, n is the
nonlinear exponent found in Eq. (1) and the explicit expression of
the parameters I, H, G can be found in Porter, M.A.; Daraio, C.;
Herbold, E. B.; Szelengowicz, I.; Kevrekidis, P. G. "Highly
nonlinear solitary waves in phononic crystal dimers" Physical
Review E, 77, 015601 (R), 2008.
[0029] The solution for Eq. (7), describing the shape and
properties of the highly nonlinear solitary waves, from direct
integration is of the form shown in Eq. (8) below:
u = v = B cos 2 n - 1 ( .beta. .xi. ) , Eq . ( 8 ) ##EQU00006##
where B = ( .mu. [ .beta. 2 s ( s - 1 ) ] ) 1 / n - 1 , .beta. =
.sigma. ( 1 - .eta. ) 2 and s = pI . ##EQU00007##
[0030] Highly nonlinear granular systems composed of spherical
beads have been extensively studied in the past. Embodiments of
the present invention comprise systems that may deviate from the
classical Hertzian approach associated with systems using chains
of spherical beads. Systems that do not rely upon chains of
spherical beads include: chains composed of O-rings described by
Herbold and Nesterenko in "Solitary and shock waves in discrete
strongly nonlinear double power-law materials," Applied Physics
Letters, 90, 261902, (2007), and complex 2-D and 3-D granular
assemblies as described by Goddard in "Nonlinear Elasticity and
Pressure-Dependent Wave Speeds in Granular Media," Proc. R. Soc.
Lond. A 430, 105 (1990). Coste and Falcon describe the possibility
of obtaining deviations from the Hertzian type response also in
1-D chains of spherical beads composed of "soft" materials (i.e.
bronze or polymer) in "On the validity of Hertz contact law for
granular material acoustics," European Physical Journal B, 7, 155.
(1999).
[0031] An embodiment of the present invention is a system that
uses aligned stainless steel elliptical grains, such as those
shown in FIG. 1. FIG. 1 shows a photograph of elliptical particles
fabricated from stainless steel. Results demonstrate that 1-D
chains composed of elliptical particles support the formation and
propagation of highly nonlinear solitary waves when subjected to
impulsive loading, following a non-Hertzian contact interaction
law. FIG. 2A shows an experimental set up of a vertically stacked
chain 100 of 20 stainless steel elliptical beads 130.
Piezoelectric sensors are embedded in two sensor particles 150 at
particles 7 and 12, as well as at a wall sensor 170 in contact
with a wall 110. FIG. 2B shows the sensor particle 150 having a
piezo-sensor 154 encapsulated in a glue layer 153 and sandwiched
between two particle caps 151. Particle sensor leads 152 provide
an electrical output from the sensor particle 150. Similarly, the
wall sensor 170 shown in FIG. 2C has a piezo-sensor 174
encapsulated in a glue layer 173 sand sandwiched between two wall
sensor caps 171. Wall sensor leads 172 provide an electrical
output from the wall sensor 170.
[0032] FIG. 3 shows the formation of solitary waves excited by
impact in the chain of twenty stainless steel elliptical beads.
The twenty stainless steel elliptical beads (supplied by Kramer
Industries) had m=0.925 g.+-.0.001 g; minor axis equal to 4.76 mm;
major axis equal to 10.16 mm; modulus of elasticity equal to 193
GPa; and v equal to 0.3. The beads were stacked in a vertical
aluminum guide. Piezoelectric sensors were provided as shown in
FIGS. 2A-2C by gluing custom micro-miniature wiring (supplied by
Piezo Systems, Inc.) between the two caps of an elliptical bead
cut length-wise. The sensors were calibrated to produce force
versus time data by assuming conservation of linear momentum
following the impact of a free falling bead. Impact was generated
with 3.787 g striker traveling at 0.75 m/s striking the top
particle in the chain; the average wave speed was calculated at
525 m/s. In FIG. 3, line 191 represents the data measured at the
top sensor particle 150, Line 193 represents the data measured at
the lower sensor particle 150, and line 195 represents the data
measured at the wall sensor 170. It is noted that although highly
nonlinear wave theory was derived for uniform systems with a
general exponent governing their contact interaction law,
experimental validation is typically provided only through
Hertzian interactions and/or using spherical particles.
[0033] According to some embodiments of the present invention, the
empirical determination of the "n" exponent in Eq. (1) for
elliptical grains may be determined by either of the following two
methods: a first method based on the single particle impact and
conservation of momentum; or a second method based on the Force
(F.sub.m)-velocity (V.sub.s) scaling similar to that described,
for example, in "On the validity of Hertz contact law for granular
material acoustics," European Physical Journal B, 7, 155. (1999)
or in Porter et al., "Highly nonlinear solitary waves in phononic
crystal dimers" Physical Review E, 77, 015601 (R), 2008, for dimer
chains. The second method, tested on spherical beads to verify its
robustness has been shown to be reliable. The power law fit
provided a value of the contact interaction exponent for irregular
elliptical beads n.about.1.449, proving a deviation from classical
Hertzian response.
[0034] A determination of the "n" exponent from Eq. (1) for
elliptical particles was made by analyzing the data summarized in
FIG. 3 using the second method described above. The average
velocity of the solitary wave was determined by dividing the
distance between the centers of the two particle sensors (equal to
5 particle diameters) by the time interval between the maximum
force seen at these sensors. The average maximum force of the
highly nonlinear pulses was determined by averaging the force
amplitudes at the two sensor particles. The average velocity and
average force amplitude for the solitons generated through various
impulsive forces provided for force versus velocity data.
Evaluation of the power-law relationship in light of the equations
above provides that, for the measured elliptical particles,
n.about.1.449.
[0035] An estimate of the "n" exponent from Eq. (1) for elliptical
particles using the first method described above was also made by
impacting a fixed sensor with an elliptical particle. To ensure
that the particle retained proper orientation throughout free fall
and contact with the sensor, a plastic guide rod was cemented to
the upper portion of the particle. Assuming conservation of linear
momentum and integrating numerically the Force versus time plots
using Euler's method (beginning at the point of first contact
between the elliptical particle and the sensor (t.sub.0) until the
particle reached a full stop in its descent (v(t)=0)), velocity
versus time was obtained. Using the same procedure, the resulting
velocity versus time curve was integrated again to produce
displacement versus time. By matching experimentally obtained
force data with calculated displacement data, a force versus
displacement curve was produced. Best fit analysis of each
resulting force versus displacement curve enabled determination of
the exponent "n".
[0036] Embodiments of the present invention are not limited to
systems and methods using elliptical beads. The results described
earlier for 1-D chains of elliptical beads show the formation and
propagation of highly nonlinear pulses in non-Hertzian systems and
support the examination and use of 1-D granular chains composed of
particles with different geometries. The selection of these grains
having more complex non-spherical shapes may generally require the
empirical determination of the contact interaction laws governing
the Force (F.sub.m)-displacement (.delta.) response between the
fundamental components of the systems; in particular for the cases
where the analytical derivation of the contact mechanics has not
been provided.
[0037] Other embodiments according to the present invention
include systems and methods using particles having cylindrical
geometry. One-dimensional arrays of cylinders (as opposed to the
elliptical particles described earlier) may offer a potential for
the practical assembly of 3-D systems and enable a large range of
tunability of the level of nonlinearity (value of the exponent "n"
in Eq. (1)). Such tunability can be achieved by the simple
variation of the reciprocal axial orientation between the
cylinders in the chain as described in additional detail below.
[0038] FIGS. 4A and 4B illustrate relative orientations of a pair
of cylindrical particles. In FIG. 4A, the axis of the particles
are oriented parallel to each other with .theta.=0.degree.. In
FIG. 4B, the axis of the particles are oriented perpendicular to
each other with .theta.=90.degree.. FIG. 4C shows a schematic
diagram of a 3-D system assembled from an array of cylindrical
contacts having vertical orientations of
0.degree.<.theta.<90.degree.. FIG. 4D illustrates the
vertical alignment of the cylindrical contacts in FIG. 4C.
[0039] A 1-D array of cylinders with axis oriented parallel with
respect to each other (as in FIG. 4A) do not support the formation
of clean solitary waves because of their linear contact
interaction dynamics. This represents a limit case in Hertz's
approach to the study of interaction laws between solids of
revolution and presents no simple analytical form for its
description. An axial misalignment of
0.degree.<.theta.<90.degree. where .theta. represents the
angle between the axis of two consecutive cylinders in the chain
(such as that shown in FIGS. 4C and 4D), brings back the system to
a "manageable" geometry, falling back within the Hertzian
treatment (n=1.5). The other limiting case (.theta.=90.degree.,
such as in FIG. 4B) falls back into a second limit example and
does not have a simple analytical solution for the contact law.
[0040] Experimental results from a 1-D stack of cylinders oriented
at 0.degree. and 90.degree. with respect to each other has shown
that by simply changing the angle of orientation between the axis
of the cylinders it is possible to change dramatically the wave
propagation response of the system. Cylinders oriented at
0.degree. (parallel axis) excited by an impulse do not show the
formation of highly nonlinear solitary waves (but rather presented
the propagation of shock-like pulses). Chains with cylinders
oriented in a 90.degree. degrees configurations support formation
and propagation of highly nonlinear solitary pulses analogous to
the one observed in chains of spherical beads. FIG. 5 shows
experimental data obtained from a vertically aligned chain of
cylinders oriented perpendicular to each other. The chain
consisted of a total of 38 cylinders. Piezogauges were inserted at
a wall and in 3 of the cylinders within the chain. The data
obtained from the wall sensor is shown at line 196; the data from
the cylinders within the chain are shown at lines 197, 198, and
199.
[0041] Rod-based structures similar to the one depicted in FIG. 4C
can be tuned by applying variable static precompression. The
application of such static force can be achieved, for example, by
using tension cords, strings or nets wrapped on two opposing sides
of the outer cylinders or rods edges. The control over the amount
of compression applied by such elements to the assembled rods can
be obtained by using small dynamometers or by tightening screws
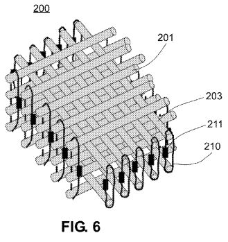
with measured torques. FIG. 6 shows a schematic diagram of a
rod-based 3-D system 200 using precompression. The system has
arrays of lateral rods 201 alternating with arrays of
perpendicular rods 203. The outside ends of the lateral rods 201
are compressed together with tension cords 210 or other such
fastening apparatus. Similarly, the outside ends of the
perpendicular rods 203 are compressed together with tension cords
210 or other such fastening apparatus. A dynamometer 211 within
each tension cord 210 may be used to measure and adjust the amount
of precompression.
[0042] To obtain the dynamic response "purely" from the granular
system without the influence of the matrix between the chains, it
is possible to create desired three-dimensional systems in a cubic
or hexagonal pattern at different length scales assembling the
particles (elliptical, conical, rods, etc) in a layer-by-layer
process. The new composite granular structures can be manufactured
in large quantity in industrially viable processes. Depending upon
the fabrication process used, it may be possible to create light
weight, tunable and even flexible or wearable protective layers,
all exploiting the new properties offered by the highly nonlinear
wave theory discussed above. Such protective systems may allow for
sideway impulse redirection, energy trapping and/or energy
dissipation. FIG. 7A shows a system 230 in which one dimensional
chains 231 of particles 232 (that may have various geometrical
shapes) are held to each other at weld points 233 are assembled
into layers for a 3-D array of particles. Note that in FIG. 7A,
the particles 232 may be welded, glued or
electrostatically/magnetically interacting together in the
horizontal direction, but are merely contacting one another in the
vertical direction. FIG. 7B shows a system 240 in which each layer
241 is a molded layer having individual particles 242 of various
geometric shapes. Note that in FIG. 7B (similar to 7A), the layers
241 comprise molded particles in the horizontal direction, but are
the layers are 241 are merely contacting one another in the
vertical direction. As discussed above, the systems shown in FIGS.
7A and 7B may also have precompression applied.
[0043] The methods and systems described above have application
for acoustic band gaps in tunable highly nonlinear crystals.
Linear or weakly nonlinear periodic crystals with two or more
atoms per primitive basis (precompressed dimer or trimer chains as
described in Porter et al., "Highly nonlinear solitary waves in
phononic crystal dimers," Physical Review E, 77, 015601 (R), 2008.
and Porter et al., "Propagation of Highly Nonlinear Solitary Waves
in Phononic Crystal Dimers and Trimers," Physica D, submitted
2007) are known to have a classical phonon dispersion relation in
which for each polarization mode in a given propagation direction,
the dispersion relation develops two branches, known as the
acoustical and optical branches. Depending on such relation, the
system can present one or more frequency band gaps between the
branches as a function of the mass ratio in the system and the
precompression level applied to it. For a simple cubic crystal
where atoms (analogous to Hertzian grains in the systems described
above) of mass ml lie on one set of planes and atoms of mass
m.sub.2 lie on planes interleaved between them, the lower bound
(f.sub.1) and upper bound (f.sub.2) of the bandgap can be
expressed by Eq. 9 shown below:
f 1 = 1 2 .pi. ( 2 .beta. m 1 ) 1 / 2 , f 2 = 1 2 .pi. ( 2 .beta.
m 2 ) 1 / 2 . Eq . ( 9 ) ##EQU00008##
In Eq. 9, .beta. is a constant proportional to the material's
parameters (Youngs modulus, Poisson's coefficient and particle's
radii) and static precompression applied to the system (see. For
example, Herbold, E. B.; Kim, J.; Nesterenko, V. F.; Wang, S.;
Daraio, C. "Tunable frequency band-gap and pulse propagation in a
strongly nonlinear diatomic chain" Acta Mechanica (submitted and
published online), 2008).
[0044] Preliminary results were obtained from the study of dimer
systems of stainless steel and Teflon particles excited by
continuous sinusoidal signals at variable frequencies. FIG. 8
shows a photograph of the experimental assembly used for the study
in which the dimer chain consisted of alternating stainless steel
and Teflon particles. The band gap calculated for this model
system was between .about.7-14 kHz. The excitations with
frequencies comprised in the estimated gap (as provided in Eq.
(9)) remained confined in the exciter particle and its immediate
surrounding.
[0045] A numerical model for a 1-D generic granular system
according to embodiments of the present invention treats particles
as rigid bodies connected by nonlinear springs to study acoustic
excitations in the systems and the presence of band gaps, wave
decay and possible presence of gap solitons deriving from the
nonlinearity of the system response. Such a model can show that
when a pulse was excited within the gap, the system responds with
a rapid decay of the initial excitation already within the first
10 particles in the chain, with relevant attenuation of the
pulse's intensity in the audible frequency range. Thanks to the
high tunability of the highly nonlinear crystals, the forbidden
frequency range can be effectively designed and varied at will,
simply choosing the appropriate particles' mass ratio and static
precompression applied to the system.
[0046] As indicated above, embodiments of the present invention
may have particular application to linearized granular crystals
(as phononic crystals). Just as crystalline materials can be said
to possess a lattice structure, with atoms occupying various
positions in the lattice, phononic-crystal engineered composite
systems (i.e., "metamaterials") can be pictured as a lattice
structure with nano to macro scale particles replacing their
atomic counterparts. Such phononic crystals based on granular
materials are most fundamentally typified in a statically
precompressed one dimensional (1-D) chain of macroscopic
particles. Due to zero tensile strength in the particle chain and
a power-law relationship between force and displacement, linear,
weakly nonlinear or highly nonlinear wave dynamics may arise,
enabling the formation and propagation of solitary waves following
impulsive loading and yielding desirable properties in their
acoustic and mechanical response. Static compression of the
particle chain prior to impulsive loading or "pre-compression" as
discussed above enables the system to be tuned from highly
nonlinear to weakly nonlinear to linear wave dynamics, enabling
potential engineering applications in shock absorption, vibration
dampening, and acoustic filtering (by forming acoustic band gaps).
[0047] Due to the nonlinear force versus displacement relationship
and the discrete nature of granular-crystal systems, solitary
(compression) waves readily form. Employing the long wave
approximation, L>>a (where L is the width of the solitons
and a is distance between particle centers), for any power law
material of the form F.varies..delta..sup.n, the speed of a
solitary wave is given by Eq. (10) below:
V s = ( A n .times. a n + 1 ) 1 2 .times. 2 n + 1 .times. ( .xi. m
) ( n - 1 ) 2 Eq . ( 10 ) ##EQU00009##
where A.sub.n is some constant dependant upon material properties,
a is the particle diameter (distance between two particles
centers), n is the exponent governing the force versus
displacement relationship, and .zeta..sub.m is the maximum strain
in the system.
[0048] Relating .zeta..sub.m to the maximum force in the system
(F.sub.m), Eq. (10) can be rewritten as Eq. (11) below:
V s = a .times. 2 .times. A n 1 n ( n + 1 ) .times. m ( n - 1 n )
.times. ( F m ) ( n - 1 ) 2 n Eq . ( 11 ) ##EQU00010##
Just as pre-compression of a particle chain "tunes" the mechanical
response to impulsive loading. Eq. (11) demonstrates that
adjusting the exponent (n) provides an additional means of control
over linearized granular crystals.
[0049] From an analytical perspective, the discrete nature of a
1-D granular crystal can be ignored if the system is treated as a
continuum and if the particles are homogeneous in mass and
material characteristics. However, the introduction of new
material compositions and/or masses yields a "defect" into the
system (i.e., an interface) and causes a breakdown of the
analytical description of the system. Such "defects" introduce
fundamentally different behavior into the granular medium and may
have potential in energy trapping/redirecting, localization
phenomena and shockwave mitigation applications. Returning to the
test apparatus shown in FIG. 8, the chain of alternating stainless
steel and Teflon beads demonstrated the nearly complete energy
transfer across the interface between the Teflon and stainless
steel beads in the uncompressed case, as shown by the lack of a
reflected compression wave into the stainless steel beads.
Introduction of multiple "defects" into a 1-D granular crystal
through an alternating pattern of different particles/materials
like in the case of Teflon and stainless steel beads demonstrates
the ability of such a system to transform a shock-like impulse
into a sequence of smaller amplitude pulses.
[0050] Observation of solitary waves in a 1-D chain of elliptical
beads and empirical measurement of the exponent governing the
force versus displacement relationship for elliptical particles
provides experimental validation that a non-Hertzian system can
support solitary wave propagation. Such an experimental validation
also demonstrates that particle geometry changes offer a
realizable mechanism for tuning the mechanical and acoustic
response of linearized granular crystals.
[0051] The foregoing Detailed Description of exemplary and
preferred embodiments is presented for purposes of illustration
and disclosure in accordance with the requirements of the law. It
is not intended to be exhaustive nor to limit the invention to the
precise form or forms described, but only to enable others skilled
in the art to understand how the invention may be suited for a
particular use or implementation. The possibility of modifications
and variations will be apparent to practitioners skilled in the
art. No limitation is intended by the description of exemplary
embodiments which may have included tolerances, feature
dimensions, specific operating conditions, engineering
specifications, or the like, and which may vary between
implementations or with changes to the state of the art, and no
limitation should be implied therefrom. This disclosure has been
made with respect to the current state of the art, but also
contemplates advancements and that adaptations in the future may
take into consideration of those advancements, namely in
accordance with the then current state of the art. It is intended
that the scope of the invention be defined by the Claims as
written and equivalents as applicable. Reference to a claim
element in the singular is not intended to mean "one and only one"
unless explicitly so stated. Moreover, no element, component, nor
method or process step in this disclosure is intended to be
dedicated to the public regardless of whether the element,
component, or step is explicitly recited in the Claims. No claim
element herein is to be construed under the provisions of 35
U.S.C. Sec. 112, sixth paragraph, unless the element is expressly
recited using the phrase "means for . . . " and no method or
process step herein is to be construed under those provisions
unless the step, or steps, are expressly recited using the phrase
"comprising step(s) for . . . "
WO2009099469
USPA20090204344
METHOD AND APPARATUS FOR
NONDESTRUCTIVE EVALUATION AND MONITORING OF MATERIALS AND
STRUCTURES
Inventor: DARAIO CHIARA [US] ; RIZZO PIERVINCENZO [US]
Applicant: CALIFORNIA INST OF TECHN
[US] ; UNIV PITTSBURGH [US] (+2)
EC: G01N29/34B; G01N29/24E
IPC: G01N29/12; G01N29/04; G01N29/12; (+1)
Abstract -- A method and
apparatus for nondestructive evaluation (NDE) of structures and
materials using a highly nonlinear medium for the generation and
detection of one or multiple highly nonlinear pulses (or highly
nonlinear waves) impinging on a material or structure. The
apparatus includes pulse exciters that induce the propagation of
highly nonlinear, weakly nonlinear or linear stress waves in the
material, system, or structure to be inspected and/or detectors
for the observation and the detection of the output waves from the
material/structure being tested. The NDE method includes the use
of the tunable highly nonlinear apparatus as impulse exciter
alone, or in combination with an accelerometer or a nonlinear
sensor to detect the outgoing pulse.
Inventors: Daraio; Chiara; (Pasadena, CA) ;
Rizzo; Piervincenzo; (Pittsburgh, PA)
U.S. Current Class: 702/39; 73/600
U.S. Class at Publication: 702/39; 73/600
Intern'l Class: G01N 29/11 20060101 G01N029/11;
G06F 19/00 20060101 G06F019/00
Description
BACKGROUND
[0002]1. Field
[0003] This disclosure relates to a method and apparatus for the
excitation and transmission of highly nonlinear pulses with
selectable pulse properties into a structure or material and the
detection of such pulses from the structure or material. More
particularly, the present disclosure describes a method and
apparatus for exciting a selectable number of controllable highly
nonlinear pulses with desired shapes, amplitudes, frequencies
and/or durations, which may then be used for nondestructive
evaluations and/or structural health monitoring.
[0004] 2. Description of Related
Art
[0005] Non-destructive evaluation of a material or structure may
be accomplished through the use of impact testing. In impact
testing, the material or structure is typically struck with an
impact device and sound waves propagating through the material or
structure are then measured to provide some indication of defects
within the material or structure. See, for example, U.S. Pat. No.
5,165,270 to Sansalone, et al., dated Nov. 24, 1992. In U.S. Pat.
No. 5,165,270, the impact device is a number of differently
weighted spheres that are each designed to produce a different
duration of impact, thereby imparting different stress waves into
the structure to be tested. The different stress waves have
different frequency values depending on the impact duration. Each
sphere is disposed on one end of a spring-steel rod. At the start
of the test, a selected sphere is in a resting position. The
sphere is withdrawn from the rest position by a pair of jaws to a
given height above the structure. This action deflects the
spring-steel rod, thus increasing the potential energy of the
impact sphere. At a predetermined release point, the sphere is
released causing it to impact the structure and impart a given
energy to the structure. The impact produces stress (sound) waves
that are reflected from the external surfaces and/or internal
defects of the structure. The reflected waves are detected by a
transducer that converts the normal surface displacements caused
by the waves into an electrical signal. The electrical signal is
then processed to provide an amplitude/frequency spectrum
indicative of either the thickness of the structure or the defects
disposed therein.
[0006] Other impact testing apparatus and techniques are known in
the art, but generally use approaches similar to that described
above, i.e., strike the material to be tested and measure the
stress wave propagation. The impact devices (i.e., strikers) used
in impact-testing technology typically cost several hundreds of
dollars or more and need coupling to a signal conditioner.
Line-powered signal conditioners are used to power sensors and
condition their output signals for transmittal to readout and
recording instruments. Impact hammers are used for delivering
impulse forces into test specimens and the signal conditioner is
used to provide electrical measurement signals of the amplitude
and frequency content of the applied force. Hammers and
conditioners used for non-destructive evaluation may be very
expensive. Embodiments of the present invention as described below
may provide for less costly apparatus for nondestructive
evaluation of materials and structures.
SUMMARY
[0007] Embodiments of the present invention rely on the use of
highly nonlinear waves (HNWs), including highly nonlinear solitary
waves (HNSWs), which can form and travel in highly nonlinear
systems (i.e., systems that may comprise granular, layered,
fibrous or porous materials). Compared to conventional stress
waves used in prior art systems using sonic-, ultrasonic-, or
impact-based technology, HNWs offer significantly higher
tunability in terms of wavelength, wave speed (proportional to the
wave amplitude and to the material's properties), number of
generated pulses, and amplitude control in a simple and
reproducible setup that can be adjusted at will.
[0008] Embodiments of the present invention may provide for
improvements over prior art systems that include: 1) larger
tunability range of the frequency, amplitude and velocity of
induced pulses resulting in a broader range of sizes of detectable
cracks, defects, and inclusions in a material (i.e., multiscale
defects sensitivity); 2) enhanced repeatability of measurements,
improving a measurements system's reliability and avoiding the
required high operator skills typically needed by prior art
methods; 3) simpler and more scalable design of the instruments
within the measurement system (such as wave actuators and sensors)
to different dimensions (which may also provide more versatility
of applications); 4) reduced power requirement characteristics of
the instruments; and 5) reduced cost of assembling and
manufacturing of the process components, sensors and actuators (up
to 2 orders of magnitude lower than present commercially available
impact hammers).
[0009] Some embodiments of the present invention comprise methods
and apparatus for nondestructive evaluation and/or structural
health monitoring (NDE/SHM) based on highly nonlinear sensors
and/or actuators combined together (fully nonlinear system) or
coupled with conventional sensing/actuating methods. For example,
one embodiment comprises a NDE/SHM method in which a highly
nonlinear actuator is used in combination with a classical
receiver (such as an accelerometer, laser interferometer,
piezogauge or other detectors known in the art), where the
actuator provides an input to a material to be inspected and the
classical receiver measures the output. Another embodiment
comprises an NDE/SHM method in which classical impact echo/tap
testing methods of actuation are used together with a highly
nonlinear receiver, where the classical impact/tap test provide
input and the highly nonlinear receiver measures the output. Still
another embodiment comprises an NDE/SHM method in which a highly
nonlinear actuator and a highly nonlinear receiver are used
together, where the actuator provides the input and the receiver
measures the output.
[0010] An embodiment of the present invention is a method for
performing an inspection of an element or structure comprising:
generating one or more highly nonlinear waves; directing the one
or more highly nonlinear waves into the element or structure to be
inspected; and, detecting pulses deriving from the waves directed
into the element or structure after the waves have propagated
through at least a portion of the element or structure to be
inspected.
[0011] Another embodiment of the present invention is a system for
inspecting an element or structure comprising: a highly nonlinear
wave actuator, wherein the actuator is configurable to impinge
highly nonlinear pulses to the element or structure to be
inspected, and a pulse detector configurable to detect pulses from
the actuator propagating through at least a portion of the element
or structure to be inspected.
[0012] Still another embodiment of the present invention is A
method for performing an inspection of an element or structure
comprising: generating an inspection pulse; directing the
inspection pulse into the element or structure to be inspected;
directing the inspection pulse after it has propagated through at
least a portion of the element or structure to be inspected into a
nonlinear receiver; and detecting the inspection pulse after it
has propagated through at least a portion of the nonlinear
receiver.
[0013] Still another embodiment of the present invention is A
system for inspecting an element or structure comprising: a pulse
actuator, wherein the actuator is configurable to apply pulses to
the element or structure to be inspected, and a nonlinear receiver
configurable to detect pulses from the actuator propagating
through at least a portion of the element or structure to be
inspected.
BRIEF DESCRIPTION OF THE SEVERAL
VIEWS OF THE DRAWINGS
[0014] FIG. 1A shows a
schematic representation of a system for production and/or
detection of highly nonlinear waves.

[0015] FIG. 1B
illustrates a bead with an embedded piezoelement.
[0016] FIG. 2A
illustrates a system for producing or detecting highly nonlinear
waves.
[0017] FIG. 2B
illustrates a system for producing or detecting highly nonlinear
waves.
[0018] FIG. 3A is a
schematic diagram representing the creation, propagation and
detection of highly nonlinear solitary waves in relation to a bulk
highly nonlinear, weakly nonlinear, or linear medium.
[0019] FIG. 3B is a
schematic diagram representing the transmission of highly
nonlinear waves in waveguide structures made of highly nonlinear,
weakly nonlinear, or linear medium.
[0020] FIG. 4 depicts a
system where a highly nonlinear actuator is used in combination
with a classical receiver.
[0021] FIG. 5 depicts a
system where a classical impact echo/tap testing hammer is used in
combination with a highly nonlinear receiver.
[0022] FIG. 6 depicts a
system where a highly nonlinear actuator is used in combination
with a highly nonlinear receiver.
[0023] FIG. 7 is a flow
chart showing steps of a method for performing nondestructive
evaluations and structural health monitoring.
[0024] FIG. 8 is a flow
chart showing steps for characterizing a material by using an
inverse approach.
[0025] FIG. 9 is a flow
chart showing steps for determining whether a material or
structure has any damages based on highly nonlinear wave
measurements.
[0026] FIG. 10
illustrates the application of a highly nonlinear solitary wave to
a damaged structure and propagation of the highly nonlinear
solitary wave through the structure and a test setup to detect the
damage.
[0027] FIG. 11 depicts an
undamaged seven wire steel strand and a damaged seven wire steel
strand and the application of a highly nonlinear solitary wave
thereto.
[0028] FIGS. 12A and 12B
show experimental results where highly nonlinear solitary wave
induced pulses are propagated within a steel rod.
[0029] FIGS. 13A and 13B
show experimental results where highly nonlinear solitary wave
induced pulses are propagated within a steel rod using a test
setup similar to that depicted in FIG. 4.
[0030] FIGS. 14A and 14B
show experimental results where highly nonlinear solitary wave
induced pulses are propagated within a steel rod using a test
setup similar to that depicted in FIG. 4, but with only two
sensors.
[0031] FIGS. 15A and 15B
show time history results where highly nonlinear solitary wave
induced pulses are propagated within a steel rod and
precompression is used.
[0032] FIGS. 16A and 16B
show frequency-intensity results where highly nonlinear solitary
wave induced pulses are propagated within a steel rod and
precompression is used.
[0033] FIG. 17 shows a
system for automated evaluation and monitoring of pavements,
railroads, floor spaces and other such structures.

DETAILED DESCRIPTION
[0034] Embodiments of the present invention provide for
nondestructive evaluation and monitoring of materials and
structures through the use of highly nonlinear pulses and waves
generated in one dimensional chains of granular components. In
this disclosure, the granular components or grains may comprise
granular matter, which is defined as an aggregate of particles or
layers in elastic contact with each other, preferably in linear or
network shaped arrangements. While embodiments of the present
invention use highly nonlinear pulses and waves, additional
advantages may be provided when highly nonlinear solitary waves or
pulses are used, generated, and/or detected. For purposes of this
disclosure, highly nonlinear solitary waves are to be considered
as a specific case of highly nonlinear waves. Additionally, highly
nonlinear solitary pulses are to be considered as a specific case
of highly nonlinear pulses. Hence, any references to highly
nonlinear waves herein are to be considered as including highly
nonlinear solitary waves and any references to highly nonlinear
pulses herein are to be considered as including highly nonlinear
solitary pulses unless otherwise denoted.
[0035] The contact interaction between the grains is regulated by
the highly nonlinear force F--displacement .delta. relationship
shown in Eq. 1:
F.apprxeq.A.delta..sup.n (Eq. 1)
where A is a material's parameter and n is the nonlinear exponent
(with n>1). An unusual feature of the granular state is the
negligible linear range of the interaction forces between
neighboring particles resulting in zero sound speed in an
uncompressed material. This makes the linear and weakly nonlinear
continuum approaches based on Korteveg-de Vries (KdV) equation
invalid and places granular materials in a special class according
to their wave dynamics. The dynamic response of granular materials
is controlled by the highly nonlinear wave theory that supports
the formation and propagation of highly nonlinear compact solitary
waves.
[0036] In granular materials composed by perfectly spherical
beads, the highly nonlinear behavior stems from the dynamics of
the contact interactions, regulated by Hertz law, for which the
exponent n in Eq. 1 is equal to 1.5. This highly nonlinear
response can also be found in many other nonlinear systems
composed by grains with different geometries and the theoretical
formulation has been extended and generalized to all nonlinear
exponents n, with n.noteq.1. For example, other geometries may
include irregular grains with conical contacts where n=2; forests
of vertically aligned carbon nanotubes where n=2.2; transverse
vibration in a fiber with discrete particles where n=3 and plug
chain gas-liquid systems where n=3. The continuum treatment of the
highly nonlinear wave theory extends to periodic heterogeneous
media, such as, granular systems where the particles composing the
chain are not identical, and periodic defects alternate throughout
its length.
[0037] Highly nonlinear solitary waves are stationary pulses
forming in ordered granular media by the balancing effects of
their geometric nonlinearity and the dispersion present in the
medium. A unique feature of the highly nonlinear solitary waves
(that makes them different from all other previous solitary waves
or solitons described in various other physical systems, such as
in fluids, atomistics and electromagnetic waves), is the
independence of their wave width from their amplitude. For
granular systems, in which Hertz law is valid and the exponent
n=1.5, their spatial size is always 5 particles diameter, no
matter what wave amplitude or wave speed is present in the system.
Using the notation found in the most general treatment of the
nonlinear wave theory, the wave equation for a uniform highly
nonlinear system, derived from the Hertzian interaction law, is
shown in Eq. 2 below:
u.sub..tau..tau.=u.sub.x.sup.n-1u.sub.xx+Gu.sub.x.sup.n-3u.sub.xx.sup.3+Hu-
.sub.x.sup.n-2u.sub.xxu.sub.xxx+Iu.sub.x.sup.n-1u.sub.xxxx
(Eq. 2)
where u is the displacement, .tau. is a resealed time, n is the
nonlinear exponent found in Eq. 1 and the explicit expression of
the parameters I, H, G can be found in Porter, M. A.; Daraio, C.;
Herbold, E. B.; Szelengowicz, I.; Kevrekidis, P. G. "Highly
nonlinear solitary waves in phononic crystal dimers" Physical
Review E, 77, 015601(R), 2008.
[0038] The solution for Eq. 2, describing the shape and properties
of the highly nonlinear solitary waves, from direct integration is
of the form shown in Eq. 3 below:
u = v = B cos 2 n - 1 ( .beta. .xi. ) , where B = ( .mu. [ .beta.
2 s ( s - 1 ) ] ) 1 / n - 1 , .beta. = .sigma. ( 1 - .eta. ) 2 and
s = pI . ( Eq . 3 ) ##EQU00001##
[0039] The generality of the highly nonlinear wave equation shown
in Eq. 2 is given by the fact that it includes also the linear and
weakly nonlinear regimes of wave propagation. These regimes can be
extrapolated by adding an initial prestrain (precompression) to
the system. Its solution demonstrates that in a highly nonlinear
medium only two harmonics contribute to a stationary mode of
propagation of the periodic signal. The solitary shape, if the
initial prestrain .xi..sub.0 is approaching 0, can be taken as one
hump of the periodic solution provided by Eq. 3 with finite wave
length equal only to five particle diameters in the case of a
Hertzian granular system. In analogy with the KdV solitons, the
highly nonlinear solitary waves are supersonic, which means that
their phase velocity is larger than the initial sound velocity
(c.sub.0) in the nonlinear medium (especially in the case of an
uncompressed system, in which the c.sub.0=0). For granular chains
composed by spherical particles, the speed of the solitary wave
V.sub.s as nonlinear function of the maximum particle dynamic
strain can be expressed as shown in Eq. 4:
V s = 2 5 c .xi. m 1 / 4 = 0.6802 ( 2 E a .rho. 3 / 2 ( 1 - v 2 )
) 1 / 3 F m 1 / 6 , ( Eq . 4 ) ##EQU00002##
where F.sub.m is the maximum dynamic contacts force between the
particles in the discrete chain.
[0040] The relationship shown in Eq. 4 may provide for
applications in the field of dynamics and acoustic properties of
materials. Such waves, as predicted by the theory and validated
numerically and experimentally, have tunability characteristics.
By changing the mechanical and/or the geometrical properties of
the high nonlinear medium supporting the formation of HNWs, the
shape and the properties of the traveling pulse can be tuned. In
other words, the properties of the nonlinear waves in the highly
nonlinear media can be "engineered" for a specific application.
These "controllable" waves may then be used as new boundary
conditions in various structures for testing. It may also be
desirable to generate a train of nonlinear waves rather than a
single nonlinear pulse.
[0041] The analytical expression for the tunability of the
solitary waves speed in a Hertzian system derived from the
presence of added precompression and obtained from the
discretization of the particles in the chain, is expressed as
shown in Eq. 5 below:
V s = 0.9314 ( 4 E 2 F 0 a 2 .rho. 3 ( 1 - v 2 ) 2 ) 1 / 6 1 ( f r
2 / 3 - 1 ) { 4 15 [ 3 + 2 f r 5 / 3 - 5 f r 2 / 3 ] } 1 / 2 . (
Eq . 5 ) ##EQU00003##
where F.sub.0 represents the static prestress (precompression)
added to the system, f.sub.r=F.sub.m/F.sub.0 and F.sub.m is the
maximum contacts force between the particles in the discrete
chain.
[0042] The dependence of the solitary wave properties on the
materials parameters is shown in Eq. 4 for a non-prestressed
system and in Eq. 5 for a prestressed system. Also note that, with
HNSWs, the system is size independent but sensitive to the
presence of periodic heterogeneities in the chain. Therefore, the
solitary waves may be scalable to various sizes, according to the
needs of each specific application.
[0043] According to Eqs. 4 and 5, the tunability of the HNSWs can
be achieved by varying one or more parameters of the nonlinear
medium. For example, increasing the particle size of the highly
nonlinear medium increases the wavelength and the wave speed and
amplitude decrease. This tunability provides the possibility of
reducing or eliminating the electronic equipment, such as function
generators, necessary to excite stress waves of a given shape and
wavelength. Therefore, embodiments of the present invention may
reduce some of the power demands in ultrasonic actuation needed by
prior art systems and may allow the use wireless technology
instead of tethered technology known in the art. In addition, the
high-sensitivity of wave amplitude and wave speed to the state of
stress state in highly nonlinear material may also allow for
improvements in the estimation of applied stress over that
obtained by conventional acoustoelastic methods.
[0044] Embodiments of the present invention also allow for the use
of particles having morphology different than the one described by
the classical Hertzian shape (n=1.5), which can add another
element to the tunability, that is by varying n in Eq. 1 the
wavelength (and, therefore, the signal's frequency) will vary
significantly. Further, a HNW or HNSW traveling in a system
composed of alternating short chains of hard and soft beads (that
can be interpreted as defects) or in any periodic heterogeneous
system will induce significant changes in the properties of the
traveling pulse. Systems composed of randomized assemblies of
particles, such as chains including particles of different
materials, masses and diameters in a disordered and
quasi-disordered configuration, present thermalization phenomena
that induce pulse decomposition and excitation of higher frequency
modes.
[0045] The use of solitary waves for defect and impurity detection
in granular media is discussed in Sen, S., Manciu, M., and Wright,
J. D., "Solitonlike Pulses in Perturbed and Driven Hertzian Chains
and Their Possible Applications in Detecting Buried Impurities,"
Phys. Rev. E, 57, no. 2, 2386-2397 (1998) and in Hong, J. &
Xu, A., "Nondestructive identification of impurities in granular
medium." Appl. Phys. Lett., 81, 4868-4870 (2002). Solitary waves
have been demonstrated to be sensitive to the granular materials
properties, such as elastic modules, and applied stress and the
dependence of the velocity and shape of the backscattered signal
on the presence of light and heavy impurities in a granular chain
have also been noted. Highly nonlinear solitary pulses have been
studied numerically and experimentally in various one-dimensional
highly nonlinear systems assembled from chains of stainless-steel,
glass, brass, nylon, polytetrafluoroethylene (PTFE) and Parylene
coated steel beads. As predicted by the theoretical formulation,
the numerical and experimental validation showed a significant
difference in the speed and amplitude of the supported solitary
waves as a function of the materials parameters.
[0046] The equations discussed above generally apply to HNSWs.
However, embodiments of the present invention may rely upon the
generation and/or detection of HNWs, treating the generation
and/or detection of HNSWs as just a special case of HNWs. A
schematic representation of a system for production and/or
detection of HNWs is shown in FIG. 1A. In FIG. 1A, a chain 501 of
particles or beads 505, 507, 509 is positioned between stays 603.
By impinging the first particle 505 into the second particle 507,
a HNW is generated (however, the generated HNW may stabilize into
a HNSW). In this configuration, the first particle 505 may be
considered as a striker particle. The wave propagates as long as
the particles 505, 507, 509 stay in contact. Wavelength, speed,
and amplitude of the wave can be tuned by selecting a desired
combination of chain size (diameter and number of particles),
particle material, and pre-compression on the particles. Some of
the particles 509 may have embedded piezoelements or other
detection apparatus that can be used to monitor the propagation of
HNWs within the chain 501. The system shown in FIG. 1A can also be
used for the detection of HNWs by coupling the system to a
material or structure and using the detector particles 509 with
the piezoelements to detect the waves.
[0047] FIG. 1B illustrates a detector particle 509 with an
embedded piezoelement to detect HNWs. The detector particle 509
comprises particle halves 62 and a piezoelement 64 sandwiched
between the two halves 64. The piezoelement 64 is preferably
attached to the two halves 62 with an adhesive layer 66, where the
adhesive layer 66 may comprise epoxy or other adhesive material.
The particle halves 62 may be notched to allow for leads 65 from
micro-miniature wiring associated with the piezoelement 64 to be
embedded within the particle 509. The piezoelement 64 may have the
wiring of the opposite faces of the piezoelement or in the same
face by using a wrap around electrode and lead attachment.
Preferably, the piezoelement 64 is calibrated to increase the
accuracy of wave detection.
[0048] Systems for producing or detecting HNWs are depicted in
FIGS. 2A and 2B. FIG. 2A shows a three dimension view of an
actuating and or sensing apparatus. As shown in FIG. 2A, four rods
30 are used to confine a chain of beads 44 that are used for the
creation of highly nonlinear pulses for transfer to an element 20
or material to be tested. FIG. 2B shows a vertical cross-section
of an apparatus similar to the one depicted in FIG. 2A where the
four rods are replaced by a hollow cylindrical container 32 within
which a chain of beads 44 is constrained. As discussed above, it
may be useful to apply precompression for tuning the highly
nonlinear waves. In FIG. 2A, element 50 depicts a system that may
be used to apply static precompression. Element 50 may comprise a
levitating ring magnet, a system to suspend controlled weights, a
screw/load-cell controlled prestraining device, some other element
or system that can compress the chain of beads 44, or some
combinations of the elements and systems listed herein. As shown
in FIG. 2B, a magnetic bead (or a bead holding suspended weights)
42 may be placed on top of the chain of beads 44 to allow for the
application of static precompressive force. FIG. 2B also shows an
outer holder 54 for handling and anchoring the hollow cylindrical
container 30 on the element 20 or structure to be tested.
[0049] The constrained chain of beads 44 shown in FIGS. 2A and 2B
may serve to produce or detect HNWs. For the production of such
waves, a striker 40 may be used to initiate the formation of the
HNW in the chain of beads 44. The striker 40 may be actuated
through the use of an electromagnet 46 to move the striker 40 to
strike the chain of beads 44. For example, the striker 40 may
comprise a stainless steel ball lifted and released through an
alternating magnetic field created by the electromagnet 46. The
magnetic bead 42 shown in FIG. 2B may also serve as a means by
which the chain of beads 44 are struck to produce pulses. A
magnetically or an electro-magnetically controlled apparatus may
be capable of generating pulses at frequencies greater than 20
kHz. Alternative embodiments may use a different activation
mechanism such as a spring loaded system or a compressed air
loaded system.
[0050] FIG. 3A is a schematic diagram representing the wave
propagation of HNWs in a bulk highly nonlinear, weakly nonlinear
or linear medium. A highly nonlinear pulse generator 10 (also
referred to herein as a highly nonlinear actuator/exciter)
generates a single or a train of highly nonlinear waves 14 that is
directed into the element 20 or structure under test. FIG. 3A
shows the propagation of the wave 14 through the element 20, which
may comprise a bulk highly nonlinear, weakly nonlinear or linear
medium. The propagating wave within the medium under testing may
comprise linear stress waves and/or highly non linear waves. An
output pulse 16 is received by a highly nonlinear receiver 12.
FIG. 3B shows the generation of the single HNW 14 by the actuator
10 in the element 20, which may comprise a waveguide structure
made of highly nonlinear, weakly nonlinear or linear medium. In
FIG. 3B, the actuator 10 for HNWs is used also as sensing element
for pulses 18 reflected by the waveguide edges and or defects.
[0051] One embodiment of the present invention comprises a method
and system where a highly nonlinear actuator is used in
combination with a classical receiver (such as an accelerometer,
laser interferometer, piezogauge or other detectors known in the
art). FIG. 4 depicts a system with this configuration. In FIG. 4,
a highly nonlinear actuator/exciter 10 provides pulses to the
element 20 that is undergoing testing with a potential defect 489.
Element 20 may have a bulk or waveguide geometry and may comprise
a highly nonlinear, weakly nonlinear or linear medium. The
nonlinear actuator/exciter 10 has a striker particle 40 to
initiate the formation of the HNW in the actuator 10. A first
piezogauge 481 detects signals entering the element 20 under
testing and a second piezogauge 482 detects the output signal
after traveling in the tested element 20. A computer 90 may be
used to process and store data to provide an analysis of the
characteristics of the measured element 20. One or more calibrated
piezogauges 64 disposed within elements of the actuator 10 may be
used to detect the HNW propagating within the actuator/exciter 10
to provide the ability to additionally control or tune the
actuator/exciter 10 to produce an HNW with desired
characteristics.
[0052] Another embodiment of the present invention comprises a
method and system where a classical impact echo/tap testing hammer
(or other such methods or apparatus known in the art) is used in
combination with a highly nonlinear receiver. FIG. 5 depicts a
system with this configuration. In FIG. 5, a classical or a
modally tuned hammer 96 is used to provide pulses to the element
20 or structure under test. Element 20 may have a bulk or
waveguide geometry and may comprise a highly nonlinear, weakly
nonlinear or linear medium. Typically, the hammer 96 may contain a
piezogauge to detect and/or control pulses generated by the hammer
96. A nonlinear receiver 12 is coupled to the element 20 under
test to receive pulses transmitted through the element 20 under
test. The nonlinear receiver 12 may also be coupled to a
piezogauge 482 which receives the HNW that has propagated through
the nonlinear receiver 12. The nonlinear receiver 12 may also have
one or more piezogauges 64 disposed within elements of the
receiver 12 to detect the HNW propagating within the receiver 12.
The receiver piezogauge 64 may be used in addition to or as an
alternative to the piezogauge 482 to provide data on the
characteristics of the element 20 under test. The receiver
piezogauge 64 may also provide the capability to tune the response
of the nonlinear receiver 12. A computer 90 may be used to collect
and store data from the piezogauges 64, 482 and the hammer 96 to
provide an analysis of the element or structure under test.
[0053] Still another embodiment of the present invention comprises
a method and system where a highly nonlinear actuator is used in
combination with a highly nonlinear receiver. FIG. 6 depicts a
system with this configuration. In FIG. 6, a highly nonlinear
actuator/exciter 10 provides pulses to the element 20 that is
undergoing testing. As discussed previously, the actuator 10 may
have one or more piezogauges 64 embedded within elements of the
actuator 10 for HNW detection. A nonlinear receiver 12 is coupled
to the element 20 under test to receive either highly nonlinear or
linear pulses or a combination of both transmitted through the
element 20 under test. Element 20 may have a bulk or waveguide
geometry and may comprise a highly nonlinear, weakly nonlinear or
linear medium. As discussed previously, the nonlinear receiver 12
may also have one or more piezogauges 64 disposed within elements
of the receiver 12 to detect the HNW propagating within the
receiver 12. The nonlinear receiver 12 may also be coupled to a
piezogauge 482 which receives the HNW that has propagated through
the nonlinear receiver 12 from the element 20 under test. A
computer 90 may be used to collect and store data from the
piezogauges 64, 482 to provide an analysis of the element or
structure under test.
[0054] FIG. 7 is a flow chart showing steps of a method for
performing nondestructive evaluations and structural health
monitoring according to an embodiment of the present invention. In
block 105, a striker is used to generate a pulse. In block 106,
the pulse is coupled to a chain of beads serving as a transmitter
for the formation of a HNSW. Block 107 depicts the detection and
measurement of that wave within the transmitter and/or at the
interface between the transmitter and the material or structure to
be tested. Block 108 represents the propagation of the HNSW, or
the propagation of linear bulk or linear guided waves within the
material or structure to be inspected. Block 109 depicts the
reception of one or more of those waves by a chain of beads with
embedded piezoelement(s) acting as a receiver and the detection of
the highly nonlinear pulses within the receiver and/or at the
interface between the receiver and the material or structure under
test. The signal detected prior to the material or structure under
test and the signal detected after the material or structure under
test are digitized at block 110 and measurements of the pulses
made at block 111. Pulse measurement block 111 may include linear
waves detected at the interface between the receiver and the
material/structure under test. These nonlinear pulse measurements
can then be used to characterize the material measured by an
inverse approach, as shown in block 112, and/or detect damage
within the structure or material, as shown in block 113.
[0055] FIG. 8 is a flow chart showing steps for characterizing a
material by using an inverse approach according to an embodiment
of the present invention. In FIG. 8, block 114 represents the
measurements of highly nonlinear pulses, such as those provided as
shown in block 111 in FIG. 7. Calculations are then performed to
determine the characteristics of the measured pulse or pulses as
shown in block 115. Block 117 shows the collection of data related
to the elastic properties of a large class of materials. Block 118
shows the calculation of a theoretical model of wave pulse
propagation for a selected material type. Decision block 116 shows
the comparison of measured pulse characteristics as provided by
block 115 with theoretical characteristics as provided by block
118. If the measured and theoretical pulse characteristics are the
same or nearly the same, block 120 shows that the properties of
the measured material or structure can be characterized based on
the measured pulses. If the measured and theoretical pulse
characteristics do not sufficiently match, the differences can be
provided to a digitizer 119 and then used to select a different
material type for calculation of a theoretical model in block 118.
[0056] FIG. 9 is a flow chart showing steps for determining
whether a material or structure has any damage based on various
excitations. In FIG. 9, block 121 represents the acquisition of
measured pulsed data, such as that shown in block 111 in FIG. 7
and, for example, acquired by one of the methods depicted in FIGS.
4, 5 and/or 6. Block 122 shows the digital signal processing that
may be performed on the pulse data to extract time domain related
characteristics, frequency domain related characteristics, joint
time-frequency domain characteristics, or other mathematical
representations of the measured pulse data. Block 123 represents
the calculations that may be performed to extract features of
interest that may be used to identify and/or characterize damage.
These features may be then used to construct a damage index
vector, as shown in block 124, that may have one or more
parameters related to damage identification. A supervised learning
algorithm (as shown in block 125) or an unsupervised learning
algorithm (as shown in block 126) may then be used to process the
damage index vector and provide information as to the presence of
defects or damage within the measured material or structure.
[0057] FIG. 10 illustrates the application of a HNW to a damaged
structure and propagation of the excited pulse through the
structure and a test setup to detect the damage. In FIG. 10, a
nonlinear actuator 10 forms and applies a HNW 14 to the element 24
under test. Element 24 can be a bulk, waveguide or semi-infinite
structure made of highly nonlinear, weakly nonlinear, or linear
medium. As depicted in FIG. 10, the element 24 may comprise a
panel, plate, pavement, tile, flooring, etc. Sensors 48, such as
accelerometers, laser interferometers, piezogauges, pressure
sensors or other such detectors, detect and measure the
propagation of the pulses through the element. The presence of a
crack/void/deformation 22 in the element is expected to alter the
amplitude and shape of the waves detected in output signals from
the detectors 48. Analysis of the data obtained from the sensors
should allow a user to locate and characterize the defect 22.
[0058] Embodiments of the present invention may also be used to
detect defects in cylindrical waveguides made of highly nonlinear,
weakly nonlinear, or linear medium. For example, FIG. 11 depicts a
seven-wire steel strand 261 and a damaged seven wire steel strand
263. Such wire strands are widely used parts in prestressed
concrete and cable-stayed suspension bridges. In FIG. 11, a
nonlinear actuator 10 is used to apply the HNW and a nonlinear
receiver 12 is used to detect the HNW. In the damaged strand 263,
the presence of a prestress/temperature induced stress/strains
and/or crack/void/deformation (as represented by the void 22) is
expected to alter the amplitude and shape of the solitary waves
detected by the nonlinear receiver 12. Alternative embodiments of
the present invention allow for the detection of defects within
cable configurations other than stranded steel.
[0059] FIGS. 12A and 12B show experimental results where
HNWs-induced pulses are propagated within a steel rod. In FIG.
12A, pulses were generated with a variable number (n) of beads
into a chain of stainless steel beads. In FIG. 12B, pulses were
generated by impacting a miniature hammer and by using n=10, 30 of
HNW-inducing beads. As can be seen from FIGS. 12A and 12B, the
time domain characteristics of the pulses change with the number
of beads used to induce the HNW, indicating the tunability of the
HNW actuator.
[0060] Experimental data shows that a HNW can be excited in a
damaged and undamaged structure. The pulse detected after
traveling in a damaged structure will differ from one detected
after propagating through an undamaged structure. FIGS. 13A and
13B show experimental curves obtained for a test setup as shown in
FIG. 4, where the element 20 under test is a steel rod. FIG. 13A
depicts data obtained from positioning 4.76 mm diameter beads on a
pristine steel rod, while FIG. 13B depicts data obtained from
positioning 4.76 mm diameter beads on a damaged steel rod. Sensors
were positioned in one of the central beads composing the chain
(curve labeled "bead sensor" and corresponding to element 64 in
FIG. 4), at the interface (corresponding to element 481 in FIG. 4)
and at the base below the steel rod (corresponding to element 482
in FIG. 4). The impulses were generated by dropping a 0.45 g steel
bead from a height of 3 cm on the top particle of the chain. FIGS.
14A and 14B show experimental curves obtained for a test set up
similar to that shown in FIG. 4 where the element 20 under test is
again a steel rod. However, sensors were positioned only at the
interface and at the rod's base. FIG. 14A depicts data obtained
from positioning 2.38 mm diameter beads on an undamaged steel rod
and FIG. 14B depicts data obtained from positioning 2.38 mm
diameter beads on a damaged rod. The impulses were generated
dropping a 0.45 g steel bead from a height of 3 cm on the top
particle of the chain.
[0061] As discussed above, precompression may also serve to tune
the HNW provided by a nonlinear actuator. FIGS. 15A, 15B, 16A and
16B illustrate the effect that precompression may have. FIG. 15A
depicts time data obtained from positioning 20 vertically aligned
stainless steel particles on top of a 4.76 mm diameter steel rod
with added static precompression (F.sub.0=2.38 N). The test setup
was similar to that shown in FIG. 4, where sensors were positioned
in one of the central beads composing the chain (curve labeled
"bead sensor" and corresponding to element 64 in FIG. 4), at the
interface (corresponding to element 481 in FIG. 4) and at the base
below the steel rod (corresponding to element 482 in FIG. 4). FIG.
15B shows time data obtained with a similar set up using a damaged
rod. FIG. 16A shows intensity verses frequency data obtained from
measurements made from the pristine rod, while FIG. 1 6B shows
intensity versus frequency data obtained from the damaged rod.
[0062] An embodiment of the present invention may comprise a
method and system for automated evaluation and monitoring of
pavements, railroads, floor spaces and other such structures. FIG.
17 is a schematic view of such an embodiment. In FIG. 17, a
trolley 80 has both a nonlinear actuator 10 and a nonlinear
receiver 12 mounted on it. The nonlinear actuator 10 and a
nonlinear receiver 12 are both mounted in a fashion that allows
them to contact the structure 20 under test. In operation, the
nonlinear actuator 10 provides highly nonlinear pulses and the
nonlinear receiver 12 detects the highly nonlinear pulses. As
indicated above, alternative embodiments may use classical impact
methods known in the art (such as an impact hammer) instead of the
nonlinear actuator 10 to provide pulses for detection by the
nonlinear receiver 12. Other embodiments may use the nonlinear
actuator 10, but the pulses from the actuator 10 may be detected
by classical detection methods or apparatus instead of the
nonlinear receiver 12.
[0063] In the system depicted in FIG. 17, the computer 90 may
provide for control over the nonlinear actuator 10 and the
nonlinear receiver 12 and also control the motion of the trolley.
Signals to and from both the nonlinear actuator 10 and the
nonlinear receiver 12 may be coupled to a data collection station
70 that may be coupled, either wirelessly or with a wired
connection, to the computer 90. For example, the data collection
station may comprise a unit from National Instruments utilizing
PXI technology running LabView.RTM. or analogous
hardware/software. The computer 90 may comprise a laptop computer
which could then be configured to form a client-server Ethernet
link with the data collection station 70. The data collection
station 70 may be configured to control the generation of test
pulses by the nonlinear actuator 10, acquire signals from the
nonlinear receiver 12, process the signals to limit noise, and
produce a real-time quality index for the monitored structure 20.
The computer 90 may then be used to start and stop the
acquisition, modify the pulse and pulse processing settings,
monitor the results in real-time, and provide report windows.
[0064] The system depicted in FIG. 17 may provide a user the
ability to exploit HNW induced pulses propagating across and along
the thickness of the structure 20 and within the structure 20
itself. While FIG. 17 only shows a single actuator 10/receiver 12
pair, multiple actuator/receiver pairs may be deployed to form a
grid that covers large sections of the structure 20 at once. This
may speed up the rate at which the structure 20 can be inspected
and also improve the quality of the inspection.
[0065] The foregoing Detailed Description of exemplary and
preferred embodiments is presented for purposes of illustration
and disclosure in accordance with the requirements of the law. It
is not intended to be exhaustive nor to limit the invention to the
precise form or forms described, but only to enable others skilled
in the art to understand how the invention may be suited for a
particular use or implementation. The possibility of modifications
and variations will be apparent to practitioners skilled in the
art. No limitation is intended by the description of exemplary
embodiments which may have included tolerances, feature
dimensions, specific operating conditions, engineering
specifications, or the like, and which may vary between
implementations or with changes to the state of the art, and no
limitation should be implied therefrom. This disclosure has been
made with respect to the current state of the art, but also
contemplates advancements and that adaptations in the future may
take into consideration of those advancements, namely in
accordance with the then current state of the art. It is intended
that the scope of the invention be defined by the Claims as
written and equivalents as applicable. Reference to a claim
element in the singular is not intended to mean "one and only one"
unless explicitly so stated. Moreover, no element, component, nor
method or process step in this disclosure is intended to be
dedicated to the public regardless of whether the element,
component, or step is explicitly recited in the Claims. No claim
element herein is to be construed under the provisions of 35
U.S.C. Sec. 112, sixth paragraph, unless the element is expressly
recited using the phrase "means for . . . " and no method or
process step herein is to be construed under those provisions
unless the step, or steps, are expressly recited using the phrase
"comprising step(s) for . . . "