rexresearch.com
Austin & David DARRAGH
Vi-Aqua RF Water Treatment
http://www.viaqua.ie/
http://www.viaqua.com
How Vi Aqua Works

Using a radio frequency wave of 27 MHz Vi-Aqua transmits a
safe electrical energy into water which enhances the performance
of nutrient uptake.
In most cases it stimulates photosynthesis converting those
essential nutrients into energy.
Vi-Aqua works by altering the configuration of hydrogen in water.
It influences the critical structure of hydrogen in suspension by
producing greater availability of Oxides, Peroxides, and
Super-oxides.
Further to this process Vi-Aqua reduces the surface tension
of water producing more available solute in solution which in turn
makes nutrients more presentable to plant life...
The Vi-Aqua system works by altering the natural surface charge of
suspended particles and acts to modify the Zeta Potential. The
negative charge, induced by the applied signal, enhances the
stability of the suspension by means of increases electrostatic
repulsion between particles. This is due to the resultant double
layer of ions that surround particles and vessel/pipe surfaces
which are in contact with water.
The modified Zeta Potential facilitates improved hydration of
solids and reduced surface tension, thus creating the benefits
that will be seen in your crop.
Apparatus For Delivering
Electromagnetic Energy Into A Solution
US2011268614
The present invention relates to a delivery apparatus for
delivering electromagnetic energy into a solution. The delivery
apparatus comprises a coil means arranged within an outer housing
for delivering a magnetic field into the solution, a voltage
assembly means coupled to the coil means for delivering an
electric field into the solution, and connection means for
delivering an electromagnetic signal to the coil from
electromagnetic signal generation circuitry contained within the
housing. The arrangement of the present invention confers
significant physical stability on the delivery apparatus and
ensures that heat generated by heat generating components of the
apparatus is conducted away from the electromagnetic signal
generation circuitry so that the apparatus can be operated
continuously.
001] The present invention relates to an apparatus for delivering
electromagnetic energy into a solution to modify characteristics
of the solution, particularly, the Zeta potential of the solution.
[0002] It is known that the delivery of electromagnetic energy
(such as radio frequency (RF) modulated energy) into a solution
can be used to modify characteristics of the solution, such as the
Zeta potential. The delivery of RF modulated energy into a
solution is typically carried out by placing a delivery apparatus,
which is driven by an RF energy source to generate magnetic and
electric field energy, suitably near or in the solution. The
characteristics of the solution are altered according to the
amplitude of and the length of time that the RF modulated energy
is delivered into the solution.
[0003] WO-A-9622831 discloses one such apparatus for delivering
electromagnetic energy into a solution. Preferred embodiments of
delivery apparatus disclosed in this document comprise a tubular
housing having closed ends forming a water tight chamber, a coil
contained within the chamber delivering a magnetic field into a
solution, at least one electric field probe coupled to the coil
for delivering an electric field into the solution and coupling
means for coupling an electromagnetic signal to the coil. Although
this apparatus is useful, it suffers from a number of drawbacks,
including that the arrangement disclosed generates significant
heat which interferes with the frequency and amplitude of the
signal generated and causes it to fluctuate about the preferred
optimal radio frequency energy level. In an attempt to control the
level of undesirable heat dissipation the unit operates
intermittently and thereby defines a duty cycle. Furthermore,
on-off control of the delivery apparatus disclosed in WO-A-9622831
requires a user to be physically present at the apparatus so as to
manually operate a switch, which is disadvantageous. Additionally,
the tubular housing is permanently sealed so that the internal
components, such as the coil, the probes and the like, are unable
to be accessed without first breaking the sealed tubular housing.
Accordingly, should the unit breakdown and/or require maintenance
it is necessary to break the outer housing in order to access the
internal components and then apply a new outer housing to the
unit.
[0004] It is an object of the present invention to provide a
delivery apparatus which goes at least some way toward overcoming
the above problems and/or which will provide the public and/or
industry with a useful alternative.
[0005] It is acknowledged that the term 'comprise' may, under
varying jurisdictions be provided with either an exclusive or
inclusive meaning. For the purpose of this specification, and
unless otherwise noted explicitly, the term comprise shall have an
inclusive meaning-i.e. that it may be taken to mean an inclusion
of not only the listed components it directly references, but also
other non-specified components. Accordingly, the term 'comprise'
is to be attributed with as broader interpretation as possible
within any given jurisdiction and this rationale should also be
used when the terms 'comprised' and/or 'comprising' are used.
[0006] Further aspects of the present invention will become
apparent form the ensuing description which is given by way of
example only.
[0007] According to the invention, there is provided a delivery
apparatus for delivering electromagnetic energy into a solution,
the delivery apparatus comprising:
an outer housing;
a coil means arranged within the housing for delivering a magnetic
field into the solution;
voltage assembly means coupled to the coil means for delivering an
electric field into the solution;
connection means for delivering an electromagnetic signal to the
coil from electromagnetic signal generation circuitry contained
within the housing;
characterised in that the delivery apparatus further comprises
heat conducting means arranged within the housing to conduct heat
generated by heat generating components of the electromagnetic
signal generation circuitry.
[0013] The present invention encapsulates all of the components of
the apparatus within the housing and this arrangement confers
significant physical stability on the delivery apparatus. The
provision of heat conducting means within the housing will ensure
that heat generated by heat generating components of the
electromagnetic signal generation circuitry, such as one or more
FET transistors, will be conducted away to thereby significantly
reduce overheating of the apparatus and minimise the level of
undesirable heat dissipation. As a result, the present invention
does not need to be operated intermittently in order to control
the level of heat dissipation to maintain a constant frequency and
amplitude of the signal generated.
[0014] In another embodiment of the invention, the heat conducting
means at least partially encloses the electromagnetic signal
generation circuitry.
[0015] Preferably, the heat generating components of the
electromagnetic signal generation circuitry are in contact with
the heat conducting means.
[0016] In another embodiment of the invention, the apparatus
further comprises shielding means arranged within the housing to
at least partially enclose the coil means so as to shield the coil
means from electrostatic fields. The provision of such shielding
means within the housing provides the desired electrostatic
shielding whilst still allowing the electromagnetic field
generated by the coil means to be delivered into the solution in
order to affect the zeta potential of the solution in the desired.
[0017] In another embodiment of the invention, the shielding means
and heat conducting means are integrally formed. In another
embodiment of the invention, the shielding means and heat
conducting means are fully enclosed within the housing.
[0018] In another embodiment of the invention, the heat conducting
means and shielding means are integrally formed as a sleeve.
[0019] In another embodiment of the invention, the sleeve is
fabricated from copper or aluminium or a metal alloy. It is of
course understood that the metal sleeve can be made from any
suitable metallic material or alloy known to the person skilled in
the art.
[0020] In another embodiment of the invention, a mounting plate is
arranged within the sleeve.
[0021] In another embodiment of the invention, the mounting plate
is integral with the sleeve and fabricated from the same material
as the sleeve.
[0022] In another embodiment of the invention, the coil means is
arranged on a heat resistant plate located on one side of the
mounting plate, and the electromagnetic signal generation
circuitry is arranged on a spacer plate on another side of the
mounting plate so that the heat generating components of the
electromagnetic signal generation circuitry are maintained in
contact with the mounting plate.
[0023] In this embodiment, the sleeve thus acts as a heat sink,
drawing heat away from the circuitry. Use of the spacer plate
ensures the circuitry, which is provided as a PCB board, is
prevented from shorting against the mounting plate. In such an
embodiment the PCB board is fully contained, isolated and
insulated from the copper plate and coil with the exception of the
heat generating components which are connected to the copper plate
to provide heat sink for these components and the PCB which is
connected to the coil via hexagonal standoffs for delivery of the
signal generated by the circuitry of a frequency of 27.225 MHz to
the coil.
[0024] In another embodiment of the invention, the housing
comprises a releasable closure or lid. Accordingly, the internal
components in the housing, such as the coil, the circuitry and the
like, are able to be accessed by simply removing the closure. If
the unit breaks down and/or requires maintenance access can be
easily gained. In the event that the internal components are
damaged, then the housing and closure can also be recycled for use
again.
[0025] In another embodiment of the invention, the housing and
closure are fabricated from a non-conductive material, such as
polyvinylchloride (PVC).
[0026] In another embodiment of the invention, the coil means is a
conductive helical coil having a plurality of rungs, whereby the
helical coil extends around a central support core which extends
from the heat resistant plate. Optionally, the coil is fabricated
from silver coated refrigeration tubing.
[0027] In another embodiment of the invention, the central support
core is a tube mounting a plurality of coil support fins, each fin
having a plurality of slots or grooves profiled to hold
substantially rigidly at least some of the rungs of the coil. This
ensures that the delivery apparatus has the required level of
shock resistance necessary to ensure that the apparatus is not
damaged as a result of solution turbulence, such as when the
apparatus is positioned at or near a water inlet or bubbling area
in the solution.
[0028] Preferably, each fin extends radially from the tube.
[0029] Advantageously, the electromagnetic signal delivered from
the electromagnetic signal generation means is delivered as a
constant un-pulsed signal.
[0030] Preferably, the frequency of the electromagnetic signal
delivered from the electromagnetic signal generation means is
27.225 MHz.
[0031] In another embodiment of the invention, the voltage
assembly means comprises a central voltage probe, a fluid chamber
surrounding the probe and a non-conductive hollow outer housing.
Preferably, the fluid in the probe is de-ionised water.
[0032] In another embodiment of the invention, the voltage
assembly means is mounted via a conductive stand-off on a support
rod which extends through the central support core.
[0033] In another embodiment of the invention, the conductive
stand-off is screw threaded for engaging with a complimentary
screw thread on the voltage probe. In this way the voltage
assembly means is able to be securely mounted onto the stand-off
so as to eliminate fluid leakage from the fluid filled probe.
[0034] In another embodiment of the invention, the delivery
apparatus further comprises a feedback voltage aerial adapted to
pick up a signal at the voltage assembly means and covert it to a
feedback voltage which is transmitted to control circuitry of the
delivery apparatus. Preferably, the control circuit is housed in a
control panel unit.
[0035] Preferably, the feedback voltage aerial extends from the
electromagnetic signal generation circuitry through the mounting
plate.
[0036] In another embodiment of the invention, the control
circuitry comprises a plurality of alarms which signal audibly
and/or visibly when the feedback voltage is not within a
predefined range.
[0037] In another embodiment of the invention, the control
circuitry is coupled to telemetry means for transmitting data
relating to operating parameters associated with the delivery
apparatus, such as a malfunction of the delivery apparatus and/or
whether the delivery apparatus is powered on and off.
[0038] In another embodiment of the invention, the data is
transmitted to a mobile transceiver device as a text message. Such
text messages serve to alert an operative to various operating
parameters associated with the delivery apparatus and/or a
malfunction of the delivery apparatus.
[0039] In another embodiment of the invention, the telemetry means
is operative to control switching means in the control circuitry
to control the on and off functioning of the delivery apparatus,
whereby the delivery apparatus is adapted to be switched on and
off by transmitting an electronic signal, such as a text message,
to the telemetry means. In such an embodiment, an operative is
able to switch the delivery apparatus on or off by sending a text
message or other electronic signal to the telemetry means.
[0040] The control circuit also includes a plurality of LED's
which are positioned on a control panel unit for visually
displaying various operating parameters associated with the
delivery apparatus, including a malfunction and/or whether the
apparatus is on or off.
[0041] In another embodiment of the invention, the apparatus
further comprises means enabling the location of the delivery
apparatus to be determined. Preferably, the control means further
comprises GSM technology to enable the location of the delivery
apparatus to be determined by a remote monitoring means.
[0042] In another embodiment of the invention, the apparatus is at
least partially submerged in the solution to deliver the magnetic
field and the electric field into the solution. Alternatively, the
apparatus may be fully submerged in the solution to deliver the
magnetic field and the electric field into the solution.
Preferably, the solution is water.
[0043] Preferably, the telemetry means is coupled with battery
powered back up.
[0044] In another embodiment of the invention, electrical mains
power powers the control circuit.
DETAILED DESCRIPTION OF THE INVENTION
[0045] The invention will be more clearly understood from
the following description of some embodiments thereof, given by
way of example only, with reference to the accompanying
drawings, in which:
[0046] FIG. 1 is a schematic of a system incorporating a
delivery apparatus according to the present invention submerged
in a solution;
[0047] FIGS. 2a to 2d are perspective, bottom, side and top
views of a housing for use with the delivery apparatus shown in
FIG. 1;
[0048] FIGS. 3a to 3c are side, perspective and top views
of various internal components of the delivery apparatus shown
in FIG. 1;
[0049] FIGS. 4a to 4e are sectional, perspective and top
views of a shielding means in the delivery apparatus shown in
FIG. 1;
[0050] FIG. 5 is an exploded perspective view of a PCB and
a spacer board for use with the delivery apparatus of FIG. 1;
[0051] FIG. 6 is a side view of a coil support fin
according to the invention;
[0052] FIG. 7 is a combined block schematic and circuit
diagram showing control circuitry for driving electromagnetic
signal generation circuitry in the delivery apparatus of FIG. 1;
[0053] FIG. 8 is a schematic of an alarm triggering board
coupled to the control circuitry shown in FIG. 7, and
[0054] FIG. 9 is a PCB board corresponding to the schematic
in FIG. 8.
[0055] With reference to the diagrams, and initially to FIG. 1,
there is shown a system 100 for delivering electromagnetic energy
into a solution 102 using a delivery apparatus 104. The system 100
comprises transmission means in the form of cable 106 for
delivering an electrical signal from a control circuit (see FIG.
7) housed in a control panel 108 to electromagnetic signal
generation circuitry (see FIG. 4d) contained in the delivery
apparatus 104. Electrical mains power is supplied from mains
socket 110 via power cable 107 to the control circuit. The
delivery apparatus 104 is driven by 24V DC power. The
electromagnetic signal generation circuitry in the delivery
apparatus 104 is configured to use electrical power transmitted
from the control circuit to generate an electromagnetic signal
able to be used by the delivery apparatus 104 for generating an
magnetic field and an electric field for delivery into the
solution 102. Characteristics of the solution 102, such as its
zeta potential, may thus be modified by exposing the solution to
the magnetic field and electric field generated. The frequency of
the electromagnetic signal delivered from the electromagnetic
signal generation means is approximately 27.225 MHz, and the
electromagnetic signal delivered is a constant signal (that is, it
is an un-pulsed signal).
[0056] FIGS. 2a to 2d show a housing 112 configured for the
delivery apparatus 104 of FIG. 1. The housing 112 comprises a base
114 and a side wall 116 upstanding on the base 114. Also shown is
a closure or lid 118 which is adapted to engage with the side wall
116 to close the housing 112. The housing 112 is fabricated from a
non-conductive material, such as polyvinylchloride (PVC). The
closure 118 is manufactured from conductive material (for example,
stainless steel), but it may alternatively be fabricated from a
non-conductive material, such as PVC. In the instance shown, the
cable 106 (see FIG. 1) for delivering electrical power from the
control circuit (not shown) in the control panel 108 passes
through holes 117 in the closure 118 and is coupled to the
electromagnetic signal generation circuitry (see FIG. 4d) in the
delivery apparatus 104. The cable 106 is secured in the holes 117
by means of grommets or other suitable fasteners to provide a
water tight seal. The internal components in the housing 112 are
therefore able to be accessed by removing the closure 118. If the
delivery apparatus 104 breaks down and/or requires maintenance
access can thus be easily gained once the closure 118 has been
removed. In the event that the internal components in the delivery
apparatus 104 are damaged, then the housing 112 and closure 118
can be reused.
[0057] FIGS. 3a to 3c show the coil means 120, which in use, is
arranged within the housing 112 for delivering a magnetic field
into the solution 102. In the instance shown, the coil means 120
is a helical resonator coil 124 having a plurality of rungs 125.
The coil 124 may be fabricated from a variety of suitable
materials, such as silver coated refrigeration tubing. Also shown
is a connection means 122 for coupling the coil 124 to
electromagnetic signal generation circuitry so that an
electromagnetic signal generated by the electromagnetic signal
generation circuitry can delivered to the coil 124. Also shown is
a voltage assembly means 126 (water module) which is arranged
within the housing 112. The voltage assembly means 126 is mounted
via a conductive stand-off 127 on a support core which is coupled
to and extends through the coil 124 to provide a conductive path
from the coil 124 to the voltage assembly means 126.
[0058] With reference to FIGS. 4a to 4c, the voltage assembly
means 126 (water module) comprises a central voltage probe 150,
which in the instance shown is provided as a gold plated brass
ball, a fluid chamber 152 surrounding the probe 150 and a
non-conductive hollow outer housing 154. The fluid in the chamber
152 is preferably de-ionised water. The conductive stand-off 127
is screw threaded for engaging with a complimentary screw thread
on coupling means of the voltage assembly means 126. In this way,
the voltage assembly means 126 is able to be securely mounted onto
the stand-off 127 so as to eliminate fluid leakage from the fluid
containing voltage assembly means 126.
[0059] With reference to FIGS. 4d to 4e and FIG. 5, the delivery
apparatus further comprises electromagnetic signal generation
circuitry, provided on a PCB circuit board 170 for generating an
electromagnetic signal suitable for onward transmission to the
coil 124 for generating a magnetic field and an electric field for
delivery into the solution. It will be understood that mounted on
the PCB board will be various heat generating components, such as
FET transistors. The frequency of the electromagnetic signal
delivered to the coil means 124 is 27.225 MHz.
[0060] As shown, the delivery apparatus 104 comprises a heat
conducting means 130, 138 arranged within the housing 112 to
conduct heat generated by those heat generating components, such
as FET transistor 171, of the electromagnetic signal generation
circuitry. The heat conducting means 130, 138 at least partially
encloses the electromagnetic signal generation circuitry 170. The
heat generating components of the electromagnetic signal
generation circuitry 170, such as FET transistor 171, are placed
in contact with the heat conducting means 138. This arrangement
ensures that the heat conducting means 138 will act as a heat sink
so that heat generated by the apparatus will be conducted away
from the PCB board to thereby significantly reduce overheating of
the apparatus and minimise the level of undesirable heat
dissipation.
[0061] The heat conducting means 130 also acts as a shielding
means, which is also indicated by the reference numeral 130,
arranged within the housing to at least partially enclose the coil
means 124 so as to shield the coil means 124 from electrostatic
fields. The shielding means 130 contains the electric field along
the full length of the coil 124.
[0062] In the instance shown, the heat conducting means and
shielding means are integrally configured as a tubular metal
sleeve which is fully enclosed within the housing 112. The metal
sleeve 130 may be fabricated from copper or alternatively, from
aluminium. It is of course understood that the metal sleeve 130
may be made from any suitable metallic material or alloy known to
a person skilled in the art. A mounting plate 138 of the heat
conducting means is included in the sleeve 130 intermediate the
sleeves' ends. The mounting plate 138 is fabricated from the same
material as the sleeve 130. The mounting plate 138 is also
optionally formed integrally with the sleeve 130.
[0063] The coil means 124 is arranged on a heat resistant plate
132 which is positioned on one side of the mounting plate 138, and
the electromagnetic signal generation circuitry 170 is arranged on
a spacer plate 172 on the other side of the mounting plate 138. In
the instance shown, the heat generating components 171 of the
electromagnetic signal generation circuitry 170 extend through
holes 173 of the spacer plate 172 so as to be placed in contact
with the mounting plate 138 which thus acts as a heat sink,
drawing heat away from the circuitry 170. Use of the spacer plate
172 prevents the circuitry 170 shorting against the mounting plate
138. The mounting plate 138 together with the sleeve 130 act as
heat conducting means and together with the coil 124 are removable
from the housing 112.
[0064] As shown, connection means 122 extends from the coil 124
through the heat resistant plate 132 and the spacer plate 172 to
couple the coil 124 to electromagnetic signal generation circuitry
170. In this way an electromagnetic signal of a desired frequency,
specifically 27.225 MHz, can be generated by the electromagnetic
signal generation circuitry 170 and delivered to the coil 124. In
such an embodiment the PCB board 170 is fully contained, isolated
and insulated from the copper plate 138 and coil 124 with the
exception of the heat generating components 171 which are
connected to the copper plate 138 to provide heat sink for these
components and the PCB 170 which is connected to the coil 124 via
hexagonal standoffs (See FIG. 3c labelled as 122) for delivery of
the signal generated by the circuitry 170 of a frequency of 27.225
MHz to the coil.
[0065] The helical coil 124 winds around a central support core,
indicated generally by the reference numeral 140 which extends
through the heat resistant plate 132 and sits on the mounting
plate 138. The central support core 140 comprises a tube 142
having a plurality of slits, each slit for locating a radially
extending coil support fin 144 (see FIG. 6). Each fin 144
comprises a plurality of slots or grooves 146 which are profiled
to hold substantially rigidly at least some or all of the rungs of
the coil 124. An end 147 of the fin 144 is thus adapted to
securely fit and engage with the tube 142. In the instance shown,
the central support core 140 comprises three fins 144, although it
will be understood that the core 140 may be adapted to include any
number of fins 144 as desired or as required.
[0066] The delivery apparatus also comprises a feedback voltage
aerial 180 which extends from the circuit board 170 mounting the
electromagnetic signal generation circuitry. The aerial 180
extends through the spacer plate 172 and the mounting plate 138
and is arranged to pick up the signal at the voltage assembly
means (water module) 126 and covert it to a feedback voltage which
is transmitted to control circuitry (see FIG. 7) in the control
panel 108. The board 170 and spacer plate 172 are assembled in the
direction of the arrows marked A.
[0067] With reference to FIG. 7, there is shown control circuitry
200 for driving electromagnetic signal generation circuitry
mounted in the delivery apparatus Transmission means in the form
of cable 106 for delivering an electrical signal from the control
circuit 200 to the electromagnetic signal generation circuitry
(not shown) contained in the delivery apparatus 104 is also shown.
[0068] The control circuit 200 comprises a plurality of alarms, in
the form of LED's 202, 204, 206, 208, 210 which illuminate on the
control panel 108 to signal various operational aspects and
warnings concerning the delivery apparatus. For example, when the
feedback voltage is outside a predefined range, such as below a
pre-determined value (1V), this is indicative of a fault or
malfunction of the delivery apparatus. In response to this the
control circuit 200 activates the LED 206. The control circuit 200
is coupled with telemetry means, the connections of which are
indicated generally in FIG. 7 by the reference numeral 211. When
LED 206 is on, then LED 208 is switched off and this is picked up
on channel 212 and transmitted to connection A1 on the telemetry
unit which is operative to transmit a text message to a mobile
device to alert an operative to the malfunction. LED 210 is
operative to indicate whether the control circuit is powered on or
is switched off. The control circuit 200 may also be switched on
and off remotely in order to thereby switch the delivery apparatus
104 on and off. By turning off R1 on telemetry means the delivery
apparatus 104 may be switched off. When the delivery apparatus 104
is switched off, the LED 202 (orange light) is illuminated and LED
204 is off. When the delivery apparatus 104 is switched on, LED
204 (green light) is illuminated and LED 202 is off. R1 is thus a
switch on the telemetry means that can optionally be turned on or
off by sending a text from a mobile telephone, or other device
with communications technology, to the telemetry means. Also shown
in FIG. 7 is a pre-programmed chip 218 that processes the feedback
voltage picked up by the feedback voltage aerial 180 in the
delivery apparatus 104. The chip 218 computes whether the feedback
voltage picked up by the aerial 180 is below a pre-determined
voltage needed to be supplied by the delivery apparatus 104 to the
solution 102. If the feedback voltage deviates from the
predetermined voltage by more than 1V DC, this is indicative that
a fault or malfunction has occurred with the delivery apparatus
104. The chip 218 will then send an appropriate signal to trigger
the LED 206 indicating such a fault.
[0069] FIG. 8 is a schematic of an alarm triggering board 219
coupled to the control circuitry 200 shown in FIG. 7. FIG. 8
illustrates the various alarms utilised by the control circuit
200. In the instance shown, the alarm triggering board 219 is
coupled to remote telemetry means which utilises GSM technology
and communications means so that the various alarms 220, 222, 224
when triggered may be signalled to users in the form of text
messages. In particular, alarm channel 220 is adapted to transmit
a signal to a user via text messaging that a power cut resulting
in the loss of power to the delivery apparatus 104 has occurred.
Accordingly, a user will be notified remotely by the telemetry
means of such a fault. Similarly, alarm channel 222 is adapted to
transmit a signal that the delivery apparatus 104 has been
disconnected from the control panel 108. The telemetry means thus
transmits this signal to a user's mobile telephone via a text
message. Alarm channel 224 signals when mains power has been
restored to the delivery apparatus 106 following earlier
dislocation in power supply. The telemetry means is also coupled
to a battery powered back up 226. Also shown are relay switches
232, 234 which connect the alarm channels 220, 222, 224 to ground
to thereby facilitate triggering of the alarms when required for
the telemetry means. A DC power converter 236 is also provided for
converting the 24V DC power supplied to the delivery apparatus 106
from the mains power to the 12V required for the telemetry means.
[0070] The telemetry means comprises means for controlling
switching means in the control circuit operable to control the on
and off functioning of the delivery apparatus 104. In this way a
user is able to switch the delivery apparatus 104 on or off by
sending a text message or other electronic signal to the telemetry
means. The GSM technology further enables the location of the
delivery apparatus 104 to be determined. FIG. 9 is a PCB board
corresponding to the schematic in FIG. 8. Shown on the PCB board
are mounting holes 230 to enable the board to be secured inside
the control panel 108.
[0071] Aspects of the present invention have been described by way
of example only and it should be appreciate that additions and/or
modifications may be made thereto without departing from the scope
thereof as defined in the appended claims.
Miniature apparatus for delivering
electromagnetic energy into a solution
US2004042941
Apparatus for delivering electromagnetic energy into a solution
comprises a power source (11), an oscillator crystal (12) and an
antenna (14) for transmitting the generated signal into the
solution. The solution is water which is used to irrigate plants
and flowers for which can be used for consumption by humans or
animals or for use in domestic applications.
0001] The present invention relates to an apparatus for delivering
electromagnetic energy into a solution and in particular to a
miniature version which can easily be transported and can be used
for many applications where it is desired to deliver
electromagnetic energy into a solution to modify its
characteristics such as Zeta potential.
[0002] WO-A-9622831 discloses a apparatus for delivering
electromagnetic energy into a solution Preferred embodiments of
delivery apparatus disclosed in this prior art document comprise a
tubular housing having closed ends and forming a water tight
chamber, a coil contained within the chamber delivering a magnetic
field into a solution, at least one electric field probe coupled
to the coil for delivering an electric field into the solution and
coupling means for coupling an electromagnetic signal to the coil.
[0003] This apparatus is very useful for treating large volumes of
a solution, usually water, however the apparatus is only suitable
for a large installation and is not suitable for use in many
situations and is not readily transportable.
[0004] The present invention provides an apparatus for delivering
electromagnetic energy into a solution comprising a power source,
an oscillator crystal means for generating an electromagnetic
signal such as a radio frequency (RF) signal, and an antenna for
transmit the generated signal into a solution.
[0005] The power source may be a battery, a DC mains adaptor, a
rechargeable battery or a rechargeable battery with a backup
battery, or a rechargeable battery with a DC generator powered by
water flow.
[0006] Conveniently, the apparatus includes an indicator for
indicating that the battery is charging when a rechargeable
battery is used as a power source.
[0007] Conveniently, the apparatus includes a zener diode to
regulate the voltage applied across the oscillator crystal means.
[0008] Conveniently, the apparatus includes a buffer chip to
regulate the output of the oscillator crystal means to the
antenna.
[0009] Preferably, the apparatus includes a switch and a separate
means for indicating when the apparatus is operating and
optionally includes one or more diodes to allow current to flow in
one direction and to protect a rechargeable battery from being
improperly charged. The antenna may be an elongate wire the length
of which approximates to a fractional length of the RF signal
generated by the oscillator crystal means, can include a bras
ball, at its end and an optional covering element and may be
locatable along the inside of a pipe used to supply water.
[0010] Conveniently, the apparatus includes a filter to reduce or
eliminate secondary or tertiary harmonics from the output of the
generated signal.
[0011] The invention will hereinafter be more particularly
described with reference to the accompanying drawings which show,
by way of example only, a number of embodiments in accordance with
the invention.
[0012] In the drawings:
[0013] FIG. 1 is a circuit diagram of a first embodiment of an
apparatus for delivering electromagnetic energy into a solution;
[0014] FIG. 2 is a circuit diagram of a second embodiment
of an apparatus according to the invention; the second
embodiment having a power on light, a back-up battery and power
on switch;
[0015] FIG. 3 is a circuit diagram of a third embodiment of
apparatus according to the invention, which includes an
indicator to indicate that a mains adapter powers the unit;
[0016] FIG. 4 is a circuit diagram of a fourth embodiment
of apparatus according to the invention, similar to the first
embodiment but having a power on indicator and a switch;
[0017] FIG. 5 is a circuit diagram of a fifth embodiment of
apparatus according to the invention similar to the first
embodiment with a power on indicator;
[0018] FIG. 6 is a circuit diagram of a sixth embodiment of
apparatus according to six invention;
[0019] FIG. 7 is a circuit diagram of a seventh embodiment of
apparatus according to the invention which combines the features
of the first six embodiments.
[0020] FIG. 8 is a circuit diagram of an eighth embodiment of
apparatus according to the invention which is a modification of
the seventh embodiment; and
[0021] FIG. 9 is a circuit diagram of a ninth embodiment of
apparatus according to the invention which is a further
modification of the seventh embodiment.
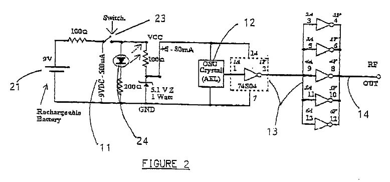
[0022] Referring to the drawings and initially to FIG. 1, the
first embodiment 10 of apparatus for delivering electromagnet
energy into a solution comprises a 9V mains adapter 11, an
oscillator crystal 12, a buffer chip 13 and an antenna 14. A Zener
diode 15 allows only 5.1 volts to pass through as the oscillator
crystal 12 only requires a supply voltage of 5 volts+-0.1 volts.
The oscillator crystal is the main component of the apparatus and
in this particular embodiment outputs a radio frequency signal of
20 MHz which is sent through the buffer chip 13 to the antenna 14.
Similar components in the other embodiments are given similar
numbers as in the first embodiment.
[0023] The second embodiment 20 is similar to the first
embodiment, except that it includes a rechargeable battery 21 as
well as the 9V mains adapter 11. Battery 21 acts as a backup power
source. It also includes a switch 23 and a light emitting diode
(LED) 24 which emits light when the switch 23 is closed and the
unit is operating.
[0024] The third embodiment 30 is similar to the second embodiment
20 but includes a separate LED 35 which is used to indicate that
the unit is being powered by a mains adapter. The LED 35 emits a
red light to distinguish it from the LED 24 which emits a green
light.
[0025] The fourth embodiment 40 includes a 9V mains adapter power
supply 11, an LED 24 for indicating power on and a switch 23 for
operating the unit.
[0026] The fifth embodiment 50 is similar to the first embodiment
10 and includes a power on light LED 24.
[0027] The sixth embodiment 60 is similar to the second embodiment
20 but includes a mains adapter 61 which gives a 12V DC supply of
700 mA. It has a power supply socket (not shown) which accepts a
jack plug from the adapter. The circuit also includes two diodes
63 and 64 which only allow current to flow in the direction which
it is pointed. Diode 63 enables the battery 21 to drive the main
circuit when the mains adapter 61 is not charging or plugged into
the apparatus. Diode 63 also protects the battery from being
improperly charged when adapter 61 is plugged in and opening the
circuit.
[0028] The seventh embodiment 70 shown in FIG. 7 includes the
majority of the components used in the first six embodiments,
namely a rechargeable battery 21, a crystal oscillator 12, a
buffer chip 13, an antenna 14, a switch 23, an LED 24, an LED 35,
a mains adapter 61, 3 diodes 63, 63(a) and a diode 64. Diode 63(a)
only allows LED 35 to illuminate when the mains adapter 61 is
plugged into the apparatus.
[0029] The eighth embodiment 80 shown in FIG. 8 is similar to the
seventh embodiment 70 except that it has an output modified by
filter circuit 85 to reduce secondary and tertiary harmonics so as
to reduce interference with other wavelengths and keep the output
frequency to a constant value which in the eighth embodiment in
the range 27.225 MHz to 27.255 MHz. The filter circuit 85 includes
three capacitors 86 and three impedances 87.
[0030] The ninth embodiment 90 shown in FIG. 9 is also similar to
the seventh embodiment 70 except that it has a generator 95 for
generating a DC supply from the flow of water which is used to
recharge battery 21.
[0031] In relation to all of the above embodiments, the antenna 14
is an elongate wire which in the particular embodiments used us
0.889 m in length which approximates to {fraction (1/16)} of the
particular wavelength of the RF signal generated by the crystal
oscillator 12. In a modification (not shown) the antenna has a
brass ball on the end of it with a cover.
[0032] The apparatus according to the invention has numerous
applications; it can be used to treat water used to irrigate
plants and flowers. The antenna can extend along the inside of a
hosepipe used to supply water to the plants. It can be
demonstrated that it enhances plant growth by achieving higher
yields of fruit, vegetables, plants, flowers, shrubs, trees and
other plant life. The apparatus can also be used to treat water
used in domestic applications, it helps prevent or eliminate
scaling in kettles, coffee making machines, taps, faucets and
showerheads.
[0033] It will of course be understand that the invention is not
limited to the specific details described herein, which are given
by way of example only and that various modifications and
alterations may be made without departing from the scope of the
invention as defined in the appended claims.