rexresearch.com


Albert Roy DAVIS / Walter RAWLS
Biomagnetism



http://www.scribd.com/doc/129217271/Magnetism-and-Its-Effects-on-the-Living-System-a-roy-Davis-and-Walter-C-rawls

Magnetism and Its Effects on the Living System

[ PDF ]



 



Does Magnetic Energy Flow?

by Walter Rawls
©2003 Biomagnetics International, Inc.

It has been said that magnetism is not energy and does not flow. The following is submitted:

Energy is a concept so basic that no terms more fundamental can describe it.

Therefore, especially in science, it has been qualified in more basic units by relating it to mass, velocity, temperature, and so on.

When Newton formulated his laws of motion, he did not mention energy. Thomas Young (1773-1829), about eighty years after Newton, took the term from a Greek word meaning "work" and applied it to what we now call the kinetic energy of a body.

Half a century later, Rankin coined the term 'potential energy'. Both of these terms concern mechanical physics and their relation to thermal energy (HEAT), but it was not realized until Joule (1818-1889) demonstrated that heat produced by the passage of an electric current through a wire was related to the square of the current and that heat was produced by mechanical work.

Lord Kelvin (1824-1907) and Carnot (1796-1832) never accepted that heat was anything other than a fluid, called calorie, possessed by hot bodies.

It was Einstein (1879-1955) who showed that every physical occurrence of whatever kind can be specified completely only if it is known when, as well as where, it occurred.

From Einstein's relativity of energy and mass also grew the idea (with "flow" overwhelmingly accepted at that time), that matter can be rearranged, but not destroyed. Mass at rest is equivalent to an amount of energy; but in motion, the effective mass (and therefore the effective energy) increases according to the velocity of the body in relation to the velocity of light.

For energy to do work and to be useable it must be able to flow to be transferred from one place to another. For example, a heat engine will only function with a useable temperature difference because only then can heat energy flow.

It has followed that units of energy have been thus specified, such as:

Calories, therms, and British Thermal Units (for heat),
Watt-hours (for electrical energy),
Foot-pounds and kilogram-metres for (mechanical energy), and
Gauss-oersteds (for the permanent magnet industry).

Energy is stored in the magnetic field of a permanent magnet because it will move a piece of iron in the vicinity, thus doing work on the iron. We pause here to remind the reader that the foregoing is accepted science. It is not unusual for a part (or parts) of accepted scientific knowledge to be misapplied or not disseminated thoroughly throughout the scientific community.

There are a number of editorials and scientific magazines, as well as comments by noteworthy publicly employed and private scientists, addressed to this difficulty. For example, the eminent scientist and mathematician, Gilbert, in the time of Elizabeth the First of Great Britain, proclaimed that the Earth was like a giant magnet.

Since Gilbert, this has been accepted science (although perhaps not emphasized or used properly for clarifications of energy and flow).

Since the industrial revolution...really since Benjamin Franklin, through Edison, Tesla, and even until the mid-1900's, the thrust has been on electrical energy in private and public use. That was until the advent of atomic energy. If a machine works...if a bomb can explode, then it is accepted. And even now, the scientific community divides between relativity and quantum mechanics in a broader sense of disciplines.

Question!

For energy to do work it must flow, so how can magnetism not flow as science accepts that it does work, and is energy? Still, we find prestigious scientific references that will say magnetism is energy and does not flow. This is a paradox of words (which are actually symbols) and not unusual as we rush ahead rapidly to improve upon and build greater devices. All the while, however, it is all too often done at the very expense of gaining more comprehension of the basics we have accepted on the path to achieving that very growth.

Here is another example of a science principle overlooked in relation to the importance of magnetism versus electricity (our two basic disciplines of useable energy in societies). In the discovery by Faraday in 1851, he realized that it is not just the actual motion of flow of the electrons that are at the center of electricity. Rather, it is the electric and magnetic (force) fields they set up as they move along.

It is well to note that in 1865, when Maxwell published his theories of electromagnetism, both electricity and magnetism were related in an exact mathematical fashion, one equal to the other and interrelated.

The rapid development of the atomic theory, with its discovery that all matter is ultimately composed of (among other particles) electrons, meant that electricity gained the more central prominence in physics. This added to the earlier important discoveries of Hertz (a light wave is merely a traveling electromagnetic wave).

Electrons exist in the atom orbiting around the nucleus. They are held there by the electromagnetic attraction existing between the negative charge carried by the electron and the positive charge of the nucleus. It is the same as the way in which the moon is held in orbit by the gravitational attraction between it and the Earth. The heavier atoms can have as many as ninety electrons swirling around the nucleus moving from one orbit to another giving us a source of energy for light, x-rays, etc.

It is the behavior of the electron clouds of the different atoms and the way the clouds link together that gives us the chemical properties of all matter.

The electron can behave like a particle or a wave (cables of spinning circular energy in frequency waves and particles, i.e. Davis and Rawls). The most important charged particle, the electron, carries a negative charge. Davis and Rawls, when pressed to state a preference between the negative and positive separate and distinct magnetic energies, will say the negative magnetic energy is more desirable for applications and effects, although a balance between the two energies is essential.

One of the themes of Davis and Rawls' book, The Magnetic Blueprint of Life, stresses the importance of negative energy in a number of scientific areas characterized in line with accepted physics, in the form of spin in the Nature of this energy. It is interesting to note here that the word "electron" also comes from the Greek word, and was first applied to magnetism, not electricity. It is, of course, still applied to magnetism, and becomes more important with the applications and effects seen by Davis and Rawls.

Davis and Rawls' discoveries have their roots in accepted science. To understand the basics as presented, it is neccessary to understand that by the scientific principle of application and effect, magnetism is as important (if not more so) as electricity.

Considering electromagnetic dictums, this is the principle. But the application and effect of magnetism has not been, in practice, equal to the use of electricity. It is believed that clarification of magnetism, at least in the discovery of the two separate and distinct energies fitting into definite scientific principles of cause and effect, will change this appreciation of magnetism's importance one day.

What does the scientific community say about magnetic flux in regard to flow? There are two general camps of belief:

1. That it flows, and

2. That it does not flow.

The only right or wrong belief about its flow is to be judged on whether the concept is useful to a particular individual. For example, it is more profitable to think of flux as merely being set up because it represents stored energy. In this case, it thusly does not flow and does not have a continuous loss of power as in the case when electric current flows in a wire.

For others, the analogue is more profitable if flux is considered to be a more precise analogue of electric current, so that a magnetic circuit can be given the properties appropriate to inductance and capacitance in an electric current.

Electricity flowing is an analogue as is magnetism flowing, depending on the use, application and effect. Prestigious scientific references are in conflict as Van Nostrand's will say no flow and the International Edition of the Science and Invention Encyclopedia will say otherwise. The analogue explanation seems more plausible for the scientific community's present position.

Here, we note the accepted practice of using a "keeper" for a magnet. Flow is considered magnetic flux from one pole to another. Each part of a magnet is a domain, a self-contained energy source, except for the Bloch wall (the center dividing portion), which cannot be measured with available instrumentation.

Magnetism will flow from pole to pole and over a period of time there is a loss of magnetism from the pole ends into infinity. Eventually, you would have a dead magnet (which could be recharged). A "keeper" is used to slow down and prevent this loss of energy flowing into infinity.

Magnetic domains are negative and positive, not just as symbols for identification, but in accordance with physics and natural laws of energy spin in relation to the distance of a magnet's poles to its center. The flow of energy is in cables of spinning circular energy, initially, from south to north. However, the constant flow is in both directions.

This is a synopsis, not a detailed explanation needing many pages, experiments, etc. Also, we are not going into radiation and wave frequency herein. However, we will say that the only thing that distinguishes one kind of radiation from another is its wavelength (or frequency) and that the study of electromagnetism is basic to the whole of science. After all, the Earth receives most of its energy from the sun by electromagnetic radiation.

In conclusion, we say that the already accepted basics of science - before Davis and Rawls - did accept magnetism as energy that flows, although not in unanimity among the scientific community. Davis and Rawls' applications and effects give more importance to these basics.

Davis and Rawls consider themselves their own worst critics, but nonetheless have to ask: If our diagnostic system, patented on the separate energies, works 100% of the time on the animal and human body - and the explanation of this working is not correct - then can someone come forth with a scientific explanation of why it works other than the way Davis and Rawls explain?

So far no one has. And we do not believe they can.

References

International Edition of Science and Inventions Encyclopedia, a large volume set, H.S. Stattmart and Company, Inc., New York (1977).

Asimov's Biographical Encyclopedia of Science and Technology, Doubleday (1982).

Van Nostrand's Scientific Encyclopedia, Fifth Edition, Van Nostrand Reinhold Co. (1976).

Basic Science Encyclopedia, Chartwell Books, Inc., Great Britain (1977).

Davis and Rawls, The Magnetic Blueprint of Life, Exposition Press, New York (1979).



http://www.keelynet.com
February 18, 1994

BIOMAG2.ASC

The following is a very basic introduction to the incredible  researches of Albert Roy Davis and Walter Rawls.  Davis is no longer living, but Rawls currently lives in Florida around Jacksonville.

 We highly recommend the purchase  of  the  following books detailing the researches of these two brilliant investigators.

"Magnetism and its Effects on the Living System" -- Explains for the first time how magnetism affects your life and the life of all living systems around you. The result of years of investigation into the laws  of  magnetism,  it  explains the discovery that a magnet has not one effect on the  living syste but TWO  EFFECTS,  each  supplied  by  the  two  forms of energy transmitted from each pole.  You  or  any other qualified person can reproduce the projects in this book.  (Illustrated)

"The Magnetic Effect" -- In this  book,  Davis and Rawls present and discuss  biomagnetic experiments and  research that have been successfully duplicated by members of the orthodox scientific  community.   The  author reveal the   factual,  natural  basis  of  applied   biomagnetic energies and  add  greatly  to the understanding of this new and exciting field.  The computer-exact and reproducible findings in this work  apply  to  the  treatment   of   such  conditions  as arthritis, cancer, glaucoma, sexual problems, and aging.

"The Magnetic Blueprint of Life" -- Written with forcefulness and precision, this is a comprehensive guide to the effect of magnetism upon the air  we  breathe, the food we  eat,  the  exercise we take.  It is an eloquent plea to the scientific community to reconsider the significance of basic magnetism...."the most important energy in Nature."

BioMagnetics ( Part 1 )
by Jerry W. Decker
with information from "The Magnetic Effect" by Albert Roy Davis and Walter C. Rawls

One of the most important series  of  experiments  ever done and yet still not widely known, were those carried out by Albert  Roy  Davis in conjunction with Walter Rawls.  These experiments are FUNDAMENTAL to an understanding of magnetic forces and are to this day not being used widely because many have never heard of them.

They found that  each pole of a magnet has SPECIFIC effects that are quite different from those of a full  magnet  where  both  poles are applied simultaneously.  These polar effects are deemed "mono-polar" for one pole.   The  poles  spin  in  opposite directions  and  have opposite properties.

Specifically, North Pole   energies   cause  mass  to  contract  and condense, rotating in a CCW direction,  while  South  Pole  energies cause mass to  expand  and dissipate, rotating in  a  CW  direction. Also, North Pole  energies have alkaline properties while South Pole energy is acid.  North pole energies  tend  to  collect fluids while South Pole energies dissipate fluids.  North pole energy is referred to as negative  because  it  reduces or attracts, while  South  pole energy is referred to as positive because it expands and dissipates.

Since magnetic monopole  magnets  are not available at just any Wal-Mart store, they chose to use the  longest  possible bar or cylinder magnets they could  acquire  which  would  allow  for  the  greatest separation of the two opposite energies.

It was found  that  use  of  a North Pole would provide an energetic environment which would cause cancer cells to contract and die out. This energetic environment also has other healthy applications as detailed in their many books.

I had the  pleasure of visiting with Walter Rawls one afternoon at his office in Jacksonville, Florida several years back. We discussed many things including Keely, of which he  had never heard. Mr. Rawls mailing address is

Walter Rawls
ARD Research Lab
PO BOX 655
Green Cove Springs, Florida  32043
(904) 264-8564

Should you wish  to  carry  out your own experiments with magnets as blazed by these pioneers, here are some helpful tips.

CORRECT POLE IDENTIFICATION

First, you need to understand how to correctly identify the polarity of any magnet.  In Davis/Rawls own words:

"The North pole of a magnet seeks  a South pole; likewise, a South  pole seeks a North pole.  The North pole of a magnet  is  NOT the North-SEEKING pole, nor is the South pole the South-SEEKING pole.

In fact, the North-SEEKING pole of a magnet is ACTUALLY the South pole! The South-SEEKING pole of a magnet is the North pole. The rule to remember is OPPOSITES ATTRACT and SIMILARS REPEL.

Test a magnet for correct usage by identifying the separate poles correctly.  Using  a  bar or cylinder magnet, tie a thread around the exact center of the magnet,  with  the  thread having a loose end.

Tie the  loose  end of the thread to any stationary overhang that allows the magnet to turn without  hindrance  in space.  When the magnet stops  turning,  the  end  of the magnet pointing  in  the direction of  the  earth's  North  pole  is the South pole of the magnet.  You may need a simple  compass  to determine the earth's North pole direction.

After you have determined the South pole of the magnet, mark that pole end with red fingernail polish or paint.  Once  you have one magnet properly  identified for North and South poles this magnet can be  used to IDENTIFY the  North  and  South  poles  of  OTHER magnets.  (They  use the color RED to indicate  danger  and  thus avoid it for biological experiments.  The reason being that since it causes  a  swelling of tissue, the fluids flow more freely, it accelerates life and growth.  If  you have a bacteria or disease, it will  also  ACCELERATE  its  growth  and  so   can   be  quite dangerous.)

For example,  if  we  bring  the  South  pole of any magnet up to another magnet's pole, a REPELLING  force  shows that the pole of the unknown magnet is the South pole.  An ATTRACTING  force shows that the unknown pole is the North pole.

You may  wish  to purchase a small inexpensive magnetometer.  The sensitive needle of this instrument moves in one direction or the other depending on the separate  magnetic pole in close vicinity. The law of magnetism is a PRIMARY law of nature: Like forces REPEL - unlike forces ATTRACT.

ESTIMATING FIELD STRENGTH

Magnetic field strength  is measured in units called  gauss.   Since magnets are not sold with this value printed on them and gaussmeters are expensive, you  need  a  way  to determine the approximate field strength.

Magnets are generally  sold by their  LIFTING  power.   That  is,  a horseshoe magnet is offered as having a lifting power,  when  placed against a piece  of  heavy  metal,  of  2  pounds to 25 pounds to 50 pounds, depending on the size, type, or kind of magnet.

As a guide to the approximate gauss  of commercial magnets, consider the following:

A magnet having a lifting power of 2 pounds may  vary from 500 to 600 gauss units; a lifting power of 5 pounds may vary from 900 to 1200 gauss; a lifting power of 25 pounds is usually around 2000 gauss; with 50 pounds lifting power, 3500 to 4500 gauss.

For more precise   measurement,   an   equipment   aid,  such  as  a magnetometer, should be employed.

Care must be taken to properly determine  which  pole  is  North and which is South, based on the above criteria.

When I was visiting with Walter in Florida, he very  kindly  gave me an assortment of  magnets  and books as well as an interesting meter that is used to measure the field strength AND POLARITY of a magnet.

This meter allows  you to quickly and accurately determine what pole is North or  South.   It  also  has   instructions  for  helping  to determine the field  strength.  The meter sells for  $50  and  is  a quick way to VISUALLY determine the polarity of any magnet.

CARE AND HANDLING OF MAGNETS

To prevent breakage  and  loss  of  magnetic power, you should never drop or strike the magnet with a sharp  blow.   Not only can it chip but it can also lose magnetic energy.

Magnets should never be stored in a hot location.  Most magnets lose ALL their power at temperatures from 400 to 500 degrees  Fahrenheit. The loss occurs  at  the CURIE point, where the magnetic domains are no longer aligned and become chaotic.

After using a magnet, you should  place  both  ends  of  the  magnet against a structure of flat metal.  This will allow  the  magnet  to maintain its original  strength.   Such  a  structure  is  called  a "keeper."  Magnets should be kept  away  from each other.  If placed where the poles  of  separate  magnets  repel,  there   could  be  a "bleeding-off" of the energy.  A loss of energy in this manner would be rapid.

WHY YOU SHOULD NOT USE ELECTROMAGNETS

Very effective and  powerful  magnets are made by passing electrical energy through a coil of wire having  a  metal, iron, or steel core. However, there is  a  difference between the magnetism  produced  in this manner and  the  magnetism  from  a  solid  state  bar or metal composition magnet.

Magnetism HAS A  FREQUENCY.   It  also  has  motion.   The  rate  of vibration depends on  the  size,  length, width, and  power  of  the magnet.  Solid state  composition  magnets,  such as metal, iron and steel, are CONSTANT in their rate  of  vibration  DEPENDING on their structure.  An electromagnet,  however,  may  present  a  number  of different types of vibrations.

Any kind of  electromagnet  has  many turns of insulated wire.  Each turn of this wire presents so many lines of magnetism.  Actually, we have discovered that these lines  of  force  are  really  CABLES  of force, as explained  in our earlier publications.   (See  RAWLS1.ASC and RAWLS1.GIF on KeelyNet)

However, a coil  wound  a  certain  number  of turns has a different frequency from a fixed metal or composition  magnet.   As  the  coil heats, the resistance  to  the flow of current INCREASES.   Here  we have a SLOW DROP in magnetic lines, or cables, of force to a RISE IN FORCE, depending upon   the   wire   and  core  materials  used  for construction.  Therefore, the    vibrations    supplied    by    the electromagnet are NOT  AS  CONSTANT  as  those  from  the  metal  or composition magnet.

Our research has  revealed that size, width, and overall length of a magnet GOVERNS FREQUENCY in electrical electron vibrations.  This is a discovery not known by the general  scientific  community, because we have not  published  our scientific materials on  this  research finding.  We are  working  on this discovery in the establishment of provable laws that  we  will  disclose   when  completed.   We  feel confident this future disclosure will open new avenues  that neither we nor the general scientific community could properly comprehend at this time.   (printed in The Magnetic Effect in 1975)

I asked Walter  about  this  frequency  business with magnets and at that time, he would not disclose how  the  measurements were made as it was proprietary  to  their  company, BioMagnetics  International. There are over  36  international  patents  based on the Davis/Rawls discoveries.

Also at the time I spoke with Walter,  he  said they had developed a couch that could DIAGNOSE problem areas in the body with an accuracy of 99%.  It  uses  magnets  to  create a response  in  the  body  to indicate an infected   or   diseased  location.   This  response  is described in the books listed above and has to do with a contraction of tissue when in the presence of a North pole energy.

It is interesting that the Floyd (Sparky)  Sweet  Vacuum Triode uses magnets that are "tuned" to the 60 cps frequency.   This  allows the device to pull  in  space  energy  at  a  frequency that requires no alteration to run off the shelf devices.   We also understand he has "pulled" as much  as  3000 watts of free energy directly  from  this space energy source,  also  called  the ZPE or hyperspace or virtual
flux.  The magnets are put under a tremendous stress by placing like poles against one  another,  then   binding   them   together,  this effectively creates a giant magnet with spatial stress  bubble.  All that is listed on KeelyNet as SWEET1 through SWEET4 and the diagrams are listed as VTAPAK.ZIP.

The device also  appears  to  be  LOCALE  DEPENDENT, meaning that it works better in some areas than others.   To  our  knowledge, no one has yet publicly  admitted  to  successfully duplicating  the  Sweet device.

We are told  Sweet  is  under  a  Secrecy Order by the United States government that forbids his discussing  or  working further with his own discovery.  If he'd only "slip" a copy of the plans out, we'd be very happy to distribute them across the computer  networks  and  to many other researchers who would make it a reality for all.



http://www.magnetage.com

The Revolutionary Discoveries of Davis and Rawls

Albert Roy Davis was the first scientist in the world to discover, in 1936, that magnetism consists of two separate and distinct energies, each having opposite effects on matter.

This revolutionary discovery forever changed the field of magnetic/electromagnetic research. Albert Roy Davis is the founder of the Science of  Biomagnetics (or Biomagnetism) in the United States, a term which means the study of the effects of a magnet's energies on the biological system. Magnetic therapy, as it is commonly referred to today, is one branch of the science called biomagnetism. Never before in recorded history could experiments be reproduced, time and time again, with precise and predictable results. If you are considering magnetic therapy, you must, for your own well-being, have an adequate understanding of the effects of the North and South pole energies. Incorrect use of a biomagnet (magnet specifically designed for magnetic therapy) can have serious undesirable consequences.

Throughout the twentieth century and up to the present, a great deal of research has been done to determine the effects of magnetic fields on living organisms. Researchers had not been able to obtain predictable results. All of the researchers throughout the world, whether the results showed magnetic energies to have an effect or not, were unaware of the fact that the polarity of the magnetic field used in their experiments would have a profound effect on the outcome. They believed, as scientists have for thousands of years, that the North and South poles of magnetism were homogeneous (the same) in their effects. You may know someone who has tried magnetic therapy and said it seemed to be helpful sometimes, but not at other times, or worse yet they may have had no improvement at all. Have you wondered why this has been the experience of many people who have used biomagnets, and as a result no longer do? There are several reasons.

In 1936, Albert Roy Davis discovered that magnetism consists of two separate and distinct energies. The North pole has the opposite effects of the South pole. To this day, most researchers still do not understand this, nor do many companies that sell magnetic therapy products. A biomagnet must be constructed in a way that separates the two poles of the magnet so that the North pole energy is on one side and the         South pole energy is on the opposite side of the magnet. They are often called unipolar magnets, as opposed to bipolar magnets, which have the North and South poles on the same side. Other companies that do sell unipolar biomagnets take some of the original work done by Davis and Rawls, which has been scientifically verified, and then wrongfully alter it. It is not uncommon for some doctors, scientists, and others to take credit for one or more of their discoveries. Using the North pole energy alone is not enough . The material the magnet is constructed of, the size,  and length of time it is used are all important considerations. If biomagnets are not used properly they will not only fail to give you the results you desire, they can be harmful.

We at Biomagnetics USA have been guided by the greatest scientists in magnetic/electromagnetic research in the world, the Albert Roy Davis Research Laboratory. When biomagnets are used correctly, as determined through decades of research by Davis and Rawls, they can offer you benefits that are nothing short of amazing!


The Figure Eight

No other scientists in history have made more fundamental discoveries about magnetism than Albert Roy Davis and Walter C. Rawls, Jr. Many years ago Davis discovered that magnetic energies spin, North pole in a counterclockwise rotation, and the South pole in a clockwise rotation. It is now common to read about the spin or vortex of magnetic energies in scientific literature, but what is never mentioned in these publications is the fact that this was first discovered by Davis. Even scientists and researchers of unorthodox science often fail to give credit to Davis and Rawls for their discoveries, yet many of them are well aware of their work.

Davis also discovered that magnetism flows in and around a magnet in the form of a figure "8". The method developed by Michael Faraday in 1852 to show the "lines of force" (Davis discovered that they are actually cables of force) around a magnet is incorrect. Faraday used a flat piece of paper, placed iron filings on it, and brought a magnet up under the paper to show the lines of force. The truth is that when each particle of steel or iron filing is placed in the field of the magnet, it becomes temporarily magnetized, in effect, becoming a magnet itself. As each particle then attracts and repels, the demonstration presents a mistaken concept.

Albert Roy Davis discovered the figure "8" after developing a special type of electron photography to photograph the magnetic field of a magnet, the same method that was used to take the photo on the right. If you examine this photo you can clearly see the spin of the cables of force. Davis and Rawls also devised a more simplified demonstration to show the lines of force (i.e. cables of force), an experiment that can be performed in any classroom (see photos below). The method requires a large, clear glass container filled with water, some barium ferrite, and a long cylinder or bar magnet attached to a non-magnetic handle. The barium ferrite is put into the water, and the magnet with the handle is used to briskly stir the water to suspend the particles. Next, the stirring ceases and the magnet is held vertically in the center of the container. The particles will then form and reveal  the figure eight of magnetic energies. This demonstration should be in all of the science textbooks that are used to educate students about magnetism... but it is not.

1. Place magnet in container
2. Stir the water so the barium ferrite is suspended
3. Observe the figure eight of magnetic energies



Focused magnetic directional polarities
US5197492


A method is provided for focusing magnetic fields, reducing magnetic fields and shielding animate or inanimate subjects from magnetic fields. Further a media which has been subjected to a shielded or focused magnetic field is applied to a subject, as for example, topically. The method, in part, interposes between the subjects and the source of a magnetic field, at least one second magnetic field disposed in such a manner that the polarity of the second magnetic field cancels or at least partially neutralizes the magnetic strength of the first magnetic field. The second magnetic field can also be disposed so as to permit only a portion of the first magnetic field to escape shielding and thereby focused in a predetermined direction. Devices which normally emit magnetic energy and containing the shielding of the present invention are also provided.

BACKGROUND OF THE INVENTION

(1) Field of the Invention

This invention relates generally to magnetic energies derived from a specific magnetic field. In one aspect, this invention is directed to shielding of human and inanimate subjects from magnetic fields and a method for shielding humans from electromagnetic fields such as those generated by transmission lines, magnetic resonance imaging devices and the like. The invention also is directed to the utilization of such shielding to focus electromagnetic energy and to provide devices equipped with such shielding. Another aspect of the invention is the use of the focused magnetic energies of a particular unidirectional magnetic field.

(2) Description of the Related Art

Recently there has been a rising concern by scientists and an increasing awareness on the part of the public in general, of the potential health hazards of electromagnetic fields. The scientific evidence is increasing daily which indicates that exposure to magnetic fields might conceivable cause adverse health effects in the cells of the human body. A comprehensive background paper was recently issued by the Congressional Office of Technology Assessment which was prepared by a team at Carnegie Mellon University and which indicated that the emerging evidence no longer allows one to categorically assert that there are no risks associated with electromagnetic fields radiated by cables, wires, fixtures and appliances in general.

Although scientists have generally assured the public that there was no danger to health, the uncertainty engendered by often contradictory data causes some degree of concern.

Moreover, while the electromagnetic fields radiated by fixtures and appliances found in the home or workplace may be of a relatively low level, more sophisticated equipment such as transmission lines, large electrical transformers, as well as the more recent magnetic resonance imaging devices, which radiate greater magnetic field strengths, are undoubtedly of greater concern. Magnetism and its effects have been widely discussed in the past and it is evident that magnetic energy does indeed effect the living organism such as humans and agricultural products.

A wide variety of methods have been reported in the literature which are directed to the use of magnetic energy as a diagnostic technique and also for the treatment of diseases in warm blooded animals including humans. For example, magnetic energy has been utilized quite successfully over the past several years to promote the formation of osteoblasts in conjunction with the healing of bone fractures. In many instances markedly improved results in healing times have been achieved by the application of magnetic energy to the site of bone fractures and other injuries.

The search for a biological effect due to magnetic fields has a long history dating back a hundred years. The literature on biomagnetic effects on the growth and development of various organisms has been quite extensive showing both positive and negative findings. Among the positive findings attributed to strong magnetic fields are: altered growth rate, enzyme activities, cellular metabolism, DNA synthesis and animal orientation. While the mutagenic abilities of strong magnetic fields have been controversial, a direct cytotoxic effect on mammalian cells has not been reported. As long ago as 1963, experiments were performed with a 56 kilogauss static field generated in an electromagnet at the Clarendon Laboratory at Oxford: at the time the strongest magnetic field available in the world, which showed no cytotoxicity with mammalian cells cultured in vitro for exposures up to several hours. The recent availability of powerful permanent ceramic magnets prompted the present studies which showed that to produce cytotoxicity the magnetic field needed to be varied.

Previous development of directional magnetic fields began in 1936, when A. R. Davis first discovered that the north and the south magnetic pole fields each exhibited unique properties with respect to their effects on various forms of life. This discovery was slow to be accepted because of investigations by others who confused Davis' directional polarities magnetic fields with those which are simultaneously emitted by horse shoe type magnets and by AC-powered electromagnets. The common belief over the years relating to magnets has been that the two magnetic poles, north and south, are homogeneous and that they emanate the same potential type of energy. This belief has been found to be a misconception, since the two poles of a magnet are totally different in electric potential and effect. Correspondingly, the application of the respective poles to living systems has been found to produce quite different results. More specifically, it has been shown that magnetic energy has an effect on cells such as blood cells, nerves, bacteria, et al.

It is also believed that magnetic energy has an effect on cells such as blood cells, nerve tissue cells and the like. Preliminary investigations regarding biological effects of exposure to magnetic fields have indicated a polarity dependence. Cells are deemed to be bioelectric in nature, function and behavior and studies have indicated that directional magnetic fields enhance biological activity. Moreover, due to the orientation of such cells and of the metal elements and other ions contained therein, the blood cells have been found to decrease certain biological effects when exposed to the north pole and to increase other biological effect when exposed to the magnetic south pole. This same type of reaction has been noted in connection with the other type cells of the body, it having been observed that, as a general matter, the application of north pole energies to an existing unhealthy or abnormal condition tends to have an arresting, quieting or relaxing effect, to induce an overall healing reaction akin to the body's own defense mechanism. On the other hand, the application of south pole energies tends to have a strengthening, activating effect, which has been found useful in treating some abnormal conditions, particularly those associated with a slowing or weakening in function. Cancer cells exposed to the north field show a significant decrease in the number of surviving cells after a period of incubation. Conversely, the same type of cells, when exposed to the south field, indicated an increase in the number of surviving cells compared to the unexposed controls. A more detailed description of magnetic pole energies can be found in Davis et al, Magnetism and its Effects On the Living System, Acres U.S.A., Kansas City Mo. (1974) and Davis et al, The Magnetic Effect, Acres U.S.A., Kansas City Mo. (1975).

Radiotherapy and chemotherapy are important modalities used to treat many types of human cancer. A major virtue of radiotherapy is that radiation beams can be aimed to encompass a target volume including the tumor while avoiding systemic effects. Within the target volume itself, radiation does not distinguish well between normal and malignant tissues and the small differential that does exist requires the exploitation of kinetic differences in a protracted multifraction regimen. On the other hand, some chemotherapy agents show a big differential in cytotoxicity between dividing and non-dividing cells, if not between normal and malignant cells per se, but the concomitant problem is systemic toxicity since the drug cannot be aimed. It would appear that a varying magnetic field may combine the best features of radio- and chemo- therapy; i.e. a big differential in cytotoxicity between dividing and plateau phase cells and the possibility of being aimed at a limited tumor volume,

In U.S. Pat. No. 3,337,776, which issued Aug. 22, 1967, there is disclosed an apparatus for generating magnetic fields which are indicated to be particularly useful for biomedical applications. Although the patentee is not specific as to individual applications, he does state that magnetic fields generated by the apparatus can decrease metabolism values and reacts on the spastic syndrome.

A magnetic probe is disclosed and claimed in U.S. Pat. No. 3,664,327 which issued May 23, 1972 and states that the probe can be employed in relatively inaccessible locations, such as in body cavities of animals to cause relaxation of muscle tissue.

A magnetic medical treatment device is disclosed in U.S. Pat. No. 3,921,620 which states that the effects of a magnetic field upon a living body are due to the fact that the electrolyte within the living body is dissociated by polarization and induced currents and is effective in controlling the sympathetic nervous system.

On May 3, 1977, U.S. Pat. No. 4,020,590 issued to A. R. Davis and discloses an apparatus and method for treating seeds in a unipolar magnetic field. It is indicated in the patent that this treatment enhances the germination rate of the seeds, as well as providing plants having greater sugar content, increased protein and other desirable features.

In U.S. Pat. No. 4,134,935 which issued Jan. 16, 1979 also to A. R. Davis, a method is disclosed and claimed which uses magnetic fields for clinical examination of animals to determine damaged, diseased, abnormal or malfunctioning parts of the body. Changes in tensioning and relaxation of the body extremities are an indication of body abnormalities.

A method for treating cancer is disclosed in U.S. Pat. No. 4,622,952 which issued Nov. 18, 1986 and which involves timing an electromagnetic energy to the resonant energy absorption frequencies of the intracellular structures of the selected cells and then exposing a subject to this tuned electromagnetic energy field. The field can also be tuned to the frequency which has been calculated to be closest to the resonant frequency of the cancer cells and furthest from the normal cells.

U.S. Pat. No. 4,622,953, which issued to the same patentee, disclosed the identical procedure for the treatment of atherosclerotic lesions. In this process, metabolic and activity varying substances such as ferric hydroxide and dextran were employed and by applying the proper resonant energy, the heat in the diseased cell is increased by an increment sufficient to kill the diseased cell but not sufficient to kill normal cells.

In a patent issued to Robert T. Gordon on May 5, 1987, U.S. Pat. No. 4,602,359, a process is described and claimed for the treatment of cancer in a host organism which comprises providing to the host organism minute particles capable of being inductively heated and which are of a size which can be absorbed into cancer cells. Thereafter the organism is subjected to an alternating electromagnetic field to heat the particles at that point in metabolic time when the maximum difference in magnetic susceptibility between the cancer cells and normal cells within the region occurs, and then continuing the inductive heating to increase intracellular temperature to selectively kill the cancer cells.

The north pole, which is defined as the north seeking pole, is now believed to provide a negative form of energy while the south pole, which is defined as the south seeking pole, is believed to provide a positive form of energy. It has also been found upon examination of the electron paths associated with the fields surrounding the respective poles that the south pole end of a magnet provides a right hand spin of electrons, i.e., a clockwise rotation of electron movement, as contrasted with the north pole electron spin, which provide a left hand spin or counterclockwise rotation of its electron field.

It has been further observed that the lines of magnetic energy leave the south pole to re-enter the magnet at the Bloch Wall where the 180 degree phase takes place, and leave the Bloch Wall at that point to go on as the north pole energy to re-enter the magnet at its north pole.

It is therefore evident that magnetic energies do indeed have an effect upon plants and living organisms, and which in some instances may be detrimental.

Surveys of magnetic resonance imaging devices and other types of equipment capable of producing appreciable magnetic fields were performed in order to determine the polarity and intensity of magnetic fields in areas where there are potentials of both occupational exposure and exposure to members of the general public.

Considering the potential significance of the foregoing, exposure to the South field from devices radiating such energy should be as low as is reasonably achievable.

Accordingly, one or more of the following objects will be achieved by the practice of this invention. It is an object of this invention to provide a method for shielding human and inanimate objects from magnetic fields. Another object is to provide a shielding for humans from electromagnetic fields such as those generated by transmission lines, magnetic resonance imaging devices and the like. A further object of the invention is to provide devices equipped with appropriate shielding. These and other objects will readily become apparent to those skilled in the art in the light of the teachings therein set forth.

SUMMARY OF THE INVENTION

In its broad aspect this invention is directed to a method for shielding humans and inanimate subjects from magnetic fields. The method comprises, in part, interposing between the subjects and the source of a magnetic field, at least one second magnetic field disposed in such a manner that the polarity of the second magnetic field cancels or at least partially neutralizes the magnetic strength of the first magnetic field. The second magnetic field can also be disposed so as to permit only a portion of the first magnetic field to escape shielding and thereby focus the magnetic energy in a predetermined direction. Devices which normally emit magnetic energy and containing the shielding of the present invention are also provided.

BRIEF DESCRIPTION OF THE DRAWINGS

The objects of the invention will become more apparent when the specification is read in conjunction with the drawings wherein:

FIG. 1 is a schematic drawing looking down on the top of a mobile trailer housing a magnetic resonance imaging unit;

FIG. 2 is a magnet;

FIG. 3 is a graph of the growth curves for mouse cultures exposed to a varying magnetic field;

FIG. 4 is a graph of the survival date for exponentionally growing and plateau phase cells exposed to the varying magnetic field; and

FIG. 5 is a graph illustrating growth curves for control and parallel cultures exposed to a varying magnetic field.



DETAILED DESCRIPTION OF THE INVENTION

As indicated above, an aspect of the present invention is directed to a method of shielding magnetic energy radiating or emanating from a magnetic source. Using the shielding in accordance with the procedure of this invention can greatly reduce or even eliminate potential danger from a magnetic field, especially energy from any South field.

While it has not been established with certainty, the current views seem to tend towards the possibility that magnetic fields, especially the South magnetic field may adversely effect living organisms. It is with this in mind that the present invention was conceived in order to reduce or eliminate exposure of humans and inanimate objects to unnecessary magnetic energy. While many of the devices used in the home today emit little magnetic energy, there are other devices wherein exposure to their magnetic field may have adverse consequences.

Since there are few, if any, materials which can not be penetrated by magnetic energy, it was found that the best way to reduce or eliminate unwanted magnetic energy was to utilize a separate an opposing magnetic field to counteract the energy of the first magnetic source. Accordingly, it was found that by using one or more magnets of a lesser strength, but located and oriented in a set fashion, the undesirable effect of the first magnetic source could be counteracted.

Since the magnetic field strength weakens in proportion to the distance away from the magnetic source, it was found that a magnet of a relative low strength if properly placed could effectively eliminate unwanted radiation. As noted in Examples 1-5 which follow, a shield of a lesser strength placed at a predetermined distance from the magnetic source, was effective in completely neutralizing the magnetic energy.

It has been found that the second magnetic field which comprises the shield, can be fabricated from a wide variety of materials and in a wide variety of configurations. For example, ferrite particles or powders can be embedded in a variety of plastic or other materials which can then be made into a wide variety of shapes and sizes. When such materials are rendered magnetic, then can serve as excellent shields for use in the method of the present invention. Such materials can be obtained from the Fermag Company of Edison, N.J. in various strengths of their magnetic fields. For example, magnetic shielding can be obtained having magnetic field strengths of from about 1000 to about 1500 gauss and higher. The actual strength need will of course be determined by the strength of the magnetic source and the proximity of the shielding to the source.

As indicated, the shielding can be fabricated in a wide variety of shapes and sizes as well as thicknesses. In many instances, using the shield in the form of sheets will be sufficient and such sheets can be arranged in several layers one behind the other if necessary. In other instances, it may be necessary to have the shield configured into a cylindrical, spherical or other shape in order to provide the optimum shielding of the first magnetic source. Additionally, while the shielding can be a magnetized material, it is also possible to have the shielding be an electromagnet whose power is derived form an electrical source.

Measurement of the field strength of the first magnetic source and of the second magnetic source or shielding, can be done with a gaussmeter such as Model 5-0-5, which can be obtained from the Annis Company of Ind. Also, a magnetometer is available from the Albert Roy Davis Research Laboratory, of Green Cove Springs, Fla. To identify the poles using this device, the side or end of the magnet is brought up to the meter. If the needle moves to the right (+), it is the South pole energy that is being measured. If the needle moves to the left (-) it is the North pole of the magnet.

The distance between the magnetic source and the meter varies with the magnetic strength. For this magnetometer, 1/2 inch is about 150 Gauss; 1 inch, 200 Gauss; 1 and 1/2 inch 300 Gauss, 2 and 1/2 inches 500 Gauss; 5 inches, 1800 Gauss; 9 inches, 3500 Gauss; 12 inches 4500 Gauss; and the like. Although different gaussmeters will have different scales, the data obtained with one meter will be relative to the different field strengths for the particular magnets tested and the distance of the meter from the magnetic source.

In general, it has been observed that the energy radiating from the South pole is the energy which might have adverse effects on humans. Thus, by utilizing a shield in accordance with the teachings of this invention wherein this South pole energy is neutralized, humans can be protected from such adverse effects.

The following examples are illustrative of the present invention.

EXAMPLES 1-5

In order to demonstrate that a source of magnetic energy can be adequately shielded, a magnet having a field strength of approximately 3500 gauss was placed in a flat surface. A magnetic shield in the form of a sheet was placed about six inches from the surface of the magnet which radiated a south (+) field. The magnetic shield employed was obtained from the Fermag Company of Edison, N.J. and was comprised of magnetic ferrite embedded in a pliable substrate material. The shield was in the form of a flat sheet of no great than 0.25 inches in thickness and had a magnetic strength of 1200 gauss. The shield was placed vertically so that its flat surface was parallel to the magnet and yet perpendicular to the magnetic field radiating therefrom. The shield was oriented so that its south (+) field faced the magnet.

The strength of the magnetic field was measured using a gaussmeter (Model 5-0-5, obtained from the Annis Company of Ind. and placed about 9.5 inches from the magnet) about 3.5 inches behind the shield when the shield was in place. The measurements obtained are set forth below in Table I.

TABLE I

Gaussmeter Reading / Example Unshielded / Shielded

1 +4.00 +0.5
2 +4.50 0.0
3 +5.0 0.0
4 +5.0 +0.5
5 +5.0 +1.0

EXAMPLE 6

A survey was made at a large northeast research institution and indicated that fairly high intensities of magnetic fields could be detected in areas adjacent to various devices. This prompted a survey of an operating mobile magnetic resonance imaging unit to determine whether high levels of magnetic energy was being emitted from such unit. An examination of the console regularly occupied by the staff personnel in the room housing the MRI magnets, showed that the intensity levels were substantially higher and areas of both positive (South field) and negative (North field) were measured. This unit was a 0.3 Tesla Hybrid Resistive magnet with magnetic bricks. The field polarity is obviously determined by the configuration of the components.

Substantial levels were measured outside of the trailer 10 housing the unit12 which also was posted with a sign indicating "Magnet Hazard". In the single drawing, there is depicted a schematic top view of the trailer 10, showing the approximate location of the magnet 12, of the MRI unit and the side 14, from which actual measurements of the field strengths were made. Warning sign 16, was on the outer trailer wall at approximately the location of the MRI unit inside. The scale on the side of the drawing is in inches measured away from the side of the trailer.

It is evident from the data obtained that there is substantial magnetic radiation from the side of the MRI mobile unit and which is the less desirable positive type of radiation. Although there is no correlation yet available to connect the intensity of the magnetic field with any detrimental effects on humans, the mere fact that the mobile unit contains the "Magnet Hazard" warning sign on the trailer should be sufficient to encourage using an appropriate shielding. The particular unit for which the measurements were made, was located on a city street where pedestrians would pass through the field depicted in the drawing.

Although the invention has been illustrated by the preceding examples, it is not to be construed as being limited to the materials employed therein, but rather, the invention is directed to the generic area as herein before disclosed. Various modifications and embodiments of the invention can be made without departing from the spirit or scope thereof.

Another set of experiments were conducted wherein mammalian cells growing in culture were exposed to a varying magnetic field having a maximum intensity of 6.8 kilogauss. The cell cultures remained stationary, while two permanent ceramic magnets were rotated at 16 rev/min so that each magnet passed under the cells once during each revolution. Exponentially growing cultures of either A549 human lung carcinoma cells or C,H/lOT-1/2 mouse embryo fibroblasts were exposed to the varying field. By about 3 days, cell growth was arrested, and the fraction of cells surviving was of the order of 10-'. By contrast, no measurable cell killing was observed in confluent cultures of C,H/IOT-I/2 cells showing contact inhibition. The substantial cytotoxicity shown by this varying magnetic field and the striking differential between the level of killing observed in dividing versus plateau phase cells, suggests that this might be useful to treat rapidly growing tumors in a relatively slow growing normal tissue.

The effect of magnetic fields on exponentially growing cells compared with control cultures consists of two components. First, the total number of cells is reduced, implying that cell growth is inhibited. Second, of the cells present, a proportion have lost their clonogenicity and this proportion increases with time of exposure to the field. With the field strength and period of oscillation used, a 72 hour exposure results in 10-fold fewer cells on the treated than on the control flasks, and of these only 1/10 are clonogenic. A further increase in exposure time results in too few viable cells to assay.

The key to producing a cytotoxic effect by means of a magnetic field appears to be a combination of a sufficiently intense magnetic field and a suitable variation of that field applied for a prolonged period. A steady or constant magnetic field of similar, or even higher intensity, does not produce a cytotoxic effect over the time periods studied.

The effect on cytotoxicity of modifying the magnetic field intensity and the rate of change of magnetic field strength is currently under intense investigation; there are evidently several different parameters that can be varied and the relative importance of each is not yet clear.

The instant invention involves only cells cultured in vitro, however, the substantial cytotoxic effect of the varying magnetic field and the fact that it can be manipulated to cover various areas and volumes, and the dramatic differential in cell killing between dividing and plateau phase cells suggests that this may be a useful anti-cancer device that merits further investigation.

C3H IOTI/2 mouse embryo fibroblasts were used. These cells exhibited contact inhibition of growth and anchorage dependence under normal culture conditions. Cells were maintained in Eagle's Basal medium supplemented with 10% heat inactivated fetal bovine serum (Hyclone Laboratories, Logan, Utah) and 25 /ml gentamycin (U.S. Biochemicals, Cleveland, Ohio).

A549 human lung carcinoma cells were maintained in Eagle's Minimun Essential Medium Supplemented with 15% fetal bovine serum, 25 g/ml gentamycin, 1% glutamine and 0.1% sodium pyruvate (Grand Island Biological Supplies, Grand Island, N.Y.).

TESTING

Exponentially growing C3H IOTI/2 and A549 cells were trypsinized and related at I.times.10' cells and 5.times.10" cells respectively per 25 cm' area tissue culture flask (Corning) in 10 ml medium. Forty eight hours after plating, the caps of the flasks were closed tightly and the cultures were Fmt into a water-jacketed incubator fitted with a custom-built motor assembly for varying field magnetic treatment at 37 C. A constant 16 rpm gear-head motor was used and was placed inside the incubator. The shaft of the motor was connected to a lucite platform onto which two sets of ceramic monopolar magnets were positioned 12.5 cm apart. The maximum intensity of the magnets was 6.8 kilogauss. The lucite platform could be adjusted by raising or lowering the shaft of the motor. Culture flasks exposed to the varying fields were placed on an aluminum tray 2 mm above the rotating magnets. The position of the flasks on the holding tray were bounded by the circumference of the revolving magnetic bars. A maximum of 13 T25 cm' area flasks could be treated at any one time. Control flasks were placed on a tray at the bottom of the incubator where the magnetic field as determined by a gauss meter was minimal.

In experiments involving plateau phase cultures of C3H 10T1/2 cells, exponentially growing cells were plated at 5.times.10@5 cells per flask in 10 ml. tissue culture medium four days before initiation of treatment. Bromodeoxyuridine labeling (5.times.10@-6 M) for one cell cycle showed the cells to be in plateau phase with less than 6% cycling.

To determine the growth kinetics of cultured cells treated with the varying fields, duplicate flasks were removed from the incubator together with an equal number of control cultures. The sampling times chosen were 2 hrs. and 6 hrs., after the initiation of treatment, and at daily intervals thereafter for up to 4 to 6 days. The cultures were trypsinized, counted and the total number of cells per flask determined using a Coulter electronic counter.

To determine the surviving fractions of both exponentially and plateau-phase treated cultures of C3H 10%1/2 cells, the cultures were trypsinized, counted and replated into 100 mm diameter tissue culture dishes at a density such that 50-60 viable cells would survive and form colonies. The cultures were incubated for 10-12 days at which time they were fixed with formaldehyde, stained with Giemsa and counted for colony formation.

In FIG. 3 the growth curves for control mouse cultures exposed to a varying magnetic field (maximum value 6 kilogauss) for various periods of time are illustrated. Shown are the total number of cells/dish and the total number of viable cells per dish, i.e. the number capable of forming colonies. Each point represents pooled data from 2 experiments. Bar represents .+-. I.S.D. Data for exponential phase cultures are depicted in the left-hand panel. Control cells incubated in the same incubation as the treated cultures had a doubling time of 18 hours and was comparable to published data for normal C3H IOTI/2 cells. Six hours after the initiation of magnetic treatment, the treated cells already demonstrated signs of growth inhibition. By 72 hours after treatment, the total number of cells per treated flask was roughly 1/10 of that of the control. The number of clonogenically viable cells, based on the plating efficiencies and the surviving fractions also changed with the duration of treatment. By the end of 72 hours, the number of reproductively viable cells was only one-tenth of the cell population. Data for plateau phase cultures of C3H IOTI/2 cells are shown in the right-hand panel. Essentially no difference was observed in the total cell number between the treated vs. control cultures. Although the number of clonogenically viable cells also showed a modest decrease after treatment for 3 days the effect was less dramatic than that for exponentially phase cultures.

FIG. 4 shows the survival data for exponentially growing and plateau phase c,H/lOT-1/2 cells exposed to the varying magnetic field for various periods of time. For each time point examined, cells were removed by trypsinization from replicate flasks from control and treated groups, and aliquots of cells replated into fresh medium to assay for clonogenicity. The fraction of cells forming colonies from treated and control flasks gives the surviving fraction. Each point represents pooled data from 2-3 experiments. Bar represents + S.E. The surviving fractions of either exponential or plateau phase C3H lOTI/2 cells treated with the varying magnetic field for various periods of time are shown. A three (3) day treatment resulted in a 10% survival for actively growing cells whereas contact inhibited cells showed only a 20% killing level.

The growth inhibitory effects of a varying magnetic field on a human tumor cell line are shown in FIG. 5. Growth curves for control S549 and for parallel cultures exposed to a varying magnetic field (maximum value about 6.8 kilogauss for various periods of time are shown. The data points shown correspond to the total number of cells per dish. Each point represents pooled data from 2 experiments. Bar represents + I.S.D. The human lung carcinoma cells have a doubling time similar to that of C3H IOTI/2 cells (-18 to 20 hours). There was a significant difference in total cell numbers between the treated and control cultures at 24 hours after treatment. By 72 hours after treatment, the number of treated cells was roughly 1/IO of that for control.

In another modification of the invention, cells are indirectly subjected to the influence of a particular directional, or unipolar magnetic field, as illustrated in FIG. 2. A media is placed proximate to and preferably directly on a magnet 100, such that is is subjected to the desired field. The magnet is preferably a compound magnet, such that a first portion emits a field A and a field B. A second magnet is positioned proximate to the first magnet, such that the second magnet's magnetic field B is directed in opposition to the first magnet's field B. In this manner, the fields B of the first and second magnet are effectively canceled, as previously described and only the A fields are permitted to emanate to the surrounding regions. This serves to protect user from the detrimental effects of field B, when applicable.

The media is subjected to the desired magnetic field for a period sufficient to have the desired effect on the media. The media subjected to the magnetic field can be a cosmetic cream, lotion or the like. The media is then applied to the user's body for a period of time, such as overnight. The following morning the media is returned to its place proximate the magnetic field for reactivation. It has been found that the activation of the media degrades with time, thus necessitating the reactivation process. Because the source of the magnetic field radiates both desirable and undesirable magnetic fields, the shielding of the undesirable field can be critical to the well-being of the user. The shielding of the undesirable field and the focusing of the desired field are accomplished as heretofore described.



Magnetically modified microbial metabolism
US5709223
US5318045

This invention pertains to a method of modifying the reproduction rate of cells by exposing the cells to north directional unipolar magnetic fields, thereby decreasing the reproduction rate of the cells. The reproduction rate of the cells can also be modified by exposing them to south directional unipolar magnetic fields, thereby increasing the reproduction rate of the cells.

FIELD OF THE INVENTION

This invention relates generally to methods for the modification of microbial metabolism using unipolar magnetic fields. In one aspect, this invention is directed to the modification of microbial metabolism, such as enhancing the microbial activity in the biodegradation of contaminated aqueous waste streams. In a further aspect, the present invention relates to methods for utilizing a unipolar magnetic field under controlled conditions to modify the metabolism of microorganisms.

BACKGROUND OF THE INVENTION

The search for a biological effect due to magnetic fields has a long history dating back a hundred years. The literature on biomagnetic effects on the growth and development of various organisms has been quite extensive showing both positive and negative findings. Among the positive findings attributed to strong magnetic fields are: altered growth rate, enzyme activities, cellular metabolism, DNA synthesis and animal orientation.

A wide variety of methods have been reported in the literature which are directed to the use of magnetic energy as a diagnostic technique and also for the treatment of diseases in warm blooded animals including humans. For example, magnetic energy has been utilized quite successfully over the past several years to promote the formation of osteoblasts in conjunction with the healing of bone fractures. In many instances markedly improved results in healing times have been achieved by the application of magnetic energy to the site of bone fractures and other injuries.

In U.S. Pat. No. 3,337,776, which issued Aug. 22, 1967, there is disclosed an apparatus for generating magnetic fields which are indicated to be particularly useful for biomedical applications. Although the patentee is not specific as to individual applications, he does state that magnetic fields generated by the apparatus can decrease metabolism and reacts on the spastic syndrome.

A magnetic probe is disclosed and claimed in U.S. Pat. No. 3,664,327 which issued May 23, 1972 and states that the probe can be employed in relatively inaccessible locations, such as in body cavities of animals to cause relaxation of muscle tissue.

A magnetic medical treatment device is disclosed in U.S. Pat. No. 3,921,620 which states that the effects of a magnetic field upon a living body is dissociated by polarization and induced currents and is effective in controlling the sympathetic nervous system.

On May 3, 1977, U.S. Pat. No. 4,020,590 issued to A. R. Davis discloses an apparatus and method for treating seeds in a unipolar magnetic field. It is indicated in the patent that this treatment enhances the germination rate of the seeds, as well as providing plants having greater sugar content, increased protein and other desirable features.

In U.S. Pat. No. 4,134,935 which issued Jan. 16, 1979 also to A. R. Davis, a method is disclosed and claimed which uses magnetic fields for clinical examination of animals to determine damaged, diseased, abnormal or malfunctioning parts of the body. Changes in tensioning and relaxation of the body extremities are an indication of body abnormalities.

A method for treating cancer is disclosed in U.S. Pat. No. 4,622,952 which issued Nov. 18, 1986 and which involves timing an electromagnetic energy to the resonant energy absorption frequencies of the intracellular structures of the selected cells. and then exposing a subject to this tuned electromagnetic energy field. The field can also be tuned to the frequency which has been calculated to be closest to the resonant frequency of the cancer cells and furthest from the normal cells.

U.S. Pat. No. 4,622,953, which issued to the same patentee, disclosed the identical procedure for the treatment of atherosclerotic lesions. In this process, metabolic and activity varying substance such as ferric hydroxide and dextran were employed and by applying the proper resonant energy, the heat in the diseased cell is increased by an increment sufficient to kill the diseased cell but not sufficient to kill normal cells.

In a patent issued to Robert T. Gordon on May 5, 1987, U.S. Pat. No. 4,602,359, a process is described and claimed for the treatment of cancer in a host organism which comprises providing to the host organism minute particles capable of being inductively heated and which are of a size which can be absorbed into cancer cells. Thereafter the organism is subjected to an alternating electromagnetic field to heat the particles at that point in metabolic time when the maximum difference in magnetic susceptibility between the cancer cells and normal cells within the region occurs, and then continuing the inductive heating to increase intracellular temperature to selectively kill the cancer cells.

Previous developments of directional magnetic fields began in 1936, when A. R. Davis first discovered that the north and the south magnetic pole fields each exhibited unique properties with respect to their effects on various forms of life. This discovery was slow to be accepted because of investigations by others who confused Davis' directional polarities magnetic fields with those which are simultaneously emitted by horse shoe type magnets and by AC-powered electromagnets. The common belief over the years relating to magnets has been that they emanate the same potential of type of energy. This belief has been found to be a misconception, since the two poles of a magnet are totally different in electric potential and effect. Correspondingly, the application of the respective poles to living systems has been found to produce quite different results. More specifically, it has been shown that magnetic energy has an effect on cells such as blood cells, nerves, bacteria, et al.

Preliminary investigations regarding biological effects of exposure to magnetic fields have indicated a polarity dependence. Cells are deemed to be bioelectric in nature, function and behavior and studies have indicated that directional magnetic fields enhance biological activity. Moreover, due to the orientation of such cells and of the metal elements and other ions contained therein, the blood cells have been found to decrease certain biological effects when exposed to the north pole and to increase other biological effects when exposed to the magnetic south pole. This same type of reaction has been noted in connection with other type cells of the body, it having been observed that, as a general matter, the application of north pole energies to an existing unhealthy or abnormal condition tends to have an arresting, quieting or relaxing effect, to induce an overall healing reaction akin to the body's own defense mechanism. On the other hand, the application of south pole energies tends to have a strengthening, activating effect, which has been found useful in treating some abnormal conditions, particularly those associated with a slowing or weakening in function. Cancer cells exposed to the north field show a significant decrease in the number of surviving cells after a period of incubation. Conversely, the same type of cells, when exposed to the south field, indicated an increase in the number of surviving cells compared to the unexposed controls. A more detailed description of magnetic pole energies can be found in Davis et al, Magnetism and its Effects on the Living System, Acres U.S.A., Kansas City, Mo. (1974) and Davis et al, The Magnetic Effect, Acres U.S.A., Kansas City, Mo. (1975).

The north pole, which is defined as the north seeking pole, is now believed to provide a negative form of energy while the south pole, which is defined as the south seeking pole, is believed to provide a positive form of energy. It has also been found upon examination of the electron paths associated with the fields surrounding the respective poles that the south pole end of a magnet provides a right hand spin of electrons, i.e., a clockwise rotation of electron movement, as contrasted with the north pole electron spin, which provides a left hand spin or counterclockwise rotation of its electron field.

It has been further observed that the lines of magnetic energy leave the south pole to re-enter the magnet at the Bloch Wall where the 180 degrees phase takes place, and leave the Bloch Wall at that point to go on as the north pole energy to re-enter the magnet at its north pole.

Magnetic enhancement or retardation of bacterial or cellular growth rates has been reported in the literature. For example, Davis and Rawls presented numerous examples of enhancement to seeds and various types of cellular growth (Davis, A. R. & Rawls, Jr., W. C., Magnetism and its Effects on the Living System, Acres, U.S.A., Kansas City, Mo., 1974). Bornstein reported magnetic inhibition of bacterial growth in burn wounds (Bornstein, L. A., in Argosy, June, 1968). Investigations sponsored by Bio-Magnetics Systems, Inc. have shown that unidirectional magnetic fields inhibited or increased the growth of cancer cells, depending on the field polarity, as disclosed by A. Trappier et al., in Evolving Perspectives On The Exposure Risks From Magnetic Fields, Journal of Nat. Med. Assoc., 82:621-624, September 1990.

SUMMARY OF THE INVENTION

In its broad aspect, this invention is directed to a method for the modification of microbial metabolism through the use of unipolar magnetic fields. In general, the method comprises exposing microbes to a unipolar magnetic field with gauss concentrations sufficient to effect microbial metabolism.

Bioremediation processes, in which microbes are used to repair ecological damage, are under development at the Environmental Protection Agency and elsewhere to treat a range of contaminants including aromatic solvents, polychlorobiphenyls, trichloroethylene, petroleum hydrocarbons and other organic constituents. The use of unipolar magnetic fields has the potential for enhancing the applicability and cost-effectiveness of bioremediation for the treatment of contaminated groundwater and contaminated soil. Specifically, it has now been found that the application of unipolar magnetic fields enhances microbial activity and will result in increasing the efficiency and rate of bioremediation, and proportionally decreasing the time required to meet cleanup goals. Thus, the unipolar magnetic field technology can save significant remediation costs at those toxic waste sites amenable to biological degradation. In addition, this technology can provide an integrated process for remediation. Such an integrated process can be based upon pump, treat, reinjection and/or direct application of magnetic field to the vadose zone to stimulate in situ biodegradation.

The method of modifying cells by exposing the cells to directional unipolar magnetic fields is also disclosed. The reproduction rate is increased when exposed to a south magnetic field, and decreased when exposed to a north magnetic field. The modification also applies to cells which derive energy for reproduction through fermentation. The modification can be either intracellular or modification is through the cell wall and the modification is retained within the cell.

Accordingly, one or more of the following objects will be achieved by the practice of this invention. It is an object of this invention to amplify or otherwise modify microbial metabolism and thereby enhance a process which employees microbes. These and other objects will readily become apparent to those skilled in the art in the light of the teachings therein set forth.

BRIEF DESCRIPTION OF THE DRAWINGS

The objects of the invention will become more apparent when the specification is read in conjunction with the drawings wherein:

FIG. 1 is a schematic drawing of a toxic waste site showing an integrated approach for utilizing unipolar magnetic fields to modify the microbial activity in a bioremediation process.

FIG. 2 is a drawing of a recirculating flow type biomagnetic reactor.

FIG. 3 is a graph showing the effect of unipolar magnetic fields on the rate of oxygen consumption in a bioreactor system. FIG. 4 is a graph showing the effect of unipolar magnetic fields on the rate of phenol consumption in a bioreactor system.

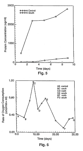
FIG. 5 is a graph showing the effect of unipolar magnetic fields on protein concentration in a bioreactor system.

FIG. 6 is a graph showing the effect of reversing unipolar magnetic fields on the rate of oxygen consumption in a bioreactor system.

FIG. 7 is a graph which shows the effect on rate of biodegradation utilizing of different gauss strengths

FIG. 8 is a graph which shows the effect on protein concentration utilizing different gauss strengths.

FIG. 9 is a graph which shows the effect on rate of O2 consumption utilizing different gauss strengths.

FIG. 10 is a schematic illustration of a process for producing plastic in bacteria by fermenting a carbon source.



DETAILED DESCRIPTION OF THE INVENTION

In its broad aspect, the present invention is directed to the modification of microbial metabolism by the application thereto of unipolar magnetic energy, i.e., the energy, north or south, emanating from a single pole of a magnet, under specific conditions to achieve the modification. The term modification is used herein to indicate an increase or decrease in the rate and/or efficiency of metabolism.

The biochemical processes of assimilation (anabolism) and dissimilation (catabolism) describe metabolism in microorganisms. Assimilation is the process by which organisms synthesize organic compounds from simple organic chemicals, CO2, water, and other components. Dissimilation is the process by which organisms decompose organic compounds to CO2 and water, or partially decompose organics to lower molecular weight organics.

This invention modifies microbial metabolism using directional unipolar magnetic fields. Laboratory experiments have shown that south pole magnetic fields increase the rate of dissimilation in simulated bioremediation processes whereas north pole magnetic fields inhibit the rate of dissimilation (comparing to a control consisting of no magnetic fields).

Magnetically enhanced bioremediation is one area of application of the invention. Bioremediation is a process by which the use of living organisms, in conjunction with or independent from other technologies, is employed to decontaminate a polluted system. In bioremediation, contaminants are destroyed by the action of microbes such as soil bacteria.

FIG. 1 shows a schematic diagram of a toxic waste site showing an integrated approach for utilizing unipolar magnetic fields to modify the microbial activity in a bioremediation process. The unipolar magnetic field can be applied to the microbes before or after their contact with the toxic waste. Magnetically enhanced bioremediation is applicable to organic and inorganic wastes located in solid and aqueous media, including soil, slurries, sludges, and sediments. The process can use water as an intermediary to provide contact between magnetically enhanced bacteria and toxic waste substances. The presence of water in the soil as well as groundwater, itself, is compatible with magnetically enhanced bioremediation.

As shown in FIG. 1 a pretreatment reactor 10 can be provided with a magnet 12. A directional magnetic field is applied to the contaminated stream 14, in the reactor 10, by means of the magnet 12, which subjects the material in the pretreatment reactor to a south pole magnetic field. In the main reactor 18, microbes are added to the contaminated stream. A directional magnet 16 applies a south pole magnetic filed to the combined biomass in the main reactor 18. Optionally, nutrients are fed to the main reactor from a nutrient tank 11, or other source.

The oxidase and treated microbes are reinjected into the ground and is permitted to percolate into the ground. A magnetic blanket consisting of 9 inch wide, 1/4 inch thick strips of pliable magnetic material 20, are laid over at least a portion of the field, thus subjecting the field to a south pole magnetic field.

A major advantage of this invention is that it can be used with existing bioremediation processes without introducing a major process modification or perturbation. The use of this invention could, however, result in the use of smaller, less costly process hardware and shorter operation times.

This invention can also be used to enhance biochemical processes in which microorganisms assist in producing chemicals such as plastics. For example, bacteria will make polymers, such as polyester under the proper conditions, and the use of unipolar magnetic fields will modify the rate and/or efficiency of this process.

Magnetically modified microbial metabolism would provide a basis for application to other governmental and commercial uses of microorganisms. Such uses can include any process where microorganisms such as bacteria are actively involved in a biochemical reaction.

The following examples are illustrative of the present invention.

EXAMPLE 1

A recirculating flow type bioreactor was fabricated from nonmagnetic materials (plastics) and set-up as shown in FIG. 2. Solid state unipolar directional magnetic fields were applied to the reactor which contained 100 grams of alginate-immobilized, activated sludge prepared at the New Jersey Institute of Technology Biotechnology Laboratory, Newark, N.J. The bacterial culture in the sludge was immobilized in alginate matrix and activated by curing in 0.1 molar CaCl2 solution. The magnetic field strength applied was varied. Air was continuously supplied as the source of dissolved oxygen. The oxygen consumption was monitored using a Clark-type dissolved oxygen probe and a strip chart recorder. Phenol was added to a mineral salt medium as the sole carbon source. It was constantly monitored for biodegradation in the experiment by sampling the reservoir and analyzing the samples in a Varian 3300 gas chromatograph. The concentration of secreted aeration in the medium, which continuously circulated between the reservoir and the reactor, was measured daily using the standard Lowery color response test. Each experimental run was 1200 hours (50 days) in length.

Runs performed were:
1. Control: no magnet on the bioreactor.
2. South magnetic pole exposure to the bioreactor.
3. North magnetic pole exposure to the bioreactor.
4. Changing the north magnetic pole exposure to a south magnetic pole exposure and the south magnetic pole exposure to a north magnetic pole exposure in the bioreactor.

Table 1 presents the results of these experiments. When the south pole magnetic energy was applied, biological oxidation rate was increased by a factor of two compared to the control run without magnetic energy present (from 0.656 to 1.545).

TABLE 1

Directional
Directional
Control
South Pole
North Pole

Average rate of oxygen consumption (nmol/min ml)
0.656 1.545 0.365
Average secreted protein
179 2422 not
concentration (ug/ml) detectable
Average rate of phenol
3.09 4.23 0.5
biodegradation (ppm/hr)

FIG. 3 shows the effect of magnetic fields on the rate of oxygen consumption. It can be seen that the rate increased dramatically after 4 days of directional south pole magnetic field exposure as compared to north pole magnetic field exposure or control.

Results obtained from studies under the influence of north pole, south pole and during the control run are tabulated in Table 1. It can be seen that the highest average rate of phenol biodegradation and oxygen consumption is found during the run when south pole is attached to the bioreactor. When the magnetic south pole was applied, it increased the biological oxidation activity (oxygen consumption rate) by a factor of two as compared to the control run without magnetic field (from 0.7 to 1.5). FIG. 3 shows the effect of magnetic field on the rate of O2 consumption. It can be seen that the rate increases dramatically after 4 days under the influence of south pole as compared to the control and north. One of the measures of biodegradation is the increase in activity that is the rate of oxygen consumption by the microbes in presence of a substrate like phenol. An increase in oxygen consumption indicates that it is being utilized by the microorganisms to break down phenol into its metabolic products which ultimately are CO2 and water.

The phenol consumption rate is faster by nearly 30% in case of the run with the south pole as compared to the control run.

FIG. 4 indicates that the phenol concentration goes down rapidly under the influence of south pole comparison to the north pole and the control. These observations are consistent with those from the rate of oxygen consumption monitoring.

Significant amounts of protein build-up in the liquid phase verified that biological activity was enhanced when magnetic south pole was applied to the system as compared to the control as shown in FIG. 5. Microorganisms release enzymes extracellularly which in turn attack the substrate. A higher amount of proteins in the reaction medium is a positive measure of biodegradation. FIG. 5 indicates that the south pole magnetic field greatly enhanced the concentration of protein in this reactor (protein is produced from phenol degradation). In this experiment it was observed that the pH changed from 7.9 to 8.5.

FIG. 6 shows the effect of repeatedly changing the south pole magnetic field to a north pole magnetic field and a north pole magnetic field to a south pole magnetic field in the bioreactor. The south pole field was consistently activating whereas the north pole field was inhibitory.

FIG. 7 and 8 show the effect of magnetic field on the rate of biodegradation and protein concentration under 1500 and 3500 gauss magnetic south pole. The highest rate of biodegradation is 25.6 ppm/h and the highest protein concentration8s 2250 ug/ml after 11 days under 1500 gauss.

FIG. 9 shows the effect of magnetic field on the rate of O2 consumption. It indicates that the highest rate of O2 consumption is 1649 nmol/ml*hr after 10 days under the influence of 1500 gauss magnetic south pole.

TABLE 2

Effects of acclimation on the rate of biodegradation
Rate of biodegradation
Description (ppm/hr)
without magnet and unacclimated
4.25
without magnet after magnetic acclimation
8.96
with magnet (1500 gauss)
25.6
after magnetic acclimation
with magnet (3500 gauss)
14.4
after magnetic acclimation

EXAMPLE 2

The recirculation flow type bioreactor shown in FIG. 2 was used in these studies. For pre-exposure, free microorganisms were exposed to south pole magnetic fields for 3 days prior to use in the bioreactor which contained immobilized activated sludge and phenol. Oxygen, phenol concentration and pH were measured as in Example 1. Each experimental run was 1296 hours (54 days) in length.

Runs performed were:
1. Control: no magnetic on the bioreactor; bacteria not pre-exposed.
2. No magnetic field on the bioreactor; pre-exposed bacteria.
3. South magnetic pole exposure to bioreactor; pre-exposed bacteria.
4. Higher strength south magnetic pole exposure to bioreactor; pre-exposed bacteria.

Table 2 shows the results of these experimental runs. FIGS. 7 and 8 show the effect of magnetic fields on the rates of oxygen consumption which indicates that the 1500 gauss south pole magnetic field yielded the higher oxygen consumption rate of 2500 nmol/ml*hr after 15 hours into the run. FIG. 9 shows that oxygen consumption rates were higher for 1500 gauss south pole magnetic fields when compared to 3500 gauss fields.

TABLE 2

Time Time
1500 gauss
(days) 3500 gauss
(days)

Maximum rate of biodegradation
25.6 ppm/hr
11 14.4 ppm/hr
4
Maximum rate of biodegradation
1649 nmole/
10 962 nmole/
5
oxygen consumption ml*hr ml*hr
Maximum protein
2250 ug/ml
11 465 ug/ml
4
concentration

EXAMPLE 3

A polyester copolymer of hydroxybutric acid and hydroxyvaleric acid (PHBV) is produced by bacteria in a reactor by fermenting a carbon source as shown in FIG. 10. When a bacteria such as Alcaligenes eutrophus is depleted of the nitrogen it requires to multiply, growth is inhibited. The carbon source, such as glucose, can then be added to the fermenter, causing the organism to make granules of polyester with the abundant carbon instead of using it to grow. The conventional process is so slow as to be economically unfeasible. The process is repeated with the exception that a south unipolar magnetic field is applied to the organism during the glucose fermenation step. The rate of fermentation will be substantially enhanced.

The effects of unipole application is further applicable in the field of biology. The application of a south magnetic field speeds up the reproduction of cells, while the north field slows reproduction.

Fermentation, a simple, anaerobic method to generate energy in the cell, is commonly used in yeast products and to produce alcholoic beverages. Carbohydrate molecules breakdown into simpler molecules such as ethyl alcohol, lactic acid, or carbon dioxide, releasing energy in the form of adenosine triphosphate (ATP). An applied south field dramatically speeds up the fermentation process. Chemostats, with their controlled environment, are ideal rapid, mass reproduction of cells, through fermentation, in combination with a unipolar magnetic field.

Further, the magnetic fields influence the growth rate of the aerobically reproduced cells. The application of a south magnetic field increases the production of enzymes without fracturing the cells. The permeability of the cell walls is increased which allows for the influx and efflux of enzymes.

The magnetic fields affect the cells either of two ways. The first is through the cell wall and would include the production and expression of proteins, such as enzymes, insulin and other hormones, interferons and antibiotics. The second is affecting the cells intracellularly and retained the affect within the cell. The appropriate magnetic field is applied for a time period and an intensity which is based on the recepient of the field, the medium and the desired end result. Examples would be many new drugs under evaluation for their effectiveness against cancer and aids.

Although research has been done on the affects of magnetism in both fermentation and other biological processes, they have used bipolar, complex or rotating fields. The instant invention relates to the consistent use of either a north or south magnetic field to produce a desired result. Thus, the cell reproduction can be decreased or increased dependent on the requirements.



Albert Roy Davis Patents

Apparatus and method for exposing seeds to a magnetic field
US4020590

Apparatus for magnetically treating seeds comprises a magnet for producing a unipolar magnetic field, an enclosed generally cylindrical housing having a closable access opening therein in which said seeds are placed for treatment, drive means associated with the housing for rotating said housing and imparting rolling and tumbling motion to the seeds within the housing, the housing being disposed with respect to the magnet such that the seeds move through the magnetic field as they roll and tumble. By magnetically treating the seeds in a unipolar magnetic field while rolling and tumbling the seeds, the characteristics of plants grown therefrom are favorably altered.

BACKGROUND OF THE INVENTION

1. Field of the Invention

The present invention relates to magneto magnetic energy and, more particularly, to a method and apparatus for the application of such energy to seeds.

2. Description of the Prior Art

It is now generally accepted that when any biological living system lives in a strong magnetic environment, its physical and genetic development is to some extent altered. For example, it has long been known that the rate of seed germination and the rate of plant growth from seeds is affected by magnetism. This phenomenon is discussed in U. J. Pittman, "Biomagnetism--a Mysterious Plant Growth Factor", Canada Agriculture, Summer--1968 edition. In a more recent report, Moustafa, "Effect of Seed Exposure to Magnetic Field on Plant Physical Properties and Yield", ASAE Paper No. 73-316 (June, 1973), concluded that exposing seeds to an electromagnetic field prior to planting appeared to increase the rate of germination and the total plant leaf area, at least under growth chamber conditions.

In an effort to reduce the necessary exposure time for seeds to become adequately treated by magnetism so that the magnetically treated seeds can be commercially used, Amburn disclosed in U.S. Pat. No. 3,675,367 an apparatus for moving seeds through a magnetic field. The Amburn apparatus consists essentially of an elongated tube having an electromagnet mounted thereon intermediate its ends to establish a magnetic flux field within the tube. A conveyor assembly, comprising an auger, conveys the seeds through the tube in such a manner that the seeds roll and tumble while within the magnetic field to expose the seeds in a multiplicity of positions with respect to the magnetic field. Amburn reports that treating seeds in this fashion increased crop yield from the treated seeds as compared with crop yield from the untreated seeds.

The magnetic field to which Amburn exposed his seeds was bipolar in that it had both a north and a south pole applying their respective energies to the seeds. Amburn points out that there were some indications that greater success was achieved in treating the seeds when the north pole was located at the inlet end of the apparatus. However, there was no suggestion or appreciation that one of the poles could or would produce different results from the other of the poles. This is, of course, because Amburn subscribed to the commmon belief extant over the years relating to magnets, which has been that the two magnetic poles, north and south, are homogeneous and that they emanate the same potential type of energy. This belief has now been found to be a misconception--the two poles of a magnet are in fact totally different in electric potential and effect--and the application of the respective poles to living systems has been found to produce quite different results.

The north pole (which is defined as the south-seeking pole) is now believed to provide a negative form of energy while the south pole (which is defined as the north-seeking pole) is believed to provide a positive form of energy. To support this discovery, it has been found that upon examination of the electron paths associated with the fields surrounding the respective poles that the south pole end of a magnet provides a right hand spin of electrons, i.e., a clockwise rotation of electron movement, as contrasted with the north pole electron spin, which presents a left hand spin or counter-clockwise rotation of its electron field. It has further been observed that the lines of magnetic energy leave the south pole to re-enter the magnet at the Bloch Wall where a 180 DEG phase change takes place, then leave the Bloch Wall at that point to then go on as the north pole energy to re-enter the magnet at its north pole. For a more detailed discussion of this phenomena, see Davis et al, Magnetism and its Effects on the Living System and The Magnetic Effect (Exposition Press, Hicksville, N.Y.).

The differing effects of the north and south poles, respectively, on seed germination rate and plant growth height was appreciated in a somewhat different context by Tsukamoto in British Patent Specification No. 1,065,864 wherein a disintegrable permanent magnet for use in the soil is disclosed. Of course, the Tsukamoto teaching does not extend to an apparatus for pretreating the seeds prior to planting or to a method for rotating and tumbling the seeds prior to planting in a unipolar magnetic field.

SUMMARY OF THE INVENTION

It is therefore an object of the present invention to provide a method and apparatus for unipolar treatment of seeds and/or seedlings in a magnetic field prior to planting.

It is another object of the invention to provide a method and apparatus for closely controlling the exposure time of seeds in a unipolar magnetic field.

It is still another object of the invention to provide an apparatus which can accommodate, without damage, all sizes and shapes of seeds and seedlings while rolling and tumbling them in a unipolar magnetic field.

It is yet another object of this invention to provide an apparatus for simultaneously exposing seeds or seedlings in contact with a liquid or gaseous medium to a unipolar magnetic field.

Other objects and advantages will become apparent from the following description and appended claims.

Briefly stated, in accordance with the aforesaid objects, the present invention provides a housing adapted for receiving and containing seeds or seedlings which housing includes drive means for causing movement of the housing, e.g., rotating the housing about an axis, to cause the seeds and seedlings to roll and tumble therein. One pole of a magnet produces a magnetic field through which said housing rotates such that the seeds and seedlings therein are more or less continuously exposed to the unipolar magnetic field. Timer means may be operatively associated with the drive means in order to closely control the exposure time of the seeds and seedlings to the field, which exposure time has been found to be critical for achieving optimum improved results. The housing has communicating therewith inlet and outlet ports for receiving and discharging gaseous or liquid materials therethrough and which provides the capability of magnetically treating the seeds together with said fluid materials for reasons which will become more fully apparent hereinafter.

BRIEF DESCRIPTION OF THE DRAWINGS

The invention will be better understood in all its embodiments from a consideration of the following description taken together with the accompanying drawings, in which:

FIG. 1 is an elevational view of an exemplary cylindrical seed containing housing, drive means therefor and unipolar magnetic field producing means of the present invention.

FIG. 2 is an elevational view of another embodiment of the apparatus of the present invention schematically showing liquid and gas ports communicating with the interior of the housing and timer means operatively associated with the drive means.



DETAILED DESCRIPTION OF THE PREFERRED EMBODIMENTS

The present invention is primarily concerned with the use of magneto magnetic energy, i.e., magnetic energy derived from a magnet as opposed to some other source, on seeds and seedlings. By use of the term "seeds" herein, it is intended to encompass any plant material from which further plants may by grown, e.g., seeds, seedlings, bulbs, cuttings, stalks, and the like. One particularly advantageous "seed" are sugar cane stalks (e.g., 5-7 feet long) which, after treatment in accordance with the present invention, may be planted horizontally. It has been found that after planting, shoots appear to grow from the stalk joints. Any type of magnet is suitable for use herein in which the poles are sufficiently separated that the energy of each pole can be isolated from the energy of the other pole. In this way a unipolar magnetic field can be applied to the seeds. Thus, separation of the poles is the prime requisite in selecting an appropriate magnet. Straight bar or cylindrical magnets provide maximum pole separation and are desirable. Either solid state or long-wound electromagnets, however, are equally useful.

A typical apparatus for exposing seeds to a unipolar magnetic field is shown in FIG. 1 generally at 10. The apparatus consists of a magnet 12, a housing 14 which moves through the magnetic field created by magnet 12, and drive means 16 for causing the desired movement of housing 14. In one preferred form of the invention, housing 14 comprises a cylindrical enclosure having opposite generally parallel end walls 18, 20 joined by cylindrical surface 22. However, it will be appreciated that housing 14 need not be cylindrical but can assume any configuration consistent with the herein described objectives of the invention. Moreover, the housing may be of any suitable dimensions to accommodate the seed to be treated. An access opening 24 is formed in the cylindrical surface 22 to permit access to the inside of housing 14. Seeds to be exposed to the magnetic field may be placed into and removed from the housing through opening 24. Removably closing access opening 24 is cover 26 which includes a handle 28 thereon for ease of removing from and replacing over opening 24. The cover may be held in place over access opening 24 by any conventional means.

End walls 18 and 20 include a centrally disposed aperture 29, 30 therein for receiving shaft 32 therethrough. The shaft passes longitudinally through cylindrical housing 14 and is fixedly mounted to the end walls such that rotation of the shaft rotates housing 14 (the axis of which is preferably coaxial with the shaft). One end 34 of shaft 32 includes a pulley wheel 36 on which drive belt 38 is mounted. Belt 38 is driven in the conventional manner through motor assembly 40 which includes motor 42, motor shaft 44 and motor pulley wheel 46. Shaft 32, pulley wheel 36 and motor assembly 40 comprise drive means 16. It will be appreciated that the invention is not limited to the drive means illustrated and may include any suitable drive means for imparting motion to housing 14 such that the seeds therein roll and tumble in the magnetic field, preferably for rotating housing 14 about its axis.

Drive means 16 rotates housing 14 about shaft 32 in either direction to expose the seeds within housing 14 to the unipolar magnetic field created by magnet 12, which magnet preferably extends axially along one side of housing 14. Magnet 12 may be mounted in any manner that will permit the energies of a single pole thereof to be applied to the seed contents of housing 14. As shown, the magnetic field of magnet 12 penetrates the cylindrical surface 22 of housing 14. Alternatively, magnet 12 can be disposed adjacent either or both end walls 18, 20 directing its energy through the end walls of the housing. In still other configurations magnet 12 may be attached to the inner or outer surfaces of housing 14, the only limitation being that the magnet must be so oriented that the contents of housing 14 are exposed to the energies of only one of the magnetic poles. For convenience, in a preferred form of the invention magnet 12 is a substantially flat magnetic material, generally rectangular in configuration, wherein one side 12a thereof constitutes the south pole of the magnet and the opposite side 12b thereof constitutes the north pole of the magnet. An elongated magnet support enclosure 48 having one open end is disposed adjacent one elongated side of the cylindrical surface 22. The flat magnet 12 is slidably received within enclosure 48 with one of its polar sides 12a or 12b directed toward housing 14 to expose the contents of the housing to the energies of that pole. For convenience, magnet 12 may include a knob or handle 13 projecting from one end thereof to provide a gripping portion for sliding the magnet into and out of enclosure 48. If it is desired to change the magnetic pole to which the housing contents are exposed, it is a simple matter to grasp knob 13, slide magnet 12 out of the open end of enclosure 48, flip the magnet over to direct the other pole toward the housing and then reinsert the magnet into the enclosure 48 through the open end thereof. Of course, if magnet 12 is an electromagnet, then the polarity of the magnet can be changed electrically, e.g., by reversing the current flow.

To utilize apparatus 10 for exposing seeds to one of the poles of magnet 12, cover 26 is removed from opening 24, the seeds to be treated are placed within the enclosure, and cover 26 is replaced over the opening. The desired magnetic pole is selected and magnet 12 is oriented so that the proper pole faces the seed housing, after which magnet 12 is placed into the magnet enclosure 48. Motor 42 is actuated and, via motor shaft 42, pulley wheels 46 and 36 and drive belt 38, shaft 32 is rotated, thus rotating the housing 14 thereabout. As the housing rotates, the seeds therein are moved through the magnetic field directed toward housing 14 by magnet 12. The seeds tumble and rotate end over end and side over side through and in the magnetic field such that all portions of the seeds are exposed to the field. The motion of one seed against another or against the inner surfaces of the enclosure, which may optionally be lined with a soft, rubberized material to prevent physical damage to the seeds, has a frictional effect which causes the generation of heat with the result that both the seeds and the air in the housing tend to become warm. This warmth is believed to expand the seeds to a certain extent and to make them more receptive to the influence of the applied magnetic field. Rotation of housing 14 is continued for the desired exposure time interval after which the motor is shut off and rotation ceases. If the magnet used is an electromagnet, through appropriate electrical connection of the current flow control to the magnet and to the motor, a single switch could simultaneously shut both off.

It is important that the parts of the rotating housing, the shafts, pulleys, drive means, magnet enclosure, etc. have very low magnetic retentivity in order that the seeds can remain in the housing without further exposure to a magnetic field after the desired exposure time has expired. Thus, construction materials such as plastic, aluminum, brass or like materials which will not retain magnetism are preferred for use. If a magnet other than an electromagnet is used, it is desirable to either remove it from enclosure 48 upon cessation of rotation or otherwise prevent its magnetic energies from further influencing the seeds. This latter objective can be achieved by interposing a magnetic field impermeable shield (not shown) between magnet 12 and housing 14 to prevent the magnetic field from reaching the seeds. Alternatively, of course, the seeds can be promptly removed from the housing.

Another embodiment of the invention is illustrated in FIG. 2 wherein rotation of housing 14 is achieved by a second form of drive means. Housing 14 is supported on two longitudinally extending shafts 50 and 52 with the outer cylindrical surface 22 of the housing frictionally engaging the shafts. Shaft 50 is journaled for free rotation in support means 54 at opposite ends thereof. Shaft 52 is also journaled for rotation in support means 54. However, shaft 52 is driven by motor assembly 40, which may include motor 42 directly coupled to shaft 52 as shown in FIG. 2. Alternatively, the motor assembly may also include motor pulley wheel 46 acting through a drive belt 38 and a shaft pulley wheel 36 mounted on shaft 52 (as shown in FIG. 1). The rotation of shaft 52 caused by motor assembly 40 is transmitted to and causes frictionally engaged cylindrical housing 14 to also rotate. The rotation of housing 14, which is supported on and frictionally engages shaft 50, causes shaft 50 to rotate also. In this manner, the seeds may be rotated and tumbled and exposed to the unipolar magnetic field created by magnet 12 in much the same manner as with the apparatus of FIG. 1.

During exposure to the unipolar magnetic field the seeds may be treated with or exposed to gaseous or liquid media, such as air, water, liquid fertilizers, and the like. In order that gaseous media can reach the seeds, valve controlled inlet gas port 56 and outlet gas port 58 communicate with the interior of the housing through end walls 18 and 20, respectively. These gas ports are particularly useful for venting the warm air and/or introducing cool air into the housing. Likewise, valve controlled liquid inlet line 60 and discharge liquid line 62 communicate with the interior of the housing through end walls 18 and 20, respectively. Through lines 60 and 62, liquids such as water, liquid fertilizer, and the like can be intimately admixed with the seeds and simultaneously exposed to the unipolar magnetic field. It is believed that exposure of water and other liquids to the same unipolar magnetic field as influences the seeds alters the water sufficiently to beneficially improve its characteristics as a germination initiator.

While the length of exposure time and the strength of the magnetic field to which the seeds or other housing contents are exposed will vary among seed varieties and types and are dependent to a large extent upon the desired characteristics sought in the plants resulting from the exposed seeds, the magnetic field strength is desirably maintained at the seeds in the range 600 to 3500 gauss. Most desirably, magnetic field strength at the seeds should be in the range 600 to 800 gauss. Optimum seed exposure time also varies considerably with seed varieties and types and with other exposure conditions. Nevertheless, it can fairly be stated that seed exposure times should be controlled generally to from 5 seconds to 14 hours, and more usually from 5 seconds to 60 minutes. The extended exposure periods approaching 14 hours are useful only for a few seed types, e.g., tobacco. Too little exposure, of course, will not develop the desired characteristics in the seed. On the other hand, too great an exposure time can adversely affect the characteristics of the exposed seeds. Indeed, it has been found that there is an optimum exposure time for each variety of seed and the usefulness of the apparatus can be enhanced by operating motor 42 via a timer 64 which includes an indicator lamp 68 which lights when the apparatus is operating. The face of timer 64 may include a pointer dial 70 and a plurality of indicia 72 arranged thereabout whereby each indicia represents by number keyed to a chart or by seed name, the appropriate timer setting for each seed type. Where numbers are used as indicia, a typical chart would associate each number with one or more seed types. Thus, for illustrative purposes only, to process corn, dial 70 could be moved to position -10-; cotton and/or watermelon seeds might best be treated at position -8-; and the like. Preferably, the dial 70 is spring-biased to the off position and is clockwise rotatable to point to one of the indicia 72 which indicate a predetermined time exposure for the seeds to be treated. When the dial 70 is other than in the "OFF" position, the electrical circuitry is closed and current flows to the motor which drives housing 14. The timer dial 70 rotates counter-clockwise until it reaches the "OFF" position at which point the electrical circuitry to the motor 42 (and to the magnet 12, if it is an electromagnet) is automatically opened. If desired, in addition to lamp 68, other signals may be used to indicate the end of seed exposure time, such as bells, buzzers, and the like.

As a general matter, as will be more clearly indicated in the following examples, south pole exposure of seeds produces plants having lower acidity, thicker but shallower root structures, larger leaves, greater sugar content, faster germination rate and increased protein content compared to north pole exposed seeds. North pole exposure of seeds produces plants having greater yield, taller plants and longer and deeper roots than south pole exposed plants. As a result, south pole exposed seeds produce plants having generally better individual characteristics in terms of nutritional values and north pole exposed seeds produce plants having larger size and greater yields. However, the foregoing conclusions are merely generalizations, and the particular pole to which a particular seed should be exposed varies on a seed type by seed type basis. Aside from these general trends, there is little consistency in results attained between different seed types under similar exposure conditions although for each seed type the results appear to be consistently reproducible. Thus it cannot be stated categorically that north pole exposure is better or worse than south pole exposure--it depends upon the seed type and the desired results. For example, although south pole exposure may produce a plant having higher protein and sugars content than north pole exposure under ideal growth conditions, since the south pole root structure is shallow, such a plant would do poorly in arid areas. Therefore, it might be desirable to use north pole exposure to obtain deeper root penetration notwithstanding that the protein and sugars content in the resulting plant might not be as good under ideal conditions. Under the arid conditions, north pole protein and sugars content may turn out to be better because the plant will be healthier.

The following examples illustrate how seed exposure in the apparatus of the present invention to north and south pole magnetic fields influences the chemical and physical characteristics of the plants grown therefrom.

EXAMPLE I

Commercial dry corn and food table corn seeds were divided into three groups. The first group was exposed by rotating and tumbling in a magnetic field created by a magnetic north pole for a fixed time period. The second group was similarly exposed for the same time period to the magnetic field created by a magnetic south pole. The third group was rotated and tumbled in the apparatus, but without any magnetic field, for the same time period. The magnetic field strengths for both north and south poles were 600 gauss at the seeds. The treatment time for all groups was 15 minutes. A large number of separate plantings were made for seeds from each group under identical soil and ambient conditions. The seeds developed into plants and the plants were all harvested at the same time. The following Table I tabulates the averaged results for all plantings for each group for the indicated plant characteristic measured by conventional techniques.

TABLE I

Corn Plant Untreated South Pole North Pole
Characteristic
Control Exposed Exposed
Germination time
7 days 4-5 days 6 days
Yield (% of control)
100% 114% 124-131%
Cob
Dextrose 2% 5% 3%
Glucose 2% 4% 3%
Natural sugars
1% 3% 2%
Protein 5% 7% 3%
pH 7 6.9 6.5
Kernels
Dextrose 2% 5% 3%
Glucose 1% 5% 2%
Natural sugars
3% 10% 5%
Protein 3% 10% 5%
pH 6.3 6.5 6.2

The foregoing data are noteworthy for a number of reasons. First, it appears that both north and south pole exposed seeds produced plants having improved quantities of sugars and proteins, although south pole exposed seeds produced plants which were superior in these characteristics. Second, south pole exposed seeds appeared to germinate more rapidly than north pole exposed seeds which, in turn, germinated more rapidly than the controls. Third, north pole exposed seeds produced the greatest yields, followed by south pole exposed seeds and then by the controls. In each case, yield was calculated in ears/acre. Finally, both north and south pole magnetic field exposure seemed to increase acidity in the cob compared to the control. However, in the kernels, south pole exposure decreased acidity although north pole exposure increased acidity.

EXAMPLE II

As in Example I, corn seeds in three groups were exposed to 600 gauss north and south pole fields and to no magnetic field whatever while being rotated and tumbled in the apparatus of the present invention for 15 minutes. The purpose of this example was to demonstrate the effects of exposure on various corn seed varieties.

Nine separate corn seed varieties were exposed to a south pole field and to no field at all and then a number of separate plantings of each seed variety were made. Measurements of stalk lengths in inches were made 30 days after planting. The results for each variety are set forth in Table II.

TABLE II

Stalk Length
Variety Control South Pole Exposed
1. Standard Yellow Table
9.5 11.4
2. Standard White Field
8.75 10.6
3. Bantam Standard
7.77 9.9
4. Bantam White Standard
8.2 10.8
5. Bantam Hybrid Yellow
6.4 9.9
6. Bantam Hybrid White
9.9 11.9
7. Bantam Late Season
10.5 14.6
8. Standard Early Yellow
9.6 12.7
9. Standard Early Field
11.7 15.6

It is apparent that south pole exposure resulted in increased stalk length 30 days after planting. North pole exposure resulted in still greater growth increases relative to the controls, averaging about 35% increased growth as compared with the Table II data which averaged about 31% increased growth.

The stalks were analyzed for protein content. It was found that the protein averaged 14.7% in the controls while south pole exposed seeds yielded plants averaging 22.7% as shown in Table III where the corn varieties are identified by their corresponding numbers from Table II.

TABLE III

Protein Content
Varieties Controls South Pole Exposed
1 17.6% 31.1%
2 14.5% 29.1%
3 16.4% 26.9%
4 12.5% 19.9%
5 18.3% 21.6%
6 12.4% 18.7%
7 14.3% 18.5%
8 11.5% 17.7%
9 14.6% 21.1%

Protein measurements on the whole cob with the kernels intact showed that protein in the controls averaged 27% whereas south pole exposed seeds yielded plants averaging 36.4% protein.

Stalk diameter measurements were also made at harvesting on each of the varieties. The results appear in Table IV.

TABLE IV

Stalk Diameter
Varieties Controls South Pole Exposed
1, 2, 7 1/4 inch 1/2 inch
3, 4, 5, 6 3/8 inch 3/4 inch
8, 9 1/2 inch 7/8 inch

Similar studies made on plants grown from magnetic field exposed soy beans, beans, sugar beets, peas, melons, cucumbers, oats, wheat, rye, barley and twelve other vegetable and grain plants yielded results indicating about 12 to 30% increases in plant growth and characteristics in the plants grown from north or south pole exposed seeds compared with the controls.

EXAMPLE III

Seeds from radish plants were exposed in the apparatus of the present invention to north and south pole magnetic fields of about 1200 gauss for varying time intervals. The seeds were planted in substantially identical adjacent plots and subjected to substantially identical environmental conditions. After 30 days the length of the plant leaves were measured to determine the optimum exposure time for radishes.

TABLE V

Leaf Length
North Pole South Pole
Exposure Time
Length (inches)
Length (inches)
0 (control)
21/4 21/4
5 minutes 31/4 21/4
10 minutes 21/2 21/4
15 minutes 21/2 23/4
25 minutes 21/2 3
45 minutes 21/2 31/4
60 minutes 3 23/4

It is interesting that the optimum exposure time period for north pole exposure of radish seeds as determined from 30 day leaf length is 5 minutes or 60 minutes. For south pole exposed seeds, the optimum exposure time appears to be 45 minutes or 25 minutes.

EXAMPLE IV

The procedure of Example III was practiced on a variety of corn seeds using only the north pole field at 1200 gauss. The stalk height was measured after 30 days. The results are set forth below:

TABLE VI

Stalk Height
North Pole
Exposure Time Stalk Height (in.)
0 (control) 13
5 18
10 15
15 171/2
25 151/2
45 13
60 121/2

The optimum exposure time for this variety corn seed based upon maximizing stalk height appears to be either 5 minutes or 15 minutes.

EXAMPLE V

The procedure of Example III was practiced on another variety of corn seeds using only the south pole field at 600 gauss. The stalk height measurements after 21 days appear below:

TABLE VII

Stalk Height
South Pole
Exposure Time Stalk Height (in.)
0 (control) 93/4
5 minutes 121/4
10 minutes 9
15 minutes 14
30 minutes 123/4
45 minutes 111/4
60 minutes 11

The optimum time for south pole exposure of this variety corn seed based upon maximizing stalk height appears to be 15 minutes.

EXAMPLE VI

The procedure of Example III was practiced on English pea seeds by exposing the seeds to 1200 gauss of a north pole field. Thirty days after planting, plant height was measured and appears below:

TABLE VIII

Plant Height
North Pole
Exposure Time Plant Height (in.)
0 (control) 31/2
5 minutes 31/4
10 minutes 51/2
15 minutes 21/4
25 minutes 4
45 minutes 51/2
60 minutes 31/4

Optimum north pole exposure time for maximizing plant height of this seed variety appears to be 10 or 45 minutes.

EXAMPLE VII

The procedure of Example III was practiced on English pea seeds by exposing the seeds to 1200 gauss of a south pole field. Thirty days after planting, plant height was measured and appears below:

TABLE IX

Plant Height
South Pole
Exposure Time Plant Height (in.)
0 (control) 4
10 minutes 51/2
15 minutes 33/4
25 minutes 43/4
40 minutes 4
60 minutes 41/4

The optimum time of south pole exposure for this variety pea seed based upon maximizing plant height appears to be 10 minutes.

EXAMPLE VIII

The procedure of Example III was practiced on a variety of string bean seeds using only the south pole field at 600 gauss. Plant height measurements were made 19 days after planting with the following results:

TABLE X

Plant Height
South Pole
Exposure Time Plant Height (in.)
0 (control) 5
5 minutes 41/4
10 minutes 41/2
15 minutes 7
30 minutes 6
45 minutes 31/2
60 minutes 6

The optimum south pole exposure time to maximize plant height for these string bean seeds appears to be 15 minutes.

EXAMPLE IX

The procedure of Example VIII was practiced on cantaloupe, watermelon and tomato seeds using only the south pole energies at 600 gauss. Plant height measurements were made 19 days after planting. Tabulated below are the optimum south pole exposure times for each type seed to maximize plant height:

Watermelon 5 minutes
Cantaloupe 10 minutes
Tomato 10 minutes

The foregoing examples indicate that rotating and tumbling plant seeds in the apparatus of the present invention while exposing them to the magnetic field energies of only one magnetic pole improves many of the characteristics of the resulting plant. No supportable explanation for the differing effects of the respective poles and the varying exposure times appears available. However, it is believed that each pole affects each element and organic bond in the plant structure in a different manner and because, by their nature, each seed and plant variety have differing elemental compositions and structures, the magnetic pole exposure effect differs for each plant. However, the common thread in the experimental results appears to be that exposure to a unipolar magnetic field generally improves plant characteristics over similarly treated but unexposed controls and that the exercise of control over exposure time is critical. Moreover, it has been found that unipolar magnetic field exposure in a distinct improvement over bipolar magnetic field exposure.



Method of making non-retentive Al-Ni-Co-Fe alloy
US4003769

A method for converting a high magnetic retentivity, high magnetic conductivity aluminum, nickel, cobalt and iron alloy to a substantially magnetically non-retentive alloy comprises heating the alloy to a temperature in the range 1400 DEG - 1500 DEG F. for about 30 minutes and quenching the heated alloy in a room temperature liquid coolant.