Bibliography
Electric Combustion technologies – effective
means to solve the problems
of power engeneering and ecology”
//”Ecology and Industry of Russia” issue
3/1997
New Electric Combustion
technology for Ecologically Clear
Burning” //”The New Energy Technologies” issue
1/2003, Saint Petersburg.
New Method of Ecologically Pure
Burning of Substances as a
radical Way to resolve the
Global Ecological Problems” –
Collected Reports of the II International
Congress, Russia, Samara, 1997.
New Electric Combustion technology
to Intensify the Burning Processes” Report at International
Scientific and Practical Conference “Ecology of Big Cities”,
Moscow, 1997.
New Electrical Technology of Non Contact Fire Extinguishing
and Fire Prevention” // “New Technologies, issue 9/2002,
Samara.
New Technology of Fire Extinguishing and
Prevention” // “Ecology and Industry of Russia”, December,
2003.
Electric Combustion Utilization of Oilslime” // “ Ecology
and Industry in Russia”, May, 2002
New Effect of Cold Evaporation and Dissociation of Fluids
Based on the Capillary Electroosmotic Effect” // New
Energy technologies”, issue 1/2003, SaintPetersburg.
New methods of Extraction and
Conversion of Latent Potential Energy of Electrical Field
into Kinetic Energy and Electrical Energy” // “New
energy technologies” issue 4/2003.
Phenomenon of Unipolar Transfer of Mass and Charge in the
Impulse Electrical Field and Its Practical Implementation in
power Engineering and
technology” // “New Energy technologies”, July, 2004.
Direct transfer of Energy of magnetic Fields of Permanent
Magnets into Various types of Energy” // New Energy
technologies”, issue 3/2004.
Methods of Conversion of magnetic Energy of Permanent
Magnets and Principles of Work of Magnetic Field Energy
Converters”.// New Energy Technologies”, issue
4/2004.
New Electric Fire Technology; New Energy Technologies
– January 2003.
Patents
METHOD
OF IGNITING AIR-FUEL MIXTURE AND ELECTROSTATIC IGNITION
SYSTEM
RU2579337

SUBSTANCE: group of inventions relates to means of ignition
of fuel-air mixture mainly in internal combustion engines -
ICE. Achieved technical results: higher completeness of fuel
combustion in heat engines, improving its specific
characteristics and reduced emission of hazardous
substances. Solution of above tasks is achieved in method of
ignition of fuel-air mixture containing electric power
supply on ignition plug from electric power source, wherein
power source is represented by static electricity sources.
Solution of above tasks is achieved in radio-frequency
electrostatic ignition system containing radio frequency
generator and ignition plug, having metal housing, installed
inside insulator, inner electrode extending along plug axis
inside insulator, and outer electrode installed
concentrically inside, fact that it contains source of
static electricity and electronic switch, external electrode
is ring with inner cavity and is electrically connected with
metal casing, and inner electrode is connected high-voltage
wire via electronic switch with generator of radio
frequencies, which connected to source of static electricity
with low-voltage wires. EFFECT: higher combustion
efficiency, reduced emission of hazardous substances and
reduced energy costs for ignition.
METHOD
OF INTENSIFICATION OF INTERNAL COMBUSTION ENGINE OPERATION
RU2126094

IELD: electrical equipment of internal combustion engines.
SUBSTANCE: method consists in the fact that fuel and
oxidizer are preliminarily treated in a strong electric
field with E 1 kV/cm, air-fuel mixture fed to the combustion
chamber is ignited, and influenced by strong electric field,
whose intensity and frequency are adjusted, depending on the
piston lift, combustion temperature, degree of toxicity of
exhaust gases. EFFECT: intensified processes of fuel mixture
combustion in internal combustion engine.
METHOD
OF PETROLEUM GASES COMBUSTION AND DEVICE FOR ITS
EMBODIMENT
RU2176050

SUBSTANCE: method includes mixing of petroleum gases with
air and subsequent ignition in flare burner. Gas is burnt in
electric field longitudinal relative to flare with electric
field intensity of 0.5 kV/cm. To prevent breaking of
electric field source through flare, interelectrode distance
of field application is set to exceed flare sizes. Device
for combustion of petroleum gases has supplying gas pipeline
with gate, device for ignition of petroleum gases and flare
burner. It is also provided with combustion chamber and
regulated source of longitudinal electric field with
intensity of at least 0.5 kV/cm and device for application
of longitudinal electric field to flare at a distance
exceeding the flare sizes to prevent breaking of electric
field through flare. EFFECT: higher combustion ratio of
petroleum gases. 19 c
METHOD
OF IGNITING AIR-FUEL MIXTURE AND ELECTROSTATIC IGNITION
SYSTEM
RU2579337

FIELD: engines and pumps.SUBSTANCE: group of inventions
relates to means of ignition of fuel-air mixture mainly in
internal combustion engines - ICE. Achieved technical
results: higher completeness of fuel combustion in heat
engines, improving its specific characteristics and reduced
emission of hazardous substances. Solution of above tasks is
achieved in method of ignition of fuel-air mixture
containing electric power supply on ignition plug from
electric power source, wherein power source is represented
by static electricity sources. Solution of above tasks is
achieved in radio-frequency electrostatic ignition system
containing radio frequency generator and ignition plug,
having metal housing, installed inside insulator, inner
electrode extending along plug axis inside insulator, and
outer electrode installed concentrically inside, fact that
it contains source of static electricity and electronic
switch, external electrode is ring with inner cavity and is
electrically connected with metal casing, and inner
electrode is connected high-voltage wire via electronic
switch with generator of radio frequencies, which connected
to source of static electricity with low-voltage
wires.EFFECT: higher combustion efficiency, reduced emission
of hazardous substances and reduced energy costs for
ignition.
METHOD
OF INTENSIFICATION OF INTERNAL COMBUSTION ENGINE OPERATION
RU2126094

FIELD: electrical equipment of internal combustion engines.
SUBSTANCE: method consists in the fact that fuel and
oxidizer are preliminarily treated in a strong electric
field with E 1 kV/cm, air-fuel mixture fed to the combustion
chamber is ignited, and influenced by strong electric field,
whose intensity and frequency are adjusted, depending on the
piston lift, combustion temperature, degree of toxicity of
exhaust gases. EFFECT: intensified processes of fuel mixture
combustion in internal combustion engine.
METHOD
TO INTENSIFY BURNING OF FLAME TORCH IN FURNACE OF BOILER
INSTALLATION
RU2079786

Abstract not available
METHOD
OF CLEANING EXHAUST GASES OF INTERNAL COMBUSTION ENGINE
SU1404664

Abstract not available
METHOD
FOR DISSOCIATING LIQUID
WO0207874

The invention relates to electrochemistry and can be used
for producing a combustible gas from liquids. The inventive
method consists in evaporating a liquid and processing the
molecules of the evaporated liquid in a high electric field
which has an intensity of not less than 1kW/cm. Evaporation
is performed with the aid of a capillary material immersed
in the liquid which is exposed to the action of the electric
field having an intensity of not less than 1kW/cm. The
evaporation efficiency and the degree of molecule
dissociation is controlled by modifying the parameters of
the electric fields (intensity, frequency, a power). The
power action of the high electric field on the molecules of
the liquid is used twice. Initially, the liquid is
transformed into gas by means of the high electric dc field
and afterwards, the energy of the electric field is used for
dissociating the molecules of the evaporated liquid.
WASTE
GAS CLEANING METHOD
RU2125168
FIELD: mechanical and transport engineering; cleaning of
exhaust gases of vehicles powered by internal combustion
heat engines, waste gases of industrial enterprises such as
incinerator plants, heat power generating plants. SUBSTANCE:
deep after-burning of noncombusted toxic components in
exhaust gases is carried out half of flame for instance, in
flame of combusted gas (propane) of gas burner(s) with
simultaneous application of storage electric field with onto
flame. Then wet cleaning of waste gases is carried out after
electric flame treatment, for instance, by delivering
alkaline aerosols to fix gas dioxides
(SO<SB>2</SB>, NO<SB>2</SB>,
CO<SB>2</SB> and others) to form acid fumes with
simultaneous neutralization of acid fumes by water-alkali
aerosol and utilize free remnants in detachable reservoir.
EFFECT: enhanced cleaning of waste gases.
METHOD
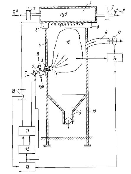
OF INCINERATION OF RUBBISH AND DEVICE FOR REALIZATION OF
THIS METHOD
RU2117870
FIELD: smokeless incineration of wastes and rubbish.
SUBSTANCE: method includes treatment of flame with strong
longitudinal electric field at intensity of no less than 3
kV/cm. Due to increased intensity of flame in strong
electric fields, incineration is intensified and ecological
safety is increased by several times. Device for realization
of proposed method is provided with central electrode which
is adjustable in height and is insulated from housing of
combustion chamber. Electrode has needle rim at the end.
Device is additionally provided with adjustable high-voltage
converter whose output is connected to central electrode;
converter is also connected to waste pan, flame length
sensors, exhaust gas composition sensor connected to input
of high-voltage converter control system and to input of
vertical electrode hoisting device control system through
logic functioning unit. Proposed method provides for use of
biogas obtained from organic portion of wastes and rubbish
as fuel for incineration of inorganic portion of wastes;
energy of compressed air and electric energy for forming
electric longitudinal field are also obtained from thermal
energy of biogas through converting it into compressed air
in diesel-generator-compressor set and electric energy for
supplying the high-voltage source of electric field. EFFECT:
enhanced economical efficiency; simplified construction and
ecological safety.
METHOD
OF CONTROL AND INTENSIFICATION OF FLAME BURNING
RU2125682
FIELD: control and intensification of flame burning.
SUBSTANCE: intensification of flame burning is obtained due
to treatment of flame by strong longitudinal electric field
(2 kV/cm and higher) and revolving strong transverse
electric field, for example, by means of three-phase system
of electrodes and three-phase high-voltage source. Method
also includes measurement of flame height and other
parameters, change in inter-electrode distance of
application of longitudinal field to flame at simultaneous
adjustment of field intensity. Method also provides for
rotation of flame by transverse electric field, thus
enhancing degree of mixing and crushing of fuel-air mixture
and intensifying combustion additionally. Proposed new
procedure of atomizing the fuel into combustion zone by
longitudinal electric field to molecular level intensifies
additionally burning procedure, thus reducing the
consumption of fuel. The proposed method makes it possible
to control geometry of flame, its temperature and heat
conductivity; to effect focusing of flame through change in
its geometry and in electrical parameters of above-mentioned
fields, which is absolutely necessary for heat treatment of
metals and alloys. EFFECT: enhanced controllability and
intensification of combustion at improved ecological
cleanness; increase of intensity of combustion by 40 to 50
percent; reduction of consumption of oxidizer by 30 to 40
percent; reduction of toxicity of waste gases by 30 to 80
percent (by separate components).
METHOD
OF CONTROL AND INTENSIFICATION OF FLAME BURNING
RU95109318
FIELD: control and intensification of flame burning.
SUBSTANCE: intensification of flame burning is obtained due
to treatment of flame by strong longitudinal electric field
(2 kV/cm and higher) and revolving strong transverse
electric field, for example, by means of three-phase system
of electrodes and three-phase high-voltage source. Method
also includes measurement of flame height and other
parameters, change in inter-electrode distance of
application of longitudinal field to flame at simultaneous
adjustment of field intensity. Method also provides for
rotation of flame by transverse electric field, thus
enhancing degree of mixing and crushing of fuel-air mixture
and intensifying combustion additionally. Proposed new
procedure of atomizing the fuel into combustion zone by
longitudinal electric field to molecular level intensifies
additionally burning procedure, thus reducing the
consumption of fuel. The proposed method makes it possible
to control geometry of flame, its temperature and heat
conductivity; to effect focusing of flame through change in
its geometry and in electrical parameters of above-mentioned
fields, which is absolutely necessary for heat treatment of
metals and alloys. EFFECT: enhanced control and
intensification of combustion at improved ecological
cleanness; increase of intensity of combustion by 40 to 50
percent; reduction of consumption of oxidizer by 30 to 40
percent; reduction of toxicity of waste gases by 30 to 80
percent (by separate components).
METHOD
TO REDUCE TOXICITY OF EXHAUST GASES IN INTERNAL COMBUSTION
ENGINE
RU2117179
FIELD: mechanical engineering; engines; processing and
igniting working mixture delivered into engine cylinders.
SUBSTANCE: proposed method of reduction of exhaust gas
toxicity provides intensification of combustion of fuel-air
mixture by introduction of heavy electric field into
combustion chamber. Strength of electric field is set not
lower than 1 kV/cm for entire period of engine operation,
from starting to shutting down, and parameters of electric
field (voltage, frequency, form) are regulated depending on
speed and load and kind of fuel used by criterion of minimum
toxicity of exhaust gases at preservation of engine
performance characteristics. EFFECT: enhanced reliability of
ignition of working mixture and completeness of combustion.
Dudyshev V.D. “Method
of Eternal Orbital Movement around
the Planet” // Requested Patent of RF#2002101749.
Dudyshev V.D. “method of
Controlling Planet’s Climate by Means of Stabilization
of its Magnetic Field” // Requested Patent of RF #2002101750
Dudyshev V.D. “Method of Electrical
Combustion Treatment of Waste Gas” – Patent of RF #2125168.
Dudyshev V.D. “Methods to Intensify Combustion in the
Furnace of a Boiler Plant” – Patenet of RF #2079766 with
priority of 14.06.95 (Electric Combustion Method).
Dudyshev V.D “Method to
Extinguish the Oil Well Fire
and Apparatus to Implement
this” – Patent of RF #2176050.
Dudyshev V.D. “Method of Fire
Extinguishing’ Author’s Certificate Of USSR # 1621234.