
A device consisting of a giant rubber tube
may hold the key to producing affordable electricity from the
energy in sea waves. Invented in the UK, the 'Anaconda' is a
totally innovative wave energy concept. Its ultra-simple design
means it would be cheap to manufacture and maintain, enabling it
to produce clean electricity at lower cost than other types of
wave energy converter. Cost has been a key barrier to deployment
of such converters to date.
Named after the snake of the same name because of its long thin shape, the Anaconda is closed at both ends and filled completely with water. It is designed to be anchored just below the sea's surface, with one end facing the oncoming waves.
A wave hitting the end squeezes it and causes a 'bulge wave'* to form inside the tube. As the bulge wave runs through the tube, the initial sea wave that caused it runs along the outside of the tube at the same speed, squeezing the tube more and more and causing the bulge wave to get bigger and bigger. The bulge wave then turns a turbine fitted at the far end of the device and the power produced is fed to shore via a cable.
Because it is made of rubber, the Anaconda is much lighter than other wave energy devices (which are primarily made of metal) and dispenses with the need for hydraulic rams, hinges and articulated joints. This reduces capital and maintenance costs and scope for breakdowns.
The Anaconda is, however, still at an early stage of development. The concept has only been proven at very small laboratory-scale, so important questions about its potential performance still need to be answered. Funded by the Engineering and Physical Sciences Research Council (EPSRC), and in collaboration with the Anaconda's inventors and with its developer (Checkmate SeaEnergy), engineers at the University of Southampton are now embarking on a programme of larger-scale laboratory experiments and novel mathematical studies designed to do just that.
Using tubes with diameters of 0.25 and 0.5 metres, the experiments will assess the Anaconda's behaviour in regular, irregular and extreme waves. Parameters measured will include internal pressures, changes in tube shape and the forces that mooring cables would be subjected to. As well as providing insights into the device's hydrodynamic behaviour, the data will form the basis of a mathematical model that can estimate exactly how much power a full-scale Anaconda would produce.
When built, each full-scale Anaconda device would be 200 metres long and 7 metres in diameter, and deployed in water depths of between 40 and 100 metres. Initial assessments indicate that the Anaconda would be rated at a power output of 1MW (roughly the electricity consumption of 2000 houses) and might be able to generate power at a cost of 6p per kWh or less. Although around twice as much as the cost of electricity generated from traditional coal-fired power stations, this compares very favourably with generation costs for other leading wave energy concepts.
"The Anaconda could make a valuable contribution to environmental protection by encouraging the use of wave power," says Professor John Chaplin, who is leading the EPSRC-funded project. "A one-third scale model of the Anaconda could be built next year for sea testing and we could see the first full-size device deployed off the UK coast in around five years' time."
The Anaconda was invented by Francis Farley (an experimental physicist) and Rod Rainey (of Atkins Oil and Gas). There may be advantages in making part of the tube inelastic, but this is still under assessment.
Wave-generated electricity is carbon-free and so can help the fight against global warming. Together with tidal energy, it is estimated that wave power could supply up to 20% of the UK's current electricity demand.
The two-year project 'The Hydrodynamics of a Distensible Wave Energy Converter' is receiving EPSRC funding of just over £430,000.
*A bulge wave is a wave of pressure
produced when a fluid oscillates forwards and backwards inside a
tube.
Inventor(s):
MACDONALD FARLEY FRANCIS JAMES; TASMAN RAINEY
RODERICK CHARLES
Classification: - international: F03B-
European: F03B13/14C; F03B13/18F; F04B17/00;
Y02E10/38
Also published as: GB2434840 /
US2009007557 / WO2007088325 / EP1979609 / CA2640583
Abstract -- A generally horizontal
distensible (elastically flexible) tube 1 in the sea containing
water and oriented in the direction of wave travel with
distensibility such that the propagation velocity of pressure
waves inside the tube (referred to as bulge waves) is the same
as the velocity of propagation of the waves in the sea outside.
Energy is then transferred from the ocean waves to the bulge
wave. Energy extraction means at the stem and/or bow deliver
useful energy. Said energy extraction means may comprise pistons
actuating pumps or linear or rotating generators, or may
comprise one-way valves with the effect that water is pumped
into a pressure system or into the distensible tube. In a
preferred embodiment one-way valves at or near the stern admit
water to the tube which flows out at the bow through a water
turbine driving an electric generator. The tube may be suspended
below the surface from floats 4, or may be supported on the sea
bed (figure 2).
The invention relates to an
apparatus for extracting useful energy from the waves of the
sea.
James Lighthill in reference
[1] shows how pressure waves can propagate along a distensible
tube. The pressure causes the tube to dilate locally and this
reduces the velocity of propagation.
The more distensible the tube,
the slower is the wave velocity. It is convenient to refer to
these waves in the tube as "bulge waves". Lighthili applies his
analysis to blood flow in arteries.
This invention, on a much
larger scale, applies the same principle to extract energy from
ocean waves. A long distensible tube full of water is oriented
in the direction of wave propagation and the velocity of the
bulge wave inside the tube is more or less equal to the velocity
of the ocean waves outside. In this case energy is transferred
from the ocean to the bulge wave which grows along the length of
the tube. At the end of the tube a piston or other means is used
to capture the energy of the bulge wave and generate useful
power.
Many prior wave energy
inventions use flexible membranes and/or tubes oriented in the
direction of wave travel, but none appear to rely on the
distensibility of a tube made (or partly made) of an elastic
material, as a means of storing wave energy prior to conversion.
The novelty of this invention is the use of a tube with elastic
walls carrying bulge waves matched to the velocity of the ocean
waves.
Definitions Elastic: A
substance, material or object is elastic if it can be deformed
by an applied force and return to its original shape when the
force is removed. An elastic object obeys Hooke's law that the
strain produced is substantially proportional to the applied
stress. All solid materials are more or less elastic up to some
limiting strain. For example the limiting strain for steel is
about 0.1% while for rubber the limiting strain may be around
50%. By highly elastic we mean a substance, material or object
for which the limiting strain is greater than 5%. The elasticity
of an object depends upon its shape as well as the material from
which it is made. Thus a helical spring made of steel can be
highly elastic in the direction of its principal axis, although
the' steel itself is not.
Distensible: A tube is
distensible if it responds to changes of internal pressure with
a proportional change of its cross-sectional area from its
undisturbed value. Distensible tubes have highly elastic walls,
either because they are made of elastic material or because they
are in some way folded or corrugated. For a tube of
cross-sectional area S with internal pressure p, the
distensibility is defined as D = (uS) dS/dp (1).
It is important for this
invention to distinguish between distensibility and flexibility:
some examples may make this clear. A motor car tyre is flexible
but not distensible: when inflated it is elastic for small
deformations. The inner tube of the motor car tyre is
distensible. An inflatable boat is flexible but not distensible:
its size does not vary with the inflation pressure.
This is because inflatable
boats are made of reinforced elastomeric sheet which is flexible
but not highly elastic.
Bulge wave: As described by
Lighthill in reference [1], in a distensible tube a longitudinal
pressure wave, associated with a change of cross-section and a
longitudinal fluid velocity, can propagate along the tube. This
wave is called a bulge wave. The velocity of propagation of the
bulge wave is c where c2 = 1/(pD), p is the density of the fluid
inside and D the distensibility as defined above in equation
(1).
Bow and stern: For a long
object in the sea oriented generally in the direction of wave
propagation, the end facing into the waves will be referred to
as the bow: the other end facing in the direction of propagation
will be referred to as the stem.
The invention According to this
invention in its first characteristic the wave energy converter
comprises a long distensible tube, generally horizontal,
immersed or partially immersed in the sea and oriented generally
in the direction of wave propagation, said tube being open or
closed at the bow and furnished with energy extraction means at
one or both ends, the distensibility of the tube being chosen so
that the velocity of the bulge wave along the tube is generally
equal to or close to the velocity of the waves in the
surrounding sea.
The tube is filled with water
or other liquid of similar density which may with advantage be
at a pressure higher than that in the surrounding sea.
According to the invention the
cross-section of the distensible tube may be of any shape and
the elasticity of the walls may vary around the circumference,
part of the circumference in some embodiments being
substantially inelastic. Furthermore the shape, size and
elasticity of the cross-section, and consequentially the
distensibility, may with advantage vary along the length of the
tube.
According to the invention in
its second characteristic the walls of said tube may be
comprised of any highly elastic material such as natural or
synthetic rubber with or without fibre reinforcement or a highly
elastic arrangement of less elastic substances such as helical
springs, corrugated metal or a reticulated structure of flexible
membranes inflated with compressed air or other fluid.
According to the invention in
its third characteristic the energy extraction means at the ends
of the tube may compnse any machinery or process which is driven
by the oscillating pressure and oscillating longitudinal
velocity inside the tube, for example without limitation one or
more turbines or pistons operating at any angle to the
horizontal actuated by the water pressure inside said tube and
driving hydraulic pumps or linear or rotating generators, or
overtopping means allowing water inside the tube to be driven
over a weir or through one or more non-return valves into a
reservoir at elevated pressure, a separate non-return valve
allowing water to enter the tube from the sea when the pressure
inside is low, or any combination of the above.
In an alternative embodiment
the energy extraction means comprises a vertical tube containing
water with means for adjusting the height of the water surface
and with a piston moving more or less vertically. In a further
alternative the vertical tube is closed at the top except for a
hole furnished with a float valve which allows air to escape but
not water and is further furnished with a non-return valve
leading to a hydraulic accumulator, with the effect that when
the water inside the tube reaches the top of the tube the float
valve closes and water is driven at high pressure into said
hydraulic accumulator.
According to the invention in
its fourth characteristic the distensible tube may be located on
the sea bed, fixed in position by conventional attachments
according to the art or ballasted with liquid or solid ballast
so as to sink to the sea bed. Alternatively the tube may be
fixed at some distance below the sea surface by attachment to a
supporting frame attached to the sea bed. In another embodiment
the distensible tube may be furnished with buoyancy means the
whole being ballasted to float with said tube partly or wholly
submerged. In this case the tube is held in position with
moorings according to the art.
Some specific embodiments of the
invention will now be described by way of example with reference
to the accompanying drawings in which:
Figure
1 shows in side elevation and in lateral cross-section
a distensible tube furnished with buoyancy chambers floating
close to the water surface;

Figure
2 shows in side elevation a distensible tube ballasted
to rest on the sea floor;
Figure
3 shows a vanety of possible cross-sections of the
distensible tube;

Figure
4 shows the cross-section of a distensible tube with
inflated reticulated walls;

Figure
5 shows in lateral longitudinal section extraction
means comprising a piston moving horizontally and driving a
hydraulic pump;

Figure
6 shows in lateral longitudinal section energy
extraction means comprising a piston moving vertically and
driving a hydraulic pump;
Figure 7 shows in lateral longitudinal section energy
extraction means comprising a hydraulic ram pump driving water
at high pressure into a hydraulic accumulator;

Figure
8 shows in lateral longitudinal section energy
extraction means comprising a transition to a narrow rigid pipe
which carries high pressure water ashore;
Figure
9 shows in lateral longitudinal section energy
extraction means comprising a one-way valve at the stern of the
tube and a turbine at the bow driving an electric generator;

Figure
9 shows in lateral longitudinal section energy
extraction means comprising a one-way valve at the stern of the
tube and a turbine at the bow driving an electric generator;
Figure 10 shows in
lateral longitudinal section an improved one-way valve system
which may be used with the turbine and electric generator
illustrated in Figure 9;
Figure
11 shows in section an energy converter comprising two
distensible vessels connected by a substantially rigid pipe.
Particular embodiments of the
invention will now be described by way of example with reference
to the figures. Figure 1 illustrates by way of example in side
elevation a long distensible tube 1 with rigid bow 2 furnished
with a multiplicity of hollow buoyant chambers 4 with the effect
that the apparatus floats with the tube 1 more or less
horizontal and slightly below the sea surface 3. The device is
held in position by moorings 7 according to the art. The walls
of the tube 1 are highly elastic and made for example of natural
or synthetic rubber as illustrated in the cross-section view AA
in Figure 1. The high
elasticity of the walls has the effect of making the tube 1
distensible, the said elasticity being chosen so that the
velocity of the bulge wave propagating inside the tube is close
to the velocity of the waves in the sea outside.
At the stern and/or bow the
tube is furnished with energy extraction means 5 of which there
are many alternative embodiments which will be described in
detail below.
The operation of the device is
as follows. The oscillating pressure and pressure gradient
outside the Lube wall due to the ocean waves excites a bulge
wave near the bow which propagates along the tube at the bulge
wave velocity. As the bulge wave moves along the tube, the ocean
wave is moving along the tube at the same speed and at each
point contributes a further increase in pressure. The result is
a cumulative more or less linear increase in the amplitude of
the bulge wave, which in effect progressively sucks energy in
from the wave. Depending on its length, the oscillating internal
pressure amplitude at the end of the tube can be 3-5 times the
amplitude of the oscillating pressure in the ocean wave. Useful
energy is then extracted from the oscillating pressure at the
end of the tube, as explained in detail below. In a typical case
the amplitude of the bulge wave at the stern of the tube 1 is
such that the tube must expand and contract by about 50% in
cross-sectional area from its undisturbed value.
In an alternative embodiment,
illustrated in side elevation in Figure 2, the distensible tube 1 is furnished on
its lower surface with a multiplicity of flexible bags 8 filled
with ballast means, for example without limitation sand, gravel
or liquid mud, with the effect that the tube 1 is held firmly on
the sea bed 9. It may be further located by means of moorings 7.
In a preferred embodiment the flexible bags 8 may be joined
together to comprise one long bag with the same effect. This
embodiment is useful in shallow water such that the ocean waves
on the sea surface 3 produce a significant pressure oscillation
at the depth of the distensible tube 1, exciting a bulge wave as
explained above. The tube is furnished at the stern with energy
extraction means 5 of which there are many alternative
embodiments which will be described in detail below. The
operation of the device is similar to that described above.
Figure 3 illustrates in cross-section by way of
example a variety of constructions which may be adopted for the
distensible tube. The cross-section may be of any shape. To
achieve the large changes in cross-sectional area mentioned
above, all or part of the circumference of the tube must be
highly elastic. Figure 3a illustrates an embodiment in which the
walls of the tube 10 are made of natural or synthetic rubber,
the elasticity of the walls being chosen to achieve the correct
distensibility as specified above. The elasticity of the walls
need not be the same at all points of the circumference. Figure 3b illustrates by way
of example an embodiment in which the lower side of the tube is
a substantially inelastic plate 11, while the rest of the
circumference lOis highly elastic. Figure 3c illustrates a construction in which
the sides of the tube 10 are elastic but the top and bottom 11
comprise inelastic plates. In a further alternative, illustrated
in Figure 3d, the top
and bottom 11 of the tube are inelastic but the sides of the
tube 12 are corrugated; in this case the tube can expand and
contract vertically like a conventional metal bellows, and the
distensibility is controlled by the vertical spring constant of
the corrugated walls. Figure
3e illustrates an embodiment in which the whole
circumference of the cross-section is corrugated, the
distensibility being controlled by the circumferential spring
constant of the walls. There can be any number of corrugations.
Figure 3f illustrates an embodiment in which the cross-section
is normally elliptical, but can expand out to a more circular
shape with greater cross-sectional area by the bending of the
walls, which are effectively corrugated as in Figure 3e, but
with only two corrugations.
In a preferred embodiment
illustrated in transverse cross-section in Figure 4a the walls
of the tube compnse a reticulated structure of flexible
membranes, inflated by compressed air or other fluid, according
to the art of inflated structures. Said membranes may be
themselves highly elastic or alternatively fibre-reinforced
elastomenc sheets with limited elasticity. Although the flexible
membranes comprising a structure may be themselves substantially
inelastic, an inflated structure can be highly elastic: well
known examples are a motor car tyre and a football. The
principles are illustrated in Figures 4b and 4c which show part
of an inflated structure comprising a multiplicity of similar
cells joined together in a linear array. When the cells are
inflated with compressed air the upper and lower membranes adopt
the shape that maximizes the volume of the cell; this is
achieved when the upper and lower membranes lie on the circle
circumscribing the corner points 16, 17, 18 and 19. This circle
is shown by dotted lines in Figure 4b. It will be seen that in
Figure 4b the upper and lower membranes become rather flat, with
the result that in this case the structure is not significantly
elastic in the horizontal direction.
In Figure 4c however the
internal vertical membranes are shorter, with the effect that
the upper and lower membranes, which again follow the shape of
the circumscribing circle, are substantially curved. It results
that the structure is highly elastic in the horizontal
direction. The effective modulus of elasticity of the structure
can be varied by changing the pressure inside the cells.
In the embodiment of the
distensible tube illustrated in transverse cross-section in
Figure 4a, the dimensions of the cells are so chosen that the
inner and outer membranes are highly curved with the effect that
the wall of the enclosed hollow tube is highly elastic in the
circumferential direction and the distensibility of the tube is
large. The distensibility of the tube can be varied by changing
the inflation pressure of the wall with the effect that the
velocity of the bulge wave inside the tube can easily be
adjusted from time to time to match the prevailing wave
conditions.
This is a major advantage of
this embodiment for wave energy conversion. In some embodiments
the walls of the distensible tube may be made of a highly
elastic material such as natural or synthetic rubber said walls
further comprising internal spaces which may be inflated with
air or other fluid with the effect that the distensibility of
the tube may be adjusted from time to time.
In all the embodiments
illustrated in Figures 3 and 4, the cross-section of the tube
may be the same at all longitudinal positions along the tube. Or
with advantage the dimensions or the circumferential elasticity
of the cross-section may vary along the tube.
Particular embodiments of the
energy extraction means mounted at the stem of the distensible
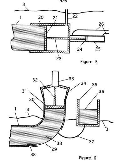
tube will now be described with reference to Figures 5 to 10. In
the embodiment illustrated by way of example in Figure 5 a rigid
cylindrical tube 20 is attached to the distensible tube 1 at its
stern end. The piston 21 slides inside the rigid tube 20 and via
a connecting rod 23 drives a conventional hydraulic pump 25
which delivers hydraulic fluid which may be oil, air or water to
a useful output via the connecting pipes 26. The space behind
the piston 21 is with advantage filled with air and vented to
the atmosphere via tube 22. In operation the bulge wave
propagating along the distensible tube 1 builds up to a large
amplitude as it reaches the stem.
The oscillating pressure in the
bulge wave drives the piston to and fro with the effect that the
said hydraulic fluid is pumped under pressure to a useful
output.
Another embodiment of the
energy extraction means is illustrated by way of example in
Figure 6. In this embodiment the distensible tube 1 is
tenninated at the stern with a bent tube 29 connected to a rigid
cylinder 30 with piston 31 A hydraulic pump 33 is supported for
example on an open framework 34 and connected to the piston by
means of the connecting rod 32. A reservoir 35 contains water 36
and the water level is maintain above the mean level of the sea
by auxiliary pumps (not illustrated). This reservoir is
connected to the energy extraction means by a nan-ow pipe with
the effect that the mean water level in the cylinder 30 is
maintained substantially above the level of the sea but the pipe
is too narrow to pass the bulge wave pressure oscillations to
the reservoir. The piston 31 is buoyant and on average floats on
the water in the cylinder 30. The rising and falling of the
water level in the cylinder 30 under the action of the bulge
wave drives the piston to and fro vertically with the effect
that useful hydraulic energy is generated by the hydraulic pump
33 and passed to a useful output via connecting pipes (not
illustrated) according to the art. In this embodiment, if the
wave energy is very high so that the bulge wave is exceptionally
large, the piston 31 will rise above the end of the cylinder 30
and water will spill out of the cylinder into the surrounding
sea with the effect of relieving the excess pressure in the
system and protecting it from damage. The piston will fall back
into the cylinder and the lost water will be replaced by water
from the reservoir via the pipe 37. If the bulge wave
oscillation is of large amplitude the pressure inside the
distensible tube may fall below the sea water pressure outside
with the effect that the walls of the distensible tube could
collapse inwards. To avoid this, the tube may with advantage be
furnished with a one-way valve 38 which allows sea water to
enter the tube if the pressure inside is lower than outside.
Another embodiment of the
energy extraction means is illustrated by way of example in
Figure 7. In this embodiment the distensible tube 1 is
terminated at the stern by a bend connected to a vertical tube
42. Which is closed at the top close to sea level by a bulkhead
43. Said bulkhead is furnished with a hole 44 fitted with a
float valve 45 with the effect that air can flow freely in and
out of the tube 42 but water cannot escape. The bulkhead is
further furnished with a one-way valve 46 leading to a hydraulic
accumulator 47 which contains water under pressure according to
the art. In this embodiment the water surface 41 inside the
vertical tube 42 is on average more or less the same as in the
sea outside but is driven up and down through a large amplitude
by the bulge wave inside the tube. As the water surface 42 rises
the air above it is vented to the atmosphere via the hole 44;
but when the water reaches the bulkhead the float valve closes
and a high pressure shock is generated. This forces some water
through the one-way valve 46 into the hydraulic accumulator 47
with the effect that energy is captured to the hydraulic
accumulator. From the accumulator sea water under pressure may
be led off through the pipe 48 to do useful work according to
the art. The water thus lost from the tube 42 is replaced from
the sea when the pressure in the bulge wave goes negative via
the one-way valve 38 substantially as described above. The
overall effect of this embodiment is that the bulge waves cause
sea water to be pumped at high pressure to a useful output with
no moving parts (apart from the float valve and one-way valves).
In this embodiment the distensible tube 1 may optionally be open
to the sea at the bow.
Another embodiment of the
energy extraction means is illustrated by way of example in
Figure 8. In this embodiment the distensible tube 1 is connected
to a long rigid output pipe 51 by means of an intermediate
transition and matching section 50. Said transition and matching
Section 50 may comprise several stages (not illustrated) with
changes of cross-section and of distensibility with the effect
that the bulge wave with comparatively small pressure
oscillations and with large longitudinal velocity oscillations
is converted without substantial loss or reflection into a wave
with high pressure oscillations and low velocities, the latter
being more suitable for transmitting energy to shore through a
comparatively narrow pipe.
In the embodiment illustrated
by way of example in longitudinal side elevation in Figure 9 the
distensible tube 1 is furnished at the stern with a partially
distensible end pipe 60 furnished with one or more one-way
valves 61 which allow sea water to enter the pipe but not to
leave.
The tube is further furnished
at the bow with a rigid pipe 62 open to the sea and fitted with
an internal frame 63 which supports an electric generator 65 and
water turbine 64. The operation of the system is as follows. The
pressure inside the distensible tube 1 is generally higher than
the pressure outside. But during the low pressure phase of the
bulge wave arriving at the stern, the pressure in the end pipe
60 is lower than the pressure in the sea with the effect that
water is sucked into said end pipe through the one-way valve or
valves 61. During the high pressure phase of the bulge wave the
one-way valve is closed and water cannot leave the tube. The
result is a net intake of water at the stern which maintains the
high average pressure in the distensible tube 1 and the result
is a more or less uniform flow of water along the tube from
stern to bow.
Said water flows out into the
sea at the bow through the turbine 64 generating electricity
according to the art. A mooring 7 serves to hold the device in
position. With advantage the end pipe 60 may be furnished with
one or more side chambers 66 which may be distensible or rigid
and may contain air. Said side chambers have the effect of
improving the matching of the bulge wave and smoothing the flow
of water to the turbine. In this embodiment the distensible tube
1 may in addition be furnished with a multiplicity of one-way
valves 68 dispersed along the length of the tube with the effect
of allowing more water to enter the tube at these positions and
enhancing the flow through the turbine 64.
Figure 10 shows by way of
example in longitudinal lateral cross-section another embodiment
of the one-way valve system which may be attached to the stern
of the distensible tube or at some position along the length of
the tube and used in combination with a turbine at the bow as
described with reference to Figure 9. The purpose of this
embodiment is to increase the pressure inside the distensible
tube 1 with a view to avoiding any tendency of the tube to
collapse inwards. Referring to Figure 10, in this embodiment the
distensible tube 1 is furnished at its stern with a rigid tube
70 with sliding piston 71 which compresses and expands the
corrugated bellows 73. The high pressure inside the tube 1 is
balanced by the helical spring 74. The space 78 inside the
bellows communicates with the interior of the distensible tube 1
through the one-way valve 72 and with the sea via one-way valve
75, while the space between the bellows and the rigid tube 70
may with advantage be vented to the atmosphere via the tube 76.
In operation the oscillating pressure in the bulge wave inside
the distensible tube 1 drives the piston 71 to and fro. When
moving to the left in Figure 10 it sucks water from the sea via
one-way valve 75 into the space 78. When moving to the right it
drives the water from space 78 through the one-way valve 72 into
the distensible tube 1. In this embodiment the distensible tube
1 is furnished at the bow with a turbine and electric generator
substantially as already illustrated and described in relation
to Figure 9 with the effect that the energy of the waves causes
water to be pumped through the turbine generating useful
electricity. Many other arrangements of pistons may be adopted
according to the art with the effect of pumping water at
elevated pressure into the distensible tube 1. In particular,
there may with advantage be a number of chambers 78, which may
be brought into operation in varying numbers, by locking the
one-way valves. In this way the minimum bulge wave pressure
required to move the piston may be varied, to suit the wave
conditions, and other more complex control strategies adopted.
In an alternative embodiment
similar to Figure 9 but not illustrated, the one-way valve 61 at
the stern may be reversed, allowing water to leave the end pipe
60 but not to enter and a turbine can be located in this stream
of water at the stern. In another alternative instead of passing
through a turbine, the flow of water can be directed into an
elevated reservoir either in the sea or on land with the effect
that water is pumped from the sea to the reservoir. This may be
used for example for flushing out estuaries or supplying fish
farms.
In another embodiment
illustrated by way of example in longitudinal cross-section in
Figure 11 two distensible vessels of any shape 80 containing
water or other fluid are connected by a more or less ngid pipe
81 with the effect that under the action of the waves water
flows to and fro along the pipe between the said vessels. Any
energy extraction means described above may be connected to the
vessels with the effects substantially as already described. In
particular either one or both the vessels may be furnished with
one or more one-way valves 82 or more elaborate one-way valve
systems as illustrated in Figure 10 with the effect that water
is pumped from the sea into the vessels. The vessels may be
further furnished with one or more turbines 83 generating
electric power substantially as already described.
It will be apparent that some
particular features of one of the alternative embodiments
described by way of example above may be combined with
particular features of another embodiment, all within the scope
of the invention.
References [1] James Lighthill,
Waves in Fluids, Cambridge University Press (1978), p. 96 ff
Inventor(s):
FARLEY FRANCIS JAMES MACDONALD
Classification:- international: F03B13/14;
F03B13/00- European: F03B13/14; F03B13/14C;
F03B13/22; Y02E10/38
Abstract -- A wave energy converter makes use
of pressure waves (bulge waves) that travel along a generally
horizontal distensible tube 1 in the sea 7. The tube 1 contains
water under pressure and is oriented in the direction of wave
travel. Its flexibility / expandability is such that the
velocity of pressure waves inside the tube is the same as the
velocity of the waves in the sea. The tube 1 has highly elastic
walls incorporating or surrounded by helical reinforcement
members 2. The velocity of the pressure waves can be tuned to
match the wave velocity by regulating the pressure of the water
inside the tube. Energy is then transferred from the ocean waves
to the bulge wave. Energy extraction means 6 at the end of the
tube 1 delivers useful energy as electricity or high pressure
sea water.
The invention is an apparatus
for extracting useful energy from the waves of the sea, and is
an improved embodiment of the invention described in reference
[IJ.
James Lighthill in reference
(21 shows how pressure waves can propagate along a distensible
tube. The more distensible the tube, the slower is the wave
velocity. It is convenient to refer to these waves in the tube
as "bulge waves". Lighthill applies his analysis to blood flow
in arteries. This invention, on a much larger scale, applies the
same principle to extract energy from ocean waves. A long
distensible tube full of water is oriented in the direction of
wave propagation and the velocity of the bulge wave inside the
tube is more or less equal to the velocity of the ocean waves
outside. In this case energy is transferred from the ocean to
the bulge wave which grows along the length of the tube. At the
end of the tube a piston or other means is used to capture the
energy of the bulge wave and generate useful power.
Many prior wave energy
inventions use flexible membranes andlor tubes oriented in the
direction of wave travel, but none appear to rely on the
distensibility of a tube made (or partly made) of an elastic
material. The novelty of this invention is the use of a tube
with elastic walls carrying bulge waves matched to the velocity
of the ocean waves. By adding helical reinforcement to the
elastic walls the distensibility of the tube can readily be
controlled.
Elastic tubes reinforced by
helical windings are known to enclose a smaller volume when
stretched by an axial force and have therefore been proposed as
pumping means in wave power converters using the vertical
heaving of floating bodies. In contrast according to this
invention the tube is used at maximum volume, no axial force is
applied to the tube which is immersed in the water and responds
to the lateral pressure exerted directly upon it by the waves.
The propagation of bulge waves in an elastic tube with helical
reinforcement and the application to wave power conversion are
both novel concepts.
Definitions Elastic: A
substance, material or object is elastic if it can be deformed
by an applied force and return to its original shape when the
force is removed. An elastic object obeys Hooke's law that the
strain produced is substantially proportional to the applied
stress. All solid materials are more or less elastic up to some
limiting strain. For example the limiting strain for steel is
about 0.1% while for rubber the limiting strain may be around
50%. By highly elastic we mean a substance, material or object
for which the limiting strain is greater than 5%. The elasticity
of an object depends upon its shape as well as the material from
which it is made. Thus a helical spring made of steel can be
highly elastic in the direction of its principal axis, although
the steel itself is not.
Distensible: A tube is
distensible if it responds to changes of internal pressure with
a more or less proportional change of its cross-sectional area
from its undisturbed value. Distensible tubes have highly
elastic walls, either because they are made of elastic material
or because they are in some way folded or corrugated. For a tube
of cross-sectional area S with internal pressure p. the
distensibility is defined as D = (1/5) dS/dp (I).
It is important for this
invention to distinguish between distensibility and flexibility:
some examples may make this clear. A motor car tyre is flexible
but not distensible: when inflated it is elastic for small
deformations. The inner tube of the motor car tyre is
distensible. An inflatable boat is flexible but not distensible:
its size does not vary with the inflation pressure.
This is because inflatable
boats are made of reinforced elastomeric sheet which is flexible
but not highly elastic. A garden hose is flexible but not
distensible. A toy balloon is distensible.
Bulge wave: As described by
Lighthill in reference 12), in a distensible tube a longitudinal
pressure wave, associated with a change of cross-section and a
longitudinal fluid velocity, can propagate along the tube. This
wave is called a bulge wave. The velocity of propagation of the
bulge wave is c where c2 = 1/(pD), p is the density of the fluid
inside and D the distensibility as defined above in equation
(1).
Bow and stern: For a long
object in the sea oriented generally in the direction of wave
propagation, the end facing into the waves will be referred to
as the bow: the other end facing in the direction of propagation
will be referred to as the stern.
Pitch: The pitch of a helix is
the angle between the lines of the helix and the transverse
plane perpendicular to the axis of the helix.
The invention According to this
invention in its first characteristic the wave energy converter
comprises a long distensible tube, generally horizontal,
immersed or partially immersed in the sea and oriented generally
in the direction of wave propagation, said tube being closed and
containing water under pressure and furnished with energy
extraction means at one or both ends, the distensibility of the
tube being adjusted so that the velocity of the bulge wave along
the tube is generally equal to or close to the velocity of the
waves in the surrounding sea. The tube is of circular
cross-section and the diameter may with advantage vary along the
length of the tube.
According to the invention in
its second characteristic the impermeable wall of the tube is
comprised of a highly elastic material such as natural or
synthetic rubber and furnished with a multiplicity of helical
reinforcement means made of any material. Said reinforcement
means may comprise without limitation wires, cables, tapes,
ropes, strings or cords made of substantially inextensible
material such as metal, natural or synthetic fibre or partially
extensible synthetic material such as high modulus polyethylene,
polyester or keviar. Each element of said reinforcement means is
in the form of a helix circumscribing the tube or embedded in
the wall of the tube extending from one end of the tube to the
other and fixed to the tube at each end. With advantage the
helical reinforcement means are parallel to each other and
equally spaced around the circumference of the tube. Said
helices may be right-handed or left-handed or both and of
constant and identical pitch. Right-handed and left-handed
helices may with advantage be woven together to comprise a
reticulate structure or they may be of different diameters so
that one fits inside the other.
According to the invention in
its third characteristic the distensible tube with helical
reinforcement is filled with water connected to pressure means.
Said pressure means ensures that the pressure inside the tube is
maintained and controlled according to the art. It may comprise
for example without limitation a hydraulic accumulator with
elastic walls or a hydraulic accumulator containing air under
pressure or a hydraulic accumulator in which the contained water
is raised vertically or a tube supplying water under pressure
from the shore or from an auxiliary vessel or structure.
The effect of the pressure
inside the tube is twofold. On the one hand it tends to expand
the tube laterally but, because of the helical reinforcement,
this can only occur if the tube contracts axially. On the other
hand the pressure acting on the ends of the tube tends to
lengthen it axially. If the pitch angle of the helical
reinforcement is close to 35 degrees, these two tendencies
cancel each other and the tube is maintained in stable
equilibrium. If this equilibrium is disturbed, for example by
squeezing the tube in one place, a bulge wave will be generated
and will propagate along the tube. The velocity of propagation
of the bulge wave along the tube is proportional to the square
root of the pressure inside. If the velocity of the bulge wave
is equal to the velocity of propagation of the waves in the sea,
then energy is transferred from the sea to the bulge wave and a
bulge wave of large amplitude arrives at the stern.
According to the invention in
its fourth characteristic the energy extraction means at the
ends of the tube may comprise any machinery or process which is
driven by the oscillating pressure and oscillating longitudinal
velocity inside the tube and produces useful hydraulic or
electrical energy, for example without limitation one or more
turbines or pistons operating at any angle to the horizontal
actuated by the water pressure inside said tube and driving
hydraulic pumps or linear or rotating electric generators, or
overtopping means allowing water inside the tube to be driven
over a weir or through one or more non-return valves into a
reservoir at elevated pressure.
In an alternative embodiment
the energy extraction means comprises a vertical tube containing
water closed at the top except for a hole furnished with a float
valve which allows air to escape but not water and is further
furnished with a non-return valve leading to a hydraulic
accumulator, with the effect that when the water inside the tube
reaches the top of the tube the float valve closes and according
to the art of the hydraulic ram pump some water is driven at
high pressure into said hydraulic accumulator.
According to the invention in
its fifth characteristic the distensible tube is furnished with
buoyancy means and ballasted to float with the tube partly or
wholly submerged. The tube is moored and held in position with
moorings according to the art. In another embodiment the
distensible tube may be located on the sea bed, fixed in
position by conventional attachments according to the art or
ballasted with liquid or solid ballast so as to sink to the sea
bed or may be fixed at some distance below the sea surface by
attachment to a supporting frame attached to the sea bed.
Some specific embodiments of
the invention will now be described by way of example with
reference to the accompanying drawings in which: Figure 1 shows
in side elevation a distensible tube with a multiplicity of
helical reinforcement means; Figure 2 illustrates in side
elevation and partly in cross Section an enlarged view of the
distensible tube showing for clarity only one element of the
helical reinforcement means; Figure 3 shows in cross sectional
side elevation further detail of the stern section comprising a
particular embodiment of the pressure means and energy
extraction means; Figure 4 shows in cross sectional side
elevation an alternative embodiment of the stern section with
energy extraction means using the principle of the hydraulic ram
pump to deliver water at high pressure to useful output A
particular embodiment of the invention will now be described by
way of example with reference to the figures. Figure 1
illustrates by way of example in side elevation a long
distensible tube 1 made of highly elastic material, filled with
water and circumscribed by a multiplicity of reinforcement means
2 each in the form of a helix made of substantially inelastic
material for example without limitation steel wire, steel tape,
steel cable, steel rope or siring, tape, or cord made of natural
or synthetic fibre or any combination of these. With advantage
the reinforcement means may comprise steel cable covered with
PVC or nylon. For clarity, only one helix 2 is shown by way of
example in the enlarged view of a part of the distensible tube
illustrated in side elevation and partly in section in Figure 2.
With advantage the helices 2 are equally spaced around the
circumference of the tube I. With advantage the tube may be
furnished with an equal number of left-handed and right-handed
helices. Said left-handed and right-handed helices cross in many
places and may with advantage be of slightly different
diameters; or they may be woven together to comprise a
reticulate structure. With advantage the pitch angle of the
helices is close to 35 degrees. With advantage the helices 2 may
be embedded in the wall of the distensible tube 1. With
advantage the tube 1 may be furnished with a multiplicity of
circular collars, not illustrated, furnished with grooves or
slots to locate the reinforcement means during assembly, said
collars being highly elastic.
Referring again to Figure 1,
the tube is furnished at the bow with a bow section 4 which may
have rigid walls or flexible walls made of fabric coated with
elastomer. The distensible tube I and the reinforcement means 2
are both firmly attached to the bow section. The bow section may
be furnished with anchoring means 5 for attaching the whole
machine to the sea bed according to the art. Likewise at the
stern, the tube and the reinforcement means are both firmly
attached to the stern section 6. The stern section 6 may
incorporate any of a variety of energy extraction means which
convert the oscillating pressure and oscillating flow in the
bulge wave into useful hydraulic or electrical power. Some of
these have been described in reference 11].
As illustrated in Figure 1, the
distensible tube I may be furnished with a multiplicity of
buoyancy means 3 with the effect that it floats, partially or
fully immersed, near the surface 7 of the sea shown as a broken
line in the figure. Alternatively it may be baliasted so that it
rests on the sea floor, or it may be fixed to a framework
attached to the sea floor.
An embodiment of the energy
extraction means is illustrated by way of example without
limitation in Figure 3. In this embodiment the energy extraction
means is combined with the pressure means used to regulate the
pressure inside the distensible tube 1. The distensible tube I
and the helical reinforcement means (not illustrated) are finnly
attached to the rigid stern section 6. A pressure vessel 10
attached to the stern section 6 is divided into two volumes 11
and 12 by the vertical partition 13 which does not extend
completely to the top of the pressure vessel.
Volume 11 serves as a
high-pressure accumulator while volume 12 serves as a
low-pressure accumulator. Both volumes are partly filled with
water 14 while the space 15 above the water surface is filled
with air or some other gas at high pressure. The two volumes
communicate via the space 16 above the partition 13 with the
effect that the gas pressure in the two volumes is always the
same. The water surface 17 in the high-pressure accumulator 11
is higher than the water surface 18 in the low-pressure
accumulator 12 with the effect that water flows through the
turbine 19 generating electricity. These water levels are
maintained by flow out of and into the bulge tube via the
one-way valves 20 and 21 respectively, said valves being
illustrated in Figure 3 by way of example without limitation as
duck bill valves. With advantage the system may be furnished
with a multiplicity of one-way valves operating in each
direction and a multiplicity of turbines.
The operation of the energy
extraction means illustrated in Figure 3 is as follows. The
average pressure in the distensible tube I is equal to the
pressure of the air 15 in the pressure vessel 10 plus the
average hydrostatic head arising from the water levels 17 and 18
relative to the mean depth of the tube. The air pressure is
adjusted so that the velocity of the bulge wave in the tube is
close to the velocity of the waves in the sea with the effect
that energy is captured from the sea in the form of oscillating
bulge waves in the tube. During the high-pressure phase of the
bulge wave arriving at the stern, water is propelled through the
one-way valve 20 into the high-pressure accumulator 11 with the
effect that the water level 17 in this accumulator rises.
Conversely during the
low-pressure phase of the bulge wave, water is sucked out of the
low-pressure accumulator 12 via one-way valve 21 into the bulge
tube and consequently the water level 18 in this accumulator
falls. The overall effect is that water is driven from the
distensible tube I via the one-way valve 20 into the
high-pressure accumulator, through the turbine 19, into the
low-pressure accumulator 12 and back into the distensible tube 1
via one-way valve 21 with the effect that water is circulated
through the turbine and the bulge wave energy is converted into
electrical power. The two accumulators 11 and 12 have the effect
of smoothing the flow through the turbine. Small differences in
the total volume of water in the pressure vessel are
accommodated by the compressibility of the air above the water
surfaces. In very rough seas the water level 17 in the
high-pressure accumulator may rise to the top of the partition
13 and overflow into the low pressure accumulator with the
beneficial effect of limiting the power output. With advantage
the distensible tube 1 is inclined slightly upwards towards the
stern, with the effect that any air which may accidentally be
sucked into the tube from the low-pressure accumulator via the
one-way valve 21 is immediately pumped back into the pressure
vessel 10 via one-way valve 20.
An alternative embodiment of
the energy extraction means illustrated in Figure 4 converts the
wave energy into hydraulic power in the form of high pressure
sea water, which may be used for desalination or for generating
electricity by means of a Pelton wheel or turbine according to
the art. Referring to Figure 4, the distensible tube us
connected to the stern section 6 which comprises a rigid tube 40
bent upwards. The tube 40 is closed at the top by a strong
horizontal bulkhead 42 which communicates via the hole 43 with a
closed vessel 44 containing gas under pressure. The pressure
inside said vessel determines the pressure inside the bulge tube
I and may be adjusted to regulate the velocity of the bulge wave
as described above. The hole 43 is furnished with a float valve
45 which allows gas to flow freely through the hole but closes
whenever the surface 41 of the water inside the tube rises to
the level of the bulkhead. The bulkhead 42 is further furnished
with a closed vessel 47 which serves as high pressure hydraulic
accumulator containing water and gas and storing water at high
pressure according to the art.
The tube 40 communicates with
said hydraulic accumulator 47 through a hole which is normally
closed by the one-way valve 46. The operation of the system is
as follows. The bulge wave arriving at the stern section 6
causes the water level 41 in tube 40 to rise and fall while the
air above the surface vents to the vessel 43. When the rising
water reaches the bulkhead 42 the float valve suddenly closes
giving rise to a high pressure hydraulic shock in the tube 40
according to the well known principle of the hydraulic ram pump.
Said high pressure shock drives water through the one-way valve
46 into the hydraulic accumulator 47 with the effect of
increasing the volume of high pressure water stored in the
accumulator. This water is led through pipe 48 to a useful
output, for example without limitation to drive a Pelton wheel
generating electricity or for desalination by reverse osmosis. A
small amount of the said high pressure water is used to drive a
hydraulic motor or turbine 49 to operate the water pump 50 which
pumps water from the sea 7 into the tube 40 to replace the water
which passed through the one-way valve 46. To achieve this
requires only a few per cent of the captured energy because the
pressure in the tube 40 is much lower than the pressure in the
accumulator 47. The small arrows in Figure 4 show the direction
of water flow inside the pipes. In Figure 4 the float valve 45
and one-way valve 46 are illustrated by way of example without
limitation as ball valves, but any appropriate design of valve
may be used according to the art.
In all cases the operation of
the distensible tube wave energy converter is as follows. The
oscillating pressure and pressure gradient outside the tube due
to the ocean waves excites a bulge wave near the bow which
propagates along the tube at the bulge wave velocity. As the
bulge wave moves along the tube, the ocean wave is moving along
the tube at the same speed and at each point contributes a
further increase in pressure. The result is a cumulative more or
less linear increase in the amplitude of the bulge wave, which
progressively sucks in energy from the wave. In effect the bulge
is surfing in front of the wave picking up energy as it moves.
Depending on the length of the
tube, the oscillating pressure amplitude at the stem can be 3
1o5 times the amplitude of the oscillating pressure in the ocean
wave. Useful energy is then extracted from the oscillating
pressure at the end of the tube, as explained above.
References [I] Francis J.M.
Farley, Distensible tube wave energy converter, British patent
application GB 0602278.4 filed 4 Feb 2006, PC'FIGB2007/000201
filed 23 Jan 2007 [2] James Lighthill, Waves in Fluids,
Cambridge University Press (1978), p. 96ff
Inventor(s):
FARLEY FRANCIS JAMES MACDONALD
Classification:- international: F03B13/14;
F03B13/00 - European: F03B13/14C; Y02E10/38
Abstract -- The water rises and falls inside a
partially submerged hollow chamber, open to the sea at the
bottom but closed at the sides and top, except for a hole
equipped with a float valve 29. When the water reaches the top
of the chamber the float valve 29 closes and some water is
driven at high pressure through a non-return valve (7, fig.1)
into a hydraulic accumulator. This hydraulic ram may be mounted
on an elongated hull or hulls 20 with superstructure 21
supporting elevated ballast 24 which is varied to bring the roll
period into resonance with the waves. Auxiliary floats 22 on
each side above the waterline contact the water when the roll
angle is large and prevent capsize. Water pumped by the rams at
high pressure may be used to generate electricity, for
desalination or, if the equipment is deployed in a fresh water
lake, for irrigation.; The hydraulic ram may be incorporated
into a floating buoy (fig. 2).

The invention relates to a
floating apparatus for extracting useful energy from the waves
of the sea using a hydraulic ram pumping water as the power
output mechanism. The invention comprises two components; a new
power conversion mechanism based on the well known hydraulic ram
and a new floating structure which resonates with the waves in
roll Hydraulic rams have been used for many years for pumping
water from a low pressure stream into an elevated reservoir. The
sudden closing of a valve in a pipe, in which water is flowing,
creates a pressure pulse which drives some water through a
one-way valve to the output. So far this principle has not been
used for wave energy conversion and the concept needs to be
adapted to this end According to the present invention the
motion of a water surface relative to a structure is used to
operate a hydraulic ram generating high pressure water directly.
The water is pumped into a pressure vessel hydraulic accumulator
or an elevated reservoir, with the result that power is
extracted from the waves.
It is well known that efficient
conversion with a floating structure of moderate size may be
obtained if the structure oscillates in resonance with the
waves. This condition obtains if the natural period of the
structure oscillating in a calm sea is close to the period of
the incoming waves. But for most floating bodies of moderate
size the natural period of oscillation in heave, roll or pitch
is too short to satisfy this condition. According to this
invention the natural period of a floating body in roll or pitch
may be lengthened by appropriate design of the hull, by lowering
the centre of buoyancy and by raising the centre of gravity with
ballast means above the waterline which increases the moment of
inertia and reduces the stability Energy may then be extracted
from the enhanced rolling or pitching motion that ensues.
According to the invention in
its first characteristic the wave powered hydraulic ram
comprises a partially submerged hollow chamber of any shape,
with a large opening to the sea at one side or at the bottom,
the top of the chamber being located more or less level with the
sea surface when there are no waves.
According to the invention in
its second characteristic the said chamber is furnished at or
near the top with one or more holes fitted with float valves.
The float valve allows air to flow freely in and out of the
chamber but, when the water level inside the chamber reaches the
top, the valve closes and the hole is blocked so water cannot
leave the chamber through the hole. With advantage the float
valve is close to neutrally buoyant in sea water. When the water
rising inside the chamber reaches the top, the drag exerted by
the water on the valve lifts the valve and it snaps shut But
when the water outside the chamber is falling, or equally when
the chamber is rising through the water, the pressure of water
above the valve causes it to open and water flows downwards
through the valve, into the chamber and out at the bottom or the
open side as the case may be.
According to the invention in
its third characteristic the said chamber is furnished at or
near the top with a hole communicating with a pressure vessel,
containing water and air under pressure This hole is normally
closed by a non-return valve which allows fluid to flow out of
the chamber into the pressure vessel but not to return. Said
pressure vessel functions as a hydraulic accumulator according
to the art. When the water rising inside the chamber under the
action of the waves reaches the top of the chamber, the float
valve closes suddenly and some water is forced out of the
chamber into the pressure vessel. A delivery pipe connected near
the bottom of the pressure vessel leads the water under pressure
to a useful output. There may be a multiplicity of holes with
non-return valves connecting the chamber of the hydraulic ram to
the pressure vessel. A multiplicity of hydraulic rams may
deliver water under pressure to a single pressure vessel or a
multiplicity of pressure vessels According to the invention, the
operation of the wave powered hydraulic ram is as follows. The
action of the waves causes the water surface to rise and fall
inside the chamber or the chamber to rise and fall relative to
the water surface When the water surface reaches the top of the
chamber the float valve closes generating a high pressure inside
the chamber according to the well known principles of the
hydraulic ram and water is forced out of the chamber through the
non-return valve or valves into the pressure vessel or vessels.
From said pressure vessel, water under pressure flows through
the delivery pipe to a useful output. The water under pressure
may be used for any kind of useful work, for example to generate
electricity, for desalination or, if the machine is operated in
a fresh water lake, for irrigation.
When a float valve in a wave
powered hydraulic ram closes, there will be a sudden pulse of
pressure which may generate noise and impulsive forces which can
fatigue the structure According to the invention, it is arranged
that when the valve closes a small volume of air is trapped in a
pocket at the top of the said chamber with the effect that this
air acts as a compliant air cushion and the peak pressure inside
the chamber is reduced. For the same purpose according to the
invention the float valve may be solid or hollow and made of an
elastomeric material such as a fibre-reinforced polymer with the
effect that the deformation of the material smoothes out the
pressure transient. With advantage said float valve may comprise
an elastomeric ball seating into a conical socket or an
elastomeric cylinder seating into a tapered slot. When the valve
is open said ball or cylinder is located near said hole or slot
by a cage structure according to the art.
With advantage the said chamber
may be wide at the bottom and narrower at the top with the
effect that the water rising inside the chamber is accelerated
and generates a higher pressure when the said float valve
closes. Also with advantage the length and shape of the chamber
may be chosen so that the natural oscillation frequency of the
water inside it resonates with the prevailing external wave
frequency according to the art.
According to the invention one
or more wave powered hydraulic rams as described above may be
mounted on any structure fixed to the shore or sea bed with the
result that the rams are actuated by the rising and falling of
the sea surface. One or more wave powered hydraulic rams may
also be mounted on any floating structure in which case the rams
will be actuated by the heaving, rolling and pitching motion of
the structure as well as by the waves outside the structure. The
said floating structure may be of any shape or form for example
without limitation a buoy, a vertical cylinder, a ship or a
structure with multiple hulls or multiple floats.
In all cases a multiplicity of
hydraulic rams may feed water under pressure into a single
hydraulic accumulator or into a multiplicity of hydraulic
accumulators in series or parallel. The water under pressure may
be used for any kind of useful work, for example to generate
electricity either on the structure or on a neighbouring
structure or onshore, for desalination or, if the machine is
operated in a fresh water lake, for irrigation.
According to the invention one
or more wave powered hydraulic rams may be mounted on a floating
resonant oscillator. Said resonant oscillator comprises in the
fourth characteristic of the invention one or more hulls which
may with advantage be elongated and oriented with their long
axes generally parallel to the approaching wave fronts and
perpendicular to the direction of wave propagation. If more than
one, the hulls are fixed to each other by means of a rigid
framework The hull or hulls support above sea level a
superstructure which projects laterally on each side of the hull
or hulls The invention further comprises in its fifth
characteristic one or more ballast means supported on the said
superstructure above the level of the sea, with the effect of
raising the centre of gravity of the resonant oscillator and
reducing its lateral stability with the result that its natural
roll period is increased. By correctly choosing the quantity of
ballast means and its height above sea level, the roll period of
the oscillator can be made equal to the prevailing period of the
incoming waves with the result that the structure rolls
laterally to and fro in resonance through large angles under the
action of the waves In a preferred embodiment the ballast means
comprises water in one or more elevated tanks mounted on the
said superstructure and the quantity of water is varied from
time to time by filling or emptying the tanks, with the effect
that the natural period of the oscillator may be adjusted to
correspond to the period of the waves prevailing in the sea at
any time.
In a preferred option the
invention further comprises one or more submerged closed hollow
vessels fixed underneath the hulls some distance below the
waterline, with the effect that when the structure rolls the
upthrust on the said hollow vessels tends to decrease the
lateral stability and increase the natural roll period. By
moving the said water ballast from the said elevated tanks into
said submerged hollow vessels the natural roll period may be
further adjusted.
The invention further comprises
in its sixth characteristic two or more auxiliary floats mounted
on the said superstructure and projecting laterally on each side
of the hull or hulls above the level of the sea If the
oscillator rolls through a large angle these auxiliary floats
come into contact with the water with the effect of limiting the
roll angle and preventing the oscillator from capsizing
According to the invention one or more wave powered hydraulic
rams as described above are mounted on the hull or hulls of the
resonant oscillator described above with the effect that the
rolling, heaving or pitching of the resonant oscillator,
together with the rising and falling of the water surface
outside the structure, actuates the rams as described above and
causes water to be pumped under pressure into pressure vessels
and thence to a useful output.
Specific embodiments of the
invention will now be described by way of example with reference
to the accompanying drawings in which: Figure 1 shows an
embodiment of the wave powered hydraulic ram in vertical cross
section.
Figure 2 shows in plan and
vertical elevation a floating buoy wave energy converter
incorporating a multiplicity of hydraulic rams Figure 3 shows in
plan and vertical elevation a resonant oscillator wave energy
converter in the form of a catamaran furnished with hydraulic
rams.
A particular embodiment of the
invention will now be described with reference to Figure 1 which
shows the principal components of the wave powered hydraulic ram
in vertical cross section In this figure the approximate level
of the water surface when there are no waves and the chamber is
in its equilibrium position is shown by the dashed line.
Referring to this figure, the wave powered hydraulic ram
comprises a partially immersed hollow chamber 1, closed on all
sides and at the top but open to the sea at the bottom, a hole 2
with float valve 3, and one or more exit holes 6 furnished with
non-return valves 7 connecting to the pressure vessel 8 which
contains water and air under pressure. The hole 2 is more or
less level with the undisturbed water level shown by the dashed
line in Figure 1. The action of the waves causes the water
surface 9 to rise and fall with respect to the chamber 1, while
the air trapped above the water can flow in and out of the
chamber through the hole 2 When the water surface in its upward
motion approaches the top of the chamber, the float valve 3
rises and suddenly closes off the hole 2.
The result is a sudden rise in
pressure at the top of the chamber and following the well-known
principles of the hydraulic ram some water is forced through the
exit hole or holes 6 via the non- return valve or valves 7 into
the pressure vessel 8. From there it flows via pipe 10 which may
be rigid or flexible to a distant elevated reservoir or further
hydraulic accumulators (not illustrated).
The high pressure water in the
accumulator or reservoir can then be used to deliver useful
energy according to the usual principles of hydraulic power.
With advantage the chamber is furnished above the waterline with
a small pocket 5. When the float valve closes as described
above, the air trapped inside said pocket 5 acts as a
compressible cushion and limits the peak pressure inside the
chamber At the top of the chamber 1 of the hydraulic ram, there
may be a multiplicity of holes 2 each furnished with a float
valve 3, and operating as described above Another embodiment of
the wave powered hydraulic ram is illustrated in plan and
elevation in Figure 2 which shows a floating buoy destined to
extract energy from the waves. The upper part of Figure 2 shows
a plan view of the buoy seen from above The lower part of this
figure shows the buoy in elevation with a cut-away part shown in
section Referring to this figure, the buoy comprises a
cylindrical hull 11 closed on all sides, surrounded by a skirt
12 which may be vertical or tapered and inclined. The space
between the body of the buoy 11 and the skirt 12 is closed at
the top by the bulkhead 15 and divided into a multiplicity of
separate spaces 16 by the vertical partitions 13. These spaces
serve as chambers for a multiplicity of hydraulic rams which
pump water under pressure through the multiplicity of pipes 14
into the pressure vessel 8 located near the centre of the buoy.
Water under pressure leaves the pressure vessel via pipe 10 to a
useful output as described above. The hull can be of any shape
and the chambers surrounding it can be of any shape.
With advantage the buoy can be
furnished with a superstructure in the form of a lattice frame
(not illustrated) which supports elevated ballast means,
preferably water in an elevated tank, and further supports
auxiliary floats (not illustrated) located laterally above the
waterline. With advantage the buoy may further comprises one or
more submerged closed hollow vessels (not illustrated) fixed
underneath the buoy some distance below the waterline. The
functions of the elevated ballast means, the auxiliary floats
and the submerged hollow vessel have been described above.
The operation of each of the
multiplicity of hydraulic rams is as follows. The buoy floats on
the sea with the undisturbed water surface approximately level
with the bulkhead 15 Under the action of the waves the buoy
heaves, pitches and rolls with the result that the water surface
9 inside the chamber 16 between the skirt 12 and the buoy 11
rises and falls freely relative to the bulkhead 15 while air
flows in and out of the said chamber through the hole 2. When
the surface 9 of the water inside the chamber 16 reaches the
bulkhead, the float valve 3 closes, blocking the hole 2 and
forcing the rising water to flow under pressure through the
non-return valve 7 via the pipe 14 into the pressure vessel 8.
The flexible pipe 10 is connected to the pressure vessel and
leads the water under pressure to the shore or to a neighbouring
platform where it is used to do useful work. Alternatively the
water under pressure may drive a Pelton wheel or other form of
turbine mounted on the buoy, so as to generate electricity which
is then conducted ashore or to a neighbouring platform by
flexible cables.
It will be appreciated that the
vertical partitions 13 serve to separate the multiplicity of
hydraulic rams from each other so that each responds
independently to the local motion of the water relative to the
individual bulkheads 15. This enables the buoy to extract energy
from its rolling or pitching motion, as well as from the
vertical heaving of the system as a whole The vertical
partitions may also serve as attachment points for the mooring
cables 17.
The size of the chambers
required for the hydraulic rams to capture a given amount of
power may be calculated as follows. When the float valve closes,
the total kinetic energy of the water in the chamber is
transferred as hydraulic energy to the pressure vessel This
happens once per wave cycle. In general the amplitude of motion
of the buoy relative to the water surface will be Q times the
wave amplitude and the cross section of the chamber at the lower
end may be q times the cross section at the top. It is well
known that the maximum capture width for a small floating body
moving in heave is 1/k where k is the wave number (2 times pi
divided by the wavelength) of the waves in the sea, see
reference 1. If the body moves in pitch the capture width can be
2/k and if it moves in heave and pitch together the capture
width can be 3/k. It follows from these considerations that to
obtain a capture width of n/k, the total volume V of water in
all the chambers should be V- A3 - 8r2qQ2 where X is the
wavelength in the sea. For a buoy of diameter 20 m with typical
values of the parameters, ?. = 150 m, Q=5, q 3, n = 3, this
implies that the volume of water to be trapped between the buoy
10 and the skirt 12 is fairly large but not unreasonable. Power
could then be captured over an effective frontage (capture
width) of for example 75 m.
A multiplicity of hydraulic
rams generally as described above and illustrated by way of
example in Figures 1 and 2 may be mounted more or less at sea
level on any structure fixed to the shore or sea bed and a
multiplicity of hydraulic rams may feed water under pressure
into a single hydraulic accumulator. A multiplicity of hydraulic
rams with chambers of any shape generally as described above and
illustrated by way of example in Figures 1 and 2 may be mounted
more or less at sea level at the front, side or back of a
floating structure of any shape and may be used to extract
energy from the movement of the waves and the movement of the
structure.
Another embodiment of the wave
powered hydraulic ram will now be described with reference to
Figure 3 which shows a resonant oscillator in the form of a
catamaran furnished with hydraulic rams destined to extract
power from the sea. The upper part of this figure shows the
oscillator in plan view as seen from above, with the hydraulic
rams shown in section. The lower part of this figure shows the
oscillator in elevation as seen from the side, with the
hydraulic rams shown in section. Referring to Figure 3, this
embodiment comprises a floating structure with two or more long
parallel hulls 20 which may be of any shape connected by a
superstructure in the form of a lattice frame 21. The said
superstructure supports two or more auxiliary floats 22 of any
shape, located above the waterline symmetrically on either side
of the hulls. The said auxiliary floats may with advantage
contain ballast of any kind, in particular water ballast. To
locate the ballast the said floats may with advantage be divided
by internal vertical transverse partitions (not illustrated).
The superstructure further supports centrally one or more
elevated containers or reservoirs 24 which may be filled with
ballast of any kind, and in particular with water ballast. To
locate the ballast the said elevated container 24 may with
advantage be divided by internal vertical transverse partitions
(not illustrated). This embodiment may with advantage further
comprise one or more closed hollow vessels 26 located centrally
below the waterline by a lattice frame attached to the said
superstructure Depending on the state of the waves, said hollow
vessel may be empty or may contain ballast, in particular water
ballast, pumped as occasion demands from the auxiliary floats 22
or from the elevated container 24. To locate the ballast the
said closed hollow vessel may with advantage be divided
longitudinally by internal vertical transverse partitions (not
illustrated). This embodiment further comprises a multiplicity
of hydraulic rams 28, substantially as described above and
illustrated in figures 1 and 2, attached to the hulls 20. Each
hydraulic ram is furnished with a float valve 29 comprising for
example without limitation a cylinder of elastomeric material
which seats into a tapered rectangular slot 30. The chamber 28
of each hydraulic ram is connected via a non-return valve (not
illustrated) to a pressure vessel 31 containing air and water
under pressure. The pressure vessels may with advantage be
connected together by pipes (not illustrated) and may be
connected to a further central hydraulic accumulator (not
illustrated). A flexible pipe (not illustrated) is connected to
the pressure vessels and leads the water under pressure to the
shore or to a neighbouring platform where it is used to do
useful work. Alternatively the water under pressure may drive a
Pelton wheel or other form of turbine mounted on the resonant
oscillator, so as to generate electricity which is then
conducted ashore or to a neighbouring platform by flexible
cables.
The operation of the said
resonant oscillator furnished with hydraulic rams is as follows.
The structure is oriented so that the waves approach laterally
from the left or right in Figure 3 The ballast in the elevated
container 24 and the auxiliary floats 22 is adjusted, preferable
by pumping water, so that the roll period of the structure is
the same as the prevailing wave period in the sea.
The structure then rolls with a
large amplitude driving the hydraulic rams 28 up and down in the
water. The rising and falling of the water surface engendered by
the waves increases the relative motion of the water surface
relative to the rams. Substantially as described above, it then
results that the rams pump water under pressure into the
pressure vessels 31 and this water is led off to do useful work
according to the art. In large waves the oscillator may roll
with large amplitude with the effect that the auxiliary floats
22 enter the water and prevent the structure from capsizing. In
storms it is desirable to move ballast from the elevated
container 24 and from the auxiliary floats 22 into the said
closed hollow vessels 26, preferably by pumping water from one
to the other, with the effect that the structure becomes more
stable and does not capsize.
Hydraulic rams operated by
waves are particularly well adapted to supplying high pressure
sea water for desalination plants. They may also be used in
fresh water lakes to pump water for irrigation References [1]
Johannes Fames, "Ocean Waves and Oscillating Systems", Cambridge
University Press, 2002, pp. 216-217.