
rexresearch.com
George FRODSHAM
Magnetic Sepsis Filter
http://www.dailymail.co.uk/news/article-4532210/Sepsis-sieve-save-thousands-lives.html
'Sepsis sieve' that cleans
your blood of infections or blood-borne diseases could save
thousands of lives
Device created by
British scientist who said it could save the NHS huge sums
Blood is removed and cleaned of dangerous
microbes using magnets
Machine is to undergo the first human
clinical trials next year
Could also be used to treat blood-borne
diseases such as malaria and leukaemia
By Ben Spencer
A machine that 'sieves' the blood could save thousands from
falling victim to deadly sepsis infections.
The device has been created by a British scientist who said it
could also save the NHS huge sums by getting patients out of
hospital quickly.
Working in a similar way to dialysis, the blood is removed – but
in this case it is cleaned of dangerous microbes using magnets.
The machine is to undergo the first human clinical trials next
year and is also being tested for use against blood-borne diseases
such as malaria and leukaemia.
Dr George Frodsham, who came up with the idea while studying for a
PhD at University College London, said: 'This is early-stage
technology we are doing, we have got a prototype but at the moment
this is in-lab concept work.
'But it could save the NHS a lot of money. Sepsis patients are
very expensive if they hang around in intensive care.'
Sepsis, known as the 'silent killer', hits when an infection such
as blood poisoning sparks a violent immune response in which the
body attacks its own organs.
The leading cause of avoidable death in the UK, it kills at least
44,000 a year.
Antibiotics can control the infection if it is caught early, but
without a quick diagnosis there is little doctors can do to
control its spread.
Dr George Frodsham, who came up with the idea while studying for a
PhD at University College London, said: ‘This is early-stage
technology we are doing, we have got a prototype but at the moment
this is in-lab concept work'
Dr George Frodsham, who came up with the idea while studying for a
PhD at University College London, said: 'This is early-stage
technology we are doing, we have got a prototype but at the moment
this is in-lab concept work'
The Mail launched its End the Sepsis Scandal campaign in the wake
of revelations following the death of 12-month-old William Mead in
2014.
It emerged there had been a catalogue of errors, misdiagnoses and
missed opportunities by doctors and NHS helpline staff. Dr
Frodsham's machine – known as the MediSieve – aims to stop
infections even at a late stage.
Designed to be used by intensive care units, blood is removed from
veins in the patient's arm and enters the machine, where magnetic
particles are added.
These are designed to seek out and bind to the dangerous bacteria
that cause sepsis as well as little floating scraps of old
microbes known as endotoxins, which are known to accelerate the
violent immune response called the 'septic cascade'.
Dr Ron Daniels, of the UK Sepsis Trust, said: ‘Any novel
therapeutic technology which aims to improve outcomes from sepsis
has the potential to help thousands of people.’ Pictured: 2006
colorised scanning electron micrograph image of E. coli is one of
the germs that causes sepsis
Dr Ron Daniels, of the UK Sepsis Trust, said: 'Any novel
therapeutic technology which aims to improve outcomes from sepsis
has the potential to help thousands of people.' Pictured: 2006
colorised scanning electron micrograph image of E. coli is one of
the germs that causes sepsis
Once bonded together, they are caught by a powerful magnet and the
'cleaned' blood is then returned to the body.
Dr Frodsham, whose design is unveiled at the Royal Academy of
Engineering Enterprise Hub Showcase in London today, said: 'It all
happens in the machine – the magnetic particles never enter the
body. It should take a couple of hours to get through the entire
blood flow, but that will change person to person.'
He has been backed by the Wellcome Trust and Innovate UK – a
Government agency.
Dr Ron Daniels, of the UK Sepsis Trust, said: 'Any novel
therapeutic technology which aims to improve outcomes from sepsis
has the potential to help thousands of people.'
https://www.medisieve.com/
MediSieve
MediSieve is the developer of a groundbreaking drug-free malaria
treatment. Using a magnetic sieve to physically remove malaria
infected blood cells directly from a patient’s bloodstream;
MediSieve is a life-saving intervention for severe and
drug-resistant malaria patients...
MediSieve is the developer of a groundbreaking drug-free malaria
treatment. Using a magnetic sieve to physically remove malaria
infected blood cells directly from a patient’s bloodstream,
MediSieve is a life-saving intervention for severe and
drug-resistant malaria patients.
Founded in 2015, MediSieve has raised £350,000 in seed funding
from angel investors. The company aims to perform first-in-man
clinical trials on the malaria device by the end of 2016...
The Device
Almost half of the world’s population – 3.2 billion – are at risk
of malaria
There are about 200 million cases and 600,000 deaths every year
A child dies of malaria every minute
Malaria is spread by female Anopheles mosquitoes
Malaria breeds mostly in warmer climates, where there is an
abundance of humidity and rain
Drug-resistance is spreading in SE Asia
MediSieve’s malaria treatment method is similar to dialysis in
that a patient’s blood is continuously circulated through a
magnetic filter device via an external blood loop. Red blood cells
infected with the malaria parasite are captured in the filter. The
healthy blood returns to the patient unharmed.
Operating with very high flow rates, the device could reduce a
child’s infection burden by 90 per cent in just 3.5 hours.
Our ambition is for MediSieve’s treatment to become an essential
treatment for severe and drug-resistant patients, particularly for
children and pregnant women.. The critical problem with these
patients is that they only receive antimalarial drugs once their
infection burden is too high for the treatment to be effective.
MediSieve is offering the chance to turn back the clock for these
patients. Providing rapid and safe removal of malaria-infected
cells directly from the bloodstream, this device could be used as
a standalone treatment or in combination with drugs, improving
treatment effectiveness and saving lives.
https://www.youtube.com/watch?v=stwpats4qgw
MediSieve

US2017072128
MAGNETIC FILTER APPARATUS AND METHOD
Inventor: FRODSHAM GEORGE CHARLES MARTIN [GB]
A hemofilter system. In one embodiment, the hemofilter system
includes a container having a first surface, a second surface, and
one or more wall surfaces, the first surface, the second surface
and the one or more wall surfaces defining a volume; an input port
in fluid communication with the first surface; an output port in
fluid communication with the second surface; a filter bed
comprising a plurality of planar magnetic meshes stacked in close
juxtaposition and positioned within the container volume and
coplanar with the first and second surfaces; a first magnet
positioned on a first surface of the container; a second magnet
positioned on the second surface of the container; a first input
conduit in fluid communication with the input port; and a first
output conduit in fluid communication with the output port. In
another embodiment, the hemofilter system includes a pump in the
input conduit.
FIELD OF THE INVENTION
[0002] The invention relates generally to blood filtering systems
and more specifically to magnetic filtering systems.
BACKGROUND OF THE INVENTION
[0003] Magnetic separation has been used in mineral processing for
years. Generally, it is used to separate out magnetic minerals
from mixtures containing non-magnetic materials. In such a
separation system, a suspension of particles in a liquid is passed
through a magnetisable filter constructed of magnetic wires. Near
the wires, a high field gradient results in a magnetic retaining
force that attracts any passing magnetisable material.
[0004] These magnetic separation techniques can be used with
magnetic hemofiltration to remove from the bloodstream anything
that is either intrinsically magnetic (i.e., departs significantly
from the diamagnetism of normal blood and blood components) or is
magnetically labelled with magnetic nanoparticles or beads that
target specific blood-borne agents which are available and can be
used clinically.
[0005] What is needed is a magnetic filter that is capable of
extracting magnetically labeled targets in the bloodstream
quickly, efficiently and at low cost.
[0006] The present invention addresses these requirements.
SUMMARY OF THE INVENTION
[0007] One aspect of the invention is a hemofilter system. In one
embodiment, the hemofilter system includes a container having a
first surface, a second surface, and one or more wall surfaces,
the first surface, the second surface and the one or more wall
surfaces defining a volume; an input port in fluid communication
with the first surface; an output port in fluid communication with
the second surface; a filter bed comprising a plurality of planar
magnetic meshes stacked in close juxtaposition and positioned
within the container volume within the path of fluid from the
input port to the output port; a first magnet positioned on a
first surface of the container; a first input conduit in fluid
communication with the input port; and a first output conduit in
fluid communication with the output port wherein the first magnet
produces a magnetic field that is modified by the presence of the
planar magnetic meshes in such a way as to produce a sufficiently
strong and inhomogeneous magnetic field in the free space within
the filter bed to allow the capture of blood-borne magnetic
targets. In another embodiment, a second magnet is positioned on a
second surface of the container.
[0008] In yet another embodiment, the hemofilter system includes a
pump in the input conduit. In still another embodiment, the
hemofilter system includes a saline drip unit in fluid
communication with the input conduit. In yet another embodiment,
the hemofilter system includes a saline reservoir and a syringe
pump connected in parallel fluid communication with the first
conduit through a T-junction. In still yet another embodiment, the
hemofilter system includes an air detector in fluid communication
with the output conduit. In one embodiment, the hemofilter system
includes a pressure detector in fluid communication with the
output conduit.
[0009] In another aspect, the invention is a hemofilter including
a container having a first surface, a second surface, and one or
more wall surfaces, the first surface, the second surface and the
one or more wall surfaces defining a volume; an input port in
fluid communication with the first surface; an output port in
fluid communication with the second surface; a filter bed
comprising a plurality of planar magnetic meshes stacked in close
juxtaposition and positioned within the container volume and
coplanar with the first and second surfaces; a first magnet
positioned on a first surface of the container; a second magnet is
positioned on a second surface of the container; wherein the first
and second magnets produce a magnetic field that is perpendicular
to the planar magnetic meshes and which produces a sufficiently
strong and inhomogeneous magnetic field in the free space within
the filter bed to allow the capture of blood-borne magnetic
targets.
[0010] In yet another embodiment, the filter is designed to
produce a uniform flow characteristic at a millimeter-scale length
so as to avoid dead-spots and eddies, and to maintain a sufficient
rate of flow overall by producing a labyrinthine flow pathway for
each individual red blood cell that passes through the filter. In
one embodiment, the flow causes a red blood cell to deviate from
its unimpeded flow by more than three times the diameter of the
red blood cell. In another embodiment, the deviation from
unimpeded flow is by more than about 20 microns.
[0011] In general, the hemofilter is designed to produce a
three-dimensional, braided, laminar flow on the part of the blood
that passes through the filter. In this aspect, the flow of the
blood is like that of a meandering riverbed, but through a
three-dimensional volume rather than over a two-dimensional
surface. In one embodiment, the stack of planar metal-wire meshes
are arranged in such a way that the blood passing through the
filter separates into a series of laminar flow channels that
serially divide and recombine as they move through each layer of
mesh. The laminarity of the flow is retained throughout the
entirety of the mesh-stack-filled portion of the filter, so that
at no time during the passage of the blood is it subjected to any
violent or potentially damaging turbulent motion. At the same
time, the serial division and recombination of the laminar flow
channels ensures that each and every fraction of the blood—such as
for example a given individual red blood cell or
magnetically-labeled biomolecule—has a finite, greater-than-zero
probability of physically encountering at least one capture site
(defined as being the volume of space sufficiently close to the
magnetically actuating mesh that, for a magnetic or magnetically
labeled entity of the anticipated magnetic character, moving at
the anticipated speed, the entity will be captured (retained and
held) as it transits the mesh-stack-filled portion of the filter.
[0012] In one embodiment, the multi-layer stack of wire meshes is
arranged in such a way that the laminar flow channels that the
blood separates into as it passes through the mesh-stack-filled
portion of the filter is highly regularized, so that the
three-dimensional pattern of flow channel division and
recombination would take on a regular, well-defined structure.
Such an embodiment is achieved by having the mesh layers arranged
in space in a repeated, sequential, and aligned fashion.
[0013] In another embodiment of this aspect of the hemofilter, the
multi-layer stack of wire meshes is arranged in such a way that
the laminar flow channels that the blood separates into as it
passes through the mesh-stack-filled portion of the filter are
more random, stochastic or convoluted, so that the
three-dimensional pattern of flow channel division and
recombination would take on an irregular, random structure. Such
an embodiment is achieved by having the mesh layers arranged in
space in a non-aligned, random fashion.
[0014] In a further aspect, the hemofilter is designed in such a
way that the Reynolds number of the blood passing through the
mesh-stack-filled region of the filter is typical of that of a
laminar, rather than turbulent, or transitional (meaning
intermediate between laminar and turbulent) flow. The Reynolds
number can be defined in several ways, two of which are described
here for illustrative purposes, and the operator should apply the
appropriate definition to the embodiment of hemofilter used. In
the first case, the Reynolds number is defined as Re=ρv L/μ, where
ρ is the density of blood (ca. 1.06×10<3 >kg m<−3>), v
is the mean velocity of the blood as it passes through the filter,
L is a characteristic dimension of the filter such as the mesh
aperture size, and μ is the viscosity of blood (ca. 3-4×10<−3
>Pa s). In this case, Re is less than or of order 2300 for
laminar flow. In the second case, the Reynolds number is that
which is defined for randomly packed beds of hard spheres, Re*=ρu
d/ρ(1−ε), where ρ and μ are defined as before, u is the
superficial flow rate of the blood through the filter (given by
the volumetric flow rate through the filter divided by the
macroscopic cross-sectional area of the filter), d is the
spherical equivalent particle diameter (i.e. the diameter of the
spheres that would occupy the same volume of space as that
occupied by the given filter mesh material), and ε is the bed
voidage (meaning the volumetric fraction of the filter that is not
occupied by the filter material). In this case, Re* is less than
or of order 10 for laminar flow.
[0015] In a yet further aspect, the hemofilter is designed to
provide efficient capture at flow rates and at filter volumes
commensurate with both the rate of flow of blood to and from a
human artery or vein, and acceptable safety limits on the amount
of blood that can be held extracorporeally at any given time. For
children, this corresponds to flow rates from 40 to 200 ml/min,
and extracorporeal volumes of order 8% of the total blood
volume—which for example in a 5 year old child weighing 20 kg
would be of order 0.08×1.6 litres=128 ml. In adults, this
corresponds to flow rates from 40 to 400 ml/min, and
extracorporeal volumes of order 8% of the total blood volume−which
for example in an 80 kg adult would be of order 0.08×6.4
litres=512 ml.
[0016] In a still further aspect, the hemofilter is designed to
contain quiescent capture zones for the retention and safe
collection of fragile or delicate biological entities. This aspect
requires that the capture zones be intrinsically active with
respect to flow—as otherwise they would constitute ‘dead zones’
through which the blood would not pass—while also being suitable
as receptacles of the targeted and captured biological entities.
In one embodiment, these quiescent capture zones are located along
the lengths of opposite sides of wires magnetized perpendicularly
to the orientation of the wire and parallel to the direction of
flow, creating areas of high magnetic force and low drag force,
facilitating capture.
BRIEF DESCRIPTION OF THE DRAWINGS
[0019] FIG. 1 is a block diagram of an embodiment of the
system of the invention;
[0020] FIG. 2 is a perspective diagram of the magnetic
filter housing;
[0021] FIG. 3A is a side view of the embodiment of the
magnetic filter housing shown in FIG. 2;
[0022] FIG. 3B is a bottom view of the embodiment of the
magnetic filter housing shown in FIG.
[0023] 2;
[0024] FIG. 3C is a cross-sectional view of a flow
homogenizer of the embodiment of the magnetic filter housing
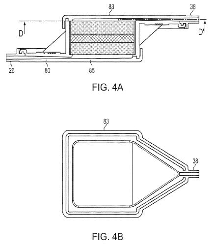
shown in FIG. 2;
[0025] FIG. 3D is a top plan view of a flow homogenizer of
the embodiment of the magnetic filter housing shown in FIG. 3C;
[0026] FIG. 4A is a cut away view of the embodiment of the
magnetic filter housing shown in FIG. 2;
[0027] FIG. 4B is a top cut away view of the embodiment of
the magnetic filter housing shown in FIG. 4A through line DD′;
[0028] FIG. 5A is a perspective diagram of an embodiment of
the mesh layers of a five layer magnetic mesh filter;
[0029] FIG. 5B is a plan view of a portion of the five
layer filter of FIG. 5A, magnified to show the staggered
arrangement of the wires;
[0030] FIG. 5C is a graph of the effect on the drag force
on fluid flow of the ratio of the wire diameter to the length of
the side of the aperture;
[0031] FIG. 6A is a plan view of an embodiment of the mesh
of a magnetic filter in Dutch weave configuration;
[0032] FIG. 6B is a side view of an embodiment of the mesh
of a magnetic filter in a plain Dutch weave configuration;
[0033] FIG. 6C is a perspective view of the embodiment of
the mesh of the magnetic filter of FIG. 6B;
[0034] FIG. 6D is a plan view of the embodiment of the mesh
of the magnetic filter in a plain or one over another weave
configuration;
[0035] FIG. 6E is a plan view of the embodiment of the mesh
of the magnetic filter in a plain or one over another weave
configuration in which the spacing between the wires in each
direction is different;
[0036] FIG. 6F is a plan view of an embodiment of the mesh
of a magnetic filter in twill or two over two under weave
configuration;
[0037] FIG. 7 is a block diagram showing an embodiment of a
filter housing positioned adjacent a magnet;
[0038] FIG. 8 is block diagram of an embodiment of a two
magnet assembly with a steel keeper;
[0039] FIG. 9 is a field diagram of a magnetic field
adjacent a cylindrical wire whose cylindrical axis is
perpendicular to the external applied field;
[0040] FIG. 10 shows a quiescent capture zone adjacent a
wire in a magnetic field;
[0041] FIG. 11 is a block diagram of an embodiment of a six
magnet magnetic assembly with steel back plates and aluminum
supports;
[0042] FIG. 12 is a perspective diagram of an embodiment of
upper and lower magnetic assemblies that function as magnets for
the invention;
[0043] FIG. 13 is a graph showing the rate of parasite
reduction with filtered volume.

DESCRIPTION OF A PREFERRED EMBODIMENT
[0044] Referring to FIG. 1, a system 10 constructed in accordance
with an embodiment of the invention includes an input port 14 and
an output port 18. In one embodiment, the input 14 and output 18
ports include Luer-type connectors configured to engage the
corresponding mating Luer-type connector of a patient's catheter.
Blood from the patient is drawn into the system 10 through the
input port 14 with a pump 22 connected to an input conduit 25. In
one embodiment, the pump is a peristaltic pump. The other end of
the input line also includes a Luer-type connector 30 positioned
to engage a corresponding mating Luer-type connector 32 configured
as the input port 26 of a magnetic filter 34.
[0045] A Luer-type connector of the output port 38 of the magnetic
filter 34 engages a Luer-type connector 36 at one end of the
system output conduit 42. The other end of the system output
conduit 42 includes a Luer-type connector that acts as the system
output port 18. The Luer-type output port engages a catheter that
returns blood to the patient. In one embodiment, the peristaltic
pump 22 is an infusion pump, (Baxter International, Deerfield,
Ill., infusion pump model BM-11) and includes an output circuit
that includes a gas trap with filter 43 and an air detector 46 to
detect and/or filter air bubbles in the blood flow (arrows). In
this embodiment, the peristaltic pump includes a pressure sensor
48 in the output circuit to assure that the pressure of the blood
flowing back into the patient is within the desired limits. Also
in this embodiment the output circuit includes an emergency clamp
47 that can stop flow through the circuit if bubbles are detected.
In various embodiments, the input 25 and output conduits 42 are
constructed of air-permeable tubing. In one embodiment, the output
conduit 42 is attached to a collection receptacle 74. In another
embodiment, the output conduit 42 is connected to a cannula 77 to
return a patient's blood to the patient.
[0046] In one embodiment, a controller 73 controls the syringe
pump 64 through a digital port 61 and the peristaltic pump 22.
[0047] In another embodiment, a saline drip subsystem 54 is
connected through Luer connectors 63 to the input line 25 through
a first T-connector 50. In one embodiment, the saline drip
subsystem 54 includes a saline reservoir drip bag 62 having a
manual IV line control valve 65. The input line 26 is connected to
the input of a peristaltic pump 22 through a second T-connector
67. A second port of the second T-connector 67 is connected to an
input pressure sensor 69 to measure the fluid pressure at the
input line 25 prior to the pump 22.
[0048] The output of the peristaltic pump 22 is connected to a
syringe pump 64 having a syringe pump driver 66 controlling the
flow of an anticoagulant, such as heparin, from a syringe 70
through a third T-connector 74. The output 78 of this third
T-connector 74 is a second input to the input conduit 26. This
anti-coagulant subsystem assures that no clotting of the patient's
blood occurs as it passes through the system 10.
[0049] In more detail, and referring to FIGS. 2 and 3A-D, the
magnetic filter 34 includes an outer container 82. In one
embodiment, the outer container 82 is made of a disposable plastic
or a sterilizable material. In one embodiment, the plastic is a
medical-grade plastic such as a polyethylene, polycarbonate or
silicone. In one embodiment, the inner surfaces of the container
and the mesh are coated with an anticoagulant. In one embodiment,
the anticoagulant coating is a composite polysaccharide with
embedded heparin. The outer container 82 is typically permanently
sealed by top 83 and bottom 85 lids but may be configured to be
opened for cleaning and refurbishment. The size of the container
housing 82 is determined in part by the size of the patient to
whom the system is to be connected. If the volume of the filter 34
is too large, the patient will experience a reaction due to excess
blood loss. If the volume is too small, the amount of time needed
to move a significant fraction of the patient's blood through the
device becomes excessive.
[0050] Generally, in nephrology, the maximum amount of blood to be
withdrawn from a patient in an extracorporeal loop is 8% of the
patient's blood volume. The average adult has about five liters of
blood so the amount of blood in the extracorporeal circuit should
be less than about 400 ml. Reducing this further by 50% to account
for the fact that some of the patients will be anemic, the volume
of the extracorporeal circuit becomes about 200 ml. This volume
must be reduced for children. For an infant under 12 months of age
the volume of the system is about 30 ml. The tubing and connectors
of the system are assumed to contain about 10 ml of blood and that
means that the housing volume will vary from about 20 ml for
infants to about 190 ml for an adult.
[0051] Because the outer container 82 includes a magnetic metal
mesh filter that occupies up to one third of the volume of the
container, the actual container volumes are about one third
greater than the desired blood volume. Thus, a chamber sized for
an adult (about 190 ml of blood) is about 250 ml in volume.
[0052] The shape of the container is designed to increase flow
rate through the container by reducing the drag force. To reduce
the drag force, the container is constructed to have one pair of
surfaces, for example top and bottom, with a larger surface area
compared to the other (in this embodiment, four) surfaces of the
container. Note that in this discussion the filter is discussed,
without the loss of generality, as a rectangular parallelepiped
but other shapes including cylindrical are contemplated. In one
embodiment, the flow of blood is then oriented perpendicularly
between the two larger surfaces. For example, if a volume of 125
ml is desired, rather than constructing the container to have each
edge of the six surfaces being 5 cm (5×5×5 cm), it is advantageous
to have dimensions of 12.5×10×1 cm, so that the top and bottom
surfaces are 125 cm<2>. In the first case (5 cm for each
edge of each surface), the largest surface area is 25 cm<2>.
In the second example, the area of the largest surfaces (top and
bottom) is 125 cm<2>. Since the linear flow velocity of a
liquid for a given volumetric flow rate depends on the area of the
surface through which the liquid flows, maximizing the surface
area minimizes the linear flow velocity, and thus the drag force.
Thus, the drag would be reduced by a factor of five for flow
between the two largest surfaces. It is important to note however,
that increasing one side at the expense of the others will reduce
the height of the filter bed.
[0053] To make use of the increased surface area, it is necessary
to divert the input blood flow so that it spreads out over the
larger surface. Referring again to FIG. 3A-D, the input port 26 of
the container provides blood flow through a flow homogenizer or
disperser 80. As the blood passes down the tube 80 (FIG. 3C), the
tube becomes wider and flatter causing the blood to spread over
the surface as the volume fills, eventually reaching the output
port 38. In some embodiments, the blood flows through a flow
homogenizer or diverter before exiting at output port 38 in order
to maintain flow homogeneity at the top of the chamber. Other
forms of diverters or homogenizers are possible. It should be
noted that although this system is generally described with the
input port 26 at the bottom and the output port 38 at the top, the
orientation of the container is not relevant, although if the
volume of blood flow is between the two largest surfaces,
efficiency is increased.
[0054] One issue with a container having orthogonal walls is that
the corners where the walls meet form “dead spaces” where fluid
collects and does not flow with the majority flow through the
container. These dead spaces in some embodiments are removed by
forming continuous non-orthogonal surfaces where the walls of the
corner of a container meet (FIG. 3B). In one embodiment, the inner
surfaces of the container are coated with a hydrophobic coating.
In one embodiment, the hydrophobic coating is a silicone based
polymer such as polydimethylsiloxane.
[0055] Referring to FIGS. 5A, B, within the container 82 is a
filter bed through which the blood entering the container 82
passes as it flows to the output port 38. In one embodiment, the
filter bed is constructed as a plurality of planar meshes 100,
100′ . . . 100″, (generally 100) stacked together. In one
embodiment, the plane of the mesh is preferably perpendicular to
the flow of blood through the container volume. The mesh is
constructed of non-diamagnetic (including, but not limited to,
ferro or ferri strands) wires 104′ . . . 104″ (generally 104)
woven to an aperture spacing (generally 108) of 10-1000 microns
and preferably of 50 microns between the wires. In one embodiment,
the non-diamagnetic wires are SS430 stainless steel, with a wire
diameter of 10-1000 microns and preferably 250 microns. In one
embodiment, such a configuration of at least one hundred layers of
mesh corresponds to approximately thirty mm in thickness. The
meshes 100 are stacked, each mesh randomly offset from the
previous layer such that the spacings between the wires of each
mesh are staggered to form interrupted channels through the filter
bed (FIG. 5B). A blood cell flowing through the filter bed
therefore has a high probability of encountering multiple wires as
it flows up the channel. As a result of the higher magnetic fields
in the free space adjacent to the wires, as described below,
magnetic or magnetically labeled components within the flow of
blood experiences a magnetic retarding force component slowing the
flow. FIG. 5C is a graph of the effect on the drag force of the
ratio of the wire diameter to the length of the side of the
aperture. That is, as the wire diameter becomes larger relative to
the side of the aperture, the drag force increases rapidly due to
the decrease in aperture size.
[0056] Referring to FIGS. 6A-F, the magnetic mesh filters may take
on many forms or weaves; several embodiments are herein discussed.
FIG. 6A is an embodiment of a magnetic mesh filter in a Dutch
weave configuration. In Dutch weave, the “warp” and “weft” wires
have different diameters. FIG. 6B is a side view of an embodiment
of a magnetic filter mesh in a Dutch weave configuration, FIG. 6C
is a perspective plan view of the same magnetic filter mesh of
FIG. 6B. FIG. 6D is a plan view of a magnetic filter mesh in a
plain or one over another weave configuration. FIG. 6E is an
embodiment of the mesh of the magnetic filter of FIG. 6D in which
the spacing between the wires in each direction is different. FIG.
6F is an embodiment of the mesh of a magnetic filter in twill
weave configuration. In general, the weaves are chosen such that
areas of substantially maximum magnetic retarding forces overlap
with the areas of substantially minimum viscoelastic drag forces
as discussed below.
[0057] Referring to FIG. 7, to establish the appropriate magnetic
field in the mesh, in one embodiment, the container 82 containing
the mesh filter is placed adjacent a permanent magnet 120. In a
second embodiment FIG. 8, to increase the magnetic field, two
permanent magnets 120, 120′ orientated with the same polarity are
applied to the opposite sides of the container 82 such that the
magnetic field 124 is perpendicular to the planes of the meshes
100. This embodiment includes a keeper 126 to provide a return
path for the magnetic field.
[0058] Such a configuration induces an approximately equal
magnetic field acting on each of the wires 100 and 104 forming
each aperture 108 in the mesh. However, given that the mesh is
made from a ferromagnetic or ferrimagnetic material that is
intrinsically magnetizable (leading to an induced magnetization
within the wires), the magnetic field acting within each aperture
108 in the mesh is modified to become the superposition of the
field due to the permanent magnets 120 and 120′ and the magnetic
field generated by the magnetized wires 100, 100′, 100″ etc. and
104, 104′, 104″ etc. The field due to the magnetized wires is
approximately that of a magnetic dipole, and is therefore maximal
in the direction of the magnetizing field, and falls off rapidly
(scaling as 1/r<3 >where r is distance from the wire) along
the direction of the magnetizing field (FIG. 9). A color coded
legend is shown on the left side of the figure such that colors
are used to represent magnetic field strength ranging from about 0
Tesla (dark blue) to about 0.60 Tesla (dark pink).
[0059] Still referring to FIG. 9, a first pair of dotted arrows
extends from the top of the figure legend on the left and point to
the high field values (about 0.6 Tesla, dark pink) in the
direction of the magnetic field as shown near the top and bottom
of the cross-section of the wire. A second pair of arrows extends
from the bottom of the legend and point to the low field values
(approaching zero, dark blue) on the left and right sides of the
wire cross-section. A solid arrow and another dotted arrow are
also included to emphasize two additional points (about 0.15 Tesla
and about 0.48 Tesla) in the field to give further context to the
legend. The summed magnetic field is therefore strongest, and has
the highest field gradients in the near vicinity of each wire. If
a fluid containing magnetic targets is then passed through the
filter mesh in such a way that the flow direction is parallel to
the direction of the magnetizing field, then, as shown in FIG. 10,
a region of maximal magnetic trapping is created adjacent each of
the wires of the mesh, that region being characterized as one with
a combination of relatively large magnetic retarding forces and
relatively small viscoelastic drag forces.
[0060] The magnetic force (Fm) experienced by a magnetic particle
passing near the wires of the mesh is given by the expression:
Fm=μoχVH∇H
where μ0 is the permeability of free space, χ is the volumetric
magnetic susceptibility of the magnetic material, V is the volume
of magnetic material in the particle, H is the magnetic field
adjacent the wire (χVH being the total magnetic moment, M, of the
particle), ∇H is the magnetic field gradient near each wire, and
bolding indicates a vector. Close to the wires of the mesh, the
magnetic field gradient becomes large.
[0061] Similarly, the drag force (Fd)) applied a spherical object
in a liquid flow is described by Stokes' law, and is a good
approximation for the drag force felt by the magnetized and/or
magnetizable entities the filter is to capture:
Fd=6πμRv
where μ is the liquid viscosity, R is the radius of the cell, and
v is the velocity of the liquid relative to the cell. The velocity
v of the liquid exerting a force on a particle is dependent on the
volumetric flow rate, f (ml/min) and the cross-sectional flow area
C, and is given by the expression:
[mathematical formula]
[0062] Because the filter chamber cross-sectional area is reduced
by the amount of space taken up by the wires of the mesh, the
actual cross-sectional area of the filter is reduced and therefore
the liquid flow velocity, and hence also the drag force Fd is
dependent on γ, the fractional change in area, which in turn is
dependent on x, the ratio between d, the diameter of each wire,
and l, the length of one side of an aperture in the mesh,
[mathematical formula][mathematical formula]
[0063] If the diameter of the wire is 1⁄5 of the length of the
aperture side, the cross-sectional area of the filter decreases to
70% and the flow rate is decreased to 44%. The effect of the ratio
x on the drag force is shown in FIG. 5C.
[0064] For capture to occur, the drag force Fd must be less than
the magnetic force Fm. To assure this relationship is met, the
following options may be used in the design and deployment of the
device. The magnetic force may be increased by increasing the
magnetic field H by varying the type and configuration of
permanent magnets or electromagnets creating the external field
(as discussed below). Alternatively, the field gradient ∇H may be
varied or optimized by: optimizing the magnitude of H for the
particular dimensions and magnetic properties of the wires; using
a ferromagnetic mesh with a higher magnetic susceptibility or
higher magnetic saturation; or optimizing the diameter of the wire
consistent with the magnetic field. The capture of a specific
target such as a magnetic particle can be improved by increasing
the magnetic moment of the magnetic particle either by increasing
the volume of magnetic material of the target or by using a
material with higher magnetic susceptibility.
[0065] Further, one could increase the likelihood of a target
passing through an area of high field gradient. In the case of a
target flowing through the aperture of a mesh, the magnetic force
is lowest in the center of the aperture. The use of a randomized
stacked mesh design, with a large number of layers, ensures that
targets have a very low probability of never passing through areas
of high gradient (i.e. close to the surface of a wire). Further
decreasing the drag force may also be accomplished by: lowering
the velocity of the targets (this may be undesirable since it
would increase the overall treatment time); increasing the
cross-sectional flow area (which also may be undesirable as it is
limited by the total volume of blood that can be removed from a
patient in an extra-corporeal loop (typically 8% of TBV); or using
a mesh with a higher aperture size-to-wire diameter ratio (i.e.,
lower x). This last option must be balanced with ensuring the
apertures are small enough that sufficient targets pass close to
the wires, because large apertures may create flow paths through
the channels in which a particle never enters an area of high
magnetic gradient.
[0066] Because of the cost and difficulty in producing and
handling large magnets, and in order to obtain an advantageous
magnetic circuit design, in one embodiment (FIG. 11), a plurality
of smaller magnets 120 are grouped together before placement on
opposite sides of the container 82. In one embodiment, pairs of
the magnets 120 are magnetically or otherwise attached to a steel
back plate 134 which extends a small distance beyond the magnets
120. The steel back plate 134 helps to focus the magnetic field
and shield the area adjacent to the filter. Steel back plate 134
then rests on a lip 138 in a first part of frame 142. The second
portion of the frame 146 has a plurality of openings sized and
shaped to permit the magnets 130 to protrude through the frame 146
and still be held in alignment. The first 142 and second 146
portions of the aluminum frame are bolted 160 together (FIG. 12)
to form a magnet assembly that along with a second magnet assembly
are the two magnets 120, 120′ that are positioned on opposite
surfaces of the container 82. In this way, the container 82 can be
removed from between the magnet assemblies 160 and the container
replaced for use with another patient.
[0067] In one embodiment, the magnets are N42 grade NdFeB
(Neodymium Iron Boron) with a pull of 32.2 kg, a surface flux
density of 3,000 gauss and BH max energy product of 40-43 Oe. The
magnets 130 are strong enough to produce a force between a pair of
the magnets of 45N at a separation of 30 mm and 200N at a
separation of ten mm.
[0068] How the system is used clinically to remove detrimental
materials from the blood is determined in part by the nature of
the material to be removed. Materials that are non-diamagnetic in
and of themselves, such as malarial infected red cells, which are
intrinsically paramagnetic (due to the presence of hemozoin—the
paramagnetic mineral byproduct of the parasite's metabolizing of
hemoglobin), may be directly removed by passing the cells through
the magnetic filter 34. Diamagnetic targets such as viruses,
bacteria or other toxins may be removed by labelling those targets
with non-diamagnetic entities, such as for example suitably
surface-functionalized ferromagnetic or ferrimagnetic
nanoparticles. The principle is, for example, to coat the magnetic
nanoparticles with a suitable entity, such as an antibody or
antibody fragment, or a suitable ligand, for which a corresponding
antigen or receptor resides in some abundance on the surface of
the target entities. Under favorable conditions and with suitably
designed selective targeting, it is then possible to mix the
surface-functionalized magnetic nanoparticles with the patient's
blood—for example by injecting the functionalized nanoparticles
into the patient's bloodstream, or into the extracorporeal loop at
a position upstream from the magnetic filter 34—to thereby
magnetically label the target entities, and to thereafter remove
those entities by passing them through the magnetic filter 34.
[0069] In operation, a catheter is placed into a blood vessel of a
patient and the Luer-type or other connector of the catheter is
connected to the Luer-type connector 14 of the input conduit 25.
In one embodiment, the catheter has an input lumen that is
connected to the input conduit 25 of the system 10 and an output
lumen that is connected to the output conduit 42 of the system 10.
The input conduit 25 draws blood from the input lumen of the
catheter upstream from the discharge of blood which is replaced
from the output conduit 42 through the output lumen of the
catheter. In another embodiment, the input conduit of the system
is connected to a single lumen catheter and the output conduit is
connected to a second single lumen catheter. The two catheters can
then be introduced into different veins or arteries of the
patient.
[0070] In more detail, the pump 22 in the input conduit 26 draws
blood from the patient and passes it through the magnetic filter
34. The saline drip 62 is mixed with heparin from a syringe pump
64 and mixes with the blood flowing through the input conduit 25.
Once the blood passes through the filter 34, it is pumped through
the output conduit 42 back into the patient through another lumen
of the catheter or another catheter in the blood vessel of the
patient. An air detector 46 assures that no air bubbles are in the
blood stream returning to the patient. An air bubble removal
device 43 can be included to remove any bubbles from the blood
stream. In one embodiment, the air bubble removal is achieved by
using gas-permeable plastic tubing throughout the blood circuit.
[0071] FIG. 13 is a graph of a model calculation of the removal of
blood cells infected with a parasite, such as malaria, from the
blood as a function of total blood filtered assuming a 90% single
pass efficiency, a 2% initial parasite load and a total blood
volume of 5 L. As this graph shows, with this present system the
bacterial, viral, parasitic, or toxic load on a patient can be
removed or lowered using simple filtration. This is especially
important in locations where drugs to treat the infection are
difficult to obtain.
[0072] A number of implementations have been described.
Nevertheless, it will be understood that various modifications may
be made without departing from the spirit and scope of the
disclosure. For example, various forms of the flows shown above
may be used, with steps re-ordered, added, or removed.
Accordingly, other implementations are within the scope of the
following claims.
[0073] The examples presented herein are intended to illustrate
potential and specific implementations of the present disclosure.
The examples are intended primarily for purposes of illustration
of the invention for those skilled in the art. No particular
aspect or aspects of the examples are necessarily intended to
limit the scope of the present invention. The figures and
descriptions of the present invention have been simplified to
illustrate elements that are relevant for a clear understanding of
the present invention, while eliminating, for purposes of clarity,
other elements. Those of ordinary skill in the art may recognize,
however, that these sorts of focused discussions would not
facilitate a better understanding of the present disclosure, and
therefore, a more detailed description of such elements is not
provided herein.
[0074] The processes associated with the present embodiments may
be executed by programmable equipment, such as computers. Software
or other sets of instructions that may be employed to cause
programmable equipment to execute the processes may be stored in
any storage device, such as, for example, a computer system
(non-volatile) memory, an optical disk, magnetic tape, or magnetic
disk. Furthermore, some of the processes may be programmed when
the computer system is manufactured or via a computer-readable
memory medium.
[0075] While this disclosure contains many specifics, these should
not be construed as limitations on the scope of the disclosure or
of what may be claimed, but rather as descriptions of features
specific to particular implementations of the disclosure. Certain
features that are described in this disclosure in the context of
separate implementations can also be provided in combination in a
single implementation. Conversely, various features that are
described in the context of a single implementation can also be
provided in multiple implementations separately or in any suitable
subcombination. Moreover, although features may be described above
as acting in certain combinations and even initially claimed as
such, one or more features from a claimed combination can in some
cases be excised from the combination, and the claimed combination
may be directed to a subcombination or variation of a
subcombination.
[0076] Similarly, while operations are depicted in the drawings in
a particular order, this should not be understood as requiring
that such operations be performed in the particular order shown or
in sequential order, or that all illustrated operations be
performed, to achieve desirable results. In certain circumstances,
multitasking and parallel processing may be advantageous.
Moreover, the separation of various system components in the
implementations described above should not be understood as
requiring such separation in all implementations, and it should be
understood that the described components and systems can generally
be integrated together in a single product.
[0077] The aspects, embodiments, features, and examples of the
disclosure are to be considered illustrative in all respects and
are not intended to limit the disclosure, the scope of which is
defined only by the claims. Other embodiments, modifications, and
usages will be apparent to those skilled in the art without
departing from the spirit and scope of the claimed invention.
[0078] Unless otherwise indicated, all numbers expressing lengths,
widths, depths, or other dimensions and so forth used in the
specification and claims are to be understood in all instances as
indicating both the exact values as shown and as being modified by
the term “about.” As used herein, the term “about” refers to a
±20% variation from the nominal value. Accordingly, unless
indicated to the contrary, the numerical parameters set forth in
the specification and attached claims are approximations that may
vary depending upon the desired properties sought to be obtained.
At the very least, and not as an attempt to limit the application
of the doctrine of equivalents to the scope of the claims, each
numerical parameter should at least be construed in light of the
number of reported significant digits and by applying ordinary
rounding techniques. Any specific value may vary by 20%.
[0079] The invention may be embodied in other specific forms
without departing from the spirit or essential characteristics
thereof. The foregoing embodiments are therefore to be considered
in all respects illustrative rather than limiting on the invention
described herein. Scope of the invention is thus indicated by the
appended claims rather than by the foregoing description, and all
changes which come within the meaning and range of equivalency of
the claims are intended to be embraced therein.
[0080] It will be appreciated by those skilled in the art that
various modifications and changes may be made without departing
from the scope of the described technology. Such modifications and
changes are intended to fall within the scope of the embodiments
that are described. It will also be appreciated by those of skill
in the art that features included in one embodiment are
interchangeable with other embodiments; and that one or more
features from a depicted embodiment can be included with other
depicted embodiments in any combination. For example, any of the
various components described herein and/or depicted in the figures
may be combined, interchanged, or excluded from other embodiments.