rexresearch.com
Laird GOGINS
Infinity Transmission
95% Efficient, improves mileage-per-gallon,
smooth, infinite number of gear ratios
Tiffany
DeMasters ( Deseret News ) : "Mechanical genius —
Local inventor's eco-friendly transmission..."
US Patents :
US7121160 -- Mechanical transmission
US4194407 -- Variable speed transmission
US5392664 -- Continuously variable
transmission
US4116083 -- Variable speed transmission
US3913698 -- Variable speed transmission
US4936155 -- Infinite speed variation,
constant power, ripple-free transmission
US4333555 -- Variable speed transmission
Laird GOGINS
Infinity
Transmission
http://www.youtube.com/watch?v=0fq9nPX6rkU
Laird Gogins new patented speed
reducer
95% efficient cam-based transmission. The non-linear
calculation to make a cam that has a ripple-free output
...
http://www.deseretnews.com/article/635179379/Mechanical-genius--Local-inventors-eco-friendly-transmission-has-23-foreign-patents-pending.html?pg=all
Feb. 9 2006
Mechanical genius — Local
inventor's eco-friendly transmission has 23 foreign
patents pending
by Tiffany DeMasters,
Deseret News
Summary
For many people their dream is to develop new
ideas to improve the nation's quality of life, and an
82-year-old Salt Lake inventor said he has accomplished his
dream.
For many people their dream is to develop new ideas to improve
the nation's quality of life, and an 82-year-old Salt Lake
inventor said he has accomplished his dream.
Laird Gogins, founder of Infinity Transmissions, has been an
inventor all his life. "I've been doing inventions since I was
half the size of my shoes," Gogins said. He has always been
interested in creating things.
"Inventing is a learning process — it's working in a world
that provides solutions," Gogins said.
His lifetime goal was to create a transmission that runs
smooth, is more cost-effective and environmentally friendly.
After 35 years of experimenting, he came up with a prototype
that fulfilled those requirements.
"I built the ultimate transmission so I don't have to bother
with it anymore," Gogins said.
His son, Scott Fechner, decided to help Gogins with his
project four years ago after seeing his prototype.
Fechner had not been working for Gogins for about seven years
when Gogins called and told him about the transmission.
Fechner said he saw that Gogins had accomplished what he had
been working on over the years through his prototype.
"He's one of the few people that I would actually use the word
genius," Fechner said.
Gogins said the transmission will change the world because it
would increase mileage in a car from 20 mpg to 30 mpg. "We
wouldn't even need a teacup of oil from the Middle East,"
Gogins said.
Mark Greer, marketing director for Infinity Transmissions, has
been working with Gogins for four years.
"We were both looking for a solution toward making a much more
simple compact mechanical transmission," Greer said.
He said the transmission can go in bikes, cars, helicopters
and anything that has a motor. "Even a blender could benefit
from this," Greer said.
"The man's a creative genius — he sits and dreams and these
things just come to him," Greer said. "He's intuitive."
Greer said it has been an adventure trying to make the message
simple.
"I think the joy of seeing this mechanical magnitude come to
life was exciting," Greer said. "It's kind of a warm and fuzzy
feeling for me."
The transmission is starting in the industrial speed ranges,
and they are optimistic that it will move into cars soon after
that.
Currently, Gogins said there are 23 foreign patents pending on
the transmission. Fechner added the U.S.-based cycling company
SRAM signed an agreement with Infinity Transmissions stating
that when the product hits the market SRAM gets first dibs.
"I can see a wave effect happening, but change always takes an
initial investment," Fechner said. "The most difficult part is
convincing people that it's worth the adventure."
Chris Russell, chief scientist on the project, has been
working with Gogins on the transmission since 1976.
"He (Gogins) came up with the ideas of how to build the thing
physically, and I had to figure out the shape to make it work
— there were many crucial factors that played into it but
Laird's ideas were the starting point," Russell said.
According to www.auto.howstuffworks.com/transmission.htm, a
transmission's primary job is to allow a car's engine to
operate in four or five different speeds. The driver then
pushes on the gas pedal to provide different in-between
speeds. Without a transmission, a car would be limited to one
gear ratio, and that ratio would have to be selected to allow
the car to travel at a desired speed.
The transmission uses gears to make more effective use of the
engine and keeps the engine operating at an appropriate speed.
Today's four- and five-speed automatic transmissions need
torque converters with coolant, radiators and hoses — all of
which cause loss of power and efficiency. Gogins invented a
transmission that needs none of those parts.
Gogins' transmission has two identical cams 180 degrees across
from each other on the input shaft. The first pair of cams
provides engine drive and the second pair of cams provides
load drive. The first pair drives the output shaft and the
second pair drives the engine for engine braking.
Output speeds are varied by moving a rack gear's power takeoff
along cam-driven oscillating levers. When the PTO is at a
pivot point, the output speed is zero and in principle,
Fechner said, Gogins' transmission will have an infinite
number of gear ratios.
Fechner added the transmission will lead to cleaner air and
longer-lasting vehicles.
Gogins attended the University of Minnesota where he majored
in physics. He taught countermeasures electronics in the U.S.
Navy during World War II.
Gogins has interests outside the scientific field. He has
invested a lot of his time supporting the arts.
Gogins founded the Contemporary Gallery and School of Arts
around 1980. The gallery had concerts and exhibits.
Fechner was raised by Gogins from the time he was 8 years old.
Growing up with Gogins, he said he ended up with a very
interesting perspective on life.
"I was raised looking at the world with much bigger eyeballs,"
Fechner said.
Fechner said along with being an inventor, Gogins studied
philosophy and was an accomplished artist.
He said working with Gogins has given him the opportunity to
make things better.
"He taught me how to trouble-shoot and be able to apply those
skills in different areas of my life," Fechner said. "I'm not
an inventor, I've just picked up a variety of skills by
helping him."
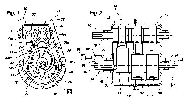
Mechanical transmission
US7121160
[ PDF
]
A constant power mechanical transmission with
seamless, ripple free, infinitely variable torque multiplying
outputs comprises an input shaft and an output shaft. The
input shaft is coupled to a pair of oscillating levers whereby
rotation of the input shaft causes oscillation of the
oscillating levers in opposite directions. The oscillating
levers are linked to the output shaft with one-way clutches in
order to cause rotation of the shaft upon movement of the
oscillating levers. The rotational speed of the output shaft
can be infinitely varied by changing the throw of the
oscillating levers.
BACKGROUND OF THE INVENTION
1. Technical Field
This invention relates to mechanical
apparatus for changing the speed and torque of the output shaft of
a prime mover relative to its input shaft. More specifically, this
invention is directed to an apparatus for providing up to an
infinite number of seamless, ripple free changes of speed and
torque from a power source such as a gas or diesel engine, an
electric motor, a jet engine, a steam engine, the crank of a
bicycle, or the like.
2. Background Art
Historically, significant efforts have been directed
to the provision of transmission assemblies adapted for
changing the speed and torque of a power source. Many of these
assemblies have involved the use of ratchet drives,
eccentrically-oriented cam assemblies, and variable length
lever arms. Representative of past efforts in this regard are
the structures disclosed in the following issued patents: U.S.
Pat. Nos. 629,389; 3,803,931; 4,630,830; 4,487,085; 6,068,570;
4,936,155.
For example, U.S. Pat. No. 629,389 discloses a bicycle in
which it is stated, "The gear may be changed by substituting
larger or smaller pulleys." Thus, one would have to get off
the bike, take out his tool kit, take-off the pulleys and
attach new and different pulleys to change gear ratios.
Furthermore, U.S. Pat. No. 629,389 is a one speed
transmission.
U.S. Pat. No. 4,936,155 discloses a transmission to provide
constant power, speed changing and torque multiplication. The
invention utilizes "a variable throw cam and cam follower
system to provide ripple free output speeds and wide ranging
torques." The cam follower wheel makes point contact with said
cam. With this configuration, the cam follower of the present
transmission makes line contact with the cam, thus limiting
torque and power capacity.
U.S. Pat. No. 3,803,931 discloses "a variable speed
transmission device comprises an output shaft rotated from a
first eccentric member through unidirectional couplings", thus
rippled output speeds.
In U.S. Pat. No. 4,487,085, "The cam is tapered from one end
to the other to permit the gear ratio of the transmission to
be varied in infinite increments by adjusting the position of
the cam relative to the followers." Power must pass the power
through a tiny point of contact greatly limiting the power
capacity of the transmission.
In U.S. Pat. No. 4,630,839, "A bicycle having pivoted level
pedal system (1, 2, 45) and lever arm length or gear ratio
(speed) change devices (3, 4, 5, 6)" is disclosed.
The device of U.S. Pat. No. 4,630,839 does not provide any
means for removing ripple and, therefore, cannot provide
seamless, ripple free outputs.
U.S. Pat. No. 6,068,570 utilizes eccentrics 14 and 25 which it
refers to as cams. The eccentrics 14 and 25 cannot provide
ripple free outputs. Furthermore, the transmission of U.S.
Pat. No. 6,068,570 does not provide means to produce an
infinite number of output speeds.
Thus, it would be advantageous to provide an infinitely
variable torque multiplying, substantially constant power
mechanical transmission that produces ripple free outputs,
requires fewer components to assemble, is easier to
manufacture, is adaptable to any prime mover providing ease of
shifting, allows power shifting under load, can provide
compression braking and can handle substantially more power
and torque than prior art transmissions.
SUMMARY OF THE INVENTION
The instant invention includes an input shaft
journaled in a restraining support or housing, one or more
oscillators, two or more output levers driven by one or more
oscillators. The output levers are coupled to one-way clutches
on the output shaft. The throw on the output levers is by
selection and infinitely variable in order to change the
rotational speed of the output shaft.
In one embodiment the oscillators, levers and their respective
fulcrum blocks may be rotatably coupled on a concentric shaft
slidably splined on the input shaft for axial displacement
relative to the fixed location of power take-offs.
In another embodiment the output slides are moveable and the
oscillators are not axially moveable.
In all embodiments the movement of the power take-off members
may be self powered and self locking.
Various oscillator configurations are contemplated, related
but not limited to a slidable member on slide guides, wherein
oscillators are adapted for back and forth linear displacement
of a member along the length of those guides.
In other embodiments an oscillator may be a cam wherein a
single cam will drive two levers.
In yet further embodiments two drive cams, 180[deg.] apart,
may drive the two power levers.
In another configuration, each cam drives its power lever
while another cam is configured to keep the drive cam follower
wheel in contact with the drive cam at all times.
In yet another configuration a spring is used to keep a cam or
eccentric follower wheel in contact with the cam.
In another configuration a pair of rollers journaled on the
power take-off ride on the lever while a spring holds the
lever in contact with these rollers.
In another arrangement rack gears on the output slide drive a
pinion gears integral with overrunning clutches journaled on
the output shaft.
In some embodiments a single cam drives two cam followers
180[deg.] apart kept in contact with the cam by spring forces.
Likewise, the single cam may have an inner and an outer race,
with one biasing cam follower wheel riding on the outer face
and another cam follower wheel riding on the inner race with
two cam follower wheels journaled on each independent axle.
The instant invention may be adapted to include structures for
selectively applying vector longitudinal force generated by
transmission power levers directly on the cam/follower
assemblies thereby power shifting the assemblies along the
length of a shaft on which they are mechanically associated.
In some embodiments the instant invention may include a
control slide, constrained in a groove or along guide rails
attached to the transmission housing, and integral with cam
follower (oscillator) slide guides and fulcrum blocks
connecting rods.
In some embodiments the control slide is contoured with
grooves having oppositively oriented inclined planes wherein
rollers biased in cages against the oppositely angled inclined
planes in the grooves function as opposed linear one-way
clutches to lock the control slide to the housing or to
selectively bias the rollers by moving the cage one way or the
other wherein the lever forces generated within the
transmission may move the control slide one way or the other,
thus providing power shifting and automatic clamping.
In another embodiment the one-way clutch cavities, rollers and
cages may be in the power take-offs and automatically hold the
power take-offs in selected positions or allow them to be
moved by interior lever forces in one direction or the other
on power levers.
Screw or hydraulic positioners or the like may be used to move
or to hold the control slide.
One end of the cam driven lever provides zero output speed and
maximum output torque. The other end of the lever, which may
extend beyond the cam drive connection, provides the maximum
output speed and a smaller output torque. Thus, the instant
invention is an infinitely variable constant power
transmission.
In another embodiment, by not including a moveable control
slide, the transmission may be used as a low cost, power
dense, one or two fixed speed reducer.
In yet another embodiment cam shaped links, sans cam
followers, effectively remove ripple free selected output.

Variable speed transmission
US4194407
[ PDF ]
The variable speed transmission includes a power
input drive shaft and a variable throw crank having a zero
throw position aligned with the input shaft. The variable
throw crank is coupled to the input shaft for rotation
therewith and its eccentricity with respect to the axis of
rotation of the input shaft can be varied. A control plate,
also referred to as a master link, is rotatably mounted on the
crank and a plurality of clutches having input and output
shafts are operatively connected to the control plate through
a plurality of pitman type links, whereby the control plate
oscillates the input shafts of the clutches upon rotation of
the power input shaft and variable throw crank of the
transmission. The outputs of the clutches are connected to an
output shaft for the transmission. By varying the throw of the
variable throw crank the ratio between the rotary speed of the
output shaft can be infinitely adjusted from zero to a maximum
ratio determined by the maximum eccentricity of the variable
throw crank with respect to the axis of rotation of the input
shaft. A preferred embodiment is to revert the above.
The present invention relates to variable speed transmission
devices and more particularly to a transmission device which
is infinitely variable over a predetermined range.
The infinitely variable transmission of the present invention
permits variation in speeds between the power input shaft to
the transmission and the power output shaft, as well as torque
multiplying and positive drive mechanical power transmission
over an extremely broad range of speeds in either forward or
reverse directions, from zero to several times the input
speed. The output torque with the transmission of the
invention is inversely proportional to the output speed with
high efficiency throughout its entire range. And, in the
transmission of the present construction, there is no apparent
torque or power limit too large for the transmission to
effectively handle.
Although infinitely variable transmissions have been
previously proposed, such transmissions are relatively complex
and require a large number of moving parts, such as shown for
example in U.S. Pat. Nos. 3,803,931 and 3,229,549. By the
construction of the present invention an infinitely variable
transmission is provided which is smaller in size and formed
of fewer and simpler parts as compared to previously proposed
transmissions of this type. Moreover, the transmission is
economical to manufacture and should be far easier to maintain
than conventional transmissions it is intended to replace. It
is believed that the use of this transmission in an automobile
could double the automobile's mileage by allowing the
automobile engine to operate at its more efficient fuel
effective low speed high torque mode more often, regardless of
vehicle speed. It also makes the single shaft Brayton engine
practicel. In addition, the variable throw feature of the
present invention can be used in other types of transmissions
apart from auto transmissions of the type with which applicant
is principally concerned herein and the novel clutch used in
the transmission of the present invention is an important
element by itself, and can be used apart from the transmission
disclosed herein. In particular, this clutch element can serve
as a slip clutch, indexing, overrunning, or centrifugal clutch
in many applications. The clutch element does not rely on
mechanical parts slipping against one another or jamming as in
a sprag clutch, and therefore will be more durable in use.
In accordance with one aspect of the present invention a
variable speed transmission is provided which includes a power
input shaft and a variable throw crank rotatably mounted with
respect to the power input shaft, but connected thereto for
rotation with the shaft. The crank has a zero throw position
aligned with the axis of rotation of the input shaft, and
means are provided for varying the throw of the crank with
respect to the power input shaft so that rotation of the power
input shaft will cause the crank to rotate about its axis of
rotation.
A master link or control plate is rotatably mounted on the
crank and means are provided for preventing rotation of the
plate on the crank while allowing the plate to move with the
crank as the crank rotates within the plate. The transmission
also includes a power output shaft and a plurality of clutches
operatively connected between the control plate and the output
shaft for transmitting power from the plate to the output
shaft in response to movement of the plate about the axis of
rotation of the power input shaft when the input shaft is
rotated and the variable throw crank is out of axial alignment
with the input shaft. As a result, the speed of rotation of
the output shaft is varied with the eccentricity of the
variable throw crank pin. The above described is reverted for
many applications.
The above, and other objects, features and advantages of this
invention will be apparent in the following detailed
description of an illustrative embodiment thereof, which is to
be read in connection with the accompanying drawings, wherein:
Continuously variable
transmission
US5392664
[ PDF ]
A transmission for providing continuously variable
speed and torque comprises a housing, an input shaft, a system
of variable throw eccentrics, control means for changing
eccentric throw of the variable throw eccentrics, connecting
links for receiving eccentric throw from the system of
variable throw eccentrics and transmitting it as reciprocal
motion and removing ripple from the output, one-way clutches
for receiving reciprocal motion from connecting links and
transmitting it as rotational motion, and an output shaft. The
control means comprise a control shaft rotatably disposed
around the input shaft so that both shafts have the same
rotational axis and with a fork fixed to the control shaft, a
pin fixed at one end to an eccentric and engaged between the
prongs of the fork, and means for rotating the control shaft
with respect to the input shaft, thus changing the eccentric
throw and the transmission ratio. Reversible and nonreversible
hydraulic one-way clutches, means for reversing rotation of
the output shaft, and means for compression braking are also
within the scope of the invention.
BACKGROUND OF THE INVENTION
This invention relates to a transmission for
and a method of changing speed and torque from an input power
source. More particularly, the invention relates to a
transmission for and a method of selecting from an "infinite"
number of output torques and speeds, from maximum to as low as
zero output speed, for vehicles, industrial speed changers,
and the like, wherein ripple, or variation in rotational speed
induced by crank action, is removed from the output.
Numerous devices and methods have been devised to change the
speed and torque from a prime mover. One category of such
devices and methods involves variable and fixed speed
transmissions known as ratchet drives. Transmissions of this
type include those that contain variable thro cranks, variably
displaced fulcrums, and variable length lever arms.
An example of a variable throw system is described in U.S.
Pat. No. 3,915,129 by Rust. In this device, a timing cam, with
a distance from axis of rotation to cam surface that varies
along its axis of rotation, is used to vary valve operating
characteristics as a function of the position of a cam
follower along the axis of rotation of the cam. Examples of
other such devices have been described in U.S. Pat. No.
3,915,129; U.S. Pat. No. 3,229,546; U.S. Pat. No. 2,159,739;
Italian Pat. No. 460047; and French Pat. No. 590,087.
Transmissions usually have fixed gear ratios that, although
suitable for many uses, may be inadequate when the speed or
torque needed is not efficiently provided by available gear
ratios. For example, if the lowest gear ratio provided by a
transmission having certain fixed gear ratios does not provide
sufficiently low speed or sufficiently high torque for a given
application, then the transmission is not suitable for the
job. Thus it would be advantageous to provide a transmission
that can furnish an infinite number of gear ratios and,
consequently, an infinite number of output speeds and torques,
between zero and some maximum.
Another problem associated with many transmissions is that
shifting between gear ratios involves loss of power. Shifting
gears while driving a motorized vehicle uphill illustrates
this problem, inasmuch as the loss of power associated with
shifting gears rapidly results in a loss of momentum. Thus, it
would be advantageous to provide a transmission that could be
shifted between an infinite number of available gear ratios
without interrupting output power.
Additionally, many industrial machines are powered by constant
speed electrical motors. Thus, it would be desirable to
provide an industrial speed changer that can provide a wide
variety of output speeds and torques. Because of the large
variety of uses for such speed changers, it would be desirable
to have a family of industrial speed changers that could fit
the many needs for them, yet that could be manufactured from a
few identical parts.
Certain applications require wide ranges in transmission gear
ratios, such as in certain types of bicycles. Since a human
does not generate much power except at certain pedaling
speeds, it would be advantageous to provide a transmission
that, efficiently furnishes a wide range of selectable gear
ratios to allow for increased speed and distance for the same
or less effort.
It would also be advantageous to provide a transmission that
is inexpensive to build, yet reliable. Such a transmission
would be suitable for many different kinds of vehicles, from
bicycles to motorized vehicles such as cars, trucks, buses,
trains, tractors, and the like.
Also, a transmission that is light in weight and has a wide
range of transmission ratios would not only provide improved
fuel economy, but also improved acceleration and hill climbing
ability.
OBJECTS AND SUMMARY OF THE INVENTION
It is an object of the present invention to provide
a transmission or torque-multiplying, constant power speed
changer that is inexpensive, reliable, and can supply an
infinite number of speed ratios and be easily shifted.
It is also an object of the invention to provide a low cost,
light weight vehicular transmission that, because of its wide
ratio range, improves fuel economy, acceleration, and control
ability of land, air, and water vehicles.
It is another object of the invention to provide a low cost
industrial speed changer that can be driven by a
constant-speed motor and efficiently provide a wide variety of
output speeds and torques.
It is a further object of the invention to provide a
transmission with a wide ratio range and high efficiency that
would be suitable for use in a bicycle.
These and other objects may be realized in an illustrative
embodiment of a transmission comprising a housing, a rotatable
input shaft for receiving a rotational input having a certain
speed, one or more variable throw eccentrics longitudinally
disposed on the input shaft, a mechanism for selectively
changing eccentric throw of the eccentrics between a minimum
throw (which may be zero) and a maximum throw, a rotatable
output shaft for providing a rotational output having selected
speeds and torques, one or more one-way clutches mounted on
the output shaft, and connecting links coupled between the
eccentrics and the clutches for transmitting motion from the
eccentrics to the clutches to, in turn, cause rotation of the
output shaft and for removing ripple from the output. Ripple
is removed from the output shaft speed
by guiding the connecting links in selected paths to
effectively change the lengths and motion of certain links so
that rotation of the clutches is slowed or accelerated during
certain phases of rotation to provide constant output speeds
of the output shaft, at desired transmission ratios.
Novel hydraulic one-way clutches may be utilized to drive the
output shaft as the clutches rotate in one direction, and
rewind as the clutches rotate in the opposite direction.
Output rotation may be reversed by use of a reversible
hydraulic clutch, by a spur gear differential, or by other
methods.
The transmission of the present invention may be used to
provide compression braking for an engine driven vehicle by
mounting the transmission in the opposite orientation to the
drive train of the vehicle .


Variable speed transmission
US4116083
[ PDF
]
The variable speed transmission includes a power
input drive shaft and a variable throw crank having a zero
throw position aligned with the input shaft. The variable
throw crank is coupled to the input shaft for rotation
therewith and its eccentricity with respect to the axis of
rotation of the input shaft can be varied. A control plate,
also referred to as a master link, is rotatably mounted on the
crank and a plurality of clutches having input and output
shafts are operatively connected to the control plate through
a plurality of pitman type links, whereby the control plate
oscillates the input shafts of the clutches upon rotation of
the power input shaft and variable throw crank of the
transmission. The outputs of the clutches are connected to an
output shaft for the transmission. By varying the throw of the
variable throw crank the ratio between the rotary speed of the
output shaft can be infinitely adjusted from zero to a maximum
ratio determined by the maximum eccentricity of the variable
throw crank with respect to the axis of rotation of the input
shaft. A preferred embodiment is to revert the above.
The present invention relates to variable speed transmission
devices and more particularly to a transmission device which
is infinitely variable over a predetermined range.
The infinitely variable transmission of the present invention
permits variation in speeds between the power input shaft to
the transmission and the power output shaft, as well as torque
multiplying and positive drive mechanical power transmission
over an extremely broad range of speeds in either forward or
reverse directions, from zero to several times the input
speed. The output torque with the transmission of the
invention is inversely proportional to the output speed with
high efficiency throughout its entire range. And, in the
transmission of the present construction, there is no apparent
torque or power limit too large for the transmission to
effectively handle.
Although infinitely variable transmissions have been
previously proposed, such transmissions are relatively complex
and require a large number of moving parts, such as shown for
example in U.S. Pat. Nos. 3,803,931 and 3,229,549. By the
construction of the present invention an infinitely variable
transmission is provided which is smaller in size and formed
of fewer and simpler parts as compared to previously proposed
transmissions of this type. Moreover, the transmission is
economical to manufacture and should be far easier to maintain
than conventional transmissions it is intended to replace. It
is believed that the use of this transmission in an automobile
could double the automobile's mileage by allowing the
automobile engine to operate at its more efficient fuel
effective low speed high torque mode more often, regardless of
vehicle speed. It also makes the single shaft Brayton engine
practicel. In addition, the variable throw feature of the
present invention can be used in other types of transmissions
apart from auto transmissions of the type with which applicant
is principally concerned herein and the novel clutch used in
the transmission of the present invention is an important
element by itself, and can be used apart from the transmission
disclosed herein. In particular, this clutch element can serve
as a slip clutch, indexing, overrunning, or centrifugal clutch
in many applications. The clutch element does not rely on
mechanical parts slipping against one another or jamming as in
a sprag clutch, and therefore will be more durable in use.
In accordance with one aspect of the present invention a
variable speed transmission is provided which includes a power
input shaft and a variable throw crank rotatably mounted with
respect to the power input shaft, but connected thereto for
rotation with the shaft. The crank has a zero throw position
aligned with the axis of rotation of the input shaft, and
means are provided for varying the throw of the crank with
respect to the power input shaft so that rotation of the power
input shaft will cause the crank to rotate about its axis of
rotation.
A master link or control plate is rotatably mounted on the
crank and means are provided for preventing rotation of the
plate on the crank while allowing the plate to move with the
crank as the crank rotates within the plate. The transmission
also includes a power output shaft and a plurality of clutches
operatively connected between the control plate and the output
shaft for transmitting power from the plate to the output
shaft in response to movement of the plate about the axis of
rotation of the power input shaft when the input shaft is
rotated and the variable throw crank is out of axial alignment
with the input shaft. As a result, the speed of rotation of
the output shaft is varied with the eccentricity of the
variable throw crank pin. The above described is reverted for
many applications.
The above, and other objects, features and advantages of this
invention will be apparent in the following detailed
description of an illustrative embodiment thereof, which is to
be read in connection with the accompanying drawings, wherein:


Variable speed transmission
US3913698
[ PDF
]
The power transmission is a hydromechanical torque
multiplier that is infinitely variable over its operating
speed range. It comprises relatively few components, and is
highly efficient in its operation. Close control of the output
torque and speed is readily accomplished. The torque
multiplication and enhancement between the power input and its
output drive is a significant feature of the transmission
hereof. It may be constructed for small power operation, as
well as for hundreds of horsepower.
BACKGROUND AND SUMMARY OF THE INVENTION
The power transmission requires only hydraulic pumping, and no
hydraulic motor. It is thus smaller, lighter in weight, and
more economical than prior hydrostatic transmissions. Further,
at the high speed ratio of 1:1 no oil is pumped therein. Such
arrangement improves operating efficiency. There is no input
to output coupling across hydraulic fluid, and oil heating
losses are greatly reduced.
The invention transmissions are quieter in operation, and less
subject to wear or mal-adjustment. They span a wide variety of
advantageous applications, as: industrial variable speed
drives; snowmobile and vehicular transmissions; bicycle
multi-speed transmissions. In a snowmobile for example, its
compactness effects the replacement of the roller chain drive
now in general use, saves space, and lowers the
center-of-gravity of the snowmobile.
The invention device is a torque converter which comprises an
input shaft, siphon means associated therewith for feeding oil
from a sump through to a pump, and the oil is ejected as a jet
from a nozzle. The oil jet issuing from the nozzle impinges
upon circumferentially arranged buckets which reverse the flow
direction so as to impinge upon a runner vane. The reversing
buckets lie axially between the nozzle and the vane. The
runner vane is secured with the nozzle structure whereupon
cumulative torque is derived that is added to the input
torque. A valve is utilized to control the oil flow from the
nozzle. The pump may be a vane type, piston type, or
equivalent. The output drive may be gearing about the pump
housing, or gears combined with an external housing of the
transmission. The latter arrangement is particularly useful as
a snowmobile transmission, as will be described.

Infinite speed variation,
constant power, ripple-free transmission
US4936155
[ PDF
]
A variable transmission having an input shaft, a
lobed cam slidably splined on said shaft, and a plurality of
pivotedly mounted cam followers which mechanically engage the
cam is disclosed. The cam follwers are connected to an output
shaft through intermediation of a one-way clutch mechanism.
Each cam follower includes a steerable contact member whose
orientation may be modified to induce a coaxially directioned,
displacing force on the cam. The displacement of the cam
effects a shifting of the transmission ratio.
BACKGROUND OF THE INVENTION
1. Field of the Invention
The present invention relates generally to apparatus and
methods for changing speed and torque from a prime mover. More
particularly, the invention pertains to apparatus and method
for selecting infinite speed and torque variations for
vehicles, wind turbines and industrial speed changers through
selected use of a variable throw cam designed to smoothly
produce selected, ripple-free speeds and torques.
2. Statement of the Art
Numerous systems and methods have been proposed to change the
speed and torque from a prime mover. The present invention
relates generally to that class of variable and fixed speed
transmissions described as ratchet drives and more
particularly to the control mechanisms employed with such
drives. Transmissions of this type, known previously, include
variable throw eccentrics, variably displaced fulcrums and/or
variable length lever arms adapted to produce speed
variations. Such systems are shown, for example, in U.S. Pat.
No. 3,803,931; U.S. Pat. No. 3,517,913; U.S. Pat. No.
3,229,549; U.S. Pat. No. 3,073,173; U.S. Pat. No. 2,199,052;
U.S. Pat. No. 2,159,739; U.S. Pat. No. 3,915,129; Italian
Patent No. 460047 and French Patent No. 590,087.
Some of these known systems utilize planetary arrays of
one-way clutches while others utilize in-line arrays. Various
means of selecting the input-output ratios of the systems have
been proposed.
Another known transmission is shown in U.S. Pat. No.
4,116,083. This transmission reverts the power train so that
the common shaft is an input shaft instead of an output or
stator shaft. In this transmission, the housing operates as
the output member.
U.S. Pat. No. 1,770,132 (Van Soden-Fraunhofen) discloses a
gear system having cam followers positioned to ride atop a cam
turned by an input shaft. A lateral movement of the input
shaft displaces the followers on the cam to change the drive
ratio between input and output shafts.
U.S. Pat. No. 1,954,767 (Foster) discloses a variable speed
transmission wherein a cam is moved to change speed ratio and
wherein followers ride on the cams.
U.S. Pat. No. 2,554,463 (Klamp) discloses a variable speed
transmission having a plurality of cam followers arranged in a
substantially circular spacing about a cam.
Klamp suggests positioning the cam followers such that
alternate followers are simultaneously rotated in a common
direction during the same time period that the remaining cam
followers are rotated in an opposite direction. This
interrelationship facilitates the connection of adjacent pairs
of cam followers by tension springs which act as a means of
retaining the cam followers in contact with the cam.
U.S. Pat. No. 2,983,154 (Neukirch) suggests a variable speed
mechanical transmission having a plurality of cam followers
spacedly positioned about a centrally positioned cam. Neukirch
discloses housing-mounted springs which abut against the cam
followers and urge them into engagement against the cam. In
one embodiment (FIG. 10), Neukirch suggests the placement of a
roller on the cam follower.
U.S. Pat. No. 3,803,931 (Bianchini et al.) discloses a
variable speed transmission having two sets of cam followers
positioned in a substantially circular, spaced orientation
about a central cam. A set of cam followers is shown
positioned on each of the opposing sides of the disc-like cam.
U.S. Pat. No. 4,487,085 (Collins) discloses an infinitely
variable transmission wherein a cam follower includes a
rotatably mounted roller which is mounted within a yoke formed
within the cam follower.
In applicant's co-pending U.S. Pat. application, Ser. No.
753,044, filed July 2, 1985, applicant has disclosed an
Infinite Speed Variation, Constant Power, Ripple-Free
Transmission. The disclosed transmission uses a multi-lobed
cam, rotatably mounted on a shaft. Followers, positioned to
engage the cams, transmit the rotation of the cams to another
shaft through use of one-way clutches.
While the gearing systems and transmissions described in the
foregoing devices have proven desirable for use, it has been
found that such devices do not always permit easy, smooth
shifting to allow for effective selection of the infinite gear
ratios available with the devices.
SUMMARY OF THE INVENTION
The instant invention provides a generally
inexpensive, reliable, and infinitely variable, easily and
smoothly shifted transmission or torque-multiplying
speed-changing device system.
To provide constant power, speed changing and torque
multiplication, the invention utilizes a variable throw cam
and cam follower system to provide ripple-free output speeds
and wide ranging torques. One end of the cam lobe has zero
throw. The opposite end of the cam lobe has maximum throw.
There are an indefinite number of different throws between
these extremes.
A unique control means of the invention provides a smooth,
easy shifting of cams under the cam followers and under load
of a type described herein. In one embodiment of the
invention, the followers are mechanically associated with the
cam surfaces by a structural member which provides a steerable
anti-friction rolling action of the followers over the cam
surfaces, while the cam is longitudinally displaced under the
axially fixed follower(s) and while the cam turns under the
follower(s).
Alternatively, the cam may be axially fixed and the followers
slidably splined onto the input shaft so that they can be
slidably displaced. In this alternative embodiment, a similar
structural member provides a steerable, anti-friction rolling
action association of the cam followers vis-a-vis the cam. The
control means provide even minute displacement of the cams
longitudinally beneath the followers.
The invention provides an automatically controlled
transmission suitable for varying the propeller speed of a
wind turbine (the propeller being the prime mover). The
invention may also be used to provide an optimum propeller
speed for each wind speed, to selectively stall the propeller
by slowing it down in higher wind speeds. This permits maximum
generator output to be maintained but not exceeded at these
higher speeds, thereby increasing the energy output of wind
turbines.
The invention also provides an easily and smoothly shifted
transmission suitable for use with a bicycle that, because of
its wide ratio range and high efficiency, will allow a bicycle
rider to travel further and faster while using a minimum
amount of energy.
Additionally, the invention provides a smoothly shifted
industrial speed changer that can, while being driven by a low
cost, efficient, electrical motor, efficiently provide a wide
variety of output speeds, with output torque increasing while
output speeds decrease.
The invention provides a smoothly shifted vehicular
transmission that can, because of its wide ratio range,
greatly improve fuel economy and acceleration for cars,
trucks, buses, trains, tractors and planes.
Additionally, the invention provides a large family of low
cost, efficient,fixed ratio industrial speed changers whose
fixed ratios can be changed if necessary. A multiple variety
of these fixed ratio speed changers can be made from a few
identical parts.
Structurally, the instant invention includes an input shaft
journaled in a retaining housing. A lobed cam is splined on
the input shaft and adapted for sliding displacement along a
length of that shaft. One or more cam followers are pivotedly
mounted and axially constrained to the retaining housing or,
alternatively, to an output shaft journaled in the retaining
housing and held in a spaced relationship with the cam.
Various orientational arrangements of the cam followers
relative to the cam are within contemplation. For example,
some embodiments position the cam followers linearly in tandem
along the length of the cam. Other embodiments, for example,
utilizing two, three, four or more cam followers, position the
cam followers in a generally spaced circular arrangement about
a centrally positioned cam. In an embodiment having multiple
output shafts, cam followers associated with a common output
shaft may be arranged in tandem. The groups of tandemly
arranged cam followers, each group having its respective
output shaft, are positioned about a centrally positioned cam,
e.g., in a generally spaced circular arrangement.
In this alternative embodiment, the cam is axially fixed to
the input shaft. Whereas in the first embodiment the cam is
displaced relative to axially fixed cam followers, in this
alternative embodiment the cam followers are displaced
relative to an axially fixed cam.
Alternatively, one or more cam followers are splined on the
output shaft and adapted for sliding displacement along a
length of that shaft. Each cam follower is urged into a
mechanical engagement against the cam by a biasing means.
Various types of biasing means are contemplated within the
scope of the invention. Of those disclosed, one such means
relies on the mechanical characteristics of compressed
springs; a second biasing means utilizes an arrangement of
hydraulically actuated, piston-fitted cylinders oriented to
direct a force against each of the respective cam followers,
thereby urging those followers into a mechanical engagement
with the cam.
Each cam follower is fitted with a cam contact member
(hereinbefore described as a structural member) which may be a
rotatably mounted wheel or anti-friction roller which is
positionable to engage and ride upon the cam. The contact
member may be mounted to be steerable, i.e., the wheel's
orientation, i.e., its axis of rotation, relative to the
structure of the cam follower may be altered. This
steerability permits the cant or orientation of the roller,
relative to the cam surface on which it rides, to be changed.
A given alteration to the orientation of the wheel's axis of
rotation induces longitudinal, axially directed forces on both
cam follower and the cam itself. In those embodiments having a
displaceable cam, these forces effect a displacement of the
cam along the input shaft relative to the follower(s). In
those embodiments having displaceable followers, the followers
are displaced by the force. In both embodiments, the
fixedly-mounted cam follower or cam remains axially
stationary. The resulting displacement of the cam in the first
embodiment or the cam followers in the second embodiment
effects a change in the throw of the cam follower(s) as the
rotating cam is passed beneath the cam follower(s) during the
cam's displacement. The rim of the follower wheel never slides
on the cam while speed ratios are changed.
The invention discloses a steering means for controlling or
alternatively, maintaining the contact member's orientation.
This steering means may be actuatable externally from the
transmission itself.
Furthermore, the invention may include a control system which
includes a feedback mechanism for interrelating the steering
means with the actual position of the cam at any given time.
After the cam follower contact member has been steered and the
cam is thereby forcedly displaced to a desired location, the
feedback mechanism operates to reorient the cam follower
contact member to an equilibrium orientation, thereby reducing
and eliminating any axially directed force application to the
cam by the contact member at the selected ratio.
The cam followers mechanically engage an output or reaction
shaft by means of one or more one-way clutches. Although
various types of such clutches may be utilized in the
invention, e.g. sprag or roller type one-way clutches, the
invention may further include my unique hydraulic one-way
clutch. This hydraulic one-way clutch includes a rotor which
is fixedly mounted on an output shaft. The rotor is rotatably
mounted within the hollow cavity of a ring housing which, in
turn, may be the hub of a respective cam follower. The rotor
is spacedly positioned from the interior wall of the ring
housing, which housing defines an oblate cavity therein. A
plurality of extendible vanes are biasedly mounted within
channels recessed into the structure of the rotor. An
auxiliary channel communicates with each recess channel as
well as the innermost part of each vane. Each auxiliary
channel furthermore communicates with the exterior of the
rotor between each pair of vanes. The auxiliary channels are
adapted to selectively receive pressurized fluid and direct
that fluid against the innermost part of the respective vanes
and thereby forcefully displace those vanes from within their
respective recess channels outward toward the ring housing,
cavity-defining interior wall.
The vanes are adapted to abut against the interior wall and
thereby subdivide the space extant between the rotor and the
interior wall into a plurality of wedge-shaped cross-sectioned
subchannels. Upon a rotation of the rotor in a first
direction, the configuration of the annular channel and the
plurality of subchannels creates a high oil pressure within a
plurality of the subchannels as the rotor's rotation causes
the spatial volume of some of those subchannels to decrease.
The resulting hydraulic pressure creates essentially a
hydraulic or pressure linkage of the rotor with the ring
housing whereby a corresponding rotation of the rotor in the
first direction causes a rotation of the ring housing in the
same direction or vice versa. The outmost parts of the vanes
are configured so as not to include surface areas on which an
imposition of directed forces, by the described hydraulic
pressures, would induce a return of the vanes back into their
respective recess channels within the rotor. When the rotor is
rotated in the opposite direction, the ends of the vanes, due
to their configuration, provide a surface on which the
increasing oil pressure can act, there-by pushing the vanes
into the rotor, and dismantling the subchannels and
eliminating the linkage between the rotor and ring housing.
This occurs since there is no auxiliary channel from the other
side of the vane to allow oil pressure in under that vane.
Absent the linkage, the rotor turns freely in the ring housing
cavity with no related rotation of the ring housing. Note that
the ring housing cavity is kept filled with oil through
make-up passages leading from a lower pressure oil supply
source. The oil is filtered during operation by a filter
between the high pressure and low pressure areas of the
clutch. A check valve precludes oil from flowing out of the
high pressure area while permitting flow through the filter
into that area.
It should be clear that the rotor could be the driving member
and the housing the driven member of this clutch, or vice
versa.
Previous cam and cam follower variable transmissions have
varied the speed and/or torque of an output shaft by applying
heavy displacing forces directly on the cam, thereby
displacing it along the length of the input shaft. The instant
invention effects such a cam displacement by reorienting the
cant of the cam follower contact member. The rolling action of
the cam follower on the cam induces an axially directed force
on the cam which displaces the cam longitudinally along its
support shaft and relative to the cam follower. In a first
embodiment, the followers remains longitudinally fixed
relative to the cam throughout the transmission's operation.
In a second embodiment, the cam followers are made
longitudinally displaceable by the reorientation of the
contact member while the cam is longitudinally fixed.
Two embodiments of a control screw having a feedback means
associated therewith adapted for interrelating the orientation
of the cam follower contact member and the cam are disclosed.
One construction utilizes a pivoted feedback linkage which
mechanically relates the cam with a nut mounted on the control
screw. A given displacement of the cam operates to induce a
measured displacement of the control screw. A second control
embodiment makes use of a hydraulic flow valve to control
hydraulic pressure to a piston-fitted cylinder to interrelate
cam displacements with a follower contact member
reorientation.

Variable speed transmission
US4333555
[ PDF
]
The variable speed transmission includes a power
input drive shaft and a variable throw crank having a zero
throw position aligned with the input shaft. The variable
throw crank is coupled to the input shaft for rotation
therewith and its eccentricity with respect to the axis of
rotation of the input shaft can be varied. A control plate,
also referred to as a master link, is rotatably mounted on the
crank and a plurality of clutches having input and output
shafts are operatively connected to the control plate through
a plurality of pitman type links, whereby the control plate
oscillates the input shafts of the clutches upon rotation of
the power input shaft and variable throw crank of the
transmission. The outputs of the clutches are connected to an
output shaft for the transmission. By varying the throw of the
variable throw crank the ratio between the rotary speed of the
output shaft can be infinitely adjusted from zero to a maximum
ratio determined by the maximum eccentricity of the variable
throw crank with respect to the axis of rotation of the input
shaft. A preferred embodiment is to revert the above.purposes.
The present invention relates to variable speed transmission
devices and more particularly to a transmission device which
is infinitely variable over a predetermined range.
The infinitely variable transmission of the present invention
permits variation in speeds between the power input shaft to
the transmission and the power output shaft, as well as torque
multiplying and positive drive mechanical power transmission
over an extremely broad range of speeds in either forward or
reverse directions, from zero to several times the input
speed. The output torque with the transmission of the
invention is inversely proportional to the output speed with
high efficiency throughout its entire range. And, in the
transmission of the present construction, there is no apparent
torque or power limit too large for the transmission to
effectively handle.
Although infinitely variable transmissions have been
previously proposed, such transmissions are relatively complex
and require a large number of moving parts, such as shown for
example in U.S. Pat. Nos. 3,803,931 and 3,229,549. By the
construction of the present invention an infinitely variable
transmission is provided which is smaller in size and formed
of fewer and simpler parts as compared to previously proposed
transmissions of this type. Moreover, the transmission is
economical to manufacture and should be far easier to maintain
than conventional transmissions it is intended to replace. It
is believed that the use of this transmission in an automobile
could double the automobile's mileage by allowing the
automobile engine to operate at its more efficient fuel
effective low speed high torque mode more often, regardless of
vehicle speed. It also makes the single shaft Brayton engine
practicel. In addition, the variable throw feature of the
present invention can be used in other types of transmissions
apart from auto transmissions of the type with which applicant
is principally concerned herein and the novel clutch used in
the transmission of the present invention is an important
element by itself, and can be used apart from the transmission
disclosed herein. In particular, this clutch element can serve
as a slip clutch, indexing, overrunning, or centrifugal clutch
in many applications. The clutch element does not rely on
mechanical parts slipping against one another or jamming as in
a sprag clutch, and therefore will be more durable in use.
In accordance with one aspect of the present invention a
variable speed transmission is provided which includes a power
input shaft and a variable throw crank rotatably mounted with
respect to the power input shaft, but connected thereto for
rotation with the shaft. The crank has a zero throw position
aligned with the axis of rotation of the input shaft, and
means are provided for varying the throw of the crank with
respect to the power input shaft so that rotation of the power
input shaft will cause the crank to rotate about its axis of
rotation.
A master link or control plate is rotatably mounted on the
crank and means are provided for preventing rotation of the
plate on the crank while allowing the plate to move with the
crank as the crank rotates within the plate. The transmission
also includes a power output shaft and a plurality of clutches
operatively connected between the control plate and the output
shaft for transmitting power from the plate to the output
shaft in response to movement of the plate about the axis of
rotation of the power input shaft when the input shaft is
rotated and the variable throw crank is out of axial alignment
with the input shaft. As a result, the speed of rotation of
the output shaft is varied with the eccentricity of the
variable throw crank pin. The above described is reverted for
many applications.
VARIABLE SPEED TRANSMISSION
CA1130736 // CA1106645