
rexresearch.com
Linnard GRIFFIN
Hydrogen Generator
http://www.overunity.com/index.php?topic=3633.0
Griffin Electrolysis Forum
http://www.youtube.com/watch?v=va81PNJzYIg&feature=player_embedded#at=13
PbSn fireworks reaction from Dr.
Linnard Griffin
http://www.youtube.com/watch?v=lnj5Hp2W2FA&feature=relmfu
Dr. Linnard Griffin go cart run
on hydrogen from an Iron-acid reaction with catalyst
http://www.youtube.com/watch?v=S24mfAZzn8Q&feature=relmfu
Aluminium Iron Al Fe
electrolysis by Dr. Linnard Griffin
http://www.overunity.com
An Extended Time Operrational Study of a Hydrogen
Electricity Generator Based Off a Modification of the
Linnard Griffin Electrolysis Patent
[ PDF ]
by David B. Rybarczyk
20 Nov. 2007
US2010181204
Nickel-Zinc-Aluminum-Hydrogen
Production Reactor and Methods of Use
Inventor: GRIFFIN LINNARD GENE
EC: C25B5/00 IPC:
C25B1/02; C25B9/00
Abstract -- The
technology provides apparatus and methods for generating hydrogen
without applying electrical energy from an outside source. An
exemplary apparatus has an outer housing having an interior
divided into an upper portion and a lower portion separated by a
septum. The lower portion contains an electrolyte and a composite
electrode at least partially immersed in the electrolyte. The
electrolyte includes zinc hydroxide dissolved therein. The
composite electrode has an aluminum tube enclosing at least one
magnet. An outer surface of the electrode housing is at least
partially covered with nano-particles held in place by magnetic
attraction of the at least one magnet to form the electrode. The
magnetically-adherent nano-particles form a second electrode, in
direct contact with the first electrode. The generator apparatus
has a vent in communication with the upper portion of the interior
of the outer housing for removal of generated hydrogen.
BACKGROUND
[0001] 1. Technical Field
[0002] The technology relates to the production of hydrogen gas in
a generator that includes a pair of electrodes and an electrolyte,
and more particularly relates to the production of hydrogen
without applying an external source of electrical energy to the
electrodes, wherein at least one electrode comprises magnetic
nano-particles.
[0003] 2. Description of the
Related Art
[0004] Hydrogen gas is a valuable commodity with many current uses
and potentially wide ranging future uses. Currently many countries
are evaluating the installation of a "hydrogen highway" that would
provide hydrogen refueling stations for a national fleet of
hydrogen-powered vehicles. Currently, several auto manufacturers
(e.g., BMW and Honda) are demonstrating hydrogen powered vehicles.
[0005] Aside from the potential for large scale uses of hydrogen
to power automobiles, hydrogen also potentially provides a clean
fuel from which to generate electricity for other purposes. This
is especially desirable if the production of hydrogen does not
generate greenhouse gasses, or otherwise has a "small carbon
footprint" so that it has potential environmental benefits over
fossil fuels.
[0006] One of the methods of generating hydrogen is by the
electrolysis of water in an electrolysis cell. However, this
method requires an input of electrical energy that might be
generated by combustion of fossil fuels thereby releasing carbon
dioxide and other greenhouse gasses into the environment.
SUMMARY
[0007] An exemplary embodiment provides an apparatus for
generating hydrogen. The apparatus includes an outer housing
having an interior divided into an upper portion and a lower
portion separated by a septum. The lower portion contains an
electrolyte comprising zinc hydroxide dissolved therein, and
nano-particles comprising nickel. The lower portion also contains
a first electrode at least partially immersed in the electrolyte.
The first electrode has several features including a non-ferrous,
conductive electrode housing enclosing at least one magnet, with
the electrode housing at least partially covered with
nano-particles of nickel, tungsten, cobalt, or alloys of these. In
addition, the lower portion of the outer housing contains a second
electrode of aluminum that is at least partially immersed in the
electrolyte. The generator also has a vent in communication with
the upper portion of the interior of the housing for removal of
generated hydrogen.
[0008] Another exemplary embodiment provides an apparatus for
generating hydrogen that has an outer housing having an interior
divided into an upper portion and a lower portion separated by a
septum. The lower portion contains an electrolyte and a composite
electrode at least partially immersed in the electrolyte. The
electrolyte includes zinc hydroxide dissolved therein. The
composite electrode has several features including a non-ferrous,
conductive electrode housing enclosing at least one magnet. An
outer surface of the electrode housing is at least partially
covered with nano-particles held in place by magnetic attraction
of the at least one magnet to thereby form another electrode in
direct contact with the first electrode. The nano-particles may be
of nickel, iron, tungsten, cobalt, or alloys of these. The
generator apparatus has a vent in communication with the upper
portion of the interior of the outer housing for removal of
generated hydrogen.
[0009] Another exemplary embodiment provides a method of
generating hydrogen gas without applying electrical energy from an
outside source. The method includes the steps of providing an
electrolyte comprising zinc hydroxide, and disposing a first
electrode comprised of aluminum in the provided electrolyte. It
also includes disposing a second electrode comprised of a
non-ferrous housing in the electrolyte. The non-ferrous housing
contains at least one magnet and the outer surface of the housing
is at least partially covered with nano-particles of nickel,
tungsten, iron, cobalt, or alloys of these. In addition, the steps
include producing hydrogen gas at the first electrode without
applying a current from an external source to the first electrode
or to the second electrode, and collecting the hydrogen gas
produced.
[0010] A further exemplary embodiment provides yet another method
of generating hydrogen gas without applying electrical energy from
an outside source. The method includes the steps of providing an
electrolyte that includes zinc hydroxide, and disposing a first
electrode in the provided electrolyte. The first electrode is
comprised of aluminum and has a cavity formed therein that
contains at least one magnet. An outer surface of the first
electrode is at least partially covered with nano-particles that
form a second electrode in contact with the first electrode. The
steps further include producing hydrogen gas without applying an
external current to the electrode, and collecting the hydrogen gas
produced in the generator.
BRIEF DESCRIPTION OF THE DRAWINGS
[0011] For a more complete understanding of the present
technology, reference is now made to the following descriptions
taken in conjunction with the following drawings that are not to
scale, in which:
[0012] FIG. 1 illustrates
a simplified, exemplary embodiment of a hydrogen-producing cell
that has two electrodes; and
[0013] FIG. 2 illustrates
an alternative exemplary embodiment of a hydrogen-producing cell.
DETAILED DESCRIPTION
[0014] The exemplary embodiments provide hydrogen generators that
do not require the input of energy from an external source. More
particularly, the consumables for the exemplary embodiments of
hydrogen generators include aluminum electrodes and water only. At
least one electrode has a non-ferrous housing containing at least
one magnet, and nano-particles adhered thereto by magnetic forces.
In another feature, a coating of magnetic nano-particles is either
used to form an electrode or to form an integral part of an
electrode. In addition, the initiation, termination and rate of
hydrogen generation may be controlled by relatively simple
mechanisms.
[0015] FIG. 1 is a drawing of an exemplary two-electrode hydrogen
generator 100, which does not require the application of an
external electrical current. The configuration and materials may
vary and those skilled in the art will appreciate that actual
configurations may be influenced by capacity for hydrogen
generation, electrode size, electrode materials, and other
parameters.
[0016] Briefly, the generator 100 of FIG. 1 includes a housing 110
that is divided horizontally into an upper portion 112 and a lower
portion 114 by a septum 116. The lower portion contains two
electrodes 130 and 150. The electrodes 130, 150 are electrically
connected by a conductive element 160.
[0017] Generator 100 commences operation when electrolyte 125 is
supplied through electrolyte feeder tube 118 from the upper
portion 112 of the housing 110 to the lower portion 114. When the
electrolyte 125, described below, enters the lower portion 114
through the feeder tube 118, a chemical reaction begins and the
aluminum electrode 150 is consumed as the reaction proceeds. The
chemical reactions are described below. The chemical reactions,
and hydrogen production from the reactions, can be terminated by
the removal of the electrolyte 125 through the feeder tube 118, or
by another means including, but not limited to, a drain line at
the base of housing 110, not shown. Hydrogen gas produced at
electrode 130 is exhausted through vent tube 120. The production
of hydrogen continues until all the consumables are consumed. The
consumables include water and the electrode 150.
[0018] The exemplary generator of FIG. 1 includes an electrode 150
that is composed of aluminum. The other electrode, electrode 130,
is a composite structure and is composed of three elements. In
this exemplary embodiment, composite electrode 130 includes
firstly a non-ferrous tube electrically-conductive element, such
as a copper tube 132. Copper tube 132 encloses in its annular
cavity either a single magnet or a plurality of magnets 134.
Electrode 130 secondly includes one or more cylindrical magnets
134. These magnet(s) 134 may be diametrically polarized rather
than axially polarized, to enhance performance, but either will
suffice to the task. Diametric polarization may provide greater
efficiency in hydrogen generation. Thirdly, the electrode 130
includes nano-particles 140 attracted by magnet(s) 134 that adhere
by magnetic force to at least a portion of the outer surface of
tube 132. While these nano-particles are shown schematically as
spaced from the tube 132, for reasons of clarity, they are in fact
held to the outer surface of tube 132 to thereby complete the
structure of electrode 130. The nano-particles 140 may be selected
from magnetic particles such as nickel, iron, tungsten, cobalt,
and the like, and their alloys. Because of its multiple structural
features, electrode 130 may be regarded as a "composite
electrode."
[0019] Because of their high surface area to volume ratio, the
nano-particles provide a very large surface area from which the
electrode 130 releases hydrogen, when the two electrodes 130, 150
are connected to each other electrically via connector 160. To be
operative, the conductive electrical connection 160 connects
electrodes 130 and 150 to complete a circuit. Accordingly,
hydrogen production may be stopped by opening this electrical
connection but chemical reaction with the electrolyte and erosion
of the aluminum electrode 150 will continue for some time.
Hydrogen production may also be controlled by controlling the
electrical resistance of connector 160 either through material
selection, or through dimensions, or by adding a variable,
controllable resistance element to it.
[0020] The exemplary electrolyte 125 is aqueous and is produced
from a liquid mixture that includes colloidal silver, colloidal
magnesium, and sodium hydroxide and potassium hydroxide dissolved
in distilled water. Zinc is placed in this liquid mixture along
with a nickel electrode. The zinc is allowed to digest and the
resulting liquid mixture, after removal of any excess undigested
zinc, is the electrolyte 125.
[0021] In another exemplary embodiment, that may be scaled up or
down as to volumes and weights, the exemplary electrolyte
includes:
[0022] 50 ml colloidal silver
[0023] 50 ml colloidal magnesium
[0024] 50 ml distilled water
[0025] 20 grams sodium hydroxide
[0026] 20 grams potassium hydroxide
[0027] This mixture may be placed in a container that includes a
nickel electrode and a zinc electrode of about 7 grams of
elemental zinc. The zinc is allowed to digest. After digestion,
the remaining zinc is removed. The liquid mixture produced is an
example of an electrolyte.
[0028] It is theorized, without being bound, that in the generator
100 of FIG. 1, an exchange reaction takes place on the surface of
the aluminum electrode 150 with the zinc hydroxide in the
electrolyte solution. This reaction forms metallic zinc on the
surface of the aluminum. This metallic zinc in turn reacts with
the nano-particles 140 producing hydrogen gas at electrode 130.
[0029] It is further theorized, without being bound, that during
hydrogen production, the zinc hydroxide of the electrolyte is
reduced to zinc on the aluminum electrode. The zinc reacts with
the nano-nickel (or nano-particles of iron, cobalt, tungsten, and
the like) in the strong base electrolyte, thereby producing
hydrogen on the nano-particle covered electrode 130.
[0030] It was observed that there is some hydrogen produced off
the surface of the aluminum electrode 150. It is theorized,
without being bound, that this results in an apparent greater
hydrogen production than might be expected from stoichiometry.
This hydrogen, it is believed without being bound, results from a
further reaction that converts ZnOH to Zn and a reaction
converting the aluminum to form Al2O3. It is theorized, without
being bound, that the following reactions A, B take place:
[0000] 6ZnOH+4Al=6Zn+2Al2O3+3H2 [A]
[0000] 2Zn+NaOH/KOH (in presence of Nickel)+2H2O=2ZnOH+NaOH/KOH+H2
[B]
[0031] Regardless of any theory, the exemplary hydrogen generator
of FIG. 1 provides a controlled rate of hydrogen production.
[0032] FIG. 2 illustrates an alternative exemplary embodiment. In
this embodiment, the generator 100 also includes a housing 110
divided into upper 112 and lower 114 portions by a horizontal
septum 116. In comparison with the example of FIG. 1, the
non-ferrous tube 132 is eliminated. Instead, composite electrode
150 includes a housing with a cavity, such as an aluminum tube 154
that houses one or more cylindrical magnets 134 in its annular
space. As in the embodiment of FIG. 1, nano-nickel particles 140
in the electrolyte 125 are attracted to the outer surface of the
aluminum tube 154 of an electrode 150 and form a coat on the
surface held in place by magnetic fields. Once the outer surface
of the tube 132 is at least partially coated with
magnetically-adhering nano-particles, the nano-particles
effectively form the second electrode, which is in direct contact
with the aluminum tube 154 that is the first electrode. Hydrogen
is produced from this nano-particle-coated surface. Since the
nano-particles 140 are in direct electrical communication with the
aluminum tube 154 of electrode 150, an electrical connector 160 is
not required to connect the nano-particles to the aluminum
electrode housing 154.
[0033] Hydrogen production rate and volume is similar to the
embodiment of FIG. 1, but the overall generator complexity and
cost is reduced. To control hydrogen production, the extent of the
immersion of the electrode 150 in the electrolyte 125 may be
controlled. In one mode of operation, the electrode 150 is lowered
or raised in the solution to control the hydrogen production rate.
EXAMPLES
[0034] A number of experiments were performed to determine the
hydrogen production based on the consumption of aluminum. One gram
of aluminum will produce 1.23 liters of hydrogen. The results
appear to indicate producing hydrogen in an amount greater than
might be expected. In all of these experiments, the generator was
in accordance with FIG. 2, and the electrolyte was produced as
follows. The following components were mixed together:
[0035] 50 ml colloidal silver
[0036] 50 ml colloidal magnesium
[0037] 50 ml distilled water
[0038] 20 grams sodium hydroxide
[0039] 20 grams potassium hydroxide
[0040] This mixture was placed in a beaker containing a nickel
electrode. To this was added 7 grams of elemental zinc, connected
to the nickel electrode, and the zinc was allowed to digest,
thereby producing electrolyte 125. The nickel electrode and any
remaining zinc were then removed. The resulting liquid was used as
the electrolyte.
Experiment 1
[0041] 7.5 grams of aluminum produced 10.19 liters of hydrogen @
STP. Based on stoichiometry, 7.5 grams should produce only 9.2
liters of hydrogen.
Experiment 2
[0042] 2.9 grams of aluminum produced 4.163 liters of hydrogen @
STP. Based on stoichiometry, 2.9 grams of aluminum should produce
3.567 liters of hydrogen.
Experiment 3
[0043] 4.1 grams of aluminum produced 8.7 liters of hydrogen @
STP. Based on stoichiometry, 4.1 grams of aluminum should produce
5.041 liters of hydrogen.
Experiment 4
[0044] 2.6 grams of aluminum produced 3.57 liters of hydrogen @
STP. Based on stoichiometry, 2.6 grams of aluminum should produce
3.198 liters of hydrogen.
[0045] The average hydrogen production was 1.5 liters per gram of
aluminum. All of the experiments were performed by water
displacement using a calibrated column, the temperature and
atmospheric pressure were recorded and the volume of hydrogen
corrected to standard pressure and temperature.
[0046] While several exemplary embodiments have been presented in
the foregoing detailed description of the invention and in the
foregoing non-limiting examples, it should be appreciated that a
multiplicity of variations exists. It should also be appreciated
that the exemplary embodiment or exemplary embodiments are only
examples, and are not intended to limit the scope or applicability
of the technology in any way. Rather, the foregoing detailed
description will provide those skilled in the art with a
convenient roadmap for implementing an exemplary embodiment of the
invention, it being understood that various changes may be made in
the specific components described in an exemplary embodiment
without departing from the scope of the invention, as set forth in
the appended claims and their legal equivalents.
US2010108498
Hydrogen Production Systems
Utilizing Electrodes Formed From Nano-Particles Suspended in
an Electrolyte
Inventor: GRIFFIN LINNARD GENE [US]
Applicant:
EC: C25B1/02; C25B9/16
Abstract -- An
electrolytic system for generating hydrogen gas includes a pair of
electrodes and an electrolyte. The electrolyte includes colloidal
silver, colloidal magnesium, and a nano-metal comprising
nano-nickel, nano-iron or a nano-nickel-iron alloy. The electrodes
include a first electrode of a non-magnetic material. A second
electrode includes an electrode precursor of a magnetic material
or an electro-magnet. When in its magnetic state, the electrode
precursor exerts a magnetic force of sufficient strength to pull
the nano-metal of the electrolyte onto at least a portion of its
surfaces, to form the second electrode.
Description
STATEMENT OF RELATED APPLICATIONS
[0001] This application claims priority from provisional U.S.
Application No. 61/111,991, filed Nov. 6, 2008.
BACKGROUND
[0002] 1. Technical Field
[0003] The technology relates to the production of hydrogen, and
more particularly to the use of chemical reaction to produce
hydrogen in a system that includes an electrode formed from
metallic nano-particles suspended in an electrolyte.
[0004] 2. Description of the
Related Art
[0005] There is a growing demand for sources of energy other than
from the combustion of fossil fuels. The combustion of these fuels
has long been associated with the production of undesirable
combustion gas products, such as sulfur dioxide. In more recent
years, it has also become a matter of concern that the combustion
of fossil fuels releases carbon dioxide into the atmosphere. The
growing concentration of carbon dioxide has been implicated in the
phenomenon variously known as "global warming" or "climate
change." Accordingly, there is a desire to develop other sources
of energy, or to find ways to utilize fossil fuels which may
entail technologies that either sequester or otherwise remove the
potential for carbon dioxide release into the atmosphere.
[0006] Among the proposed alternatives to fossil fuels as a source
of energy that do not release carbon dioxide are solar power, wind
power, nuclear power, marine (wave) power and hydrogen. Each of
these power sources poses challenges and each may occupy a niche
in a long term energy strategy aimed at minimizing the release of
carbon dioxide into the atmosphere. Hydrogen is a plentiful
elemental gas but is usually chemically bound or in the atmosphere
in a relatively small percentage. Accordingly, the large scale use
of hydrogen requires technologies that will produce hydrogen from
its chemically bound state and permit its capture in a form useful
for conversion to energy, by combustion or otherwise. Much
attention has been devoted to fuel cell technology, and the use of
hydrogen as a potential automotive fuel is also being explored.
SUMMARY
[0007] An exemplary embodiment provides a controlled electrolysis
system for generating hydrogen gas by creating an electrode with a
magnetic field and controlling the magnetic field strength to
control a rate of hydrogen production. The system includes a first
electrode and an electrolyte in contact with it that includes
colloidal silver, colloidal magnesium, and nano-metal particles.
The system also has a conductive body portion in contact with the
electrolyte. Further, it includes a magnetic element having a
magnetic field at least partially encompassing the conductive body
portion. The magnetic field pulls nano-metal particles from the
electrolyte to at least partially coat a surface of the conductive
body portion to form a second electrode. The strength of the
magnetic field is controllable to either increase or decrease a
rate of hydrogen production by controlling an extent of the
surface of the conductive body portion coated with nano-metal
particles.
[0008] A further exemplary embodiment provides a system for
controlled generation of hydrogen gas by creating an electrode
with a magnetic field and controlling the magnetic field strength
to control a rate of hydrogen production. The system includes a
first non-magnetic electrode and, in contact with it, an
electrolyte that includes colloidal silver, colloidal magnesium,
and nano-metal particles. In addition, it has a hollow body having
a conductive portion and an insulated portion. The hollow body is
in contact with the electrolyte. Further, it has a magnetic
element having a magnetic field. The magnetic field at least
partially encompasses the hollow body and pulls nano-metal
particles from the electrolyte to at least partially coat an outer
surface of the conductive portion to form a second electrolyte and
produce hydrogen. The extent of influence of the magnetic field on
the conductive portion is controlledly variable to control the
rate of hydrogen production.
[0009] Another exemplary embodiment provides a system for
controlled generation of hydrogen gas by creating an electrode
with a magnetic field and controlling the magnetic field strength
to control a rate of hydrogen production. The system includes a
cell that has a first non-magnetic electrode, an electrolyte in
contact with it, and a hollow body that forms a second electrode,
when coated with nano-metal particles, under influence of a
magnetic field. The electrolyte may include colloidal silver,
colloidal magnesium, and nano-metal particles. The nano-metal
particles may include at least one of nano-nickel, nano-iron or a
nano-nickel-iron alloy. The hollow body has a conductive portion
and an insulated portion and is in contact with the electrolyte.
The hollow conductive body is coated with nano-metal from the
electrolyte to form a second electrode, when the system is in
hydrogen production mode. Further, the system includes at least
one controlled magnetic element located within the hollow body and
pulling nano-metal particles from the electrolyte to at least
partially coat an outer surface of the hollow body to form the
second electrode to produce hydrogen by electrolysis. The magnetic
element controls a rate of hydrogen production by controlling the
strength of the magnetic field at the conductive portion of the
hollow body. The system also includes a gas-tight end cover
enclosing contents of the cell, the end cover having an outlet
therein for removal of produced hydrogen.
BRIEF DESCRIPTION OF THE DRAWINGS
[0010] For a more complete understanding of the present
technology, and the advantages thereof, reference is now made to
the following description taken in conjunction with the
accompanying schematic, not-to-scale drawings in which:
[0011] FIG. 1 illustrates
an exemplary embodiment of a system including a magnetic
electrode;
[0012] FIG. 2 illustrates
another exemplary embodiment of a system including a magnetic
electrode in the OFF state;
[0013] FIG. 3 illustrates
another exemplary embodiment of a system including a magnetic
electrode in the ON state; and
[0014] FIG. 4 illustrates
another exemplary embodiment of a system including an
electro-magnetic electrode.
DETAILED DESCRIPTION
[0015] In the following description, numerous details may be set
forth to provide a thorough understanding of the present
technology. However, it will be apparent to those skilled in the
art that the present technology may be practiced without some of
these specific details. For the most part, details considering
alternate material choices and design configurations and the like
have been omitted inasmuch as details are not necessary to obtain
complete understanding of the present technology and are within
the skills of persons of ordinary skill in the relevant art.
[0016] In the specification, the term "exemplary embodiment" means
a non limiting example of an embodiment of the technology.
[0017] FIG. 1 illustrates a simplified exemplary embodiment of a
system that is a single cell hydrogen generator 5 that includes a
chemical inert container 10, in this instance an elongate
container, of a non-magnetic material, typically a chemically
inert material. Container 10 may vary in configuration. Container
10 includes a hollow electrical (copper or any other conductive
material which is non-reactive) conductor 20 and a zinc electrode
30 abuts one end of the conductor 20. Exemplary embodiments may
have either zinc electrodes or aluminum electrodes when the
electrolyte contains zinc hydroxide so that zinc will plate out
onto the aluminum electrode. Other non-magnetic electrode
materials may also be used. The conductor 20 may be of any
configuration that is suitable. In this example, conductor 20 is
composed of a hollow, copper tube. Conductor 20 is divided into
two sections (insulated portion 40 and conductive portion 45), the
outer surface of conductor 20 exposed to the electrolyte 65. The
second electrode is formed by nano-metal particles, such as
nano-nickel and iron particles, attracted to and coated over the
non-insulated area, conductive portion 45, of conductor 20, in the
illustrated example. The hollow interior of conductor 20 is
accessible from outside of container 10 through a port in the end
seal 80, which also has an outlet 90 for produced hydrogen gas.
This allows the movable magnetic element 50 to be selectively
positioned within conductor 20 to control hydrogen production.
Hydrogen production is at a maximum when the magnetic element 50
is fully inserted into the conductive portion 45 of the conductor
and the maximum area of this conductive portion 45 is coated with
attracted nano-metal particles. As the magnetic element 50 is
withdrawn, the area of the conductor 20 that is coated with
nano-metal is reduced (and hydrogen production is also reduced)
until the magnet is completely shielded within insulated portion
40. When magnetic element 50 is completely shielded within
insulated portion 40, the magnetic field strength at conductive
portion 45 is weak or non-existent and the conductive portion 45
is substantially free of magnetically attracted nano-metal
particles. At this point, hydrogen production is minimized or
terminated. Thus, the movement of magnetic element 50, which
affects the magnetic field strength at the conductive portion 45,
acts to control hydrogen production.
[0018] The second electrode (conductive portion 45 as coated with
nano-metal) is produced by the magnetic field effects of a movable
magnetic element 50 and nano-particles 60 of the electrolyte 65.
Thus, when the magnetic element 50 is in the insulated portion 40
of conductor 20, as illustrated in FIG. 2, the cell 5 is inactive.
In this "off" mode, the presence of the magnetic field of magnetic
element 50 attracts metallic nano-particles 60 of the electrolyte
65 to the outer surfaces of the insulated portion 40, resulting in
no hydrogen production. When the magnetic element 50 is moved into
the conductive portion 45 of conductor 20, the attracted
nano-particles follow the magnetic field, thereby forming a
metallic nano-particle coating on the outside surface of the
conductive portion 45, thereby forming the second electrode. In
this "on" mode, the hydrogen generator cell 5 is active and
produces hydrogen. Thus, the magnetic element 50 should be in a
position to exert a sufficiently strong magnetic field strength on
the conductive portion 45 of conductor 20 to attract nano-metal
particles to it to form the second electrode. Once the second
electrode is formed, hydrogen production commences. As the
magnetic field moves to cover a greater portion of the area of
conductive portion 45, the extent of the proportion of the area of
conductive portion 45 coated with nano-metal particles increases,
and hydrogen production increases. Likewise, as the magnetic
element 50 retreats and the magnetic field encompasses less of the
area of conductive portion 45, the area of nano-metal coating is
reduced, and consequently hydrogen production is reduced.
[0019] An exemplary embodiment of a movable magnetic element 50
may selected, for example, from the rare earth magnets, or any
other magnetic material that will attract magnetic nano-particles,
such as nickel and nano-iron, so strongly as to cause these
particles to move through electrolyte 60 to attach to insulated
surfaces of conductor 20 (off position) or to the non-insulated
portion of conductor 20 (on position) forming the second
electrode. These magnetic nano-particles may be selected from
nano-nickel, nano-iron, nano-alloys of nickel and iron, or other
nano-metals, such as tungsten, tungsten carbide, platinum, etc.
[0020] An exemplary embodiment of the electrolyte 65 may include
colloidal silver, colloidal magnesium, sodium hydroxide, potassium
hydroxide and distilled water. Into this electrolyte solution is
placed nano-nickel and nano-iron particles. For example, a 100 ml
solution might be composed of 10 ml of colloidal silver, 10 ml of
colloidal magnesium, 80 ml of distilled water, and 33 grams of the
hydroxide. To this may be added 0.5 grams of nano-nickel and 0.5
grams of nano-iron particles.
[0021] FIG. 2 shows an exemplary embodiment of a hydrogen
generator cell 5 with the magnetic element 50 in the "off"
position, when no hydrogen is produced. The magnetic element 50 is
within the insulated layer 40 and this attracts the nano-metal
particles to the surface of the insulated layer 40. In an
exemplary embodiment, the magnetic field pulls substantially all
the nano-nickel and nano-iron particles onto the outer surface of
hollow conductor 20. No second electrode is formed, because the
nano-metal particles coat an insulated portion 40, and thus there
is no hydrogen production.
[0022] In FIG. 3, in contrast, the magnetic element 50 is moved
all the way into conductor 20 (i.e. inside conductive portion 45)
to the proximity of the zinc electrode 30. The nano-metal
particles are pulled onto the surface of conductive portion 45
which is in close proximity of the zinc electrode 30, thereby
allowing electrolysis to commence by making an electrical
connection. As a result, electrolytic hydrogen production begins.
The hydrogen is produced from the nano-metal electrode formed on
the conductive portion 45 of hollow conductor 20. The production
of hydrogen can be reduced or terminated by moving the magnetic
element 50 toward the "off" position until it is within the
insulated portion 40, as in FIG. 2.
[0023] In an exemplary embodiment, the extent of insertion of the
magnetic element 50 within the conductor 20, in other words, its
location relative to the "on" and "off" positions described above,
may be used to control the rate of hydrogen gas production from
the hydrogen generator cell 5. Alternatively, the second electrode
(which is formed by magnetically attracted nano-metal particles on
conductive portion 45) may be sized for a particular hydrogen
output by a predetermined sizing of the area of conductive portion
45, or through application to the conductive portion 45 of a
variable magnet permeable coating which will change the strength
of the magnetic field. The production rate of hydrogen may also be
controlled by temperature: increasing electrolyte temperature
increases the rate of hydrogen generation.
[0024] FIG. 4 illustrates an alternative exemplary embodiment
wherein the magnetic element 50 is an electro-magnet movable
laterally as shown by arrow 55. When power is supplied to the
windings of the electro-magnet 50, it becomes magnetic. Thus, when
fully inserted into the hollow conductor 20, the electro-magnetic
element 50 pulls nano-particles onto the outer surface of
conductive portion 45 of conductor 20 to form a second electrode.
[0025] The electro-magnetic material of the electro-magnet(s) may
be selected from any suitable material, such as electro-magnetic
alloys of iron or steel. Operation of the hydrogen generation cell
5 is similar to the above description using permanent magnets, but
electro-magnets provide some additional flexibility and ease of
control. For example, an electro-magnet readily permits control of
hydrogen production by controlling magnetic field strength.
Magnetic field strength may be controlled to some extent by
controlling electrical current supplied to the electro-magnet.
[0026] An electrode for electrolysis of water using an electrical
current may be constructed by forming a coating of nano-material
around a conductive magnet, thereby producing a cathode of one
nano-material and an anode of a second nano-material.
[0027] While at least one exemplary embodiment has been presented
in the foregoing detailed description of the invention, it should
be appreciated that a wide range of variations exist. It should
also be appreciated that the exemplary embodiment or exemplary
embodiments are only examples, and are not intended to limit the
scope, applicability, or configuration of the invention in any
way. Rather, the foregoing detailed description will provide those
skilled in the art with a convenient road map for implementing an
exemplary embodiment of the invention, it being understood that
various changes may be made in the function and arrangement of
elements described in an exemplary embodiment without departing
from the scope of the invention as set forth in the appended
claims and their legal equivalents.
US2009152126
Gas Production Through Pulsed
Electrolysis
Inventor: GRIFFIN LINNARD GENE
EC: C25B1/04; C25B15/00; IPC: C25B1/02; C25B9/00
Abstract -- Cells and
methods of producing hydrogen and oxygen from an aqueous solution
at about 90% of the Faraday Limit are provided. An exemplary
method includes the steps of placing a graphite electrode and a
nickel electrode in an alkaline solution comprising colloidal
silver, colloidal magnesium and a powdered metal such as aluminum,
and applying a constant positive voltage to the nickel electrode.
Further, the example includes cyclically applying a negative
voltage potential to the graphite electrode by turning on the
negative applied voltage for a first time period and switching off
the negative voltage for a second time period. The second time
period should be sufficient to permit removal of substantially all
or at least some of any aluminum or zinc deposited on the graphite
electrode. Graphite-containing electrodes may be pretreated to
infuse with a precious metal.
Description
STATEMENT OF RELATED APPLICATIONS
[0001] This application claims priority from U.S. provisional
patent application No. 61/107,197 filed Oct. 21, 2008, and from
U.S. provisional patent application No. 61/005,961 filed on Dec.
10, 2007.
BACKGROUND
[0002] 1. Technical Field
[0003] The present technology relates to the field of
electrolysis, and more particularly to the use of electrolysis
techniques to produce hydrogen and oxygen gasses.
[0004] 2. Description of the
Related Art
[0005] In the field of electrolysis it is generally regarded as
highly desirable to be able to produce hydrogen (and oxygen) at or
near the Faraday Limit of 10.5873 Joules per ml, which is the
power presumed necessary to be 100% efficient. While many systems
have been proposed to meet this goal, it appears that electrolysis
may often require exotic chemicals and complex electrical
switching systems to exceed even a modest 70% of the Faraday
Limit. Exceeding this limit of 10.5873 J/ml generally requires
replenishing or replacing some consumables, for example, replacing
electrodes due to dissolution and/or the replenishing of consumed
chemical(s).
SUMMARY
[0006] An exemplary embodiment of an electrolysis cell and process
produces hydrogen and oxygen gasses, by electrolysis of water, at
efficiencies ranging above about 80% of the Faraday Limit and
approaching and often exceeding about 90% of the Faraday Limit. An
embodiment of the technology employs a minimum of two electrodes
per cell to provide a system that requires little maintenance,
such as electrode repair or maintenance of chemicals, other than
addition of make up water to compensate for water consumed in the
process. Another exemplary embodiment provides an electrolysis
system that may use DC power rather than complex alternating
current waveforms and fixed non-replaceable elements.
[0007] An exemplary embodiment provides a method of producing
hydrogen and oxygen from an aqueous solution. The method includes
the steps of placing a graphite electrode and a nickel electrode
in an alkaline electrolyte comprising colloidal silver, colloidal
magnesium and aluminum powder, and applying a constant positive
voltage to the nickel electrode. Further, the method includes
cyclically applying a negative voltage potential to the graphite
electrode by turning on the negative applied voltage for a first
time period and switching off the negative voltage for a second
time period. The second time period should be sufficient to permit
removal of substantially all or at least some of any aluminum
deposited on the graphite electrode.
[0008] An exemplary embodiment provides a cell producing hydrogen
and oxygen gas from an aqueous solution. The cell includes an
alkaline electrolyte having colloidal silver, colloidal magnesium,
and a metal powder comprising aluminum powder. It also has at
least one positive electrode disposed at least partially in the
alkaline solution and at least one switching negative electrode
that includes graphite, infused with a precious metal. The
switching negative electrode is also disposed at least partially
in the electrolyte. In addition, the cell has a first chamber
configured and located to capture gas produced at the positive
electrode; and a second chamber configured and located to capture
gas produced at the at least one switching negative electrode.
Further, it includes an automatic controller cyclically applying
negative voltage potential to the switching negative electrode
according to a predetermined sequence. In an alternate embodiment,
the aluminum powder may be substituted with finely divided zinc
hydroxide. In this instance, the positive electrode comprises
nickel and is pre-treated with zinc, as explained here below
[0009] An additional exemplary embodiment provides a cell
producing hydrogen and oxygen gas from an aqueous electrolyte. The
cell includes an alkaline electrolyte comprising colloidal silver,
colloidal magnesium, and a metal powder comprising aluminum. The
cell has at least one positive electrode disposed at least
partially in the alkaline electrolyte; and a plurality of
switching negative electrodes. The switching electrodes each
comprise graphite, infused with a precious metal, and the
plurality of switching negative electrodes is disposed at least
partially in the alkaline electrolyte. The cell has a first
chamber configured and located to capture gas produced at the
positive electrode; and a second chamber configured and located to
capture gas produced at the plurality of switching negative
electrodes. The cell also includes an automatic controller
cyclically applying negative voltage potential to each of the
plurality of switching negative electrodes for a predetermined
time and according to a predetermined sequence. In an alternate
embodiment, the aluminum powder may be substituted with finely
divided zinc hydroxide. In this instance, the positive electrode
comprises nickel and is pre-treated with zinc, as explained here
below
BRIEF DESCRIPTION OF THE DRAWINGS
[0010] For a more complete understanding of the present
technology, and the advantages thereof, reference is now made to
the following description taken in conjunction with the
accompanying schematic, not-to-scale drawings in which:
[0011] FIG. 1 illustrates
an exemplary embodiment that has 1+n switched electrodes; where
n=6;
[0012] FIG. 2 illustrates
a schematic of an embodiment of a switching relay;
[0013] FIG. 3 is a block
diagram illustrating features of an exemplary embodiment of a
controller;
[0014] FIG. 4 is a
schematic of an exemplary embodiment of a controller showing
additional detail;
[0015] FIG. 5 illustrates
an exemplary generalized embodiment of an electrolysis cell;
[0016] FIGS. 6-7
illustrate exemplary embodiments of electrolysis cells with
differing polarities on the electrodes;
[0017] FIG. 8 illustrates
TABLE 1;
[0018] FIG. 9 is an
exemplary embodiment of a solar home power application; and
[0019] FIG. 10 is an
exemplary embodiment of a transportation application.
DESCRIPTION
[0020] In the following description, numerous details may be set
forth to provide a thorough understanding of the present
technology. However, it will be apparent to those skilled in the
art that the present technology may be practiced without these
specific details. In other instances, well-known circuits have
been shown in block diagram form in order not to obscure the
present technology in unnecessary detail. For the most part,
details considering alternate material choices and design
configurations and the like have been omitted inasmuch as details
are not necessary to obtain complete understanding of the present
technology and are within the skills of persons of ordinary skill
in the relevant art.
[0021] In the appended drawings, depicted features are not
necessarily shown to scale. Further, like or similar features are
designated by the same reference numeral through the several
views, as far as possible.
[0022] FIG. 1 illustrates an exemplary embodiment of an
electrolysis cell 5 that includes a chemical bath 30, which is
cylindrical in this case, but which may be of another geometric
configuration, such as square, hexagonal, etc., in cross section.
The chemical bath 30 has a central electrode 10 to which is
applied a fixed voltage. The central electrode is surrounded by
six switched voltage electrodes 20, 21, 22, 23, 24, 25 in this
embodiment, although another number of electrodes may also be
used. Each of these electrodes 20-25 are subjected to a pulsed or
cyclical applied negative voltage. Thus, each switched electrode
20-25 may be "on" (voltage applied) or "off" (voltage not
applied). Thus, for example, each of switched electrodes 20-25 has
a connector 60, 61, 62, 63, 64, 65, respectively. As shown
schematically in FIG. 2, a switch relay 90 includes a series of
switches 80-85. Each of the switches 80-85 is able to close a
circuit with a corresponding one of the connectors 60-65. When a
switch is closed, a voltage is applied via the closed switch
through the connector to the electrode. A constant voltage is
applied via line 91 through connector 70 to the central electrode
10. Thus, the switched electrodes 20-25 may be switched on in any
pre-determined sequence such that one of the electrodes 20-25 is
on while the others are off. FIG. 3 illustrates an example of a
controller system 100 that may be used to achieve the switching
automatically. Of course, other types of controllers are also
useful as long as they can "pulse" the switched electrodes 20-25
on and off and maintain a constant voltage at the central
electrode 10. Further, the chemical bath 30 has separate gas
chambers 40, 50 that are isolated from each other. The gas chamber
50 surrounding an upper portion of central electrode 10 is an
oxygen chamber, while the gas chamber surrounding upper portions
of the switched electrodes 20-25 is a hydrogen chamber. These
chambers are used to capture off-gasses from the electrolysis
process produced at the electrodes, and the off gasses may be
siphoned off from these chambers by conduits (not shown) for any
useful purpose. More than two chambers may also be useful,
depending upon the configuration of the chemical bath 30, the
number of fixed electrodes 10 per chemical bath 30, the number of
switched electrodes 20-25, and other factors. Chemical bath 30
contains an electrolysis solution 35, indicated by its upper
surface level in FIG. 1.
[0023] A "switching cycle" is the time period between when a
switching electrode is first turned on (or off) and when it is
next turned on (or off). The switching electrodes are "pulsed" by
a pulsing period that is the time period from being turned on to
being turned off. Referring to FIG. 3, exemplary controller 100
includes a variable timer 110 for setting the switching cycle
time. The variable timer 110 is coupled to a decoder 130 through a
divider 120. The decoder 130 sends signals to relay drivers
140-145 (shown generically as 140-140n in FIG. 3, for example)
that are each in communication with a corresponding relay switch
80-85. The relay switches 80-85 are each coupled to a
corresponding connector 60-65. As explained above, these
connectors 60-65 are each in turn connected to a corresponding
switched electrode 20-25.
[0024] FIG. 5 is a schematic illustration of an exemplary and
generalized embodiment of an electrolysis system 5 that has a
single fixed voltage electrode 10 and n switched voltage
electrode(s) 20, 20n. The illustrated embodiment shows a case
where "n" equals 2, but of course n may be any integer. The
positive electrode 10 is located at or near the center of the
chemical bath 30 surrounded by a circular array of n electrodes
20, 20n. These n electrodes 20, 20n may be in either a negatively
charged state or off, as described above.
[0025] In an exemplary embodiment, the positively charged
electrode 10 may be a nickel electrode. Another electrolytically
equivalent electrode, such as nickel alloy, Incalloy(TM),
tungsten, tungsten carbide, and the like, may also be useful. An
exemplary embodiment of switched electrode element 20 is a
proprietary carbon-based electrode that is available from Global
Hydrogen, Inc. of Bertram, Tex. The chemical bath 30 utilized with
this electrode combination may suitably include finely divided
aluminum.
[0026] In another exemplary embodiment, the switched negative
electrodes 20, 20n may include nickel, or nano nickel, or nano
nickel and iron, or tungsten, or tungsten carbide. The positively
charged electrode 10 may be graphite. In this embodiment, the
chemical bath may contain finely divided zinc hydroxide, instead
of aluminum.
[0027] According to the example of FIG. 5, a fixed positive
voltage is connected to connection line 91 and a negative voltage
is connected to connection line 90. The fixed electrode 10 is
connected directly to the positive voltage connection line 91. The
electrode elements 20, 20n each include a connector 60-60n,
respectively, and these connectors 60-60n may each be sequentially
coupled to the negative voltage connection line 90 through a
corresponding relay switch 80-80n.
[0028] The example of a chemical bath 30 shown in FIG. 5 includes
two isolated gas chambers 40 and 50 to separate H2O (liquid),
hydrogen (gas) and oxygen (gas). Details of the electrolysis
solution 35 in the chemical bath 30 are described below.
[0029] As used herein, the term "out-gasses" refers to gasses
produced in the processes of embodiments including production
through electrolysis and production through the reaction of metals
with components of the electrolysis liquid.
[0030] The exemplary embodiment of the system 5 shown in FIG. 5 is
in a quiescent state with all negative electrodes 20, 20n off.
External power may be supplied to electrodes 20-20n through
corresponding relay switches 80-80n from connection line 90, and
to electrode 10 via line 91. Electrode elements 20, 20n are always
either (a) at negative voltage potential when switched on or (b)
disconnected (or "off"). Electrode element 10 is always positive.
However, reverse voltage may be applied with different results. In
the quiescent state, all relays 80, 80n are in the normally open
state and no gasses are emitted from either electrode 10 or 20,
20n. Relays 80, 80n are operated sequentially (i.e. for the
configuration in FIG. 5, connecting line 90 may rotate).
[0031] Referring to FIG. 6, when relay 80 closes, it applies a (-)
negative voltage to electrode 20 and electricity flows between
electrode 20 and positive electrode 10 through the electrolytic
solution of chemical bath 30. Electrolysis takes place in the
chemical bath 30, so that oxygen out-gasses at electrode 10 while
hydrogen out-gasses at electrode 20. This gas production continues
for a time period that extends beyond the time when the controller
100 relay switch 80 opens (disconnects from electrode 20) and
closes relay 81 (not shown). The controlled process of timed
opening and closing of relays according to a predetermined
schedule is repeated sequentially for each electrode from 20
through 20n, and then the cycle repeats starting at electrode 20.
[0032] During the process, electrode 10 continues producing O2
(gas) as long as the controller is sequencing and any of
electrodes 20 through 20n produces H2 (gas) as long as it is live
and for a period immediately after applied voltage is removed and
it is dead. According to an exemplary embodiment, immediately
after any electrode 20n is deselected by the controller and is
dead, it will continue to produce H2 (gas) for a period of time,
despite being disconnected. After a predetermined period of time,
the controller 100 via the relay switching mechanism, for example
as described above, switches the applied voltage from one
electrode (e.g. electrode 20 (n-1)) to the next electrode (e.g.
electrode 20n). The process repeats and continues to cycle until
it is stopped, when the system returns to the quiescent state.
Note that hydrogen is emitted from the (-) electrode and oxygen is
emitted from the (+) electrode.
[0033] Referring to exemplary FIG. 7, the polarity of the
electrodes is reversed relative to that of FIG. 6. For example, in
FIG. 7, the central electrode 10 is negatively charged while the
switched electrodes 20-20n are positively charged, when activated.
Hydrogen is then produced at the electrodes 20-20n, while oxygen
is produced at the central electrode 10.
Electrode Preparation
[0034] According to an exemplary embodiment, the system uses two
types of electrodes: a metal electrode, desirably nickel or an
alloy of nickel, and graphite. These electrodes are treated before
being used. It is theorized, without being bound, that the
treatment saturates the pores of the electrodes with colloidal
material and that it also increases the effective surface area of
the electrodes by etching their surfaces.
[0035] In an exemplary embodiment, a solution that includes
colloidal platinum, available from Purest Colloids, Inc. of
Westhampton, N.J., USA, may be used in pre-treating the
electrodes. The treatment solution may be prepared by adding about
75 ml of colloidal platinum to 75 ml distilled water and 10 ml of
98% sulfuric acid. Of course, for larger batches, these volumes
may be increased proportionately. The colloidal metal is not
restricted to platinum but may be any colloidal precious metal
such as gold, palladium, rhenium, ruthenium, and the like. The
electrodes are immersed at least partially in the solution and a
positive terminal of a power source may be connected to the nickel
electrode and a negative to the graphite electrode. Upon current
flow, the graphite electrode becomes impregnated with platinum.
This may be carried out, for example, at 4 volts dc and a 5 amp
current. Then, after elapse of a time period, typically but not
necessarily in the range 10-15 seconds, polarity is reversed,
applying the same current and voltage potential, to plate platinum
onto the nickel electrode's surfaces. This reversing of polarity
may be carried out several times, desirably while heating the
electrolysis solution to about 108[deg.] F. The process may be
carried out for about 10 minutes, and then the electrodes may be
removed and washed in distilled water.
[0036] An alternative embodiment of a method of electrode
treatment includes using a palladium or platinum anode and a
graphite or metal cathode to create a metal colloid and carrying
out the infusing and plating in one step.
Cell Operation
[0037] As explained above with reference to FIG. 6, electrode
element 10 has a positive voltage at all times and electrode
elements 20, 20n are always either negative when connected, or
otherwise disconnected. In the quiescent state, electrode elements
20, 20n are disconnected by relays 80, 80n, respectively, and no
gas is emitted from electrode elements 10 or 20, 20n. In the
active state, the controller 100 closes and opens relays 80, 80n
in a predetermined scheduled sequence around the illustrated
circular cell until the process is terminated. When the controller
100 closes relay element 80, a negative voltage is applied to
electrode 20, for example, while electrode 10 is always positive.
While relay 80 is closed, copious amounts of hydrogen are emitted
from electrode element 20 and oxygen is emitted from electrode
element 10. Due to electrolysis reactions, metal hydroxide present
in the chemical bath solution plates out onto electrode 20 as a
metallic coating while the electrolysis generates hydrogen and
oxygen.
[0038] In an exemplary embodiment, the voltage controller 100 is
preset or pre-programmed for a "relay closed" time period of three
seconds for each electrode 20, 20n. Thus, it automatically closes
a relay for each negative electrode sequentially for three
seconds. As a consequence, the metal is plated onto the electrode
for which the relay is closed (i.e. the "live" negative electrode)
for three seconds. When the controller opens the relay, components
of the chemical bath 30 solution commence reducing the plated out
metal on the now dead electrode, thereby releasing copious
hydrogen due to the reduction of metal to metal hydroxide, until
substantially all the metal is dissolved back into element 30, or
until a negative voltage potential is again applied to the
electrode, when metal plating will recommence. In general, after
the negative potential is disconnected from the electrode, the
disconnected electrode 20 will continue producing gas at a
gradually reducing rate and will substantially return to the
quiescent state in about seven seconds. In the illustrated example
embodiment shown in FIG. 1, there are six electrodes 20 which the
controller 100 may sequentially connect to the negative connection
lines 90 for three seconds each. Thus, the initial negative
electrode 20 produces gas for a minimum of about ten seconds
(three seconds while connected and seven seconds after
disconnection). The electrode 20 will be selected for
re-connection to line 90, according to the controller sequence,
fifteen seconds after it was disconnected. The controller 100
establishes a three-seconds "on" and fifteen-seconds "off"
sequence for each electrode 20, 20n. The production rate of this
system averages over about 90% of the hydrogen that stoichiometry
would predict (see FIG. 8, Table 1).
[0039] The gas-producing electrochemical process (metal plating
onto the electrode when it is live and metal converting back to
metal hydroxide when the electrode is dead) is believed, without
being bound, to be of a catalytic nature and should continue as
long as H2O lost through conversion to hydrogen and oxygen is
replenished. It is believed, without being bound, that the
colloidal silver and colloidal magnesium along with palladium
infused in the graphite electrode have a catalytic effect.
[0040] When the controller 100 activates an electrode with an
applied negative potential, for example electrode 20, electrical
current will flow through the electrolyte chemical bath solution
30 between positive electrode 10 and negative electrode 20. Metal
is plated on electrode 20, and if the process is allowed to
continue, electrode 20 would become increasingly heavily plated,
thus changing its electrical potential. As a result, its rate of
hydrogen gas production would decline and finally cease. However,
according to embodiments of the present technology, electrode 20
is disconnected (the applied potential is removed) after a
predetermined period of time. In the non-limiting example
described above, this time period was three seconds, although
other longer or shorter time periods may be useful as well. In
general, the time period may be selected based on several factors,
one of which is to permit sufficient "electrode off" time to
permit the chemical bath components to oxidize substantially all
or so much of the metal from the electrode surface so that the
amount of plated metal does not build up to the point of adversely
affecting the rate of hydrogen gas production during the time
period that the electrode is on. Thus, the chemicals in the
electrolyte 35 may begin reacting with the metal deposited on
electrode 20, thereby releasing more gas, and may substantially
completely remove the deposited metal by the time electrode 20 is
again selected by the controller 100 for activation. The total
amount of gasses produced includes both (a) gas produced while an
electrode is live and (b) gas produced when the electrode is dead.
Accordingly, the electrical energy input needed to produce the
total amount of gasses is less than would be the case if the gas
produced under condition (b) also required energy (electricity)
input.
[0041] The cycle time of the controller 100 may be set or
pre-programmed to take into account various factors, including,
but not limited to, power supplied to the electrodes, the voltage,
the current, the electrode active surface area, the number of
cells (a cell includes a negative electrode, the positive
electrode and the chemical bath solution), and the cell
configuration.
The Controller
[0042] It is understood that the illustrated exemplary embodiment
of controller 100 in FIGS. 3 and 4 is merely one of many
potentially useful controllers provided for explanatory purposes.
Other forms of electronic controllers, such as Asics, or software
controlled devices or micro-processors may be substituted, for
example.
[0043] A more detailed drawing of an embodiment of an exemplary
controller 100 is shown in FIG. 4. For purposes of description,
element 110 may be a variable LM324 Op Amp oscillator generating
square waves controlled by the RC time constant of R1, R16 and
C11. Element 110 may, for example, be adjusted for a three-minute
output of Divider Q5. Divider 120 may be a seven stage CMOS
Divider. Since the exemplary circuit has six switched elements
20-20n, a four bit divider would suffice. The unused stages Q1-Q4
buffer the clock for more accurate timing, if required. The
outputs Q5-Q7 are input to an analog sixteen bit decoder 130. A
digital decoder may also be used. The decoder drives a Bipolar NPN
transistor(s) MOSFET substitutable and has an LED to indicate
which element is selected. Output X6 130 returns the counter to
reset, causing the divider 120 to reset starting the count over
after every sixth count. The number of counts are thus=n, up to
n=8 for this example of a chip, or n=16 by using additional logic
or a 4:16 bit decoder. The base input of the transistors 140-140n
are normally disconnected and grounded turning the transistor(s)
"OFF." When the counter 120 selects the channel on Output X6 130,
a positive voltage is applied to the selected transistor turning
the selected coil on. Coils 80-80n apply voltage on line 90 to the
appropriate electrode. A diode is used to suppress high voltage
induced by switching of the coils.
[0044] The controller system 100 shown in FIGS. 3 and 4 operates
the relays 80, 80n at precise predetermined times. A first LED
(D2), which may be any color, such as red, pulses at the Adjusted
Oscillator frequency and a second LED (D7), which may be any color
(conveniently a different color from the first LED), pulses at the
electrode timing frequency, which, in this example, is three
seconds "live." Of course, timing can be set by monitoring the
state changes of the LEDs (D8-D13).
[0045] There are potentially a wide range of applications for the
present technology. For example, FIG. 9 illustrates a residential
application and FIG. 10 illustrates an automotive application.
Other applications may become apparent to one of skill in the art
who has read this disclosure. From the foregoing disclosure, it
will be appreciated by those skilled in the art that the
techniques described herein may be applied to a wide variety of
systems for the production of hydrogen and oxygen that utilizes a
system of electrolysis and chemical reduction.
[0046] The following examples merely illustrate aspects of the
technology and are not limiting of the invention which is defined
by the claims here below.
EXAMPLES
[0047] Hydrogen Production with
Aluminum Powder
[0048] A chemical bath was prepared with a solution that included
the following solutes:
[0049] 50-ml colloidal silver
[0050] 50 ml colloidal magnesium
[0051] 50 ml distilled water
[0052] 20 grams sodium hydroxide
[0053] 20 grams potassium hydroxide
[0054] 7 grams of aluminum
[0055] This solution 35 was placed in a 250 ml beaker 30. To this,
7 grams of aluminum were added and allowed to digest before the
electrodes 10, 20 were inserted. The power supply was connected to
the switching circuit, with the output voltage set at 2.0 volts DC
(see FIG. 8, Table 1, Col. 1) at 0.25 amps (see Table 1, Col. 2).
The positive wire 70 was connected to the nickel electrode 10 and
negative lead 60 to the graphite electrodes 20. During the
hydrogen/oxygen production, the aluminum hydroxide was reduced to
aluminum on the graphite electrode and the aluminum reacted with
the strong base electrolyte, thereby producing hydrogen on the
graphite electrodes. Oxygen was produced on the nickel electrode
as a result of the metal reduction. The gas flow was tested for
the presence of hydrogen and oxygen by piping it through soapy
water and then lighting the bubbles, which exploded very loudly,
strongly indicating the presence of both hydrogen and oxygen.
[0056] It should also be appreciated that the illustrated
exemplary embodiments are only examples, and are not intended to
limit the scope, applicability, or configuration of the invention
in any way. Rather, the foregoing detailed description will
provide those skilled in the art with a convenient road map for
implementing the exemplary embodiment or exemplary embodiments. It
should be understood that various changes can be made in the
function and arrangement of elements without departing from the
scope of the invention as set forth in the appended claims and the
legal equivalents thereof.
[0000] Hydrogen Production with
Zinc
[0057] A chemical bath was prepared with a solution that included
the following solutes:
[0058] 50-ml colloidal silver
[0059] 50 ml colloidal magnesium
[0060] 50 ml distilled water
[0061] 20 grams sodium hydroxide
[0062] 20 grams potassium hydroxide
[0063] 7 grams of zinc
[0064] This solution is placed in a 250 ml beaker 30 to pre-treat
a nickel electrode. To this, 7 grams of zinc are connected to a
nickel electrode and allowed to digest, depositing zinc onto the
nickel. The nickel electrode is then removed. The power supply is
connected to the switching circuit, with the output voltage set at
2.0 volts DC, as in the above example. The positive wire is
connected to the graphite electrode and negative lead to the
pre-treated nickel electrode. During the hydrogen/oxygen
production, the zinc hydroxide is reduced to zinc on the nickel
electrode and the zinc reacts with the nickel in the strong base
electrolyte, thereby producing hydrogen on the nickel electrodes.
Oxygen is produced on the graphite electrode as a result of the
metal reduction. The gas flow is tested for the presence of
hydrogen and oxygen by piping it through soapy water and then
lighting the bubbles, which explode very loudly, strongly
indicating the presence of both hydrogen and oxygen.
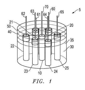
US2006188436
APPARATUS AND METHOD FOR THE
PRODUCTION OF HYDROGEN
Also published as: KR20070103072 // WO2006091451
// MX2007010007 // JP2008529955 // EP1871705
Inventor: GRIFFIN LINNARD
EC: C01B3/08; Y02E60/36 ;IPC: C01B3/02; C01B3/08
Abstract -- Disclosed
herein is an apparatus, mixture and method for the production of
hydrogen comprising a solution with a pH less than 7, at least one
colloidal metal suspended in the solution, and a second metal.
Description
TECHNICAL FIELD
[0001] The present invention is directed to a method and apparatus
for the production of hydrogen gas from water.
BACKGROUND
[0002] Hydrogen gas is a valuable commodity with many current and
potential uses. Hydrogen gas may be produced by a chemical
reaction between water and a metal or metallic compound. Very
reactive metals react with mineral acids to produce a salt plus
hydrogen gas. Equations 1 through 5 are examples of this process,
where HX represents any mineral acid. HX can represent, for
example HCl, HBr, HI, H2SO4, HNO3, but includes all acids.
2Li+2HX->H2+2LiX (1)
2K+2HX->H2+2KX (2)
2Na+2HX->H2+2NaX (3)
Ca+2HX->H2+CaX2 (4)
Mg+2HX->H2+MgX2 (5)
[0003] Each of these reactions take place at an extremely high
rate due to the very high activity of lithium, potassium, sodium,
calcium, and magnesium, which are listed in order of their
respective reaction rates, with lithium reacting the fastest and
magnesium reacting the most slowly of this group of metals. In
fact, these reactions take place at such an accelerated rate that
they have not been considered to provide a useful method for the
synthesis of hydrogen gas in the prior art.
[0004] Metals of intermediate reactivity undergo the same reaction
but at a much more controllable reaction rate. Equations 6 and 7
are examples, again where HX represents all mineral acids.
Zn+2HX->H2+ZnX2 (6)
2Al+6HX->3H2+2AlX3 (7)
[0005] Reactions of this type provide a better method for the
production of hydrogen gas due to their relatively slower and
therefore more controllable reaction rate. Metals like these have
not, however, been used in prior art production of diatomic
hydrogen because of the expense of these metals.
[0006] Iron reacts with mineral acids by either of the following
equations:
Fe+2HX->H2+FeX2 (8)
or
2Fe+6HX->3H2+2FeX3 (9)
[0007] Due to the rather low activity of iron, both of these
reactions take place at a rather slow reaction rate. The reaction
rates are so slow that these reactions have not been considered to
provide a useful method for the production of diatomic hydrogen in
the prior art. Thus, while iron does provide the availability and
low price needed for the production of elemental hydrogen, it does
not react at a rate great enough to make it useful for hydrogen
production.
[0008] Metals such as silver, gold, and platinum are not found to
undergo reaction with mineral acids under normal conditions in the
prior art.
Ag+HX->No Reaction (10)
Au+HX->No Reaction (11)
Pt+HX->No Reaction (12)
[0009] Accordingly, a need exists for a method and apparatus for
the efficient production of hydrogen gas using relatively
inexpensive metals.
SUMMARY
[0010] It is a general object of the disclosed invention to
provide a method and apparatus for the production of hydrogen gas.
This and other objects of the present invention are achieved by
providing a method, mixture and apparatus:
[0011] An apparatus for the production of hydrogen, comprising a
reaction medium with a pH less than 7; a first metal, wherein the
first metal is a colloidal metal suspended in the reaction medium;
and a second metal, wherein the second metal is in contact with
the reaction medium.
[0012] According to one preferred embodiment of the present
invention, the second metal is in solid, non-colloidal form
[0013] According to another embodiment, the first metal is less
reactive than the second metal.
[0014] According to another embodiment, the apparatus comprises a
third metal in contact with the reaction medium.
[0015] According to another embodiment, the third metal is in
colloidal form.
[0016] According to another embodiment, the third metal is more
reactive than the second metal.
[0017] According to another embodiment, the apparatus comprises a
reaction vessel for containing the reaction medium, wherein the
reaction vessel is inert to the reaction medium.
[0018] According to another embodiment, the reaction vessel is
configured to maintain an internal pressure above atmospheric
pressure.
[0019] According to another embodiment, the first metal is silver,
gold, platinum, tin, lead, copper, zinc, iron, aluminum,
magnesium, beryllium, nickel or cadmium.
[0020] According to another embodiment, the second metal is iron,
aluminum, magnesium, beryllium, tin, lead, nickel or copper.
[0021] According to another embodiment, the third metal is
aluminum, magnesium, beryllium or lithium.
[0022] According to another embodiment, the reaction medium
comprises hydrogen peroxide.
[0023] According to another embodiment, the reaction medium
comprises formic acid.
[0024] According to another embodiment, the apparatus comprises an
elemental nonmetal in contact with the reaction medium.
[0025] According to another embodiment, the apparatus comprises an
energy source.
[0026] According to another embodiment, the energy source is a
heater.
[0027] According to another embodiment, the energy source is a
light source.
[0028] According to another embodiment, the energy source is an
electrical potential applied to the reaction medium.
[0029] According to another embodiment, the apparatus comprises an
anode and a cathode, wherein the anode and cathode are in contact
with the reaction medium and wherein an electrical potential is
applied between the anode and cathode.
[0030] According to another embodiment, the apparatus comprises
third and fourth metals, wherein at least one of the second, third
or fourth metals is in colloidal form.
BRIEF DESCRIPTION OF THE DRAWINGS
[0031] FIG. 1 is a diagram
of a reactor for the production of hydrogen; and
[0032] FIG. 2 is a diagram
of a laboratory experimental setup.
DETAILED DESCRIPTION
[0033] FIG. 1 shows a mixture and apparatus that may be used for
the production of hydrogen. A reaction vessel 100 contains a
reaction medium 102. The reaction medium preferably comprises
water and an acid, and preferably has a pH less than 5, although
other reaction media may be used including other solvents or
non-liquid media such as gelatinous or gaseous media. The acid is
preferably sulfuric acid with a variable concentration up to 98%
by weight or hydrochloric acid with a variable concentration up to
35% by weight, although other acids may be used. The reaction
vessel 100 is inert to the reaction medium 102. The reaction
medium 102 contains a first colloidal metal (not shown) suspended
in the solution. The first colloidal metal is preferably a metal
with low activity such as silver, gold, platinum, tin, lead,
copper, zinc or cadmium, although other metals may be used.
[0034] The reaction vessel 100 also preferably contains a second
metal 104, at least partially submerged in the reaction medium
102. The second metal 104 may be in any form but is preferably in
the form of a solid with a relatively large surface area, such as
pellet form. The second metal 104 is preferably a metal with a
mid-range activity, such as iron, aluminum, zinc, nickel or tin.
The second metal 104 preferably has a higher activity than the
first colloidal metal. The second metal 104 is most preferably
iron, because of its medium reactivity and low cost. Preferably,
the reaction medium 102 also contains a second colloidal metal
(not shown). The second colloidal metal preferably has a higher
activity than the second metal 104, such as aluminum, magnesium,
beryllium, and lithium. Preferably, the reaction vessel 100 also
contains another metal (not shown), which is a different metal
than the second metal 104, but which is in the same general form.
Therefore, in the most preferable case, the reaction vessel 100
contains two metals in solid form in contact with the reaction
medium 102, as well as two colloidal metals suspended in the
reaction medium 102.
[0035] Alternatively to the above, the reaction medium 102 may
contain a metal salt or metal oxide, rather than an acid and the
second metal 104, in addition to the one or more colloidal metals.
Preferably, the reaction medium 102 contains a solid metal and
either an acid or a metal salt or metal oxide of the same metal as
the solid metal. It is believed that if the reaction medium 102
initially contains a solid metal and a strong acid, such as HCl or
H2SO4, the acid reacts with the solid metal, creating metal ions
and releasing hydrogen gas, until the acid or solid metal is
substantially consumed. It is also believed that a solution
initially containing a metal salt along with a proper colloidal
catalyst will become acidic, even if the initial pH is greater
than 7. Additionally, the apparatus may comprise a combination of
metal salts, oxides and solid metals, in addition to one or more
colloidal metal.
[0036] The reaction vessel 100 has an outlet 106 to allow hydrogen
gas (not shown) to escape. The reaction vessel may also have an
inlet 108 for adding water or other constituents to maintain the
proper concentrations. The reaction vessel may also include one or
more anode (not shown) and one or more cathode (not shown) which
contact the reaction medium. The anodes and cathodes may be used
to provide electrical energy to the reaction or to utilize
electrical energy created by the reactions for other purposes.
[0037] Because the reactions expected to occur in the reaction
vessel are believed to be collectively endothermic, an energy
source 112 is also preferably provided to increase the rate of
reaction, although the reaction may potentially be powered by
ambient heat. While the energy source shown in FIG. 1 is a heater
(hot plate), other forms of energy may be used including electric
and light energy. There may be other effects of light or other
electromagnetic radiation, in addition to the energy effect.
Additionally, the reaction temperature is limited to about
100[deg.] C. at atmospheric pressure where an aqueous solution is
used as the reaction medium or boiling may occur (neglecting
changes in the boiling point due to the addition of solutes).
Therefore, it may be advantageous to perform the reactions in a
reaction vessel 100 which is configured to maintain an internal
pressure above atmospheric pressure so that higher reaction
temperatures may be used.
[0038] Most metals can be produced in a colloidal state in an
aqueous solution. A colloid is a material composed of very small
particles of one substance that are dispersed (suspended), but not
dissolved in solution. Thus colloidal particles do not settle out
of solution even though they exist in the solid state. A colloid
of any particular metal is then a very small particle of that
metal suspended in a solution. These suspended particles of metal
may exist in the solid (metallic) form or in the ionic form, or as
a mixture of the two. The very small size of the particles of
these metals results in a very large effective surface area for
the metal. This very large effective surface area for the metal
can cause the surface reactions of the metal to increase
dramatically when it comes into contact with other atoms or
molecules. The colloidal metals used in the experiments described
below were obtained using a colloidal silver machine sold by CS
Prosystems of San Antonio, Tex. The website of CS Prosystems is
www.csprosystems.com. Colloidal solutions of metals that are
produced using this apparatus result from an electrolytic process
and are thought to contain colloidal particles some of which are
electrically neutral and some of which are positively charged.
Other methods can be employed in the production of colloidal metal
solutions where all of the colloidal particles are thought to be
electrically neutral. It is believed that the positive charge on
the colloidal metal particles used in the experiments described
below provides additional rate enhancement effects. It is still
believed however that it is to a great extent the size and the
resulting surface area of the colloidal particles that causes a
significant portion of the rate enhancement effects that are
detailed below, regardless of the charge on the colloidal
particles. Based on materials from the manufacturer, the particles
of a metal in the colloidal solutions used in the experiments
described below are believed to range in size between 0.001 and
0.01 microns. In such a solution of colloidal metals, the
concentration of the metals is believed to be between about 5 to
20 parts per million.
[0039] Alternative to using a catalyst in colloidal form, it may
be possible to use a catalyst in another form that offers a high
surface-area to volume ratio, such as a porous solid, nanometals,
colloid-polymer nanocomposites and the like. In general, any
catalysts may be in any form with an effective surface area of at
least 298,000,000 m<2 > per cubic meter of catalyst metal,
although smaller surface area ratios may also work.
[0040] Thus when any metal, regardless of its normal reactivity,
is used in its colloidal form, the reaction of the metal with
mineral acids can take place at an accelerated rate. Equations
13-15 are thus general equations that are believed to occur for
any metals in spite of their normal reactivity, where M represents
any metal. M, for instance, can represent, but is not limited to,
silver, copper, tin, zinc, lead, and cadmium. In fact, it has been
found that the reactions shown in equations 13-15 occur at a
significant reaction rate even in solutions of 1% aqueous acid.
2M+2HX->2MX+H2 (13)
M+2HX->MX2+H2 (14)
2M+6HX->2MX3+3H2 (15)
[0041] Even though equations 13-15 represent largely endothermic
processes for a great many metals, particularly those of
traditional low reactivity (for example, but not limited to,
silver, gold, copper, tin, lead, and zinc), the rate of the
reactions depicted in equations 13-15 is in fact very large due to
the surface effects caused by the use of the colloidal metal.
While reactions involved with equations 13-15 take place at a
highly accelerated reaction rate, these reactions do not result in
a useful production of elemental hydrogen since the colloidal
metal by definition is present in very low concentrations.
[0042] A useful preparation of hydrogen results, however, by the
inclusion of a metal more reactive than the colloidal metal such
as, but not limited to, metallic iron, metallic aluminum, or
metallic nickel. Thus any colloidal metal in its ionic form would
be expected to react with the metal Me as indicated in equation
16, where those metals below Me on the electromotive or activity
series of metals would react best.
Me+M<+> ->M+Me<+> (16)
[0043] It is believed that the reaction illustrated by equation 16
in fact takes place quite readily due to the large effective
surface area of the colloidal ion, M<+> , and also due to
the greater reactivity of the metal Me compared to any metal of
lower reactivity which would be of preferable use. In fact, for
metals normally lower in reactivity than Me, equation 16 would
result in a highly exothermic reaction. The resulting metal, M,
would be present in colloidal quantities and thus, it is believed,
undergoes a facile reaction with any mineral acid including, but
not limited to, sulfuric acid, hydrochloric acid, hydrobromic
acid, nitric acid, hydroiodic acid, perchloric acid, and chloric
acid. However, the mineral acid is preferably sulfuric acid,
H2SO4, or hydrochloric acid, HCl. Equation 17 describes this
reaction where the formula HX (or H<+> +X<-> in its
ionic form) is a general representation for any mineral acid.
2M+2H<+> +2X<-> ->2M<+> +H2+2X<-> (17)
[0044] While equation 17 represents an endothermic reaction, it is
believed the exothermicity of the reactions in equation 16
compensates for this, making the combination of the two reactions
energetically obtainable using the thermal energy supplied by
ambient conditions. Of course the supply of additional energy
would accelerate the process.
[0045] Consequently, it is believed that elemental hydrogen is
efficiently and easily produced by the combination of the
reactions shown in equations 18 and 19.
4Me+4M<+> ->4M+4Me<+> (18)
4M+4H<+> +4X<-> ->4M<+> +2H2+4X<-> (19)
[0046] Thus the metal Me reacts with the colloidal metal ion in
equation 18 to produce a colloidal metal and the ionic form of Me.
The colloidal metal will then react with a mineral acid in
equation 19 to produce elemental hydrogen and regenerate the
colloidal metal ion. The colloidal metal ion will then react again
by equation 18, followed again by equation 19, and so on in a
chain reaction process to provide an efficient source of elemental
hydrogen. In principle, any colloidal metal ion should undergo
this process successfully. It is found that the reactions work
most efficiently when the colloidal metal ion is lower in
reactivity than the metal Me on the electromotive series table.
The combining of equations 18 and 19 results in the net equation
20. Equation 20 has as its result the production of elemental
hydrogen from the reaction of the metal Me and a mineral acid.
4 Me+4M<+> ->4M+4Me<+> (18)
+
4M+4H<+> +4X<-> ->4M<+> +2H2+4X<-> (19)
=
4 Me+4H<+> ->4 Me<+> +2H2 (20)
[0047] Equation 20 summarizes a process that provides a very
efficient production of elemental hydrogen where the metal Me and
acid are consumed. It is believed, however, that both the
elemental metal Me and the acid are regenerated as a result of a
voltaic electrochemical process or thermal process that follows.
It is believed that a colloidal metal Mr (which can be the same
one used in equation 18 or a different one) can undergo a voltaic
oxidation-reduction reaction indicated by equations 21 and 22.
Cathode (reduction)
4Mr<+> +4e<-> ->4Mr (21)
Anode (oxidation)
2H2O->4H<+> +O2+4e<-> (22)
[0050] The colloidal metal Mr can in principle be any metal, but
reaction 21 progresses most efficiently when the metal has a
higher (more positive) reduction potential. Thus, the reduction of
the colloidal metal ion, as indicated in equation 21, takes place
most efficiently when the colloidal metal is lower than the metal
Me on the electromotive series of metals. Consequently, any
colloidal metal will be successful, but reaction 21 works best
with colloidal metals such as colloidal silver or lead, due to the
high reduction potential of these metals. When lead, for example,
is employed as the colloidal metal ion in equations 21 and 22, the
pair of reactions is found to take place quite readily. The
voltaic reaction produces a positive voltage as the oxidation and
reduction reactions indicated take place. This positive voltage
can be used to supply the energy required for other chemical
processes. In fact, the voltage produced can even be used to
supply an over potential for reactions employing equations 21 and
22 taking place in another reaction vessel. Thus, this
electrochemical process can be made to take place more quickly
without the supply of an external source of energy. The resulting
colloidal metal, Mr, can then react with oxidized ionic metal, Me,
as indicated in equation 23 which would result in the regeneration
of the metal, Me, and the regeneration of the colloidal metal in
its oxidized form.
4 Me<+> +4Mr->4Mr<+> +4Me (23)
[0051] The reaction described by equation 23 could in fact occur
using as starting material any colloidal metal, but will take
place most effectively when the colloidal metal, Mr, appears above
the metal, Me, on the electromotive series. The combining of
equations 21-23 results in equation 24 which represents the
regeneration of the elemental metal, Me, the regeneration of the
acid, and the formation of elemental oxygen.
4Mr<+> +4e<-> ->4Mr (21)
+
2H2O->4H<+> +O2+4e<-> (22)
+
4Me<+> +4Mr->4Mr<+> +4Me (23)
=
4Me<+> +2H2O->4H<+> +4Me+O2 (24)
[0052] The reaction shown in equations 21 and 22 seems to occur
best when the colloidal metal, Mr, is as low as possible on the
electromotive series of metals; however, the reaction depicted by
equation 23 takes place most efficiently when the colloidal metal,
Mr, is as high as possible on the electromotive series of metals.
The net reaction illustrated by equation 24, which is merely the
sum of equations 21, 22, and 23, could in fact be maximally
facilitated by either colloidal metals of higher activity or by
colloidal metals of low activity. The relative importance of the
reaction illustrated by equations 21 and 22 compared to the
reaction shown in equation 23 would determine the characteristics
of the colloidal metal that would best assist the net reaction in
equation 24. It has been found that the net reaction indicated in
equation 24 proceeds at a maximal rate when the colloidal metal is
of maximum activity, that is, when the colloidal metal is as high
as possible on the electromotive series of metals. It has been
found that the more reactive colloidal metals such as, but not
limited to, colloidal magnesium ion or colloidal aluminum ion
produce the most facile processes for the reduction of cationic
metals.
[0053] The combination of equations 20 and 24 results in a net
process indicated in equation 25. As discussed above, the reaction
depicted in equation 21 proceeds most efficiently when the
colloidal metal is found below the metal, Me, on the electromotive
series. However, the reaction represented by equation 23 is most
favorable when the colloidal metal is found above the metal, Me,
on the electromotive series. Accordingly, it has been observed
that the concurrent use of two colloidal metals, one above the
metal, Me, and one below it in the electromotive series, for
example, but not limited to, colloidal lead and colloidal
aluminum, produces optimum results in terms of the efficiency of
the net process. Since equation 25 merely depicts the
decomposition of water into elemental hydrogen and elemental
oxygen, the complete process for the production of elemental
hydrogen now has only water as an expendable substance, and the
only necessary energy source is supplied by ambient thermal
conditions.
4Me+4H<+> ->4Me<+> +2H2 (20)
4 Me<+> +2H2O->4H<+> +4Me+O2 (24)
2H2O->2H2+O2 (25)
[0054] The net result of this process is exactly that which would
result from the electrolysis of water. Here, however, no
electrical energy needs to be supplied. Although the providing of
additional energy would result in an enhanced rate of hydrogen
formation, the reaction proceeds efficiently when the only energy
supplied is ambient thermal energy. When additional energy is
supplied, it can be supplied in the manner of thermal energy,
electrical energy or as radiant energy. As discussed above, when
the additional energy supplied is in the form of thermal energy,
it may be preferable to use a reaction vessel 100 configured to
maintain internal pressures greater than the prevailing
atmospheric pressure in order increase the boiling point of the
solution, and increase the amount of thermal energy that can be
supplied. The colloidal metallic ion catalysts, as well as the
metal Me, and the acid are regenerated in the process, leaving
only water as a consumable material.
[0055] A further means by which the rate of hydrogen production
could be increased would involve the inclusion of a nonmetal in
the reaction such as, but not limited to, carbon or sulfur. Using
the symbol Z to represent the nonmetal, equation 22 would be
replaced by equation 22A which would provide a more facile
reaction due to the thermodynamic stability of the oxide of the
nonmetal.
2H2O+Z->4H<+> +ZO2+4e<-> (22A)
Equation 24 would then be replaced by equation 24A, and equation
25 would be replaced by equation 25A.
4Me<+> +2H2O+Z->4H<+> +4Me+ZO2 (24A)
2H2O+Z->2H2+ZO2 (25A)
Thus, rather than resulting in the formation of elemental oxygen,
the reaction would produce an oxide of a nonmetal such as CO2 or
SO2, where the thermodynamic stability of the nonmetal oxide would
provide an additional driving force for the reaction, and thus
result in an even faster rate of hydrogen production.
[0056] An alternative to this process involves the introduction of
hydrogen peroxide to react in the place of water. Thus, the
reactions illustrated in equations 22 and 23 would be replaced by
similar reactions illustrated by equations 26 and 27. The net
result of these two reactions would be the reaction represented in
equation 28, the production of elemental hydrogen using an
elemental metal Me and a mineral acid as reactants.
2Me+2M<+> ->2M+2Me<+> (26)
+
2M+2H<+> +2X<-> ->2M<+1> +H2+2X<-> (27)
=
2Me+2H<+> ->2Me<+> +H2 (28)
[0057] The elemental metal, Me, as well as the mineral acid, would
then be regenerated as a result of a different voltaic
electrochemical process followed by a thermal reaction. Again a
colloidal metal, Mr, reacts with hydrogen peroxide in an
oxidation-reduction reaction indicated by equations 29 and 30.
Cathode (reduction)
2Mr<+> +2e<-> ->2Mr(29)
Anode (oxidation)
H2O2->2H<+> +O2+2e<-> (30)
[0060] Due to the fact that hydrogen peroxide has a larger (less
negative) oxidation potential than water, as shown in the standard
oxidation potentials listed below, the oxidation-reduction
reaction resulting from equations 29 and 30 takes place at an
enhanced rate compared to the oxidation-reduction reaction
indicated by equations 21 and 22.
2H2O->4H<+> +O2+4e<-> [epsilon]<0 >
oxidation=-1.229V
H2O2->2H<+> +O2+2e<-> [epsilon]<0 >
oxidation=-0.695V
[0061] The colloidal metal can in principle be any metal but works
most efficiently when the metal has a higher (more positive)
reduction potential. Thus, the regeneration process takes place
most efficiently when the colloidal metal is as low as possible on
the electromotive series of metals. Consequently, any colloidal
metal will be successful, but the reaction works well with
colloidal silver ion, for example, due to the high reduction
potential of silver. When silver is employed as the colloidal
metal ion in equations 29 and 30, the pair of reactions is found
to take place quite readily. The voltaic reaction produces a
positive voltage as the oxidation and reduction reactions
indicated take place. This positive voltage can be used to supply
the energy required for other chemical processes. In fact, the
voltage produced can even be used to supply an over potential for
reactions employing equations 29 and 30 taking place in another
reaction vessel. Thus, this electrochemical process can be made to
take place more quickly without the supply of an external source
of energy. The resulting colloidal metal, Mr, will then react to
regenerate the metal, Me (equation 31).
2Me<+> +2Mr->2Mr<+> +2Me (31)
[0062] The reaction illustrated by equation 31 will take place
most efficiently when the colloidal metal, Mr, is more reactive
than the metal, Me. That is, the reaction in equation 31 will
proceed most efficiently when the colloidal metal, Mr, is above
the metal, Me, on the electromotive series of metals. The
combining of equations 29-31 results in equation 32 which
represents the regeneration of the elemental metal, Me, the
regeneration of the acid, and the formation of elemental oxygen.
2Mr<+> +2e<-> ->2Mr (29)
+
H2O2->2H<+> +O2+2e<-> (30)
+
2Me<+> +2Mr->2Mr<+> +2Me (31)
=
2Me<+> +H2O2->2H<+> +2Me<+> O2 (32)
[0063] The reaction shown in equations 29 and 30 seems to occur
best when the colloidal metal, Mr, is as low as possible on the
electromotive series of metals; however, the reaction depicted by
equation 31 takes place most efficiently when the colloidal metal,
Mr, is as high as possible on the electromotive series of metals.
The net reaction illustrated by equation 32, which is merely the
sum of equations 29, 30, and 31, could in fact be maximally
facilitated by either colloidal metals of higher activity, or by
colloidal metals of lower activity. The relative importance of the
reaction illustrated by equations 29 and 30 compared to the
reaction shown in equation 31 would determine the characteristics
of the colloidal metal that would best assist the net reaction in
equation 32. It has been found that the net reaction indicated in
equation 32 proceeds at a maximal rate when the colloidal metal is
of maximum activity, that is, when the colloidal metal is as high
as possible on the electromotive series of metals. It has been
found that the more reactive colloidal metals such as, but not
limited to, colloidal magnesium ion, and colloidal aluminum ion
produce the most facile reduction processes for the reduction of
cationic metals.
[0064] The combination of equations 28 and 32 results in a. net
process indicated in equation 33. Since equation 33 merely depicts
the decomposition of hydrogen peroxide into elemental hydrogen and
elemental oxygen, the complete process for the production of
elemental hydrogen now has only hydrogen peroxide as an expendable
substance, and the only necessary energy source is supplied by
ambient thermal conditions. Although the providing of additional
energy would result in an enhanced rate of hydrogen formation, the
reaction proceeds efficiently when the only energy supplied is
ambient thermal energy. When additional energy is supplied, it can
be supplied in the manner of thermal energy, electrical energy or
as radiant energy. When the additional energy supplied is in the
form of thermal energy, one is limited by the boiling point of the
solvent. In aqueous systems this would provide a maximum
temperature of 100[deg.] C. Under pressures higher than one
atmosphere, however, temperatures higher than 100[deg.] C. could
be obtained, and would provide an even more enhanced rate of
hydrogen production.
2Me+2H<+> ->2Me<+> +H2 (28)
+
2Me<+> +H2O2->2H<+> +2Me+O2 (32)
=
H2O2->H2+O2 (33)
[0065] Since the regeneration of the metal, Me, and the mineral
acid are significantly lower with respect to reaction rate than
the oxidation of the metal, Me, by a mineral acid, it is the
regeneration of the metal, Me, and the mineral acid that proves to
be rate determining in this process. Since the oxidation of
hydrogen peroxide (equation 30) is more favorable than the
oxidation of water (equation 22), the rate of hydrogen formation
is significantly enhanced when hydrogen peroxide is used in the
place of water. This, of course, must be balanced by the fact that
hydrogen peroxide is obviously a more costly reagent to supply,
and that the ratio of elemental hydrogen to elemental oxygen
becomes one part hydrogen to one part oxygen as indicated in
equation 33. This would differ from the ratio of two parts
hydrogen to one part oxygen as found in equation 25, where water
is oxidized. In cases where the rate of hydrogen production is the
most critical factor, the use of hydrogen peroxide will offer a
significant advantage.
[0066] A further means by which the rate of hydrogen production
could be increased would involve the inclusion of a nonmetal in
the reaction such as, but not limited to, carbon or sulfur. Using
the symbol Z to represent the nonmetal, equation 30 would be
replaced by equation 30A which would provide a more facile
reaction due to the thermodynamic stability of the oxide of the
nonmetal.
H2O2+Z->2H<+> +ZO2+2e<-> (30A)
Equation 32 would then be replaced by equation 32A, and equation
33 would be replaced by equation 33A.
2Me<+> +H2O2+Z->2H<+> +2Me+ZO2 (32A)
H2O2+Z->H2+ZO2 (33A)
[0067] Thus, rather than resulting in the formation of elemental
oxygen, the reaction would produce an oxide of a nonmetal such as
CO2 or SO2, where the thermodynamic stability of the nonmetal
oxide would provide an additional driving force for the reaction,
and thus result in an even faster rate of hydrogen production. A
further alternative to this process involves the introduction of
formic acid to react in the place of water, or hydrogen peroxide.
Thus, the reactions illustrated in equations 22 and 23 would be
replaced by similar reactions illustrated by equations 26 and 27.
The net result of these two reactions would be the reaction
represented in equation 28, the production of elemental hydrogen
using an elemental metal, Me, and a mineral acid as reactants.
2Me+2M<+> ->2M+2Me<+> (26)
+
2M+2H<+> +2X<-> ->2M<+1> +H2+2X<-> (27)
=
2Me+2H<+> ->2Me<+> +H2 (28)
[0068] The elemental Metal, Me, as well as the mineral acid would
then be regenerated as a result of a different voltaic
electrochemical process followed by a thermal reaction. In this
case, however, the colloidal metal, Mr, reacts with formic acid in
an oxidation-reduction reaction indicated by equations 29 and 34.
Cathode (reduction)
2Mr<+> +2e<-> 2Mr (29)
Anode (oxidation)
CH2O2->2H<+> +CO2+2e<-> (34)
[0071] Due to the fact that formic acid has a very favorable
positive oxidation potential compared to the negative ones
reported for water and for hydrogen peroxide, as shown by the
standard oxidation potentials listed below, the
oxidation-reduction reaction resulting from equations 29 and 34
takes place at an enhanced rate compared to the
oxidation-reduction reaction indicated by equations 21 and 22, or
the oxidation-reduction reaction indicated by equations 29 and 30.
2H2O->4H<+> +O2+4e<-> [epsilon]<0>
oxidation=-1.229V
H2O2->2H<+> +O2+2e<-> [epsilon]<0>
oxidation=-0.695V
CH2O2->2H<+> +CO2+2e<-> [epsilon]<0>
oxidation=0.199V
[0072] The colloidal metal can in principle be any metal but works
most efficiently when the metal has a higher (more positive)
reduction potential. Thus, the regeneration process takes place
most efficiently when the colloidal metal is as low as possible on
the electromotive series of metals. Consequently, any colloidal
metal will be successful, but the reaction works well with
colloidal silver ion, for example, due to the high reduction
potential of silver. When silver is employed as the colloidal
metal ion in equations 29 and 34, the pair of reactions is found
to take place quite readily. The voltaic reaction produces a
positive voltage as the oxidation and reduction reactions
indicated take place. This positive voltage can be used to supply
the energy required for other chemical processes. In fact, the
voltage produced can even be used to supply an over potential for
reactions employing equations 29 and 34 taking place in another
reaction vessel. Thus, this electrochemical process can be made to
take place more quickly without the supply of an external source
of energy. The resulting colloidal metal, Mr, will then react to
regenerate the metal, Me (equation 31).
2Me<+> +2Mr->2Mr<+> +2Me (31)
[0073] The reaction illustrated by equation 31 will take place
most efficiently when the colloidal metal, Mr, is more reactive
than the metal, Me. That is, the reaction in equation 31 will
proceed most efficiently when the colloidal metal, Mr, is above
the metal, Me, on the electromotive series of metals. The
combining of equations 29, 34 and 31 produces the net reaction
shown by equation 35. The net reaction represented by equation 35
results in the regeneration of the elemental metal, Me, the
regeneration of the acid, and the formation of carbon dioxide.
2Mr<+> +2e<-> ->2Mr (29)
+
CH2O2->2H<+> +CO2+2e<-> (34)
+
2Me<+> +2Mr->2Mr<+> +2Me (31)
=
2Me<+> +CH2O2->2H<+> +2Me+CO2 (35)
[0074] The reaction shown in equations 29 and 34 seems to occur
best when the colloidal metal, Mr, is as low as possible on the
electromotive series of metals; however, the reaction depicted by
equation 31 takes place most efficiently when the colloidal metal,
Mr, is as high as possible on the electromotive series of metals.
The net reaction illustrated by equation 35, which is merely the
sum of equations 29, 34, and 31, could, in fact, be maximally
facilitated by either colloidal metals of higher activity or by
colloidal metals of lower activity. The relative importance of the
reaction illustrated by equations 29 and 34 compared to the
reaction shown in equation 31 would determine the characteristics
of the colloidal metal that would best assist the net reaction in
equation 35. It has been found that the net reaction indicated in
equation 35 proceeds at a maximal rate when the colloidal metal is
of maximum activity, that is, when the colloidal metal is as high
as possible on the electromotive series of metals. It has been
found that the more reactive colloidal metals such as, but not
limited to, colloidal magnesium ion and colloidal aluminum ion,
produce the most facile reduction processes for the reduction of
the cationic metals.
[0075] The combination of equations 28 and 35 results in a net
process indicated in equation 36. Since equation 33 merely depicts
the decomposition of formic acid into elemental hydrogen and
carbon dioxide, the complete process for the production of
elemental hydrogen now has only formic acid as an expendable
substance, and the only necessary energy source is supplied by
ambient thermal conditions. Although the providing of additional
energy would result in an enhanced rate of hydrogen formation, the
reaction proceeds efficiently when the only energy supplied is
ambient thermal energy. When additional energy is supplied, it can
be supplied in the manner of thermal energy, electrical energy or
as radiant energy. When the additional energy supplied is in the
form of thermal energy, one is limited by the boiling point of the
solvent. In aqueous systems, this would provide a maximum
temperature of 100[deg.] C. Under pressures higher than one
atmosphere, however, temperatures higher than 100[deg.] C. could
be obtained and would provide an even more enhanced rate of
hydrogen production.
2Me+2H<+> ->2Me<+> +H2 (28)
+
2Me<+> +CH2O2->2H<+> +2Me+CO2 (35)
=
CH2O2->H2+CO2 (36)
[0076] Since the regeneration of the metal, Me, and the mineral
acid are significantly lower with respect to reaction rate than
the oxidation of the metal, Me, by a mineral acid, it is the
regeneration of the metal, Me, and the mineral acid that proves to
be rate determining in this process. Since the oxidation of formic
acid (equation 34) is more favorable than the oxidation of water
(equation 22), or the oxidation of hydrogen peroxide (equation
30), the rate of hydrogen formation is significantly enhanced when
formic acid is used in the place of water or in the place of
hydrogen peroxide. This, of course, must be balanced by the facts
that formic acid is a more costly reagent than water, but a less
costly one than hydrogen peroxide, and that the co-product formed
along with hydrogen is carbon dioxide rather than oxygen.
Additionally, the ratio of elemental hydrogen to carbon dioxide is
one part hydrogen to one part carbon dioxide, as indicated in
equation 36. This would differ from the ratio of two parts
hydrogen to one part oxygen, as found in equation 25, where water
is oxidized. In cases, however, where the rate of hydrogen
production is the most critical factor, the use of formic acid
will offer a significant advantage.
[0077] Finally, while all equations depicted here involve the use
of just a single metal, Me, in addition to the colloidal metal(s),
it has been shown that all of the reactions discussed herein can
be carried out using a combination of two or more different metals
in the place of the single metal, Me, along with one or more
colloidal metal(s). It has been shown, in fact, that in some cases
the use of multiple metals results in a significant rate
enhancement over a rather large period of time. In experiments #7
and #10, for example, a mixture of metallic iron and metallic
aluminum is used. The steady state production of hydrogen that
results from experiment #10, for example, is approximately 100 mL
of hydrogen per minute with the total volume of the reaction
vessel being just over 100 mL. In experiments #8 and #9, similar
reactions are carried out with just a single metal, aluminum, and
it is demonstrated that when the reaction rate decreases, the
addition of the second metal, iron, results in an immediate rate
increase to a rate similar to those reactions where the two metals
were present throughout the reaction. It is not clear at this
point what causes this impressive rate enhancement. It is possible
that the multiple metals all take part in the reaction mechanism
to provide a more complicated mechanism having a greater number of
steps, but a lower net activation barrier. Another possibility is
that a second metal might provide a surface where the regenerated
metal, Me, could reform more efficiently. Whatever the
explanation, experiments #9 and #10 very clearly demonstrate that
the rate enhancement caused by the use of two different metals is
quite obvious and quite significant. Experimental Results:
Experiment #1 Summary:
[0078] An initial solution comprising 10 mL of 93% concentration
H2SO4 and 30 mL of 35% concentration HCl was reacted with iron
pellets (sponge iron) and about 50 mL of colloidal magnesium and
80 mL of colloidal lead each at a concentration believed to be
about 20 ppm. A theoretical maximum of 8.06 liters of hydrogen gas
could be produced if solely from the consumption of the acids as
indicated in Table 1.
TABLE 1
Starting Solution Maximum H2 Yield with Acid Consumption
Effective
Total Grams of Maximum H2
Acid mL Concentration Grams Acid
Yield
H2SO4 10 93.0% 18.97 17.64 4.03
liters
HCl 30 35.0% 37.52 13.13 4.03 liters
Maximum H2 Yield: 8.06 liters
1 mole H2SO4 yields 1 mole H2 (22.4 liters)
1 mole H2SO4 = 98 grams
[0079] Therefore, the maximum yield is 0.23 liters of H2 per gram
of H2SO4.
[0080] 2 moles of HCl yields 1 mole H2 (22.4 liters)
[0081] 2 moles of HCl=73 grams
[0082] Therefore, a theoretical maximum yield of 0.31 liters of H2
per gram of HCl is expected without the regeneration reaction.
[0083] The experimental setup was as illustrated in FIG. 2. The
acid and iron solution was placed in flask 202. A hot plate 204
was used to provide thermal energy for the reaction and maintain
the solution at a temperature of about 71[deg.] C. The gas
produced by the reaction was fed through tube 206 to a
volume-measuring apparatus 208. The volume-measuring apparatus 208
was an inverted reaction vessel 210 filled with water and placed
in a water bath 212. The primary purpose of the experiment was to
provide evidence that more than the theoretical maximum 8.06
liters of hydrogen was being produced by the closed-loop process
of the invention.
[0084] The rate of the reaction initially is very fast with
hydrogen generation at ambient temperature. When the acids are
temporally consumed, the regeneration process takes into effect
and the reaction rate slows. Heat may be added to the process to
accelerate the regeneration process.
[0085] At least 15 liters of gas was observed to have been
produced, and the reaction was still proceeding in a continuous
fashion (about 2 bubbles of gas per second at 71[deg.] C.) when
interrupted. It should be noted that the 15 liters of gas observed
does not account for hydrogen gas losses likely due to leakage.
Based upon previous observations and theoretical projections, the
first 8.06 liters of gas produced is likely to be made up of
essentially pure hydrogen, and beyond the theoretical threshold of
8.06 liters, 66.7% by volume of the gas produced would be hydrogen
and the other 33.3% by volume would be oxygen. It is believed this
experiment provides ample evidence of the regeneration process.
[0086] A follow-up experiment was conducted using iron (III)
chloride (FeCl3) as the only source of iron in an attempt to
qualitatively verify the reverse reaction. Pure iron (III)
chloride was chosen because it could be shown to be free of iron
in any other oxidation state. While similar experiments had been
successfully carried out using iron (III) oxide as the source of
iron, the results were clouded by the fact that other oxidation
states of iron may have been present. The results are described in
Experiment #2, below. Experiment #2 Summary:
[0087] An experiment was conducted using 150 mL of iron (III)
chloride in an aqueous solution (commonly used as an etching
solution, purchased from Radio Shack) as the starting materials.
Ten mL of 93% concentration sulfuric acid (H2SO4) was added to the
solution, at which point no reaction occurred. About 50 mL of
colloidal magnesium and 80 mL of colloidal lead each at a
concentration believed to be about 20 ppm were then added, at
which point a chemical reaction began and the bubbling of gases
was evident at ambient temperature. The production of gas
accelerated when the solution was heated to a temperature of
65[deg.] C. The product gas was captured in soap bubbles and the
bubbles were then ignited. The observed ignition of the gaseous
product was typical for a mixture of hydrogen and oxygen.
[0088] Since hydrogen gas could only be produced with a concurrent
oxidation of iron, it is evident that the iron (III) had to be
initially reduced before it could be oxidized, thereby providing
strong evidence of the reverse reaction. This experiment has
subsequently been repeated with hydrochloric acid (HCl) instead of
sulfuric acid, with similar results.
[0089] Two additional follow-up experiments (#3 using aluminum
metal and #4 using iron metal) were conducted to determine if more
hydrogen is produced compared to the maximum amount expected
solely from the consumption of the metal. These results are
described below. Experiment #3 Summary:
[0090] The starting solution had a total volume of 250 mL,
including water, about 50 mL of colloidal magnesium and 80 mL of
colloidal lead, each at a concentration believed to be about 20
ppm, 10 mL of 93% concentration H2SO4 and 30 mL of 35%
concentration HCl as in experiment #1 above. Ten grams of aluminum
metal was added to the solution which was heated and maintained at
90[deg.] C. The reaction ran for 1.5 hours and yielded 12 liters
of gas. The pH was found to have a value under 2.0 at the end of
1.5 hours. The reaction was stopped after 1.5 hours by removing
the unused metal and weighing it. The non-consumed aluminum
weighed 4.5 grams, indicating a consumption of 5.5 grams of
aluminum. The maximum amount of hydrogen gas normally expected by
the net consumption of 5.5 grams of aluminum is 6.8 liters, as
indicated in the table below.
TABLE 2
Starting Solution Maximum H2 Yield With Aluminum Consumption
Total Grams Total Grams Grams Maximum
Metal Initial Supply Final Consumed Yield*
of H2
Aluminum 10 4.5 5.5 6.84 liters
(Al)
*If reacted aluminum has exclusively been used for the production
of hydrogen:
2 moles Al yields 3 moles H2 (67.2 liters)
2 moles Al = 54 grams
[0091] Therefore, a theoretical maximum yield of 1.24 liters of H2
per gram of Al is expected without the regeneration reaction
described above.
[0092] As in experiment #1, based on the total amount of acid
supplied, it is expected that the first 8.06 liters of the gas
generated is pure hydrogen with the balance being 50% hydrogen.
Alternatively, the theoretical amount of hydrogen based on the
amount of aluminum consumed is 6.84 liters. After 6.84 liters (the
maximum yield expected from the aluminum consumed), it is expected
that the remaining gas is 66.7% hydrogen. Therefore, we estimate
that about 10.3 liters of hydrogen (out of about 12 total liters
of gas) was produced in this experiment compared to the maximum of
6.84 or 8.06 liters expected based on the amount of aluminum
consumed and the amount of acid supplied, respectively, thereby
providing additional evidence of the regeneration process.
Experiment #4 Summary:
[0093] The starting solution included a total volume of 250 mL,
including water, about 50 mL of colloidal magnesium and 80 mL of
colloidal lead, each at a concentration believed to be about 20
ppm, 10 mL of 93% concentration H2SO4 and 30 mL of 35%
concentration HCl, as in experiment #1 above. One hundred grams of
iron pellets (sponge iron) was added to the solution, which was
heated and maintained at 90[deg.] C. The reaction ran for 30 hours
and yielded 15 liters of gas. The pH was found to have a value of
about 5.0 at the end of 30 hours. The reaction was stopped after
30 hours by removing the unused metal and weighing it. The
non-consumed iron weighed 94 grams, indicating a consumption of 6
grams of iron. The maximum amount of hydrogen gas normally
expected by the net consumption of 6 grams of iron, without the
regeneration reaction described above, is 2.41 liters, as
indicated in the table below.
TABLE 3
Starting Solution Maximum H2 Yield With Iron Consumption
Total Grams Total Grams Grams Maximum
Metal Initial Supply Final Consumed Yield*
of H2
Iron 100 94 6 2.41 liters
(Fe)
*If reacted iron has exclusively been used for the production of
hydrogen:
1 mole Fe yields 1 mole H2 (22.4 liters)
1 mole Fe = 55.85 grams
[0094] Therefore, a theoretical maximum yield of 0.40 liters of H2
per gram of Fe is expected without the regeneration reaction
described above.
[0095] As in experiment #1, based on the total amount of acid
supplied, it is expected that the first 8.06 liters of the gas
generated is pure hydrogen with the balance being 66.7% hydrogen.
However, the maximum theoretical generation of hydrogen based on
the amount of iron consumed is 2.41 liters. After 2.41 liters (the
maximum yield expected from the iron consumed), it is expected
that the remaining gas is 66.7% hydrogen. Therefore, it is
estimated that about 10.8 liters of hydrogen (out of about 15
total liters of gas) was produced in this experiment using
colloidal catalyst, well over the maximum of 2.41 liters expected
with the amount of iron consumed, thereby providing additional
evidence of the regeneration process. Experiment #5 Summary:
[0096] An experiment was conducted using 200 mL of the final
solution obtained from experiment #4, which contained oxidized
iron plus catalyst and was found to have a pH of about 5. Acid was
added to the solution, as in the above reactions (10 mL of 93%
concentration H2SO4 and 30 mL of 35% concentration HCl), that
brought the pH to a level of about 1. No additional colloidal
materials were added, but 20 grams of aluminum metal was added.
The solution was heated to a constant 96[deg.] C. The reaction
proceeded to produce 32 liters of gas in a span of 18 hours, at
which point the rate of the reaction had slowed significantly and
the pH of the solution had become approximately 5.
[0097] The metal remaining at the end of the 18-hour experiment
was separated and found to have a mass of 9 grams. This metal
appeared to be a mixture of Al and Fe. Therefore, neglecting the
amount of iron and aluminum remaining in solution, there was net
consumption of 11 grams of metal and a net production of 32 liters
of gas.
[0098] As indicated above, based on the amount of acid added to
the reaction, the maximum amount of hydrogen gas expected solely
from the reaction of acid with metal would be 8.06 liters.
Depending on the makeup of the recovered metal, which had a mass
of 9 grams, two extremes are possible: a) assuming the metal
recovered was 100% Al, a maximum of 13.75 liters of hydrogen gas
would be expected from the consumption of 11 grams of aluminum;
and b) alternatively, assuming the metal recovered was 100% Fe, a
maximum of 21.25 liters of hydrogen gas would be expected from the
consumption of 17 grams of aluminum (20 grams supplied minus three
grams used in the production of iron). For purposes of calculating
maximum hydrogen gas generation, we assume the regeneration
process does not occur and the Fe metal would have been generated
from a conventional single displacement reaction with Al.
[0099] The actual percentage of Al and Fe would be somewhere
between the two extremes and, therefore, the maximum amount of
hydrogen gas generated solely from the consumption of metal
(without regeneration) would be between 13.75 liters and 21.25
liters. The observed generation of 32 liters of gas compared to
the maximum amount one would expect from the sole consumption of
metal indicates that the regeneration process is taking place. It
is believed that the increase in the rate of H2 production
resulted from a high concentration of metal ions in the solution
prior to the introduction of the elemental iron. Thus, resulting
solutions from this family of reactions should not be discarded
but rather should be used as the starting point for subsequent
reactions. Consequently, this process for the generation of H2
will not produce significant chemical wastes that need to be
disposed of. Experiment #6 Summary:
[0100] An experiment was conducted using 20 mL FeCl3, 10 mL
colloidal magnesium, and 20 mL colloidal lead at a temperature of
about 90[deg.] C. A gas was produced that is believed to be a
mixture of hydrogen and oxygen, based upon observing the ignition
of the gas. The pH of the mixture decreased during the reaction
from a value of about 4.5 to a value of about 3.5. These
observations show that it is not necessary to introduce either
metallic iron or acid into the solution to produce hydrogen. Since
the electrochemical oxidation/reduction reactions (equations 21-23
resulting in the net equation 24) result in the production of
metallic iron and acid, these two constituents can be produced in
this manner. Presumably, this would eventually attain the same
steady state that is reached when metallic iron and acid are
supplied initially. Experiment #7 Summary
[0101] An initial solution comprising 10 mL of 93% concentration
H2SO4 and 30 mL of 35% concentration HCl was reacted with 20 grams
of iron pellets, and 20 grams of aluminum pellets. There were then
added 50 mL of colloidal magnesium and 80 mL of colloidal lead
each at a concentration believed to be about 20 ppm, producing a
total volume of about 215 mL. A theoretical maximum of 8.06 liters
of hydrogen gas could be produced if solely from the consumption
of the acids as indicated in Table 4.
TABLE 4
Starting Solution Maximum H2 Yield with Acid Consumption
Effective
Total Grams of Maximum H2
Acid mL Concentration Grams Acid
Yield
H2SO4 10 93.0% 18.97 17.64 4.03
liters
HCl 30 35.0% 37.52 13.13 4.03 liters
Maximum H2 Yield: 8.06 liters
1 mole H2SO4 yields 1 mole of H2 (22.4 liters @ STP)
1 mole H2SO4 = 98 grams
[0102] Therefore, a theoretical maximum yield of 0.23 liters of H2
per gram of H2SO4 is expected without the regeneration reaction.
[0103] 2 moles of HCl yields 1 mole of H2 (22.4 liters @ STP)
[0104] 2 moles of HCl=73 grams
[0105] Therefore, a theoretical maximum yield of 0.31 liters of H2
per gram of HCl is expected without the regeneration reaction.
[0106] The experimental setup was as illustrated in FIG. 2. The
mixture of acids and metals was placed in flask 202. A hot plate
204 was used to provide thermal energy for the reaction and
maintain the solution at a temperature of about 71[deg.] C. The
gas produced by the reaction was fed through tube 206 to a
volume-measuring apparatus 208. The volume-measuring apparatus 208
was an inverted reaction vessel 210 filled with water and placed
in a water bath 212. The primary purpose of the experiment was to
provide evidence that more than the theoretical maximum 8.06
liters of hydrogen was being produced by the closed-loop process
of the invention.
[0107] The rate of the reaction initially is very fast with
instantaneous hydrogen generation at a rate of about 20 liters per
hour. After about an hour the rate slows to a steady-state value
of about 8.4 liters of gas produced per hour. Heat may be added to
the process to accelerate the process of regenerating the metals
and the acids.
[0108] While some gas was lost due to leakage and diffusion, at
least 25 liters of gas was collected over a period of three hours,
and the reaction was still proceeding in a continuous fashion at a
rate of 8.4 liters of gas produced per hour. At this point the
experiment was stopped and the remaining metal, a mixture of
aluminum and iron was collected and dried, and was found to have a
mass of 35.5 grams. Thus, 4.5 grams of metal was consumed. Since
the remaining metal was not analyzed, it is not known in what
ratio aluminum and iron reacted; however the simple oxidation of a
metal by an acid would produce a maximum of 5.6 liters of
hydrogen, well below that observed. Based upon previous
observations and theoretical projections, the first 8.06 liters of
gas produced is likely to be made up of essentially pure hydrogen,
and beyond the theoretical threshold of 8.06 liters, 66.7% by
volume of the gas produced would be hydrogen and the other 33.3%
by volume would be oxygen. It is believed this experiment provides
ample evidence for the regeneration process.
[0109] It is believed that the simultaneous use of two metals does
not improve the initial rate of gas formation, but rather produces
a reaction rate that is sustained over a much greater period of
time. In order to further demonstrate this point, two additional
experiments were performed. Experiment #8 Summary:
[0110] An initial solution comprising 10 mL of 93% concentration
H2SO4 and 30 mL of 35% concentration HCl was reacted with 20 grams
of aluminum pellets. There were then added 50 mL of colloidal
magnesium and 80 mL of colloidal lead each at a concentration
believed to be about 20 ppm, producing a total volume of about 215
mL. A theoretical maximum of 8.06 liters of hydrogen gas could be
produced if solely from the consumption of the acids as indicated
in Table 5.
TABLE 5
Starting Solution Maximum H2 Yield with Acid Consumption
Effective
Total Grams of Maximum H2
Acid mL Concentration Grams Acid
Yield
H2SO4 10 93.0% 18.97 17.64 4.03
liters
HCl 30 35.0% 37.52 13.13 4.03 liters
Maximum H2 Yield: 8.06 liters
1 mole H2SO4 yields 1 mole of H2 (22.4 liters @ STP)
1 mole H2SO4 = 98 grams
[0111] Therefore, a theoretical maximum yield of 0.23 liters of H2
per gram of H2SO4 is expected without the regeneration reaction.
[0112] 2 moles of HCl yields 1 mole of H2 (22.4 liters @ STP)
[0113] 2 moles of HCl=73 grams
[0114] Therefore, a theoretical maximum yield of 0.31 liters of H2
per gram of HCl is expected without the regeneration reaction.
[0115] The experimental setup was as illustrated in FIG. 2. The
mixture of acids and metal was placed in flask 202. A hot plate
204 was used to provide thermal energy for the reaction and
maintain the solution at a temperature of about 71[deg.] C. The
gas produced by the reaction was fed through tube 206 to a
volume-measuring apparatus 208. The volume-measuring apparatus 208
was an inverted reaction vessel 210 filled with water and placed
in a water bath 212. The primary purpose of the experiment was to
provide evidence that more than the theoretical maximum 8.06
liters of hydrogen was being produced by the closed-loop process
of the invention.
[0116] The initial reaction rate was similar to that found in
experiment #1, where 9 liters of gas was produced in slightly less
than one hour. At this point, however, the reaction rate was found
to decrease by a factor of approximately one half. The addition of
20 grams of iron caused an immediate increase in reaction rate to
the value that was initially observed at the onset of the
experiment. Experiment #9 Summary:
[0117] An initial solution comprising 10 mL of 93% concentration
H2SO4 and 30 mL of 35% concentration HCl was reacted with 40 grams
of aluminum pellets. There were then added 50 mL of colloidal
magnesium and 80 mL of colloidal lead each at a concentration
believed to be about 20 ppm, producing a total volume of about 215
mL. A theoretical maximum of 8.06 liters of hydrogen gas could be
produced if solely from the consumption of the acids as indicated
in Table 6.
TABLE 6
Starting Solution Maximum H2 Yield with Acid Consumption
Effective
Total Grams of Maximum H2
Acid mL Concentration Grams Acid
Yield
H2SO4 10 93.0% 18.97 17.64 4.03
liters
HCl 30 35.0% 37.52 13.13 4.03 liters
Maximum H2 Yield: 8.06 liters
1 mole H2SO4 yields 1 mole of H2 (22.4 liters @ STP)
1 mole H2SO4 = 98 grams
[0118] Therefore, a theoretical maximum yield of 0.23 liters of H2
per gram of H2SO4 is expected without the regeneration reaction.
[0119] 2 moles of HCl yields 1 mole of H2 (22.4 liters @ STP)
[0120] 2 moles of HCl=73 grams
[0121] Therefore, a theoretical maximum yield of 0.31 liters of H2
per gram of HCl is expected without the regeneration reaction.
[0122] The experimental setup was as illustrated in FIG. 2. The
mixture of acids and metal was placed in flask 202. A hot plate
204 was used to provide thermal energy for the reaction and
maintain the solution at a temperature of about 71[deg.] C. The
gas produced by the reaction was fed through tube 206 to a
volume-measuring apparatus 208. The volume-measuring apparatus 208
was an inverted reaction vessel 210 filled with water and placed
in a water bath 212. The primary purpose of the experiment was to
provide evidence that more than the theoretical maximum 8.06
liters of hydrogen was being produced by the closed-loop process
of the invention.
[0123] The initial reaction rate was similar to that found in
experiment #1, where 9 liters of gas was produced in slightly less
than one hour. At this point however the reaction rate was found
to decrease by a factor of approximately one half. The addition of
20 grams of iron caused an immediate increase in reaction rate to
the value that was observed at the onset of the experiment.
[0124] Clearly an interaction is taking place between the two
metals that produces a reaction that sustains its high rate of gas
production a significant period of time. Experiment #10 Summary:
[0125] An initial solution comprising 10 mL of 93% concentration
H2SO4 and 30 mL of 35% concentration HCl was reacted with 20 grams
of iron pellets, and 20 grams of aluminum pellets. There were then
added 25 mL of colloidal magnesium and 40 mL of colloidal lead
each at a concentration believed to be about 20 ppm, producing a
total volume of about 110 mL. A theoretical maximum of 8.06 liters
of hydrogen gas could be produced if solely from the consumption
of the acids as indicated in Table 7.
TABLE 7
Starting Solution Maximum H2 Yield with Acid Consumption
Effective
Total Grams of Maximum H2
Acid mL Concentration Grams Acid
Yield
H2SO4 10 93.0% 18.97 17.64 4.03
liters
HCl 30 35.0% 37.52 13.13 4.03 liters
Maximum H2 Yield: 8.06 liters
1 mole H2SO4 yields 1 mole of H2 (22.4 liters @ STP)
1 mole H2SO4 = 98 grams
[0126] Therefore, a theoretical maximum yield of 0.23 liters of H2
per gram of H2SO4 is expected without the regeneration reaction.
[0127] 2 moles of HCl yields 1 mole of H2 (22.4 liters @ STP)
[0128] 2 moles of HCl=73 grams
[0129] Therefore, a theoretical maximum yield of 0.31 liters of H2
per gram of HCl is expected without the regeneration reaction.
[0130] The experimental setup was as illustrated in FIG. 2. The
mixture of acids and metals was placed in flask 202. A hot plate
204 was used to provide thermal energy for the reaction and
maintain the solution at a temperature of about 90[deg.] C. The
gas produced by the reaction was fed through tube 206 to a
volume-measuring apparatus 208. The volume-measuring apparatus 208
was an inverted reaction vessel 210 filled with water and placed
in a water bath 212. The primary purpose of the experiment was to
provide evidence that more than the theoretical maximum 8.06
liters of hydrogen was being produced by the closed-loop process
of the invention.
[0131] The rate of the reaction initially is very fast with
instantaneous hydrogen generation at a rate of about 20 liters per
hour. After about an hour the rate slows to a steady-state value
of about 6.0 liters per hour. Additional heat may be added to the
process to further accelerate the process of regenerating the
metals and the acids.
[0132] While some gas was lost due to leakage and diffusion, at
least 32 liters of gas was collected over a period of five hours,
and the reaction was still proceeding in a continuous fashion at a
rate of 6.0 liters per hour. At this point, the experiment was
stopped and the remaining metal, a mixture of aluminum and iron
was collected and dried, and was found to have a mass of about 40
grams. Thus, only a negligible amount of metal was consumed. Since
the remaining metal was not analyzed, it is not known in what
ratio aluminum and iron were present; however, it can be assumed
that approximately 20 grams of each metal was present in the
remaining metallic sample. Based upon previous observations and
theoretical projections, the first 8.06 liters of gas produced is
likely to be made up of essentially pure hydrogen, and beyond the
theoretical threshold of 8.06 liters, 66.7% by volume of the gas
produced would be hydrogen and the other 33.3% by volume would be
oxygen. It is believed this experiment provides further evidence
for a more efficient regeneration process when smaller volumes are
used in the reaction vessel.
[0133] The foregoing experiments were carried out under ambient
lighting conditions which included a mixture of artificial and
natural light sources. When the reactions described were performed
under decreased light conditions, the reaction rates decreased.
However, separate formal testing under decreased lighting has not
been performed.
[0134] It is believed the experimental results described above
demonstrate the potential value of the invention described herein.
However, the calculations are based on the reaction mechanisms
described above and are believed to accurately characterize the
reactions involved in these experiments. However, if it is
discovered that the theories of reactions or the calculations
based thereon are in error, the invention described herein
nevertheless is valid and valuable.
[0135] The embodiments shown and described above are exemplary.
Many details are often found in the art and, therefore, many such
details are neither shown nor described. It is not claimed that
all of the details, parts, elements, or steps described and shown
were invented herein. Even though numerous characteristics and
advantages of the present invention have been described in the
drawings and accompanying text, the description is illustrative
only, and changes may be made in the detail, especially in matters
of shape, size, and arrangement of the parts within the principles
of the inventions to the full extent indicated by the broad
meaning of the terms of the attached claims.
[0136] The restrictive description and drawings of the specific
examples above do not point out what an infringement of this
patent would be, but are to provide at least one explanation of
how to use and make the inventions. The limits of the invention
and the bounds of the patent protection are measured by and
defined in the following claims.
US2006180464 // WO2006113463
Apparatus and method for the
controllable production of hydrogen at an accelerated rate
Inventor: GRIFFIN LINNARD
EC: C25B1/04; C25B9/16B; // IPC: C25B1/02;
C25B11/00; H01M8/06;
Abstract -- An apparatus
for the production of hydrogen is disclosed, the apparatus
comprising some or all of the following features, as well as
additional features as described and claimed: a reaction medium;
an anode in contact with the reaction medium; a cathode in contact
with the reaction medium, wherein the cathode is capable of being
in conductive contact with the anode; a catalyst suspended in the
reaction medium, wherein the catalyst has a high
surface-area-to-volume ratio; a salt dissolved in the reaction
medium; a second high surface-area-to-volume ratio catalyst; a
conductive path connecting the anode and cathode; a controller in
the conductive path; an energy source; a reaction vessel and an
electrical power source configured to provide an electrical
potential between the cathode and the anode. Also disclosed are a
method for producing hydrogen; an electric power generator; and a
battery.
Description
[0001] This application claims priority from U.S. provisional
application No. 60/671,664, filed Apr. 15, 2005; U.S. provisional
application No. 60/678,614, filed May 6, 2005; U.S. provisional
application No. 60/712,265, filed Aug. 29, 2005; and U.S.
provisional application No. 60/737,981, filed Nov. 18, 2005. This
application is also a continuation-in-part of application Ser. No.
11/060,960, filed Feb. 18, 2005, which is a continuation-in-part
of application Ser. No. 10/919,755, filed Aug. 17, 2004, which
claims priority to provisional application Ser. Nos. 60/496,174,
filed Aug. 19, 2003; 60/508,989, filed Oct. 6, 2003; 60/512,663,
filed Oct. 20, 2003; 60/524,468, filed Nov. 24, 2003; 60/531,766,
filed Dec. 22, 2003; and 60/531,767, filed Dec. 22, 2003. Each of
the applications listed above is hereby incorporated by reference
for all purposes.
TECHNICAL FIELD
[0002] The present invention is directed to a method and apparatus
for the production of hydrogen gas from water.
BACKGROUND
[0003] Dihydrogen gas, H2, also referred to as hydrogen gas,
diatomic hydrogen, or elemental hydrogen is a valuable commodity
with many current and potential uses. Hydrogen gas may be produced
by a chemical reaction between water and a metal or metallic
compound. Very reactive metals react with mineral acids to produce
a salt plus hydrogen gas. Equations 1 through 5 are examples of
this process, where HX represents any mineral acid. HX can
represent, for example HCl, HBr, HI, H2SO4, HNO3, but includes all
acids.
2Li+2HX->H2+2LiX (1)
2K+2HX->H2+2KX (2)
2Na+2HX->H2+2NaX (3)
Ca+2HX->H2+CaX2 (4)
Mg+2HX->H2+MgX2 (5)
[0004] Each of these reactions take place at an extremely high
rate due to the very high activity of lithium, potassium, sodium,
calcium, and magnesium, which are listed in order of their
respective reaction rates, with lithium reacting the fastest and
magnesium reacting the most slowly of this group of metals. In
fact, these reactions take place at such an accelerated rate that
they have not been considered to provide a useful method for the
synthesis of hydrogen gas in the prior art.
[0005] Metals of intermediate reactivity undergo the same reaction
but at a much more controllable reaction rate. Equations 6 and 7
are examples, again where HX represents all mineral acids.
Zn+2HX->H2+ZnX2 (6)
2Al+6HX->3H2+2AlX3 (7)
[0006] Reactions of this type provide a better method for the
production of hydrogen gas due to their relatively slower and
therefore more controllable reaction rate. Metals like these have
not, however, been used in prior art production of diatomic
hydrogen because of the expense of these metals.
[0007] Iron reacts with mineral acids by either of the following
equations:
Fe+2HX->H2+FeX2 (8)
or
2Fe+6HX->3H2+2FeX3 (9)
[0008] Due to the rather low activity of iron, both of these
reactions take place at a rather slow reaction rate. The reaction
rates are so slow that these reactions have not been considered to
provide a useful method for the production of diatomic hydrogen in
the prior art. Thus, while iron does provide the availability and
low price needed for the production of elemental hydrogen, it does
not react at a rate great enough to make it useful for hydrogen
production.
[0009] Metals such as silver, gold, and platinum are not found to
undergo reaction with mineral acids under normal conditions in the
prior art.
Ag+HX->No Reaction (10)
Au+HX->No Reaction (11)
Pt+HX->No Reaction (12)
[0010] In neutral or basic solutions very reactive metals react
with water to produce hydrogen gas plus a base. Equations 13-16
are examples of this process.
2Li+2H2O->H2+2LiOH (13)
2K+2H2O->H2+2KOH (14)
2Na+2H2O->H2+2NaOH (15)
Ca+2H2O->H2+Ca(OH)2 (16)
[0011] Each of these reactions take place at an extremely high
rate due to the very high activity of lithium, potassium, sodium,
and calcium, which are listed in order of their respective
reaction rates, with lithium reacting the fastest and calcium
reacting the slowest of this group of metals. In fact, these
reactions take place at such an accelerated rate that they do not
provide a useful method for the synthesis of hydrogen gas.
[0012] Metals of intermediate reactivity undergo the same reaction
in neutral or basic solution but heat must be supplied to promote
these reactions. Equations 17-21 are examples of such a process.
Mg+2H2O->H2+Mg(OH)2 (17)
2Al+6H2O ->3H2+2Al(OH)3 (18)
Zn+2H2O->H2+Zn(OH)2 (19)
Fe+2H2O->H2+Fe(OH)2 (20)
2Fe+6H2O->3H2+2Fe(OH)3 (21)
[0013] While reactions of this type might seem to provide a better
method for the production of hydrogen gas due to their relatively
slower and therefore more controllable reaction rate, the high
temperatures required for these reactions increase the cost of the
process. Metals like these have therefore not been used in the
production of diatomic hydrogen.
[0014] Accordingly, a need exists for a method and apparatus for
the efficient production of hydrogen gas using relatively
inexpensive metals.
SUMMARY
[0015] It is a general object of the disclosed invention to
provide a method and apparatus for the controllable production of
hydrogen gas at an accelerated rate. This and other objects of the
present invention are achieved by providing:
[0016] An apparatus for the production of hydrogen generally
comprising a reaction medium; an anode in contact with the
reaction medium; a cathode in contact with the reaction medium,
wherein the cathode is capable of being in conductive contact with
the anode; and a catalyst suspended in the reaction medium,
wherein the catalyst has a high surface-area-to-volume ratio.
[0017] In an additional embodiment, the catalyst is a colloidal
metal.
[0018] In a further additional embodiment, the catalyst has a
surface-area-to-volume ratio of at least 298,000,000 m<2 >
per cubic meter.
[0019] In a further additional embodiment, a salt is dissolved in
the reaction medium.
[0020] In a further additional embodiment, a cation of the salt is
less reactive than a metal composing the anode.
[0021] In a further additional embodiment, a cation of the salt
comprises zinc or cobalt.
[0022] In a further additional embodiment, the apparatus further
comprises a second catalyst suspended in the reaction medium,
wherein the second catalyst is a colloidal metal or has a
surface-area-to-volume ratio of at least 298,000,000 m<2 >
per cubic meter.
[0023] In a further additional embodiment, the anode and cathode
are connected via a conductive path.
[0024] In a further additional embodiment, the conductive path is
hardwired to the cathode and the anode.
[0025] In a further additional embodiment, the apparatus further
comprises a controller in the conductive path between the cathode
and the anode, wherein the controller is configured to selectively
allow or hinder the flow of electrical current between the cathode
and the anode through the conductive path.
[0026] In a further additional embodiment, the reaction medium is
an aqueous solution.
[0027] In a further additional embodiment, the reaction medium
comprises an acid or a base.
[0028] In a further additional embodiment, the cathode comprises
tungsten carbide or carbonized nickel.
[0029] In a further additional embodiment, the anode comprises
aluminum.
[0030] In a further additional embodiment, the cathode comprises
surface-area-increasing features.
[0031] In a further additional embodiment, the surface area of the
cathode is greater than the surface area of the anode.
[0032] In a further additional embodiment, the apparatus further
comprises an energy source configured to provide energy to the
reaction medium.
[0033] In a further additional embodiment, a reaction vessel
containing the reaction medium is configured to maintain an
internal pressure above atmospheric pressure.
[0034] In a further additional embodiment, the apparatus further
comprises an electrical power source configured to provide an
electrical potential between the cathode and the anode.
[0035] Also disclosed is a battery with many of the above
features.
[0036] Also disclosed is a method of producing hydrogen gas
comprising the steps of: suspending a colloidal metal in a
reaction medium; contacting the reaction medium with a cathode;
contacting the reaction medium with an anode; and electrically
connecting the cathode and the anode.
[0037] In an additional embodiment, the method further comprises
the step of dissolving a salt in the reaction medium.
[0038] In an additional embodiment, the method further comprises
the steps of: interrupting the conductive path between the anode
and cathode; and providing an electrical potential between the
anode and cathode.
[0039] In an additional embodiment, the method further comprises
the step of adding energy to the reaction medium.
[0040] Also disclosed is a method of controlling the production of
hydrogen generally comprising the steps of: suspending a colloidal
metal in a reaction medium; contacting the reaction medium with a
cathode; contacting the reaction medium with an anode; connecting
the cathode and the anode via a conductive path; and varying the
resistance along the conductive path.
[0041] Also disclosed is an electrical power generator generally
comprising: a reaction vessel; a reaction medium contained within
the reaction vessel; an anode in contact with the reaction medium;
a cathode in contact with the reaction medium, wherein the cathode
is in conductive contact with the anode; a catalyst metal in
contact with the reaction medium, wherein the catalyst metal is in
colloidal form or has a surface-area-to-volume ratio of at least
298,000,000 m2 per cubic meter; an outlet in the reaction vessel
configured to allow hydrogen gas to escape from the reaction
vessel; and a fuel cell configured to accept hydrogen has from the
outlet and use the gas to produce an electric potential.
BRIEF DESCRIPTION OF THE DRAWING
[0042] FIG. 1 is a diagram of a reactor for the production of
hydrogen.
DETAILED DESCRIPTION
[0043] Most metals can be produced in a colloidal state in an
aqueous solution. A colloid is a material composed of very small
particles of one substance that are dispersed (suspended), but not
dissolved in solution. Thus, colloidal particles do not settle out
of solution, even though they exist in the solid state. A colloid
of any particular metal is then a very small particle of that
metal suspended in a solution. These suspended particles of metal
may exist in the solid (metallic) form or in the ionic form, or as
a mixture of the two. The very small size of the particles of
these metals results in a very large effective surface area for
the metal. This very large effective surface area for the metal
can cause the surface reactions of the metal to increase
dramatically when it comes into contact with other atoms or
molecules.
[0044] The catalysts used in the experiments described below are
colloidal metals obtained using a colloidal silver machine, model:
Hvac-Ultra, serial number: U-03-98-198, sold by CS Prosystems of
San Antonio, Tex. The website of CS Prosystems is
www.csprosystems.com. Colloidal solutions of metals that are
produced using this apparatus result from an electrolytic process
and are thought to contain colloidal particles, some of which are
electrically neutral and some of which are positively charged.
Other methods can be employed in the production of colloidal metal
solutions. It is believed that the positive charge on the
colloidal metal particles used in the experiments described below
provides additional rate enhancement effects. It is still
believed, however, that it is to a great extent the size and the
resulting surface area of the colloidal particles that causes a
significant portion of the rate enhancement effects that are
detailed below, regardless of the charge on the colloidal
particles. Based upon data provided by the manufacturer of the
machine used, the particles of a metal in the colloidal solutions
used in the experiments described below are believed to range in
size between 0.001 and 0.01 microns. In such a solution of
colloidal metals, the concentration of the metals is believed to
be between about 5 to 20 parts per million.
[0045] Alternative to using a catalyst in colloidal form, it may
be possible to use a catalyst in another form that offers a high
surface-area-to-volume ratio, such as a porous solid, nanometals,
colloid-polymer nanocomposites and the like. In general, the
catalysts may be in any form with an effective surface area that
preferably on the order of 298,000,000 m2 per cubic meter of
catalyst, although smaller surface area ratios may also work.
Reactions In Acidic Media
[0046] Thus, when any metal, regardless of its normal reactivity,
is used in its colloidal form, the reaction of the metal with
mineral acids can take place at an accelerated rate. Equations
22-24 are thus general equations that are believed to occur for
any metals in spite of their normal reactivity, where M represents
any metal in colloidal form. M, for instance, can represent, but
is not limited to, silver, copper, tin, zinc, lead, and cadmium.
In fact, it has been found that the reactions shown in equations
22-24 occur at a significant reaction rate even in solutions of 1%
aqueous acid.
2M+2HX->2MX+H2 (22)
M+2HX->MX2+H2 (23)
2M+6HX->2MX3+3H2 (24)
[0047] Even though equations 22-24 represent largely endothermic
processes for many metals, particularly those of low reactivity
(for example, but not limited to, silver, gold, copper, tin, lead,
and zinc), the rate of the reactions depicted in equations 22-24
is in fact very high due to the surface effects caused by the use
of the colloidal metal. While the reactions portrayed in equations
22-24 take place at a highly accelerated reaction rate, these
reactions do not result in a useful production of elemental
hydrogen since the colloidal metal by definition is present in
very low concentrations.
[0048] A useful preparation of hydrogen results, however, by the
inclusion of a metal more reactive than the colloidal metal such
as, but not limited to, metallic iron, metallic aluminum, or
metallic nickel. Thus, any colloidal metal in its ionic form,
M<+> , would be expected to react with the metal Me as
indicated in equation 25, where those metals M<+> below Me
on the electromotive or activity series of metals would react
best.
Me+M<+> ->M+Me<+> (25)
[0049] It is believed that the reaction illustrated by equation 25
takes place quite readily due to the large effective surface area
of the colloidal ion, M<+> , and also due to the greater
reactivity of the metal Me compared to M<+> , which is
preferably of lower reactivity. In fact, for metals normally lower
in reactivity than Me, equation 25 would result in a highly
exothermic reaction. The metal, M, resulting from reduction of the
colloidal ion, M<+> , would be present in colloidal
quantities and thus, it is believed, undergoes a facile reaction
with any mineral acid including, but not limited to, sulfuric
acid, hydrochloric acid, hydrobromic acid, nitric acid, hydroiodic
acid, perchloric acid, and chloric acid. However, the mineral acid
is preferably sulfuric acid, H2SO4, or hydrochloric acid, HCl.
Equation 26 describes this reaction where the formula HX (or
H<+> +X<-> in its ionic form) is a general
representation for any mineral acid.
2M+2H<+> +2X<-> ->2M<+> +H2+2X<-> (26)
[0050] While equation 26 represents an endothermic reaction, it is
believed the exothermicity of the reactions in equation 25
compensates for this, making the combination of the two reactions
energetically obtainable using the thermal energy supplied by
ambient conditions. Of course the supply of additional energy
accelerates the process.
[0051] Consequently, it is believed that elemental hydrogen is
efficiently and easily produced by the combination of the
reactions shown in equations 27 and 28.
4Me+4M<+> ->4M+4Me<+> (27)
4M+4H<+> +4X<-> ->4M<+> +2H2+4X<-> (28)
[0052] Thus the metal Me reacts with the colloidal metal ion in
equation 27 to produce a colloidal metal and the ionic form of Me.
The colloidal metal will then react with a mineral acid in
equation 28 to produce elemental hydrogen and regenerate the
colloidal metal ion. The colloidal metal ion will then react again
by equation 27, followed again by equation 28, and so on in a
chain process to provide an efficient source of elemental
hydrogen.
[0053] In principle, any colloidal metal ion should undergo this
process successfully. It is found that the reactions work most
efficiently when the colloidal metal is lower in reactivity than
the metal Me on the electromotive series table. The combining of
equations 27 and 28 produces a net reaction that is illustrated by
equation 29. Equation 29 has as its result the production of
elemental hydrogen from the reaction of the metal Me and a mineral
acid.
4Me+4M<+> ->4M+4Me<+> (27)
+
4M+4H<+> +4X<-> ->4M<+> +2H2+4X<-> (28)
=
4Me+4H<+> ->4Me<+> +2H2 (29)
[0054] Equation 29 summarizes a process that provides for very
efficient production of elemental hydrogen where the metal Me and
acid are consumed. It is believed, however, that both the
elemental metal Me and the acid are regenerated as a result of a
voltaic electrochemical process or thermal process that follows.
It is believed that a colloidal metal Mr (which can be the same
one used in equation 27 or a different metal) can undergo a
voltaic oxidation-reduction reaction indicated by equations 30 and
31.
Cathode (reduction) 4Mr<+> +4e<-> ->4Mr (30)
Anode (oxidation) 2H2O->4H<+> +O2+4e<-> (31)
[0055] The colloidal metal Mr can in principle be any metal, but
reaction 30 progresses most efficiently when the metal has a
higher (more positive) reduction potential. Thus, the reduction of
the colloidal metal ion, as indicated in equation 30, takes place
most efficiently when the colloidal metal is lower than the metal
Me on the electromotive series of metals. Consequently, any
colloidal metal will be successful, but reaction 30 works best
with colloidal metals such as colloidal silver or lead, due to the
high reduction potential of these metals. When lead, for example,
is employed as the colloidal metal ion in equations 30 and 31, the
pair of reactions is found to take place quite readily. The
voltaic reaction produces a positive voltage as the oxidation and
reduction reactions take place. This positive voltage can be used
to supply the energy required for other chemical processes. In
fact, the voltage produced can even be used to supply an over
potential for reactions employing equations 30 and 31 taking place
in another reaction vessel. Thus, this electrochemical process can
be made to take place more quickly without the supply of an
external source of energy. The resulting colloidal metal, Mr, can
then react with oxidized ionic metal, Me<+> , as indicated
in equation 32, which would result in the regeneration of the
metal, Me, and the regeneration of the colloidal metal in its
oxidized form.
4Me<+> +4Mr->4Mr<+> +4Me (32)
[0056] The reaction described by equation 32 could in fact occur
using as starting material any colloidal metal, but will take
place most effectively when the colloidal metal, Mr, appears above
the metal, Me, on the electromotive series. The combining of
equations 30-32 results in equation 33 which represents the
regeneration of the elemental metal, Me, the regeneration of the
acid, and the formation of elemental oxygen.
4Mr<+> +4e<-> ->4Mr (30)
+
2H2O->4H<+> +O2+4e<-> (31)
+
4Me<+> +4Mr->4Mr<+> +4Me (32)
=
4Me<+> +2H2O->4H<+> +4Me+O2 (33)
[0057] It is believed that the reaction shown in equations 30 and
31 occur best when the colloidal metal, Mr, is as low as possible
on the electromotive series of metals; however, it is believed
that the reaction depicted by equation 32 takes place most
efficiently when the colloidal metal, Mr, is as high as possible
on the electromotive series of metals. The net reaction
illustrated by equation 33, which is merely the sum of equations
30, 31, and 32, could in fact be maximally facilitated by either
colloidal metals of higher activity or by colloidal metals of
lower activity. The relative importance of the reaction
illustrated by equations 30 and 31 compared to the reaction shown
in equation 32 would determine the characteristics of the
colloidal metal that would best assist the net reaction in
equation 33. It has been found that the net reaction indicated in
equation 33 proceeds at a maximal rate when the colloidal metal is
of higher activity, that is, when the colloidal metal is higher on
the electromotive series of metals. It has been found that the
more reactive colloidal metals such as, but not limited to,
colloidal magnesium ion or colloidal aluminum ion produce the most
facile processes for the reduction of cationic metals.
[0058] The combination of equations 29 and 33 results in a net
process indicated in equation 34. As discussed above, the reaction
depicted in equation 30 proceeds most efficiently when the
colloidal metal is found below the metal, Me, on the electromotive
series. However, the reaction represented by equation 32 is most
favorable when the colloidal metal is found above the metal, Me,
on the electromotive series. Accordingly, it has been observed
that the concurrent use of two colloidal metals, one above the
metal, Me, and one below it in the electromotive series-for
example, but not limited to, colloidal lead and colloidal
aluminum-produces optimum results in terms of the efficiency of
the net process. Since equation 34 merely depicts the
decomposition of water into elemental hydrogen and elemental
oxygen, the complete process for the production of elemental
hydrogen now has only water as an expendable substance, and the
only necessary energy source is supplied by ambient thermal
conditions.
4Me+4H<+> ->4Me<+> +2H2 (29)
+
4Me<+> +2H2O->4H<+> +4Me+O2 (33)
=
2H2O->2H2+O2 (34)
[0059] The net result of this process is exactly that which would
result from the electrolysis of water. Here, however, no
electrical energy needs to be supplied. Although the providing of
additional energy would result in an enhanced rate of hydrogen
formation, the reaction proceeds efficiently when the only energy
supplied is ambient thermal energy. When additional energy is
supplied, it can be supplied in the form of thermal energy, solar
energy, electrical energy, radiant energy or other energy forms.
When the additional energy supplied is thermal in nature, the
maximum temperature achievable at atmospheric pressure is the
boiling point of the solution; in aqueous systems this would be
approximately a temperature of 100[deg.] C. At pressures greater
than one atmosphere, however, temperatures higher than 100[deg.]
C. could be obtained, and would provide an even more enhanced rate
of hydrogen production. Therefore, when the additional energy
supplied is in the form of thermal energy, it may be preferable to
use a reaction vessel configured to maintain internal pressures
greater than the prevailing atmospheric pressure, in order
increase the boiling point of the solution and increase the amount
of thermal energy that can be supplied. The colloidal metallic ion
catalysts M<+> and/or Mr<+> as well as the metal Me
and the acid are regenerated in the process, leaving only water as
a consumable material. Elemental Nonmetal
[0060] A further means by which the rate of hydrogen production
could be increased involves the inclusion of a nonmetal in the
reaction such as, but not limited to, carbon or sulfur. Using the
symbol Z to represent the nonmetal, equation 31 would be replaced
by equation 35 which portrays a more facile reaction due to the
thermodynamic stability of the oxide of the nonmetal.
2H2O+Z->4H<+> +ZO2+4e<-> (35)
[0061] Equation 33 would then be replaced by equation 36, and
equation 34 would be replaced by equation 37.
4Me<+> +2H2O+Z->4H<+> +4Me+ZO2 (36)
2H2O+Z->2H2+ZO2 (37)
Thus, rather than resulting in the formation of elemental oxygen,
O2, the reaction would produce an oxide such as CO2 or SO2 of a
nonmetal, where the thermodynamic stability of the nonmetal oxide
would provide an additional driving force for the reaction and
thus result in an even faster rate of hydrogen production.
Reducing Agents
[0062] An alternative to the above process involves the
introduction of a reducing agent such as hydrogen peroxide to
react in the place of water. Thus, the reactions illustrated in
equations 31 and 32 would be replaced by similar reactions
illustrated by equations 38 and 39. The net result of these two
reactions would be the reaction represented in equation 40, the
production of elemental hydrogen using an elemental metal Me and a
mineral acid as reactants.
2Me+2M<+> ->2M+2Me<+> (38)
+
2M+2H<+> +2X<-> ->2M<+1> +H2+2X<-> (39)
=
2Me+2H<+> ->2Me<+> +H2 (40)
[0063] The elemental metal, Me, as well as the mineral acid, would
then be regenerated as a result of a different voltaic
electrochemical process followed by a thermal reaction. Again, a
colloidal metal, Mr, reacts with hydrogen peroxide in an
oxidation-reduction reaction indicated by equations 41 and 42.
Cathode (reduction) 2Mr<+> +2e<-> ->2Mr (41)
Anode (oxidation) H2O2->2H<+> +O2+2e<-> (42)
[0064] Due to the fact that hydrogen peroxide has a larger (less
negative) oxidation potential than water, as shown in the standard
oxidation potentials listed below, the oxidation-reduction
reaction resulting from equations 41 and 42 takes place at an
enhanced rate compared to the oxidation-reduction reaction
indicated by equations 30 and 31.
2H2O->4H<+> +O2+4e<-> [epsilon]<0 >
oxidation=-1.229V
H2O2->2H<+> +O2+2e<-> [epsilon]<0 >
oxidation=-0.695V
[0065] The colloidal metal, Mr, can, in principle, be any metal
but works most efficiently when the metal has a high (more
positive) reduction potential. Thus, the regeneration process
takes place most efficiently when the colloidal metal is as low as
possible on the electromotive series of metals. Consequently, any
colloidal metal will be successful, but the reaction works well
with colloidal silver ion, for example, due to the high reduction
potential of silver. When silver is employed as the colloidal
metal ion in equations 41 and 42, the pair of reactions is found
to take place readily. The voltaic reaction produces a positive
voltage as the oxidation and reduction reactions indicated take
place. This positive voltage can be used to supply the energy
required for other chemical processes. In fact, the voltage
produced can even be used to supply an over-potential for
reactions employing equations 41 and 42 taking place in another
reaction vessel. Thus, this electrochemical process can be made to
take place more quickly without the supply of an external source
of energy. The resulting colloidal metal, Mr, will then react to
regenerate the metal, Me (equation 43).
2Me<+> +2Mr->2Mr<+> +2 (43)
[0066] The reaction illustrated by equation 43 will take place
most efficiently when the colloidal metal, Mr, is more reactive
than the metal, Me. That is, the reaction in equation 43 will
proceed most efficiently when the colloidal metal, Mr, is above
the metal, Me, on the electromotive series of metals. The
combining of equations 41-43 results in equation 44 which
represents the regeneration of the elemental metal, Me, the
regeneration of the acid, and the formation of elemental oxygen.
2Mr<+> +2e<-> ->2Mr (41)
+
H2O2->2H<+> +O2+2e<-> (42)
+
2Me<+> +2Mr->2Mr<+> +2Me (43)
=
2Me<+> +H2O2->2H<+> +2Me+O2 (44)
[0067] The reactions shown in equations 41 and 42 seem to occur
best when the colloidal metal, Mr, is as low as possible on the
electromotive series of metals; however, the reaction depicted by
equation 43 takes place most efficiently when the colloidal metal,
Mr, is as high as possible on the electromotive series of metals.
The net reaction illustrated by equation 44, which is merely the
sum of equations 41, 42, and 43, could in fact be facilitated by
either colloidal metals of higher activity or lower activity than
Me. The relative importance of the reaction illustrated by
equations 41 and 42 compared to the reaction shown in equation 43
would determine the characteristics of the colloidal metal that
would best assist the net reaction in equation 44. It has been
found that the net reaction indicated in equation 44 proceeds at a
maximal rate when the colloidal metal is of higher activity, that
is, when the colloidal metal is as high as possible on the
electromotive series of metals. It has been found that the more
reactive colloidal metals such as, but not limited to, colloidal
magnesium ion and colloidal aluminum ion produce the most facile
reduction processes for the reduction of cationic metals.
[0068] The combination of equations 40 and 44 results in the net
process indicated in equation 45. Since equation 45 merely depicts
the decomposition of hydrogen peroxide into elemental hydrogen and
elemental oxygen, the complete process for the production of
elemental hydrogen now has only hydrogen peroxide as an expendable
substance, and the only necessary energy source is supplied by
ambient thermal conditions.
2Me+2H<+> ->2Me<+> +H2 (40)
+
2Me<+> +H2O2->2H<+> +2Me+O2 (44)
=
H2O2->H2+O2 (45)
[0069] Since the rate of regeneration of the metal, Me, and the
mineral acid are significantly lower than the rate of oxidation of
the metal, Me, by a mineral acid, it is the regeneration of the
metal, Me, and the mineral acid that proves to be rate-determining
in this process. Since the oxidation of hydrogen peroxide
(equation 42) is more favorable than the oxidation of water
(equation 31), the rate of hydrogen formation is significantly
enhanced when hydrogen peroxide is used in the place of water.
This, of course, must be balanced by the fact that hydrogen
peroxide is obviously a more costly reagent to supply, and that
the ratio of elemental hydrogen to elemental oxygen becomes one
part hydrogen to one part oxygen as indicated in equation 45. This
would differ from the ratio of two parts hydrogen to one part
oxygen as found in equation 34, where water is oxidized. In cases
where the rate of hydrogen production is the more critical factor,
the use of hydrogen peroxide will offer a significant advantage.
[0070] A further means by which the rate of hydrogen production
could be increased would involve the inclusion of a nonmetal in
the reaction such as, but not limited to, carbon or sulfur. Using
the symbol Z to represent the nonmetal, equation 42 would be
replaced by equation 46 which portrays a more facile reaction due
to the thermodynamic stability of the oxide of the nonmetal.
H2O2+Z->2H<+> +ZO2+2e<-> (46)
Equation 44 would then be replaced by equation 47, and equation 45
would be replaced by equation 48.
2Me<+> +H2O2+Z->2H<+> +2Me+ZO2 (47)
H2O2+Z->H2+ZO2 (48)
[0071] Thus, rather than resulting in the formation of elemental
oxygen, O2, the reaction would produce an oxide such as CO2 or SO2
of a nonmetal, where the thermodynamic stability of the nonmetal
oxide would provide an additional driving force for the reaction,
and thus result in an even faster rate of hydrogen production.
[0072] A further alternative to this process involves the
introduction of other reducing agents, such as formic acid, to
react in the place of water or hydrogen peroxide. Thus, the
reactions illustrated in equations 31 and 32 would be replaced by
similar reactions illustrated by equations 38 and 39. The net
result of these two reactions would be the reaction represented in
equation 40, the production of elemental hydrogen using an
elemental metal, Me, and a mineral acid as reactants.
2Me+2M<+> ->2M+2Me<+> (38)
+
2M+2H<+> +2X<-->2> M<+1> +H2+2X<-> (39)
=
2Me+2H<+> ->2Me<+> +H2 (40)
[0073] The elemental metal, Me, as well as the mineral acid would
then be regenerated as a result of a different voltaic
electrochemical process followed by a thermal reaction. In this
case, however, the colloidal metal, Mr, reacts with formic acid in
an oxidation-reduction reaction indicated by equations 41 and 49.
Cathode (reduction) 2Mr<+> +2e<-> ->2Mr (41)
Anode (oxidation) CH2O2->2H<+> +CO2+2e<-> (49)
[0074] Due to the fact that formic acid has a very favorable
positive oxidation potential compared to the negative ones
reported for water and for hydrogen peroxide, as shown by the
standard oxidation potentials listed below, the
oxidation-reduction reaction resulting from equations 41 and 49
takes place at an enhanced rate compared to the
oxidation-reduction reaction indicated by equations 30 and 31, or
the oxidation-reduction reaction indicated by equations 41 and 42.
2H2O->4H<+> +O2+4e<-> [epsilon]<0>
oxidation=-1.229V
H2O2->2H<+> +O2+2e<-> [epsilon]<0>
oxidation=-0.695V
CH2O2->2H<+> +CO2+2e<-> [epsilon]<0>
oxidation=0.199V
[0075] The colloidal metal, Mr, can in principle be any metal but
works most efficiently when the metal has a high (more positive)
reduction potential. Thus, the regeneration process takes place
most efficiently when the colloidal metal is as low as possible on
the electromotive series of metals. Consequently, any colloidal
metal will be successful, but the reaction works well with
colloidal silver ion, for example, due to the high reduction
potential of silver. When silver is employed as the colloidal
metal ion in equations 41 and 49, the pair of reactions is found
to take place quite readily. The voltaic reaction produces a
positive voltage as the oxidation and reduction reactions
indicated take place. This positive voltage can be used to supply
the energy required for other chemical processes. In fact, the
voltage produced can even be used to supply an over-potential for
reactions employing equations 41 and 49 taking place in another
reaction vessel. Thus, this electrochemical process can be made to
take place more quickly without the supply of an external source
of energy. The resulting colloidal metal, Mr, will then react to
regenerate the metal, Me (equation 43).
2Me<+> +2Mr->2Mr<+> +2Me (43)
[0076] The reaction illustrated by equation 43 will take place
most efficiently when the colloidal metal, Mr, is more reactive
than the metal, Me. That is, the reaction in equation 43 will
proceed most efficiently when the colloidal metal, Mr, is above
the metal, Me, on the electromotive series of metals. The
combining of equations 41, 49 and 43 produces the net reaction
shown by equation 50. The net reaction represented by equation 50
results in the regeneration of the elemental metal, Me, the
regeneration of the acid, and the formation of carbon dioxide.
2Mr<+> +2e<-> ->2Mr (41)
+
CH2O2->2H<+> +CO2+2e<-> (49)
+
2Me<+> +2Mr->2Mr<+> +2Me (43)
=
2Me<+> +CH2O2->2H<+> +2Me+CO2 (50)
[0077] The reactions shown in equations 41 and 49 seem to occur
best when the colloidal metal, Mr, is as low as possible on the
electromotive series of metals. However, the reaction depicted by
equation 43 takes place most efficiently when the colloidal metal,
Mr, is as high as possible on the electromotive series of metals.
The net reaction illustrated by equation 50, which is merely the
sum of equations 41, 49, and 43, could, in fact, be maximally
facilitated by either colloidal metals of higher activity or by
colloidal metals of lower activity. The relative importance of the
reaction illustrated by equations 41 and 49 compared to the
reaction shown in equation 43 would determine the characteristics
of the colloidal metal that would best assist the net reaction in
equation 50. It has been found that the net reaction indicated in
equation 50 proceeds at a maximal rate when the colloidal metal is
of maximum activity, that is, when the colloidal metal is as high
as possible on the electromotive series of metals. It has been
found that the more reactive colloidal metals such as, but not
limited to, colloidal magnesium ion and colloidal aluminum ion,
produce the most facile reduction processes for the reduction of
the cationic metals.
[0078] The combination of equations 40 and 50 results in a net
process indicated in equation 51. Since equation 51 merely depicts
the decomposition of formic acid into elemental hydrogen and
carbon dioxide, the complete process for the production of
elemental hydrogen now has only formic acid as an expendable
substance, and the only necessary energy source is supplied by
ambient thermal conditions. Although the providing of additional
energy would result in an enhanced rate of hydrogen formation, the
reaction proceeds efficiently when the only energy supplied is
ambient thermal energy.
2Me+2H<+> ->2Me<+> +H2 (40)
+
2Me<+> +CH2O2->2H<+> +2Me+CO2 (50)
=
CH2O2->H2+CO2 (51)
[0079] Since the regeneration of the metal, Me, and the mineral
acid are significantly lower with respect to reaction rate than
the oxidation of the metal, Me, by a mineral acid, it is the
regeneration of the metal, Me, and the mineral acid that is
believed to be rate determining in this process. Since the
oxidation of formic acid (equation 49) is more favorable than the
oxidation of water (equation 31), or the oxidation of hydrogen
peroxide (equation 42), the rate of hydrogen formation is
significantly enhanced when formic acid is used in the place of
water or in the place of hydrogen peroxide. This, of course, must
be balanced by the facts that formic acid is a more costly reagent
than water, but a less costly one than hydrogen peroxide, and that
the co-product formed along with hydrogen is carbon dioxide rather
than oxygen. Additionally, the ratio of elemental hydrogen to
carbon dioxide is one part hydrogen to one part carbon dioxide, as
indicated in equation 51. This would differ from the ratio of two
parts hydrogen to one part oxygen, as found in equation 34, where
water is oxidized. In cases, however, where the rate of hydrogen
production is the most critical factor, the use of formic acid
will offer a significant advantage. Multiple Metals
[0080] Finally, while all equations depicted here involve the use
of just a single metal, Me, in addition to the colloidal metal(s)
M and/or Mr, it has been found that all of the reactions discussed
herein can be carried out using a combination of two or more
different metals in the place of the single metal, Me, along with
one or more colloidal metal(s). It has been found, in fact, that
in some cases the use of multiple metals results in a significant
rate enhancement over a rather large period of time. In
experiments #7 and #10, for example, both metallic iron and
metallic aluminum are used. The steady state production of
hydrogen that results from experiment #10, for example, is
approximately 100 mL of hydrogen per minute with the total volume
of the reaction vessel being just over 100 mL. In experiments #8
and #9, similar reactions are carried out with just a single
metal, aluminum, and it is demonstrated that when the reaction
rate decreases, the addition of the second metal, iron, results in
an immediate rate increase to a rate similar to those reactions
where the two metals were present throughout the reaction.
Reactions in Neutral or Basic Media
[0081] When any metal, regardless of its normal reactivity, is
used in its colloidal form, the reaction of the metal with water
in neutral or basic solutions can take place at an accelerated
rate. Equations 52-54 are general equations that can be made to
occur for any metals in spite of their normal reactivity, where Mf
represents any metal in colloidal form. Mf, for instance, can
represent but is not limited to Ag, Cu, Sn, Zn, Pb, Mg, Fe, Al and
Cd. In fact, it has been found that the reactions shown in
equations 52-54 occur at a significant rate.
2Mf+2H2O->2MfOH+H2 (52)
Mf+2H2O->Mf(OH)2+H2 (53)
2Mf+6H2O->2Mf(OH)3+3H2 (54)
[0082] Even though equations 52-54 would represent largely
endothermic processes for a great many metals, particularly those
of traditional low reactivity (for example but not limited to
silver, gold, copper, tin, lead, nickel, and zinc), the rates of
the reactions depicted in equations 52-54 could in fact be very
large due to the surface effects caused by the use of the
colloidal metal. While reactions represented by equations 52-54
would take place at a highly accelerated rate, they would not
result in a useful production of elemental hydrogen since the
colloidal metal by definition is present in very low
concentrations, and would therefore yield insignificant amounts of
hydrogen upon reaction.
[0083] A useful preparation of hydrogen can result by the
inclusion of a solid metal, Ms, more reactive than the colloidal
metal, Mf, such as but not limited to elemental aluminum, iron,
lead, nickel, tin, tungsten, or zinc. Thus any colloidal metal in
its ionic form would be expected to react with the solid metal,
Ms, as indicated in equation 55, where those metals below Ms on
the electromotive or activity series of metals would react best.
Ms+Mf<+> ->Mf+Ms<+> (55)
[0084] The reaction illustrated by equation 55 would in fact take
place quite readily due to the large effective surface area of the
colloidal ion, Mf<+> , and also perhaps due to the greater
reactivity of the solid metal Ms, compared to any metal of lower
reactivity. In fact, for colloidal metals normally lower in
reactivity than Ms, equation 55 would be an exothermic reaction.
The resulting metal, Mf, would be theorized to be present in
colloidal form and thus would undergo a facile reaction with water
to produce elemental hydrogen and a base, either by equation 52,
53, or 54 depending upon the oxidation state of the resulting
colloidal metal ion.
[0085] Although the reaction represented by equations 52, 53, or
54 would most likely be endothermic, it is believed that the
exothermicity of the reaction shown in equation 55 compensates for
this. Therefore, the combination of the two reactions yields a
process that is thermally obtainable.
[0086] Consequently, elemental hydrogen is efficiently and easily
produced by the combination of the reactions shown in equations 56
and 57.
4Ms+4Mf<+->4> Mf+4Ms<+> (56)
4Mf+4H2O->4Mf<+1> +2H2+4OH<-> (57)
[0087] As shown, the solid metal, Ms, reacts with the colloidal
metal ion (equation 56) to produce a product theorized to be a
colloidal metal. It is believed the colloidal metal will then
react with water in equation 57 to produce elemental hydrogen and
regenerate the colloidal metal ion. The colloidal metal ion will
then react again by equation 56, followed again by equation 57,
and so on in a chain reaction process to provide an efficient
source of elemental hydrogen. In principle, any colloidal metal
ion should undergo this process successfully. It is found that the
reaction works most efficiently when the colloidal metal ion is
lower in reactivity than the metal, Ms, on the electromotive
series table. Equations 56 and 57 can be combined, and this would
result in the net reaction that is illustrated by equation 58.
Equation 58 has as its result the production of elemental hydrogen
from the reaction of a metal, Ms, and water.
4Ms+4Mf<+->4> Mf+4Ms<+> (56)
+
4Mf+4H2O->4Mf<+1> +2H2+4OH<-> (57)
=
4Ms+4H2O->4Ms<+> +2H2+4OH<-> (58)
[0088] Equation 58 summarizes a process that can provide an
efficient production of elemental hydrogen where an elemental
metal, Ms, and water are consumed. It is believed, however, that
the elemental metal can be regenerated as a result of a voltaic
electrochemical process and a thermal process that follows. A
colloidal metal, which can be the same or different from the one
represented in equation 56 referred to as Mrs in equation 59, can
undergo a voltaic oxidation-reduction reaction indicated by
equations 59 and 60.
Cathode (reduction) 4Mrs<+> +4e<-> ->4Mrs (59)
Anode (oxidation) 4OH<-> ->2H2O+O2+4e<-> (60)
[0089] The colloidal metal, Mrs, can in principle be any metal but
works most efficiently when the metal has a higher (more positive)
reduction potential. Thus, the regeneration process takes place
most efficiently when the colloidal metal is as low as possible on
the electromotive series of metals. Consequently, any colloidal
metal will be successful, but the reaction works best with
colloidal silver ion, due to the high reduction potential of
silver. When silver is employed as the colloidal metal ion, for
example, the reactions portrayed in equations 59 and 60 take place
readily. The voltaic reaction produces a positive voltage, as the
indicated oxidation and reduction reactions occur. This positive
voltage can be used to supply the energy required for other
chemical processes. In fact, the voltage produced can even be used
to supply an over-potential for reactions employing the
conversions portrayed by equations 59 and 60 but taking place in
another reaction vessel. Thus, this electrochemical process can be
made to take place more quickly without the supply of an external
source of energy. It is believed that the resulting colloidal
metal, Mrs, may then react to regenerate the elemental metal, Ms
(equation 61).
4Ms<+> +4Mrs->4Mrs<+> +4Ms (61)
[0090] The reaction illustrated by equation 61 will take place
most efficiently when the colloidal metal, Mrs, is more reactive
than the metal, Ms. That is, the reaction in equation 61 will
proceed most readily when the colloidal metal, Mrs, is above the
metal, Ms, on the electromotive series of metals. Combining
equations 59-61 results in the chemical reaction represented by
equation 62, which results in the regeneration of the elemental
metal Ms, and the formation of elemental oxygen.
4Mrs<+> +4e<-> ->4Mrs (59)
+
4OH<-> ->2H2O+O2+4e<-> (60)
+
4Ms<+> +4Mrs->4Mrs<+> +4Ms (61)
=
4Ms<+> +4OH<-> ->2H2O+4Ms+O2 (62)
[0091] The reactions shown in equations 59 and 60 seem to occur
best when the colloidal metal, Mrs, is as low as possible on the
electromotive series of metals; however, the reaction depicted by
equation 61 takes place most efficiently when the colloidal metal,
Mrs, is as high as possible on the electromotive series of metals.
The net reaction illustrated by equation 62 is merely the sum of
equations 59, 60, and 61 and could be maximally facilitated by
either colloidal metals of higher activity or by colloidal metals
of lower activity. The relative importance of the reaction
illustrated by equations 59 and 60 compared to the reaction shown
in equation 61 would determine the characteristics of the
colloidal metal that would best assist the net reaction in
equation 62.
[0092] It has been found that the net reaction indicated in
equation 62 proceeds at a maximal rate when the colloidal metal is
of maximum activity, that is, when the colloidal metal is as high
as possible on the electromotive series of metals. It has been
found that the more reactive colloidal metal ions such as, but not
limited to colloidal magnesium ion or colloidal aluminum ion
produce the most facile processes for the reduction of cationic
metals. In fact, it has been found that the overall reaction
proceeds most efficiently when at least two colloidal metals are
present, preferably where at least one of the colloidal metal ions
is higher than the solid metal Me on the electromotive series, and
at least one of the colloidal metal ions is lower than the solid
metal Me on the electromotive series. In such case, it is believed
that the less reactive colloidal metal performs the Mf functions
described above, while the more reactive colloidal metal performs
the Mrs functions.
[0093] Combining equations 58 and 62 results in a net process
indicated in equation 34. Since equation 34 merely depicts the
decomposition of water into elemental hydrogen and elemental
oxygen, the complete process for the production of elemental
hydrogen now has only water as an expendable substance.
4Ms+4 H2O->4Ms<+> +2H2+4OH<-> (58)
+
4Ms<+> +4OH<-> ->2H2O+4Ms+O2 (62)
=
2H2O->2H2+O2 (34)
[0094] The net result of this process is exactly that which would
result from the electrolysis of water. Here, however, no
electrical energy needs to be supplied. It is believed that the
colloidal metallic ion catalysts, as well as the metal Me, are
regenerated during the process, leaving only water as a consumable
material. Controllable Reactions
[0095] While all of the processes described above can provide an
efficient production of hydrogen gas at a wide range of pH levels,
and most operate efficiently even at ambient temperatures, it is
rather difficult to control the rate of hydrogen formation; that
is, once the process has begun, it cannot conveniently be stopped
and restarted as needed. An improvement that addresses this
difficulty has been developed that uses two electrodes, an anode
and a cathode, along with one or more colloidal metal catalysts.
The best results have been found when the anode is a metal of low
to intermediate reactivity and the cathode is generally inert, but
highly conductive. It has been found, in fact, that even
metallic-like materials such as tungsten carbide can be employed
as the cathode. Additionally, significant rate enhancement has
also been achieved using, as the cathode, nickel which has been
melted with an acetylene torch with a carbonizing flame and then
re-solidified. This process is believed to result in carbonized
nickel.
[0096] While in theory any two metals of different reactivity can
be employed along with any colloidal metal catalysts at any level
of pH, the process will be illustrated in the form of reactions
performed at ambient temperature, under basic conditions using the
metal-like material tungsten carbide as the cathode, the metal
zinc as the anode, and colloidal silver and colloidal magnesium.
Similar results were obtained for reactions carried out in acidic
media as described in experiments 19-21.
[0097] Zinc is known to undergo reaction under basic conditions
with water according to the reaction represented by equation 19.
Zn+2H2O->H2+Zn(OH)2 (19)
Due to the rather modest reactivity of zinc in alkaline solution,
the reaction requires the input of significant thermal energy in
order to proceed at a reasonable rate. In fact, if this reaction
is performed at room temperature, the observed reaction rate is
virtually zero. In theory, the rate of this reaction could be
enhanced by the inclusion of a colloidal metal catalyst. If
colloidal silver in its ionic form, Agc<+> , is introduced,
the colloidal silver ion will react efficiently with the zinc, due
to the large effective surface area of the colloidal silver ion,
and also perhaps due to the enhanced reactivity of zinc compared
to silver, a result of the fact that zinc is above silver in the
electromotive series. Thus, the colloidal silver ion will undergo
reaction with zinc at an impressive rate according to equation 63.
2Agc<+> +Zn->Zn<+2> +2Agc (63)
The reduced silver, Agc, would be theorized to be present in a
colloidal form and would thus undergo a facile reaction with water
to produce elemental hydrogen and a base, as illustrated in
equation 64.
2Agc+2H2O->H2+2Agc<+> +2OH<-> (64)
[0098] Although the reaction represented by equation 64 would most
likely be endothermic, it is believed that the exothermicity of
the reaction shown in equation 63 compensates for this. Therefore,
the combination of the two reactions yields a process that is
thermally obtainable.
[0099] Consequently, elemental hydrogen is efficiently and easily
produced by the combination of the reactions shown in equations 65
and 66.
2Zn+4Agc<+> ->4Agc+2Zn<+2 > (65)
4Agc+4H2O->4Agc<+> +2H2+4OH<-> (66)
[0100] As shown, the solid zinc metal reacts with the colloidal
silver ion in equation 65 to produce a product theorized to be
elemental colloidal silver. It is believed the elemental colloidal
silver will then react with water in equation 66 to produce
elemental hydrogen and regenerate the colloidal-silver ion. The
colloidal-silver ion will then react again by equation 65,
followed again by equation 66, and so on in a chain reaction
process to provide an efficient source of elemental hydrogen.
Equations 65 and 66 can be combined, and this would result in the
net reaction that is illustrated by equation 67. Equation 67 has
as its result the production of elemental hydrogen from the
reaction of zinc and water.
2Zn+4Agc<+> ->4Agc+2Zn<+2 > (65)
4Agc+4H2O->4Agc<+> +2H2+4OH<-> (66)
=
2Zn+4H2O->2Zn<+2> +2H2+4OH<-> (67)
[0101] Equation 67 summarizes a process that can provide an
efficient production of elemental hydrogen where elemental zinc
and water are consumed. It is believed, however, that the
elemental zinc can be regenerated as a result of a voltaic
electrochemical process and a thermal process that follows. Thus,
colloidal magnesium ion Mgc<+2 > can undergo a voltaic
oxidation-reduction reaction indicated by equations 68 and 60.
Cathode (reduction) 2Mgc<+> +4e<-> ->2Mgc (68)
Anode (oxidation) 4OH<-> ->2H2O+O2+4e<-> (60)
[0102] It is believed that the resulting colloidal metal, Mgc, may
then react to regenerate the elemental zinc (equation 69).
2Zn<+2> +2Mgc->2Mgc<+2> +2Zn (69)
[0103] The reaction illustrated by equation 69 will take place
quite efficiently due to the fact that magnesium is above zinc on
the electromotive series of metals. Combining equations 68, 60,
and 69 results in the reaction illustrated in equation 70, which
represents the regeneration of the elemental zinc, and the
formation of elemental oxygen.
2Mgc<+2> +4e<-> ->2Mgc (68)
+
4OH<-> ->2H2O+O2+4e<-> (60)
+
2Zn<+2> +2Mgc->2Mgc<+2> +2Zn (69)
=
2Zn<+2> +4OH<-> ->2H2O+2Zn+O2 (70)
[0104] Combining equations 67 and 70 results in a net process
indicated in equation 34. Since equation 34 merely depicts the
decomposition of water into elemental hydrogen and elemental
oxygen, the complete process for the production of elemental
hydrogen now has only water as an expendable substance.
2Zn+4H2O->2Zn<+2> +2H2+4OH<-> (67)
+
2Zn<+2> +4OH<-> ->2H2O+2Zn+O2 (70)
=
2H2O->2H2+O2 (34)
[0105] The net result of this process is exactly that which would
result from the electrolysis of water. Here, however, no
electrical energy needs to be supplied. It is believed that the
colloidal metallic ion catalysts as well as the elemental zinc are
regenerated during the process; since the base is not consumed,
water is the only material consumed.
[0106] While the net process illustrated by equation 67 is
catalyzed by colloidal silver ion in an alkaline solution, the
reaction rate is still found to be extremely slow at ambient
temperatures presumably due to the low reactivity of zinc in the
absence of additional thermal energy. The reaction rate can be
significantly enhanced by the introduction of a second material
that is inert but highly conductive, such as, but not limited to,
tungsten carbide, which will be employed for this discussion. For
this rate enhancement to be observable, the tungsten carbide must
be conductively connected to the metallic zinc. The required
connection can be achieved by having the two materials directly in
contact, or they can be connected by a conductive medium,
preferably made of a material low in reactivity such as copper.
Under these conditions, the reaction represented by equation 65 is
followed by an electrochemical voltaic process transpiring as
illustrated in equations 71 and 60. The oxidation reaction
represented by equation 71 takes place at the surface of the zinc
electrode and the reduction reaction represented by equation 60
occurs at the surface of the tungsten carbide electrode.
2Zn+4Agc<+> ->4Agc+2Zn<+2 > (65)
Oxidation-4Agc->4Agc<+> +4e<-> (71)
Reduction-4H2O+4e<-> ->2H2+4OH<-> (60)
[0107] When equations 71 and 60 are combined, the result is a
voltaic oxidation-reduction reaction that is represented by
equation 66.
Oxidation-4Agc->4Agc<+> +4e<-> (71)
+
Reduction-4H2O+4e<-> ->2H2+4OH<-> (60)
=
4Agc+4H2O-4Agc<+> +2H2+4OH<-> (66)
[0108] Thus, the net reaction illustrated by equation 66 has two
significant applications that can be employed individually or
simultaneously. Equation 66 results in the generation of elemental
hydrogen; however equation 66 also produces a measurable
electrical potential that will produce a potentially useful
electrical current. Therefore the chemical system described here
can provide a voltaic cell that produces energy. Concurrently,
there is the production of hydrogen gas which can be used to
provide additional energy when employed in a hydrogen cell or
engine.
[0109] The favorable potential produced by equation 66 allows the
entire process to proceed without the requirement of an outside
energy source. It is the favorable energetics of equation 66 that
provide the driving force for the entire process. If the
connection between the zinc electrode and the tungsten carbide
electrode is broken, however, the reaction of equation 66 will not
occur, resulting in a decrease or a virtual cessation in the rate
of production of hydrogen. Thus one can generate hydrogen gas in a
completely controllable manner simply by completing and
disconnecting the circuit created by connecting the tungsten
carbide and zinc electrodes.
[0110] Combining equations 65, 71 and 60 again yields a net
reaction that is illustrated by equation 67 as shown below.
2Zn+4Agc<+> ->4Agc+2Zn<+2 > (65)
+
4Agc->4Agc<+> +4e<-> (71)
+
4H2O+4e<-> ->2H2+4OH<-> (60)
=
2Zn+4H2O->2Zn<+2> +2H2+4OH<-> (67)
With the inclusion of the tungsten carbide electrode however, the
net reaction shown by equation 67 will now progress at a
significantly enhanced rate. It has been found that the generation
of elemental hydrogen takes place at a considerable rate even at
usual ambient temperatures.
Cathode Surface Area
[0111] Since the rate of hydrogen production is at least partially
dependent upon the surface area of the cathode, the reaction rate
can be further enhanced using any means that increases the surface
area of the cathode. In fact, it has been shown that if the
cathode is present as a thin foil or as a mesh in order to
increase its surface area, there is an increase in the rate of
hydrogen formation. Alternatively, it has been shown that the use
of multiple cathodes, each in electrical contact with the metallic
zinc anode, produces an increase in the rate of hydrogen
production presumably resulting from the increase in the surface
area of the cathode. The combination of these two effects results
in an large surface area of the cathode, and a corresponding
increase in the rate of hydrogen produced. Regeneration of Metal
[0112] Although elemental zinc is consumed (equation 67), it is
believed the zinc can be regenerated as a result of a voltaic
electrochemical process and a subsequent thermal process similar
to that shown for the regeneration of elemental metal, Ms, in
equation 61. Thus, colloidal magnesium ion, Mgc<+2> , can
take part in a voltaic oxidation-reduction reaction indicated by
equations 68 and 60.
Cathode (reduction)-2Mgc<+2> +4e<-> ->2Mgc (68)
Anode (oxidation)-4OH<-> ->2H2O+O2+4e<-> (60)
[0113] The resulting colloidal magnesium, Mgc, will then react to
reproduce elemental zinc (equation 69).
2Mgc+2Zn<+2> ->2Mgc<+2> +2Zn (69)
Combining equations 68, 60, and 69 yields a reaction illustrated
by equation 70 which represents the regeneration of the elemental
zinc, and the formation of elemental oxygen.
2Mgc<+2> +4e<-> ->2Mgc (68)
+
4OH<-> ->2H2O+O2+4e<-> (60)
+
2Mgc+2Zn<+2> ->2Mgc<+2> +2Zn (69)
=
2Zn<+2> +4OH<-> ->2H2O+2Zn+O2 (70)
[0114] Combining equations 67 and 70 results in equation 34. Since
equation 34 merely depicts the decomposition of water into
elemental hydrogen and elemental oxygen, the complete process for
the production of elemental hydrogen now has only water as an
expendable substance.
2Zn+4H2O->2Zn<+2> +2H2+4OH<-> (67)
+
2Zn<+2> +4OH<-> ->2H2O+2Zn+O2 (70)
=
2H2O->2H2+O2 (34)
[0115] The net result of this process is exactly that which would
result from the electrolysis of water, but no electrical energy
needs to be supplied. It is believed that the colloidal metallic
ion catalysts as well as the zinc metal are regenerated during the
process, leaving water as the only consumable material. Since the
net process shown by reaction 34 is dependent upon the electrical
connection of the electrodes, the production of elemental hydrogen
can be interrupted and resumed simply by breaking and reforming
the electrical contact through a switch that connects and
disconnects the two electrodes through a conductive inert wire.
[0116] Thus in the process depicted by the net equation 67
elemental hydrogen is produced along with the concurrent oxidation
of elemental zinc to zinc ion. In the process portrayed by the net
equation 70, the zinc ion is reduced to elemental zinc with the
concurrent formation of elemental oxygen. As stated above, the
theoretical net result of equations 67 and 70 is equation 34. It
has been found, however, that the net reaction represented by
equation 70 does not occur at a rate competitive with the net
reaction depicted in equation 67. Thus under normal circumstances,
the production of hydrogen is believed to take place at a rate
significantly greater than the production of oxygen. In addition,
the zinc metal will undergo oxidation more quickly than the zinc
ion undergoes reduction so therefore the zinc electrode will
eventually become depleted. It is clear, then, that the rate of
the process will eventually slow to a point where the production
of hydrogen will no longer proceed at a useful rate.
[0117] It has been found however that the reduction of zinc ion to
yield elemental zinc can be achieved through an electrolytic
process. Thus, a potential can be applied in the direction
opposite to the normal flow of electrons to produce a different
oxidation-reduction process. As outlined in experiments 15 and 16,
the application of an external electrical potential causes the
oxidation reaction of equation 60 and the reduction reaction of
equation 72 to occur.
Oxidation-4OH<-> ->2H2O+O2+4e<-> (60)
Reduction-2Zn<+2> +4e-2Zn (72)
The addition of equation 60 and equation 72 once again results in
equation 70, where the elemental zinc is regenerated on the
electrode with the simultaneous production of elemental oxygen.
4OH<-> ->2H2O+O2+4e<-> (60)
+
2Zn<+2> +4e<-> ->2Zn (72)
=
2Zn<+2> +4OH<-> ->2H2O+2Zn+O2 (70)
From the standard oxidation and reduction potentials shown below,
it is clear that the reactions represented by equations 60 and 72
will not take place spontaneously, having a standard cell
potential of -1.136 volts.
4OH<-> ->2H2O+O2+4e<-> [epsilon]<0>
oxidation=-0.401 V
2Zn<+2> +4e<-> ->2Zn[epsilon]<0>
reduction=-0.762 V
The application of an external electrical potential will however
cause this process to easily occur. Thus, when the production of
hydrogen slows to an unacceptable rate, the process may be
reversed by electrolysis, and the resulting rate of hydrogen
formation will increase to that observed at the beginning of the
process. Alternatively, the anode may simply be replaced.
[0118] In the preceding discussion, the colloidal metal ion
catalysts, Mf and Mr, are supplied along with the reactants as
described in experiments 11 through 16. However, it has been found
that the process can still proceed even without supplying
colloidal metal catalysts as described in experiment 17. Although
the reaction rate is decreased by a factor of approximately
one-half, the production of elemental hydrogen is visibly obvious,
and the voltaic potential produced is about the same as in the
catalyzed reaction. The fact that the reaction can proceed with
the apparent lack of catalysis is explained by the fact that
metallic zinc and many other metals react very slowly with water
in neutral or basic solutions to produce cations, such as the
Zn<+2 > ion, in very low concentration, as illustrated in
equation 73.
Zn+2H2O->H2+Zn<+2> +2OH<-> (73)
[0119] The cations produced in equation 73 will take part in the
reaction in the same manner as the colloidal ions; however, they
would catalyze the process with a limited efficiency compared to
the colloidal catalysts. Thus when the catalysts are not
physically added to the reaction mixture, it is still the
catalyzed process discussed previously that occurs. Controllable
Reactions at an Enhanced Rate in Acidic Media
[0120] The rate of hydrogen production can also be increased by
using as the anode a metal of higher reactivity, such as aluminum,
and as the cathode a material that is inert but highly conductive,
such as tungsten carbide, in a highly acidic solution that
contains one or more dissolved acids, such as, but not limited to,
sulfuric acid or hydrochloric acid. Additionally, there are
preferably one or more salts or metal oxides (where, in acidic
media, a metal oxide is the precursor to a salt) dissolved in the
acidic solution, where each salt or metal oxide contains a cation
of intermediate reactivity. For example, the salts or metal oxides
may be, but are not limited to, zinc sulfide, zinc chloride,
cobalt(II) sulfate, cobalt(II) chloride, zinc oxide, or cobalt(II)
oxide. The solution preferably also contains one or more
colloidal-metal ions.
[0121] While there are numerous ways in which this process may be
performed, for the purposes of illustration, the process will be
described where the reaction medium is a solution of sulfuric acid
that contains colloidal silver ion, colloidal magnesium ion and
zinc sulfate. Aluminum will be discussed as the metal of high
reactivity, and tungsten carbide will be employed as the highly
conductive, inert material.
[0122] At low values of pH, aluminum is known to produce hydrogen
at a significant rate by reaction with sulfuric acid as
illustrated by equation 74.
4Al+12H<+> +6SO4<-2> ->4Al<+3>
+6H2+6SO4<-2 > (74)
[0123] The rate of this reaction is in fact so impressive that the
reaction of aluminum and sulfuric acid is often described as being
uncontrollable. The rate of this reaction can be even further
enhanced by the inclusion of colloidal silver ion, Agc<+> ,
which is believed to catalyze the reaction. Thus, aluminum will
react with the colloidal silver ion in a reaction represented by
equation 75. The metallic silver, Agc, that results is presumed to
be in a colloidal state and is expected to react with sulfuric
acid to produce elemental hydrogen by the reaction described by
equation 76. Due to the colloidal nature of the silver, this
reaction occurs at an even greater rate than the reaction of
aluminum and sulfuric acid represented by equation 74.
4Al+12Agc<+> ->4Al<+3> +12Agc (75)
12Agc+12H<+> +6SO4<-2> ->12Agc<+>
+6H2+6SO4<-2 > (76)
[0124] Combining equations 75 and 76 results in the net equation
74. However, the rate of hydrogen production will be enhanced by
the presence of the colloidal silver.
4Al+12Agc<+> ->4Al+12Agc (75)
+
12Agc+12H<+> +6SO4<-2> ->12Agc<+>
+6H2+6SO4<-2 > (76)
=
4Al+12H<+> +6SO4<-2> ->4Al<+3>
+6H2+6SO4<-2 > (74)
[0125] Equation 74 summarizes a process that can provide an
extremely efficient production of elemental hydrogen where
elemental aluminum and sulfuric acid are consumed. It is believed,
however, that the elemental aluminum and the sulfuric acid can
both be regenerated as a result of a voltaic electrochemical
process and a thermal process described below:
[0126] Colloidal magnesium ion Mgc<+2 > can undergo a
voltaic oxidation-reduction reaction indicated by equations 77 and
78.
Cathode (reduction) 6Mgc<+2> +12e<-> ->6Mgc (77)
Anode (oxidation) 6H2O->12H<+> +3O2+12e<-> (78)
[0127] It is believed that the resulting colloidal metal, Mgc, may
then react to regenerate the elemental aluminum (equation 79).
4Al<+3> +6SO4-<2> +6Mgc->6Mgc<+2>
+4Al+6SO4-<2 > (79)
[0128] The reaction illustrated by equation 79 will take place
quite efficiently due to the fact that magnesium is above aluminum
on the electromotive series of metals. Combining equations 77, 78
and 79 results in the reaction illustrated in equation 80, which
represents the regeneration of the elemental aluminum, the
regeneration of the sulfuric acid, and the formation of elemental
oxygen.
6Mgc<+2> +12e<-> ->6Mgc (77)
+
6H2O->12H<+> +3O2+12e<-> (78)
+
4Al<+3> +6SO4-<2> +6Mgc->6Mgc<+2>
+4Al+6SO4-<2 > (79)
=
4Al<[deg.]3> +6SO4-<2> +6H2O->12H<+>
+6SO4-<2> +4Al+3O2 (80)
[0129] Combining equations 74 and 80 results in a net process
indicated in equation 81. Since equation 81 merely depicts the
decomposition of water into elemental hydrogen and elemental
oxygen, the complete process for the production of elemental
hydrogen now has only water as an expendable starting material.
4Al+12H<+> +6SO4<-2> ->4Al<+3>
+6H2+6SO4<-2 > (74)
+
4Al<+3> +6SO4-<2> +6H2O->12H<+>
+6SO4-<2> +4Al+3O2 (80)
=
6H2O->6H2+3O2 (81)
[0130] The net result of this process is exactly that which would
result from the electrolysis of water. Here, however, no
electrical energy needs to be supplied. It is believed that the
colloidal metallic ion catalysts as well as the elemental aluminum
are regenerated during the process; since the acid is not
consumed, water is the only material consumed.
[0131] It has been found that the reaction illustrated by equation
74, whether catalyzed or uncatalyzed, can be inhibited by the
dissolving of zinc sulfate into the sulfuric acid solution. In the
absence of the colloidal silver catalyst, the elemental aluminum
is thought to react with the zinc cation, thus replacing the
reaction illustrated by equation 74 with the reaction depicted by
equation 82. While the reaction of aluminum and zinc cation occurs
preferentially to the reaction of aluminum and sulfuric acid, it
has been found that the reaction proceeds at a rather low rate
and, therefore, the aluminum is not appreciably consumed.
4Al+6Zn<+2> ->4Al<+3> +6Zn (82)
[0132] With the inclusion of the colloidal silver cation, the
reaction illustrated in equation 76 is replaced by the reaction
shown in equation 83. Once again, while the reaction of colloidal
silver and zinc cation occurs preferentially to the reaction of
colloidal silver and sulfuric acid, it has been found that the
reaction proceeds at a rather low rate. Thus, combining equations
75 and 84 results in the net equation 85. The reaction illustrated
in equation 85 results in the consumption of aluminum; however, it
is found to proceed at a rather low rate, and, thus, will not
result in a large consumption of aluminum. The reaction shown in
equation 85 will still, however, take place preferentially when in
competition with the net reaction that is depicted in equation 74.
4Al+12Agc<+> ->4Al<[deg.]3> +12Agc (75)
+
12Agc+6Zn<+2> +6SO4-<2> ->12Agc<+>
+6SO4-<2> +6Zn (84)
=
4Al+6Zn<+2> ->4Al<+3> +6Zn(net) (85)
[0133] Thus, the effect of the introduction of zinc chloride would
be to severely limit or completely terminate the production of
hydrogen from the net oxidation of aluminum. It has been found,
however, that the rate of hydrogen formation can be increased to
the point where it competes successfully with the net reaction
depicted in equation 85. Specifically, the reaction rate for
hydrogen production can be significantly enhanced by the
introduction of a second material that is inert but highly
conductive, such as, but not limited to, tungsten carbide, which
will be employed for this discussion. Alternatively, in place of
tungsten carbide, significant rate enhancement has also been
achieved using nickel which has been melted with an acetylene
torch with a carbonizing flame and then re-solidified. For this
rate enhancement to be observable, the tungsten carbide must be
conductively connected to the metallic aluminum. The required
connection can be achieved by having the two materials directly in
contact, or they can be attached by a conductive medium,
preferably made of a material low in reactivity such as copper.
Under these conditions, the reaction represented by equation 75 is
followed by an electrochemical voltaic process transpiring as
illustrated in equations 86 and 87. The oxidation reaction
represented by equation 86 is believed to take place at the
surface of the aluminum electrode and the reduction reaction
represented by equation 87 is believed to occur at the surface of
the tungsten carbide electrode.
4Al+12Agc<+> ->4Al<+3> +12Agc (75)
Oxidation-12Agc->12Agc<+> +12e<-> (86)
Reduction-12H<+> +12e<-> ->6H2 (87)
[0134] When equations 86 and 87 are combined, the result is a
voltaic oxidation-reduction reaction that is represented by
equation 88.
12Agc->12Agc<+> +12e<-> (86)
+
12H<+> +12e->6H2 (87)
=
12Agc+12H<+> ->12Agc<+1> +6H2 (88)
[0135] Thus, the net reaction illustrated by equation 88 has two
significant applications that can be employed individually or
simultaneously. Equation 88 results in the generation of elemental
hydrogen. Additionally, equation 88 produces a measurable
electrical potential that could produce a potentially useful
electrical current. Therefore, the chemical system described here
can provide a voltaic cell that produces useful electrical energy.
Concurrently, there is the production of hydrogen gas, which can
be used to provide additional energy when employed in a hydrogen
cell or an engine. The favorable potential produced by equation 88
is believed to allow the entire process to proceed without the
requirement of an outside energy source. It is the favorable
energetics of equation 88 that is believed provides the driving
force for the entire process. If the connection between the
aluminum electrode and the tungsten carbide electrode is broken,
however, the reaction of equation 88 will not occur, resulting in
a decrease or a virtual cessation in the rate of production of
hydrogen. Thus, one can generate hydrogen gas in a controllable
manner simply by completing and disconnecting the circuit created
by connecting the tungsten carbide and aluminum electrodes.
[0136] Combining equations 75, 86 and 87 again yields a net
reaction that is illustrated by equation 89 as shown below.
4Al+12Agc<+> ->4Al<+3> +12Agc (75)
+
12Agc->12Agc<+> +12e<-> (86)
+
12H<+> +12e<-> ->6H2 (87)
=
4Al+12H<+> ->4Al<+3> +6H2 (89)
The reaction that is represented by equation 89 occurs at an
impressive reaction rate due to the high reactivity of aluminum.
With the inclusion of the tungsten carbide electrode, however, the
net reaction shown by equation 89 will now progress at an even
faster rate. It is believed that this is due at least in part to
the increased surface area of the tungsten carbide compared to
that of the colloidal elemental silver. It has been found that the
generation of elemental hydrogen takes place at a considerable
rate even at usual ambient temperatures.
[0137] Since the rate of hydrogen production is believed to be at
least partially dependent upon the surface area of the tungsten
carbide cathode, the reaction rate can be further enhanced using
any means that increases the surface area of the cathode. In fact,
it has been shown that if the cathode is present as a thin foil or
as a mesh in order to increase its surface area, there is an
increase in the rate of hydrogen formation. Alternatively, it has
been shown that the use of multiple cathodes, each in electrical
contact with the metallic aluminum anode, produces an increase in
the rate of hydrogen production, presumably resulting from the
increase in the surface area of the cathode. The combination of
these two effects, that is, the use of multiple cathodes
consisting of a tungsten carbide mesh or foil, results in a large
surface area of the cathode and a corresponding increase in the
rate of hydrogen produced.
[0138] Employing the chemistry described above, a controllable
production of hydrogen at an extremely high rate can be achieved.
[0139] FIG. 1 shows a mixture and apparatus that may be used for
the production of hydrogen. A reaction vessel 100 contains a
reaction medium 102. The reaction medium preferably comprises
water and, most preferably, further comprises either a base or an
acid, although the reaction can exist at virtually any level of
pH. Alternatively, it is believed that other reaction media may be
used, including other solvents, or non-liquid media, such as
gelatinous or gaseous media. In basic media, the base is
preferably sodium hydroxide with a concentration of about 2.5
Molar, although other bases and other concentrations may be used.
In acidic media, the acid is preferably sulfuric acid or
hydrochloric acid with a pH of about 1.0, although other acids and
other concentrations may be used. The reaction vessel 100 is
preferably inert to the reaction medium 102.
[0140] The reaction medium 102 preferably contains a first
colloidal metal (not shown) suspended in the solution. Although
some of the reactions described above may proceed without a
colloidal metal in the reaction medium 102, the colloidal metal
significantly enhances the reaction rate. The first colloidal
metal is preferably a metal with low activity, such as silver,
gold, platinum, tin, lead, copper, zinc, or cadmium, although
other metals may be used. Alternatively, as discussed above, other
high-surface-area catalysts may be used in place of the colloidal
metal.
[0141] Preferably, there is at least one cathode 104 in contact
with the reaction medium 102. The cathode 104 may be in any form,
but is preferably in the form of a solid with a relatively large
surface area. Most preferably, the cathode 104 comprises a
plurality of surface-area-enhancing features 105, which increase
the surface area of the cathode. The surface-area-enhancing
features 105 are preferably arranged to allow the reaction medium
102 or its constituents to move between them and to allow bubbles
of produced gas to easily escape from the surface of the cathode
104. The surface-area-enhancing features 105 are preferably
vertically-oriented rods projecting upwardly from a base of the
cathode 104. However, the surface-area-enhancing features may be
any feature, in electrical contact with the cathode 104, which
effectively increases the surface area of the cathode 104.
Alternatively, the cathode 104 may be in another relatively
high-surface-area form, such as a coil, film, wool, nanomaterial,
nanocoating, or the like. Further alternatively, a plurality of
cathodes 104 may be used which combine to provide a larger surface
area. The total surface area of the cathode(s) 104 is preferably
greater than the surface area of the anode.
[0142] The cathode 104 preferably comprises a material that is
highly conductive but virtually inert to the reaction medium 102,
such as nickel, carbonized nickel, tungsten, or tungsten carbide.
The cathode 104 most preferably comprises tungsten carbide.
[0143] The reaction vessel 100 also preferably comprises an anode
106 in contact with the reaction medium. The anode 106 preferably
comprises a metal of high-range activity, and thus of a higher
activity than the cathode. Most preferably, the anode 106
comprises aluminum, or a mixture of aluminum and other, less
reactive, metals.
[0144] Preferably, the reaction medium 102 also contains a second
colloidal metal (not shown). The second colloidal metal preferably
has a higher activity than the metals comprising the cathode 104
and the anode 106, such as aluminum, magnesium, beryllium, and
lithium. Alternatively, as discussed above, other
high-surface-area catalysts may be used in place of the second
colloidal metal.
[0145] Preferably, the reaction medium 102 also contains an ionic
salt (not shown) comprising a metal cation that is less reactive
than the metal composing the anode 106, and an anion that is
largely inert to other constituents in the reaction medium, such
as, but not limited to, zinc sulfate, zinc chloride, cobalt(II)
sulfate, and cobalt(II) chloride.
[0146] The cathode 104 and the anode 106 are preferably
conductively connected through conductive paths 107 and 109,
respectively, to a controller 108 which may be manipulated to
allow or restrict the flow of electricity between the cathode 104
and the anode 106. The controller 108 may be a switch, a variable
resistor, or other device for allowing or resisting electric
currents. When electrical current flows freely between the cathode
104 and the anode 106, it is found that the production of hydrogen
will be maximized. When the conductive contact between the cathode
104 and the anode 106 is broken, hydrogen production will be
minimal or zero. It is believed that a variable resistor between
the anode 106 and the cathode 104 would allow a user to select
from a wide range of hydrogen production rates.
[0147] The electrical energy produced by the reaction, which flows
from the anode 104 to the cathode 106 through the conductive paths
107 and 109 may be used to provide electrical energy for a similar
reaction occurring in a similar apparatus, or the system may be
used as a battery, and the electrical energy created by the
reaction can be used for other purposes. Alternatively, the
cathode 104 and anode 105 may be placed in direct contact with one
another.
[0148] The reaction vessel 100 preferably comprises an outlet 110
to allow hydrogen gas (not shown) and/or other products to escape.
The reaction vessel may also have an inlet 112 for adding water or
other constituents to maintain desired concentrations.
[0149] In addition, an electrical power source 114 may be used to
intermittedly provide an electrical current through the reaction
medium 102. The electrical power source 114 may be a battery,
power outlet, generator, transformer, or the like. The electrical
power source 114 preferably provides DC electrical power at a
potential of at least 12 volts. A first terminal 115 of the
electrical power source 114 is electrically connected through
conductive paths 116 and 109 to the anode 106. A second terminal
117 of the electrical power source 114 is electrically connected
through conductive paths 118 and 107 to the cathode 104.
Preferably, the first terminal 115 has a higher electrical
potential than the second terminal 117 so that when the controller
108 is configured in an open position (restricting current flow
between the anode 106 and cathode 108), the electrical potential
source 114 will cause a flow of electrical current in the opposite
direction from when the controller 108 is closed and no external
potential is applied. Power is applied from the electrical power
soure 114 as needed to regenerate the anode and increase the
hydrogen production rate. For most of the reaction duration,
however, current is not applied. Alternatively, the anode 106 may
be replaced by a new anode 106.
[0150] In addition, the apparatus preferably comprises an energy
source 122. Although most of the reactions described above are
believed to proceed without any energy input, hydrogen will be
produced at a greater rate when additional energy is added. The
energy source 122 shown in FIG. 1 is an electric heating coil,
however, any form of thermal energy may be used including solar
heating, combustion heating, hot plates, or the like. Generally,
any energy source capable of heating the reaction medium above
ambient temperatures may be used, and the particular source will
preferably be chosen based on cost considerations. Additionally,
it is believed that other energy types may be used, including,
without limitation, electric energy, nuclear energy or
electromagnetic radiation.
[0151] The hydrogen gas produced may be used in many known ways.
Particularly, without limitation, the produced gas may be fed to a
fuel cell to produce electric energy. Thus, the hydrogen
production apparatus shown in FIG. 1 may be combined with a fuel
cell (not shown) to form a compact and efficient source of
electrical energy, which could be used to power a wide variety of
devices. Experimental Results: Experiment #1 Summary:
[0152] An initial solution comprising 10 mL of 93% concentration
H2SO4 and 30 mL of 35% concentration HCl was reacted with iron
pellets (sponge iron) and about 50 mL of colloidal magnesium and
80 mL of colloidal lead, each at a concentration believed to be
about 20 ppm. A theoretical maximum of 8.06 liters of hydrogen gas
could be produced if solely from the consumption of the acids as
indicated in Table 1.
TABLE 1
Starting Solution Maximum H2 Yield with Acid Consumption
Total Effective Maximum H2
Acid mL Concentration Grams Grams of
Acid Yield
H2SO4 10 93.0% 18.97 17.64 4.03
liters
HCl 30 35.0% 37.52 13.13 4.03 liters
Maximum H2 Yield: 8.06 liters
[0153] 1 mole H2SO4 yields 1 mole H2 (22.4 liters)
[0154] 1 mole H2SO4=98 grams
[0155] Therefore, the maximum yield is 0.23 liters of H2 per gram
of H2SO4.
[0156] 2 moles of HCl yields 1 mole H2 (22.4 liters)
[0157] 2 moles of HCl=73 grams
[0158] Therefore, a theoretical maximum yield of 0.31 liters of H2
per gram of HCl is expected without the regeneration reaction.
[0159] At least 15 liters of gas was observed to have been
produced, and the reaction was still proceeding in a continuous
fashion (about 2 bubbles of gas per second at 71[deg.] C.) when
interrupted. It should be noted that the 15 liters of gas observed
does not account likely losses of hydrogen gas due to leakage.
Based upon previous observations and theoretical projections, the
first 8.06 liters of gas produced is likely to be made up of
essentially pure hydrogen; beyond the theoretical threshold of
8.06 liters, 66.7% by volume of the gas produced would be hydrogen
and the other 33.3% by volume would be oxygen. It is believed this
experiment provides ample evidence of the regeneration process.
[0160] A follow-up experiment was conducted using iron (III)
chloride (FeCl3) as the only source of iron in an attempt to
verify the reverse reaction. Pure iron (III) chloride was chosen
because it could be shown to be free of iron in any other
oxidation state. While similar experiments had been successfully
carried out using iron (III) oxide as the source of iron, the
results were clouded by the fact that other oxidation states of
iron may have been present. The results are described in
Experiment #2, below. Experiment #2 Summary:
[0161] An experiment was conducted using 150 mL of iron (III)
chloride in an aqueous solution (commonly used as an etching
solution, purchased from Radio Shack) as the starting materials.
Ten mL of 93% concentration sulfuric acid (H2SO4) was added to the
solution, at which point no reaction occurred. About 50 mL of
colloidal magnesium and 80 mL of colloidal lead, each at a
concentration believed to be about 20 ppm, were then added, at
which point a chemical reaction began and the bubbling of gases
was evident at ambient temperature. The production of gas
accelerated when the solution was heated to a temperature of
65[deg.] C. The product gas was captured in soap bubbles and the
bubbles were then ignited. The observed ignition of the gaseous
product was typical for a mixture of hydrogen and oxygen.
[0162] Since hydrogen gas could only be produced with a concurrent
oxidation of iron, it is evident that the iron (III) had to be
initially reduced before it could be oxidized, thereby providing
strong evidence of the reverse reaction. This experiment has
subsequently been repeated with hydrochloric acid (HCl) instead of
sulfuric acid, with similar results.
[0163] Two additional follow-up experiments (#3 using aluminum
metal and #4 using iron metal) were conducted to determine if more
hydrogen is produced compared to the maximum amount expected
solely from the consumption of the metal. These results are
described below. Experiment #3 Summary:
[0164] The starting solution had a total volume of 250 mL,
including water, about 50 mL of colloidal magnesium and 80 mL of
colloidal lead, each at a concentration believed to be about 20
ppm, 10 mL of 93% concentration H2SO4, and 30 mL of 35%
concentration HCl as in experiment #1 above. Ten grams of aluminum
metal was added to the solution, which was heated and maintained
at 90[deg.] C. The reaction ran for 1.5 hours and yielded 12
liters of gas. The pH was found to have a value under 2.0 at the
end of 1.5 hours. The reaction was stopped after 1.5 hours by
removing the unused metal and weighing it. The non-consumed
aluminum weighed 4.5 grams, indicating a consumption of 5.5 grams
of aluminum. The maximum amount of hydrogen gas normally expected
by the net consumption of 5.5 grams of aluminum is 6.8 liters, as
indicated in the table below.
TABLE 2
Starting Solution Maximum H2 Yield
With Aluminum Consumption
Total Grams Total Grams Grams Maximum
Metal Initial Supply Final Consumed Yield*
of H2
Aluminum 10 4.5 5.5 6.84 liters
(Al)
*If reacted aluminum has exclusively been used for the production
of hydrogen:
2 moles Al yields 3 moles H2 (67.2 liters)
2 moles Al = 54 grams
[0165] Therefore, a theoretical maximum yield of 1.24 liters of H2
per gram of Al is expected without the regeneration reaction
described above.
[0166] As in experiment #1, based on the total amount of acid
supplied, it is expected that the first 8.06 liters of the gas
generated is pure hydrogen with the balance being 50% hydrogen.
Alternatively, the theoretical amount of hydrogen based on the
amount of aluminum consumed is 6.84 liters. After 6.84 liters (the
maximum yield expected from the aluminum consumed), it is expected
that the remaining gas is 66.7% hydrogen. Therefore, it is
estimated that about 10.3 liters of hydrogen (out of about 12
total liters of gas) was produced in this experiment, compared to
the maximum of 6.84 or 8.06 liters expected, based on the amount
of aluminum consumed and the amount of acid supplied,
respectively, thereby providing additional evidence of the
regeneration process. Experiment #4 Summary:
[0167] The starting solution included a total volume of 250 mL,
including water, about 50 mL of colloidal magnesium and 80 mL of
colloidal lead, each at a concentration believed to be about 20
ppm, 10 mL of 93% concentration H2SO4 and 30 mL of 35%
concentration HCl, as in experiment #1 above. One hundred grams of
iron pellets (sponge iron) was added to the solution, which was
heated and maintained at 90[deg.] C. The reaction ran for 30 hours
and yielded 15 liters of gas. The pH was found to have a value of
about 5.0 at the end of 30 hours. The reaction was stopped after
30 hours by removing the unused metal and weighing it. The
non-consumed iron weighed 94 grams, indicating a consumption of 6
grams of iron. The maximum amount of hydrogen gas normally
expected by the net consumption of 6 grams of iron, without the
regeneration reaction described above, is 2.41 liters, as
indicated in the table below.
TABLE 3
Starting Solution Maximum H2 Yield With Iron Consumption
Total Grams Total Grams Grams Maximum
Metal Initial Supply Final Consumed Yield*
of H2
Iron (Fe) 100 94 6 2.41 liters
*If reacted iron has exclusively been used for the production of
hydrogen:
1 mole Fe yields 1 mole H2 (22.4 liters)
1 mole Fe = 55.85 grams
[0168] Therefore, a theoretical maximum yield of 0.40 liters of H2
per gram of Fe is expected without the regeneration reaction
described above.
[0169] As in experiment #1, based on the total amount of acid
supplied, it is expected that the first 8.06 liters of the gas
generated is pure hydrogen with the balance being 66.7% hydrogen.
However, the maximum theoretical generation of hydrogen based on
the amount of iron consumed is 2.41 liters. After 2.41 liters (the
maximum yield expected from the iron consumed), it is expected
that the remaining gas is 66.7% hydrogen. Therefore, it is
estimated that about 10.8 liters of hydrogen (out of about 15
total liters of gas) was produced in this experiment using
colloidal catalyst, well over the maximum of 2.41 liters expected
with the amount of iron consumed, thereby providing additional
evidence of the regeneration process. Experiment #5 Summary:
[0170] An experiment was conducted using 200 mL of the final
solution obtained from experiment #4, which contained oxidized
iron plus catalyst and was found to have a pH of about 5. Acid was
added to the solution, as in the above reactions, i.e., 10 mL of
93% concentration H2SO4 and 30 mL of 35% concentration HCl that
brought the pH to a level of about 1. No additional colloidal
materials were added, but 20 grams of aluminum metal was added.
The solution was maintained at a constant temperature of 96[deg.]
C. The reaction proceeded to produce 32 liters of gas in a span of
18 hours, at which point the rate of the reaction had slowed
significantly and the pH of the solution had become approximately
5.
[0171] The metal remaining at the end of the 18-hour experiment
was separated and found to have a mass of 9 grams. This metal
appeared to be a mixture of Al and Fe. Therefore, neglecting the
amount of iron and aluminum remaining in solution, there was net
consumption of 11 grams of metal and a net production of 32 liters
of gas.
[0172] As indicated above, based on the amount of acid added to
the reaction, the maximum amount of hydrogen gas expected solely
from the reaction of acid with metal would be 8.06 liters.
Depending on the makeup of the recovered metal, which had a mass
of 9 grams, two extremes are possible: a) assuming the metal
recovered was 100% Al, a maximum of 13.75 liters of hydrogen gas
would be expected from the consumption of 11 grams of aluminum;
and b) alternatively, assuming the metal recovered was 100% Fe, a
maximum of 21.25 liters of hydrogen gas would be expected from the
consumption of 17 grams of aluminum (20 grams supplied minus three
grams used in the production of iron). For purposes of calculating
maximum hydrogen gas generation, we assume the regeneration
process does not occur and the Fe metal would have been generated
from a conventional single displacement reaction with Al.
[0173] The actual percentage of Al and Fe would be somewhere
between the two extremes and, therefore, the maximum amount of
hydrogen gas generated solely from the consumption of metal
(without regeneration) would be between 13.75 liters and 21.25
liters. The observed generation of 32 liters of gas compared to
the maximum amount one would expect from the sole consumption of
metal indicates that the regeneration process is taking place. It
is believed that the increase in the rate of H2 production
resulted from a high concentration of metal ions in the solution
prior to the introduction of the elemental iron. Thus, solutions
resulting from this family of reactions should not be discarded
but rather should be used as the starting point for subsequent
reactions. Consequently, this process for the generation of H2
will not produce significant chemical wastes that require
disposal. Experiment #6 Summary:
[0174] An experiment was conducted using 20 mL FeCl3, 10 mL
colloidal magnesium, and 20 mL colloidal lead at a temperature of
about 90[deg.] C. A gas was produced that is believed to be a
mixture of hydrogen and oxygen, based upon observing the ignition
of the gas. The pH of the mixture decreased during the reaction
from a value of about 4.5 to a value of about 3.5. These
observations show that it is not necessary to introduce either
metallic iron or acid into the solution to produce hydrogen. Since
the electrochemical oxidation/reduction reactions (equations 30-32
resulting in the net equation 33) result in the production of
metallic iron and acid, these two constituents can be produced in
this manner. Presumably, this would eventually attain the same
steady state that is reached when metallic iron and acid are
supplied initially. Experiment #7 Summary
[0175] An initial solution comprising 10 mL of 93% concentration
H2SO4 and 30 mL of 35% concentration HCl was reacted with 20 grams
of iron pellets and 20 grams of aluminum pellets. There were then
added 50 mL of colloidal magnesium and 80 mL of colloidal lead,
each at a concentration believed to be about 20 ppm, producing a
total volume of about 215 mL. A theoretical maximum of 8.06 liters
of hydrogen gas could be produced if solely from the consumption
of the acids as indicated in Table 4.
TABLE 4
Starting Solution Maximum H2 Yield with Acid Consumption
Total Effective Maximum H2
Acid mL Concentration Grams Grams of
Acid Yield
H2SO4 10 93.0% 18.97 17.64 4.03
liters
HCl 30 35.0% 37.52 13.13 4.03 liters
Maximum H2 Yield: 8.06 liters
[0176] 1 mole H2SO4 yields 1 mole of H2 (22.4 liters @ STP)
[0177] 1 mole H2SO4=98 grams
[0178] Therefore, a theoretical maximum yield of 0.23 liters of H2
per gram of H2SO4 is expected without the regeneration reaction.
[0179] 2 moles of HCl yields 1 mole of H2 (22.4 liters @ STP)
[0180] 2 moles of HCl=73 grams
[0181] Therefore, a theoretical maximum yield of 0.31 liters of H2
per gram of HCl is expected without the regeneration reaction.
[0182] While some gas was lost due to leakage and diffusion, at
least 25 liters of gas was collected over a period of three hours,
and the reaction was still proceeding in a continuous fashion at a
rate of 8.4 liters of gas produced per hour. At this point the
reaction was stopped and the remaining metal, a mixture of
aluminum and iron was collected and dried, and was found to have a
mass of 35.5 grams. Thus, 4.5 grams of metal was consumed. Since
the remaining metal was not analyzed, it is not known in what
ratio aluminum and iron reacted; however the simple oxidation of a
metal by an acid would produce a maximum of 5.6 liters of
hydrogen, well below that observed. Based upon previous
observations and theoretical projections, the first 8.06 liters of
gas produced is likely to be made up of essentially pure hydrogen,
and beyond the theoretical threshold of 8.06 liters, 66.7% by
volume of the gas produced would be hydrogen and the other 33.3%
by volume would be oxygen. It is believed this experiment provides
ample evidence for the regeneration process.
[0183] It is believed that the simultaneous use of two metals does
not improve the initial rate of gas formation, but rather produces
a reaction whose rate is sustained over a much greater period of
time. In order to demonstrate this point, two additional
experiments were performed. Experiment #8 Summary:
[0184] An initial solution comprising 10 mL of 93% concentration
H2SO4 and 30 mL of 35% concentration HCl was reacted with 20 grams
of aluminum pellets. There were then added 50 mL of colloidal
magnesium and 80 mL of colloidal lead each at a concentration
believed to be about 20 ppm, producing a total volume of about 215
mL. A theoretical maximum of 8.06 liters of hydrogen gas could be
produced if solely from the consumption of the acids as indicated
in Table 5.
TABLE 5
Starting Solution Maximum H2 Yield with Acid Consumption
Total Effective Maximum H2
Acid mL Concentration Grams Grams of
Acid Yield
H2SO4 10 93.0% 18.97 17.64 4.03
liters
HCl 30 35.0% 37.52 13.13 4.03 liters
Maximum H2 Yield: 8.06 liters
[0185] 1 mole H2SO4 yields 1 mole of H2 (22.4 liters @ STP)
[0186] 1 mole H2SO4=98 grams
[0187] Therefore, a theoretical maximum yield of 0.23 liters of H2
per gram of H2SO4 is expected without the regeneration reaction.
[0188] 2 moles of HCl yields 1 mole of H2 (22.4 liters @ STP)
[0189] 2 moles of HCl=73 grams
[0190] Therefore, a theoretical maximum yield of 0.31 liters of H2
per gram of HCl is expected without the regeneration reaction.
[0191] The initial reaction rate was similar to that found in
experiment #1, where 9 liters of gas was produced in slightly less
than one hour. At this point, however, the reaction rate was found
to decrease by a factor of approximately one-half. The addition of
20 grams of iron caused an immediate increase in reaction rate to
the value that was initially observed at the onset of the
experiment. Experiment #9 Summary:
[0192] An initial solution comprising 10 mL of 93% concentration
H2SO4 and 30 mL of 35% concentration HCl was reacted with 40 grams
of aluminum pellets. There were then added 50 mL of colloidal
magnesium and 80 mL of colloidal lead, each at a concentration
believed to be about 20 ppm, producing a total volume of about 215
mL. A theoretical maximum of 8.06 liters of hydrogen gas could be
produced if solely from the consumption of the acids as indicated
in Table 6.
TABLE 6
Starting Solution Maximum H2 Yield with Acid Consumption
Total Effective Maximum H2
Acid mL Concentration Grams Grams of
Acid Yield
H2SO4 10 93.0% 18.97 17.64 4.03
liters
HCl 30 35.0% 37.52 13.13 4.03 liters
Maximum H2 Yield: 8.06 liters
[0193] 1 mole H2SO4 yields 1 mole of H2 (22.4 liters @ STP)
[0194] 1 mole H2SO4=98 grams
[0195] Therefore, a theoretical maximum yield of 0.23 liters of H2
per gram of H2SO4 is expected without the regeneration reaction.
[0196] 2 moles of HCl yields 1 mole of H2 (22.4 liters @ STP)
[0197] 2 moles of HCl=73 grams
[0198] Therefore, a theoretical maximum yield of 0.31 liters of H2
per gram of HCl is expected without the regeneration reaction.
[0199] The initial reaction rate was similar to that found in
experiment #1, where 9 liters of gas was produced in slightly less
than one hour. At this point, however, the reaction rate was found
to decrease by a factor of approximately one-half. The addition of
20 grams of iron caused an immediate increase in reaction rate to
the value that was observed at the onset of the experiment.
[0200] Clearly an interaction is taking place between the two
metals that produces a reaction that sustains a high rate of gas
production a significant period of time. Experiment #10 Summary:
[0201] An initial solution comprising 10 mL of 93% concentration
H2SO4 and 30 mL of 35% concentration HCl was reacted with 20 grams
of iron pellets and 20 grams of aluminum pellets. There were then
added 25 mL of colloidal magnesium and 40 mL of colloidal lead,
each at a concentration believed to be about 20 ppm, producing a
total volume of about 110 mL. A theoretical maximum of 8.06 liters
of hydrogen gas could be produced if solely from the consumption
of the acids as indicated in Table 7.
TABLE 7
Starting Solution Maximum H2 Yield with Acid Consumption
Total Effective Maximum H2
Acid mL Concentration Grams Grams of
Acid Yield
H2SO4 10 93.0% 18.97 17.64 4.03
liters
HCl 30 35.0% 37.52 13.13 4.03 liters
Maximum H2 Yield: 8.06 liters
[0202] 1 mole H2SO4 yields 1 mole of H2 (22.4 liters @ STP)
[0203] 1 mole H2SO4=98 grams
[0204] Therefore, a theoretical maximum yield of 0.23 liters of H2
per gram of H2SO4 is expected without the regeneration reaction.
[0205] 2 moles of HCl yields 1 mole of H2 (22.4 liters @ STP)
[0206] 2 moles of HCl=73 grams
[0207] Therefore, a theoretical maximum yield of 0.31 liters of H2
per gram of HCl is expected without the regeneration reaction.
[0208] The rate of the reaction initially is very fast with
instantaneous hydrogen generation at a rate of about 20 liters per
hour. After about an hour the rate slows to a steady-state value
of about 6.0 liters per hour. Additional heat may be added to
accelerate the process of regenerating the metals and the acids.
[0209] While some gas was lost due to leakage and diffusion, at
least 32 liters of gas was collected over a period of five hours,
and the reaction was still proceeding in a continuous fashion at a
rate of 6.0 liters per hour. At this point, the reaction was
stopped and the remaining metal, a mixture of aluminum and iron
was collected and dried, and was found to have a mass of about 40
grams. Thus, only a negligible amount of metal was consumed. Since
the remaining metal was not analyzed, it is not known in what
ratio aluminum and iron were present; however, it can be assumed
that approximately 20 grams of each metal was present in the
remaining metallic sample. Based upon previous observations and
theoretical projections, the first 8.06 liters of gas produced is
likely to be made up of essentially pure hydrogen, and beyond the
theoretical threshold of 8.06 liters, 66.7% by volume of the gas
produced would be hydrogen and the other 33.3% by volume would be
oxygen. It is believed this experiment provides further evidence
for a more efficient regeneration process when smaller volumes are
used in the reaction vessel. Experiment #11 Summary:
[0210] An initial solution comprising 10 g of sodium hydroxide, 20
mL of colloidal silver, and 10 mL of colloidal magnesium, where
each of the colloidal solutions had a concentration believed to be
about 20 ppm was diluted with 70 mL of distilled water. There was
then added to the solution 20 g of metallic zinc and 20 g of
metallic nickel. Initially the two metals were not in contact and
virtually no reaction and no gas evolution were observed. When the
zinc and nickel metals were moved into contact with each other, a
vigorous evolution of gas was observed emanating from the surface
of the nickel metal. The gaseous product produced at the surface
of the metallic nickel was captured in soap bubbles and was
ignited. The explosion upon ignition strongly indicated the
presence of elemental hydrogen in the product gas. Experiment #12
Summary:
[0211] An initial solution comprising 10 g of sodium hydroxide, 20
mL of colloidal silver, and 10 mL of colloidal magnesium, where
each colloidal solution had a concentration believed to be about
20 ppm, was diluted with 70 mL of distilled water. There was then
added to the solution a small piece of metallic zinc and a small
piece of metallic nickel each connected to a piece of copper wire
approximately three inches long. A vigorous evolution of gas was
observed emanating from the surface of the nickel metal. The
gaseous product produced at the surface of the metallic nickel was
captured in soap bubbles and was ignited. The explosion upon
ignition strongly indicated the presence of elemental hydrogen in
the product gas. Experiment #13 Summary:
[0212] An initial solution comprising 10 g of sodium hydroxide, 20
mL of colloidal silver, and 10 mL of colloidal magnesium, where
each colloidal solution had a concentration believed to be about
20 ppm, was diluted with 70 mL of distilled water. There was then
added to the solution a small piece of metallic zinc, and a small
piece of a tungsten carbide, each connected to a piece of copper
wire that extended outside of the solution. When the ends of the
copper wire were not in direct contact, virtually no reaction and
no gas evolution were observed. When the two ends of the copper
wire were placed into contact a vigorous evolution of gas was
observed emanating from the surface of the tungsten carbide
electrode. The gas evolution could be stopped and restarted
repeatedly simply by removing and then replacing the connection at
the two ends of the copper wires. When the two copper wires were
not in contact, a potential of about 0.3 volts was measured across
the two ends of the copper wires. The gaseous product produced at
the surface of the tungsten carbide sample was captured in soap
bubbles and was ignited. The explosion upon ignition strongly
indicated the presence of elemental hydrogen in the product gas.
After about 100 hours the rate of gas evolution and the measured
potential were unchanged. Experiment #14 Summary:
[0213] An initial solution comprising 9.8 g of sodium hydroxide,
20 mL of colloidal silver, and 10 mL of colloidal magnesium, where
each colloidal solution had a concentration believed to be about
20 ppm, was diluted with 70 mL of distilled water. There was then
added to the solution 42.2 g of tungsten carbide directly fused to
30.3 g of metallic zinc. A vigorous evolution of gas was observed
emanating from the surface of the tungsten carbide electrode.
After a period of two hours, approximately 1.5 L of gaseous
product had been collected. The reaction was stopped at this point
and the solution was found to have a pH of 11, and it was further
determined that 2.8 g of metal had been consumed. Experiment #15
Summary:
[0214] An initial solution comprising 10 g of sodium hydroxide, 20
mL of colloidal silver, and 10 mL of colloidal magnesium, where
each colloidal solution had a concentration believed to be about
20 ppm, was diluted with 70 mL of distilled water. There was then
added to the solution a small piece of metallic zinc and a small
piece of a tungsten carbide, each connected to a piece of copper
wire that extended outside of the solution. When the ends of the
copper wire were not in direct contact, virtually no reaction and
no gas evolution were observed. When the two ends of the copper
wire placed into contact, a vigorous evolution of gas was observed
emanating from the surface of the tungsten carbide electrode. The
gas evolution could be stopped and restarted repeatedly simply by
removing and then replacing the connection at the two ends of the
copper wires. When the two copper wires were not in contact, a
potential of about 0.3 volts was measured across the two ends of
the copper wires. The gaseous product produced at the surface of
the tungsten carbide sample was captured in soap bubbles and was
ignited. The explosion upon ignition strongly indicated the
presence of elemental hydrogen in the product gas. After about 100
hours the rate of gas evolution and the measured potential were
unchanged. An external 12-volt power source was then attached to
the electrodes in order to cause a flow of electrical current in
the direction opposite to what had been observed. Upon the
application of this potential the zinc metal was observed to
reform on the electrode with the concurrent production of a gas
thought to be elemental oxygen. Experiment #16 Summary:
[0215] An initial solution comprising 10 g of sodium hydroxide, 20
mL of colloidal silver, and 10 mL of colloidal magnesium, where
each colloidal solution had a concentration believed to be about
20 ppm, was diluted with 70 mL of distilled water. There was then
added to the solution a small piece of metallic zinc and a small
piece of a tungsten carbide, each connected to a piece of copper
wire that extended outside of the solution. When the ends of the
copper wire were not in direct contact, virtually no reaction and
no gas evolution were observed. When the two ends of the copper
wire placed into contact a vigorous evolution of gas was observed
emanating from the surface of the tungsten carbide electrode. The
gas evolution could be stopped and restarted repeatedly simply by
removing and then replacing the connection at the two ends of the
copper wires. When the two copper wires were not in contact a
potential of about 0.3 volts was measured across the two ends of
the copper wires. The gaseous product produced at the surface of
the tungsten carbide sample was captured in soap bubbles and was
ignited. The explosion upon ignition strongly indicated the
presence of elemental hydrogen in the product gas. After about 100
hours the rate of gas evolution and the measured potential were
unchanged. The zinc electrode was then removed and replaced by an
electrode consisting of copper wire. There was no observable
chemical reaction when the circuit was completed. An external
12-volt power source was then attached to the electrodes in order
to cause a flow of electrical current in the direction opposite to
what had been observed. Upon application of this potential the
zinc metal was observed to reform on the copper electrode with the
concurrent production of a gas thought to be elemental oxygen.
After 10 minutes, the external 12-volt power source was
disconnected and the circuit was once again completed by placing
the two ends of copper wire into contact. When the two ends of the
copper wire placed into contact, a vigorous evolution of gas was
observed emanating from the surface of the tungsten carbide
electrode, the rate of which was approximately equal to the rate
that had been initially observed. Experiment #17 Summary:
[0216] An initial solution was prepared by dissolving 10 g of
sodium hydroxide in 100 mL of distilled water. There was then
added to the solution a small piece of metallic zinc and a small
piece of a tungsten carbide each connected to a piece of copper
wire that extended outside of the solution. When the ends of the
copper wire were not in direct contact, virtually no reaction and
no gas evolution were observed. When the two ends of the copper
wire were placed into contact, the evolution of gas was observed
emanating from the surface of the tungsten carbide electrode. The
rate of gas evolution was noticeably less than the rate observed
with the inclusion of the colloidal catalysts. The gas evolution
could be stopped and restarted repeatedly simply by removing and
then replacing the connection at the two ends of the copper wires.
When the two copper wires were not in contact, a potential of
about 0.3 volts was measured across the two ends of the copper
wires. The gaseous product produced at the surface of the tungsten
carbide sample was captured in soap bubbles and was ignited. The
explosion upon ignition strongly indicated the presence of
elemental hydrogen in the product gas. Experiment #18 Summary:
[0217] An initial solution comprising 10 g of sodium hydroxide, 20
mL of colloidal silver, and 10 mL of colloidal magnesium, where
each colloidal solution had a concentration believed to be about
20 ppm, was diluted with 70 mL of distilled water. There was then
added to the solution a small piece of metallic zinc, and a copper
plate connected to four pieces of a tungsten carbide. The metallic
zinc and the copper plate were each connected to a piece of copper
wire that extended outside of the solution. When the ends of the
copper wire were not in direct contact, virtually no reaction and
no gas evolution were observed. When the two ends of the copper
wire were placed into contact, a vigorous evolution of gas was
observed emanating from the surface of each of the pieces of the
tungsten carbide. The total rate of gas evolution was
approximately four times that obtained when a single piece of
tungsten carbide was employed, indicating the relationship between
the rate of hydrogen production and the surface area of the
cathode. The gas evolution could be stopped and restarted
repeatedly simply by removing and then replacing the connection at
the two ends of the copper wires. When the two copper wires were
not in contact, a potential of about 0.3 volts was measured across
the two ends of the copper wires. The gaseous product produced at
the surface of the tungsten carbide sample was captured in soap
bubbles and was ignited. The explosion upon ignition strongly
indicated the presence of elemental hydrogen in the product gas.
Experiment #19 Summary:
[0218] An initial solution comprising 5 mL of 93% concentration
H2SO4, 10 mL of 35% concentration HCl, 25 mL of colloidal silver,
and 10 mL of colloidal magnesium, where each colloidal solution
had a concentration believed to be about 20 ppm, was diluted with
50 mL of distilled water. There was then added to the solution a
small piece of a metal alloy consisting of metallic tin and
metallic lead and a small piece of a tungsten carbide, each
connected to a piece of copper wire that extended outside of the
solution. When the ends of the copper wire were not in direct
contact, virtually no reaction and no gas evolution were observed.
When the two ends of the copper wire were placed into contact, a
rather evolution of gas was observed emanating from the surface of
the tungsten carbide electrode. The gas evolution could be stopped
and restarted repeatedly simply by removing and then replacing the
connection at the two ends of the copper wires. The gaseous
product produced at the surface of the tungsten carbide sample was
captured in soap bubbles and was ignited. The explosion upon
ignition strongly indicated the presence of elemental hydrogen in
the product gas. Experiment #20 Summary:
[0219] An initial solution comprising 5 mL of 93% concentration
H2SO4, 10 mL of 35% concentration HCl, 25 mL of colloidal silver,
and 10 mL of colloidal magnesium, where each colloidal solution
had a concentration believed to be about 20 ppm, was diluted with
50 mL of distilled water. There was then added to the solution a
small piece of a metal alloy consisting of metallic tin and
metallic lead and a small piece of a tungsten carbide, each
connected to a piece of copper wire that extended outside of the
solution. When the ends of the copper wire were not in direct
contact, virtually no reaction and no gas evolution were observed.
When the two ends of the copper wire placed into contact, a
vigorous evolution of gas was observed emanating from the surface
of the tungsten carbide electrode. The gas evolution could be
stopped and restarted repeatedly simply by removing and then
replacing the connection at the two ends of the copper wires. The
gaseous product produced at the surface of the tungsten carbide
sample was captured in soap bubbles and was ignited. The explosion
upon ignition strongly indicated the presence of elemental
hydrogen in the product gas. After about 10 hours the rate of gas
evolution was unchanged. The tin-lead electrode was then removed
and replaced by an electrode consisting of copper wire. There was
no observable chemical reaction when the circuit was completed. An
external 12-volt power source was then attached to the electrodes
in order to cause a flow of electrical current in the direction
opposite to what had been observed. Upon the application of this
potential a metal was observed to reform on the copper electrode,
with the concurrent production of a gas thought to be elemental
oxygen. After 10 minutes, the external 12-volt power source was
disconnected and the circuit was once again completed by placing
the two ends of copper wire into contact. When the two ends of the
copper wire placed into contact, a vigorous evolution of gas was
observed emanating from the surface of the tungsten carbide
electrode, the rate of which was approximately equal to the rate
that had been initially observed. Experiment #21 Summary:
[0220] An initial solution comprising 5 mL of 93% concentration
H2SO4, 10 mL of 35% concentration HCl, 25 mL of colloidal silver,
and 10 mL of colloidal magnesium, where each colloidal solution
had a concentration believed to be about 20 ppm, was diluted with
50 mL of distilled water. There was then added to the solution a
small piece of a metal alloy consisting of metallic tin and
metallic lead and a copper plate connected to four pieces of a
tungsten carbide. The metallic tin-lead alloy and the copper plate
were each connected to a piece of copper wire that extended
outside of the solution. When the ends of the copper wire were not
in direct contact, virtually no reaction and no gas evolution was
observed. When the two ends of the copper wire were placed into
contact, a vigorous evolution of gas was observed emanating from
the surface of each of the pieces of the tungsten carbide. The
total rate of gas evolution was approximately four times that
obtained when a single piece of tungsten carbide was employed,
indicating the relationship between the rate of hydrogen
production and the surface area of the cathode. The gas evolution
could be stopped and restarted repeatedly simply by removing and
then replacing the connection at the two ends of the copper wires.
When the two copper wires were not in contact, a potential of
about 0.3 volts was measured across the two ends of the copper
wires. The gaseous product produced at the surface of the tungsten
carbide sample was captured in soap bubbles and was ignited. The
explosion upon ignition strongly indicated the presence of
elemental hydrogen in the product gas. Experiment #22 Summary:
[0221] An initial solution comprising 8 mL of 93% concentration
H2SO4, 24 mL of 35% concentration HCl, 20 mL of colloidal silver,
and 20 mL of colloidal magnesium, where each colloidal solution
had a concentration believed to be about 20 ppm, was diluted with
75 mL of distilled water. There was then added to the solution 10
g of zinc sulfate heptahydrate. To a 25 mL aliquot of this
solution was added a small piece of aluminum mesh and a small
piece of tungsten carbide, each connected to one of two copper
wires that extended outside of the solution. When the ends of the
copper wires were not in direct contact with each other, virtually
no reaction and no gas evolution were observed. When the two ends
of the copper wires were placed into contact, a very vigorous
evolution of gas was observed emanating from the surface of the
tungsten carbide electrode. The rate of hydrogen formation was
comparable to that obtained by the uncatalyzed reaction of pure
aluminum with mineral acid at a similar level of acidity. The gas
evolution could be stopped and restarted repeatedly simply by
removing and then replacing the connection between the copper
wires. The gaseous product produced at the surface of the tungsten
carbide sample was captured in soap bubbles and ignited. The
explosion upon ignition strongly indicated the presence of
elemental hydrogen in the product gas. Experiment #23 Summary:
[0222] An initial solution comprising 8 mL of 93% concentration
H2SO4, 24 mL of 35% concentration HCl, 20 mL of colloidal silver,
and 20 mL of colloidal magnesium, where each colloidal solution
had a concentration believed to be about 20 ppm, was diluted with
75 mL of distilled water. There was then added to the solution 10
g of cobalt (II) sulfate heptahydrate. To a 25 mL aliquot of this
solution was added a small piece of aluminum mesh and a small
piece of tungsten carbide, each connected to one of two copper
wires that extended outside of the solution. When the ends of the
copper wires were not in direct contact, virtually no reaction and
no gas evolution were observed. When the two ends of the copper
wires were placed into contact, a very vigorous evolution of gas
was observed emanating from the surface of the tungsten carbide
electrode. The rate of hydrogen formation was comparable to that
obtained by the uncatalyzed reaction of pure aluminum with mineral
acid at a similar level of acidity. The gas evolution could be
stopped and restarted repeatedly simply by removing and then
replacing the connection at the two ends of the copper wires. The
gaseous product produced at the surface of the tungsten carbide
sample was captured in soap bubbles and ignited. The explosion
upon ignition strongly indicated the presence of elemental
hydrogen in the product gas.
[0223] The foregoing experiments were carried out under ambient
lighting conditions that included a mixture of artificial and
natural light sources. When the reactions described were performed
under decreased light conditions, the reaction rates generally
decreased. However, separate formal testing under decreased
lighting has not been performed.
[0224] It is believed the experimental results described above
demonstrate the potential value of the invention described herein.
The calculations are based on the reaction mechanisms described
above and are believed to characterize the reactions involved in
these experiments accurately. However, if it is discovered that
the theories of reactions or the calculations based thereon are in
error, the inventions described herein nevertheless are valid and
valuable.
[0225] The embodiments shown and described above are exemplary.
Many details are often found in the art and, therefore, many such
details are neither shown nor described. It is not claimed that
all of the details, parts, elements, or steps described and shown
were invented herein. Even though numerous characteristics and
advantages of the present invention have been described in the
drawings and accompanying text, the description is illustrative
only, and changes may be made in the detail, especially in matters
of shape, size, and arrangement of the parts within the principles
of the inventions to the full extent indicated by the broad
meaning of the terms of the attached claims.
[0226] The restrictive description and drawings of the specific
examples above do not point out what an infringement of this
patent would be, but are to provide at least one explanation of
how to use and make the inventions. The limits of the invention
and the bounds of the patent protection are measured by and
defined in the following claims.
CN1906133
//
MXPA06001987
APPARATUS AND METHOD FOR THE
PRODUCTION OF HYDROGEN
Inventor: GRIFFIN LINNARD
IPC: B01D5/00; C01B3/08; C02F1/461
US2005217432
Apparatus and method for the
reduction of metals
Inventor: GRIFFIN LINNARD
EC: C21B15/00; C22B21/02; IPC: C21B15/00;
C22B21/02; C22B3/02
Abstract -- Described is
an apparatus for the production of an elemental metal from a
metal-containing compound comprising a reaction medium containing
ions of a first metal and a second metal, wherein the second metal
is in colloidal form, and a related method.
Description
RELATED APPLICATIONS
[0001] This application is a continuation-in-part of application
Ser. No. 10/995,934, filed Nov. 23, 2004, which is hereby
incorporated by reference for all purposes and which claims
priority to provisional applications Ser. No. 60/524,469, filed
Nov. 24, 2003; Ser. No. 60/531,763, filed Dec. 22, 2003; and Ser.
No. 60/531,764, filed Dec. 22, 2003.
TECHNICAL FIELD
[
0002] The present invention is directed to a method and apparatus
for the production of metals from metal ore.
BACKGROUND
[0003] Most metals are found in nature in their oxidized form. In
order to extract these metals from their ores, it is necessary to
chemically reduce these metals to their elemental form. The
reduction of these metals usually requires stringent reaction
conditions and therefore results in a significant cost. For
example, iron, as found in nature, is generally in the oxidized
form iron(III) oxide, Fe2O3, or iron(II) oxide, FeO, or a
combination of the two: magnetite, Fe3O4. The reduction of
Fe<+2 > or Fe<+3 > to yield Fe is normally carried out
at very high temperatures, generally in excess of 1000[deg.] C.
This reduction is commonly accomplished by reaction of the
iron(III) oxide with carbon as shown in equation 1.
2Fe2O3+3C->4Fe+3CO2 (1)
[0004] The very high temperature required for the reaction
employed in equation 1 causes the generation of metallic iron from
its oxide to be difficult to achieve, and very expensive.
Likewise, aluminum, as found in nature, is generally in the
oxidized form aluminum oxide, Al2O3. The reduction of Al<+3
> to yield Al is normally carried out using a procedure called
the Hall-Heroult process. In the Hall-Heroult process, aluminum
oxide, Al2O3, is dissolved in a carbon-lined bath of molten
cryolite, Na3AlF6. Aluminum fluoride, AlF3, is also present to
reduce the melting point of the cryolite. The reactants are then
electrolyzed, and liquid aluminum is produced at the cathode. The
carbon anode is oxidized and forms gaseous carbon dioxide. The net
chemical reaction that describes this process is shown in equation
2. The very high temperature (about 600[deg.] C.) required for the
reaction employed in equation 2 causes the generation of metallic
aluminum from its oxide to be difficult to achieve, and the need
for the electrical energy necessary for electrolysis causes the
production of aluminum to be a very expensive process.
2Al2O3+3C->4Al+3CO2 (2)
[0005] Accordingly, there exists a need for a method and apparatus
for the production of metals from metal ore that requires less
extreme conditions and, accordingly, can be done at a lower cost.
SUMMARY
[0006] The above-described need has been addressed by providing an
apparatus for the production of an elemental metal from a
metal-containing compound which comprises a solution containing
ions of a first metal and a second metal, wherein the second metal
is in colloidal form.
[0007] In another embodiment of the apparatus, the second metal is
less reactive than the first metal.
[0008] In an additional embodiment, the second metal is more
reactive than the first metal.
[0009] In an additional embodiment, the apparatus further
comprises a third metal, wherein the third metal is in colloidal
form.
[0010] In an additional embodiment, the third metal is more
reactive than the first metal.
[0011] In an additional embodiment, the apparatus further
comprises a vessel for containing the solution, wherein the vessel
is inert to the solution. In an additional embodiment the vessel
is configured to maintain an internal pressure greater than
atmospheric.
[0012] In an additional embodiment, the second metal is silver,
gold, platinum, tin, lead, copper, zinc, iron, aluminum,
magnesium, beryllium, nickel or cadmium.
[0013] In an additional embodiment, the apparatus further
comprises a solid comprising the first metal in contact with the
solution.
[0014] In an additional embodiment, the solid comprising the first
metal is a metal oxide.
[0015] In an additional embodiment, the apparatus further
comprises an energy source. In an additional embodiment, the
energy source supplies electric energy.
[0016] In an additional embodiment, the apparatus further
comprises a cathode and an anode in electrical contact with the
solution.
[0017] In an additional embodiment, the temperature of the
solution is less than 500[deg.] C.
[0018] In an additional embodiment, the apparatus further
comprises an elemental non-metal in contact with the solution. In
an additional embodiment, the elemental non-metal is carbon.
[0019] In an additional embodiment, the apparatus further
comprises ions of a salt dissolved in the solution. In an
additional embodiment, a cation of the salt is higher on the
electromotive series than the first metal. In an additional
embodiment, the salt is aluminum sulfate, magnesium sulfate or
potassium aluminum sulfate.
[0020] In an additional embodiment, the solution comprises a
reducing agent. In an additional embodiment, the reducing agent is
hydrogen peroxide. In an additional embodiment, the reducing agent
is formic acid.
BRIEF DESCRIPTION OF THE DRAWINGS
[0021] The drawing FIGURE is a diagram of equipment which may be
used in connection with one embodiment of the present invention.
DETAILED DESCRIPTION
[0022] The drawing FIGURE shows equipment which may be used in one
embodiment of the present invention. A reaction vessel 102
contains a reaction medium 104. The reaction medium 104 preferably
comprises water and an acid, and preferably has a pH less than 7,
although other reaction media may be used, including other
solvents or non-liquid media such as gelatinous or gaseous media.
A cathode 106 and an anode 108 are preferably in electrical
contact with reaction medium 104. Cathode 106 is preferably in the
form of a disk made of carbon, but metallic materials such as lead
and iron may also be used. Cathode 106 is preferably positioned on
or near a bottom 107 of vessel 102. However, cathode 106 may
generally be any shape and may be positioned anywhere that is in
contact with reaction medium 104 and not in direct contact with
anode 108. Cathode 106 may be made of any material which is inert
or of lower reactivity than the metal being reduced and is
electrically conductive. Anode 108 is preferably in the form of a
rod made of carbon, but metallic materials such as lead and iron
may also be used. Anode 108 is preferably positioned to extend
into reaction medium 104 through a top surface of reaction medium
104. However, anode 108 may generally be any shape and may be
positioned anywhere in contact with reaction medium 104 and not in
direct contact with cathode 106. Anode 108 may be made of any
material which is inert or of lower reactivity than the metal
being reduced and is electrically conductive.
[0023] Vessel 102 also preferably contains an elemental non-metal
109 in contact with reaction medium 104. The elemental non-metal
is preferable in solid form, for the sake of convenience, though a
gaseous or liquid form should also work. Most preferably,
elemental non-metal 109 is carbon, since carbon is relatively
abundant and the byproducts produced in the resulting reactions
(described below) are not toxic or environmentally harmful.
[0024] An electrical potential source 110 is electrically
connected to cathode 106 and anode 108 and provides an electrical
potential between cathode 106 and anode 108. Electrical potential
source 110 preferably provides a direct current potential of the
approximate order of or greater than 12 volts. The invention
described herein has been performed using as little as 1 volt and
as great as 12 volts. It has been found that higher voltages
increase the overall reaction rate. As an alternative to providing
electrical energy, other forms of energy, such as thermal energy,
or light or other electromagnetic radiation energy, may be
provided to reaction medium 104. Additionally, ambient thermal
energy may be used, but the necessary reactions (discussed below)
will occur at a slower rate. However, unlike prior art methods of
metal production, the necessary reactions do not require that the
reaction medium 104 temperature be extremely high. The necessary
reactions have been observed to occur at a reasonable rate at
temperatures of about 75[deg.] C. when the energy source 110
provides electrical energy.
[0025] Reaction medium 104 contains ions (not shown) of a metal
which is to be reduced to its elemental state. Preferably, the ion
source is a metal-containing compound 112 in the solid state which
is in contact with reaction medium 104. Most preferably, the
metal-containing compound 112 is a metal ore found in nature, such
as iron(III) oxide or aluminum oxide. Alternatively, the
metal-containing compound 112 may be a derivative of a metal ore,
such as aluminum hydroxide, Al(OH)3. Additionally, the metal ions
may be from a salt, either in a solid or dissolved form, a metal
oxide or other ion source.
[0026] Reaction medium 104 also preferably contains a dissolved
salt (not shown). The salt preferably comprises a metal cation
that is higher on the electromotive series of metals than the
metal of the metal-containing compound which is being reduced. The
salts that have been found to be most effective are aluminum
sulfate, Al2(SO4)3, magnesium sulfate, MgSO4, and potassium
aluminum sulfate, KAl(SO4)2. However, in theory, any salt could
have a similar effect.
[0027] Reaction medium 104 also contains a suspended colloidal
catalyst (not shown). Most metals can be produced in a colloidal
state in a liquid. A colloid is a material composed of very small
particles of one substance that are dispersed (suspended), but not
dissolved, in a liquid. Thus, colloidal particles do not settle
out of a liquid even though they exist in the solid state. A
colloid of any particular metal is then a very small particle of
that metal suspended in a liquid. These suspended particles of
metal may exist in the solid (metallic) form or in the ionic form,
or as a mixture of the two. The very small size of the particles
of these metals results in a very large effective surface area for
the metal. This very large effective surface area for the metal
can cause the surface reactions of the metal to increase
dramatically when it comes into contact with other atoms or
molecules. The colloidal metals used in the experiments described
below were obtained using an apparatus for producing colloidal
silver in water sold by CS Prosystems of San Antonio, Tex. The
website of CS Prosystems is www.csprosystems.com. Based on
materials provided by the manufacturer, the particles of a metal
in the colloidal dispersions used in the experiments described
below are believed to range in size between 0.001 and 0.01
microns. In such a solution of colloidal metals, the
concentrations of the metals are believed to be between about 5 to
20 parts per million with the remainder being water.
[0028] Alternative to using a catalyst in colloidal form, it may
be possible to use a catalyst in another form that offers a high
surface-area to volume ratio, such as a porous solid or
colloid-polymer nanocomposite. In general, any of the catalysts
may be in any form with an effective surface area preferably of at
least 298,000,000 m<2 > per cubic meter of catalyst metal,
although smaller surface area ratios may also work.
[0029] When a colloidal metal ion is treated with an oxidized
metal, a voltaic oxidation-reduction will take place. The oxidized
metal can be any compound where the metal is in a cationic form.
Preferably, the oxidized metal will be the metal ore as found in
nature. For many metals, this is the metal oxide (MexOy).
Equations 3 and 4 are believed to represent the oxidation and
reduction reactions that occur with respect to the colloidal
metal. Equations 5 and 6 are believed to represent the oxidation
and reduction reactions that occur with the inclusion of elemental
non-metal 109, represented by the letter "Z". The process proceeds
most successfully when elemental non-metal 109, Z, is either
carbon or sulfur, but any non-metal may theoretically be employed.
[0030] The colloidal metal, M, can in principle be any metal, but
it has been found that equations 3 and 4, or equations 5 and 6,
work most efficiently when the colloidal metal has a higher (more
positive) reduction potential than Me. Thus, equations 3 and 4 and
equations 5 and 6 proceed most efficiently when the colloidal
metal is as low as possible on the electromotive series of metals.
Consequently, any colloidal metal will be successful, but the
reactions illustrated in equations 3 and 4 and equations 5 and 6
proceed most quickly with colloidal silver ion, due to the high
reduction potential of silver. When silver, for example, is
employed as the colloidal metal ion in equations 3 and 4, or in
equations 5 and 6, the pair of reactions is found to take place
quite readily. The voltaic reaction produces a positive voltage as
the oxidation and reduction reactions indicated take place. This
positive voltage can be used to supply the energy required for
other chemical processes. In fact, the voltage produced can even
be used to supply an over potential for reactions employing
equations 3 and 4, or equations 5 and 6, taking place in another
reaction vessel. Thus, this electrochemical process can
theoretically be made to take place more quickly without the
supply of an external source of energy, if at least two of these
reactions are performed in series. The addition of an external
source of energy, such as thermal energy, electrical energy or
light, or other electromagnetic radiation, will further enhance
the reaction rate.
Cathode (Reduction)
4M<+> +4e<-> ->4M (3)
Anode (Oxidation)
2H2O->4H<+> +O2+4e<-> (4)
Cathode (Reduction)
4M<+> +4e<-> ->4M (5)
Anode (Oxidation)
2H2O+Z->4H<+> +ZO2+4e<-> (6)
[0031] It is believed that the oxidation-reduction reaction
represented by reactions 5 and 6 occur faster and more easily than
the oxidation-reduction reaction represented by equations 3 and 4
due to the thermodynamic stability of the non-metallic oxide, ZO2.
[0032] The net result of the oxidation and reductions shown in
equations 5 and 6 is equation 7, which results in the production
of a colloidal metal in its elemental state plus a non-metallic
oxide plus acid. [mathematical formula - see original document]
[0033] In the absence of the non-metal, Z, the net result of the
oxidation and reductions shown in equations 3 and 4 is equation
7A, which is believed to result in the production of a colloidal
metal in its elemental state, plus elemental oxygen, plus acid.
[mathematical formula - see original document]
[0034] The colloidal elemental metal that has been produced is
believed to undergo reaction with the metal ion of the substance
that contains the oxidized form of the metal, which will be
represented as Me<+> . Me<+> can represent the
oxidized form of any metal, which can be present in any oxidation
state. Equation 8 illustrates this reaction where the oxidized
form of the metal, Me, is an oxide, but in reality can be any
compound that contains the metal, Me, in its oxidized form.
4M+2MeO+2H2O->4M<+> +2Me+4OH<-> (8)
[0035] The reaction illustrated by equation 8 will take place most
efficiently when the colloidal metal, M, is more reactive than the
metal, Me. That is, the reaction in equation 8 will proceed most
efficiently when the colloidal metal, M, is above the metal, Me,
on the electromotive series of metals. The hydroxide ion produced
in equation 8 will react with the hydrogen ion produced in
equation 7, or in equation 7A, to produce water as indicated in
equation 9.
4H<+> +4OH<-> ->4H2O (9)
[0036] Since the acid produced in the electrochemical reaction
depicted in equations 5 and 6 is neutralized by the base produced
in the thermal reaction represented by equation 8, the entire
reaction system remains at a pH close to 7 throughout. The
combining of equations 5, 6, 8, and 9 results in the net process
illustrated by equation 10, which represents the production of the
elemental metal, Me, produced by a reduction reaction, and the
formation of an oxide of a non-metal, ZO2, produced by an
oxidation reaction. [mathematical formula - see original document]
[0037] In the absence of the non-metal, Z, the combining of
equations 3, 4, 8, and 9 results in the net process illustrated by
equation 10A, which represents the production of the elemental
metal, Me, produced by a reduction reaction, and the formation of
elemental oxygen, produced by an oxidation reaction. [mathematical
formula - see original document]
[0038] The reactions shown in equations 3 and 4, or in equations 5
and 6, seem to occur best when the colloidal metal, M, is as low
as possible on the electromotive series of metals (less reactive);
however, the reaction depicted by equation 8 takes place most
efficiently when the colloidal metal, M, is as high as possible on
the electromotive series of metals. The net reaction, which is
illustrated by equation 10, or by equation 10A, is merely the sum
of equations 3, 4, 8, and 9 or of equations 5, 6, 8, and 9, and
could, in fact, be maximally facilitated by either colloidal
metals of high activity or by colloidal metals of low activity.
The relative importance of the reaction illustrated by equations 3
and 4, or by equations 5 and 6, compared to the reaction shown in
equation 8 determines the characteristics of the colloidal metal
that would best assist the net reaction in equation 10 or in
equation 10A. It has been found that the net reaction indicated in
equation 10 or in equation 10A proceeds at a maximal rate when the
colloidal metal is of maximum activity; that is, when the
colloidal metal is as high as possible on the electromotive series
of metals (more reactive). It has been found that the more
reactive colloidal metals, such as, but not limited to, colloidal
aluminum ion or colloidal magnesium ion, produce the most facile
reduction processes for the reduction of cationic metals. It is
also believed, although not yet shown analytically, that the
overall reaction may proceed even more favorably when two
colloidal metals are used, especially where one is higher (more
reactive) and one lower (less reactive) on the electromotive
series than the metal being reduced.
[0039] In addition, it has also been found that the inclusion of a
small amount (such as 10 wt %) of a salt leads to a rate increase
in the reaction represented by equation 10, or equation 10A. The
salt has its maximal effect when it includes a cation of a metal
of higher activity than Me; that is, one that is higher (more
reactive) than Me on the electromotive series of metals. The salts
that have been found to be most effective are aluminum sulfate,
Al2(SO4)3, magnesium sulfate MgSO4, and potassium aluminum
sulfate, KAl(SO4)2; however, in theory, any salt could potentially
have a similar effect.
[0040] Thus, under ambient thermal conditions, the oxide of any
metal can be converted to its metallic elemental state, with the
concurrent formation of elemental oxygen or the oxide of a
non-metal. It is believed that the thermal stability of the oxide
of the non-metal, ZO2, lowers the endothermicity of the process,
and allows the reduction of the oxidized metal to proceed at lower
temperatures, when the non-metal Z is used. The supplying of
additional energy leads to an acceleration of the reaction rate
for the process. When additional energy is supplied, it can be
supplied in the manner of thermal energy, electrical energy,
radiant energy, or the like. When the additional energy supplied
is in the form of thermal energy, one is limited by the boiling
point of the solvent. In aqueous systems, this would provide a
maximum temperature of 100[deg.] C. Under pressures higher than
one atmosphere, however, temperatures higher than 100[deg.] C.
could be obtained, and would provide an even more enhanced
reaction rate. It has been found that the increase in reaction
rate is most significant when additional energy is supplied in the
form of electrical energy.
[0041] An alternative to the above involves the introduction of a
reducing agent into reaction medium 104. Hydrogen peroxide has
been found to be an effective reducing agent for this process.
With the addition of hydrogen peroxide to reaction medium 104,
equations 5 and 6 are replaced by equations 11 and 12, or
equations 3 and 4 are replaced by equations 11A and 12A.
Cathode (Reduction)
2M<+> +2e<-> ->2M (11)
[0042] Anode (Oxidation)
H2O2+Z->2H<+> +ZO2+2e<-> (12)
Cathode (Reduction)
2M<+> +2e<-> ->2M (11A)
Anode (Oxidation)
H2O2->2H<+> +O2+2e<-> (12A)
[0043] Due to the fact that hydrogen peroxide has a larger (less
negative) oxidation potential than water, as indicated in the
comparison of equations 4A and 4B, the oxidation-reduction
reaction resulting from equations 11 and 12 takes place at an
enhanced rate compared to the oxidation-reduction reaction
indicated by equations 5 and 6. Likewise, the oxidation-reduction
reaction resulting from equations 11A and 12A takes place at an
enhanced rate compared to the oxidation-reduction reaction
indicated by equations 3 and 4.
H2O->4H<+> +O2+4e<-> [epsilon]<0> =-1.229
Volts (4A)
H2O2->2H<+> +O2+2e<-> [epsilon]<0> =-0.695
Volts (4B)
[0044] The net result of the oxidation and reductions shown in
equations 11 and 12 will be equation 13, which results in the
production of a colloidal metal in its elemental state plus a
non-metallic oxide plus acid [mathematical formula - see original
document]
[0045] Likewise, the net result of the oxidation and reductions
shown in equations 11A and 12A will be equation 13A, which results
in the production of a colloidal metal in its elemental state,
plus elemental oxygen, plus acid. [mathematical formula - see
original document]
[0046] The colloidal elemental metal that has been produced is
believed to undergo reaction with the metal ion of the substance
that contains the metal to be reduced, which will be represented
as Me<+> . Me<+> can represent the oxidized form of
any metal, which can be present in any oxidation state. Equation
14 illustrates this reaction where the oxidized form of the metal,
Me, is an oxide, but in reality can be any compound that contains
the metal, Me, in its oxidized form.
2M+MeO+H2O->2M<+> +Me+2OH<-> (14)
[0047] The reaction illustrated by equation 14 will take place
most efficiently when the colloidal metal, M, is more reactive
than the metal, Me. That is, the reaction in equation 14 will
proceed most efficiently when the colloidal metal, M, is above the
metal, Me, on the electromotive series of metals. The hydroxide
ion produced in equation 14 will react with the hydrogen ion
produced in equation 13, or in equation 13A, to produce water as
indicated in equation 15.
2H<+> +2OH<-> ->2H2O (15)
[0048] Since the acid produced in the electrochemical reaction
depicted in equations 11 and 12, or in equations 11A and 12A, is
neutralized by the base produced in the thermal reaction
represented by equation 14, the entire reaction system remains at
a pH close to 7 throughout. The combining of equations 11, 12, 14,
and 15 results in the net process illustrated by equation 16,
which represents the production of the elemental metal, Me,
produced by a reduction reaction, and the formation of an oxide of
a non-metal, ZO2, produced by an oxidation reaction. [mathematical
formula - see original document]
[0049] If the non-metal, Z, is not used, the combining of
equations 11A, 12A, 14, and 15 results in the net process
illustrated by equation 16A, which represents the production of
the elemental metal, Me, produced by a reduction reaction, and the
formation of elemental oxygen, produced by an oxidation reaction.
[mathematical formula - see original document]
[0050] The reactions shown in equations 11 and 12, or in equations
11A and 12A, seem to occur best when the colloidal metal, M, is as
low as possible on the electromotive series of metals. However,
the reaction depicted by equation 14 takes place most efficiently
when the colloidal metal, M, is as high as possible on the
electromotive series of metals. The net reaction illustrated by
equation 16, which is merely the sum of equations 11, 12, 14, and
15, or by equation 16A, which is merely the sum of equations 11A,
12A, 14, and 15, could, in fact, be maximally facilitated by
either colloidal metals of higher activity or by colloidal metals
of lower activity than the metal being reduced. The relative
importance of the reaction illustrated by equations 11 and 12, or
by equations 11A and 12A, compared to the reaction shown in
equation 14, determines the characteristics of the colloidal metal
that would best assist the net reaction in equation 16, or in
equation 16A. It has been found that the net reaction indicated in
equation 16, or in equation 16A, proceeds at a maximal rate when
the colloidal metal is of maximum activity; that is, when the
colloidal metal is as high as possible on the electromotive series
of metals. It has been found that the more reactive colloidal
metals, such as, but not limited to, colloidal aluminum ion or
colloidal magnesium ion, produce the most facile reduction
processes for the reduction of cationic metals. It is also
believed, although not yet shown analytically, that the overall
reaction may proceed even more favorably when two colloidal metals
are used, especially where one is higher and one lower on the
electromotive series than the metal being reduced.
[0051] In addition, it has also been found that the inclusion of a
small amount of a salt leads to a rate increase in the reaction
represented by equation 16, or by equation 16A. The salt has been
found to have a maximal effect when it includes a cation of a
metal of higher activity than the metal being reduced; that is,
one that is higher (more reactive) on the electromotive series of
metals. The salts that have been found most effective are aluminum
sulfate, Al2(SO4)3, magnesium sulfate MgSO4, and potassium
aluminum sulfate, KAl(SO4)2; however, in theory, any salt could
potentially have a similar effect.
[0052] Thus, under ambient thermal conditions, the oxide of any
metal can be treated with hydrogen peroxide and a non-metal, and
can be converted to its metallic elemental state, with the
concurrent formation of the oxide of a non-metal and water. Since
the oxidation of hydrogen peroxide (equation 12 or equation 12A)
is more favorable than the oxidation of water (equation 6 or
equation 4), the rate of metal reduction should be significantly
increased when hydrogen peroxide is used in the place of water.
This must be balanced by the fact that hydrogen peroxide is a more
costly reagent to supply. In those cases where the rate of the
metal reduction is the most critical factor, the use of hydrogen
peroxide will offer a significant advantage. It is still believed
that the thermal stability of the oxide of the non-metal, ZO2,
lowers the endothermicity of the process, and allows the reduction
of the oxidized metal to proceed at reasonable temperatures. The
supplying of additional energy leads to an acceleration of the
reaction rate for the process. When additional energy is supplied,
it can be supplied in the manner of thermal energy, electrical
energy, radiant energy or the like. When the additional energy
supplied is in the form of thermal energy, one is limited by the
boiling point of the solvent. In aqueous systems, this would
provide a maximum temperature of 100[deg.] C. Under pressures
higher than one atmosphere, however, temperatures higher than
100[deg.] C. could be obtained, and would provide an even more
enhanced reaction rate. It has been found that the increase in
reaction rate is most significant when additional energy is
supplied in the form of electrical energy.
[0053] A further alternative to the above involves the
introduction of a different reducing agent into reaction medium
104. Formic acid has been found to be an effective reducing agent
for this process. With the addition of formic acid to reaction
medium 104, equations 3 and 4 are replaced by equations 17 and 18.
Cathode (Reduction)
2M<+> +2e<-> ->2M (17)
Anode (Oxidation)
CH2O2->2H<+> +CO2+2e<-> (18)
[0054] Due to the fact that formic acid has a larger (in fact,
positive) oxidation potential than water, or than hydrogen
peroxide, as indicated in the comparison of equations 4A, 4B and
4C, the oxidation-reduction reaction resulting from equations 17
and 18 takes place at an enhanced rate compared to the
oxidation-reduction reaction indicated by equations 3 and 4, or by
equations 11A and 12A.
H2O->4H<+> +O2+4e<-> [epsilon]<0> =-1.229
Volts (4A)
H2O2->2H<+> +O2+2e<-> [epsilon]<0> =-0.695
Volts (4B)
CH2O2->2H<+> +CO2+2e<-> [epsilon]<0> =0.199
Volts (4C)
[0055] The net result of the oxidation and reductions shown in
equations 17 and 18 will be equation 19, which results in the
production of a colloidal metal in its elemental state plus carbon
dioxide plus acid [mathematical formula - see original document]
[0056] The colloidal elemental metal that has been produced is
believed to undergo reaction with the metal ion of the substance
that contains the metal to be reduced, which will be represented
as Me<+> . Me<+> can represent the oxidized form of
any metal, which can be present in any oxidation state. Equation
14 illustrates this reaction where the oxidized form of the metal,
Me, is an oxide, but in reality can be any compound that contains
the metal, Me, in its oxidized form.
2M+MeO+H2O->2M<+> +Me+2OH<-> (14)
[0057] The reaction illustrated by equation 14 will take place
most efficiently when the colloidal metal, M, is more reactive
than the metal, Me. That is, the reaction in equation 14 will
proceed most efficiently when the colloidal metal, M, is above the
metal, Me, on the electromotive series of metals. The hydroxide
ion produced in equation 14 will react with the hydrogen ion
produced in equation to produce water as indicated in equation 15.
2H<+> +2OH<-> ->2H2O (15)
[0058] Since the acid produced in the electrochemical reaction
depicted in equations 17 and 18 is neutralized by the base
produced in the thermal reaction represented by equation 14, the
entire reaction system remains at a pH close to 7 throughout. The
combining of equations 17, 18, 14, and 15 results in the net
process illustrated by equation 20, which represents the
production of the elemental metal, Me, produced by a reduction
reaction, and the formation of a carbon dioxide, produced by an
oxidation reaction. [mathematical formula - see original document]
[0059] The reactions shown in equations 17 and 18 seem to occur
best when the colloidal metal, M, is as low as possible on the
electromotive series of metals. However, the reaction depicted by
equation 14 takes place most efficiently when the colloidal metal,
M, is as high as possible on the electromotive series of metals.
The net reaction illustrated by equation 20, which is merely the
sum of equations 17, 18, 14, and 15, could, in fact, be maximally
facilitated by either colloidal metals of higher activity or by
colloidal metals of lower activity than the metal being reduced.
The relative importance of the reaction illustrated by equations
17 and 18, compared to the reaction shown in equation 14,
determines the characteristics of the colloidal metal that would
best assist the net reaction in equation 20. It has been found
that the net reaction indicated in equation 20 proceeds at a
maximal rate when the colloidal metal is of maximum activity; that
is, when the colloidal metal is as high as possible on the
electromotive series of metals. It has been found that the more
reactive colloidal metals, such as, but not limited to, colloidal
aluminum ion or colloidal magnesium ion, produce the most facile
reduction processes for the reduction of cationic metals. It is
also believed, although not yet shown analytically, that the
overall reaction may proceed even more favorably when two
colloidal metals are used, especially where one is higher and one
lower on the electromotive series than the metal being reduced.
[0060] In addition, it has also been found that the inclusion of a
small amount of a salt leads to a rate increase in the reaction
represented by equation 20. The salt has been found to have a
maximal effect when it includes a cation of a metal of higher
activity than the metal being reduced; that is, one that is higher
(more reactive) on the electromotive series of metals. The salts
that have been found most effective are aluminum sulfate,
Al2(SO4)3, magnesium sulfate, MgSO4, and potassium aluminum
sulfate, KAl(SO4)2; however, in theory, any salt could potentially
have a similar effect.
[0061] Thus, under ambient thermal conditions, the oxide of any
metal can be treated with formic acid, and can be converted to its
metallic elemental state, with the concurrent formation of carbon
dioxide and water. Since the oxidation of formic acid (equation
18) is more favorable than the oxidation of water (equation 4), or
the oxidation of hydrogen peroxide (equation 12A), the rate of
metal reduction should be significantly increased when formic acid
is used in the place of water, or in the place of hydrogen
peroxide. This must be balanced by the fact that formic acid,
while less costly than hydrogen peroxide, is a more costly reagent
to supply than is water. In those cases where the rate of the
metal reduction is the most critical factor, the use of formic
acid will offer a significant advantage. It is believed that the
thermal stability of the oxide of the carbon dioxide that is
formed lowers the endothermicity of the process, and allows the
reduction of the oxidized metal to proceed at reasonable
temperatures. The supplying of additional energy leads to an
acceleration of the reaction rate for the process. When additional
energy is supplied, it can be supplied in the manner of thermal
energy, electrical energy, radiant energy, or the like. When the
additional energy supplied is in the form of thermal energy, one
is limited by the boiling point of the solvent. In aqueous
systems, this would provide a maximum temperature of 100[deg.] C.
Under pressures higher than one atmosphere, however, temperatures
higher than 100[deg.] C. could be obtained, and would provide an
even more enhanced reaction rate. It has been found that the
increase in reaction rate is most significant when additional
energy is supplied in the form of electrical energy.
[0062] Finally, while all equations depicted here involve the use
of just a single metal, Me, it has been shown that all of the
reactions discussed herein can be carried out using an elemental
metal in addition to the oxidized form of the metal being reduced,
Me<+> . It has been shown, in fact, that in some cases the
use of multiple metals results in a significant increase in the
rate, as well as a significant increase in the yield of metal
reduction. In experiment #13, experiment #16 and experiment #17,
for example, elemental iron in the form of small iron nuggets is
used to aid the reduction of oxidized aluminum, Al<+3> . In
each of these cases, a sizable yield of metallic aluminum results
from a completely thermal, non-electrolytic process requiring, at
most, the input of only a small amount of thermal energy. It is
not clear at this point what causes these impressive enhancements
in the rate of the process as well as in the yield of reduced
metal that results. It is possible that the elemental metal takes
part in the reaction mechanism to provide a more complicated
mechanism having a greater number of steps, but a lower net
activation barrier. Another possibility is that the elemental
metal might provide a surface where the reduced metal, Me, could
reform more efficiently. Whatever the actual explanation is, the
results from experiments #13, #16 and #17 very clearly demonstrate
that the effects resulting from the addition of an elemental metal
different from Me can be quite significant in its effect upon
metal reduction.
[0063] Experiments #13, #16 and #17 each result in a sample of
iron that has become plated with elemental aluminum. Since this
technology should be valid for pairs of metals other than iron and
aluminum, what could result is a general method for the plating of
surfaces with a metal without the use of electrolysis.
Experimental Results:
[0064] Several experiments have been conducted using combinations
of embodiments of the technology described above. The results of
those experiments are given below: Experiment #1 Summary:
[0065] An experiment was conducted using 150 mL of iron (III)
chloride in an aqueous solution (commonly used as an etching
solution, purchased from Radio Shack) as the starting materials.
Initially, 10 mL of 93% concentration sulfuric acid (H2SO4) was
added to the solution, at which point no reaction occurred. About
50 mL of colloidal magnesium and 80 mL of colloidal lead, each at
a concentration believed to be about 20 ppm, were then added, at
which point a chemical reaction began and the bubbling of gases
was evident at ambient temperature. The production of gas
accelerated when the solution was heated to a temperature of about
65[deg.] C. The product gas was captured in soap bubbles and the
bubbles were then ignited. The observed ignition of the gaseous
product was typical for a mixture of hydrogen and oxygen.
[0066] Since, it is believed, the production of hydrogen gas could
only be produced with a concurrent oxidation of iron, it is
evident that the iron (III) had to be initially reduced before it
could be oxidized, thereby providing strong evidence of the
reduction reaction. This experiment has subsequently been repeated
with hydrochloric acid (HCl) instead of sulfuric acid, with
similar results. Experiment #2 Summary:
[0067] An experiment was conducted using 100 grams of Fe3O4 (this
sample was found to contain roughly equal amounts of Fe2O3 and FeO
plus a small amount of elemental carbon), 50 mL of 5% H2SO4, plus
40 mL of colloidal magnesium and 40 mL of colloidal lead in water.
Immediately a stream of gas was evolved that was identified as
carbon dioxide by gas chromatography. The mixture was then heated
to a temperature of 90[deg.] C. for a period of about three hours.
At this point, the stream of gas being evolved was again analyzed
by gas chromatography. This gaseous mixture was found to contain
40% hydrogen and 60% carbon dioxide. Since, it is believed, the
production of hydrogen gas could only be produced with a
concurrent oxidation of iron, it is evident that the iron had to
be initially reduced before it could be oxidized, thereby
providing strong evidence of the reduction reaction. Experiment #3
Summary:
[0068] An experiment was conducted using 5 g of Al2(SO4)3.18H2O
plus 40 mL of colloidal magnesium and 40 mL of colloidal lead in
water. Upon being heated to about 75[deg.] C., a stream of gas,
presumed to be elemental oxygen, was produced that did not ignite,
and also did not extinguish a flame. After 45 minutes of heating,
the gas was found to ignite very slightly when it was exposed to a
flame, indicative of the production of a small amount of elemental
hydrogen. Since, it is believed, the production of hydrogen gas
could only be produced with a concurrent oxidation of aluminum, it
is evident that the aluminum had to be initially reduced before it
could be oxidized, thereby providing strong evidence of the
reduction reaction. Experiment #4 Summary:
[0069] An experiment was conducted using 5 g of Fe2O3 plus 40 mL
of colloidal magnesium, 40 mL of colloidal lead and 80 mL of 3%
aqueous H2O2. Almost immediately a small amount of a gaseous
product was produced. As the temperature was increased, over a
period of ten minutes, the yield of gas increased with a maximum
yield of gas being realized at the maximum temperature of about
75[deg.] C. The product gas was found to contain a substantial
amount of hydrogen, based upon the manner in which it ignited when
a flame was applied. Since, it is believed, the production of
hydrogen gas could only be produced with a concurrent oxidation of
iron, it is evident that the iron had to be initially reduced
before it could be oxidized, thereby providing strong evidence of
the reduction reaction. Experiment #5 Summary:
[0070] An experiment was conducted using 5 g of Al(OH)3 plus 40 mL
of colloidal magnesium, 40 mL of colloidal lead and 80 mL of 3%
aqueous H2O2. Almost immediately a small amount of a gaseous
product was produced. As the temperature was increased, over a
period of ten minutes, the yield of gas increased with a maximum
yield of gas being realized at the maximum temperature of about
75[deg.] C. The product gas was found to contain a substantial
amount of hydrogen, based upon the manner in which it ignited when
a flame was applied. Since, it is believed, the production of
hydrogen gas could only be produced with a concurrent oxidation of
aluminum, it is evident that the aluminum had to be initially
reduced before it could be oxidized, thereby providing strong
evidence of the reduction reaction. Experiment #6 Summary:
[0071] An experiment was conducted using 5 g of Al2(SO4)3.18H2O
plus 40 mL of colloidal magnesium, 40 mL of colloidal lead and 80
mL of 3% aqueous H2O2. Almost immediately a small amount of a
gaseous product was produced. As the temperature was increased,
over a period of ten minutes, the yield of gas increased with a
maximum yield of gas being realized between the temperatures of
50[deg.] C. and 75[deg.] C. The product gas was found to contain a
substantial amount of hydrogen, based upon the manner in which it
ignited when a flame was applied. Since, it is believed, the
production of hydrogen gas could only be produced with a
concurrent oxidation of aluminum, it is evident that the aluminum
had to be initially reduced before it could be oxidized, thereby
providing strong evidence of the reduction reaction. Experiment #7
Summary:
[0072] An experiment was conducted using 5 g of Fe2O3 plus 40 mL
of colloidal magnesium, 40 mL of colloidal lead and 1 gram of
elemental carbon in water. The mixture was heated to a temperature
of about 90[deg.] C. for a period of 72 hours. A metallic-like
material was produced and collected that reacted with sulfuric
acid to produce an ignitable gas presumed to be hydrogen gas. The
metallic material is believed to be elemental iron. Experiment #8
Summary:
[0073] An experiment was conducted using 5 g of Al(OH)3 plus 40 mL
of colloidal magnesium, 40 mL of colloidal lead and 1 gram of
elemental carbon in water. The mixture was heated to a temperature
of about 90[deg.] C. for a period of 72 hours. A metallic-like
material was produced and collected that reacted with sulfuric
acid to produce an ignitable gas presumed to be hydrogen gas. The
metallic material is believed to be elemental aluminum. Experiment
#9 Summary:
[0074] An experiment was conducted using 5 g of Fe2O3, 40 mL of
colloidal magnesium and 40 mL of colloidal lead in water. A 12
volt, 10 amp power source was then applied for a period of 5
minutes to a pair of lead electrodes that had been introduced into
the solution. A metallic-like material that was produced and found
on the bottom of the apparatus was collected. The metallic
material reacted with sulfuric acid to produce an ignitable gas
presumed to be hydrogen gas. The metallic material has been
tentatively identified as elemental iron. Experiment #10 Summary:
[0075] An experiment was conducted using 5 g of Al(OH)3 plus 40 mL
of colloidal silver and about 0.1 g sodium hydroxide in water. A
12 volt, 10 amp power source was then applied for a period of
about thirty minutes to an iron anode and a carbon cathode that
had been introduced into the solution. After about five minutes,
the solution was titrated to a pH of about 7 using H2SO4. A
metallic-like material that was produced and found attached to the
anode was collected. The metallic material reacted with sulfuric
acid to produce an ignitable gas presumed to be hydrogen gas. The
metallic material has been tentatively identified as elemental
aluminum. An X-Ray Photoelectric Spectrum (XPS) was taken of this
material that indicates the presence of some elemental aluminum in
this material. Experiment #11 Summary:
[0076] An experiment was conducted using an initial solution
comprising 10 mL of 93% concentration H2SO4 and 30 mL of 35%
concentration HCl that was reacted with 25 g of Al2(SO4)3.18H2O
plus 80 mL of colloidal lead. Over a period of thirty minutes, the
reaction mixture was heated on a hot plate, and the temperature
increased to a value of 75[deg.] C. Over this period, a small
amount of an ignitable gas presumed to be hydrogen gas was
produced. Since, it is believed, the production of hydrogen gas
could only be produced with a concurrent oxidation of aluminum, it
is evident that the aluminum had to be initially reduced before it
could be oxidized, thereby providing strong evidence of the
reduction reaction. Experiment #12 Summary:
[0077] An experiment was conducted using an initial solution
comprising 10 mL of 93% concentration H2SO4 and 30 mL of 35%
concentration HCl that was reacted with 25 g of Al2(SO4)3.18H2O
plus 80 mL of colloidal lead, and 80 mL of 3% aqueous H2O2. Over a
period of thirty minutes, the reaction mixture was heated on a hot
plate, and the temperature increased to a value of 75[deg.] C.
Over this period, an impressive amount of an ignitable gas
presumed to be hydrogen gas was produced. The rate of gas
formation at this point was measured to be 80 mL per minute, or
4.8 L per hour. Since, it is believed, the production of hydrogen
gas could only be produced with a concurrent oxidation of
aluminum, it is evident that the aluminum had to be initially
reduced before it could be oxidized, thereby providing strong
evidence of the reduction reaction. Experiment #13 Summary:
[0078] An experiment was conducted using an initial solution
comprising 80 mL of 90% aqueous formic acid, CH2O2, that was
reacted with 25 g of Al2(SO4)3.18H2O plus 80 mL of colloidal lead.
Over a period of thirty minutes, the reaction mixture was heated
on a hot plate, and the temperature increased to a value of
75[deg.] C. Over this period, a small amount of an ignitable gas
presumed to be hydrogen gas was produced. There was then added to
the reaction mixture 80 g of metallic iron. The rate of gas
formation was found to increase drastically to a measured rate of
80 mL per minute or 4.8 L per hour. After an additional hour of
gas formation at a temperature of 75[deg.] C., the reaction
mixture was allowed to cool to a temperature of 20[deg.] C. The
iron metal was examined and was found to have metallic aluminum
plated over the iron. The aluminum was identified by its reaction
with water in an aqueous solution of NaOH to produce an ignitable
gas presumed to be hydrogen. Experiment #14 Summary:
[0079] An experiment was conducted using an initial solution
comprising 20 mL of 90% aqueous formic acid, CH2O2, that was
reacted with 20 mL of colloidal lead and one gram of metallic
aluminum. Over a period of thirty minutes, the reaction mixture
was heated on a hot plate, and the temperature increased to a
value of 75[deg.] C. No significant amounts of gases were emitted
and, in fact, no noticeable chemical reaction of any kind was
observed to occur under these conditions. Since metallic aluminum
does not react significantly under these reaction conditions, it
would be likely that if elemental aluminum were to be produced
under similar conditions, the aluminum could be isolated.
Experiment #15 Summary:
[0080] An experiment was conducted using an initial solution
comprising 40 mL of 90% aqueous formic acid, CH2O2, that was
reacted with 40 mL of colloidal lead and 40 g of metallic iron.
Over a period of thirty minutes, the reaction mixture was heated
on a hot plate, and the temperature increased to a value of
75[deg.] C. Over this period, a moderate amount of gas was
produced. There was then added to the reaction mixture log of
Al2(SO4)3.18H2O, and the rate of gas formation was found to
increase significantly. The reaction mixture was allowed to cool
to a temperature of 20[deg.] C. The iron metal was examined and
found to have metallic aluminum plated over the iron. The aluminum
was identified by its reaction with water in an aqueous solution
of NaOH to produce an ignitable gas presumed to be hydrogen.
Experiment #16
Summary:
[0081] An experiment was conducted using an initial solution
comprising 80 mL of colloidal lead that was reacted with 30 g of
Al2(SO4)3.18H2O plus 1 g of metallic iron. The reaction mixture
was heated using a hot plate to a temperature of 75[deg.] C., and
this temperature was maintained over a period of 24 hours. The
reaction mixture was allowed to cool to a temperature of 20[deg.]
C. The iron metal was examined and was found to have metallic
aluminum plated over the iron. The aluminum was identified by its
reaction with water in an aqueous solution of NaOH to produce an
ignitable gas presumed to be hydrogen. A different iron nugget
from the same reaction mixture was then studied using Energy
Dispersive X-Ray Spectroscopy (EDX), and was found to contain
approximately 9% elemental aluminum by mass.
Experiment #17
Summary:
[0082] An experiment was conducted using an initial solution
comprising 40 mL of 90% aqueous formic acid, CH2O2, that was
reacted with 40 mL colloidal lead plus 25 g of Al2(SO4)318H2O plus
9 g of metallic iron. The reaction mixture was maintained at an
ambient temperature of approximately 20[deg.] C. over a period of
48 hours. The iron metal was examined and was found to have
metallic aluminum plated over the iron. The aluminum was
identified by its reaction with water in an aqueous solution of
NaOH to produce an ignitable gas presumed to be hydrogen.
[0083] It is believed the experimental results described above
demonstrate the potential value of the inventions described
herein. However, the results, calculations and conclusions are
based on the theoretical reaction mechanisms that are described
above and that are believed to accurately characterize the
reactions involved in these experiments. However, if it is
discovered that the theoretical reaction mechanisms used to
rationalize the experimental findings, or the calculations based
thereon are in error, the inventions described herein nevertheless
are valid and valuable.
[0084] The embodiments shown and described above are exemplary.
Many details are often found in the art and, therefore, many such
details are neither shown nor described. It is not claimed that
all of the details, parts, elements, or steps described and shown
were invented herein. Even though numerous characteristics and
advantages of the present invention have been described in the
drawings and accompanying text, the description is illustrative
only, and changes may be made in the detail, especially in matters
of shape, size, and arrangement of the parts within the principles
of the invention to the full extent indicated by the broad meaning
of the terms of the attached claims.
[0085] The restrictive description and drawings of the specific
examples above do not point out what an infringement of this
patent would be, but are to provide at least one explanation of
how to use and make the invention. The limits of the invention and
the bounds of the patent protection are measured by and defined in
the following claims.