rexresearch.com

Brian HAGEMAN

Thermal Hydraulic Engine



The Fraser Domain -- Energy Blog (June 07)
Natural Energy Engine Technology
US Patent # 5,916,140 -- Hydraulic Engine Powered by Introduction and Removal of Heat from a Working Fluid
US Patent # 5,899,067 -- Hydraulic Engine Powered by Introduction and Removal of Heat from a Working Fluid


http://thefraserdomain.typepad.com/energy/2007/06/low_level_heat_.html

The Energy Blog, June 12, 2007

Low Level Heat Powers Low Cost Hydraulic Engine

Deluge, Inc. has developed a thermal hydraulic engine that is now ready for commercialization. The company has just successfully completed long term field testing of the technology, and has obtained patents on the design in nearly 40 industrialized countries world wide.

The Natural Energy Engine™, requires no combustion, operates virtually silently, and generates no emissions. Developed over the past 10 years, it operates by utilizing low level heat energy, 180°F (82°C) is suitable for many applications, from solar, geothermal, or any other heat source, including waste heat from existing processes.

The main components of the engine system are quite simple – a piston/cylinder and a heat transfer system. The cylinder contains a piston and a working fluid, and depending on the application may have a module to reposition the piston after each stroke. The heat transfer system comprises heat exchangers, a system to circulate the heat transfer fluid (typically water), and a simple circulation controller.

The key difference between a traditional combustion engine and the NE Engine is that the NE Engine relies on the transfer of heat to, and its subsequent removal from, a working fluid within the cylinder. As the working fluid is heated it expands, providing the pressure to drive the piston, and is subsequently cooled to complete the cycle.

“It is a thermal hydraulic engine,” says Brian Hageman, the inventor of the Natural Energy Engine. “It uses the same principles of expansion and contraction from heat as a thermometer, and uses the expansion to create powerful hydraulic pressure in a manner similar to an automobile’s brakes.”

The Company projects that engine configurations can easily be priced at 60-85% of power systems that produce equivalent output.

The NE Engine creates mechanical energy in a three step process:

Step 1:  Heated water is collected – for many applications 180°F is suitable.

Step 2: The hot water enters a heat exchanger where the heat is transferred to a working fluid. The working fluid, typically liquefied CO2, has a very high coefficient of expansion, meaning that it expands and contracts significantly, based on its temperature, while remaining in a liquid state. As the working fluid is heated, it expands, pushing a piston in the engine’s cylinder.

Step 3: Cooling water – generally in the range of 100° lower than the input water, with varying differentials depending on the application – then enters the heat exchanger causing the working fluid to contract, readying the piston for another stroke.

Proof of the engine’s operating principles was first demonstrated at the U.S. Department of Energy’s Rocky Mountain Oil Testing Center in Wyoming, where a prototype engine successfully pumped crude oil from underground formations using geothermal energy as the sole source of heat for operation.

In early 2006, Deluge embarked upon extensive field testing, conducting a multi-engine long term test under varying conditions in Kansas fields, and completed well over 100,000 hours of continuous operation over more than a year.  The results exceeded even Deluge’s expectations in terms of reliability, costs, and performance.




NATURAL ENERGY ENGINE TECHNOLOGY

The Natural Energy Engine is a thermal hydraulic engine that creates power by using the physical properties of heated fluids expansion to move a piston. The engines have very low or no fuel costs, no internal fuel combustion, and produce no pollution.

Using an innovative design, and backed by $10 million in R&D since 1996, these engines provide large cost reductions, environmental advantages and other benefits over conventional methods of energy production. Extensive field testing has successfully proven the technology.

The Deluge Natural Energy Engine’s core technology is an innovation in engine design. It combines advanced, yet proven, mechanical engineering and thermal dynamic technologies to produce mechanical energy.

As a hydraulic engine, it capitalizes on the same mechanical advantage embodied in such prosaic everyday applications as automobile brakes. However, instead stopping a two ton vehicle with just the pressure of a human foot on a brake pedal, this engine uses the expansion properties of fluid when heated.

The main components of the engine system are quite simple – a piston/cylinder and a heat transfer system. The cylinder contains a piston and a working fluid, and depending on the application may have a module to reposition the piston after each stroke. The heat transfer system comprises heat exchangers, a system to circulate the heat transfer fluid (typically water), and a simple circulation controller.

In a typical internal combustion engine, fuel is ignited in a cylinder resulting in expanding gases whose increasing pressure drives a piston creating usable mechanical energy. The NE Engine works on the same general principle of creating pressure on a piston in a cylinder to produce mechanical energy.

The key difference between a traditional combustion engine and the NE Engine is that the NE Engine relies on the transfer of heat to, and its subsequent removal from, a working fluid within the cylinder. As the working fluid is heated it expands, providing the pressure to drive the piston, and is subsequently cooled to complete the cycle. The expansion and contraction of the working fluid is based on the same principle seen in a traditional thermometer that causes the mercury to expand when heated and contract when cooled.

Because it operates on temperature differentials, the engine also requires a heat source and a method of removing the heat. The heat source can range from waste heat to solar to geothermal to a simple hot water heater and, where cooling water is unavailable due to high ambient temperatures, the method of heat removal can be as simple as a small evaporative cooling unit.

The NE Engine creates mechanical energy in a three step process:

Step 1: Heated water is collected – for many applications 180°F is suitable.

Step 2: The hot water enters a heat exchanger where the heat is transferred to a working fluid. The working fluid, typically liquefied CO2, has a very high coefficient of expansion, meaning that it expands and contracts significantly, based on its temperature, while remaining in a liquid state. As the working fluid is heated, it expands, pushing a piston in the engine’s cylinder.

Step 3: Cooling water – generally in the range of 100° lower than the input water, with varying differentials depending on the application – then enters the heat exchanger causing the working fluid to contract, readying the piston for another stroke.

The back and forth movement of the piston creates mechanical energy directly from heat energy. This motion can be harnessed to operate a motor or to perform other work. Even lower temperatures and different differentials can be utilized, all of which attest to the versatility of the engine. A formula has been developed that establishes the ratio between the volume of the heat exchanger and the volume required to displace the piston for various fluids. This formula establishes design parameters for different horsepower systems.

In typical applications, due to the natural pressure of liquid CO2, the cylinder is constructed such that the CO2 working fluid is on one side of the piston and a pneumatic spring charged with nitrogen (N2) is on the other. Heating the working fluid results in increased pressure on the working fluid side of the piston. The hydraulic pressure of the working fluid must be high enough to overcome the starting torque (static friction) of the piston. When the pressure exceeds this point, the piston moves outward, compressing the pneumatic spring. After a predetermined time period, cooling water is sent through the heat exchanger. As the temperature decreases, the volume of the working fluid shrinks. The backpressure of the pneumatic spring helps push the piston back to its starting position.

Multiple piston engines have been built and operated. In two piston applications, the two pistons can be configured so that they offset each other in a single cylinder. As one piston extends, the other retracts. Between the pistons are two working chambers that allow the engine to do work, such as compressing gas, pressurizing water, or pumping hydraulic fluid through a hydraulic motor to turn a shaft. In four piston applications, heat exchanger assemblies timed to run at staggered intervals are utilized on each of the four cylinders. Valves that direct either the heated water or the cooling water to flow through the heat exchanger are timed using the four pistons. The four cylinders work in sequence continuously applying power to turn a rotating shaft for varying applications.

Development of the revolutionary NE Engine technology began in 1984, with the first working model that ran off hot and cold water from Brian Hageman’s kitchen sink in Phoenix, Arizona. Brian continued to build on this idea, developing and refining the technology. Exhibit A shows key milestones in the development of the NE Engine, and initial commercial application of the technology.

Sources of Efficiency and Economy

The fundamental design of the engine provides the basis for its efficiency and economy. First, the engine has an inherent efficiency because so little energy is dissipated in heat loss and noise generation. In an internal combustion engine, for example, much of the BTU energy in the gasoline is sent out the tailpipe as waste heat, but the NE Engine can actually recycle whatever heat is not used. In part, this is because the engine operates at low temperatures – the NE Engine uses heat differentials of approximately 100° Fahrenheit to produce usable power.

Additionally, the NE Engine is more efficient because so little energy is used for indirect motions. An internal combustion engine uses a significant fraction of its power to overcome friction and operate ancillary functions, such as valves, cooling circulation, and the like. Additionally, each cylinder in an internal combustion engine typically provides power only on every second or fourth stroke, while each stroke of the NE Engine is a power stroke.

Another efficiency advantage of the engine is in power transfer. Unlike an internal combustion engine, for example, there are no camshafts with their friction and power losses, no gearing, and no transmission. Of course, in applications where linear power must be converted to rotary power, traditional methods or even hydraulic converters can be used. Although the engine’s high torque typically makes gearing and transmissions unnecessary, gearing is one option to generate even more rapid – or slower – movement than the engine’s normal cycle.

The result is a highly efficient, virtually silent, direct drive engine that can easily be configured to use no traditional fuels and generate no pollution whatsoever.

In sum, the real economic advantage of the NE Engine is its lower operating cost and increased efficiency over competing gasoline, diesel or electric powered engines. Unlike conventional engines that require costly fossil fuel or electricity, the NE Engine fuel is simply low grade heat – something that can be supplied by a variety of sources including solar thermal, geothermal, ocean thermal, waste heat or small amounts of electricity or carbon-based fuels. The engine’s ability to effectively utilize low grade heat results in minimal fuel costs.

The NE Engine is inherently simple with few moving parts; therefore, is easier to manufacture and to maintain than conventional engines. Deluge’s technology creates an affordable alternative to the more technologically complex products currently available.

Product Features and Benefits

Unlike photovoltaics and fuel cells, technologies that are inherently complex and expensive to manufacture, the NE Engine is relatively simple, utilizing components similar to those found in traditional internal combustion engines. As a result, production units can be sold at a price that provides customers an attractive investment payback period.

Although the technology application is new to the commercial marketplace, the underlying technology is soundly established. Deluge has placed an emphasis on off-the-shelf component materials with the result that production of the engines will not require complex manufacturing equipment or facilities, or large capital investment in new plants.

In addition, the technology is a mechanical hydraulic engine of robust design. The product life, when properly maintained, is estimated to be approximately 50 years. Product warranty calculations are based on a 20–30 year life span. This allows maximization of the return on investment. Additional financial benefits include paying for capital costs of purchased equipment in a relatively short period of time and extending the profitable life of leased equipment by practicing good preventive maintenance.

Overall features and benefits of NE Engine technology include the following:

    * Proven Technology: The engine is based on recognized, proven, understandable technology of modest complexity.

    * Flexible Design: The engine is designed so that it can be fabricated using existing off-the-shelf components and machined parts from existing fabrication plants, enabling access to a diverse source of parts vendors around the world, resulting in competitive pricing.

    * Simple Maintenance:  Training is of a mechanical nature, and does not require expensive high tech testing equipment, allowing for a broad range of skilled individuals who can be made field ready in a relatively short period of time.

    * Durability:  The engine has a robust design for long functional life, and easy repair and maintenance.

    * Independent Power:  Self-contained products can easily be configured that work well “off the grid” in remote locations.

    * Multiple Fuel Options:  Multiple fuel sources include solar thermal, geothermal, ocean thermal, natural gas, propane, waste heat and others, allowing for flexibility in choosing the most cost effective and available energy and backup energy source options.

    * Low capital cost:  The Company projects that engine configurations can easily be priced at some 60-85% of power systems that produce equivalent output.

    * Low operating costs:  Depending on configurations, operating costs can easily range from 25-75% of power systems that produce equivalent output, and can actually be as little as 4% (a 96% reduction in costs) – which can justify replacement due to the quick payback.

    * Pollution free:  The engines create no environmental waste, are inherently safe to operate, and produce no noise.  They can be configured to be entirely “green” and pollution free.

    * Cost Efficiencies with Size: As engines are built in larger sizes, a dramatic decrease in cost will occur when approaching the 200 horsepower range. As with many technologies, projections beyond that range will continue to reduce the cost per horsepower.

Alternative energy and “green” technology applications are also a benefit. Since the heat input required is low compared to other engines, and the heat differential required to cycle the engine is not large, the engine is environmentally friendly. When configured in conjunction with some traditional technologies, it can actually reduce overall heat emissions. It is exceptionally well suited to “green” applications, where it can improve the work outputs from traditional “green” technologies.

Independent Analysis of the Natural Energy Engine

Verification of the NE Engine’s capabilities has been documented in various forms. Third party discovery, experimental and empirical evidence, and documentation – important for acceptance by the general public, the engineering world, and financial institutions – are available.

In fact, the NE Engine and the basic engine technology have benefited from a substantial amount of third party examination and endorsement, including the implicit endorsement provided by the patent awards. Five examples of independent verification follow:

•     In 1998, an earlier version of the NE Engine was tested at Sandia National Laboratories in New Mexico. Through a facilities use agreement, the engine was connected to an engine dynamometer system at Sandia’s solar research center. Data was collected by Sandia and delivered to a local Phoenix engineering company for evaluation. The engineering report provided the first documented proof that the engine produced horsepower.

•     In 2001, a Master’s thesis was written by David Jacobi, a graduate engineering student under the guidance of Dr. Patrick Phelan, a professor in the Mechanical & Aerospace Engineering Department at Arizona State University. This thesis provided an in-depth analysis of the physics of the NE Engine, and described and documented the engine’s operation in terms of engineering and physics equations. The thesis also provided insights for advancing the design of the engine to improve performance.

•     In 2001, testing of a water pump system, using the NE Engine, was conducted at the Indian Institute of Technology in Chennai, India. An extensive review was held at the laboratory where over 200 tests were performed and documented. The resulting study report provided valuable temperature/pressure cycle data used to determine the repeatability of cycling and sequencing of the engine timing.

•     In 2003, Deluge entered into a Cooperative Research and Development Agreement with the U.S. Department of Energy at the Rocky Mountain Oil Testing Center (RMOTC) in Wyoming. Testing of the first commercial application of a single cylinder NE Engine was performed by a pump designed and built for lifting crude oil from underground formations. Various components of the prototype were tested. The actual field testing on an existing oil well at RMOTC provided valuable development knowledge and earned Deluge the Federal Laboratories Consortium’s Outstanding Technology Development Award in 2005. See Exhibit B.

•     In 2004, Deluge entered into a Cooperative Research and Development Agreement with the U.S. Department of the Interior at the Water Quality Improvement Center in Yuma, Arizona. A bench test was performed using the engine to pressurize salt water processed through a reverse osmosis membrane to produce drinking water. The successful tests were monitored by a computer logging instrument and compiled into an available report. This same process can be used to purify produced oil well water.

•     In 2006, Deluge engaged the independent engineering firm of ESG Engineering, based in Tempe, Arizona, to conduct an independent analysis of the comparative efficiency, both physical and economic, of the NE Engine in oilfield use. Their analysis indicates that NE Engine electrical costs can be less than one-twenty-fifth of the costs of traditional pumping. Depending on field conditions and pump alternatives, NE Engine operating costs range from 3.5% to 15% of typical costs. See Exhibit C.

Deluge has benefited from relationships with university professors in Arizona, some of whom have consulted on engineering matters. Professor Phelan, who has been working with the NE Engine development team for about seven years, is the primary contact at Arizona State University. While Mr. Jacobi was writing his Master’s thesis on the NE Engine, ASU helped devise a computer modeling program to assist in developing larger engines. The development team is presently working with ASU on additional projects surrounding the core fundamentals of NE Engine technology that will lead to further commercial application.

Intellectual Property

As with any such fundamental innovation, patent protection is critical. Accordingly, Deluge has sought – and obtained – excellent patent protection on the NE Engine design. Patents for the engine have been issued in 39 industrialized countries around the world and are pending in three others. Details of the patent application and award status appear in Exhibit D.

The patented name of the engine is a “hydraulic engine powered by introduction and removal of heat from a working fluid”. The preparation of patents was expensive and time consuming, and the decision on where to apply for patents was thoughtfully made. In the United States, two patents have been obtained, the second being an extension and elaboration of the first.

The Company fully expects that it will seek and obtain additional patents as the manufacturing process matures, as refinements are made to the application of the engine to various uses, and as modifications and extensions are made to the technology. This is considered by Company management to be a critical element in extending the competitive advantage of the engine.

To date, funding for all R&D, design, testing, and other technology projects has been accomplished through private investors who purchased common stock in Deluge, Inc.


THERMAL HYDRAULIC ENGINE
HAGEMAN BRIAN C
SI0920572T
 
THERMAL HYDRAULIC ENGINE
WO9807962

Hydraulic engine powered by introduction and removal of heat from a working fluid
US5916140



US Patent  # 5,916,140

Brian Hageman

June 29, 1999

Hydraulic Engine Powered by Introduction and Removal of Heat from a Working Fluid

Abstract ---

A thermal hydraulic engine including a frame. A working fluid changes volume with changes in temperature. A working fluid container houses the working fluid. A cylinder secured to the frame includes an interior space. The cylinder also includes a passage for introducing the working fluid into the interior space. A piston is housed within the interior space of the cylinder. The working fluid container, the interior space of the cylinder, the piston, and the working fluid container define a closed space filled by the working fluid. The engine also includes means for transmitting heat to and removing heat from the working fluid, thereby alternately causing the working fluid to expand and contract without undergoing a phase change. The piston moves in response to the expansion and contraction of the working fluid.

References Cited

U.S. Patent Documents

 2963853  December 1960  Westcott, Jr.
 3055170  September 1962  Westcott, Jr.
 3183672  May 1965  Morgan
 3434351  March 1969  Poitras
 3984985  October 1976  Lapeyre
 3998056  December 1976  Clark
 4027480  June 1977  Rhodes
 4107928  August 1978  Kelly et al.
 4283915  August 1981  McConnell et al.
 4375152  March 1983  Barto
 4441318  April 1984  Theckston
 4452047  June 1984  Hunt et al.
 4458488  July 1984  Negishi
 4488403  December 1984  Barto
 4509329  April 1985  Breston
 4530208  July 1985  Sato
 4553394  November 1985  Weinert
 4637211  January 1987  White et al.
 4747271  May 1988  Fischer
 5025627  June 1991  Schneider
 5195321  March 1993  Howard

Foreign Patent Documents

 32 32 497  Feb., 1983  DE

Description

FIELD OF THE INVENTION

The invention relates to an engine that is powered by the expansion and contraction of a working fluid as heat is alternately applied to and removed from the working fluid.

BACKGROUND OF THE INVENTION

Typically, energy is not in readily utilizable forms. Many means exist for converting one type of energy to another. For example, an internal combustion engine can turn the explosive force of a fuel burned in its cylinders into mechanical energy that eventually turns the wheels of a vehicle to propel a vehicle. An internal combustion engine channels energy resulting from the burning of a fuel in a cylinder into a piston. Without the cylinder and piston, the energy resulting from the burning of the gas would simply spread out in every available direction. Another example of a device to convert one form of energy into another is a windmill. If connected to an electric generator, windmills can convert the mechanical action of moving air into electricity.

While an internal combustion engine typically produces mechanical energy from the burning of fossil fuels, such as gasoline, diesel fuel, or natural gas or alcohols, other attempts have been made to produce mechanical energy from the movement of members such as pistons by means other than the burning of fossils fuels. However, most of these devices still operate on the basic principle of providing a force to drive a moveable member such as a piston. The difference among the various devices in the way in which the force is produced to move the piston and the way in which the force is controlled.

Some of these devices utilize the movement of a working fluid to drive a moveable member, such as a piston. Other devices utilize the phase change in a liquid to drive a moveable member. In their operation, some devices utilize valves to control the flow of a working fluid in the production of mechanical energy by moving a moveable member.

Due to the worldwide and ever increasing demand, research constantly focuses on ways to produce energy or power the devices that we rely on in our daily lives. In recent years, another area of research has included alternative sources of energy. Such research has constantly increased. Among the reasons for the increased research is an increased awareness of the limited amount of fossil fuels in the earth. This research may also be spawned by an increased desire to provide energy for people living in remote locations around the world who now live without power.

Among the alternative sources of energy on which research has been focused is solar energy. Solar energy has been captured by photovoltaic cells that convert the sun's energy directly into electricity. Solar energy research is also focused on devices that capture the sun's heat for use in a variety of ways.

As discussed above, in relation to the internal combustion engines and windmill examples, the problem being addressed both by photovoltaic solar cells and solar heating devices is the conversion of one type of energy to another type of energy. In solar cells, the energy in sunlight is used to excite electrons in the solar cells, thereby converting the sun's energy to electrical energy. On the other hand, in solar heating cells, the energy of the sun is typically captured by a fluid, such as solar hot water panels typically seen on the rooftops of residences.

SUMMARY OF THE INVENTION

The present invention was developed with the above described problems in mind. As a result, the present invention is directed to a new device for converting one form of energy to another. The present invention may also utilize solar or other unconventional forms and/or sources of energy.

Accordingly, the present invention provides a thermal hydraulic engine that utilizes the expansion and contraction of a fluid by alternately transmitting heat to and removing heat from an operating fluid. The energy may provide mechanical and/or electrical energy.

One advantage of the present invention is that it may utilize a variety of sources of heat to heat and/or cool the working fluid.

Consequently, another advantage of the present invention is that it is substantially non-polluting.

Along these lines, an additional advantage of the present invention is that it may run off heat energy and, therefore, may be solar powered.

Furthermore, an advantage of the present invention is that, since it may be solar powered, it may be utilized to provide power in remote areas.

An additional advantage of the present invention is that it may utilize heat and/or heated water produced by existing processes. Accordingly, the present invention may make use of heat energy that is otherwise currently not utilized and discarded as waste.

A still further advantage of the present invention is that it may operate without using fossil fuels.

It follows that an advantage of the present invention is that it may produce energy without contributing to the abundance of waste gases and particles emitted into the atmosphere by the burning of fossil fuels.

Also, an advantage of the present invention is that it may include a relatively simple design that eliminates the need for a complex series of valves to control the flow of a working fluid through the system.

Accordingly, a further advantage of the present invention is that it provides a simple design, thus reducing construction and maintenance costs.

In accordance with these and other objectives and advantages, the present invention provides a thermal hydraulic engine. The engine includes a frame. The engine utilizes a working fluid that changes volume with changes in temperature. A working fluid container houses the working fluid. A cylinder is secured to the frame and includes an interior space. The cylinder also includes a passage for introducing the working fluid into the interior space. A piston is housed with the interior space of the cylinder. The working fluid container, the interior space of the cylinder, the piston, and the working fluid container define a closed space filled by the working fluid. The engine also includes means for transmitting heat to and removing heat from the working fluid, thereby alternately causing the working fluid to expand and contract without undergoing a phase change. The piston moves in response to the expansion and contraction of the working fluid.

According to additional preferred aspects, the present invention provides a thermal hydraulic engine. The engine includes a frame. The engine also includes a working fluid that changes volume with changes in temperature. A working fluid container houses the working fluid. A flexible diaphragm is provided at one end of the working fluid container. The flexible diaphragm moves in response to expansion and contraction of the working fluid without a phase change in the working fluid. A connecting rod in contact with the flexible diaphragm moves in response to movement of the flexible diaphragm. The engine also includes means for transmitting heat to and removing heat from the working fluid, thereby alternately causing the working fluid to expand and contract.

Still other objects and advantages of the present invention will become readily apparent by those skilled in the art from the following detailed description, wherein it is shown and described only the preferred embodiments of the invention, simply by way of illustration of the best mode contemplated of carrying out the invention. As will be realized, the invention is capable of other and different embodiments, and its several details are capable of modifications in various obvious respects, without departing from the invention. Accordingly, the drawings and description are to be regarded as illustrative in nature and not as restrictive.

BRIEF DESCRIPTION OF THE DRAWINGS

FIG. 1 represents a schematic diagram illustrating an embodiment of a power plant including a thermal hydraulic engine according to the present invention;

FIG. 2 represents a schematic diagram illustrating various components of an embodiment of a solar powered thermal hydraulic engine according to the present invention;

FIG. 3 represents an overhead view of various components that may be driven by a thermal hydraulic engine according to the present invention, representing the "load" on the engine;

FIG. 3a represents an embodiment of a chain drive gear and sprocket that may be driven by a thermal hydraulic engine according to the present invention;

FIG. 4 represents a schematic diagram illustrating various components of another embodiment of a solar powered thermal hydraulic engine according to the present invention utilized to drive a water pump;

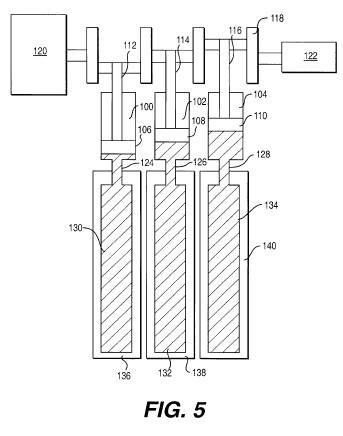
FIG. 5 represents an embodiment of a thermal hydraulic engine according to the present invention including three cylinders;

FIG. 6 represents the various stages of the operation of an embodiment of a thermal hydraulic engine according to the present invention that includes three cylinders;

FIG. 7 represents an embodiment and operation of a thermal hydraulic engine according to the present invention that includes four cylinders;

FIG. 8 represents the position of a piston at the beginning of a power stroke of a piston of an embodiment of a thermal hydraulic engine according to the invention;

FIG. 9 represents the rotational location of a crank shaft in a thermal hydraulic engine according to the present invention, indicating the various positions of the crank shaft relative to the expansion and contraction of the working fluid and introduction and removal of heat from the working fluid;

FIG. 10 represents a graph showing operating ranges of temperatures and pressures of a working fluid utilized in an embodiment of a thermal hydraulic engine according to the present invention;

FIG. 11 represents a cross-sectional view of an embodiment of a heat exchanger for use with a thermal hydraulic engine according to the present invention;

FIG. 12 represents a cross-sectional view of an embodiment of a heat exchanger and working fluid container for use with a thermal hydraulic engine according to the present invention that employs mercury as a working fluid;

FIG. 13 represents an embodiment of a containment wall for use with an embodiment of a working fluid container according to an embodiment of the present invention;

FIG. 14 represents a cross-sectional view of another embodiment of a cylinder and piston that may be employed in a thermal hydraulic engine according to the present invention;

FIG. 14a represents a cross-sectional view of the embodiment of a piston and connecting rod shown in FIG. 14;

FIG. 14b represents a cross-sectional view of an embodiment of a cylinder and piston, wherein the piston includes a connecting rod attached to both ends;

FIG. 15 represents a close-up cross-sectional view of a portion of the embodiment of a cylinder and piston shown in FIG. 14;

FIG. 16 represents a cross-sectional view of an embodiment of an end of a cylinder of an embodiment of a thermal hydraulic engine according to the present invention that includes a flexible flange for transmitting the force generated by an expansion of the working fluid to a hydraulic fluid and, ultimately, to a piston.

FIG. 17 represents a side view of an embodiment of a thermal hydraulic engine according to the present invention that includes a cylinder mounted to a crankshaft and pivotably mounted to a floating anchor sliding within a guide mounted to a frame;

FIG. 18 represents the embodiment shown in FIG. 17, wherein the piston is starting its power stroke and the crankshaft has started to rotate;

FIG. 19 represents the embodiment shown in FIGS. 17 and 18, wherein the piston has started its return stroke and the floating anchor is sliding back into its guide;

FIG. 20 represents a side view of an embodiment of a thermal hydraulic engine according to the present invention that includes two springs for biasing the piston in the direction of its return stroke and a floating anchor shown in FIGS. 17-19;

FIG. 21 represents a side view of an embodiment of a thermal hydraulic engine according to the present invention that includes a frame that components of the engine are mounted on;

FIG. 22 represents a cross-sectional view of an embodiment of a cylinder of a thermal hydraulic engine according to the present invention in which a heat exchanger is mounted within the working fluid container;

FIGS. 23A-23H represent cross-sectional views of an embodiment of a thermal hydraulic engine according to the present invention that includes four cylinders radially arranged, illustrating the engine throughout various portions of a cycle of the engine;


FIG. 24 represents a perspective view of the embodiment shown in FIGS. 23A-23H;

FIG. 25 represents an embodiment of a cylinder that may be included in a thermal hydraulic engine according to the present invention wherein the cylinder includes a single inlet and outlet port for passage of a working fluid into and out of the cylinder;

FIG. 26 represents an embodiment of a cylinder that may be included in a thermal hydraulic engine according to the present invention wherein the cylinder includes two ports for passage of hydraulic fluid into and out of the cylinder, such that the return stroke of the piston is also a powered stroke;

FIG. 27 represents a schematic view of an embodiment of a thermal hydraulic engine according to the present invention that includes direct thermal exchangers rather than heat exchangers for introducing heat into the working fluid of the thermal hydraulic engine;

FIG. 28 represents a cross-sectional view of an embodiment of a direct thermal exchanger that may be utilized in an embodiment of the invention shown in FIG. 26;

FIG. 29 represents an end view of the direct thermal exchanger shown in FIG. 28;

FIG. 30 represents a close-up end view of the direct thermal exchanger shown in FIGS. 28 and 29;

FIG. 31 represents a cross-sectional view of an embodiment of a mechanical valve that may be utilized to direct working fluid and/or heating fluid and/or cooling fluid to various parts of a thermal hydraulic engine according to the present invention;

FIG. 32 represents a cross-sectional view of an embodiment of a crankshaft and a piston crank arm that may be included in a thermal hydraulic engine according to the present invention;

FIG. 33 represents a cross-sectional view of the crankshaft shown in FIG. 32 showing multiple positions of the piston crank arm throughout a portion of the cycle of the engine;

FIG. 34 represents a cross-sectional view of a cylinder of a thermal hydraulic engine according to one embodiment of the present invention that includes a crankshaft shown in FIG. 31-FIG. 33, illustrating the position of the piston crank arm throughout a portion of the cycle of the engine;

FIG. 35 shows a cross-sectional view of another embodiment of a crankshaft and piston crank arm arrangement that may be utilized in a thermal hydraulic engine according to the present invention;

FIG. 36 represents a side view of a crank moment arm that includes stiffening ribs;

FIG. 37 represents another embodiment of a thermal hydraulic engine according to the present invention and various associated components including a solar heat collector;

FIG. 38 represents an overhead view of the solar heat collector shown in FIG. 37;

FIG. 39 represents a cross-sectional side view of a solar heat collector according to the present invention including a seasonal tracking chain drive and counterweight showing various positions of the solar heat collector;

FIG. 40 represents a further alternative embodiment of a thermal hydraulic engine according to the present invention;

FIG. 41 represents a still further alternative embodiment of a thermal hydraulic engine according to the present invention;

FIG. 42 represents an embodiment of a transmission that includes a flywheel that may be used with an embodiment of a thermal hydraulic engine according to the present invention;

FIG. 43 represents an embodiment of a thermal hydraulic engine according to the present invention that includes a piston that is powered both on its power stroke and its return stroke, includes a passive solar heat collector as a heat source, and powers a water pump; and

FIG. 44 represents a further embodiment of a cylinder, piston and crank arm according to the present invention.

DETAILED DESCRIPTION OF VARIOUS AND PREFERRED EMBODIMENTS OF THE INVENTION

As stated above, the present invention is an engine that derives power from the expansion and contraction of a working fluid as heat is alternately applied to and removed from the working fluid. The expansion and contraction of the fluid is transformed into mechanical energy, via the present invention. The mechanical energy may be utilized directly. Alternatively, the mechanical engine may be turned into another form of energy, such as electricity.

Accordingly, the present invention includes a working fluid that experiences changes in volume with changes in temperature. Any such fluid may be utilized in a thermal hydraulic engine according to the present invention. However, more power may be realized from the operation of the engine if the working fluid experiences greater changes in volume over a range of temperatures than fluids that experience lesser changes in volume over the same temperature range.

The present invention operates at least in part on the principle that fluids are generally not compressible. Therefore, according to the present invention, the working fluid does not change form into another state, such as a solid or a gas during the operation of the engine. However, any fluid that undergoes an expansion or contraction with a change in temperature may be utilized according to the present invention.

Among the characteristics that may be considered in selecting a working fluid are the coefficient of expansion of the working fluid and the speed at which heat is transferred to the fluid. For example, if a fluid quickly changes temperature, the speed of the engine may be faster. However, in some cases, a fluid that quickly responds to changes in temperature may have a low coefficient of expansion. Therefore, these factors must balanced in order to achieve the desired effect for the engine. Other factors that may be considered in selecting a working fluid include any caustic effects that the fluid may have on the working fluid container, the environment, and/or people working with the engine.

A very important factor in determining the size, design, cost, speed, and other characteristics of a thermal hydraulic engine according to the present invention is the working fluid. Various fluids have various thermal conductivities and coefficients of expansion, among other characteristics, that may effect the characteristics of the engine. For example, the coefficients of expansion of the working fluid may determine the amount of working fluid necessary to operate the engine. The coefficient of expansion may also effect the amount of heat necessary to expand the working fluid.

Changing the amount of heat necessary to expand the working fluid may change the size of a solar heat collector providing heat, the size of a heat exchanger imparting heat, among other factors. In embodiments of the present invention in which heat is provided by other sources of energy, the amount of energy necessary to generate heat to expand the working fluid may be altered based upon the thermal expansion characteristics. For example, if a fluid expands to a high degree as heat is imparted to it, less heat will be required to provide the necessary expansion for the engine. This permits a decrease in the size of solar collectors, a decrease in the amount of energy necessary to expand the fluid or a decrease in the size of the heat exchanger, for example.

FIG. 27 shows an example of a thermal hydraulic engine that includes a solar heat source. Although the embodiment shown in FIG. 27 includes solar heat collectors, a variety of heat sources may be utilized, whether the direct heat transfer or heat exchangers are utilized. For example, a thermal hydraulic engine according to the present invention may utilize low grade heat to perform work. A thermal hydraulic engine according to the present invention may also utilize medium and high grade sources for fuel. Examples of fuel sources that may be utilized include natural gas, hydrogen gas, liquified petroleum gases, gasoline, fuel oils, coal, nuclear, or other fuels. One skilled in the art would know how to devise a system to impart heat to the working fluid of the present invention when utilizing any of the above-discussed fuels.

An example of a working fluid that may be utilized according to the present invention is water. Another fluid that may be utilized is mercury. Additionally, other substances that may be utilized as a working fluid include FREON, synthetic FREONS, FREON R12, FREON R23, and liquified gasses, such as liquid argon, liquid nitrogen, liquid oxygen, for example. FREON and related substances, such as synthetic FREONS, FREON R12, and FREON R23, may be particularly useful as a working fluid due to the large degree of expansion that they may undergo as heat is introduced into them and the tendency to return to their original volume and temperature upon removal of heat. Another example of a working fluid that may be utilized according to the present invention is liquid carbon dioxide. Other fluids that may be utilized as working fluids include ethane, ethylene, liquid hydrogen, liquid oxygen, liquid helium, liquified natural gas, and other liquified gases. Other working fluids may also be used, as one skilled in the art could determine without undue experimentation once aware of this disclosure.

In order to capture the energy in the expansion of the fluid, the working fluid is housed within a closed space. The closed space may include many different elements. However, the closed space typically includes at least a working fluid container.

Preferably, the working fluid entirely fills or substantially entirely fills the interior of the working fluid container when the working fluid is in a non-expanded or substantially non-expanded state. In other words, typically, the working fluid is placed in the working fluid container at its densest state, wherein it occupies the least amount of volume. The working fluid container may then be sealed or connected to other components of the engine.

The volume of the working fluid container depends upon, among other factors, the size of the engine, the application, the amount of working fluid required for the application, the amount that the working fluid expands and contracts with changes in temperature. The exact interior volume of the working fluid container will be discussed below in relation to specific embodiments. However, such embodiments are only illustrative in nature and not exhaustive and, therefore, only represent examples of working fluid containers.

Preferably, the working fluid container is made of a material that can withstand the pressure from the working fluid as the working fluid expands. Materials that may be utilized to form the working fluid container include metals, such as copper, plastics, ceramics, carbon steel, stainless steel or any other suitable materials that may withstand the temperatures and pressures involved in the specific application. Regardless of the material used, preferably, it is non-deformable or substantially so when subjected to the forces generated by the expansion of the fluid. The material may change due to the effect of heat but preferably not due to the force from the expanding fluid. The non-deformability of the material that working fluid container is made is helpful for transmitting the force of the expansion of the working fluid to whatever moveable member, such as a piston, the particular embodiment of the present invention includes.

Another stress that the working fluid container is subjected to results from the heating and cooling of the working fluid. As the temperature of the working fluid increases, the working fluid container may expand, due to the application of heat. Similarly, as the working fluid cools, the materials in contact with the fluid will cool and may contract.

Therefore, regardless of the material used, not only should it be capable of withstanding temperatures and pressures of a particular application, but it must also be able to withstand the changes in temperatures and pressures that continuously occur during the operation of a thermal hydraulic engine according to the present invention. For instance, metal fatigue could be a problem in embodiments in which are made of metal. However, metal fatigue may be overcome by those skilled in the art who can adapt the particular metal to the particular conditions involved in a particular embodiment.

Accordingly, it is preferable that the materials in contact with the working fluid, such as the working fluid container, also have some elastic characteristics. A material that is excessively brittle might tend to crack and leak, rendering the engine inoperable.

The number of working fluid containers included an embodiment of the present invention typically depends upon the number of cylinders or other devices utilized for capturing the energy of the expansion of the working fluid. Preferably, the number of working fluid containers is equal to the number of expansion capturing devices. However, it conceivable that there could be more or less working fluid containers.

For example, one embodiment of the present invention includes a piston that is moved back and forth within a cylinder in both directions by the expansion of the working fluid. Such an embodiment may include two working fluid containers for each cylinder. Therefore, as can be appreciated, the number of working fluid containers in the embodiment of the invention may vary.

The working fluid container may be interconnected with a cylinder. Alternatively, the working fluid container may be isolated in a fluid containment system. According to such a system, the force generated by the expansion of the working fluid is not transmitted directly to a piston or other movable member, but is indirectly transmitted.

If the working fluid container and cylinder are connected so that the force of the expansion of the working fluid is directly transmitted to a piston or other movable member, the working fluid container and cylinder may be interconnected in a variety of ways. For example, a tube, hose or other conduit may be utilized to connect the working fluid container with the cylinder. Alternatively, the working fluid container may be directly connected to the cylinder. Preferably, if the cylinder is connected to the working fluid container with a hose or other conduit, the hose or conduit is also made of a material the resists changes in shape as a result of the forces applied by the expansion of the working fluid. An example of such a material includes steel reinforced rubber hose.

As stated above, the working fluid may be isolated in the working fluid container. According to such embodiments, rather than being directly transmitted to the piston, the force of the expanding fluid may be transmitted to a hydraulic fluid, which then transmits the force to the piston.

According to such embodiments, the working fluid is housed within the working fluid container. The working fluid container is in contact with the heat exchanger. However, rather than the working fluid traveling from the working fluid container into a cylinder to actuate a piston as the fluid expands, the end of the working fluid container that is not surrounded by the heat exchanger is closed a flexible blind flange.

In the embodiment shown in FIG. 12, the working fluid container and the hydraulic system may be thought as defining two sections making up an overall fluid containment system. The flexible blind flange 180 may be thought of as isolating the working fluid. Therefore, the working fluid container 182 in such embodiments may be referred to as a fluid isolation section. Another part of the fluid containment system is the hydraulic system 184. The hydraulic system may be thought of as a transfer section that transfers the force of the working fluid to the piston.

A fluid containment system is particularly useful if the working fluid is a caustic or hazardous material, such as mercury. Not only does the containment and transfer section permit a hazardous working fluid to be used with the engine, but it also permits the sections of the engine to be manufactured and shipped separately and be maintained separately. For example, the working fluid container, with or without the heat exchanger 186, could be shipped separately from the heat exchanger and cylinder to which it is be interconnected with.

The fluid containment system includes the flexible blind flange as well as the hydraulic reservoir and other hoses, fittings, tubing, and passageways that may be necessary to permit the hydraulic fluid to operate the piston. As discussed above, the flexible blind flange permits the force of the expanding wording fluid to be transmitted to the hydraulic fluid. Regardless of the components and materials utilized in constructing the fluid containment system, preferably it maintains the temperature and pressure of the working fluid.

According to one such embodiment, a mounting flange 188 extends about the opening of the working fluid container 182. Preferably, the flexible blind flange 180 is then positioned on the mounting flange 188 connected to the working fluid container 182. The hydraulic fluid reservoir may then be attached over the flexible blind flange. Preferably, the hydraulic fluid reservoir preferably includes a mounting flange 190 having a shape corresponding to the shape of the mounting flange 188 on the working fluid container 182. The hydraulic fluid reservoir and the working fluid container may then be tightly connected together in order to seal the space between them, thereby preventing the working fluid from escaping the working fluid container.

The hydraulic fluid reservoir is connected directly or through one or more conduits to the cylinder. The hydraulic fluid then acts as the working fluid other wise would if it were not isolated in the working fluid container. According to such an embodiment, as the working fluid expands, it applies pressure to the flexible blind flange. The flexible blind flange then applies force to the hydraulic fluid. A pressure is then created on the hydraulic fluid. The pressure applied to the hydraulic fluid, causes it to place pressure on all surface of the reservoir, cylinder, and piston. Since the piston is the only movable member in the system, it moves in response to the pressure.

FIG. 13 shows the containment wall between the interior of the working fluid container and the interior of the heat exchanger.

The number of working fluid containers and possibly containment sections may vary, depending upon, among other factors, the number of cylinders and whether a power return stroke, as described below, is utilized.

As discussed above, the working fluid expands and, either directly or indirectly, the expanding fluid is directed to a cylinder. The cylinder is at the heart of the invention since the cylinder houses the piston that the force of the expanding working fluid is transmitted to, thereby moving the cylinder and initiating the mechanical energy produced by the invention.

As with the working fluid container and other components of the invention, the cylinder may be made of a variety of materials. The above discussion regarding stresses on the working fluid container and the material that it is made of applies to the cylinder. Accordingly, the same materials may be utilized to form the cylinder.

The size of the cylinder may vary, depending upon a number of factors related to the specific application. Factors that may be important is determining the size of the cylinder include, among others, the number of cylinders, the particular load on the engine, and the amount of power to be produced. A typical size of the maximum interior volume of a cylinder included in a thermal hydraulic engine according to the present invention is from about 350 cubic inches to about 20,000 cubic inches. However, the size of each of the cylinders may vary from about 4 inches in diameter to about 36 inches in diameter.

According to one embodiment, an engine with a cylinder having a diameter of about 5 inches and a piston stroke of about 18 inches generates about 10 horsepower.

Preferably, the cylinder has a circular or substantially circular cross sectional shape.

FIGS. 5, 7, and 14 illustrate examples of various embodiments of cylinders that may be utilized in a thermal hydraulic engine according to the present invention.

The cylinder may be mounted to a frame upon which other components of the present invention may be mounted. The cylinder may be fixably or articulately mounted to the frame. FIGS. 17, 18, and 19 show an embodiment of the present invention in which the cylinder 200 is articulately or pivotably mounted to a frame 202. According to this embodiment, the cylinder 200 includes a connecting member 204, such as a fork or other suitable member, that may be pivotably joined to a complementary member on the frame 202. A pin 206 is one means for connecting the cylinder to the frame that may be utilized.. As the piston moves through its cycle, and the crankshaft rotates, the cylinder will pivot about its anchor.

The embodiment shown in FIGS. 17-19 also includes a floating anchor. According to this embodiment, the cylinder is pivotably mounted to the anchor to that the cylinder can pivot. The anchor is movably mounted within a guide 208. The guide 208 permits the anchor to slide from right to left as shown in FIGS. 17-19. The guide 208 may be directly or indirectly connected to the frame 202.

The floating anchor permits the piston to contract without having to wait for the crankshaft to continue its rotation and without having to overcome any other forces tending acting on the piston in a direction opposite to its return stroke.

Regardless of the embodiment of the present invention, it may include a floating anchor.

FIG. 20 shows an embodiment of a thermal hydraulic engine according to the present invention that includes springs 210 that bias or tend to move the piston in the direction of its return stroke. If the engine includes springs, it may include at least one spring. Use of springs to cause the cylinder to move in the direction of its return stroke may be important to maintain a pressure on the working fluid at all times. With some working fluids, this is particularly important, such as with FREON, FREON substitutes and analogous compounds.

According to the embodiments shown in FIGS. 5, 6, and 7, the working fluid is introduced into one end of the cylinder. Therefore, cylinders according to these embodiments include a connection only at this end. However, according to other embodiments, discussed below in greater detail, the return stroke, as well as the power stroke, is powered by a working fluid. According to such embodiments, the cylinder may include means for introducing a working fluid into both ends of the cylinder. Such embodiments may also include a seal about a connecting rod attached to the piston, as described below in greater detail.

The working cylinders of a thermal hydraulic engine according to the present invention may include a port for passage of working fluid into and out of the cylinder. According to such embodiments, the expansion of the working fluid powers the piston through its power stroke. Such an embodiment is shown in cross-section in FIG. 25.

In this embodiment, cylinder 326 includes an inlet 328 for introduction of working fluid into the cylinder. Expansion of the working fluid applies force to wall of the surface area that defines the space 330 into which the working fluid is introduced. As the working fluid expands, it applies force to the face 332 of piston 334 located within cylinder 326. Seal 336 prevents the fluid from entering the remaining portion of the interior volume of the cylinder. Force applied to the surface of the piston moves the piston into an extended position, as shown by 338. The piston may be powered on its return stroke by forces created by the contraction of the fluid, as well as by forces applied to crank arm 340 by other cylinders in a multi-cylinder engine as they experience their power stroke or by other forces.

FIG. 26 shows an alternative embodiment of a cylinder according to the present invention that includes two ports 344 and 346 for passage of a working fluid into and out of the cylinder. Including two ports for passage of a working fluid into and out of the cylinder permits the piston to be powered in both directions of movement. In other words, the piston constantly experiences a power stroke regardless of the direction of movement of the piston.

Such an embodiment does not require outside forces to cause the cylinder to return. A dual port cylinder also permits one piston to do work in two directions. Significantly, a dual port cylinder may permit a thermal hydraulic engine according to the present invention to operate with only one cylinder.

Another benefit of including dual port hydraulic cylinders in a thermal hydraulic engine according to the present invention is that the size of the engine may be decreased since the cylinder may provide power to operate a load with the cylinders moving in each direction. Although the engine may be reduced in size, a single cylinder with two ports cannot replace two cylinders with a single port since the port on the side of the piston where the piston shaft is mounted applies less force to the piston since the surface area of the piston is reduced by the area of the shaft.

An additional added benefit of dual port hydraulic cylinders is that the flow of the working fluid between cylinders may be interconnected. According to such an embodiment, the main port, which would be the port that fluid flows into to drive the piston in its power stroke in a cylinder that includes only one port, such as port 344 in the embodiment shown in FIG. 26, may be connected to a second port, such as the port 346 in the embodiment shown in FIG. 26 of a different cylinder.

An embodiment that includes interconnected cylinders permits a piston to be pushed by a first cylinder being powered by fluid flowing into the main port and pulled by fluid exiting the second port on that cylinder. According to such an embodiment, the crankshaft will constantly be rotated by force applied by all cylinders as the pistons are constantly being moved by working fluid flowing into and out of the first and second ports simultaneously. Such a design permits the size of the engine to be decreased. According to one embodiment, a thermal hydraulic engine including two ports per cylinder may be decreased by almost one-half size, compared to an engine that includes single port cylinders.

The effect of a dual port cylinder may be at least partially achieved utilizing a single port cylinder if a gas is provided on the side of the piston opposite the working fluid. The gas may be pressurized to maintain equilibrium of pressures on the piston when the piston is in a fully withdrawn position. As the piston moves on its power stroke, the gas will be compressed as the working fluid pushes against the piston. The greater hydraulic force of the working fluid will typically be much greater than the pneumatic force provided by the gas. Therefore, the gas typically will only slightly restrict the forward motion of the piston. As the working fluid contracts, the hydraulic forces on the piston are reduced. The reduced hydraulic forces typically are close in magnitude to the pneumatic forces generated by the gas, thereby permitting the gas to help the piston return to the starting position.

The design of a chamber, utilizing a gas as described above as a spring, maybe designed to avoid developing extreme pressures. The gas pressure should be higher than the hydraulic pressure at the equilibrium position. Additionally, the gas pressure should be great enough to overcome the inertia of the piston and the frictional forces of the O-ring seal between the piston and the cylinder wall.

As stated above, a thermal hydraulic engine according to the present invention may include only one cylinder. The single cylinder may be power by fluid flowing into and out of two ports included in the vicinity of opposite ends of the cylinder. A single cylinder from a hydraulic engine according to the present invention may also include at least one flywheel attached to the transmission system to permit full rotation of a crankshaft.

FIG. 42 shows an embodiment of a transmission that may be utilized with a thermal hydraulic engine according to the present invention. The transmission shown in FIG. 42 includes a plurality of gears 800 to gear up the power created by the engine. The flywheel 802 is on the higher RPM side of the gear up of the transmission. The center shaft 804 is the main crankshaft of the engine, typically operating at a low rate of revolution. The gears are mounted on 6 inch by 0.5 inch steel plates 806. Also, in the embodiment shown in FIG. 42, the gears are mounted about 16 inches apart. Of course, one skilled in the art could utilize a different number of gears mounted in a different manner on different supports. One skilled in the art could also connect the gears together and to the engine in a different manner.

Actually, theoretically, a thermal hydraulic engine according to the present invention could include a single cylinder that only includes a single port for introduction of a working fluid if a flywheel of a size sufficient to permit rotation of the crankshaft is provided. One skilled in the art could determine the size of the flywheel necessary without undue experimentation based upon the disclosure contained herein.

A displacable member piston may be located within the cylinder. One example of such a displacable member is a piston. The displacable member will slide back and forth along the length of the cylinder in response to changes in the volume of the fluid with changes in temperature.

In order to maintain the working fluid in a closed space, preferably, the working fluid is prevented from passing between the cylinder and the piston. This may be accomplished by providing a piston having a cross-sectional area only very slightly less than the cross-sectional area. Also, helping to ensure a seal between the piston and the cylinder is if the piston has substantially the same cross sectional shape as the cross sectional shape of the interior of the cylinder.

Any space between the piston and the cylinder may be further sealed by providing a seal about the piston. Alternatively, a seal may be located on the surface of the piston facing the interior of the cylinder about the edge of the piston. The seal helps to ensure that the space between the piston and cylinder is sealed. Sealing the space helps to ensure that any energy that may be derived from the expansion of fluid will be transferred to the piston and not be wasted by fluid leaking between the piston and the cylinder. If fluid were to leak, it could greatly degrade the performance of the engine.

FIGS. 14, 14a, and 15 show an alternative embodiment of a piston and cylinder arrangement that may be utilized in an engine according to the present invention. According to this invention, the working fluid is introduced into the cylinder on both sides of the piston 192. Accordingly, the area where the piston and the cylinder wall 194 meet is sealed by seals 196 and 198 on both sides of the piston 192.

In order to transmit the force from the piston to a crankshaft or other transmission member, a connecting rod may be attached to the piston. In embodiments without a powered return stroke, the connecting rod may be connected to the side of the piston opposite the side facing the working fluid, or hydraulic fluid in embodiments including a working fluid containment system. In embodiments including a powered return stroke, the connecting rod is still connected to the piston. However, both sides of the piston are in contact with the working fluid.

In embodiments that include the powered return stroke, the end of the cylinder that the connecting rod 200 projects from must be sealed by seal 202 to maintain the pressure of the working fluid for the powered return stroke.

As shown in FIG. 14a, the force of the working fluid on the side of the piston that is attached to the connecting rod 200 will only be transmitted to that portion of the piston 192 surrounding the connecting rod. This causes a reduced effective force being delivered to the crank shaft. This reduction in service area of the piston may be compensated for by increasing the capacity and speed with which heat is transferred to the working fluid.

FIG. 16 shows an alternative embodiment of a thermal hydraulic engine that includes a flexible blind flange. According to this embodiment, the force generated, indicated by arrows in FIG. 16, by the expanding working fluid applies force to the flexible blind flange 204. The flange then acts upon member 206, thereby displacing member 206. Movement of member 206 may be guided by guide 207. Member 206 is interconnected with a crankshaft or other drive mechanism (not shown in FIG. 16). The flange 204 may be secured between two mounting flanges 208 and 210 similarly to the embodiment shown in FIG. 12.

Regardless of whether the engine includes a powered return stroke, the connecting rod may be fixably or movably attached to the piston. If the connecting rod is fixably attached to the piston, then the cylinder preferably is articulately mounted to the frame. Regardless of whether the connecting rod is movably or fixably attached to the piston, the connecting rod may include one or more sections.

The connecting rod may be connected to a crank shaft and other transmission elements to drive a device or an electric generator. In some embodiments, the cylinder is fixedly attached to a frame and the connecting rod articulately attached to the piston and a crank shaft so that as the piston moves back and forth through its stroke and the crank shaft rotates, the connecting rod will change its position.

As shown in FIGS. 23A-23H and 24, the cylinders of the thermal hydraulic engine according to the present invention may be arranged radially. Utilizing a radial arrangement of the cylinders in the thermal hydraulic engine may permit a more immediate transfer of energy from the cylinders to the crankshaft and whatever load is being placed on the engine. Additionally, a radial arrangement of the cylinders may provide a more direct path through the mechanical system of the engine for forces generated by the working fluid. Furthermore, back pressure, discussed in greater detail below, and other internal loads from the piston and/or piston O-rings may be more directly handled by the power stroke of the engine with radially arranged cylinders.

An embodiment of a thermal hydraulic engine according to the present invention that includes radially arranged cylinders may include any number of cylinders. The number of cylinders in an embodiment of the present invention that includes a radial arrangement of cylinders may be an even number or an odd number.

The embodiment of the thermal hydraulic engine according to the present invention shown in FIGS. 23A-23H and FIG. 24 includes four cylinders 300, 302, 304, and 306. The cylinders may be attached to frame 299. The pistons (not shown) within the cylinders are connected through crank arms 308, 310, 312, and 314 to a connecting member 316. To facilitate rotation of the crankshaft and the connecting member 316, the connection between the crank arms 308, 310, 312, and 314 may be articulately mounted to pistons (not shown) located within cylinders 300, 302, 304, and 306 or to connecting member 316. The connecting member 316 may be interconnected through connecting member 318 to crankshaft 320.

FIGS. 23A-23H illustrate the various positions of the pistons, connecting arms, connecting members, and crankshaft throughout a revolution of the engine, as the cylinders experience both power and return strokes. In FIG. 23A, piston 300 is in its power stroke. Piston 302 is just beginning its power stroke. Additionally, piston 304 has completed its cooling or return stroke. On the other hand, piston 306 is in the beginning stages of its cooling, or return, stroke.

In the view shown in FIGS. 23A-23H, the crankshaft is rotating in a clockwise direction. Piston 304 has completed its cooling cycle on its return stroke and is beginning its heating cycle, but has not yet reached its power stroke range. By saying that the piston has not reached its power stroke, it is meant that the working fluid has not reached a pressure capable of moving the piston at all or more than an insubstantial amount along its power stroke. In other words, the pressure is not in a range to move the piston and the piston is not physically in the range of its power stroke.

FIG. 24 shows a three-dimensional perspective view of the embodiment of the thermal hydraulic engine shown in FIGS. 23A-23H. As can be seen in FIG. 24, the cylinders may be mounted to frame members 322, 324. Piston mounting frame members 322 and 324 typically are mounted to another structure or structures to secure them.

In any embodiment of the present invention, and particularly, in an embodiment that includes a radial arrangement of cylinders, the cooling cycle of any one piston preferably permits shrinking of the working fluid at a rate equal to or faster than the expanding of the working fluid in a piston that is in its power stroke during the return stroke of the piston in question. If the cooling of the working fluid is not as rapid as the increase in temperature in the working fluid, the working fluid can create a "back pressure" that may restrict the movement of the piston in its power stroke. The back pressure may create an unnecessary load on the engine, hindering the entire operation of the engine. This is particularly the case in an embodiment of an engine according to the present invention that includes a radial arrangement of cylinders since the cylinders are typically arranged in opposing pairs.

If one cylinder experiences a back pressure as a result of a less rapid cooling and shrinking of the working fluid, as compared to the heating and expansion of the working fluid, in another cylinder undergoing its power stroke at the same time, the cylinder undergoing its power stroke will be inhibited in its movement by the back pressure. As such, the back pressure acts as an additional load on the engine in addition to whatever load, such as a pump or other device that the engine is driving.

One way to help prevent the occurrence of back pressure is to ensure that heat is removed from the working fluid quickly enough. This may be accomplished by ensuring a flow of cooling fluid sufficiently rapid to result in a removal of heat from the working fluid in the cylinder undergoing a return stroke at a rate equal to or greater than the transmission of heat to the working fluid in the cylinder undergoing a power stroke. If, as describe herein, the engine does not include heat exchangers, then preferably, the rate of heat transfer from the working fluid in the cylinder undergoing the return stroke is equal to or greater than the rate of transmission of heat to the working fluid in the cylinder undergoing the power stroke. Removal and transmission of heat may be dependent upon characteristics of the working fluid, the cooling source material, the heat exchanger, among other factors.

The transmission elements are then connected to a load to perform a desired function. For example, the engine could power a water pump, an electric generator, and/or a FREON compressor, among other elements.

In order to transmit heat to and remove heat from the working fluid, the working fluid container preferably is in communication with means for transmitting heat to and removing heat from the working fluid contained in the working fluid container. The same means may perform both heating and cooling. Alternatively, the present invention could include separate means for performing each function.

According to one embodiment, the means for transmitting heat to and removing heat from the working fluid is a heat exchanger. Depending upon whether it is desired that the working fluid be heated or cooled, relatively warmer or relatively cooler water or other material may be introduced into the heat exchanger. Preferably, a thermal hydraulic engine according to the present invention includes one heat exchanger for each working fluid container, although an engine according to the present invention could include any number of heat exchangers.

FIG. 11 shows an embodiment of heat exchanger or working fluid container according to the present invention. According to this embodiment, the working fluid container 176 is surrounded by the heat exchanger 178.

This heat exchanger includes two openings, an inlet and an outlet. A relatively hotter or cooler material may be introduced into the heat exchanger to heat or cool the working fluid. Whether the working fluid is heated or cooled depends at least in part upon whether the material in the heat exchanger is relatively hotter or cooler than the working fluid. The working fluid container may include a plurality of fins or other devices to increase the surface area of the working fluid container in contact with the material introduced into the heat exchanger.

Among other alternatives for increasing heat transfer to the working fluid is including a circulation pump in the working fluid container. A circulation pump can create turbulent flow for increased heat transfer speed.

The heat exchanger is one example of a means for transmitting heat to or removing heat from the working fluid. The heat exchanger can be built around the working fluid container whether part of a containment system or not. In a heat exchanger, typically, high and low temperature fluids are brought into contact with the working fluid container. Typically, the fluid circulating through the heat exchanger is under relatively low pressure. However, the working fluid changes temperature, depending upon whether it is desired to heat or cool the working fluid. Therefore, the heat exchanger preferably is also constructed of a material capable of withstanding the pressures and temperatures that the fluid circulating through it is at. Examples of materials that may be utilized in the heat exchanger are polyvinylchloride (PVC) pipe, metal pipe such as carbon steel, copper, or aluminum, cast or injected molded plastic, or a combination of any materials capable of withstanding the pressures and temperatures involved in the heat exchanger.

It is not necessary that only a liquid be utilized in the heat exchanger to transmit heat to or remove heat from the working fluid. For example, gases or a combination of liquid and gases may also be used in the heat exchanger to heat and/or cool the working fluid.

One advantage of the present invention is that any high and low temperature source material, whether liquids, or gases or transmitted by another means may be used to heat and cool the working fluid. For example, heated waste water from industrial processes could be used to transmit heat to the working fluid. Such water typically is cooled in some manner before being discharged to the environment. Therefore, rather than being wasted, the heat in this water could be utilized in the present invention to produce mechanical and/or electrical energy. As stated above, solar heating and cooling could also be used according to the present invention. It is this ability to utilize heat and cooling from unutilized sources, such as waste heat, or free sources, such as the sun, that makes the present invention so desirable.

If a fluid is used in the heat exchanger, preferably, the liquid and/or gas should be under at least some amount of pressure to ensure that the liquids and/or gases flow through the heat exchanger. As the heated liquid and/or gas moves through the heat exchanger, it will transfer its greater heat energy to the working fluid having a lower heat energy. The working fluid will then expand, applying force against a piston, flexible barrier or other member, thereby producing mechanical energy.

When the working fluid has absorbed as much heat as is possible or as is desired from the heat exchanger, a relatively cooler liquid and/or gas may be transferred through the heat exchanger. The heat in the working fluid will then, according to natural laws, flow to the relatively cooler liquid and/or gas in the heat exchanger.

FIG. 22 shows an alternative embodiment of a heat exchanger according to the present invention. According to this embodiment, the heat exchanger 212 is located within the working fluid container 214. According to this embodiment, the working fluid container is also continuous with the piston. According to other embodiments that include the heat exchanger within the working fluid container, the working fluid container may not be continuous with the cylinder. In FIG. 22, distance a represents the travel of the piston between its maximum positions at the power and return strokes. The end 216 of the working fluid container 214 may be sealed with a flange 218 secured between a flange 220 on the working fluid container and an end flange 22 secured to the working fluid container flange 220 with bolts 224.

FIG. 5 shows a simple version of a three cylinder engine according to the present invention. The components shown in FIG. 5 may not necessarily be in the same physical position in relation to each other in the engine and are shown here in this arrangement for ease of understanding. The engine may also include other components not necessary include in these embodiments or shown in this Figure.

The engine shown in FIG. 5 includes three cylinders 100, 102 and 104. A piston 106, 108, and 110, respectively, is disposed within each of the cylinders. Each of the pistons is connected to a connecting rod, 112, 114, and 116, respectively, that is connected to a crank shaft 118.

The number of cylinders and pistons included in the invention may vary, depending upon the embodiment and factors described above. An engine utilizing a piston such as that shown in FIGS. 14 and 15 may utilize only two cylinders and pistons since the pistons will be pushed back into the cylinder by the working fluid entering the side of the cylinder where the piston is attached to the connecting rod. This is because there is less of a need to maintain the speed of the engine to ensure that the pistons will travel back into the cylinders than is necessary when a power a return stroke is not utilized. Accordingly, without utilizing the power return stroke and only utilizing forward power stroke, it is preferable that the engine include at least three cylinders.

Due to the slow moving nature of the pistons in an engine according to the present invention, it may be necessary to include three pistons to ensure that the pistons will complete their return stroke. With three pistons, at least one piston will always be in a power stroke, to help ensure that other piston will help complete their return stroke. This occurs because the one piston is always in the power stroke will be furthering the rotation of the crank shaft thereby helping to move the other pistons along their return stroke.

However, an engine according to the present invention may include any number of cylinders. For instance, engines can be built with 16, 20, or more cylinders for larger electric power plant operations.

The crank shaft is interconnected with a load. The load could be a mechanical device driven by the crank shaft. Another example of a load could be an electric generator that is driven by the crank shaft. The crank shaft is also connected to a water valve 122 that controls the flow of high and low temperature liquid and/or gas into the heat exchangers.

The cylinders 100, 102, and 104 are each interconnected via a high pressure hose, 124, 126, and 128, respectively, to a working fluid container, 130, 132, and 134, respectively. The working fluid containers 130, 132, and 134 are enclosed within heat exchangers 136, 138, and 140, respectively. The working fluid may be contained within the space defined by the heat exchangers 130, 132, and 134, the high pressure connectors 124, 126, and 128 and the interior of the cylinders 100, 102, and 104. Of course, in embodiments that include a fluid containment system, the working fluid is contained within the working fluid container. As is evident, in embodiments without the working fluid containment system, the space that the working fluid is contained in changes volume as the piston moves within the cylinder.

FIG. 6 shows a series of depictions of the three cylinder engine shown in FIG. 5 as the cylinders cycle. In the embodiment shown in FIG. 6, 141 represents an off-center lobe cam with rocker arm lever and/or push rods to push open water valves. The cam shaft controls the flow of heat and cooling to the working fluid. Each cylinder/heat exchanger/working fluid container is represented by 1, 2, and 3.

The flow of heating and cooling is represented by high temperature water flow into the system 142, low temperature into the system, 144, high temperature return 146, and low temperature return 148. Flow from the source of high temperature to the system is represented by 150, the flow of low temperature from the low temperature source to the system is 152, the flow from the system to the source of high temperature is represented by 154, and the flow from the system to the source of low temperature is represented by 156.

As the cylinders cycle as shown in FIG. 6, the high and low temperature fluid flows in and out of the heat exchangers depending upon whether the particular cylinder involved is moving in one direction or another. As shown in FIG. 5, the opening and closing of the valves directing high and low temperature fluid into the heat exchanger may be controlled by a cam shaft directly or indirectly connected to a crank shaft driven by the cylinders.

An indirectly connected cam shaft could be connected to the crank shaft with a timing chain type connection. Of course, any connection could be used to connect the cam shaft to the crank shaft. The cam shaft could be an off-center lobe cam with rocker arm lever and/or push rods to push open water valves leading to the heat exchangers.

FIG. 7 shows an embodiment of a thermal hydraulic engine according to the present invention that includes four cylinders 158, 160, 162, and 164. The valves 166 and 168 transmitting hot and cold fluid to and from the heat exchanger are directly controlled by the crank shaft 170. In FIG. 7, piston 158 is in the process of beginning its power stroke. Hot fluid is flowing into heat exchanger 172 associated with piston 158 and also being withdrawn from heat exchanger 172.

Circulating pumps may be driven directly from the crankshaft power directly or indirectly. Indirectly driven circulation pumps could be driven through hydraulic pumps and/or motors.

The cooler fluid, in this case water used to cool the working fluid may be obtained from water pumped out of a well by the engine. As is seen in the embodiment shown in FIG. 4, the engine, through a transmission, drives a pump that pumps water from a water source, such as an underground well. An embodiment such as that shown in FIGS. 2 and 4 may be self sufficient and not require any outside power. Of course, such an embodiment could be connected to a power line to drive the pump during times of insufficient light, whether during cloudy days or at night. Alternatively, batteries could be provided to drive the circulation pump at such times.

FIG. 1 shows a general schematic drawing of a power plant utilizing a thermal hydraulic engine according to the present invention. In general, such a power plant includes a high temperature source 1, a low temperature source 3, a heat exchanger 5, a thermal hydraulic engine 7, which, in this case, refers to the working fluid and cylinders themselves, a transmission 9 of some type, perhaps a flywheel 11 to maintain the momentum of the engine, and an electric generator 13. Of course, the power plant need not necessarily include a flywheel and need not derive an electric generator. The power plant could also include additional components not shown in FIG. 1 and/or not included in the embodiment shown in FIG. 1.

FIG. 2 shows an embodiment of a thermal hydraulic engine that utilizes solar energy to provide heat to heat the working fluid and an evaporative cooling system to remove heat from the working fluid. FIG. 2 illustrates the flow of heating and cooling water through the various components of the system. Of course, a material other than water may be utilized to heat and cool the working fluid.

As cooling water enters one heat exchanger associated with one cylinder, to draw heat out of the system, the hot water that is created as the cooling water absorbs heat from the working fluid may be recirculated to a hot water reservoir, if the system includes a reservoir.

The system shown in FIG. 2 includes solar hot water panels 2 to heat water that will cause the expansion of the working fluid. Water heated by the hot water panels will flow through at least one water directing valve 4 that directs the heated water to a hot water reservoir 6. From the hot water reservoir 6, the heated water will flow to a hot water pump 8. The hot water pump 8 will circulate the heated water to the thermal hydraulic engine (not shown) and then back to the solar hot water panels 2 to be heated again.

The embodiment shown in FIG. 2 also includes an evaporative cooling system 10 to provide water that is cooler than the water heated by the solar hot water panels 2 to remove heat from the working fluid. Water cooled by the evaporative cooling system 10 flows out of the evaporative cooling system through at least one water directing valve 4. The water directing valve directs the cooled water to a cool water reservoir 12. From the cool water reservoir 12, the cooled water will flow to a cool water pump 14. The cool water pump 14 will circulate the cooled water to the thermal hydraulic engine (not shown) and then back to the evaporative cooling system 10 to be cooled again.

FIG. 3 shows an embodiment of the interconnection between the crank shaft 15, driven by the thermal hydraulic engine (not shown in FIG. 3), and the elements making up the load on the engine. In this embodiment, the crank shaft 15 is connected to a chain drive gear and sprocket 17 that includes two relatively large gears 19 and 21 connected to ultimately to a smaller gear 23. As can be appreciated, the rotation of the crank shaft 15 will be greatly magnified by the gear in the embodiment shown in FIG. 3. FIG. 3a shows an enlarged side view of the chain drive gear and sprocket 17, showing gears 19, 21, and 23 and chains 20 and 22 driven by and driving the gears.

The chain drive gear may be connected to a hydraulic pump 25 and motor gear up 27 which is ultimately connected to an electric generator 29. A flywheel 31 may be interconnected between the hydraulic pump and motor gear up to help maintain the cycling of the engine.

FIG. 4 represents a schematic view of another embodiment of a solar powered thermal hydraulic engine and some associated elements according to the present invention. Heat is delivered to and removed from the working fluid by relatively hotter and cooler water. As with any embodiment, a material other than water may be used to deliver heat to and remove heat from the working fluid. FIG. 4 also shows the flow of heated water through the system.

The embodiment shown in FIG. 4 includes the thermal hydraulic engine 33. Solar panels 35 provide the heat that heats the working fluid in the engine. The heated water then travels to a series of valves 37, 39, 41, and 43. The number of valves may depend upon the number of cylinders in the engine, the number of heat exchangers, and how the water is distributed to the heat exchangers and cylinders, among other factors.

The valves 37, 39, 41, and 43 deliver the water to the heat exchanger(s) 45. The heated water then heats the working fluid in the engine 33. After delivering its heat to the working fluid, the heated water is directed through valves 47, 49, 51, and 53 and then back to the solar array 35.

A circulating pump 55 drives the flow of the heated water. The circulation pump 55 may be powered by electricity generated by photovoltaic cells (not shown).

The thermal hydraulic engine 33 may be connected to transmission 57. In this embodiment, the engine 33 drives a pump 59. The pump 59 may be utilized to pump water from a water source 61. The water source 61 may include a well, reservoir, or tank, among other sources. The water may be pumped from the water source 61 into a water storage pipeline 63.

Water from the water source 61 may be utilized as the source of cooling water for cooling the working fluid as well as a source of water to be heated to provide heat to the working fluid. Water for either function may be stored in a storage tank 65.

The components of the engine according to the present invention may mounted on a frame. FIG. 21 shows an embodiment of a thermal hydraulic engine according to the present invention that includes four cylinders wherein the components of the engine are mounted to a frame A.

To simplify the explanation of the operation of the present invention, the functioning of a three cylinder engine according to the present invention will be described. FIG. 5 shows an example of such an embodiment. The working fluid is contained within the cylinder and the working fluid container is surrounded by the heat exchanger. Therefore, in a sense, the heat exchanger acts as a containment system.

Given the fact that there are three cylinders 67, 69, and 71 and three pistons 73, 75, and 77 in the embodiment described here, each piston preferably powers the crank shaft 79 about a rotation of at least 120.degree., so that one piston is always in operation powering the crank shaft rotation. The operation of the engine will be described with the assumption that one piston will be starting its power stroke.

To begin the power stroke, the working fluid must be heated. The embodiment shown in FIG. 5 includes three heat exchangers 132, 136, and 138 to introduce heat to and remove heat from the working fluid. The difference between the working fluid in a heated state and a cool state may vary, depending upon the embodiment. According to one embodiment, the difference between the high temperature of the working fluid and the low temperature of the working fluid is about 40-60.degree. F. However, the differential between the high and low temperatures of the working fluid may be larger or smaller.

The high temperature of the working fluid may be anywhere from about 80-200.degree. F. The range of temperatures of the high temperature of the working fluid may also be from about 120-140.degree.. However, any temperature for the high temperature of the working fluid could be utilized as long as it is higher than the lower temperature of the working fluid. In fact, super-heated water above 212.degree. F. could also be utilized.

The low temperature of the working fluid could vary from about 35.degree. F. to about 85.degree. F. According to one embodiment the low temperature may be from about 70.degree. to about 85.degree. F. However, as stated above regarding the high temperature, the low temperature of the working fluid may be any temperature, as long as it is lower than the high temperature of the working fluid. The greater the differential in the high and low temperatures, the greater the possibility for heating the cooling the working fluid.

The temperature of the working fluid may also be defined by defining the highest temperature of the working fluid relative to the lowest temperature of the working fluid. Accordingly, the difference in temperatures of the working fluid may be up to about 60.degree. C. Alternatively, the difference in temperatures of the working fluid may be between about 60.degree. C. and about 120.degree. C. Other ranges for the difference in temperatures of the working fluid include between about 120.degree. C. and about 180.degree. C. and between about 180.degree. C. and about 240.degree. C.

Prior to starting the operation of the engine, the working fluid may be pressurized to help maintain a seal between the piston and the wall of the cylinder. A positive pressure maintained in the cylinder may help to force a seal in the area between the piston and the cylinder. For example, the working fluid could be pre-pressurized to about 200 lbs. per square inch. If the working fluid is pre-pressurized, it may be pressurized to an extent such that during the contraction of the working fluid as heat is removed from the working fluid, the pressure within the cylinder never drops below 0. However, it is not necessary that the working fluid be pre-pressurized at all.

FIG. 10 represents a graph showing the operating range of temperatures and pressures that an embodiment of a thermal hydraulic engine utilizing a working fluid.

As the working fluid is heated and it starts to expand, the force of the fluid is transmitted to the piston, thereby moving the piston. According to one embodiment of the present invention including three cylinders, the rotation of the crank shaft does not begin until the connecting rod 174 has moved to a point about 20.degree. past top dead center as shown in FIG. 8.

As stated above, in a three cylinder embodiment, the piston must power the crank shaft around at least 120.degree. since there are three pistons and 360.degree. in a complete rotation of the crank shaft. Similarly, in a four cylinder engine, each piston must power the crank shaft about 90.degree.. The corresponding number of degrees that the piston must power the crank shaft rotation may be calculated simply by dividing 360.degree. by the number of pistons.

Given the fact that the rotation of the crank does not commence until the connecting rod has moved about 20.degree. beyond top dead center, the calculation of the 120.degree. of the power stroke of the piston will be calculated from this 20.degree. starting point of the rotation. However, the power stroke of the next piston will be started upon the connecting rod reaching 120.degree. beyond top dead center. Therefore, there will a 20.degree. overlap between the power stroke of the first cylinder and the second cylinder. This will help to ensure a smooth transition between pistons with the effective turning force being transmitted to and from the crank shaft being maintained thoroughly constant. The smooth transition of power is assisted by the fact that as any piston is traveling through its power stroke, it not only powers the rotation of the crank shaft or other device that harnesses the movement of the piston but it may also help to drive the other pistons in the engine on their return stroke.

As shown in FIG. 9, the heat source associated with the first cylinder preferably is cut off when the connecting rod reaches about 120.degree. beyond top dead center, according to this embodiment. Next, the source of cool fluid is started into the heat exchanger when the connecting rod reaches about 140.degree. beyond top dead center. As the return stroke of the first piston continues and the rotation of the connecting rod and crank shaft continue, when the connecting rod reaches about 300.degree. beyond top dead center, the source of cold fluid to the heat is turned off and the source of high temperature fluid to the heat exchanger is started again.

The points at which the sources of high and low temperature fluid are introduced into the heat exchanger may vary, depending upon the embodiment of the invention. One factor that may alter the flow of the high and low temperature fluid into the exchanger is whether or not the working fluid is pre-pressurized as described above. The speed of the movement of the piston and, hence, the crank shaft may be increased by increasing the flow of high temperature fluid into the heat exchanger. The speed of operation of the engine and the horse-power output may also be increased by increasing the temperature differential between high and low temperature fluids introduced into the heat exchanger and, hence the working fluid.

At the 300.degree. rotation point, when the source of high temperature fluid is reintroduced into the heat exchanger, the working fluid has come back to its base temperature pressure and volume. It is these volume, temperature and pressure parameters that are utilized to calculate the engine size, flow of high and low temperature fluid to the heat exchanger, engine load, cylinder size, cylinder number, and many other operating and design parameters of the invention.

The flow of high and low temperature fluid into the heat exchanger described above may be controlled in a variety of ways. For instance, a timing gear may be directly or indirectly connected to the crank shaft. The timing gear may then mechanically actuate valves that control the flow of high and low temperature fluid into the heat exchanger based upon the position of the crank shaft. Alternatively, a cam shaft rotated by the crank shaft may operate an electrical system that electrically controls the flow of high and low temperature fluid into the heat exchanger.

Other methods that may be utilized to control the flow of high and low temperature fluid into the heat exchanger can include lasers, computer programs, optical devices, mechanical push rods, connecting rods, levers, or other manual and/or automatic devices. As will be appreciated, a complex computer control could optimize the operation of a thermal hydraulic engine according to the embodiment, just as electronic control has helped to optimize the operation of internal combustion engines in modern automobiles. A complex electronic control system can simultaneously monitor and control a wide variety of parameters, optimizing the operation of the engine.

As stated above, the thermal hydraulic engine of the present invention may include a mechanical valve for directing the flow of working fluid and other fluids. FIG. 31 shows one example of a rotating valve that may be utilized to direct the flow of coolant and/or working fluid in a thermal hydraulic engine according to the present invention. The valve shown in FIG. 31 includes a connector 560 connected to a valve body 562. The valve body houses a valve rotor 564 that rotates within the valve body. Valve rotor 564 includes a plurality of outlets 566, 568, 570, and 572. Valve body 562 may be connected to an anchor block 574 or other structure to anchor the valve. The valve body and valve rotor may be kept by a cap 576. Valve body 562 also includes outlets 578, 580, 582, and 584. Outlets 578, 580, 582, and 584 are connected to outlet pipes 586, 588, 590, and 592. Valve body outlets 578, 580, 582, 584 are also aligned with rotor valve outlets 566, 568, 570, 572, such that as the valve rotor rotates and the outlets 566, 568, 570, and 572 are aligned with the valve body outlets 578, 580, 582, and 584, coolant, working fluid, or other fluids will flow to the desired location.

The valve rotor 564 may be turned through the geared operation of a timing chain connected to the main shaft of the crankshaft. The embodiment shown in FIG. 31 includes sprockets for connecting to the timing chain.

Rather than rotating valve, flow of fluids in the present invention may be controlled mechanically with the use of other types of valves, including cam/pushrod/rocker arm time mechanisms. The flow of fluids may also be controlled with an electric solenoid valve. Any other valve may also be utilized to direct the flow of fluids in the present invention. Additionally, a rotating valve such as that shown in FIG. 31 may be included in any engine according to the present invention.

The thermal hydraulic engine according to the present invention may include an engine cranking system with pistons operating independently of each other. In typical in-line, V-type, or radially designed engines, each piston is mechanically connected to each of the other pistons. Internal combustion engines use this mechanical reliance to push exhaust gases out of the engine, pull fresh gas into the piston chamber, and pressurize gas prior to combustion. However, less mechanical reliance may be required in a thermal hydraulic engine according to the present invention. For example, if the cylinders include two ports, mechanical interconnection of all pistons may not be necessary. The return of the piston in such systems is typically accomplished mostly by pressurization of the opposite side of the piston. This return mechanism also supplies crankshaft drive power.

The present invention may utilize a crankshaft that can be turned by a free releasing arm mechanism that is able to slide freely around the crankshaft in a return direction, lock onto the crankshaft in a forward or power direction. FIGS. 32-35 show an example of such a crankshaft. The crankshaft shown in FIGS. 32-35 includes a ratchet-type mechanism. The shaft shown in FIGS. 32-35 can be used in conjunction with multiple crank arms to provide a continuously turning shaft.

FIG. 32 shows a crank arm 587 connected to a crankshaft 589. The crankshaft 589 includes an indentation 591 that receives a portion of the crank arm 587. As can be seen in FIG. 32, crank arm 587 will cause a rotation of shaft 589 up until the point that crank arm 587 slips out of recess 591. Preferably, crank arm 587 will no longer engage recess 591 at a point substantially near the end of the power stroke of a piston connected to crank arm 587 so that the power of the piston is substantially and entirely communicated to the crankshaft 589. The crank arm 587 will then ride along a surface of the crankshaft 589 as the piston is on its return stroke. As the piston again begins its power stroke, the crank arm 587 will then start to travel back along the surface of the crankshaft until it engages a recess.

FIG. 33 shows an embodiment of a ratchet-type crankshaft illustrating the position of a crank arm throughout a power cycle of a piston. FIG. 34 represents an embodiment of a cylinder, crank arm, and crankshaft including a ratchet-type movement mechanism. FIG. 34 also illustrates the various positions of the crank arm during the movement of the piston.

FIG. 35 shows another embodiment of a crank arm and crankshaft utilizing a ratchet-type mechanism. FIG. 36 shows a crank moment arm that includes stiffening ribs 599 to reinforce the crank moment arm so further ensure that it can withstand the great pressures generated by the present invention.

Rather relying upon heat exchangers, heat may be imparted to the working fluid directly. An example of an embodiment of a thermal hydraulic engine according to the present invention that includes direct transmission of heat to the working fluid is shown in FIG. 27. The embodiment shown in FIG. 27 includes four radially arranged cylinders. The engine includes a centrally located rotating valve 360 to which each cylinder is connected. Each cylinder is also connected to a working fluid reservoir to which heat is directly imparted.

Directly heating the working fluid does not utilize a heat exchanger and it does not use the heated liquid to transfer heat from a heat source to the working fluid. The direct transfer method directly heats the working fluid with the heat source. As can be appreciated, there is no loss of heat associated with the use of heat exchangers.

FIG. 28 provides an example of an embodiment of a working fluid container that may be utilized in a thermal hydraulic engine utilizing direct heat transfer. The working fluid container or reservoir shown in FIG. 28 includes an elongated tube 348. Although the working fluid container may have any desired shape, it may include a large amount of surface area relative to the volume so as to increase the rate of heat transfer to the working fluid.

The embodiment of the working fluid container shown in FIG. 28 includes a 20 ft. long pipe that is 4 inches in diameter made of "Schedule 80" pipe. The pipe may include an assembly 350 for joining the pipe to conduit for connecting the working fluid reservoir to the cylinder. FIG. 29 shows an end view of the pipe, shown in FIG. 28, showing a flange 352. Flange 352 may include a plurality of holes 354 for utilizing bolts 356 to connect the flange to another flange for connecting to a conduit for connecting to the cylinder.

The embodiment of the working fluid reservoir shown in FIGS. 27 and 28 also includes cooling element 358 inserted into the pipe 348. A cooling fluid may be introduced into conduit 358 to cool the working fluid. The conduit 358 may be interconnected with the rotating valve 360 for directing cooling fluid to the relevant working fluid reservoir.

In order to accommodate high pressures inherent in some working fluids, the cooling fluid conduit 356 preferably is made of a material capable of withstanding the high pressures. According to one embodiment, 3/4 inch high pressure steel pipeline is utilized. Although the pressure of the working fluid may be high, the pressure of the coolant may be low, for example, in one embodiment, the pressure of the coolant was from about 32 to about 80 psi.

FIG. 30 shows a close-up cross-sectional view of a connection between the working fluid reservoir, the coolant conduit 359, flanges 352 and 353, gasket 355, and bolts 357.

In the embodiment shown in FIG. 27, each of the working fluid reservoirs 362, 364, 366, 368 is placed within a parabolic solar heat collector 370, 372, 374, and 376, respectively. The solar heat collector imparts heat to the working fluid. As the working fluid expands, it powers the cylinders.

At the appropriate time, rotating valve 360 directs coolant into each of the working fluid reservoirs. As the coolant is circulated through the working fluid reservoirs, it is heated. The heated coolant is directed to a hot-cold separator 378. To augment the heat imparted to the working fluid by the solar heat collectors, the present invention may direct heated coolant through the coolant conduit 356. Hot-cold separator 378 preferably separates flow of coolant from working fluid reservoirs undergoing expansion from coolant exiting working fluid cylinders undergoing contraction.

Heat may be withdrawn from coolant in heat exchanger 380. Heat from coolant may be stored in heat storage device 382.

Flow of coolant may be controlled by a plurality of pumps. The embodiment shown in FIG. 27 includes an hydraulic motor coolant pump 384 for directing coolant from the heat exchanger 380 to rotating valve 360. The hydraulic motor coolant 384 may be driven by the thermal hydraulic engine.

The present invention may also include hydraulic motor heat recycle pump 386. Hydraulic motor heat recycle pump 386 may pump coolant from heat storage device 382 to the rotating valve 360. Hydraulic motor heat recycle pump 386 may also be driven by the thermal hydraulic engine.

The embodiment of the thermal hydraulic engine shown in FIG. 27 is shown being utilized to drive a hydraulic pump (not shown). Conduits 390 and 392 are for directing hydraulic fluid from the hydraulic pump operated by the thermal hydraulic engine to various loads that are desired to be driven by the thermal hydraulic engine. As stated above, in the embodiment shown in FIG. 27, hydraulic motor coolant pump 384, hydraulic motor heat recycle pump 386, and water pump 388 are driven by the thermal hydraulic engine. Arrows on lines 390 and 392 indicate the direction of flow of hydraulic fluid to the loads.

Operation of heat exchanger 380 may be enhanced by pumping water in conduits 394 and 396 into, respectively, water pumped by water pump 388.

A thermal hydraulic engine according to the present invention may be built in any size. For example, very small engines for use in applications such as biomechanical applications, to large megawatt power plants may incorporate the thermal hydraulic engine of the present invention. In fact, the thermal hydraulic engine can be designed for use in any application that requires the power of mechanical energy.

A very small engine could include pistons about 0.5 cm to about 1 cm in diameter. Such an engine could include working fluid reservoirs about the size of a typical body thermometer. In fact, such engines could utilize heat at about typical human body temperature as a heat source. Cooling could be provided by an external evaporative system. Such an engine could be used in the human or other body. One example of a use for such an engine is as a heart pump. Another example of an application is for hormone injection. For example, such an engine could be used for people with a failed lymphatic system. Such an engine could provide, for example, from about 0.01 horsepower to about 0.1 horsepower.

On the other end of the spectrum, very large engines could be built within the scope of the present invention. For example, an engine that could generate about 350 million horsepower could provide about 500 megawatt electric generating capabilities. Such an engine could utilize a piston having a diameter of about 48 inches to about 96 inches. The engine could be built in a heavily reinforced concrete and steel structure.

An engine capable of pumping water could generate from about 10, about 50, about 200 horsepower or anywhere in between.

FIG. 37 shows an embodiment of a one horsepower water pump powering a thermal hydraulic engine according to the present invention. Heat to expand the working fluid is provided by a parabolic solar heat collector 400; the solar collector preferably includes a drive 402 for tracking movement of the sun. The working fluid is delivered to engine 406. Power produced by engine 406 is transmitted by transmission 408 to pump 409. The invention may include control 410 for controlling flow of coolant. The engine may also include battery 412 for providing power.

FIG. 38 shows an overhead view of the solar heat collectors 400. The engine, shown in FIGS. 37 and 38, includes direct thermal heat exchange tubes 414. A photovoltaic panel 416 may also be provided to provide electrical power for certain aspects of the invention, such as the tracking control and cooling control.

FIG. 39 shows an embodiment of a seasonal tracking chain drive with counterweight that may be utilized to tilt the solar array in the proper position throughout the year. The embodiment shown in FIG. 39 may include chain drive 600, motor 602, and counterweight 604. The motor may be an suitable motor. For example, the motor could be a high torque, low rpm, 12 volt dc motor. FIG. 39 also shows the normal position 606 of the solar array. The array pivots about pivot 608. The pivot could be provided by a hinge or other pivotable device.

FIG. 40 shows an embodiment of a thermal hydraulic engine according to the present invention that utilizes electric heat as a source to impart heat to the working fluid. The embodiment shown in FIG. 40 includes four radially arranged cylinders. FIG. 40 also shows gearing that may be utilized to gear up the power produced by the engine.

The embodiment shown in FIG. 40 includes working fluid reservoirs 720 comprising 4 inch diameter, 24 inch long, pipe. Coolant is circulated through the working fluid in 3/4 inch line 700. Heat is provided by an electric heat element 718 that may utilize 120 V AC power. The coolant fluid reservoirs may be closed by a 2 inch welded neck flange 724.

The pistons 702, 704, 706, and 708 included in cylinders 710, 712, 714, and 716 in the embodiment shown in FIG. 40 are two inches in diameter and 8 inches long. The outside diameter of the pistons 702, 704, 706, and 708 is 4 inches. The cylinders are radially arranged as in the embodiment shown in FIG. 27.

FIG. 40 also illustrates a plurality of gears and connecting belts or chains, collectively identified as 722, that may be used to gear up the power generated by the thermal hydraulic engine.

FIG. 41 shows an alternative view of the engine shown in FIG. 40.

FIG. 43 illustrates an embodiment of a thermal hydraulic engine according to the present invention that includes a passive solar collector 900. Hoses 902 and 904 connect the solar collector to a double acting cylinder 906. The engine is used to pump water from a well.

FIG. 44 illustrates represents a further embodiment of a cylinder, piston and crank arm according to the present invention.

The foregoing description of the invention illustrates and describes the present invention. Additionally, the disclosure shows and describes only the preferred embodiments of the invention, but as aforementioned, it is to be understood that the invention is capable of use in various other combinations, modifications, and environments and is capable of changes or modifications within the scope of the inventive concept as expressed herein, commensurate with the above teachings, and/or the skill or knowledge of the relevant art. The embodiments described hereinabove are further intended to explain best modes known of practicing the invention and to enable others skilled in the art to utilize the invention in such, or other, embodiments and with the various modifications required by the particular applications or uses of the invention. Accordingly, the description is not intended to limit the invention to the form disclosed herein. Also, it is intended that the appended claims be construed to include alternative embodiments.




US Patent # 5,899,067

( May 4, 1999 )

Hydraulic Engine Powered by Introduction and Removal of Heat from a Working Fluid

Brian HAGEMAN

Abstract -- A thermal hydraulic engine including a frame. A working fluid changes volume with changes in temperature. A working fluid container houses the working fluid. A cylinder secured to the frame includes an interior space. The cylinder also includes a passage for introducing the working fluid into the interior space. A piston is housed within the interior space of the cylinder. The working fluid container, the interior space of the cylinder, the piston, and the working fluid container define a closed space filled by the working fluid. The engine also includes means for transmitting heat to and removing heat from the working fluid, thereby alternately causing the working fluid to expand and contract without undergoing a phase change. The piston moves in response to the expansion and contraction of the working fluid.
Inventors:  Hageman; Brian C. (Phoenix, AZ)
Appl. No.:  08/701,222
Filed:  August 21, 1996

Current U.S. Class:  60/516 ; 60/530
Current International Class:  F03C 1/00 (20060101); F03G 7/06 (20060101); F01B 1/00 (20060101); F01B 029/08 ()

References Cited [Referenced By]
U.S. Patent Documents

 2963853  December 1960  Westcott, Jr.
 3055170  September 1962  Westcott, Jr.
 3183672  May 1965  Morgan
 3434351  March 1969  Poitsas
 3984985  October 1976  Lapeyre
 3998056  December 1976  Clark
 4027480  June 1977  Rhodes
 4107928  August 1978  Kelly et al.
 4283915  August 1981  McConnell et al.
 4375152  March 1983  Barto
 4441318  April 1984  Theckston
 4452047  June 1984  Hunt et al.
 4458488  July 1984  Negishi
 4488403  December 1984  Barto
 4509329  April 1985  Breston
 4530208  July 1985  Sato
 4553394  November 1985  Weinert
 4637211  January 1987  White et al.
 4747271  May 1988  Fischer
 5025627  June 1991  Schneider
 5195321  March 1993  Howard

Foreign Patent Documents

 3232497  Feb., 1983  DE
 24709  Mar., 1905  GB

Description

FIELD OF THE INVENTION

The invention relates to an engine that is powered by the expansion and contraction of a working fluid as heat is alternately applied to and removed from the working fluid.

BACKGROUND OF THE INVENTION

Typically, energy is not in readily utilizable forms. Many means exist for converting one type of energy to another. For example, an internal combustion engine can turn the explosive force of a fuel burned in its cylinders into mechanical energy that eventually turns the wheels of a vehicle to propel a vehicle. An internal combustion engine channels energy resulting from the burning of a fuel in a cylinder into a piston. Without the cylinder and piston, the energy resulting from the burning of the gas would simply spread out in every available direction. Another example of a device to convert one form of energy into another is a windmill. If connected to an electric generator, windmills can convert the mechanical action of moving air into electricity.

While an internal combustion engine typically produces mechanical energy from the burning of fossil fuels, such as gasoline, diesel fuel, or natural gas or alcohols, other attempts have been made to produce mechanical energy from the movement of members such as pistons by means other than the burning of fossils fuels. However, most of these devices still operate on the basic principle of providing a force to drive a moveable member such as a piston. The difference among the various devices in the way in which the force is produced to move the piston and the way in which the force is controlled.

Some of these devices utilize the movement of a working fluid to drive a moveable member, such as a piston. Other devices utilize the phase change in a liquid to drive a moveable member. In their operation, some devices utilize valves to control the flow of a working fluid in the production of mechanical energy by moving a moveable member.

Due to the worldwide and ever increasing demand, research constantly focuses on ways to produce energy or power the devices that we rely on in our daily lives. In recent years, another area of research has included alternative sources of energy. Such research has constantly increased. Among the reasons for the increased research is an increased awareness of the limited amount of fossil fuels in the earth. This research may also be spawned by an increased desire to provide energy for people living in remote locations around the world who now live without power.

Among the alternative sources of energy on which research has been focused is solar energy. Solar energy has been captured by photovoltaic cells that convert the sun's energy directly into electricity. Solar energy research is also focused on devices that capture the sun's heat for use in a variety of ways.

As discussed above, in relation to the internal combustion engines and windmill examples, the problem being addressed both by photovoltaic solar cells and solar heating devices is the conversion of one type of energy to another type of energy. In solar cells, the energy in sunlight is used to excite electrons in the solar cells, thereby converting the sun's energy to electrical energy. On the other hand, in solar heating cells, the energy of the sun is typically captured by a fluid, such as solar hot water panels typically seen on the rooftops of residences.

SUMMARY OF THE INVENTION

The present invention was developed with the above described problems in mind. As a result, the present invention is directed to a new device for converting one form of energy to another. The present invention may also utilize solar or other unconventional forms and/or sources of energy.

Accordingly, the present invention provides a thermal hydraulic engine that utilizes the expansion and contraction of a fluid by alternately transmitting heat to and removing heat from an operating fluid. The energy may provide mechanical and/or electrical energy.

One advantage of the present invention is that it may utilize a variety of sources of heat to heat and/or cool the working fluid.

Consequently, another advantage of the present invention is that it is substantially non-polluting.

Along these lines, an additional advantage of the present invention is that it may run off heat energy and, therefore, may be solar powered.

Furthermore, an advantage of the present invention is that, since it may be solar powered, it may be utilized to provide power in remote areas.

An additional advantage of the present invention is that it may utilize heat and/or heated water produced by existing processes. Accordingly, the present invention may make use of heat energy that is otherwise currently not utilized and discarded as waste.

A still further advantage of the present invention is that it may operate without using fossil fuels.

It follows that an advantage of the present invention is that it may produce energy without contributing to the abundance of waste gases and particles emitted into the atmosphere by the burning of fossil fuels.

Also, an advantage of the present invention is that it may include a relatively simple design that eliminates the need for a complex series of valves to control the flow of a working fluid through the system.

Accordingly, a further advantage of the present invention is that it provides a simple design, thus reducing construction and maintenance costs.

In accordance with these and other objectives and advantages, the present invention provides a thermal hydraulic engine. The engine includes a frame. The engine utilizes a working fluid that changes volume with changes in temperature. A working fluid container houses the working fluid. A cylinder is secured to the frame and includes an interior space. The cylinder also includes a passage for introducing the working fluid into the interior space. A piston is housed with the interior space of the cylinder. The working fluid container, the interior space of the cylinder, the piston, and the working fluid container define a closed space filled by the working fluid. The engine also includes means for transmitting heat to and removing heat from the working fluid, thereby alternately causing the working fluid to expand and contract without undergoing a phase change. The piston moves in response to the expansion and contraction of the working fluid.

According to additional preferred aspects, the present invention provides a thermal hydraulic engine. The engine includes a frame. The engine also includes a working fluid that changes volume with changes in temperature. A working fluid container houses the working fluid. A flexible diaphragm is provided at one end of the working fluid container. The flexible diaphragm moves in response to expansion and contraction of the working fluid without a phase change in the working fluid. A connecting rod in contact with the flexible diaphragm moves in response to movement of the flexible diaphragm. The engine also includes means for transmitting heat to and removing heat from the working fluid, thereby alternately causing the working fluid to expand and contract.

Still objects and advantages of the present invention will become readily apparent to those skilled in this art from the following detailed description, wherein it is shown and described only the preferred embodiments of the invention, simply by way of illustration of the best mode contemplated of carrying out the invention. As will be realized, the invention is capable of other and different embodiments, and its several details are capable of modifications in various obvious respects, without departing from the invention. Accordingly, the drawings and description are to regarded as illustrative in nature and not as restrictive.

BRIEF DESCRIPTION OF THE DRAWINGS

FIG. 1 represents a schematic diagram illustrating an embodiment of a power plant including a thermal hydraulic engine according to the present invention;

FIG. 2 represents a schematic diagram illustrating various components of an embodiment of a solar powered thermal hydraulic engine according to the present invention;

FIG. 3 represents an overhead view of various components that may be driven by a thermal hydraulic engine according to the present invention, representing the "load" on the engine;

FIG. 3a represents an embodiment of a chain drive gear and sprocket that may be driven by a thermal hydraulic engine according to the present invention;

FIG. 4 represents a schematic diagram illustrating various components of another embodiment of a solar powered thermal hydraulic engine according to the present invention utilized to drive a water pump;

FIG. 5 represents an embodiment of a thermal hydraulic engine according to the present invention including three cylinders;

FIGS. 6A-6D represent the various stages of the operation of an embodiment of a thermal hydraulic engine according to the present invention that includes three cylinders;

FIG. 7 represents an embodiment and operation of a thermal hydraulic engine according to the present invention that includes four cylinders;

FIG. 8 represents the position of a piston at the beginning of a power stroke of a piston of an embodiment of a thermal hydraulic engine according to the invention;

FIG. 9 represents the rotational location of a crank shaft in a thermal hydraulic engine according to the present invention, indicating the various positions of the crank shaft relative to the expansion and contraction of the working fluid and introduction and removal of heat from the working fluid;

FIG. 10 represents a graph showing operating ranges of temperatures and pressures of a working fluid utilized in an embodiment of a thermal hydraulic engine according to the present invention;

FIG. 11 represents a cross-sectional view of an embodiment of a heat exchanger for use with a thermal hydraulic engine according to the present invention;

FIG. 12 represents a cross-sectional view of an embodiment of a heat exchanger and working fluid container for use with a thermal hydraulic engine according to the present invention that employs mercury as a working fluid;

FIG. 13 represents an embodiment of a containment wall for use with an embodiment of a working fluid container according to an embodiment of the present invention;

FIG. 14 represents a cross-sectional view of another embodiment of a cylinder and piston that may be employed in a thermal hydraulic engine according to the present invention;

FIG. 14a represents a cross-sectional view of the embodiment of a piston and connecting rod shown in FIG. 14;
FIG. 14b represents a cross-sectional view of an embodiment of a cylinder and piston, wherein the piston includes a connecting rod attached to both ends;

FIG. 15 represents a close-up cross-sectional view of a portion of the embodiment of a cylinder and piston shown in FIG. 14;

FIG. 16 represents a cross-sectional view of an embodiment of an end of a cylinder of an embodiment of a thermal hydraulic engine according to the present invention that includes a flexible flange for transmitting the force generated by an expansion of the working fluid to a hydraulic fluid and, ultimately, to a piston.

FIG. 17 represents a side view of an embodiment of a thermal hydraulic engine according to the present invention that includes a cylinder mounted to a crankshaft and pivotably mounted to a floating anchor sliding within a guide mounted to a frame;

FIG. 18 represents the embodiment shown in FIG. 17, wherein the piston is starting its power stroke and the crankshaft has started to rotate;
FIG. 19 represents the embodiment shown in FIGS. 17 and 18, wherein the piston has started its return stroke and the floating anchor is sliding back into its guide;

FIG. 20 represents a side view of an embodiment of a thermal hydraulic engine according to the present invention that includes two springs for biasing the piston in the direction of its return stroke and a floating anchor shown in FIGS. 17-19;

FIG. 21 represents a side view of an embodiment of a thermal hydraulic engine according to the present invention that includes a frame that components of the engine are mounted on; and

FIG. 22 represents a cross-sectional view of an embodiment of a cylinder of a thermal hydraulic engine according to the present invention in which a heat exchanger is mounted within the working fluid container.

DETAILED DESCRIPTION OF VARIOUS AND PREFERRED EMBODIMENTS OF THE INVENTION

As stated above, the present invention is an engine that derives power from the expansion and contraction of a working fluid as heat is alternately applied to and removed from the working fluid. The expansion and contraction of the fluid is transformed into mechanical energy, via the present invention. The mechanical energy may be utilized directly. Alternatively, the mechanical engine may be turned into another form of energy, such as electricity.

Accordingly, the present invention includes a working fluid that experiences changes in volume with changes in temperature. Any such fluid may be utilized in a thermal hydraulic engine according to the present invention. However, more power may be realized from the operation of the engine if the working fluid experiences greater changes in volume over a range of temperatures than fluids that experience lesser changes in volume over the same temperature range.

The present invention operates at least in part on the principle that fluids are generally not compressible. Therefore, according to the present invention, the working fluid does not change form into another state, such as a solid or a gas during the operation of the engine. However, any fluid that undergoes an expansion or contraction with a change in temperature may be utilized according to the present invention.

Among the characteristics that may be considered in selecting a working fluid are the coefficient of expansion of the working fluid and the speed at which heat is transferred to the fluid. For example, if a fluid quickly changes temperature, the speed of the engine may be faster. However, in some cases, a fluid that quickly responds to changes in temperature may have a low coefficient of expansion. Therefore, these factors must balanced in order to achieve the desired effect for the engine. Other factors that may be considered in selecting a working fluid include any caustic effects that the fluid may have on the working fluid container, the environment, and/or people working with the engine.

An example of a working fluid that may be utilized according to the present invention is water. Another fluid that may be utilized is mercury. Additionally, other substances that may be utilized as a working fluid include FREON, synthetic FREONS, FREON R12, FREON R23, and liquified gasses, such as liquid argon, liquid nitrogen, liquid oxygen, for example. FREON and related substances, such as synthetic FREONS, FREON R12, and FREON R23, may be particularly useful as a working fluid due to the large degree of expansion that they may undergo as heat is introduced into them and the tendency to return to their original volume and temperature upon removal of heat.

In order to capture the energy in the expansion of the fluid, the working fluid is housed within a closed space. The closed space may include many different elements. However, the closed space typically includes at least a working fluid container.

Preferably, the working fluid entirely fills or substantially entirely fills the interior of the working fluid container when the working fluid is in a non-expanded or substantially non-expanded state. In other words, typically, the working fluid is placed in the working fluid container at its densest state, wherein it occupies the least amount of volume. The working fluid container may then be sealed or connected to other components of the engine.

The volume of the working fluid container depends upon, among other factors, the size of the engine, the application, the amount of working fluid required for the application, the amount that the working fluid expands and contracts with changes in temperature. The exact interior volume of the working fluid container will be discussed below in relation to specific embodiments. However, such embodiments are only illustrative in nature and not exhaustive and, therefore, only represent examples of working fluid containers.

Preferably, the working fluid container is made of a material that can withstand the pressure from the working fluid as the working fluid expands. Materials that may be utilized to form the working fluid container include metals, such as copper, plastics, ceramics, carbon steel, stainless steel or any other suitable materials that may withstand the temperatures and pressures involved in the specific application. Regardless of the material used, preferably, it is non-deformable or substantially so when subjected to the forces generated by the expansion of the fluid. The material may change due to the effect of heat but preferably not due to the force from the expanding fluid. The non-deformability of the material that working fluid container is made is helpful for transmitting the force of the expansion of the working fluid to whatever moveable member, such as a piston, the particular embodiment of the present invention includes.

Another stress that the working fluid container is subjected to results from the heating and cooling of the working fluid. As the temperature of the working fluid increases, the working fluid container may expand, due to the application of heat. Similarly, as the working fluid cools, the materials in contact with the fluid will cool and may contract.

Therefore, regardless of the material used, not only should it be capable of withstanding temperatures and pressures of a particular application, but it must also be able to withstand the changes in temperatures and pressures that continuously occur during the operation of a thermal hydraulic engine according to the present invention. For instance, metal fatigue could be a problem in embodiments in which are made of metal. However, metal fatigue may be overcome by those skilled in the art who can adapt the particular metal to the particular conditions involved in a particular embodiment.

Accordingly, it is preferable that the materials in contact with the working fluid, such as the working fluid container, also have some elastic characteristics. A material that is excessively brittle might tend to crack and leak, rendering the engine inoperable.

The number of working fluid containers included an embodiment of the present invention typically depends upon the number of cylinders or other devices utilized for capturing the energy of the expansion of the working fluid. Preferably, the number of working fluid containers is equal to the number of expansion capturing devices. However, it conceivable that there could be more or less working fluid containers.

For example, one embodiment of the present invention includes a piston that is moved back and forth within a cylinder in both directions by the expansion of the working fluid. Such an embodiment may include two working fluid containers for each cylinder. Therefore, as can be appreciated, the number of working fluid containers in the embodiment of the invention may vary.

The working fluid container may be interconnected with a cylinder. Alternatively, the working fluid container may be isolated in a fluid containment system. According to such a system, the force generated by the expansion of the working fluid is not transmitted directly to a piston or other movable member, but is indirectly transmitted.

If the working fluid container and cylinder are connected so that the force of the expansion of the working fluid is directly transmitted to a piston or other movable member, the working fluid container and cylinder may be interconnected in a variety of ways. For example, a tube, hose or other conduit may be utilized to connect the working fluid container with the cylinder. Alternatively, the working fluid container may be directly connected to the cylinder. Preferably, if the cylinder is connected to the working fluid container with a hose or other conduit, the hose or conduit is also made of a material the resists changes in shape as a result of the forces applied by the expansion of the working fluid. An example of such a material includes steel reinforced rubber hose.

As stated above, the working fluid may be isolated in the working fluid container. According to such embodiments, rather than being directly transmitted to the piston, the force of the expanding fluid may be transmitted to a hydraulic fluid, which then transmits the force to the piston.

According to such embodiments, the working fluid is housed within the working fluid container. The working fluid container is in contact with the heat exchanger. However, rather than the working fluid traveling from the working fluid container into a cylinder to actuate a piston as the fluid expands, the end of the working fluid container that is not surrounded by the heat exchanger is closed a flexible blind flange.

In the embodiment shown in FIG. 12, the working fluid container and the hydraulic system may be thought as defining two sections making up an overall fluid containment system. The flexible blind flange 180 may be thought of as isolating the working fluid. Therefore, the working fluid container 182 in such embodiments may be referred to as a fluid isolation section. Another part of the fluid containment system is the hydraulic system 184. The hydraulic system may be thought of as a transfer section that transfers the force of the working fluid to the piston.

A fluid containment system is particularly useful if the working fluid is a caustic or hazardous material, such as mercury. Not only does the containment and transfer section permit a hazardous working fluid to be used with the engine, but it also permits the sections of the engine to be manufactured and shipped separately and be maintained separately. For example, the working fluid container, with or without the heat exchanger 186, could be shipped separately from the heat exchanger and cylinder to which it is be interconnected with.

The fluid containment system includes the flexible blind flange as well as the hydraulic reservoir and other hoses, fittings, tubing, and passageways that may be necessary to permit the hydraulic fluid to operate the piston. As discussed above, the flexible blind flange permits the force of the expanding wording fluid to be transmitted to the hydraulic fluid. Regardless of the components and materials utilized in constructing the fluid containment system, preferably it maintains the temperature and pressure of the working fluid.

According to one such embodiment, a mounting flange 188 extends about the opening of the working fluid container 182. Preferably, the flexible blind flange 180 is then positioned on the mounting flange 188 connected to the working fluid container 182. The hydraulic fluid reservoir may then be attached over the flexible blind flange. Preferably, the hydraulic fluid reservoir preferably includes a mounting flange 190 having a shape corresponding to the shape of the mounting flange 188 on the working fluid container 182. The hydraulic fluid reservoir and the working fluid container may then be tightly connected together in order to seal the space between them, thereby preventing the working fluid from escaping the working fluid container.

The hydraulic fluid reservoir is connected directly or through one or more conduits to the cylinder. The hydraulic fluid then acts as the working fluid other wise would if it were not isolated in the working fluid container. According to such an embodiment, as the working fluid expands, it applies pressure to the flexible blind flange. The flexible blind flange then applies force to the hydraulic fluid. A pressure is then created on the hydraulic fluid. The pressure applied to the hydraulic fluid, causes it to place pressure on all surface of the reservoir, cylinder, and piston. Since the piston is the only movable member in the system, it moves in response to the pressure.

FIG. 13 shows the containment wall between the interior of the working fluid container and the interior of the heat exchanger.

The number of working fluid containers and possibly containment sections may vary, depending upon, among other factors, the number of cylinders and whether a power return stroke, as described below, is utilized.

As discussed above, the working fluid expands and, either directly or indirectly, the expanding fluid is directed to a cylinder. The cylinder is at the heart of the invention since the cylinder houses the piston that the force of the expanding working fluid is transmitted to, thereby moving the cylinder and initiating the mechanical energy produced by the invention.

As with the working fluid container and other components of the invention, the cylinder may be made of a variety of materials. The above discussion regarding stresses on the working fluid container and the material that it is made of applies to the cylinder. Accordingly, the same materials may be utilized to form the cylinder.

The size of the cylinder may vary, depending upon a number of factors related to the specific application. Factors that may be important is determining the size of the cylinder include, among others, the number of cylinders, the particular load on the engine, and the amount of power to be produced. A typical size of the maximum interior volume of a cylinder included in a thermal hydraulic engine according to the present invention is from about 350 cubic inches to about 20,000 cubic inches. However, the size of each of the cylinders may vary from about 4 inches in diameter to about 36 inches in diameter.

According to one embodiment, an engine with a cylinder having a diameter of about 5 inches and a piston stroke of about 18 inches generates about 10 horsepower.

Preferably, the cylinder has a circular or substantially circular cross sectional shape.

FIGS. 5, 7, and 14 illustrate examples of various embodiments of cylinders that may be utilized in a thermal hydraulic engine according to the present invention.

The cylinder may be mounted to a frame upon which other components of the present invention may be mounted. The cylinder may be fixably or articulately mounted to the frame. FIGS. 17, 18, and 19 show an embodiment of the present invention in which the cylinder 200 is articulately or pivotably mounted to a frame 202. According to this embodiment, the cylinder 200 includes a connecting member 204, such as a fork or other suitable member, that may be pivotably joined to a complementary member on the frame 202. A pin 206 is one means for connecting the cylinder to the frame that may be utilized. As the piston moves through its cycle, and the crankshaft rotates, the cylinder will pivot about its anchor.

The embodiment shown in FIGS. 17-19 also includes a floating anchor. According to this embodiment, the cylinder is pivotably mounted to the anchor to that the cylinder can pivot. The anchor is movably mounted within a guide 208. The guide 208 permits the anchor to slide from right to left as shown in FIGS. 17-19. The guide 208 may be directly or indirectly connected to the frame 202.

The floating anchor permits the piston to contract without having to wait for the crankshaft to continue its rotation and without having to overcome any other forces tending acting on the piston in a direction opposite to its return stroke.

Regardless of the embodiment of the present invention, it may include a floating anchor.

FIG. 20 shows an embodiment of a thermal hydraulic engine according to the present invention that includes springs 210 that bias or tend to move the piston in the direction of its return stroke. If the engine includes springs, it may include at least one spring. Use of springs to cause the cylinder to move in the direction of its return stroke may be important to maintain a pressure on the working fluid at all times. With some working fluids, this is particularly important, such as with FREON, FREON substitutes and analogous compounds.

According to the embodiments shown in FIGS. 5, 6, and 7, the working fluid is introduced into one end of the cylinder. Therefore, cylinders according to these embodiments include a connection only at this end. However, according to other embodiments, discussed below in greater detail, the return stroke, as well as the power stroke, is powered by a working fluid. According to such embodiments, the cylinder may include means for introducing a working fluid into both ends of the cylinder. Such embodiments may also include a seal about a connecting rod attached to the piston, as described below in greater detail.

A displacable member piston may be located within the cylinder. One example of such a displacable member is a piston. The displacable member will slide back and forth along the length of the cylinder in response to changes in the volume of the fluid with changes in temperature.

In order to maintain the working fluid in a closed space, preferably, the working fluid is prevented from passing between the cylinder and the piston. This may be accomplished by providing a piston having a cross-sectional area only very slightly less than the cross-sectional area. Also, helping to ensure a seal between the piston and the cylinder is if the piston has substantially the same cross sectional shape as the cross sectional shape of the interior of the cylinder.

Any space between the piston and the cylinder may be further sealed by providing a seal about the piston. Alternatively, a seal may be located on the surface of the piston facing the interior of the cylinder about the edge of the piston. The seal helps to ensure that the space between the piston and cylinder is sealed. Sealing the space helps to ensure that any energy that may be derived from the expansion of fluid will be transferred to the piston and not be wasted by fluid leaking between the piston and the cylinder. If fluid were to leak, it could greatly degrade the performance of the engine.

FIGS. 14, 14a, and 15 show an alternative embodiment of a piston and cylinder arrangement that may be utilized in an engine according to the present invention. According to this invention, the working fluid is introduced into the cylinder on both sides of the piston 192. Accordingly, the area where the piston and the cylinder wall 194 meet is sealed by seals 196 and 198 on both sides of the piston 192.

In order to transmit the force from the piston to a crankshaft or other transmission member, a connecting rod may be attached to the piston. In embodiments without a powered return stroke, the connecting rod may be connected to the side of the piston opposite the side facing the working fluid, or hydraulic fluid in embodiments including a working fluid containment system. In embodiments including a powered return stroke, the connecting rod is still connected to the piston. However, both sides of the piston are in contact with the working fluid.

In embodiments that include the powered return stroke, the end of the cylinder that the connecting rod 200 projects from must be sealed by seal 202 to maintain the pressure of the working fluid for the powered return stroke.

As shown in FIG. 14a, the force of the working fluid on the side of the piston that is attached to the connecting rod 200 will only be transmitted to that portion of the piston 192 surrounding the connecting rod. This causes a reduced effective force being delivered to the crank shaft. This reduction in service area of the piston may be compensated for by increasing the capacity and speed with which heat is transferred to the working fluid.

FIG. 16 shows an alternative embodiment of a thermal hydraulic engine that includes a flexible blind flange. According to this embodiment, the force generated, indicated by arrows in FIG. 16, by the expanding working fluid applies force to the flexible blind flange 204. The flange then acts upon member 206, thereby displacing member 206. Movement of member 206 may be guided by guide 207. Member 206 is interconnected with a crankshaft or other drive mechanism (not shown in FIG. 16). The flange 204 may be secured between two mounting flanges 208 and 210 similarly to the embodiment shown in FIG. 12.

Regardless of whether the engine includes a powered return stroke, the connecting rod may be fixably or movably attached to the piston. If the connecting rod is fixably attached to the piston, then the cylinder preferably is articulately mounted to the frame. Regardless of whether the connecting rod is movably or fixably attached to the piston, the connecting rod may include one or more sections.

The connecting rod may be connected to a crank shaft and other transmission elements to drive a device or an electric generator. In some embodiments, the cylinder is fixedly attached to a frame and the connecting rod articulately attached to the piston and a crank shaft so that as the piston moves back and forth through its stroke and the crank shaft rotates, the connecting rod will change its position.

The transmission elements are then connected to a load to perform a desired function. For example, the engine could power a water pump, an electric generator, and/or a FREON compressor, among other elements.

In order to transmit heat to and remove heat from the working fluid, the working fluid container preferably is in communication with means for transmitting heat to and removing heat from the working fluid contained in the working fluid container. The same means may perform both heating and cooling. Alternatively, the present invention could include separate means for performing each function.

According to one embodiment, the means for transmitting heat to and removing heat from the working fluid is a heat exchanger. Depending upon whether it is desired that the working fluid be heated or cooled, relatively warmer or relatively cooler water or other material may be introduced into the heat exchanger. Preferably, a thermal hydraulic engine according to the present invention includes one heat exchanger for each working fluid container, although an engine according to the present invention could include any number of heat exchangers.

FIG. 11 shows an embodiment of heat exchanger or working fluid container according to the present invention. According to this embodiment, the working fluid container 176 is surrounded by the heat exchanger 178.

This heat exchanger includes two openings, an inlet and an outlet. A relatively hotter or cooler material may be introduced into the heat exchanger to heat or cool the working fluid. Whether the working fluid is heated or cooled depends at least in part upon whether the material in the heat exchanger is relatively hotter or cooler than the working fluid. The working fluid container may include a plurality of fins or other devices to increase the surface area of the working fluid container in contact with the material introduced into the heat exchanger.

Among other alternatives for increasing heat transfer to the working fluid is including a circulation pump in the working fluid container. A circulation pump can create turbulent flow for increased heat transfer speed.

The heat exchanger is one example of a means for transmitting heat to or removing heat from the working fluid. The heat exchanger can be built around the working fluid container whether part of a containment system or not. In a heat exchanger, typically, high and low temperature fluids are brought into contact with the working fluid container. Typically, the fluid circulating through the heat exchanger is under relatively low pressure. However, the working fluid changes temperature, depending upon whether it is desired to heat or cool the working fluid. Therefore, the heat exchanger preferably is also constructed of a material capable of withstanding the pressures and temperatures that the fluid circulating through it is at. Examples of materials that may be utilized in the heat exchanger are polyvinylchloride (PVC) pipe, metal pipe such as carbon steel, copper, or aluminum, cast or injected molded plastic, or a combination of any materials capable of withstanding the pressures and temperatures involved in the heat exchanger.

It is not necessary that only a liquid be utilized in the heat exchanger to transmit heat to or remove heat from the working fluid. For example, gases or a combination of liquid and gases may also be used in the heat exchanger to heat and/or cool the working fluid.

One advantage of the present invention is that any high and low temperature source material, whether liquids, or gases or transmitted by another means may be used to heat and cool the working fluid. For example, heated waste water from industrial processes could be used to transmit heat to the working fluid. Such water typically is cooled in some manner before being discharged to the environment. Therefore, rather than being wasted, the heat in this water could be utilized in the present invention to produce mechanical and/or electrical energy. As stated above, solar heating and cooling could also be used according to the present invention. It is this ability to utilize heat and cooling from unutilized sources, such as waste heat, or free sources, such as the sun, that makes the present invention so desirable.

If a fluid is used in the heat exchanger, preferably, the liquid and/or gas should be under at least some amount of pressure to ensure that the liquids and/or gases flow through the heat exchanger. As the heated liquid and/or gas moves through the heat exchanger, it will transfer its greater heat energy to the working fluid having a lower heat energy. The working fluid will then expand, applying force against a piston, flexible barrier or other member, thereby producing mechanical energy.

When the working fluid has absorbed as much heat as is possible or as is desired from the heat exchanger, a relatively cooler liquid and/or gas may be transferred through the heat exchanger. The heat in the working fluid will then, according to natural laws, flow to the relatively cooler liquid and/or gas in the heat exchanger.

FIG. 22 shows an alternative embodiment of a heat exchanger according to the present invention. According to this embodiment, the heat exchanger 212 is located within the working fluid container 214. According to this embodiment, the working fluid container is also continuous with the piston. According to other embodiments that include the heat exchanger within the working fluid container, the working fluid container may not be continuous with the cylinder. In FIG. 22, distance a represents the travel of the piston between its maximum positions at the power and return strokes. The end 216 of the working fluid container 214 may be sealed with a flange 218 secured between a flange 220 on the working fluid container and an end flange 22 secured to the working fluid container flange 220 with bolts 224.

FIG. 5 shows a simple version of a three cylinder engine according to the present invention. The components shown in FIG. 5 may not necessarily be in the same physical position in relation to each other in the engine and are shown here in this arrangement for ease of understanding. The engine may also include other components not necessary include in these embodiments or shown in this Figure.

The engine shown in FIG. 5 includes three cylinders 100, 102 and 104. A piston 106, 108, and 110, respectively, is disposed within each of the cylinders. Each of the pistons is connected to a connecting rod, 112, 114, and 116, respectively, that is connected to a crank shaft 118.

The number of cylinders and pistons included in the invention may vary, depending upon the embodiment and factors described above. An engine utilizing a piston such as that shown in FIGS. 14 and 15 may utilize only two cylinders and pistons since the pistons will be pushed back into the cylinder by the working fluid entering the side of the cylinder where the piston is attached to the connecting rod. This is because there is less of a need to maintain the speed of the engine to ensure that the pistons will travel back into the cylinders than is necessary when a power a return stroke is not utilized. Accordingly, without utilizing the power return stroke and only utilizing forward power stroke, it is preferable that the engine include at least three cylinders.

Due to the slow moving nature of the pistons in an engine according to the present invention, it may be necessary to include three pistons to ensure that the pistons will complete their return stroke. With three pistons, at least one piston will always be in a power stroke, to help ensure that other piston will help complete their return stroke. This occurs because the one piston is always in the power stroke will be furthering the rotation of the crank shaft thereby helping to move the other pistons along their return stroke.

However, an engine according to the present invention may include any number of cylinders. For instance, engines can be built with 16, 20, or more cylinders for larger electric power plant operations.

The crank shaft is interconnected with a load. The load could be a mechanical device driven by the crank shaft. Another example of a load could be an electric generator that is driven by the crank shaft. The crank shaft is also connected to a water valve 122 that controls the flow of high and low temperature liquid and/or gas into the heat exchangers.

The cylinders 100, 102, and 104 are each interconnected via a high pressure hose, 124, 126, and 128, respectively, to a working fluid container, 130, 132, and 134, respectively. The working fluid containers 130, 132, and 134 are enclosed within heat exchangers 136, 138, and 140, respectively. The working fluid may be contained within the space defined by the heat exchangers 130, 132, and 134, the high pressure connectors 124, 126, and 128 and the interior of the cylinders 100, 102, and 104. Of course, in embodiments that include a fluid containment system, the working fluid is contained within the working fluid container. As is evident, in embodiments without the working fluid containment system, the space that the working fluid is contained in changes volume as the piston moves within the cylinder.

FIG. 6 shows a series of depictions of the three cylinder engine shown in FIG. 5 as the cylinders cycle. In the embodiment shown in FIG. 6, 141 represents an off-center lobe cam with rocker arm lever and/or push rods to push open water valves. The cam shaft controls the flow of heat and cooling to the working fluid. Each cylinder/heat exchanger/working fluid container is represented by 1, 2, and 3.

The flow of heating and cooling is represented by high temperature water flow into the system 142, low temperature into the system, 144, high temperature return 146, and low temperature return 148. Flow from the source of high temperature to the system is represented by 150, the flow of low temperature from the low temperature source to the system is 152, the flow from the system to the source of high temperature is represented by 154, and the flow from the system to the source of low temperature is represented by 156.

As the cylinders cycle as shown in FIG. 6, the high and low temperature fluid flows in and out of the heat exchangers depending upon whether the particular cylinder involved is moving in one direction or another. As shown in FIG. 5, the opening and closing of the valves directing high and low temperature fluid into the heat exchanger may be controlled by a cam shaft directly or indirectly connected to a crank shaft driven by the cylinders.

An indirectly connected cam shaft could be connected to the crank shaft with a timing chain type connection. Of course, any connection could be used to connect the cam shaft to the crank shaft. The cam shaft could be an off-center lobe cam with rocker arm lever and/or push rods to push open water valves leading to the heat exchangers.

FIG. 7 shows an embodiment of a thermal hydraulic engine according to the present invention that includes four cylinders 158, 160, 162, and 164. The valves 166 and 168 transmitting hot and cold fluid to and from the heat exchanger are directly controlled by the crank shaft 170. In FIG. 7, piston 158 is in the process of beginning its power stroke. Hot fluid is flowing into heat exchanger 172 associated with piston 158 and also being withdrawn from heat exchanger 172.

Circulating pumps may be driven directly from the crankshaft power directly or indirectly. Indirectly driven circulation pumps could be driven through hydraulic pumps and/or motors.

The cooler fluid, in this case water used to cool the working fluid may be obtained from water pumped out of a well by the engine. As is seen in the embodiment shown in FIG. 4, the engine, through a transmission, drives a pump that pumps water from a water source, such as an underground well. An embodiment such as that shown in FIGS. 2 and 4 may be self sufficient and not require any outside power. Of course, such an embodiment could be connected to a power line to drive the pump during times of insufficient light, whether during cloudy days or at night. Alternatively, batteries could be provided to drive the circulation pump at such times.

FIG. 1 shows a general schematic drawing of a power plant utilizing a thermal hydraulic engine according to the present invention. In general, such a power plant includes a high temperature source 1, a low temperature source 3, a heat exchanger 5, a thermal hydraulic engine 7, which, in this case, refers to the working fluid and cylinders themselves, a transmission 9 of some type, perhaps a flywheel 11 to maintain the momentum of the engine, and an electric generator 13. Of course, the power plant need not necessarily include a flywheel and need not derive an electric generator. The power plant could also include additional components not shown in FIG. 1 and/or not included in the embodiment shown in FIG. 1.

FIG. 2 shows an embodiment of a thermal hydraulic engine that utilizes solar energy to provide heat to heat the working fluid and an evaporative cooling system to remove heat from the working fluid. FIG. 2 illustrates the flow of heating and cooling water through the various components of the system. Of course, a material other than water may be utilized to heat and cool the working fluid.

As cooling water enters one heat exchanger associated with one cylinder, to draw heat out of the system, the hot water that is created as the cooling water absorbs heat from the working fluid may be recirculated to a hot water reservoir, if the system includes a reservoir.

The system shown in FIG. 2 includes solar hot water panels 2 to heat water that will cause the expansion of the working fluid. Water heated by the hot water panels will flow through at least one water directing valve 4 that directs the heated water to a hot water reservoir 6. From the hot water reservoir 6, the heated water will flow to a hot water pump 8. The hot water pump 8 will circulate the heated water to the thermal hydraulic engine (not shown) and then back to the solar hot water panels 2 to be heated again.

The embodiment shown in FIG. 2 also includes an evaporative cooling system 10 to provide water that is cooler than the water heated by the solar hot water panels 2 to remove heat from the working fluid. Water cooled by the evaporative cooling system 10 flows out of the evaporative cooling system through at least one water directing valve 4. The water directing valve directs the cooled water to a cool water reservoir 12. From the cool water reservoir 12, the cooled water will flow to a cool water pump 14. The cool water pump 14 will circulate the cooled water to the thermal hydraulic engine (not shown) and then back to the evaporative cooling system 10 to be cooled again.

FIG. 3 shows an embodiment of the interconnection between the crank shaft 15, driven by the thermal hydraulic engine (not shown in FIG. 3), and the elements making up the load on the engine. In this embodiment, the crank shaft 15 is connected to a chain drive gear and sprocket 17 that includes two relatively large gears 19 and 21 connected to ultimately to a smaller gear 23. As can be appreciated, the rotation of the crank shaft 15 will be greatly magnified by the gear in the embodiment shown in FIG. 3. FIG. 3a shows an enlarged side view of the chain drive gear and sprocket 17, showing gears 19, 21, and 23 and chains 20 and 22 driven by and driving the gears.

The chain drive gear may be connected to a hydraulic pump 25 and motor gear up 27 which is ultimately connected to an electric generator 29. A flywheel 31 may be interconnected between the hydraulic pump and motor gear up to help maintain the cycling of the engine.

FIG. 4 represents a schematic view of another embodiment of a solar powered thermal hydraulic engine and some associated elements according to the present invention. Heat is delivered to and removed from the working fluid by relatively hotter and cooler water. As with any embodiment, a material other than water may be used to deliver heat to and remove heat from the working fluid. FIG. 4 also shows the flow of heated water through the system.

The embodiment shown in FIG. 4 includes the thermal hydraulic engine 33. Solar panels 35 provide the heat that heats the working fluid in the engine. The heated water then travels to a series of valves 37, 39, 41, and 43. The number of valves may depend upon the number of cylinders in the engine, the number of heat exchangers, and how the water is distributed to the heat exchangers and cylinders, among other factors.

The valves 37, 39, 41, and 43 deliver the water to the heat exchanger(s) 45. The heated water then heats the working fluid in the engine 33. After delivering its heat to the working fluid, the heated water is directed through valves 47, 49, 51, and 53 and then back to the solar array 35.

A circulating pump 55 drives the flow of the heated water. The circulation pump 55 may be powered by electricity generated by photovoltaic cells (not shown).

The thermal hydraulic engine 33 may be connected to transmission 57. In this embodiment, the engine 33 drives a pump 59. The pump 59 may be utilized to pump water from a water source 61. The water source 61 may include a well, reservoir, or tank, among other sources. The water may be pumped from the water source 61 into a water storage pipeline 63.

Water from the water source 61 may be utilized as the source of cooling water for cooling the working fluid as well as a source of water to be heated to provide heat to the working fluid. Water for either function may be stored in a storage tank 65.

The components of the engine according to the present invention may mounted on a frame. FIG. 21 shows an embodiment of a thermal hydraulic engine according to the present invention that includes four cylinders wherein the components of the engine are mounted to a frame A.

To simplify the explanation of the operation of the present invention, the functioning of a three cylinder engine according to the present invention will be described. FIG. 5 shows an example of such an embodiment. The working fluid is contained within the cylinder and the working fluid container is surrounded by the heat exchanger. Therefore, in a sense, the heat exchanger acts as a containment system.

Given the fact that there are three cylinders 67, 69, and 71 and three pistons 73, 75, and 77 in the embodiment described here, each piston preferably powers the crank shaft 79 about a rotation of at least 120.degree., so that one piston is always in operation powering the crank shaft rotation. The operation of the engine will be described with the assumption that one piston will be starting its power stroke.

To begin the power stroke, the working fluid must be heated. The embodiment shown in FIG. 5 includes three heat exchangers 132, 136, and 138 to introduce heat to and remove heat from the working fluid. The difference between the working fluid in a heated state and a cool state may vary, depending upon the embodiment. According to one embodiment, the difference between the high temperature of the working fluid and the low temperature of the working fluid is about 40-60.degree. F. However, the differential between the high and low temperatures of the working fluid may be larger or smaller.

The high temperature of the working fluid may be anywhere from about 80-200.degree. F. The range of temperatures of the high temperature of the working fluid may also be from about 120-140.degree.. However, any temperature for the high temperature of the working fluid could be utilized as long as it is higher than the lower temperature of the working fluid. In fact, super-heated water above 212.degree. F. could also be utilized.

The low temperature of the working fluid could vary from about 35.degree. F. to about 85.degree. F. According to one embodiment the low temperature may be from about 70.degree. to about 85.degree. F. However, as stated above regarding the high temperature, the low temperature of the working fluid may be any temperature, as long as it is lower than the high temperature of the working fluid. The greater the differential in the high and low temperatures, the greater the possibility for heating the cooling the working fluid.

The temperature of the working fluid may also be defined by defining the highest temperature of the working fluid relative to the lowest temperature of the working fluid. Accordingly, the difference in temperatures of the working fluid may be up to about 60.degree. C. Alternatively, the difference in temperatures of the working fluid may be between about 60.degree. C. and about 120.degree. C. Other ranges for the difference in temperatures of the working fluid include between about 120.degree. C. and about 180.degree. C. and between about 180.degree. C. and about 240.degree. C.

Prior to starting the operation of the engine, the working fluid may be pressurized to help maintain a seal between the piston and the wall of the cylinder. A positive pressure maintained in the cylinder may help to force a seal in the area between the piston and the cylinder. For example, the working fluid could be pre-pressurized to about 200 lbs. per square inch. If the working fluid is pre-pressurized, it may be pressurized to an extent such that during the contraction of the working fluid as heat is removed from the working fluid, the pressure within the cylinder never drops below 0. However, it is not necessary that the working fluid be pre-pressurized at all.

FIG. 10 represents a graph showing the operating range of temperatures and pressures that an embodiment of a thermal hydraulic engine utilizing a working fluid.

As the working fluid is heated and it starts to expand, the force of the fluid is transmitted to the piston, thereby moving the piston. According to one embodiment of the present invention including three cylinders, the rotation of the crank shaft does not begin until the connecting rod 174 has moved to a point about 20.degree. past top dead center as shown in FIG. 8.

As stated above, in a three cylinder embodiment, the piston must power the crank shaft around at least 120.degree. since there are three pistons and 360.degree. in a complete rotation of the crank shaft. Similarly, in a four cylinder engine, each piston must power the crank shaft about 90.degree.. The corresponding number of degrees that the piston must power the crank shaft rotation may be calculated simply by dividing 360.degree. by the number of pistons.

Given the fact that the rotation of the crank does not commence until the connecting rod has moved about 20.degree. beyond top dead center, the calculation of the 120.degree. of the power stroke of the piston will be calculated from this 20.degree. starting point of the rotation. However, the power stroke of the next piston will be started upon the connecting rod reaching 120.degree. beyond top dead center. Therefore, there will a 20.degree. overlap between the power stroke of the first cylinder and the second cylinder. This will help to ensure a smooth transition between pistons with the effective turning force being transmitted to and from the crank shaft being maintained thoroughly constant. The smooth transition of power is assisted by the fact that as any piston is traveling through its power stroke, it not only powers the rotation of the crank shaft or other device that harnesses the movement of the piston but it may also help to drive the other pistons in the engine on their return stroke.

As shown in FIG. 9, the heat source associated with the first cylinder preferably is cut off when the connecting rod reaches about 120.degree. beyond top dead center, according to this embodiment. Next, the source of cool fluid is started into the heat exchanger when the connecting rod reaches about 140.degree. beyond top dead center. As the return stroke of the first piston continues and the rotation of the connecting rod and crank shaft continue, when the connecting rod reaches about 300.degree. beyond top dead center, the source of cold fluid to the heat is turned off and the source of high temperature fluid to the heat exchanger is started again.

The points at which the sources of high and low temperature fluid are introduced into the heat exchanger may vary, depending upon the embodiment of the invention. One factor that may alter the flow of the high and low temperature fluid into the exchanger is whether or not the working fluid is pre-pressurized as described above. The speed of the movement of the piston and, hence, the crank shaft may be increased by increasing the flow of high temperature fluid into the heat exchanger. The speed of operation of the engine and the horse-power output may also be increased by increasing the temperature differential between high and low temperature fluids introduced into the heat exchanger and, hence the working fluid.

At the 300.degree. rotation point, when the source of high temperature fluid is reintroduced into the heat exchanger, the working fluid has come back to its base temperature pressure and volume. It is these volume, temperature and pressure parameters that are utilized to calculate the engine size, flow of high and low temperature fluid to the heat exchanger, engine load, cylinder size, cylinder number, and many other operating and design parameters of the invention.

The flow of high and low temperature fluid into the heat exchanger described above may be controlled in a variety of ways. For instance, a timing gear may be directly or indirectly connected to the crank shaft. The timing gear may then mechanically actuate valves that control the flow of high and low temperature fluid into the heat exchanger based upon the position of the crank shaft. Alternatively, a cam shaft rotated by the crank shaft may operate an electrical system that electrically controls the flow of high and low temperature fluid into the heat exchanger.

Other methods that may be utilized to control the flow of high and low temperature fluid into the heat exchanger can include lasers, computer programs, optical devices, mechanical push rods, connecting rods, levers, or other manual and/or automatic devices. As will be appreciated, a complex computer control could optimize the operation of a thermal hydraulic engine according to the embodiment, just as electronic control has helped to optimize the operation of internal combustion engines in modern automobiles. A complex electronic control system can simultaneously monitor and control a wide variety of parameters, optimizing the operation of the engine.

This disclosure showns and describes only the preferred embodiments of the invention. As aforementioned, it is to be understood that the invention is capable of using various other combinations and other environments and is capable of changes or modifications within the scope of the inventive concept as expressed herein. Accordingly, the embodiments described above are merely illustrative and not exhaustive in nature.